C13 - C15 - C16 - C17 - Matériaux de construction ALTRAD - Notice d'utilisation et mode d'emploi gratuit
Retrouvez gratuitement la notice de l'appareil C13 - C15 - C16 - C17 ALTRAD au format PDF.
| Type d'appareil | Bétonnière |
| Modèles | C13, C15, C16, C17 |
| Alimentation | Électrique monophasé |
| Moteur | Thermique KOHLER SH265 6,5 Ch |
| Puissance moteur | 6,5 chevaux |
| Capacité du tambour | Non précisé |
| Matériau du tambour | Acier |
| Type de moteur | Essence |
| Nombre de roues | 2 |
| Poids | Non précisé |
| Dimensions | Non précisé |
| Usage | Fabrication de béton et mortier |
| Sécurité | Consignes générales à respecter |
| Maintenance | Entretien et maintenance réguliers recommandés |
| Garantie | Non précisé |
| Transport | Manutention facilitée par roues |
| Notice | Notice originale en français fournie |
FOIRE AUX QUESTIONS - C13 - C15 - C16 - C17 ALTRAD
Questions des utilisateurs sur C13 - C15 - C16 - C17 ALTRAD
0 question sur cet appareil. Repondez a celles que vous connaissez ou posez la votre.
Poser une nouvelle question sur cet appareil
Téléchargez la notice de votre Matériaux de construction au format PDF gratuitement ! Retrouvez votre notice C13 - C15 - C16 - C17 - ALTRAD et reprennez votre appareil électronique en main. Sur cette page sont publiés tous les documents nécessaires à l'utilisation de votre appareil C13 - C15 - C16 - C17 de la marque ALTRAD.
MODE D'EMPLOI C13 - C15 - C16 - C17 ALTRAD
1 - Caracteristiques techniques
2 - Consignes de sécurité générales
3 - Mise en service
4 - Fabrication des bétons et mortiers
5 - Pièces de rechange et nomenclature
6 - Entretien & Maintenance
7 - Garantie
8 - Transport & Manutention
9 - Carnet d'entretien
10 - Notes
11 - Déclaration de conformité
Cher client,
Vou avez choisi une betonnière ALTRAD et nous vous en remercions. Nous vous conseillons de dire attentivement cette notice et de respecter les consignes de sécurité, afin d'utiliser et d'entretenir au mieux votre produit.
1-CARACTERISTIQUES TECHNIQUES:
| CHARACTERISTIQUES MACHINE GAMME | ||||||
| Types | C13 | C15 | C16 | C17 | ||
| Capacité de cuve | litre | 130 | 150 | 160 | 170 | 170 |
| Capacité maximum de malaxage | litre | 100 | 120 | 130 | 155 | 155 |
| Longueur | m | 1,21 | 1,21 | 1,21 | 1,32 | 1,26 |
| Largeur | m | 0,70 | 0,70 | 0,70 | 0,70 | 0,70 |
| Hauteur | m | 1,33 | 1,33 | 1,33 | 1,36 | 1,40 |
| Diamètre roues pleines | mm | 200 | 200 | 200 | 200 | 200 |
| Masse avec moteur électrique | kg | 48 | 52 | 52 | 60 | 65 |
| Niveau sonore mesuré | dBA | 95 | 95 | 95 | 95 | 95 |
| Niveau sonore garanti | dBA | 98 | 98 | 98 | 98 | 98 |
| Masse avec moteur thermique | kg | // | // | // | // | 87 |
| Niveau sonore mesuré | dBA | 102 | 102 | 102 | 102 | 102 |
| Niveau sonore garanti | dBA | 105 | 105 | 105 | 105 | 105 |
| Caracteristiques Moteur Monophasé | ||
| Puissance | W/kW | 700/0,70 |
| Puissance | W/kW | 850/0,85 |
| Masse moteur | kg | 4 |
| Caracteristique Moteurs Thermiques | ||
| Puisance | kW/ch | 4,9/6,5 |
| Capacité du réservoir d'essence | litre | 3,6 |
| Capacité d'huile | litre | 0,6 |
| Masse moteur "réservoir vide" | kg | 16 |
| Masse moteur "tout plein fait" | kg | 20 |
2 - CONSIGNES DE SECURITE GENERALES :
- Les opérateurs doivent porter un équipement de protection individuel E.P.I (bleu de travail, gants, lunettes de protection, chaussures de sécurité, protections auditives, masque anti-poussières, etc...)






- Vérifier avant la mise en marche de votre bétonnière, que tous les dispositifs de protection sont en place et en bon état, que personne n'est en contact avec la bétonnière ou à proximité et qu'aucun outil n'est appuyé contre.
- Lors des manoeuvres du volant de basclement de la cuve, celui ci doit etre tenu en perman nence a deux mains (ne pas lacher le volant, pour empêcher le basclement par gravite).
- Ne pasmettre les mains,la tete ouquelconque outil à l'intérieur de la cuve lorsqu'elle est en mouvement.
- Ne jamais faire fonctionner la machine sans ses protections.
- Ne pas déplacer la machine en fonctionnement.
- Débrancher l'alimentation électrique de votre bétonnière avant toute intervention de quelles nature que ce soit. Le fonctionnement n'est autorisé que si le boitier est complètement fermé.
- N'utiliser le mélangeur de la betonnière qu'avac des matériaux destinés à la maçonnerie (touit autre mélange d'ordre chimique ou alimentaire est interdit).
- Pour assurer le degré de protection des équipements de classe II, utiliser le matériel isolant d'origine. Des cables couples à gaine caoutchouc de type HO7RN-F doivent être utilisés pour toutes les alimentations extérieures. Utilisation de prises bipolaires destinée aux équipements de classe II.
- Ne jamais remplaçer une piece défectueuse par une piece d'une marque différente.
3-MISE EN SERVICE :
Placer la betonnière sur un sol dur et bien horizontal afin d'assurer à la machine une bonne stabilité.
Dégager les abords de la machine de tout objet pouvant occasionner un risque accidentel ou génér l'utilisateur.
Ne pas déplacer la machine lorsqu'elle fonctionne.
Bétonnière à moteur essence
- Pour la mise en route, se conformer aux instructions du fabricant du moteur.
- Voiture moteur est livre sans huile, avant toute mise en service
- Faire le plein d'huile (10 W 30 de préférence).
Faire le plein d'essence Super sans Plomb 95. - Régler la manette d'accelerateur pour que la cuve tourne à 23 tours par minute maximum, pour un malaxage optimum et pour éviter la dépréciation anormale des pièces d'usures courantes (pignon, couronne).
- La betonnière fonctionne capot semi ouvert.

Bétonnière à moteur électrique
- Le cable d'alimentation de la machine doit être disposé sur le lieu d'installation de façon à ne pas être soumis à des risques mécaniques et notamment doit être tenu éloigné de la cuve de la betonnière.
- Ne jamais laisser un cable enroule sur son support, cela provoque des chutes de tension importantes occasionnant une surchauffe du moteur et du cable.
- La rallonge électrique utilisée doit être en parfait état ainsi que les prises et fiches de raccordement.
L'ensemble capot moteur de votre betonnière bénéficiaie de la double isolation classe II et de l'indice de protection IP45 et d'une sonde thermique (disjoncte en cas de surchauffe du moteur). - L'interrupteur magnétique bénéficia d'une protection IP54 (protection contre les jets d'eau), et d'un dispositif à manque de tension (obligation de réenclanchement de l'interrupteur en cas de coupure accidentelle du courant).
- La capacité minimum du compteur doit etre de 15 Ampères.
- La ligne doit être équipée de fusibles ou disjoncteur pour assurer la protection du moteur et d'un interrupteur différentiel (0,03 A) pour la protection des personnes.
- La prise de branchement est standard. La section de votre cable d'alimentation doit être de 2,5 mm² minimum jusqu'à 25m et de 4 mm² minimum pour une longueur de 25 à 50 m. Pour une longueur supérieure, prévoir une section de fil plus importante. Afin d'éviter les chutes de tension, il est souhaitable d'avoir la plus petite longueur de cable possible.
- Éviter de faire tourner à vide une betonnière équipée d'un moteur électrique monophasé, cela provoque une surchauffe du moteur et un déclenchement du relais thermique.
4 - FABRICATION DES BETONS ET MORTIERS :
Positionner la cuve à l'inclinaison可以选择. L'inclinaison la plus proche de l'horizontal donne un meilleur malaxage des matériaux collants (mortiers) mais réduit la capacité. Introduire dans la cuve la moitié de l'eau nécessaire, ajouter la moitié des agrégats (gravier, sable) puis le ciment. Faire le complément d'agrégats et d'eau. Laisser tourner la cuve environ une à deux minutes. Ne pas prolonger le malaxage au-delà afin d'éviter de centrifuger les matériaux (1 pelle = environ 4 litres, 1 brouette = environ 60 litres).
PRECONISATION DE DOSAGES
Le tableau ci dessous vousdonnent des préconisations de dosages moyens. Les matériauxutilisés sont:
- Ciment Lafarge à usage courant 32,5 (depuis avril 2002, les sacs de ciment et chaux sont conditionnés en 25 et 35 kg)
- Gravier (granulométrie environ 25 mm), sable (granulométrie 0,2 à 0,5 mm), eau.
Le disque d'inclinaison, possede 7 crans différents.
Position 1 : ouverture de la cuve vers le haut.
Position 2 : malaxage à gauche.
Position 3 : vidange côte gauche.
Position 4 : ouverture de la cuve vers le bas.
Position 5 : vidange cote droit.
Position 6 et 7 : malaxage à droite

| Dosage des bétons et mortiers courants pour 1 sac de ciment de 25 kg | Sable 0,2 à 0,5 mm | Gravier 20 mm | Eau |
| Béton de fondation (béton de propreté, semelle) | 50 litres | 80 litres | 13 l. environ |
| Béton armé courant (dalle de compression) | 30 litres | 60 litres | 13 l. environ |
| Béton armé (linteau, poutre) | 30 litres | 50 litres | 15 l. environ |
| Mortier (ass., brique, parpaing) | 60 litres | 13 l. environ | |
| Mortier (enduit, chape) | 50 litres | 12 à 15 l. environ | |
| Mortier (scellement, carrelage) | 100 litres | 13 l. environ |





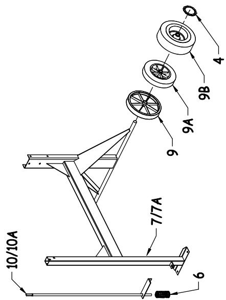
| Rep | Qté | Réf | Désignation |
| 5 | 1 | 393010 | BLOCAGE CHASSIS K ET E (LG676MM) |
| 5A | 1 | 393015 | BLOCAGE CHASSIS D (LG811MM) |
| 6 | 1 | 013034 | RESSORT |
| 7 | 1 | 181076 | CHASSIS F (LG758MM) |
| 7A | 1 | 181077 | CHASSIS L (LG804,5MM) |
| 8 | 1 | 181078 | CHASSIS FC (LG758MM) |
| 8A | 1 | 181079 | CHASSIS LC (LG804,5MM) |
| 9 | 2 | 181025RS | ROUE Ø250 RS |
| 9A | 2 | 181025 | ROUE Ø250 RG |
| 9B | 2 | 337131 | ROUE Ø250 LG |
| 4 | 2 | 009911 | RONDELLE AUTO FREIN Ø20 |
| 10 | 1 | 183039 | BLOCAGE CHASSIS F ET FC |
| 10A | 1 | 337317 | BLOCAGE CHASSIS L ET LC |
ATTENTION :
| Rep | Qté | Réf | Désignation |
| 1 | 1 | 181070 | CHASSIS K |
| 1A | 1 | 391001 | PIED AVANT |
| 1B | 1 | 391019 | PIED AVANT ITALIE |
| 2 | 008957 | VIS EMB HM 8x55 CL8-8 ZIN | |
| 2 | 009378 | ECROU A EMBASE M.8 ZING. | |
| 1C | 1 | 391002 | PIED ARRIERE |
| 4 | 008951 | VIS EMB HM 8x20 CL8-8 ZIN | |
| 4 | 009378 | ECROU A EMBASE M.8 ZING. | |
| 2 | 1 | 181075 | CHASSIS E (LG758MM) |
| 2A | 1 | 181072 | CHASSIS D (LG804,5MM) |
| 3 | 2 | 331009 | ROUE Ø200 |
| 4 | 2 | 009911 | RONDELLE AUTO FREIN Ø20 |
Pour toute commande, s'adresser au détaillant revendeur de la betonnière et indiquer le type, sa date de fabrication (plaquesur le capot). Preciser la quantité, la désignation et la réference des pieces désirées.

| Rep | Qté | Rèf | Désignation |
| 27 | 1 | 182000 | FOND DE CUVE 130/150/165 |
| 27A | 1 | 182001 | FOND DE CUVE 180 |
| 28 | 1 | 392006 | FLASQUE INTERIEUR 130/150/165 |
| 28A | 1 | 335052 | FLASQUE INTERIEUR 180 |
| 8 | 008950 | VIS EMB HM 8x16 CL8-8 ZIN | |
| 29 | 6 | 182007 | SECTEUR PLASTIQUE ETROIT |
| 29A | 6 | 182008 | SECTEUR PLASTIQUE LARGE |
| 12 | 9368 | ECROU FREIN H8 DIN 985 | |
| 30 | 1 | 182009 | COURONNE FONTE MONOBLOC 144 DENTS |
| 4 | 008950 | VIS EMB HM 8x16 CL8-8 ZIN | |
| 31 | 1 | 182010 | CONE 130 |
| 31A | 1 | 182011 | CONE 150 |
| 31B | 1 | 182012 | CONE 165/180 |
| 32 | 2 | 182024 | PALETTE PLEINE 130/150 |
| 32A | 2 | 182025 | PALETTE PLEINE 165/180 |
| 33 | 2 | 182054 | PALETTE AJOUREE 130/150 |
| 33A | 2 | 182055 | PALETTE AJOUREE 165/180 |
| 34 | 2 | 182040 | PALETTE SOUDEE PLIEE 165/180 |
| 4 | 009722 | ROND. PLATE LLU 10(EXT.36) ZI | |
| 4 | 008951 | VIS EMB HM 8x20 CL8-8 ZIN | |
| 4 | 009378 | ECROU A EMBASE M.8 ZING. | |
| 35 | 2 | 182014 | DEMI-PROTECTION PLASTIQUE |
| 36 | 1 | 182019 | PROTEGE PIGNON ENTREE |
| 36A | 1 | 182018 | PROTEGE PIGNON SORTIE |
| 4 | 182021 | VIS P.T WN 1446 K60x20 ZING. |
| Rep | Qété | Rèf | Désignation |
| 20 | 1 | 183060 | ETRIER C130/150/165 |
| 20A | 1 | 183061 | ETRIER C180 |
| 2 | 008957 | VIS EMB HM 8x55 CL8-8 ZIN | |
| 4 | 008951 | VIS EMB HM 8x20 CL8-8 ZIN | |
| 6 | 009378 | ECROU A EMBASE M.8 ZING. | |
| 21 | 1 | 183062 | ETRIER CD180 |
| 21A | 1 | 337309 | SECTEUR BASCULEMENT |
| 21B | 1 | 337301 | PALIER SECTEUR BASCULEMENT |
| 1 | 009914 | CIRCLIPS 20 E | |
| 21C | 2 | 009960 | GRAISSEUR 10-150 Ref 50 |
| 21D | 1 | 337326 | AXE VOLANT MONTE ACIER |
| 21E | 1 | 337328 | ENTRETOISE PIGNON BASCULEMENT |
| 21F | 1 | 337302 | PALIER REPRISE VOLANT |
| 1 | 009858 | GOUILLE SPIRALE 8x30HBK | |
| 2 | 008957 | VIS EMB HM 8x55 CL8-8 ZIN | |
| 4 | 008951 | VIS EMB HM 8x20 CL8-8 ZIN | |
| 6 | 009378 | ECROU A EMBASE M.8 ZING. | |
| 22 | 1 | 393013 | VOLANT |
| 22A | 1 | 335135 | PROTECTION DE VOLANT ITALIE |
| 22B | 1 | 183035 | VOLANT RECT. DEMONTABLE |
| 2 | 008951 | VIS EMB HM 8x20 CL8-8 ZIN | |
| 2 | 009378 | ECROU A EMBASE M.8 ZING. | |
| 23 | 1 | 394030 | JOINT ETANCHÉ AXE/CUVE |
| 24 | 1 | 392003 | FLASQUE EXTERIEUR |
| 25 | 2 | 000910 | ROULEMENT 6206 2RS C3 SRI-2 |
| 26 | 2 | 009916 | CIRCLIPS 30 e EP 2 |

MOTORISATION ELECTRIQUE 2 POLES IP45
| Rep | Qté | Rèf | Désignation |
| 50 | 1 | 184065 | MONTANT CAPOT ACIER 2P |
| 3 | 008951 | VIS EMB HM 8x20 CL8-8 ZIN | |
| 1 | 009162 | VIS EMB HM 8x100 CL8-8 ZIN | |
| 4 | 009378 | ECROU A EMBASE M.8 ZING. | |
| 51 | 2 | 000906AA | ROUL.6202 2RS C3 SRI-2 |
| 52 | 1 | 393009 | PALIER D'ETRIER |
| 53 | 1 | 009923 | CIRCLIPS 42X1.75 EXT |
| 54 | 1 | 184009 | PIGNON CONIQUE |
| 55 | 1 | 184053 | AXE ENTRAINEMENT |
| 2 | 009854 | GOUILLE E.6-30 Standard | |
| 56 | 1 | 184012 | POULIE RECEPTRICE Ø147 |
| 1 | 009909 | CLIPS DE 15 | |
| 57 | 1 | 184010 | MOTEUR MONO 700W 2P |
| 57A | 1 | 184018 | MOTEUR MONO 850W 2P |
| 58 | 1 | 9FCD12 | CONDENSATEUR 12mF |
| 59 | 1 | 184011 | SUPPORT MOTEUR 2P |
| 5 | 009153 | VIS H M 8 X 30 ZING | |
| 2 | 009378 | ECROU A EMBASE M.8 ZING. | |
| 60 | 1 | 184041 | COUROIRE 608J MAEL-6DENTS |
| 61 | 1 | 184035 | CAPOT PLASTIQUE COMPLET IP45 |
| 6 | 009296 | VIS TOLE POZI TCBL 5.5x16 | |
| 62 | 1 | 184017 | INTER VISSE AVEC PROTECTION 5 PLOTS |
| 2 | 009304 | VIS TOLE POZI TCBL 4.2x13 |

MOTORISATION THERMIQUE ET ELECTRIQUE 0,75CV
| Rep | Qté | Réf | Désignation |
| 55A | 1 | 184054 | AXE D'ENTRAINEMENT CAPOT ACIER |
| 70 | 1 | 386255 | POULIE D'ENTRAINEMENT |
| 1 | 009909 | CLIPS DE 15 | |
| 71 | 1 | 337400 | FOND DE CAPOT |
| 4 | 008950 | VIS EMB HM 8x16 CL8-8 ZIN | |
| 4 | 009368 | ECROU FREIN H8 DIN 985 | |
| 72 | 1 | 337410 | COUR.POLY V 5 PJ 813 THERMIQUE |
| 72A | 1 | 337411 | COUR.POLY V 5 PJ 864 ELECTRIQUE |
| 73 | 1 | 294133 | ARRET D'URGENCE |
| 1 | 009930 | AGRAFE LYRE ACIER ZINGUE | |
| 1 | 009934 | RIVET 3.2X6 ALU/ACIER | |
| 74 | 1 | 164043 | FIL DE MASSE CLIPSABLE |
| 75 | 1 | 337404 | TOLE DE PROTECTION THERMIQUE |
| 75A | 1 | 337407 | TOLE DE PROTECTION ELECTRIQUE |
| 4 | 009397 | ECROU CAGE RAPIDE M8 | |
| 4 | 008950 | VIS EMB HM 8x16 CL8-8 ZIN | |
| 76 | 1 | 337417Z | BEQUILLE DE CAPOT ZINGUE |
| 1 | 008951 | VIS EMB HM 8x20 CL8-8 ZIN | |
| 1 | 009714 | ROND. PLATE MU 8 ZING | |
| 1 | 009368 | ECROU FREIN H8 DIN 985 | |
| 77 | 1 | 337414 | SUPPORT CAPOT |
| 1 | 009153 | VIS H M 8 X 30 ZING | |
| 1 | 009378 | ECROU A EMBASE M.8 ZING. | |
| 1 | 009714 | ROND. PLATE MU 8(EXT.18) ZIN | |
| 1 | 009368 | ECROU FREIN H8 DIN 985 | |
| 1 | 009930 | AGRAFE LYRE ACIER ZINGUE | |
| 1 | 009934 | RIVET 3.2X6 ALU/ACIER | |
| 78 | 1 | 337405 | PORTE DE CAPOT |
| 79 | 2 | 164020 | CHARNIERE CAPOT 8.5 |
| 80 | 2 | 337418 | BUTEE HAUTE DE PORTE |
| 8 | 009397 | ECROU CAGE RAPIDE M8 | |
| 8 | 008950 | VIS EMB HM 8x16 CL8-8 ZIN | |
| 81 | 1 | 337413 | POIGNEE DE FERMETURE |
| 2 | 008950 | VIS EMB HM 8x16 CL8-8 ZIN | |
| 2 | 009378 | ECROU A EMBASE M.8 ZING. | |
| 82 | 1 | 337419 | PLAQUE DE FIXATION ELECTRIQUE |
| 4 | 009397 | ECROU CAGE RAPIDE M8 | |
| 6 | 008950 | VIS EMB HM 8x16 CL8-8 ZIN | |
| 2 | 009378 | ECROU A EMBASE M.8 ZING. |
| MOTEUR KOHLER SH265 | |||
| Rep | Qté | Rèf | Désignation |
| 85 | 1 | 294053 | MOTEUR KOHLER SH265-4,1CV |
| 4 | 009155 | VIS HM 8 X 40 mm ZING. | |
| 4 | 009714 | ROND. PLATE MU 8 ZING. | |
| 4 | 009378 | ECROU A EMBASE M.8 ZING. | |
| 86 | 1 | 337415 | POULIE MOT. Ø20 - ALES. Ø19,05 |
| 1 | 009872 | CLAVETTE 4,75x4,75x38 | |
| 1 | 009771 | ROND. GROWER W 8 ZING. | |
| 1 | 009313 | VIS TH 5/ 16" UNF 1"3/4 | |
| MOTEUR ELECTRIQUE 4 POLES 0.75 CV MONO | |||
| Rep | Qté | Rèf | Désignation |
| 90 | 1 | 164024 | MOTEUR ELECTRIQUE 0.75 CV MONO |
| 4 | 009153 | VIS HM 8 X 30 mm | |
| 5 | 009714 | ROND. PLATE MU 8 ZING | |
| 4 | 009378 | ECROU A EMBASE M.8 ZING. | |
| 91 | 1 | 337416 | POULIE MOTEUR Ø38 ALØ19 |
| 1 | 009771 | ROND. GROWER W 8 ZING. | |
| 1 | 009152 | VIS HM 8 X 25 mm | |
| 92 | 1 | 164047 | INTER.PRI.FR.PRO + SONDE |
| 4 | 009122 | VIS H M5x30 CL6-8 ZING. | |
| 4 | 009366 | ECROU FREIN H M5 DIN 985 ZIN | |
| 3 | 009341 | ECROU H M4 ZING. | |
| 93 | 1 | 414014 | FIL DE TERRE |
6-ENTRETIEN ET MAINTENANCE :
- Àprous chaque utilisation, débrancher (version électrique) et nettoyer soigneusement l'intérieur et l'extérieur de votre betonnière. Utiliser un jet d'eau, mais pas de nettoyeur haute pression. Eviter de diriger le jet sur l'interrupteur (version électrique) et sur le moteur à travers les orifices du capot. Le nettoyage de votre betonnière est une garantie de longévité.
- Pour nettoyer l'intérieur de la cuve efficacement, utiliser une ou deux pelletées de gravillons et de l'eau, laisser tourner quelques minutes. Le suivi et la fourniture des pièces détachées de nos betonnières est assurependant une durée de 5 ans à partir de la date de fabrication indiquée sur la plaque de la machine.
Pour toute demande de garantie, adressez vous à votre revendeur muni de votre facture d'achat.
MODIFICATION DU PRODUIT :
Soucieux d'améliorer constamment la qualité et l'efficacité de nos produits, nous nous réservons le droit de modifier, en cours de série, le produit ici-desscrit.
7 - GARANTIE :
Le Constructeur garantit votre betonnière pour une durée de 24 MOIS à partir du jour d'achat. Cette période, couvre uniquement le remplacement gratuite des pieces (hors main d'oeuvre) qui sont défectueuses par suite d'un vice de fabrication. Le constructeur se réserves le droit d'expertiser les pieces défectueuses. La période de garantie ne couvre pas les défectuosités liées à : Un problème de transport, une manutention maladroite, une mauvaise utilisation, un manque d'entretien, ou l'emploi de pieces de rechange étrangères à la marque. Les pieces d'usure de la machine ne sont pas couvertes par la garantie (pignon, couronne, couroie, poulie). La garantie des moteurs thermiques est accordée par le Fabricant de ceux-ci.
Le constructeur décline toute responsabilité en cas de non respect des consignes de sécurité et des règles d'utilisation.
Pour toute demande de garantie, adressez vous à votre revendeur muni de votre facture d'achat.
PIECES DE RECHANGE
Pour toute commande, s'adresser au détaillant revendeur de la betonnière en indiquant les informations ci-dessous, reprises sur la plaque de la machine, située à l'arrière du capot moteur :
Le type de la machine
La date de fabrication
Le N° de série
Le type du moteur
Preciser, la quantité, la désignation et la référence des pieces désirées.

- Les betonnières électriques et thermiques sont manutentionnables à la main par le volant (1 main en haut et 1 main en bas).
- Déplacez la machine en la poussant ou en la tirant en prénant soins de toujours respecter le centre de gravité.
- Lorsque vous déplacez la machine assurez vous qu'aucun obstacle ne se trouve sur votre trajectory.
Assurez you que les roues tournent librement et sont parfaitement goupillées. Lors de l'utilisation de votre machine, vous pouvez protéger les roues en les envelopopant dans un sac afin d'éviter les projections de béton.

| DATE | NOM | NATURE DE L'INTERVENTION |
Notice Facile