MODE D'EMPLOI HS543D10X 11S47 INOX HISENSE
Notice d'utilisation
PARTIE I: Version générique
Hisense





SOMMAIRE
O1
CONSIGNES DE SECURITÉ
02
APERCU DU PRODUIT
03
UTILISATION DE VOTRE LAVE-VAISSELL
04
Chargement du sel dans l'adoucisseur
Conseils pour l'utilisation des paniers
ENTRETIEN ET NETTOYAGE
Nettoyage externe
Nettoyage interne
Entretien du lave-vaisse
INSTRUCTIONS D'INSTALLATION
À propos du raccordement électrique
Alimentation en eau et vidange
Raccordement du tuyau de vidange
Positionnement de l'appareil
Installation pose libre
Encastrement (pour le modele encastrable)
CONSEILS DE DÉPANNAGE
CHARGEMENT DES PANIERS
Disponibilité des pieces de rechange
Astuces pour le rangement des couverts
REMARQUE
- Le chapitre «Conseils de dépannage» vous aidera à résoudre vous-même certains problèmes courants. Si vous n'y parvenez pas, veuillez demander l'aide d'un technicien professionnel.
- Dans le cadre de sa politique de développement continu et d'actualisation de ses produits, le fabricant se réserves le droit de proceder à des modifications sans préavis.
- En cas de perte ou d'obsolescence de la notice d'utilisation, le fabricant ou votre détaillant pourrait vous en fournir une nouvelle.
CONSIGNES DE SECURITÉ
ATTENTION
Lorsque vous utilisez Your lave-vaisselle, respectez les precautions enumeratedes ci-dessous.
- Seul un technicien qualifié pourra réaliser l'installation et les réparations.
-
Cet apparéil est destiné à un usage domestique et aux applications similaires telles que :
-
les cuisines réservées au personnel des magasins, bureaux, et autres lieux de travail ;
- les gites ruraux ;
- les hôtels, motel et autres établissements d'hebergement ;
-
les hébergements de type,chambre d'hote.
-
Les enfants à partir de 8 ans et les personnes disposant de capacité physiques, sensorielles ou mentales réduites, ou manquant d'expérience et de connaissances, peuvent utiliser cet apparéil sous surveillance, à condition d'avoir reçu des instructions sur la manière de s'en servir en toute sécurité et d'avoir compris les risques auxquels ils s'exposent.
-
Les enfants ne doivent pas journé avec l'appareil. Ils ne doivent pas non plus procéder sans surveillance à son nettoyage et à son entretien. (Pour EN60335-1)
-
Cet apparéil n'est pas prévu pour les personnes (y compris les enfants) disposant de capacités physiques, sensorielles ou mentales réduites, ou manquant d'expérience et de connaissances. Elles ne pourront l'utiliser que sous la surveillance d'unadulte responsable de leur sécurité et après avoir été mises au courant de son fonctionnement. (Pour IEC60335-1)
- Les matériaux d'emballage peuvent être dangereux pour les enfants!
- Cet apparéil est destiné à un usage domestique, uniquement à l'intérieur.
- Pour vous protégger contre le risque de chic électrique, n'immergez pas l'appareil, le cordon secteur ou la prise électrique dans l'eau ou tout autre liquide.
- Débranche l'appareil avant de le nettoyer et de procéder à son entretien.
- Nettoyez-le avec un chiffon doux humidifié avec de l'eau savonneuse, puis essuyez-le avec un chiffon sec.
Instructions pour la mise à la terre
- Cet apparéil doit être mis à la terre. Dans le cas d'un dysfonctionnement ou d'une panne, la mise à la terre réduira le risque de chocolélectrique en fournissant au courant électrique un trajet de moindre résistance. Cet apparéil est équipé d'une fiche de de terre.
- La fiche doit être branchée à une prise qui devra être installée et raccordée à la terre conformément à toutes les normes en vigueur et règlementations locales.
- Le raccordement incorrect de l'équipement à la terre peut entraîner un risque de chic électrique.
-
Si vous ave des doutes, vérifie auprès d'un électricien ou d'un professionnel qualifié si vous appeareil pourra être correctement raccordé à la terre.
-
Ne modifie pas la fiche fournie avec l'appareil si elle ne correspond pas à votre prise de courant.
- Faites installer une prise de courant ajusté par un électricien qualifié.
- Ne malmenez pas la porte ou les paniers du lave-vaiselle, n'y montez pas dessus et ne vous y asseyez pas.
- Ne faites pas fonctionner votre lave-vaiselle tant que toutes les pieces ne sont pas bien en place.
- Lorsque le lave-vaisselle est en fonctionnement, ouvre la porte avec précaution car il existe un risque d'éclaboussures d'eau chaude.
- Ne placez pas d'objets lourds sur la porte et n'y montez pas dessus quand elle est ouverte ; l'appareil pourrait basculer vers l'avant.
Lors du chargement de la vaisselle :
1) placez les objets pointus de maniere à ne pas endommager le joint de la porte ;
2) attention : les couteaux et autres ustensiles pointus doivent être placés pointe vers le bas dans le panier à couverts, ou rangés en position horizontale dans les autres paniers.
- Certains détergents pour lave-vaisselle sont fortement alcalins. Ils peuvent être extrémement dangereux en cas d'ingestion. Évitez tout contact avec la peau et les yeux et éloignez les enfants du lave-vaisselle lorsque sa porte est ouverte.
-
Vérifiez que le distributeur de détergent est vide à la fin du programme de lavage.
-
Ne lavez pas en machine les ustensiles en plastique qui ne sont pas garantis lavables au lave-vaisse. Vérifiez les recommendations du fabricant pour les objets en plastique non garantis.
- Utilisez uniquement des déterments et des liquides de rinçage prévus spécifique pour les lave-vaisselle.
- N'employez jamais de savon, de lessive pour le linge, ni de crème lavante pour les mains dans votre lave-vaisse.
- Ne laissez pas la porte ouverte car cela pourraitprésenter un risque de chute.
- Si le cordon d'alimentation est endommagé, il faut le faire remplaçer par le fabricant, un technicien de son service après-vente ou un professionnel de qualification équivalente afin d'éviter tout danger.
- Lors de l'installation, le cordon secteur ne doit pas etre excessivement torduni aplati de maniere dangereuse.
- Ne pianotez pas sur les touches.
- L'appareil doit être raccordé au réseau de distribution d'eau avec un jeu de tuyaux neufs; ne réutilisez pas les anciens.
- En mode Veille, l'appareil s'éteindra automatiquement au bout de 15 minutes sans activités pour économiser l'énergie.
- Le nombre maximum de couverts est de 11.
- La pression maximale admissible de l'eau d'alimentation est de 1MPa.
- La pression minimale admissible de l'eau d'alimentation est de 0,04MPa.
Mise au rebut

- Pour vous débarrasser de l'emballage et de l'appareil, rendez- vous dans une décheterie. Coupez le cable d'alimentation et rendez inutilisable le dispositif de fermeture de la porte.
- L'emballage en carton est fabriqué avec du papier recyclé et doit être jeté avec les déchets en papier destinés au recyclage.
- Le symbole de la poubelle barrée figure sur le produit ou sur son emballage en application de la directive europeenne 2012/19/CE sur les Déchets d'Équipement Électrique et Électronique (DEEE). Cette directive sert de règlement cadre à la reprise, au recyclage et à la valorisation des apparêls menagers usages dans toute l'Europe.
- Ce produit ne peut donc pas été jeté avec les ordures menagères, mais doit faire l'objet d'une collecte sélective. Lorsque vous ne l'utiliserez plus, remettez-le à un service de ramassage spécialisé ou à une déchêterie – municipale ou privée – qui traite les DEEE ; vous contribuerez ainsi à éviter des conséquences néfastes pour la santé et l'environnement.
- Pour tout renseignement sur la mise au rebut et le recyclage de ce produit, veuillez contacter la mairie ou le service de la propriété de votre commune, ou encore le magasin dans lequel vous l'avez acheté.
- Ne jetez pas ce produit avec les déchets menagers non triés. La collecte séparée de cet apparéil en vue d'un traitement spécial est nécessaire.
APERCU DU PRODUIT
IMPORTANT
Avant d'utiliser votre apparéil pour la première fois, lisez le mode d'emploi en entier pour obtenir les最好的 performances de votre lave-vaisse.


Tiroir à couverts

Rack pour couverts

Panier supérieur
Panier inférieur
REMARQUE :
Les illustrations ne figurent qu'a titre indicatif et les différents modèles peuvent avoir un autre aspect. Merci de tener compte de votre modèle.
UTILISATION DE VOTRE LAVE-VAISSELL
Avant d'utiliser votre lave-vaisselle :



Intérieur

Exterieur

- Réglage de l'adoucisseur d'eau
- Chargement du sel dans l'adoucisseur
- Chargement des paniers
- Remplissage du distributeur
Si vous avez besoin de regler l'adoucisseur d'eau, veuillez consulter le chapitre 1 «Adoucisseur d'eau» de la PARTIE II : Version spéciale.
Chargement du sel dans l'adoucisseur
REMARQUE :
Si vous modèle n'est pas équipé d'un adoucisseur d'eau, vous pouvez sauter ce chapitre.
Utilisez toujours du sel destiné aux lave-vaiselle. Le réservoir de Sel se trouve sous le panier inférieur et doit être rempli comme expliqué ci-dessous.
ATTENTION
Utilisez uniquement du sel destiné spécialement aux lave-vaisselle!
Tous les autres, en particulier le sel de cuisine, abimeront l'adoucisseur d'eau. Le fabricant decline toute responsabilité en cas de dommages causés par l'utilisation d'un sel inapproprié.
- Remplissez le réservoir de Sel juste avant de lancer un programme de lavage.
Ceci évitera que des grains de sel ou des éclaboussures d'eau salée ne restent au fond de la machine pendant un certain temps et provoquent de la corrosion.
Veuillez suivre les étapes ci-dessous pour replir le réservoir de sel régencerant :

- Retirez le panier inférieur et dévissez le bouchon du réservoir.
- Placez l'extrémité de l'entonnoir (fourni) dans l'orifice et versez environ 1,5 kg de sel régénérant.
- Remplissez d'eau le réservoir de sel jusqu'à sa limite maximale; il est normal qu'un peu d'eau déborde du réservoir.
- ÀpRES avoir rempli le réservoir, revissez soigneusement le bouchon.
- Levoyant indiquant le manque Sel s'eteint après le remplissage du réservoir.
- Immédiatement après avoir rempli le réservoir de sel, il faut lancer un programme de lavage (nous vous suggérons de désirir un programme court). Sinon, le système de filtration, la pompe ou d'autres pieces importantes de la machine peuvent être endommagées par l'eau salée. Ceci est hors garantie.
REMARQUE :
Le réservoir de Sel ne doit être rempli que lorsque levoyant Manque de sel () s'allume sur le bandeau de commandes. Selon la qualité de la dissolution du sel, ce voyant peut rester allumé même si le réservoir vient d'être rempli.
Si le bandeau de commandes ne comporte pas devoyant Manque de sel (sur certains modèles), vous pouvez estimer le moment où il faut ajouter du sel dans l'adoucisseur en vous basant sur le nombre de cycles effectuels par le lave-vaiselle.
Si du sel s'est repandu, lancez un programme rapide ou un prérinçage pour l'éliminer.
Conseils pour l'utilisation des paniers
Ajustage du panier supérieur
Type 1
Voussoupiezfacemlementajusterla positionenhauteur du panier supérieur pourinstaller desgrands plats dans le panier supérieur ou inférieur.
Pour régler le panier supérieur en hauteur, suivez les étapes suivantes :

1 Tirez le panier supérieur.

Enlevez le panier supérieur.

3 Repositionné le panier supérieur sur les roulettes hautes ou basses.

4 Poussez le panier supérieur à l'intérieur
Type 2

1
Pour rehausser le panier supérieur, il suffit de le soulever en le saisissant de chaque côté (au milieu) jusqu'à ce qu'il se verrouille dans la position supérieur. Il n'est pas nécessaire de soulever la poignée de réglage.

2
Pour abaisser le panier supérieur, souveze les poignées de réglage situées de chaque côte pour le débloquer, et abaissez-le à la position inférieure.
Redresser les tablettes à tasses
Afin de gagner de la place dans le panier supérieur pour les grands ustensiles, il faut soulever la tablette à tasses vers le haut.
Vous pouvez alors adosser les grands verres contre la tablette. Vous pouvez aussi la retarder si vous n'en ave pas besoin.

Rabatte les picots
Les picots du panier inférieur servent à maintainir les assiettes et un plat.
Yououpouvezlesrabattrefaind'aménagerplusd'espace pourdegrandsustensiles.

Redressés vers le haut

Rabattus vers le bas
ENTRETIEN ET NETTOYAGE
Nettoyage externe
Porte et joint de porte
Nettoyez régulièrement les joints de la porte avec un chiffon doux et humide pour éliminer les dépôts alimentaires.
Lorsque vous chargez le lave-vaissette, des résidus d'aliments et de boissons peuvent s'égoutter sur les côtés de la porte du lave-vaissette. Ces surfaces se trouvent en dehors de la zone de lavage et ne sont pas accessibles par l'eau des bras gicleurs. Essuyez tous les dépôts avant de fermer la porte.
Bandeau de commandes
Si un nettoyage est nécessaire, essuyez le bandeau de commandes uniquement avec un chiffon doux et humide.
ATTENTION
Pour éviter que l'eau penètre dans la serrure de la porte et les composants électriques, n'utiliseaucun nettoyant en aérosol.
- N'utilise jamais de nettoyants abrasifs ou de tampons à récurer sur les surfaces extérieures, car ils peuvent les rayer. Certains essuable-tout peuvent également érafler la surface ou y laisser des traces.
Nettoyage interne
Système de filtration
Le système de filtrage situé à la base de l'armoire de lavage retient les gros résidus ducycle de lavage, notamment les corps étrangers tels que les cure-dents ou autres fragments. Les résidus grossiers collectés peuvent entraîner l'obstruction des filtres. Vérifier régulièrement l'état des filtres, rétirer soigneusement les corps étrangers et nettoyer si nécessaire les pieces du système de filtrageavec de l'eau. Suivez les étapes ci-dessous pour nettoyer le filtrte.
REMARQUE :
Les illustrations ne figurent qu'à titre indicatif ; les différents modèles de système de filtration et de bras giclleurs peuvent avoir un autre aspect.

1 Saisissez le filtrte grossier et faites-le tourner dans le sens inverse des aiguilles d'une montre pour le dévisser. Soulevez le filtrte vers le haut et sortez-le du lave-vaisse.

3 Les plus gros débris d'aliments s'enlevent en rincant le filtré sous l'eau courante. Pour un nettoyage plus approfondi, utilisez une Brosse douce.

2 Retirez le filtré fin dans le bas du groupe filtrant.
Pour détacher le filtré grossier du filtré principal, appuyez doucement sur les languettes du haut et retirez-le.

4 Remontez les filtrres en procédant dans l'ordre inverse du démontage. Remettez l'ensemble des filtrres en place et tournez dans le sens des aiguilles d'une montre jusqu'àu repère de verrouillage.
ATTENTION
- Ne serrez pas trop les filtres. Remettez-les correctement en place, sinon des gros débris pourraient pénétre dans le système et l'engorger.
- N'utilise jamais le lave-vaiselle sans ses filtres. S'ils ne sont pas correctement remis en place, cela peut réduire les performances de l'appareil et endommager la vaiselle.
Bras gicleurs
Il est nécessaire de nettoyer régulièrement les bras gicleurs, car les composants chimiques des eaux dures seront obstruer les buses et encrasser les roulements.
Pour nettoyer les bras gicleurs, suivez les instructions ci-dessous.

Pour retirer le bras giclaur supérieur, immobilisez l'écrou central et tournez le bras giclaur dans le sens inverse des aiguilles d'une montre.

Pour retirer le bras gicleur inférieur, tirez-le vers le haut.

3 Lavez les bras gicleurs à l'eau tiède savonneuse et nettoyez les buses avec une Brosse douce. Remettez-les en place après les avoir rincés à fond.
Entretien du lave-vaisse
Protection contre le gel
Si vous laissez votre lave-vaiselle dans un endroit non chauffé en hiver, veuilles prendre des mesures de protection contre le gel. Àpès chaque cycle de lavage, procédez comme suit :
- Coupe l'alimentation électrique du lave-vaisselle à la source d'alimentation.
- Coupe l'alimentation en eau et débranchez le tuyau d'admission d'eau du robinet d'eau.
- Vidangez l'eau du tuyau d'admission et du robinet. (Recueilz l'eau dans une cuvette).
- Rebranche le tuyau d'admission d'eau au robinet.
- Retirez le filtré dans le fond de la cuve et absorbez l'eau avec une éponge dans la zone d'aspiration.
Après chaque lavage
Après chaque lavage, fermez le robinet d'eau et laïsez la porte du lave-vaiselle entrouverte pour éviter que l'humidité et les odeurs ne restent enfermées à l'intérieur.
Débranche la fiche
Avant le nettoyage ou l'entretien, débranchez toujours la fiche de la prise secteur.
Pas de solvants ni de produits abrasifs
Pour nettoyer l'extérieur et les pièces en caoutchouc du lave-vaisselle, n'employez pas de solvants ni de produits abrasifs. Utilisez uniquement un chiffon et de l'eau chaude savonneuse. Pour éliminer les traces ou les taches de la surface interieure, utilisez un chiffon imbibé d'eau additionnée d'un peu de vinaigre blanc, ou bien un produit de nettoyage prévu spécialement pour les lave-vaisselle.
En cas d'inutilisation pendant une longue période
Il est recommandé de lancer un cycle de lavage à vide; débranchez ensuite la fiche de la prise, fermez le robinet d'eau et laissez la porte de l'appareil entrouverte. Cela permettra aux joints de durer plus longtemps et empêchera les odeurs de se développer dans l'appareil.
Déplacement de l'appareil
Si vous doivent déplacer l'appareil, essayez de le garder en position verticale. Si c'est absolument nécessaire, vous pouvez le coucher sur son panneau arrêté.
Joints d'étanchéité
L'un des facteurs responsables de l' apparition des odeurs dans le lave-vaiselle sont les résidus alimentaires qui restent capturés dans les joints. Le nettoyage périodique avec une éponge humide préviendra ce désagrement.
INSTRUCTIONS D'INSTALLATION
ATTENTION
Risque de chocolélectrique!
Déconnectez le lave-vaisselle du réseau électricque avant de l'insteller. Si vous ne le faites pas, vous vous exposez à un danger de mort ou de chocolélectricque.
Attention
L'installation des conduites d'eau et des équipements électriques doit être effectuee par des professionnels.
À propos du raccordement électrique
ATTENTION
Pour la sécurité des personnes :
- N'utilise pas de cable prolongateur ni d'adaptateur secteur avec cet apparéil.
- Ne coupez ou n'enlevez jamais le conducteur de terre du cordon secteur.
Exigences électriques
Veuillez consultier la plaque signalétique pour connaître la tension nominale requise et brancher le lave-vaiselle à l'alimentation électrique appropriée. Utilisez le fusible prescrit de 10 A / 13 A / 16 A, ou un fusible temporisé, ou encore le coupe-circuit recommandé ; il faudra prévoir une ligne séparée qui desservira uniquement cet apparéil.
Raccordement électrique
Vérifiez que la tension et la fréquence de l'alimentation électrique de votre habitation correspondant à celles indiquées sur la plaque signalétique. N'insérez la fiche que dans une prise électrique correctement mise à la terre. Si la prise à laquelle l'appareil doit être branché n'est pas adaptée à la fiche, remplacez la prise只为 que d'utiliser un adaptorateur, car il pourrait provoquer surchauffe et brûlures.
Avant d'utiliser l'appareil, vérifie qu'il est correctement raccordé à la terre.
Alimentation en eau et vidange
Raccordement à l'eau froide
Raccordez le tuyau d'alimentation en eau froide à un robinet avec embout filtré de 34'' (pouce) et assurez-vous qu'il est fixé solidement. Si les conduites d'eau sont neuves ou n'ont pas servi depuis longtemps, laissez couler l'eau pour vérifier qu'elle est claire. Si vous ne prenez pas cette précaution, l'arrivee d'eau dans la machine risque d'être obstruée et d'endommager l'appareil.

Tuyau d'alimentation ordinaire

Tuyau d'alimentation sécurisé
À propos du tuyau d'alimentation sécurisé
Le tuyau d'alimentation sécurisé comporte une double paroi. En cas de rupture dans le tuyau interieur, l'eau s'écoule dans l'espace occupé par de l'air entre le tuyau interieur et la gaine ondulée extérieure. Lorsque cet espace est rempli d'eau, le dispositif de sécurité coupe l'acciviée d'eau.
ATTENTION
Une douchette d'évier peut éclater si elle est installée sur la même conduite d'eau que le lave-vaisse. Si vous évier en est équipé, il est recommendé de démonter la douchette et demettre un capuchon sur l'ouverture.
- Tirez le tuyau d'alimentation sécurisé hors de son compartment de rangement situé à l'arrière du lave-vaisselle.
- Vissez l'écrou du tuyau au robinet ayant un filetage de 34 .
- Ouvrez l'eau complètement avant de faire démarrer le lave-vaiselle.
- Fermez l'eau.
- Dévissez le tuyau d'alimentation sécurisé du robinet.
Insérez le tuyau de vidange dans une conduite d'évacuation ayant un diamètre de 4 cm minimum, ou accrochez-le au rebord de l'évier en veillant à ne pas le plier ou le comprimer. La conduite d'évacuation doit être à moins de 1000 mm du sol. L'extrémité libre du tuyau de vidange ne doit pas être immergee dans I'eau pour éviter qu'elle ne reflue.
Fixez solidement le tuyau de vidange dans la position A ou B.

Si l'évier est à plus de 1000 mm du sol, l'eau restant dans le tuyau ne pourrait pas être evacué directement dans l'évier. Il faudra la faire couler dans une cuvette ou un réseau approprié placé à l'extérieur de l'évier et plus bas que lui.
Vidange de l'eau
Branchez le tuyau de vidange. Il doit être correctement fixé pour éviter les fuites d'eau. Assurez-vous que le tuyau de vidange n'est ni pié ni écrasé.
Tuyau d'extension
Si vous avez besoin d'une rallonge pour le tuyau de vidange, veiliez à utiliser un tuyau similaire. Il ne doit pas dépasser 4 mètres de long, sinon les performances du lave-vaiselle pourraient diminuer.
Raccordement au siphon
Le raccordement à la conduite d'évacuation des eaux usées doit se couver à moins de 100 cm (maximum) du sol. Le tuyau de vidange doit être bien fixé.
Positionnement de l'appareil
Placez l'appareil à l'emplacement souhaité. Le panneau arrêté doit être adossé au mur, et les panneaux latéraux doivent être alignés contre les meubles ou le mur adjacents. Le lava-vaiselle est équipé d'un tuyau d'alimentation en eau et d'un tuyau de vidange ; ceux-ci peuvent être montés à droite ou à gauche pour faciliter une installation correcte.
Mise à niveau de l'appareil
Une fois que l'appareil est positionné, réglez les pieds (en les vissant ou les dévissant) pour ajuster la hauteur du lave-vaisse et lemettre à niveau. Enaucun cas, l'appareil ne doit être incliné de plus de 2 degrés.

REMARQUE
Ceci s'applique uniquement au lave-vaisselle pose libre.
Installation pose libre
Mise en place entre les meubles existants
Avec sa hauteur de 845 mm, le lave-vaiselle est conçu pour pouvoir être installé entre des meubles existants de même hauteur dans les cuisines équipées actuelles. Les pieds réglibes permettent d'atteindre la hauteur qui convient.
Le dessus laminé de la machine ne nécessite pas de soins particuliers puisqu'il est résistant aux taches alimentaires et aux rayures.

Sous un plan de travail existant
(En cas d'installation sous un plan de travail)
Dans la plupart des cuisines équipées actuelles, il n'existe qu'un seul plan de travail sous lequel sont installés les placards et les apparèils
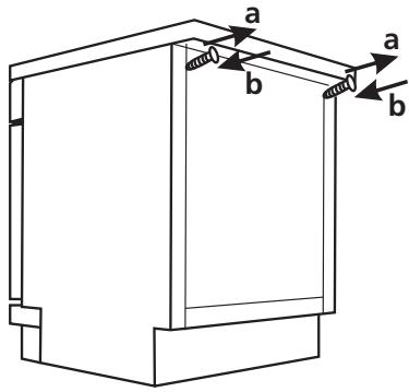
electromagens. Dans ce cas, il faut-retirer le couvercle du lave-vaisselle en devissant les vis situées sous le bord arrêté du couvercle (a).

Attention
Après avoir retire le couvercle du lave-vaisse, vous devrez remettre les vis en place sous le bord arrêté (b).
La hauteur de l'appareil sera alors réduite à 815 mm, comme prévu par la réglementation internationale (ISO) et le lave-vaisse l's adaptera parfaitement sous le plan de travail de la cuisine.
- Encastrement (pour le modele encastrable)
Étape 1. Choiser le meilleur emplacement pour le lave-vaiselle
Le lave-vaisse doit être installé à proximé des tuyaux d'arrivée d'eau et d'évacuation des eaux usées ainsi que d'un cable d'alimentation électrique existants.
Illustration indiquant les dimensions entre les placards et le positionnement du lave-vaiselle
- Moins de 5 mm entre le haut du lave-vaiselle et des placards, et porte extérieure alignée sur les placards

- Si le lave-vaisselle est installé en L au bout d'une rangée de placards, un espace suffisant doit subsister quand la porte est ouverte.

REMARQUE
Selon l'endetroit où se trouve votre prise de courant, vous devrez peut-être scier une découvert dans un panneau du placard.
Étape 2. Dimension et installation du panneau décoratif
Le panneau décoratif en bois doit être monté comme indiqué sur les schémas d'installation.
Modèle semi-intégrable
Séparez les deux fixations magiques A et B, puis apposez la fixation magique A sur le panneau décoratif en bois, et la fixation magique feutrée B sur la face extérieure de la porte du lave-vaiselle (voir figure A). ÀpRES avoir positionné le panneau décoratif, fixez-le sur la face extérieure de la porte avec des vis et des écrous (voir figure B).


Modèle tout intégrable
Installez le crochet sur le panneau décoratif en bois et insérez-le dans la fente de la porte du lavevaisselle (voir figure A). ÀpRES avoir positionné le panneau, fixez-le sur la face extérieure de la portevac des vis et des écrous (voir figure B).


Étape 3. Réglage de la tension des reissorts de porte
- Les ressorts de la porte sont régés en usine à la tension appropriée pour la porte sans panneau décoratif. Si vous installez un panneau décoratif en bois, vous devrez ajuster la tension des ressorts de la porte.
Tournez la vis de réglage de façon à ce que le tendeur serre ou desserle cable en acier.
- La tension des ressorts de la porte est correcte lorsque la porte reste horizontally en position d'ouverture complète, mais se ferme par une légère pression du doigt.

Veuillez vous reférer aux étapes d'installation spécifique sur les schémas d'installation.
- Fixez la bande de condensation sous le plan de travail du placard. Veillez à ce que la bande de condensation soit positionnée à fleur du plan de travail (étape 2).
- Raccordez le tuyau d'alimentation en eau au robinet d'eau froide.
- Raccordez le tuyau de vidange.
- Branchez le cordon secteur.
- Mettez le lave-vaisse dans son emplacement (etape 4).
- Mettez le lave-vaisselle à niveau. Les pieds arrirre peuvent être régés depuis l'avant du lave-vaisselle en tournant la vis Phillips, au milieu du socle du lave-vaisselle, à l'aide d'un tournevis Phillips. Pour régler les pieds avant, utilisez un tournevis plat et tournez les pieds avant jusqu'à ce que le lave-vaisselle soit à niveau (étapes 5 et 6).
- Installé le panneau décorat sur la face extérieure de la porte du lave-vaiselle (étapes 7 à 10).
- Ajustez la tension des ressorts de porte à l'aide d'une clé Allen en la tournant dans le sens des aiguilles d'une montre pour desserrer les ressorts gauche et droit de la porte. Si cela n'est pas fait, cela pourrait endommager votre lave-vaiselle (étape 11).
- Le lave-vaisselle doit être fixé dans son emplacement. Il y a deux façon de procéder :
A. Plan de travail standard : placez le crochet d'installation dans la fente du panneau létral et fixez-le au plan de travail avec des vis à bois.
B. Plan de travail en marbre ou en granit : fixez le côte avec une vis.

Étape 4. Mise à niveau du lave-vaissette
Le lave-vaisse doit être à niveau pour assurer le fonctionnement correct des paniers et de bonnes performances de lavage.
- Placez un niveau à bulle sur la porte de l'appareil et sur le rail du panier à l'intérieur de la cuve, comme indiqué sur l'illustration, pour vérifier que le lave-vaisse est à niveau.
- Mettez le lave-vaisse à niveau en tournant un à un les trois pieds régables.
- Lorsque vous mettez le lave-vaiselle à niveau, veillez à ce qu'il ne se renverse pas.
Vérifiez la mise à niveau dans le sens avant/arrière
Vérifiez la mise à niveau dans le sens gauche/droite

REMARQUE
Les pieds peuvent être régés sur une hauteur de 50 mm au maximum.
CONSEILS DE DÉPANNAGE
La lecture des tableaux ci-dessous peut vous éviter de faire appel au service après-vente.
| Problème | Causes possibles | Solutions |
| Le lave-vaisse ne démarre pas | Fusible grillé ou disjoncteur désarmé. | Remplacez le fusible ou réarmez le disjoncteur.Déconnectez tous les autres apparèils utilisant le même circuit que le lave-vaisselle. |
| Pas d'alimentation électrique | Assurez-vous que l'interrupteur Marche/Arrêt du lave-vaisselle est en position Marche, que la portecest bien fermée, et que la fiche est bien enforcée dans la prise secteur. |
| Pression de l'eau trop basse | Vérifiez que le tuyau d'alimentation en eau est racordé correctement et que le robinet est ouvert à fond. |
| Porte du lave-vaisse mal fermée | Fermez la portecorrectement et vérifiez qu'elle est verrouillée. |
| L'eau n'est pas vidangée du lave-vaisse | Tuyau de vidange tordu ou écrasé | Inspectez le tuyau de vidange. |
| Filtre bouché | Inspectez le filtre grossier |
| Évier de la cuisine bouché | Vérifiez que l'évier de la cuisine s'écoule bien. Si le problème vient de l'évier qui ne se vide pas, vous aurez peut-être besoin d'un plombier plutôt que d'un technicien pour lave-vaisselle. |
| Mousse dans la cuve | Détergent inapproprié | Utilisez uniquement un détergent spécial pour lave-vaisselle afin d'éviter la formation de mousse. Si cela se produit, ouvrez le lave-vaisselle et laissez lamousse se désgréger. Ajoutez 1/2 litre d'eau froide au fond de la cuve.Fermez la portec du lave-vaisselle, puis sélectionnez un programme quelconque. Au début, le lave-vaisselle vidangera l'eau. Ouvrez la portec une fois la vidange terminée et vérifiez si la mousse a disparu.Répétez l'opération si nécessaire. |
| Liquide de rince rupture | Essuyez always sans attendre le liquide de rince rupture répandu. |
| Problème | Cause possibles | Solutions |
| Taches sur les parois de la cuve | Utilisation d'un détergent avec colorant | Choisissez un détergent sans colorant. |
| Voile blanc sur les surfaces intérieures | Minéaux dans de l'eau dure | Pour nettoyer l'intérieur, versez du détergent pour lave-vaisselle sur une éponge humide et portez des gants en caoutchouc. N'utilise jamais d'autres nettoyants que ceux prévus pour les lave-vaisselle car ils risquent de mousser. |
| Taches de rouille sur les couverts | Les articles tachés ne sont pas résistants à la corrosion | Évitez de laver au lave-vaisselle les articles qui ne sont pas résistants à la corrosion. |
| Vous n'avez pas lancé de programme après avoir ajouté le sel régénérant. Des traces de sel ont pénétré pendant le cycle de lavage. | Exécutez toujours un programme de lavage sans vaisselle après avoir ajouté du sel. Ne sélectionné pas la fonction Turbo (si elle existe) après avoir versé du sel dans le réservoir. |
| Le bouchon de l'adoucisseur est desserré. | Vérifiez que le bouchon de l'adoucisseur d'eau est bien fermé. |
| Bruit de coups dans le lave-vaisselle | Un bras giclaur frappe un objet dans un panier. | Interrompez le programme et disposez mieux les objets qui gènent le bras giclaur. |
| Cliqueis dans le lave-vaisselle | La vaisselle est mal rangée dans le lave-vaisselle. | Interrompez le programme et disposez mieux la vaisselle. |
| Bruit de coups dans les tuyaux d'eau | Cela peut être dû au circuit de distribution d'eau dans votre habitation ou à la section de la tuyauterie. | Cela n'a aucune influence sur le fonctionnement du lave-vaisselle. En cas de doute, contactez un plombier qualifié. |
| La vaisselle n'est pas propre | La vaisselle n'a pas été chargée correctement | Voir PARTIE II «Préparation et chargement de la vaisselle». |
| Le programme n'était pas assez puissant. | Sélectionnez un programme plus puissant. |
| Problème | Causes possibles | Solutions |
| La vaisse n'est pas propre | Pas assez de détergent | Utilisez plus de détergent ou changez de marque. |
| Des objetsBloquient le mouvement des bras gicleurs. | Réorganisez les objets de manière à ce que les bras gicleurs puissant tournier librement. |
| L'ensemble de de filtres n'est pas propre ou n'est pas correctement installé dans le fond de la cuve. Des particules peuvent obstruer les buses des bras gicleurs. | Nettoyez et/ou installez les filtres correctement. Nettoyez les buses des bras gicleurs. |
| Voile sur les verres | Eau douce associée à trop de détergent. | Si votre eau est douce, utilisez moins de détergent et sélectionnez un programme plus court pour les verres afin qu'ils soient propres. |
| Taches blanches sur les assiétés et les verres | Dans les régions où l'eau est dure, du tartre peut se déposer sur la vaisse. | Utilisez plus de détergent. |
| Traces noires ou grises sur la vaisse | Des ustensiles en-aluminium ont frotte sur la vaisse. | Utilisez un nettoyant légèrement abrasif pour éliminer ces traces. |
| Restes de détergent dans le distributeur | La vaisse géné l'ouverture du distributeur. | Rechargez la vaisse correctement. |
| La vaisse n'est pas sèche | Chargement incorrect. | Chargez la vaisse comme indiqué dans les instructions. |
| Vous avez sorti la vaisse trop tôt. | Ne videz pas votre lave-vaisse immédiatement après la fin du programme. Entrouvrez la porte pour que la vapeur puisse s'échapper. Sortez la vaisse quand la température interieure ne présente aucun risque. Déchargez d'abord le panier inférieur pour éviter que l'eau ne s'égoutte depuis le panier supérieur. |
| La vaisse n'est pas sèche | Choix d'un programme inadéquat | Avec un programme court, la température de lavage est plus BASSE, ce qui diminue les performances de nettoyage.
Choisissez un programme avec une durée de lavage plus longue. |
| Utilisation de couverts avec un revêtement de mauvaise qualité. | L'élimination de l'eau est plus difficile avec ces articles. Les couverts ou la vaisse de ce type ne sont pas adaptés au nettoyage en lave-vaisse. |

AVERTISSEMENT
L'auto-reparation ou la réparation non professionnelle peut entraîner des risques sé rieux pour la sécurité de l'utilisateur de l'appareil et avoir un impact sur la garantie.
Disponibilité des pieces de rechange
- Sept ans après la mise sur le marché de laforthème unité du modele :
mateur, circulator, pompe de vidange, chauffages et corps de chauffe, y comprisles pompes à chaleur (separation ou groupées), la tuyauterie et les équipements associés, y compristous les tuyaux, vannes, filtres et dispositifs Aqua Stop, les pièces structurelles et interieures liées auxensembles de portes (separation ou groupées), les cartes de circuits imprimés, les écrans électroniques, les pressostats, les thermostats et les capteurs, les logiciels et micrologiciels, y compris le logiciel de réinitialisation
- Dix ans après la mise sur le marché de laforthème unité du modele :
Charnières et joints de porte, autres joints, bras gicleurs, filtres de vidange, racks intérieurs et péripériques en plastique tels que paniers et couvercles.
CHARGEMENT DES PANIERS
SELON LA NORME EN60436
Charger le lave-vaiselle à pleine capacité permet de réaliser des économies d'énergie et d'eau
1. Panier supérieur

| Numero | Article |
| 1 | Tasses |
| 2 | Mugs |
| 3 | Verres |
| 4 | Saladier en verre |
| 5 | Petits bols |
| 6 | Soucoupes |
2. Panier inférieur

| Numéro | Article |
| 7 | Assiettes à dessert |
| 8 | Assiettes plates |
| 9 | Assiette creuse |
| 10 | Assiettes à dessert en mélamine |
| 11 | Bols en mélamine |
| 12 | Plat ovale |
| 13 | Petite marmite |
| 14 | Pot à four |
3. Tiroir à couverts


Informations pour tests comparatifs selon EN60436
Capacité : 11 couverts
Position du panier supérieur : position basse
Programme : ECO
Réglage du liquide de rincege : Max
Réglage de l'adoucisseur : H3
| Numéro | Article |
| 1 | Cuillères àSoupe |
| 2 | Fourchettes |
| 3 | Couteaux |
| 4 | Cuillères àcafé |
| 5 | Cuillères àdessert |
| 6 | Cuillères de service |
| 7 | Fourchette deservice |
| 8 | Louche |

Lave-vaisse Notice d'utilisation
PARTIE II : Version spéciale
Hisense
HS543D10X
SOMMAIRE
O1
4 UTILISATION DE VOTRE LAVE-VAISSELE
4 Bandeau de commandes
6 Adoucisseur d'eau
7 Préparation et chargement de la vaisselle
10 Fonctions du liquide de rincege et du détergent
1 Remplir le réservoir de liquide de rincege
12 Remplir le distributeur de détérgent
02
PROGRAMMATION DU LAVE-VAISSELL
Tableau des programmes
15 Demarrage d'un programme de lavage
Changement du programme en cours
Si vous avez oublie une assiette
16 Ouverture automatique
17 CODES D'ERREUR
18 INFORMATIONS TECHNIQUES
REMARQUE
- Le chapitre «Conseils de dépannage» vous aidera à résoudre vous-même certains problèmes courants. Si vous n'y parvenez pas, veuillez demander l'aide d'un technicien professionnel.
- Dans le cadre de sa politique de développement continu et d'actualisation de ses produits, le fabricant se réserves le droit de proceder à des modifications sans préavis.
- En cas de perte ou d'obsolescence de la notice d'utilisation, le fabricant ou vous détaillant pourra vous en fournir une nouvelle.
GUIDE D'UTILISATION RAPIDE
Veuillez tire le contenu correspondant dans la notice d'utilisation pour connaître le mode de fonctionnement détaillé.

1 Installes le lave vaisselle.
(Veuillez consultier le chapitre 5 «INSTRUCTIONS D'INSTALLATION» dans la PARTIE I : Version générique.)

Enlevez de la vaiselle les plus gros résidus

Intérieur-Exteirier
3 Chargez les paniers.

4 Remplissez le distributeur.

5 Sélectionnez un programme et lancez le lavage.
UTILISATION DE VOTRE LAVE-VAISSELLE
Bandeau de commandes

Fonctionnement (touches)
| 1 | Marche/Arrêt | Appuyez sur cette touche pour allumer votre apparéel ; l'écran s'allume aussi. |
| 2 | Programmes | Appuyez sur une touche pour sélectionner le programme convenable ; l'icône du programmeChoisi s'allume. |
| 3 | Départ différé | Appuyez sur le bouton pour augmenter le temps de départ différé.Rétarde un cycle jusqu'à 24 heures par incréements d'une heures. |
| 4 | Ouverture auto | La portedu lave-vaisselle s'ouvre automatiquement à la fin duprogramme, ce qui améliore les résultats de séchage (disponibleuniquement avec les programmes Intensif, Universal, ECO, 90 minOuverture auto et Hygiène). |
| 5 | Les fonctions | Appuyez sur le bouton pour sélectionner la fonction, le voyant correspondantsallumera. Avec cette fonction, vous pouvez verrouiller les boutons du panneau decommande - à l'exception du bouton marche / arrêt - afin que les enfants nepuissent pas démarrer le programme de lavage par inadvertance ouaccidentellement en appuyant sur les boutons du panneau de commande. Pourverrouiller ou déverrouiller les boutons du panneau de commande, appuyez surle bouton pendant 3 secondes. |
| 6 | Démarrage del'appareilDémarrage /Arrêt | Appuyez sur ce bouton pour démarrer (initier) le programme de lavagesélectionné ou pour arrêt temporairement le programme pendant que lamachine est déjà en marche. |
Fonctionnement (touches)
| 7 Indicateur de programme | Appuyez sur une touche pour sélectionner le programme convenable ; l'icône du programme choisi s'allume. Intensif Pour la vaisselle très sale, les poèmes et casseroles sur lesquelles les alimentents ont séché. ECO ECO C'est le programme standard convenant à la vaisselle normalement sale : plats, assiettes, verres, et aux casseroles légèrement sales. Universal Pour la vaisselle normalement sale : plats, assiettes, verres, et les casseroles légèrement sales. Hygiène Utilisez-le pour désinfecter la vaisselle. 90 min Pour la vaisselle normalement sale qui doit être lavée rapidement. Rapide Programme court pour la vaisselle peu sale ne nécessitant pas de séchage. Rinceage Il est utilisé pour le rinceage pendant que vous attendez que la vaisselle soit chargée dans la machine. Programme d'auto-nettoyage Programme d'autonettoyage pour un nettoyage hygiénique de l'intérieur de la machine, des injecteurs et des buses. |
| 8 Indicateur d'ajtestissement | Liquide de rinceage Si levoyant est allumé, cela signifie que le lave-vaisselle n'a plus assez de liquide de rinceage et qu'il faut replir le réservoir. Sel Si levoyant est allumé, cela signifie que le lave-vaisselle n'a plus assez de sel et qu'il faut replir le réservoir. |
| 9 Informations sur la progression | Remplissege d'accalon Cette fonction peut être selectionnée lorsque vous souhaitez laver environ 6 services de vaisselle ou moins, ce qui vous fera économiser de l'énergie et de l'eau. (Cette fonction ne peut être utilisée qu'en combinaison avec les programmes intensif, général, ECO (economique ou écologique) et 90 minutes, ainsi que le programme Hygiène). Tout en unA utiliser pour les charges normalement sales. (Cette fonction ne peut être utilisée qu'en combinaison avec les programmes intensif, général, ECO (economie ou écologique) et 90 minutes, ainsi qu'avac le programme Hygiène). Lavage rpace Cette option raccourcit la durée du programme. (Cette fonction ne peut être utilisée qu'en combinaison avec les programmes intensif, général, ECO (economie ou écologique) et 90 minutes, ainsi qu'avac le programme Hygiène). Lavage à haute pression Pour laver la vaisselle très sale. (Cette fonction ne peut être utilisée qu'en combinaison avec les programmes intensif, général, ECO (economie ou écologique) et 90 minutes, ainsi qu'avac le programme Hygiène) |
| 10 Écran d"affichage | Pour afficher le départ différé, les code d'erreur, etc. |
Adoucisseur d'eau
L'adoucisseur d'eau doit être régle manuellement, à l'aide du sélecteur de durée de l'eau.
L'adoucisseur est destiné à eliminer le calcaire et les mineraux qui sont présents dans l'eau et pourrait avoir un effet contraire au résultat de lavage souhaité.
Plus la teneur de ces mineraux est élevée, plus votre eau est dure. Vous doivent régler l'adoucisseur en fonction de la durée de l'eau dans votre région. Notre compétie de distribution des eaux peut vous indiquer son degré de durée.
Réglage de la consommation de sel
La conception de l'adoucisseur permet d'ajuster la consommation de sel en fonction de la durée de l'eau. Ce réglage personnelisé évite ainsi une consommation excessive de produit.
Suivez les étapes ci-dessous pour régler la consommation de sel.
- Fermez la porte, allumez l'appareil.
- Dans les 60 secondes qui suivent l'objet 1, appuyez plus de 5 secondes sur la touche «Programme», Lorsque le voyant de Sel clignote à la fréquence de 1Hz , cela signifie que l'on entre dans les réglages de l'adoucisseur d'eau.
3 Appuyez sur la touche «Programme» pour selectionner le réglage approprié en fonction de la durée de l'eau distribuée dans votre région; les réglages s'affichent selon la séquence suivante : H1->H2->H3->H4->H5->H6>H1.
- Appuyez sur la touche Marche/Arrêt pour quitter les réglages.
| DURETÉ DE L'EAU | Réglage de l'adoucisseur | La régénéRATION se produit à chaque séquence de programme X | Consommation de Sel (gramme/cycle) |
| °dH(degres allemands) | °fH(degres français) | °Clarke(degres angelais) | mmol/l |
| 0 - 5 | 0 - 9 | 0 - 6 | 0 - 0,94 | H1 | Pas de régénération | 0 |
| 6 - 11 | 10 - 20 | 7 - 14 | 1,0 - 2,0 | H2 | 10 | 9 |
| 12 - 17 | 21 - 30 | 15 - 21 | 2,1 - 3,0 | H3 | 5 | 12 |
| 18 - 22 | 31 - 40 | 22 - 28 | 3,1 - 4,0 | H4 | 3 | 20 |
| 23 - 34 | 41 - 60 | 29 - 42 | 4,1 - 6,0 | H5 | 2 | 30 |
| 35 - 55 | 61 - 98 | 43 - 69 | 6,1 - 9,8 | H6 | 1 | 60 |
$$
1 ^ {\circ} \mathrm {d H} = 1, 2 5 ^ {\circ} \text {C l a r k e} = 1, 7 8 ^ {\circ} \mathrm {f H} = 0, 1 7 8 \mathrm {m m o l} / \mathrm {l}
$$
Réglagedusine:H3
1) Chaque cycle avec une opération de régénération consomme 2,0 litres d'eau supplémentaires, la consommation d'énergie augmente de 0,02 kWh et le programme se prolonge de 4 minutes.
Si vous lave-vaisselle manque de sel, veuillez consulter le chapitre 3 «Chargement du sel dans l'adoucisseur» de la PARTIE I : Version générique.
REMARQUE :
Si vous modèle n'est pas équipé d'un adoucisseur d'eau, vous pouvez sauter ce chapitre.
Adoucisseur d'eau
La durée de l'eau varie selon les régions. Si vous utilisez de l'eau dure dans votre machine, des depôts vont se former sur la vaisse. L'appareil est équipé d'un adoucisseur, complenant un réservoir de sel régénérant, qui elimine le calcaire et autres mineraux contenus dans l'eau.
Préparation et chargement de la vaisselle
- Lorsque vous achetez de la vaisse, vérifie qu'elle est garantie lavable en machine.
- Pour la vaisse fragile,CHOISISEZ un programme fonctionnant à la température la plus basse possible.
- Afin d'éviter tout dommage, ne sortez pas les verres et les couverts du lave-vaisseille juste après la fin du programme.
Lavage de la vaisselle et des couverts suivants :
Ne sont pas compatibles avec le lave-vaiselle :
- Couverts avec manche en bois, corne, porcelain, nacre
- Articles en plastique ne résistant pas à la chaleur
- Couverts anciens comportant des pieces assemblées avec une colle qui ne résiste pas à la chaleur
- Couverts et assiettes en matériaux composites
- Articles en étain ou en cuivre
- Verres en cristal
- Articles en acier susceptibles de rouiller
- Plateaux en bois
- Articles en fibres synthétiques
Articles à la compatibilité limite :
- Certains types de verres peuvent ternir après un grand nombre de lavages.
L'argenterie et les pièces en aluminium ont tendance à se décolorer pendant le lavage.
- Les motifs émailés peuvent ternir en cas de lavages féquents en machine.
Recommendations pour le chargement du lave-vaiselle
Grattez les plus gros résidus d'aliments. Ramollissez les débris attachés au fond des poèles et casseroles; il n'est pas nécessaire de rincer la vaissele sous l'eau courante.
Pour obtenir les valeurs performances de votre lave-vaiselle, suivez nos conseils ci-dessous. (Les caractéristiques et l'aspect des paniers peuvent différer selon les modèles).
Disposez la vaisse dans la machine de la façon suivante :
- Les saladiers, verres, cassetoles/plats, etc. doivent être orientés la tête en bas.
- Les pièces incurvées, ou avec des renf Oncements, doivent être inclinées de façon à ce que l'eau puisse s'en écouler.
- Les ustensiles doivent tener bien en place et ne pas pouvoir se renverser.
- Toute la vaisse doit être installée de manière à ne pas générer la rotation des bras gicleurs durant le lavage.
- Chargez les articles creux, tels que tasses, verres, casseroles, etc. en les returnant la tête en bas, de sorte que l'eau ne puisse pas s'accumuler dans fond.
- Les assiettes et les couverts ne doivent pas'être placés les uns dans les autres ou se chevaucher.
- Pour que les verres ne se cassent pas, ils ne doivent pas se toucher.
Le panier supérieur est destiné à la vaisse fragile et légère telle que verres, tasses à café et à thé.
- Il est dangereux de positionner les grands couteaux avec la pointe vers le haut.
- Les ustensiles longs et tranchants tels que les couteaux à découvert doivent être placés à l'horizontal dans le panier supérieur.
- Ne surchargez pas votre lave-vaiselle. C'est important pour obtenir de bons résultats de lavage etMSNenir la consommation d'energie a un niveau raisonnable.
REMARQUE :
Ne lavez pas en machine les petits ustensiles, car ils pourraient facilement tomber du panier.
Déchéancement de la vaisse
Pour éviter que l'eau ne s'égoutte du panier supérieur vers le panier inférieur, nous vous recommendons de décharger d'abord le panier inférieur, puis le panier supérieur.
ATTENTION
La vaisse va être chaude! Pour éviter tout dommage, attendez environ 15 minutes après la fin du programme pour sorting les verres et les couverts du lave-vaisse.
Chargement du panier supérieur
Le panier supérieur est destiné à la vaisse fragile et légère telle que verres, tasses à café et à thé, soucoupes, assiettes, petits saladiers et petites casseroles (si elles ne sont pas trop sales). DisPOSEz la vaisse et les ustensiles de manière à ce qu'ils ne soient pas renversés par le jet d'eau.

Chargement du panier inférieur
Nous vous sugérons de placer dans le panier inférieur les pieces encourbrantes plus difficilles à laver : cocottes, poêles, casseroles, couvercles, plats de service et saladiers, comme indiqué sur la figure. Il est préféable de ranger les plats et les couvercles sur les côtés du panier afin de ne pas entraver les rotations du bras giclaur supérieur.
Pour ne pas génér l'ouverture du distributeur de détergent, il est conseilé de ne pas placer devant lui des assiettes dont le diamètre est supérieur à 19 cm.

Chargement du panier à couverts
Placez les couverts dans leur panier, séparément les uns des autres et dans la position appropriée, en veillant à ce qu'ils ne se chevauchent pas, car cela nuirait au résultat de lavage.
ATTENTION
Ne laissez dépasser aucun article des mailles du panier.
Placez toujours les ustensiles pointus avec la pointe dirigée vers le bas.
Pour obtenir lesassageurs resultats de lavage, veuillez vous referrer aux options de chargement normalisé figurant dans le dernier chapitre de la PARTIE I : Version générique.
Fonctions du liquide de rinçage et du détergent
Le liquide de rinceage est libre lors du dernier rinceage pour éviter que l'eau ne forme des gouttelettes sur la vaisse, ce qui peut laisser des taches et des traces. Il améliore également le séchage en permettant à l'eau de rouler sur la vaisse. Notre lave-vaisse est conçu pour utiliser des produits de rinceage liquides.
ATTENTION
Utilisez exclusivement un liquide de rincege de marque, destiné aux lave-vaiselle. Ne replisssez jamais le réservoir avec d'autres produits (nettoyant pour lave-vaiselle, détergent liquide par exemple) car ceci risquerait d'endommager l'appareil.
Quand faut-il remplir le réservoir de liquide de rincege?
La fréquence de replissage du réservoir dépend de la fréquence des lavages et du réglage du distributeur de liquide de rincege.
Levoyant indiquant le manque de liquide de rinceage s'allume lorsqu'il faut replir le réservoir. Ne faites pas déborder le distributeur de liquide de rinceage.
Fonction du détergent
Les détergents comportent les ingréductifs chimiques nécessaires pour décoller et pulveriser les salissures, puis les écacer du lave-vaisse. La plupart des détergents disponibles dans le commerce convennent à cet usage.
ATTENTION
- Choisissez le dédTangent approprié.
Utilisez exclusivement un détergent destiné aux lave-vaiselle. Conservez-le dans un endroit frais et sec. Ne versez pas de détergent en poudre dans le distributeur avant d'être prét à lancer un programme de lavage.
Les détergents pour lave-vaisselle sont corrosifs! Conservez-les hors de portée des enfants.
Remplir le réservoir de liquide de rinceage

1 Enlevez le bouchon du réservoir en soulevant la poignée.

2 Versez le liquide de rincege dans le distributeur en evitant de le faire deborder.

3 Remettez le bouchon en place.
Réglage du distributeur de liquide de rincege
Pour assurer un résultat de séchage optimal avec une quantité limite le liquide de rincage, le lavevaisselle permet à l'utilisateur d'ajuster sa consommation de produit. Suivez les étapes ci-dessous.
- Fermez la porte et allumez l'appareil.
- Dans les 60 secondes qui suiv l'objet 1, appuyez plus de 5 secondes sur la touche «Programme», puis sur la touche «Départ différé» pour entrer dans les réglages; le voyant Liquide de rinceage clignote alors à la fréquence de 1 Hz.
3 Appuyez sur la touche «Programme» pour selectionner le réglage approprié en fonction de vos habitudes ; les réglages s'affichent selon la série suivante : d1->d2->d3->d4->d5-> d1. Plus le chiffre est élevé, et plus le lave-vaisselle consomme de liquide de rincege.
- Appuyez sur la touche Marche/Arrêt pour quitter les réglages.
Remplir le distributeur de dédTenger



1 Choisissez la solution correspondant à la situation :
1) ouvre le distributeur en faisant coulisser la tirette; ou
2) ouvre le distributeur en appuyant sur le verrou.


Ajoutez le détergent dans le grand compartment (A) pour le lavage principal. Pour obtenir les valeurs résultats, rundout si vous ave de la vaisselle très sale, versez un peu de détergent sur la porte (B). Ce supplément va s'activer pendant la phase de prélavage.

3 Fermez le couvercle en le faisant glisser, puis en appuyant dessus.
REMARQUE
- Selon le degré de souillure de la vaisse, le dosage peut être différent.
- Respectez les recommendations du fabricant figurant sur l'emballage du détergent.
PROGRAMMATION DU LAVE-VAISSELL
Tableau des programmes
Le tableau ci-dessous indique les programmes les最好的 adaptations au degré de salissure de la vaiselle et la quantité de détergent nécessaire. Il contient également diverses informations sur les programmes.
La pastille noire () signifie que le distributeur doit contenir du liquide de rençage
| Programme | Cycles successifs | Détergent prélavage / lavage | Durée (minuti) | Électricité (kWh) | Eau (l) | Liquide de rinceage |
| Intensif | Prélavage (50 °C)Lavage (65 °C)RinçageRinçageRinçage (60 °CSéchage | 4/15g(1 ou 2 ongllets) | 205 | 1.465 | 15.6 | ● |
| ECO (* EN60436) | Lavage (50 °C)RinçageRinçage(50 °CSéchage | 19g(1 ou 2 ongllets) | 205 | 0.719 | 9.5 | ● |
| Universal | Prélavage ( 45 °CS Lavage (55 °CS)RinçageRinçage (55 °CSéchage | 4/15g(1 ou 2 ongllets) | 175 | 1.128 | 12.4 | ● |
| Hygiène | Lavage (72 °CS)RinçageRinçage (72 °CSéchage | 19g(1 ou 2 ongllets) | 215 | 1.560 | 12.4 | ● |
| 90 min | Lavage (60 °CS)RinçageRinçage (50 °CSéchage | 19g(1 ou 2 ongllets) | 90 | 1.015 | 10.2 | ● |
| (Rapide) | Lavage (45 °CS)Rinçage(45 °CS) | 12g | 30 | 0.810 | 9.9 | ○ |
| Rinçage | Prélavage | / | 15 | 0.018 | 3.6 | ○ |
| programme d'auto-étoyage | PrélavageLavage (70 °CS)RinçageRinçage(70 °CSéchage | 4/15g(1 ou 2 ongllets) | 145 | 1.265 | 13.2 | ● |
REMARQUE
ECO
^()EN60436
Le programme ECO est adapté au nettoyage de la vaiselle normalement sale.
Pour cette utilisation, il s'agit du programme le plus efficace en termes de consommation combinée d'énergie et d'eau, et il est utilisé pour évaluer la conformité à la législation française sur l'écoconception.
Economie d'énergie
- Le pré-rinçage des articles de vaisselle entraîne une augmentation de la consommation d'eau et d'énergie et n'est pas recommandé.
- Laver la vaisse dans un lave-vaisselle domestique consomme généralement moins d'énergie et d'eau en phase d'utilisation que le lavage de la vaisse à la main lorsque le lave-vaisselle domestique est utilisé conformément aux instructions.
Démarraged'unprogramme
- Tirez vers vous les paniers inférieur et supérieur, placez la vaisse lors poussez les paniers. Il est recommendé de replir d'abord le panier inférieur lors le panier supérieur.
- Versez le détergent.
- Branchez la prise. L'alimentation se refère à la dernière page « Fiche produit ». Assurez-vous que l'alimentation en eau est ouverte à pleine pression.
- Fermez la porte, appuyez sur le bouton Marche pour allumer l'appareil.
- Choisissez un programme, levoyant correspondant s'allumera. Puis fermez la porte, le lave-vaisse débutera son cycle.
Changement du programme en cours
Quand un programme est en cours, on ne peut en changer que s'il a démarré depuis peu de temps, sinon le détergent aura déjà été expulsé du distributeur et l'eau de lavage aura été vidangée. Dans ce cas, il faudra faire redémarrer le lave-vaisselle et remetre du détergent dans le distributeur. Pour faire redémarrer le lave-vaisselle, suivez les instructions ci-dessous.
- Appuyez sur la touche Départ/Pause pour interrompre le lavage.
- Appuyez sur n'importe qu'elle touche de programme pendant plus de 3 secondes pour annuler le programme interrompu.
- Sélectionnez le programme voulu en appuyant sur la touche correspondante.

Si vous avez oublié une assiette
Si vous avez oublié une assiette, vous pouvez la metre dans le lave-vaisselle tant que le détergent n'a pas été expulsé du distributeur. Si tel est le cas, suivez les instructions ci-dessous.
- Appuyez sur la touche Départ/Pause pour interrompre le lavage.
- Patientez 5 secondes puis ouvre la porte.
- Ajoutez l'assiette que vous aviez oubliée.
- Fermez la porte
- Appuyez de nouveau sur la touche Départ/Pause ; au bout de 10 secondes, le lave-vaiselle reprend le programme interrompu.

ATTENTION
Il est dangereux d'ouvoir la porte quand un programme est en cours, car la vapeur très chaude peut vous brûler.
CODES D'ERREUR
Lorsqu'un dysfonctionnement survient, l'appareil affiche un code d'erreur pour identifier le problème.
| Codes | Signification | Causes possibles |
| E1 | Admission de l'eau très lente. | Le robinet n'est pasASFZ ouVFZ ouLFz. |
| E3 | La température requise n' a pas pu être atteinte. | Dysfonctionnement de l'élement chauffant. |
| E4 | Débordement | Certaines pièces de l'appareil fuent. |
| E9 | Pressez un bouton pendant plus de 30 secondes. | De l'eau (ou autre) sur la touche |
| Ed | Échec de la communication entre la barre des tâches et le PCB. | Circuit ouvert ou liaison de communication rompue. |
ATTENTION
- En cas de débordement, fermez le robinet d'arrêt général de votre habitation avant d'appeler un réparateur.
- S'il reste de l'eau au fond de la cuve à cause d'un débordement ou d'une petite fuite, il faut l'éponger avant de remettre le lave-vaiselle en marche.
- Si un code d'erreur ne peut être résolu, veuillez demander une assistance professionnelle.

INFORMATIONS TECHNIQUES
| Hauteur (H) | 845 mm |
| Largeur (W) | 448 mm |
| Profondeur (D1) | 600 mm (avec porte fermée) |
| Profondeur (D2) | 1175 mm (avec porte ouverte) |


REPRISE
Cet apparéel, ses accessoires et cordons se recyclant
A LA LIVRAISON
À déPOSER
EN MAGASIN
EN DÉCHÉTERIE

À DEPOSER
0U


Points de collecte sur www.quefairedemesdechets.fr
Privilégiez la réparation ou le don de votre apparéil!


LE TRI
FACILE


Séparez les éléments avant de trier