FSG 62010 FX - Cuisiniere gaz BEKO - Notice d'utilisation et mode d'emploi gratuit
Retrouvez gratuitement la notice de l'appareil FSG 62010 FX BEKO au format PDF.
| Type d'appareil | Cuisinière |
| Type de cuisson | Four électrique |
| Nombre de foyers | 4 |
| Type de foyer | Vitrocéramique |
| Puissance totale | Non précisé |
| Capacité du four | Non précisé |
| Fonctions du four | Chaleur tournante, grill, convection naturelle |
| Type de commande | Manettes mécaniques |
| Affichage | Non précisé |
| Sécurité enfant | Oui |
| Dimensions (HxLxP) | Non précisé |
| Couleur | Non précisé |
| Matériau de la porte | Verre |
| Type d'installation | Pose libre |
| Consommation énergétique | Non précisé |
| Accessoires inclus | Grille, lèchefrite |
FOIRE AUX QUESTIONS - FSG 62010 FX BEKO
Questions des utilisateurs sur FSG 62010 FX BEKO
0 question sur cet appareil. Repondez a celles que vous connaissez ou posez la votre.
Poser une nouvelle question sur cet appareil
Téléchargez la notice de votre Cuisiniere gaz au format PDF gratuitement ! Retrouvez votre notice FSG 62010 FX - BEKO et reprennez votre appareil électronique en main. Sur cette page sont publiés tous les documents nécessaires à l'utilisation de votre appareil FSG 62010 FX de la marque BEKO.
MODE D'EMPLOI FSG 62010 FX BEKO
Manuel d'utilisation
Horno
Manual del usuario

FSG62010FX
Avant de commencer, merci de bien pouvoir dire ce manuel d'utilisation !
Nous vous remercions d'avoir porté votrechoix sur un produit Beko. Nous espérons que vous tirerez le meilleur parti de votre produit, qui a été fabriqué dans des usines de pointe avec des matériaux de qualité. C'est pourquel nous vous prions de dire attentivement le present manuel et tous les autres documents connexes dans leur intégrality avant d'utiliser le produit et de les conserver. Si vous cédez l'appareil à une pierce personne, n'oubliez pas de lui fourir le Manuel d'utilisation. Respectez tous les averissements et informations contenus dans le manuel d'utilisation.
Souvenez-vous que ce Manuel d'utilisation s'applique également à plusieurs autres modèles. Les différences entre les modèles seront identifiées dans le manuel.
Explication des symboles
Voutrouverez les symboles suivants dans ce Manuel d'utilisation :

Informations importantes ou astuces utiles d'utilisation.

Avertissement de situations dangereuses relatives à la santé et aux biens.

Avertissement de risque de chocolélectrique.

Avertissement de risque d'incendie.

Avertissement de surfaces brûlantes.
Instructions importantes et mises en garde relatives à la sécurité et à l'environnement 4
Sécurité générale 4
Sécurité lors de l'installation du gaz............ 5
Sécurité électric. 6
Sécurité du produit 8
Utilisation prévue 10
Sécurité des enfants. 10
Mise au rebut de I'ancien appareil. 11
Elimination des emballages 11
Déplacement ultérieur 12
2 Généralités 13
Vued'ensemble 13
Contenu de l'emballage 14
Charakteristiques techniques 15
Tableau des injecteurs 16
3 Installation 17
Avant l'installation 17
Installation et branchement 19
Conversion du gaz 25
4 Préparation 31
Conseils pour faire des économies d'énergie 31
Premiere utilisation. 31
Premier nettoyage de I'appareil. 31
Première cuisson 31
5 Utilisation de la table de cuisson 33
Généralités concernant la cuisson. 33
Utilisation des tables de cuisson 33
6 Utilisation du four 35
Informations generales concernant la patisserie, la rotisserie et les grillades.35
Utilisation du four a gaz 35
Tableau des temps de cuisson 36
7 Maintenance et entretien 38
Généralités 38
Nettoyage du bruleur 38
Nettoyage du bandeau de commande....39
Nettoyage du four 39
Nettoyage de la portedou four 40
Retrait de la vitre de la porte 41
Remplacement de I'ampoule du four.....41
Recherche et résolution des pannes 43
1 Instructions importantes et mises en garde relatives à la sécurité et à l'environnement
Ce chapitre contient les instructions de sécurité qui vous aideront à éviter les risques de blessure corporelle ou de dégats matériels. Le non respect de ces instructions entraînera l'annulation de toute garantie.
Sécurité générale
- Cet apparéil peut être utilisé par des enfants de 8 ans et plus et des personnes aux capacités physiques, sensorielles ou mentales réduites ou des personnes dénuées d'expérience ou de connaissance si elles ont pu bénéficier d'une surveillance ou d'instructions concernant l'utilisation de l' apparéil en toute sécurité et complènent les risques encourus. Les enfants ne doivent pas jouer avec l' apparéil. Le nettoyage et l'entretien ne doivent pas été effectuels par un enfant sans surveillance.
- Cet apparéil n'est pas concu pour être utilisé par des personnes (y compris les enfants) représentant des aptitudes physiques, sensorielles et mentales réduites, ou sans
experience et sans connaissances, à moins d'avoir eté encadrées ou reçu des consignes d'utilisation. Les enfants bénéficiant d'un encadrement ne doivent pas jouer avec l'appareil.
- Si l'appareil est confié à une autre personne pour usage personnel ou vendu en seconde main, assurez-vous qu'il est toujours accompagné du manuel d'utilisation, des étiquettes, de tout autre document pertinent et des pieces.
- Ne jamais poser l'appareil sur un sol recouvert de moquette. Dans le cas contraire, l'absence de circulation d'air endessous de l'appareil entrainera la surchauffe des pieces électriques. Cette surchauffe causera des dommages à votre apparéil.
- Les procédures d'installation et de réparation doivent être effectuees par des agents d'entretien qualifiés. Le fabri-cant ne sera pas responsable des dommages causés à la suite d'une utilisation faite par
des personnes non qualifiées, situation susceptible d'annuler aussi la garantie. Avant l'installation, misez attentivement les instructions.
- Ne faites pas fonctionner l'appareil s'il est defectueux ou presente des dégats visibles.
Assurez-vous que les boutons de fonctionnement de l'appareil sont en position d'arrêt après chaque utilisation.
Sécurité lors de l'installation du gaz
- Toutes les opérations sur des équipements et des systèmes de gaz ne peuvent être réalisées que par des personnes habilitées et qualifiées.
- Avant l'installation, assurez-vous que les conditions de distribution locale (type et pression du gaz) sont compatibles aux réglages de l'appareil.
- Cet apparéil n'est pas raccordé à un dispositif d'évacuation des produits de la combustion. Il doit être installé et raccordé conformément aux règes d'installation
en vigueur. Une attention particuliere sera accordedeaux dispositions applicables en matière de ventilation. Avant I'installation, page 17.
- ATTENTION : L'utilisation d'un apparéil de cuisson au gaz conduit à la production de chaleur, d'humidité et de produits de combustion dans le local où il est installé. Veiller à assurer une bonne aération de la cuisine, notamment lors de l'utilisation de l' apparéil : dévelopir ouverts les orifices d'aération naturelle, ou installer un dispositif d'aération mécanique (hotte de ventilation mécanique). Une'utilisation intensive et prolongée de l' apparéil peut nécessiter une aération supplémentaire, par exemple en ouvrant une fenêtre, ou une aération plus efficace, par exemple en augmentant la puissance de la ventilation mécanique.
- Les apparèils et les systèmes à gaz doivent être vérifiés régulièrement pour assurer leur fonctionnement correct. Le régulateur, le tuyau et son collier de serrage doivent être vérifiés régulièrement et remplacés à la fréquence re
commandée par le fabricant ou lorsque nécessaire.
- Nettoyez régulierement les brûleurs à gaz. Les flumes doivent être bleues et brûler de manière uniforme.
- Cet apparéil doit être utilisé dans une piece équipée d'un détecteur de monoxyde de carbone réglé et fonctionnant correctement. Assurez-vous que le détecteur de monoxyde de carbone fonctionne correctement et est entretenu féquèment. Le détecteur de monoxyde de carbone doit être installé à 2 mètres au maximum de l'appareil.
- Une bonne combustion est nécessaire dans les apparciels à gaz. En cas de combustion incomplète, du monoxyde de carbone (CO) pourrait être généré. Le monoxyde de carbone est incolore, inodore et très toxique, pouvant être mortel même à très petites doses.
- Demandez les informations concernant les numéroes de téléphone d'urgence et les mesures de sécurité à prendre en cas d'odeur de
gaz auprès de votre foumisseur en gaz.
Que faire si vous sentez une odeur de gaz
- N'utilisez pas de flamme nue et ne fumez pas. N'appuyez suraucun boutonelectrique (p.ex.,bouton del'ampoule, sonnette d'entrée,etc.) N'utilisez pas de téléphone fixe ou de téléphone portable. Risque d'explosion et d'intoxication!
Ouvrez les portes et fenêtres. - Fermez toutes les valves sur les apparèils à gaz et les compteurs de gaz.
- Vérifiez le branchement de tous les tuyaux et raccords. Si vous sentez toujours une odeur de gaz, quittez l'appointement.
- Avertissez les voisins.
- Contactez les pompiers. Utilisez un téléphone en-dehors de votre domicile.
- Ne rentrez pas dans votre domicile tant qu'on ne vous a pas indiqué que cela pouvait se faire en toute sécurité.
Sécurité électrique
- Si le produit est en panne, ne l'utilise pas, à moins qu'il ne soit réparé par un Agent
d'entretien agreé. Vous risqueriez un chocoléctrique!
- Branchez l'appareil uniquement à une sortie/ligne avec mise à la terre ainsi que la tension et la protection spécifiées dans le chapitre « Sépciifications techniques ».
- Faites installer la mise à la terre par un electricien qualifié lorsque vous utilisez l'appareil avec ou sans transformateur Notre entreprise décline sa responsabilité par rapport à tout problème consécutif à la non mise à la terre de l'appareil suivant la reglementation locale en vigueur.
- Ne lavez jamais l'appareil en y versant de l'eau. Vous risqueriez un chocoléctrique!
- Debranchez l'appareil pendant les opérations d'installation, d'entretien, de nettoyage et de réparation.
- Si le cordon d'alimentation est endommagé, il doit être remplace par le fabricant, l'un de ses techniciens ou une personne de qualification similaire afin d'éviter tout risque.
- Installez l'appareil de sorte que l'on puisse le déconneter complètement du réseau. La séparation doit être effic
tuée par une prise secteur ou un commutateur intégré à l'installation électrique fixe, suivant la réglementation en matière de construction.
- La surface arrière du four devient chaude pendant l'utilisation. Vérifiez que le raccordement de gaz/électrique n'est pas en contact avec la surface arrière, cela pourrait endommager les connexions.
- Ne pas coincer le cable d'alimentation entre la portedu four et le chassis et nepas le faire passer sur dessurfaces brulantes.Dans lecas contraire, l'iso1ation ducable pourrait fondre et provoquer un incendie suite a un court-circuit.
- Toutes les opérations sur des équipements et des systèmes électriques ne peuvent être réalisées que par des personnes habilitées et qualifiées.
- En cas de dégats, éteignez l'appareil et débranchez-le du secteur. Pour ce faire, coupez le fusible domestique.
- Vérifiez que la tension du fusible est compatible avec l'appareil.
Sécurité du produit
- AVERTISSEMENT: Les parties accessibles de l'appareil deviennent chaudes au cours de son utilisation. Des mesures doivent être prises pour éviter de toucher aux éléments de chauffage. Les enfants de moins de 8 ans doivent être maintainus à l'écart, sauf s'ils sont continulement surveillés.
- Ne jamais utiliser l'appareil sous l'emprise de l'alcool ou de toute autre drogue.
- Prenez garde lorsque vous utilisez des boissons alcoolises dans vos plats. L'alcool s'evapore à températures elevées et peut provoquer un incendie étant donné qu'il peut s'enflammer lorsqu'il entre en contact avec des surfaces chaudes.
Assurez-vous qu'aucune substance inflammable ne soit placee aproximete de l'appareil etant donne que les cotes peuvent chauffer pendant sonutilisation. - L'appareil chauffe pendant son utilisation. Des mesures doivent être prises pour éviter de toucher aux éléments de
chauffage qui se trouvent à l'intérieur du four.
- Evitez d'obstruer les événuelles sorties d'aération.
- Ne pas faire chauffer de boîtes de conserve et de bocaux en verre clos dans le four. La pression qui s'accumulerait dans la boîte/le bocal pourrait le faire éclater.
- Ne placez pas de plaques de cuisson, de plats ou de feuille d'aluminium directement sur le bas du four. L'accumulation de chaleur pourrait endommager le fond du four.
- N'utilisez pas de nettoyants fortement abrasifs ou de grattoir en métal affuté pour nettoyer la porte vitrée du four car ils peuvent rayer la surface, ce qui peut entraîner féler la vitre.
- N'utilise pas de nettoyeurs à vapeur pour le nettoyage de l'appareil, car ceux-ciprésent un risque d'électrocution.
- (Variant en fonction du mode de four.) Placer correctement la grille et le léchefrite sur les gradins Faites coulibser la grille ou le léchefrite entre 2 glissières de couilissement et vérifiez-en l'équilibre avant de placer des
aliments dessus (Observe l'illustration ci-dessous).

- Ne pas utiliser l'appareil si la porte en verre est absente ou fendue.
Utilisez toujours des gants de protection thermique lorsque vous placez ou retirez des plats du four chaud. - Placez le papier de cuisson contenant les aliments dans la casserole ou sur l'accessoire du four (plateau, grille métallique, etc.) et insérez l'ensemble dans le four préchauffé. Retirez le surplus de papier de cuisson qui dé
borde de l'accessoire ou de la casserole afin d'éviter tout contact avec les éléments chauffants du four. N'utilise jamais le papier de cuisson à une température de fonctionnement supérieur à la valeur recommendée pour un papier de cuisson. Évitez de placer le papier de cuisson directement sur la base du four.
- AVERTISSEMENT: Assurer que le cable d'alimentation de l'appareil est débranché ou que le coupe-circuit est désactivé avant de replacer la lampe pour éviter tout risque de choc électrique.
- Ne refermez pas la plaque de recouvrement supérieure avant que les plaques chauffantes ou les brûleurs n'avient refroidi.
Essuyez la plaque de recouvrement supérieure avant de l'ouvrir afin d'éviter tout écoulement d'eau vers l'arrière ou l'intérieur du four.
- Pour éviter toute surchauffe, l'appareil ne doit pas être installé derrière une portedecorative.
- L'appareil doit être place à même le sol. Il ne doit être
place ni sur un socle ni sur un piédestal.
- AVERTISSEMENT: Le fait de cuire les alimentents contenant de l'huile ou des matières grasses sur une table de cuisson sans surveillance peut s'avérer dangereux, au point de provoquer un incendie. N'essayez JAMAIS d'éteindre le feu avec de l'eau. Coupez只想 l'alimentation de l'appareil, puis couvrez la flamme avec un couvercle ou une couverture pare-flammes.
- ATTENTION: Le processus de cuisson doit être encadré. Les processus de cuisson de courte durée doivent être continulement encadrés.
- AVERTISSEMENT: Danger d'incendie: ne rien conserveur sur les surfaces de cuisson. Pour que votre apparéil soit fiable:
Veillez à ce que la fiche soit bien branchée dans la prise afin que des étincelles ne se produit pas. - Utilisez uniquement les cables de rallonge d'origine, et voirlez à ce qu'ils ne soient pas coupés ou autrement endommages.
Assurez-vous également que la prise ne contient pas de liquide ni de moisissure avant de brancher l'appareil.
Veillez enfin a ce que votre connexion au gaz soit installee afin d'eviter toute fuite de gaz.
Utilisation prévue
- Cét apparéil est concu pour un usage domestique. L'utilisation commerciale est interdite.
- ATTENTION: Cet apparéil sert uniquement à des fins de cuisson. Il ne doit pas être utilisé à d'autres fins, par exemple le chauffage du local.
- Le fabricant ne saurait etre tenu responsable des degats causés par une utilisation ou une manipulation incorrecte.
- Le four peut être utilisé pour décongeler, cuire, rotir et griller des aliments.
- Les pieces détachées
d'origine sont disponibles
pendant 10 ans, à compter
de la date d'achat du produit.
Sécurité des enfants
- ATTENTION: Les parties accessibles peuvent s'échaufferpendant l'utilisa
tion. Les enfants doivent etretenus à l'écart.
- Les matériaux d'emballage peuvent partager un danger pour les enfants. Gardez les matériaux d'emballage hors de portée des enfants. Veillez jeter les pieces de l'emballage en respectant les normes écologiques.
- Les apparèils électriques et/ou à gaz sont dangereux pour les enfants. Tenez les enfants à l'écart de l'appareil lorsqu'il fonctionne et interdissez-leur de jouer avec.
- Un moyen de protection supplémentaire permettant d'eviter tout contact avec le four est disponible. Cette piece doit être fixée en cas de présence probable d'en-fants en bas âge.
- Ne rangez pas d'objets au dessus de l'objet que les enfants pouraient atteindre.
Lorsque la porte avant est ouverte, ne posez pas d'objets lourds dessus et ne permettez pas aux enfants de s'y asseoir. Il pourrait basculer ou les charnières de porte être endommagées.
Mise au rebut de l'ancien apparéil
Conformité avec la directive DEEE et mise au rebut des déchets :

Ce produit est conforme à la directive DEEE (2012/19/UE) de l'Union europeenne). Ce produitporte un symbole de classification pour la mise au rebut des équipements electriques et Electroniques (DEEE).
Le present produit a eté fabriqué avec des pieces et du matériel de qualité supérieure susceptibles d'être réutilisés et adaptés au recyclage. Par conséquent, nous vous conseillons de ne pas leMETRE au rebut avec les ordures menagères et d'autres déchets à la fin de sa durée de vie. Au contraire, rendez-vous dans un point de collecte pour le recyclage de tout matériel électrique et électronique. Veuillez vous rapprocher des autorités de votre localité pour plus d'informations concemant le point de collecte le plus proche.
Conformité avec la directive LdSD :
L'appareil que vous avez achete est conforme à la directive LdSD (2011/65/UE) de l'Union europeenne. Il ne compte pas les matériels dangereux et interdits mentionnés dans la directive.
Elimination des emballages
- Les emballages sont dangereux pour les enfants. Conservez les emballages en lieu sur à l'écart des enfants. Les emballages de l'appareil sont fabriqués à partir de matérielles recyclées. Eliminez-les de manière appropriée et triez-les en fonction des instructions de recyclage des déchets. Ne les jetez pas avec les déchets domestiques normaux.
Déplacement ultérieur
- Conservez le carton d'origine de l'appareil et utilisez-le pour déplacer le produit. Suivez les instructions figurant sur le carton. Si vous n'vez plus le carton original, emballez l'appareil dans du film à bulles ou du carton écais avec du ruban adhésif pour maintenir le tout.
- Afin d'éviter que la grille et la léchefrite situés à l'intérieur du four n'endommagent la porte, place une bande de carton sur la contre-porte à hauteur des plaques. Attachez la porte
du four aux parois laterales à l'aide de ruban adhesif.
- Attachez les couvercles et grilles de support avec du ruban adhésif.
N'utilisez pas la porte ou la poignee pour soulever ou déplacer l'appareil.
Ne placez aucun objet sur l'appareil et deplacez-le bien a plat.
Inspectez I'aspect general de I'appareil pour deceler les degats potentiellement dus au transport.
Vued'ensemble

1 Couvercle supérieur
2 Plaque d'etre
3 Bandeau de commande
4Grille
5 Lèchefrine
6 Porte frontale
7 Partie inférieure
8 Poignée

1 Bouton de l'ampoule
2 Manette du four
3 Brûleur normal Arrière gauche
4 Bruleur rapide Avant gauche
5 Brûleur auxiliaire Avant droit
6 Brûleur normal Arrière droit
7 Bouton d'allumage
Contenu de l'emballage

Les accessoires fournis peuvent varier selon le modele de l'appareil. Tous les accessoires décrits dans le manuel d'utilisation peuvent ne pas faire partie de votre apparéil.
1. Manuel de l'utilisateur
2.Plaque standard
Utilisée pour les pâtisseries, les alimentés congeles et les grands roits.

3.Grille métallique
Utilisée pour les roits et pour les alimentes à cuire, rotir ou pour les ragouts, elle se place dans le four à la hauteur souhaïette.




- Placer correctement l'étagère métallique et la plaque sur les chassis téléscopiques (Cette fonction est optionnelle. Elle peut ne pas être disponible sur votre produit.)
Les chassinis telescopiques vous permecttent d'insteller et de retirer facilement les plaques et I'etagere metallique.
Lorsque you utilisez la plaque et I'etagere metallique avec les chassin stelescopiques, verifie que les goupilles situées à l'arrière du chassin telescopique reposent contre les bords de I'etagere metallique et du plateau.


\section*{Caracteristiques techniques}
| GENERALITES | |
| Dimensions extérieures (hau-tein/longueur/profondeur) | 850 mm/600 mm/600 mm |
| Tension/fréquence | 220-240 V ~ 50 Hz |
| Type de cable/section | min.H05V-FG3 x 0,75 mm² |
| Catégorie de produit à gaz | Cat II 2E+3+ |
| Type /pression de gaz | NG G 20/20 mbar |
| Consommation totale de gaz | 10,4kW |
| Type / pression de conversion au gaz$- en option | NG G 25/25 mbarLPG G 30/28-30 mbar - Propane31/37 mbar |
| Table de cuisson | |
| Brûleurs | |
| Arrière gauche | Brûleur normal |
| Puissance | 2 kW |
| Avant gauche | Brûleur rapide |
| Puissance | 2,9 kW |
| Avant droit | Brûleur auxiliaire |
| Puissance | 1 kW |
| Arrière droit | Brûleur normal |
| Puissance | 2 kW |
| FOUR | |
| Four principal | Four à gaz |
| Ampoule interne | 15-25 W |
| Consommation de gaz du four | 2,5 kW |

Les caractéristiques techniques peuvent changer sans avis préalable afin d'améliorer la qualité de l'appareil.

Les illustrations comprises dans ce manuel sont schématiques et peuvent ne pas correspondre exactement à l'appareil.

Les valeurs mentionnées sur les étiquettes de l'appareil ou dans la documentation qui l'accompagnent sont obtenues dans des conditions de laboratoire conformément aux normes correspondantes. En fonction des conditions de fonctionnement et de l'environnement de l'appareil, ces valeurs peuvent varier.
Tableau des injecteurs
| Position de la zone de la table de cuspsonType /pression degaz | 2 kWArrieregauche | 2.9 kWAvant gauche | 1 kWAvant droit | 2 kWAmère droit |
| G 20/20 mbar | 103 | 115 | 72 | 103 |
| G 30/28-30 mbar | 72 | 87 | 50 | 72 |
| G 25/25 mbar | 103 | 115 | 72 | 103 |
| G 31/ 37 mbar | 72 | 87 | 50 | 72 |
| Type /pression de gaz | Four gaz |
| G 20/20 mbar | 115 |
| G 30/28-30 mbar | 73 |
| G 25/25 mbar | 115 |
| G 31/ 37 mbar | 73 |
Vuillet Vous pouvez vous procurer les injecteurs non foumis avec votre produit
aupres du service après-vente de votre revendeur.
Le produit doit être installé par une personne qualifiée conformément à la législation en vigueur. Dans le cas contraire, la garantie n'est pas valable. Le fabricant se sera pas tenu pour responsable des dégats consécutifs à des procédures réalisées par des personnes non autorisées et pourrait annuler la garantie dans ce cas.

La préparation de l'emplacement et l'installation du gaz et de I'électricité pour l'appareil sont sous la responsabilité du client.

Installez l'appareil conformément aux reglementations en matière de gaz et d'électricité en vigueur dans votre localité.

Avant l'installation, regardez si l'appareil presente des defaults. Si tel est le cas, ne le faites pas installer. Les apparciels endommages present des risques pour votre sécurité.
Avant l'installation
Pour veiller à ce qu'une distance libre soit conservée sous l'appareil, nous vous recommendons de monter l'appareil sur une base solide et de veiller à ce que ses pieds ne transpercnt pas le tapis, la moquette, ou tout autre revêtement de sol. Le sol de la cuisine doit pouvoir supporter le poids de l'appareil plus le poids des instruments de cuisine et de la nourriture.

L'appareil correspond à un apparéil de classe 1. En d'autres termes, il peut être place avec le côte arrière et un côte contre les murs de la cuisine, des meubles ou des équipements de toute tallie. Les meubles ou les équipements de cuisine situés sur l'autre côte doivent être de tallie inférieure ou égale.
- Vous pouvez l'utiliser avec des meubles de part et d'autre, mais en prévoyant une distance minimale de 400 mm au-dessus du niveau de la plaque chauffante; prévoyez un écart de 65 mm entre l'appareil et le mur, la cloison ou le placard.
- Laissez une distance minimum de 750 mm au-dessus de la surface de la table de cuisson.
- S'il faut encastrer une hotte au-dessus de la cuisine, reportez-vous aux consignes du fabricant de la hotte concernant la hauteur d'installation. Si aucune taille n'est définie dans le manuel de la hotte, cette hauteur doit etre d'au moins 650 mm.
- Tout meuble de cuisine situé à côte de l'appareil doit résister à la chaleur (100 °C min.).
Chaine de sécurité Si vous appeareil presente 2 chaines de sécurité;
L'appareil doit être sécurisé contre le basclement par les deux chaînes de sécurité fournies avec votre cuisinière. Fixez le crochet (1) sur le mur de la cuisine (6) en utilisant la chevelle appropriée et connectez la chaine de sécurité (3) sur le crochet via le mecanisme de verrouillage (2).

1 Stabilité du crochet
2 Mécanisme de verrouillage
3 Chaine de sécurité
4 Fixez fermement la chaîne à la partie arrrière de la cuisine
5 Partie arriere de la cuisineire
6 Mur de la cuisine
Si vous appeareil en presente une seule ;
L'appareil doit être sécurisé contre tout basclement par la chaine de sécurité fournie avec votre four.
Pour sécuriser la chaine de votre produit, suivez les étapes décrites dans l'image ci-dessous :

La chaîne de stabilité doit être aussi courte que possible pour éviter que la cusinière ne bascule vers l'avant et en diagonale. Grace à cette précaution, la cusinière ne s'incline pas sur le côté.
La chaine de stabilité de la cusinière conque pour les plaques de cuisson, n'est pas fournie avec une encoche comme support.
Ventilation de la pièce
Toutes les pieces nécessitent une fenêtre ouvrable, ou équivalent; certaines pieces nécessiteront également un orifice d'aération permanent. L'air de combustion est prélevé dans l'air de la piece. Les gaz émis sont directement rejetés dans la piece. Une bonne ventilation est essentielle au fonctionnement en toute sécurité de votre apparéil.
Pieces avec des portes et/ou fenêtres qui s'ouvrent directement à l'extérieur Les portes et/ou fenêtres qui s'ouvrent directement à l'extérieur doivent partager une ouverture de ventilation totale aux dimensions spécifiées dans le tableau ci-dessous en fonction de la puissance aéraulique totale de l'appareil (la puissance aéraulique totale de l'appareil est mentionné dans le tableau des spécifications techniques de ce manuel d'utilisation). Si les portes et/ou les fe
nêtres neprésent pas d'ouverture de ventilation totale correspondant à la consommation totale de gaz tel que spécifique dans le tableau ci-dessous, il devrait certainement avoir une autre ouverture de ventilation fixe dans la piece pour satisfaire aux exigences minimales de ventilation totale en matière de consommation totale de gaz de l'appareil. L'ouverture de ventilation fixe peut comprendre des ouvertures pour les briques creuses existantes, la dimension d'ouverture du conduit de la hotte d'extraction, etc.
| Consommation totale de gaz (kW) | Ouvertro de ventilator mini-male (cm3) |
| 0 - 2 | 100 |
| 2 - 3 | 120 |
| 3 - 4 | 175 |
| 4 - 6 | 300 |
| 6 - 8 | 400 |
| 8 - 10 | 500 |
| 10 - 11,5 | 600 |
| 11,5 - 13 | 700 |
| 13 - 15,5 | 800 |
| 15,5 - 17 | 900 |
| 17 - 19 | 1 000 |
| 19 - 24 | 1 250 |
Pièces qui ne disposent pas de portes et/ou de fenêtres qui s'ouvrent directement à l'extérieur
Si la pièce dans laquelle l'appareil est installé ne dispose pas de porte ou de fenêtre qui s'ouvre directement à l'extérieur, vous devez absolument rechercher d'autres produits qui fournissent une ouverture de ventilation fixe et non ajustable, conforme aux exigences minimales de ventilation pour la consommation totale de gaz par l'appareil, tel qu'indiqué dans le tableau ci-dessus. En outre, vous devez scrupuleusement
suivre la reglementation pertinente régissant les batiments.
Lorsque la pièce ou l'espace interieur contient plus d'un apparéil allémenté au gaz, vous doivent prévoir une zone de ventilation supplémentaire, outre la re-commandation du tableau ci-dessus. La dimension d'une zone de ventilation supplémentaire doit être conforme à la réglementation sur les autres apparéils à gaz.
Assurez-vous également de prévoir un dégagement minimal de 10 mm sur le bord inférieur de la porte, qui s'ouvre à l'intérieur, dans la piece dans laquelle le produit est installé. Vous devez vous assurer que les éléments tels que les tapis et autres revêtements de plancher, etc., n'obstruent pas le dégagement lorsque vous fermez la porte.
Vous pouvez installer votre cuisine, une salle à manger ou une chambre-salon, mais pas dans une piece contenant une colonne de douche ou une baignoire. La cuisine ne doit pas etre installee dans une chambre-salon de moins de 20m^3
Evitez d'insteller cet appeareil dans une piece en dessous du niveau du sol a moins que cette piece soit ouverte au niveau du sol sur l'un des cotés au moins.
Installation et branchement
L'appareil doit être installé et raccordé conformément aux réglementations d'installation en vigueur.
N'installez pas l'appareil à proximite de réfrigerateurs ou congelateurs. La chaleur émise par l'appeil augmenterait la consommation d'énergie des dispositifs de refroidissement.
-
Transportez l'appareil avec au moins deux personnes.
-
L'unité doit être placee directement au sol. Elle ne doit pas etre placee sur une base ou un socle.

N'utilissez pas la porte et/ou la poignee pour porter ou déplacer l'appareil. Cela endommage la porte, la poignee et les charnieres.
Raccordement electrique
Branchez l'appareil à une prise mise à la terre protégée par un disjoncteur miniature de capacité suffisante tel qu'indiquédans le tableau « Caracteristiques techniques ». Faites installer la mise à la terre par un électricien qualifié lors de l'utilisation de l'appareil avec ou sans transformateur. Notre société ne sera pas tenue pour responsable des dégats résultat de l'utilisation de l'appareil sans une installation de mise à la terre conforme aux reglementations locales en vigueur.

L'appareil doit uniquement etre raccordé à l'alimentation electrique par une personne autorisée et qualifiée. La période de garantie de l'appareil demarre uniquement après son installation correcte.
Le fabricant se sera pas tenu pour responsable des dégats consécu-tifs à des procédures réalisées par des personnes non autorisées.

Le cable d'alimentation ne doit pas etre serre, plie ou pince ou entrer en contact avec des pieces chaudes de I'appareil.
Un cable d'alimentation endomagé doit être remplace par un électricien qualifié. Dans le cas contraire, il présente un risque d'électrocution, de court-circuit ou d'incendie!
Les valeurs de l'alimentation électrique doivent correspondre aux valeurs figurant sur la plaque signalétique de l'appareil. La plaque signalétique est visible lorsque la porte ou le couvercle inférieur sont ouverts, ou elle est située sur la paroi arriere de l'appareil, en fonction du type de l'appareil.
Le cable d'alimentation de l'appareil doit etre conforme aux valeurs du tableau "Caracteristiques techniques".

Avant d'effectuer tout travail sur l'installation électrique, l'appareil doit être débranché du réseau d'alimentation électrique.
Vous risquerie un choc électrique!
Raccordement du cable d'alimentation

Lors du cablage, vous devez respecter les reglementations nationales/locales en matière d'electricité. Par ailleurs, vous devez utiliser des prises et des fiches recommendées pour fours. Au cas où la limite de puissance de l'appareil est supérieure à la capacité de conduction du courant par la fiche et la prise, branchez l'appareil directement sur une installation électrique fixe sans utiliser de fiche ni de prise.
- S'il n'est pas possible de débrancher tous les pôles de la source d'alimentation, une unité de déconnexion avec une ouverture minimale de 3 mm (fusibles, interrupteurs de securités, contacts) doit être connectée et tous les pôles de cette unité de déconnexion doivent être adjacents au produit (et non au-dessus), conformément aux directives IEE. Le non respect de ces instructions risque de cause des pro
blèmes de fonctionnement et d'invalider la garantie du produit.
Une protection supplémentaire par un disjoncteur de courant résiduel est recommandée.
Si un cable est foumi avec l'appareil :

2. Pour une connexion monophasée, branche comme indiqué ci-dessous:
L'appareil doit être connecté au système d'alimentation en gaz uniquement par un technicien autorisé et qualifié.
Risque d'explosion et d'intoxication cause par des réparations effectuees par des personnes non professionnelles!
Le fabricant se sera pas tenu pour responsable des dégats consécu-tifs à des procédures réalisées par des personnes non autorisées.

Avant d'effectuer tout travail sur l'installation de gaz, l'appareil doit etre débranché du réseau de distribution du gaz.
Vous risqueriez une explosion!
- Les conditions et valeurs de réglages du gaz sont indiquées sur les plaques signalétiques (ou plaques type ion)

Votre produit est doté d'une alimentation en gaz naturel (NG).
- L'installation de gaz naturel doit être préparée de façon appropriée pour l'assemblage avant l'installation de l'appareil.
Le raccordement au gaz de votre apparéil doit être réalisé par le service agreé. - Un flexible doit être prévu à la sortie de l'installation de raccordement du gaz naturel et l'embout de ce tuyau doit être fermé à l'aide d'une prise pour le raccord. Retirez la prise pour le raccord pendant le raccordement et votre apparell sera connecté au moyen d'un dispositif de raccordement plat (manchon).
Assurez-vous que la valve de gaz naturel soit facilement accessible. - Si vous doivent utiliser ultérieurement leur apparéil avec un type de gaz différérent, vous doivent consulter le service agréé pour la méthode de conversion correspondante.
Raccordement du tuyau de gaz à la cuisine : (S'applique aux modèles allant en France.)
Conditions réglementaires d'installation

Les installations au gaz font I'objet d'une réglementation. Voitre installation doit s'y conformer. Nous vous recommendons de prendre reconnaissance des textes correspondants.
- Avant l'installation, s'assurer que les conditions de distribution locale (nature du gaz et pression) et le réglage de l'appareil sont compatibles.
-
Les conditions de réglage de cet appar
pareil sont indiquées à l'arrête de cel
lui-ci, a proximé du tuyau de raccord
de gaz. -
Les conditions de réglage du gaz de votre apparéil sont indiqués sur l'étiquette située à l'arrière pres du tuyau à gaz.
- La combustion du gaz est possible grâce à l'oxygène de l'air. Il est donc nécessaire que cet air soit renouvelé en permanence et que les produits de la combustion soient éva-cues (un débit d'air de 2m3/h par kW de puissance est nécessaire).
- Cet apparéil n'est pas raccordé à un dispo-sitif d'évacuation des produits de la combustion. Il doit être installé et raccordé con-formément aux règes d'installation en vi-gueur et une attention particulière sera ac-cordée aux dispositions en matière de ventilation.
- Le flexible de gaz ne doit pas etre en contact avec des parties mobiles du meuble d'encastrement (par exemple une vis) et ne pas passer par des endroits ou il y a un risque d'écrasement du flexible.
- En France, les textes concernés sont les arrêtés du 02/08/1977 et du 24/03/1982 comptés par la norme DTU-P 45204 (= DTU 61.1) du CSTB "Installation gaz", (Norme NFC 15.100 (règles d'installation électrique basse tension).
Les échauffements produits par son fonctionnement classent cette cuisine: en type X selon norme électrique EN 60.335.2.6 (incorporeable), en classe 1 (non incorporeable) ou en classe 2- sous-classe 1 (incorporeable), selon norme gaz EN 30.1.

Les tubes souples ou tuyaux flexibles doivent etre accessibles sur toute la longueur, remplacés avant la date limite d'utilisation (indiquee sur le tuyau), et veiller a avoir une longueur de 1,25 m maximum.

Le raccordement au gaz s'effectue à l'arrière de l'appareil, Evitez que le tuyau soit en contact avec d'autres pieces de l'appareil, qu'il ne se trouve pas dans un endroit susceptible d'être encombre et qu'il ne puisse pas être en contact avec une partie mobile.
Raccordement au gaz
Votre appeareil est fourni avec un kit deraccordement au gaz, composé de :
2 joints rondeles
1 adaptateur
- 1 embout Butane
- 1 embout gaz naturel
Selon le gaz que vous utilisez et le type de tuyau, veuliez respecter les configurations suivantes. Interposer les joints comme indiqué sur le dessin.
A. Pour le gaz Butane/Propane, le rac-cordement avec un tuyau couple et collier se fait sur l'embout Butane, qui est à fixer sur l'adaptateur, qui lui-même se fixe sur la cuisine (Figure A).
B. Pour le gaz naturel, le raccordement avec un tuyau couple et collier se fait sur l'embout gaz naturel, qui est à fixer sur l'adaptateur, qui lui-même se fixe sur la cuisine (Figure B)
C. Le raccordement « mécanique » avec un flexible se fait sur l'adaptateur, qui lui même se fixe sur la cuisine (Figure C).

L'embout butane permet le raccordement par tubeouple en caoutchouc de diametre interieur de 6 mm
destiné aux gaz distribués par bouteilles.
L'embout pour gaz de conduite permet le raccordement par tubeSouple de diametre interieur de 15 mm,le tube devant etre enforcé suffisamment pour permettre son maintainio obligatoire par un collier de serrage. Utiliser un tube portant I'estampille NF-GAZ.Ce tube est a replacer regulierement avant la date limite d'utilisation.

Pour rechercher une fuite de gaz, n'utilise ni un briquet ni une allummette.

Contrôle d'étanchéité :
Faire attention à ce que les boutons sur le tableau de bord soient fermés et la bouteille de gaz soit ouverte. Pour contrôler la fuite de gaz il faut utiliser du savon. S'il existe une fuite de gaz, la partie savonnée devient mousseuse. Dans ce cas, il faut recontrôler le raccordement gaz.

L'utilisation d'un apparéil de cuisson à gaz conduit à la production de chaleur et d'humidité dans le local où il est installé. Veiller à assurer une bonne aération de ce local: maintainir ouverts les orifices d'airation naturelle ou installer un dispositif d'aération mécanique (hotte de ventilation mécanique). Une utilisation intensive et prolongée de l'airappeil peut nécessiter une aération supplémentaire, par exemple en ouvrant une fenêtre, ou une aération plus efficace, par exemple en augmentant la puissance de la ventilation mécanique si elle existe.
Si vous appeareil dispose d'une seule sortie de gaz ;
- Avant de raccorder le tuyau de gaz, assurez-vous que la sortie du tuyau de gaz à l'arrière de l'appareil se trouve du même côté de l'appareil que la vanne de gaz naturel.

- Si la sortie du tuyau de gaz et la vanne de gaz naturel ne sont pas du même côté, assurez-vous que le tuyau ne traverse pas la zone chaude lors du raccordement.

Si vous appeareil dispose de deux sorties de gaz ;
L'une des deux sorties est scelleda a l'aide d'un bouchon aveugle. L'extrimte de I'autre prise est ouverte.

1 Sortie du tuyau a gaz
2 Prise pour le raccord (La prise a laquelle le bouchon aveugle est fixe peut varier selon le modele du produit.)
- Avant de connecter le gaz, assurez-vous que la vanne de gaz naturel et la sortie du tuyau de gaz de l'appareil à raccorder au gaz se trouvent du même côté.
- Si la vanne de gaz naturel et la sortie de tuyau de gaz à extrémité ouverte se trouvent du même côte, effectuez le raccordement de gaz comme indiqué dans la figure ci-dessous.

- Si la vanne de gaz naturel et la sortie du tuyau de gaz sont scelledes par la face du bouchon aveugle et se trouvent du même cote, retirez le bouchon aveugle de la sortie du tuyau de gaz à l'aide de deux clés. Fermez la sortie du tuyau de gaz à l'aide de ce bouchon aveugle à l'endroit où le raccordement du gaz ne sera pas effectué avec un nouveau joint d'étanchéité (non utilisé).

Effectuez le raccordement de gaz comme indiqué sur la figure idessous sur la sortie du tuyau de gaz pres de la vanne de gaz naturel.

Risque d'incendie: Si vous n'effectuez pas le raccordement conformément aux instructions ci-dessous, il y aura un risque de fuite de gaz et d'incendie. Notre société décline toute responsabilité pour les dommages qui en résultat.
- Le raccordement au gaz ne doit être effectué que par le fournisseur autorisé.
- Le raccordement au gaz de l'appareil doit imperativement se faire par la sortie du tuyau de gaz pres du robinet de gaz naturel.
- La sortie du tuyau de gaz qui ne sera pas utilisée doit être scellede avec le bouchon aveugle.
Lorsque you scellez la sortie du tuyau de gaz qui ne sera pas utiliser à la prise pour le raccord, vous doivent absolument utiliser un joint d'etanchéité neuf et inutilisé.

Après avoir changé le sens de raccordement du bouchon aveugle, faites effectuer le contrôle des fuites de gaz par le service autorisé.
Le tuyau a gaz flexible doit etre raccordede manierea ce qu'il n'entre pas en contact avec les pieces mobiles qui I'entourent et a ne pas le coincer lorsque ces pieces mobiles se deplacent. (example:tiroirs).De plus,vous neveez pas le placer dans des espaces ou il risque d'être ecrase.
Le tuyau de gaz ne doit pas etre serre, plie ou pince ou entrer en contact avec des pieces chaudes de I'appareil. Un tuyau de gaz endommagé vous expose a un risque d'explosion.
Contrôle des fuites au point de raccordement
- Vérifiez que toutes les manettes de l'appareil sont sur la position fermée. Vérifiez que l'alimentation en gaz est ouverte. Préparez une mousse savonnese et appliquez-la sur les points de raccord du tuyau pour controller les fuites de gaz.
- Des bulles apparaitront s'il y a une fuite de gaz. Si c'est le cas, inspectez le raccord de gaz de nouveau.
- Si vous appeareil dispose de deux sorties de tuyau de gaz, assurez-vous que la sortie de gaz inutilise est scelledée à l'aide d'une prise pour le raccord. Préparez de la mousse savonneuse et appliquez-la sur le point de raccordement de la prise pour le raccord pour vérifier l'absence de fuites de gaz. Des bulles apparaitront s'il y a une fuite de gaz. Dans ce cas, vérifiez a nouveau le raccordement de la prise pour le raccord.
- Au lieu du savon, vous pouvez utiliser des aérosols disponibles sur le marché pour vérifier les fuites de gaz.
N'tutilisez jamais d'allumette ou de briquet pour effectuer le contrôle des fultes.
- Poussez le produit vers le mur de la cuisine.
- Réglages des pieds de la cuisine ré Les vibrations pendant l'usage peuvent faire bouger les plats de cuisson. Cette situation dangereuse peut être évitée si le produit est équilibré et stable.
Pour votre sécurité; veuilles vérifie que le produit est stable en réglient les quatre pieds en bas en les tournant vers la gauche et la droite et en les alignant avec le haut.
Verification finale
1.Rebranche le produit au secteur.
2.Ovrez le robinet de gaz.
3. Vérifie les raccords de l'installation de gaz.
4.Allumez les bruleurs et verifiez l'aspect de la flamme.
i La flamme doit etre bleue et avoir une forme reguliere. Si elle est jaunatre,assurez-vous que le bouchon du bruleur est correctement instalé et nettoyez le bruleur.
Conversion du gaz
Avant d'effectuer tout travail sur l'institution de gaz, l'appareil doit être débranché du réseau de distribution du gaz.
Vous risqueriez une Explosion!
Pour changer le type de gaz de votre apparéil, changez tous les injecteurs et réglez les flammes de toutes les valves à la position de début réduit.
Changement de I'injecteur des bruleurs.
-
Retirez le couvercle de bruleur et le corps du bruleur.
-
Devissez les injecteurs en tournant dans le sens contraire des aiguilles du montre.
- Fixez les nouveaux injecteurs.
- Vérifiez le branchement de tous les raccords.

La position des nouveaux injecteurs est marquee sur leurs emballage ou le tableau de l'injec-teur. Tableau des injecteurs, page 16 peut etre consulte.

(Varient en fonction du modele de four.)
Sur certains brûleurs de la plaque de cuisson, l'injecteur est recouvert d'une piece métallique. Retrez ce couvercle métallique lors du remplacement de l'injecteur.

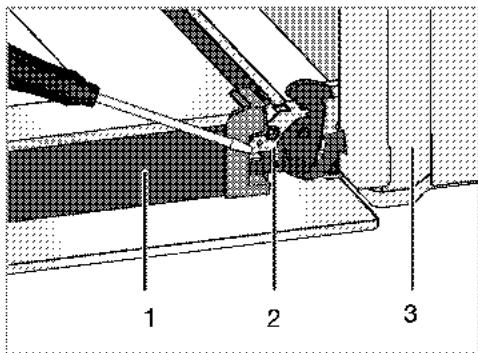
1 Dispositif de sécurité à l'allumage (modele dependant)
2 Electrode
3Injecteur
4 Bruleur

Sauf en cas de condition anormale, ne tentez pas de retarder les robinets des brûleurs de gaz.
Voues devez contacter le service agree s'il est nécessaire de change les robinets.
Réglage de débit de gaz réduit pour les robinets de la plaque de cuisson
1.Allumez le bruleur a regler et position nez la manette sur la position inférieure.
2.Enlevez le bouton du robinet de gaz.
3. Utilisez un tournevis conventionnel pour ajuster la vis de réglage du débit. Pour le LPG (Butane - Propane), tournez le tournevis dans le sens contraire des aiguilles d'une montre. Pour l'alimentation en gaz naturel, tournez une fois la vis dans le sens inverse des aiguilles d'une montre.
» La hauteur normale d'une flamme régulière en début réduit doit être de 6-7 mm.
4. Si la flamme est plus grande que la longueur souhaitation, tournez la vis dans le sens des aiguilles d'une montre. Si elle est plus petite, tournez dans le sens contraire des aiguilles d'une montre.
5. Pour le dernier contrôle, placez le brûleur sur les positions flâme haute et flâme réduite et vérifie si la flâme est allumée ou éteinte.
6. En fonction du type de robinet de gaz utilisé sur votre apparéil, la position de la vis de réglage peut varier.

1 Vis de réglage du début

1 Vis de réglage du début
Changez l'injecteur du four.
1.Desserrez les vis de fixation de la plaque de base.

2.Devissez les 2 vis (2) du support de I'injecteur (1).

1 Support d'injecteur
2 Vis
3. Retirez le support de l'injecteur.
4. Devissez l'injecteur en tournant dans le sens contraire des aiguilles d'une montre.
5. Fixez un nouvel injecteur.
Réglage de début réduit pour le four du gaz
Pour le bon fonctionnement du four, il est extrémement important de vérifier l'ajustement de dérivation à nouveau. Afin d'assurer la sécurité optimale de l'utilisateur, ces opérations doivent être effectuees avec soin.
1.Allumez le bruleur a regler et position nez la manette sur la position de flamme supérieure.
2.Fermez la portedou four et attendez 10 à 15 minutes jusqu'à ce que le four soit prét au réglage.
3. Retirez la manette.
4.Àpres 15 minutes, réglez le four sur la position de flamme minimum.

- Reglez la hauteur de la flamme sur 2 à 3 mm à l'aide de la vis 1 sur le thermostat du four. Tourner la vis dans le sens des aiguilles d'une montre réduit la flamme, dans le sens inverse des aiguilles d'une montre augmente la flamme.
Si le taux de four a flux de gaz ne peut etre regle avec la suppression bouton, s'il vous plaith enlever les parties du four nécessaires (du panneau de commande, plaque de bruleur, etc.), puis fixer le taux du four a flux de gaz.
Si la température du four augmente de façon non voulue, eteignez le four et contactez notre service d'entretien pour la réparation du thermostat.
Réglez la flamme à une hauteur optimale comme indiqué sur la figure ci-dessous, à l'aide de la vis 1 sur le robinet du four. Tournez dans le sens horaire pour réduire la flamme et dans le sens antihoraire pour augmenter la flamme.

Si la flamme est trop petite,
- la température du four peut être trop BASSE, affectant négativement les performances de cuisson.

Une longueur de flamme ideale fournit les valeurs performances.

Si la flamme est trop grande,
- la température du four peut être trop élevé, affectant négativement les performances de cuisson.
i Apre's avoir regle la flamme de gaz, ouvrez et fermez la porte a plusieurs reprises et assurez-vous que la flamme du four ne s'eteint pas.
Si le type de gaz de l'appareil est modifie, alors la plaque signa-tique indiquant le type de gaz utilisé par l'appareil doit également être modifiée.
Gaz naturel à butane/propane (GPL)
Butane/propane
GPL) à gaz naturel (G20
20mbar/ G25 25
mbar / G25.3
25mbar)
Serrez complètement la vis en la tournant dans lesens hora.
Desserrez la vis de 180^ (environ)
| Gaz naturel à butane/propane GPL) | Butane/propane GPL) à gaz na- turel (G20 10mbar/ G20 13 mbar) |
| Serrez complé- tement la vis en la tournant dans le sens horsaire. | Desserrez la vis |
| de 270° (environ) | |
| 270° |
| Gaz naturel à butane/propane GPL) | Butane/propane GPL) à gaz na- turel (G2 350 13mbar gaz local polonais) |
| Serrez complè- tement la vis en la tournant dans le sens horsaire. | Desserrez la vis |
| de 360° (environ) | |
| 360° |
i Le réglage minimum de flux peut varier en fonction de l'appareil, du brûleur ou du type de gaz. Assurez-vous que la hauteur de la flamme correspond à la figure clèssus.
Vérification de fujites aux injecteurs
Avant d'effectuer la conversion sur le produit, assurez-vous que tous les boutons de commande sont en position arrêt. Lorsque la conversion des injecteurs est effectuee, vérifie chaque injec-teur pour identifier d'eventuelles fuites de gaz.
- Assurez-vous que l'alimentation du produit en gaz est activée et mainte
nez tous les boutons de commande en position arrêt.
2.Chaque trou d'injection est bloqué par un dolgt qui applique une force raisonnable afin d'arreter toute fuite de gaz lorsque le bouton de commande correspondant est actionné et qu'il est maintainu en position enforcée pour permettre au gaz d'atteindre l'injecteur.
3.Appliquez de I'eau savonneuse préparée au niveau de la connexion d'injecteur à l'aide d'une petite brosse. En cas de fuite de gaz au niveau de la connexion d'injecteur, I'eau savonneuse commencerà à mousse. Dans ce cas, serrez l'injecteur en appliquant une force raisonnable et repêtez une nouvelle fois le processus de l'etape 3.
4.Si la mousse persiste, vous devez immédiatement arrêtér l'alimentation du produit en gaz et appeler un Agent de service agrée ou un technicien disposant d'une licence. N'utilise pas le produit avant l'intervention préalable du service agrée.


Conseils pour faire des économies d'énergie
Les conseils suivants vous permettront d'utiliser votre apparéel de façon écologique et d'économiser ainsi de l'énergie :
- Utilisez des ustensiles de cuisine re-couverts d'email car la transmission de chaleur sera améliorée.
- Lorsque vous cuisinez, lancez un préchauffage si cela est conseilé dans le manuel d'utilisation ou la description de la recette.
- N'ouvrez pas la porte du four trop. souvenir pendant la cuisson.
- Essayez de faire cuire plusieurs plats simultanément dans le four lorsque vous le pouvez. Vous pouvez placer deux plats de cuisson sur le chassis métallique.
- Faites cuire plusieurs plats successivement. Le four sera déjà à température.
- Decongelez les plats surgelés avant de les cuire.
Utilisez des reçipients munis de couvercles. Sans couvercle, la consommation d'énergie peut être 4 fois plus importante. - Sélectionnez le brûleur le最好的 adap- te à la taille du bas de la casserole utilisée. Sélectionnez toujours la casser- role à la taille plus appropriée pour vos plats. Les grandes casseroles nécessitent davantage d'énergie.
- Des informations sur l'efficacité énergétique selon EU 66/2014 peuvent être trouées sur la fiche produit fournie avec le produit.
Première utilisation Premier nettoyage de l'appareil
i La surface pourrait etre endom
magee par certains detergents ou
produits de nettoyage. N'utilisez pas de détergents
agressifs, de poudre/cremes de
nettoyage ou d'objets tranchants
pour le nettoyage.
- Retirez tous les matériaux d'emballage.
- Essuyez les surfaces de l'appareil à l'aide d'un chiffon humide ou d'une éponge et terminez avec un chiffon sec.
Première cuisson
Faites chauffer l'appareil pendant 30 minutes puis eteignez-le. De cette maniere, tous les résidus de production ou les couches de conservation seront brulés et supprimés.
Les surfaces chaudes peuvent provoquer des brûlures!
L'appareil peut être très chaud pendant son utilisation. Ne touchez jamais les brûleurs, sections internes du four, résistances, etc. lorsqu'ils sont chauds. Tenez les enfants à l'écart.
Utilisez toujours des gants de protection thermique lorsque vous place ou retirez des plats du four chaud.
Fouràgaz
- Sortez toutes les plaques de cuisson et la grille métallique du four.
2.Fermez la portedou four. - Sélectionnez la flamme la plus forte pour le four à gaz ; voir Utilisation du four à gaz, page 35.
4.Faites fonctionner le four environ 30 minutes.
5.Etelignez vous four ; voir Utilisation du four a gaz, page 35

Une odeur et de la fumée peuvent se dégager pendant quelques heures au cours de la première utilisation. Ce phénomène est tout à fait normal. Assurez-vous que la piece est bien aérée pour evacuer l'odeur et la fumée. Evitez de respirer la fumée et l'odeur qui se dégagent.
5 Utilisation de la table de cuisson
Généralités concernant la cuisson

Ne remplissez jamais la poèle à plus d'un tiers. Ne laissez pas la table de cuisson sans surveillance lorsque vous chauffez de l'huile. Une hule surchauffée expose au risque d'incendie. Ne tentez jamais d'eteindre un évientuel incendie avec de l'eau! Lorsque l'huile s'enflamme, couvrez-la avec une couverture pare-flammes ou un chiffon humide. Éteignez la table de cuisson si cela ne pose aucurnisque et appeèez les sapeurspompiers.
- Avant de faire frire des alliments, sechez-les toujours avant de les tremper dans l'huile chaude. Assurez-vous que les alliments surgelés soient bien décongeles avant de les faire frire.
- Ne couvrez pas le recipient lorsque vous faites chauffer de l'huile.
- Disposez les poèles et casseroles de manière à ce que leur poignée ne se trouve pas au-dessus de la table de cuisson afin d'éviter de faire chauffer les poignées. Ne place pas de recipients instantes et pouvant se renver-ser facilement sur la table de cuisson.
- Ne placez pas de recipients et de casseroles vides sur les foyers qui sont allumés. Ilis pourrait être endommages.
-
Faire chauffer un foyer en l'absence d'un recipient ou d'une casserole peut entrainer des dommages pour l'appreil. Arrêtez les foyer de cuisson une fois la cuisson terminée.
-
La surface de l'appareil peut être brû-lante, évitez donc de poser des éléments en plastique ou en aluminium dessus.
Evitez également d'utiliser ce type de recipients pour y conserver de la nourriture.
- N'utilise que des casseroles à fond plat.
- Placez la quantité de nourriture appropriée dans les casseroles utilisées. Ainsi, vous n'aurez pas à effectuer un nettoyage superflu en évitant que vos plats ne débordent.
Ne posez pas les couvercles de vos poèles et casseroles sur les foyers de cuisson.
Placez les casseroles de manière à ce qu'elles soient centrées sur le foyer de cuisson. Lorsque vous pouze déplacer la casserole sur un autre foyer de cuisson, soulevez-la et placez-la sur le foyer de cuisson souhaite au lieu de la faire glisser.
Cuisson au gaz
- Laaille du récipient et celle de la flamme doit correspondre. Reglez les flames du gaz afin qu'elles ne dépassent pas du fond du récipient et centrez ce dernier sur la grille.
Utilisation des tables de cuisson

1 Bruleur normal 18-20 cm
2 Bruleur rapide 22-24 cm
3 Bruleur auxiliaire 12-18 cm
4 Brûleur normal 18-20 cm (Les dimensions indiquées représentent les diamètres recommends de poèles et casseroles à utiliser.)

Evitez d'utiliser les ustensiles de cuisine au-delà des dimensions maximales indiquées ci-dessus. L'utilisation des grandes casser-roles présente un danger d'intoxication au monoxyde de carbone, de surchauffe des surfaces adjacentes et des boutons de commande. L'utilisation des petites casseroles représenté un risque de brûlle par la flamme.
Le symbole représentant une grande flamme indique la puissance de cuisson la plus élevée et le symbole représentant une petite flamme indique la puissance de cuisson la moins élevée. En position OFF (indicateur vers le haut), les brûleurs ne sont pas alimentés en gaz.
Allumage des brûleurs à gaz

Les brûleurs à gaz sont allumés au moyen de boutons d'allumage.
- Maintenez le bouton du brûleur approprié enforcé.
-
Tournez-le dans le sens anti-horaire vers le symbole représentant la grande flamme.
3.Appuyez sur le bouton d'allumage et relachez-le. Repetez l'opération jusqu'à ce que le gaz s'enflamme. -
Reglez la puissance de cuisson souhaitatione.
Arrêt des brûleurs à gaz.
Tournez le bouton de la zone garde-auchaud sur la position OFF (indicateur vers le haut).
Système de coupure de sécurité du gaz (sur les modèles dotés d'un composant thermique)

- Sécurité de coupure du gaz
Un mecanisme de sécurité fait office de contre-mesure et se déclenché pour couper l'arrivée de gaz en cas de débordement de liquide sur les brûleurs.
- Appuyez sur le bouton et tournez-le dans le sens anti-horaire pour allumer le gaz.
- Maintenez ensuite le bouton enforcé pendant 3 à 5 secondes supplémentaires pour activer le système de sécurité.
- Si le gaz ne s'allume pas après avoir appuyé et relachu le bouton, repêze l'opération enMAINENANT le bouton enforcé pendant une quinzaine de secondes.

Relâchez le bouton si le brûleur à gaz ne s'allume pas après 15 secondes.
Patientez au moins 1 minute avant de réessayer. Vous risquériez une accumulation de gaz et une explosion!
6 Utilisation du four
Informations generales concernant la pâtisserie, la ro-tisserie

Les surfaces chaudes peuvent provoquer des brûlures!
L'appareil peut être très chaud pendant son utilisation. Ne touchez jamais les brûleurs, sections internes du four, résistances, etc. lorsqu'ils sont chauds. Tenez les enfants à l'écart.
Utilisez toujours des gants de protection thermique lorsque vous placez ou retirez des plats du four chaud.

Faites attention lors de l'ouverture du four car de la vapeur peut s'en échapper.
La vapeur peut provoquer des brûlures sur vos mains, votre visage et/ou vos yeux.
Conseils pour la pâtisserie
Utilisez des plats en metal anti-adhérent adaptations ou des ustensiles en aluminium ou des moules en silicone résistant à la chaleur.
Utilisez l'espace de la plaque au mieux.
- Placez le moule de cuisson au milieu.
- Sélectionnez l'emplacement adapté avant d'allumer le four ou le grill. Ne changez pas d'emplacement lorsque le four est chaud.
- Gardez la porte du four fermée.
Conseils pour rôtir
-
Assaisonner les poulets entiers, dindes et gros morceaux de viande avec du jus de citron et du poivre noir avant la cuisson augmentera la performance de cuisson.
-
La vlande rotié met 15 à 30 minutes de plus à cuir avec des os par rapport à un roti équivalent sans os.
- Chaque centimetre d'épaissur de viande requiert environ 4 à 5 minutes de temps de cuisson.
- Laissez la viande reposer dans le four pendant environ 10 minutes après le temps de cuisson. Le jus se répartira sur l'ensemble de la viande et ne coulera pas à sa découpe.
- Le poisson doit être place au milieu du four ou plus bas dans un plat résistant au feu.
Utilisation du four à gaz

Le four a gaz est actionné par la manette de commande du four à gaz. Dans la position arrêt (haut) l'alimentation en gaz est coupée.
Allumage du four à gaz
Le four a gaz s'allume avec un briquet.
1.Ouvrez la portedou four.
2.Maintenez la manette de commande du four a gaz enforcée et tournez-la dans le sens inverse des aiguilles d'une montre.
3.Allumez le gaz avec le briquet dans le trou de commande d'allumage.
4.Maintenez la commande du bruleur enfoncée pendant 3 à 5 secondes.
Assurez-vous que le gaz s'est allumé et que la flamme est présente.
5.Maintenez la commande du bruleur enfoncée pendant 3 à 5 secondes supplémentaires.
6. Reglez la puissance de cuisson/ gaz souhaïée.

Vous risqueriez une compression de gaz et une explosion! N'essayez pas d'allumer le gaz pendant plus de 15 secondes. Si le brûleur à gaz ne s'allume pas après 15 secondes, relâchéz le bouton et patientez pendant 1 minute. Aérez la salle avant de réessayer d'allumer le brûleur à gaz. Vous risqueriez une compression de gaz et une explosion
Arrêt du four à gaz
- Tournez la manette de commande du four à gaz sur la position arrêt (haut). Les niveaux de gaz signifient :
| Niveau de gaz | 1 | 2 | 3 |
| °C | |||
Tableau des temps de cuisson

Le 1er etage du four est l'emplacement du premier gradin.

Capacité de charge maximale pour la plaque de four : 4 kg.

Les durées indiquées dans ce tableau ne seront que d'exemple. Elles peuvent varier selon la température, l'épaisseur et le type d'aliments, ainsi que vos préférences de cuisson.
Placez les plats sur du papier sulfurisé pour empêcher des écoulements sur la base du four et garder le four propre.
Cuisson au four et rôtisserie
| Attems | Accessories àutiliser | Préchauration | Niveau declussion | Position demanette decontrole | Temps decussion |
| Tourte auxpommes | Plat rond en métald'un diamètre de20 cm sur grille métallique*** | 10 min. | 2 | 1 | 80...110 min. |
| Tarte auxfruits | Plat rond en métald'un diamètre de20 cm sur grille métallique*** | 10 min. | 4 | 1 | 20...40 min. |
| Tourte | Plat rond en métald'un diamètre de20 cm sur grille métallique*** | 10 min. | 4 | 1 | 20...40 min. |
| Cookies | Plaque standard* | 10 min. | 4 | 1 | 25...35 min. |
| Levain dpâté | Plaque standard** | 10 min. | 4 | 1 | 40...60 min. |
| Gâteau | Moute à cake sur grille métallique*** | 10 min. | 3 | 1 | 75...85 min. |
| Biscuits | Plaque standard** | 10 min. | 4 | 1 | 25...35 min. |
| Agneau rôti | Plaque standard** | 10 min. | 3 | 1 | 60...100 min.par 450 g +30 min. |
| Rôti de bœuf | Plaque standard* | 10 min. | 3 | 1 | 80...120 min.par 450 g +30 min. |
| Allments | Accessoires àutiliser | Préchauffage* | Niveau ded'insertion | Position delannette decontôle | Temps deciduisson |
| Volatile | Plaque standard** | 10 min. | 3 | 1 | 60...80 min.par 450 g +25 min. |
| Ragôuts | Plaque standard** | 10 min. | 3 | 1 | 90...120 min. |
| Poisson | Plaque standard** | 10 min. | 4 | 1 | 35...45 min. |
| Macaronis | Plaque standard** | 10 min. | 4 | 1 | 40...60 min. |
| Victoriasandwich(Généoise) | Plaque standard** | 10 min. | 4 | 1 | 30...40 min. |
| * en position de la manette de contrôle 2 /§ selon la quantité /# selon la tallile** Ces accessoires ne sont pasforcément fournis avec le produit.*** Ces accessoires ne sont pas fournis avec le produit. Il s'agit d'accessoires disponibles dans le commerce. | |||||
7 Maintenance et entretien
Généralités
Un nettoyage régulier de l'appareil en rallongera la durée de vie et diminuera l'apparition de problèmes.
Débranche l'appareil de la prise d'alimentation avant de commencer le nettoyage et l'entretien. Vous risqueriez un chocoléctrique!
Laissez l'appareil refroidir avant de le nettoyer. Les surfaces chaudes peuvent brûler!
Nettoyez l'appareil après chaque utilisation. Il vous sera ainsi possible d'oter plus facilement les résidus de nourriture eventuels, evitant ainsi qu'il ne brulent lors de l'utilisation suivante.
- Aucun produit nettoyant particulier n'est nécessaire pour nettoyer l'appareil. Utilisez de l'eau tiède avec du détergent, un chiffon doux ou une éponge pour nettoyer l'appareil et essuyez-le à l'aide d'un chiffon sec.
Veillez toujours a bien essuyer les excès de liquide après le nettoyage et essuyez immédiatement tout déver-sement.
N'utilisez pas de détergents contenant de l'acide ou du chlore pour nettoyer les surfaces en acier inoxydable et la poignée. Utilisez un chiffon doux avec un détermgent liquide non abrasif pour nettoyer ces parties, en prénant soin de toujours frotter dans le même sens.
- (Cette fonction est optionnelle. Elle peut ne pas etre disponible sur votre produit.)
N'utilisez pas de grattoirs métalliques ou de matériaux de nettoyage abrasifs pour nettoyer le couvercle en verre. La
surface en verre pourrait etre endomagée.
i La surface pourrait etre endom
magee par certains detergents ou
produits de nettoyage. N'utilisez pas de détergents
agressifs, de poudre/cremes de
nettoyage ou d'objets tranchants
pour le nettoyage.
N'utilisez pas de nettoyeurs à vapeur pour le nettoyage de l'appareil, car ceux-ciprésentent un risque d'électrocution.
Nettoyage du brûleur
Nettoyage du brûleur
- Retirez les grilles de la table de cuisson.
- Retirez toutes les pieces amovibles du brûleur et nettoyez uniquement à la main à l'aide d'une éponge, un peu de détergent et de l'eau chaude.
3.Nettoyez les pieces fixes du bruleur avec un chiffon humide.
4.Nettoyez la fiche et I'ellement thermique (pour les modeles avec systèmes d'allumage et thermique) à l'aide d'un chiffon légarement humidié. Puis, séchez en utilisant un chiffon propre. Assurez-vous que les trouss pour flamme et la fiche ont bien séchés.
Dans le cas contraire, aucune étincelle ne se produit à la fin de l'allumage.
5.Lorsque you installez les grilles supérieures, veillez a bien positionner les grilles afin de center les bruleurs.
Assemblez les pieces du brûleur
Après avoir nettoyé le brûleur, placez les pièces comme indiqué ci-dessous.

1 Couvercle du bruleur
2 Tete du bruleur
3 Chambre du brûleur
4 Bougie (produits internes avec allumeur)
1. Placez la tete du bruleur de telle sorte qu'elle passse à travers la bougie du bruleur (4). Tournez la tete du bruleur vers la droite et vers la gauche pour vous assurer qu'elle est bien en place dans la chambre du bruleur.
2. Placez le couvercle du bruleur sur la tete du bruleur.
Nettoyage du bandeau de commande
Nettoyez le bandeau de commande et les boutons de commande avec un chiffon humide et essuyez-les.

Si vous produit est équipé des boutons, ne retirez pas leurs de commande pour nettoyer le panneau de commande.
Le panneau de commande pourrait être endommagé!
Nettoyage du four
Pour nettoyer la paroi latérale(Varient en fonction du modele de four.)
(Cette fonction est optionnelle. Elle peut ne pas etre disponible sur votre produit.)
- Retirez la partie avant du rail l'etal en le tirant vers le cote opposé de la pa-roi laterale.
- Retirez le rail l'etaléral complètement en le tirant vers vous.

Parois catalytiques
(Cette fonction est optionnelle. Elle peut ne pas etre disponible sur votre produit.)
Les parois laterales internes (A) et/ou la paroi arrriere (B) de votre produit peuvent être revêues d'un email catalytique. Les parois catalytiques ont une couleur matte claire et une surface poreuse. Ne nettoyez pas les parois catalytiques du four. Grace à leur structure perforée, les surfaces catalytiques absorbent laGRAISSÉ et lorsqu'elles commencent àbriller, cela signifie qu'elles sont couvertes de graisse. Dans ce cas, il estrecommendé de remplacer les pieces.

Nettoyage de la porte du four.
Utilisez de I'eau tiède avec du détergent, un chiffon doux ou une éponge pour nettoyer la porte du four et essuyez l'appareil à l'aide d'un chiffon sec. Essuyez le verre avec du vinaigre. Rincez-le ensuite pour éliminer les résidus de calcaire qui peuvent se couver sur la vitre du four.
N'tutilise pas de détergents abrasifs ou de grattoirs en métal dur pour nettoyer la portedou four. Vous pourriez rayer la surface et endommager la vitre.
Nettoyage de la portedu four
N't utilisez pas de produits de nettoyage abrasifs durs, de grattoirs métalliques, de fil de laine métallique ou de produits d'eau de Javel pour nettoyer la porte et le verre du four.
Vous pouvez-retirer la portedevotrefour et les vitres de la portepour lesnettoyer.Laprocedure de retrait desportes et des fenetes est expliqueedesansles sections“Retraitde la portedu-four”et“Retraitdes vitresinterieuresde la portede.Aprésavoirretireles vitresinterieuresde la portede,nettoyez-lesaI'aide d'un détergent avaisselle,d'eauchaude etd'un chiffon doux ou d'uneéponge et séchez-lesa I'aide d'un chiffonsec.Essuyezleverrecaudivinalgre.Rincez-leensuite pour eliminerles résidus decalcaire qui peuvent setrouver surla vitredou four.
Retirer la porte du four
1.Ouvre la porte frontale (1).
2. Ouvrez les clips sur le logement de la chamière (2) sur les côtes croit et gauche de la porte frontale en faisant pression sur les clips, tel qu'illustré dans le schéma.

1 Porte
2 Charniere(position fermée)
3 Four
4 Charniere(position ouverte)

3.Ouvre la porte frontale a moitié.

- Retirez la porte frontale en la tirant vers le haut pour la libérer des charnières droite et.gauche.
i Les étapes effectuees pendant le processus de retrait doit etre suivies dans Iordre inverse pour installer la porte. N'oubliez pas de fermer les clips du logement de la charniere lors de la reinstallation de la porte.
Retrait de la vitre de la porte (Cette fonction est optionnelle. Elle peut ne pas etre disponible sur vous produit.)
Le panneau vitre interne de la porte du four peut etre retire pour le nettoyage.
1.Ouvrez la portedou four.

- Tirez vers vous et retirez le morceau en plastique place sur le haut de la porte d'entrée.

- Comme illustré sur la figure, soulevez le panneau de verre du fond (1) légèrement dans la direction A et retirez-le dans la direction B.

1 Panneau vitre du fond
2* Panneau vitre du fond (Elle peut ne pas etre disponible sur votre produit.)
- Si vous apparaill est équipé d'un panneau vitre interieur (2), repêze cette opération pour enlever le panneau en verre interieur (2).
5.La première étappe pour réassembler la porté est de réinstaller le panneau de verre intérieur (2). Placez le coin chanfreiné du panneau en ver pour qu'il reste sur le coin chanfreiné de l'encôche en plastique. (Si votre apparéil est équipé d'un panneau vitré intérieur). Le panneau de verre intérieur (2) doit être installé dans l'encôche en plastique pres du panneau en verre du fond (1). - Quand vous installez le panneau en verre de derrière (1), vérifie que le coût imprimé du panneau fait face au second panneau en verre. Il est importante d'asseoir lescoins inférieurs de tous les pannaux en verre intérieurs (1) dans l'encoche en plastique inférieure.
- Poussez le morceau en plastique dans le cadre jusqu'à ce que vous entendiez un "click".
Remplacement de l'ampoule du four

Avant de remplacer l'ampoule de four, vérifie que l'appareil est débranché de l'alimentation et frold afin d'éviter tout risque de chocolélectrique.
Les surfaces chaudes peuvent brûler!
i Dans ce four, une lampe a incan-descence d'une puissance inférieure a 40 W, d'une hauteur inférieure a 60 mm, d'un diametre inférieur a 30 mm ou une lampe halogene a culot de type G9, d'une puissance inférieure a 60 W est utilisée. Les lampes conven- nent pour un fonctionnement a des températures supérieures a 300^. Les lampes du four peut etre obtenues apres d'agents de service agreees ou d'un technicien titulaire d'une licence.
L'emplacement le la lampe peut varier par rapport à l'illustration.
L'ampoule utilisée dans cet apparaire n'est pas appropriée à l'éclairage d'une piece d'un menage. Cette ampoule est destinée à aider l'utilisateur à désigner les denrées alimentaires.
i Les ampoules utilisées dans cet apparéil doivent résister à des conditions physiques extrémes telles que des températures supérieures à 50 °C.
Si vous four est équipé d'une lampe ronde :
- Debranche l'appareil de l'alimentation.
2.Devisssez le cache de I'ampoule en le tournant dans le sens contraire des aiguilles d'une montre pour I'enlever.

3.Si la lampe de votre four est de type (A) comme I'indique le schema ci-apres, otez-la en la faisant pivoter comme illustré, avant de la replacer. Si, par contre, elle est de type (B), ti-rez-la pour I'oter comme illustré sur le schéma avant de la replacer.

- Remettez en place le cache de l'ampoule.
8 Recherche et résolution des pannes
Le four émet de la vapeur lorsqu'il est en marche.
- Il est normal que de la vapeur s'échappependant le fonctionnement. >> Cela n'est pas un défaut.
Le apparéil émet des bruits métalliques lors des phases de chauffage et de refroidissement.
- Lorsque les pieces métalliques sont chauffées, elles peuvent se détendre et émettre ces bruits. >> Cela n'est pas un début.
ll n'y a pas d'etincelle d'allumage.
- Pas de courant. >> Vérifiez les fusibles dans la boîte à fusibles.
ll n'y a pas de gaz.
- Le robinet de gaz principal est fermé. >>> Ouvrez le robinet du gaz.
- Le tuyau du gaz est pié. >> Installéz le tuyau du gaz correctement.
Les brûleurs ne s'allument pas correctement ou pas du tout.
- Les brûleurs sont sales. >>> Nettoyez les composants des brûleurs.
- Les brûleurs sont humides. >>> Sechez les composants des brûleurs.
- Le couvercle du brûleur n'est pas assemblé correctement. >>> Assembléz le couvercle du brûleur correctement.
- Le robinet de gaz principal est fermé. >>> Ouvrez le robinet du gaz.
- La bonbonne de gaz est vide (en cas d'utilisation du LPG), >>> Remplacez la bonbonne du gaz.
i Consultez le technicien autorise ou le revendeur qui vous a vendu l'appareil si vous ne parvenez pas à résoudre le problème après avoir suivi les instructions comprises dans ce chapitre. N'essayez jamais de réparer un appareil défectueux vous-meme.
beko
Horno
Manual del usuario

3.Parrila de alambre
Notice Facile