PAC WE17INV - Climatiseur DELONGHI - Notice d'utilisation et mode d'emploi gratuit

Retrouvez gratuitement la notice de l'appareil PAC WE17INV DELONGHI au format PDF.

📄 20 pages Français FR 💬 Question IA 10 questions ⚙️ Specs
Notice DELONGHI PAC WE17INV - page 2
Type de produit Climatiseur mobile
Capacité de refroidissement 17 000 BTU
Type de réfrigérant R290 (écologique)
Dimensions approximatives 44 x 39 x 76 cm
Poids 30 kg
Alimentation électrique 230 V / 50 Hz
Puissance 1 900 W
Fonctions principales Refroidissement, déshumidification, ventilation
Niveau sonore 65 dB(A)
Entretien et nettoyage Filtres lavables, nettoyage régulier recommandé
Pièces détachées et réparabilité Disponibilité de pièces détachées via le service après-vente
Sécurité Protection contre la surchauffe, arrêt automatique
Compatibilités Compatible avec fenêtres standard pour l'évacuation de l'air chaud
Informations générales Idéal pour des pièces jusqu'à 70 m², utilisation facile avec télécommande

FOIRE AUX QUESTIONS - PAC WE17INV DELONGHI

Comment installer le DELONGHI PAC WE17INV ?
Pour installer le DELONGHI PAC WE17INV, placez l'unité à proximité d'une fenêtre. Utilisez le kit de fenêtre fourni pour fixer le tuyau d'évacuation d'air à la fenêtre. Assurez-vous que l'unité est sur une surface plane et stable.
Quel est le niveau sonore du DELONGHI PAC WE17INV ?
Le DELONGHI PAC WE17INV a un niveau sonore de 53 dB en mode refroidissement, ce qui est considéré comme relativement silencieux pour un climatiseur mobile.
Comment nettoyer le filtre du DELONGHI PAC WE17INV ?
Pour nettoyer le filtre, retirez-le de l'unité, puis rincez-le à l'eau tiède. Laissez-le sécher complètement avant de le remettre en place.
Quelle est la superficie recommandée pour le DELONGHI PAC WE17INV ?
Le DELONGHI PAC WE17INV est recommandé pour refroidir des pièces allant jusqu'à 70 m² dans des conditions normales.
Comment régler la température sur le DELONGHI PAC WE17INV ?
Utilisez le panneau de contrôle ou la télécommande pour régler la température souhaitée. Appuyez sur les boutons '+' ou '-' pour ajuster la température.
Le DELONGHI PAC WE17INV peut-il être utilisé comme chauffage ?
Oui, le DELONGHI PAC WE17INV dispose d'une fonction de chauffage. Vous pouvez sélectionner le mode chauffage via le panneau de contrôle.
Comment évacuer l'eau condensée du DELONGHI PAC WE17INV ?
L'eau condensée est évacuée automatiquement dans la plupart des conditions. Si le réservoir est plein, un voyant s'allumera et il faudra vider le réservoir manuellement.
Quelle est la classe énergétique du DELONGHI PAC WE17INV ?
Le DELONGHI PAC WE17INV a une classe énergétique de A, ce qui le rend assez efficace sur le plan énergétique.
Que faire si le DELONGHI PAC WE17INV ne refroidit pas correctement ?
Vérifiez que les filtres sont propres, que les fenêtres sont bien fermées et que le tuyau d'évacuation n'est pas obstrué. Si le problème persiste, contactez le service client.
Où puis-je trouver des pièces de rechange pour le DELONGHI PAC WE17INV ?
Les pièces de rechange peuvent être commandées via le site web de DELONGHI ou auprès de revendeurs agréés.

Téléchargez la notice de votre Climatiseur au format PDF gratuitement ! Retrouvez votre notice PAC WE17INV - DELONGHI et reprennez votre appareil électronique en main. Sur cette page sont publiés tous les documents nécessaires à l'utilisation de votre appareil PAC WE17INV de la marque DELONGHI.

MODE D'EMPLOI PAC WE17INV DELONGHI

  • Veuillez toujours utiliser cet apparéil comme indiquédans ce manuel. Ces instructions ne couvent pas toutes les conditions et situations possible pouvant seprésenter, il est always nécessaire d'agir avec bon sens et prudence pour l'installation, le fonctionnement et la conservation de tous les électroménagers.
  • Cet apparéil a été créé pour la climatisation des millieux domestiques et ne doit pas être destiné à d'autres usages.
    Il est dangereux de modifier ou d'alterer les caractéristiques de l'appareil.
    L'appareil doit être installé selon les normes nationales disciplinant les installations électriques.
    Pour les eventuelles réparations, veuillez vous adresser aux Centres SAV agrées par le fabricant. Les réparations effectuees par un personnel non qualifié peuvent être dangereuses.
  • Cet apparéil doit être exclusivement utilisé par des femmes.
  • Cet apparéil ne doit pas être utilisé par des personnes (y compris les enfants) représentant des capacités psycho-sensorielles réduites, des connaissances et une expérience insuffisantes, sans la surveillance vigilante et les instructions d'un responsable de leur sécurité.
    Surveiller les enfants et s'assurer qu'ils ne jouent pas avec l'appareil.
  • Cet apparéil doit être relié à une mise à la terre efficace. Faites vérifier l'installation électrique par un électricien spécialisé.
  • Eviter d'utiliser des rallonges pour le cable d'alimentation électrique.
  • Veuillez toujours débrancher la fiche de la prise de courant avant toute opération de nettoyage ou d'entretien.
  • Ne pas tirer sur le cable d'alimentation électrique pour déplacer l'appareil.
  • Ne pas installer l'appareil dans des endroits où l'air peut contenir du gaz, de l'huile, du soufre ni à proximite de sources de chaleur.
  • Respecter une distance minimale de 50 cm entre l'appareil et toute substance inflammable (alcool, etc.) ou réciements sous pression (vas-porisateurs).
  • Ne pas appuyer d'objets lourds ou chauds sur l'appareil.

Nettoyer les filtrres à air au moins une fois parSEMaine.
- Éviter d'utiliser des apparèils de chauffage près du climatisationur.
L'appareil doit être transporté à la verticale ou couche sur le côte. Avant de le transporter, éliminer complètement l'eau contenu dans l'appareil. Àprous l'avoir transporte, attendre au moins 1 heures avant de lemettre en fonction.
- Ne pas couvir l'appareil avec des sachets en plastique avant de le ranger.
- Les matériaux utilisés pour l'emballage sont recyclables. Nous conseillons de les jeter dans les poubelles pour la collecte sélective.
Lorsque l'appareil arrive à la fin de sa vie utile, il doit être apporté dans un centre de collecte spécialisé.
Si le cable d'alimentation est endommagé, il faut le faire replacer par le fabricant ou par son SAV, de manière à prévenir tout type de risque.

Vérifier sur la plaquette signalétique le type de gaz frigorigène utilisé dans votre apparéil.

Avertissements spécifiques pour les appar reils a gaz frigorigène R410A

Le R410 A est un gaz frigorigène conforme aux normes CE sur l'ecologie. Ne jamais percer le circuit frigorifique de l'appareil.

INFORMATION ENVIRONNEMENTALE: Cette unité contient des fluores à effet de serre couverts par le Protocole de Kyoto. Les opérations d'entretien et d'élimination doivent toujours être effectues par du personnel spécialisé (R410A, GWP=1975).

Avertissements spécifiques pour les appar reils à gaz frigorigène R290

  • Lire attentivement ces averissements.
    Pour le processus de dégivrage et pour le nettoyage, utiliser exclusivement les outils recommandés par le fabricant.
  • L'appareil doit être installé dans un endroit sans sources d'allumage constantes (par exemple : des flammes libres, des apparciels à gaz ou électriques en marche).
  • Ne pas percer ni brûler.
  • Les gaz frigorigènes peuvent être inodores.
  • L'appareil doit être installé, utilise et stocké dans une piece dont la surface est supérieure à 15m^2
  • Cet apparéil contient environ 300 g de gaz frigorigène R290.

Le gaz R290 est un gaz frigorigène conforme aux directives européennes sur l'environnement. Ne pas perforer les composants du circuit frigorifique.
- Si l'appareil avait été installé, actionné ou stocké dans un endroit mal aéré, il faut faire en sorte qu'il n'y ait pas d'eventuelles pertes de gaz frigorigènes stagnantes pouvant cause des dangers d'accendie ou d'explosion, dus à l'allumage du gaz frigorigène provoqué par des poèmes électriques, des réchauds ou toute autre source d'allumage.
- Conserver l'appareil de manière à prévenir les défaillances mécaniques.
- Les personnes qui travaillent ou intervennent sur un circuit frigorifique doivent posseder une certification adequate, délivrée par un organisme accréitede, attestant leur compétence en matière de manipulation de gaz frigorigènes conformément à une Specification officiellement reconnaue.
- Les interventions de réparation doivent être effectuees sur la base des recommendations du fabricant de l'appareil. Les operations d'entretien et les réparations exigeant l'assistance d'autres spécialistes doivent être effectuees sous la supervision de la personne spécialisée dans l'utilisation de gaz frigorigènes inflammables.

Élimination de l'appareil

DELONGHI PAC WE17INV - Élimination de l'appareil - 1

Conformément à la Directive française 2002/96/CE ne pas eliminer l'appareil avec les déchets urbains mais le ramener à un centre de collecte officiel.

Branchementélectrique

Avant de brancher la fiche sur la prise de courant, veuillez vérifier que :

  • la tension du réseau correspond à la valeur indiquée sur la plaquette signalétique située au dos de la machine :
  • la prise et la ligne d'alimentation électrique peuvent supporter la charge requise :
  • la prise est appropriée à la fiche de l'appareil, dans le cas contraire, la faire replacer :
  • la prise est reliée à une mise à la terre efficace. Le fabricant décline toute responsabilité en cas de non-respect de cette norme sur la prévention des accidents de travail.

QU'EST-CE QUE PINGUINO INVERTER

La technologie Inverter a ete estudie pour youss assurer un bien-etre maximal et une consommation d'energie optimise. La puissance frigorifique tres elevee permet d'atteindre rapidement la tempereature programmee, qui est ensuite maintenue constante dans le temps.

Cette technologie se base essentiellement sur un dispositif électronique qui permet de varier la fréquence du moteur électrique, de façon à réguler la vitesse de rotation du compresseur et moduler la puissance frigorifique.

Ce dispositif permet d'éliminer la série On-Off nécessaire aux climatiseurs traditionnels pour maintir une température ambiente pré-fixée, et, par conséquent, de réduire les fortes fluctuations de température autour de la valeur programmée et les déliés importants pour atteindre cette consigne.

Pinguino Inverter fonctionné toujours avec une capacité frigorifique optimisée et une efficacité énergétique maximale car la consommation est limitée aux besoin réels, aussi bien dans les moments où la charge thermique est moyenne ou faible (matin et soit) qu'aux moments plus chauds et humides (à la mi-journée) quand la technologie Inverter est particulièrement appréciée.

DESCRIPTION DE L'APPAREIL

A Grille de sortie d'air
B Tableau de commande avec écran avancé à cristaux liquides
C Poignée
DGrille
E Roulettes
F Grille d'aspiration de l'air avec filtré anti-poussière
G Connexion evacuation condensat
H Câble d'alimentation
I Réservoir à tiroir
J Porte ouverture réservoir
K Tuyau d'évacuation de l'eau
L Telecommande
M Logement du tuyau d'évacuation de l'eau
N Embout pour fenêtre
0 Filtre anti-poussière ou filtré à ions d'argent (uniquement dans certains modèles)
P Filtre électrostatique (seulement sur certains modèles)
Q Ventouse
Bride à bouchon
S Traverse extensible
T Tuyau de drainage eau + bouchon
U Bande réactive
V Filtre anti-poussiere

DELONGHI PAC WE17INV - DESCRIPTION DE L'APPAREIL - 1

DELONGHI PAC WE17INV - DESCRIPTION DE L'APPAREIL - 2

DELONGHI PAC WE17INV - DESCRIPTION DE L'APPAREIL - 3

PREPARATION À L'EMPLOI

Vous trouverez ci-après toutes les instructions nécessaires pour préparer au moyen le fonctionnement de votre climatiseur.

L'appareil doit toujours être installé en veillant à ce qu'il n'ait aucun d'obstacle sur l'aspiration ni sur la sortie de l'air.

Climatisation sans installation

Quelques simples opération et votre climatiseur vous garantira le bien-être :

Fixer le tuyau d'évacuation de l'air dans le logement prévu situé dans la partie arrêté de l'appareil (fig. 1).

DELONGHI PAC WE17INV - Climatisation sans installation - 1

  • Appliquer l'embout pour fenêtre (N) à l'extrémité du tuyau (K).
  • Approcher le climatisation d'une fenêtre ou d'une porte-fenêtre.
  • Allonger suffisamment le tuyau pour atteindre la fenêtre.
    Veuillez you assurer de ne pas obstruer le tuyau d'évacuation de l'air.
    Ouvrilegementla fenetreou la portefenetre et positionner l'embout (fig.2).

DELONGHI PAC WE17INV - Climatisation sans installation - 2

Si vous avez une fenetre à double battant, utiliser la ventouse (Q) fournie avec l'appareil pour maintainir les vitres l'une à côté de l'autre (fig. 3).

DELONGHI PAC WE17INV - Climatisation sans installation - 3

Vous pouvez eventuèlement utiliser l'accessoire "Traverse extensible" (T).

  • Introduire l'embout pour fenêtre dans le siècle prévu sur la traverse (fig. 4).

DELONGHI PAC WE17INV - Climatisation sans installation - 4

  • Positionner la traverse sur le rebord et l'étirer dans les glissières de votre store ; vous pouvez bloquer la mesure avec un piedeur fourni avec l'appareil, et baisser le store (fig. 5).

DELONGHI PAC WE17INV - Climatisation sans installation - 5

  • Approcher le climatisationur de la fenetre ou de la portefenetre et brancher l'autre extrémité du tuyau (fig. 6).
  • Retirer le bouchon se trouvant dans la partie arrrière de l'appareil (G) et le replacer par le tuyau de drainage plus le bouchon (U) comme indiqué sur la figure 6. Ceci facilitera l'évacuation des condensats à effectuer à la fin de la saison. Voir le chapitre "OPÉRATIONS DE FIN DE SAISON".

DELONGHI PAC WE17INV - Climatisation sans installation - 6

DELONGHI PAC WE17INV - Climatisation sans installation - 7

DELONGHI PAC WE17INV - Climatisation sans installation - 8

Limiter le plus possible la longueur et les coudes du tuyau d'air et éviter les étranglements.

Climatisation avec installation

Si vous le souhaites, l'appareil peut etre aussi installe de maniere semi-permanente (Fig. 8).

Dans ce cas, vous nevez :

  • Percer un trou de 134mm de diamètre dans un mur communiquant avec l'extérieur ou à travers la vitre d'une fenêtre en respectant les hauteurs indiquées sur la fig. 9.

DELONGHI PAC WE17INV - Climatisation avec installation - 1

  • Introduire dans le trou la bride (S) fournie en suivant les indications des fig. 10, 11 et 12.

DELONGHI PAC WE17INV - Climatisation avec installation - 2

DELONGHI PAC WE17INV - Climatisation avec installation - 3
Dans la vitre de la fenetre

DELONGHI PAC WE17INV - Climatisation avec installation - 4
Dans le socle en bois de la portefenetre

DELONGHI PAC WE17INV - Climatisation avec installation - 5

Dans le mur : nous vous conseillons d'isoler la section du mur avec du matérieliau isolant approprié

Fixer le tuyau d'évacuation de l'air (K) au logement situé dans la partie arrêté de l'appareil (fig. 1).
- Appliquer l'extrémité du tuyau contre la bride (S). Lorsque le tuyau n'est pas raccordé, il est possible de boucher le trou avec le bouchon de la bride.
- Enlever le bouchon se trouvant dans la partie arriere de la machine (G) et le replacer par le tuyau de drainage plus le bouchon (U) comme indiqued sur la figure 6. Ceci facilitera l'évacuation des condensats à effectuer à la fin de la saison. Voir le chapitre "OPÉRATIONS DE FIN DE SAISON".

i Limiter le plus possible la longueur et les coudes du tuyau de l'air et éviter les étrangles.

i Dans le cas d'une installation de type semi-permanente, nous conseillons de laisser une porte entrebaillée (1 cm suffit) pour garantir un bon renouvellement d'air dans la piece.

PREPARATION À L'EMPLOI AVEC FONCTIONNEMENT À L'EAU

Une fois installé, l'appareil est prét à être utilisé. Vous pouvez toutesaugmenter son efficacité en exploitant le fonctionnement à l'eau, une exclusivite DeLonghi. En effet, l'eau contenue dans le réservoir augmente la puissance de refroidissement de votre Pinguino tout en réduisant le bruit et la consommation d'électricité. L'eau fait baisser la température du circuit réfrigerant beaucoup plus que l'air et est ensuite éjectée à l'extérieur par le tuyau de sortie de l'air sous forme de vapeur. Veuillez ne pas oublier que :

  • Il faut utiliser de l'eau claire du robinet ne contenant pas de sels.
    La durée d'une charge d'eau dépend enormément des conditions environnementales comme la température, l'humidité, l'isolation, l'exposition de la piece, le nombre de personnes représentes, etc. La durée approximative du fonctionnement de l'appareil est de 6 heures. La fonction BOOST (voir page 49) permet de diminuer la durée de fonctionnement jusqu'à environ 4 heures mais la puissance frigorifique et l'efficacité augmentent.
    Lorsqu'il n'y a plus d'eau dans le réservoir, l'appareil le signale en allumant le témoin lumineux sur le tableau de commande, tandis que le fonctionnement est automatiquement commuted eau a air : au même moment la quantité d'air éjectée par le tuyau arrêté augmente.

i Cet apparéil est pourvu d'un filtré anti-calcaire à base de résines permettant d'utiliser de l'eau du robinet.

Les résines employées réduisent la durée de l'eau et prolongent la vie de l'appareil.

i L'afficheur visualise "CF" à chaque fois qu'il est nécessaire replacer le filtrte anti-calcaire. L'efficacité du filtré dépend de la durée de l'eau. Nous conseillons de le replacer tous les 5 ans.

Programmation de la durée de l'eau

Pour déterminer la durée de l'eau, utiliser la bande réactive fournie avec l'appareil.

  • Retirer la bande réactive (V) de son emballage.
  • Plonger complètement la bande dans un verre d'eau pendant environ une seconde.
  • Extraire la bande de l'eau et la secouer légèrement. ÀpRES environ une minute, 5 pétits carrés rouges se forment, en fonction de la durée de l'eau. L'appareil permet de programmer 3 différents niveaux de durée de l'eau : douce (H1), moyenne (H2) et dure (H3). Déterminer le niveau de durée de l'eau que vous utiliserez en comparant les carrés rouges de la bande réactive avec le tableau ci-dessous.
Type d'eau utiliséeNiveau
0 - 19°F DouceH1
20 - 36°F MoyenneH2
> 36°F DureH3

Pour programme le niveau de durée de l'eau, procéder comme suit :

  1. Mettre l'appareil en veille.
  2. Garder appuyée la touche FAN sur le tableau de commande pendant 10 secondes L'appareil émettra un signal sonore et l'afficheur visualisera H1, H2 ou H3.
  3. Programme à l'aide des touches + ou - le niveau de durée déterminé par le tableau précédent. Attendre quelques secondes pour que la programmation soit saisie ; l'appareil émettra un autre signal sonore et se positionnera à nouveau en voille.

i La machine est préprogrammée à l'usine sur un niveau de durée moyen (H2).

Comment replir le réservoir

Le réservoir de l'eau se trouve dans la partie basse de la machine. Extraire le réservoir, en in-

troduisant la main à travers le volet se trouvant sur l'inscription "PULL" (fig. 13) et tirer vers soi le réservoir jusqu'à la fin de sa course. Enlever le bouchon et verser l'eau à l'aide d'un écipient de votrechoix (bouteille, carafe, arrosoir) (fig. 14- 15).Vous pouvez voir, à travers le trou de remplissage, combien d'eau se trouve dans le réservoir, n'oubliez-pas qu'il contient 10l.

DELONGHI PAC WE17INV - Comment replir le réservoir - 1

DELONGHI PAC WE17INV - Comment replir le réservoir - 2

DELONGHI PAC WE17INV - Comment replir le réservoir - 3

Remetre le bouchon dans son siège et fermer le réservoir en s'assurant qu'il est arrivé en fin de course. Le trou du réservoir est pourvu d'un filtre résille nécessaire à empêcher l'introduction accidentelle de corps étrangers ; il est possible d'enlever ce filtre en le dévisant pour le nettoyer sous un jet d'eau courante.

Il n'est pas nécessaire de replir complètement le réservoir pour exploiter le fonctionnement à l'eau, mais dans ce cas le fonctionnement à l'eau durera moins longtemps.

Lorsque l'eau a atteint le niveau du trou, ne plus ajouter d'eau pour éviter qu'elle ne déborde: le réservoir ne prévoit aucun système contre le débordement.

Remplacer le filtré anti-calcaire

Éteindre l'appareil et débrancher la fiche.

Veuillez you assurer qu'il n'y a pas d'eau dans la machine en vidant le réserveir et le bac interne comme indiqued au paragraphe "OPERATIONS DE FIN DE SAISON".

Coucher l'appareil sur le dos comme représenté sur la figure 17 en y mettant dessus un essui-main ou un carton pour éviter de d'érafler ou de l'endommager. Enlever le couvercle du filtre en dévissant les 4 vis (fig.17).

Dégager délicatement le filtrte et desserer les deux colliers en faisant attention que les deux tuyaux de raccordement du filtrte ne glissent pas dans la machine. Appliquer le nouveau filtrte en effectuant l'opération en sens inverse (fig.17-18). Dans le filtrte se trouve un ergot (voir figure 16) qui indique l'orientation correcte. Veuillez vous assurer que ce dernier est toujours tourné vers l'intérieur de la machine et que le point "A" est tourné vers le haut.

DELONGHI PAC WE17INV - Remplacer le filtré anti-calcaire - 1
16

i Pendant les opérations de remplacement du filtré anti-calcaire, il peut y avoir une fuite d'eau, c'est pour cette raison que nous conseillons d'effectuer ces opérations dans un endroit approprié.
iAprès avoir remplaced le filtré,attendre au moins une heures avant de faire redémarrer l'appareil.
iAprès avoir remplaced le filtré,veuilles désactiver l'alarme en appuyant pendant 10 secondes sur ON/STAND-BY (15). L'appareil émettra un signal sonore.

DELONGHI PAC WE17INV - Remplacer le filtré anti-calcaire - 2

DELONGHI PAC WE17INV - Remplacer le filtré anti-calcaire - 3

DELONGHI PAC WE17INV - Remplacer le filtré anti-calcaire - 4

DESCRIPTION DU TABLEAU DE COMMANDE AVEC ÉCRAN AVANCE À CRISTAUX LIQUIDES

1 Symbole climatisation
2 Symbole déshumidification
3 Symbole ventilation
4 Symbole fonction SMART
5 Symbole fonction BOOST
6 Symbole fonction SLEEP
7 Symbole alarme
8 Indicateur de température
9 Symbole manque d'eau
10 Symbole timer
11 Indicateur vitesse ventilateur
12 Indicateur AUTOFAN
13 Touche FAN

14 Touche augmentation (+) et diminution (-) de la température
15 Touche ON/Stand-by
16 Touche MODE (sélection des modalités)
17 Récepteur de signal de la télécommande

DELONGHI PAC WE17INV - DESCRIPTION DU TABLEAU DE COMMANDE AVEC ÉCRAN AVANCE À CRISTAUX LIQUIDES - 1

FONCTIONNEMENT DEPUIS LE TABLEAU DE COMMANDE

Le tableau de commande permet de gérer les principales fonctions de l'appareil mais pour exploiter à fond toutes les fonctions de l'appareil, il faut utiliser la télécommande.

Mise en marche de l'appareil

  • Brancher l'appareil.

Deux lignes sur I'afficheur indiquent que I'appareil est en veille (fig. 20).

Appuyer sur la touche (j) jusqu'à ce que l'appareil se mette en marche, il indiquera la derniere fonction active au moment où il a été étient.
- Ne jamais éteindre le climatiseur en le débranchant directement mais en appuyant sur la touche (1) et attendre quelques minutes avant de débrancher la fiche : seulement de cette manière l'appareil est en mesure d'effectuer les contrôles qui en vérifier l'état de fonctionnement.

20

DELONGHI PAC WE17INV - Mise en marche de l'appareil - 1

DELONGHI PAC WE17INV - Mise en marche de l'appareil - 2

Modalité climatisation (fig. 21)

Idéale pour les périodes de grande chaleur et pour déshumidifier la piece.

Pour programmer correctement cette fonction :

Appuyer à plusieurs reprises sur la touche MODE jusqu'à ce que le symbole climatisation apparaisse.
- Sélectionner la température à l'aide de la touche + ou ↓ jusqu'à ce que la valeur désirée apparaissé.
- Sélectionner la vitesse de ventilation souhaitée en appuyant sur la touche . Les vitesse disponibles sont 4 :

DELONGHI PAC WE17INV - Modalité climatisation (fig. 21) - 1

Vitesse maximum : pour atteindre le

plus rapidement possible la température souhai-tée

DELONGHI PAC WE17INV - Modalité climatisation (fig. 21) - 2

Vitesse moyenne : pour réduire le ni

veau de bruit tout en maintainant un bon niveau de bien-être

DELONGHI PAC WE17INV - Modalité climatisation (fig. 21) - 3

Vitesse basse : pour avoir le plus de si

lence possible

DELONGHI PAC WE17INV - Modalité climatisation (fig. 21) - 4

AUTOFAN: l'appareil besoin automa-

tiquement la meilleure vitesse de ventilation en fonction de la température programmée à l'écran.

Les températures les plus appropriées dans la pièce durant l'éte varient de 24-27 °C. Les températures nettement inférieures à la température extérieure sont déconseillées.

DELONGHI PAC WE17INV - Modalité climatisation (fig. 21) - 5
21

DELONGHI PAC WE17INV - Modalité climatisation (fig. 21) - 6

DELONGHI PAC WE17INV - Modalité climatisation (fig. 21) - 7

Modalité déshumidification (fig. 22)

Idéale réduire l'humidité ambiente (saisons intermédiaires, endroits humides, périodes de pluie, etc.). En modalité déshumidification, l'appareil doit être régle de la même manière que pour la modalité climatisation, soit avec le tuyau d'évacuation appliqué à l'appareil pour permettre l'évacuation de l'humidité vers l'extérieur. Pour programmermer correctement cette fonction :

Appuyer à plusieurs reprises sur la touche MODE jusqu'à ce que le symbole déshumidification apparaisse.

DELONGHI PAC WE17INV - Modalité déshumidification (fig. 22) - 1

Cette modalité ne permet pas de sélection-la vitesse de ventilation qui est可以选择 autoquèment par l'appareil.

DELONGHI PAC WE17INV - Modalité déshumidification (fig. 22) - 2
22

DELONGHI PAC WE17INV - Modalité déshumidification (fig. 22) - 3

DELONGHI PAC WE17INV - Modalité déshumidification (fig. 22) - 4

Modalité ventilation (fig. 23)

Cette modalité de fonctionnement n'exige pas d'appliquer le tuyau d'évacuation sur l'appareil. Pour programmermer correctement cette fonction :

Appuyer à plusieurs reprises sur la touche MODE jusqu'à ce que le symbole ventilation apparaisse.
- Sélectionner la vitesse de ventilation souhai-tée en appuyant sur la touche

Les vitesses disponibles sont 3 :

DELONGHI PAC WE17INV - Modalité ventilation (fig. 23) - 1

Vitesse maximum : pour obtenir le

plus de ventilation possible.

DELONGHI PAC WE17INV - Modalité ventilation (fig. 23) - 2

Vitesse moyenne : pour réduire le ni

veau de bruit tout en maintainant un bon niveau

de bien-être.

DELONGHI PAC WE17INV - Modalité ventilation (fig. 23) - 3

Vitesse minimum : pour avoir le plus de

silence possible

Cette modalité ne permet pas de seLECTIONner la

vitesse AUTO.

DELONGHI PAC WE17INV - Modalité ventilation (fig. 23) - 4

DELONGHI PAC WE17INV - Modalité ventilation (fig. 23) - 5

Modalité SMART (fig. 24)

Cette modalité essaire de recréer dans l'ambiance les conditions idéales de bien-être. L'appareil déscièra automatiquement s'il doit fonctionner en climatisation, ventilation ou rester inactif en fonction des conditions environnementales relevantes. Pour programme cette fonction :

  • Appuyer à plusieurs reprises sur la touche MODE jusqu'à ce que le symbole SMART apparaisse.
  • Sélectionner la vitesse de ventilation souhaitée.

DELONGHI PAC WE17INV - Modalité SMART (fig. 24) - 1

Si en mode climatisation, déshumidificat i on SMART le symbole manque d'eau s'affiche il faut replir le réservoir. On obtendra ainsi les meilleurs résultats.

DESCRIPTION DE LA TÉLECOMMANDE

1 Symbole climatisation
2 Symbole déshumidification
3 Symbole ventilation
4 Symbole fonction SMART
5 Indicateur échelle de température sélectionnée
6 Transmission signal
7 Symbole fonction boost

8 Symbole fonction sleep
9 Indicateur AUTOFAN
10 Indicateur vitesse de ventilation
11 Symbole TIMER ON
12 Symbole TIMER OFF
13 Horloge
14 Touche ON/Stand-by
15 Touche FAN
16 Touche augmentation (+) et diminution (-)
17 Touche MODE (sélection modalité)
18 Touche "Reset" (retour aux configurations d'origine)
19 Touche OK
20 Touche TIMER OFF
21 Touche sélection ^ C ou ^ F
22 Touche fonction sleep
23 Touche fonction boost
24 Touche TIMER ON

DELONGHI PAC WE17INV - DESCRIPTION DE LA TÉLECOMMANDE - 1

UTILISATION DE LA TÉLÉCOMMANDE

  • Diriger la télécommande vers le récepteur de signal de l'appareil. La distance maximale entre la télécommande et l'appareil est de 7 mètres (sans aucun obstacle entre la télécommande et le récepteur).
  • Manier la télécommande très doucement, sans la faire tomber, sans l'exposer à la lumière directe du soleil ou autres sources de chaleur.

DELONGHI PAC WE17INV - UTILISATION DE LA TÉLÉCOMMANDE - 1

Introduction ou remplacement des piles

allumer ou eteindre l'appareil
- selectionner la modalite de fonctionnement (climatisation, déshumidification, ventilation ou smart) et la vitesse de ventilation.
programmer la température souhaitatione.

En cas de remplacement ou de destruction de la télécommande, retirer et jeter les piles conformément aux en vigueur car elles nui-sent a l'environnement.

DELONGHI PAC WE17INV - Introduction ou remplacement des piles - 1

Programmer l'heure exacte

Après avoir introduit les piles, l'horloge de l'écran clignotera tant que l'heure exacte ne sera pas programmée.

Effectuer les opérations suivantes :

Appuyer sur la touche A ou J jusqu'à atteindre l'heure exacte. En Maintenant la touche appuyée, vous activez le défilament automatique des minutes puis des dizaines de minutes.

Lorsque l'heure est exacte, relaucher la touche et appuyer sur OK pour confirmer.
Pour annuler la programmation de la télécommande et revenir aux programmes d'origine, appuyer légrement avec la pointe d'un crayon ou d'un stylo sur la touche

FONCTIONNEMENT AVEC TELÉCOMMANDE

La première partie des commandes disponibles sur la télécommande correspond exactement au tableau de commande de l'appareil (fig. 26).

Veuillez vous reférer aux instructions du chapitre FONCTIONNEMENT DEPUIS LE TABLEAU DE COMMANDE pour :

  • allumer ou eteindre l'appareil
  • selectionner la modalite de fonctionnement (climatisation, déshumidification, ventilation ou smart) et la vitesse de ventilation.
    programmer la tempéature souhaïée.

La section qui suit illustrer les fonctions supplémentaires concernant les commandes situées dans la partie inférieure de la télécommande.

DELONGHI PAC WE17INV - FONCTIONNEMENT AVEC TELÉCOMMANDE - 1

DELONGHI PAC WE17INV - FONCTIONNEMENT AVEC TELÉCOMMANDE - 2

Fonction "BOOST" (fig.27)

Idéale pour la salle estivale car elle permet de rafraîchir rapidement la pièce. Pour l'activer, il suffit d'appuyer sur la touche
L'appareil fonctionne en climatisation à la vitesse de ventilation et à la puissance maximales ; tant que cette modalité est selectionnée, il n'est pas possible de programmer la température ni de modifier la vitesse de ventilation.

DELONGHI PAC WE17INV - Fonction "BOOST" (fig.27) - 1

Lorsque la fonction BOOST est en marche, la durée de la charge d'eau peut résultat inférieure par rapport à la modalité Climatisation. En revanche, la puissance refroidissante et l'efficacité de l'appareil sont nettement plus élevées.

DELONGHI PAC WE17INV - Fonction "BOOST" (fig.27) - 2

Sélection de l'échelle de tempérag.28)

En appuyant sur %% , l'appareil commutera l'affichage de la tempéature de ^ C en ^ F et vice-versa.

DELONGHI PAC WE17INV - Sélection de l'échelle de tempérag.28) - 1

DELONGHI PAC WE17INV - Sélection de l'échelle de tempérag.28) - 2

Fonction SLEEP (fig. 29)

Cette fonction sert sur tout pendant la nuit car elle diminue progressivement le fonctionnement de l'appareil jusqu'à l'arrêter complètement au bout de 8 heures.

Pour programmer correctement cette fonction :

  • Sélectionner la modalité de fonctionnement (climatisation, déshumidification, smart) comme précédemment illustré.
    Appuyer sur la touche ☆ . L'appareil fonctionne dans la modalité précédemment sélectionnée, à petite vitesse de ventilation.

La vitesse de ventilation est toujours au minimum tandis que la températe de la pièce ou le taux d'humidité varient graduèlement selon les exigences de bien-être.

En modalité climatisation, la température augmente d'1°C au bout de 60 minutes et d'un autre degré au bout de 2 heures.

En modalité déshumidification, la capacité déshumidifiante de l'appareil est partiellement réduite 2 fois à chaque heures.

DELONGHI PAC WE17INV - Fonction SLEEP (fig. 29) - 1

PROGRAMMATION DE LA MINUTERIE

Cette fonction minuterie vous permet de programme les heures de fonctionnement de l'appareil que vous souhaitez.

Programmation de la mise en marche

Appuyer sur la touche . Sur l'afficheur de la telecommande clignoteront I'heure de mise en marche et le symbole (fig. 30).
Appuyer sur la touche ou pour programme l'heure de mise en marche souhaitée.
- Àprous avoir atteint l'heure souhaïée, appuyer sur OK pour la confirmer (fig. 31) : sur l'afficheur de la télécommande le symbole Ⓞ I reste allumé tandis que sur l'afficheur de l'appareil est affché le symbole Ⓞ qui indique que la minuterie est en marche.

Programmation de I'arrêt

Appuyer sur la touche 念 _ 0 . Sur l'afficheur de la télécommande clignoteront l'heure d'arrêt et le symbole 念 _ 0 (fig. 32).
Appuyer sur la touche ou pour configurer l'heure d'arrêt souhaïée.
- Àprous avoir atteint l'heure souhaïée, appuyer sur OK pour la confirmer (fig. 33) : sur l'afficheur de la télécommande le symbole ©O resté allumé tandis que sur l'afficheur de l'appareil est affiché le symbole © qui indique que la minuterie est en marche.

DELONGHI PAC WE17INV - Programmation de I'arrêt - 1

DELONGHI PAC WE17INV - Programmation de I'arrêt - 2

DELONGHI PAC WE17INV - Programmation de I'arrêt - 3

DELONGHI PAC WE17INV - Programmation de I'arrêt - 4

En cas de nécessité de désactiver à l'avance la programmation de la minuterie en mise en marché ou en arrêt, appuyer 2 fois sur la touche ou O.

AUTODIAGNOSTIC

L'appareil est pourvu d'un système d'autodiagnostic qui identifie certaines anomalies de fonctionnement. Les messages d'erreur sont affichés à l'écran de l'appareil.

SI L'ÉCRAN AFFICHE ...... QUE FAIRE?
Symbole manque d'eauQuand il n'y a plus d'eau dans le réservoir, le symbole manque d'eau s'affiche et l'appareil passée automatiquement au fonctionnement air-air. Au même moment la quantité d'air émise par le tuyau arrêté augmente. Une fois le réservoir rempli le symbole manque d'eau disparaît.
Change filter (changement de filtré)Ce message signale la nécessité de replacer le filtré à eau comme décrit au paragraphe "Remplacement du filtré anti-calcaire".
Low Temperature (hors-gel)L'appareil est pourvu d'un dispositif de dégivrage pour éviter que ne se forme trop de glace. L'appareil recommence automatiquement à fonctionner lorsque le processus de dégivrage est terminé.
SurchauffeL'appareil est muni d'un dispositif de sécurité pour éviter la surchauffe du compresseur. Vérifier que la grille d'aspiration/soufflage et le tube d'évacuation de l'air ne soient pas bouchés. L'appareil fonctionne en mode ventilation jusqu'à ce que la tempête attagne les valeurs normales, après qui il recommence à fonctionner normalément. Si l'alarme s'affiche souvent, s'adresser au SAV agréé le plus proche. Vider le bac de sécurité comme indiqué au paragraphe «Opérations en fin de saison». Si l'alarme s'affiche de nouveau s'adresser au SAV agréé le plus proche.
High Level (Bac interne plein)Vider le bac interne de sécurité suivant les indications du paragraphe "Opérations de fin de saison". Si l'anomalie se représentée, veuillez vous adresser au centre SAV agréé le plus proche.
Probe Failure (sonde endommagée)Si ce message apparait, contacter le centre SAV agréé le plus proche.
Alarme 1Lorsque l'alarme F1 s'affiche, l'appareil continue de fonctionner normalément dans le mode air-air. Pour annuler l'alarme, débranchez l'appareil, puis rebranchez-le. Si l'alarme s'affiche de nouveau s'adresser au SAV agréé le plus proche.
Alarme 2 (panne du module inverter)Si ce message s'affiche et que l'appareil s'arrête attendre au moins 15 minutes. Si l'alarme persiste et l'appareil ne fonctionne pas débrancher et rebrancher la fiche de l'appareil. Si l'alarme s'affiche de nouveau s'adresser au SAV agréé le plus proche.
Alarme 3 (erreur de communication)Si ce message s'affiche et que l'appareil s'arrête attendre au moins 15 minutes. Si l'alarme persiste et l'appareil ne fonctionne pas débrancher et rebrancher la fiche de l'appareil. Si l'alarme s'affiche de nouveau s'adresser au SAV agréé le plus proche.

CONSEILS POUR UNE UTILISATION CORRECTE

Voici quelques conseils pratiques pour obtenirun rendement optimal de votre climateur :

fermer toutes les portes et les fenêtres de la pièce à climatiser (fig. 34). Dans le cas d'une installation semi-permanente, nous conseillons de laisser une porte entrebaillée (1cm suffit) afin de garantir un bon renouvellement d'air dans la pièce ;

DELONGHI PAC WE17INV - CONSEILS POUR UNE UTILISATION CORRECTE - 1
fermer les portes et les fenêtres

Pour garantir un fonctionnement extréme-ment économique, n'exposez pas la pièce aux rayons directs du soleil : fermez les rideaux et/ou baissez partiellement les stores (fig. 35) ;

DELONGHI PAC WE17INV - CONSEILS POUR UNE UTILISATION CORRECTE - 2
fermer les rideaux

ne pas poser d'objets sur le climatiseur;
ne pas obstruer l'aspiration ni la sortie de l'air (fig. 36) laisseur les deux grilles dégagées ;
- veuillez vous assurer qu'il n'y a pas de sources de chaleur dans la pierce;
ne pas utiliser l'appareil dans des endroits très humides (buanderie) ;
ne pas utiliser l'appareil à l'extérieur;

DELONGHI PAC WE17INV - CONSEILS POUR UNE UTILISATION CORRECTE - 3

  • Vérifier que le climatiseur est posé sur une surface parfaitement plate. Placer éventuellement les cale-roulettes sous les roulettes avant.

FILTRES DE PURIFICATION DE L'AIR

Cet apparéil est muni de deux filtres anti-poussière permettant de préserver l'efficacité de machine.

Le premier est placé à l'arrière sur la grille d'aspiration, le deuxième est situé sur la grille sur le côte (fig. 37-38).

DELONGHI PAC WE17INV - FILTRES DE PURIFICATION DE L'AIR - 1

DELONGHI PAC WE17INV - FILTRES DE PURIFICATION DE L'AIR - 2

N.B: Certains modèles sont munis d'un filtré anti-poussière à ions d'argent ainsi que d'un filtré electrostatique placés dans la grille arrêté.

Filtre à ions d'argent

Ce filtré anti-poussière est traité avec des ions d'argent qui, en plus de retenir les particules de poussière, exerce une action antibactérienne efficace. Il réduit aussi fortement d'autres agents irritants comme les pollens et les spores.

Filtre electrostatique

Le filtré electrostatique retient les particules de poussière les plus petites en renforçant ainsi la capacité de filtration de l'appareil.

Application des filtres sur la grille

L'appareil peut être utilisé avec les seuls filtres anti-poussière déjà insérés dans les grilles. Pour utiliser le filtré antistatique (si fourni avec le modele que vous possédez), il faut l'extraire de l'emballage et l'accrocher au filtré anti-poussière en l'enfilant sous les crochets prévus (fig. 39). Si vous decide de ne pas l'utiliser, nous vous conseillons de conserver le filtré sans ouvrir l'emballage.

DELONGHI PAC WE17INV - Application des filtres sur la grille - 1

NETTOYAGE

Avant toute opération de nettoyage ou d'entretien, arrêtér l'appareil en appuyant sur la touche (1) sur le tableau de commande ou sur la télécommande, attendre quelques secondes et débrancher l'appareil.

Nettoyage de la carrosserie

Nettoyer l'appareil avec un chiffon légèrement humide et l'essuyer avec un chiffon sec.

  • Ne jamais laver le climatiseur avec de l'eau car cela pourrait être dangereux.
  • Ne jamais utiliser d'essence, d'alcool ni de solvants pour le nettoyage. Ne pas vaporiser de liquide insecticide ou similaire.

Nettoyage des filtres à air

Pour maintir l'efficacité de votre climatiseur nous vous conseillons de nettoyer le filtré à ions d'argent (uniquement dans certains modèles) et/ou filtres anti-poussière chaque semaine de fonctionnement.

Tous les filtres se trouvent en correspondance de la grille d'aspiration et cette dernière est à son tour le siège du filtré.

Pour le nettoyage du filtré, il sera donc nécessaire de :

  • Retirer les grilles d'aspiration en les tirant vers l'extérieur (fig.37).
  • Retirer les filtres en les déclipsant des grilles (fig. 38).
  • Retirer la poussière qui s'est déposée sur le filtré à l'aide d'un aspirateur à puissance moyenne. S'ils sont très sales les laver à l'eau tiède et les rincer plusieurs fois.
  • Àprous avoir lavé les filtres les laisser sécher complètement.
  • Pour remettre les filtres en place les replacer dans les grilles d'aspiration, puis remettre celles-ci sur la machine.

Nettoyage du filtré electrostatique

Le filtré electrostatique n'est pas lavable mais nous conseillons de le remplacer au moins toutes les 2 saisons.

Voupez acheter le filtre electrostatique dans les magasins qui vendent les accessoires DeLonghi ou dans les centres SAV agreeés.

OPÉRATIONS DE DÉBUT DE SAISON

Vérifier que le cable d'alimentation et la prise sont en bon état et veuillez vous assurer que l'installation de mise à la terre fonctionne bien. Il faut respecter scrupuleusement les normes d'installation.

OPÉRATIONS DE FIN DE SAISON

Avant de ranger l'appareil ou si I'on doit le transporter dans un autre endroit, il faut nécessairement vider I'eau se trouvant encore dans les réservoirs.

Vidage du réservoir

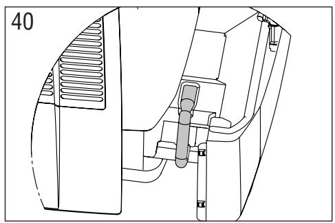
Extraire le réservoir comme indiqué au chapitre "COMMENT REMPLIR LE RÉSERVOIR", décrocher le tuyau de drainage se trouvant sur le côte gauche du réservoir (fig. 40-41), placer l'extrêtité pres d'un recipient,steroler le bouchon et faire couler complètement l'eau résiduelle.

IMPORTANT: Le réserve peut contenir au maximum 10 litres d'eau.

DELONGHI PAC WE17INV - Vidage du réservoir - 1

DELONGHI PAC WE17INV - Vidage du réservoir - 2

Vidage du bac interne

Pour facilititer cette opération, il est conseilé au début de la saison de remplaner le bouchon du bac verseur (G) par le tuyau de drainage + bouchon (U).

Placer un récipient pres du bac verseur situé au dos de la machine (fig. 42) (ex. Carafe ou bouteille) retirer le bouchon et faire couler l'eau résiduelle. Lorsque le vidage est terminé, réintroduire le bouchon dans son siège.

ATTENTION la quantité d'eau pourrait même atteindre 21.

DELONGHI PAC WE17INV - Vidage du bac interne - 1

  • Àprous avoir effectué les 2 opérations précédentes, faire fonctionner l'appareil uniquement en fonction ventilation pendant environ une demi-heure. Les parties internes peuvent, de ce fait, bien secher.
  • Éteindre l'appareil et débrancher la fiche.
  • Retirer le tuyau d'évacuation de l'air et celui de l'eau de condensation.
  • Proceder au nettoyage des filtres anti-poussiere.
    Ranger l'appareil bien couvert pour éviter la pénetration de la poussière.

CHARACTERISTIQUES TECHNIQUES

Tension Voir plaquette signaletique d'alimentation

Puisance max. absorbée en climatisation

Réfrigérant

Puisance frigorifique

Conditions de fonctionnement conseillées

Température dans la pièce en climatisation 21÷ 35^

GARANTIE

Les conditions de garantie et d'assistance technique sont indiquées dans la documentation qui accompagne votre apparéil.

PROBLÉMESCAUSESSOLUTION
Le climatiseur ne marche pasabsence de courant la fiche n'est pas branchée le dispositif de protection interne s'est déclenchéattendre brancher la fiche appeler votre centre SAV
Le climatiseur ne marche que peu de tempsLe tuyau d'évacuation de l'air forme un étranglement ou présente des plisUne obstruction empêche l'évacuation de l'air à l'extérieurpositionner correctement le tuyau d'évacuation de l'air en limitant le plus possible la longueur et les coudes et évitez les étranglements identifier et supprimer les obstacles qui empêchent 'évacuation de l'air à l'extérieur
Le climatiseur fonctionné mais il ne rafraîchit pas la pièceportes, fenêtres, ridesaux ouverts une source de chaleur est en marche dans la pièce (four, sèche-cheveux, etc.) le tuyau d'évacuation de l'air s'est déboitielfiltres anti-poussière encrassésles caractéristiques techniques de l'appareil ne sont pas adaptées pour climatiser la pièce où il est installéfermer les portes, les fenêtres et les rideaux et suivre les "CONSEILS POUR UNE UTILISATION CORRECTE" indiqués précédément eliminer les sources de chaleur fixer le tuyau d'évacuation de l'air dans le logement prévu dans la partie arrêté de l'appareil (fig. 1)rial procéder au nettoyage des filtres comme précédément décrit
Pendant le fonctionnement, l'appareil générale une odeur désagréable dans la piècele filtre anti-poussière et (dans les modèles qui le prévoient) le filtre électrostatique sont encrassésprodécer au nettoyage ou aurreplacement des filtres comme précédément décrit
Le climatiseur ne fonctionné pas pendant 3 minutes environ après la remise en marchepour protéger le compresseur, un dispositif interne retardre la mise en marche pendant 3 minutes environ après la remise en marcheattendre ; ce laps de temps après la remise en marche fait partie du fonctionnement normal
Sur l'afficheur de l'appareil est affché le symbole avec l'une de ces indications :CF/HL/F1/F2/F3/PFl'appareil est pourvu d'un système d'autodiagnostic qui identifie certaines anomalies du fonctionnementse référer au chapitre AUTODIAGNOSTIC
Sommaire Cliquez un titre pour y accéder
Assistant notice
Powered by ChatGPT
En attente de votre message
Informations produit

Marque : DELONGHI

Modèle : PAC WE17INV

Catégorie : Climatiseur