CLAS90 ECCY/B-EUC - Table de cuisson FALCON - Notice d'utilisation et mode d'emploi gratuit
Retrouvez gratuitement la notice de l'appareil CLAS90 ECCY/B-EUC FALCON au format PDF.
| Type de produit | Cuisinière à gaz |
|---|---|
| Caractéristiques techniques principales | Four à convection, 90 cm de large, 5 foyers à gaz, finition en acier inoxydable |
| Alimentation électrique | 220-240 V |
| Dimensions approximatives | Largeur : 90 cm, Hauteur : 90 cm, Profondeur : 60 cm |
| Poids | Environ 100 kg |
| Compatibilités | Compatible avec les accessoires de cuisson standard |
| Type de batterie | Non applicable |
| Tension | 220-240 V |
| Puissance | Puissance totale des foyers : 12 kW |
| Fonctions principales | Cuisson, rôtissage, grillade, four à convection |
| Entretien et nettoyage | Nettoyage à l'eau savonneuse, grilles amovibles pour un nettoyage facile |
| Pièces détachées et réparabilité | Disponibilité des pièces détachées auprès du fabricant |
| Sécurité | Système de sécurité pour les foyers, arrêt automatique du four |
| Informations générales utiles | Garantie de 2 ans, installation recommandée par un professionnel |
FOIRE AUX QUESTIONS - CLAS90 ECCY/B-EUC FALCON
Questions des utilisateurs sur CLAS90 ECCY/B-EUC FALCON
0 question sur cet appareil. Repondez a celles que vous connaissez ou posez la votre.
Poser une nouvelle question sur cet appareil
Téléchargez la notice de votre Table de cuisson au format PDF gratuitement ! Retrouvez votre notice CLAS90 ECCY/B-EUC - FALCON et reprennez votre appareil électronique en main. Sur cette page sont publiés tous les documents nécessaires à l'utilisation de votre appareil CLAS90 ECCY/B-EUC de la marque FALCON.
MODE D'EMPLOI CLAS90 ECCY/B-EUC FALCON
Sécurité avant tout 4
La table de cuisson 4
Grill 6
6
Horloge 6
Cuisson avec minuterie 8
Grilles de four 8
Handyrack 9
Grilles du four haut 9
Eclairage de four 9
Nettoyage de la cuisine 9
Déplacement de la cuisine 11
Dépannage 11
Consignes generales de sécurité 12
Entretien et pieces de rechange 14
Installation 15
Notice d'entretien 18
Fiche technique 22
Scheme de câblage 43
Sécurité avant tout
Ne posez aucun objet lourd sur la cusinière. Meme si la surface en céramique est très résistante, un impact violent ou un objet contendant tombant accidentellement dessus risque de la fissurer. Dans qu'une fissure est visible sur la surface, mettez immédiatement la cusinière hors tension et faites-la réparer. Veillez à prévenir toute infiltration d'eau dans la cusinière.
La cuisine est chaude pendant et après l'utilisation. Il importe donc de faire preuve de vigilance en présence d'enfants en bas âge. Si les plus jeunes enfants de votre famille viennent dans la cuisine, il est fortement recommandé de ne les laisser sans surveillance à aucun moment.
Si vous n'vez jamais utilisé de cusinière électrique, nous vous conseillons de dire les pages 67-69. Nous y donnons des conseils de base en vue d'une'utilisation sure d'une cusinière.
Alimentation électrique en marche
Vérifiez que l'alimentation électrique est en marche.
Odeur de neuf
Une légère odeur de neuf peut se dégager lors de la première utilisation de la cusinière. Elle disparaitra rapidement à l'utilisation.
Illustrations
Les générées instructions couvrent une gamme de modèles différents. Les boutons de commande et les schémas du panneau de commande différent pour chaque catégorie. Certaines illustrations peuventporter quelques variations par rapport à votre cuisine. Nous espérons toute fois que les fonctions sont représentées clairément.
La table de cuisson
Lorsque vous cuisinez sur une table de cuisson en céramique, il est très important d'utiliser des casse-roles adaptées...

Veillez à utiliser uniquement des cassetoles conçues pour les tables de cuisson en céramique.
Il est conseilé d'utiliser des cassetoles en acier inoxydable et en émail car les cassetoles à fond en cuivre ou en aluminium laissant des marques difficiles à faire disparaître sur la table de cuisson.
Les plats de cuisson en vitrocéramique ne convennent pas du fait de leur faible conducivité.
Utilisez des casseroles à fond épais, lisse et plat. Ceci permet un transfert de chaleur maximal de la table de cuisson à la casserole, d'ou une cuisson plus rapide et plus économique.
N'utilise jamais de Wok à fond rond, même avec un support.
Les casseroles les mistroux adaptées sont celles qui sont très légèrement arrondies lorsqu'elles sont froides. En plaçant une règle sur le fond de ces casseroles, on peut constater que sa surface est légèrement incurvée vers le milieu. Sous l'effet de la chaleur, le métal se dilate et le fond entier du recipient de cuisson touche la surface de cuisson.
Veillez à ce que le fond du récipient de cuisson soit propre et sec pour éviter que des résidus d'aliments ne brûlent et n'attachent sur le panneau de la table de cuisson. Ceci permet également d'éviter les éraflures et les dépôts (tels que les particules de calcaire).
Veillez à toutjour utilisér des réciplents de la même taille (ou légèrement plus grands) que le diamètre indiqué sur la surface de cuisson. L'utilisation de réciplents plus petits entraîne une perte de chaleur et en cas de débordement, le contenu du récipient attachera à la surface de cuisson. Utilisez un couvercle sur les réciplents de cuisson pour porter à ébullition plus rapidement.

POSITION CORRECTE POSITION INCORRECTE
Veillez à toujours soulever les récipiens pour les ré-tirer de la surface de cuisson car le faire glisser risque d'entrainer des marques et des éraflures. Mettez toujours le bouton de commande sur la position arrêt [Off] avant de retarder un récipient de la surface de cuisson.

Unvoyant correspondàchaque zone de la table de cui sson.Cevoyant s'allume lorsqu'une commande est mise en marché et il reste allumé tant que la surface n'est pas refroidie.Prenez toujours garde lorsque vous touchez la cusinière car même eteinte,elle peut'être encore très chaude.

1.1kW 1.56kW
Les capacités des surfaces de cuisson sont indiquées dans le schéma ci-dessus.
Généralités
Meme si la surface en céramique est très résistante, un impact violent ou un object contendant (une salière, par exemple) tombant accidentellement dessus risque de la fissurer. Si la surface du chauffe-plates est fissurée, mettez immédiatement la cusinière hors tension et faites-la réparer.
Veillez à prévenir toute infiltration d'eau dans la cuisine.

1.1kW 1.56kW
Les parties où figurent deux cercles concentriques comptotent un élément interne et un élément externe. Tournez le bouton de commande dans le sens horaire pour chauffer toute la surface lorsque vous utilisez de grands récipients de cuisson. Pour les petits récipients, tournez dans l'autre sens afin de chauffer la partie interieure.

Ne cuisez jamais d'aliment directement sur la surface de cuisson.
Le type de récipient de cuisson utilisé et la quantité d'aliments ont une incidence sur le réglage requis. Pour les quantités d'aliments importantes, utilisez un réglage plus élevé.
Nettoyez la surface après chaque utilisation pour éviter les rayures et la formation de taches.
Lorsque vous cuisinez sur la table de cuisson, il se peut que la surface de la table utilisée s'allume et s'éteigne. Ceci est dû à un dispositif de sécurité servant à limiter la température de la table de cuisson. Ce phénomène est tout à fait normal, surtout en présence de températures elevées. Toutefois, si cela se produit fréquement avec un réseau de cuisson particulier, cela peut venir du fait que celui-ci ne convient pas à une table de cuisson en céramique car il est trop petit ou est doté d'un fond trop irrégulier.
La table de cuisson est susceptible d'être endommagée de façon permanente si du sucre est renversé sur la surface. Veillez donc à tout de suite nettoyer soigneusement l'endroit souillé. N'attendez jamais que le sucre renversé ne s'est che avant d'essayer de le retirer.
Si du sucre ou des alimentés à force teneur en sucre, des objets en aluminium ou en plastique ont fondu accidentellement sur la surface de la table de cuisson, retirees immediatement de la partie chaude de la table à l'aide d'un racleur afin d'eviter d'abimer la surface. Reportez-vous à la section « Nettoyage de la cusinière »
Ne coupez jamais d'aliments directement sur la surface de cuisson.
Ne cuisez jamais d'aliments directement sur la surface de cuisson sans lesmettre au préalable dans un recipi- ent ou un ustensile de cuisson.
N'utilisez jamais la cuisineire comme plan de travail.
Ne faites jamais glisser d'ustensiles sur la surface de cuisson.
Ne placez jamais rien entre le fond du récipient de cuisson et la table de cuisson (par exemple une plaque d'amiate, une feuille de papier aluminium ou un support de Wok).
Ne laisseriez jamais d'ustensiles, d'aliments ou de produits combustibles sur la table de cuisson lorsqu'elle n'est pas en marche (par exemple un torchon ou une poèle à frire contenant de l'huile).
Ne placez jamais de plastique, de feuille de papier aluminium ou de recipients en plastique sur la table de cuisson.
Ne laissez jamais aucune partie de la table de cuisson allumée si vous ne l'utilise pas pour cuire des alimentés.
Ne placez jamais de grande bassine à confiture ou de poissonnière sur deux surfaces chauffantes.
Ne placez jamais d'ustensiles recouvrant seulement en partie une surface chauffante. Veillez à toujours placer les ustensiles bien au centre d'une surface de la cuisine.
N'autorisez jamais quiconque à grimper ou se tenir debout sur la table de cuisson.
François
Grill
Attention : Des parties accessibles risquent d'être chaudes pendant le fonctionnement du grill. Eloignez les enfants de la cuisineire.
Après avoir placé les alimentés sur la grille de la lèchefte du grill, insérez la lèchefte dans les supports latéraux. Veillez à ce que la lèchefte soit insérée à fond, jusqu'à la butée arrête.

Le grin a deux éléments chauffants, qui permettent de chauffer la totalité de la l'échefrite ou seulement la partie droite de cette-ci.
Tournez le bouton pour lemettre sur la position 3.
Pour obtenir les meilleurs résultats possibles, préchauffez pendant 2 minutes avec la l'échefrite en place. ÀpRES avoir placé les alimentés sur la grille de la l'échefrite, insérez la l'échefrite dans les supports lateraux. Tournez le bouton pour régler le grin.
Ne fermez jamais la porte du grill lorsque celui-ci est en marche.
La grille de la lèchefrite est réversible pour permettre deux positions de gril.
Ne laissiez jamais le grill en marche pendant plus de quelques instantsi la l'echefrite n'est pas en place sous le grill.
Fours
L'appareil devient chaud lorsqu'il est en marche. Veillez à éviter de toucher les éléments chauffants qui se trouvent à l'intérieur du four.
Un ventilateur de refroidissement se met en marche des l'allumage du four. Le ventilateur continue de fonctionner pendant que le four (gril) est allumé et pendant environ 10 minutes après qu'il a été étent. Le ventilateur peut s'allumer et s'eteindre lorsque le four est régèle sur basses températures. Ne jamais mettre la cusinière hors tension avant l'arrêt du ventilateur.
Les deux jours sont des jours ventilés. Le ventilateur brasse l'air chaud continulement, assurant ainsi un transfert de chaleur plus rapide pour la cuisson des alimentés.
Avant la première utilisation du four, faites fonctionner le four à 200^ pendant 30 minutes afin d'éliminer l'odeur de neuf.
Mettez le bouton de commande du four sur la température requise. Levoyant du four s'allumera jusqu'à ce que le four atteigne la température requise. Il s'allumera et s'eteindra pendant la cuisson. Pendant la cuisson d'aliments à haute teneur en eau (frites surgelées, par exemple) un peu de vapeur peut être visible à la grille à l'arrête du chauffe-plats. Ceci est tout à fait normal.
Les deux jours peuvent être régés sur la position « ventilateur seulement » (*). Le ventilateur brasse l'air à l'intérieur du four, mais l'élement chauffant n'est pas en
marche. Ce réglage est utile pour décongeler des produits congelés.
Les poulets entiers ou les roits doivent être décongelés au réfrigérateur. Ne décongelez pas les alimentés dans un four tiège ou à côté d'un four chaud.
Veillez à ce que les grilles interieures soient toujours insérées à fond dans le four.
Placez les plaques de cuisson, moules à viandes, etc., à niveau, au centre des grilles du four. Eloignez les plaques et les plats de cuisson des bords du four, afin de permettre la circulation de l'air chaud.
Pour dorer un plat uniformément, il est recommancé d'utiliser une plaque de cuisson de dimensions maximales de 325 mm x 305 mm pour le four principal et de 230 mm x 320 mm pour le four haut.
La cuisson d'aliments à haute teneur en eau peut produit une « bouffée de vapeur » à l'ouverture de la portedu four. Lorsque vous ouvrez la porte du four, reculez-vous et attendez que la vapeur se soit dissipée.
Lorsque le four est en marche, ne laissez pas la portedu four ouverte plus longtemps que nécessaire, afin deprévenir une surchauffe des boutons de commande.
Laissez toujours un «doigt de largeur» entre des plats placés sur une grille de four. Ceci afin de facilititer la circulation de chaleur autour des plats.
Les panneaux internes Cook & Clean (autonettoyants) dans le four principal (voir la section «Nettoyage de la cuisine») sont plus efficaces lorsqu'on évite les projections grasses. Couvre la viande pendant la cuisson.
Pour diminuer les projections grasses lorsque vous ajoutez des légumes dans laGRAISSSEchaude autour d'un roti, séchez soigneusement les légumes ou enduisez-les d'une légère couche d'huile à friture.
Horloge
Vous pouvez utiliser la minuterie pourmettre en marche et eteindre les jours. L'horloge doit etre réglee sur l'heure actuelle pour que les jours puissant fonctionner.
Réglage de l'heure

Appuyez sans relâcher, comme indiqué. En même temps, appuyez sur (-) ou (+) jusqu'à l'affichage de l'heure correcte. N'oubliez pas que c'est une horloge 24 heures. Si vous faites une erreur ou si vous vous trompez de bouton, mettez l'appareil hors tension pendant une ou deux minutes, puis recommencez la procédure.
Réglage de la minuterie pour la cuisson (minuterie)
0:00

Appuyez sur (_*) sans relâcher. En même temps, appuyez sur (-) ou (+) jusqu'à l'affichage de l'heure de cuisson requise.
0.20

Vous pouvez vérifier le temps de cuisson qui reste en appuyant sur (_) et annuler le signal sonore en appuyant sur (_) .
Mise en marche et arrêt automatiques du four
Avant de régler la minuterie, vous devez avoir deux chiffres à l'esprit.
Le «temps de cuisson», c'est-à-dire la durée pendant laquelle vous poulez que le four fonctionne.
« L'heure d'arrêt », c'est-à-dire l'heure à laquelle vous poulez que le four s'arrête.
Vous ne pouvez pas régler directement une heures de mise en marche - celle-ci est réglée automatiquement lorsque vous réglez le temps de cuisson et l'heure d'arrêt.
Appuyez sans relâcher, comme indiqué ci-dessous.
0:20

En même temps, appuyez sur (-) ou (+) jusqu'à l'affichage du «temps de cuisson».
Appuyez ensuite sans relâcher, comme indiqué ci-dessous.
14:20

En même temps, appuyez sur (-) ou (+) jusqu'à l'affichage de « l'heure d'arrêt »
AUTO sera affché.
Réglez le four sur la température requise. Le signal sonore indiquera la fin de la cuisson. METTEZ D'ABORD LE BOUTON DE COMMANDE DU FOUR SUR LA POSITION ARRET (OFF), puis appuyez une fois sur (凹) pour arrêté le signal sonore, appuyez de nouveau sur (凹) pour revenir au fonctionnement manuel.
Si vous étés absentpendant la cuisson, ne vous inquiétez pas au sujet de l'arrêt du signal sonore, celui-ci s'arrêtea après un certain temps. A votre retour, MET-TEZ D'ABORD LE BOUTON DE COMMANDE DU FOUR SUR 0, puis appuyez deux fois sur ( ) pour revenir au fonctionnement manuel.
AUTO est affiché, et vous voulez remettre le four sur fonctionnement manuel.
Lorsqu'on annule un réglage automatique, tout temps de cuisson déjà réglé doit être remis sur 0.00 avant que l'on puisse revenir au fonctionnement manuel en appuyant sur le bouton ().
Fonctions spéciales de l'horloge
Fonction de verrouillage
Lorsque la fonction de verrouillage est activée, l'horloge fonctionne comme de coutume mais le four est verrouillé et ne peut s'allumer. De cette façon, s'il arrivait à votre enfant de selectionner un programme de cuisson, la mise en route du programme ne serait pas activée et le four ne s'allumerait pas.
Mise en marche de la fonction de verrouillage
Vérifiez que l'horloge est sur le mode manuel et annulez tout programme en cours.



Appuyez sans relâcher sur les boutons Minuterie ( Ⓞ) et Temps de cuisson ( Ⓞ) pendant 8 secondes environ. « On » ([Marche]) sera affché.



Appuyez une fois sur le bouton « + ». Le symbole de clé (l) et « Of » ([Arrêt]) s'affichent. Relâchez les boutons.
François

O O O O O O
A prisent, les fonctions de commande du four sont verrouillées. Àpres quelques secondes, l'affichage indique de nouveau l'heure et le symbole de la clé.
Arrêt de la fonction de verrouillage


Appuyez sans relâcher sur les boutons Minuterie (®) et Temps de cuisson (®) pendant 8 secondes environ. « Of » ([Arrêt]) sera affchéé.

O O O O O
Appuyez une fois sur le bouton « + ». Le symbole de clé (!) disparait et « On » ([Marche]) s'affiche. Relâchéz les boutons.
Après quelques secondes, l'affichage indique de nouveau l'heure.
Aopsis, les fonctions de commande du four et de l'horloge peuvent etre utilisées normalement.
Cuisson avec minuterie
La minuterie peut être utilisée pour la mise en marche et l'arrêt automatiques d'un ou des deux jours. L'heure de mise en marche et d'arrêt doit être la même pour les deux jours, mais les températures de cuisson peuvent être différentes.
Si vous foulezmettre en marche l'un des jours à la même heures que cette réglee pour la minuterie pour la cuisson automatique, vous nevez attendre que la minuterie ait mis en marche le(s) four(s).Vous pouvez ensuite effectuer leur réglage manuellement de façon normale.
Vous pouvez régler le four pour qu'il se mette en marche à n'importe quel moment des 24 heures qui suivent.
Si vous désirez cuire plusieurs plats simultanément, choisissez des plats nécessitant approximativement le même temps de cuisson. Cependant, la cuisson de certains plats peut être légèrement « ralentie » en utilisant des petits plats de cuisson et en les recouvrant d'une feuille de papier aluminium, ou « accéléée » en utilisant de plus petites quantités ou des plats de cuisson plus grands.
Evitez d'utiliser des aliments rapidement périssables (poisson, porc, etc.) si vous prévoyez une longue période d'attente, surtout par temps chaud.
Ne placez pas d'aliments chauds dans le four.
N'utilisez pas un four deja chaud.
N'utilisez pas ce mode de cuisson si le four adjacent est chaud.
Evitez d'utiliser du vin ou de la bière si vous prévoyez une période d'attente, ceci afin de prévenir le risque de fermentation.
Pour empêcher la crème de tourner, ajoutez-la aux plats juste avant de servir.
Enduisez les légumes frais de matière grasse fondue ou faites-les tremper dans une solution d'eau et de jus de citron, pour prévenir leur décoloration pendant la période d'attente.
Les tartes aux fruits, tartes à la crème ou autres mélanges humides sur fonds de tartes non cuits ne donneront de bons résultats que si la période d'attente avant la cuisson est courte. Les plats contenant des restes de viande ou de volaille cuite ne doivent pas être cuits automatiquement si la période d'attente est longue.
Décongelez complètement les volailles entières avant de lesmettreau four.
Vérifiez que la viande et la volaille sont complètement cuites avant de les servir.
Grilles de four
Les grilles de four peuvent être facilement retirees et remises en place.
Tirez la grille vers l'avant jusqu'à ce que l'arrière de la grille soit arrêté par les butées d'arrêt laterales du four.
Soulevez la partie avant de la grille pour faire passer l'arrière de la grille sous la butée d'arrêt, puis tirez la grille vers l'avant.



Pour remettre la grille en place, mettez la grille à niveau avec une glissière latérale du four, puis insérez la grille à fond jusqu'à ce que les extrémités soient en contact avec la butée d'arrêt de la grille. Soulevez l'avant de la grille pour que les extrémités poussent dépasser les butées, puis abaissez l'avant pourmettre la grille à l'horizontal, avant de l'insérer à fond.
Handyrack

Le Handyrack se monte uniquement sur la porte du four gauche. Le poids maximum supportable par le Handyrack est de 5,5 kg. Il ne doit être utilisé qu'avoc le plat à viande fourni, qui est spécialement conçu pour être utilisé avec le Handyrack. Tout autre recipient de cuisson risque d'être instable.
Lorsque le Handyrack est utilisé sur sa position supérieure maximum, d'autres plats peuvent être cuits sur une grille placée à la position inférieure du four.
Lorsque le Handyrack est utilisé sur sa position inférieure maximum, d'autres plats peuvent être cuits sur une grille placée à la deuxième position du four.
Pour monter le Handyrack,
placez un côté sur le support de la porte.


Faites sortir l'autre côté pour l'accrocher sur l'autre support.
Grilles du four haut
Le four haut est fourni avec quatre grilles de cuisson ordinaires

et une grille chauffe-plats.

Lorsque vous utilisez le four haut, vous pouvez faire cuire des alimentes sur les quatre grilles simultanement, mais voirlez à ce que les plats soient bien écartsés les uns des autres pour permettre à l'air chaud de circuler.
Eclairage de four
Appuyez sur le bouton approprié pour allumer l'éclairage du four principal.
Si l'éclairage est défectueux, mettez la cusinière hors tension avant de changer l'ampoule. Pour des informations détaillées sur la façon de changer une ampoule d'éclairage de four, reportez-vous à la section « Dépannage »
Nettoyage de la cuisineire
Avant un nettoyage complet, mettez la cuisineire hors tension. N'oubliez pas de remettre sous tension lorsque le nettoyage est terminé.
N'utilisez jamais de solvants pour peinture, de cristaux de soude, de nettoyants caustiques, de poudres biologiques, d'eau de Javel, de nettoyants chlorés, de produits abrasifs à gros grain ou de sel. Ne mélangez pas plusieurs produits nettoyants, car ils risquent de réagir entre eux et d'avoir des effets nocifs.
Si vous désirez déplacer votre cuisinière pour la nettoyer, veuillez lore la section « Déplacement de la cuisinière »
Toutes les parties de la cusinière peuvent être lavées à l'eau savonnese chaude, mais voirlez à prévenir toute infiltration d'eau dans l'appareil.
Table de cuisson
Le nettoyage de la table de cuisson s'effectue très facilement avec un produit recommandé.
ATTENTION : N'utilisez pas de produits nettoyants ou tampons de nettoyage abrasifs, ni d'aerosol, de tampon de nettoyage de four ou de détachant sur la table de cuisson.
Entretien quotidien
Tout d'abord, assurez-vous que tous les voyants de chaleur sont eteints et que la surface de cuisson est froide. Appliquez une petite quantite de nettoyant semi-liquide pour surface vitroceramide (d'un diametre d'environ 2 cm) au centre de chaque endroit à nettoyer. A l'aide d'une serviette en papier propre et humide, répartissez le produit nettoyant liquide sur la surface de cuisson, comme s'il s'agissait de nettoyer une fenetre. Derniere étape, essuyez la surface à l'aide d'une serviette en papier propre et seche.
Nettoyage des débordements
Si un aliment se repand ou déborde pendant la cuisson, éteignez la cusinière et essuyez autour de l'endet chaud à l'aide d'une serviette en papier propre. Si les aliments renversés (autres qu'une substance sucrée) se trouvent dans un endroit chaud de la table de cuisson, attendez que celle-ci ait entièrement refroidi pour nettoyer et suivez les instructions ci-dessous (« Neteoyage de substances brûlées »). Si un objet posé par inadvertance sur la table de cuisson fond ou si des aliments à force teneur en sucre sont renversés sur la cusinière (confiture, sauce tomate, etc.), RETIREZ IMMEDIATEMENT les aliments renversés à l'aide d'un racleur pendant que la table est encore chaude. IMPOR-TANT: Utilisez un gant isolant pour éviter toute brûlure
François
éventuelle aux mains. Grattez la plus grande partie des alimentés renversés ou de toute matière qui aurait fondu afin de l'enlever de la surface de cuisson, puis écartez-la vers un endroit froid de la cusinière. Ensuite, mettez la cusinière sur la position Arrêt [OFF] et laissez-la refroidir avant de nettoyer à nouveau. Lorsque la surface de cuisson est refroidie et que les voyants de chaleur sont éteints, suivez la procédure de nettoyage quotidien spécifiée plus haut.
Nettoyage de substances brûlées
Vérifiez que les voyants de chaleur sont éteints et que la cuisineira refroidi. Retirez toute matière brûlée à l'aide d'un racleur. Tenez le racleur selon un angle d'environ 30^ au-dessus de la surface et raclez la matière brûlée comme si vous enleviez la peinture d'une fenêtre.

IMPORTANT : Procedez avec précaution si vous utilisez un racleur très coupant.
Lorsque la plus grande partie de la matière a eté retirée à l'aide du racleur, suivez la procédure de nettoyage quotidien spécifique plus haut.
Retrait de traces de métal
Lorsqu'ils sont glissés sur la table de cuisson, les recipients en aluminium ou en cuivre peuvent y laisser des marques. Meme si elles ressemblent souvent à des rayures, ces marques sont faciles à retarder au moyen de la procédure de nettoyage des substances renversées décrite plus haut. Dans le cas de marques tenaces, utilisez un produit nettoyant semi-liquide et un racleur, en procédant selon la méthode décrite plus haut.
Grill
Lavez la l'échefrite et la grille à l'eau savonneuse chaude. Àpres grillades de viandes ou d'aliments salissants, faites tremper pendant quelques minutes dans l'évier immédiatement après la cuisson. Les taches tenaces sur la grille peuvent être enlevées à l'aide d'une Brosse en nylon.
Panneau de commande et portes des fours
N'utilise pas de produits nettoyants abrasifs, y compris des produits nettoyants semi-liquides, sur les surfaces en acier inoxydable. Les meilleur résultats s'obtiennent avec des détergents liquides.
Le panneau et les boutons de commande doivent être nettoyés uniquement avec un chiffon doux imbibé d'eau savonneuse chaude. Veillez à prévenir toute infiltration d'eau dans l'appareil. Essuyez avec un chiffon humide propre, puis lustrez à l'aide d'un chiffon sec. Les portes des fours doivent être nettoyées uniquement avec un chiffon doux imbibé d'eau savonneuse chaude.
Cuisinières en acier inoxydable avec porte vitrée
Sur certains modèles, le panneau avant de la porte du four peut être retire pour permettre le nettoyage des panneaux en verre. Si le bord supérieur de la porte du four de votre cuisinière est doté d'une rangée de trous et que les bords latéraux comportent des vis, vous pouvez le démonter en vue de le nettoyer.
Avancez la cusinière afin de pouvoir acceder aux parties laterales (veuillez dire la section « Déplacement de la cusinière » des générées instructions).
Entrouvre la porte du four et retirez les vis de fixation du panneau avant des côtés de porte (deux de chaque côté).

sur certaines portes vitrées seulement
Soulevez le panneau de porte extérieur avec précaution.
A créé, vous pouvez nettoyer la face interieure des panneaux, ennant bien soin de ne pas déplacer ni mouiller les joints d'étanchéité de porte. A noter que la porte est dotée d'un triple vitrage, mais les deux pan-neaux interieurs étant fixes, voirlez à ne pas les séparer.
Après le nettoyage, reposez le panneau de porte extérieur avec précaution et remettez les vis de fixation en place.
Four principal
Le four principal est doté de panneaux amovibles à revêtement émailé qui sont partiellement autonettoyants.
Ceci n'empêche pas complètement la formation de taches sur le revêtement, mais réduit le nettoyage manuel nécessaire.
Le nettoyage automatique des panneaux est plus efficace à une température supérieure à 200^ . Si, en général, vous utilisez le four à des températures inférieures, retirez occasionnellement les panneaux et essuyez-les avec un chiffon non pelucheux imbibé d'eau savonneuse chaude. Séchez et replacez les panneaux dans le four chauffé à 200^ pendant environ une heures. Ceci assurera un bon fonctionnement des panneaux autonettoyants.
N'utilisez pas de paille de fer ou tout autre matériel susceptible de rayer la surface. N'utilisez pas de tampons de nettoyage pour fours.
Retrait des panneaux internes du four
Certains panneaux internes du four sont amovibles afin de permettre leur nettoyage et le nettoyage de la partie du four à l'arrière des panneaux. Retirez d'abord les grilles du four.
Sur certains modèles, le four principal comporte une voûte amovible. Faites glisser le revêtement de vous vers l'avant et retirez-le.

Chaque panneau l'边际 du four est maintenu en place par quatre vis de fixation. Les panneaux peuvent etre retirés sans avoir a enlever les vis. Soulevez chaque panneau l'边际 pour le decrocher des vis. Tirez-le ensuite vers I'avant.
Après retrait des panneaux internes, vous pouvez nettoyer l'intérieur émailé du four.
Lors de la remise en place des panneaux internes, replacez d'abord les panneaux lateraux.
Lors de la remise en place du panneau de VOITE, vérifie que la fente est à l'avant.
Four haut
Pour nettoyer les parois laterales du four, retirez les grilles, decrochez les supports des parois laterales et les-sortir.

Déplacement de la cusinière
Mettez la cuisine hors tension.
La cuisine est lourde, deux personnes seront peut'être nécessaires pour la déplacer. La cuisine est équipée de deux galets de mise à niveau à l'arrière et de deux supports de mise à niveau vissables, situés à l'avant.
Ouvrez la porte du grill et la porte du four droit afin d'avoir une bonne prise sur la partie inférieure du panneau de commande pour déplacer la cusinière. Levez légèrement l'avant de la cusinière et tirez vers l'avant.
N'utilise pas la barre ornementsale, les poignées de portes ou les boutons de commande pour déplacer la cuisinière.
Déplacez la cusinière progressivement, en vérifiant à l'arrière que le cable d'alimentation électrique n'est pas entravé. Vérifiez que le cable électrique est assez long pour permettre le déplacement de la cusinière vers l'avant.
Lors de la remise en place de la cusinière, vérifiez de nouveau que le cable électrique n'est entravé pas ou coince.

Dépannage
Une fissure est apparue sur la surface de la table de cuisson
Mettez immédiatement la cusinière hors tension et faites-la réparer. N'utilisez pas la cusinière tant qu'elle n'a pas été réparée. Pour savoir comment contacter un spécialiste de l'entretien, reportez-vous à la brochure « Conseils à la clientèle »
Ma table de cuisson est rayée
Avez-vous utilisé les méthodes de nettoyage correctes? Les recipients de cuisson à fond rugueux ou la présence de particules abrasives (sel ou sable) entre un recipient et la surface de la table de cuisson peuvent entraîner des rayures.
Utilisez les méthodes de nettoyage recommendées.
Vérifiez que le fond des recipients utilisés est lisse et propre. Il n'est pas toujours possible dePTRir les trèsPetites taches mais celles-ci s'estomperont a la longue après plusieurs nettoyages.
Traces de métal sur la table de cuisson
Ne faites pas glisser de récipient de cuisson en alumi-ium ou en cuivre sur la surface de cuisson. Les traces de récipient en alumiain et en cuivre, de même que les dépôts inorganiques issus de l'eau et des aliments, peuvent être retirees à l'aide d'un produit nettoyant semi-liquide.
De la vapeur s'échappe du four
Pendant la cuisson d'aliments à haute teneur en eau (frites surgelées, par exemple) un peu de vapeur peut être visible à la grille arrière. Faites attention en ouvrant la porte du four, une bouffée de vapeur peut s'échapper momentarilyément à l'ouverture du four. Reculez-vous et attendez que la vapeur se soit dissipée.
Le ventilateur du four est bruyant
Le bruit du ventilateur peut changer pendant le chauffage du four - ceci est tout a fait normal.
Les boutons de commande deviennent chauds lorsque j'utilise le four ou le grill; comment faire pour empêcher cela?
Ceci est dû à la chaleur provenant du four ou du grill.
Ne laissez pas la porte du four ouverte. Lorsque vous utilisez le grill, vérifie que la léchefrite du grill est bien insérée jusqu'à la 'butée arrière'.
En cas de problème concernant l'installation, si mon installateur d'origine ne peut pas venir résoudre le problème, à qui incombent les frais?
C'est à vous qu'incombent ces frais. Les sociétés d'entretien factureront leurs interventions si elles répartir une installation effectue par votre installateur d'origine. Il est de votre intérêt de contacter votre instal-lateur d'origine.
François
Disjoncteurs-detecteurs de fuites de terre commandés par injection de courant
Lorsque l'installation de la cusinière est protégée par un dispositif pour courant résiduel (DCR) d'une sensibilité de 30 milliampères, l'utilisation combinée de votre cusinière et d'autres appareils domestiques peut occasionnellement cause des disjonctionsfortuites. Dans ce cas, il est utile deprotégéleré circuit de la cusinière avec un dispositif de 100mA .Cette intervention doit être effectue par un electricien qualifié.
Les alimentés cièsent trop lentement, trop rapidement, ou brûlent
Les temps de cuisson peuvent être différents de ceux de votre ancien four. Les Températures du four et les temps de cuisson sont fournis à titre indicatif uniquement. En fonction des goûts individuels, les Températures devront peut-être être modifiées dans un sens ou dans l'autre, pour obtenir les résultats que vous recherchez. Essayez une cuisson à des températures plus élevées.
La cuisson au four n'est pas uniforme
Veillez à utiliser une plaque de cuisson ne dépassant pas 325 mm x 305 mm pour le four principal ou d'une dimension maximale de 230 mm x 320 mm pour le four haut.
Dans le cas de la cuisson d'un grand plat, vous devrez peut-être le tourner pendant la cuisson.
Si vous utilisez deux grilles, vérifie qu'il y a assez de place pour permettre à la chaleur de circuler. Lorsque vous insérez une plaque de cuisson dans le four, veillez à la placer bien au centre de la grille. Vérifie que le joint d'étanchéité de la porte n'est pas endommagé et que le loquet de porte est régle de façon à ce que la porte soit bien appuyée contre le joint.
Un réseau d'eau place sur la grille doit avoir une profondeur uniforme. (S'il est plus profund à l'arrière, par exemple, l'arrête de la cusinière doit être levé ou l'avant de la cusinière abaisse). Si la cusinière n'est pas à niveau, demandez à votre fournisseur de la dette à niveau.
Le four ne se met pas en marche lorsqu'il est mis en marche manuellement
L'appareil est-il sous tension? L'horloge est-elle éclairée? Si ce n'est pas le cas, l'alimentation électrique est peut-être défectueuse. Le sectionneur de l'alimentation électrique de la cusinière est-il sur la position Marche? L'horloge clignote-t-elle en indiquant 0.00? Dans ce cas, réglez l'horloge sur l'heure correcte. La minuterie a-t-elle été mise sur AUTO par erreur? Si l'affichage de l'horloge indique AUTO, appuyez sur le bouton de « temps de cuisson» et remplacez tout temps de cuisson pré-réglé par 0.00, à l'aide des boutons (+) et (-). Appuyez deux fois sur le bouton.
Le symbole de la clé (l) s'affiche-t-il? Reportez-vous à la section Horloge des générantes instructions pour un
complément d'informations sur la fonction de verrouillage de l'horloge.
Le four ne se met pas en marche avec la mise en marche automatique
La minuterie est réglée correctement, mais le bouton du four a-t-il étée laissé sur ARRET [OFF] par erreur?
Le symbole de la clé (l) s'affiche-t-il? Reportez-vous à la section Horloge des générantes instructions pour un complément d'informations sur la fonction de verrouillage de l'horloge.
Avec le temps, la température du four de la cusinière devient plus chaude
Si le fait demettre le bouton de réglage sur une température inférieure n'a pas eu d'effet ou a eu un effettemporaire, vous devrez peut-être replacer le thermo-stat. Cette intervention doit être effectuee par un spécialiste de l'entretien.
Le grill ne cuit pas correctement
Utilisez-vous la lèchefrite et la grille fournies avec la cuisinenière? Utilisez-vous la lèchefrite sur les glissières et non pas directement sur la surface inférieure de l'enceinte du grill? La lèchefrite est-elle insérée à fond jusqu'à la butée arrrière?
L'éclairage du four ne fonctionne pas
L'ampoule a probablement grillé. Vous pouvez acheter une ampoule de rechange (non couverte par la garantie) dans un bon magasin de produits électriques. Demandez une ampoule à culot vissable Edison 15 W 240 V, POUR FOURS. Ce doit être une ampoule spéciale, pouvant résister à une température de 300^ .
Ouvrez la porte du four et retirez le Handyrack (le cas échéant) et les grilles du four.
Mettez l'appareil hors tension.
Dévissez le couvercle de l'ampoule en tournant en sens anti-horaire. Dévissez l'ampoule défectueuse. Vissez l'ampoule de rechange, puis revissez le couvercle de l'ampoule. Remettez l'appareil sous tension et vérifie que l'ampoule fonctionne.
Consignes générales de sécurité
La cusinière doit être installée par un électricien qualifié, conformément aux instructions d'installation. Elle doit faire l'objet d'un entretien effectué par un technicien d'entretien qualifié, lequel doit utiliser uniquement des pieces de rechange approvées. Demandez à l'installateur de vous indiquer l'emplacement du commutateur de commande de la cusinière. Notez cet emplacement à des fins de référence. Laissez toujours la cusinière refroidir et mettez-la hors tension avant de la nettoyer ou d'effectuer une intervention d'entretien, sauf indication contraire dans les prsentes instructions.
Prenoze garde lorsque vous touche la table de cuisson, en particulier dans les parties délimitees qui sont réservées à la cuisson. La surface en verre de la table de cuisson restera chaude même lorsque la cusinière est éteinte. Pour prévenir les risques de brûlle, vérifiez
toujours que les commandes sont sur ARRET (OFF) et que la totalité de la surface en verre de la table de cuisson a refroidi avant de la nettoyer.
Eteignez toujours la cusinière avant desteroler un recipient de cuisson du plan de travail.
Ne placez jamais d'ustensiles sur la surface de cuisson lorsque la cusinière est en marche. Ils risquent en effet devenir chauds et de provoquer des brûlures.
Nous vous recommendons d'éviter d'essuyer toute partie de la table de cuisson tant qu'elle n'a pas refroidi et que levoyant de chaleur n'est pas étient. Ajoutons une seule exception à cette précaution : lorsque du sucre est renversé sur la table de cuisson. A ce sujet, reportez-vous à la section « Nettoyage de la cusinière ». Lorsque la cusinière a refroidi, utilisez uniquement le produit nettoyant semi-liquide recommandé pour nettoyer la table de cuisson.
Pour éviter d'abîmer la surface de cuisson, ne repandez pas de produit nettoyant semi-liquide sur le verre lorsque la surface est encore chaude. Veuillez tire et suivre toutes les instructions ainsi que les aversements indiqués sur les étiquettes des produits nettoyants semi-liquides. ÀpRES le nettoyage, utilisez un chiffon sec ou une serviette en papier pour retarder les résidus de nettoyant semi-liquide.
Evitez de faire chauffer un réseau de cuisson vide. Ceci risque en effet d'abimer la table de cuisson et le réseau.
Veillez à ne pas placer ni ranger d'objets sur la surface de cuisson en verrependant qu'elle est en marche.
Si vous utilisez un apparéil électrique à proximité de la table de cuisson, veillez à ce que le cordon de l' apparéil n'entre pas en contact avec la table de cuisson.
Si la surface du chauffe-plats est fissurée, mettez immédiatement la cusinière hors tension et faites-la réparer.
Servez-vous de recipients de cuisson adaptés à la taille de la partie utilisée et voirlez à ce qu'ils soient dotés d'un fond plat suffisamment grand pour couvir le plan de travail choisi. En utilisant un recipient trop petit, vous risquez de vous trouver en contact direct avec une partie du plan de travail, vos vêtements pouvant alors prendre feu. L'utilisation de recipients de cuisson adaptés au plan de travail choisi permettra également d'améliorer l'efficacité de la cusinière.
Ne faites pas glisser de récipient de cuisson sur la surface de cuisson car vous risquez de rayer le verre. Mème s'il est capable de résister aux rayures, le verre en conserverait les marques. Les instruments pointus, les bagues ou autres bijoux et les boutons de vêtements peuvent rayer la surface de la table de cuisson.
N'utilise pas la surface de cuisson pour couper des alimentes.
Ne rangez pas d'objets lourds au-dessus de la table de cuisson. Ils risqueraient de l'abîmer en cas de chute.
Toutes les parties de la cuisine deviennent chaudes lorsque l'appareil est en marche et resteront chaudes même lorsque la cuisson est terminée.
Au besoin, utilisez des gants de cuisine secs - l'emploi de gants humides risque de causeur des brûlures dues à la vapeur lors du contact avec une surface chaude. Ne faites jamais fonctionner la cusinière avec des mains mouillées.
N'utilisez pas de torchon ou autre chiffon épais à la place d'un gant de cuisine. Ils risquent de s'enflammer au contact d'une surface chaude.
Nettoyez la table de cuisson avec précaution. Si vous utilisez une éponge ou un chiffon humide pour essuyer des taches sur une surface chaude, prenez garde aux brûlures par la vapeur. Certains produits nettoyants peuvent producesèvres nocives au contact d'une surface chaude.
N'utilise pas de casseroles instables et tournez les manches vers l'intérieur de la table de cuisson.
Ne laissez jamais les bébés, les tout-petits et les jeunes enfants s'approcher de la cusinière. Ne les laissez jamais s'asseoir ni monter sur une partie de la cusinière. Apprenez-leur à ne pas journé avec les commandes ou avec une partie quelconque de la cusinière.
Ne rangez jamais dans des placards au-dessus d'une cusinière quoi que ce soit susceptible d'attirer l'attention des enfants - des enfants grimpant sur une cusinière pour atteindre des objets risquent de se blesser grave-ment.
Nettoyez uniquely les pieces indiquées dans les prsentes instructions.
Pour des raisons d'hygiene et de sécurité, la cusinière doit toujours être propre, afin de prévenir le risque d'incendie causé par l'accumulation de graisse et autres particules alimentaires.
Veillez à ce que les revêtements muraux inflammables, rideaux, etc. soient toujours suffisamment éloignés de la cuisineire.
N'utilise pas d'aerosols à proximé de la cuisine lorsque celle-ci est en marche.
N'entreposez pas de matérielux combustibles ou de liquides inflammbables à proximé de la cuisineire.
N'utilisez pas d'eau pour eteindre les incendies dus à la graisse. Ne soulevez jamais un recipient de cuisson qui a pris feu. Eteignez la cusinière. Etouffez un recipient qui a pris feu, sur un plan de travail, en le recouvrant complètement avec un couvercle de taille appropriée ou une plaque de cuisson. Si possible, utilisez un extincteur à poudre chimique ou à mousse de type polyvalent.
Ne laissez jamais la cusinière en marche sans surveillance si les brûleurs de la table de cuisson sont régles sur maximum. Le débordement des recipients de cuisson peut produit de la fumée et des taches de gras qui risquent de s'enflammer.
Ne portez pas de vêtements amples ou flottants lorsqu'vous utilisez la cusinière. Prenez garde lorsque vous essayez d'atteindre des objets dans des placards situés au-dessus de la table de cuisson. Des matériaux inflam-mables risquent de s'enflammer au contact d'une surface chaude et provoquer des brûlures graves.
François
Faites très attention lors du chauffage des graisses et des huiles car celles-ci risquent de s'enflammer en cas de surchauffe.
Si possible, utilisez un thermomètre à bain de friture pour prévenir une surchauffe de l'huile au-delà du point de fumée.
Ne laissez jamais une friteuse sans surveillance. Faites toujours chauffer l'huile lentement, en la surveillant. Les friteuses ne doivent être remplies qu'à un tiers de leur capacité. Une friteuse trop pleine peut déborder lorsqu'on y plonge des alimentés. Si vous utilisez unmelon d'huile et de graisse pour la friture, melangez-les avant de chauffer, ou pendant la fonte des graisses.
Les alimentés à frire doivent être le plus sec possible. La présence de cristaux de glace sur des alimentés congelez ou d'humidité sur des alimentés frais peut provoquer une ébullition et un débordement de l'huile
Surveillance attentivement pour prévenir les débordements et la surchauffe pendant la friture à haute ou moyenne température. N'essayez jamais de déplacer un réseau de cuisson contenant de l'huile chaude, en particulier une friteuse. Attendeze que l'huile ait refroidi.
Lorsque le grill est en marche, ne vous servez pas de la grille d'évacuation (la grille le long de la partie arrêté de la cusinière) pour réchauffer des assiettes ou des plats, secher des torchons ou ramollir du beurre.
Veillez à prévenir toute infiltration d'eau dans la cuisine.
Seuls certains types de recipients en verre, vitrocérémente, terre cuite ou autres recipients émailles peuvent etreutilisés sur la table de cuisson;les autres risquent de se briser en raison du changement soudain de température.
N'autorisez personne à grimper, se tenirABOUT ou s'accrocher sur ou à une partie de la cuisineire.
Ne recouvre pas les grilles, les panneaux internes ou la voûte du four de papier aluminium.
Veillez à ce que la cuisine soit bien ventilée en permanence. Utilisez des extracteurs ou des hottes aspirantes dans la mesure du possible.
Ne chauffez jamais des recipients alimentaires qui n ont pas eté ouverts. La pression accumulée à l'intérieur du récipient peut le faire éclater et blesser l'utilisateur.
La cuisine est conçue uniquement pour la cuisson domestique et ne doit pas être utilisée à d'autres fins.
N'UTILISEZ PAS le four pour chauffer la cuisine; non seulement c'est un gaspillage l'énergie, mais il peut y avoir surchauffe des boutons de commande.
Lorsque le four est en marche, NE LAISSEZ PAS la porte du four ouverte plus longtemps que nécessaire.
Les caractéristiques techniques de cette cusinière ne doivent pas etre modifiées.
Cet apparéil est lourd; prenez garde lorsqu'vous le déplacez.
Lorsque la cuisine n'est pas utilisé, vérifie que les boutons de commande sont sur la position Arrêt (Off).
Entretien et pieces de rechange
Veuillez replir la fiche technique ci-dessous et la conserver à des fins de référence ultérieure – cette information nous permettra d'identifier exactement votre cuisinière et de mistrés répondre à vos besoin. Cette fiche vous fera gagner du temps et vous sera très utile plus tard en cas de problème concernant votre cuisinière. Nous vous conseillons également de conserver votre reçu d'achat avec la présente brochure. Vous devrez peut-être partager ce reçu pour valider une visite sur place dans le cadre de la garantie.
Type de combustible :
Vitrocéramique électrique
Nom et couleur de l'appareil*
Numéro de série de l'appareil*
Nom et adresse du détaillant
Date d'achat
Nom et adresse de l'installateur
Date d'installation
- Cette information figure sur le badge technique de l'appareil.
En cas de problème
Dans le cas peu probable où vous auriez un problème avec votre cuisine, veuillez d'abord lore le reste de la presente brochure, en particulier la section de dépannage, pour vérifier que l'appareil est utilisé correctement.
Si le problème persististe, contactez votre fournisseur.
Remarque
Si vous appeareil n'est plus couvert par la garantie, notre fournisseur de services d'entretien peut vous facturer cette visite.
Si vous doivent appell à un technicien d'entretien et si le défaut n'est pas la responsabilité du fabricant, notre fournisseur de services d'entretien se réserves le droit de facturer son intervention.
Les rendez-vous non respectés par le client peuvent être facturés.
Après la période de garantie
Nous recommendons un entretien périodique de nos apparèils pendant toute leur vie utile afin de garantir des performances et une efficacité optimes.
Les travaux d'entretien doivent être effectuels uniquement par des personnes techniquement compétentes et qualifiées.
Pèces de rechange
Pour garantir une performance optimale et sure, nous recommendons l'utilisation exclusive de pieces d'origine. N'utilisez pas de commandes remises à neuf ou non autorisées. Contactez votre fournisseur.
Installation
Cette cusinière est donc uniquement pour un usage domestique. Toute autre utilisation n'engage ni la responsabilité, ni la garantie du fabricant.
Mesures/Règlements de sécurité
Cette cusinière doit être installée par un électricien qualifié, conformément à la réglementation appropriée et aux prescriptions de la Compagnie d'électricité locale. Lisez les instructions avant d'installer ou d'utiliser cet apparéil.
Avant l'installation, vérifie que la cuisine convient à la tension d'alimentation électrique. Reportez-vous au badge technique.
L'installation de la cusinière nécessitera l'emploi du matériel indiqué ci-dessous.
Multimetre (pour les contrôles électriques)
Un mètre en acier
Un tournevis cruciforme
Un niveau à bulle
Un outil de mise à niveau de cuisine (fourni dans le pack)
Positionnement de la cuisineire


Les schémas indiquent les cotes minimales recom-mandées entre la cuisine et les surfaces adjacentes.
Ne placez pas la cuisine sur un support.
Le pourtour de la table de cuisson doit être au niveau ou au-dessus de tout plan de travail adjacent. Au-dessus du niveau de la table de cuisson, laissez un espace de 75 mm entre chaque côte de la cusinière et toute surface verticale adjacente.
Pour les surfaces non-combustibles (telles que le métal non peint ou les carrelages) cette cote peut être de 25 mm.
Laissez un espace de 650 mm au minimum entre la partie supérieure de la table de cuisson et une surface horizontally combustible.
Toute hotte de cusinière doit être installée conformément aux instructions du fabricant de hotte.
Par mesure de sécurité, ne place pas de rideaux directement derrière la cusinière.
Nous recommendons de laisser un espace de 910mm entre les unités pour permettre le déplacement de la cusinière. Si la cusinière doit être encastrée, placez-la à niveau avec l'élement d'un côté, puis montez l'élement de l'autre côté.

Si la cuisine est pres d'un coin de la cuisine, un dégagement de 130 mm est nécessaire pour permettre l'ouverture des portes du four.
Déballage de la cuisinière
La cusinière est très lourde. Prenez garde lorsque vous la déplacez. Nous recommendons de faire appel à deux personnes pour déplacer la cusinière. Assurez-vous que le revêtement du sol est solidement fixé en place ou retirez-le afin d'éviter de l'abîmer en déplaçant la cusinière.
N'enlevez aucun emballage de la cusinière tant que celle-ci n'est pas directement en face de l'emplacement où elle sera installée (sauf si, dans son emballage externe, la cusinière ne peut pas passer par une porte).
Reportez-vous à la feuille volante relative au déballage.
François
Mise à niveau
Nous vous recommendons d'utiliser un niveau à bulle placé sur une des grilles de four pour vérifier le niveau.
Placez la cusinière à l'emplacement prévu pour son installation, en veillant à ne pas exercer de force de torsion lorsque vous l'insérez entre les éléments de cuisine, pour ne pas l'endommager ou endommager les éléments.
Les supports avant et les galets arrêté réglables permètvent la mise à niveau de la cusinière. Pour régler la hauteur de l'arrêté de la cusinière, utilisez l'outil de mise à niveau fourni pour tourner les écrous de réglage aux coins avant inférieurs de l'appareil.

Pour régler les supports avant, tournez les socles pour lever ou abaisser.
Montage des poignées (uniquement sur certains modèles)
Déposez les vis Allen 4 mm des portes à l'aide de la clé hexagonale. Montez les poignées de portes à l'aide des vis.

Les poignées doivent être au-dessus des fixations.

Déposez les vis Allen 4 mm des coins supérieurs du panneau de commande et montez la barre ornamentale avant.

Montage du dosseret (en option - uniquely sur certains modèles)

vue depuis l'arrête de la cuisineire
Déposez les deux vis de fixation (vis à pans creux hexagonales 3 mm) et les écrous qui traversent la partie supérieure de la grille arrière. Maintenez le dosseret en place. De l'arrière, replacez les 2 vis et les écrous.
Raccordement électrique
Cette cusinière doit être installée par un électricien qualifié, conformément à la réglementation appropriée et aux prescriptions de la compétie d'électricité locale.
MISE EN GARDE : CET APPAREIL DOIT ETRE MIS A LA TERRE
Remarque
La cusinière doit être raccordée à l'alimentation élec- trique correcte, indiquée sur l'étiquette de tension sur l'appareil, par le biais d'une unité de commande de cusinière appropriée à interrupteur bipolaire (avec une séparation de contact de 3 mm au minimum entre les pôles). Cette cusinière ne doit pas être raccordée à une prise d'alimentation domestique ordinaire.
La charge électrique totale de cet apparéil est de 14,8 kW environ. Le cable utilisé doit avoir un calibre adapté à la charge et être conforme à toutes les prescriptions locales.
Pour acceder au bornier d'alimentation secteur, retirez le boitier electrique sur le panneau arrête.
Raccordez les câbles d'alimentation secteur aux bornes correctes pour votre type d'alimentation électrique.
Veuillez notes que le calibre de cable maximum est de 6 mm2 pour les bornes de vis et de 10mm2 pour les fils à trois dents.


Vérifiez que les connecteurs sont montés correctement et que les vis des bornes sont bien serrées. Fixez le cable d'alimentation secteur à l'aide du serre-cable.
Disjoncteurs-detecteurs de fuites de terre commandés par injection de courant
Lorsque l'installation de la cusinière est protégée par un dispositif pour courant résiduel (DCR) d'une sensibilité de 30 milliampères, l'utilisation combinée de votre cusinière et d'autres appareils domestiques peut occasionnelment causeur des disjonctions fortuites. Dans ce cas, il est utile de protéger le circuit de la cusinière avec un dispositif de 100mA . Cette intervention doit être effectue par un électricien qualifié.
Surface de cuisson
Allumez chaque surface de cuisson et vérifie qu'elle commence à chauffer.
Grill
Ouvrez la porte de l'enceinte du grill. Tournez le bouton de commande du grill et vérifie que le grill commence à chauffer.
Contrôle des fours
L'horloge doit être réglée sur l'heure actuelle pour que les jours puissant fonctionner.
Appuyez sans relâcher, comme indiqué.

En même temps, appuyez sur - ou + jusqu'à l'affichage de l'heure correcte.
N'oubliez pas que c'est une horloge 24 heures.
Si vous faites une erreur ou si vous vous trompez de bouton, mettez l'appareil hors tension pendant une ou deux minutes, puis reconnexe la procEDURE.
Mettez le four en marche et vérifie que le ventilateur du four se met en marche et que le four commence à chauffer. Eteignez le four.
Eclairage du four
Appuyez sur l'interrupteur d'éclairage du four et vérifie que l'éclairage fonctionne.
N.B. L'ampoule de l'éclairage du four n'est pas incluse dans la garantie.
Montage de la plinthe

Dévissez les 3 vis le long du bord inférieur avant de la cuisine. Insérez l'encoche centrale en forme de trou de serrure sur la vis centrale. Tournez et insérez les encoches d'extrémités en trou de serrure sur leurs vis respectives. Serrez les vis de fixation.
Conseils à la clientèle
Veuillez inscrite les informations vous concernant dans les Presents instructions. De même, indiquez à l'utilisateur comment faire fonctionner la cuisine et remettez-lui les instructions.
Merci.
François
Notice d'entretien
Débranchez l'alimentation d'électricité avant toute intervention d'entretien, notamment si vous doivent-retirer l'un des éléments suivants : panneau de commande, panneaux latéraux, table de cuisson en céramique ou l'un des composants électriques ou des boitiers. Avant de rebrancher l'alimentation électrique, effectuez les contrôles de sécurité nécessaires.
1. Retrait d'un panneau létral
Débranche l'alimentation d'électricité.
Tirez la cuisine vers l'avant.
Tirez sur les chapeaux d'extrémité du panneau de commande à ajustage appuyé et retirez les vis de fixation d'extrémité situées sous le chapeau d'extrémité.
Retirez les vis de fixation de chaque panneau (1 à l'avant et 2 à l'arrête). Les vis de fixation de la partie inférieure avant (une de chaque côte) sont situées sous le bord inférieur au niveau des angles avant des pan-neaux lateraux.
Remontez en procédant dans l'ordre inverse.
2. Pour soulever la table de cuisson en céramique
Tirez la cuisine vers l'avant.

Tirez sur les chapeaux d'extrémité du panneau de commande à ajustage appuyé et retirez les vis de fixation d'extrémité situées sous le chapeau d'extrémité.
Déposez les vis de fixation de la partie inférieure avant (une de chaque côte) situées sous le bord inférieur au niveau des angles avant des panneaux lateraux.
Faites pivoter les panneaux latéraux pour acceder aux vis de fixation de la table de cuisson (une de chaque côté) au niveau de l'avant supérieur des montants latéraux. Déposez ces vis.
Attention
Le matériel de la table de cuisson est beaucoup plus susceptible de rayer sur le dessous que sur la surface supérieure.
Soulevez la table de cuisson en céramique à l'avant et place-la sur un support non métallique.
Veillez à ne pas toucher ni rayer le dessous de la partie céramique car ceci risque d'affaibrir sa résistance et de faire éclater la surface de cuisson.
3. Remplacement de I'elément table de cuisson
Soulevez la table de cuisson comme indiquée plus haut au point 2. A的前提, vous pouvez acceder aux éléments.
4 Retrait du panneau de commande
Débranche l'alimentation d'électricité.
Cuisinières avec une barre ornamentale
Déposez la barre ornamentale en retardant les 2 vis de fixation de support d'extrémité.

Tirez sur les chapeaux d'extrémité du panneau de commande à ajustage appuyé et retirez les vis de fixation d'extrémité situées sous le chapeau d'extrémité.
Cuisinières sans barre ornamentale
Soulevez l'avant de la table de cuisson en céramique - voir le point 2. Retirez les vis supérieures du panneau de commande.
Tirez pour enlever tous les boutons de commande.
Ouvrez les portes du four et du gril et retirez les vis de fixation du panneau de commande au-dessous du panneau de commande. Les vis situées juste sous l'horloge sont destinées au support de fixation de l'horloge. Ne les retirez pas.

Tirez le panneau de commande vers l'avant et débranchez le câblage de l'arrière.
Remontez en procédant dans l'ordre inverse. Pour remettre les fils électriques, reportez-vous au schéma de câblage. Contrôlez le fonctionnement de la minuterie.
5. Retrait de l'interrupteur d'éclairage du four
Retirez le panneau de commande (voir point 4).
N.B. Il se peut que l'ancien interrupteur soit détruit au cours de l'opération de retrait.
Retirez le bouton d'interrupteur et l'ancien interrupteur de l'encadrement en prise bien en main le corps de l'interrupteur depuis l'arrière du panneau de commande et en tournant d'un coup sec.
Retirez ensuite l'encadrement de l'interrupteur en re-tournant les languettes de verrouillage et poussez vers l'avant. Posez le nouvel encadrement sur le panneau de commandes. Commencez par aligner la clé en reliéf figurant sur la partie principale avec la découpe du panneau de commandes, puis poussez en place depuis l'avant. Montez le nouvel interrupteur sur l'encadrement en alignant les parties-clés et en enforcant pour le mettre en place. Posez le nouveau bouton en le poussant depuis l'avant.
Remettez le panneau de commande en place en procédant dans l'ordre inverse et effectuez un essai pour vérifier que l'interrupteur fonctionne correctement.
6. Retrait de la minuterie électronique
Débranche l'alimentation d'électricité.
Retirez les boutons de commande de la minuterie et déposez le panneau de commande (voir point 4). Retirez l'ensemble de minuterie/support de montage du
panneau de commande en retardant les deux vis de fixation. Retirez la minuterie de son support de montage en appuyant sur les languettes en plastique situées sur le boîtier de la minuterie tout en tirant l'unité vers l'avant.
Remontez en procédant dans l'ordre inverse. Pour remettre les fils électriques, reportez-vous au schéma de câblage. Contrôlez le fonctionnement de la minuterie.
7. Retrait d'un thermostat
Soulevez le haut de la table de cuisson en céramique (voir point 2). Retirez le panneau de commande (voir point 4). Ouvrez la porte de four appropriée et déposez les éléments de cuisson du four.
Four principal (droit)
Retirez le couvercle du tube en verre du thermostat (2 vis). Dégagez le tube en verre du thermostat des clips de retenue sur l'arrête du four.
Four haut
Déposez la partie arrêté interne du four - voir point 18.
Dégagez le tube en verre du thermostat des clips de retenue sur l'arrêté du four.
Sortez le tube capillaire du four. Débranchez le câblage du thermostat. Déposez les deux vis retenant le thermostat au panneau de montage. Posez le nouveau thermostat et réassemblez en procédant dans l'ordre inverse. Vérifiez que le tube en verre est solidement fixé à l'arrière du four et qu'il est positionné entre les clips de retenue.
Contrôlez le fonctionnement du thermostat.
8. Remplacement d'un contrôleur de grill
Soulevez le haut de la table de cuisson en céramique (voir point 2). Retirez le panneau de commande (voir point 4). Débranchez le câblage du contrôleur. Déposez les deux vis retenant le contrôleur au panneau de montage. Posez le nouveau contrôleur et réassemblez en procédant dans l'ordre inverse. Vérifiez que le contrôleur fonctionne correctement.
9. Dépose de la porte du grill
Déposez le panneau gauche (voir point 1). Retirez le panneau de commande (voir point 4). Retirez la cordure de protection centrale (5 vis - 2 en haut, 2 en bas et une au milieu). Retirez les deux vis à tête noyée (1 de chaque côté) qui retiennent les bras articulés du grill à l'avant de l'enceinte du grill.
REMARQUE : Les bras sont retenus par ressort. Procedez avec soin pour-retirer la portedu gril.Conservez les joints.
Procedez au réassemblage dans l'ordre inverse, en vérifier que le joint est monté entre le bras articulé et l'avant de l'enceinte du gril.
10. Retrait de la porte du four principal
Ouvrez la porte du four et retirez le Handyrack (le cas échéant) en faisant sorting un côté du support de la porte et en faisant glisser l'autre pour extraire le tout. Soutenez la porte et déposez les deux vis retenant la charnière supérieure et le joint à l'avant du four. Retirez la porte de
la charnière inférieure en la levant légèrement afin de la dégager de l'appareil.
Remontez en procédant dans l'ordre inverse.
11. Remplacement de panneau extérieur de ported four principal
Avancez la cusinière afin de pouvoir acceder aux côtes. Il existe deux types de portes.
Fixation en haut et en bas

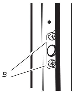
Entrouvre la porte du four et retirez les vis de fixation du panneau avant du haut et du bas de la porte (A).
Soulevez le panneau de porte extérieur avec précaution.
Retirez la poignée de porte du panneau en dévissant les 2 écrous de retenue. Posez la poignée de porte sur le nouveau panneau.
Posez le panneau sur la porte. Remontez en procédant dans l'ordre inverse.
Fixation sur le côté
Entrouvrez la porte du four et retirez les vis de fixation du panneau avant des côtés de porte (deux de chaque côté).

Soulevez le panneau de porte extérieur avec précaution.
Retirez la poignée de porte du panneau en dévissant les 2 écrous de retenue. Posez la poignée de porte sur le nouveau panneau.
Posez le panneau sur la porte. Remontez en procédant dans l'ordre inverse.
12. Remplacement du verrouillage de porte du four principal
Retirez le panneau de porte extérieur (voir point 15). Retirez les vis "B" fixant l'ensemble du dispositif de verrouillage au panneau de porte extérieur. Posez le nouveau loquet et réassemblez en procédant dans l'ordre inverse.
Vérifiez que la porte fonctionne correctement.
Français

13. Remplacement du joint d'étanchéité de porte de four
Ouvrez la portedu four. Le joint est maintenu en place à l'aide de petits crochets placés sur la face arriere.Depuis l'angle,tirez sur le joint dans le sens de la diagonale et a I'ecart du centre de la porte, jusqu'à ce que le crochet se defasse.Passez au crochet suivant et libreze-le, ainsi que les suivants, selon le même proceded.Vous pouvez forcer si les crochets résistant car I'ancien joint sera mis au rebut.

Lors de la pose d'un nouveau joint, positionnez le rac-cord dans le bas. Accrochez le nouveau joint dans l'un des orifices situés à un angle de la porte et poursuivez l'opération sur tout le tour de façon àmettre chaque crochet en place.
14. Réglage de la gâche du loquet de porte du four principal
Ouvrez la porte du four, desserrez l'écrou de verrouillage à la base de la gâche et serrez ou desserrez jusqu'à obtention du réglage requis. Resserrez l'écrou de verrouillage.
15. Retrait de la partie arrêté interne du four ventilé
Ouvrez la porte du four croit et retirez les 4 vis et rondelles retenant la partie arrêté interne à l'arrêté du four. Soulevez la partie arrêté interne en procédant avec précaution. Réassembliez dans l'ordre inverse, en veillant à serrer à fond les 4 vis et rondelles.
16. Retrait de la porte du four haut
Ouvrez la portedu four, soutenezla portet de déposez les deux vis retenant la charnière supérieure et le joint à l'avant du four. Retirez la portede la charnière inférieure en la levant légèrement afin de la dégager de l'appareil. Remontez en procédant dans l'ordre inverse.
17. Remplacement de panneau extérieur de portede four haut
Déposez la porte du four - voir point 16. Posez la porte face vers le bas sur une surface ajustée et déposez deux vis du bord inférieur et 2 vis de la face interne de la porte.
Retirez le panneau de porte extérieur Retirez la poignée de porte en dévissant 2 vis. Retirez les 2 vis cruciformes retenant le support de fixation de poignée de porte au panneau de porte. Posez le support de poignée de porte et la poignée de porte sur le nouveau panneau.
Posez le panneau sur la porte. Remontez en procédant dans l'ordre inverse.
18. Remplacement du verrouillage magnétique de porte du four haut
Retirez le panneau de commande (voir point 4).
Retirez la plinthe (3 vis) et le couvercle vertical central (5 vis). Soulevez pour-retirer le clip de l'élément magnétique. Posez le nouvel élément et le clip de retenue.
Remontez en procédant dans l'ordre inverse.
Vérifiez que la porte fonctionne correctement.
19. Remplacement du ventilateur de four
Débranche l'alimentation d'électricité.
Avancez la cusinière afin de pouvoir acceder à la partie arrrière. Retirez les vis retenant le couvercle électrique à la plaque arrrière et retirez le couvercle. Débranchez les 3 bornes raccordées au ventilateur ennant note de leur emplacement. Retirez la partie arrrière interne du four (voir point 15). Maintenez la pale du ventilateur et défaites l'écrou central (filetage gauche), les 2 rondelles en cuivre, la pale et le jonc d'arrêt. Dévissez les écrous de blocage et les rondelles (3 de chaque) et retirez le ventilateur de la partie arrrière de la cusinière. Posez le nouveau ventilateur et réassemblez en procédant dans l'ordre inverse. Contrôlez le fonctionnement du four.
20. Retrait de l'élement du four ventilé
Débranche l'alimentation d'électricité.
Avancez la cusinière afin de pouvoir acceder à la partie arrrière. Retirez les vis retenant le couvercle électrique à la plaque arrrière et retirez le couvercle. Debranchez les 3 bornes raccordées à l'élement en prénant note de leur emplacement. Retirez la partie arrrière interne du four (voir point 15). Déposez 2 vis situées en haut de l'élement et 1 vis se trouvant en bas de l'élement à l'intérieur du four. Procedez avec précaution pour extraire l'élement. Posez le nouvel élément et réassemblez en procédant dans l'ordre inverse. Contrôlez le fonctionnement du four.
21. Dépose d'élement du grill
Débranche l'alimentation d'électricité.
Avance la cusinière afin de pouvoir acceder à la partie arrrière. Retirez les vis retenant le couvercle électrique à la plaque arrrière et retirez le couvercle. Débranchez les 4 bornes raccordées aux éléments en prénant note de leur emplacement. Déposez la l'échefrite de l'enceinte du
gril. Dans l'enceinte du grill, retirez la protection émaillee avant de la voute du grill, les 2 vis et les rondelles. Retirez les 2 vis et les rondelles retenant le support avant d'élément du grill. Retirez une vis de chacun des éléments du grill et enlevez les éléments de l'enceinte. Posez les nouveaux éléments et réassemblez en procédant dans l'ordre inverse. Contrôlez le fonctionnement du grill.
22. Remplacement de l'ampoule déclairage du four principal
Retirez la partie arrière interne du four (voir point 15). A prisent, vous pouvez acceder au couvercle d'éclairage du four. Dévissez le couvercle.
Dévissez l'ampoule.
Posez une ampoule à culot vissable Edison 15 W 240 V, POUR FOURS. Ce doit être une ampoule spéciale pouvant résister à une température de 300^ .
François
Fiche technique
NOTICE A L'INSTALLATEUR : Veuillez remetre les presentes instructions à l'utilisateur.
EMPLACEMENT DU BADGE TECHNIQUE : Arrière de la cusinière, badge de répétition du numéro de série sous
I'ouverture de la portedu four. Dimensions
Table de cuisson :
| Hauteur totale | minimum 900 mm | maximum 925 mm |
| Largeur totale | 900 mm (Reportez-vous à la section « Positionnement de la cusinière ») | |
| Profondeur totale | 648 mm | |
| Emplacement prévu pour fixation | Reportez-vous à la section « Positionnement de la cusinière » | |
| Espace minimum au-dessus de la table de cuisson | 650 mm | |
Capacités
Charge totale A 230V 15,6 kW (valeur totale approximative comprenant l'éclairage de four, le ventilateur du four, etc.)

1.1kW 1.56kW
| Fours | Convection forée | Convection forée |
| 2.5kW | 2.5kW | |
| Classement selon son efficacité énergétique sur une échelle allant de A (économe) à G (peu économe) | A | B |
| Consommation d'énergie Calculée en charge normalisée | 0.85kWh | 0.95kWh |
| Volume utile (litres) | 67 | 53 |
| Type | Grand volume | Volume moyen |
| Temps de cuisson en charge normale (minutes) | 38 minutes | 49 minutes |
| Surface de cuisson | 1400cm2 | 790cm2 |
| Gril | 2.3kW |
Notice Facile