X-ARM NOIR - Support mural pour téléviseur HAMA - Notice d'utilisation et mode d'emploi gratuit
Retrouvez gratuitement la notice de l'appareil X-ARM NOIR HAMA au format PDF.
| Type de produit | Support mural pour écran plat |
| Compatibilité | Écrans plats de 26" à 55" |
| Capacité de charge | Jusqu'à 30 kg |
| Type de montage | Fixation murale |
| Dimensions du produit | Variable selon l'écran, support ajustable |
| Poids | Environ 2,5 kg |
| Matériaux | Acier et plastique |
| Installation | Vis et matériel de montage inclus |
| Entretien et nettoyage | Nettoyer avec un chiffon doux, éviter les produits abrasifs |
| Pièces détachées et réparabilité | Disponibilité de pièces de rechange limitée |
| Sécurité | Respect des normes de sécurité en vigueur pour les supports muraux |
| Informations générales | Garantie de 2 ans, vérifiez la compatibilité avec votre écran avant l'achat |
FOIRE AUX QUESTIONS - X-ARM NOIR HAMA
Questions des utilisateurs sur X-ARM NOIR HAMA
0 question sur cet appareil. Repondez a celles que vous connaissez ou posez la votre.
Poser une nouvelle question sur cet appareil
Téléchargez la notice de votre Support mural pour téléviseur au format PDF gratuitement ! Retrouvez votre notice X-ARM NOIR - HAMA et reprennez votre appareil électronique en main. Sur cette page sont publiés tous les documents nécessaires à l'utilisation de votre appareil X-ARM NOIR de la marque HAMA.
MODE D'EMPLOI X-ARM NOIR HAMA
6. Pose des cables et du récepteur infrarouge
Veiliez à ce que tous les cables video et sector du télévisuer passant dans le soufflet du support X-arm™ aient vers le mur. Utilisez, à cette fin, les conduites de cables intégrées au support pour séparer les uns des autres cables de courant et les cables video (voir figure ci-dessus). Ce réduit les interférences et permet un bon passage des cables lors des mouvements du support X-arm™.
Si la prise pour le télévisuer et le support X-arm™ se trouvent en dehors du soufflet X-arm™, suivez les instructions ci-dessous. Si la prise pour le télévisuer et le support X-arm™ se trouvent dans le soufflet, suivez les instructions de la page 53.

6-1 Sortez le support X-arm™ en dirigeant la télécommande vers le récepteur infrarouge et appuyez ensuite sur les touches « X-ARM » et « SELIN/OUT » l'une après l'autre.
6-2. Passez le/les cable(s) AV sur le cotoe gauche a travers la grande sangle en plastique. Ne fixez pas encore les cables AV!
6-3. Faites passer le cable secteur du télévisuer via la barre transversale inferriere, à l'intérieur du soufflet dans la petite sangle en plastique de droite et finalement, faites-le-sortir par la ouverture de cable.
6-4. Debranche le récepteur infrarouge et faites passer l'extrémité du racordement via la barre transversale, à l'intérieur du soufflet dans la petite sangle en plastique de croite et finalement, faites-le sortir par l'ouverture pour câbles. Rebranche ensuite le récepteur infrarouge sur le côte du support X-arm™.
6-5. Le cable AV, le cable secteur et le cable du recepteur infrarouge doit être assez longs pour pouvoir raccorder les apparciels entre eux. Les longueurs doivent permettre que les cables ne se coincep pas dans les pieces du X-arm™. Vous pouvez tester si leslongueurs de cables sont suffisantes en deployant le support X-arm™. Pour cela, dirigeze la télécommande vers le recepteurinfraredge et appuyez sur les touches « X-ARM » et « SEL IN/OUT » l'une après l'autre. Faites basculer et pivotrer le support à l'aide des touches flachées de la telecommande.
6-6. Fixe mantenant avec les serre-cables fournis tous les cables sur la barre de cables, prés de l'ouverture pour cables au dos du support X-armTM.
6-7. Fixe ensuite tous les cables avec les serre-cables fournis sur la barre transversale inférieure de façon à ce qu'ils passent entre le sufflet et la barre transversale. Le cable secteur TV et le cable AV doit être éloignés d'au moins 5 cm de la traversé mediane. Coupe les extrémites des serre-cables qui dépasseant.
Si la prise pour le télévisuer et le support X-arm™ se trouve à l'intérieur du soufflet X-arm™, suivez les instructions ci-dessous.
6-1. Sortez le support X-arm™ en dirigeant la télécommande vers le récepteur infrarouge et appuyez ensuite sur les touches X-ARM et SEL IN/OUT l'une après l'autre.
6-2. Passez le/les cable(s) AV sur le cotoe gauche a travers la grande sangle en plastique. Ne fixez pas encore les cables AV!
6-3. a. Faites passer le cable secteur du téléviseur entre la travers de montage inférieure et le soufflet, pres du raccordement sur la face inférieure de l'appareil.
b. Debranche le recepteur infrarouge et faites passer l'extrémité du raccordement entre la travers de montage inférieure et le soufflet, puis faites-la sortir par l'ouverture pour cables. Rebranche ensuite le recepteur infrarouge sur le côte du support X-armTM.

c. Ouvrez le porte-cable, enroulez la longueur de cable secteur en excès et le cable du récepteur infrarouge, rangez les dans le porte-cable et refereze- ce dernier.
d. Faites passer le cable secteur X-arm™ par l'ouverture pour le passage des cables et branchez-le à la prise. Si le cable est trop long, vous pouvè un enrouler sur lui-même avec un serre-cable. A l'aide d'un autre serre-cable, fixez ensuite le cable à la barre transversale servant à la fixation des cables.
6-4. Retirez la vis qui retient a sangle pour les cables d'alimentation TV et du récepteur IR et faites-passer la sangle autour du cable secteur TV et du cable du récepteur infrarouge. Refixez la sangle à l'aide de la vis.
6-5. Le cable AV, le cable secteur et le cable du récepteur infrarouge doivent être assez longs pour pouvoir racorder les appareils entre eux. Les longueurs doivent permettre que les cables ne se coincep pas dans les pièces du X-arm™. Vous pouvez tester si les longueurs de cables sont suffisantes en sortant le support X-arm™. Pour cela, dirigeze la télécommande vers le récepteur infrarouge et appuyez sur les touches « X-ARM » et « SEL IN/OUT » l'une après l'autre. Faites basculer et pivoter le support à l'aide des touches fléchées de la télécommande.
6-6. Fixe mantenant, avec les serre-cables fournis, tous les cables sur la barre transversale servant a la conduite des cables, prés de l'ouverture pour cables au dos du support X-armTM.
6-7. Fixe ensuite tous les cables avec les serre-cables fournis sur la travers de montage inférieure de façon à ce qu'ils passent entre le foufflet et la travers de montage. Le cable secteur TV et le cable AV doivent être éloignés d'au moins 5 cm de la travers mediane. Coupez les extrémétés des serre-cables qui dépassent.
Consignes de sécurité
ATTENTION: CONSERVEZ BIEN CES CONSIGNES DE SECURITÉ!
Il est impératif de prendre les précautions suivantes lors de l'utilisation du support X-arm™ :
- Veuillez dire attentivement tout le mode d'emploi avant d'utiliser le support X-arm™.
Le support X-armTM ne doitetre gené ni par des personnes ni par des objets pendant les phases de mouvement. Evitez tout contact avec des pièces en mouvement.
L'utilisation du support X-armTM ne doit avoir lieu que sous surveillance et tant que le mouvement du support est arrêté par une nouvelle pression sur une touche fléchéée.
Suivies the instructions d'installation pour monter correctement le support X-armTM. Pour éviter tout risque de blessure, fixeze le support X-armTM au mur conformément aux consignes d'installation suivantes.
Le rayon de displacement du support X-armTM est limité par la taille du téléviseur régée via les éléments de commande du support. Il faut d'abord régler correctement la taille du téléviseur ayant d'utiliser le support X-armTM.
Le support X-armTM est conq unquielement pour des charges pesant jusqu'à 81 kg max. L installation et l'utilisation de televiseurs plus lourds peuvent rendre I'ensemble instable et causer des blessures.
Pour eviter tant que possible que quelqu'un se blesse, l'utilisation de l'appareil à proximé d'enfants doit se faire sous surveillance. - N'utilisez que des fixations vendues ou recommandees par le constructeur.
- Le support n'est pas prévu pour un usage à l'extérieur.
Pour couper l'alimentation electrique, arretez (position 0) tous les éléments de commande et débranchez ensuite la fiche de la prise. - Ne tirez pas sur le cable secteur pour retirer la fiche de la prise. Saisissez只不过 la fiche et tirez dessus.
Pour la maintenance ou le nettoyage, ne retirez la fiche de la prise que si l'appareil n'est pas utilisé.
Lappareil ne doit pasetre exploite si le cable secteur ou la fiche sont defectueux,si des dysfonctionnements sont survenus ou si l'appareil est toteme ou a etedommage. Si c'est le case, portez the appareil au point de service après vente le plus proche pour le faire contrcler, reperer au jour que son systeme electrique ou mecanique soit reajusté.
Pour l'alimentation electrique, n'utilise que des prises mises à la terre appropriées. Voir les instructions de mise à la terre.
Instructions de mise à la terre
Cet apparéil doit être mis à la terre. En cas de dysfonctionnements ou de pannes complètes, la mise à la terre constitue la voie opposant le moins de résistance au courant électrique et réduit ainsi le risque d'électrocution.
L'appareil est équipé d'un conducteur de terre et d'une fiche de mise à la terre. La fiche doit être branchée dans une prise appropriée, répondant à toutes les directives et réglementations locales concernant l'installation et la mise à la terre.
DANGER-Le mauvais branchement du conducteur de terre de I'appareil peut causeur I'electrocution.
Le conducteur isolé par une gaine verte (avec ou sans rayures jaunes) est le conducteur de terre de l'appareil. En cas de réparation ou de remplacement des cables ou des fiches, le conducteur de terre ne doit pas été relié à une connexion conductrice d'électricité.
Adressez-vous à un électricien qualifié ou un employé du service après-vente si vous n'avoce pas tout à fait compris les instructions de mise à la terre ou si vous doutez que la mise à la terre de l'appareil soit correcte. N'apportez aucune modification à la fiche de l'appareil! Si la fiche n'est pas compatible avec la prise, chargez un électricien qualifié d'installer une prise appropriée.
Cet apparéil convient à des circuits électriques ayant une puissance nominale supérieure à 120 V et 15 A et est équipé en usine d'un cable électrique spécial avec fiche. Il est déconseilé d'utiliser un adaptateur pour cet apparéil. Si l' apparéil doit être intégrée à un另一种 type de circuit électrique de commutation pour être utilisé, cette opération doit être réalisée par un employé du service après-vente, qualifié pour cette tâche. Une fois cette opération réalisée, l' apparéil devra répondre à toutes les directives et règlementations locales.

X-arm™ - Aperçu du produit
X-arm™ est un support motorisé pour téléviseurs d'une largeur de 40" à 60" (102 à 152 cm) et d'un poids allant jusqu'à 81 kg. X-arm™ permèt à l'utilitaire de modifier l'angle de visionnement du téléviseur par simple pression d'une touche de la télécommande. En position replie, l'écart entre le téléviseur et le mur est de 11,7 cm. Une fois activé, le support X-arm™ éloigne le téléviseur d'une distance pouvant aller jusqu'à 30,5 cm du mur, le téléviseur pouvant être, en plus, incline horizontally et verticalement. Lors de la sortie du support X-arm™, se déploie alors derrière le téléviseur un soufflet contenant les moteurs X-arm™ et tous les cables TV. Ce soufflet fait de X-arm™ non seulement un support pratique mais aussi esthétique.
X-armTM (face avant)

X-arm™ (face arrrière)

Sont fournis avec le support X-arm™ :

Broche d'ajustage pour la taille du téléviseur

Clé à six pans (pour pince des sécurité)

Serre-cables (lot de 10)

Boulons d'ancrage (6x)

Chevilles pour vis (6 x)

Accessoires de montage du téléviseur

Traverses de montage du téléviseur + rallonges (4x)

Point de colle pour le récepteur infrarouge

Récepteur infrarouge (reçoit le signal de la télécommande)

Files

Cable secteur

Télécommande
X-arm™ - Caracteristiques techniques
Attention: le support X-arm™ convient uniquement pour des téléviseurs avec les poids et les dimensions maximum enumerated cédssous. L'installation d'appareils plus lourds ou plus gros peut rendre la construction instable ou causer des blessures.
| \( \mathbf{{\text{Castréristiques techniques}}}\) | Dimensions |
| Zone maximale de basculement/ pivotement en fonction de la largeur du téléviseur dimensions extérieures) | 102-113 cm : 7° vers le haut, 25° vers le bas / 28° à gauche et à droite (56° en tout) 114-122 cm : 7° vers le haut, 25° vers le bas / 26° à gauche et à droite (52° en tout) 123-140 cm : 7° vers le haut, 25° vers le bas / 23° à gauche et à droite (46° en tout) 141-155 cm : 7° vers le haut, 25° vers le bas / 19° à gauche et à droite (38° en tout) |
| Tailles de téléviseurs convenables | Largeurs extérieures de 102-155 cm |
| Dimensions totales du support | 80,0 cm (l) X 57,8 (h) X 11,4 cm (p) |
| Charge maximum | 81 kg |
| Ecart min. par rapport au mur | 11,7 cm + TV |
| Ecart max. par rapport au mur | 30,5 cm + TV |
Certifications:





X-armTM - Installation
Outils requis
Pour installer le support sur un mur en béton, consultez le paragraphe « Installation sur des murs en béton ». Pour une installation sur des cloisonnages, lisez le paragraphe suivant.

Niveau à eau

Tournevis cruciforme

Clé de serrage avec 9,5 mm

Clé à pipe (en option)

Bande adhesive

Detecteur des poutres

Marteau

Perceuse avec foret de 6 mm
Perceuse avec mèche à pierre (murs en béton)
Preparation de l'installation sur des cloisonnages
1. Recherche des poutres-cloisons
1-1. Utilisez un détecteur de poutres et recherche deux poutres dont les lignes médianes ne sont pas écartées de plus de 43,2 cm l'une de l'autre.
Pour éviter tout dommage des appareils et toute blessure, le support doit être fixé à au moins deux poutres en bois de dimension 5,1 x 10,2 cm.

2. Perçage des trous de montage
2-1. Posez la plaque de fixation murale pour servir de modèle sur le mur de telle façon que les trous de montage soient positionnés exactement sur les pôtries.
2-2. Etonnerez la plaque de fixation murale.
2-3. Marquez 6 points au niveau desquels la plaque de fixation murale repose sur les poutres.
2-4. Retireze la plaque de fixation murale et percez aux marquages ainsi réalisés six tous de 6.4cm de profondeur avec un foret de 6mm .
2-5. Passez à l'été 3 (« Installation de la plaque murale ») déscribe sur la page suivante.

Poutres en bois de 5× 10 cm
Préparation de l'installation sur des murs en béton
1. Percage des trous de fixation
1-1. Mainténe la plaque de fixation murale pour servir de méthode de perçage à l'endetroit du mur où vous aimeriez installer le support X-arm™.
1-2. Etalonnez la plaque de fixation murale.
1-3. Marquez 6 points sur la plaque de fixation murale comme l'indique le croquis, les troughs doivent etre le plus eloigné possible les uns des autres.
2. Emploi des chevilles
2-1 Percez six troughs de 6,4 cm de profondeur avec une mèche à pierre de 13 mm aux marquages réalisés.
2-2. Enoncez les chevilles dans les trouss comme cela est indiqué sur le croquis.
Installation des cloisonnages/murs en béton
3. Montage de la plaque murale
3-1. La plaque murale doit déjà avoir été retiree de la face arriere du support X-armTM (elle servait de modulo) en enlevant les 2 vis de sécurité.
3-2. Montez la plaque murale sur le mur à l'aide des 6 boulons d'ancrage fournis.
Boulons d'ancrage
4. Montage du support X-arm™ sur le mur
4-1. Suspendez le support X-arm™ à la plaque murale en accrochant les crochets de fixation situés au dos du X-arm™ sur le rebord supérieur de la plaque murale
4-2. Decalez le support X-arm™ d'env. 4 cm à gauche ou à droite pour le centre par rapport à la plaque murale. La plaque murale ne devrait plus être visible alors.
4-3. Contrôlez à travers les évidements sur les côts du support X-arm™ si celui-ci est solidement fixé.
4-4. Sezre, à l'aide d'un tournevis cruciforme, les deux vis de sécurité situées sur le dessous du X-armTM.



Plaque de fixation murale

Evidement gauche
5. Reglage de la taille du télévisuer sur le support X-armTM
Pour éviter toute blessure ou tout endommagement de l'appareil, il est important d'adapter le support X-arm™ à la largeur du téléviseur. Le rayon de déplacement du support est limité par la taille du téléviseur réglée sur le support X-arm™.

5-1. Branchez le cable secteur puis reliez le support X-arm™ à une source de courant mise à la terre. Le cable secteur X-arm™ est équipé d'une fiche de mise à la terre. Ce ci doit être branchée dans une prise appropriée, répondant à toutes les directives et réglementations locales concernant l'installation et la mise à la terre. Vous trouvezz plus d'informations sur la mise à la terre au début de ce manuel
5-2. Mettez l'interrupteur à bascule « Power » sous tension (position 1).
5-3. Mesurez la largeur totale du télévisuer, haut-parleurs lateraux inclus. Pour regler la taillu du télévisuer sur le support X-armTM, n'utilise pas la diagonale d'ecran indique par le constructeur.

5-4. Enfichez la broche en plastique fournie dans l'ouverture nommée « Sélection » et appuyez sur la touche jusqu'à ce que le code de taille du téléviseur corresponde à la largeur de votre téléviseur (voir tableau des correspondances ci-dessous)
| Código | Largeur totale du téléviseur |
| C1 | 102–112 cm |
| C2 | 114–122 cm |
| C3 | 124–140 cm |
| C4 | 142–155 cm |
5-5. Maintenez le bouton de selection noir enforcé jusqu'à ce que le code de taille du télévisueur ne clignote plus.
5-6. Raccordez le recepteur infrarouge.
5-7. En option : des informations sur la commande du support X-arm™ par Home Automation via le port RS232 se trouvent à la page 67.
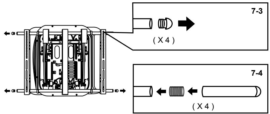
7. Pose des rallonges de traverses (si besoin)
7-1. Mesurez l'ecart entre les filetages de fixation au dos de votre téléviseur.
7-2. S'il est supérieur à 660 mm, passée à l'été 7-3 pour monter les rallonges. Si Iéarté est inférieur à 660 mm, vous pouce aller directement à l'alinea 8.
7-3. Retirrez les butées en caoutchouc situées aux extrémités des traverses de montage.
7-4. Vissez les 2 rallonges sur les traverses de montage jusqu'à ce qu'elles soient bloquées.


8. Pose des baguettes d'arrêt sur le téléviseur
8-1. Retirez les deux baguettes d'arrêt TV du support X-arm™ en desserrant complètement les quatre vis aux extrémités supérieures et inférieures des baguettes d'arrêt. Retirez ensuite les 4 capuchons de sécurité aux extrémités des baguettes. Conserve dans un endroit sur les capuchons et les vis.
8-2. Placez les baguettes d'arrêt TV au dos du téléviseur de façon à ce qu'elles correspondant aux filetages de fixation.
8-2. Fixez les deux baguettes d'arrêt avec pour chacune une rondelle, une rondelle élastique et une vis au dos du téléviseur. Assurez-vous, lors de cette opération, que les extrémités des baguettes soient positionnées avec leur crochet en haut. Utilisez si possible les vis fournies avec votre téléviseur. Pour fixer les baguettes, utilisez un tournévis cruciforme ou, dans certains cas, la clé spéciale à 6 pans fournie dans les accessoires.

Support mural pour TV
REMARQUE: les baguettes d'arrêt TV convennent à la majorité des téléviseurs de largeur 102 à 155 cm.
9. Suspension du téléviseur dans le support X-armTM
Attention: le téléviseur est sirement très lourd. Accrochez-le dans le support X-arm™ avec l'aide d'au moins une autre personne.
9-1. Accrochez le télévisuer dans la barre transversale supérieure du support X-arm™ et abaissez-le ensuite avec précaution.
Traverse de montage supérieure
10. Pose des capuchons de sécurité
10-1. Mettez les 4 capuchons de sécurité sur les extrémités supérieures et inférieures des baguettes d'arrêt TV.
10-2. Fixez les capuchons de sécurité en serrer les vis correspondantes à l'aide d'une clé à 6 pans.
11. Raccordement du récepteur infrarouge au télévisueur
11-1. Fixez le récepteur infrarouge sur le télévisueur, avec le point de colle fourni, de façon à avoir une bonne transmission entre le récepteur et la télécommande.
12. Calibrage du support X-arm™ pour votre télévisuer
Le support X-arm™ doit d'abord être calibré pour le télévisuer mont déssus. Procedeux étapes suivantes pour calibrer le support X-arm™.
12-1. Eteignez l'interrupteur d'alimentation su I'unité de commande du X-armTM.
12-2. Pendant la mise en marche sur l'unité de commande, maintainez enforcé le bouton pour le réglage de la taille de l'écran. Maintenée le bouton enforcé pendant 5 autres secondes jusqu'à ce que « CT » s'affiche.
12-3. Faites quelques pas en arrêté pendant que le support X-arm™ fait les mouvements pour le calibrage (entree/sortie, pivotement à gauche/ droite, basculement vers le haut/bas).
12-4. Le calibrage du X-arm™ est terminé quand l'apparéil revient à sa position murale d'origine.


Commande du X-armTM
Réglage de la taille du télévisueur sur le support X-armTM
Attention: le rayon de déplacement du support X-arm™ est limité par la taille du téléviseur régée sur le support X-arm™ par l'utilisateur. Il faut d'abord régler correctement la taille du téléviseur avant d'utiliser le support X-arm™. Le mauvais réglage de la taille du téléviseur peut cause des dommages matériels et/ou blesser celuiqu'un.

- Branchez le support X-armTM.
- Mettez l'interrupteur à bascule « Power » sous tension (position 1 « ON »), sur le côte du X-arm™.
- Mesurez la largeur totale du téléviseur, haut-parleurs lateraux inclus.
- Enfichez la broche en plastique fournie dans l'ouverture nommée « Sélection » et appuyez sur le bouton jusqu'à ce que le code de taillè du télévisueur correspondé à la largeur de votre télévisueur (voir tableau des correspondances ci-dessous).
| Code | Largeur totale du téléviseur |
| C1 | 102–112 cm |
| C2 | 114–122 cm |
| C3 | 124–140 cm |
| C4 | 142–155 cm |
- Maintenez la touche « Réglage » enforcée jusqu'à ce que le code de taillu du téléviseur ne clignote plus.
- Le rayon de déplacement du support X-arm™ est limite par laaille du téléviseur reglee par l'utiliser.
Réglage de la position de la TV
Il faut d'abord régler la taille exacte du télévisuer avant d'utiliser le support X-arm™. Cette opération empêche que des dommages matériels ou des blessures soient causés. De plus amples informations sur le réglage de la taille du télévisuer se trouvent dans le chapitre ci-dessus, intitulé « Réglage de la taille du télévisuer sur le support X-arm™ ». Le support X-arm™ ne doit être géné ni par des personnes ni par des objets pendant les phases de mouvement.
- Àprouvésoarbranchéla priessecteur,mettez l'interrupteurà bascule «Power» sous tension position 1 «ON ») sur le cote du X-armTM.
- Appuyez l'une après l'autre sur les touches X-ARM et POWER de la télécommande. La suspension X-arm™ ne peut recvoir alors que des signaux de commande provenant de la télécommande.
- Si le code de taillu du taveliseur n'est pas affiché sur I'unité de commande, appuyez sur la touche POWER de la telecommande. Appuyez ensuite une fois sur SEL-IN/OUT pour déployer le support X-armTM. Il n'est pas nécessaire deMAINIR la touche enconce pendant ce temps-là.En appuyant sur des touches flachées,vous arrêtez le mouvement de sortie du support X-armTM.
- Appuyez sur une des 4 touches fléchées de la télécommande pour pivoter ou basculer le support X-arm™ dans la bonne direction. Appuyez sur une des 4 touches fléchées ou sur SEL-IN/OUT pour arrreter le mouvement du X-arm™.
0U
5. Appuyez une fois sur SEL-IN/OUT pour ramener le support X-arm™ et le téléviseur à la position murale d'origine.
0U
- Àprouque les touches P1 et P2 (voir « Progarmation des touches de prérglage du X-arm™ ») ont été programmées, appuyez sur une de ces deux touches pour déplacer l'apparéil dans la position prérgée.

Telecommande universelle
Si la télécommande universelle a ete programmee pour, vous pouze lutilser pour commander des telleviseurs, des magnetoscopes, des lecteurs de DVD et des recepecteurs cable. Des instructions detailles sur la programmation de la telecommande se trouvent sur les pages suivantes.
POWER met en marche/arrête l'appareil sélectionné.
DVD/VCR selectionne le magnétoscope / lecteur de DVD comme apparéil à commander (programmation nécessaire).
X-ARM Sélectionne le support X-arm™ comme apparéil à commander.
TV selectionne le téléviseur comme apparueil a commander (programmation nécessaire).
P1 SET enregistré la position actuée du X-arm™ comme position prérégée P1.
P1 déplace le support X-arm™ en position prérégée P1.
Les touches fléchéées font pivoter/ basculer le télévisueur en mode X-armTM dans la direction correspondante. Dans modes, d'autres modes, elles permettent de naviguer dans les menus de l'écran.
MENU ouvre le menu de réglage de l'appareil sélectionné.
VOL augmente ou baisse le volume.
MUTE rend muette la sortie son de l'appareil sélectionné.
INFO affiche des informations sur la source videoe actuelle.

Les touches numériques permettent d'entrée un nu donne.
CBL selectionne le recepteur cable comme apparéil à commander (programmation nécessaire).
P2 SET enregistré la position actuelle du X-arm™ comme position prérégée P2.
P2 déplace le support X-arm™ en position prérégée P2.
SEL-IN/OUT ramène, en mode X-arm™, la suspension à sa position de départ. Cette commande permet, dans d'autres de selectionner ou de regler des options
EXITfermele menu actuall.
CH fait passer à la chaine ou au chapitre suivant préçédent.
FAV repasse sur le canal préfééré programme, en mode CBL.
TV/VCR recherche l'appareil sélectionné parmi les sources video disponibles.
Rewind returne en arrêté dans la vente actuelle.
Pause suspend l'actuelle lecture video.
PIP active l'affichage d'incrustation d'image (PIP).
POSITION change la position de la fenêtre
Incrustation d'image, en mode TV. Cette touche returne à la page précédente, en mode CBL.
Play lit le média inséré.
Stop arrête l'actuelle lecture video.
SWAP fait passer de l'image principale aux sources video d'arrirement-plan, en affichage d'incrustation d'image.
FREEZE gèle l'image PIP (mode TV), affiche les menus de réglage (mode DVD), affiche la vitesse de bande (mode VCR) ou passée à la page suivante (mode CBL).
GUIDE affiche le guide des programmes (mode CBL) ou active les sous-titres affichables en option (mode TV).
Fast Forward fait une avance.
rapide du média inséré.
Record démarre l'enregistrement.
OPEN/CLOSE ouvre/ferme le compartmenté medie de l'appareil sélectionné.
Une pression sur SLEEP fait passer l'appareil en mode d'économie d'énergie.
Programmation de la télécommande universelle
Si la télécommande universelle a ete programmee pour, vous pouze l'utiliser pour commander, en plus du support X-armTM, des téléviseurs, des magnétoscopes, des lecteurs de DVD et des récepteurs cable. En outre, vous pouze programmer les touches de prégrégale P1 et P2 de façon à ce que le support X-armTM se déplace dans une de vos deux positions préféries par simple pression d'une touche.
Programmation des touches de preréglage X-armTM
! Il faut d'abord régler la taille exacte du télévisueur avant d'utiliser le support X-arm™. Cette opération empêche que des dommages matériels ou des blessures soient causés. Le support X-arm™ ne doit être géné ni par des personnes ni par des objets pendant les phases de mouvement.
- Insérez la prise d'alimentation du X-arm™ dans une prise, puis mettez l'interrupteur d'alimentation sous tension. L'interrupteur se trouve à droite de l'unité de commande du X-arm™.
- Appuyez l'une après l'autre sur les touches X-ARM et POWER de la télécommande.
- Déplacez le support X-arm™ à la position à memoriser.
- Pour memoriser la position souhaitée sur la première touche, appuyez deux fois sur P1 SET en l'espace de 3 secondes.
- Changez la position du télévisuer et appuyez sur P1 pour vérifier que la的记忆 de la position a bien réussi.
- Déplacez le support X-arm™ à la deuxième position à memoriser.
- Pour memoriser la nouvelle position sur la deuxième touche, appuyez deux fois sur P2 SET en l'espace de 3 secondes.
- Changez la position du télévisuer et appuyez sur P2 pour vérifier que la mémorisation de la position a bien réussi.

Programmation de la télécommande pour commander d'autres apparéils Programmation TV
Voici comment programmer la télécommande universelle sur votre téléviseur :
- Mettez le téléviseur en marche.
- Appuyez simultanément sur les touches TV et SEL-IN/OUT jusqu'à ce que la touche TV brille en permanence.
- Dirigez la télécommande vers le téléviseur et entrez le code à trois chiffres du constructeur de l'appareil, figurant dans la liste de codes. Si le code entre est correct, le téléviseur s'estient. Passez à l'étape 4.
- Appuyezse sur SEL-IN/OUT. La touche TV clignote alors trois fois et l'éclairage des touches s'éteint.
- Puis faites de nombreux tests de la télécommande et de son effet sur le téléviseur. Si l'appareil ne fonctionne pas correctement, repêze les étapes 2 à 5.

| Marque TV | Numero de code | Marque TV | Numero de code |
| Admiral | 220 160 081 072 | Emerson | 245 155 154 143 096 076 051 048 047 043 028 005 004 001 |
| Advent | 231 | Fisher | 057 007 |
| Aiwa | 213 | Fujitsu | 244 |
| Akai | 146 001 | Funai | 245 043 028 |
| Amark | 143 | Funai | 245 043 028 |
| Ampro | 073 | Futuretech | 043 |
| Amstrad | 052 | Gateway | 041 202 |
| Anam | 242 131 080 056 043 | GE | 220 165 160 155 144 074 073 056 034 009 008 004 001 |
| Aoc | 058 004 001 | Gradiente | 218 |
| Apex | 247 | Haier | 203 |
| Audiovox | 076 | Hallmark | 004 |
| Blaupunkt | 088 | Hitachi | 143 075 072 023 012 011 010 009 004 |
| Broksonic | 241 | Infinity | 249 164 |
| Cairn | 201 | JBL | 249 164 |
| Candel | 004 003 002 001 | JCPenney | 160 143 101 065 030 024 009 008 004 001 |
| Capehart | 058 | Jensen | 013 |
| Cetronic | 043 | JVC | 237 230 145 083 070 038 034 |
| Citizen | 143 103 101 043 004 003 002 001 | KEC | 043 |
| Classic | 043 | Kenwood | 070 001 |
| Concerto | 004 | Kloss | 059 002 |
| Contec | 051 043 | KMC | 143 |
| Cornea System | 246 | KTV | 250 154 143 043 001 |
| Coronado | 143 | LG (Goldstar) | 143 127 119 106 004 |
| Craig | 043 | Lodgenet | 072 |
| Crown | 143 043 | Loewe | 249 |
| Curtis Mathes | 143 101 004 001 | Logik | 072 |
| CXC | 043 | LXI | 249 164 160 081 052 015 007 |
| Daewoo | 143 127 125 114 103 076 043 027 016 004 | Magnovox | 249 205 223 222 216 210 164 160 127 094 064 063 060 059 022 004 003 001 218 219 |
| Daytron | 143 004 | Marantz | 249 164 001 |
| Dell | 036 | Matsui | 164 |
| Dwin | 177 | Memorex | 096 072 007 004 |
| Dynasty | 043 | Metz | 088 |
| Dynatech | 062 | MGA | 042 028 024 004 001 |
| Eiki | 187 | Minerva | 088 |
| Electrohome | 196 143 076 024 | Mitsubishi | 225 146 124 109 042 040 031 028 021 024 004 |
| Mitsubishi | 225 146 124 042 040 031 028 021 024 004 | Siemens | 088 |
| Motorola | 217 | Signature | 072 |
| MTC | 101 062 004 001 | Sony | 194 147 139 070 |
| Nad | 025 015 | Soundesign | 043 028 004 003 |
| NEC | 056 040 024 019 016 001 | SSS | 043 004 |
| Nikei | 043 | Supremacy | 002 |
| Olevia | 045 | Sylvania | 249 245 240 229 226 211 164 160 127 064 063 060 059 003 |
| Onking | 043 | Symphonic | 245 |
| Omwa | 043 | Tandy | 081 |
| Optonica | 081 019 | Tatung | 062 056 |
| Orion | 096 | Technics | 080 034 |
| Panasonic | 250 249 238 227 164 080 056 034 017 033 | Techwood | 004 |
| Philco | 164 064 063 060 059 056 024 004 003 001 | Teknika | 43 101 072 043 028 024 004 003 002 |
| Philips | 249 205 164 127 093 059 038 005 004 003 001 | Telefunken | 037 |
| Pioneer | 135 025 023 018 001 | Telerent | 072 |
| Portland | 143 004 | Tera | 172 |
| Proscan | 197 165 220 160 144 | Thomas | 245 |
| Proton | 173 171 143 131 058 004 | TMK | 004 |
| Quasar | 250 056 044 034 017 | Toshiba | 232 138 101 062 040 032 030 015 007 |
| Radio Shack | 143 127 043 019 004 | Totevision | 143 |
| RCA | 228 220 165 160 152 144 074 065 056 024 023 004 001 | Universal | 009 008 |
| Realistic | 047 043 019 007 | Video Concepts | 146 |
| Roctec | 186 | Vidikron | 184 |
| Runco | 182 168 073 | Vidtech | 004 |
| Sampo | 202 058 004 001 | Visio | 100 |
| Samsung | 251 248 209 160 143 127 105 101 089 026 004 | Wards | 249 164 143 074 072 064 063 060 034 028 019 009 008 004 |
| Sanyo | 082 057 053 020 007 | Westinghouse | 245 076 |
| Sceptre | 035 | Yamaha | 004 001 |
| Scott | 143 048 043 028 004 | York | 004 |
| Sears | 165 160 143 094 082 057 030 028 015 007 004 | Yupiteru | 043 |
| Sharp | 207 170 143 081 029 028 022 | Zenith | 103 095 073 072 |
Programmation du lecteur de DVD
Voici comment programmer la télécommande universelle sur votre lecteur de DVD :
- Mettez le lecteur de DVD sous tension.
- Appuyez simultanément sur les touches DVD et SEL-IN/OUT jusqu'à ce que la touche DVD brille en permanence.
- Dirigez la télécommande vers le lecteur de DVD et entrez le code à trois chiffres du constructeur de l'appareil, figurant dans la liste de codes. Si le code entre est correct, le lecteur de DVD s'estient. Passez à l'étape 4.
- Appuyez sur la touche SEL-IN/OUT. La touche DVD clignote alors trois fois et l'éclairage des touches s'étéint.
- Faites ensuite de nombreux tests de la télécommande et de son effet sur le lecteur de DVD. Si l'appareil ne fonctionne pas correctement, repêze les étapes 2 à 5.

| Lecteur de DVD | Codes | Lecteur de DVD | Codes |
| Apex Digital | 153 220 | Nad | 221 |
| Broksonic | 017 | Onkyo | 233 001 |
| Cyberhome | 165 020 004 | Panasonic | 234 228 167 152 149 |
| Daewoo | 193 171 | Philips | 237 166 168 016 007 |
| Denon | 240 226 | Pioneer | 230 229 189 015 |
| Emerson | 158 150 148 | Proceed | 219 |
| GE | 243 231 | Proscan | 231 229 |
| Go Video | 014 160 002 | RCA | 243 231 170 019 |
| Gradiente | 201 192 | Samsung | 248 161 013 005 |
| Harman Kardon | 225 218 173 | Sansui | 017 |
| Humax | 190 191 | Sanyo | 006 |
| JVC | 238 012 | Sharp | 222 202 |
| Kenwood | 224 | Sony | 244 232 204 169 003 009 |
| KLH | 223 | Sylvania | 172 150 |
| LG (GoldStar) | 249 247 241 235 | Thompson | 243 231 |
| Lite On | 021 | TIVO | 191 |
| Magnavox | 237 163 168 016 | Toshiba | 250 245 233 190 194 151 011 018 |
| Marantz | 168 | Yamaha | 246 234 |
| Memorex | 008 | Zenith | 247 241 235 014 |
| Mitsubishi | 227 |
Programmation du magnétoscope
La touche pour le magnétoscope est poursuive, à l'origine, de l'inscription « DVD » mais on peut aussi y dire par-dessus l'inscription supplémentaire « VCR ». Voici comment programmer la télécommande universelle sur votre lecteur de magnétoscope :
- Remettez le magnétoscope sous tension.
- Appuyez simultanément sur les touches DVD et SEL-IN/OUT jusqu'à ce que la touche DVD brille en permanence.
- Dirigez la télécommande vers le magnétoscope et entrez le code à trois chiffres du constructeur de l'appareil, figurant dans la liste de codes. Si le code entre est correct, le magnétoscope s'estint. Passez à l'étape 4.
- Appuyez sur la touche SEL-IN/OUT. La touche DVD clignote alors trois fois et l'éclairage des touches s'était.
- Puis faites de nombreux tests de la télécommande et de son effet sur le magnétoscope. Si l'appareil ne fonctionne pas correctement, repêze les étapes 2 à 5.

| Marque du magnétoscope | Codes | Marque du magnétoscope | Codes | Marque du magnétoscope | Codes |
| Aiwa | 461 334 | Harman Kardon | 346 312 | MTC | 404 334 |
| Akai | 446 425 424 346 343 316 | Hitachi | 460 343 334 326 320 | Multitech | 334 324 |
| Ampro | 372 | Instant Replay | 445 | NEC | 348 343 339 312 |
| Anam | 445 | JCL | 445 | Nordmende | 343 |
| Audio Dynamics | 343 339 312 | JCPenney | 406 404 445 320 | Optonica | 353 |
| Bloksonic | 429 337 | Jensen | 343 | Orion | 325 |
| Canon | 445 | JVC | 452 430 445 360 348 312 | Panasonic | 511 502 445 374 370 |
| Capehart | 408 | Kenwood | 348 347 334 314 | Pentax | 445 320 |
| Craig | 435 404 301 | LG (GoldStar) | 423 414 406 320 312 | Philco | 445 367 334 |
| Curtis Mathes | 445 341 | Lloyd | 334 | Philips | 406 445 |
| Daewoo | 417 412 411 408 310 307 305 | LXI | 406 334 309 301 | Pilot | 406 |
| Daytron | 408 | Magin | 404 | Pioneer | 348 321 320 |
| DBX | 343 339 312 | Magnavox | 464 456 445 367 334 | Portland | 408 |
| Dynatech | 353 334 | Marantz | 445 369 367 312 | Proscan | 505 504 |
| Electrohome | 359 | Marta | 406 | Pulsar | 372 |
| Marque du magnétoscope | Codes | Marque du magnétoscope | Codes | Marque du magnétoscope | Codes |
| Emerson | 467 431 429 | Matsui | 330 | Quartz | 341 302 |
| 417 406 445 | |||||
| 346 337 336 | |||||
| 334 325 306 | |||||
| Fisher | 310 309 308 | Mei | 445 | Quasar | 445 |
| 301 | |||||
| Funia | 334 | Memorex | 445 439 406 372 | Radio Shack | 423 |
| 353 334 314 310 | |||||
| 301 | |||||
| GE | 447 444 409 | MGA | 359 346 | RCA | 509 458 |
| 407 445 372 | 447 445 | ||||
| 444 409 | |||||
| 407 404 | |||||
| 341 334 | |||||
| 320 | |||||
| Go Video | 468 455 436 | Minolta | 501 | Realistic | 406 404 |
| 432 404 | 445 353 | ||||
| 334 314 | |||||
| 310 308 | |||||
| 301 | |||||
| RICO | 358 | Soundesign | 34 | Totevision | 406 404 |
| Runco | 448 | STS | 320 | Unitech | 404 |
| Salora | 314 | Sylvania | 520 519 518 445 | Vector Research | 312 |
| 367 359 334 | |||||
| Samsung | 508 468 425 | Symphonic | 334 | Victor | 348 |
| 412 409 407 | |||||
| 404 445 332 | |||||
| Sansui | 435 348 343 | Tandy | 334 310 | Video Concepts | 346 334 |
| 312 | |||||
| Sanyo | 404 314 310 | Tatung | 343 339 | Videosonic | 404 |
| 307 301 | |||||
| Scott | 431 429 412 | TEAC | 343 339 334 | Wards | 431 404 |
| 337 | 445 353 | ||||
| 324 320 | |||||
| 301 | |||||
| Sears | 412 406 320 | Technics | 445 370 | Yamaha | 343 339 |
| 314 310 309 | 334 312 | ||||
| 308 301 | |||||
| Sharp | 515 465 459 | Teknika | 406 445 334 319 | Zenith | 467 406 |
| 445 353 | 380 372 | ||||
| 358 356 | |||||
| 348 334 | |||||
| Shintom | 324 | Thomas | 334 | ||
| Signature | 334 | TMK | 306 | ||
| Sony | 512 506 454 | Toshiba | 521 431 413 412 | ||
| 453 445 378 | 382 359 347 320 | ||||
| 376 358 357 | |||||
| 356 353 352 | 308 | ||||
| 301 |
Programmation du recepteur cable
Voici comment programmer la télécommande universelle sur votre recepteur cable :
- Mettez le récepteur cable et le téléviseur en marche.
- Appuyez simultanément sur les touches CBL et SEL-IN/OUT jusqu'à ce que la touche CBL brille en permanence.
- Dirigez la télécommande vers le recepteur cable et entrez le code à trois chiffres du constructeur de l'appareil, figurant dans la liste de codes. Si le code entre est correct, le recepteur cable s'est. Passez a I'etape 4.
- Appuyez sur la touche SEL-IN/OUT. La touche CBL clignote alors trois fois et l'éclairage des touches s'eteint.
- Puis faites de nombreux tests de la télécommande et de son effet sur le récepteur cable. Si l'appareil ne fonctionne pas correctement, repéze les étapes 2 à 5.
| Constructeur du récepteur cable | Codes | Constructeur du récepteur cable | Codes | Constructeur du récepteur cable | Codes |
| ABC | 205 200103 039004 | Hitachi | 103 | Regency | 057 |
| Amricast | 099 | Jerrold | 231 201 200 101069 004 001 103 | Samsung | 030 |
| Antronit | 014 | Magnavox | 095 094 | ScientificAtlanta | 231 205 200 118 117110 042 037 034 011008 001 |
| Archer | 014 007 | Media One | 017 | Signal | 030 |
| Bell South | 099 | Memorex | 008 | Signature | 103 |
| Centurion | 092 | Mitsubishi | 102 | SL Marx | 030 |
| Century | 007 | M-Net | 204 | Sony | 214 213 212 211 |
| Citizen | 007 | Motorola | 001 002 | Starcom | 231 201 004 |
| Combano | 081 080 | Movie Time | 032 | Stargate | 201 104 030 |
| Consat | 001 | Novaplex | 092 | Tadiran | 030 |
| Comtronics | 030 | NSC | 038 | Time Warner | 231 |
| Digicable | 206 | Oak | 204 037 | Tocom | 056 039 003 |
| Eagle | 003 030020 | Panasonic | 047 044 | Toshiba | 008 |
| Eastern | 066 057 | Paragon | 008 | Unika | 014 007 |
| Echostar | 106 | Philips | 095 085 020 017 | United Cable | 004 |
| Electricord | 032 | Pioneer | 203 231 121 105034 103 | Universal | 035 032 014 007 |
| Gemini | 201 054 | Prucer | 078 047 | Viewstar | 089 087 086 020 018 |
| General Electric | 072 | PTS | 202 001 | Zenith | 093 060 008 |
| General Instrument | 104 001103 | Pulsar | 008 | ||
| GNC | 099 | RCA | 047 | ||
| Golden Channel | 030 | Reconton | 098 | ||
| Hamlin | 049 | Regal | 049 |
Commande du support X-arm™ par Home Automation (port RS232)
Le support X-arm™ peut aussi être commandé via les télécommandes ou consoles de commande Home-Automation, p. ex. des constructeurs Crestron ou AMX. Il est nécessaire de suivre les étapes suivantes pour parvenir à cela :
- Desserrez, à l'aide d'un tournevis cruciforme, les deux vis du couvercle dans le coin en bas à gauche de l'unité de commande X-arm™.

- Enlevez le couvercle pour avoir accès au port RS232.
- Telechargez le logiciel RS232 qui se trouve sur le site Web du constructeur d'Home Automation.
- Raccordez la commande Home Automation au port RS232 du support X-arm™ et faites passer son cable par l'ouverture située au dos du support.
- Revissez le couvercle du port.
- Suívez les instructions du constructeur.
Elimination des pannes
Si le support X-arm™ ne réagit plus aux ordres, il suffit généralement de reconfigurer le X-arm™.
Pour reconfigurer le X-arm™, procédez de la manière suivante :
- Mettez l'interrupteur à bascule « Power » hors tension (position 0 « OFF »), sur le côté du X-arm™.
- Attentez pendant 10 secondes et mettez l'interrupteur à bascule « Power » sous tension (position 1 « ON ») sur le côte du X-arm™ Si l'appareil continue à ne pas réagir, suive les instructions suivantes correspondant à l'affichage de l'écran LED de l'unité de commande.
Si « C1 », « C2 », « C3 » ou « C4 » est affché :
- Enfiche la broche en plastique fournie dans le renforcement de la seLECTION des tailles d'écran et appuyez sur le bouton jusqu'à ce que « t » s'affiche.
- Utilisez la télécommande pour déployer le support X-arm™. Appuyez pendant 3 secondes sur le bouton de réglage de la taille de l'écran qui se trouve sur l'unité de commande du X-arm™. Le support X-arm™ revient alors dans sa position d'origine.
- Debranché le support X-arm™ du secteur, puis rétabissé l'alimentation électrique.
Suite à cette réinitialisation, le support X-arm™ devrait à nouveau fonctionner.
Si « HC » s'affiche à l'écran :
- Debranchez le support X-arm™ de la source de courant. Attention : si l'alimentation électrique du support n'est pas interrompue, vous peuvent vous electrocuter ou courir un danger de mort.
-
Assurez-vous qu'aucun corps étranger ne se trouve dans les zones indiquées.
-
Recalibrez le support X-arm™ comme suit:
a. Eteignez l'interrupteur d'alimentation sur l'unité de commande du X-arm™.
b. Pendant la remise en marche du support sur l'unité de commande, maintainez enforcé le bouton pour le réglage de la baille de l'écran. Maintenze le bouton « Réglage » enforcé pendant 5 autres secondes jusqu'à ce que « CT » s'affiche.
c. Faites quelques pas en arrêté pendant que le support X-arm™ fait les mouvements pour le calibrage (entree/sortie, pivotement à gauche/droite, basculement vers le haut/bas).
d. Le calibrage du X-arm™ est terminé quand l'appareil revient à sa position murale d'origine.
- Testez si le support fonctionne à nouveau normalement. Si c n'est pas le cas, retirez le téléviseur du X-arm™ et passes aux alinéas 5 et 6.
- Assurez-vous que le télévisuer et le support X-arm™ ne sont pas bloqués par le mur ou un autre objet.
- Branchez le X-arm™, établissez l'alimentation électrique et essayez de déplacer le X-arm™ à l'aide de la télécommande.

Si «A1», «A2» ou «A3» est affché :
- Àpès avoir essayé de réajuster le X-arm™ comme décrit page 68, enchêz la broche en plastique fournie dans le renforcement de la sélection des taillés d'écran et appuyez sur le bouton jusqu'à ce que « t » s'affiche.
-
Utilisez la télécommande pour sorting le support X-arm™. Appuyez pendant 3 secondes sur le bouton de réglage de la taille de l'écran qui se trouve sur l'unité de commande du X-arm™. Le support X-arm™ revient alors dans sa position d'origine.
-
Débranchez le support X-arm™ du secteur, puis rétablissez l'alimentation électrique. Si le X-arm™ ne réagit pas, passes à l'alinéa 4.
- Débranchez le support X-arm™ de la source de courant. Attention: si l'alimentation électrique du support n'est pas interrompue, vous pouverezvousélectrocutter ou couir un danger de mort.
- Retirez le télévisuer du support X-armTM.
- Vérifiez que tous les raccords de cable sont bien établis dans la zone d'erreur affichée. Si le code d'erreur A1 s'affiche p. ex., tous les raccords entourés dans la zone A1 doivent être vérifiés.
- Rebranchez le support X-arm™ dans la prise. Mettez sous tension le support X-arm™ et essayez de déplacer le support à l'aide de la télécommande.

Si « H1 », « H2 » ou « H3 » est affiché :
- Àprouv avoir essayé de réajuster le X-arm™ comme cela est décrit à la page 68, débranchez le support X-arm™ de la source de courant.
Attention: si l'alimentation électrique du support n'est pas interrompue, vous pouvez vous electrocuter ou couir un danger de mort. - Retirez le téléviseur du support X-armTM.
- Vérifiez que tous les racCORDs de cable sont bien établis dans la zone d'erreur affchéée. Si le code d'erreur H1 s'affiche p. ex., tous les racCORDs entourés dans la zone H1 doivent être vérifiés.
- Rebranchez le support X-arm™ dans la prise. Mettez sous tension le support X-arm™ et essayez de déplacer le support à l'aide de la télécommande.

Entretien
Retirez au moins une fois par an le télévisueur du support X-arm™ pour vérifier qu'aucune piece mobile n'est génée ou bloquée.
Garantie
CLO garantit ses produits pendant un an à compter de la date d'achat par le client final, pour tous les définuts matériels et de fabrication et sous réserve d'une utilisation normale. Tous les droits de garantie durant la durée de garantie gratuite consistent en une réparation ou un remplacement du produit défectieux à condition que les produits concernés aient été renvoyés à CLO, aux frais du client. Une fois la durée de garantie expirée, toutes les réparations seront effectuées aux prix d'atelier fixes.
La garantie ne s'applique pas aux opérations de maintenance ou aux réparations du produit qui ne sont pas exécutées par des spécialistes de CLO et toutes les responsabilités ou obligations de la part de CLO s'éteignent dans ce cas. Le support X-arm™ n'est autorisé que pour les produits ayant un poids maximal de 81 kg et une largeur totale du téléviseur de 155 cm maximum.
Tout dommage causé par un emballage non conforme, un mauvais transport ou le non-respect des consignes d'installation ou des dimensions et charges maximes induées n'est pas couvert par la garantie. La presente garantie prévaut sur toutes les autres garanties légales ou expressement énoncées. Elle s'applique exclusivement au produit décrit dans le présence document.
Par consuient, CLO ne peut etre tenu responsable et aucun croit de garantie ne peut etre fait valoir si ces revindications concennt un autre produit que celui detcrit dans le present document. Lengagement de garantie expresse ou tacite est caduc si un produit protaged par un disposition de securite CLO est volé ou si des retards d'installation, des arrets d'exploitation ou d'autres événements surviennent.
Les dernières nouvelles et des informations supplémentaires sur le support X-arm™ se trouvent sur notre site Web www.closystems.com.
Copyright © 2006 CLO Systems. Tous droits réservés. R0
Notice Facile