MODE D'EMPLOI SN 81840-5L AEG
Réfrigérateur-congélateur intégrable
Mode d'emploi et instructions de montage
Lors de sa fabrication, cet apparéil a été construit selon des normes, directives et/ou décrets pour une utilisation sur le territoire français.
Pour la sécurité des biens et des personnes ainsi que pour le respect de l'environnement, vous nevez d'abord dire impératifement les préconisations suivantes avant toute utilisation de votre apparéil.

Pour éviter tout risque de dépréciation de l'appareil, transportez-le dans sa position d'utilisation muni de ses cales de transport (selon modele).
Au déballage de celui-ci, et pour empêcher des risques d'asphyxie et corporel, tenez les matérieliaux d'emballage hors de la portée des enfants.

Pour éviter tout risque (mobilier, immobilier, corporel,...), l'installation, les raccordements (eau, gaz, électricité, évacuation selon modèle), la mise en service et la maintenance de votre apparéil doivent être effectuels par un professionnel qualifié.

Votre apparéil a été concu pour être utilisé par desadultes. Il est destiné à un usage domestique normal. Ne l'utilisez pas à des fins commerciales ou industrielles ou pour d'autres buts que ceux pour lesquels il a été concu. Vous évitez ainsi des risques matériel et corporel.

Débranchez vous apparéil avant toute opération de nettoyage manuel. N'utilise que des produits du commerce non corrosifs ou non inflammables. Tout projection d'eau ou de vapeur est proscrite pour écarter le risque d'électrocution.

Si vous appeareil est équipé d'un éclairage, débranchez l'appareil avant de procédér au changement de l'ampoule (ou du néon, etc.) pour éviter de s'électrocuter.

Afin d'empêcher des risques d'explosion et d'incendie, ne placez pas de produits inflammables ou d'éléments imbibés de produits inflammables à l'intérieur, à proximé ou sur l'appareil.

Lors de la mise au rebut de votre apparéil, et pour écarter tout risque corporel, mettez hors d'usage ce qui pourrait désenter un danger : coupez le cable d'alimentation au ras de l' apparéil. Informez-vous auprès des services de votre commune des endroits autorisés pour la mise au rebut de l' apparéil.

Respectez la chaine de froid dés l'acquisition d'un alimenté jusqu'à sa consommation pour exclure le risque d'intoxication alimentaire.
Veuillez maintainant dire attentivement cette notice pour une utilisation optimale de votre apparéil.
Chère cliente, cher client
Nous vous remercions d'avoir besoin un de nos produits.
Tout au long de son utilisation, vous ferez l'expérience d'une combinaison parfaitement entre design fonctionnel et technologie d'avant-garde.
Sa fabrication est basée sur les standards les plus élevés de l'excellence. Notre apparéril a été ainsi conscience pour vous fournir les mêilles performances tout en respectant les aspects environnementaux et d'économie d'énergie.
Nous vous conseillons de dire attentivement cette notice d'utilisation et de la server à proximé pour une'utilisation optimale.
Pensez également à la transmettre au prochain utiliser.
Nous vous souhaitons beaucoup de plaisir avec votre apparéil A.E.G. Electrolux.
Les symboles suivants sont utilisés dans cette notice d'utilisation

Informations importantes concernant votre sécurité personnelle et consignes pour éviter tout endommagement de l'appareil

Informations generales et conseils

Information environnementale
Contenu
Advertisements important 53
Avant la mise en service 57
Eléments de commande et de contrôle 57
Mise en service et réglage de la température 58
Emplacement des denrées 59
Equipement interieur 61
Tabletes en verre 61
Recyclage de l'air 61
Porte intérieure régable 62
Régulation d'humidité 62
Boite variable 62
Compartment congélateur 63
Accumulateurs à froid 64
Calendrier de congélation 65
Dégivrage 65
Mettre l'appareil hors service 66
Nettoyage et entretien 66
Conseils d'économie d'énergie 67
Que faire si... 68
Remedes en cas de dérangements 68
Remplacement de la lampe 69
Installation 70
Retrait de la protection pour le transport. 70
Branchement electrique 70
Dimensions de la niche 71
Votreréfrigérateurabesoind'air 71
Changement du cote d'ouverture de la porte 72
Instructions pour l'encastrement 73
Characteristiques techniques 77
Service 78
Garantie 78

Avertissements importants
Ces avertissements ont ete reredigés pour voite sccurite et celde d'autrui Utilisation
- Cét apparéil a été créé pour être utilisé par des femmes. Veillez à ce que les enfants n'y touchent pas et ne l'utilisent pas comme un jouet.
- A la réception de l'appareil, déballez-le ou faites-le déballer immédiatement. Vérifez son aspect général. Faites les évientuelles réserves par écrit sur le bon de livraison dont vous garderez un exemplaire.
- Voiture apparéil est destiné à un usage domestique normal. Ne l'utilise pas à des fins commerciales ou industrielles ou pour d'autres buts que celui pour lequel il a été créé.
- Ne modifies pas ou n'essayez pas de modifier les caractéristiques de cet articleil. Cela représentait un danger pour vous.
- Ne consommez pas certains produits tels que les batonnets glacés des leur sortie de l'appareil ; la température très basse à laquelle ils se trouvent peut provoquer des brûlures.
- Les réfrigerateurs et / ou congélateurs menagers sont destinés uniquement à la conservation et/ou congélation des alimentés.
- Si la température ambiente est inférieure ou égale à 12^ , les performances du compartmentement congélateur ne seront plus assurées. Ceci est aussi valable lorsque l'interrupteur de température ambiente est basculé (si vous appeareil en est équipé).
- Un produit décongelé ne doit jamais être recongelé.
- Suivez les indications du fabricant pour la conservation et/ou congélation des aliments.
- Dans tous les apparêls de réfrigération et congélation certaines surfaces peuvent se couvrir de givre. Suivant le modele, ce givre peut être éliminé automatiquement (dégivrage automatique) ou bien manuelles.
- N'essayez jamais d'enlever le givre avec un objet métallique, vous risquériez d'endommager irrémédiablement l'évaporateur rendant du même coup l'appareil inutilisable. N'employez pour cela qu'une spatule en plastique.
- Ne décollez pas les bacs à glaçons avec un couteau ou tout autre objecteur tranchant.
- Ne placez ni bouteilles ni boîtes de boissons gazeuses dans le congélateur/compartment basse température, elles pourraient éclater.
- Débranchetzoudjours la prise de courant avant de proceder au nettoyage interieur et extérieur de l'appareil et au remplacement de la lampe d'éclairage (pour les modèles qui en sont équipés).
- Ne faites pas fonctionner d'appareils électriques (par exemple : sorbetières électriques, mélangeurs,...) à l'intérieur de l'appareil.
Stockage des denrées dans les réfrigérateurs et régles d'hygiène
La consommation croissant de plats préparés et d'autres alimentés fragiles, sensibles en particulier au non-respect de la chaine de froid (1), rend nécessaire une meilleure maitrise de la température de transport et de stockage de ces produits.
A la maison, le bon usage du réfrigérateur et le respect de règles rigoureuses contribuient de façon significative et efficace à l'amélioration de la conservation des alimentés.
Conservation des aliments/Maître des températures
- Stockez les alimentés selon leur nature dans la zone appropriée:
Zone tempérée: Boissons øeufs, beurre, saues industrielles et préparées, fromages à pâtes cuite, fruits et légumes frais.
Zone fraîche: Produits laitiers, desserts lactés, matières grasses, fromages frais.
Zone la plus froide: Viandes, volailles, poissons, charcuteries, plats préparé, salades composées, préparations et pâtisseries à base d'œufs ou de crème, pâtes fraîches, pâté à tarte, pizza/quiches, produits frais et fromages au lait cru, légumes prêts à l'empli vendus sous sachet plastique et plus généralement,tout produits frais dont la date limite de consommation (DLC) est associée à une temperature de conservation inférieure ou égale à +4°C.
L'observation des conseils suivantes est de nature à éviter la contamination croisée et àpévenir une mauvaise conservation des alimentés.
- Emaller systématiquement les produits pour éviter que les denrées ne se contaminent mutuelles.
- Se laver les mains avant de toucher les alimentes et plusieurs fois pendant la préparation du repas si celle-ci implique des manipulations successives de produits différents, et après, bien sur, au moment de passer à table comme les règles d'hygiene l'imposent.
- Ne pas réutiliser des utensiles ayant déjà servi (cuillère en bois, planche à découvert sans les avoir bien nettoyés au préalable).
- Attendre le refroidissement complet des préparations avant de les stocker (ex : soupe).
- Limiter le nombre d'ouvertures de la porte et, en tout etat de cause, ne pas laisser ouverte trop longtemps pour éviter une remontée en temperature du réfrigérateur.
- Disposer les alimentés de telle sorte que l'air puisse circuler librement tout autour.
Il convient de vérifier régulièrement que la température, notamment celle de la zone la plus froide, est correcte et le caschéant, d'ajuster le thermo-
stat en conséquence comme indiqué (page "UTILISATION").
La mesure de la tempéautre dans un zone (sur une clayette, par exemple) peut se faire au moyen d'un thermomètre place, dés le départ, dans un réci-pient rempli d'eau (verre). Pour avoir une représentation fidèle de la réalité, lisez la température sans manipulation des commandes ni ouverte de porte.
Respect des règles d'hygiène
- Nettoyez fréquement l'intérieur du réfrigerateur en utilisant un produit d'entretien deux sans effet oxydant sur les parties métalliques, puis rincer avec de l'eau additionnelle de jus de citron, de vinaigre blanc ou avec tout produit désinfectant adapté au réfrigerateur.
- Retirez les suremballages du commerce avant de placer les alimentés dans le réfrigerateur (par exemple suremballages des packs de yaourts).
- Couvrez les aliments.
- Consultez la notice d'utilisation de l'appareil en toutes circonstances et en particulier pour les conseils d'entretien.
Installation
- Assurez-vous, après avoir installé l'appareil, que celui-ci ne repose pas sur le cable d'alimentation.
Important: en cas de dommage du cable d'alimentation, il ne doit être renplaceé que par un professionnel qualifié.
- L'appareil se rechauffe sensiblement au niveau du condenseur et du compresseur. Veillez à ce que l'air circule librement tout autour de l'appareil. Une ventilation insuffisante entrainerait un mauvais fonctionnement et des dommages sur l'appareil.
- Suivez les instructions données pour l'installation.
- Àprous la livraison,attendez 2 heures avant de brancher l'appareil pour que le circuit frigorifique soit stabilisé.
- Cét apparéil est lourd. Faites attention lors de son déplacement.
Veuillez lore attentivement ces remarques avant d'installer et d'utiliser votre apparéil. Nous vous remercions de votre attention.
Protection de l'environnement
Tous les matériaux marqués par le symbole , >PE< (polyethylene), >PS< (mousse de polystyrene) sont recyclables. Déposez-les dans une déchetterie prévue à cet effet (renseignez-vous auprès des services de votre commune) pour qu'ils puissant être recupérés et recyclés.
Le symbole sur le produit ou son emballage indique que ce produit ne peut etre traite comme dechet menager. Il doit plutot etre remis au point de ramassage concerné, se chargeant du recyclage du materiel electrique et electronique. En vous assurant que ce produit est eliminé correctement,
vous favorisez la prévention des conséquences négatives pour l'environnement et la santé humaine qui, sinon, seraient le résultat d'un traitement inapproprié des déchets de ce produit. Pour obtenir plus de détails sur le recyclage de ce produit, veuilles prendre contact avec le bureau municipal de votre région, votre service d'élimination des déchets menagers ou le magasin où vous avez acheté le produit.
- Le système frigorifique et l'isolement de votre apparéil ne contiennent pas de C.F.C. contribuant ainsi à préserver l'environnement.
- Les C.F.C. sont remplacés par des hydrocarbures.
Le circuit réfrigérant de cet apparéil contient de l'isobutane (R 600 A): les interventions doivent être effectuées exclusivement par des personnes qualifiées ayant reçues une formation spécifique pour le R 600 A.
Ce gaz est néanmoins inflammable:
- Ne faites pas fonctionner d'appareils électriques (par exemple: sorbetières électriques, mélangeurs ou de sèche cheveux pour accélérer le dégivrage,...) à l'intérieur de votre apparéil.
2.Pendant le transport et l'installation de votre apparéil, assurez-vous qu'aucune partie du circuit n'est endommagée. Si tel est le cas:
- Evitez les flammes vives (briquet) et tout autre allumage (étincelles).
- Aérez la piece où se trouve l'appareil.
- Si vous vous débarrasssez de votre apparéil, voirlez à ne pas déteriorer les circuits frigorifiques.
- Cet apparéil est muni de fermetures magnétiques. S'il remplace un apparéil équipé d'une fermeture mécanique, nous vous conseillons de rendre celle-ci inutilisable avant de vous en débarrasser, ceci afin d'éviter aux enfants de s'enfermer dans l' apparéil et de mettre ainsi leur vie en danger. Veillez également à couper le cable d'alimentation électrique au ras de l' apparéil. Renseignez-vous auprès des services de votre commune pour la reprise de l' apparéil.
En cas d'anomalie de fonctionnement, reportez-vous à la rubrique "EN CAS D'ANOMALIE DE FONCTIONNEMENT". Si malgré toutes les vérifications, une intervention s'avère nécessaire, le vendeur de votre apparéil est le premier habilité à intervenir. A défaut (déménagement, fermeture du magasin où vous avez effectué l'achat...), consultez l'Assistance Consommateurs qui vous communiquera alors l'adresse d'un service après vente.
En cas d'intervention sur votre apparéil, exigez du service après vente les pièces de rechange certifiées Constructeur

Veuillez dire attentivement ces remarques avant d'installer et d'utiliser votre apparéil. Nous vous remercions de votre attention.
Avant la mise en service
- Nettoyer l'intérieur de l'appareil et tous les équipements avant la pre-mière mise en service (voir "Nettoyage et entretien").
Éléments de commande et de contrôle

B. Thermostat
D. Commande de congélation rapide
- Appuyez sur la commande (D) pour la congélation rapide des denrées fraîches. Levoyant (C) s'allume. Cette position met le compréseur en service continu, ce qui permet d'abaiser la température au niveau le plus bas dans des conditions normales d'utilisation.
- Pour remettre l'appareil en fonctionnement «conservation», appuyez de nouveau sur la commande (D). Le voyageant (C) s'était.
C. Voyant jaune de congélation rapide
Il s' allume si on appuyez sur la commande (D).
A. Levoyant de mise sous tension
Il s'allume dés que l'appareil est branché et quelque soit la position du thermostat.
Congélation rapide
Pour obtenir la congélation rapide, appuyer sur le bouton Normal/Super (D). Le voyant (C) s'allumera.
Le procédé de congélation rapide accélère la congélation des aliments frais et, en même temps, préserve les aliments déjà congélés d'une augmentation non-souhaiée de la température.
Si la fonction n'est pas arrêtée manuellement, l'appareil interrompra cette fonction après 52 heures. La lumière jaune s'éteindra.
Cette fonction peut être interrompue manuellement à n'importe quel moment en appuyant à nouveau sur le bouton. La lumière jaune s'teindra.
Mise en service et réglage de la température
- Brancher la fiche du cable d'alimentation dans la prise à contacts de sécurité. L'éclairage inférieur est branché à l'ouverture de la porte du réfrigerateur. Le bouton rotatif pour la sélection de la temperature se trouve dans bandeau de commande.
Position «O» signifie: arrêt.
Position «1» signifie: température la plus élevé, réglage le plus chaud.
Position «6» (butée) signifie: température la plus BASSE, réglage le plus froid. L'exacte position doit être rpérée en considérant que la température interne dépend des facteurs suivants:
- quantité et température d'aliments conservés ;
- fréquence d'ouverture des portes;
Les températures dans le volume réfrigérateur et dans le compartment congestion ne peuvent pas été régées séparément.
Si vous nevez faire congelez des denrées alimentaires rapidement, vous pouvez régler sur la position «6». Surveillance que la température dans le volume réfrigerateur ne basse pas en dessous de 0^ et ramenez le thermostat en temps utile sur la position «3» ou «4».
Important!
Une température ambiente elevée (p. ex. lors de chaudes jours d'été) et un réglage sur une température très froide (position "5" à "6") peuvent conduir au fonctionnement permanent du compresseur. Dans ce cas,mettre le régulateur de température sur un réglage plus chaud (position "3" à "4"). Pour ce réglage,le compresseur est régulé et le processus de dégivrage a de nouveau lieu automatique.
Indicateur de température : Pour vous aider au bon réglage de votre apparéil nous avons équipé votre réfrigerateur d'un indicateur de température, celui-ci étant placé dans la zone la plus froide.
Pour la bonne conservation des denrées dans votre réfrigérateur et notamment dans la zone la plus froide, voirlez à ce que dans l'indicateur de température "OK" apparaisse.
Si "OK" n'apparait pas, la température moyenne de la zone est trop élevée. Reglez le thermostat sur une position supérieure.


L'indicateur "OK" apparaissant en noir, celui-ci est difficilement visible si l'indicateur de température est mal éclairé. La bonne lecture de celui-ci est facilité s'il est correctement éclairé.
A chaque modification du thermostat, attendez la stabilisation de la tempé rature à l'intérieur de l'appareil avant de procédé si nécessaire, à un nouveau réglage. Ne modifiez la position du thermostat que progressivement et attendez au moins 12 heures avant de procédé à une nouvelle vérification et à une éventuelle modification.
NOTA : ÀpRES chargement de l'appareil de denrées fraîches ou après ouvertures répetées (ou ouverture prolongée) de la porte il est normal que l'inscription "OK" n'apparaisse pas dans l'indicateur de température; attendez au moins 12h avant de réajuster le thermostat.
Si l'évaporateur du compartment réfrigerateur (paroi du fond de l'appareil) se couvre anormalement de givre (appareil trop charge, température ambiente élevée, thermostat sur une position élevée, ouvertures fréquentes de la porte), ramenez progressivement la manette du thermostat sur une position inférieure, jusqu'à atteir de nouveau des périodes d'arrêt du compréseur. En effet, le dégivrage automatique de compartment réfrigerateur ne s'effectue que si le compréseur s'arrête par intermittence.
Emplacement des denrées
Zone la plus froide
Vous obtiendrez une(Meilleure conservation de vos alimentés si vous les placez dans la zone de froid convenant le mieux à leur nature.
La zone la plus froide du compartment réfrigérateur se situe au niveau de la clayette inférieure en verre.
Le symbole ci-contre indique l'emplacement de la zone la plus froide de votre régrigrateur.
L'espace situé directement au dessus de la clayette en verre du bac à légumes est la zone la plus froide du compartment réfrigérateur
Dans un réfrigérateur la tempête n'est pas uniforme (à l'exception des apparciels à froid ventilé ou brasse).
Chaque type d'aliment a une température de conservation ideale et donc un emplacement précis à respecter.
En réglant correctement votre réfrigerateur, vous obtienda des zones correspondant à chaque type d'aliment (voir chapitre "AVERTISSEMENTS IMPORTANTS").
| Emplacements | Produits |
| Compartment congélateur | Bacs à gaçons, produits surgelés et congelés, desserts glacés, produits frais à congeler |
| Compartment réfrigérateur
Clayettes supérieure et centrales | Aliments cuits, entremets et toutes denrées à consommer assez rapidement. Fromages frais, charcuterie. |
| Clayette inférieure en verre | Viandes, volalies, gibiers et poissons crus.
Temps maximum de conservation: 1 à 2 jours. |
| Bac(s) à légumes | Légumes frais, fruits. |
| Contre porte | Les balconnets receivefront, en bas, les bouteil-les, puis en remontant les produits de faible volume et d'emploi courant (crème, yaourts...). Le beurre, les fromages cuits et les oeufs trouveront leur place dans les casiers ou étagères appropriés. |
Remarques : Les bananes, les pommes de terre, l'ail et les oignons ne se conservent pas au réfrigérateur. Les fromages fermentés ne seront mis au réfrigérateur que si l'on désire arrêter leur maturation. Ils devront alors être soigneusement enveloppés.
Compartment réfrigérateur
Nos consels
-
N'entreposez que des alimentés frais, nettoyés et enfermés dans des emballages ou recipients appropriés de qualité alimentaire (il en existe de nombreux modèles dans le commerce).
-
Respectez les conseils pour le stockage des denrées, et les règes d'hygiène alimentaire disponibles au paragraphe " Avertissements importants":
- Afin de permettre une circulation d'air correcte, ne couvrez pas les clayettes de papier ou de feuilles en plastique.
Equipement interieur
Tabletes en verre
L'appareil est équipé soit de tablettes de rangement en verre de rangement.
La surface de rangement en verre audessus du compartment à fruits et legumes doit toujours rester dans cette position, afin que les fruits et legumes restent frais plus longtemps.

Les autres tablettes de rangement sont régibles en hauteur:
Pour ce faire, tirer la tablette en avant jusqu'à pouvoir la basculer vers le haut ou le bas et la retirer.
Pour la mise en place à une autre hauteur, procéder dans l'ordre inverse.
Pour conserver des produits de grande hauteur:
Sortir la moitié avant de la tablette de rangement en verre Vario en deux parties et la glisser à un autre niveau. Ceci permet de gagner la place nécessaire pour placer des produits hauts sur la tablette de rangement qui se trouve en dessous.
Porte interieure réglabre
Si nécessaire, lesrangements de la portepeuvent etre retirés vers le haut et places dans d'autres logements.
Régulation d'humidité
Une grille d'aération régliable se trou-ve au-dessus du compartment à fruits et légumes.
L'ouverture des fentes d'aération peut être régée en continu à l'aide d'une couisse.
Coulisse à droite: fentes d'áération ouvertes.

Coulisse à gauche: fentes d'áération fermées.
Lorsque les fentes d'áération sont ouvertes, il s'établit une teneur en humidité moins élevé dans le compartment à fruits et légumes du fait d'une circulation accrue de l'air.
Lorsque les fentes d'aération sont fermées, l'humidité naturelle des denrées alimentaires dans le compartment à fruits et légumes se conserve plus longtemps.
Boite variable
Certains modèles sont écipés d'une boîte variable fixée sous un compartiment de porte et pouvant être déplacée lateralement.
Cette boîte peut être rangée en dessous de chaque compartment de porte.
Pour la changer de place, soulevez le compartment de rangement avec la boîte vers le haut hors des logements dans la porte et enlevez l'étrier de retenue hors du guide en dessous du compartment de rangement.


Pour le placement dans un autre compartment de rangement, veuillez procéder en ordre inverse.
Votre appeareil porte le sigle normalisé 4 étoiles c'est à dire qu'il vous permet de congefer vous-même des denrées fraîches et des plats cuisés.
Congeler un aliment, c'est abaisser le plus rapidement possible sa températe « à cœur » à -18°C.
Toutefois, si vous désirez congeler plus rapidement, vous pouvez régler le thermostat sur une position plus élevée en veillant à ce que la température ne descendé pas en dessous de 0^ dans le compartment réfrigérateur.
A la mise en service de l'appareil ou après un dégivrage, nous vous conseillons d'attendre 2 heures avant d'introduire les produits frais dans le compartment congestionelateur.
Le pouvoir de congélation est indiqué sur la plaque signalétique de votre apparéil.
Pour congefer dans les valeurs conditions:
- Respectez le pouvoir de conglération de votre apparéil, c'est-à-dire la quantité maximale de denrées fraîches que vous pouvezCongeler par 24 heures.
Evitez de partager à la fabrication des glaçons pendant le temps de conge lation (24 heures) et de placer les produits frais en contact avec les produits déjà congelés.
Conservation des produits surgelés et congelés du commerce
Pour une bonne conservation des produits surgelés et congelés, la température à l'intérieur du compartment connélateur doit être maintainue égale ou inférieure à -18°C.
Assurez-vous que l'emballage des alimentents est intact et qu'il ne présente aucune trace d'humidité, signe d'un début de décongélation.
Prévoyez un temps réduit au minimum pour leur transport du magasin d'alimentation à votre domicile. Utilisez des sacs isothermes (dans la mesure du possible).
Repérez la date de fabrication du produit, et respectez la durée de conservation indiquée par le fabricant.
Evitez d'ouvrir trop souvent la porte du compartment congélateur et ne la laissez ouverte que le temps nécessaire. Une augmentation de la température peut réduire sensiblement la durée de conservation des alimentés.

Laissez refroidir les alimentents chauds avant de les introduire dans le congela-teur.
Ne consommez pas certains produits tels que les batonnets glacés des leur sortie du compartment congestionelur, la température très basse à laquelle ils se trouvent peut provoquer des brûlures. Un produit décongelé doit être consommé dans le plus bref lié et ne jamais être recongelé, sauf s'il a été cuit entre-temps.
Fabrication des glaçons
La fabrication des glaçons s'effectue dans le compartment connélateur.
Remplissez les bacs jusqu'aux trois quarts de leur hauteur, de manière à permettre l'expansion de la glace.
Si vous eau est particulièrement riches en sels mineraux (calcaire notamment), replissiez vos bacs avec de l'eau minérale non gazeuse.
Les bacs en matière plastique vous assurent un démoulage plus facile. Si toute fois vous désirez obtenir des glaçons plus rapidement, nous vous conseillons d'utiliser des bacs métalliques que vous trouvrez dans le commerce.
Démoulage des glaçons
Le démoulage des bacs en matière plastique s'obtient par simple torsion.
Si vous utilisez des bacs métalliques, passez-les sous l'eau froide pour en facilititer le démoulage.
Ne décollez jamais les bacs à glaçons avec un couteau ou tout autre objet tranchant, vous risquieriez de déterminer irrémédiablement l'évaporateur.
Accumulaterus à froid
Dans l'appoint se trouve deux accumulatorus à froid.
En cas de panne de courant ou de défaut de l'appareil, les accumulateurs à froid prolongent de plusieurs heures le salarié avant échauffement excessif des alimentés congelés. Ces accumulateurs à froid devant être placés en haut sur les alimentés situés dans le tiroir supérieur. Vous pouvez également employer les accumulateurs à froid de manière temporaire pour un sac isotherme.
Calendrier de congélation
- Les symboles qui figurent sur les tiroirs correspondant à différents types de produits congelés.
- Les chiffres indiquent la durée de conservation en mois du type correspondant de produit. La durée de conservation supérieure ou inférieur est valable en fonction de la qualité des alimentés et du traitement qu'ils ont subi avant la congélation. La valeur inférieure s'applique toujours aux alimentés contenant un fort pourcentage deGRAisse.

Dégivrage
Réfrigérateur
Cette opération se produit pendant chaque période d'arrêt du compresseur. L'eau de dégivrage aussi bien du congélateur que du réfrigérateur est evacuée dans un bac situé sur la partie arrrière de l'appareil, au-dessus du compresseur, où elle s'évapore sans intervention de votre part.
N'oubliez pas de nettoyer périodiquement l'orifice d'écoulement de l'eau de dégivrage se trouvant au centre de la gouttière du compartment réfrigérateur pour éviter le débordement de l'eau.
Utilizez à cet effet la barrette se trouvant dans l'orifice.
Congélateur
Le dégivrage du congélateur a lieu automatiquement
Mettre l'appareil hors service
Pourmettrele refroidissement hors service,mettrele regulateur de tempere rature en position "0".
Si l'appareil doit rester longtemps hors service :
- Enlever les produits à réfrigerer ainsi que les bacs à gaçons.
- Mettre l'appareil hors service, à cet effet tourner le régulateur de température sur "0".
- Débrancher la fiche secteur ou déconnecter ou dévisser lefuse.
- Dégivrer le congélateur et le nettoyer soigneusement (voir "Nettoyage et entretien").
Nettoyage et entretien
Pour des raisons d'hygiene, il est nécessaire de nettoyer régulièreMENT l'intérieur de l'appareil, y compris les équipements interieurs.

Avertissement !
- Pendant le nettoyage, l'appareil ne peut pas etre raccordé au secteur. Danger d'électrocution! Avant tous travaux de nettoyage,mettre l'appareil hors service et tirer la fiche de la prise ou couper le fusible ou le tirer.
- Ne jamais nettoyer l'appareil à l'aide d'appareils de nettoyage à l'aide de vapeur sous pression. L'humidité pourrait pensérer dans des éléments électriques. Danger d'électrocution! La vapeur chaude peut endommager les parties en matière plastique.
- L'appareil doit être sec avant la remise en marche.
Attention!
- Les huiles essentielles et les solvants organiques peuvent agresser les pièces en plastique, par ex.
- le jus de citron ou les pelures d'orange ;
- l'acide butyrique ;
- les agents de nettoyage contenant de l'acide acétique.
Ne pas amener de telles substances en contact avec les partieess de l'appareil.
-
Ne pas utiliser de produits de nettoyage abrasifs..
-
Enlever les alimentes refroidis et surgelés. Envelopper les alimentes surge-lés dans plusieurs couches de papier journal. Entreposer le tout couvert dans un endroit frais.
-
Dégivrer le compartment surgélateur avant le nettoyage (voir section "Dégivrage").
-
Mettre l'appareil hors service et tirer le cordon d'alimentation de laprise ou débrancher/dévisser le fusible.
- Nettoyer l'appareil ainsi que les parties interieures à l'aide d'un chiffon et d'eau tiède. Ajouter évientuèlement quelques gouttes d'un produit de nettoyage de la vaissele du commerce.
- Essuyer ensuite avec de l'eau pure et secher.

Les dépôts de poussière sur le condenseur augmentent la consommation d'énergie. Par conséquent, nettoyer prudèment le condenseur à l'arrêté de l'appareil avec unerosse souple ou un aspirateur une fois par an.
- Contrôler le trou d'écoulement de l'eau de dégivrage dans la paroi arrrière du compartment frigo. S'il est bouché, vous pouvez déboucher le trou d'écoulement de l'eau de dégivrage à l'aide de bouchon vert se trouvant dans le sachet qui fait partie de la livraison.kontrollieren.
- Lorsque tout est sec, replacer les alimentes et remettre l'appareil en service.


Conseils d'économie d'énergie
- Ne pas installer l'appareil à proximé de cusinières, radiateurs ou autres sources de chaleur. En cas de température ambiente élevée, le comprisseur tourne plus souvent et plus longtemps.
- Veiller à une ventilation suffisante du socle de l'appareil. Ne jamais recouvrir les ouvertures de ventilation.
- Ne pas placer d'aliments chauds dans l'appareil. Laisser d'abord refroidir les alimentents chauds.
- Ne pas ouvrir la porte plus longtemps que nécessaire.
- Ne pas régler la température plus bas que nécessaire.
- Placer les alimentés surgelés dans le compartmentement frigo pour les dégeler. Le froid des alimentés surgelés est ainsi utilisé pour le refroi-dissement du compartmentement frigo.
- Tenez bien propos le condenseur dégageant de la chaleur, la grille métallique sur la paroi arrêté de votre apparéil.
Que faire si …
Remèdes en cas de dérangements
Le dérangement n'est peut-être qu'un petit défaut auquel vous pouvez remédier vous-même à l'aide des indications suivantes. N'effectuez pas de travaux vous-même si les informations suivantes ne vous aient pas de manière concrète.

Avertissement! Les réparations à l'appareil de congélation peuvent uniquement être effectuées par des spécialistes. Des réparations incor-rectes peuvent être source de dangers graves pour l'utiliser. En cas de réparation, adressez-vous à votre distributeur ou à notre service après-vente.
| Dérangement | Cause possible | Remède |
| L'appareil ne fonctionne pas. | L'appareil n'est pas mis en service. | Mettre l'appareil en service. |
| La fiche n'est pas branchée ou ne donne pas de contact. | Brancher la fiche secteur. |
| Le fusible a déclenché ou est défectueux. | Vérifier le fusible, replacer le cas échéant. |
| La prise de courant est défectueuse. | Les dérangements du réseau électrique doivent être sup-primés par votre électricien. |
| L'appareil refroidit trop fort-ement. | La température est réglée trop bas. | Mettre temporairement le régulateur de température sur une température plus élevé. |
| Les alimentents sont trop chauds. | La température est mal réglée. | Veuillez consulter la section "Mise en service". |
| La porte est restée ouverte trop longtemps. | Ne pas ouvoir la porte plus longtemps que nécessaire. |
| De trop grandes quantités d'aliments ont été sées au cours des dernières 24 heures. | Mettre temporairement le régulateur de température sur un réglage plus froid. |
| L'appareil se trouve à côté d'une source de chaleur. | Veuillez consulter la section "Lieu d'installation". |
| L'éclairage interieur ne pasfonctionne | La lampe est défectueuse. | Veuillez consulter la section "Changer la lampe". |
| Formation importante de givre dans l'appareil, évientuellesment aussi au joint de porte. | Le joint de porte n'est pas étanche (àpres changement du sens d'ouverture de la porte). | A l'aide d'un sèche-cheveux, réchauffer avec pré-caution le joint de porte aux endroits des fuites (pas plus chaud qu'en. 50 °C). Remètre en même temps le joint de porte en forme à la main de manière à ce qu'il soit de nouveau en position correcte. |
| Bruits anormaux. | L'appareil n'est pas d'aplomb. | Ajuster les pieds régibles. |
| L'appareil est en contact avec la paroi ou d'autres objets. | Déplacer légèrement l'appareil. |
| Une partie de l'appareil, p. ex. un tuyau, est en contact avec une autre partie de l'appareil ou la paroi à l'arrière de l'ap-pareil | Le cas échéant, plier cette partie avec précaution pour l'éloi-gner. |
| Après modification du réglage de température, le comprés-seur ne démarre pas immédia-tement. | Ceci est normal, il ne s'agit pas d'un dérangement. | Le comprésseur se met en marche de lui même au bout d'un certain temps. |
| Il y a de l'eau au fond du com-partiment surgélateur ou sur les surfaces de rangement. | Le trou d'écoulement de l'eau de dégivrage est bou-ché. | Voir section "Nettoyage et Entretien". |
Remplacement de la lampe

Attention! Danger d'électrocution! Avant de replacer la lampe, débrancher l'appareil et tirer la fiche de la prise de courant ou débran-cher ou retarder le fusible. Données de la lampe: 220-240 V
- Débranchez l'appareil.
- Appuyez sur l'enclichetage arrêté et en même temps retirez le couvercle dans le sens de la flèche.
- Remplacez l'ampoule par un modelesemblable (la puissancemaximale est indiquee sur le diffuseur).
- Replacez le cache.
Rebranchez l'appareil.

Installation
Retrait de la protection pour le transport
L'appareil et certaines parties de l'équipement interieur sont protégés pour le transport.
Retirez toutes les bandes autocollantes et cales à l'intérieur de l'appareil.
Emplacement
Placez de préférence votre apparéil loin d'une source de chaleur (chauffage, ciisson ou rayons solaires trop intensés).
Veillez à ce que l'air circule librement tout autour de l'appareil (voir instructions pour l'encastrement).
Pour le bon fonctionnement de votre apparéil, la température ambiente du local doit être comprise entre +10^ et +38^ . Au-delà de ces températures, ses performances peuvent s'en couver diminuées.

Important:
L'appareil doit pouvoir être débranché à tout moment; il est donc nécessaire que la prise murale reste accessible une fois que l'installation est terminée.
Branchement électrique
Votre apparéil ne peut être branché qu'en 230 V monophasé.
Vérifiez que le compteur électrique peut supporter l'intensité absorbée par votre apparéil compte tenu des autres apparéils déjà branchés.
Calibre des fusibles en ligne (un par phase) 10 A en 230V .
Important
L'installation doit être réalisée conformément aux règes de l'art, aux prescriptions de la norme NF.C 15.100 et aux prescriptions de l'E.D.F.
Utilisez un socle de prise de courant importante une borne de mise à la terre, qui doit être obligatoirement raccordée conformément à la norme NF.C.15.100 et aux prescriptions de l'E.D.F ; cette prise de courant doit impératifement être accessible.
Si le cable d'alimentation est endommagé, il doit être remplaced par un cable d'alimentation certifié.
Cette opération ne peut être effectué que par une personne habitée, par votre vendeur, ou par le fabricant.
L'appareil ne doit pas etre raccordé à l'aide d'un prolongateur ou d'une pri-se multiple.( risque d'incendie).
RISQUE EVérifiez que la prise de terre est conforme aux règlements en vigueur.
Notre responsabilité ne saurait être engagée en cas d'accidents ou d'in-cidents provoqués par une mise à la terre inexistante ou défectueuse.
Instructions pour l'encastrement
Dimensions de la niche
Hauteur 1780 mm
Profondeur 550 mm
Largeur 560 mm

Votre appeil a besoin d'air
Pour des raisons de sécurité, la ventilation doit être prévue comme indiqué ci-contre.
Attention: veillez à ne pas obstruer les ouvertures de ventilation.
Il est également nécessaire que la niche soit équipée d'un conduit d'aération ayant les mesures suivantes:
profondeur 50 mm
largeur 540 mm

Changement du (:é d'ouverture de la porte
La butée de porte peut être déplaced de la droite (position d'origine) à la gauche si le lieu d'installation le nécessite.

Attention! Pendant le déplacement de la butée de porte, l'appareil ne doit pas être branché sur le secteur. Débrancher préalablement la fiche secteur.
- Dévissez le pivot supérieur et enlevez le entreose.
- Retirez la porte supérieure et le pivot de la charnière supérieure.
- Retirez le cache charnière (A). Dévissez les pivots (B) et les entreprises (C). Installez le cache charnière (A).
- Dévissez la charnière inférieure et remontez-la sur le côte opposé.
- Remontez la porte inférieure.
- Remontez les pivots (B) et les entreprises (C) sur la charnière du milieu du côte opposé.
- Remontez la porte supérieure et revissez le pivot de la charnière.
La réversibilité des portes une fois effectue, contrôle que les joints magnétiques adhérent à la carrosserie. Si la température à l'intérieur de la piece est trop BASSE (en hiver, par exemple), il se peut que les joints n'adherent pas parfaitement. Dans ce cas, si on ne veut pas attendre que les joints reconnent leurs dimensions naturelles après un certain temps, on pourra accélérer ce processus en chauffant la partie interessée à l'aide d'un séche-cheveux.



Instructions pour l'encastrement
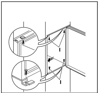
Coller le cache-jointure sur l'appareil comme I'indique le dessin.

Veillez à prendre une distance de 44 mm dans le bas de l'appareil entre le bord de l'appareil et la paroi du meuble.
Le cache charnière inférieur qui se trouve dans le sac d'accessoires sert à garantir la position exacte du meuble et de l'appareil.
Veiliez également à ce que l'appareil n'écrase pas le cable d'alimentation.
Fixez l'appareil à l'aide des 4 vis livrées dans le kit.


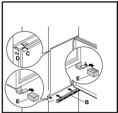
Sur le cache plastique (E), qui sert à recouvrir la charnière et le pivot, retirez la piece indiquée, comme illustré.
Cette opération est facilitée par la presence d'une rainure, à l'intérieur du cache charnière, qui facilitite le retrait de cette piece.
"Retirez la piece marquee d'un DX, si le pivot est inséré dans la charnière droite, ou la piece marquee d'un SX si le pivot est inséré dans la charnière gauche."
Appliquez les cahes (C-D) sur les ailettes des butées et dans les trous des charnières.
Applique la grille d'airation (B) et les couvres- charnière (E).


Séparer les pieces Ha, Hb, Hc, Hd comme l'indique de la figure.

Poser la glissiere (Ha) sur la partie interne de la porte du meuble dessus et dessous comme l'indique la figure et marquer la position des trous externes. Avec avoir pratique les trous, fixer la glissiere avec les vis fournies.

Fixer par encliquetage le couvercle (Hc) sur la glissiere (Ha).

Ouvrir la porte de l'appareil et celle du meuble à 90^ environ. Introduire I'équerre (Hb) dans la glissière (Ha). Tenir ensemble la porte de l'appareil et celle du meuble et marquer la position des trous comme l'indique la figure.

Enlever les équerres et marquer à 8 mm du bord extérieur de la porte avec le clou (K).

Pour effectuer l'eventuel alignement de la porte du meuble, utiliser le jeu des trous ovales.
A la fin des opérations, il est nécessaire de contrôler que la porte de l'appareil se ferme parfaitement.

Fixer par encliquetage le couvercle (Hd) sur la glissiere (Hb).

En cas de fixation laterale de l'appareil au meuble colonne, desserrez les vis des équerres (E) et déplace ces-ci d'après la Fig.. Fixez a nouveau.

Characteristiques techniques
| Dimensions d'encatrement |
| Hauteur mm | 1780 |
| Largeur mm | 560 |
| Profondeur mm | 550 |
| Pouvoir de congélation kg/24h | 4 |
| Autonomie, en cas de panne, heures * | 21 |
CE*Selon la Norme NF EN 28187
Cet apparéil est conforme aux Directives Communautaires suivantes:
-89/336 CEE 03/05/89 (Compatibilité Electromagnétique) et modifications successives.
Service
au chapitre "En cas d'anomalie de fonctionnement" sont rassemblées les sources d'anomalie les plus fréquentes, auxquelles vous pouvez remédier vous-même. Si malgré toutes les vérifications une intervention s'avéré nécessaire, le vendeur de votre apparéil est le premier habilité à intervenir. A défaut (déménagement de votre part, femeture du magasin où vous avez effectué l'achat...), veillez consulter le Centre Contact Consommateurs qui vous communiquera alors l'adresse d'un service après vente.
Signalez au service après-vente le numero PNC et le S-No (numéro de série), que vous trouvrez sur la plaque signalétique située sur votre apparéil.
Afin de répondre rapidement, nous vous recommendons de l'inscrite à cet endroit:
PNC:
S-No :
Garantie
Conformément à la Législation en vigueur,Vote Vendeur est tenu,lors de l'acte d'achat de votre apparéil,de vous communiquer par écrit les conditions de garantie et sa mise en œuvre appliquées sur celui-ci.
Sous son entière initiative et responsabilité, votre Vendeur répondra à toutes vos questions concernant l'achat de votre apparéil et les garanties qui y sont attachées.
N'hésitez pas à le contacter.
SAS au capital de 67 500 000 €
552 042 285 RCS SENLIS
Electrolux Home Products France S.A.S. au capital de 67 500 000 € - 552 042 285 RCS SENLIS
AEG Electrolux
Pour tener nos engagements, nous écoutons les Consommateurs
Info Conso Electrolux est le lien privilégie entre la marque et ses Consommateurs. Il assure en permanence une double mission: satisfaire au mistroux vos exigences et tirer parti de cette proximité pour améliorer sans cette les produits que nous vous proposons.
AVANT L'ACHAT
Toute une equipe répond avec clarté et précision à vos sollicitations concernant l'eventail de nos gamas de produits et vous apportes des infos pour vous aider dans votrechioix en fonction de vos propres besoin.
APRÉS L'ACHAT
Exprimez-vous sur la perception que vous avez de nos produits et votre satisfaction à l'usage. Mais interrogez aussi nos spécialistes sur l'utilisation et l'entretien de vos apparciels. C'est alors que notre mission prend tout son sens. Ecouter, comprendre, agir: trois temps essentiels pour tener l'engagement de la marque dans le plus grand respect du Consommateur.
A bientôt!
Dans le souci d'une amélioration constante de nos produits, nous nous réservons le droit d'apporter à leurs caractéristiques toutes modifications liées à l'évolution technique (décret du 24.03.78).


BP 50142 - 60307 SENLIS CEDEX
Tél.: 08 90 71 03 44 (0,15 € TTC/mn)
Fax:0344622154
E-MAIL:info.conso@electrolux.fr
Permanence téléphonique du lundi au vendredi de 8h30 à 18h00
Pour toute question technique :
Centre Contact Consommateurs
BP 20139 - 60307 SENLIS CEDEX
Tél.: 08 92 68 24 33 (0,34 ∈ TTC/mn)
E-MAIL : ehp.consommatee@electrolux.fr
Permanence téléphonique du lundi au vendredi
AEG Hausgeräte GmbH
Postfach 1036
D-90327 Nurnberg
Sous réserve de modifications