O CAR V1.2 - Autoradio OXYGEN - Notice d'utilisation et mode d'emploi gratuit
Retrouvez gratuitement la notice de l'appareil O CAR V1.2 OXYGEN au format PDF.
| Type d'appareil | Amplificateur audio pour voiture |
| Contrôle | Télécommande intégrée |
| Fonctions de réglage | Graves, aigus, balance, fader |
| Affichage | Écran numérique |
| Connectivité | Non précisé |
| Alimentation | 12 V DC (courant continu) |
| Dimensions | Compact, adapté à l'installation dans un véhicule |
| Matériau du boîtier | Plastique et métal |
| Installation | Montage sur support pivotant |
| Poids | Non précisé |
| Compatibilité | Appareils audio de voiture standards |
| Fonctions supplémentaires | Menu, réglage du son |
| Marque | Non précisé |
| Modèle | Non précisé |
| Garantie | Non précisé |
FOIRE AUX QUESTIONS - O CAR V1.2 OXYGEN
Questions des utilisateurs sur O CAR V1.2 OXYGEN
0 question sur cet appareil. Repondez a celles que vous connaissez ou posez la votre.
Poser une nouvelle question sur cet appareil
Téléchargez la notice de votre Autoradio au format PDF gratuitement ! Retrouvez votre notice O CAR V1.2 - OXYGEN et reprennez votre appareil électronique en main. Sur cette page sont publiés tous les documents nécessaires à l'utilisation de votre appareil O CAR V1.2 de la marque OXYGEN.
MODE D'EMPLOI O CAR V1.2 OXYGEN
Nous vous félicitons de votre acquisition et vous remercions de votre confiance. Voués est en possession d'un équipement de qualité et de haute technologie.
Avec O Car, vous profitez d'un large évventail de musiques, qu'elles soient stockées dans votre iPhone, au travers du tuner RDS intégré (épaule par l'application « Radio »), ou simplement avec la radio par internet. Il vous garantit un son remarquable, grâce à un amplificateur haut de gamme et à l'application « Sound » pour tous les réglages sonores.
O Car vous permet de rechercher des stations radio et de les memoriser. En même temps, vous ave accès à toutes les autres applications de votre iPhone. O Car recharge votre Smartphone et devient kit mains libres pour téléphone en toute sécurité. Son module Bluetooth intégré dispose d'un microphone externe pour une qualité de communication sans compromis.
Le support extricable permet non seulement une utilisation d'iPhone en mode horizontal ou vertical, mais également d'incliner iPhone vers le champ de vision de son utilisateur. De plus, O Car s'adapte au design interieur de votre voiture, en offrant unchioix de 6 couleurs de thème d'application par le biais de la touche « display color».
Afin de profiter au mieux de votre apparéil, de maîtriser ses capacité et pour prévenir de tous risques éventuels, nous vous recommendons de préter la plus grande attention à la lecture de ce manuel avant toute manipulation.
P.01 Avant de commencer
P.01 Inventaire du matériel fourni
P.02 Précautions d'installation
P.02 Précautions électriques
P.03 Synoptique de cablage
P.03 Connecteur ISO
P.04 Descriptif des entrées et sorties
P.04 Installation du microphone
P.05 Installation de l'unité centrale
P.06 Mise en place de la façon détachable
P.07 Identification des éléments de façade
P.08 Mise en place d'iPhone
P.08 Manipulation de la station d'accueil
P.09 Utilisation de la rotule d'orientation
P.09 Désinstallation de l'unité centrale
P.10 Application « Sound »
P.13 Application « Radio »
P.16 Appairage du système Bluetooth
P.16 Utilisation des autres applications
P.16 Recommendations d'utilisation
P.17 Caracteristiques techniques
P.18 Dépistage de pannes
P.19 Politique de garantie
O Car nécessite le téléchargement de deux applications pour fonctionner.

L'application «Radio» permet de contrôler le tuner intégré. Elle est à télécharger sur iTunes store avec les mots clés « Oxygen Radio», puis à synchroniser sur votre iPhone par le biais d'iTunes.

L'application «Sound» permet de contrôler l'amplificateur intégré. Elle est à télécharger sur iTunes store avec les mots clés « Oxygen Sound», puis à synchroniser sur votre iPhone par le biais d'iTunes.
O Car ne peut receivevoir votre iPhone sans le téléchargement de ces applications
Inventaire du matériel fourni:
Votre embailleage contient le matériel suivant:
Un mode d'emploi multilingue
- (a) O Car dans son étrier de fixation (a)
- (b) Un étui de transport en tissu contenant la partie de façon détachable de O Car
- (c) Deux coques de protection, une dédiée à iPhone 3G/3GS et une autre à iPhone 4
- (d) Un faisceau de raccordement avec destination de type ISO
- (e) Un jeu de deux clés pour le démonitage de O Car
- (f) Une clé de gros diamètre pour l'ajustement de la rotule intégrée
- (g) Un microphone câblé en Jack 3.5mm


(b)




(f)

Précautions d'installation
L'installation de O Car dans votre vehicule nécessite de bonnes connaissances en électricité automobile. Si vous ne vous sentez pas en mesure de la réaliser par vous-même, nous vous recommendons vivement de vous rapprocher d'un professionnel/agréé, et de lui confier lesoon d'installer O Car dans votre voiture.
O Car est dédié aux emplacements de type 1DIN (182 x 53mm), dont la profondeur est en mesure de receivevoir son chassin (185mm environ).
La partie électronique d'O Car a été conçue pour fonctionner avec une tension continue de 12 volts. Cependant, il accepte des tensions de fonctionnement allant de 11 à 14.5 volts. En aucun cas, votre apparéil ne peut fonctionner sur d'autres systèmes électriques de valeur inférieure ou supérieure à cette plage de tensions.
Les vehicules dont la tension de fonctionnement est différente (camions 24 volts, cyclomoteurs 6 volts, etc...) ne peuvent enaucun cas recevoir l'installation d'O Car.
O Car est uniquement destiné à une installation dans un vehicule couvert, qui le mettra à l'abri de l'humidité, des fortes chaleururs et des expositions directes au soleil qui pourrait le détériorer.
Précautions électriques
O Car est livré avec un fusible de protection d'un valeur de 15 ampères. Il est donc recommandé de vérifier si votre vehicule est muni d'une installation pouvant procurer cet ampérage, et dans le cas contraire,mettre votre vehicule en conformité avec cette valeur avant de continuer.
Si ce fusible saute, il faut imperativement le remplacer par un fusible de même valeur. Le fait de remplacer ce fusible par un fusible d'une valeur supérieure, peut non seulement détruire votre apparéil, mais également nuir sérieusement à toute l'installation électrique de votre vehicule.
Le fait qu'un fusible saute est rarement du au hasard. Il est donc fortement recommendé de vérifier l'intégrality de votre installation avant de le replacer.

Connecteur ISO (1)
A1. Non connecté
A2. Non connecté
A3. Non connecté
A4. + permanent (jaune)
A5. Commande d'antenne électrique (bleu)
A6. Non connecté
A7. + après contact (rouge)
A8. Masse (noir)
B1. Haut-parleur arrirée droit + (violet)
B2. Haut-parleur arrêté droit - (violet/noir)
B3. Haut-parleur avant droit + (gris)
B4. Haut-parleur avant droit - (gris/noir)
B5. Haut-parleur avant gauche ^+ (blanc)
B6. Haut-parleur avant gauche - (blanc/noir)
B7. Haut-parleur arrirée gauche ^+ (vert)
B8. Haut-parleur arrirée gauche - (vert/noir)
Selon le montage ISO de votre vehicule, il peut être nécessaire d'inverser les cables des positions A4 (couleur jaune) et A7 (couleur rouge), par le biais des connecteurs « rapides » présents afin de ne pas perdre les mémoires de votre apparéil.
Malgré l'uniformité des connecteurs ISO, il reste des variantes de ce système utilisant certaines positions du connecteur pour d'autres fonctions que celles attribuées initialement par la norme ISO. Aussi, il est recommendé de préter attention à l'utilisation du cable de la position A5.
Celui-ci, étant initialement dédié soit à l'alimentation d'un antenné électrique, soit à celle d'un amplificateur; est parfois également utilisé pour d'autres fonctions propres à l'autoradio d'origine. Nous conseillons dans ce cas de bien vérifier si aucune masse ou courant électrique n'est présente sur la partie voiture du connecteur ISO de cette position, et de vous assurer qu'elle correspond bien à une commande d'antenne électrique.
En cas de doute, nous recommendons, afin d'éviter une dépréciation de votre apparéil, de déconnecter ce cable par le biais du connecteur present, et de l'isoler de part et d'autre à l'aide d'un ruban adhésiif isolant.
Descriptif des entrées et sorties
(2) Câble gris à connecteur jaune: sortie RCA video servant à connecter jusqu'à une paire d'écrans supplémentaire dont l'impédance d'entrée ne devra pas été inférieure à 75 ohms.
(3) Câble gris à connecteur vert: sortie RCA subwoofer dédié à l'utilisation d'un amplificateur spécifique pour le canal de grave.
(4) Câble gris à connecteur rouge: sortie RCA « avant droite » à raccarder au canal dédié d'un amplificateur optionnel.
(5) Câble gris à connecteur blanc: sortie RCA « avant gauche » à raccarder au canal dédié d'un amplificateur optionnel.
(6) Câble marron à connecteur blanc: sortie RCA « arrêté gauche » à raccorder au canal dédié d'un amplificateur optionnel.
(7) Câble marron à connecteur rouge: sortie RCA « arrêté droit » à raccorder au canal dédié d'un amplificateur optionnel.
(8) Connecteur Jack 3.5mm: entrée microphone. Connectez ici le microphone fourni.
(9) Connecteur d'antenne: à raccarder à l'antenne du vehicule
(10)Fusible de 15 ampères
Installation du microphone (nécessaire à la fonction main libre)
Pour une meilleure qualité de communication, nous vous recommendons de positionner votre microphone dans le coin haut de votre pare brise coté conducteur (dirigé vers le conducteur).
Lors de vos communications téléphoniques, nous vous conseillons de fermer les vitres de notre vehicule, pour éviter que des mouvements d'air viennent perturber le microphone.
Evidemment, nous vous conseillons de faire preuve de prudence lors de vos appeals téléphoniques, et de ne pas quitter la route des yeux.
Installation de l'unité centrale
À l'aide des petits inserts métalliques de chaque coté de l'étrier, séparez O Car de son logement. Puis, insérez l'étrier de fixation dans l'emplacement de votre tableau de bord comme décrit ci-dessous:

Effectuez les connections électriques nécessaires (voir page 3 & 4), puis insérer votre apparéil dans son étrier de fixation jusqu'à ce que les inserts métalliques se logent à nouveau dans leurs positions initiales sur le corps de l'autoradio. Un cig sera perceptible par côté lorsque votre autoradio sera correctement en place.
Mise en place de la façon détachable
La partie détachable se loge sur la gauche de la façon de l'appareil comme décrit ci-dessous:

Insérez la dans son emplacement, puis poussez-la légèrement jusqu'à la perception d'un clic. Notre apparéil est à présent au complet.


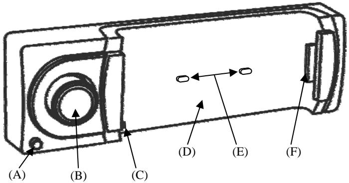
(A) Bouton de relâchement de la partie de façade détachable. Une pression sur ce bouton relâche la partie détachable contenant le bouton de volume (B), et permet de la retirer.
(B) Bouton de mise en/hors tension, de contrôle de sourdine et de volume.
- Lorsque l'appareil est eteint, appuyez sur ce bouton pour le metre en tension.
- Lorsque l'appareil est allumé, un appui long (+ de 3 secondes) le mettra hors tension.
- Lors de l'appareil est en tension, un appui court sur bouton activera ou désactivera la sourdine de votre autoradio.
- Tournez ce bouton dans le sens horaire pour augmenter le volume sonore.
- Tournez ce bouton dans le sens antihoraire pour baiser le volume sonore.
(C) Ergot de fixation destiné à être inséré dans l'entrée jack (écouteur) de votre iPhone.
(D) Station d'accueil de type baignoire destinée à receivevoir iPhone. Cette partie ainsi que l'ensemble de ses éléments, est extractible, inclinable et orientable (voir pages 8 & 9 pour plus d'informations).
(E) Ergots de fixation horsale destinés à être insérés dans les deux orifices ovales au dos de la coque de protection d'iPhone fournie. Ils participent à la fixation de votre iPhone.
(F) Connecteur dédié, à insérer dans le connecteur d'iPhone.

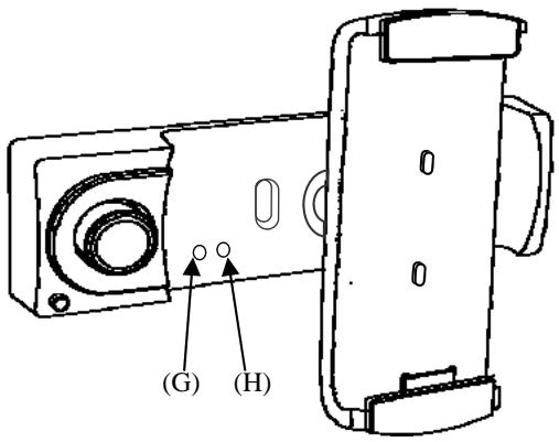
Les points suivants ne seront accessibles qu'une fois la station d'accueil sortie. Merci de vous reférez aux explications de la page 8 pour une meilleure comprhension.
(G) Bouton de remise à zéro de votre unité (RESET). Utilisez la touche de remise à zéro avant la première utilisation et si vous appeareil semble ne pas réagir correctement.
(H) Voyant de sécurité: cevoyant clignotera si iPhone n'est pas positionné sur la station d'accueil.
Mise en place d'iPhone
Placez votre iPhone dans la coque de protection fournie lui correspondant (voir page 1), puis reférez-vous au schéma ci-dessous pour une meilleur comprhension.

(1)

(2)

(3)
(1) Assemblez le connecteur principal d'iPhone avec le connecteur (F).
(2) Faites glisser vous iPhone vers la croite de l'unité centrale, le connecteur (F) se rétractera et s'inclinera, puis rabattez votre iPhone afin d'insérer les ergots (E) dans les orifices dorsaux de de la coque de protection.
(3) Une fois iPhone munie de sa coque de protection rabattue contre la station d'accueil (D), faises le glisser vers la gauche de l'unité centrale afin d'insérer l'ergot (C) dans l'orifice Jack (connecteur pour écouteurs) de votre iPhone.
L'exécution de la procédure inverse vous permet de déloger iPhone de la station d'accueil.
Nous recommendons d'utiliser systématiquèment la coque de protection fournie correspondante à votre iPhone pour toute utilisation d'O Car. Une'utilisation sans coque de protection peut endommager votre iPhone et diminué l'efficacité de son maintien au sein d'O
Manipulation de la station d'accueil
La station s'accueil pour iPhone d'O Car dispose d'un système qui permet l'extraction de celle-ci sur une distance de 40mm . Une fois la station d'accueil sortie, celle-ci vous permit de l'utiliser en mode vertical, ou horizontal par le biais d'une rotation à 90^ .


Pressez la station d'accueil vers le corps de l'unité centrale en appuyant sur ses deux extrémités laterales (I). La station reculera (vous entendrez un clic), puis relâcher la doucement, elle sortira alors de 40mm . Vous pouze à présent la tourner dans le sens des aiguilles d'une montre (90^) afin de pouvoir l'utiliser en mode vertical.
Remettez la station d'accueil en position horizontale avant de la reculer pour la remetre en place. La station ne peut etre rente dans le corps de l'autoradio qu'en position horizontale.

O Car est équipé d'une rotule d'orientation, qui une fois la station d'accueil sortie, lui permet une orientation de 15^ sur un pivot de 360^ .
L'écrou de serrage (J) permet d'ajuster le sertissage de la rotule grâce à l'outil (f) représenté en page 1, de telle manière à la rendre plus ou moins facile à orienter.
Appareil face à soi, une rotation de cet écrou dans le sens antihoraire, augmente la résistance. Une rotation dans le sens horaire la diminue.
Ajuster la flexibilité de la rotule afin que celleci reste utilisable, mais qu'elle ne fasse pas bouger iPhone en fonction de la qualité de la route.

Déinstallation de l'unité centrale

Avant de désinstaller vous unite centrale, il faut:
- Retirer iPhone de la station d'accueil
- Extraire la station d'accueil de son logement et la positionner en mode vertical
- Enlever la partie détachable de la façon
Munissez-vous des clés de démontage (e) fournies, puis insérer celles-ci dans les orifices de démontage. Un fois en place, tirez votre appeareil vers vous (en tirant sur les clés de démontage) jusqu'à l'extraire de l'étrier de fixation. Débranchez ensuite les différents câbles.
Application « Sound »
Une fois les applications « Sound » et « Radio » téléchargees et installées sur votre iPhone, positionné le sur la station d'accueil, mettez O Car sous tension ( comme expliquer en page 10), puis lancer l'application « Sound ».

L'application «Sound» permet de contrôler l'amplificateur intégré. Par l'interface de l'écran tactile d'iPhone, son'utilisation est intuitive.

Page principale

Page de paramètres
(1) Afficheur de statut de fonction: seront ici affichées les valeurs de calibrage de chacune des fonctions de l'encadré (4)
(2) Zone d'ajustement: Cette zone permet le calibrage des valeurs des fonctions de l'encadré (4). Faites glisser votre doigt dans cette zone de la croite vers la gauche pour augmenter les valeurs de chaque fonction préseLECTIONnée, et de la gauche vers la croite pour diminuer ces valeurs. Vous pouvez également appuyer sur la moitié gauche ou croite de la zone pour faire diminuier et augmenter les valeurs. La vitesse de calibrage dépendra de la vitesse de passage de votre doigt sur l'écran d'iPhone.
(3) Accès à la page de paramètres de l'application « Sound »
(4) Ce groupe de fonction est destiné à selectionner l'objet que l'on soushaite calibrer à l'aide de la zone de contrôle (2):
- BASS: permet d'ajuster les fréquences de graves sur une plage allant de -14à + 14
- MEDIUM: permet d'ajuster les fréquences de Médiums sur une plage allant de -14à + 14
- TREBLE: permet d'ajuster les fréquences d'aigus sur une plage allant de -14à + 14
- SUBWOOFER: permet d'ajuster le niveau de la sortie subwoofer (voir page 3) sur une plage allant de -14à + 14
- FADER: permet d'ajuster la provenance du son des haut-parleurs avant/arrière sur une plage allant de 14F (avant) à 14R (arrière).
- BALANCE: permet d'ajuster la balance gauche/droite du son des haut-parleurs sur une plage allant de 14L (gauche) à 14R (droite).
(5) Retour à la page principale de l'application « SOUND »
(6) Permet d'activer ou de désactiver le signal « BEEP » de confirmation d'utilisation.
(7) Cette fonction permet d'afficher les signaux video ou sur l'écran de votre iPhone, ou sur un écran supplémentaire connecter à la sortie video de votre apparéil (voir page 3 et 4). Il sera nécessaire d'enlever iPhone de la station d'accueil, puis de le remettre pour que les changements soient enregistrés après un modification.
Pour des raison de sécurité, nous vous recommendons de ne pas afficher de signaux video sur votre iPhone pendant la conduite du vehicule.
Appuyez sur le bouton « Accueil » d'iPhone pour sorting de l'application « Sound ».
En résumé

Selectionnez parmi le groupe de fonctions (4) celle que vous souhaitez modifier.

Faites glisser votre doigt dans la zone de contrôle (2) pour modifier la valeur de la fonction的选择。

Appuyez sur la touche (3) pour acceder à la page de paramètres de l'application « Sound »

Page de paramètres de l'application « Sound »


Activez ou désactivez le bip de confirmation de fonction en appuyant sur la touche « BEEP » (6).
À l'aide de la touche « Video » (7),CHOISSEZ si vous souhaitez que les signaux video de votre iPhone soit affichés, ou si vous désirez les renvoyer vers un moniteur externe.

Quand vous choisissez "video screen" ou "video iPhone", apparait une fenêtre de dialogue. Vous pouvezCHOISIR de continuer ou d'abandonner.

Appuyez sur la touche « SOUND » pour revenir à la page principale de l'application « Sound »

Page principale de l'application « Sound »

Appuyez sur le bouton « Accueil » d'iPhone pour sortir de l'application.

L'application «Radio» permet de contrôle le tuner intégré. Par l'interface de l'écran tactile d'iPhone, son'utilisation est intuitive.

Page principale

Page paramètres
(11)
(1) Sélecteur de bande radio: Vous pouvez désirier entre FM1, FM2, et FM3 pour les bandes FM; et MW1 pour la bande AM. Chacune de ces bandes vous apporte la possibilité d'y stocker six présections (voir point (5)).
(2) Zone d'affichage des informations RDS tel que le nom de la radio écoutee ou les informations de RADIO-TEXT.
(3) Zone d'ajustement: cette zone permet la recherche de fréquences radio (fréquences également inscrites dans cette zone). Faites glisser vous doigt dans cette zone de la droite vers la gauche pour effectuer une recherche croissante des fréquences et de la gauche vers la droite pour une recherche décroissant. Un mouvement lent effectuera une recherche par pas de 0.05MHz en mode FM (9KHz en mode AM). Un mouvement rapide lancera une recherche automatique qui s'arrête à la prochaine station trouvée.
Vou puez également appuyer sur la moitié gauche ou droite de la zone pour faire diminuer ou augmenter les fréquences. En maintainant votre doigt appuyé, vous lancez une recherche automatique.
(4) Accès à la page de paramètres de l'application « Radio »
(5) Cette zone représenté le stockage de préseLECTIONs que vous pouvez memoriser par bande. Sur chacune de ces touches, il est possible de memoriser la fréquence de votre choix. Si celle-ci dispose d'un nom, ce nom sera inscrit sur la touche. Si elle ne dispose pas de nom, le fréquence de réception correspondante apparaitra alors. Pour memoriser une station sur une de ces touches, appuyez pendant plus de trois secondes sur la touche désirée. Notre station sera alors memorisée et son nom (ou sa fréquence) apparaitra sur la touche. Un pression courte sur l'une de ces touches rappellera la station qui y sera ménorisée.
(6) Permet de returner à la page principale de l'application « Radio »
(7) Active (ON) ou désactive (OFF) la fonction de réception d'émission locale (LOCAL)
(8) Chaque pression sur cette touche permet de basculer en un mode de réception MONO ou un mode réception STEREO des fréquences radio.
(9) Active (ON) ou désactive (OFF) le mode radio.
(10) Avec la fonction « DISPLAY COLOR » (couleur d'affichage), vous pouvez selectionner parmi 6 couleurs d'affichage. Sont disponibles:
- Bleu, gris, vert, orange, rouge et jaune
(11) La fonction « REGION » (bande de fréquences régionale) vous permet de sélectionner l'un des six prééglages régionaux. Les régions disponibles sont :
- Monde, Europe, Europe de l'Est, Japon, Amérique du Nord et Amérique du Sud.
(12) Active (ON) ou désactive (OFF) la fonction de recherche de fréquence alternative (AF). Cette fonction a pour but deMAININER un programme écoute lors d'un trajet si sa fréquence change. Avec la fonction AF en mode ON, le tuner lancera une recherche automatique du nom RDS de la station que vous écoutez parmi les autres fréquences diffusées, et s'arrête sur une autre fréquence si il y retrouve ce nom RDS. Si aucune autre fréquence diffusant le même nom RDS n'est trouvez, le tuner se calera sur la fréquence précédemment lue.
(13) Active ou déactive la fonction TA (information de traffic routier). Lorsque cette fonction est activée, le tuner intégré balaiera périodiquement les fréquences reçues, et laissera entendre un message d'information routière si diffusé.
En résumé

Faites glisser votre doigt dans la zone de contrôle (3) pour lancer une recherche des fréquences radio (rapidement pour une recherche automatique, et lentement pour une recherche manuelle).

Appuyez longuement (+ de 3 secondes) sur une des case de stockage de la zone (5) pour y memoriser une station écoute. Un appuie bref permet de rappeler une station préalablement memorisé.

À l'aide de la touche de seLECTION de bande (1),CHOISSEZ entre les bandes de stockage de station FM1, FM2, FM3 & MW.

Appuyez sur la touche (4) pour acceder à la page de paramètres de l'application « Radio »

Page de paramètres de l'application « Radio »

Chaque pression sur la touche « DISPLAY COLOR » (10) permet de varier la couleur d'affichage de l'application radio entre bleu, gris vert, orange, rouge et jaune.

Chaque pression sur les touches (7), (8), (9) (11), (12) & (13) permet de changer la valeur de la touche concernée comme expliqué en pages 13 & 14.

Appuyez sur la touche « RADIO » (6) pour revenir à la page principale de l'application « Radio ».

Page principale de l'application « Radio » Appuyez sur le bouton « Accueil » d'iPhone pour sorting de l'application.
Appairage du système Bluetooth
Afin de pouvoir utiliser la fonction kit main libre de votre autoradio, il est nécessaire d'appairer le système Bluetooth intégré avec celui de votre iPhone.
Pour ce faire, lancer une recherche de périhérique Bluetooth sur votre iPhone, jusqu'à ce que celui déetecte un périhérique nommé « OCar BT»,CHOISSEZ le, entrez le code « 0000», puis validez par OK. O Car vous confirme par un bip long suivi de trois bips rapides l'appairage des deux apparêls. Trois bips consécutifs confirmant la déconnexion des deux apparêls.
Lorsque les apparèils sont connectés, le module Bluetooth coupera le son du programme en cours d'écoute à la réception ou du lancement d'un appel téléphonique, et le rétablira à la fin de la communication.
Utilisation des autres applications
O Car amplifie lessons de n'importe quellesapplication.
Que vous désiriez jouez à un jeu, utiliser la téléphonie par internet, écouter les musiques stockées dans l'applications iPod ou simplement profiter d'internet, O Car deviendra l'interface multimédia de votre voiture.

Recommendations d'utilisation
Nous vous demandons de faire preuve de bon sens lorsque vous conduisez.
La sécurité doit toujours être prioritaire sur les loisirs, surtout au volant. Dans ce sens nous vous recommendons d'utiliser les applications visuelles (telles que internet, jeu video, films...) uniquement lorsque vous est à l'arrêt, moteur coupé.
Une sécurité supplémentaire est apportée à notre application « Sound » (voir point (7) page 10) quand à la lecture de fichier video depuis O Car. Hormis lorsque vous étes stationné en sécurité, nous recommendons de diriger par défaut les signaux video de votre iPhone vers la sortie video dédiée. De cette manière, aucune émission video ne viendra perturber votre champs de vision pendant la conduite.
N'exercer aucune pression importante sur le bras de maintainen de la station d'accueil ou sur la station d'accueil en elle meme, vous risqueriez de les casser.
\section*{Caracteristiques techniques}
Généralités
Alimentation electrique:
- 12 Volts CC, borne négative à la masse
- Plage de tension de 11 à 14.5 volts
Commandes de tonalité:
- Graves: +/- 10 dB @ 900 Hz
- Médiums: +/- 10 dB @ 1KHz
-Aigus: + / - 10dB @ 10KHz
Rapport signal/bruit (mode iPhone)
- > 95 dB (A 20Hz - 20KHz
Puissance de sortie:
- 4 x 22 watts RMS
- 4 x 55 watts MAX
Séparation stéréophonique: >40 dB
Tension de sortie RCA: 4 Volts
Dimensions de l'appareil: 187 × 58.5 × 160 ~mm
Poids de l'appareil: 1.100kg
Tuner radio AM/FM
Bandes de fréquences en AM :
- De 531 à 1602 kHz / 9 kHz (Monde)
- De 522 à 1620 kHz / 9 kHz (Europe)
- De 522 à 1620 kHz / 9 kHz (Europe de l'Est)
- De 522 à 1629kHz / 9kHz (Japon)
- De 530 à 1710 kHz / 10 kHz (Amérique du Nord)
- De 520 à 1620kHz / 10kHz (Amérique du Sud)
- IF 450KHz
Bandes de fréquences en FM :
- De 87.5 à 108.0 MHz / 100 kHz (Monde)
- De 87.5 à 108.0 MHz / 50 kHz (Europe)
- De 87.5 à 108.0 MHz / 50 kHz (Europe de l'Est)
- De 65.0 à 74.0 MHz / 10 kHz (Europe de l'Est)
- De 76.0 à 90.0 MHz / 100 kHz (Japon)
-
De 87.5 à 107.9 MHz / 200 kHz (Amérique du Nord)
-
De 87.5 à 108.0 MHz / 100 kHz (Amérique du Sud)
Sensibilité (signal/bruit = 30 dB): - 4μV
Séparation stéreophonique: >25dB
Sortie video:
Type de sorite: RCA analogue
Impedance de sortie: 75 ohms
Tension de sortie: 1 volt
Module Bluetooth:
Type de module: Bluetooth mono 1.2
Principe raccordement: dédié à iPhone
Type de transmission: télécommunication
- « Made for iPhone » désigne un accessoire électronique qui a été concu spécialément afin d'être connecté à un iPhone et qui a été certifié par le développementeur conforme aux normes de performance Apple. Apple n'est pas responsable du fonctionnement de cet apparéil ni de sa conformité aux normes de sécurité et de réglementation. Notez que l'utilisation de cet accessoire avec un iPhone peut affecter les performances sans fil.
- iPhone est une marque d'Apple Inc. déposée aux États-Unis et dans d'autres pays.
Toutes ces données ne sont fournies qu'a titre indicatif. Elles pourront etre révisées sans avis préalable et sans modification de mode d'emploi
Un petit détail est parfois la cause d'un problème de fonctionnement de votre unité. Nous vous proposons, avant d'envoyer celui-ci dans notre station technique pour réparation, de procéder en premier lieu à un dépistage rapide de panne grâce au tableau ci-dessous:
| Symptômes | Causes possibles | Solutions |
| L'appareil de s'allume pas | 1. Le fusible de O Car a sauté. 2. Le fusible du vehicule a sauté. 3. La partie détachable de la façade n'est pas en place. | 1 & 2. Remplacez le fusible par un fusible de même valeur et vérifie votre installation avant de continuer. 3.Méttre la parte détachable de la façade correctement en place. |
| Aucun son ne sort des haut-parleurs | 1. Les haut-parleurs ne sont pas correctement raccordés. 2. L'amplificateur sur lequel les haut-parleurs sont connectés presente un problème. 3. La sourdine est activée. 4. Aucune application n'est lancée. 5. Le volume est réglié à son point le plus bas. | 1. Vérifiez le raccordement de vos haut-parleurs 2. Vérifiez l'alimentation ainsi que tous les raccordements de l'amplificateur. 3. Enlevez la sourdine en appuyant sur le bouton rond d'O Car 4. Lancez une application telle que iPod ou l'application « Radio ». 5. Augmentez le volume en tournant le bouton rond d'O Car dans sens des aiguilles d'une montre. |
| Les fonctions ne répondent pas correctement | 1. Le microproesseur d'O Car est brouillé. 2. Le microproesseur d'i Phone est brouillé ou sa mémoire est saturée. 3. iPhone est mal logé sur la station d'accueil d'O Car. 4. Les applications « Sound » et « Radio » ne sont pas installées sur iPhone. | 1. Effectuez un RESET à l'aide de la touche (G) de la page 7. 2. Redémarrez iPhone. 3. Enlevez iPhone de la station d'accueil, puis remettez le correctement en place. 4. Téléchargez puis installez les applications « Sound » & « Radio » à d'iTunes. |
| Le microphone ne fonctionne pas | 1. L'appairage Bluetooth n'est pas effectué entre O Car et iPhone. 2. Le microphone est mal connecté. | Effectuez l'appairage entre les deux appareils (voir page 16). Déconnectez, puis reconnectze correctement le microphone. |
Si malgré ce dépistage, votre problème n'est toujours pas résolu, merci de consulter la page 19 contenant les clause de garantie.
Conditions de garantie
Ce produit de haute qualité est garantie contre toutes défectuosités de ses composants pour une période d'un an, à partir de la date d'achat du premier propriétaire.
Cette garantie est définie dans les limites suivantes:
La garantie est valable uniquement dans le pays ou la vente a ete realise et s'adresse au premier propriete de l'appareil.
L'appareil ne peut être démontré, modifié ou réparé que par une personne expressément autorisée par le distributeur.
Cette garantie n'est pas applicable en cas d'usage abusif, inapproprié ou contraire aux instructions énoncées par le distributeur.
En outre, ce dernier rejette toute responsabilité en ce qui concerne les dommages accidentels, spéciaux ou indirects résultat de l'usage ou de la non disponibilité de cet article.
Si une intervention s'avere nécessaire, veuillez informer votre revendeur et convenir avec lui des modalités de réparation. Si nécessaire, confiez-lui la mission d'expédier votre apparéil chez le distributeur. Si le retour est indispensable, dispose l'unité dans un sérieux emballage,
si possible celui d'origine. Une demande préalable devra estre faite au distributeur. Nous vous recommendons d'assurer le matériel lors de son transport, car il transite aux risques et péils de son expéditeur. Le re emballage, l'assurance et le transport retour sont à la charge du distributeur.
Cette garantie s'ajoute à vos droits statuaires en tant que consommateur et ne les limite aucunement.
Les deux cases ci-dessous vous permettent de référencer à la fois votre numéro de série (figurant au dos de votre autoradio) et votre date d'achat.
Date d'achat:
Numeros de série:

Notice Facile