KM3054 - Table_de_cuisson_gaz MIELE - Notice d'utilisation et mode d'emploi gratuit
Retrouvez gratuitement la notice de l'appareil KM3054 MIELE au format PDF.
| Type de produit | Table de cuisson à induction |
| Caractéristiques techniques principales | 4 zones de cuisson, technologie induction, commandes tactiles |
| Alimentation électrique | 230 V / 400 V |
| Dimensions approximatives | 60 cm x 51 cm |
| Poids | 10 kg |
| Compatibilités | Compatible avec les ustensiles de cuisson induction |
| Fonctions principales | Boost, minuterie, détection de casserole, sécurité enfants |
| Entretien et nettoyage | Surface en vitrocéramique, nettoyage facile avec un chiffon humide |
| Pièces détachées et réparabilité | Disponibilité de pièces détachées Miele, service après-vente |
| Sécurité | Arrêt automatique, protection contre la surchauffe, sécurité enfants |
| Informations générales utiles | Garantie de 2 ans, installation par un professionnel recommandée |
FOIRE AUX QUESTIONS - KM3054 MIELE
Questions des utilisateurs sur KM3054 MIELE
0 question sur cet appareil. Repondez a celles que vous connaissez ou posez la votre.
Poser une nouvelle question sur cet appareil
Téléchargez la notice de votre Table_de_cuisson_gaz au format PDF gratuitement ! Retrouvez votre notice KM3054 - MIELE et reprennez votre appareil électronique en main. Sur cette page sont publiés tous les documents nécessaires à l'utilisation de votre appareil KM3054 de la marque MIELE.
MODE D'EMPLOI KM3054 MIELE
Notice d'utilisation et de montage

Tables de cuisson gaz
KM 3034
KM 3054
Miele vous recommende d'utiliser les accessoires et produits d'entretien MIELE, disponibles à la vente :
au 09 74 50 1000 (appei non surtaxé)
- sur www.boutique.miele.fr
F Cet appeareil est également homologué dans des pays différents de ceux mentionnés sur l'appareil. Pour que l'appareil fonctionne parfaitement et en toute sécurité, il est important de-disposer de I'execution spécifique au pays et du type de raccordement approprié. Pour le fonctionnement dans un pays autre que celui spécifique sur I'appareil, veuillez vous adresser au service après-vente du pays ou sera installé I'appareil.
Description de l'appareil 5
KM 3034. 5
KM 3054. 6
Accessoires fournis 7
Prescriptions de sécurité et mises en garde 10
Votrecombinutionaiprotectionde l'environnement 23
Avant la première utilisation 24
Commande 25
Système d'allumage rapide 25
Bouton de commande 25
Mise en marche de l'appareil 26
Réglage 27
Arrêt de l'appareil 27
Quick stop 28
Affichage de fonctionnement / chaleur résiduelle 28
Minuterie 29
Réglage de la minuterie indépendante 29
Modification du temps de minuterie independante 29
Supprimer la minuterie 29
Attribuer un temps de minuterie à un foyer 30
Ustensiles de cuisson à utiliser 31
Adaptatour support. 32
Support circulaire pour wok 32
Conseil pour I'ecomonie d'énergie 33
Dispositifs de sécurité 34
Sécurité d'allumage thermo-électrique 34
Sécurité "oubli" 34
Sécurité enfants 34
Nettoyage et entretien 35
En cas d'anomalie 39
Accessoires en option 42
Conseils de sécurité relatifs au montage 43
Cotes d'encastrement 46
Montage 48
Branchementélectrique 50
Raccordement au gaz 52
Table des matieres
Rendement des brûleurs 54
Adaptation à un autre type de gaz 55
Tableau des injecteurs 55
Remplacement des injecteurs principaux 57
Remplacement des injecteurs à réglage faible. 59
Contrcler le fonctionnement. 60
Service après-vente, plaque signaletique 61

KM 3054
① Brûleur wok
② Brûleur 2700 W
③ Bruleur 1000 W
④⑤ Bruleur 1700 W
⑥ Support (pour chaque brûleur)
Bouton de commande du foyer
⑦ avant droit
⑧arrière droit
⑨arrièregauche
10 avant gauche
① tout a gauche
⑫ Symbole indiquant la position du foyer
13 Affichage de fonctionnement / chaleur résiduelle
14 Minuterie
15 Quick stop
Accessoires fournis
Si vous en avez besoin, vous pouvez commander les accessoires fournis ou en option (voir chapitre "Accessoires en option").
Support circulaire pour wok

Le support circulaire fourni permet de bien caler le wok. Il est particulièrement utile avec les woks à fond bombé.
Adaptateur de support
pour petits et grands récipiens de cuisson

Ce support sert à poser les casseroles de plus petite taille que celle indiquée dans le tableau du chapitre "Ustensiles de cuisson".
Affichage de minuterie

① Sécurité enfants / réglage du temps
(2) Touche sensitive
- Sélection de la minuterie
Passage à l'autre fonction de l'horloge - Sélection d'un foyer
③Voyant de la minuterie
④Voyant des zones de cuisson, par exemple le foyer arrière droit
⑤ Affichage de temps
00 à 99 = temps en minutes
a.h a 6.h = temps en heures
⑥Voyant indicateur de demi-heure pour un temps de minuterie indépendante supérieur à 99 minutes.

Brûleur




Brûleur wok
① Couvercle de brûleur extérieur
② Couvercle de brûleur interieur
③Tête du brûleur
④ Embase
⑤ Thermocouple
(6) Electrode d'allumage
Brûleurs 1000 W, 1700 W, 2700 W
① Couvercle du brûleur
② Tête du brûleur
③ Embase
(4) Thermocouple
(5) Electrode d'allumage
Cette table de cuisson gaz répond aux réglementations de sécurité en vigueur. Une utilisation non appropriée peut néanmoins entraîner des dégats corporels et matériels.
Lisez attentivement la notice d'utilisation et de montage avant d'utiliser votre table de cuisson gaz pour la première fois.
Elle contient des informations importantes concernant la sécurité, l'utilisation et l'entretien de l'appareil.
Vous vous protégerez ainsi et éviterez de détériorer votre apparéil.
Conservez cette notice d'utilisation et de montage et remettez-la à un évventuel futur propriétaire.
Utilisation conforme
Cette table de cuisson gaz est destinée à une utilisation de type domestique, à la maison ou dans les environnementés suivants par exemple
- dans les magasins, bureaux et autres environnementés de travail similaires,
- dans les exploitations agricoles,
- à l'usage des clients dans les hotels, les pensions ou les gîtes ou autre type de logement.
Utilisez la table de cuisson gaz exclusivement dans le cadre domestique pour la préparation et le maintain en au chaud de plats.
Tout autre type d'utilisation est interdit. Miele n'est pas responsable des dommages causés par une utilisation incorrecte, non conforme aux prescriptions.
- Cette table de cuisson gaz ne convient pas à uneutilisation en extérieur.
Les personnes qui ne sont pas en mesure d'utiliser cette table de cuisson gaz en toute sécurité en raison de déficiencies physiques, sensorielles ou mentales ou de leur manque d'expérience ou de connaissances ne doivent pas l'utiliser sans la surveillance d'une personne responsable.
Précautions à prendre avec les enfants
Afin que les enfants ne puissant pas enclencher la table de cuisson gaz, utilisez le dispositif de verrouillage.
Ne laissez pas les enfants jouer avec cet apparéil.
Les enfants de moins de huit ans doivent être tenus à l'écart de la table de cuisson gaz à moins d'être constamment surveillés.
Les enfants à partir de huit ans sont autorisés à utiliser la table de cuisson gaz sans surveillance uniquement si vous leur avez expliqué comment l'utiliser sans danger. Ils doivent être conscients des risques encourus en cas de mauvaise manipulation.
La table de cuisson gaz chauffe beaucoup pendant le fonctionnement et reste très chaude quelque temps après l'arrêt. Tenez les enfants éloignés de l'appareil jusqu'à ce qu'il ait suffisamment refroidi pour écarter tout risque de blessure.
Ne rangezaucun objet pouvant interesser les enfants sur des étagères au-dessus ou à l'arrière de la table de cuisson gaz. Ils pourraient'être tentés de grimper sur l'appareil. Risque de brûlure !
Veillez également à ce que les enfants n'aient pas la possibilité de toucher et renverser casseroles et poêles chaudes. Tournez les poignées de casseroles sur le côte, au-dessus du plan de travail afin d'eviter tout risque de brûlure ou d'ébouillantage. Il existe des grilles de protection spéciales pour enfants, en vente dans le commerce. Ceci permet de réduire les risques.
Les emballages (sachets, polystyrene, par ex.) peuvent être dangereux pour les enfants. Risque de suffocation! Rangez les emballages hors de portée des enfants et jetez-les aussi vite que possible.
Sécurité technique
Vérifiez avant le montage que la table de cuisson gaz n'est pas abimée. Ne mettez jamais un apparéil endommagé en service. Un apparéil endommagé peutmettre votre sécurité en périel.
La sécurité électricque de cette table de cuisson gaz n'est garantie que si elle est raccordée à un système de mise à la terre homologué. Il est très important que cette condition de sécurité élémentaire soit remplie. En cas de doute, faites vérifier l'installation par un électricien. Miele ne peut être tenu pour responsable de dégats causés par une mise à la terre manquante ou défectueuse à l'installation (décharge électricque).
Comparez les caractéristiques de raccordement (tension et fréquence) indiquées sur la plaque signalétique avec celles du réseau avant de brancher la table de cuisson gaz (voir "Branchement électrique").
Ces données doivent impérativement correspondre pour éciter toute détérioration de l'appareil. Interrogez un électricien en cas de doute.
Utilisez uniquement la table de cuisson gaz encastrée afin que son bon fonctionnement soit garantit.
Le raccordement au gaz doit être effectué par un professionnel du gaz. Si la fiche électrique est enlevée, l'appareil doit être monté et branché par un électricien compétent. N'employez que des techniciens professionnelles qui connaissent et respectent les prescriptions nationales et les recommandations des compagnies distributrices d'énergie. Miele ne saurait être tenu responsable des dégats liés à des erreurs de montage ou de branchement.
N'ouvrez enaucun cas la carrosserie de la table de cuisson gaz.
Un contact évientuel avec les raccordements sous tension et la modification des composants électriques et mécaniques constituent un danger pour vous et peuvent perturber le fonctionnement de l'appareil.
Les interventions techniques ne doivent être exécutées que par des professionnelnels agréés par Miele.
Les travaux d'installation, d'entretien ou de réparation incorrects peuvent entraîner de graves dangers pour l'utilisateur, pour lesquels Miele décline toute responsabilité.
Pendant l'installation, la maintenance et les réparations, fermer et débrancher l'arrivée de gaz et débrancher l'appareil de l'électricité. L'appareil n'est plus sous tension uniquement si l'une des conditions suivantes sont remplies :
- les fusibles de l'installation domestique sont o'tés,
- la fiche de l'appareil est débranchée.
Ne tirez pas sur le cordon, mais sur la fiche pour dé-brancher l'appareil.
La réparation de la table de cuisson gaz pendant la période de garantie doit être effectuee exclusivement par un service après vente agreé par le fabricant, sinon vous perdrez le bénéfice de la garantie en cas de pannes ulterieures.
Remplacez les pièces défectueuses uniquement par des pièces détachées d'origine Miele. Ces pièces sont les seules dont Miele garantit qu'elles replissant les conditions de sécurité.
- Cette table de cuisson ne convient pas à l'utilisation avec une minuteurie externe ou un système de contrôle à distance.
Si le cordon d'alimentation est endommagé, il doit être remplace par un cordon spécial de type H 05 VV-F (isolation PVC) disponible chez Miele ou le service après-vente.
Ne branchez pas cette table de cuisson gaz avec une rallonge ou une multiprise non appropriés, qui ne garantissant pas la sécurité suffisante (risque de surchauffe ...).
En cas de fissure, fêlore ou éclat dans la plaque vitrocéramique, ne faites pas fonctionner la table, arrêtez-la tout de suite. Débranchez la table de cisson gaz de l'électricité et fermez le robinet de gaz. Appelez le service après-vente.
Utilisation et installation
La table de cuisson gaz chauffe beaucoup pendant le fonctionnement et reste très chaude quelque temps après l'arrêt. Lorsque les affichages de chaleur résiduelle s'éteignent, il n'y a plus de danger de brûlure.
Ne faites jamais fonctionner les brûleurs gaz sans casserole. La hotte disposée au-dessus pourrait être endommagée par le dégagement de chaleur des flâmes ou prendre feu.
Ne laisser pas la table de cuisson gaz sans surveillance pendant qu'elle fonctionne! LaGRAisse ou l'huile surchauffees peuvent s'enflammer et causer un incendie.
Si de laGRAISSÉ ou de l'huile chaude s'enflamme, n'essayez enaucun cas d'éteindre les flammés avec de l'eau. Etouffez les flammes avec un couvercle de casserole ou un torchon humide.
N'utilisez pas la table de cuisson gaz pour chauffer la piece. Les objets inflammables à proximité peuvent en effet prendre feu en raison du fort dégagement de chaleur. La durée de vie de l'appareil s'en trouverait également réduite.
Ne flambez jamais sous une hotte. Les flammes peuvent ymettre le feu.
Portez des gants ou des maniques thermoisolés pour cuisiner lorsque l'appareil est chaud. N'approche pas les maniques des flammes. N'utilisez pas de gants ou maniques trop grands.
En outre ils ne doivent etre ni mouillés ni humides. En effet la chaleur se propage rapidement dans les tissus mouillés. Vous pourriez vous brûler.
Prenez garde ne pas laisser tomber des ustensiles de cuisson ou des objets sur la vitrocéramique. Meme des objets légers (une salière, par ex.) peuvent provoquer des fissures dans la plaque.
Ne pas utiliser la table de cuisson gaz pour déposer des objets.
L'objet déposé risque - en fonction de son matériel de chauffer (risque de brûlure), de commencer à fondre ou à brûler si l'appareil est enclenché par inadvertance ou s'il était encore chaud.
Ne recouvre jamais la table de cuisson gaz que ce soit par exemple avec une plaque, un torchon ou une feuille de protection. En de mise en marche par inadvertance de la table de cuisson ou de chaleur résiduelle, l'objet déposé peut prendre feu, éclater ou fondre.
N'utilisez pas de recipient en plastique ni de feuille d'aluminium. Ce matériel aqu Fond à température élevé. Il y a en outre risque d'incendie.
Ne réchauffez pas de récipient fermé (boîte de conserve par ex.) avec la table de cuisson gaz. La suppression provoquée par le réchauffement pourrait faire exploser le récipient ou la boîte de conserve. Risque de blessure et de brûlure!
N'allumez la table de cuisson gaz que lorsque toutes les pieces des brûleurs sont bien montées.
Sur la table de cuisson gaz, utilisez uniquement des casseroles ou poêles dont le fond correspond exactement au diamètre indiqué au chapitre "Ustensiles de cuisson à utiliser". Si le diamètre est trop petit, la casserole n'est pas assez stable. Si le diamètre supérieur de la casserole est trop grand, les gaz brûlés s'échappant sur les côtés peuvent endommager le plan de travail ou la cloison derrière la table de cuisson gaz s'il s'agit d'un matérielau non résistant à la chaleur. Miele ne saurait être tenu responsable des dommages liés au non-respect de ces consignes.
Veillez à ce que les flammes du brûleur ne dépasse, pas du fond du brûleur et ne remontent pas sur les côtes du recipient.
N'utilisez pas de casseroles à fond peu épais et ne faites jamais chauffer de récipient sans contenu, sauf si le fabricant du récipient l'autorise expressément. Dans le cas contraire, vous pourriez abîmer votre table de cuisson gaz.
N'utilisez que les grille-support fournies. Il est interdit de poser directement la casserole sur le brûleur.
Ne rangez pas d'objects facilement inflammables à proximé de la table de cuisson gaz.
Nettoyez les taches de graisse et autres restes alimentaires inflammbles dés que possible. Risque d'in-cendie.
Disposez les grilles-support bien à plat, sans les faire glisser afin de ne pas rayer le plateau.
L'utilisation d'une table de cuisson gaz génére de la chaleur, de l'humidité et des résidus de combustion dans la cuisine. En particulier lorsque la table de cuisson fonctionne, la cuisine doit être bien aérée : les ouvertures d'aération naturelles doivent être maintainues ouvertes ou il faut prévoir un dispositif d'aération mecanique (par ex. une hotte).
Une utilisation intensive et longue de l'appareil peut rendre nécessaire une aération supplémentaire comme l'ouverture d'une fenêtre ou une aération plus efficace, par ex. le fonctionnement du dispositif d'áération mécanique existant à un niveau de puissance plus élevé.
Pendant l'utilisation de la table de cuisson gaz, il faut faire fonctionner la hotte à évacuation ou la VMC.
Si vous utilisez un apparéil électrique, par exemple un mixeur à proximité de la plaque, vérifie que le cordon ne touche pas la table de cuisson gaz lorsqu'elle est chaude. L'isolation du cordon pourrait être endommagée. Risque de décharge électrique!
S'il y a un tiroir sous la table de cuisson gaz, n'y rangez pas de bombes aérosol ou de liquides ou de matière inflammables. Les casiers à couverts doivent être en matière thermorésistant.
N'utilisez pas de plat à rôtir, poèle ou pierrade tellement grands qu'ils couvrent plusieurs brûleurs. L'accumulation de chaleur peut endommager l'appareil.
Prescriptions de sécurité et mises en garde
Si la table de cuisson est montée derrière la ported'un meuble, elle ne doit fonctionner que si la porte du meuble est ouverte.
Fermez la porte du meuble lorsque la table est arrêtée et que les témoins de chaleur résiduelle sont éteints.
Si la table de cuisson gaz n'a pas ete utilisee pendant une pereiode anormalement longue, nettoyz-la soigneusement avant de la reutiliser et faites vérifier son fonctionnement par un professionnel.
Miele ne peut être tenu pour responsable des dégats dus au non-respect des prescriptions de sécurité et des mises en garde.
Enlèvement de l'emballage
L'emballage protège l'appareil contre les avaries de transport. Les matériaux utilisés sont choisis en fonction de critères écologiques de façon à en faciliter le recyclage.
Le recyclage de l'emballage économique les matières premières et réduit le volume des déchets à éliminer. En原則, votre revendeur reprend l'emballage.
Elimination de l'ancien apparéil
Les apparèils électriques et électroniques contiennent souvent encore des matériaux recyclables. Ils contiennent également des matériaux nocifs, nécessaires au bon fonctionnement et à la sécurité de l'appareil. Ces matériaux peuvent être dangereux pour les hommes et l'environnement s'ils restent dans la collecte de déchets ou s'ils

dont mal manipulés. Ne jetez par conséquent en aucun cas votre apparreil avec les déchets.
Faites appel au service d'enlèvement mis en place par votre commune ou rapportez votre apparéil dans un point de collecte spécifique adaptés à l'évacuation de ce type d apparéil. Informez-vous le cas échéant auprès de votre revendeur.
Gardez l'ancien apparéil hors de portée des enfants jusqu'à son enlèvement, pour éviter tout accident.
Collez la plaque signalétique jointe à l'appareil à l'endetroit précisé au chapitre "Plaque signalétique".
Premier nettoyage
Enlevez les évventuels films de protection.
■ Essuyez les parties amovibles des brûleurs avec une éponge imbibée d'eau chaude et de liquide vaisselle. Essuyez ensuite les pieces et remontez les brûleurs (voir chapitre "Nettoyage et entretien").
Avant la première utilisation, essuyez votre apparéil avec un tissu humide puis séchez-le.
Les éléments en métal sont protégés par un produit d'entretien spécial. C'est pourquoi votre apparéil dégage une odeur particulière la première fois que vous le faites fonctionner.
Cette odeur et la fumée qui peut se dégager n'indiquent pas une anomalie de fonctionnement ou un mauvais branchement. Elles ne sont pas nocives.
Système d'allumage rapide
La table de cuisson est équipée d'un système d'allumage rapidé avec les caractéristiques suivantes :
- Allumage une main rapide sans devoir presser et maintainir le bouton.
- Rallumage automatique
Si la flamme est eteinte par exemple a cause d'un courant d'air, le bruleur est automatiquement rallumé. Si le rallumage échoue, l'arrivée de gaz est automatiquement arrêtée (voir chapitre "Arrêt de sécurité").
Bouton de commande
Le bouton de commande sert à allumer le brûleur et à régler l'intensité de la flamme.
Brûleurs 1000 W, 1700 W, 2700 W

- l'arrivée de gaz est fermée
1 grande flamme
petite flamme
Brûleur wok

- l'arrivée de gaz est fermée
11 grande flamme: le bruleur interne et le bruleur externe fonctionnent a pleine puissance.
flamme forte : bruleur extérieur au niveau le plus faible, bruleur interieur au niveau maximum.
flamme faible: brûleur externe éteint, brûleur interieur à pleine puissance.
flamme la plus faible:
brûleur externe éteint
brûleur interieur à la puissance la plus faible.
Mise en marche de l'appareil
Pendant l'utilisation de la table de cuisson gaz, il faut faire fonctionner la hotte à évacuation ou la VMC.
Pour allumer un des brûleurs, enforcez le bouton correspondant et tournez-le à gauche sur le plus grand symbole flamme. L'électrode d'allumage s'enclenché et allume le gaz.
Lorsqu'un bouton de commande est activé, une étincelle est allumée automatiquement sur tous les foyers. Cela est normal et n'indique pas un défaut de l'appareil.
Si le brûleur n'est pas allumé, tournez le bouton sur "●". Aérez la pierce ou attendez au moins 1 minute avant de réessayer.
Si le brûleur ne s'allume pas au deuxième essai, tournez le bouton de commande sur "●" et reportez-vous au chapitre "En cas d'anomalie"
Il peut arriver que pendant la mise en marche un allumage bref ait lieu (1 ou 2 déclics) si la flamme s'éteint brièvement au niveau du thermocouple ou si le thermocouple n'est pas suffisamment chauffé, par exemple s'il y a un courant d'air.
Réglage


Réglez la flamme de manière de manière à ce qu'elle ne dépasse enaucun cas le fond de la casserole.L'extérieur de la flamme étant bien plus chaud que le centre, l'extrémité de la flamme doit rester sous la casserole.Si les flames dépassent,la chaleur s'échappe inutillement dans I'air,au risque d'abîmer la poignée et de causeurs des brûlures.
L'intensité des flammes peut être régée progressivement entre feu fort et feu doux.
Arrêt de l'appareil
Fermez le bouton de commande en le tournant vers la droite sur "●".
L'arrivée de gaz est coupée et la flamme s'éteint.
Ne tournez pas le bouton dans le sens contraire en franchissant .
Quick stop
La touche sensitive Quick stop permit d'arrête toutes les zones de cuisson.
Effleurez la touche sensitive
L'affichage de fonctionnement/chaleur résiduelle des foyers actifs clignote.
Le temps de minuterie régle continue à s'écouler s'il n'est pas associé à un foyer.
Lorsque si la miniterie est programmée pour un foyer en particulier, le temps est effacé.
La diode du Quick stop reste allumée jusqu'à ce que tous les boutons des brûleurs qui fonctionnaient soient tournés sur "●"
Affichage de fonctionnement / chaleur résiduelle
L'affichage de fonctionnement / chaleur résiduelle s'allume dés que la zone de cuisson est activée et restée allumée pendant le fonctionnement. Si la table de cuisson est arrêtée, l'affichage s'éteint brièvement puis se rallume tant qu'il reste de la chaleur résiduelle.
Tant que levoyant de chaleur résiduelle est allumé, netouchez pas le foyer et ne posez pas d'objects sensibles àla chaleur. Risque de brûlure et d'incendie!
Lorsque les voyants clignotent il s'agit d'un message d'erreur. Voir le chapitre "En cas d'anomalie".
Vous pouvez régler une durée comprise entre 1 minute (01) et 6 heures (5h). Si le temps dépasse 99 minutes (99) le réglage s'effectue ensuite par pas d'une demi-heure. Les demi-heures sont représentées par un point derrière les chiffres.
Vous pouvez réduire le temps de 6h à 00 avec la touche - ou l'augmenter de 00 à 6h avec la touche sensitive +. A deux heures ou 99 un arrêt est marqué. Pour poursuivre le réglage, retirez le doigt de la touche sensitive et effleurez-la de nouveau.
Une fois le temps réglé écoulé, 00 s'affiche et un signal sonore retentit pendant quelques secondes. Si vous souhaitez arrêtier le signal sonore avant son terme, touchez la touche sensitive ⊙.
La minuterie indépendante peut être programmée pour un foyer en particulier.
Réglage de la minuterie indépendante

Effleurez la touche sensitive ①
00 est indiqué dans l'affichage et levoyant de contrôle de la minuterie clignote.
Effleurez la touche sensitive - ou + jusqu'à ce que le temps souhaité soit affché, par ex. 15 minutes.
Le temps régle s'écoule minute par minute. Vous pouvez consulter le temps restant dans l'affichage.
Modification du temps de minuterie indépendante :
Effleurez la touche sensitive ①
Réglez la durée souhaitée avec les touches sensitives - ou +.
Supprimer la minuterie
Effleurez la touche sensitive ①
Effleurez simultanément les touches sensitives - et+.
Attribuer un temps de minutes à un foyer
Vou pouvez programme un temps de minuterie pour chaque foyer en fonctionnement.
Tous les foyer peuvent être programmés en même temps.
- Mettez le foyer en marche.
Effleurez la touche sensitive ①.
00 est indiqué dans l'affichage et levoyant de contrôle de la minuterie clignote.

Effleurez la touche sensitive ① de nouveau.
Dans l'affichage, le voyant de la minuterie et le voyant d'attribu-tion des foyers clignote.
Si plusieurs foyers sont en fonctionnement, effleurez la touche sensitive plusieurs fois jusqu'à ce que le voyant de la zone de cuisson souhaitee s'allume (arriere droite).
Les voyants des foyer enclenchés apparaissent dans le sens des aiguilles d'une montre en commençant par le foyer avant droit.
■ Effleurez la touche sensitive - ou + jusqu'à ce que le temps souhaité soit affché, par ex. 15 minutes.
Le temps régle s'écoule minute par minute. Vous pouvez consulter le temps restant dans l'affichage.
Si vous souhaitez régler un temps de minutes pour un autre foyer, recommencerce la même procédure.
Si plusieurs temps de minuterie sont programmés, le temps restant le plus court est affiché et levoyant correspondant au foyer clignote. Les autres voyants restent allumés sans clignoter. Si vous souhaitez afficher les temps restants se déroulant à l'arrière-plan, effleurez la touche sensitive jusqu'à ce que le voyant souhaité clignote.
| Brûleur | Diamètre mini poêles / casseroles en cm |
| Brûleur 1000 W | 10 |
| Brûleur 1700 W | 12 |
| Brûleur 2700 W | 14 |
| Brûleur wok | 14 |
| Diamètre supérieur maximum poêles / casseroles en cm | |
| Brûleur 1000 W | 20 |
| Brûleur 1700 W | 22 |
| Brûleur 2700 W | 24 |
| Brûleur wok | 26 |
- Respectez les dimensions indiquées dans le tableau. Si le diamètre est trop petit, la casserole n'est pas assez stable. Si le diamètre de la casserole est trop grand, les gaz brûlés s'échappant sur les côtés peuvent endommager le plan de travail ou la cloison derrière la table de cuisson s'il s'agit d'un matériel non résistant à la chaleur. Le fabricant ne saurait être tenu responsable des dommages liés au non-respect de ces consignes.
- Lors de l'achat de casseroles et poèles, vous constaterez que le diamètre indiqué est dans la plupart des cas le diamètre supérieur et non celui du fond.
- Vous pouvez utiliser toute casserole ou poèle résistante à la chaleur.
- Préférez les casseroles à fond écais, qui répartissent bien la chaleur. Les fonds peu écais risquent de provoquer la surchauffe des aliments. Remuez donc plus souvent les aliments.
- Sélectionnez les cassetoles appropriées au brûleur. Principes : grand diamètre = grand brûleur, petit diamètre = petit brûleur.
- Disposez toujours les casseroles sur la grille-support fournie. Il est interdit de poser directement la casserole sur le brûleur.
- Placez la casserole de manière à ce qu'elle ne puisse pas basculer. Il peut arriver que la casserole soit très légèrement instable.
- N'utilisez pas de poêles ou casseroles avec rebord de stabilisation.

Adaptateur support
L'adaptateur de support doit être utilisé lorsque vous utilisez des casseroles de plus petite taille (diamètre minimum du fonc) que celle indiqué dans le tableau. L'ustensile de cuisson est bien posé sur la zone de cuisson et ne peut pas bas-culer.
Support circulaire pour wok

Utilisez le support circulaire pour wok pour une stabilité maxi-male. Il est particulièrement utile avec les woks à fond bombé.
Le support circulaire pour wok doit être correctement posé afin qu'il ne rouge pas.
Un wok présente une forme bien particulière. Le fond est bien plus étroit que le haut (en général 35-40 cm). Si vous utilisez un wok, il est recommendé d'utiliser le brûleur wok.
- Cuisez vos alimentents tant que possible dans des casseroles ou poêles couvertes afin que la chaleur ne se dissipe pas en pure perte.
-Cuisez avec peu d'eau. - Le temps de cuisson peut être considérablement réduit en utilisant un autocuiseur.
- Àprous avoir saisi vos alimentés pensez à réduire le feu au bon moment.
- Sélectionnez plutôt des casseroles larges et plates que des casseroles haute et étroites. Elles chauffent plusrapidement.


Sécurité d'allumage thermo-électrique
Votre table de cuisson gaz est équipée d'une sécurité d'allumage thermoélectrique. Elle coupe l'alimentation en gaz si les flammes s'éteignent à cause d'un débordement d'aliements ou d'un courant d'air et que la tentative de rallumage qui suit échoue. Ceci évite que le gaz continue à se répandre.
Pour remettre en marche la table de cuisson, tournez le bouton de commande vers la droite sur "●" puis remettez-la en marche comme à l'accoutumée.
Sécurité "oubli"
Si une zone de cuisson reste en fonctionnement pendant une durée anormalement longue (environ 6 heures), elle s'arrête automatiquement.
Pour remettre en marche la table de cuisson, tournez le bouton de commande vers la droite sur "●" puis remettez-la en marche comme à l'accoutumée.
Sécurité enfants
La sécurité enfants est activée lorsque la table de cuisson est arrêtée. Si elle est activée, la table ne peut pas être mise en marche et la minuterie ne fonctionne pas.
Si la sécurité enfants est activée, levoyant correspondant s'allume et LC est affiché dans l'affichage de la minuteurie indépendanteès que vous effleurez une touche ou que vous tournez un bouton.
La sécurité enfants est désactifé à la suite d'une coupure d'électricité.
Activer
■ Effleurez les touches - et + simultanément jusqu'à ce que LC soit affché dans l'affichage de la minuterie indépendante et que le signal retentisse.
Désactiver
Effleurez simultanément les touches sensitives - et + jusqu'à ce qu'un signal sonore retentisse.
N'utilisez pas de nettoyeur vapeur pour le nettoyage.
La vapeur pourrait s'infiltrer dans les composants et provoquer un court-circuit.
- Nettoyez toute la table de cuisson après chaque utilisation. Laissez d'abord l'appareil refroidir.
- Lorsque vous lavez la table de cuisson à l'eau, essuyez-la ensuite pour éviter les traces de tartre.
- Si les salissures sont incrustées, ramollissez-les en les humectant avant de nettoyer.
- Les plats qui débordent peuvent laisser des traces sur les pieces du brûleur. Enlevez immédiatement les salissures!
- La surface du couvercle de brûleur et les grilles-support se matifient avec le temps. Ceci est parfaitement normal et ne traduit pas une ALTERATION du matériel.
Pour éviter d'endommager les surfaces en les nettoyant, n'utilisez pas
- de détergents à base de soude, d'ammoniaque, de produit alcalin, d'acide ou de chlorure,
- de produits anticalcaire,
- de détachants et de produits antirouille,
- de produits abrasifs tels que poudres et laits à récurer,
- de détergents contenant des solvants,
- de détergents pour lave-vaissette,
- de bombes pour gril et fours,
- de produits nettoyants pour verre
- d'éponges avec tampon abrasif, de brosses ou d'éponges contenant des restes de produit détergent.
- d'objet pointu (pour ne pas abîmer les joints entre le cadre et le plan de travail)
Nettoyage et entretien
| Nettoyage | Remarques | |
| Vitrocéramique | Enlevez toutes les salissures grossières avec une éponge humide et les salissures incrustées avec un gratoir pour verre. | N'utilisez pas de liquide vaiselle, car il ne permet pas d'enlever toutes les salissures et restes. Une pelli-cule invisible demeure, qui entraine une coloration de la vitrocéramique. Cette coloration est ensuite impos-sible à enlever. |
| Nettoyez la plaque vitrocéramique avec le nettoyant pour vitrocéramique et inox (voir chapitre "Accessoires en option"), ou un nettoyant vitrocérà-mique du commerce et un sopalin ou un chiffon propre. | En cas d'utilisation de dé-tergents spéciaux pour vi-trocéramique, suivre les conseils du fabricant. | |
| Ne mettez pas de détermeng sur la table de cuisson chaude car des taches peuvent apparaitre. | ||
| Pour finir, essuyez avec une éponge humide et sé-chez avec un chiffon doux. | ||
| Grilles-support | Retirez les grilles-support. | |
| Lavez au lave-vaissselle ou avec une éponge, un peu de liquide vaiselle et de l'eau chaude. | ||
| Voupez si nécessaire utiliser le côte rugieux d'une éponge pour vaiselle. | ||
| Bouton de com-mande | Avec une éponge, un peu de liquide vaiselle et de l'eau chaude. | Ne doit pas être lavé au lave-vaisse. |
| Brûleur | Retirez toutes les parties non fixées du brûleur. Nettoyez avec une éponge, du liquide vaiselle et un peu d'eau chaude. Essuyez les parties non démontables du brûleur avec un chiffon humide. | Ne doit pas être lavé au lave-vaisse. Vérifiez que les orifices de sortie de la flamme sont parfaitement secs après le nettoyage. |
| Electrode d'allu-mage Thermocouple | Essuyez prudemment, avec un chiffon humide bien essoré. | L'électrode d'allumage du brûleur ne doit pas être mouillée, sans quoi l'étin-celle d'allumage ne s'allu-merait pas. |
Remonter les brûleurs 1000 W, 1700 W, 2700 W

Posez la tête du brûleur ② sur l'embase ③ de telle sorte que l'électrode d'allumage ④ et le thermocouple ⑤ traversent les orifices de la tête du brûleur. La tête du brûleur doit être parfaitement en place.
Posez le couvercle du brûleur ① sur la tête de brûleur ②. S'il est bien en place, le couvercle de brûleur ne peut pas être décalé.
Veillez à remonter les pièces des brûleurs dans le bon ordre.
Remonter le brûleur Wok



Posez la tête du brûleur ③ sur l'embase ④ de telle sorte que le thermocouple ⑤ et l'électrode d'allumage ⑥ traversent les orifices de la tête du brûleur. La tête du brûleur doit être parfaitement en place.
Posez les couvercles ① et ②.
Veillez à remonter les pièces des brûleurs dans le bon ordre.
Vous pouvez remodelier vous-même à la plupart des défauts ou anomalies qui peuvent se produit en utilisation quotidienne. Vous économiserez du temps et de l'argent en n'applant pas immédiatement le Service ÀpRES Vente.
Les tableaux suivants vous aideront à déterminer les causes de la panne et à tracer une solution. Attention :
Les interventions techniques sur les apparêils fonctionnant à l'électricité et au gaz doivent être exécutées uniquement par des électriciens et professionnels gaz. Les réparations incorrectes peuvent entrainer de graves dangers pour l'utilisateur.
| Problème | Cause | Solution |
| le brûleur ne s'allume pas à la première mise en service ou après un temps d'inactivité prolongé? | Présence évientuelle d'air dans la conduite de gaz. | Recommencement plusieurs fois l'allu-mage. |
| le brûleur ne s'allume pas après plusieurs essais | Tournez tous les boutons sur "●" et arrêtez l'alimentation électrique de l'appareil pendant quelques secondes. | |
| Le brûleur n'est pas bien mis en place. | Remontez correctement les pieces du brûleur. | |
| Le robinet de gaz n'est pas ouvert. | Ouvrez le robinet de gaz. | |
| Le brûleur est mouillé et/ou encrassé. | Nettoyez et séchez le brûleur. | |
| Les ouvertures de flamme sont bou-chées et/ou mouillées. | Nettoyez et séchez les ouvertures de flamme. | |
| Panne de courant pendant le fonctionnement | Tournez tous les boutons de commande vers la droite sur "●". Dès que l'alimentation de courant est rétable, vous pouvez utiliser l'appareil comme d'habitude. | |
| La flamme s'éteint après l'allumage | Les flammes ne touchent pas le thermocouple, il ne chauffe pas assez :- les pieces du brûleur ne sont pas bien disposées.- Il ya des saletés sur le thermocouple. | Disposez correctement les pieces du brûleur.Eliminez les salissures. |
| La forme de la flamme se modifie. | Les pieces du brûleur ne sont pas bien disposées. | Disposez correctement les pieces du brûleur. |
| La tête du brûleur et les perçages du couvercle du brûleur sont bouchés. | Eliminez les salissures. | |
| La flamme s'éteint pendant le fonctionnement | Les pieces du brûleur ne sont pas bien disposées. | Disposez correctement les pieces du brûleur. |
| Panne de courant | Tournez tous les boutons de commande vers la droite sur "●". Dès que l'alimentation de courant est rétable, vous pouvez utiliser l'appareil comme d'habitude. | |
| L'affichage de fon-citionnement/chaleur ré-siduelle d'un foyer clignote. | Panne de courant | Tournez tous les boutons de commande vers la droite sur "●". Dès que l'alimentation de courant est rétable, vous pouvez utiliser l'appareil comme d'habitude. |
| L'allumage élec-trique du brûleur ne fonctionne pas | Le fusible de l'institu-tion domestique s'est déclenché. | Dans ce cas, averissez un électricien ou le service après-vente. |
| - Restes entre l'électrode d'allumage et le couvercle du brûleur - Restes sur le thermocouple | Eliminez les salissures. (Lire le chapitre "Nettoyage et en-tretien"). | |
| Un des messages suivants ap-paraissant dans l'affichage de la minuterie indé-pendant : | La sécurité enfants est activée. | Désactivez la sécurité enfants (voir chapitre "Sécurité en-fants"). |
| FL | Erreur capteur | Vérifié qu'aucune lumière directe (soleil ou lumière artifi-cielle) ne tombe sur la table de cuisson ou que la table de cuisson soit dans un endroit trop nombre.La table de cuisson et les touches sensitives doivent être parfaitement dégagées. Enlevez les ustensiles de cuisine et nettoyez les salissures le cas échéant.Mettez la table de cuisson hors tension pendant environ 1 minute.Si le problème persiste, contactez le service après-vente. |
| F2(les voyants de fonctionnement/ chaleur résiduelle clignotent) | La protection contre la surchauffe s'est dé-clenchée. | Tournez tous les boutons de commande vers la droite sur "●". Vous pourrez refaire fonctionner les foyers lorsque F2se sera étient. |
| ED(les voyageants de fonctionnement/ chaleur résiduelle clignotent) | Panne électronique | Reset Effleurez la touche sensitive du Quick stop pendant 3 secondes.Si le problème persiste, contactez le service après-vente. |
| Tous les autres messages de défaut | Un défaut s'est produit au niveau de l'électro-nique. | Metterz la table de cuisson hors tension pendant environ 1 minute.Si le problème se produit une fois la table de cuisson remise sous tension, contactez le service après-vente. |
Miele propose un vaste assortment d'accessoires Miele parfaitement adaptés à l'entretien et au nettoyage de vos apparreils.
Vous pouze très facilement les commander sur la boutique Internet Miele :

Vous pouvez également vous les procurer aux Pièces détachéées et accessoires Miele (voir page arrière du mode d'emploi) et chez votre revendeur Miele.
Produits d'entretien
Produit nettoyant pour vitrocéramique et pour acier inoxydable 250 ml

Enlève les salissures, traces de tartre et d'aluminium.
Chiffon microfibres

Enlève les empreintes de doigs et les traces légères
Afin d'eviter tout dégât sur l'appareil, celui-ci ne doit être intégré qu'une fois le montage du meuble supérieur et de la hotte effectué.
Les bois de placage des plans de travail doivent etre traites avec une colle thermorefractaire (100^) pour eviter qu'ils ne se decollent ou se déforcment.
Les fileurs de finition muraux doivent également être thermorefractaires.
Cet apparéil ne doit pas être utilisé sur des unités mobiles (bateaux par exemple).
Il ne faut jamais encastrer une table de cuisson gaz à côté d'une friteuse électrique en raison d'un possible re-tour de flammes. Entre la table de cuisson et la friteuse il doit y avoir un espace minimum de 300 mm.
Il est interdit de monter toute table de cuisson gaz au-dessus des réfrigérateurs, lave-vaisselle, lave-linge et sèche-linge.
Avec l'encastrement de la table de cuisson, le flexible de gaz et le cordon d'alimentation ne doit pas etre en contact avec des pieces chaudes. Les températures elevées pourraient endommager le flexible ou le cordon.
Le cable d'alimentation réseau et le tuyau d'alimentation de gazouple doit être montés de manière à ne pas toucher les éléments mobiles de la cuisine (par exemple un tiroir) et à n'être soumis à aucune contrainte mécanique.
Les distances de sécurité indiquées aux pages suivantes doivent être respectées.
N'utilisez pas de pâté à joint à moins que cela vous soit spécifique. Le joint de la table de cuisson suffit à assurer l'étanchéité avec le plan de travail.
Toutes les dimensions sont indiquées en mm.
Lieu d'installation
Le lieu d'installation de la table de cuisson gaz doit
- offrir un volume d'au moins 25,2 m³.
- comprendre au moins une porte ou une fenêtre donnant sur l'extérieur, qui peuvent être ouvertes.
-présenter une hotte d'évacuation ou une ventilation mécanique continue (pas de fonctionnement en recyclage) qui dispose d'un débit d'évacuation de 189m^3 /h - présenter des ouvertures d'aération.
Distance de sécurité par rapport aux meubles supérieurs

La distance de sécurité entre la hotte et la table de cuisson prescrite par le fabricant de la hotte doit être respectée. Si vous ne disposez pas d'indications du fabricant à ce sujet ou si des matériaux inflammables sont montés (portique par exemple) au-dessus de la table de cuisson, la distance de sécurité doit être d'environ 760 mm minimum.
Lorsque des distances de sécurité différentes sont commandées dans la notice de montage/d'utilisation selon le type d'appareil encastré sous la hotte, par exemple une table gaz et une table de cuisson électrique,CHOISSEZ LA DISTANCE LA PLUS IMPORTANTE.
Distances de sécurité latérales et arrêté
Pour l'encastrement d'une table de cuisson gaz, il peut y avoir des parois de meuble ou un mur derrière la table de cuisson et sur un des cots (droit ou gauche) (voir croquis).
Les distances de sécurité suivantes doivent être respectées :
① 50 mm de distance minimum à l'arriere de la découverte du plan de travail jusqu'à l'arête arrêté du plan de travail.
② 150 mm de distance minimum à droite de la découverte du plan de travail jusqu'au meuble adjacent (par ex. une armoire) ou un mur.
③ 150 mm de distance minimum a gauche de la découvert du plan de travail jusqu'au meuble adjacent (par ex. une armoire) ou un mur.


interdit!

1
recommende

déconseillé

déconseillé

KM 3034
① Avant
② Hauteur d'encastrement
(3) Raccordement gaz R 1/2 - ISO 7-1 (DIN EN 10226)

KM 3054
① Avant
② Hauteur d'encastrement
(3) Raccordement gaz R 1/2 - ISO 7-1 (DIN EN 10226)
Effectuez la découpe du plan de travail d'après le croquis coté. Respectez les distances de sécurité (voir le chapitre "Conseils de sécurité relatifs au montage").
Scellez les bords de coupe des plans de travail en bois avec un vernis spécial, du caoutchouc au silicone ou de la résine pour éviter tout gonflement dû à l'humidité. Les matériaux utilisés doivent être thermorésistants.
Attention à ne pas répandre ces matériaux sur le dessus du plan de travail.
■ Faites passer le cordon d'alimentation par la découpe.
Déposez la table de cuisson dans la découpe.
Si vous constatéz lors du montage que le joint du cadre ne repose pas correctement sur le plan de travail aux angles, retouchez les angles (≤ R4) avec précaution à l'aide d'une scie sauteuse.
- Branchez l'appareil au réseau électrique (voir chapitre "Branchement électrique").
Raccordez l'appareil au gaz (voir chapitre "Raccordement au gaz").
Fixez la table de cuisson avec les équérres fournies ①.

Après le montage
Après le montage de la table de cuisson, vérifie le comportement de la flamme en allumant tous les brûleurs.
La flamme ne doit pas s'eteindre lorsqu'elle est sur minimum ou lorsque lebouton de réglage est tournérapidement de "maximum" à "minimum".
Sur "maximum", le coeur de la flamme doit'être bien visible.
Joint entre l'appareil et le plan de travail

La bande sous le pourtour de la partie supérieure de la table de cuisson garantit une étanchéité suffisante par rapport au plan de travail.
Il est strictement interdit deposer un produit pour joint d'étanchéité (silicone par exemple) entre la table de cuisson et le plan de travail.
La table de cuisson et le plan de travail peuvent être abimés si la table de cuisson doit être démonnée.
Plan de travail carrelé

Les joints ① et la zone hachurée sous la surface de support de la table de cuisson gaz doivent être lisses et égaux afin que le cadre repose bien sur les bords et que le joint d'étanchéité situé sous le rebord de la partie supérieure de la plaque puisse assurer une étanchéité suffisante avec le plan de travail.
Il est conseilé d'effectuer le raccordement électrique avec une prise. Ceci permet de faciliter le SAV.
Vérifiez que la prise est accessible une fois l'appareil monté.
Si le raccordement n'est pas réalisé par l'intermédiaire d'une prise, faites appel à unElectricien spécialisé qui connait très précisé les directives locales ainsi que les prescriptions complémentaires de la société locale de distribution d'électricité et les respectsera scrupleusement.
Si la prise de courant n'est plus accessible ou si le branchement est prévu en fixe, un dispositif de sectionnement de chacun des pôles doit être prévu sur l'installation. Ce dispositif peut être constitué d'un interrupteur à ouverture de contact de min. 3 mm. Il peut s'agir d'un disjoncteur automatique, de fusibles ou de contacteurs.
Vous trouvrez les caractéristiques de branchement obligatoires sur la plaque signalétique. Ces caractéristiques doivent correspond à cette du réseau.
Le fabricant signale qu'il ne saurait etre tenu responsable des dégats pour les dommages immédiats ou indirects liés à un montage ou à un raccordement incorrects.
Le fabricant ne peut etre tenu pour responsable de dégats causés par une mise à la terre manquante ou défectueuse (décharge électrique par ex.).
La protection contre les contacts accidentels des pieces isolées en fonction doit être assurée après le montage.
Puisssance totale
voir plaque signalétique
Raccordement et protection
AC 230 V / 50 Hz
Protection de surintensité 20 A avec circuit spécifique (boîtier de connexion).
Disjoncteur différentiel
Pour plus de sécurité il est recommendé de monter un disjoncteur différentiel avec courant de déclenchement à 30 mA en avant de l'appareil.
Comment metre hors tension
Si l'appareil doit être mis hors tension, procéder de la façon suivante (en fonction de l'installation):
Fusibles
Enlevez les fusibles de protection.
- Disjoncteurs à réarmement :
appuyez sur le bouton de test (rouge) jusqu'à ce que le bouton mé-dian (noir) se déclença.
ou :
- Disjoncteurs à réarmement automatique :
basculez le levier de 1 (Marche) sur 0 (Arrêt)
- Disjoncteur différentiel
Commutez l'interrupteur principal de 1 (Marche) à 0 (Arrêt) ou actionnez la touche de contrôle.
Après déconnexion du disjoncteur, prendre les précautions nécessaires pour éviter une remise sous tension accidentelle.
Remplacement du cordon d'alimentation
En cas de remplacement du cordon d'alimentation, il doit être remplaced par un cordon spécifique de type H 05 VV-F (isolation PVC) disponible chez le fabri-cant ou le service après-vente.
Le cordon d'alimentation ne doit être remplace que le service après-vente du fabricant ou un service après-vente ou un electricien/agree par le fabricant.
Vous trouvrez les caractéristiques de branchement obligatoires sur la plaque signalétique.
Le raccordement au gaz ainsi que l'adaptation à un autre type de gaz doit être réalisés exclusivement par un installateur/agréé par la société de distribution du gaz compétente. Celui-ci est responsable du parfait fonctionnement de l'appareil sur le lieu d'installation.
Le raccordement au gaz doit être effectué de telle sorte que le raccordement puisse s'effectuer dans un meuble de cuisine ou à l'extérieur d'un meuble de cuisine. Le robinet doit être accessible et visible, au besoin après ouverture de la porte d'un meuble.
Renseignez-vous sur le type de gaz auprès de la société de distribution du gaz compétente et comparez les données obtenues avec celles figurant sur la plaque signalétique. Il doit être installé et raccordé conformément aux conditions d'installation applicables. Les mesures d'aération doivent particulièrement être prises en compte.
Effectuez le raccordement gaz conformément aux prescriptions generales et locales en vigueur.
Les réglementations particulières de la société de distribution de gaz locale ainsi que celles des services de contrôle de la construction doivent également être respectées.
Les raccordements doivent être placés de façon à ne pas être endomagés par la chaleur dégagée par l'appareil.
Les tuyaux d'arrivée et les robinets de gaz ne doivent pas'être en contact avec les gaz brûlés chauds.
Assurez-vous que le tuyau de gaz et le cordon électrique ne touchent pas les parties chaudes de l'appareil, sans quoi ils pourraient être endommages.
Le tuyau doit être posé de manière à ne pas être en contact avec les pièces mobiles de la cuisine (tiroir par ex.) et à ne pas les bloquer.
Après l'encastrement de l'appareil, il doit être régle pour correspondre aux caractéristiques du gaz utilisé sur place.
Ensuite, vérifier l'étanchéité du raccordement au gaz.
Cette table de cuisson est prévue pour le gaz naturel et le gaz liquéfié.
Catégorie: II 2 E + 3 + 20/25 mbar, 28-30/37 mbar
Suivant le pays, la table de cuisson est prévue pour le gaz naturel ou le gaz liquéfié (voir autocollant sur l'appareil).
Le kit d'injecteurs appropriés (en fonction du pays) est fourni avec l'appareil pour pouvoir adapter la table de cuisson à un autre type de gaz.
Si le kit d'injecteurs nécessaire pour toute installation n'est pas fourni, adressez-vous à votre revendeur ou au SAV.
L'adaptation à un autre type de gaz est décrite dans le chapitre "Adaptation à un autre type de gaz".
Raccord fileté sur l'appareil
Le raccordement au gaz de l'appareil est équipé d'un filetage conique 1/2".
Le branchement en gaz naturel ou en gaz liquéfié peut s'effectuer :
- part tuyau rigide
- par tuyau flexible blindé à embouts vissables conforme NF (tuyau à durée de vie illimitée). Visser l'adaptateur fourni n°8400570 sur le rac-cord gaz de la plaque en utilisant un ruban d'étanchéité PTFE spécial gaz.
- par tuyau caoutchouc sur l'embout porte-caoutchouc dans le cas de gaz distribué par récipient (utilisez un tuyau couple estampillé NF-gaz de diamètre interieur 6 mm).
Pour garantir des raccords étanches, des matériaux d'étanchéité appropriés doivent être utilisés.

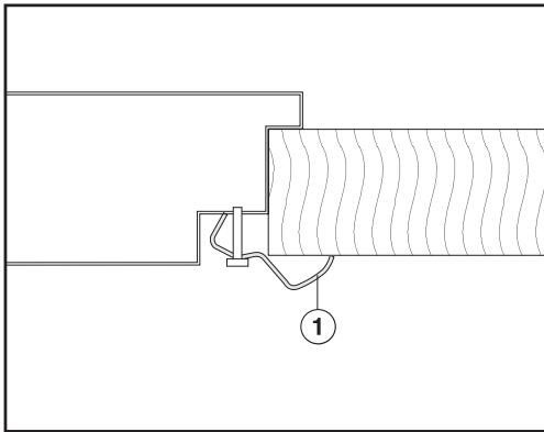
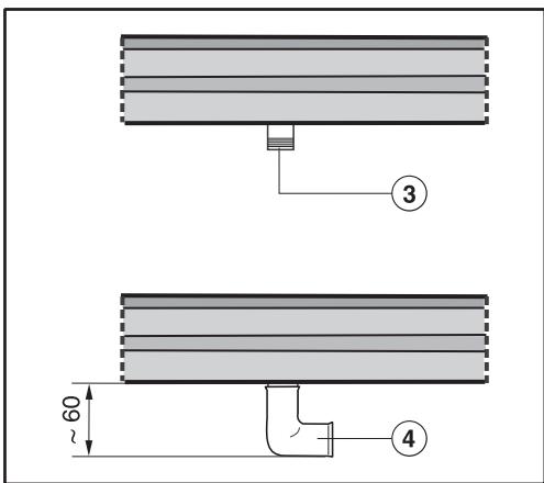
Utilisation d'un coude de 90^
(3) Raccordement gaz R 1/2 - ISO 7-1 (DIN EN 10226)
④ coude 90^
En cas d'utilisation d'un coude de 90^ , la hauteur d'encastrement augmente d'environ 60 mm au niveau du raccordement gaz.
Charge nominale
KM 3034 / KM 3054
| Brûleur | Type de gaz | Réglage fort | Réglage faible | |
| kW | g/h | kW | ||
| Brûleur 1000 W | Gaz naturel | 1,0 | - | 0,25 |
| Gaz liquéfié | 0,95 | 69 | 0,20 | |
| Brûleur 1700 W | Gaz naturel | 1,7 | - | 0,30 |
| Gaz liquéfié | 1,7 | 124 | 0,35 | |
| Brûleur 2700 W | Gaz naturel | 2,7 | - | 0,50 |
| Gaz liquéfié | 2,55 | 186 | 0,60 | |
| Wok | Gaz naturel | 4,7 | - | 0,30 |
| Gaz liquéfié | 4,6 | 335 | 0,40 | |
| Rendement global | Gaz naturel | 11,80 | ||
| Gaz liquéfié | 11,50 | 837 | ||
L'adaptation à un autre type de gaz doit être réalisée exclusivement par un installateur agréé par la société de distribution du gaz compétente.
En cas d'adaptation à un autre type de gaz, changer les injecteurs principaux et les injecteurs pour réglage faible des brûleurs.
Tableau des injecteurs
| Injecteur principal Ø | Injecteurs pour réglage faible Ø | |
| Gaz naturel | ||
| Brûleur 1000 W | 0,76 | 0,39 |
| Brûleur 1700 W | 0,94 | 0,42 |
| Brûleur 2700 W | 1,20 | 0,54 |
| Brûleur wok | 2x 1,07 / 0,72 | 0,42 |
| Gaz liquéfié | ||
| Brûleur 1000 W | 0,52 | 0,23 |
| Brûleur 1700 W | 0,66 | 0,36 |
| Brûleur 2700 W | 0,81 | 0,42 |
| Brûleur wok | 2x 0,70 / 0,46 | 0,25 |
Les désignations des injecteurs indiquent le diamètre de perçage au 1/100 mm.
Remplacement des injecteurs
Débranche la table gaz du secteur et fermez le robinet de gaz.
Remplacement des injecteurs principaux
Brûleurs 1000 W, 1700 W, 2700 W



■ Enlever les grilles-support, le couvercle de brûleur ① et la tête de brûleur ②.
Dévissez l'injecteur principal ⑥ avec une clé à douille de 7.
- Mettez en place l'injecteur approprié (voir tableau) et vissez-le à fond.
■ Bloquez l'injecteur avec le vernis pour éviter qu'il soit desseré par erreur.
Brûleur pour wok

Enlevez le couvercle de brûleur ①② et la tête de brûleur ③.
Dévissez l'injecteur principal ⑥ avec une clé à douille de 7.
- Mettez en place l'injecteur approprié (voir tableau) et vissez-le à fond.
■ Bloquez les injecteurs avec le vernis pour éviter qu'ils soient desserrés par erreur.
Remplacement des injecteurs à réglage faible.
Pour changer les injecteurs à réglage faible, les vis de fixation des brûleurs doivent être desserrées et la partie supérieure de l'appareil doit être enlevée.
Retirez les boutons de commande.
Enlevez les pièces des brûleurs.
Enlevez la plaque de l'appareil (voir croquis).

Desserrez l'injecteur pour réglage faible ① logé dans la conduite de gaz avec un petit tournevis.

Retirez l'injecteur avec une pince pointue.
- Mettez en place l'injecteur approprié (voir tableau) et vissez-le à fond.
■ Bloquez les injecteurs avec le vernis pour éviter qu'ils soient desserrés par erreur.
Contrôler le fonctionnement
Vérifiez l'étanchéité des pieces conduisant le gaz.
Réassemblez la table.
Vérifiez ensuite le comportement de la flamme en faisant fonctionner tous les brûleurs.
La flamme ne doit pas s'éteindre lorsqu'elle est sur minimum ou lorsque le bouton de réglage est tourné de "maximum" à "minimum".
Sur "maximum", le coeur de la flamme doit'être bien visible.
■ Collez l'autocollant joint au jeu d'injecteurs avec l'indication du type de gaz sur l'ancien autocollant.
Service après-vente, plaque signalétique
En cas de pannes auxquelles vous ne pouvez remédier vous-même, contactez :
-PMC - voire revendeur Miele ou
- la ligne Consommateurs Miele (voir au dos de cette notice)
Vous trouvrez le numero de téléphone du service après-vente au dos de ce mode d'emploi.
Veuillez indiquer le modele et la reférence de votre apparéil. Ces deux indications figurent sur la plaque signalétique
Afin d'enregistrer la garantie de votre produit, veuillez replir notre formulaire d'enregistrement produit en ligne sur le site www.miele.fr dans la rubrique "les services" ou nous renvoyer la carte constructeur jointe.
Collez la plaque signalétique dans l'encadré. Vérifiez que la désignation de votre apparéil coincide avec la référence de l' apparéil indiquée sur la couverture du mode d'emploi.
MIELE France
Siège social
93151 - Le Blanc-Mesnil CEDEX
9 av. Albert Einstein - Z. I. du Coudray
R.C.S. Bobigny B 708 203 088
Galerie Miele Paris
55, Boulevard Malesherbes
75008 Paris

Internet
www.miele.fr

La ligne Consommateurs
Conseilis,SAV,accessoires et piées détachées
0974501000
Appel non surtaxé
Siège en Allemagne
Miele & Cie. KG
Notice Facile