FOCALREFERENCE - Enceinte audio EYMARQUE - Notice d'utilisation et mode d'emploi gratuit
Retrouvez gratuitement la notice de l'appareil FOCALREFERENCE EYMARQUE au format PDF.
| Intitulé | Description |
|---|---|
| Type de produit | Équipement audio haut de gamme |
| Caractéristiques techniques principales | Technologie de son surround, réponse en fréquence étendue, faible distorsion |
| Alimentation électrique | Alimentation secteur avec adaptateur inclus |
| Dimensions approximatives | Dimensions compactes pour une intégration facile dans divers espaces |
| Poids | Léger, facilitant le transport et l'installation |
| Compatibilités | Compatible avec la plupart des systèmes audio et appareils connectés |
| Type de batterie | Non applicable (fonctionne sur secteur) |
| Tension | 220-240V AC |
| Puissance | Consommation optimisée pour une performance audio maximale |
| Fonctions principales | Lecture audio, connectivité Bluetooth, réglages de son personnalisables |
| Entretien et nettoyage | Nettoyage avec un chiffon doux, éviter les produits chimiques agressifs |
| Pièces détachées et réparabilité | Disponibilité de pièces de rechange pour maintenance |
| Informations générales | Garantie de 2 ans, support technique disponible |
FOIRE AUX QUESTIONS - FOCALREFERENCE EYMARQUE
Questions des utilisateurs sur FOCALREFERENCE EYMARQUE
0 question sur cet appareil. Repondez a celles que vous connaissez ou posez la votre.
Poser une nouvelle question sur cet appareil
Téléchargez la notice de votre Enceinte audio au format PDF gratuitement ! Retrouvez votre notice FOCALREFERENCE - EYMARQUE et reprennez votre appareil électronique en main. Sur cette page sont publiés tous les documents nécessaires à l'utilisation de votre appareil FOCALREFERENCE de la marque EYMARQUE.
MODE D'EMPLOI FOCALREFERENCE EYMARQUE
User manual / Manuel d'utilisation / 用户手册

CONFORMITY
Un échantillon de ce produit a été testé comme étant en conformité avec les directives européennes et autres standards internationaux
suivants : Compatibleité electromagnetique EN 55103 / Sécurité électrique EN 60065
符合
| L'éclair représenté par le symbole flèche et containu dans un triangle équilatéral, à pour objet de prévenir l'utiliser de la présence de tension élevée au sein de l'appareil pouvant entrainer un risque de chic électrique. | CAUTION RISK OF ELECTRIC SHOCK DO NOT OPEN | Le point d'exclamation contenu dans un tri- angle équilatéral, a pour objet de prévenir l'utiliser de la présence d'instructions importantes mentionnées dans le mode d'emploi et relatives à la mise en œuvre et à l'entretien de l'applieil. |
| 1. Lire ces instructions. 2. Conserver ces instructions. 3. Prendre en considération les mises en garde. 4. Suirove toutes les instructions. 5. Ne pas utiliser cet apparéil en présence d'eau. 6. Nettoyer uniquement avec un chiffon sec. 7. N'obstruer aucun orifice de ventilation. Installer l'applieil en suivant les instructi- tions du fabricant. 8. Ne pas installer l'applaire à proximité d'une source de chaleur tel un radiateur, une ciunisière, une bouche de chauffage ou tout autre apparéil (y compris les amplifi- cateurs) dissipant de la chaleur. 9. Respecter les instructions de sécu- rité concernant le cordon d'alimentation secteur. Le cordon d'alimentation présente deux lames dont l'une est plus large que l'autre. Un cordon avec mise à la terre contient deux lames ainsi qu'une troisième pour la connection à la terre. La lame la plus large ou la troisième lame ont pour objet d'assurer votre sécurité. Si le cor- don d'alimentation ne s'adapte pas à toute prise d'alimentation secteur, consultez un électricien et remplacez la prise secteur déSUette. 10. Assurez-vous que le cable d'alimentation ne puisse être piétriné, écrasé ou pince. Une attention toute particulière doit être accordée à la fiche d'alimentation et à la liaison du cordon avec l'applieil. 11. N'utiliser que les accessoires recom- mandés par le fabricant. 12. N'utiliser que les appareils de ma- nutention, pieds, trépiés, supports ou tables recommançés par le fabricant ou leurs vendus avec l'applieil. Lorsqu'un chariot est utilisé,redoublez de prudence lors du déplacement de l'ensemble chariot/apparéil afin d'éviter toutes blessures par basculement. 13. Débranchez l'applieil en cas d'orage ou pendant de longues périodes pendant lequel l'applieil n'est pas utilisé. | 14. Toute tâche de maintenance doit être réalisée par un personnel qualifié. Une maintenance est nécessaire à la suite de tout dommage occasionné à l'applaire tels que la déterioration du cable ou de la fiche d'alimentation, le déversement de liquide ou l'insertion d'objets à l'intérieur de l'applaire, l'exposition à la pluie ou à l'humidité, le mauvais fonctionnement ou le renversement de l'applieil. 15. Ne pas utiliser d'accessoires non re- commandés par le fabricant de l'applaire infin d'évitier tout risque. 16. Ce produit doit être raccordé uniquem- ment au type d'alimentation secteur indiqué sur l'étiquette figurant sur l'applieil. En cas d'hésitation sur le type d'alimentation de votre installation électrique, consultez le vendur de vote produit ou leur fournisse d'électricité. Pour les appareils présus pour une utilisa- tion à partir d'une batterie ou d'une autre source d'alimentation, se réféérer au man- uel d'utilisation. | 19. Ne surchargez pas les prises murales, les rallonges électriques ou les prises mul- tiples. Il pourrait en résultat incendies ou chôcs électriques. 20. Ne jamais insérer un qualconque object par les trouss de ventilation de l'applieil. Il pourrait enter en contact avec des com- posants soumis à de haute tensions ou les court-circuiter et ainsi occasionner un incendie ou un choking électrique. Ne jamais répendre de liquide sur l'applieil. 21. Ne tentez pas de réparer cet apparéil par vos propres moyens; l'ouverture de cet apparéil peut vous exposer à des tensions dangereuses ou à autres risques. Pour toute intervention de maintenance, adress- sez-vous à un personnel qualifié. 22. Lorsque le remplacement de com- posants est nécessaire, assurez-vous que le technicien de maintenance utilise les composants spécifiés par le fabricant ou lié- nantant des caractéristiques iden- tiques à ceux correspondant à l'exemplaire d'origine. Des composants non conformes peuvent provquer incendies, chôcs élec- triques ou autres risques. 23. Àprouse toute intervention ou réparation sur l'applieil, demandez au technicien de maintenance de procéder à des tests afin de vérifier que le produit fonctionne en toute sécurité. 24. L'applieil ne doit être monté sur un mur ou au plafond que si le constructeur le prévoit, et uniquement selon les Fil d'antenne- 25. Le cordon secteur est le dispositif de sectionnement, il permet de déconnecter l'électronique du secteur. La prise murale doit être accessible. 26. Ne pas exposer à des égouttements d'eau ou des éclabousssures. |
F
Nos you remercions d'avoir choisi les enceintes Focal et de partager avec nous notre philosophie "the Spirit of Sound". Ces enceintes de haute technicity integrent les ultimes perfectionnements Focal en matière de conception de haut-parleurs pour la haute fidèle et le home cinema. Afin d'exploiter toutes leurs performances, nous vous conseillons de dire les instructions de ce livre puis de le conserver avec précaution pour vous y reférer ultérieurement.
GB
A - Sur un meuble ou une étagère
Placez Sib à égale distance par rapport au point d'écoute.
Une hauteur minimale de 80 cm est recommendée afin d'obtenir une image sonore cohérente.
B-Wallfixing

- Avant toute fixation murale vérifie, qu'en aucun cas vous ne risquez de sectionner un cable électrique ou une canalisation à l'intérieur du mur.
- Utilise la clef hexagonale fournie sous la base de Sib pour dévisser le socle et le séparer de l'enceinte.

- Câblage de Sib : voir chapitre "câblage" page 22.
Passez le cable d'enceinte comme indiqué sur le schéma.
Laisser 10 cm pour le câblage de Sib.

- Placez le socle contre le mur et repérez les zones de perçage pour les trois vis de fixation fournies. Utilisez une mèche de 0 6 mm pour le perçage. Utilisez les trois chevilles fournies. Fixez le socle avec les trois vis.

- Devissez les deux attaches avec la clef hexagonale.
- Enlevez la liaison de Sib de son socle, returnez-la verticalement et replacez-la en position parallele à la base de Sib.
- Revissez les deux attaches.
- Connectez Sib à son cable (attention à bien respecter les polarités) et refixez-le au socle avec la cléf hexagonale.




Câblage
Connectez Sib à l'amplificateur par un cable de qualité hi-fi en cuivre pur, 0 1,5 mm
minimum, dont l'un des conducteurs est repéré par un marquage visuel.

Respectez bien la mise en phase en reliant les bornes rouges marquées "+" de l'ampli à la borne rouge ou "+" de l'enceinte
correspondante.
Procedez ensuite de même pour les bornes noires marquées " -".

Specifications
| Description | Enceinte deux voies bass-reflex compacte multi-uses |
| Haut-partleurs | 1 grave-médium 125 mm blindé |
| Coupureasse (-6 dB) | Tweeter 19 mm blindé |
| Réponse en fréquences (+/- 3dB) | 75 Hz - 20 kHz |
| Efficacité (2.8V/1m) | 90 dB |
| Impédance nominale (EN 60065) | 6 ohms |
| Fréquence coupure filtreet | 3 kHz |
| Amplificateur recommendé | 15 - 75 W |
| Total dimensions (HxLxP) | 247 mm x 142 mm x 164 mm |
| Poids | 2,1kg |
Cub3
Specifications
Subwoofer 21 cm : membrane polypropylene.
Amplificateur numérique BASH® 150 Wrms : technologie numérique BASH® pour de très grandes puissances et un son de haute qualité.
Inverseur de phase : optimisation du couplage subwoofer/enceinte.
Allumage/extinction automatique temporisé : mise en voille et allumage automatique de l'amplificateur BASH®.
Protection par écrêtage en douceur : évite la saturation.
Entrées bas niveau stéreo : entrées sur RCA
Entrée LFE directe : entrée mono directe à connecter à la sortie "subwoofer" des amplificateurs home cinéma.
Construction en MDF : enceinte rigide, absence de résonance.
Évent profilé : grave puissant sans distorsion.

Mise en route
Allumage / extinction temporisé automatique
Cub^3 est équipé d'un système de détction automatique du signal audio. Lorsque le contacteur "Power" est placé en mode "Auto", le caisson se mettra immidiatement sous tension dés qu'un signal audio sera détecté en entrée. En mode "Power On", le détector est inactif et le caisson est maintainu sous tension en permanence.
Inversement, lorsque aucun signal n'est reconnu en entrée du caisson au bout de 3 minutes environ, le système de détction met automatiquement le caisson en mode veille.
En cas d'absence prolongée durant plusieurs jours, il est conseilé demettre le contacteur de mise sous tension sur "Off".
En cas d'orage, débranchez le cordon secteur.

Connexions
Sur les entrées RCA bas niveau
Lorsqu'un amplificateur 2 canaux équipé de sorties ligne "pre out" est utilisé, Cub³ devra être connecté sur les entretes stéreo RCA "Line inputs Right/Left" (fig. B).
Sur l'entrée LFE
Lorsqu'un amplificateur audio/ video multicanaux est utilisé, l'entrée unique LFE de Cub3 sera connectee sur la sortie "Subwoofer" de l'amplificateur audio/video. Dans ce cas précis, toutes les fonctionnalités de réglage de Cub3 seront désactivées, hormis le contrôle du volume. Cette liaison est préféable en home cinema, où toutes ces fonctions sont déjà containes dans l'amplificateur audio/video et risqueraient de faire double employi.


Emplacement
Contrairement à une enceinte acoustique qui doit être suffisamment éloignée des murs et des angles de la piercédécoute, nous vous conseillons de placer le caisson de grave Cub³ dans un angle.
Si Cub3 est plaqué contre un seul mur ou très écARTÉ des cloisons, la longueur d'onde très importante des fréquences graves reproduites sont exciter de façon aléatoire les résonances du local d'écoute. La réponse en fréquence ne sera pas linéaire et la qualité du grave en sera très affectée (manque de profondeur, effet de "son de tonneau", grave mou et/ou mal tenu, recouement difficile ou impossible avec les autres enceintes utilisées).
En plaquant Cub^3 dans un angle, les résonances de la pièce seront excitées de façon plus linéaire et prévisible.
Non seulement, la perception du grave sera optimale, mais en plus cette disposition permettra d'accroître le niveau de grave de +6 dB. Si pour des questions de contraintes d'aménagement, vous ne pouvez pas placer le caisson dans un angle, essayez différents emplacements dans la pierce jusqu'à couver le meilleur compromis possible.
D'une maniere générale, il faudra veiller à placer le caisson de grave sur l'avant de la pierce d'écoute.
Les bandes de fréquences concernées étant omnidirectionnelles, le grave n'est en原則 pas affecté par un objet ou un meuble place entre le caisson et le point d'écoute.



Période de rodage
Le woofer utilisé dans Cub3 est un élément mécanique complexe qui exige une période de rorage pour fonctionner au niveau des ses possibilités et s'adapter aux conditions de température et d'humidité de votre environnement. Cette période varie selon les conditions rencontres et peut se prolonger sur quelques semaines. Pour accélérer cette opération, nous vous conseillons de faire fonctionner ce caisson de grave une vingtaine d'heures à niveau moyen, sur des programmes musicaux riches en grave. Une fois les caractéristiques de l'enceinte totalement stabilisées, vous pourrez profiter intégralement des performances de votre subwoofer actif.
\section*{Caracteristiques techniques}
| Description | subwoofer compact bass-reflex, ampli BASH® 150 W intégré |
| Haut-parleurs | 210 mm |
| Coupureasse (-6 dB) | 35 Hz |
| Réponse en fréquences (+/- 3 dB) | 40 Hz - 120 Hz |
| Fréquence coupure filtre | 120 Hz |
| Entrées | ligne stéréoligne directe (LFE) |
| Puisance RMS | 100 W |
| Puisance créète | 150 W |
| Phase | 0° / 180° |
| Modes d'alimentation | on/off/standby |
| Dimensions (H x L x P) | 333 mm x 300 mm x 300 mm |
| Poids | 11 kg |
Conditions de garantie
En cas de problème, adresse-vous à votre revendeur Focal.
La garantie pour la France sur tout matériel Focal est de 2 ans non transmissible en cas de revente, a partir de la date d'achat. En cas de matériel defectueux, celui-ci doit etre expedié à vos frais, dans son emballage d'origine auprès du revendeur, lequel analyser le matériel et déterminera la nature de la panne. Si celui-ci est sous garantie, le matériel vous sera rendu ou replacé en "franco de port". Dans le cas contraire, un devis de réparation vous sera proposé. La garantie ne couvre pas les dommages resultant d'une mauvaise utilisation ou d'un branchement incorrect (bobines mobiles brûlées par exemple...).
En dehors de la France, le matériel Focal est couvert par une garantie dont les conditions sont fixées localement par le distributeur officiel Focal de chaque pays, en accord avec les lois en vigueur sur le territoire concerné.

FOCAL®
THE SPIRIT OF SOUND
C E
Cub³
User manual / Manuel d'utilisation / 用户手册

CONFORMITY
Un échantillon de ce produit a été testé comme étant en conformité avec les directives européennes et autres standards internationaux suivants : Compatibleité electromagnétique EN 55103 / Sécurité électrique EN 60065
符合
| L'éclair représenté par le symbole flèche et containu dans un triangle équilatéral, à pour objet de prévenir l'utiliser de la présence de tension élevée au sein de l'appareil pouvant entrainer un risque de chic électrique. | CAUTION RISK OF ELECTRIC SHOCK DO NOT OPEN | Le point d'exclamation contenu dans un tri- angle équilatéral, a pour objet de prévenir l'utiliser de la présence d'instructions importantes mentionnées dans le mode d'emploi et relatives à la mise en œuvre et à l'entretien de l'applieil. |
| 1. Lire ces instructions. 2. Conserver ces instructions. 3. Prendre en considération les mises en garde. 4. Suirove toutes les instructions. 5. Ne pas utiliser cet apparéil en présence d'eau. 6. Nettoyer uniquement avec un chiffon sec. 7. N'obstruer aucun orifice de ventilation. Installer l'applieil en suivant les instructi- tions du fabricant. 8. Ne pas installer l'applaire à proximé de'une source de chaleur tel un radiateur, une ciúnière, une bouché de chauffage ou tout autre apparéil (y compris les amplifi- cateurs) dissipant de la chaleur. 9. Respecter les instructions de sécu- rité concernant le cordon d'alimentation secteur. Le cordon d'alimentation présente deux lames dont l'une est plus large que l'autre. Un cordon avec mise à la terre contient deux lames ainsi qu'une troisième pour la connection à la terre. La lame la plus large ou la troisième lame ont pour objet d'assurer votre sécurité. Si le cor- don d'alimentation ne s'adapte pas à toute prise d'alimentation secteur, consultez un électricien et remplacez la prise secteur déSUette. 10. Assurez-vous que le cable d'alimentation ne puisse être piétriné, écrasé ou pince. Une attention toute particulière doit être accordée à la fiche d'alimentation et à la liaison du cordon avec l'applieil. 11. N'utiliser que les accessoires recom- mandés par le fabricant. 12. N'utiliser que les appareils de ma- nutention, pieds, trépiés, supports ou tables recommançés par le fabricant ou leurs vendus avec l'applieil. Lorsqu'un chariot est utilisé,redoublez de prudence lors du déplacement de l'ensemble chariot/apparéil afin d'éviter toutes blessures par basculement. 13. Débranchez l'applieil en cas d'orage ou pendant de longues périodes pendant lequel l'applieil n'est pas utilisé. | 14. Toute tâche de maintenance doit être réalisée par un personnel qualifié. Une maintenance est nécessaire à la suite de tout dommage occasionné à l'applaire tels que la déterioration du cable ou de la fiche d'alimentation, le déversement de liquide ou l'insertion d'objets à l'intérieur de l'applaire, l'exposition à la plüe ou à l'humidité, le mauvais fonctionnement ou le renversement de l'applieil. 15. Ne pas utiliser d'accessoires non re- commandés par le fabricant de l'applaire infin d'évitier tout risque. 16. Ce produit doit être raccordé uniquem- ment au type d'alimentation secteur indiqué sur l'étiquette figurant sur l'applieil. En cas d'hésitation sur le type d'alimentation de votre installation électrique, consultez le vendur de vote produit ou leur fournisse d'électricité. Pour les appareils présus pour une utilisa- tion à partir d'une batterie ou d'une autre source d'alimentation, se réféérer au man- uel d'utilisation. | 19. Ne surchargez pas les prises murales, les rallonges électriques ou les prises mul- tiples. Il pourrait en résultat incendies ou chôcs électriques. 20. Ne jamais insérer un qualconque object par les trouss de ventilation de l'applieil. Il pourrait enter en contact avec des com- posants soumis à de haute tensions ou les court-circuiter et ainsi occasionner un incendie ou un choking électrique. Ne jamais répendre de liquide sur l'applieil. 21. Ne tentez pas de réparer cet apparéil par vos propres moyens; l'ouverture de cet apparéil peut vous exposer à des tensions dangereuses ou à autres risques. Pour toute intervention de maintenance, adress- sez-vous à un personnel qualifié. 22. Lorsque le remplacement de com- posants est nécessaire, assurez-vous que le technicien de maintenance utilise les composants spécifiés par le fabricant ou lié- nantant des caractéristiques iden- tiques à ceux correspondant à l'exemplaire d'origine. Des composants non conformes peuvent provquer incendies, chôcs élec- triques ou autres risques. 23. Àprouse toute intervention ou réparation sur l'applieil, demandez au technicien de maintenance de procéder à des tests afin de vérifier que le produit fonctionne en toute sécurité. 24. L'applieil ne doit être monté sur un mur ou au plafond que si le constructeur le prévoit, et uniquement selon les Fil d'antenne- 25. Le cordon secteur est le dispositif de sectionnement, il permet de déconnecter l'électronique du secteur. La prise murale doit être accessible. 26. Ne pas exposer à des égouttements d'eau ou des éclabousssures. |
F
Nos you remercions d'avoir choisi les enceintes Focal et de partager avec nous notre philosophie "the Spirit of Sound". Ces enceintes de haute technicity integrent les ultimes perfectionnements Focal en matière de conception de haut-parleurs pour la haute fidèle et le home cinema. Afin d'exploiter toutes leurs performances, nous vous conseillons de dire les instructions de ce livre puis de le conserver avec précaution pour vous y reférer ultérieurement.
GB
Amplificateur numérique BASH® 150 Wrms : technologie numérique BASH® pour de très grandes puissances et un son de haute qualité.
Inverseur de phase : optimisation du couplage subwoofer/enceinte.
Allumage/extinction automatique temporisé : mise en voille et allumage automatique de l'amplificateur BASH®.
Protection par écretage en douceur : évite la saturation.
Entrées bas niveau stéreo : entrées sur RCA
Entrée LFE directe : entrée mono directe à connecter à la sortie "subwoofer" des amplificateurs home cinema.
Construction en MDF: enceinte rigide, absence de résonance.
Évent profilé : grave puissant sans distorsion.

Connexions
Sur les entrées RCA bas niveau
Lorsqu'un amplificateur 2 canaux équipé de sorties ligne "pre out" est utilisé, Cub³ devra être connecté sur les entrées stéreo RCA "Line inputs Right/Left" (fig. B).
Sur l'entrée LFE
Lorsqu'un amplificateur audio/ video multicanaux est utilisé, l'entrée unique LFE de Cub3 sera connectee sur la sortie "Subwoofer" de l'amplificateur audio/video. Dans ce cas précis, toutes les fonctionnalités de réglage de Cub3 seront désactivées, hormis le contrôle du volume. Cette liaison est préféable en home cinema, où toutes ces fonctions sont déjà containes dans l'amplificateur audio/video et risqueraient de faire double employi.


A
Emplacement
Contrairement à une enceinte acoustique qui doit être suffisamment éloignée des murs et des angles de la pièce d'écoute, nous vous conseillons de placer le caisson de grave Cub³ dans un angle.
Si Cub3 est plaqué contre un seul mur ou très écARTÉ des cloisons, la longueur d'onde très importante des fréquences graves reproduites sont exciter de façon aléatoire les résonances du local d'écoute. La réponse en fréquence ne sera pas linéaire et la qualité du grave en sera très affectée (manque de profondeur, effet de "son de tonneau", grave mou et/ou mal tenu, recouement difficile ou impossible avec les autres enceintes utilisées).
En plaquant Cub^3 dans un angle, les résonances de la pièce seront excitées de façon plus linéaire et prévisible.
Non seulement, la perception du grave sera optimale, mais en plus cette disposition permettra d'accroître le niveau de grave de +6 dB. Si pour des questions de contraintes d'aménagement, vous ne pouvez pas placer le caisson dans un angle, essayez différents emplacements dans la pierce jusqu'à couver le meilleur compromis possible.
D'une maniere générale, il faudra veiller à placer le caisson de grave sur l'avant de la pierce d'écoute.
Les bandes de fréquences concernées étant omnidirectionnelles, le grave n'est en原則 pas affecté par un objet ou un meuble place entre le caisson et le point d'écoute.



Période de rodage
Le woofer utilisé dans Cub3 est un élément mécanique complexe qui exige une période de ronage pour fonctionner au niveau des ses possibilités et s'adapter aux conditions de température et d'humidité de votre environnement. Cette période varie selon les conditions rencontres et peut se prolonger sur quelques semaines. Pour accélérer cette opération, nous vous conseillons de faire fonctionner ce caisson de grave une vingtaine d'heures à niveau moyen, sur des programmes musicaux riches en grave. Une fois les caractéristiques de l'enceinte totalement stabilisées, vous pourrez profiter intégralement des performances de votre subwoofer actif.
\section*{Caracteristiques techniques}
| Description | subwoofer compact bass-reflex, ampli BASH® 150 W intégré |
| Haut-parleurs | 210 mm |
| Coupureasse (-6 dB) | 35 Hz |
| Réponse en fréquences (+/- 3 dB) | 40 Hz - 120 Hz |
| Fréquences coupure filtré | 120 Hz |
| Entrées | ligne stéréoligne directe (LFE) |
| Puisance RMS | 100 W |
| Puisance créée | 150 W |
| Phase | 0° / 180° |
| Modes d'alimentation | on/off/standby |
| Dimensions (H x L x P) | 333 mm x 300 mm x 300 mm |
| Poids | 11 kg |
Conditions de garantie
En cas de problème, adresse-vous à votre revendeur Focal.
La garantie pour la France sur tout matériel Focal est de 2 ans non transmissible en cas de revente, a partir de la date d'achat. En cas de matériel defectueux, celui-ci doit etre expedié à vos frais, dans son emballage d'origine auprès du revendeur, lequel analyser le matériel et déterminera la nature de la panne. Si celui-ci est sous garantie, le matériel vous sera rendu ou replacé en "franco de port". Dans le cas contraire, un devis de réparation vous sera proposé. La garantie ne couvre pas les dommages resultant d'une mauvaise utilisation ou d'un branchement incorrect (bobines mobiles brûlées par exemple...).
En dehors de la France, le matériel Focal est couvert par une garantie dont les conditions sont fixées localement par le distributeur officiel Focal de chaque pays, en accord avec les lois en vigueur sur le territoire concerné.

FOCAL®
THE SPIRIT OF SOUND
C E
Pack 5.1 Satellites
User manual/ Manuel d'utilisation

English/ Frangois page 16
| L'éclair représenté par le symbole flèche et contenu dans un triangle équilatéral, a pour objet de prévenir l'utilisateur de la présence de tension élevée au sein de l'appareil pouvant entraîner un risque de chic électrique. | CAUTION RISK OF ELECTRIC SHOCK DO NOT OPEN | Le point d'exclamation contenu dans un triangle équilatéral, a pour objet de prévenir l'utilisateur de la présence d'instructions importantes mentionnées dans le mode d'emploi et relatives à la mise en œuvre et à l'entretien de l'appareil. |
| 1. Lire ces instructions. 2. Conserver ces instructions. 3. Prendre en considération les mises en garde. 4. Suivre toutes les instructions. 5. Ne pas utiliser cet apparéil en présence d'eau. 6. Nettoyer uniquement avec un chiffon sec. 7. N'obstruer aucUM orifice de ventilation. Installer l'appareil en suivant les instructions du fabricant. 8. Ne pas installer l'apparéil à proximité d'une source de chaleur tel un radiateur, une cusinière, une bouche de chauffage ou tout autre apparéil (y compris les amplificateurs) dissipant de la chaleur. 9. Respecter les instructions de sécurité concernant le cordon d'alimentation secteur. Le cordon d'alimentation présente deux lames dont l'une est plus large que l'autre. Un cordon avec mise à la terre content des lames ainsi qu'une troisième pour la convection à la terre. La lame la plus large ou la troisième lame ont pour objet d'assurer votre sécurité. Si le cordon d'alimentation ne s'adapte pas à votre prise d'alimentation secteur, consultez un électricien et remplacez la plaste secteur désuette. 10. Assurez-vous que le cable d'alimentation ne puisse être piétiné, écrasé ou pince. Une attention toute particulière doit être accorde à la fiche d'alimentation et à la liaison du cordon avec l'apparéil. 11. N'utiliser que les accessoires recommandés par le fabricant. 12. N'utiliser que les apparéils de manutenion, pieds, trépieds, supports ou tables reconnamés par le fabricant ou chaque vendus avec l'apparéil. Lorsqu'un chariot est utilisé, redoublez de prudence lors du déplacement de l'ensemble chariot/apparéil afin d'éviter toutes blessures par basculment. 13. Débranchez l'apparéil en cas d'orage ou pendant de longues périodes pendant lequel l'apparéil n'est pas utilisé. | 14. Toute tâche de maintenance doit être réalisée par un personnel qualifié. Une maintenance est nécessaire à la suite de tout dommage occasionné à l'apparéil tels que la déterrioration du cable ou de la fiche d'alimentation, le déversement de liquide ou l'insertion d'objets à l'intérieur de l'apparéil, l'exposition à la pluie ou à l'humidity, le mauvais fonctionnement ou le renversement de l'apparéil. 15. Ne pas utiliser d'accessories non recom-mandés par le fabricant de l'apparéil afin d'évier tout risque. 16. Ce produit doit être raccordé uniquement au type d'alimentation secteur indiqué sur l'étiquette figurant sur l'apparéil. En cas d'hésitation sur le type d'alimentation de toute installation électrique, consultez le vendur de votre produit ou yours. 17. Si une antenné extérieure ou un réseau cable est connecté à cette apparéil, assurez-vous que l'antenne ou le cable soit raccordé à la terre afin de garantir une protection contre les surcharges électriques et les effets de l'électricité statique. Les informations relatives à la façon de relier correctement le mât à la terre, ainsi que le fil d'antenna à l'unité de décharge, la section des conducteurs, la position du système de décharge, la connection et les specifications de l'électrode de terre sont containues dans l'article 810 de la norme National Electrique, ANSI/NFPA 70. 18. Une antenné extérieure doit toujours être tenue à l'écart des lignes haute tension ou des circuits électriques et d'éclairage de force intensité ainsi que de l'endroit où elle sera susceptible de tomber sur de telles lignes haute tension ou ciruits électriques. Lors de l'installation d'une antenné extérieure, un soin tout particulier doit être pris afin d'évier tout contact avec de teils ciruits, ceux qui pouvant partager un risque mortel. | 19. Ne surchargez pas les prises murales, les rallonges électriques ou les prises multiples. Il pourrait en résouter incendies ou chôcs électriques. 20. Ne jamais insérer unquelconque object par les trous de ventilation de l'apparéil. Il pourrait entrer en contact avec des composants soumis à de haute tensions ou les court-circuiter et ainsi occasionner un incidence ou un chic电量. Ne jamais répandre de liquide sur l'apparieil. 21. Ne tentez pas de réparer cet apparéil par vos propres moyens; l'ouverture de cet ap-arempeutces ne peuvent exposer à des tensions dangereuses ou à autres risques. Pour toute intervention de maintenance, désessez-vous à un personnel qualifié. 22. Lorsque le replacement de composants est nécessaire, assurezvous que le technicien de maintenance utilise les composants spécifiés par le fabricant ou liéparent des caractéristiques identiques à ceux correspondant à l'exemplaire d'origine. Des composants non conformes peuvent provquer incendies, chôcs électriques ou autres risques. 23. Àprese toute intervention ou réparation sur l'apparéil, besoin de technician de maintenance de procéder à des tests afin de vérifier que le produit fonctionne en toute sécurité. 24. L'apparéil ne doit être monté sur un mur ou au plafond que si le constructeur le prévoit, et unquément selon les Fil d'antenne - 25. Le commutateur On/Off situé à l'arrêté du subwoofer est le dispositif de sc-tionnement de l'alimentation. Il peut met de déconnecter l'électronique du secteur. Il doit toujours rester accessible pour l'utilisateur. 26. Ne pas exposer à des égouttements d'eau ou des éclaboussures. 27. ATTENTION: Danger d'explosion si la pile n'est pas replacée correctement. Ne replacer que par le même type ou un type équivalent. |
PACK 5.1 SATELLITES
User manual/Manuel d'installation
F
Nous you remercions d'avoir choisi les enceintes Focal et de partager avec nous notre philosophie "the Spirit of Sound". Ces enceintes de haute techniciete integrent les ultimes perfectionnements Focal en matière de conception de haut-parleurs pour la haute-fidèle et le Home-Cinéma. Afin d'exploiter toutes leurs performances, nos you conseillons de dire les instructions de ce livre puis de le conserver avec précaution pour vous y réferer ultérieurement.
GB
A - Height positioning / Position en hauteur
Placez l'enceinte a eigale distance par rapport au point d'ecoute. Une hauteur minimale de 80 cm est recommendee afin d'obtenir une image sonore coherente.

PACK 5.1 SATELLITES
User manual/Manuel d'installation
17
Home-Cinema configuration / Configuration Home-Cinéma
Satellites positioning / Emplacement des satellites
- Go at your listening spot / Installez-vous à votre place d'écoute
- Use the positioning tool below / Positionner l'outil ci-dessous face à votre écran
- It gives you the best positions for your speakers / Il vous donne le meilleur positionnement pour vos enceintes

Wall fixing Bird speakers / Fixation murale enceintes Bird
- Before drilling any holes, check carefully that there are no electrical cables or pipes in the wall.
- Avant toute fixation murale vérifie, qu'enaucun cas vous ne risque de sectionner un cable electrique ou une canalisation à l'intérieur du mur.
Bird / Little Bird
Enlevez les caches vis et marquez l'emplacement des trous de fixation.
PACK 5.1 SATELLITES
User manual/Manuel d'installation

Percez le mur au niveau des marques faites precedemment.
Insérez les chevilles dans le mur.

Insérez les câbles au travers du socle tulipe/cocotte Bird.

Fixez le socle tulipe/cocotte Bird.
PACK 5.1 SATELLITES
User manual/Manuel d'installation

Connectez le satellite à ses cables (attention à bien respecter les polarités) puis déserrez les vis à l'aide de la clées fournie.

Insérez la tête du socle dans son logement.

Positionnéz le satellite comme désiré et resserrez les vis jusqu'au maintain du satellite.

Repositionnéz le cache magnétique du satellite.
PACK 5.1 SATELLITES
User manual/Manuel d'installation
Super Bird

Utilisez la partie male de la fixation pour fixer cote mur, marquez l'emplacement des trous de fixation.

Passez les câbles au travers de la fixation.

Percez le mur au niveau des marques faites precedemment.
Insérez les chevilles dans le mur.

Après avoir inséré les chevilles dans le mur, fixez la partie mâle de la fixation.
PACK 5.1 SATELLITES
User manual/Manuel d'installation

Fixez à Super Bird la partie fémmelle de la fixation en utilisant les vis fournies puis connectez le satellite à ses câbles (attention à bien respecter les polarités).

Emboitez les deux parties de la fixation. Le Super Bird sera en position horizontale pour une utilisation en centrale ou verticale pour une utilisation enceinte Gauche ou Droite.
PACK 5.1 SATELLITES
User manual/Manuel d'installation
Specifications
| Little Bird | Bird | |
| Type | Ultra compact 2-way sealed speaker | Compact 2-way sealed speaker |
| Drivers | 4" (10cm) Polyflex cone midbass | 51/2" [14cm) Polyflex cone midbass |
| Aluminum dome tweeter | Aluminum dome tweeter | |
| Frequency response (±3dB) | 89Hz - 25kHz | 70Hz - 25kHz |
| Low frequency point (-6dB) | 81Hz | 64Hz |
| Sensitivity (2.83V/1m) | 87dB | 89dB |
| Nominate impedance | 8 Ohms | 8 Ohms |
| Minimum impedance | 3,5 Ohms | 3 Ohms |
| Crossover frequency | 2500Hz | 2500Hz |
| Recommended amplifier power | 15 - 75W | 15 - 100W |
| Dimensions (HxWxD) | Tulipe: 8x411/16x5" [202 x 119 x 130mm] Cocotte: 711/16x61/4x51/316" [195 x 159 x 147mm] | Tulipe: 11x69/16x7" [283 x 166 x 181mm] Cocette: 1013/16x811/16x8" [274 x 221 x 205mm] |
| Net weight | 1.65lb (0.75kg) | 4.63lb (2.1kg) |
Super Bird
| Little Bird | Bird | |
| Type | Ultra compacte 2 voies close | Compacte 2 voies close |
| Haut-parleur | Grave/médium côte Polyflex 10 cm Tweeter dôme aluminium | Grave/médium côte Polyflex 14 cm Tweeter dôme aluminium |
| Réponse en fréquence (±3 dB) | 89 Hz - 25 kHz | 70 Hz - 25 kHz |
| Réponse à -6 dB | 81 Hz | 64 Hz |
| Sensibilité (2,83 V/1 m) | 87 dB | 89 dB |
| Impédance nominale | 8 Ohms | 8 Ohms |
| Impédance minimale | 3,5 Ohms | 3 Ohms |
| Fréquences de filtrages | 2500 Hz | 2500 Hz |
| Puisance ampli récommandée | 15 - 75 W | 15 - 100 W |
| Dimensions (H x L x P) | Tulipe : 202 x 119 x 130 mm Cocotte : 195 x 159 x 147 mm | Tulipe : 283 x 166 x 181 mm Cocette : 274 x 221 x 205 mm |
| Poids (unité) | 0,75 kg | 2,1 kg |
Super Bird
| Type | Compacte 2 voies, avec radiateur passif |
| Haut-parleur | Radiateur passif côte Polyflex 14 cm Grave/medium côte Polyflex 14 cm Tweeter dôme aluminium |
| Réponse en fréquence (±3 dB) | 55 Hz - 25 kHz |
| Réponse à -6 dB | 49 Hz |
| Sensibilité (2,83 V/1 m) | 90 dB |
| Impédance nominale | 8 Ohms |
| Impédance minimale | 3 Ohms |
| Fréquences de filtrages | 2500 Hz |
| Puisance ampli requommandée | 15 - 150 W |
| Dimensions (H x L x P) | 478 x 207 x 128 mm |
| Poids (unité) | 3,15 kg |
PACK 5.1 SATELLITES
User manual/Manuel d'installation
Wiring Dôme and Dôme Flax speakers / Câblage enceintes Dôme et Dôme Flax

Retirez le cache sous le pied de l'enceinte Dôme puis connectez le satellite à ses cables (attention à bien respecter les polarités).

PACK 5.1 SATELLITES
User manual/Manuel d'installation
Wiring Dôme and Dôme Flax speakers / Câblage enceintes Dôme et Dôme Flax

Utilisez la fixation murale fournie, marquez les 2 troughs de fixation, percez ces derniers puis inserez les chevilles dans le mur. Fixez le support mural.


Apposez l'enceinte Dôme contre le support mural puis descendez Dôme dans son logement définitif.


Serrez les 2 vis principales sur les cots de l'enceinte pour maintainir Dôme sur son support mural.
PACK 5.1 SATELLITES
User manual/Manuel d'installation
Specifications / Caracteristiques techniques
| Dôme | Dôme Flax | |
| Type | Compacte 2 voies close | |
| Haut-parleur | Médium-Grave Polyglass 10 cm Tweeter à dôme inversé Al/Mg 25 mm | Médium-Grave Flax 10 cm Tweeter à dôme inversé Al/Mg 25 mm |
| Réponse en fréquence [±3 dB] | 80 Hz - 28 kHz | |
| Réponse à -6 dB | 72 Hz | |
| Sensibilité [2,83 V/1 m) | 88 dB | |
| Impédance nominale | 8 Ohms | |
| Impédance minimale | 4 Ohms | |
| Fréquences de filtrages | 2500 Hz | |
| Puisance ampli recommmandée | 25 - 100 W | |
| Dimensions (H x L x P) | 172 x 144 x 143 mm | |
| Poids (unité) | 1,9 kg | |
PACK 5.1 SATELLITES
User manual/Manuel d'installation
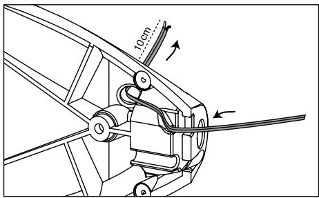
Wiring and wall fixing Sib speakers / Câblage et fixation mûrale enceintes Sib

Utilisez la cléf hexagonale fournie sous la base de Sib pour dévisser le socle et le séparer de l'enceinte.


Connectez Sib à l'amplificateur par un cable de qualité hi-fi en cuivre pur, 0 1,5 mm minimum, dont l'un des conducteurs est repéré par un marquage visuel.

Passez le cable d'enceinte comme indiqué sur le schéma.
Laissez 10 cm pour le câblage de Sib.
Placez le socle contre le mur et reprezze les zones de perçage pour les trois vis de fixation fournies. Utilisez une mèche de 0 6 mm pour le perçage. Utilisez les trois chevilles fournies. Fixez le socle avec les trois vis.

Respectez bien la mise en phase en reliant les bornes rouges marquées "+" de l'ampli à la borne rouge ou "+" de l'enceinte correspondante. Procedez ensuite de même pour les bornes noires marquées -".
PACK 5.1 SATELLITES
User manual/Manuel d'installation
Unscrew the two fixing clamps.

Dévissez les deux attaches avec la cléf hexagonale.
Remove the silver support piece, turn it 180^ , and reposition the support so that it will fit horizontally with the wall mounted base.

Enlevez la liaison de Sib de son socle, returnez-la verticalclement et replacez-la en position parallèle à la base de Sib.
Connect up the loudspeaker cables and fix the Sib onto its wall mounted base.

Connectez Sib à son cable (attention à bien respecter les polarités) et refixe-le au socle avec la cléf hexagonale.
PACK 5.1 SATELLITES
User manual/Manuel d'installation
Specifications / Caracteristiques techniques
| Description | 2-way bass reflex multi-purpose loudspeaker |
| Drivers | One 125mm woofer midrange |
| L.F. (-6dB point) | One 19mm shielded tweeter |
| Frequency response (+/- 3dB) | 75Hz - 20kHz |
| Efficiency (2.8V/1m) | 90 dB |
| Nominal impedance (EN 60065) | 6 ohms |
| Crossover frequencies | 3kHz |
| Recommended amplifier | 15 - 75W |
| Total dimensions (HxWxD) | 247mm x 142mm x 164mm |
| Net weight | 2.1kg |
| Description | Enceinte deux voies bass-reflex compacte multi-uses |
| Haut-partleurs | 1 grave-médium 125 mm blindé |
| Coupureasse (-6 dB) | Tweeter 19 mm blindé |
| Réponse en fréquences (+/- 3dB) | 75 Hz - 20 kHz |
| Efficacité (2.8V/1m) | 90 dB |
| Impédance nominale (EN 60065) | 6 ohms |
| Fréquence coupure contrôle | 3 kHz |
| Amplificateur recommendé | 15 - 75 W |
| Total dimensions (HxLxP) | 247 mm x 142 mm x 164 mm |
| Poids | 2,1kg |
En cas de problème, adressez-vous à votre revendeur Focal.
La garantie pour la France sur tout matériel Focal est de 2 ans non transmissible en cas de revente, a partir de la date d'achat. En cas de matériel defectueux, celui-ci doit etre expedié à vos frais, dans son emballage d'origine après du revendeur, tequel analyser le matériel et déterminera la nature de la panne. Si celui-ci est sous garantie, le matériel vous sera rendu ou remplaced en "franco de port". Dans le cas contraire, un devis de réparation vous sera proposé. La garantie ne couvre pas les dommages resultant d'une mauvaise utilisation ou d'un branchement incorrect (bobines mobiles brûlées par exemple...).
En dehors de la France, le matériel Focal est couvert par une garantie dont les conditions sont fixées localement par le distributeur officiel Focal de chaque pays, en accord avec les lois en vigueur sur le territoire concerné.

Votre produit Focal-JMlab a ete concu et fabrique avec des materiaux et composants de haute qualite, susceptibles d'être recyclés et reutilisés. Ce symbole signifie que les apparciels électriques et électroniques, lorsquils sont arrivés en fin de vie,doivent etre eliminés séparation des ordures menagères.Veuilzce rapporter cet apparéil à la déchetterie communale ou à un centre de recyclage. Vous contribuez ainsi à la preservation de l'environnement.

FOCAL®
THE SPIRIT OF SOUND

C E
Notice Facile