HDLX80310 - Sèche-linge MAROQUE - Notice d'utilisation et mode d'emploi gratuit
Retrouvez gratuitement la notice de l'appareil HDLX80310 MAROQUE au format PDF.
| Type d'appareil | Sèche-linge |
| Capacité de séchage | Non précisé |
| Type de séchage | Non précisé |
| Consommation énergétique | Non précisé |
| Classe énergétique | Non précisé |
| Nombre de programmes | Non précisé |
| Type de chargement | Avant |
| Affichage | Non précisé |
| Niveau sonore | Non précisé |
| Dimensions (HxLxP) | Non précisé |
| Poids | Non précisé |
| Fonction anti-froissage | Oui |
| Départ différé | Oui |
| Type de moteur | Non précisé |
| Couleur | Non précisé |
| Garantie | Non précisé |
FOIRE AUX QUESTIONS - HDLX80310 MAROQUE
Questions des utilisateurs sur HDLX80310 MAROQUE
0 question sur cet appareil. Repondez a celles que vous connaissez ou posez la votre.
Poser une nouvelle question sur cet appareil
Téléchargez la notice de votre Sèche-linge au format PDF gratuitement ! Retrouvez votre notice HDLX80310 - MAROQUE et reprennez votre appareil électronique en main. Sur cette page sont publiés tous les documents nécessaires à l'utilisation de votre appareil HDLX80310 de la marque MAROQUE.
MODE D'EMPLOI HDLX80310 MAROQUE
Consignes d'installation, utilisation et sécurité
FRANÇAIS
CONSIGNES D'INSTALLATION, UTILISATION ET SECURITÉ

Afin de profiter d'une assistance complète, veuillez enregistrer votre apparéil sur www.whirlpool.eu/register
Index
Guide de sécurité
CONSIGNES DE SECURITE 5
PROTECTION DE L'ENVIRONNEMENT 8
DECLARATION DE CONFORMITE 9
Consignes d'utilisation
DESCRIPTION DU PRODUIT 10
APPAREIL 10
PANNEAU DE COMMANDE 10
PORTE 11
LUMIÈRE DU TAMBOUR (selon le modele) 11
ACCESSORIES DISponibles 11
COMMENT UTILISER L'APPAREIL 12
PREMIÈRE UTILISATION 12
UTILISATION QUOTIDIENNE 13
PROGRAMMES 14
OPTIONS 17
FONCTIONS. 18
VOYANTS 19
ECONOMIES D'ENERGIE 20
ENTRETIEN ET NETTOYAGE 21
VIDANGE DU RÉSERVOIR D'EAU. 21
NETTOYAGE DU FILTRE DE PORTE 22
NETTOYAGE DU FILTR INFERIEUR 23
NETTOYAGE DE L'EXTERIEUR DU SÉCHE-LINGE 25
INVERSION DE LA BUTE DE PORTE 26
GUIDE DE DÉPANNAGE & SERVICE APRès-VENTE 28
INDICATEUR DE PANNE ET MESSAGES. 30
Consignes d'installation 34
CONSIGNES DE SECURITÉ
IMPORTANT DE LIRE ET DE RESPECTER
Avant d'utiliser le sèche-linge, il convient de dire attentivement les Consignes d'utilisation et sécurité. Conservez ces instructions à portée de main pour toute consultation ultérieure.
VOTRE SECURITE ET CELLE DES AUTRES SONT TRÉ IMPORTANTES.
Le present manuel et le séchelinge lui-même contiennent des consignes de sécurité importantes, qui doivent être lues et observées à tout moment.

Voici le symbole d'alerte à la sécurité.
Ce symbole vous avertit des risques potentiels de blessures graves ou même de mort qui peuvent survenir pour vous et toute autre personne.
Tous les messages de sécurité suivant le symbole d'alerte sécurité et le mot DANGER ou AVERTISSEMENT. Ces mots signifient :
DANGER
Indique une situation dangereuse qui, si elle n'est pas évitée, occasionnera des blessures graves.
A VERTISSEMENT
Indique une situation dangereuse qui, si elle n'est pas évitée, est
susceptible d'entrainer des blessures graves.
Tous les messages relatifs à la sécurité spécifique le danger potentielprésenté et indiquent comment réduire le risque de lésion, de dommage et de chic électrique résultat d'une utilisation incorrecte du sèche-linge. Veuillez observer scrupuleusement les instructions suivantes.
Le non-respect de ces consignes peut augmenter les risques.
Le Fabricant décline toute responsabilité en cas de léSION aux personnes ou aux animaux ou de dommages aux biens si ces conseils et précautions ne sont pas respectés.
Les enfants en bas âge (0-3 ans) et les jeunes enfants (3-8 ans) doivent être tenus à l'écart de l'appareil sauf s'ils sont constamment sous supervision.
Les enfants âgés de 8 ans et plus et les personnes représentant des capacités physiques, sensorielles ou mentales réduites ou un manque d'expérience et de connaissances peuvent utiliser le sèche-linge uniquement si elles sont surveillées ou ont reçu des instructions sur l'utilisation en toute sécurité de l'appareil et si elles comprend les risques impliqués. Les enfants ne doivent pas journé avec le sèche-linge. Les enfants ne doivent pas nettoyer, ni procédé à l'entretien de l'appareil sans surveillance.
Les articles souillés par des
substances comme l'huile de
cuisson, l'acetone, l'alcool, I essence,
le kerosene, les detachants, la
terebenthine, la cire, et le decapant
pour cire, doivent etre laves a I'eau
chaude en augmentant la quantite
de detergent avant d'être sechés
dans la secheuse.
Les articles suivants ne devraient pas etre séchés dans le sèche-linge: caoutchouc mousse, bonnets de douche, textiles imperméables, articles dont le revers est caoutchouté, et vêtements ou oreillers dont le rembourse est en caoutchouc mousse.
Videz les poches d'articles comme les briquets et les allumettes.
N'utilise pas le sèche-linge si vous avez utilisé des produits chimiques pour nettoyer le linge.
Les articles tachés d'huile peuvent prendre feu spontanément, surtout sils sont exposés à une source de chaleur comme à l'intérieur d'un sèche-linge. Les articles deviennent chauds et provoquent une réaction d'oxydation de l'huile. L'oxydation développée de la chaleur. Si la chaleur ne peut être evacuée, les articles deviennent suffisamment chaud pour prendre feu. Empiler ou entreposer des articles tachés d'huile peut empêcher la chaleur de s'évacuer, augmentant ainsi les risques d'accordie.
A VERTISSEMENT
N'arrêtez jamais une sechuse
avant la fin du cycle de séchage à moins que tous les articles ne soient rétérés rapidement et étalés pour permettre à la chaleur de se dissiper.
La dernière phase du cycle de séchage est sans chaleur (phase de refroidissement) pour s'assurer que le linge reste à une température qui n'endommagera pas le linge.
Si vous désirez superposer le sèche-linge au-dessus du lave-linge, contactez tout d'abord le Service après-vente pour vous assurer que cela est possible. Il est possible de superposer le sèche-linge uniquement s'il est fixé en toute sécurité au lave-linge à l'aide d'un kit de superposition ajustat.
UTILISATION PRÉVUE DU PRODUIT
Ce s'est linge est unconqu unquiemment pour un usage domestique. Il est interdit d'en faire un usage professionnel. Le fabricant decline toute responsabilité suite à une mauvaise utilisation ou un mauvais réglage des commandes.
ATTENTION: Le sèche-linge n'est pas conscience pour fonctionner à l'aide d'une minuteurie ou d'un système de télécommande.
N'utilisez pas l'appareil à l'extérieur. Ne stockez pas de substances explosives ou inflammables comme des aérosols et ne place pas ou n'utilisez pas d'essence ou d'autres matériaux inflammables dans ou pres du sèche-linge : un incendie pourrait se déclencher si le sèchelinge était allumé par inadvertance.
INSTALLATION
L'installation et les réparations
doivent etre effectuees par un technicien qualifie, conformement aux directives du fabricant et a la reglementation de securite locale. Ne procedez a aucune réparation ou a aucun remplacement de pieces sur le sèche-linge autres que ceux spécifquement indiqués dans le guide d'utilisation.
Les enfants ne doivent pas effectuer d'opérations d'installation. Gardez les enfants éloignés pendant l'installation du sèche-linge. Ne laissez pas les matériels d'emballage (sacs en plastique, pieces en polystyrene, etc.) à la portée des enfants, pendant et après l'installation du sèche-linge.
Utilisez des gants de protection pour le déballage et l'installation de l'appareil.
Après le déballage du sèche-linge, assurez-vous qu'il n'a pas été endommagé pendant le transport. En cas de problème, contactez le détaillant ou le Service après-vente le plus proche.
Le sèche-linge doit être manipulé et installé par deux personnes ou plus. Gardez les enfants éloignés pendant l'installation du sèche-linge.
Le sèche-linge doit être débranché de l'alimentation électrique avant d'effectuer une quelconque opération d'installation.
Pendant l'installation, assurez-vous que le sèche-linge n'endommage pas le cable électrique.
Activez le sèche-linge uniquement lorsque la procédure d'installation est achèvée.
Après l'installation du dispositif, attendez quelques heures avant de le démarrer, afin de l'acclimater aux conditions environnementales de la pièce.
N'installez pas votre sécheur à un
endroit où il pourrait être exposé à des conditions extrêmes, telles que : mauvaise ventilation, température elevée ou inférieure à 5^ ou supérieure à 35^ .
Le sèche-linge ne doit pas être installé derrière une porte verrouillable, une porte coulissant ou une porte avec une charnière sur le côté opposé à celui du sèchinge à tambour,-limitant ainsi une ouverture complète de la porte du sèche-linge.
Vous doivent installer le séche-linge en orientant la partie arrêté face à un mur; vous évitezrez ainsi de vous bleisser en touchant le panneau arrêté, qui peut chauffer lors du séchage.
N'installez pas le seche-linge dans une piece mal ventilée. Si vous voulez l'inclanger dans une petite piece, des toilettes, une salle de bains ou similaire, assurez-vous que la ventilation est bonne (porte ouverte, grille de ventilation ou fente supérieure à 500 cm²).
Lors de l'installation du sèche-linge, assurez-vous que les quatre pieds sont stables et appuient sur le sol, en les réglant comme demandé, et vérifie que le sèche-linge est parfaitement de niveau en utilisant un niveau à bulle.
Si possible, utilisez un tuyau pour evacuer l'eau directement dans le réseau d'égout domestique. Ceci vous évitera d'avoir à vider le bac de récapération d'eau à la fin de chaque cycle de séchage puisque l'eau de condensation sera automatiquement evacuée.
N'installez pas le sèche-linge sur un tapis écais bouclé.
Si, à cause du manque d'espace, le sèche-linge doit être installé directement près d'une cusinière à gaz ou à charbon, une plaque d'isolation thermique (85 x 57 cm) doit être installée entre les deux et le côté de la plaque orienté vers la cusinière doit être recouvert d'une feuille d'aluminium.
Le sèche-linge n'est pas conscience pour être encastré.
Le sèche-linge peut être installé sous un comptoir seulement si la ventilation est ajustée. Installez une grille de ventilation 45 cm X 8 cm au minimum) à l'arrête du comptoir sous lequel le sèche-linge sera installé.
ALIMENTATION ÉLECTRIQUE
Assurez-vous que la tension spécifiée sur l'étiquette signalétique correspond à celle de votre résidence.
Pour que l'installation soit conforme à la réglementation en vigueur en matière de sécurité, un interrupteur omnipolaire avec un intervalle de contact minimum de 3 mm est requis.
Le réglage nécessite que le séchelinge soit mis à la terre.
Pour les sèche-linges équipés d'une fiche, si la fiche n'est pas adaptée à votre prise de courant, contactez un technicien qualifié.
N'utilisez ni rallonge, ni adaptateurs multiples. Ne branchez pas le sèche-linge à une prise qui peut être actionnée par une commande à distance.
Le cable électrique doit etresuffisamment long pour brancherle sese-linge, une fois instalé, a l'alimentation principale. Ne tirez pas sur le cable
d'alimentation.
Si le cable électrique est endommagé, il doit être remplaced par un cable identique. Le cable électrique ne doit être remplaced que par un technicien qualifié conformément aux directives du fabricant et aux normes de sécurité en vigueur. Adressez-vous à un Service Àpres-vente agrée.
N'utilise pas ce sèche-linge s'il presente des cables ou prises endommagés, s'il ne fonctionne pas correctement ou s'il a été endommagé ou est tombé. Ne plongez jamais le cable d'alimentation ou la prise dans l'eau. Gardez le cable loin des surfaces chaudes.
Une fois l'installation terminée, l'utilisateur ne doit plus pouvoir acceder aux composantes électriques.
Ne touchez pas le sèche-linge si vous étés mouillé et ne l'utilise pas si vous étés pieds nus.
BRANCHEMENT ÉLECTRIQUE POUR LA GRANDE-BRETAGNE ET L'IRLANDE UNIQUÉMENT
Remplacement du fusible.
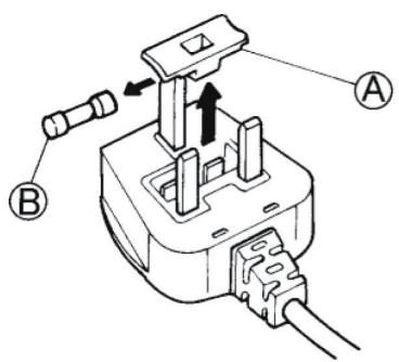
Si le cable d'alimentation de ce sèche-linge est équipé d'une prise à fusible BS 1363A 13amp, pour changer un fusible de ce type, utilisez un fusible/agréé A.S.T.A. pour type BS 1362 et procédez comme suit:

- Enlevez le couvercle du fusible (A) et le fusible (B).
- Insérez le fusible de rechange 13
A dans le couvercle du fusible. - Replacez les deux éléments dans la prise électrique.
Important:
Le couvercle du fusible doit'être remis en place chaque fois qu'un fusible est remplaced. En cas de perte, n'utilise la fiche qu'après avoir remplaced le couvercle manquant. Le code de couleur ou les mots en relief inscrits en couleur à la base de la fiche permettent d'identifier le couvercle adapté pour votre apparéil.
Vous pouvez vous procurer des couvercles de fusible chez le marchand d'équipement électrique le plus proche.
Pour la République d'Irlande uniquement
Généralment, les informations fournies pour la Grande-Bretagne s'appliquent, mais un troisième type de fiche et de prise est également utilisé; à 2 broches avec mise à la terre latorale.
Prise de courant / fiche (valable pour les deux pays)
Si la fiche de l'appareil ne correspond pas à votre prise de courant, veuilles contacter le Service après-vente pour la marche à suivre. N'essayez pas de replacer la fiche vous-même. Cette procédure doit être exécutée par un technicien qualifié, conformément aux directives du fabricant et aux normes de sécurité locales en vigueur.
UTILISATION CORRECTE
Ne dépassez pas la charge maximale autorisée. Vérifiez la charge maximale autorisée dans le
tableau des programmes.
N'utilise pas le sèche-linge pour sécher des articles qui n'ont pas été lavés.
Ne sechaez pas le linge plus qu'il n'est nécessaire.
Assurez-vous que la poussière ou les peluches ne s'accumulent pas
autour du sèche-linge.
Utilisez les assouplissants et autres produits similaires en vous conformant aux instructions figurant sur l'emballage.
NETTOYAGE ET ENTRETIEN
Le sèche-linge doit être débranché de l'alimentation électrique avant
d'effectuer une quelconque opération de nettoyage ou d'entretien.
N'utilise jamais d'appareil de nettoyage à vapeur.
PROTECTION DE L'ENVIRONNEMENT
Pour les modèles de sèche-linge avec une technologie de pompé à chaleur:
Ce sèche-linge contient du gaz à effet de serre fluoré (R134a). Le conduit contenant le gaz est hermétiquement fermé. Le dispositif de commutation électrique a un taux de fuite confirmé à moins de 0,1% par année.
ÉLIMINATION DES MATÉRIAUX D'EMBALLAGE
Les matériaux d'emballage sont entièrement recyclables comme l'indique le symbole de recyclage :

Les différentes parties de l'emballage doivent donc être jetées de manière responsable et en totale conformité avec les réglementations des autorités locales régissant la mise au rebut de déchets.
MISE AU REBUT DES APPAREILS ÉLECTROMÉNAGERS USAGÉS
Lors de la mise au rebut du sèche-linge, il convient de le rendre inutilisable en coupant le cable électrique et en enlevant les portes et les étagères (si elles existent), de sorte que des enfants ne puissant pas grimper à l'intérieur et s'y retrouver piégés.
Cette séchuse est fabriquée avec des matériaux recyclables ou

réutilisables. Mettez-le au rebut en
vous conformant aux
réglementations locales en
matière d'élimination des déchets.
Pour plus d'informations sur le
traitement, la recupération et le
recyclage des appareils électriques
menagers, contactez vos autorités
locales compétentes, le service
de récapération pour les déchets
menagers ou le magasin où vous
avez achete le sèche-linge.
Ce sèche-linge est marqué conformément à la Directive française 2012/19/EU, relative aux déchets d'équipements électriques et Electroniques (WEEE).
En s'assurant que l'appareil est mis au rebut correctement, vous pouvez aider à éviter d'eventuelles conséquences négatives sur l'environnement et la santé humaine, qui pourrait autrement être provoquées par une mise au rebut inappropriée duprésent appareil.
Ce symbole

sur le produit ou sur la documentation qui l'accompagne indique qu'il ne doit pas etre traité comme un déchet domestique, mais doit etre remis a un centre de collecte spécialise pour le recyclage des appeareils electriques et electroniques.
CONSEILS POUR ÉCONOMISER L'ENERGIE
Sechez toujours une pleine charge, en fonction du type de textiles et du programme/ temps de sechage. Pour plus d'informations, consultez le tableau des programmes.
Utilisez toujours la vitesse d'essorage maximale autorisée de votre lave-linge, car un essorage mécanique consomme moins
d'énergie. Vous economiserez du temps et de l'énergie lors du cycle de séchage.
Sélectionnez toujours un programme ou un temps de sechage adapté à la charge afin d'obtenir les résultats souhaités.
Sélectionnez l'options « Délicat » uniquement pour les petites charges.
Séchez le coton en mettant
ensemble, par exemple, les articles prét à repasser et prét à ranger. Commencez avec le programme Prét à repasser en réglant la durée du cycle, enlevez le linge à repasser à la fin du cycle et séchez le reste du linge en utilisant le programme Prét à ranger.
Déclaration de CONFORMITE
Cet apparéil a été créé, construit et mis sur le marché conformément aux normes prévues dans les directives européennes suivantes: DBT 2014/35/UE CEM 2014/30/UE et RoHS 2011/65/UE.
DESCRIPTION DU PRODUIT
APPAREIL

- Plan de travail
- Panneau de commande
- Réservoir d'eau
- Porte
- Poignée de porte
- Filtre de porte (derrière la porte)
- Condenseur (=filtre inférieur; derrière le rabat)
- Supports régibles (4)
PANNEAU DE COMMANDE

- Option Délicat
- Option Séchage +
- Sélecteur de programme
- Touche Départ / Pause
- Touche Départ différé
- Voyant Antifroissage
- Voyant séquence programme/VoyantsDépart différé
8.Voyants de panne
PORTE
Pour ouvrir la porte, tirez sur la poignée.

Pour fermer la porte, tenez la poignée et poussez-la jusqu'à ce que vous entendiez le clic de la fermeture.

Si vous interrompez un programme en cours en ouvrant la porte, le programme se réinitialisera si la porte du sèche-linge n'est pas reférmé dans un délié d'une minute.
LUMIÈRE DU TAMBOUR (selon le modele)
- Pendant la sélection du programme : la lumière s'allume pour le chargement du linge
-
Àprous le démarrage du programme : la lumière s'atténue en s'allumant et s'teignant pendant que la charge de linge est détectée.
-
À la fin du programme, quand vous ouvrez la porte, la lumière s'allume un certain temps pour vous permettre de décharger le linge. Elle s'éteint de nouveau pour économiqueiser de l'énergie; appuyez n'importe quelette touche pour qu'elle s'illumine de nouveau.
Contactez notre Services après-venture pour vérifier si l'accessoire suivant est disponible pour votre modèle de seche-linge.
SOCLE AVEC KIT DE SUPERPOSITION
, qui vous permet de fixer votre sèche-linge au-dessus de votre lave-linge, de gagner de la place et de facilititer le chargement et le déchéancement de votre sèche-linge.
COMMENT UTILISER L'APPAREIL
PREMIÈRE UTILISATION
1. VÉRIFIER LE RÉSERVOIR D'EAU
Assurez-vous que le réservoir d'eau est correctement inséré

Assurez-vous que le tuyau de vidange à l'arrière du séche-linge est fixé, soit au réservoir d'eau du séche-linge ou à votre système d'égout domestique (voir CONSIGNES D'INSTALLATION).

A VERTISSEMENT
Assurez-vous qu'il ne resten ni briquet, ni allumettes dans le linge.
Assurez-vous que le linge n'est pas imbibé de liquides inflammables.
1. CHARGEZ LE LINGE
Respectez les étiquettes d'entretien de votre linge; assurez-vous qu'il peut passer à la sechuse.
Étiquettes d'entretien pour le séchage
Les points indiquent le degré de température pour le séchage du linge.

Température normale

Température réduite

Pas de séchage en tambour
Ouvrez la porte et chargez le linge. Observe les tailles de chargement maximales individues dans la section Programmes.

2. FERMEZ LA PORTE
Veillez à ce qu'aucun linge ne reste coincé entre la porte et le contrôle de porte.

Fermez la porte et assurez-vous d'entendre l'emboitement.
3. RÉGLEZ LE PROGRAMME DÉSIRÉ
Tournez le bouton pour sélectionner le programme souhaité.

Vous trouvrez de plus amples informations au sujet des programmes dans le TABLEAU DES PROGRAMMES.
Sélectionnez des options au besoin
Si vous désirez acceder à des options supplémentaires, appuyez sur la touche respective - le voyant s'allume.
Consultez la section OPTIONS, FONCTIONS ET VOYANTS pour davantage d'informations.
4. DEMARRERLE PROGRAMME
Appuyez sur le voyant Départ/Pause ;; le voyant à côté s'illumine. Le cycle de séchage démarre.
La durée du programme dépend essentiellement du niveau d'humidité du linge et du volume de la charge de linge.
5. MODIFIER AU BESOIN LES RÉGLAGES D'UN PROGRAMME EN COURS
Pour changer les réglages d'un programme en cours ou en phase Départ différé :
- appuyer sur le bouton Départ/Pause pourmettre le programme en cours sur pause
- changer vos réglages
- appuyer de nouveau sur le bouton Départ/Pause pour poursuivre le programme.
6. REMISE À ZÉRO D'UN PROGRAMME EN COURS AU BESOIN
Tournez le sélecteur de programme à Arrêt/0.
A VERTISSEMENT
Ouvrez immédiatement la porte et déchargez le linge, de sorte que l'éventuelle chaleur du linge puisse se dissiper.
7. EXTINCTION DU SÉCHE-LINGE APRES LA FIN DU PROGRAMME
Au terme du programme, levoyant de fin s'allume dans le voyant de séquence du programme. Tournez le selecteur de programme sur Arrêt/0 pour éteindre la sechuse. Ouvrez la porte et sortez le linge.
Si vous n'eteignez pas la séchuse à la fin du programme, le tambour tourne à intervalles réguliers pendant 10 minutes pour réduire le froissement des vêtements. Au cours de cette période, le voyant antifroissage s'allume.
La sécheuse s'éteindra automatiquement environ un quart d'heure après la fin du programme pour économique de l'énergie.
8. VIDER LE RÉSERVOIR D'EAU / LAYER FILTRPORTE / LAYER FILTRINFÉRIEUR
Vider
- le réservoir d'eau après chaque programme
- le filtr de porte après chaque programme Nettoyez le filtr inférieur environ tous les cinq cycles.
Consultez la section SOIN ET MAINTENANCE
PROGRAMMES
Les points indiquent le degré de température pour le séchage du linge.

Température normale

Température réduite

Pas de séchage en tambour
| PROGRAMME | Type de séchage et recommandations | Étiquettes d'entretien | Réglementations |
| COTON | Pour secher le linge en coton. | CHARGE MAXIMALE (KG): max DURée DU PROGRAMME PAR DÉFAUT (H): 2:10 OPTIONS SÉLECTIONNABLES: Séchage renforcé, Délicat | |
| Prêt à porter (niveau de séchage maximum) | |||
| Prêt à ranger (suffisamment sec pour être rangé dans l'armoire à la fin du cycle de séchage) | CHARGE MAXIMALE (KG): max DURée DU PROGRAMME PAR DÉFAUT (H): 1:55 OPTIONS SÉLECTIONNABLES: Séchage renforcé, Délicat | ||
| Prêt à repasser (adapté pour un repassage après le cycle de séchage, donc encore légèrement humide) | CHARGE MAXIMALE (KG): max DURée DU PROGRAMME PAR DÉFAUT (H): 1:25 OPTIONS SÉLECTIONNABLES: Séchage renforcé, Délicat | ||
| PROGRAMME | Type de séchage et recommendations | Étiquettes d'entretien | Réglementations |
| COTON ECO | Programme cotton standard, idéal pour sécher le linge en cotton normalement humide. Le programme le plus efficace en termes de consommation d'énergie pour sécher le linge en cotton. Les valeurs sur l'Étiquette énergétique sont basées sur ce programme. | ● | CHARGE MAXIMALE (KG): max DUREE DU PROGRAMME PAR DÉFAUT (H): 1:40 OPTIONS SÉLECTIONNABLES : Séchage renforcé, Délicat |
| SYNTHÉTIQUE | Pour sécher le linge en fibres synthétiques. extra Prêt à porter (niveau de séchage maximum) | ● | CHARGE MAXIMALE (KG): 3,5 DUREE DU PROGRAMME PAR DÉFAUT (H): 1:10 OPTIONS SÉLECTIONNABLES : Séchage renforcé, Délicat |
| Prêt à ranger (suffisamment sec pour être rangé dans l'armoire à la fin du cycle de séchage) | ● | CHARGE MAXIMALE (KG): 3,5 DUREE DU PROGRAMME PAR DÉFAUT (H): 1:00 OPTIONS SÉLECTIONNABLES : Séchage renforcé, Délicat | |
| Prêt à repasser (adapté pour un repassage après le cycle de séchage, donc encore légèrement humide) | ● | CHARGE MAXIMALE (KG): 3,5 DUREE DU PROGRAMME PAR DÉFAUT (H): 0:50 OPTIONS SÉLECTIONNABLES : Séchage renforcé, Délicat | |
| MIX | Pour sécher le linge mixte constitué de cotton, de lin, de fibres artificielles et leurs mélanges. | ● | CHARGE MAXIMALE (KG): 3,0 DUREE DU PROGRAMME PAR DÉFAUT (H): 1:20 OPTIONS SÉLECTIONNABLES : Séchage renforcé, Délicat |
| EXPERT LAINE | Pour terminer le processus de séchage à l'air des textiles en laine. Les lainages deviennent moelleux et doux. | ● | CHARGE MAXIMALE (KG): 1,0 DUREE DU PROGRAMME PAR DÉFAUT (H): 0:06 OPTIONS SÉLECTIONNABLES : --- |
| XXL | Pour sécher les grands éléments de linge, comme les tapis de bains, les couvertures, etc. | ● | CHARGE MAXIMALE (KG): 3,0 DUREE DU PROGRAMME PAR DÉFAUT (H): 2:00 OPTIONS SÉLECTIONNABLES : --- |
| XXL | |||
| TEMPS SÉCHAGE | Programme de séchage à durée limitée. Sélectionnez la durée du programme en utilisant l'options Temps de séchage. Pour tous les tissus adaptés au séchage à la séchuse. Adapté pour ajouter une courte phase de séchage supplémentaire après la fin du programme. | CHARGE MAXIMALE (KG): max DURée DU PROGRAMME PAR DÉFAUT (H): 0:15-1:30 OPTIONS SÉLECTIONNABLES: --- |
max = capacité maximale du sèche-linge
Les durées de programme indiquées dans le tableau sont des valeurs par défaut. La durée du programme dépend essentiellement du niveau d'humidité du linge et du volume de la charge de linge. C'est pourquoi la durée réelle du programme peut être différente des valeurs indiquées.
OPTIONS
OPTIONS DIRECTEMENT SELECTIONNABLES EN APPUYANT SUR LA TOUCHE RELATIVE
Consultez le tableau des programmes afin de confirmer les options disponibles pour le programme sélectionné.

SECHAGE +
Augmente le niveau de séchage de la lessive

DÉLICAT
Permet un traitement plus délicat du linge en réduisant la température de séchage.
FONCTIONS
BOUTON
Permet de sélectionner le programme : le tourner jusqu'à ce que le pointeur soit face au programme désiré. La position 0 étéint le sèche-linge et termine le programme en cours.


AVERTISSEMENT
Après avoir annulé un programme en cours, enlevez rapidement tous
les articles et étalez-les en dehors afin de dissiper la chaleurur.
DéPART/PAUSE

Pour lancer un programme après avoir complété vos réglages
Pour interrompre un programme en cours
Pour redémarrer un programme interrompu
DéPART DIFFÉRÉ

Diffère l'heure de départ de votre programme.
Choisissez un démarrage différé de 3, 6 ou 9 heures.
- Sélectionnez le programme et les options souhaités.
- Appuyez sur la touche Départ différé à plusieurs reprises jusqu'à ce que levoyant de début désiré s'allume.
Appuyez sur Départ / Pause - le décompte pour le départ différé commence. Le voyant de démarrage
différé clignote et la touche Départ /Pause s'allume. Un son lors de l'activation de la pompe peut se produit.
- Une fois le délié expiré, le sèchelinge démarre automatiquement.
Pour annuler la fonction Départ différé
- Tournez le sélection de programme à la position Arrêt/0, ou selectionnez un autre programme.
VOYANTS
VOYANTS DE PANNE

Vider réservoir
() réservoir d'eau vide)
Voir la section GUIDE DE
DéPANNAGE si une panne se produit

Filtre de socle
() nettoyez le filtré inférieur).

Filtre deporte
() nettoyez le filtr de la porte)
VOYANT
DE SEQUENCE
DU PROGRAMME
Voyant Séquence du programme
Indique àquelle phase se trouve le programme (6ème sens / Séchage / Fin de cycle).

Voyants Départ différé
Indique le début sélectionné jusqu'au démarrage du programme.
ANTIFROISSAGE
Indique que la sécheuse est dans la phase de culbutage, à la fin du programme, pour éviter que la lessive se froisse (voir UTILISATION QUOTIDIENNE / 7., et OPTIONS, FONCTIONS, ET VOYANTS /
Antifroissage).
ÉCONOMIES D'ENERGIE
FONCTION DE MISE HORS TENSION AUTOMATIQUE
Le sèche-linge est conçu pour économiser de l'énergie. Une fois que le programme est terminé, il s'était dont automatiquement après environ un quart d'heure.
CONSEILS POUR ÉCONOMISER L'ÉNERGIE
- Pour réduire le temps de séchage, assurez-vous que le linge est essoré à la vitesse d'essorage la plus rapide du programme de lavage. Cela réduit la teneur en humidité du linge.
- De préférence, séchez une charge pleine, comme indiqué dans le tableau Programmes. cela optimiser la consommation d'énergie correspondante.
- Ne faites pas surchauffer le linge.
- Nettoyez le filtr de porte après chaque cycle de sechage.
-
Nettoyez le filtré inférieur tous les cinq cycles.
-
La température ambiente optimale pour le sèchelinge est entre 15 et 20^ . En cas de température supérieure, ventilez la piece.
- Utilisez l'option Delicat uniquement avec de petites charges.
- Lors du séchage de linge en coton ou en synthétique, faites tourner des charges Prêtes à repasser et Prêtes à ranger ensemble. Démarrez le programme avec le niveau de séchage Prêt à repasser. À la fin du programme, enlevez le linge à repasser. Terminez le processus de séchage pour la charge restante avec le niveau de séchage Prêt à ranger.
ENTRETIEN ET NETTOYAGE
A VERTISSEMENT
N'utilise pas de fluides inflammables pour nettoyer le sèche-linge.
Pour toute opération de nettoyage et de maintenance, éteignez le sèche-linge.
VIDANGE DU RÉSERVOIR D'EAU
Videz le réserve d'eau après chaque programme, à condition que le tuyau de vidange ne soit pas connecté à votre système d'égout (voir les CONSIGNES D'INSTALLATION).
- Tenez la poignée et tirez précautionneusement le réservoir d'eau. Maintenez le réservoir d'eau plein des deux mains.

- Videz l'eau.

- Insérez le réservoir d'eau en le remettant à sa place. Assurez-vous qu'il est totalement inséré dans le compartment.

NETTOYAGE DU FILTRE DE PORTE
Nettoyez le filtré de porte après chaque cycle. Assurez-vous que le linge est déchargé. Ouvrez la porte.
- Enlevez le filtré de porte en le tirant vers le haut.

- Appuyez sur le bouton pour ouvrir le contrôle de porte.

- Enlevez avec précaution toutes les peluches du filtré à la main.
Si nécessaire, le filtré peut être nettoyé également sous l'eau courante, en utilisant un chiffon doux.

- Nettoyez le compartment du filtré avec un chiffon doux, ou minutieusement avec un aspirateur.

- Fermez le filtré et réinsérez-le dans la bonne direction, de sorte qu'il intégre totally le compartment de filtré.

NETTOYAGE DU FILTRE INFÉRIEUR
Nettoyez le filtré de socle tous les cinq programmes.
- Ouvrez le volet inférieur.

- Tenez la poignée et tirez le filtre inférieur.

- Enlevez la mousse du filtré inférieur, pour le nettoyer.

- Nettoyez la mousse du filtré et le filtré à la main ou sous l'eau courante. Ne lavez pas la mousse du filtré dans la machine à laver.

- Essorez minutieusement la mousse du filtré.
Ne l'insérez pas dans le filtré inférieur trop humide.

- Fixez la mousse de filtré sur le filtré inférieur.

- Nettoyez la chambre du filtr de la secheuse avec un chiffon humide ou minutieusement avec un aspirateur.

- Réinsérez le filtré inférieur. Assurez-vous qu'il est totallement intégré dans le compartment de filtré.

- Tirez la poignée de filtrer vers le bas.

- Fermez le volet inférieur.

NETTOYAGE DE L'EXTÉRIEUR DU SÉCHE-LINGE
Utilisez un chiffon doux et humide pour nettoyer les parties interieures du sèche-linge.
N'utilisez pas de nettoyants pour vitres ou universels, de poudres récurrentes ou similaires pour nettoyer le panneau de commande - ces substances pourraient endommager les surfaces.

INVERSION DE LA BUTÉE DE PORTE
Si nécessaire, la butée de porte du sèche-linge peut être inversée. Utilisez des pince et un tournevis cruciforme pour la procédure.
Pour enlever et fixer la porte, il est recommandé de se faire aider d'une seconde personne. Assurez-vous que le sèch-ingle est débranché. Ouvrez la porte du sèche-linge.
- Utilisez des pinces pour tourner la chevelle de contact, à l'intérieur de la porte, de 90^ vers la droite, et sortez-la.


- Dévissez les 2 vis situées au-dessus et au-dessous du verrou.

- Appuyez sur le petit bouton au-dessus du verrou de la porte avec un petit tournevis. En même temps, déplacez vers le haut le verrou de porte et tirez-le vers vous avec votre doigt.

- Desserrez les 2 vis sur la charnière de porte et demontez la porte.


- Fixez la porte sur le côté gauche en tournant les deux vis. Veillez à les serrer à la verticale pour éviter de pincer le joint de la porte.

- Insérez le verrou de porte sur le côte droit de l'ouverture de porte. Appuyez dessus totalement à l'intérieur du trou et déplacez-le légèrement vers le bas, jusqu'à ce que le petit bouton du verrou de porte s'enclença.

- Fixez les 2 vis situées au-dessus et au-dessous du verrou.

- Mettez le doigt de sécurité en place à l'intérieur de la porte (en haut). Avec des pince, tournez la chevelle de contact de 90^ à droite, pour la serrer.


GUIDE DE DÉPANNAGE & SERVICE APRÉS-VENTE
Votre sèche-linge est équipé de différentes fonctions de sécurité automatiques. Elles permettent de détecter des pannes rapidement et au système de sécurité de réagir ajustement. Ces pannes sont généralement peu importantes et peuvent être résolues en quelques minutes.
Problème
Cause possible
Solution
LE SECHAGE EST TROP LONG, LE LINGE N'EST PAS ASSEZ SEC
Le programmeChoisi n'est pas optimum pour ce type de linge
- Sélectionnez le programme qui s'adapte le最喜欢 au type de linge; consultez la section PROGRAMMES
Filtre de porte ou filtre inférieur obstrué
- Nettoyez les filtres selon les instructions dans la section SOIN ET MAINTENANCE
Linge trop humide
Assurez-vous que le linge est essoré à la vitesse d'essorage maximale avant le séchage. Si le linge a été essoré à une vitesse inférieure à 800 tr/min, le réservoir d'eau peut atteindre son niveau maximum pendant le programme de séchage.
La température ambiente est trop élevé
- La température ambiente est ideale entre 15 et 20^ . Si la température ambiente est supérieure, aéréz la piece.
« Option Délicat » sélectionnée
- « L'option Délicat » ne devrait être seLECTIONnée que pour de petites charges
| LE SÉCHE-LINGE NE DÉMARRE PAS, BIEN QUE LA TOUCHÉ DÉPART/PAUSE AIT ÉTÉ ENFONCée | La porté est-elle bien fermée | • Poussez la porte pour la fermer jusqu'à ce qu'elle soit bien enclenchée |
| La clé de verrouillage est activée | • Appuyez sur le bouton avec le symbole de la clé et maintenez le,enforcé jusqu'à ce que l'écran indique que les clés sont déverrouillées. | |
| Fiche, panne de courant, fusible | • La fiche n'est pas dans la prise ou il y a un mauvais contact. Il y a eu une panne de courant. • Le fusible est brûlé. Essayez de brancher une autre fiche dans la prise. | |
| DES GOUTTELETTES D'EAU SONT SOUS LE SÉCHE-LINGE | Le filtre inférieur n'est pas bien inséré | • Vérifiez la position du filtre inférieur et assurez-vous qu'il est totalement intégré dans le compartment de filtre. |
| Des peluches restent sur le filtre inférieur ou le joint de porte | • Enlevez les résidus de peluches sur les joints en caoutchouc du filtre inférieur et du joint de porte. | |
| Le réservoir d'eau n'est pas inséré correctement | • Poussez le réservoir d'eau et assurez-vous qu'il soit totalement intégré dans le compartment du réservoir. | |
| Le raccord de vidange direct ne fonctionne pas correctement | • Vérifiez le raccord de vidange et assurez-vous que l'eau peut être vidangée. | |
| Le sèche-linge n'est pas de niveau | • Vérifiez la position de niveau du sèche-linge sur le plateau avec un niveau à bulle; si nécessaire, ajustez les pieds du sèche-linge.(consultez les consignes d'installation). |
INDICATEUR DE PANNE ET MESSAGES
Assurez-vous de
Vider le réservoir d'eau après chaque programme
- Nettoyer le contrôle de porte après chaque programme
- Nettoyez le filtré inférieur tous les cinq cycles
| Voyant de panne | Cause possible | Solution |
| Levoyant « Vider réservoir » vide est allumé | Le réservoir d'eau peut être | • Vider le réservoir d'eau ; assurez-vous qu'il est convenablement inséré. |
| • plein d'eau | ||
| • mal positionné | • Repousser le réservoir d'eau pour s'assurer qu'il est correctement inséré dans le compartment du réservoir. | |
| Levoyant « Filtre de socle » est allumé | Le filtre inférieur peut être | |
| • bloqué par les peluches | • Nettoyer le filtre inférieur ; assurez-vous de l'insérer convenablement après coup | |
| • mal positionné | • Poussez le filtre inférieur et déplacez les leviers de libération en position verticale, pour vous assurer que le filtre est correctement inséré dans le compartment de filtre. Fermez le volet. | |
| Levoyant « Filtre de porte » est allumé | Le filtre de porte peut être | |
| • bloqué par les peluches | • Enlevez et nettoyez le filtre de porte ; assurez-vous qu'il est convenablement inséré après quoi, de sorte qu'il s'intègre totallement dans le compartment du filtre. | |
| • mal positionné | • Vérifiez la position du filtre de porte ; assurez-vous qu'il est correctement inséré dans le compartment du filtre. |
Consultez la section SOIN ET MAINTENANCE pour vider le réservoir d'eau ou nettoyer les filtres.
Vous trouverez ci-dessous un résumé des causes de panne possibles ainsi que les solutions.
Si le problème persiste après avoir suivi les consignes décrites plus bas, éteignez et débranchez le sèche-linge et contactez le Service Àpres-vente.
CONDITION DE DÉFAILLANCE Les 3 DEL rouges clignotent et certains DEL verts sont allumés.

Codes de défaillance
| F1 | ○——○——● | |
| F2 | ○——●——○ | Tournez le sélecteur de programme à 0/ÉTEINT et attendez pour au moins 3 secondes. |
| F3 | ○——●——● | |
| F4 | ●——○——○ | |
| F5 | ●——○——● | Éteignez et débranchez le sèche-linge. Ouvrez immédiatement la porte et sortez le linge, afin que la chaleur puisse se dissiper. |
| F6 | ●——●——○ | Assurez-vous que les plages de température ambiente sont entre 5°C et 35°C. Attendez environ une heures. Branchez le sèche-linge, chargez le linge et redémarrez le programme. Si la panne persististe,appelez le Service après-vente. |
| F7 | ●——●——● |
Ne jamais soulever le sèchelinge en le tenant par le haut.
- Débranchez le sèche-linge.
-
Assurez-vous que la porte et le réservoir d'eau sont correctement fermés.
-
Si le tuyau de vidange est raccordé à votre système d'égout, fixez le tuyau de vidange à l'arrière du seche-linge (voir les Consignes d'installation).
SERVICE APRÈS-VENTE
AVANT D'APPELER LE SERVICE APRES-VENTE
-
Vérifiez d'abord si vous pouvez résoudre le problème par vous-mêmes à l'aide des suggestions données dans le GUIDE DE DÉPANNAGE.
-
Éteignez l'appareil et rallumez-le pour voir si la panne persiste.
SI, APRES LES CONTROLES CI-DESSUS, LA PANNE EST TOUJOURS PRESENTE, CONTACTEZ LE SERVICE APRÉS-VENTE LE PLUS PROCHE
Pour obtenir de l'aide, appelez le numéro indiqué sur le livre de garantie ou suivez les instructions sur le site web www.whirlpool.eu
Fournissez toujours :
- une brève description de la panne;
- le type et le modèle exact de l'appareil ;
- le numéro de service (numéro après le mot Service sur la plaque nominative à l'arrière du sèche-linge). La référence est également indiquée dans le livre de garantie;
-党的建设 - voiture adressé complète;
- votre número de téléphone.
SERVICE
0000 000 0000

En cas de réparation, utilisez notre Service après/agreeé, pour garantir une réparation correcte et l'utilisation de pieces de rechange originales.
Fabricant: Whirlpool Europe s.r.l. Socio Unico Viale Guido Borghi 27 21025 Comerio (VA) Italy
1.


2a.
2b.

3a.

3b.


4.


5.


6a.

6b.
Notice Facile