BU 8807 WCO - Cuisinière ARTHUR MARTIN - Notice d'utilisation et mode d'emploi gratuit
Retrouvez gratuitement la notice de l'appareil BU 8807 WCO ARTHUR MARTIN au format PDF.
| Type d'appareil | Cuisinière |
| Nombre de foyers | 4 |
| Type de cuisson | Électrique |
| Four | Oui |
| Capacité du four | Non précisé |
| Programmateur | Non précisé |
| Type de commandes | Manuelles |
| Dimensions (HxLxP) | Non précisé |
| Puissance totale | Non précisé |
| Couleur | Blanc |
| Matériau | Acier émaillé |
| Type d'allumage | Électrique |
| Sécurité | Non précisé |
| Type de porte du four | Vitre |
| Garantie | Non précisé |
FOIRE AUX QUESTIONS - BU 8807 WCO ARTHUR MARTIN
Questions des utilisateurs sur BU 8807 WCO ARTHUR MARTIN
0 question sur cet appareil. Repondez a celles que vous connaissez ou posez la votre.
Poser une nouvelle question sur cet appareil
Téléchargez la notice de votre Cuisinière au format PDF gratuitement ! Retrouvez votre notice BU 8807 WCO - ARTHUR MARTIN et reprennez votre appareil électronique en main. Sur cette page sont publiés tous les documents nécessaires à l'utilisation de votre appareil BU 8807 WCO de la marque ARTHUR MARTIN.
MODE D'EMPLOI BU 8807 WCO ARTHUR MARTIN
Lors de sa fabrication, cet apparéil a été construit selon des normes, directives et/ou décrets pour uneutilisation sur le territoire français.
Pour la sécurité des biens et des personnes ainsi que pour le respect de l'environnement, vous devez d'abord dire impératifement les préconisations suivantes avant toute utilisation de votre apparéil.
Pour éviter tout risque de dépréciation de l'appareil, transportez-le dans sa position d'utilisation muni de ses cales de transport (selon modèle).
Au déballage de celui-ci, et pour empêcher des risques d'asphyxie et corporel, tenez les matériaux d'emballage hors de la portée des enfants.
Pour éviter tout risque (mobilier, immobilier, corporel,...), l'installation, les raccordements (eau, gaz, électricité, évacuation selon modèle), la mise en service et la maintenance de votre apparéil doivent être effectuels par un professionnelnel qualifié.
! Notre apparéil a été concu pour être utilisé par des femmes. Il est destiné à un usage domestique normal. Ne l'utilise pas à des fins commerciales ou industriielles ou pour d'autres buts que ceux pour lesquels il a été concu. Vous éviterez ainsi des risques matériel et corporel.
! Débranchez votre apparéil avant toute opération de nettoyage manuel. N'utilise que des produits du commerce non corrosifs ou non inflammables. Toute projection d'eau ou de vapeur est proscrite pour éçarter le risque d'électrocution.
! Si vous appeareil est equipé d'un éclairage, débranchez l'appareil avant de procéderau changement de I'ampoule (ou du néon, etc.) pour éviter de s'électrocuter.
Afin d'empêcher des risques d'explosion et d'incendie, ne place pas de produits inflammables ou d'éléments imbibés de produits inflammables à l'intérieur, à proximé ou sur l'appareil.
Lors de la mise au rebut de votre apparéil, et pour écarter tout risque corporel, mettez hors d'usage ce qui pourrait désenter un danger : coupez le cable d'alimentation au ras de l' apparéil. Informez-vous auprès des services de votre commune des endroits autorisés pour la mise au rebut de l' apparéil.
! Pendant et après le fonctionnement de l'appareil, le hublot de porte est chaud, les reçipients et leur contenu peuvent basculer, et les composants de la table s'échauffent. Tenez les enfants éloignés. Si ces différents points ne sont pas respectés, cela pourrait occasionner des risques matériel et corporel.
Veuillez maintainant dire attentivement cette notice pour une utilisation optimale de votre apparéil.
SOMMAIRE
| A l'attention de l'utilisateur | A l'attention de l'installateur | ||
| Avertissements importants | 4 | Caractéristiques techniques | 18 |
| Description de l'appareil | 6 | Consignes de sécurité | 19 |
| Utilisation de votre cuisinière | 7 | Installation | 20 |
| Conseils d'utilisation | 12 | Changement de gaz | 24 |
| Guide de cuissons | 13 | ||
| Entretien et nettoyage | 14 | ||
| Remplacement de l'ampoule d'éclairage | 15 | ||
| En cas d'anomalie de fonctionnement | 16 | ||
| Garantie | 17 | ||
| ServiceAprèsVenté | 17 |
Comment dire votre notice d'utilisation ?
Les symboles suivants vous guideront tout au long de la lecture de votre notice d'utilisation.

Instructions de sécurité

Description d'opérations étape par étape

Conseils et recommandations

Informations liées à la protection de l'environnement
Conserve cette notice d'utilisation avec votre apparéil. Si l' apparéil avait été vendu ou cédé à une autre personne, assurez-vous que la notice d'utilisation l'accompagne. Le nouvel utiliser pourra alors être informé du fonctionnement de celui-ci et des averissements s'y rapportant.
Ces averissements ont ete reditiges pour votresecurite et celle d'autrui.
Utilisation
- Cet apparéil a été concu pour être utilisé par des femmes. Veillez à ce que les enfants n'y touchent pas et ne l'utilisent pas comme un jouet.
- A la réception de l'appareil, déballez-le ou faites-le déballer immédiatement. Vérifiez son aspect général. Faites les évientuelles réserves par écrit sur le bon de livraison ou sur le bon d'enlevement dont vous garderez un exemplaire.
- Voiture apparéil est destiné à un usage domestique normal. Ne l'utilise pas à des fins commerciales ou industrielles ou pour d'autres buts que celui pour lequel il a été créé.
- Ne modifies pas ou n'essayez pas de modifier les caractéristiques de cet apparéil. Cela représentait un danger pour vous.
-
Avant d'utiliser votre cuisinière pour la première fois, faites chauffer le four à vide afin d'éliminer l'odeur du calorifuge et les graisses de protection utilisées lors de la fabrication :
-
Levez le couvercle,
- Enlevez le(s) accessoire(s) du four,
- Enlevez les évventuels autocollantsétiquettes publicitaires, pellicule de protection des enjoligeurs,
- Chauffez le four en positionnant la commande four sur le repère maxi pendant 45 minutes environ.
Pendant cette opération, votre apparéil fume.
Aérrez convenablement la piece pour limiter les odeurs et le dégagement de fumée.
Prenez également la précaution de nettoyer le(s) accessoire(s) du four avec un dédTangent doux. Rincez et séchez soigneusement.
- L'utilisation d'un apparéil de cuisson au gaz conduit à la production de chaleur et d'humidité dans la pierce où il est installé. Veillez à assurer une bonne aération de la cuisine : maintenez ouverts les orifices d'aération naturelle ou installez un dispositif d'aération mécanique.
-
Une utilisation intensive et prolongée de l'appareil peut nécessiter une aération supplémentaire en ouvrant la fenêtre, ou une aération plus efficace, par exemple en augmentant la puissance de la ventilation mécanique si elle existe.
-
Avant d'utiliser votre apparéil, assurez-vous qu'il a été correctement raccordé pour le type de gaz distribué.
- Baissez ou éteignez toujours la flamme d'un brûleur avant dePTRirer un réciplient.
- Si vous utilisez un apparéil électrique à proximé de votre cusinière (par exemple un bâtleur électrique), assurez-vous que le cable d'alimentation de cet apparéil électrique ne soit pas en contact avec la surface chaude de la cusinière qui serait susceptible de fondre ou coince dans la porte du four.
- Surveillez attentivement la cuisson lors de fritures dans l'huile ou la graisse (pomme de terre frites, beignets,...): les graisses surchauffées s'enflammment facilement.
- N'utilise pas de recipients instables ou déformés : ils pourraient se renverser et être la cause de dommages corporels.
- Si vous appeareil est équipé d'une lèchefrite, ne l'utilise pas comme plat à rôtir.
- Ne tirez jamais将自己的 appareil par la poignée de la porte du four.
- En plus du(des) accessoire(s) fournis avec votre apparéil, n'utilisez que des plats, des moulés à gâteaux, ... résistants à de haute températures (suivez les instructions des fabricants).
-
Ne stockez pas de produits d'entretien ou de produits inflammables dans le tiroir (si vous appareil en est équipé) ou à proximité de l'appareil.
Sur la porte ouverte du four : -
ne posez pas de charge lourde,
-
assurez-vous qu'un enfant ne puisse ni monter, ni s'asseoir.
-
En enfournant ou en sortant vos plats du four, prenez la précaution de ne pas vousapprocher du(des) element(s)chauffant(s)etutilisez des gants thermiques de cuisine.
- Ne placez jamais de papier aluminium directement en contact avec la sole, la chaleur accumulée pourrait entraîner une détérioration de l'émail.
- Un brûleur doit partager une flamme régulière. Evitez tout courant d'air. Si la flamme présente une anomalie, nettoyez le brûleur. Si l'anomalie persiste, faites appel au service après vente.
- Àprousutilisationdevourcuisinière,assurez-vous que toutes les manettes se trouvent sur la position « arrêt »
- Veillez à ne rien laisser sur la tablependant l'utilisation des brûleurs (torchons, feuilles d'aluminium, etc...).
- Essuyez les salissures qui se trouvent sur la surface du couvercle avant de l'ouvrir.
-
Lorsque le four est en fonctionnement, le couvercle doit être relevé.
-
Ne laissez rien sur la table de cuisson. Une mise en fonctionnement accidentelle pourrait provoquer un incendie.
- Avant de fermer le couvercle, mettez toutes les manettes sur la position « arrêt » et attendez que le dessus du plan de cuisson soit refroidi afin de ne pas endommager le couvercle.
- Pendant l'utilisation du four la léchefrite (si votre apparéil est équipé) devient chaude; utilisez des gants de cuisson thermique quand vous la sortez.
- Changez le tuyau d'arrivée du gaz un peu avant l'expiration de la date de vieillissement indiquée sur celui-ci.
- N'utilise jamais de bouteille de propane dans votre cuisine ou autre local fermé.
- Eloignez les jeunes enfants de l'appareil pendant et après son fonctionnement. Vous évitez ainsi qu'ils se brûlent en touchant la surface de la table de cuisson, en renversant ou en tirant un écipient de cuisson ou en touchant la façade chaude de votre apparéil.
Assurez-vous que les enfants ne manipulent pas les commandes de l'appareil. - Avant de procéder au nettoyage de votre apparéil, vérifie qu'aucun élément n'est sous tension (toutes les commandes doivent se trouver sur la position « arrêt ») et que les parois soient suffisamment refroidies.
- Ne faites jamais fonctionner votre table de cuisson à vide (sans récipient dessus).
- Pour obtenir de bons résultats culinaires et d'utilisation, veillez à ce que votre apparéil soit toujours propre ; lors de la cuisson de certaines préparations, les projections gratuitesuses peuvent dégager des odeurs désagréables ou s'inflammer.
- Nettoyez votre apparéil après chaque utilisation, afin de garantir un fonctionnement correct.
- La façon de votre four est chaude pendant l'utilisation et le nettoyage, éloignez les jeunes enfants.
- N'utilise jamais d'appareils à vapeur ou à haute pression pour nettoyer le four (exigences relatives à la sécurité électrique).
- N'utilisez que les accessoires livrés avec votre apparéil (un diffuseur de chaleur, par exemple, endommagerait la table de cuisson).
Installation
- Les opérations d'installation et de branchement doivent être effectuées par un personnel qualifié et suivant les normes en vigueur.
- Cette cusinière est lourde: faites attention lors de son déplacement.
- Avant l'installation, assurez-vous que les conditions de distribution locale (nature et pression du gaz) et le réglage de l'appareil sont compatibles.
- Les conditions de réglage de cet apparéil sont inscrites sur la plaque signalétique.
Assurez-vous que l'appareil est installé dans une piece correctement aérée : une mauvaise ventilation peut entraîner un manque d'oxygène. Consultez un installerur qualifié ou adressez-vous à la compagnie de distribution du gaz de votre région.
- Si l'installation électrique de votre habitation nécessite une modification pour le branchement de votre apparéil, faites appel à un électrice qualifié.
- L'appareil doit être débranché pendant l'installation ou dans l'éventualité d'une intervention.
- Débranche l'appareil ou enlevez le fusible correspondant à la ligne de branchement de la cuisine si cette-ci présente une qualconque anomalie.
- Si le cable d'alimentation doit être remplaced, le remplacement ne doit être effectué que par un technicien qualifié.
- Les réparations ne doivent être effectuées que par un service après vente qualifié. Une réparation non conforme peut être la cause de graves dommages.
Veuillez dire attentivement ces remarques avant d'utiliser et d'installer cet apparéil. Nous vous remercions de votre attention.
Notre responsabilité ne saurait être engagée, en cas de mauvaise utilisation et de non respect des règles de sécurité. Veillez également à respecter scrupuleusement les instructions d'entretien et de nettoyage.

Protection de l'environnement
Tous les matériaux marqués par le symbole sont recyclables. Déposez-les dans une déchetterie prévue à cet effet (renseignez-vous auprès des services de votre commune) pour qu'ils puisent être recupérés et recyclés.
Si vous procédez à la mise à la casse de votre apparéil, mettez hors d'usage ce qui pourrait représententer un danger: par exemple, coupez le cable d'alimentation au ras de l' apparéil.
En cas d'anomalie de fonctionnement, reportez-vous à la rubrique "EN CAS D'ANOMALIE DE FONCTIONNEMENT". Si malgré toutes les vérifications, une intervention s'avère nécessaire, le vendeur de votre apparéil est le premier habilité à intervenir. A défaut (déménagement de votre part, fermeture du magasin où vous avez effectué l'achat...), veuillez consulter le Centre Contact Consommateurs qui vous communiquera alors l'adresse d'un ServiceAprès Vente.
En cas d'intervention sur votre apparéil, exigez du service après vente les pièces de rechange certifiées Constructeur.

A l'attention de l'utilisateur
DESCRIPTION DE L'APPAREIL
Le bandeau de commande

- Eclairage du four.
- Manette de commande du four/grilloir.
- Manette de commande du brûleur avant gauche.
-
Manette de commande du brûleur arrêté gauche.
-
Manette de commande du brûleur arrêté croit.
- Manette de commande du brûleur avant droit.
La table de cuisson

- Brûleur avant gauche (rapide)
-
Brûleur arrêté gauche (semi-rapide)
-
Brûleur arrêté droit (auxiliaire)
- Brûleur avant droit (rapide)
1. Le four
Premier nettoyage
Enlevez les accessoires et lavez-les à l'eau savonneuse en prénant soin de bien les rincer et les essuyer.
Mise en service

Avant la première utilisation de votre four faites-le chauffer une fois à vide afin d'éliminer l'odeur du calorifuge et les graisses de protection utilisées lors de la fabrication. Assurez-vous alors que lapiece soit suffisamment aérée : VMC (Ventilation Mécanique Contrôle) en fonctionnement ou fenêtre ouverte.

Retirez tout emballage à l'intérieur et à l'extérieur de la cuisine avant son utilisation.

Comment procéder ?
- Levez le couvercle.
- Enlevez le(s) accessoire(s) du four.
- Retirez les évventuels autocollants, étiquettes publicitaires, pellicule de protection des enjoliveurs (sauf la plaque signalétique).
- Allumez le brûleur du four.
- Faites chauffer le four à vide en positionnant la manette de commande du four sur le repère maxi pendant 45 minutes environ.
La même procédure sera repétée également pour le grilloir pendant 5-10 minutes.
Pendant cette opération, votre apparéil fume. Aéréz convenablement lapiece pourlimiterles odeurs et le dégagement de fumées.
Utilisation du four

La porte est chaude pendant le fonctionnement du four. Eloignez les jeunes enfants.

Lorsque le four est en fonctionnement, le couvercle de la cusinière doit être relevant afin d'éviter toute surchauffe.

Lorsque you ouvre la porte de four gardez la distance. Ne la laissez pas retomber, soutenez-la par la poignee jusqu'à ce qu'elle est complètement ouverte.
Le four peut être utilisé en cuisson traditionnelle ou en grill. Ces deux modes ne peuvent être utilisés simultanément.
Le brûleur du four est équipé d'une sécurité thermocouple. Dans le cas d'une extinction accidentelle de la flamme (courant d'air violent, débordement important d'un liquide,...) une sécurité par thermocouple coupe l'alimentation en gaz du brûleur de four.
En mode traditionnel, le réglage se fait sur 8 graduations.
Pour passer de la cuisson traditionnelle à la cuisson au grilloir, il est nécessaire d'eteindre le brûleur du four puis d'allumer le grilloir.
La manette de commande du four/.Grilloir permet deCHOISIR LA TEMPERATURE DE cuisson appropriée et demettre en fonctionnement I'elément grilloir.
Correspond à la position arrêt
1-8 Plage de températures du four
Correspond à la position.Grilloir
Pour allumer le brûleur du four
L'arrivée du gaz au brûleur est réglée par un thermostat dont la fonction est deMAINIR une température constante dans le four.
- Ouvrez la porte du four et soulevez le petit couvercle protégeant l'orifice d'allumage.
- Approchez une flamme du brûleur du four (fig. 1).
- Poussez et tournez la manette du four dans le sens inverse des aiguilles d'une montre jusqu'au repère « 8 » (fig. 2).
- Le brûleur allumé, maintenez la commande enforcée pendant 10 secondes environ pour activer la sécurité de four (thermocouple) et vérifie la présence de flamme.
Si le brûleur s'éteint, ramenez la manette sur la position arrêt et renouvelez l'opération après 1 minute en maintainant la commande enforcée pendant 15 secondes maximum.
- Fermez la porte du four.
- Préchauffez 10 minutes et réglez la manette sur la position désirée.
Avant l'introduction de certains alimentés (cuisson des viandes rouges par exemple), vous devez préchauffer le four à vide. Le réglage de la manette devra être identique à celui choisi pour la cuisson.

Pour eteindre le bruleur
Tournez la manette correspondante dans le sens des aiguilles d'une montre jusqu'à la butée, sur la position arrêt « ● »
Ne placez jamais des plats ou une feuille d'aluminium directement en contact avec la sole.

fig. 1

fig. 2
Le grilloir
! Les parties accessibles de la cuisine都可以 estra chaudes lors de l'utilisation du grilloir. Eloignez les jeunes enfants. L'utilisation du grilloir se fait porte entrouverte avec le deflecteur « A » mis en place et sous voire surveillance.
! Pendant l'utilisation la cusinière devient chaude. Evitez de toucher les éléments chauffants de l'intérieur du four ou le deflecteur.
! Pendant et après le fonctionnement du grilloir, le deflecteur est chaud.
La position grilloir s'emploi pour griller les pieces de viande (côte de bœuf, côtes de porc, ...) qui restent moelleuses, à dorer les toasts ou à gratiner des plats déjà cuits et chauds de préférence (gratin de pâtes, etc...).
Si vous cuisez directement sur la grille (grillades), pensez à glisser la lèchefrite dans un gradin inférieur pour récapérer les jus des grillades.

Pour allumer le brûleur du grilloir
- Ouvrez la porte du four et mettez le déflecteur « A » en place (fig. 3).
- Appuyez et tournez la manette du thermostat dans le sens des aiguilles d'une montre jusqu'à la position 電 , et maintenez la pression.
- Approchez une flamme au brûleur (fig. 4) 2-3 secondes après action sur la manette.
- Veillez à ce que le brûleur soit allumé et maintenez la manette appuyée pendant 10 secondes environ, avant de la relâcher (pour activer la sécurité thermocouple).
Si le brûleur s'éteint, ramenez la manette sur la position arrêt et renouvelez l'opération après 1 minute en maintainant la commande enforcée pendant 15 secondes maximum.

Pour eteindre le grilloir
Tournez la manette correspondante dans le sens inverse des aiguilles d'une montre, jusqu'à la butée, sur la position arrêt « ● »

Comment professionnel pour les grillades
- Préchauffez votre four sur la position grilloir 5 à 10 minutes environ.
- Lorsque le grill est chaud, placez la piece a griller sur la grille à distance convenable du grill. Placez-la d'autant plus pres que la piece exige d'être saisie.
- Glissez la lèchefrite dans un gradin inférieur.
- Lorsque la première face est dorée, returnez la piece sans la piquer pour éviter de lui faire perdre son jus.
- Faites griller la deuxième face.
- Salez en fin de cuisson.

fig. 3

fig. 4
Le temps de cuisson doit être déterminé en fonction de l'épaisseur de la pierce à griller et non par son poids.
Comment proceder pour les Gratis
- Installez le déflecteur « A »
- Préchauffez votre four sur la position grilloir (5 minutes environ).
- Placez le plat sur la grille support de plat et glissez l'ensemble à distance convenable du grill.
- Laissez le mets exposé quelques minutes au rayonnement du grilloir.
Pour les mets froids (plats préparés à l'avance) qui exigent à la fois d'être rechauffés et gratinés, utilisez le four en réglant le thermostat sur les positions 6 ou 7.
Plus la préparation sera proche de l'élement rayonnant, plus le « gratinage » sera rapide.
Après utilisefaction du four ou du gri lloir, assurez-vous que la commande four/grilloir se trouve sur la position arrêt « ● »
L'éclairage
Le four est équipé d'un éclairage permettant de contrôler les mets durant la cuisson.
Il fonctionne dés que l'on appuie sur le bouton situé sur le bandeau de commandes (fig. 5).
2. Les brûleurs de table
En faisant coïncider le symbole de la manette avec le repère situé sur le bandeau de commande (fig. 6), vous obtiendrez :

Position arrêt
Plein débit (brûleur au maximum)
Ralenti (brûleur au minimum)
Utilisez le débit maximum pour obtenir l'ébullition et le ralenti pour le mjotage des alimentés ou le maintien en ébullition.
Choisissez toujours des positions entre les débits minimum et maximum, jamais entre celles du maximum et de l'arrêt.

Avant de fermer le couvercle, attendez que le dessus du plan de cuisson soit refroidi afin de ne pas endommager le couvercle.
Pour allumer les brûleurs de table
- Appuyez sur la manette et tournez-la vers la gauche jusqu'au repère « grande flamme »
- Approchez une flamme du brûleur correspondant.
- Reglez ensuite la flamme sur la position désirée.

fig. 5

fig. 6

Pour eteindre les bruleurs
Tournez la manette dans le sens des aiguilles d'une montre jusqu'à la butée, sur la position arrêt « ●». Le verrouillage de sécurité est en place.

Eloignez les jeunes enfants de regardant tant qu'il est encore chaud.
Veillez à ne poser sur la table de cuissonaucun object ou aliment susceptibles defondre (ustensiles avec manche en plastique, feuille d'aluminium, alimentes contenant du sucre, etc.).
Lorsque vous faites des fritures, surveillez attentivement la cuisson car l'huile ou laGRAisse pourrait facilement s'enflammer par suite d'une surchauffe.
Choix du brûleur
Au dessus de chaque manette, figure un symbole vous indiquant quel brûleur est concerné.
Afin d'obtenir un plus grand rendement,CHOISSEZ toujours des recipients proportionnés au diamètre des brûleurs utilisés (fig. 7).
Nous vous recommendons de réduire l'allure de brûleurès que l'ébullition est atteinte.
Pour un bon allumage de vos brûleurs, veillez à garder les couronnées des brûleurs en parfait état de propre, leur encrassement pourrait être la cause d'un mauvais allumage.
3. Accessoires fournis avec l'appareil
En plus des accessoires fournis avec votre cuisine, nous vous conseillons de n'utiliser que des plats, des moules à gâteaux,...résistant à de haute températures (suivez les instructions des fabricants).
Votrecuisiniereestequipee(fig.8):
D'une grille support de plat
Elle permet de poser les plats (rotis, gratins), les moulées à pâtisseries, etc...Votre plat doit être centré sur la grille.
D'une lèchefrite
El est utilisée pour recueillir le jus de cuisson.
Elle n'est pas prévue pour être utilisée comme plat de cuisson.
Pour la cuisson elle doit être posée sur la gradin 2.
Lorsque vous n'utilisez pas la l'echefrite veiliez à la retirer du four.
D'un deflecteur
Il s'utilise lorsque le grilloir est utilisé pour les cuisson.

fig. 7

fig. 8
Les ciissons au four
- Afin de réaliser des économies d'énergie, nous vous conseillons d'eteindre le four 5 minutes avant la fin de la durée de cuisson prévue. La chaleur résiduelle dans le four vous permettra de terminer la cuisson.
- L'épaissur, la conductibilité, la couleur des recipients influencent les résultats dusculaires.
- Pendant la cuisson, certaines préparations augmentent de volume, en conséquence,CHOISSEZ VOUS RÉCIPIENTS DE manière à ce que la préparation crue:aise le tiers supérieur du moule libre.
- Pour prévenir les projections grassisseuses trop importantes, utilisez pour la cuisson des rôtis, des plats à bords hauts dont les dimensions sont proportionnées à la pierce à rôtir.
- Piquez la peau des volailles et saucisses à l'aide d'une fourchette avant la cuisson. Vous évitez ainsi le gonflement et l'éclatement de la peau.
- Pour préserver la propriété de votre four, une feuille d'aluminium intercalée entre le plat et la grille support protégera la sole en cas de débordement. Cette feuille ne doit pas couvrir la totalité de la surface de la grille.
- Réservez les plats en verre à feu pour vos gratins et vos soufflés.
- Ajoutez les matières grasses un peu avant la fin de la cuisson.
- Laissez le moins de barde possible autour de vos rôts pour réduire les projections et obtenir un mets moins riches enGRAisse.
Ne placez jamais de papier aluminium directement au contact avec la sole, ceci entrainerait une déterioration de l'email et de l'appareil.
Lorsque le four est en fonctionnement, le couvercle doit être relevé.
Influence des recipients sur les résultats de cuisson au four
Sachez que :
- L'aluminium, les plats en terre cuite, la terre à feu diminuent la coloration dessous et préserve n'humidité des alimentés. Nous vous les conseillons pour les pâtisseries moelleuses, la cuisson des gratins, des rôts.
- La fonte émaillée, le fer étamé, le verre et la porcelaine à feu, les recipients avec interieur anti-adhésif et extérieur coloré, augmentent la coloration dessous et favorisent le desschément des alimentés. Nous vous les conseillons pour les tartes, les quiches et toutes cuissons croustillantes qui doivent être aussi dorees dessous que dessus.
Les cuissons sur la table de cuisson
N'utilisez pas de recipients à base concave ou convexe sur le plan de cuisson.
Choisissez toujours un écipient proportionné au diamètre du brûleur utilisé.
Si vous neccessutiliser un recipient a large fond (stérisatateur, lessiveuse, bassine à confiture, couscousnier, ...), placez-le légèrement décalé vers l'arrière de la table de cuisson de telle sorte que la base du recipient ne dépasse pas le bord avant de la table émaillée, ceci évite le débordement des flammes et une surchauffe au niveau du bandeau de commande.
Avant de fermer le couvercle, attendez que le dessus du plan de cuisson soit refroidi afin de ne pas endommager le couvercle.
Tableau de correspondances approximatives : repères du thermostat / températures
| 1 | 150 °C | 3 | 190 °C | 5 | 240 °C | 7 | 275 °C |
| 2 | 170 °C | 4 | 215 °C | 6 | 260 °C | 8 | MAXI |
Le préchauffage du four est nécessaire, il doit se faire sur la position choses pour la cuisson.
| Plats ou mets | Position de la manette du four |
| Biscuit - Quatre quart | 1 - 2 |
| Pâté - Terrine | 3 - 4 |
| Tarte - Soufflé | 4 - 5 |
| Poisson | 4 - 5 |
| Volaille - Porc | 5 - 6 |
| Viandes rouges | 7 - 8 |
L'importance du volume des préparations à cuire et la grande variété des matériaux constituent les recipients de cuisson et les moules à pâtisserie, peuvent vous amener à modifier les indications données dans le guide de cuisson. Seule votre experience vous permettra de trouver le réglage convenant le mieux à vos habitudes culinaires.
Cuissons au grilloir
Toutes les cuissons au grilloir doivent etre faites porte ouverte (avec le deflecteur) et sous voire surveillance.
! Avant de procesder au nettoyage, assures-vous que toutes les manettes sont sur la position « arrêt » et que l'appareil est complètement refroidi.
N'utilisez jamais d'appareils à vapeur ou à haute pression pour nettoyer le four.
N'employez jamais de produits abrasifs ou caustiques, ni déponges avec gratvoir, déponce métallique, de produits abrasifs, de détergents, d'objets tranchants, tels que couteaux, gratvoir pour procéder au nettoyage de votre apparéil.
Les brûleurs
Lavez les chapeaux avec de l'eau chaude et un détergent doux en prénant soin d'enlever toute incrustation. N'employez jamais d'eau vinaigrée.
Veillez à garder les couronnes de brûleurs en parfait état de propre, leur encrassement pouvant être la cause d'un mauvais allumage.
Assurez-vous avant l'allumage que les couronnées sont bien en place ainsi que les chapeaux de brûleurs.
L'ensemble doit être parfaitement sec.
Bandeau de commande, manettes, grille émaillée, couvercle de table, façade et parois laterales de l'appareil
Utilisez une éponge humide additionnée d'un détergent doux, rincez et séchez.
La table de cuisson
Après chaque utilisation, passez une éponge imbibée d'eau tiège et de détergent doux en évitant tout écoulement dans les orifices de la table. Rincez et séchez avec un chiffon doux.
En cas de débordement, mouillez et laissez détrempier mais ne grattez pas et évitez les produits abrasifs ou caustiques qui risqueraient de rayer et d'endommager la surface de la table.
Il est souhaitable de-retirerrapidementlestaches de vinaigre,de citron et les substances acides en général.
Le four
La portedu four estchaudependantle cycle de nettoyage,eloignezlesjeunes enfants.
N'utilisez pas les brûleurs de table pendant le nettoyage.
Principe
Les parois de votre four (sauf la sole et la paroi du fond) sont recouvertes d'un émail spécial, poreux. Vous le reconnaîtrez par son aspect mat et rugueux au toucher. Il absorbe et détruit les projections grasses sous l'action de la chaleur.
La sole et la paroi du fond sont en émail brillant et lisse au toucher, le nettoyage est « manuel »
En cas de débordement sur la sole, retirez-la pour la laver plus facilement à l'aide d'une éponge et d'un détergent doux.
Nettoyage catalytique
Lors des cuissons provoquant beaucoup de projections grasses (volailles, grillades,...), la durée ou la température ne sont pas toujours suffisantes pour éliminer toutes les graisses.
Dans ce cas, à la suite de la cuisson, procédez de la manière suivante :
- Retirez tous les accessoires du four (grille, lechefrite,...),
- Placez la manette four-grilloir sur le repere maxi puis laissez chauffer a vide 30 minutes.
- Ensuite, placez la commande four-grilloir sur la position où fais laisser chauffer pendant 5 minutes.
Si vous réalisEZ cette opération à partir d'un four froid, comptez 45 minutes de nettoyage.
Ne projetez pas de produits nettoyants sur les surfaces recouvertes d'email catalytique.
N'utilisez jamais d'éponge métallique, de produits abrasifs, de détergents, d'objets tranchants, tels que couteaux, grattoirs qui rendraient l'email définitivement inefficace.
La portedu four
Retirer la porte du four (fig. 9)
- Ouvrez entièrement la porte.
- Relevez complètement le levier de blocage (1) de chaque charnière.
- Saisissez la porte à deux mains sur les côtes et fermez-la partiellement (angle environ de 30^ ).
- Retirez la porte du four en la tirant vers vous.
Replacer la porte du four (fig. 10)
- Saisissez la porte à deux mains sur les côtés et maintenez la porte sous un angle d'environ 30^ .
- Introduisez les charnières dans les orifices. Assurez-vous que l'encoche (2) de chaque charnière se positionne sur la tranche de chaque orifice (3).
- Baissez la porte pour l'ouvrir complètement. Rabattez les leviers dans leur position d'origine aux deux charnières de la porte.
- Fermez la portedou four.
Le verre interne peut aisément etre retirepour le nettoyage. Pour cela, retirez les 2 vis de fixation.
Le(s) accesaire(s)
Lavez-le(s) à l'eau savonneuse en prénant soin de bien le(s) rincer et de le(s) essuyer.

fig. 9
fig. 10


fig. 11
REEMPLACEMENT DE L'AMPOULE D'ECLAIRAGE
Avant de procéder au changement de l'ampoule d'éclairage du four, veillez à ce que toutes les commandes soient sur la position Arrêt « ● »
Débranche l'alimentation électrique de l'appareil. Assurez-vous aussi que l'intérieur du four soit froid.
Cette ampoule de 15 W, de type culot à vis E14 (230/240 V) est une ampoule spéciale « chaleur » résistant à une température de 300^ .
L'ampoule est située au fond du four et accessible par l'intérieur.

Pour avoir accès à l'ampoule :
- Dévissez le capuchon en verre protégeant l'ampoule.
- Dévissez l'ampoule.
- Remplacez l'ampoule.
- Resserrez bien le capuchon en verre.

fig. 12
EN CAS D'ANOMALIE DE FONCTIONNEMENT
Nous vous recommendons vivement de faire les vérifications suivantes sur votre cuisine avant d'appeler votre service après vente. Il se peut que le problème soit simple et que vous puissiez yREMEDIER vous meme.
Si après avoir vérifié ces différents points l'anomalie persiste, contactez votre service après vente.
| Symptômes | Solutions |
| Aucun brûleur ne s'allume | Vérifiez que : • l'arrivée de gaz est ouverte, • la position du tuyau gaz est correcte, • la bouteille de gaz ou la cuve n'est pas vide. |
| Un brûleur de table ou le brûleur de four ne s'allume pas. | Vérifiez que : • l'ensemble du brûleur de table est correctement remonté, • le brûleur n'est pas mouillé. |
| Les résultats de cuisson ne sont pas satisfaisants. | Vérifiez que : • le thermostat est correctement positionné, • la durée de cuisson est ajustée, • la grille est bien positionnée dans le four, • le réseau de cuisson est bien adapté. |
| Le four fume | Vérifiez que : • le four ne nécessite pas de nettoyage, • la préparation ne déborde pas, • il n'y a pas de projections excessives de graissse/jus sur les parois du four. |
Conformément à la Législation en vigueur, votre Vendeur est tenu, lors de l'acte d'achat de votre apparéil, de vous communiquer par écrit les conditions de garantie et sa mise en œuvre appliquées sur celui-ci.
Sous son entière initiative et responsabilité,
votre Vendeur répondra à toutes vos questions
concernant l'achat de votre apparéil et les
garanties qui y sont attachées.
N'hésitez pas à le contacter.
SERVICE APRES-VENTE
En cas d'anomalie de fonctionnement, reportez-vous à la rubrique "EN CAS D'ANOMALIE DE FONCTIONNEMENT". Si malgré toutes les vérifications, une intervention s'avère nécessaire, le vendeur de votre apparéil est le premier habilité à intervenir. A défaut (déménagement de votre part, fermeture du magasin où vous avez effectué l'achat...), veuillez consulter le Centre Contact Consommateurs qui vous communiquera alors l'adresse d'un Service Àpès Vente.
En cas d'intervention sur votre apparéil, exigez du Service Àpès Vente les Pièces de Rechange certifiées Constructeur.

En appelant un Service ÀpRES Vente, indiquez-lui le modele, le numero de produit et le numero de série de l'appareil. Ces indications figurent sur la plaque signalétique située à l'arrête de votre apparéil.
Appareil isolé
Classe 1
| La table de cuisson | Couvercle de table | |
| Grille de table | Emaillée | |
| Brûleur avant droit | Brûleur rapide 2,6 kW | |
| Brûleur arrêté droit | Brûleur auxiliaire 1,0 kW | |
| Brûleur avant gauche | Brûleur rapide 2,6 kW | |
| Brûleur arrêté gauche | Brûleur semi-rapide 2,0 kW | |
| Le four | Four | gaz |
| Puisance du four | 3,2 Kw | |
| Grilloir | gaz | |
| Puisance du grilloir | 2,5 Kw | |
| Eclairage de four | Ampoule 15 W type E14 | |
| Nettoyage | Catalyse | |
| Accessoires | Grille | |
| L'échefrite | ||
| Déflecteur | ||
| Dimensions | Hauteur avec couvercle | 875 mm |
| Largeur | 850 mm | |
| Profondeur | 500 mm | |

Cet apparéil est conforme aux Directives Communautaires suivantes :
90/683 ; 73/23 (Basse Tension) et modifications successives,
89/336 (Compatibilité Electromagnetique) et modifications successives,
90/396 (Appareil Gaz); 93/68 (Directives Générales) et modifications successives.

Consignes de sécurité
- Avant l'installation, assurez-vous que les conditions de distribution locale (nature et pression du gaz) et le réglage de l'appareil sont compatibles.
- Cet apparéil doit être installé uniquement dans un local suffisamment aéré.
- Les conditions de réglage de cet apparéil sont inscrites sur la plaque signalétique.
- Cet apparéil n'est pas raccordé à un dispositif d'évacuation des produits de combustion. Il doit être installé et raccordé conformément aux règles d'installation en vigueur. Une attention particulière sera accordée aux dispositions applicables en matière de ventilation.
- Cet apparéil est un apparéil du type X, c'est à dire que les meubles juxtaposés à l' apparéil ne doivent pas dépasser la hauteur de cellici. Cette disposition assure la protection du mobilier.
- Les parois adjacentes à la cuisineira doivent être soit en une matière résistant à la chaleur, soit revêues d'une telle matière.
Raccordement à un réseau gaz
- Vérifiez que le débit du compteur et le diamètre des canalisations sont suffisants pour alimenter tous les appareils de l'installation (consultez votre compétie de distribution du gaz).
- Vérifiez que tous les raccords sont étanches.
- Installez un robinet de barrageque visible et accessible.
- Si vous utilisez un tubeSouple, il doit etre visible et accessible sur toute sa longueur et ne doit pas passer derriere l'appareil.
- Changez le tube souse un peu avant la date d'expiration imprimée sur celui-ci.
Raccordement electrique
Vérifiez que :
- La prise utilisée pour le raccordement est facilement accessible lorsque la cuisine est installée.
- Les fusibles, ainsi que l'installation électrique domestique, sont en mesure de supporter la charge de l'appareil (voir la plaque signalétique).
Le cable d'alimentation et les lignes d'alimentation sont en bon etat. - Le diamètre des fils est conforme aux règles d'alimentation.
- L'installation fixe compte un dispositif possédant des contacts à coupure omnipolaire ayant une distance d'ouverture des contacts d'au moins 3mm.
L'installation et l'entretien doivent être effectués par un professionnel qualifié conformément aux textes réglementaires et règes de l'art en vigueur, notamment :
■ Arrêté du 2 août 1977
Régles Techniques et de Sécurité applicables aux installations de gaz combustibles et d'hydrocarbures liquéfies à l'intérieur des batiments d'habitation et de leurs dépendances.
Norme DTU P 45-204
Installation de gaz (anciennement DTU n°61-1 - Installations de gaz - Avril 1982 + additif n°1 Juillet 1984).
Règlement Sanitaire Départemental.
Norme NF C 15-100. Installations électriques à basse tension.
Notre responsabilité ne saurait etre engagée en cas d'accidents ou d'incidents provoqués par une mise à la terre inexistante ou defectueuse ou pour une installation non conforme à la législation en vigueur.
Emplacement
L'emballage et les revêtements en plastique rétirés, installez la cusinière dans un endroit sec et aéré (fig. 13). Elle doit être éloignée des rideaux, papiers, alcohol, essence, etc...).
L'appareil doit être posé sur un sol résistant à la chaleur.
Cette cuisine est de classe « 1 » en ce qui concerne la protection contre la surchauffe des surfaces environnantes.
Respectez une distance de 2 cm par rapport aux parois laterales des meubles. Ces meubles ne doivent pas dépasser la hauteur de la table de la cuisineire.
Cette disposition assure la protection du mobilier.
Aération de la piece
La combustion du gaz est possible grâce à l'oxygène de l'air (2 m³ air/h x Kw de puissance installé - reportez-vous à la plaque signalétique de votre apparéil).
Il est donc nécessaire que cet air soit renouvelé et les produits de combustion soient evacués.
L'apport d'air doit s'effectuer directement depuis une ou plusieurs ouvertures pratiquées au niveau des murs extérieurs, ayant une section libre d'au moins 100cm^2 au total.
Pratiquez les ouvertures à proximate du sol et, de préférence, du côte opposé à l'évacuation des produits de combustion. Elles ne doivent enaucun cas être bouchées de l'intérieur et de l'extérieur
Raccordement gaz
Votre cuisine est livrée pour fonctionner au type de gaz indiqué sur la plaque signalétique.
Il peut s'avérer nécessaire de passer de l'utilisation d'un gaz à un autre. Dans ce cas, il faut effectuer les opérations décrites ci-après.
Pour un fonctionnement correct, une consommation réduite et une plus grande durée de vie de l'appareil, assurez-vous que la pression d'alimentation correspond aux valeurs indiquées dans le tableau des injecteurs n°1.
Si l'appareil est alimenté en gaz Butane ou Propane, vérifie que le régulateur de pression débite le gaz à une pression de 28-30 mbar pour le Butane et 37 mbar pour le Propane.

fig. 13
Choix du tuyau ou tube pour un apparéil isolé (classe 1)
1. Pour les gaz distribués par réseau :
Tube couple
Utilisez un tube souple en caoutchouc d'une longueur maxi de 1,50 m et de 15 mm de diamètre interieur monte avec son about gaz.
Veillez à l'enforcer suffisamment et à le fixer avec un collier.
Tuyau flexible
- Un tuyau flexible (à embouts mécaniques) longueur maxi 1,50 m.
- Nous recommendons l'emploi d'un tuyau flexible normalisé d'une longueur mini de 1 m dont la longueur est à désirer en fonction de la position du robinet de barrageage.
- Raccordez une extrémité du tuyau flexible au robinet de barrageage, puis, avant de positionner l'appareil entre les meubles, raccordez l'autre extrémité sur le prolongateur de rampe en intercalant un joint.
- Positionnez l'appareil en vérifier que la boucle formée par le tuyau flexible se développpe dans le vide sanitaire du meuble adjacent.
Tuyau rigide
- Un tuyau rigide avec écrou.
2. Pour les gaz butane propane en bouteille ou en cuve :
Tuyau flexible
- Nous vous recommendons l'emploi d'un tuyau flexible normalisé d'une longueur minimum de 1 m; cette longueur est à désirer en fonction de la position du raccordement à l'alimentation gaz.
Tube couple
- Pour les installations ancienne et en butane, vous pouvez utiliser un tubeSouple en caoutchouc d'une longueur maxi de 1,50 m et de 6 mm de diamètre interieur, monte avec l'about special butane.
Veillez à l'enforcer suffisamment et à le fixer avec un collier à chaque extrémité.
Pour l'achat des tuyaux
- Tube souple en caoutchouc: il doit être marqué NF GAZ.
Tuyau flexible: il doit être conforme à la norme NF D 36 121 ou NF D 36 103 ou NF D 36 107 pour les gaz naturels, et NF D 36112 ou NF D 36125 pour les gaz butane/propane.



Installation de la bonbonne
- La longueur du tuyau couple doit être de 1m.
- L'embout de raccordement du détendeur doit être orienté vers le côte croit de l'appareil.
- Le tuyau doit IMPERATIVEMENT être fixé sur le côte arrêté de la cuisine, à l'aide d'un collier (fig. 14).
Lorsque vous changez la bonbonne, ne retirez pas le tuyau du collier.
L'installation et le remplacement de la bonbonne doivent être réalisés par un professionnel qualifié.
Raccordement électrique
L'appareil ne doit pas etre raccordé a l'aide d'un prolongateur, d'une prise multiple ou d'un raccordement multiple (risque d'incendie).
Important
N'omettez pas de relier l'appareil à la terre au moyen d'un socle à 2P+T (10/16 A) en vous conformant aux prescriptions de la norme NF C 15.100 et aux règlements en vigueur. Notre responsabilité ne saurait être engagée en cas d'accident consécutif à une mise à la terre inexistante ou incorrecte.
La cuisine est équipée d'un cable d'alimentation couple avec fiche pour être connectée à une prise secteur et est apte au fonctionnement en 230 V - 50 Hz.
Capacité du fusible : 3 ampères maxi.
Remarque :
Contrôlez sur la plaque signalétique la valeur de la puissance totale de raccordement pour étabir la puissance du fusible.
Dans le cas d'une installation fixe, le raccordement au réseau doit être effectué par l'intermédiaire d'un interrupteur à coupure omnipolaire, ayant une distance d'ouverture des contacts d'au moins 3 mm.
Le conducteur de mise à la terre jaune-vert ne doit pas être coupé par l'interrupteur.
Le cable d'alimentation sera positionné de façon à ce qu'enaucun point sa température n'excède 50^ à la température ambiente.
Ne faites pas passer le cable d'alimentation derriere la cuisinière.

fig. 14
Avant de procéder au branchement, vérifiez que:
- les fusibles, ainsi que l'installation électrique domestique, sont en mesure de supporter la charge de l'appareil (voir la plaque signalétique),
- la prise ou le disjoncteur omnipolaire utilisé pour le branchement est facilement accessible lorsqu'ell'appareil est installé.
En cas de remplacement du cable d'alimentation, il ne doit etre remplace que par un technicien qualifie:utilisez un cable de type H05RR-F d'une section adaptee a la charge.
! Quelque soit le mode de raccordement, l'appareil doit être relié à la terre conformément aux règlements en vigueur.
Votrecuisiniere est prevue pour fonctionner en gaz naturel,propane ou butane. Elle n'est pas prevue pour fonctionner avec de I'air butané ou propané.
Chaque apparéil est muni d'un jeu d'injecteurs pour chaque type de gaz. Le diamètre de l'orifice de chaque injecteur est marqué en centières de millimètre sur l'injecteur.
Pour changer le type de gaz, il est nécessaire de:
- changer les injecteurs (table, four, grilloir),
- modifier les réglages de début réduit (table, four),
- modifier les réglages de l'air primaire (four, grilloir),
- modifier et vérifier le mode de raccordement gaz.

Collez l'étiquette autocollante fournie
avec l'appareil (pochette des injecteurs)
correspondant au type de gaz utilisé.
(Cat: II 2E + 3+)
TABLEAU DES INJECTEURS N°1
| Brûleurs | Puisancenormale(kW) | Puisance réduite(kW) | Type de gaz | Pression(mbar) | Diamètreinjecteur(mm) | Cons. |
| g/h | ||||||
| RAPIDE | 2,60 | 0,72 | GAZ NATUREL G 20/G25 | 20/25 | 1,12 | - |
| BUTANE G 30 | 28-30 | 0,86 | 189,1 | |||
| PROPANE G 31 | 37 | 0,86 | 185,7 | |||
| SEMIRAPIDE | 2,00 | 0,43 | GAZ NATUREL G 20/G25 | 20/25 | 0,96 | - |
| BUTANE G 30 | 28-30 | 0,71 | 145,4 | |||
| PROPANE G 31 | 37 | 0,71 | 142,8 | |||
| AUXILIAIRE | 1,00 | 0,35 | GAZ NATUREL G 20/G25 | 20/25 | 0,70 | - |
| BUTANE G 30 | 28-30 | 0,50 | 72,7 | |||
| PROPANE G 31 | 37 | 0,50 | 71,4 | |||
| FOUR | 3,20 | 1,00 | GAZ NATUREL G 20/G25 | 20/25 | 1,30 | - |
| BUTANE G 30 | 28-30 | 0,88 | 232,7 | |||
| PROPANE G 31 | 37 | 0,88 | 228,5 | |||
| GRILLOIR | 2,50 | - | GAZ NATUREL G 20/G25 | 20/25 | 1,15 | - |
| BUTANE G 30 | 28-30 | 0,80 | 181,8 | |||
| PROPANE G 31 | 37 | 0,80 | 178,5 |
Avant toute opération de conversion débranchez votre cuisinière, vérifie que toutes les manettes sont sur la position « arrêt » et que la cuisinière est complètement refroidie.
Remplacement des injecteurs de table
Chaque apparéil est muni d'un jeu d'injecteurs pour chaque type de gaz. Le diamètre de l'orifice de chaque injecteur est marqué en centièmes de millimètre sur l'injecteur.

Pour remplacer les injecteurs de table
- Otez les grilles;
- Enlevez les brûleurs ;
- Avec une clé douille de 7, dévissez les injecteurs (fig. 15) et remplacez-les par ceux convenant au type de gaz utilisé (voir tableau n°1).
Remettez en place brûleurs et grilles.
Réglage du début réduit des brûleurs de la table
En passant d'un type de gaz à un autre, veillez à ce que le début réduit soit correct.
Une flamme correcte au début réduit, doit être d'environ 4 mm; le passage brusque du maximum au ralenti ne doit jamais entraîner l'extinction de la flamme.

Pour régler la flamme
- Allumez le brûleur
- Tournez la manette jusqu'à la position minimum.
- Retirez la manette.
- Dévissez ou vissez la vis pointeau (qui se trouve à droite de l'axe du robinet fig. 17) jusqu'à l'obtention d'une flamme très courte mais stable pour le gaz naturel. Pour le gaz butane - propane, vissez totalement la vis dans le sens des aiguilles d'une montre sans forcer.
- Replacez la manette.
- Tournez la manette plusieurs fois de la position maxi vers la position mini pour vérifier la stabilité des flammes. Le brûleur ne doit jamais s'éteindre.
Remplacement de l'injecteur du brûleur de four

Pour remplacer l'injecteur du brûleur de
four.
- Ouvrez la portedu four et enlevez les accessoires.
- Consultez le tableau n^1 pour le diamètre de l'injecteur à utiliser.

fig. 15

pas d'air

réglage correcte

exces d'air

fig. 16
fig. 17
- Retirez la sole.
- Retirez le brûleur du four en poussant vers l'arrière.
- Remplacez l'injecteur en utilisant une clé de 10.
- Remontez le brûleur et la sole.
Remplacement de l'injecteur du brûleur de grilloir

Pour remplacer l'injecteur du brûleur du kiloir
- Retirez le brûleur en âtant la vis.
- Remplacez l'injecteur en utilisant une clé de 10.
- Replacez le tout.
Réglage de l'air primaire du brûleur du four
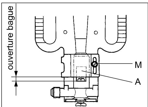
A l'aide d'un tournevis, desserrez la vis « M » de réglage de la bague d'air « A » (fig. 18), bougez la bague en arrêté ou en avant de manière à ouvrir ou fermer le passage de l'air suivant les indications figurant sur le tableau des injecteurs.
Allumez le brûleur pour vérifier l'aspect des flames.
Réglage de l'air primaire du brûleur du grilloir
A l'aide d'un tournevis, desserrez la vis de réglage du tube de réglage d'air (fig. 19) selon le gaz utilisé, déplacez le tube de manière à ouvrir ou fermer le passage d'air suivant les indications figurant sur le tableau des injecteurs.
Allumez le brûleur pour vérifier l'aspect des flames.
Réglage du début réduit du brûleur de four
Il s'effectue uniquement pour le brûleur de four (le grill a un débit fixe).

Pour régler le début réduit du jour de four
- Allumez le brûleur.
- Tournez la manette jusqu'à la position maximum.
- Retirez la manette.
- Dévissez la vis pointeau (fig. 20) d'environ 3 tours.
- Replacez la manette et laissez chauffer le four pendant 10 minutes.
- Placez la manette sur la position minimum permettant ainsi le fonctionnement en début réduit.
- Retirez la manette en veillant à ne pas faire tournier la tige du robinet et fermez doucement la vis jusqu'à l'obtention d'une flamme de 3-4 mm de long.

fig. 18

fig. 19

fig. 20
ARTHUR MARTIN ELECTROLUX
Pour tener nos engagements, nous écoutons les Consommateurs
Info Conso Electrolux est le lien privilégé entre la marque et ses Consommateurs. Il assure en permanence une double mission : satisfaire au mieux vos exigences et tirer parti de cette proximité pour améliorer sans cette les produits que nous vous proposons.
AVANT L'ACHAT
Toute une equipe répond avec clarté et précision à vos sollicitations concernant l'éventail de nos gâmes de produits et vous apporte desinfos pour vous aider dans votrechioin en fonction de vos propres besoin.
APRÈS L'ACHAT
Exprimez-vous sur la perception que vous avez de nos produits et votre satisfaction à l'utilisation. Mais interrogez aussi nos spécialistes sur l'utilisation et l'entretien de vos apparéils. C'est alors que notre mission prend tout son sens. Ecouter, comprendre, agir : trois temps essentiels pour tener l'engagement de la marque dans le plus grand respect du Consommateur.
A bientôt !
Dans le souci d'une amélioration constante de nos produits, nous nous réservons le droit d'apporter à leurs caractéristiques toutes modifications liées à l'évolution technique (décret du 24.03.78).
Info Conso
Electrolux
BP 50142-60307 SENLIS CEDEX
Tel.:0890710344 (0,15 TTC / mn)
Fax:0344622154
E-MAIL:info.conso@electrolux.fr
Permanence téléphonique du lundi au vendredi

Pour toute question technique :
Centre Contact Consommateurs
BP 20139 - 60307 SENLIS CEDEX
Tel.: 08 92 68 24 33 (0,34 € TTC/mn)
E-MAIL: ehp.consommateur@electrolux.fr
Permanence teléphonique du lundi au vendredi
Notice Facile