SP2 SILVER - Imprimante photo FUJIFILM - Notice d'utilisation et mode d'emploi gratuit
Retrouvez gratuitement la notice de l'appareil SP2 SILVER FUJIFILM au format PDF.
| Type de produit | Imprimante photo portable FUJIFILM SP2 SILVER |
| Technologie d'impression | Impression thermique par sublimation |
| Résolution d'impression | 800 x 800 dpi |
| Formats d'impression | Format 2x3 pouces (5x7,6 cm) |
| Connectivité | Wi-Fi, USB |
| Compatibilité | iOS, Android, Windows, macOS |
| Alimentation électrique | Batterie lithium-ion rechargeable |
| Dimensions approximatives | 8,1 x 12,7 x 2,5 cm |
| Poids | 0,3 kg |
| Fonctions principales | Impression instantanée, application mobile pour retouche photo |
| Entretien et nettoyage | Nettoyer avec un chiffon doux, éviter l'humidité |
| Pièces détachées et réparabilité | Disponibilité limitée des pièces, consulter le service après-vente |
| Sécurité | Utiliser uniquement avec l'adaptateur fourni, éviter les environnements humides |
| Informations générales | Idéale pour les événements, les voyages et les souvenirs instantanés |
FOIRE AUX QUESTIONS - SP2 SILVER FUJIFILM
Questions des utilisateurs sur SP2 SILVER FUJIFILM
0 question sur cet appareil. Repondez a celles que vous connaissez ou posez la votre.
Poser une nouvelle question sur cet appareil
Téléchargez la notice de votre Imprimante photo au format PDF gratuitement ! Retrouvez votre notice SP2 SILVER - FUJIFILM et reprennez votre appareil électronique en main. Sur cette page sont publiés tous les documents nécessaires à l'utilisation de votre appareil SP2 SILVER de la marque FUJIFILM.
MODE D'EMPLOI SP2 SILVER FUJIFILM
Guide d'utilisation/Guide de dépannage/Précautions de sécurité
FRANÇAIS
Table des matieres
Nom des pieces 60
Avant l'utilisation 61
Insertion/charge de la batterie.....61
Insertion de la batterie 61
Charge de la batterie 62
Indicateur de charge 62
Mise en place de la cassette film
INSTAX mini. 63
Mise en/hors service de
l'imprimante 64
Vérification de la durée de vie restante
de la batterie 64
Connexion et impression. 65
Quand la connexion est etablie pour la
premiere fois: 65
Quand la connexion est déjà établie:....67
Reimpression 68
Suppression d'une image 69
Retrait de la cassette film INSTAX
mini utilisee. 69
À propos des indications des
temoins. 70
SPECIFICATIONS 71
Détection des pannes 72
AVERTISSEMENTS ET
RECOMMANDATIONS. 76
À proposé de la manipulation de la
battery 83
Après avoir lu le mode d'emploi, conserveze-le dans un endroi sur, facile à tracer ou vous pouvez vous y reférer si nécessaire.
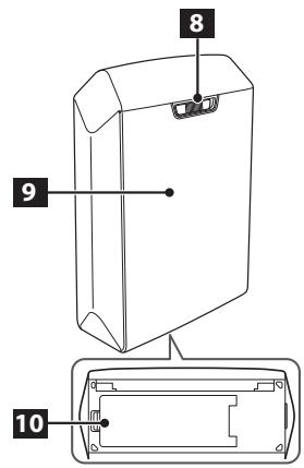
Nom des pièces


1 Sortie d'impression
2 Touche POWER
3 Touche REPRINT
4 Cache connecteur USB
5 Connecteur USB
6 Témoin de pile restante
7 Témoin de film restant
8 Verrou du couvercle arrête
9 Couvercle arrête
10 Couvercle des piles
Avant l'utilisation
Avant d'utiliser l'imprimante, installez d'abord l'application instax SHARE sur votre apparéil.
- Quand vous utilisez un apparéil Android OS, recherche « instax SHARE » dans le Google Play, puis installez l'application.
- Configuration requise d'un apparéil Android OS : Android Ver 4.0.3 ou ultérieur et Google Play installés.
- Quand vous utilisez un appareil iOS, recherche « instax SHARE » dans le App Store, puis installez l'application.
- Configuration requise pour un appareil iOS : iOS Ver 7.1 ou ultérieur installé.
Il se peut que vous ne puissiez pas imprimer à partir de certains péripériques même si vous avez installé l'application instax SHARE et que votre péripérique possède les specifications données ici.
Consultez le site web instax SHARE pour obtaining les informations les plus récentes sur la configuration requise.
Insertion/charge de la batterie
Insertion de la batterie

Poussez le verrou du couvercle du logement des piles pour l'ouvir.

Assurez-vous que la ligne jaune sur la batterie est alignée avec la marque sur l'imprimante.

Poussez le verrou du couvercle logement des piles jusqu'à ce qu'il se verrouille.
Insertion/charge de la batterie (SUITE)
Charge de la batterie

Connectez l'adaptateur d'alimentation secteur fourni avec votre smartphone en utilisant le cable USB fourni, puis connectez l'adaptateur à un prise murale. Le tímoin de batterie restante indique l'état de charge restante. Pour les détails, reportez-vous au tableau de la colonne de droite.

Utilisez un adaptateur secteur conforme à la sortie nominale ci-dessous: CC 5,0 V/1000 mA
- Vous pouvez imprimer une image pendant que la charge est en cours.
- La durée de charge est d'environ 90 minutes.
Indicateur de charge
| Indication | État de la batterie/Action |
| S'allume en rouge (ON) Clignote en rouge (OFF) | Charge en cours. |
| S'allume en vert (ON) Clignote en vert (OFF) | La charge est terminée à plus de la moitié. |
| Clignote en vert, puis s'éteint (OFF) | La charge est terminée. |
| Clignote en vert et en rouge alternatively | Une erreur s'est produit. Arrêtez la charge. |
Charge à partir d'un ordinateur :
- Connectez l'imprimante et l'ordinateur directement. Ne les connectez pas via un clavier ou un concentrateur USB.
- Si l'ordinaire entre en mode de veille pendant que la charge est en cours, la charge s'arrête. Pour continuer la charge, sortez du mode veille et reconnectectez le cable USB.
Il se peut que vous ne puissiez pas charger l'imprimante a partir d'une imprimante en fonction des specifications de l'ordinateur, des réglages ou de l'état.
Mise en place de la cassette film INSTAX mini
RECOMMANDATION
N'ouvre pas le couvercle arrêté avant d'avoir utilisé entièrement le film; sinon, le reste du film pourrait être exposé et endommagé.
Quand you chargez la cassette film, n'appuyez jamais sur les deux trous rectangulaires a l'arriere de la cassette film.
N'tilisez jamais une cassette film au-delà de sa durée de vie; sinon, elle pourrait endommager l'imprimante.
Utilisez uniquement un film couleur FUJIFILM INSTAX mini. Aucun autre type de film (par ex. « FUJIFILM instax Digital Mobile Printer Photo Pack ») ne peut etre utilise.
Remarques sur la cassette film
- La cassette film FUJIFILM INSTAX mini contient 1 couvercle de protection du film et 10 feuilles de film.
- Ne retirez pas la cassette film de son sac interieur avant de la charger dans l'imprimante.
- Le couvercle du film est ejecte automatiquement quand le couvercle arriere est ferme.
Pour en savoir plus, reportez-vous aux instructions et aux averissements du film FUJIFIL INSTAX mini.


Faibles pression sur le verrou du couvercle arriere et faites le glisser vers la droite pour ouvrir le couvercle arriere.


Tenez les deux cotoés de la cassette film, aligner les marques jaunes sur l'imprimante et la cassette film puis insérez-la bien droit.
Suite à la page suivante.
Mise en place de la cassette film
INSTAX mini (SUITE)

3
Refermez le couvercle arriere.
Assurez-vous que le verrou du
covercle arriere se verrouille.

4
Le couvercle du film (noir) est éjecté automatiquement quand le couvercle arrêté est fermé. Retirez le couvercle du film de la sortie d'impression.
Mise en/hors service de l'imprimante

Maintenez pressée la touche POWER pendant environ 1 seconde pourmettre de nouveau l'imprimante sous ou hors tension.
Quand vous mettez l'imprimante sous tension, le témoin de batterie restante s'allume puis s'éteint après un certain temps. Si aucune opération n'est réalisée pendant une certaine période de temps, l'imprimante se met automatiquement hors tension.
Vérification de la durée de vie restante de la batterie
Utilisez le témoin de batterie restante pour cette vérification quand l'imprimante est sous tension ou pendant une impression.
| Indication | Durée de vie restante de la batterie |
| Vert | Suffisant |
| Rouge | Faible. Il est recommendé de charger la batterie. (Voir page 62.) |
| L'imprimante se met hors tension après que le témoin clignote en rouge. | Les piles sont vides. Charge de la batterie. (Voir page 62.) |
Connexion et impression
Réglage réseau sans fil pour périphériques iOS
Quand vous utilisez un périphérique iOS, suivez la procédure ci-dessous pour réaliser le réglage réseau sans fil.
- Activez le réglage « Wi-Fi » dans le menu « Réglages » de votre péripérisque.
- Touchez le nom du réseau (nom de l'imprimante) dans « Choisissez un réseau »
Quand la connexion est établie pour la première fois :


Maintenez pressée la touche POWER pendant environ 1 seconde pourmettre de nouveau l'imprimante sous tension.
Le témoin de batterie restante s'allume puis seétant après un certain temps.

2
Démarrez le téléchargement de l'application « instax SHARE ».

3
Selectionnez l'image à imprimer ou prenez une image.
Suite à la page suivante.
Connexion et impression (SUITE)


Touchez « Connexion et impression »
Avant de toucher « Connexion et impression», touchez en haut à droite affiche le menu d'edition. Vous pouze ajouter un modele ou ajuster une image sur ce menu.
Touchez « Terminate » pour quitter le menu.


Quand une imprimante est
detected,touchez « Connecter » Si plusieurs imprimantes
sont detectees,selectionnez
l'imprimante a connecte dans
la liste.
L'identifant de l'imprimante
(SSID) est situé sur le dessous de
l'imprimante.


Entrez le mot de passer par default de l'usine (1111) ou celui que vous avez specify, puis touchez « OK » L'imprimante démarre l'impression.
Avant d'imprimer, stabilisez l'imprimante en la mettant sur une surface solide comme un bureau.
Pour réinitialiser le mot de passer au réglages par défaut de l'usine (1111), mettez l'imprimante sous tension tout en maintainant enforcée la touche REPRINT.

Quand le film a ete ejecte (l'imprimante s'arrete de faire du bruit), agripperez le bordu film, puis retirez le.
Un tatemoin de film restant s'eteint chaque fois que vous imprimez une image.
Connexion et impression (SUITE)
Quand la connexion est déjà établie :


Maintenez pressée la touche POWER pendant environ 1 seconde pourmettre de nouveau l'imprimante sous tension.
Le témoin de batterie restante s'allume puis s'éteint après un certain temps.


Démarrez le téléchargement de l'application « instax SHARE »




Selectionnez l'image à imprimer ou prenez une image.
Touchez « Imprimer ».
L'imprimante démarre l'impression.
Avant d'imprimer, stabilisez l'imprimante en la mettant sur une surface solide comme un bureau.
- Avant de toucher « Impression», touchez en haut à droite affiche le menu d'édition. Vous pouvez ajouter un modele ou ajuster une image sur ce menu. Touchez « Terminé » pour quitter le menu.
Suite à la page suivante.
Connexion et impression (SUITE)

5
Quand le film a ete ejecte
(l'imprimante s'arrête de faire du bruit), agrippéze le bord du film, puis retireze le.
Un temoin de film restant s'eteint chaque fois que vous imprimez une image.
Reimpression

1
Appuyez une fois sur la touche REPRINT.

2
Chaque fois que vous appuyez sur la touche REPRINT, l'image précédente est réimprimée.
- La dernière image imprimée est conservée en mémoire même si vous mettez l'imprimante hors tension. (Vous pouvez sélectionné où stocker l'image sur l'application Instax SHARE.)
- Le transfert d'une nouvelle image remplace l'imagemémorisé.
- Vous ne pouvez pas réimprimer les modèles en temps réel.
- Les tonalités de couleur peuvent être légèrement différentes pendant l'impression en continu.
Suppression d'une image


Maintenez enfoncée la touche REPRINT pendant plus de 5 secondes quand l'imprimante est sous tension.


Le témoin de film restant clignote pendant 1 seconde et l'image est effacée.
Retrait de la cassette film INSTAX mini utilisée

Quand il ne reste plus de film, tout le témoin de film restant clignote lentement. Retirez la cassette film.


Faites pression sur le verrou du couvercle arrriere et faites le glisser vers la droite pour ouvrir le couvercle arrriere.


Tenez les trouss
rectangulaires sur la
cassette film, puis tirez en
ligne droite.
À propos des indications des temoins
Indication du témoin de film restant

Le t'émoin de film restant indique le film qui reste, le fonctionnement de l'imprimante ou une erreur.
Un t'émoin de film restant s'éteint chaque fois que vous imprimez une image et clignote doucement pour indiquer qu'il n'y a plus de film restant.
Reportez-vous au tableau ci-dessous pour les autres motifs d'indication.
| Fonctionnement/État | Indication |
| Vous avez supprimé une image à réimprimer. | Clignote rapidementpendant 1 seconde. |
| Vous avez réinitialisez le mot de passer. | |
| Vous avez transmis une image sans film restant. | Clignote doucementpendant 3 seconde. |
| Pas d'image à réimprimer | |
| Pas de cassette film | Clignote doucement. |
| Une erreur de développement et de communication s'est produit. | Clignote rapidement. |
Indication du témoin de batterie restante

Le témoin de batterie restante indique l'état de l'imprimante pendant la charge de la batterie ou la vie de la batterie de l'imprimante.
Reportez-vous à la page 62 pour les indications pendant la charge de la batterie.
Reportez-vous à la page 64 pour la vie de la batterie de l'imprimante.
SPECIFICATIONS
instax SP-2
| Méthode d'enregistrement | Exposition 3 couleurs avec OLED |
| Film | Film instantané FUJIFILM INSTAX mini (vendu séparément) |
| Capacité photo | 10 tirages/pack |
| Taille des images | 62 mm × 46 mm |
| Taille d'image acceptée | 800×600 points |
| Résolution d'impression | 320 ppp |
| Niveau d'impression | 256 niveaux par couleur (RVB) |
| Interface | Standard compatible : IEEE802.11b/g/n |
| Fréquence de fonctionnement : 2,4 GHz (5 GHz n'est pas pris en charge.) | |
| Format d'image accepté | JPEG, PNG |
| Durée d'impression | Enregistrement d'image - sortie photo (éjection) : Environ 10 sec. |
| Capacité d'impression | Environ 100 impressions (sur la base de nos conditions de test) |
| approximative | * Varie en fonction des conditions d'utilisation. |
| Durée de charge | Environ 90 minutes (varie en fonction du niveau restant de batterie) |
| Alimentation électrique | NP-45S (1 piece) |
| Consommation | 2 W |
| Température de fonctionnement | +5 °C à +40 °C (+41°F à +104°F) (sans condensation) |
| Dimensions/Poids | 89,5 mm × 131,8 mm × 40 mm (Sauf les projections) |
| 250 g (sans batterie et cassette film) | |
| Accessoire fourni | Câble USB (BOB711) |
- Les specifications ci-dessus sont sujettes à changement pour amélioration des performances.
Détection des pannes
Pendant l'impression
| Problèmes | Origine du problème | Solutions |
| L'imprimante ne peut pas être mise sous tension. | ① La charge de la batterie est faible. (Le tímein de pile restante clignote en rouge.) ② La batterie n'est pas insérée correctement. ③ Vous n'avez pas appuyé assez longtemps sur la touche POWER. | ① Chargez la batterie complètement. ② Insérez la batterie correctement. ③ Maintenez pressée la touche POWER pendant environ 1 seconde. |
| You've chez entré le mot de passer mais l'appareil ne peut pas se connecter à l'imprimante. | ● Le mot de passer est incorrect. | ● Mettez l'imprimante sous tension tout en maintainant enforcée la touche REPRINT pour réinitialiser le mot de passer aux défauts de l'usine (1111). |
| You've chez appuyé sur la touche REPRINT, mais vous ne pouvez pas imprimer. | ① Aucune image n'est stockée dans l'imprimante. (Le tímein de filme restant clignote pendant 3 secondes.) ② Aucun film ne reste dans l'imprimante. (Tous les tímoins de film restant clignotent.) ③ La cassette film n'est pas en place. (Tous les tímoins de film restant clignotent.) | ① Transmettez une image à l'imprimante. ② Chargez une nouvelle cassette film. ③ Chargez une nouvelle cassette film. |
| La cassette film ne peut pas être chargée ou ne peut pas être chargée en douleur. | 1 La cassette film n'est pas en place dans l'imprimante. 2 La cassette film n'est pas chargée correctement. | 1 Utilisez uniquement un film instantané FUJIFILM INSTAX mini. (D'autres films ne peuvent pas être utilisés.) 2 Faites correspondre la ligne jaune de la cassette film avec le repère de positionnement jaune sur votre imprimante. |
| Le couvercle du film ne peut pas être éjecté. | ● L'imprimante ne peut pas reconnaître la cassette film. | ● Retireze la cassette film et rechargez-la de nouveau. |
| Le film ne peut pas être éjecté jusqu'à la fin. | ● L'imprimante a été secouée ou est tombée et le film est devenu mal aligné. | 1 Agripperez le bord du film et tirez vers l'extérieur. 2 Réaliser une autre opération d'impression pousse le film coince. |
| La cassette film ne peut pas être éjectée. | 1 L'imprimante a été secouée ou est tombée et le film est mal aligné. 2 Le film est coince. | 1 Chargez une nouvelle cassette film. 2 Mettez l'imprimante hors tension puis de nouveau sous tension. Si cela ne résout pas le problème, retirez le film coince et chargez une nouvelle cassette film. |
États des témoins
| Problèmes | Origine du problème | Solutions |
| Le tímein de这部电影 restant clignote rapidement, puis l'imprimante se met toute seule hors tension. | ● Une erreur d'imprimante s'est produit. | ● Mettez l'imprimante sous tension. |
| Le tímein de batterie restante clignote doucement, puis l'imprimante se met toute seule hors tension. | ● La charge de la batterie est faible. | ● Chargez la batterie complètement. Quand la vie restante de la batterie est faible, vous ne pouvezmettre l'imprimante sous tension même si l'imprimante est connectée à un prise secteur en utilisant le cable USB. Mettez l'imprimante sous tension après un certain temps après le début de la charge. |
| Le tímein de film restant clignote pendant la communication et l'impression ne démarre pas. | ● La communication a été interrompue pour certaines raisons. | ● Mettez l'imprimante sous tension, puis redémarrez l'application sur votre apparéil. |
| Le tímein de batterie restante clignote alternatively en vert et en rouge doucement. | 1 La batterie est chargée à une température en dehors de la température de fonctionnement.2 La vie de la batterie a expirée ou il y a eu un problème avec le cable USB ou l'adaptateur d'alimentation secteur. | 1 Chargez la batterie entre +5 °C et +40 °C (+41°F et +104°F).2 Remplacez la batterie, le cable USB ou l'adaptateur d'alimentation secteur par un nouveau. |
| Le tímein de batterie restante clignote alternatively en vert et en rouge rapidement. | ● La vie de la batterie a expirée ou il y a eu un problème avec le cable USB ou l'adaptateur d'alimentation secteur. | ● Remplacez la batterie, le cable USB ou l'adaptateur d'alimentation secteur par un nouveau. |
Problèmes de tirage
| Problèmes | Origine du problème | Solutions |
| Une partie ou toute la photo imprimée est blanche. | ● Le couvercle arrêté a été ouvert avant que le film ne soit entièrement utilisé. | ● N'ouvrez pas le couvercle arrêté avant d'avoir utilisé entièrement le film ; sinon, le reste du film pourrait être exposé et endommagé. |
| L'image est floue. | ① Une pression a été appliquée sur l'image juste après qu'elle est sortie de l'imprimante. ② L'image ne sort pas en douleur. | ① Ne secouez pas, ne tordez pas ni n'appliqué de pression sur l'impression. ② Ne recouvre pas la sortie du film. |
| Une ligne noire est imprimée en bas de la dernière page d'impression. | ● L'imprimante a été secouée ou est tombée et le film est devenu mal aligné. | ● Retransmettez l'image. Siça ne résout pas le problème, chargez une nouvelle cassette film. |
AVERTISSEMENTS ET RECOMMANDATIONS
Ce produit a ete concu avec la scurite a l'esprit, afin de fournir un service sur lorsqu'il est manipulé correctement et conformément au mode d'emploi et aux instructions. Il est important que le produit et le film INSTAX soient manipulés correctement et utilisés seulement pour imprimer des images comme indiqued dans le mode d'emploi et dans les instructions des films INSTAX mini. Pour des raisons de facilité et de sccurite, veuillez suivre ce qui est ecrit dans ce Mode d'emploi. C'est aussi une belle idee de conserver ce Mode d'emploi dans un endroit sur, facile a trouver ou vous pouvez vous y refere si nécessaire.
AVERTISSEMENT
Ce signe indique une situation pouvant entrainer la mort ou de seriesuses blessures si ces instructions sont ignorees ou si le produit est utilise de façon incorrecte.
AVERTISSEMENT
Si l'imprimante (ou les batteries) devient chaude, émet de la fumée, s'il y a une oedur de brûlé, ou si qu'elle chose d'autre semble anormal, retirez immédiatement les batteries. Un problème de ce genre pourrait entrainer un incendie et causer des brûlures. (Faîtes particulièrement attention d'éviter les brûlures quand vous retirez les batteries ou débranchez le cable USB.)
Si I'imprimante sombe dans I'eau ou si de I'eau, un metal ou un corps étranger qu'enconque pénétre dans l'imprimante, enlevue immidiatement les piles et débranche I'adaptateur secteur de I'imprimante et de la prise murale. Ce genre de problème risque de provoquer une surchauffe de I'imprimante, voir sa combustion.
N'utilise pas l'imprimante dans des endroits importante des gaz inflammables ou a proximite de substances instable telles que de I'essence, du benzene, du dissolvant pour peinture ou autres pouvant emetre des vapeurs dangereuses. Ce genre de probleme risque de provoquer une explosion de I'imprime ou sa combustion pouvant entrainer des brûlures.
Ne demontez jamais les piles. Ne les soumettez pas à la chaleur, ne les jetez pas dans un feu, n'essayez pas de les recharger, de les court-circuiter, de les faire tomber ni de leurs faire subir des chocs. Cela pourrait entrainer l'explosion des piles.
Utilisez uniquement le type de piles spécifique dans le Mode d'emploi de votre imprimante. Ce genre de probleme risque de provoquer surchauffe de l'imprimante, vous sa combustion.
Veiliez ranger les pires dans un endroit sur et hors de la portee des nouveaux-nés, des jeunes enfants ou des animaux de compnie. Les jeunes enfants ou les animaux courent le risque d'avaler accidentellement les piles. Le cas echéant, consulter immediatement un medecin.
AVERAGEMENT
Utilisez uniquement la batterie specifie pour fonctionner avec l'imprimante. De plus, n'utilise pas l'imprimante avec une tension d'alimentation autre que cette indiquee. L'utilisation d'autres batteries pourrait entrainer une surchauffe de l'imprimante ou un incendie.
Anedemontez jamais le produit. Vourisqueriez de vous blesser.
En cas de probleme avec I'imprimante, n'essayez jamais de le réparer vous-même. Vous pourriez vous blesser.
Si ce produit tombe ou est endommagé et que les pieces internes deviennent apparentes, ne le touche pas. Contactez-vous revendre FUJIFILM.
Ne touche aucune piece ni partie saillante du couvercle arriere. Vous pourriez vous blesser.
Anouillez jamais le produit et ne le touche pas avec les mains mouillees. Ceci risque de provoquer une electrocution.
Ne mélangez pas des batteries neuves avec des vielles batteries, ou des batteries de types différents. Assurez-vous aussi que les polarités et de la batterie sont correctes. Une batterie endommagée ou une fuite d'électrolyte peut entrainer un incendre, une blessure ou contaminer l'environnement.
Si l'imprimante ne doit pas etre utilisependant une longue perteode (parce que vous voyagez, etc.),retirees les batteries,deconnectez l'adaptateur d'alimentation secteur et deconnectez le cable USB. Ne pas le faire pouvoir entrainer un incendie.
Ne déplacez pas l'imprimante pendant que le cable USB est connecté. Cela pourrait endommager le cable USB et entrainer un incendie ou un choc électrique.
△Conserve hors la portee des enfants en bas age. Ce produit peut provoquer des blessures s'il est laisse dans les mains d'un infant.
Ne couvrez pas l'imprimante ou l'adaptateur secteur avec un chiff on ou une couverture et ne les enroulez pas dedans. La température peut monter et la chaleur déformer le boitier ou provoquer un incendie.
Lors de l'utilisation de I'imprimante, assurez-vous que le couvercle de la batterie est fixe; sinon, vous pourriez vous blesser.
C
La marque « CE » certifie que ce produit satisfait les conditions de l'UE (Union Européenne) quant à la sécurité d'utilisation, la santé publique, la protection de l'environnement et du consommateur. (« CE » signifie conformité européen.)
Par la presente, FUJIFILM, déclare que cette imprimante est conforme aux exigences essentielles et aux autres dispositions pertinentes de la directive 1999/5/CE.
AVIS DE LA FCC/INDUSTRIE CANADA
Le present apparéil est conforme à la partie 15 des règles de la FCC et aux normes des CNR d'Industrie Canada applicables aux apparéils radio exempls de licence. L'exploitation est autorisée aux deux conditions suivantes: (1) l' apparéil ne doit pas produit de brouillage, et (2) l' apparéil doit accepter tout brouillage subi, même si le brouillage est susceptible d'en compromètre le fonctionnement.
Remarque : Déclaration de la FCC/INDUSTRIE CANADA sur l'exposition aux radiations :
Cet équipement est conforme aux limites d'exposition aux rayonnements énoncées pour un environnement non contrôle et respecte les règles les radioélectriques (RF) de la FCC lignes directrices d'exposition et d'exposition aux féquences radioélectriques (RF) CNR-102 de l'I.C. Côt caspement doit être installé et utilisé en gardant une distance de 20 cm ou plus entre le dispositif rayonnant et le corps en utilisation normale.
ATTENTION: Cet appeareil numérique de la classe B est conforme à la norme NMB-003 du Canada.

Traitement des appareils électriques et électroniques chez les particuliers
Traitement des appareils électriques et électroniques
(Applicable dans l'Union europeenne et autres pays européens pratiquant le tri sélectif)
Cette icône sur le produit ou sur l'emballage, dans le manuel ou sur la garantie, indique que l'appareil ne sera pas traité comme déchet menager.
Il devra ètre achemine vers une déchetterie qui recycle les appareils électriques et électroniques.
En s'assurant d'un bon retraitement de ce produit, vous contribuerez à éviter des conséquences préjudiciables pour l'environnement et la santé.
Si voit matier contient des piles ou accumulateurs facies a retirer, merci de les enlever de l'appareil et de les traiter separement.
Le recyclage de l'appareil contribuera a préserver les ressources naturelles. Pour plus d'information sur le recyclage de ce produit, contactez notre mairie, une déchetterie proche de votre domicile ou le magasin où vous l'veaz acheté.
Pour les pays hors Union Européenne : Si vous souhaitez jeter ce produit, merci de contacter les autorités locales pour vous informer sur les moyens de retraitement existants.
SOINS DE L'IMPRIMANTE ET PRECAUTIONS
Soin de l'imprimante
① L'imprimante est un instrument de précision. Veillez à ne pas la mouiller, à ne pas la laisser tomber. Ne la laisserz pas dans un endroit exposé à du sable.
② Si vous prévoyez de ne pas utiliser l'imprimante pendant une longue période, retirez la batterie et rangez-la dans un endroit à l'abri de la chaleur, de la poussière et de l'humidité.
③ N'utilisez pas de solvants comme des diluants et de l'alcool pour nettoyer la saleté.
④ Gardez la chambre du film et l'intérieur de I'imprimante propres pour éviter d'endommager les films.
S'il fait chaud, ne laissez pas l'imprimante dans une voiture fermée ou sur la plage, et ne la laissez pas dans un endroit humide pendant longtemps.
⑥ Des gaz contre les mites, comme la naphtaline, peuvent affecter l'imprimante et les photos. Evitez de ranger l'imprimante ou les photos dans une commode.
⑦ Comme votre imprimante est commandee par un logiciel, un mauvais fonctionnement peut se produire dans de rares occasions. Dans le cas d'un fonctionnement incorrect, reinitialisez l'imprimante en retardant les batteries puis en les remettant en place après un instant.
⑧ Notez que la plage de température de fonctionnement de l'imprimante est comprise entre +5^ et +40^ (+41^ et +104^)
⑨ N'utilise pas l'imprimante dans un avion, dans des hôpitaux ou dans des endroits où l'utilisation des téléphones mobiles est interdite.
⑩ Si l'imprimante provoque des problèmes avec la reception radio ou télévisée, eloignez-la de la radio ou du téléviseur.
① Lors de l'impression d'images, assurez-vous de dire le mode d'emploi de I'appareil emeteur et assurez-vous que les conditions de fonctionnement sont respectees.
12 Faites particulièrement attention à vous assurer que les matériaux imprimés ne sont pas en infraction avec les droits d'auteur, les droits sur les images, la protection de la vie privée ou les autres droits personnels et sils ne constituent pas une offense à la détention. Les actions qui violent les droits des autres sont contraires à la détention publique et constituent une offense qui peut être punissable par la loi ou peut être l'objet d'une action judiciaire.
Précautions pendant l'impression



Reportez-vous au film FUJIFILM INSTAX mini pour les instructions d'utilisation du film. Suivez toutes les instructions de sécurité et d'utilisation.
① Gardez le film dans un endroit frais et sec. Ne laissiez pas le film dans un endroit où la température est extrémement chaude (par exemple dans une voiture fermée).
② Lorsque l'on charge une cassette film, utiliser le film aussitôt que possible.
③ Si le film a ete conservé dans un endroit ou la temperature est tres haute ou tres basse, amenez-le a temperature de la piece avant de commencer a prendre des photos.
④ Assurez-vous d'utiliser le film avant l'expiration de la date « Utiliser avant »
Eviter de soumettre va seise a une inspection de bagages à l'acroport, ainsi que toute autre illumination intense par rayon X. Un effet de voile, etc. risque d'apparaitre sur le film inutilise. Nous vous recommendons de transporter l'appareil et/ou le film dans l'avion comme bagage accompagné. (Vérifiez au rpres de chaque aéroport pour avoir plus d'informations.)
⑥ En évitant la lumière forte, garder les impressions développées dans un endroit frais et sec.
⑦ Ne percez pas, ne déchirez pas ni ne coupe le film INSTAX mini. Si le film est endommagé, ne l'utilise pas.
Précautions sur la manipulation du film et des impressions
Pour en savoir plus, reportez-vous aux instructions et aux averissement du film FUJIFILM INSTAX Mini.










FR
Appareils de réseau sans fil: Précautions
IMPORTANT : Lisez les notifications suivantes avant d'utiliser le transmetteur intégré sans fil de l'imprimante.
Utilisez-le uniquement comme élément d'un réseau sans fil.
FUJIFLM ne peut pas etre tenu responsable de dommages provenant d'une utilisation non autorisee. Ne l'utilise pas dans des applications exigeant une extreme fiabilité, par exemple dans des apparilis medicaux ou dans tout autre systeme qui peuventetre en péril directement ou indirectly la vie d'autrui. Lorsque vous utilisez le dispositif dans des ordinateurs ou d'autres systèmes qui demandent un plus haut degrde de fiabilité que des reseaux sans fil, veillez a prendre toutes les mesures nécessaires pour assurer la sécurité et empêcher tout dysfonctionnement.
Utilisez-le uniquement dans son pays d'achat.
Ce dispositif est conforme à la reglementation des appeareils de reseaux sans fil en vigueur dans le pays d'achat. Respectez toutes les reglementations locales en vigueur lorsque vous utilisez ce dispositif. FUJIFILM ne peut pas etre tenu responsable des problemes provoques par une utilisation sous d'autres juridictions.
■ Les données (images) d'un réseau sans fil peuvent être interceptées par des tiers.
La sécurité des données transmises sur des reseaux sans fil n'est pas garantie.
N'utilise pas ce dispositif dans des endroits exposés à des champs magnétiques, de l'électricité statique ou des interférences radio.
N'utilizez pas le transmetteur a proximite de jours a microonde ou dans tout autre lieu exposé à des champes magnétiques, de l'électricité statique ou des interférences radio qui peuvent empêcher la réception des signaux sans fil. Une interférence mutuelle peut se produit lorsque le transmetteur est utilisé à proximite des autres apparèils sans fil fonctionnant dans la bande de 2,4 GHz.
■ Le transmetteur sans fil fonctionne dans la bande 2,4 GHz en utilisant la modulation DSSS et OFDM.
Cet apparéil fonctionné sur la même fréquence que les apparéils commerciaux, éducatifs et Médicaux et les transmetteurs sans fil.
Il fonctionne également sur la même fréquence que les transmetteurs brevetés et les transmetteurs basse-tension non brevetés spéciaux fonctionnant dans les systèmes de traçabilité RFID (systèmes d'identification par radiofréquence) des lignes d'assemblage ou d'application similaire.
Pour empêcher l'interférence avec les apparèils ci-dessus, respectez les consignes suivantes.
Vérifie que le transmetteur RFID ne fonctionne pas avant d'utiliser cet apparéil. Si vous remarque que ce dispositif provoque des interférences avec les transmetteurs brevétés utilisé par le système de traçabilité RFID, réglez-le immeditatement sur une nouvelle fréquence de transmission afin d'évitier d'autres interférences. Si vous remarque que ce dispositif provoque des interférences avec des systèmes de traçabilité RFIDasse tension,contactez un représentant FUJIFILM.
Les marques de certification obtenues par l'imprimante sont situées dans la chambre du film.
À proposé de la manipulation de la batterie
Assurez-vous d'utiliser l'imprimante correctement. Lisez ces remarques de sécurité et votre mode d'emploi attentivement avant l'utilisation.
- Àprouvávoir lu ces remarques relatives à la sécurité, rangez-les dans un endroit sur.
| ÀVERTISSEMENT | ÀATTENTION |
| Ce signe indique une situation pouvant entraîner la mort ou de sériesuses blessures si ces instructions sont ignorées ou si le produit est utilisé de façon incorrecte. | Ce signe indique une situation pouvant entraîner des blessures ou des dégats matériels si ces instructions sont ignorées ou si le produit est utilisé de façon incorrecte. |
| A! AVERTISSEMENT | |
| Interedit | N'utilise pas de batteries autres que celles préconsises. Chargez la batterie comme indiqué par l'indicateur. |
| Interedit | Ne chauffez pas, ne changez pas ni ne démontez la batterie. Ne faites pas tomber la batterie ni ne la soumettez à des chocs. Ne court-circuitez pas la batterie. Ne rangez pas la batterie avec des produits métalliques. Ne chargez pas la batterie en utilisant un autre chargeur que le chargeur spécifique. N'importe laquelle de ces actions peut faire explodeer la batterie ou la faire fuiR et provoquer un incendie ou des blessures. |
| Interedit | N'utilise pas de tensions autres que la tension d'alimentation électrique indiquée. L'utilisation d'autres sources d'alimentation peut provoquer un incendie. |
| Interedit | Si la batterie fuit et que le liquide entre en contact avec vos yeux, votre peau ou vos vêtements, rincez abondament la partie touchée à l'eau claire et consultez un médecin ou appelez les urgences immédiatement. |
| Requis | Risque d'explosion de la batterie si celle-ci est remplacée par un modèle non compatible. Mettez les batteries au rebut en respectant les instructions données. |
| Requis | Mettez les batteries au rebut en respectant les instructions données. Avant de jeter la batterie, recouvrez les bornes avec du ruban isolant. L'entrée en contact avec d'autres objets métalliques ou d'autres batteries pourrait provoquer la mise à feu ou l'explosion de la batterie. |
| ATTENTION | |
| Requis | Quand vous nettoyez l'imprimante, ou si vous ne prévoyez pas de l'utiliser pendant une période prolongée, retirez la batterie. Sinon, vous pourriez provoquer un incendie ou une décharge électrique. |
| Requis | Si un problème se produit, mettez l'imprimante hors tension et retirez la batterie. Continuer d'utiliser l'imprimante alors qu'elle émet de la fumée, a une odeur inhabituelle ou se trouve dans un autre état anormal peut entrainer un incendie ou un choc électrique. Contactez votre revendeur FUJIFILM. |
Batterie
Les paragraphs suivants dérivent comment utiliser correctement les batteries et prolonger leur autonomie. Une'utilisation incorrecte peut réduire l'autonomie de la batterie ou provoquer sa fuite, sa surchauffe, un incendie ou une Explosion.
La batterie n'est pas chargée lors de l'expédition. Chargez-la avant toute utilisation.
Remarques relatives à la batterie
La batterie perd progressivement sa charge lorsqu'elle n'est pas utilisée. Chargez la batterie un ou deux jours avant utilise. La vie de la batterie peut etre prolongee en mettant I'imprimante hors tension quand elle n'est pas utilisée.
La capacité de la batterie diminue a bajo température, une batterie déchargée peut ne pas fonctionner si elle est froide.
Gardez une batterie de rechange entierement chargée dans un endroit chaud et changez-la dés que nécessaire, ou gardez la batterie dans un endroit chaud et insérez-la dans l'imprimante uniquement quand vous l'utilise. Ne placez pas la batterie en contact direct avec un réchauffe-mains ou d'autres apparèils de chauffage.
Recharge de la batterie
Chargez la batterie en utilisant le cable USB fourni. Le temps de charge augmente a des températures ambantes inférieures à +10°C (+50°F) ou supérieures à +35°C (+95°F). N'essayez pas de recharger la batterie à des températures supérieures à +40°C (+104°F); à des températures inférieures à +5°C (+41°F), la batterie ne se recharge pas.
N'essayez pas de recharger une batterie entierement chargée. Il n'est cependant pas nécessaire que la batterie soit entierement déchargée avant de la recharger.
Il se peut que la batterie soit chaude au toucher immédiatement après avoir été rechargée ou utilisée. Ceci est normal.
Longévité de la batterie
Voupez recharger la batterie environ 300 fois à des températures normales. Une nette diminution de la durée pendant laquelle la batterie conserve sa charge indique qu'elle a atteint sa limite de longevite et qu'elle doit être remplacée.
Stockage
Les performances de la batterie peuvent se dégrader si vous n'utilise pas celle-ci pendant une période prolongée, alors qu'elle est entièrement chargée. Déchargez-la avant de la ranger.
Si I'imprimante ne doit pas ettre utilisee pendant une periode prolongee, retirez la batterie et rangez-la dans un endroit sec a une temperature ambiente comprise entre +15^ et +25^ (+59^ et +77^) . Ne la rangez pas dans un endroit exposé a une temperture extreme.
Precautions: Manipulation de la batterie
- Ne collez pas d'autocollants ou d'autres objets sur la batterie.
- Ne déchirez pas ni ne décollez l'étiquette extérieure.
- Gardez les bornes toujours propres.
Le boitier de la batterie et de l'imprimante peut devenir chaud au toucher après une utilisation prolongée. C'est normal.
■ Elimination
Jetez les batteries usagées en respectant les réglementations locales en vigueur.
Informations de traçabilité en Europe
Fabricant: FUJIFILM Corporation
Adresse, Ville: 7-3, Akasaka 9-Chome,
Minato-ku, Tokyo
Pays: JAPAN
Representant autorisé en Europe :
FUJIFILM EUROPE GMBH
Adresse, Ville : Dusseldorf Heesenstrasse 31,
40549
Pays: Allemagne
Informations sur FUJIFILM au Canada
FUJIFILM Canada Inc.
600 Suffolk Court, Mississauga, Ontario L5R 4G4
[fr] Si vous avez des questions sur ce produits, veuillez vous adresser à un distributeru Fujfilm autorisé, ou consultez le site web ci-dessous.
Notice Facile