EV92 GFA - Cuisinière FRATELLI ONOFRI - Notice d'utilisation et mode d'emploi gratuit
Retrouvez gratuitement la notice de l'appareil EV92 GFA FRATELLI ONOFRI au format PDF.
| Type de produit | Four à gaz |
| Caractéristiques techniques principales | Four à convection avec plusieurs niveaux de cuisson |
| Alimentation électrique | Non applicable (fonctionne au gaz) |
| Dimensions approximatives | Largeur : 60 cm, Hauteur : 85 cm, Profondeur : 60 cm |
| Poids | Environ 50 kg |
| Compatibilités | Compatible avec des ustensiles de cuisson standards |
| Type de batterie | Non applicable |
| Tension | Non applicable (fonctionne au gaz) |
| Puissance | Environ 3,5 kW |
| Fonctions principales | Cuisson, rôtissage, grillade |
| Entretien et nettoyage | Nettoyage régulier des grilles et de l'intérieur avec des produits adaptés |
| Pièces détachées et réparabilité | Disponibilité de pièces de rechange auprès des revendeurs agréés |
| Sécurité | Équipé d'un système de sécurité pour éviter les fuites de gaz |
| Informations générales | Idéal pour les cuisines professionnelles et les passionnés de cuisine |
FOIRE AUX QUESTIONS - EV92 GFA FRATELLI ONOFRI
Questions des utilisateurs sur EV92 GFA FRATELLI ONOFRI
0 question sur cet appareil. Repondez a celles que vous connaissez ou posez la votre.
Poser une nouvelle question sur cet appareil
Téléchargez la notice de votre Cuisinière au format PDF gratuitement ! Retrouvez votre notice EV92 GFA - FRATELLI ONOFRI et reprennez votre appareil électronique en main. Sur cette page sont publiés tous les documents nécessaires à l'utilisation de votre appareil EV92 GFA de la marque FRATELLI ONOFRI.
MODE D'EMPLOI EV92 GFA FRATELLI ONOFRI
Ne pas jeter l'emballage de Notre apparéil aux ordures, mais sélectionné les différents matériaux (par ex. tôle, carton, polystyrene) selon les prescriptions locales pour l'élimination des déchets.
Ce produit répond aux éxigences des Directives Communautaires:
- 73/23/CEE relative à la "basse tension".
- 89/336/CEE relative aux "perturbations électromagnétiques".
- 90/396/CEE relative aux "appareils à gaz"
- 89/109/CEE relative aux "matériaux en contact avec les aliments".
- En plus les Directives sur mentionnées sont conformes à la Directive 93/68/CEE.
- Cét'articleildevraétreexclusivementdestinéàl'usage pour lequelil aétéexpressementprojeté,en tant"qu'appareilde cuisson"domestique.
CHER CLIENT,
- Nous Vous invitons à ire attentivement ces instructions avant d'utiliser l'appareil et de les conserver soigneusement afin des consulter en cas de besoin.
- Le matériel d'emballage (sacs en plastique, morceaux de polystyrene, etc...) doit être tenu hors de portée des enfants car il constitue une source potentielle de danger.
GARANTIE
Votre nouvel apparéil est couvert par une garantie.
Le certificat relatif se trouve ci-joint.
S'il manque, demandez-le a Toutre revendeur, en spécifiant la date d'achat, le modele et le numero matricule imprimés sur la plaquette d'identification placée dans le tiroir inférieur de l'appareil.
Conservez la partie qui Vous est destinée. Celle-ci doit être montré, en cas de nécessité, au personnel du Service Assistance Technique avec la relative facture d'achat.
Si You ne suivez pas cette Procedure, le personnel technique sera obligé de You débiter toutes les évientuelles réparations.
SERVICE ASSISTANCE TECHNIQUE
Cet apparéil, avant de sortir de l'usine, a été essayé et régèle par du personnel expert et spécialise, afin de pouvoir donner les mêlures résultats de fonctionnement.
Toute réparation ou mise au point, qui pourrait ensuite se rendre nécessaire, doit être effectue avec le plus grand soin et beaucoup d'attention.
Pour cette raison, nous conseillons de Vous adresser toujours au revendeur ou à notre Centre Assistance plus proche, en spécifiant le type d'incoventien et le modele de Voitre apparueil.
Cet apparéil porte le symbole du recyclage conformément à la Directive Européenne 2002/96/CE concernant les Déchets d'Équipements Électriques et Électroniques (DEEE ou WEEE). En procédant correctement à la mise au rebut de cet apparéil, vous contribuèrez à empêcher toute conséquence nuisible pour l'environnement et la santé de l'homme.
- N'oubliez pas, avant d'utiliser l'appareil, d'enlever le film de plastique qui protège certaines pieces (tableau de bord, cadres en inox, etc).
- Ne pas utiliser l'appareil pour chauffer la piece.
Lorsque l'appareil n'est pas utilisé, débrancher le courant et fermer le robinet général du gaz.
EN CAS D'INCENDIE
- En cas d'incendie, fermer le robinet général d'alimentation et couper le courant; ne jamais jeter de l'eau sur l'huile en flambre ou en train de frive.
- Ne pas garder de produits infammables ou de bouteilles d'áerosol près de l'appareil et ne pas vaporiser d'áerosol près d'un brûleur allumé.
POUR VOTRE SURETE ET CELLE DE VOS ENFANTS.
- Eviter de garder dessus ou pres de l'appareil des produits attractifs pour les enfants.
- Garder les enfants loin de l'appareil: ne pasoublier que certaines parties de l'appareil ou des casseroles utilisées deviennent très chaudes et dangereuses tant pendant le fonctionnement que pendant le temps nécessaire au refroidissement après l'extinction.
- Faire attention aux poignées des casseroles, disposez les de façon que les jeunes enfants ne fassent pas tomber les casseroles.
- Ne mettez pas de vêtements ou d'accessoires amples lorsque les brûleurs sont allumés; l'incendie du textile peut être cause de graves blessures.
ATTENTION - FOUR:
Lorsque le four ou le grilloir sont en fonction, les parties accessible peuvent nevenir très chaudes, il faut éloigner les jeunes enfants de l'appareil.
- Eviter de cuire les alimentents sur la base du four.
- En cas d'utilisation négligente en proximite des charmières de la porte du four, il existe le danger de se blesser les mains.
- Interdir aux enfants de s'assevoir ou de jouer avec la porte du four. Ne pas utiliser la porte comme un taboure.
TIROIR INFERIEUR
N'introduisez pas de matérieliaux inflammables ou en plastique dans le chauffe-plats (positionné au dessous du four).
UTILISATION DE LA TABLE DE TRAVAIL
UTILISATION DES BRULEURS A GAZ
Les symboles suivants se trouvent sur le bandeau de commande, pres de chaque bouton:
- Disque plein
robinet fermé - Grande flamme
ouverture maximale - Petiteflamme
ouverture minimale
La position minimum se touve à la fin de la rotation en sens inverse des aiguilles d'un montre de la manette.
Toutes les positions de fonctionnement doivent être choisis entre les positions de max. et de min., jamais entre max. et la fermeture.
ALLUMAGE MANUEL
Pour allumer l'un des brûleurs, approcher une allumette au brûleur, presser le bouton correspondant au brûleur préalablement choisi et le tourner dans le sens inverse des aiguilles d'une montre jusqu'à la position de maximum.
ALLUMAGE ELECTRIQUE (selon les modèles)
Pour allumer l'un des brûleurs, presser le bouton correspondant au brûleur préalablement besoini et le tourner dans le sens inverse des aiguilles d'une montre jusqu'à la position de maximum; simultanément, actionner le bouton-poussoir de l'allumage électrique place sur le tableau de bord et portant le symbole(2). Dans le cas où il n'y aurait plus de courant électrique, le brûleur pourra être allumé à l'aide d'une allumette.
ALLUMAGE ELECTRIQUE AUTOMATIQUE (selon les modèles)
Pour allumer l'un des brûleurs, presser le bouton correspondant au brûleur préalablement choisi et le tourner dans le sens inverse des aiguilles d'une montre jusqu'à la position de maximum. En maintainant pressée la manette on mettra en fonction l'allumage électrique du brûleur.
Dans le cas où il n'y aurait plus de courant électric, le brûleur pourra être allumé à l'aide d'une allumette.
APPAREILS AVEC THERMOCOUPLE DE SECURITE
(selon les modèles)
Pour l'allumage des brûleurs, il est nécessaire d'effectuer les mêmes opérations décrites ci-dessus. Dans ce cas, une fois que les manéttes se trouvent en position d'ouverture, il est indispensable de continuer à appuyer sur la manette concernée pendant environ 10 secondes après l'allumage. Si la flamme devait s'éteindre une fois que Vous relâchez la manette, le dispositif de sécurité bloquera le passage du gaz vers le brûleur concerné.
ECONOMIE D'ENERGIE
- Le diamètre du fond de la casserole doit correspondre au diamètre du brûleur. La flâme du brûleur ne doit jamais sorting du diamètre de la casserole.
Utiliser toujours des cassetoles à fond plat.
-Cuire de préférence avec un couvercle. Cela permet d'utiliser des puissances plus basses. - Cuire les légumes, pommes de terre, etc. avec peu d'eau pour economiser l'énergie et réduire les temps de cuisson.

Fig.1
| Bruleurs | Ø min | Ø max |
| -Rapide | 180mm | 220mm |
| -Semirapide | 120mm | 200mm |
| -Auxiliaire | 80mm | 160mm |
| -triple couron | 220mm | 260mm |
UTILISATION DU FOUR ELECTRIQUE
Quand le four est utilisé pour la première fois, il peut se produit de la fumée de odeur acré, causée par le premier chauaffe du collant des panneaux isolants autour du four (il est opportun de le chauffer à la température maximale pour une durée de 30-40 minutes à portefermé). Il s'agit d'un phénomène absoluement normal et, s'il devait se produit encore, il faudrait attendre que la fuméecessive avant d'introduire des aliments.
En général le four est équipé de: grille support pour la cuisson des préparations en casseroles ou bien posées directement sur la grille, l'éche-frite pour la cuisson des gâteaux, biscuits, etc. ou pour récapérer les jus et les matières grasses des alimentés placés directement sur la grille.
Note: dans les tableaux suivants il y a les indications pour la cuisson de quelques préparations principales. Les temps de cuisson conseillés dans ces tableaux sont indicatifs. Nous sommes sûrs qu'après qu'elle essais vous pourrez apporter les modifications nécessaires pour有關ir les résultats désrisés.
Tableau de cuisson système traditionnel
| Preparations | Temp. °C. | Minutes |
| Poisson | 180-240 | suivant dim. |
| Viande | ||
| Rôti de boeuf | 250 | 30 par kg. |
| Rôti de veau | 200-220 | 60 par kg. |
| Poulet | 200-240 | env. 50 |
| Canard ou oie | 220 | suivant poids. |
| Gigot de mouton | 250 | 30 par kg. |
| Rôti de porc | 250 | 60 par kg. |
| Soufflés | 200 | 60 par kg. |
| Gateaux | ||
| Cake | 160 | 50-60 |
| Biscuits de Savoie | 160 | 30-50 |
| Pâté brisée | 200 | 15 |
| Pâté feuilletée | 250 | 15 |
| Tarte aux fruits | 200-220 | 30 |
| Meringues | 100 | 60 |
| Gratin | 220 | 30 |
| Cake 4/4 | 120-140 | 60 |
| Brioches | 160-180 | 45 |
Tableau de cuisson à air chaud
| Préparations | Temp. °C. | Minutes | Poids kg. |
| Entrées | |||
| Lasagnes au four | 200-220 | 20-25 | 0,5 |
| Pâtés au four | 200-220 | 25-30 | 0,5 |
| Riz à la créole | 200-230 | 20-25 | 0,5 |
| Pizza | 210-230 | 30-45 | 0,5 |
| Viandes | |||
| Rôti de veau | 160-180 | 65-90 | 1-1,2 |
| Rôti de porc | 160-170 | 70-100 | 1-1,2 |
| Rôti de boeuf | 170-190 | 40-60 | 1-1,2 |
| Flet de boeuf | 170-180 | 35-45 | 1-1,5 |
| Roast-Beef | 180-190 | 40-45 | 1-1,5 |
| Rôti d'agneau | 140-160 | 100-130 | 1,5 |
| Poulet rôti | 180 | 70-90 | 1-1,2 |
| Canard rôti | 170-180 | 100-160 | 1,5-2 |
| Oie rôti | 160-180 | 120-160 | 3-3,5 |
| Dindo rôti | 160-170 | 160-240 | 5 env. |
| Lapin rôti | 160-170 | 80-100 | 2 env. |
| Lievre rôti | 170-180 | 30-50 | 2 env. |
| Poisson | 160-180 | d'après poids | |
| Gâteaux (Pâtisserie) | |||
| Tarte aux fruits | 180-200 | 40-50 | |
| Savarin | 160-180 | 35-45 | |
| Gâteau "Margherita" | 200-220 | 40-45 | |
| Pain de Genes | 200-230 | 25-35 | |
| Fouace au raisin | 230-250 | 30-40 | |
| Brioches | 170-180 | 40-60 | |
| Strúdel | 160 | 25-35 | |
| Feuillantines sucrees | 180-200 | 20-30 | |
| Beignets de pom. | 180-200 | 18-25 | |
| Flan biscuit Savoie | 170-180 | 30-40 | |
| Biscuits de Savoie | 150-180 | 50-60 | |
| Toasts | 230-250 | 7 | |
| Pain | 200-220 | 40 |
FOURSA CONVECTION NATURELLE (Petit four)
Le four est pourvu de:
- une résistance inférieure;
- une résistance supérieure.
En tournant dans le sens des aiguilles d'une montre la manette du thermostat il est possible de selectionner la température désirée dans le four et, selon les modèles, une ou plusieurs fonctions:

Four éteint
Lumière four
60 ÷ MAX Branchement de la résistance supérieure + inférieure

Branchement de la résistance supérieure

Branchement de la résistance inférieure

Branchement du grilloir
(tournebroche selon les modeles
ATTENTION -
Le grilloir doit toujours être utilisé avec porte entrouverte (en correspondence du premier déclenchement de la charnière), et le déflecteur pour la protection des manettes installé (fig. 2).
Note:
Un témoin placé sur le tableau de bord reste allumé jusqu'à ce que la température soit atteinte, ensuite il s'allumera par intermittence.

Le four est pourvu de:
- une résistance inférieure;
- une résistance supérieure;
- une résistance circulaire qui entoure le ventilateur.
N.B.: Le branchement de n'importe qu'elle fonction a lieu toujours après avoir place la manette du thermostat en correspondance de la temperature désirable.
Thermostat four
Tournier la manette dans le sens des aiguilles d'une montre pour selectionner la temperature du four désirée, comprise entre 50 et MAX°C

Sellecteur fonctions four
Tournier la manette des le sens des aiguilles d'une montre pour sélectionner la fonction du four désirable

Note:
Un témoin placé sur le tableau de bord reste allumé jusqu'à ce que la température soit atteinte, ensuite il s'allumera par intermittence.
Le four jours doit etre a la portefermée.
Utilisation du four
Note: fours avec thermostat et commutateur séparés.
Lorsqu'on utilise les fonctions placer la manette du thermostat entre 180 ÷ 200^ C comme température maximale.
ATTENTION:
La température indiquée sur le tableau de bord correspond à la température maintenance au centre du four seulement quand les fonctions sélectionnées sont ou

Une fois tourné le bouton sur cette position, la lampe reste allumée pendant toutes les opérations qui seront.

Décongélation par ventilateur
Cette position permet le circulation de l'air pulse à la température ambiente tout ajust de l'aliment surgelé en le décongelant sans modifier ou alterer son contenu protéique.

Branchement de la résistance inférieure et supérieure du four. Il s'agit de la cuisson traditionnelle, excellente pour roir les gigots, idéale pour les biscuits, les pommons au four et pour que les alimentés deviennent très croquants. On obtient de bons résultats pour les cuissons sur un niveau avec réglage de la température de 50 à MAX°C.

Cuisson par air pulsé
La résistance circulaire et le ventilateur sont en fonction. L'air chaud, régblable entre 50 et MAX°C, est pousse uniformément sur tous les étages du four. Ceci permet une cuisson idéale de plusieurs mets ensemble (viande, poisson, etc.) sans melanger les différents odeurs et saveurs. Cuisson delicate induquée pour Génoises, gâteaux de Savoie, pâtes feuilletées, etc.

Gril moyen
Par cette position, la résistance du gril moyen à l'infrarouge est en fonction. Ceci permet de griller ou gratiner les plats traditionnels de petites dimensions.

Grill
Par cette position, la résistance du grill à l'infrarouge est en fonction. Ceci permet de griller ou gratiner les plats traditionnels.La manette du thermostat doit être placé sur la position 180 - 200^

Grill ventilé
L'air, chauffé par la résistance du grill, est aspièré par le ventilateur et poussé sur les alimentes. Le grill ventilé remplace remarquably le tournebroche et il assure des résultats excellents avec volailles, saucisses et viandes rouges, même en quantité considérable. La manette du thermostat doit être placée sur la position 180 - 200^ .

Soleventile
L'air, rechauffé par la résistance inférieure, est aspièr par le ventilateur et pousse sur les aliments. Cette fonction peut être utilisée pour stérisir les aliments. Cette fonction peut être utilisée entre 50 et MAX°C.
UTILISATION DU GRILLOIR
Positionner la grille porte-plats au troisième gradin en partant du fond du four, à 12 cm à peu pres de la surface rayonnante.
Vous pouvez changer de gradin, suivant votre goût personnel et les nécessités des différents mets. Avant d'enfournier, laisser chauffer 5 minutes.

Fig. 2

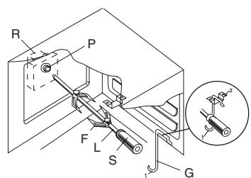
Tournebroche (selon les moseles)
- Enfiler le poulet ou la pièce à roir sur la broche L en prénant bien soin de l'immobilisier entre les deux fourches F et de bien l'équilibrer afin d'éviter des efforts inutiles au moto-réducteur R. (fig. 3).
- Mettre la broche sur le support G, après avoir introduit son extrémité opposée dans le trou P du moteur R (fig. 3).
- Engager la lèchefrite avec un peu d'eau au dessous de la broche.
- Mettre en place l'écran de protection S de manettes et placer la porte en position entre ouverte (voir fig. 2).
- Pour enlever la broche opéorer de la façon contraire utilisant la manette S et un Guantanamo de protection en laine isolante (fig.3).
Pour la mise en fonction du tournebroche, tourner la manette sur le symbole l

Fig. 3
INSTRUCTIONS POUR L'UTILISATION DES DISPOSITIFS CONTROLE (SELON LES MODELES)
HORLOGE "LED" (Fig. 4)
\section*{Caracteristiques}
Horloge 24 heures avec programmation automatique et comptes-minutes.
Fonctions
Durée de cuisson, fin cuisson, position manuelle, horloge, compte-minutes, périques jusqu'à 23 heures et 59 minutes.
Affichage des fonctions
Affichage lumineux à 4 chiffres pour indiquer l'heure et les temps de cuisson.
Durée de cuisson et fonction manuelle = symbole de la casserole
Fonction automatique = AUTO
Minuterie = symbole de la cloche
Une fonction est selectionnée lorsque le symbole correspondant est affchéé.

Fig. 4
| Minuterie sonore | |
| Durée de cuisson | |
| Fin de cuisson | |
| Manuel | |
| - | Diminution du temps |
| + | Augmentation du temps |
Programmation
La programmation s'effectue en appuyant sur le bouton de la fonction désirée. Avec avoir relâché ce bouton, programmer le temps avec + et -
Boutons + et -
En appuyant sur les boutons + et - le temps augmente ou diminue à une vitesse variable selon la durée de la pression sur le bouton.
Réglage de l'heure
Pour régler l'heure désirée, appuyer en même temps sur le bouton manuel et réglage l'heure avec + ou -. Par cette opération, tous programmes précédents sont éliminés. Le symbole AUTO clignote.
Fonctionnement en manuel
En appuyant sur le bouton de manuel, le symbole AUTO s'eteint, le symbole de casserolle apparait. Le fonctionnement manuel a lieu seulement à la fin de la programmation automatique ou après que cette-ci a ete annulée.
Fonctionnement automatique
En appuyant sur le bouton de durée ou de fin cisson, leprogrammateur se commute automatiquement de la fonction manuelle à la fonction automatique.
Fonctionnement semi-automatique avec durée de cuisson
Appuyer sur le bouton de durée de cuisson et programmer le temps désire avec + ou -. Le symbole AUTO et de durée de cuisson apparaissent en permanence. Quand le temps de fin de cuisson correspond à l'heure, le symbole de durée de cuisson se débranche, la sonnerie retentit, et le symbole AUTO clignote.
Fonctionnement semi-automatique avec fin de cuisson
Appuyer sur le bouton de fin cuisson. L'heure apparait sur l'affichage lumineux. Sélectionner le temps de fin cuisson désiré avec le bouton +. Les symboles AUTO et durée de cuisson apparaisent en permanence.
Quand le temps de fin cuisson correspond à l'heure,
le symbole de durée de cuisson se débranchent. Une fois le temps de cuisson écoulé, le symbole AUTO clignote, la sonnerie retient, le symbole de durée de cuisson s'éteint.
Fonctionnement automatique avec durée et fin de cuisson
Appuyer sur le bouton de durée et sélectionner la durée de cuisson désirée avec + ou -. Les symboles AUTO et durée apparaissent en permanence. Appuyer sur le bouton de fin de cuisson. Le temps de fin cuisson le plus proche apparait sur l'affichage lumineux. Sélectionner le temps de fin cuisson désirable à travers le bouton +. Le symbole de durée se débranche. Le symbole s'allume de nouveau quand l'heure correspond au temps de début de cuisson.
Une fois le temps de cuisson écoué, le symbole AUTO clignote. La sonnerie retentit et le symbole de durée et s'éteint.
Minuterie
Appuyer sur le bouton compte-minutes et seLECTIONner le temps de cuisson désiré avec le bouton + ou -.
Pendant le fonctionnement de la minuterie, le symbole de la cloche apparait. À la fin du tempscisioni, la sonnerie retentit et le symbole de la cloche s'éteint.
Signal sonore
Le signal se met en marche à la fin d'une programmation ou de la fonction miniterie pour durée de 15 minutes. Pour l'arrêter, appuyer sur un bouton celuiconque des fonctions.
Début programme et contrôle
Les programmes démarrent à peu près 4 secondes après leur programmation.
Il est possible de vérifier à tout moment le programme en cours en appuyant sur le bouton concerné.
Erreur de programmation
Il y a un erreur de programmation si l'heure indiquée par l'horloge est comprise entre l'heure de début cuisson et l'heure de fin cuisson. L'erreur de programmation peut être corrige, en changeant la durée ou le temps de fin cuisson.
Suppression d'un programme
On peut supprimer un programme en appuyant sur le bouton de durée cuisson et puis sur le bouton - afin que l'indication 00 00 apparaissée sur l'affchage lumineux. À la fin d'un programme, ce ci s'éliminera automatiquelement.
HORLOGE ANALOGIC (fig. 5).
Pour la mise à l'heure
Presser et tourner le bouton vers la droite, jusqu'à ce que l'heure exacte apparaisse. En cas d'une fausse manoeuvre, éviter de tourner vers la gauche. Un mécanisme de sécurité protège les composants de l'horloge.
Réglage sonnerie
Tourner le bouton vers la droite, sans le presser, afin que l'aiguille corresponde au temps de sonnerie désiré. Une fois le temps écoué la sonnerie retentit sans cette. Pour l'arrêter, tourner le bouton vers la droite afin que l'aiguille corresponde au symbole de la cloche rayée.

Fig. 5
ENTRETIEN ET NETTOYAGE
Avant de procéder au nettoyage, débrancher le robinet du gaz général et enlever la fiche de la prise de courant ou couper le courant de la ligne d'alimentation au moyen de l'interrupteur général de l'installation électrique.
Éviter de nettoyer les surfaces de l'appareil lorsqu'elles sont encore chaudes.
Ne pas utiliser de nettoyeurs vapeur pour nettoyer le four. SURFACES EMAILLEES
Nettoyer avec une éponge mouillée avec de l'eau et du savon. Les taches de gras peuvent être enlevées facilement avec de l'eau chaude ou un produit spécifique que trouvant facilement en commerce pour le nettoyage de l'email. Eviter les produits contenant des substances abrasives. Ne pas laisser sur l'email de substances acides ou alcalines (jus de citron, vinaire, sel etc...)
Les apparheils en acier inox doivent être nettoyés avec des détergents spéciaux pour acier inox. Ces détergents doivent être appliqués à l'aide d'un linge moelleux.
GRILLES ET BRULEURS
Pour procéder au nettoyage des brûleurs de la table de travail, il est nécessaire de les extraire de leur siège en les élément vers le haut et de lesmettrependantun dizaine de minutes dans une solution d'eau chaude et produit détergent non abrasif. Avres avoir nettoyé et lavé les brûleurs, les essayer soigneusement.
Controler toujours que les orifices des brûleurs ne soient pas obstrés.
Nous conseillons de réaliser cette opération au moins une fois parSEAme ou chaque fois que cela est必需aire.Faire attention a remonter de façon correcte les bruleurs de la table.
PORTE DU FOUR
Pour certains modèles, la porte du four peut être démontré de la façon suivante: les charnières A sont poursuées, pour ce but, de cavaliers mobiles B qui accrochés au secteurs des charnières C, lorsque la porte est complètement ouverte, les bloquent. Àprouès il faut enlever la porte vers l'extérieur faisant donc les deux mouvements montrés en figure. Pour effectuer ces opérations, faire prise sur les côts de la porte en proximité des charnières. Pour remonter la porte introduire les charnières dans leur sièges. Avant de fermer la porte, ne pasoublier d'énlever les cavaliers mobiles B. Attention: enproximal des charnières de la porto du four, il existe le danger de se blesser les mains.

PORTE DU FOUR
Pour les parties émailées nettoyer avec une éponge mouillée avec de l'eau et du savon. Les taches de gras peuvent être enlevées facilement avec de l'eau chaude ou un produit spécifique que trouvant facilement en commerce pour le nettoyage de i'email. Eviter les produits contenant des substances abrasives.
RENSEIGNEMENTS DESTINES A
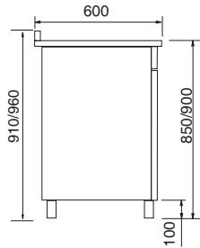
DIMENSIONS D'ENCOMBREMENT (mod. 192)


DIMENSIONS D'ENCOMBREMENT (mod.108)


Certains modèles sont écipés de 4 pieds utiles pour aligner éventuelles la cusinière avec les meubles. (voir fig. 8 ou 8A selon modèles).

Fig. 8
Fig. 8A
Soulever la cusinière et visser les quatre pieds dans les logements prévus à cet effet aux quatre coins sous l'appareil.

AVERTISSEMENTS
Avant d'effectuer toute réparation ou intervention, débrancher la prise de courant et fermer le robinet de gaz. Le technicien qualifié est responsable de l'installation correcte suivant les normes de sécurité en vigueur. La mise à la terre de l'appareil est obligatoire aux termes de la loi.
Le constructeur décline toute responsabilité quant aux dommages subsis par des personnes, des animaux ou des biens, résultat de la non observation des normes ci-dessus indiquées.
Les données techniques sont indiquées sur la plaque signalétique placée dans le tiroir inférieur de l'appareil. Les conditions de réglage sont indiquées sur l'étiquette appliquée sur l'emballage. Ne pas utiliser la poignée de la porte du four pour effectuer des opérations de mouvement, y compris l'opération nécessaire pour enlever l'appareil de l'emballage.
L'appareil est en classe 1 ou classe 2 sous-classes 1.
INSTALLATION
IMPORTANT: Le revetement du meuble doit supporter des températures (min. 90^ ).
Si l'appareil doit être installé près des meubles, observer les distances minimales prévues par le plan ci-après.

L'installation et l'entretien de l'appareil doivent être effectuels par une personne qualifiée conformément aux textes réglementaires et régles de l'art en vigueur:
L'installation et l'entretien de l'appareil doivent être effectués par une personne qualifiée conformément aux textes réglementaires et régles de l'art en vigueur notamment:
- Arrêté du 2 août 1977 (art.10-11)
Régles Techniques et de Sécurité applicables aux installations de gaz combustible et d'hydrocarbures liquefies situés à l'intérieur des batiments d'habitation et de leur dépendances.
Norme DTU P 45-204
Installations de gaz (anciennement DTU n^ 61-1 - Installations de gaz - Avril 1982 + additi n^1 Juillet 1984).
Règlement Sanitaire Départemental
Pour les apparèils raccordés au réseau électrique:
Norme NF C 15-100
Installations électriques à basse tensione - Règles.
Cet apparéil n'est pas pourvu de dispositif d'évacuation des produits de la combustion. On doit donc l'installer dans des endroits suffisamment aérés suivant les dispositions des lois en vigueur. La quantité d'air nécessaire à la combustion ne doit pas être inférieure à 2,0 m³/h pour chaque kW de puissance installée.
(Voir la puissance totale sur la plaque signalétique placée dans le tiroir inférieur de l'appareil).
La norme fixe la valeur minimale de la section libre totale des ouvertures permanentes (fentes, perforation, grillés, gains, etc.) destinée à l'évacuation de l'air des cuisines qui doit être d'au moins de 100 cm².
La norme spécifique que la partie supérieure de l'ouverture permanente utilisée pour l'évacuation de l'air vicié par les produits de combustion doit être située à 1,80m au moins au dessus du sol du local. Une section libre au moins égale doit être réservée aux ouvertures d'entrée d'air.
L'emplacement des ouvertures doit etre tel qu'il n'en resulte aucun courant d'air insupportable pour les occupants.


RACCORDEMENT AU GAZ
Contrer si l'appareil est prevu pour le type de gaz distribué. Le raccordement à la canalisation gaz doit être effectué en conformité avec les règlements en vigneur (Article 10 de l'arrêt du 02.08.1977 et aux règles de l'art. (DTU 61-1), installations de gaz qui impôsent sur l'extrémite de cette canalisation la présence d'un robinet de commande.
Pour le butane et le propane, un détenteur-declencheur conforme à la norme NF D 36-303 peut tener lieu de robinet de commande. Ce robinet de commande permet de couper l'alimentation en gaz lorsqu'ell'appareil n'est pas utilisé.
Une fois terminées les opérations de raccordement gaz, contrôler l'étabanche des racCORDs avec de l'eau et du savon.
L'extremité du raccord est filtée.
Les raccordements possibles sont:
1) le raccordement rigide avec interposition d'un joint;
2) le raccordement par tuyau flexible avec armature à embouts mécaniques suivant les normes en vigueur.
Le tuyau doit être raccordé directement au coude de la rampe. (voir fig 9).

3) le raccordement par tuyau flexible
Le tyuau doit être monté sur l'about (porte caoutchouc) avec un collier de serrage (F) pour éviter toute fuite de gaz et visiblable sur toute sa longueur ( voir fig 10).
Dans ce dernier cas, contrôler la date de péremption imprimée sur le tuyau et le remplaçer avant cette date.
AVERTISSEMENTS
Nous rappelons pour les tuyaux soudles (longueur max.1500mm), de:
1 - eviter tous étranglements ou écrasements du tuyau
2 - eviter des efforts de traction et de torsion
3 - éviter d'entrée en contact avec des corps pointus, à vivé arête, etc...
4 - éviter d'entrez en contact avec des parties qui dépassement de 70^ la température ambiente.
5 - s'assurer qu'ils peuvent être vérifiés pour toute leur longueur.

Si l'appareil a eté prévu pour fonctionner avec un type de gaz différent de celui de l'alimentation disponible, il faut changer les injecteurs, régler le début réduit des brûleurs et changer l'about annèle.
Afin de changer les injecteurs de la table de travail, il est nécessaire d'effectuer les opérations suivantes: enlever les grilles, enlever les brûleurs et leurs chapeaux (voir fig.11 A), changer l'injecteur (voir figure 11 B) et le replacer avec celui approprié au nouveau type de gaz (voir tableau D). Remonter tout en sens inverse en faisant attention à placer le chapeau de façon correcte sur le brûleur.


Fig. 11
Valeurs se référant à Hs - 15°C - 1013,25mbar
| TAB.D TABLEAU GENERAL INJECTEURS | ||||||
| Type de gaz | mbar | Inject. N. | Brûlueur type | Puisance Watt Cohsom | ||
| max. | min. | max. | ||||
| NATUREL G20/25 | 20/25 | 1,15 | -Rapide | 3000 | 750 | 286 l/h |
| 0,97 | -Semi rapide | 1750 | 480 | 167 l/h | ||
| 0,72 | -Auxiliaire | 1000 | 330 | 95 l/h | ||
| 1,28 | -Triple cour. | 3300 | 1300 | 315 l/h | ||
| 1,20 | -Poussonière | 2900 | 1500 | 277 l/h | ||
| BUTANE G30 PROpane G31 | 28/30 | 0,85 | -Rapide | 3000 | 750 | 219 g/h |
| 0,65 | -Semi rapide | 1750 | 480 | 128 g/h | ||
| 0,50 | -Auxiliaire | 1000 | 330 | 73 g/h | ||
| 37 | 0,93 | -Triple cour. | 3300 | 1300 | 241 g/h | |
| 0,85 | -Poussonière | 2900 | 1500 | 211 g/h | ||
| AIR BUTANE PROpane G130 | 8 | 2,60 | -Rapide | 3000 | 750 | 421 l/h |
| 1,85 | -Semi rapide | 1750 | 480 | 245 l/h | ||
| 1,45 | -Auxiliaire | 1000 | 330 | 140 l/h | ||
| 2,90 | -Triple cour. | 3300 | 1300 | 463 l/h | ||
REGLAGE DEBIT REDUIT ROBINETS DE LA TABLE.
Afin de régler le début réduit, procéder comme il suit: allumer le brûleur et tourner la manette vers la position de début réduit ⁹ ; enlever la manette du robinet. Introduire un petit tourne-vis dans la tige du robinet (fig. 12). Attention: dans les robinets avec sécurité, la vis de réglage “Z” du minimum se trouve à l'extérieur de la tige du robinet (fig. 12 A).
Dévisser la vis de réglage pour augmenter le débit, ou visser la vis pour diminuir le débit. Le réglage est correct quand la flamme mèsure environ 3 ou 4mm . Pour le gaz butane/propane, la vis de réglage doit être vissee à fond. S'assurer que la flamme ne s'éteint pas lorsqu'on passée brusquement du débit max. 且 , au débit réduit et viceversa. Remonter la manette.


BRANCHEMENT ELECTRIQUE
BRANCHEMENT ELECTRIQUE
Le branchement de l'appareil au réseau électrique doit être réalisé par un personnel spécialisé, connaissant les normes de sécurité en vigueur.
La mise à la terre de l'appareil est obligatoire selon les termes de la loi. Avant d'effectuer le branchement électrique, s'assurer de l'efficacité de la mise à la terre.
S'assurer que la soupape limitatrice et les câblages domestiques poussent supporter le chargement de l'appareil.
Prévoir un dispositif de déconnexion sur le réseau d'alimentation avec une distance d'ouverture des contacts qui permette la déconnexion complète dans les conditions de la catégorie de surtension III, conformément aux règles d'installation. Le cable de terre jaune/vert ne doit pas être interrompu par l'interrupteur.
Important: les fils du cable d'alimentation ont les couleurs suivantes:
- jaune/vert = pour la mise à la terre " 12 " (E)
-bleu = pour le neutre "N" - marron = pour la phase "L"
- Vérifier toujours que le cable électrique ne touche pas ni des surfaces coupantes ni chaudes avec une tempéture qui dépasse de 50^ celle ambiente, et qu'il soit de longueur suffisante pour un éventuel déplacement nécessaire au nettoyage ou à une réparation. S'il on utilise une fiche pour le branchement, la fiche de branchement du cable d'alimentation et la prise à laquelle elle doit être branchée doivent être du même type (conformes aux normes).
| Type d'appareil | Alimentation monophasée 230V~ | |
| Type de câble | Section | |
| Table toutes gaz + double four électr. | Caoutchouc H05 RR-F | 3 x 2,5 mm² |
Dans le cas ou le cable devrait s'endommager, le replacer selon les instructions suivantes:
ouvrir la boite du bornier comme décrit dans la figure ci-dessous; dévisser la vis "A" qui bloque la cable;
- replacner la cable avec un de la même longueur et correspondant aux caractéristiques décrites dans le tableau:
- le fil de mise à la terre "jaune-verte" doit être raccorde à la borne 112 et il doit être plus long d'environ 10mm par rapport aux fils de ligne;
- le fil neutre "bleu" doit être raccorde à la borne marquee par la lettre "N"
- le fil de ligne doit être raccordé à la borne marquee par la dette "L".

ENTRETIEN DE L'APPAREIL
AVERTISSEMENTS
Avant d'effectuer toute réparation ou intervention, débrancher la prise de courant et fermer le robinet du gaz.
Le constructeur décline toute responsabilité quant aux dommages subsis par des personnes, des animaux ou des biens, résultat de la non observation des normes ci-dessus indiquées.
Dans le cas où il serait nécessaire de réparer ou remplacer les composants interns, il faut:
La lampe four utilisée est de type spécial résistant aux températures élevées. Afin de pouvoir la replacer démonter le verre de protection (A) et replacer la lampe brûlée par une dou même type, ensuite remonter le verre de protection (fig 12 B).

DEMONTAGE DE LA TABLE DE TRAVAIL
Enlever les grilles, enlever les brûleurs et les chapeaux (voir fig. 13), dévisser les vis "V" visibles au dessus de la table (voir fig. 14). Démoner la table de travail en dévisant les 4 vis "A" arrière (voir fig. 15). De cette façon il est possible de soulever la table de travail et acceder aux composants interns.



- Pour démonter le tableau de bord il suffit de dévisser les 4 vis internes (B) qui fixent le tableau de bord à la façon du fou (fig. 16).

GRAISSAGE DES ROBINETS
Si la manoeuvre d'un robinet devient dure, il faut l'engraisser avec un gras spécifique pour les haute temperatures. Procede comme it suit: ouvrir la table de travail et démonter le tableau de bord aussi comme décrit dans le précédent paragraphe.
Dévisser les deux vis de fixation du corps du robinet (voir figure) et enlever le cène.

Nettoyer le cône et sa siège avec un linge mouillé avec du solvant. Engraisser légrement le cône avec le gras spécifique, le placer dans sa siège, et le tourner quelque fois. Enlever le cône de nouveau et enlever le gras résiduel faisant attention à ne pas obstruer les passages de gaz avec des résidus de gras.
Monter tout soigneusement en sens inverse.
Ouvrir la table de travail et démonter le tableau de bord aussi comme décrit dans le précédent paragraphe. Dévisser l'écrou D du tube qui porte le gaz au brûleur, dévisser la vis V fixant le robinet à la bride et l'enlever (voir figure 16 A).
Note: Lorsqu'on remplace le robinet il est nécessaire de replacer le joint d'étanchéité du robinet.

Fig. 16 A
Notice Facile