CK 161-115 - Plaque de cuisson vitrocéramique GAGGENAU - Notice d'utilisation et mode d'emploi gratuit
Retrouvez gratuitement la notice de l'appareil CK 161-115 GAGGENAU au format PDF.
| Type de produit | Table de cuisson à induction |
| Caractéristiques techniques principales | 4 zones de cuisson, commande tactile, affichage numérique |
| Alimentation électrique | 230 V / 400 V, 3 phases |
| Dimensions approximatives | 60 cm x 51 cm |
| Poids | 10 kg |
| Compatibilités | Compatible avec les ustensiles de cuisson à induction |
| Fonctions principales | Boost, minuterie, détection de casserole |
| Entretien et nettoyage | Surface en vitrocéramique, nettoyage avec un chiffon humide |
| Pièces détachées et réparabilité | Disponibilité des pièces détachées via le service après-vente Gaggenau |
| Sécurité | Verrouillage de sécurité, arrêt automatique |
| Informations générales utiles | Installation par un professionnel recommandée, garantie de 2 ans |
FOIRE AUX QUESTIONS - CK 161-115 GAGGENAU
Questions des utilisateurs sur CK 161-115 GAGGENAU
0 question sur cet appareil. Repondez a celles que vous connaissez ou posez la votre.
Poser une nouvelle question sur cet appareil
Téléchargez la notice de votre Plaque de cuisson vitrocéramique au format PDF gratuitement ! Retrouvez votre notice CK 161-115 - GAGGENAU et reprennez votre appareil électronique en main. Sur cette page sont publiés tous les documents nécessaires à l'utilisation de votre appareil CK 161-115 de la marque GAGGENAU.
MODE D'EMPLOI CK 161-115 GAGGENAU
Bedienungs- und Montageanleitung Notice d'utilisation et d'installation Operating and Installation Instructions Bedienings- en montageaanwijzing Instruzioni per l'uso ed il montaggio Instrucciones de UTILIZACION y montaje
CK 161
Glaskeramik-Kochfeld mit „SuperQuick" Kochzonen Table de cuisson vitrocéramique avec zones de cuisson «ultra rapides» Glass ceramic cooking range with "SuperQuick" cooking zones Keramische kookplaat met „SuperQuick-kookzones Piano di cottura in vetroceramica con le piastre rapide „SuperQuick" Grupo de cocción vitrocerámico con zonas de cocción "SuperQuick"
| Consignes de sécurité | Page | 26 |
| Consignes générales | Page | 27 |
| Avant la première utilisation | Page | 28 |
| Équipement | Page | 29 - 32 |
| Utilisation | Page | 33 - 43 |
| - Accélérateur automatique | Page | 37 |
| - Minuterie | Page | 39 - 40 |
| - Fonctions spéciales | Page | 41 |
| Conseils pratiques | Page | 44 - 45 |
| Instructions de montage | Page | 46 - 48 |
Consignes de sécurité
Ne posez pas de casseroles chaudes sur le tableau de commande.
Pensez au risque de blessure lorsqu'la table est chaude. Soyez très prudent et tenez les enfants à l'écart.
Lorsque vous cuisinez avec des graisses et huiles, ne laissez pas la table de cuisson sans surveillance. Les graisses et huiles surchauffees s'enflammment facilement.
Ne pas utiliser le plan de cuisson comme desserte.
Ne nettoyez pas la table avec un nettoyeur à vapeur ou avec de l'eau sous pression. Risque de court-circuit!
Pour des raisons thermiques, le fonctionnement simultané de la table de cuisson et d'un four à pyrolyse place juste en-dessous n'est pas auto-risé. En effet, en cas de surchauffe, l'appareil coupera les deux zones de cuisson droites (voir aussi Consignes générales: sécurité électronique).
Lorsque, suite à une utilisation non conforme, des fissures et éclats apparaisent à la surface de la table, des pieces sous tension peuvent être en contact avec du liquide, ce qui entraîne des risques de blessure. Dans ce cas, séparez immédiatement l'appareil du secteur, soit en débranchant la fiche d'alimentation secteur, soit en actionnant les fusibles concernés.
Si vous utilisez des apparèils électriques à proximé de la table de cuisson, faites attention à ce que leurs cordons d'alimentation n'entrent pas en contact avec la surface chaude de la table.
L'utilisateur est responsable du parfait et de l'appareil et de l'utilisation conforme de ce dernier dans son habitation. Aucune demande de garantie ne pourrait être acceptée pour les dommages eventuels provoqués par le non-respect des générées instructions.
Si une anomalie de fonctionnement se produit sur votre apparéil, essayez d'y remédier en débranchant la table.
Sous réserve de modifications techniques.
Consignes générales
Lisez soigneusement la notice d'utilisation et conservez-la à portée de la main.
La table de cuisson vitrocéramique ne peut pas servir à faire chauffer des denrées placees dans des feuilles en aluminium et des recipients en plastique.
Utilisez uniquement des ustensiles de cuisson de bonne qualité et respectez l'instruction de nettoyage fournie.
Si après entrée d'une commande, l'appareil se coupe de lui-même, il est possible que vous ayez involontairement sélectionné une commande (par exemple à cause d'une manche de chemise pendante). Cela ne présente aucun danger et il suffit de procéder correctement pour l'éviter. Pour sélectionner une commande, agissez toujours verticalément du haut vers le bas (voir page 28).
Si vous appeareil présente une anomalie de fonctionnement, il peut suffire de le débrancher brièvement, puis de le rebrancher.
Si cela ne suffit pas pour remédier à l'anomalie, et si l'alimentation électrique fonctionne, averissez votre distributeur ou le service après-venture Gaggenau compétent.
Pour ce faire, conservez toujours la notice d'utilisation à portée de main. Vous trouvez à la dernière page le numéro de série de votre apparéil.
CONSEL:
Nous vous conseillons de faire couvrir votre nouvelle table de cuisson en vitrocéramique par votre assurance bris de glaces.
Avant la première utilisation
Avant d'utiliser l'appareil pour la première fois, observerz les consignes suivantes:
Montage:
L'appareil doit être raccordé uniquement par un installateur-électricien agréé, en conformité avec toutes les normes édictées par l'entreprise fournissant l'électricité et les normes sur la construction.
Ne pas utiliser l'appareil tant qu'il n'est pas monté.
Respectez la notice de montage!
Aucune garantie n'est accordedée pour les dommages eventuels provoqués par le non-respect de ces consignes.
Branchement:
Avant demettre l'appareil en service, il faut le raccorder au secteur électrique en respectant toutes les normes en vigueur (voir notice de montage).
Respectez le schéma de branchement situé sous l'appareil.
Respectez les consignes de sécurité et les consignes générales figurant dans ce document.
Avant d'utiliser l'appareil pour la première fois, nettoyez-le à fond. Respectez à cet effet le chapitre « Nettoyage et entretien», en page 40.
Élimination:
L'emballage extérieur est en carton. Il contient du polystyrene pour protégger l'appareil. Veuillez éliminer ces matériaux selon les possibilités de recyclage proposées dans votre région.

1 Zone de cuisson ultra-rapide 180-1800 W
2 Zone de cuisson ultra-rapide 145-1200 W
3 Zone de cuisson ultra-rapide 120 (750 W), extensible a 210-2200 W
4 Zone de cuisson ultra-rapide 145-1200 W
5 Tableau de commande
Équipement

La table de cuisson vitrocéramique est dotée de zones de cuisson ultra-rapides. La zone de cuisson ultra-rapide offre une très bonne répartition de la chaleur et dégage une lumière rouge clair. Immediatement après variation de la puissance, vous pouvez voir la zone réagir. Les zones de cuisson sont à commande électronique et pendant la marche, elles s'éteignent parfois, afin de protéger la plaque de verre contre les surchauffes et d'assurer un apport régulier de chaleur à votre casserole. Vous pouvez donc voir la table de cuisson alternatively s'allumer et s'éteindre.
Tous les états des zones sont visuelsibles sur le tableau de commande 5 (voir p. 27).
L'utilisation de la table de cuisson est simple et est assistée par les fonctions suivantes:
- chaque action acceptée est confirmée par un signal sonore,
— lorsque l'afficheur de niveau de puissance clignote, cela signifie que vous doivent accore actionner une commande.
La logique de sécurité intégrée à l'électronique de commande offre les avantages suivants:
- Aucune cuisson ne peut etre déclenchée par un contact involontaire (par exemple pendant le nettoyage).
- Pour une sécurité maximale, la zone de cuisson allumée s'arrête instantanément lorsquel interrupteur général est actionné.
- La table de cuisson est dotée d'une logique de commande multiple grâce à laquelle il est impossible de déclencher deux fonctions en même temps. Pour cette raison, il vaut mistroux éviter de déposer des objets sur le tableau de commande. D'autre part, pour sélectionner une fonction, ne posez pas la main trop à plat (voir figure ci-contre), sinon l'appareil risque de ne pas réagir ou de s'arrête. Cela peut arriver par exemple lorsque vous touchez par erreur l'interrupteur général. Cela ne présente pas de risques et peut être évité en faisant simplement attention.
Exception: manoeuvre de l'interrupteur général pour arreter l'appareil.
Équipement
- Fonction d'extinction automatique au bout de 4 heures si aucune commande nouvelle n'a ete activee durant cette periode (par exemple en cas d'absence prolongee).
Pour appuyer sur une touche, il n'est pas nécessaire d'exercer une pression importante. Un léger contact suffit. - La sélection des zones de cuisson dans l'afficheur 7 s'effectue juste sous l'afficheur de niveaux de cuisson (voir figure ci-dessous). En revanche, pour les autres zones d'entrée (8 à 11), la sélection s'effectue au milieu des symboles (voir figure ci-dessous).

Sélection de la zone de cuisson
Protection contre la surchauffe
L'électronique de la table de cuisson est dotée d'une protection contre la surchauffe. En cas de dépassement de la température critique, les zones de cuisson 3 et 4 (avant et arrière droites) sont ramenées au niveau 7, au cas où elles étaient régles sur les niveaux 8 ou 9.
H et 7 apparaisSENT en alternance sur les afficheurs des zones de cuisson concernées.
En cas de dépassement de la température critique, la dette H disparait, la zone de cuisson reste sur le niveau 7 et peut en cas de besoin être remise aux niveaux 8 ou 9.

Selection des autres fonctions, y compris l'interrupteur général
Remarque : chaque entrée est confirmée par un signal sonore. Toute commande multiple erronée vous est signalée par plusieurs signaux sonores brefs
Équipement
La table de cuisson dispose d'un accéléateur automatique de chauffe «R» qui se commande en effleurant deux fois sur la zone de cuisson. Lorsqu'il est activé et affecté à une zone de cuisson, il permet d'augmenter pendant quelques minutes le niveau de cuisson sélectionné, qui revient ensuite de lui-même à sa valeur d'origine.
Remarque: avec le niveau de cuisson 9, il est impossible d'activer l'accélérateur automatique.
La table de cuisson en vitrocéramique est également dotée d'un indicateur de chaleur résiduelle, signalant qu'après extinction, une zone de cuisson n'est pas encore assez froide pour être touchée sans risques. La chaleur résiduelle dégagée par une zone est indiquée par un zéro défilant sur l'afficheur de zone de cuisson.
La minuterie peut servir d'une part de sonnerie d'advertissement, d'autre part, elle permet de programmer un temps de cuisson pour une ou plusieurs zones de cuisson.
La sécurité enfants intégrée permet deverrouiller la table de cuisson éteinte, en empêchant tout réallumage involontaire.
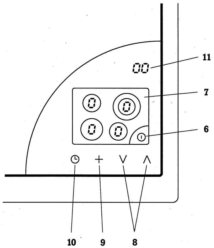
Utilisation

6 Interrupteur général
7 Sélection de la zone de cuisson et afficheur de zone de cuisson
8 Sélection du niveau de cuisson (0 à 9), ou commande de la minuterie
9 Sélection d'une zone additionnelle
10 Sélection de la minuterie
11 Afficheur de la minuterie
Utilisation
Réglage des niveaux de cuisson
Pour régler les niveaux de cuisson, il suffit de sélectionner la zone de cuisson sur l'afficheur 7, puis d'entrée le niveau souhaité 0 à 9 (dans les cinq secondes qui suivent).
Tableau de réglage
| 0 | ARRET |
| 1 | faire fondre |
| 2 | maintenir au chaud |
| 3 | réchauffer |
| 4 | décongeler, cuire à l'étuvée, cuire à feu doux |
| 5 | poursuivre la cuisson de petites quantités |
| 6 | cuire à découvert |
| 7 | cuire et rôtir doucement |
| 8 | cuire et rôtir à feu fort |
| 9 | faire frire, cuire de grandes quantités d'eau |
Les valeurs du tableau de réglage sont indicate-tives, car les mets exigent plus ou moins de chaleur suivant leur nature, leur état, la quantité et le degré de replissage de la casserole.
Nous vous recommendons de n'utiliser le niveau 9 que pour accélérer la cuisson et pour faire revenir. Ensuite, Sélectionnez un niveau de cuisson inférieur.
Utilisation de l'accélérateur automatique de chauffe
Ce système fonctionne avec toutes les zones de cuisson. Il permet d'augmenter pendant quelques minutes la puissance du niveau de cuisson sélectionné et donc d'atteindre plusrapidement la température de cuisson en palier ou de mainten au chaud du mets.
Une fois le temps d'accelération expire, le système revient automatiquement au niveau choisi de cuisson ou de maintainen au chaud.
L'accélérateur de chauffe peut être activé ou désactivé à tout moment, avant ou pendant la cuisson, par double effleurement de la zone de cuisson concernée sur l'afficheur des zones de cuisson 7.
L' apparition d'un « R» lumineux alternant sur l'afficheur signale que l'accélérateur est actif dans le niveau de cuisson concerné.
Utilisation de la zone additionnelle
Il est possible d'agrandir ou de diminuer la zone de cuisson 3 en la seLECTIONnant, puis en ajoutant le signe «+».
Utilisation




Allumage de la table de cuisson
- Sélectionnez au moins 1 seconde l'interrupeur général 6. Sur l'afficheur 7, les zones de cuisson sont signalées par un «0». Un point s'allume dans l'interrupteur principal.
Si vous n'activez aucune zone de cuisson dans les 20 secondes suivantes, la table de cuisson s'eteint automatiquement. Donc, pour la pallumer, il faut de nouveau selectionner l'interrupteur général 6.
Remarque:
Si vous n'arrivez pas à allumer la table, cela peut signifier que vous avons activé plusieurs commandes à la fois ou que la sécurité enfants est en service (voir le chapitre «Sécurité enfants»).
Arrêt de la table de cuisson
- Sélectionnez l'interrupteur général 6. Toutes les zones de cuisson s'arrêtent immédiatement. Toutes celles indiquées sur l'afficheur 7 ainsi que l'interrupteur général s'éteignent en même temps, à l'exception de l'indicateur de chaleur résiduelle.
Vous pouvez aussi arrêté séparément les zones de cuisson. Reportez-vous au chapitre «Utilisation des zones de cuisson»
Si tous les afficheurs sont sur «0», la table de cuisson s'arrête automatiquement au bout de 20 secondes.
Utilisation
Dans les instructions détaillées suivantes, on a considéré que l'interrupteur général 6 était déjà activé. Les instructions sontidentiques pour les quatre zones de cuisson.
















Allumage des zones de cuisson 1 à 4
- Sur l'afficheur 7, selectionnez la zone de cuisson souhaitatione. Un «0» clignote sur l'afficheur.
- Avec les touches ∧ ou V, sélectionnez le niveau de cuisson souhaité (1 à 9).
Appuyez sur la touche jusqu'à ce que le niveau de cuisson sélectionné apparaissé sur l'afficheur 7.
Remarque: Lorsque vous appuyez sur la touche , le niveau de cuisson 1 apparait directement sur l'afficheur 7. Lorsque vous appuyez sur la touche V, c'est le niveau de cuisson 9 qui apparait.
Modification d'un niveau de cuisson (pour les zones de cuisson 1 à 4)
- Sélectionnez la zone de cuisson sur l'afficheur 7. Ce dernier clignote. Sélectionnez le nouveau niveau de cuisson avec la touche ou V. Celui-ci apparaît sur l'afficheur.
Arrêt des zones de cuisson 1 à 4
- Sélectionnez la zone de cuisson concernée sur l'afficheur 7. Le chiffre correspondant clignote sur l'afficheur. Ensuite, appuyez sur
- la touche V jusqu'à ce que le «0» apparaissés sur l'afficheur ou bien
- les touches ∧ et V en même temps. L'afficheur des zones de cuisson se met sur «0».
Utilisation
Utilisation avec accelérateur automatique de chauffe








Allumage des zones de cuisson 1 à 4 avec accélérateur automatique de chauffe
- Sélectionnez la zone de cuisson souhaitatione sur l'afficheur 7.
Le «0» clignote.
- Sélectionnez le niveau de cuisson (entre 1 et 9) avec la touche ∧ ou V dans le panneau de sélection 8.
- Appuyez de nouveau deux fois successivement sur la zone de cuisson sur l'afficheur 7. Le niveau de cuisson sélectionné et le symbole «A» de l'accélérateur apparaissent en alternance «E-A-E-A-E»


Interruption de l'accelération automatique pour les zones de cuisson 1 et 4
- Effleurez deux fois de suite la zone de cuisson concernée sur l'afficheur. Le symbole «R» s'éteint et le niveau de cuisson sélectionné reste allumé sur l'afficheur 7.
Utilisation
Zone de cuisson ultra-rapide (3) arrière droite














Extension de la zone de cuisson
- Sur l'afficheur de zone de cuisson 7, selec-tionnez la zone de cuisson arrêté droite.
Le «0» correspondant clignote. - Sélectionnez le symbole «+». Le «0» de la zone de cuisson arrêté et le symbole d'allumage additionnel «C» sont allumés sur l'afficheur de zones 7.
- Resélectionnez la zone de cuisson arrêté droite. Le «0» de la zone de cuisson et le symbole d'allumage additionnel «C» clignotent sur l'afficheur de zones 7.
- Sélectionnez le niveau de cisson (1 à 9) avec la touche ∧ ou V. Appuyez sur la touche jusqu'à ce que le niveau de cisson souhaité apparaïssé dans la zone de cisson arrêté droite.
ou:
- Sélectionnez la zone de cuisson arrêté droite sur l'afficheur de zones de cuisson 7.
- Choisissez le niveau de cuisson voulu (entre 1 et 9).
- Sélectionnez le symbole «+» tant que la commande n'est pas confirmée par un signal.
Diminution de la zone de cuisson
Pour désactiver la zone additionnelle, Sélectionnez la zone de cuisson arrêté droite sur l'afficheur 7, puis appuyez sur «+».
Utilisation
Minuterie








Il est supposé que l'interrupteur général 6 est en position arrêt.
Programmation de la minuterie
Si vous ne voulez pas programmermer la minuterie pour une zone de cuisson précise, elle peut vous servir de minuteur (par exemple pour faire cuire un oeuf), sans fonction d'arrêt de la cuisson. La minuterie peut être réglée entre 1 et 90 minutes.
- Effleurez le symbole sélection de la minuterie 10. Les symboles «00» clignotent (audressus de l'afficheur 7 des zones de cuisson).
- Sélectionnez la valeur souhaitation à l'aide de la touche ∧ ou V. Cette valeur apparaît sur l'afficheur de la minuterie.
- Effleurez une nouvelle fois le symbole selec-tion minuterie 10.
Le tempsprogramme commence à s'écouler.
Le tempsdéja écoué apparaît sur l'affi-cheur 11.
Remarque: Si aucune commande n'est actionnée pendant 3 secondes, le temps programme commence à defiler sans que vous ayez à effleur la touche de minuterie.
Une fois le temps programme écoué, l'afficheur 11 clignote et un signal sonore retentit. L'afficheur de minuterie s'est int si vous effleurenz n'importe qu'elle touche de la zone 8 de selection des niveaux de cuisson, par exemple la touche d'un niveau de cuisson.
Pour effacer des valeurs erronées mises en mémoire, effleurez la sélection de minuterie 10, puis appuyez en même temps sur la touche ∧ et V les symboles 8.
Utilisation
Minuterie
- Programmation de la minuterie pour des zones de cuisson


Programmation de la minuterie
Allumez la zone de cuisson souhaitée (voir chapitre «Utilisation des zones de cuisson»).
Programmez la minuterie comme indiqué au chapitre «Programmation de la minuterie» (voir page 37).
Sur l'afficheur de zone de cuisson 7, effleurez une nouvelle fois la zone de cuisson pour laquelle vous poulez programmer la minuterie. L'afficheur de zone de cuisson clignote.
Effleurez ensuite le symbole sélection de minuterie 10 pour attribuer le tempsprogrammé à la zone de cuisson.
Sur l'afficheur de zone de cuisson 7, un point «.» apparait à côté de l'afficheur de niveau de cuisson de la zone souhaitée, ceci afin de signaler l'affection de la zone à la minuterie.




Autre possibilité (non représentée sur la figure):
- entrez le temps à l'aide des touches V et
- effleurez dans les 3 secondes qui suivent la zone de cuisson que vous pouze affecter à la minuterie.
Remarque: Il est possible de programmer la minute-rie pour les quatre zones de cuisson.
Pour effacer la programmation de telle ou telle zone de cuisson, procededans le même ordre.
Une fois le tempsprogramme expiré, l'afficheur de minuterie 11 ainsi que la ou les zones de cuisson programmées clignotent. De plus, un signal sonore retentit. Les zones de cuisson pour lesquelles la minuterie a eté programmée s'arrêtent automatiquement.
Si vous effleurez n'importe qu'elle touche, la minuterie sera désactivée et l'afficheur de niveau de cuisson reviendra automatiquement à «0».
Pour effacer des valeurs erronées mises en mémoire, effleurez la sélection de minuterie 10, puis appuyez en même temps sur la touche ∧ et ∨ les symboles 8.
Utilisation
Fonction spéciale
Sécurité enfants
Grâce à une série de commande, il est possible de protégger la table de cuisson contre un allumage involontaire.
Seule la programmation de la minuterie n'est pas concernée par la sécurité et peut donc toujours être utilisée.
L'activation de la sécurité enfants n'est possible que si l'interrupteur général est en position marche et si toutes les zones de cuisson sont sur 0 ou si une chaleur résiduelle est signalée.
Activation de la sécurité enfants
- La table de cuisson étant allumée, effleurez la zone de cuisson 2 arrêté gauche sur l'afficheur 7 et maintenez le doigt dessus.
- Ensuite, au moyen de l'interrupteur général 6, mettez la table de cuisson hors tension. Vous entendez un signal sonore. Dans un début d'une seconde, enlevez le doigt de l'interrupteur général, puis de la zone de cuisson 2 arrêté gauche.

Levoyant de l'interrupteur général 6 clignote pour signaler que la sécurité enfants est activée. Maintenant, n'importe qui peut toucher au tableau de commande 5 sans déclencher de cuisson. Exception: action sur la sécurité enfants elle-même et programmation de la minuterie.


Désactivation de la sécurité enfants
- Sur la zone 7 de sélection du niveau de cuisson, effleurez la zone de cuisson 2 arrêtée grâce et maintenez le doigt dessus.
- Ensuite, à l'aide de l'interrupteur général 6, allumez la table de cuisson.
Remarque: Vous ne pouvez désactiver la sécurité enfants qu'en enlevant d'abord le doigt de l'interrupteur général 6 puis de la zone de cuisson 2 arrêté gauche.
La fonction « sécurité enfants » s'éteint. Vous pouvez maintainant utiliser la table de cuisson sans restrictions.
Fonction d'extinction automatique
La table de cuisson possède une fonction d'extinction automatique, grâce à laquelle la table s'arrête automatiquement au bout de 4 heures (au moyen de l'interrupteur général), si aucune commande nouvelle n'a été activée durant cette période (par exemple en cas d'absence prolongée).
Protection contre la surchauffe
L'électronique de la table de cuisson est dotée d'une protection contre la surchauffe. En cas de dépassement de la température critique, les zones de cuisson 3 et 4 (avant et arrière droites) sont ramenées au niveau 7, au cas où elles étaient réglées sur les niveaux 8 ou 9.
H et 7 apparaisSENT en alternance sur les afficheurs des zones de cuisson concernées.
En cas de dépassement de la température critique, la dette H disparait, la zone de cuisson reste sur le niveau 7 et peut en cas de besoin être remise aux niveaux 8 ou 9.

Menu d'options


A l'aide du menu d'options, vous pouvez adapter à vos habitudes les fonctions d'accelération automatique et d'extension des zones de cuisson.
Selectionnez les symboles et pour acceder au menu d'options et y désir la valeur souhaïée.
Le symbole Minuterie you permit d'enregistrer la valeurCHOISIE.
Le symbole + vous permet de faire défiler le menu.
Vous peuvent à tout moment quitter le menu
d'options en utilisant l'interrupteur général ① . Les valeurs non encore enregistrées seront dans ce cas
perdues.
Remarque : lorsque, étant dans le menu d'options, vous ne faites rien pendant une minute, ce menu disparaît et aucune valeur éventuellesment sélectionnée ne sera enregistrée.
Procedez de la maniere suivante :
- Allumez l'appareil au moyen de l'interrupteur général ① (remarque : il ne faut pas que la minuterie soit activée et toutes les zones de cuisson doivent être sur 0).
-La table de cuisson étant allumée, effleurez les symboles V et A. Un signal sonore se fait entendre. Maintenez les doigts enfoncés pendant quelques secondes jusqu'à ce qu'un second signal sonore se fasse entendre et que P1 s'allume sur l'afficheur de la minuterie. Enlevez les doigts des symboles. Sur l'afficheur des zones de cuisson, apparait R04, ce qui correspond à une durée de fonctionnement de 4 minutes de l'accélérateur de chauffe (fig. 1).
-Vous pouvez maintainant selectionner une durée de fonctionnement de l'accelerateur comprise entre 1 et 15 minutes en effleurant les symboles V ou A. La durée programmée apparait sur l'afficheur des zones de cuisson (R01 à R15) et P1 clignote (invitation à enregistrer) (fig. 2).
-Pour enregistrer la valeur, effleurez le symbole Minuterie ①. Un signal sonore se fait entendre et P'este allumé (fig. 3).
Pour quitter le menu d'options, effleurez l'interrupteur général ①. Les valeurs non encore enregistrées seront dans ce cas perdues. Si vous souhaitez programmer d'autres fonctions, ...

- ... effleurez le symbole +. P2 s'allume sur l'afficheur de la minuterie. Le symbole d'extension de zone © clignote sur l'afficheur de la zone de cuisson 3 (arrière droite) (fig. 4).
En effleurant la zone de cuisson sur l'afficheur, vous pouvez maintainantCHOISIR parmi trois réglages :
- le symbole d'extension de zone clignote : dans ce cas, pour selectionner l'extension, il faut l'activer à chaque utilisation de cette zone de cuisson,
- le symbole d'extension est allumé en continu : l'extension est activée à chaque allumage de la table de cuisson, mais il est possible de la désactiver si on le souhaite,
- le symbole d'extension est allumé en continu et est visible sur l'afficheur de la table de cuisson : le dernier réglage utilisé est sélectionné lors de l'allumage de la table de cuisson.
- ÀpRES la sélection du réglage, P2 clignote (invitation à enregistrer).
- Effleurez le symbole Minuterie , pour enregistrer la valeur. Un signal sonore se fait entendre et P2 s'allume en continu.
Pour quitter le menu d'options, effleurez l'interrupteur général ①. Les valeurs non encore enregistrées seront dans ce cas perdues.
Conseils pratiques
Nettoyage et entretien
Nettoyage de la table de cuisson
Voutrouvez dans la brochure jointe «Instructions de nettoyage» des indications sur le nettoyage de la table de cuisson. Éliminez les salissures les plus grossières avec notre gratoir (réf. 087670). Nous vous conseillons de nettoyer la table régulièrement avec le produit de nettoyage spécial de Gaggenau (réf. 098690).
Nettoyage du tableau de commande
Pour que les capteurs fonctionnent parfaitement, le tableau de commande doit rester parfaitement propre et exempt deGRAisse. N'utiliseaucun produit à récurer ou pouvant rayer.
Fonction mémoire
Après coupure, la table de cuisson enregistre pendant 15 secondes tous les niveaux de cuisson et valeurs de la miniterie. Ànsi, en cas de coupure involontaire, vous pouvez facilement retrouver tous vos réglages.
Procedez de la maniere suivante:
- Appuyez sur l'interrupteur général ①. Les valeurs selectionnées au préalable clignotent sur l'afficheur.
- Si vous voulez valider les valeurs enregistrées : appuyez sur le symbole Minuterie © dans les 5 secondes suivantes. Un signal sonore se fait entendre. Les valeurs sélectionnées au préalable sont validées.
- Toute autre action provoque la perte des valeurs enregistrées.
Conseils d'économie d'énergie
- Placez toujours un couvercle sur vos ustensiles de cuisson!
- Choisissez des casseroles de dimension correcte, c'est-à-dire correspondant au diamètre de la zone de cuisson et composées d'un matériel approupié.
Respectez la notice de nettoyage fournie. - Lorsque vous connaîtrez bien le fonctionnement de votre apparéil, vous pourrez éteindre la table avant la fin de cuisson, afin de profiter de la chaleur résiduelle.
Remédier soi-même aux petits incidents
Chaque incident n'est pasforcement du à un défaut de votre table de cuisson.
Si vous appeareil ne fonctionne pas correctement, recherchez le dernier à l'aide du tableau ci-contre.
Si vous ne parvenez pas à éliminer le problème à l'aide des solutions proposées, contactez le service après-vente Gaggenau.
Conservez toujours la notice à portée de la main.
| Anomalie | Cause | Remède |
| Impossiblè d'allumer l'appareil. | La fiche secteur est débranchée ou le fusible domestique a réagi. | Brancher la fiche secteur ou vérifier le fusible domestique. |
| Certaines zones du tableau de commande sont masquées par des objets. | Enlever les objets du tableau de commande. | |
| Double commande: vous avezdéclenché plusieurs fonctions. | Procedez de manière correctepour sélectionner une fonction(voir Consignes générales). | |
| Tableau de commande encrassé. | Nettoyer le tableau de commande. | |
| L'interrupteur général clignote, impossible d'allumer l'appareil. | La sécurité enfants est activée. | Déactiver la sécurité enfants(voir chapitra Fonction spéciale). |
| Les deux zones de cuisson droites se coupent, un H clignotant apparait. | Les zones de cuisson se coupent à partir d'une certaine température afin de protégger la table de cuisson. | Vous pouvez utiliser les zones de cuisson restantes. Àprous refroidisse-ment, vous pourrez réutiliser la table dans son intégralité. |
| L'appareil se coupe après une cuisson prolongée. | L'appareil se coupe automatiquement au bout de 4 heures si aucune commande n'a été utilisée entre temps. Vous avepu toucher par erreur l'interrupteur général, ce qui a provoqué l'arrêt de l'appareil. | |
| La zone de cuisson s'allume et s'arrête bien qu'aucun changement n'ait été demandé. | Ce mecanisme protège la table de cuisson contre la surchauffe et régularise l'apport de chaleur. | |
| Les zones d'entrée de commandes régissant différemment à une manoeuvre. | Les capteurs peuvent réagir différemment. | |
| Il faut beaucoup de temps pour que le mets chaudiè. | L'ustensile de cuisson est très plein. L'accélérateur automatique est revenu au niveau de cuisson régèle au préalable. Ustensile de cuisson non approprié. La casserole a un diamètre supérieur à la zone de cuisson utilisée. La tension secteur est trop BASSE. | Choisissez un niveau de cuisson supérieur. Activez l'accélérateur automatique. Choisissez une casserole adaptée. Utilisez un couvercle. |
| Pas de réaction de la table de cuisson. | Surtensions extrêmes dans le réseau, provoquées par exemple pa la foudre. | Séparer l'appareil du secteur en le débranchant ou en désactivant le fusible. |
| Les afficheurs de la table de cuisson sont allumés et un point est allumé en permanence sur l'afficheur de la minuterie, mais la table de cuisson ne chauffe pas. | L'appareil est en mode démonstration. | Débranchez l'appareil. Rebranchez-le, puis, dans les 3 minutes qui suivent, procédez selon les instructions suivantes : effleurez la touche + et maintenze le doigt dessus.Effleurez l'interrupteur général ① jusqu'à entendre un signal. Enlevez alors immédiatement le doigt de l'interrupteur général, puis, ensuite seulement, de la touche+. |
Notice d-installation
L'appareil doit être raccordé uniquement par un installateur-électricien agréé, en conformité avec toutes les normes édictées par l'entreprise fournissant l'électricité et les normes sur la construction.
S'il n'est pas possible de séparer totalement l'appareil du secteur au moyen d'une fiche d'alimentation accessible, il faut prévoir en avant dans l'installation électrique un sectionneur dont les contacts sont écarts d'au moins 3 mm.
L'installateur est responsable du parfait fonctionnement de l'appareil sur le lieu d'installation. Il doit en expliquer le fonctionnement à l'utilisateur à l'aide de la notice.
La protection contre les contacts accidentels par le bas doit être garantie après montage, par exemple par mise en place d'un fond intermédiaire pouvant être démontré uniquement avec un outil. La distance par rapport au fond intermédiaire doit être de min. 10 mm.
Remarque:
Il faut expliquer à l'utilisateur comment il doitmettre l'appareil hors tension en cas de nécessite.
Les dommages dus au non-respect de cette notice ne pourrait etre reconnus.
Cette table de cuisson est conforme à la classe thermique Y et doit être encastrée dans un élément de cuisine, selon le schéma.
Ne pas poser l'appareil dans des cuisines intégrées en bois ou autre matériel inflammable similaire, sans prendre des dispositions additionnelles.
Appuyer la table sur une seule paroi latérale ou arrrière d'un élément haut ou du mur de la cuisine. Sur l'autre paroi latérale, il ne faut placer qu'un autre apparéil ou élément de même hauteur.
Respecter une distance minimale de 10 mm entre le bas du carter et l'élement en matériel inflammable le plus proche.
Si les apparèils sont placés pres d'une paroi inflammable, il faut respecter une distance minimale de 60 mm entre la paroi et le bord de l'appareil.
La plaquette d'identification représentée ci-après est valable pour le type d'appareil décrit dans cette notice d'utilisation.
| CK 161-114 | Total 6400W |
| 400 V 3 N AC | 50 Hz |
| CK 161-214 | Total 6400W |
| 400 V 3 N AC | 50 Hz |
| CK 161-514 | Total 6400W |
| 240 V AC | 50 Hz |
Notice d'installation


Installation
-
Effectuer la découpe comme indiqué sur le schéma.
-
Retirer le film protecteur de la bande d'étanchéité et poser cette dernière autour de la découpe. Ne pas faire chevaucher la bande au niveau des angles, mais poser bout à bout.
Remarque:
Ne pas coller la table dans le plan de travail avec du silicone.
Monter les cornières de fixation selon le schéma.
Visser les vis de fixation selon l'épaisseur du plan de travail et insérer l'appareil, le panneau de commande étant à l'avant et à droite.
Après centrage, faire pivoter les cornières sous le plan de travail et serrer les vis.
Remarque:
Pour des raisons de sécurité, respectez une distance de 10mm par rapport à la cloison de l'élement bas (voir figure).
Notice d'installation
Branchementélectrique
Puisance raccordee: 6,4 kW
Raccorder au secteur en respectant toutes les normes en vigueur.
Le cable d'alimentation doit etre au moins conforme au type H05VV-F.
Tenir compte des indications de la plaquette d'identification, brancher soigneusement le conducteur de protection. Raccarder le cordon d'alimentation au secteur selon le schéma de branchement ci-dessous.
Refixer le boftier de protection.
Schemas de branchement des éléments chauffants 230 V
| 1 | 2 | 3 | 4 | ⊕ 400V 3N~ |
| l1 | l2 | l3 | lN | ⊕ |
| 1 | 2 | 3 | 4 | 230V ~ |
| L1 | LN | I | I |
Séchémas de branchement des éléments chauffants 240 V
| 1 | 2 | 3 | 4 | ⊕ 240V ∙ |
| L1 | LN | ⊕ | ||
Notice Facile