DWC-LDC1422sSC - Lave-linge DAEWOO - Notice d'utilisation et mode d'emploi gratuit
Retrouvez gratuitement la notice de l'appareil DWC-LDC1422sSC DAEWOO au format PDF.
| Type d'appareil | Lave-linge frontal |
| Verrouillage enfant | Oui, empêche la modification du programme pendant le fonctionnement |
| Programme prélavage vapeur | Oui |
| Système de lavage | À bulles d'air pour un lavage en profondeur et protection des fibres |
| Nettoyage automatique du tambour | Oui, nettoyage automatique du tambour |
| Système de séchage | Numérique par condensation avec dispositif d'économie d'énergie |
| Capacité de lavage | Non précisé |
| Vitesse d'essorage | Non précisé |
| Consommation énergétique | Non précisé |
| Type de tambour | Standard avec nettoyage automatique |
| Affichage | Non précisé |
| Programmes spéciaux | Prélavage vapeur, lavage à bulles d'air |
| Dimensions | Non précisé |
| Poids | Non précisé |
| Type de chargement | Frontal |
FOIRE AUX QUESTIONS - DWC-LDC1422sSC DAEWOO
Téléchargez la notice de votre Lave-linge au format PDF gratuitement ! Retrouvez votre notice DWC-LDC1422sSC - DAEWOO et reprennez votre appareil électronique en main. Sur cette page sont publiés tous les documents nécessaires à l'utilisation de votre appareil DWC-LDC1422sSC de la marque DAEWOO.
MODE D'EMPLOI DWC-LDC1422sSC DAEWOO
Manuel d'instructions du lave-linge
Le système de verrouillage infant empêche que les enfants appuient sur un bouton et modifient le programme pendant le fonctionnement.
Système de lavage à bulles d'air
À l'aide de cette technologie, des millions de bulles se produisent pendant le lavage à l'intérieur du tambour. Ces bulles d'air ont en effet un effet catalyseur sur la lessive et un effet mécanique sur le linge : en effet, elles permettent à la lessive de pénétrer au cœur du linge en écartant les fibres textiles tout en utilisant moins de lessive.
Nettoyage automatique du tambour
Permet de nettoyer automatiquement le tambour.
Système numérique de séchage par condensation
Système de séchage par condensation doté d'un dispositif d'économie d'énergie (uniquement pour le modèle lave-linge séchant)
COMPOSANTS ET ACCESSOIRES 3 SECURITE DU LAVE-LINGE 4 CONSIGNES D'INSTALLATION 5 RACCORDEMENT DU TUYAU D'ARRIVEE 6 PRECAUTIONS ELECTRIQUES 7 UTILISATION DU LAVE-LINGE 8 FONCTIONS DU PANNEAU DE COMMANDE 10 PROCEDURE DE LAVAGE ET SELECTION 11 GUIDE FOR OTHER USEFUL PROGRAMS 21 ENTRETIEN 24 NETTOYAGE DES FILTRES 25 ELIMINATION DES TACHES 26 DEPANNAGE 27 CHARACTERISTIQUES TECHNIQUES 28 SCHEMA DE CABLAGE 28
Nous vous remercions d'avoir fait l'acquisition de cet équipement DAEWOO.
D'un emploi facile, les lave-linge DAEWOO vous permettent d'économiser du temps et de gérer vos tâches ménagères.
Ce manuel compte des informations précieuses pour une utilisation appropriée et en toute sécurité de votre machine.
Nous vous invitons à le lire avec le plus grand soin et à le conserver en cas de besoin.
Les différents composants et accessoires de votre lave-linge sont illustrés ci-dessous.
Familiarisez-vous avec tous ces composants et accessoires avant d'utiliser la machine.
Il se peut que les dessins figurant dans ce manuel ne correspondent pas exactement à votre modèle de lave-linge.
Ces dessins visent à représenter les différentes caractéristiques propres à la totalité des modèles couverts par ce manuel, et il est possible que votre modèle n'intègre pas toutes les caractéristiques.

Accessoires
| Tuyau d'arrivée | Manuel | Obturator (4EA) | Guide de tuyau vidange (Option) | Clé (Option) |
Conservez ces instructions
Nous sommes attentifs à votre sécurité.
Afin de minimiser les risques d'incendie, de chocs électriques ou de blessures en cours d'utilisation du
lave-linge, veuillez respecter les précautions de base ci-après.
Lisez toutes les instructions avant d'utiliser votre lave-linge
- Évitez toute présence de liquides inflammables, solvants pour nettoyage à sec, pétrole lampant, essence, etc., à l'intérieur de la machine ou à proximité. N'ajoutez pas de liquides inflammables à l'eau de lavage. Les vapeurs libérées par ces produits exposent à un risque d'incendie ou d'explosion.
- À l'appréhuion du démarrage d'un cycle, n'accédez pas à l'intérieur de la machine tant que la totalité des mouvements ne sont pas interrompus.
- Évitez toute manipulation interposée des commandes.
- La machine n'est pas conçue pour être utilisée par des jeunes enfants ou des personnes handicapées ne disposant pas d'une assistance.
- Si le cordon d'alimentation est endommagé, celui-ci doit être remplacé par le fabricant, par son agent de service ou par une personne représentant une qualification similaire de façon à écarter tout danger.
- Si la machine est alimentée à partir d'un cordon prolongateur ou d'un dispositif d'alimentation électrique portable, veillez à le positionner de façon qu'il ne soit pas exposé aux éclaboussures ou à la pénétration d'humidité.
Veillez à...
Recourir à une personne qualifiée pour la mise en place, la réparation ou le remplacement des pièces. - Entretenir la machine de façon appropriée. - Protéger la machine contre les intempéries et la maintenir dans un lieu à l'abri du gel. - Ne pas installer la machine dans un lieu particulièrement humide : risque de chocs électriques ou de courts-circuits. - Raccorder la machine sur les prises appropriées alimentation électrique, alimentation en eau et vidange.
Soyez responsable
- N'utilise pas d'agent chloré de blanchiment et de l'ammoniac ou de l'acide vinaigre ou produit antirouille, par ex. pour une même lessive. Le mélange peut produire des vapeurs dangereuses.
- Débranchez le cordon d'alimentation avant toute intervention sur votre machine.
- Ne lavez pas de tissus en fibre de verre.
De fines particules peuvent adhérer aux tissus lavés par la suite et provoquer une irritation de la peau.
- Évitez toute projection d'eau sur le panneau de commande de la machine.
Risque d'incendie ou de choc électrique.
- Sur les modèles avec deux vannes chaud et froid, si vous raccordez uniquement la vanne d'arrivée d'eau froide et ne reglez pas la température de l'eau sur "Froid", une fuite peut se produire au niveau de la vanne d'arrivée d'eau non raccordée.
- Cet appareil doit être mis à la terre.
Il doit être raccordé à une prise responsable d'une connection avec la terre
Retrait des boulons de transport
- Avant d'utiliser le lave-linge, retirez les 3 vis de transport ainsi que les garnitures en caoutchouc.
- La présence de ces vis peut provoquer des vibrations et un bruit particulièrement intenses ainsi qu'un dysfonctionnement de la machine.

- Dévissez les 4 boulons à l'aide de la clé fournie. Conservez-les pour une utilisation future.
- Les boulons de transport devront être réinstallés lors de tout transport de l'appareil.

3. Obturez les trous du moyeu des capuchons fournis.

Emplacement du lave-linge
- Vérifiez l'emplacement où vous allez installer le lave-linge. Assurez-vous que vous disposez de tout le nécessaire pour une installation correcte.
- Afin d'éviter tout endommagement consécutif au gel, la machine ne doit pas être installée ou entreposée dans un lieu où la température est inférieure à 0°C.
- Ne placez ou stockez en aucun cas des produits de lavage sur le panneau supérieur de la machine.
- Installez la machine sur un sol ferme et parfaitement plan. Une mise en place sur un sol inapproprié peut se traduire par un niveau de bruit très élevé, par de fortes vibrations et par un dysfonctionnement de la machine. Si celle-ci ne se trouve pas en position horizontale, remontez ou abaissez les pieds selon nécessité.
- Si la machine est posée sur un sol revêtu de moquette, veillez à ce que celle-ci n'obstrue pas les ouïes de ventilation.
- Laissez un certain espace autour de la machine, au moins 2 cm sur les côtés, 10 cm à l'arrière.
- En cas d'intégration, un espace minimal de 3 mm doit être maintenu entre le haut de la machine et la face interne du plateau supérieur.

Le lave-linge doit être raccordé sur la conduite d'eau principale à l'aide de tuyaux neufs, toute réutilisation de tuyaux usagés étant à exclure.
Si vous utilisez un unique robinet d'eau ou si vous disposez d'une seule vanne d'arrivée d'eau, raccordez le tuyau d'arrivée sur la vanne d'arrivée d'eau froide.
Option : Attention à ne pas confondre l'arrivée d'eau chaude et l'arrivée d'eau froide.
Cas d'un robinet sans filetage
1 Abaissez le collier du tuyau d'arrivée afin de le séparer de l'adaptateur du robinet d'eau.

Desserrez les quatre vis de l'adaptateur de façon que celui-ci s'engage correctement sur le robinet.

3 Engagez l'adaptateur sur le robinet et serrez les quatre vis de façon égale tout en poussant l'adaptateur vers le haut afin que le joint en caoutchouc vienne fermement en appui sur le robinet.

4 Retirez l'adhésif et vissez à fond le raccord B dans le raccord A.

5 Abaissez le collier à l'extrémité du tuyau d'arrivée afin de raccorder celui-ci sur l'adaptateur du robinet d'eau.

6 Raccordez l'adaptateur du tuyau sur l'arrivée d'eau du lave-linge en le tournant dans le sens horaire jusqu'à ce que la fixation soit parfaitement assurée.

- Vérifiez la présence du joint en caoutchouc à l'intérieur de l'adaptateur du tuyau d'arrivée.
Raccordement à l'arrivée d'eau
Raccordez le tuyau d'arrivée sur le robinet d'eau en vissant le raccord à fond.

Si nécessaire, raccordez le cône d'adaptation mis à disposition.

Raccordez l'adaptateur du tuyau sur l'arrivée d'eau du lave-linge et tournez jusqu'à ce que la fixation soit parfaitement assurée.

*Vérifiez la présence du joint au niveau de l'arrivée.

Risque de choc électrique
Le non-respect des instructions ci-après peut exposer à des blessures graves, voire mortelles.
- Ce lave-linge nécessite un raccordement électrique à la terre.
- Si vous prise murale n'est pas adaptée à cet effet, faites installer une prise appropriée par un électricien qualifié.
- N'utilisez pas une canalisation de gaz pour la mise à la terre.
- Ne changez pas la prise du cordon d'alimentation.
- Si vous n'êtes pas certain que le lave-linge est correctement relié à la terre, demandez à un électricien qualifié de s'en assurer.
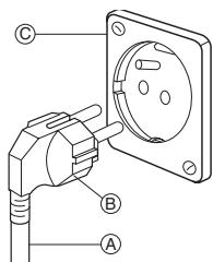
Méthode recommandée pour la mise à la terre

Pour votre sécurité personnelle, ce lave-linge doit être mis à la terre.
Celui-ci est équipé d'un cordon d'alimentation A dont la prise B comporte un contact de mise à la terre.
Afin de minimiser le risque de choc électrique, la prise du cordon doit être branchée sur une prise murale C de type correspondant. S'il ne dispose pas d'une prise murale appropriée, le client est tenu d'en faire installer une par un électricien qualifié.
Installation pour la vidange
- N'oubliez pas d'installer le tuyau de vidange avant d'utiliser votre lave-linge.
- Une fois la machine déballée, vous trouverez le tuyau de vidange à l'intérieur du tambour.
- Raccordez ce tuyau sur la sortie de vidange à l'arrière de la machine.
- La crosse de vidange doit être située à 60 cm minimum et 100 cm maximum par rapport au bas du lave-linge.


- Lorsque vous adaptez le tuyau de vidange sur le bac ou sur l'évier, fixez-le avec une bride.
- En fixant correctement le tuyau de vidange, vous évitez les fuites d'eau risquant d'endommager le sol.
- Si le tuyau de vidange est trop long, ne le poussez pas à l'intérieur de la machine : celle-ci produisait alors un bruit anormal.
Réglage du niveau
S'il est installé sur un sol inapproprié, le lave-linge peut être extrêmement bruyant, produire des vibrations et ne pas fonctionner correctement.



Réglez le niveau du lave-linge à l'aide des pieds réglables.
- Vérifiez l'absence de tout espace entre les quatre pieds réglables et le sol.
- Ajuster le niveau de la machine à l'aide des pieds réglables et vérifier que la machine est bien stable.
- Une fois le réglage terminé, serrez les écrous de fixation afin de conserver ce réglage.


Exercez une pression aux quatre coins du panneau supérieur de la machine afin de vous assurer qu'elle n'a pas tendance à osciller.
La machine doit être parfaitement stable et tous les pieds réglables doivent reposer fermement sur le sol.

Utilisation du lave-linge
Pour obtenir des résultats optimaux, vous devez utiliser la lave-linge de façon appropriée. La présente section donne les informations essentielles à ce titre.
Préparation du linge avant lavage
- Refermez les fermétures à glissière, les boutons-pression et les agrafes afin d’éviter que ceux-ci n’accrochent d’autres pièces. Ôtez les épingles, boucles et tout autre objet susceptible de rayer l’intérieur de la machine.
- Videz les poches et retournez-les.
- Dédoublez les manchettes et retournez les tricots en synthétique afin d'éviter qu'ils ne boulochent.
- Nouez les cordons et les ceintures afin qu'ils ne s'emmêtent pas.
- Traitez les tâches. Voir "ELIMINATION DES TACHES", page 26

Tri
- Séparez les pièces selon qu'elles sont plus ou moins sales, même s'il y a normalement lieu de les laver ensemble.
- Séparez les couleurs sombres des couleurs claires et les pièces grand teint des pièces susceptibles de déteindre.
| Salissure importante, moyenne, légère | Séparez les pièces selon le degré de salissure. |
| Couleur blanc, couleurs claires, couleurs sombres | Séparez le linge blanc du linge couleur. |
| Peluches producteurs / capteurs de peluches | Lavez séparément les pièces produitant des peluches et celles qui les attrent. |
Chargement
- Introduisez les pièces dans le lave-linge en évitant de tasser. Pour un lavage optimal et sans formation de plis, le linge doit pouvoir être brassé sans contrainte dans l'eau de lavage.
- Chargez correctement la machine et sélectionnez le réglage approprié en fonction de la charge. Une surcharge de la machine ou la sélection d'un réglage insuffisant par rapport à la charge peut avoir les conséquences suivantes :
- Nettoyage imparfait - Linge anormalement froissé - Excès de peluches - Usure prématurée des pièces consécutive au boulochage
- Mélangez des pièces de tailles différentes dans une même charge et répartissez ces pièces de façon égale afin d'assurer la stabilité de la machine. Celle-ci peut en effet vibrer en cours d'essorage si la charge est mal équilibrée.
- Si vous avez réglé la machine pour une charge réduite, sélectionnez un temps de lavage en conséquence. Une charge composée de pièces de petite taille et peu nombreuses nécessite en effet un temps de lavage moindre.
- Pour les vêtements à apprêt permanent et pour certains synthétiques, il convient de sélectionner un réglage correspondant à une charge importante afin de limiter les antifroissage. Le brassage de ces pièces dans l'eau nécessite plus d'espace que pour les pièces lourdes, serviettes, jeans....
Ajout du détergent
Distributeur de produits lessiviels
Ajout de l'assouplissant
- Vous pouvez, si vous le souhaitez, ajouter une dose d'assouplissant liquide dans le compartiment correspondant.
- Versez l'assouplissant liquide dans le distributeur en respectant la quantité recommandée sur le conditionnement.
- Ne dépassez pas le repère indiquant la quantité maximale. En cas de trop-plein, l'assouplissant risque d'être diffusé trop précocement, ce qui peut tacher le linge.
- N'ouvre pas le distributeur en cours d'alimentation en eau.
- Évitez de verser l'assouplissant directement sur le linge.
| Bouton March/Arrêt. | |
| Bouton d'arrêt temporaire et de remise en marche. Si vous souhaitez changer de programme en cours de cycle, appuyez sur la touche «Départ/pause» → Sélectionnez le programme souhaité → Appuyez de nouveau sur la touche «Départ/pause». | |
| You pouvez sélectionner le cycle souhaité. Le tímein correspondant s'allume alors. Pour plus de détails, veuillez vous reporter aux pages 13~20. | |
| Temp. | Cette touche permet de régler la température de l'eau en fonction du type de linge à laver. Chaque appui sur la touchemodifie le réglage de la température selon la série suivante: : Froid → 30°C → 40°C → 60°C → 95°C |
| Essorage | You pouvez désirir la vitesse d'essorage souhaïée. Le tímein correspondant au cycle sélectionné s'allume. |
| Lavage | You pouvez sélectionner le cycle souhaïé. Le tímein correspondant s'allume alors. Appuyez sur cette touche autant de fois que nécessaire pour désirir le cycle souhaïé: Lavage → Trempage → Prélavage |
| Séchage | You pouvez sélectionner le cycle souhaïé. Le tímein correspondant s'allume alors. |
| Amèt Diffé | You pouvez sélectionner le cycle souhaïé. Le tímein correspondant s'allume. |
| Septement Duv | Cette fonction Prélavage Vapeurbine consiste à créé de la vapeur dans le tambour pour enlever les tâches plus facilement avant le lavage. |
| Mémes | Cette fonction vous permet d'enregister le programme souhaité. |
| Rins+, | Pour deaillesurs résultats ou pour un rincege en profondeur, sélectionnez l'options « Rincege + ». |
1. Selection automatique du COTON à la mise sous tension
- Appuyez sur la touche Marche/Arrêt pour démarrer le lave-linge.
- Appuyez sur la touche Départ/Pause.
- Paramètres par défaut :
-Programme: Coton - Lavage : sans prélavage - Rinage: 3 cycles - Essorage : Série C(D)-LU : 800 tr/mn, Série C(D)-LD : 800 tr/mn - Température de l'eau: 40°C
2. Selection manuelle
- Appuyez sur la touche Marche/Arrêt pour démarrer le lave-linge.
- Sélectionnez les paramètres de votre choix en tournant le sélecteur de programmes et en appuyant sur les différentes touches.
- Appuyez sur la touche Départ/Pause.
3. LAVAGE fin différée
- Cette fonction permet de différer la fin du lavage. Le lave-linge calcule seul l'heure de départ du cycle en fonction du programme choisi et du temps nécessaire pour le réaliser. Aprè supplémentaire.
- Validez en appuyant sur le bouton « Départ/Pause »

- Chaque appui sur la touche diffère le lavage d'une heure supplémentaire.
- La commande est enregistrée.
- Si vous souhaitez vérifier le programme sélectionné, appuyez de nouveau sur la touche Départ/Pause.
- Préparation du lavage avant lavage Fin différent :
- Ouvrez le robinet d'eau.
- Introduisez le linge et fermez le hublot.
- Mettez le détergent et l'assouplissant dans le distributeur de produits lessiviels.
- Pour annuler le fin différé, appuyez sur la touche Marche/Arrêt.
4. Programmes
- Programmes recommandés selon le type de linge
| Programme | Type de textile | Temp. appropriée | Données par défaut | Charge max. |
| Coton/Normal | Vérifiez tout d'abord que le linge peut être lavé en machine (coton blanc, linge de maison, serviette et draps...) | 60 °C(Froid, 30°C, 40°C, 95°C) | Prélavage Rinceage+ | Nominale |
| Tissu grand teint (chemises, chemises de nuit, pyjamas,...) et cotons blancs peu sales (sousvêtements, ...) | 40°C(Froid, 30°C, 60°C) | Prélavage Rinceage+ | Nominale | |
| Synthétiques | Polyamide, acrylique, polyester | 30°C(Froid, 40°C) | Prélavage Rinceage+ | Moins de 3kg |
| Délicats/Lavage main | Linge fragile et délicat (soie, rideaux,...) | Froid | Moins de 3kg | |
| Intensif | Linge très sale (jeans, vêtementsd'escalade, sac à dos, vêtements de sport,...) | 60°C(Froid, 30°C, 40°C, 95°C) | Prélavage Rinceage+ | Voir niveau nominal |
| Rapide 20" | Linge couleur grand teint etmodérément sale. | Froid | Moins de 3kg | |
| Programme Basket | Programme exclusivement réservé aux chaussures de sport | Froid(Froid, 30°C, 40°C) | Prélavage Rinceage+ | |
| Nettoyagedu tambour | Programme pour nettoyer le tambour sans charger la machine | Froid | Sans charge | |
| Vidange | Evacuation de l'eau |
- Préavage : Cette option est recommandée lorsque le linge est particulièrement sale. Elle peut être utilisée pour le coton et les synthétiques.
- Rincage+ : Cette option permet de lancer un rincage supplémentaire, ce qui peut être utile pour éliminer les résidus de détergent.
| 1 | Placez le linge dans le tambour. Versez la lessive et l'assouplissant dans le bac à lessive. Ensuite, fermez le hublot. • Versez la lessive dans les compartments lavage et prélavage du bac à lessive. L'assouplissant ne doit pas dépasser le trait « MAX ». • Ne versez la lessive dans le compartment prélavage que si vous souhaitez opter pour un prélavage. • Si vous souhaitez utiliser un agent de blanchiment, versez-le dans le compartment lavage avec la lessive. |
| 2 | Appuyez sur le bouton marche/arrêt. • La DEL indique uniquement « - - - » et tous les voyants associés aux programmes s'allument. |
| 3 | Sélectionnez Coton à l'aide du sélecteur de programmes. • Si vous appuyez successivement sur les touches Marche/Arrêt et Départ/Pause sans sélectionner de programme, le programme est sélectionné par défaut. • « Lavage », « 3 » rinçages, essorage à « 800 » tr/min et eau à « 40°C » sont sélectionnés automatiquement. • Si vous foulez modifier la température de lavage, modifier la vitesse d'essorage ou ajouter des options de lavage Rinçage+, Anti froissage, appuyez sur les touches correspondantes. |
| 4 | Appuyez sur la touche «Départ/pause». • Si le hublot est verrouillé et l'eau ouverte, le lave-linge se met en marche. |
Remarques
- Si vous souhaitez modifier le réglage en cours de lessive, appuyez sur la touche Départ/Pause pour interrompre la machine puis appuyez sur la touche de votre choix.
- Températures de lavage sélectionnables avec ce programme : "30", "40", "60" et "95" °C.
- Options de lavage sélectionnables avec ce programme : Préavage, Rince+, et Anti-froissage.
Attention
- Si vous sélectionnez une température de lavage de 95°C, une certaine quantité d'eau froide est introduite dans la machine de façon à réduire la température de l'eau de lavage avant vidange, et ainsi protéger l'utilisateur contre les risques de brûlure. Il ne s'agit donc pas d'un dysfonctionnement.
Il convient toutefois de rester prudent, car l'eau de vidange peut être encore assez chaude malgré la réduction de sa température.
- PROGRAMMES SYNTHÉTIQUES
| 1 | Placez le linge dans le tambour. Versez la lessive et l'assouplissant dans le bac à lessive. Ensuite, fermez le hublot. • Versez la lessive dans les compartments lavage et prélavage du bac à lessive. L'assouplissant ne doit pas dépasser le trait « MAX ». • Ne versez la lessive dans le compartment prélavage que si vous souhaitez opter pour un prélavage. • Si vous souhaitez utiliser un agent de blanchiment, versez-le dans le compartment lavage avec la lessive. |
| 2 | Appuyez sur le bouton marche/arrêt. • La DEL indique uniquement « - - - » et tous les voyants associés aux programmes s'allument. |
| 3 | Sélectionnez Coton à l'aide du sélecteur de programmes. • « Lavage », « 3 » rincages, essorage à « 800 » tr/min et eau à « 40°C » sont sélectionnés automatiquement. • Si vous foulez modifier la température de lavage, modifier la vitesse d'essorage ou ajouter des options de lavage Rincage+, Anti froissage, appuyez sur les touches correspondantes. |
| 4 | Appuyez sur la touche «Départ/pause ». • Si le hublot est verrouillé et l'eau ouverte, le lave-linge se met en marche. |
Remarques
- Si vous souhaitez modifier le réglage en cours de lessive, appuyez sur la touche Départ/Pause pour interrompre la machine puis appuyez sur la touche de votre choix.
- Températures de lavage sélectionnables avec ce programme : "30", "40" et "60" °C uniquement.
- Options de lavage sélectionnables avec ce programme : Préalavage, Rincage+ et Anti froissage.
- Poids de linge approprié pour ce programme : moins de 3 kg.
Programme délicats & LAVAGE MAIN
| 1 | Placez le linge dans le tambour. Versez la lessive et l'assouplissant dans le bac à lessive. Ensuite, fermez le hublot. • Versez la lessive dans les compartments lavage et prélavage du bac à lessive. L'assouplissant ne doit pas dépasser le trait « MAX ». • Si vous souhaitez utiliser un agent de blanchiment, versez-le dans le compartment lavage avec la lessive. |
| 2 | Appuyez sur le bouton marche/arrêt. • La DEL indique uniquement « - - - » et tous les voyants associés aux programmes s'allument. |
| 3 | Sélectionnez Coton à l'aide du sélecteur de programmes. • « Lavage », « 2 » rincages, essorage à « 400 » tr/min et eau à « FROID» sont sélectionnés automatiquement. |
| 4 | Appuyez sur la touche « Départ/pause ». • Si le hublot est verrouillé et l'eau ouverte, le lave-linge se met en marche. |
Remarques
- Tous les programmes sont sélectionnables.
- Poids de linge approprié pour ce programme : moins de 3,0 kg.
- PROGRAMME INTENSIF
| 1 | Placez le linge dans le tambour. Versez la lessive et l'assouplissant dans le bac àlessive. Ensuite, fermez le hublot. • Versez la lessive dans les compartments lavage et préavage du bac à lessive. L'assouplissant ne doit pas dépasser le trait « MAX ». • Ne versez la lessive dans le compartment préavage que si vous souhaitez opter pour un préavage. • Si vous souhaitez utiliser un agent de blanchiment, versez-le dans le compartment lavage avec la lessive. |
| 2 | Appuyez sur le bouton marche/arrêt. • La DEL indique uniquement « - - - » et tous les voyants associés auxprogrammes s'allument. |
| 3 | Sélectionnez "Intensif" à l'aide du sélecteur de programmes. • « Lavage », « 3 » rincages, essorage à « 1000 » tr/min et lavage à « 60°C » sontselectionnés automatiquement. • Si vous fouze modifier la température de lavage, la vitesse d'essorage ou ajouter des options de lavage (Pré lavage, Rincage+, Anti froissage), appuyez sur les touches correspondantes. |
| 4 | Appuyez sur la touche «Départ/pause ». • Si le hublot est verrouillé et l'eau ouverte, le lave-linge se met en marche. |
Remarques
- Si vous souhaitez modifier le réglage en cours de lessive, appuyez sur la touche Départ/Pause pour interrompre la machine puis appuyez sur la touche de votre choix.
- Toutes les températures de lavage sont sélectionnables avec ce programme.
- Options de lavage sélectionnables avec ce programme : Pré-lavage, Rince+ et Anti-froissage uniquement.
- PROGRAMME RAPIDE 20"
| 1 | Placez le linge dans le tambour. Versez la lessive et l'assouplissant dans le bac àlessive. Ensuite, fermez le hublot. • Versez la lessive dans les compartments lavage et prélavage du bac à lessive. L'assouplissant ne doit pas dépasser le trait « MAX ». • Si vous souhaitez utiliser un agent de blanchiment, versez-le dans le compartment lavage avec la lessive. |
| 2 | Appuyez sur le bouton marche/arrêt. • La DEL indique uniquement « - - - » et tous les voyants associés auxprogrammes s'allument.. |
| 3 | Sélectionnez "Intensif" à l'aide du sélecteur de programmes. • « Lavage », « 2 » rincages, essorage à « 800 » tr/min et eau à « FROID » sont sélectionnés automatiquement. |
| 4 | Appuyez sur la touche «Départ/pause ». • Si le hublot est verrouillé et l'eau ouverte, le lave-linge se met en marche. |
Remarques
- Aucun programme ne peut être sélectionné avec le cycle Lavage rapide 20.
- Poids de linge approprié pour ce programme : moins de 3 kg.
- PROGRAMME BASKET
| 1 | Placez le linge dans le tambour. Versez la lessive et l'assouplissant dans le bac à lessive. Ensuite, fermez le hublot. • Versez la lessive dans les compartments lavage et préavage du bac à lessive. L'assouplissant ne doit pas dépasser le trait « MAX ». • Ne versez la lessive dans le compartment préavage que si vous souhaitez opter pour un préavage. • Si vous souhaitez utiliser un agent de blanchiment, versez-le dans le compartment lavage avec la lessive. |
| 2 | Appuyez sur le bouton marche/arrêt. • La DEL indique uniquement « - - - » et tous les voyants associés aux programmes s'allument. |
| 3 | Sélectionnez "Programme BASKET" à l'aide du sélecteur de programmes. • « Lavage », « 2 » rincages, essorage à « 800 » tr/min et eau à « FROID » sont sélectionnés automatiquement. |
| 4 | Appuyez sur la touche « Départ/pause ». • Si le hublot est verrouillé et l'eau ouverte, le lave-linge se met en marche. |
Remarques
- Si vous souhaitez modifier le réglage en cours de lessive, appuyez sur la touche Départ/Pause pour interrompre la machine puis appuyez sur la touche de votre choix.
- Seules les températures Froid, 30°C et 40°C peuvent être sélectionnées pour le programme Vétements Sport.
- PROGRAMME NETTOYAGEDU TAMBOUR
| 1 | Appuyez sur le bouton marche/arrêt. • La DEL indique uniquement le signal « - - - » . |
| 2 | A l'aide du sélecteur, sélectionnez le programme « NETTOYAGE DU TAMBOUR ». • Lavage et essorage 400 tsp et température "eau froide". |
| 3 | Appuyez sur le bouton Départ/Pause. • La porte du lave-linge se verrouille et la cuve commence à se replir d'eau. |
Remarques
- Tous les programmes sont sélectionnables.
- Poids de linge approprié pour ce programme : moins de 3,0 kg.
- PROGRAMME VIDANGE
| 1 | Appuyez sur le bouton marche/arrêt. • La DEL indique uniquement le signal « -- » |
| 2 | Sélectionnez ce programme à l'aide du sélecteur de programmes. |
| 3 | Appuyez sur la touche «Départ/pause ». • Si le hublot est verrouillé et l'eau ouverte, le lave-linge se met en marche. |
Remarques
- Tous les programmes sont sélectionnables.
* Programme fin differee (uniquement pour LAVAGE)
| 1 | Placez le linge dans le tambour. Versez la lessive et l'assouplissant dans le bac à lessive. Ensuite, fermez le hublot. • Versez la lessive dans les compartments lavage et prélavage du bac à lessive. • L'assouplissant ne doit pas dépasser le trait « MAX ». • Ne versez la lessive dans le compartment prélavage que si vous souhaitez opter pour un prélavage. • Si vous souhaitez utiliser un agent de blanchiment, versez-le dans le compartment lavage avec la lessive. |
| 2 | Appuyez sur le bouton marche/arrêt. • La DEL indique uniquement « - - - » et tous les voyants associés aux programmes s'allument. |
| 3 | Sélectionnez le programme à l'aide du bouton rotatif de sélection du programme. • Si vous appuyez sur le bouton « Départ/Pause » après avoir appuyé sur le boutonMarche, mais sans avoir sélectionné de programme, le système sélectionné leprogramme « COTON/NORMAL» par défaut. • Sélectionnez le programme de lavage, le nombre de rinçage, la vitesse d'essorage etla température de l'eau en appuyant sur les boutons correspondants. • Le voyant Fin différé doit semettre à clignoter. • Sélectionnez l'heure de fin différé de votrechoix à l'aide du bouton (chaque pressionpeut être différé de 1 à 12 heures). • L'heure qui s'affiche correspond à l'heure estimée de fin du programme. |
| 4 | Appuyez sur le bouton Départ/Pause. • Si le programme a été correctement configuré, seuls les voyants « Fin différé » et « Verrouillage » sont allumés. |
Remarques
- Pour vérifier quel programme a été sélectionné, appuyez de nouveau sur le bouton Départ/Pause.
- Préparation du lavage avant le début d'une machine à fin différée
- Ouvrez le robinet d'arrivée d'eau.
- Chargez la machine et refermez la porte.
- Mettez la lessive et l'assouplissant dans le bac à produits.
- L'heure réelle de fin peut être légèrement différente de l'heure
- Il est impossible de sélectionner cette fonction « Fin différée » avec les programmes « LINGE DÉLICAT » et « NETTOYAGE TAMBOUR »
- Il est impossible d'ajouter du linge pendant le programme à fin différée.
- LAVAGE UNIQUEMENT
| 1 | Placez le linge dans le tambour. Versez la lessive et l'assouplissant dans le bac àlessive. Ensuite, fermez le hublot. |
| 2 | Appuyez sur le bouton marche/arrêt. • La DEL indique uniquement « - - - » . |
| 3 | Sélectionnez le « CYCLE DE LAVAGE » souhaité à l'aide du bouton «* LAVAGE ». • Le programme « COTON/NORMAL » est sélectionné automatiquement. |
| 4 | Appuyez sur la touche « Départ/pause ». • Si le hublot est verrouillé et l'eau ouverte, le lave-linge se met en marche. |
- ESSORAGE UNIQUEMENT
| 1 | Placez le linge dans le tambour. Ensuite, fermez le hublot. |
| 2 | Appuyez sur le bouton marche/arrêt. • La DEL indique uniquement « - - - » . |
| 3 | Sélectionnez le « ESSORAGE » souhaité à l'aide du bouton «* ESSORAGE » • Le lavage à «FROID » est sélectionné automatiquement. |
| 4 | Appuyez sur la touche « Départ/pause ». • Si le hublot est verrouillé et l'eau ouverte. |
- SECHAGE
| 1 | Placez le linge dans le tambour et fermez le hublot. |
| 2 | Appuyez sur le bouton marche/arrêt. • La DEL indique uniquement « - - - » . |
| 3 | Sélectionnez le « DEGRE DE SECHAGE » souhaïte à l'aide du bouton « SECHAGE ». Appuyez sur ce bouton pour désir entre « Normal » « Fort » « Temps (1:00, 2:00, 3:00, 4:00) » « Arrêt » « Faible » « Repassage » . |
| 4 | Appuyez sur la touche « Départ/pause ». • Le lave-linge se met en marche lorsque vous verrouillez le hublot. |
Remarques
N'utilise pas de lessive ni d'assouplissant. - Le robinet d'eau froide doit être ouvert. - Une fois le programme terminé, [0367E] s'affiche en alternance à l'écran. Le programme de défloissage est exécuté pendant 30 minutes avant que la machine s'arrête. Le « SECHAGE » ne peut pas être utilisé avec les programmes « LINGE DELICAT », « PROGRAMME RAPIDE 20», « NETTOYAGEDU TAMBOUR » et « VIDANGE » - Attention lorsque vous sortez le linge de la machine après le séchage : il peut être très chaud. - Le séchage peut faire rétrécir légèrement et déformer les vêtements. Par conséquent, vérifie que les vêtements peuvent être séchés en machine au préalable. - Si le séchage est insuffisant, choisisse une autre température. - Si vous poulez secher après lavage, après avoir sélectionné le programme, appuyez sur la touche « SECHAGE » puis sur la touche « Départ/pause »
Un bon entretien de votre lave-linge peut en prolonger la durée de vie. Vous trouverez dans cette section des directives pour entretenir la machine de façon appropriée et en toute sécurité.
Nettoyage du lave-linge
| Exterieur | Intérieur |
| À l'aide d'une éponge ou d'un chiffon doux et humide, essuyez immédiatement les éclaboussures de détergent, d'agent de blanchiment ou de tout autre produit. De temps à autre, essuyez les surfaces extérieures du lave-linge afin de lui conserver l'apparance du neuf. | Nettoyez l'intérieur avec un mélange composé de 250 ml d'agent chloré de blanchiment et 500 ml de détergent. Faites tourner le lave-linge sur un cycle complet. Si nécessaire, renouvelez ces opérations. |
| N'introduisez pas d'objects pointus ou métalliques dans votre lave-linge, ceux-ci risquant d'endommager la finition. Vérifiez le contenu de toutes les poches - épingles, trombones, monnaie, vis, écros, etc. Veillez à ce que ces objects ne pénétrent pas dans la machine une fois les poches vidées. | |
Entreposage et transport en temps froid
Installez ou reposez votre lave-linge dans un lieu à l'abri du gel. Il est en effet possible que de l'eau subsiste à l'intérieur des tuyaux, et cette eau peut endommager votre lave-linge si elle vient à geler. Si vous devez entreposer ou transporter votre lave-linge par temps de gel, préparez-le en conséquence "hivérisation".
| Pour "hivériser" le lave-linge | Pour réutiliser le lave-linge |
| • Fermez le robinet d'eau. • Débranchez et vidangez les tuyaux d'arrivée d'eau. • Sélectionnez un réseau de vidange et d'essorage voir page 10 puis faites tourner le lave-linge pendant 1 minute. • Débranchez le cordon d'alimentation. | • Rincez les tuyaux d'arrivée d'eau. • Rebranchez les tuyaux d'arrivée d'eau. • Ouvrez le robinet d'eau. • Rebranchez le cordon d'alimentation. |
Périodes sans utilisation / vacances
N'utilisez votre lave-linge que lorsque vous êtes chez vous.
Si vous partez en vacances ou si vous ne comptez pas utiliser votre lave-linge pendant une période prolongée :
- Débranche le cordon d'alimentation ou coupe l'alimentation électrique du lave-linge.
- Coupe l'alimentation en eau du lave-linge.
Vous éviterez ainsi les inondations dues à une suppression de l'eau au cours de votre absence.
Nettoyage du filtre d'arrivée d'eau
Nettoyez le filtre lorsque l'eau commence à fuir au niveau de l'arrivée.
1 Débranche la prise de courant avant de procéder au nettoyage.
Coupez l'alimentation en eau du lave-linge et débranchez le tuyau d'arrivée.

3 Sortez le filtre d'arrivée d'eau.

4 Avec l'aide d'une brosse, dégagez les impuretés prises dans le filtre.

Nettoyage du filtre de vidange
- Le filtre de vidange retient les corps étrangers tels que fils, pièces de monnaie, épinges, boutons, etc.
- Si ce filtre n'est pas régulièrement nettoyé, normalement toutes les 10 lessives, la vidange risque de ne pas s'effectuer correctement.
ATTENTION L'eau de vidange peut être très chaude.
1 Ouvrez la trappe inférieure (①) avec une pièce de monnaie. Extrayez le bouchon (②) et sortez le tuyau.

2 Placez un récipient sous le bouchon (②) afin d'éviter de répandre de l'eau sur le sol, puis débouchez le tuyau. Lorsque l'eau a fini de s'écouler, ouvrez le filtre (③) de la pompe en tournant vers la gauche.

3 Dégagez tous les corps étrangers pris dans le filtre (③) de la pompe. Après nettoyage, tournez le filtre dans le sens horaire et remettez le bouchon (②) du tuyau en place. Refermez la trappe inférieure.

Nettoyage du distributeur de produits lessiviels
- Au bout d'un certain temps, le détergent et l'assouplissant laissent un dépôt dans le distributeur.
- Nettoyez le distributeur de temps à autre à l'eau courante.
- Au besoin, le distributeur peut être séparé de la machine ; pour cela, déverrouillez le cliquet en exerçant une pression vers le bas, puis tirez sur le distributeur.
- Afin de faciliter le nettoyage, vous pouvez séparer la partie supérieure du compartiment pour assouplissant.



- Du détergent peut également s'accumuler à l'intérieur de la cavité et il est donc nécessaire de nettoyer celle-ci de temps à autre à l'aide d'une brosse.
- Une fois le nettoyage terminé, remettez le distributeur en place et lancez un cycle de rinçage à vide.
Dans le cas de linge taché, très sale ou représentant des traces de gras, il peut être nécessaire de tremper ou de prélaver les pièces afin d'obtenir de meilleurs résultats.
Le trempage facilite l'élimination des taches de nature protéinique - sang, lait, herbe... -, cependant que le prélavage permet d'attendrir la crasse avant le lavage.
Points à retenir pour l'élimination des taches
- Pour le trempage ou le prélavage du linge taché, utilisez de l'eau froide ou tiède. Une eau trop chaude risque de fixer les taches.
- La plupart des taches s'éliminent plus facilement lorsqu'elles sont encore fraîches.
- Avant tout traitement, il convient de déterminer la nature et l'ancienneté de la tache. Vous devez également identifier le type de tissu et vérifier s'il s'agit d'un tissu grand teint. Reportez-vous à l'étiquette d'entretien.
- Le lavage et le séchage peuvent fixer certaines taches.
- Commencez avec de l'eau froide ou tiède. Une eau trop chaude risque de fixer les taches.
- Si un agent de blanchiment est recommandé, assurez-vous que le produit utilisé ne va pas dégrader le tissu.
- Retournez la surface tachée, posez-la sur une serviette en papier ou sur un chiffon blanc, puis appliquez le détachant au dos de la tache. Ainsi, la tache sera directement extraite du tissu au lieu de le traverser.
Guide d'élimination des taches
| TACHE | TO REMOVE |
| Sang | Rincez immédiatement à l'eau FROIDE.Si la tache persististe, trempez-la dans de l'eau froide additionné de produit de prélavage enzymatique. |
| Chewing gum | Mettez des glaçons dans un sac en plastic puis appliqué cesqui ci sur lagomme afin de la durcir.Grattez autant degomme que possible puis épongez avec du white spirit. |
| Cacao, chocolat | Épongez avec de l'eau FROIDE et trempez dans un produit de prélavage enzymatique.Si la tache persististe, frottez avec une petite quantité de détergent et rincez à l'eau froide. |
| Café | Séchez rapidement puis rincez à l'eau FROIDE. Frottez avec une petite quantité de détergent et lavez à la température maximale prescrite pour le type de tissu. |
| Crème/lait, crème glacée | Rincez à l'eau FROIDE puis lavez normalement.Si la tache ne disparait pas, épongez avec du white spirit. |
| Désodorisant | Frottez la surface tachée avec du vinaigre blanc puis rincez à l'eau FROIDE.Eppongez avec du white spirit. Traitez les zones durcies avec un produit de prélavage enzymatique. |
| OEuf | Trempez dans un produit de prélavage enzymatique à FROID, rincez puis lavez normalement. |
| Assouplissant | Frottez la surface tachée avec du savon en pain puis lavez normalement. |
| Fruits | Traitez aussi rapidement que possible en épongeant avec de l'eau FROIDE.Frottez avec une petite quantité de détergent et lavez normalement. |
| Herbe | Épongez avec du white spirit. Frottez avec un produit de prélavage enzymatique et lavez normalement. |
| Graisse, huile | Retournez la surface tachée, posez-la sur un chiffon absorbant puis tratiez la surface opposée à la tache.Eppongez avec du white spirit ou un liquide de nettoyage à sec puis lavez normalement. |
| Fer, rouille | Appliquez du jus de citron et du sel, laissez sécher au soleil puis lavez normalement. |
| Rouge à lèvres | Épongez avec de l'alcool à brûler et lavez normalement. |
| Moisissure | Lavez dans de l'eau TIÈDE additionné de détergent. Imprégnez la surface tachée avec du jus de citron, laissez sécher au soleil puis lavez normalement. Si la tache persististe et si le tissu s'y prête, utilisez un agent de blanchiment. |
| Boue | Éliminez autant de boue séchée que possible avec unerosse puise rincez à l'eau froide.Si la tache persististe, frottez avec une petite quantité de détergent puis lavez normalement. |
| Peinture à l'huile | Grattez autant de peinture fraîche que possible, épongez avec un liquide de nettoyage à sec ininflammable puis lavez normalement. |
| Peinture à l'eau | Traitez pendant que la tache est encore humide, rincez à l'eau TIÈDE puis lavez normalement. |
| Traces de brûlle | Imprégnez un chiffon de peroxyde d'hydrogène, posez-le sur la surface roussie et repassez avec un fer assez chaud. |
La plupart des problèmes se résolvent facilement lorsqu vous pouvez en déterminer la cause.
En cas de problème, reportez-vous à la liste ci-après avant de contacter le service après-vente.
Si le mode d'erreur tel qu'IE, OE, UE s'affiche sur le panneau de commande,
Afin de résoudre ce problème, dans un premier temps éteignez la machine à laver
et puis allumez-la en appuyant sur le bouton POWER.
Si le mode d'erreur PFE s'affiche sur le panneau de commande, afin de résoudre ce problème,
1) Éteignez la machine à laver 2) Allumez-la en appuyant sur le bouton POWER 3) Appuyez sur SPIN 4) Et puis appuyez sur START
| PROBLÈME | CAUSE POSSIBLE |
| • Le lave-linge ne fonctionne pas. | • Le courant est coupé. • Le cordon d'alimentation n'est pas correctement branché sur une prise électrique. • La machine n'a pas été mise sous tension. • Vous n'avez pas appuyé sur la touche Départ/Pause. • La quantité de linge introduite dans la machine n'est pas appropriée. |
| • L'eau n'arrive pas Erreur affichée IE | • Le tuyau d'acciviée n'est pas raccordé ou le robinet d'eau n'est pas ouvert. • Le tuyau d'acciviée ou le robinet d'eau est gelé. • L'alimentation en eau est coupée. • Le filtre du tuyau d'acciviée est obstrué par des corps étrangers. |
| • Le lave-linge ne vidange pas Erreur affichée IE | • Le tuyau de vidange est gelé ou obstrué par des impuretés. • Le tuyau de vidange est plié ou déformé. • L'extrémité du tuyau de vidange n'est pas immergée dans l'eau. • Le filtre de vidange compte une quantité excessive d'impuretés. |
| • Le lave-linge n'essore pas Erreur affichée UE | • Le linge s'est accumulé sur l'un des côtés du tambour. • La machine est installée sur un sol inégal ou produit de fortes vibrations. • Le hublot n'est pas fermé allumage du voyant “LE” dans ce cas. |
| • Si la vitesse d'essorage sélectionnée est insuffisante la machine s'arrête pendant l'essorage. Erreur affichée PTE | • Le filtre de la pompe de vidange est-il obstrué? • La pompe de vidange est-elle en marche? • Avez-vous utilisé la quantité approprié de dessive? • Le tuyau de vidange est-il situé à plus d'un mètre de hauteur du sol? |
| • Le lave-linge vibre et est trop bruyant | • La machine est installée sur un sol inégal. • Toutes les vis de transport n'ont pas été extraites. |
Les deux phénomènes suivants ne constituent pas des dysfonctionnements : - Le son "wing" perçu au cours de l'alimentation en eau est dû au fonctionnement de la vanne d'arrivée d'eau.
| MODELE | DWC-LDC141KC/DWC-LDC1412 |
| Dimensions (mm) | 600 X 645 X 850 |
| Charge de linge sec max. | 9 Kg |
| Poids net de l'appareil (kg) | 76/78 |
| Consommation d'eau standard | 120 Ω |
| Vitesse d'essorage du tambour (tours/min.) | MAX 1400 |
| Pression d'eau en service | 0.03MPa ~ 0.8MPa (0.3kgf/cm2 ~ 8kgf/cm2) |
Schéma de câblage
DWC-LD'S
13/14
Traitement des appareils électriques et électroniques en fin de vie (applicable dans les pays de l'Union européenne et aux autres pays européens disposant de systèmes de collecte sélective).
Ce symbole, apposé sur le produit ou sur son emballage, indique que ce produit ne doit pas être traité avec les déchets ménagers. Il doit être remis à un point de collecte approprié pour le recyclage des équipements électriques et électroniques. En s’assurant que ce produit est bien mis au rebut de manière appropriée, vous aiderez à prévenir les conséquences négatives potentielles pour l’environnement et la santé humaine. Le recyclage des matériaux aidera à conserver les ressources naturelles. Pour toute information supplémentaire au sujet du recyclage de ce produit, vous pouvez consulter votre municipalité, votre déchetterie ou le magasin où vous avez acheté le produit.
Notice Facile