AELIA 2 10 CD - Climatiseur AIRWELL - Notice d'utilisation et mode d'emploi gratuit

Retrouvez gratuitement la notice de l'appareil AELIA 2 10 CD AIRWELL au format PDF.

📄 28 pages Français FR 💬 Question IA 10 questions ⚙️ Specs
Notice AIRWELL AELIA 2 10 CD - page 3
Intitulé Description
Type de produit Climatiseur monobloc
Capacité de refroidissement 10 000 BTU/h
Alimentation électrique 230 V - 50 Hz
Dimensions approximatives Dimensions : 800 x 450 x 380 mm
Poids Environ 30 kg
Type de fluide frigorigène R410A
Fonctions principales Refroidissement, déshumidification, ventilation
Niveau sonore 55 dB(A) en fonctionnement
Entretien et nettoyage Filtres à nettoyer régulièrement, évacuation des condensats à vérifier
Pièces détachées et réparabilité Disponibilité des pièces détachées à vérifier auprès du fabricant
Consommation énergétique Classe énergétique A
Garantie 2 ans
Informations générales Idéal pour des pièces jusqu'à 30 m²

FOIRE AUX QUESTIONS - AELIA 2 10 CD AIRWELL

Que faire si l'AIRWELL AELIA 2 10 CD ne s'allume pas ?
Vérifiez que l'appareil est correctement branché sur une prise électrique fonctionnelle. Assurez-vous que le disjoncteur n'a pas sauté. Si le problème persiste, contactez le service client.
Comment régler la température sur l'AIRWELL AELIA 2 10 CD ?
Utilisez la télécommande fournie pour ajuster la température. Appuyez sur les boutons '+' ou '-' pour augmenter ou diminuer la température souhaitée.
Pourquoi l'AIRWELL AELIA 2 10 CD fait-il du bruit ?
Un léger bruit est normal lors du fonctionnement. Cependant, si le bruit est fort ou inhabituel, vérifiez que l'appareil est installé correctement et qu'il n'y a pas d'obstructions. Si le bruit persiste, contactez un technicien.
Comment nettoyer le filtre de l'AIRWELL AELIA 2 10 CD ?
Éteignez l'appareil et débranchez-le. Retirez le filtre et nettoyez-le à l'eau tiède et savonneuse. Laissez-le sécher complètement avant de le remettre en place.
L'AIRWELL AELIA 2 10 CD ne refroidit pas suffisamment, que faire ?
Assurez-vous que les fenêtres et les portes sont fermées. Vérifiez également que le filtre est propre. Si l'appareil continue de ne pas refroidir, il peut nécessiter une recharge de fluide frigorigène.
Est-ce que l'AIRWELL AELIA 2 10 CD peut être utilisé en mode chauffage ?
Oui, l'AIRWELL AELIA 2 10 CD dispose d'une fonction de chauffage. Vous pouvez l'activer via la télécommande en sélectionnant le mode approprié.
Quel est le niveau sonore de l'AIRWELL AELIA 2 10 CD ?
Le niveau sonore de l'AIRWELL AELIA 2 10 CD est généralement de 30 à 40 dB, ce qui est comparable à un bruit de fond léger.
Comment réinitialiser l'AIRWELL AELIA 2 10 CD ?
Pour réinitialiser l'appareil, débranchez-le pendant environ 10 minutes, puis rebranchez-le. Cela peut résoudre certains problèmes de fonctionnement.
Où trouver le manuel d'utilisation de l'AIRWELL AELIA 2 10 CD ?
Le manuel d'utilisation est généralement inclus dans l'emballage. Sinon, vous pouvez le télécharger sur le site officiel d'AIRWELL dans la section 'Support' ou 'Téléchargements'.

Questions des utilisateurs sur AELIA 2 10 CD AIRWELL

1 question sur cet appareil. Repondez a celles que vous connaissez ou posez la votre.

Poser une nouvelle question sur cet appareil

L'email reste privé : il sert seulement à vous prévenir si quelqu'un répond à votre question.

Que signifie le code erreur E3 sur le climatiseur AIRWELL AELIA 2 10 CD et comment le résoudre ?
FAQ fréquente - 06/01/2026
Réponse Notice-Facile

Le code erreur E3 sur le climatiseur AIRWELL AELIA 2 10 CD indique généralement un problème lié à la température, souvent associé à un dysfonctionnement du capteur de température ou à une température anormale détectée par l'appareil.

Signification du code erreur E3

Ce code peut signaler :

  • Une température d'eau ou d'air trop élevée ou trop basse dépassant les seuils de sécurité.
  • Un capteur de température défectueux, mal connecté ou obstrué.

Étapes pour résoudre le problème

  1. Vérifiez la température ambiante ou de l'eau : Assurez-vous que la température autour de l'appareil est dans les plages recommandées et qu'aucune source de chaleur excessive ne perturbe son fonctionnement.
  2. Inspectez le capteur de température : Si possible, examinez le capteur pour détecter tout dommage, obstruction ou mauvais contact. Un capteur défectueux peut envoyer des informations erronées à l'appareil.
  3. Contrôlez les connexions électriques : Vérifiez que les câbles et connecteurs liés au capteur sont bien fixés et en bon état.
  4. Redémarrez l'appareil : Éteignez le climatiseur, attendez quelques minutes, puis rallumez-le pour voir si l'erreur disparaît.

Si après ces vérifications le code erreur persiste, il est conseillé de faire appel à un professionnel qualifié pour diagnostiquer et réparer l'appareil afin d'éviter tout dommage supplémentaire.

Répondre (soyez le premier)

Téléchargez la notice de votre Climatiseur au format PDF gratuitement ! Retrouvez votre notice AELIA 2 10 CD - AIRWELL et reprennez votre appareil électronique en main. Sur cette page sont publiés tous les documents nécessaires à l'utilisation de votre appareil AELIA 2 10 CD de la marque AIRWELL.

MODE D'EMPLOI AELIA 2 10 CD AIRWELL

Ce nouveau climatiseur split mobile compte une unité interieure et une unité extérieure reliées par un tuyau couple. Les quatre roulettes dont l'unité interieure et l'unité extérieure est dotée en facilitent le transport.

Le climatiseur que vous venez d'acquérir est pré à l'emploi. Aucune installation spéciale n'est requise. Il vous suffit de suivre les instructions qui sont simples et de profiter de ce climatiseur à multiples fonctions.

Ce climatiseur portable est équipé d'un système de commande microproceseur électronique et de deux systèmes paralleles de fonctionnement, donnant à l'utiliser lechioix entre la commande directe et la commande à distance, ainsi qu'un réglage et un contrôle précis, un fonctionnement temporisé et un système de protection incorpore assurant un fonctionnement sur.

MODELE ÉLECTRONIQUE SEULEMENT

Le climatiseur électronique sont équipé d'un système de contrôle à microprocesseur électronique, qui permet à l'utilisateur deCHOISIR le mode de télécommande locale ou à distance, et qui permet aussi de fixer et de contrôler la température, et demettre le minuteur en marche. Il est doté d'un système de protection incorpore pour un fonctionnement sans problèmes et efficace.

Capacité basée sur des tests effectuels dans les conditions suivantes :

A l'interieur: 27^ / 80^ DB- 19^ / 67^ WB

A l'extérieur : 35°C/95°F DB - 24°C/72°F WB

Conformément aux conditions de ISO 5151, T1.

La capacité effective de refroidissement peut varier selon les conditions d'environnement locales.

Conditions nominales de fonctionnement:

A l'interieur: 21-32°C / 70-90°F

A l'extérieur: 21-43°C / 70-109°F

LIRE LES INSTRUCTIONS AVANT DE METTRE LE CLIMATISEUR EN MARCHE.
- SI VOTRE CLIMATISEUR EST UNIQUÉMENT DESTINÉ AU REFROIDISSEMENT IGNORER LES INSTRUCTIONS CONCERNANT LE CHAUFFAGE.

REMARQUES IMPORTANTES:

ATTENTION

  • Ce climatisationur doit être fixé au sol pour éviter tout danger de chocolélectrique.
  • Les branchements électriques et le remplacement du fil électricque doivent être effectués uniquement par des électriciens qualifiés conformément aux régulations électriques et aux codes électriques locaux.
  • Ne pas exposer à la pluie.

A la première utilisation du climatiseur, veuillez suivre les étapes suivantes:

  1. Lire attentivement les instructions et se familiariser avec les modes de contrôle.
  2. Brancher l'appareil sur une prise munie du fusible approprié.
  3. Vérifier que toutes les opérations fonctionnent convenablement en utilisant l'unité de télécommande et l'unité de mise en marche.
  4. Répéter l' étape 3 lorsque l'unité de télécommande est dans son compartment.
  5. Debrancher le fil électrique de son socle, attendre 3 minutes et rebrancher l'unité.

MODELES A BRANCHEMENT RAPIDE jusqu'a 3.1 KW et 4.1 KW . pages : 8-10

MODELES ÉLECTRONIQUES jusqu'à 3.1 KW et 4.1 KW pages: 11-19

MODELES MECHANIQUES jusqu'a 3.1 KW et 4.1 KW pages: 20-21

AIRWELL AELIA 2 10 CD - ATTENTION - 1

DESCRIPTION

AIRWELL AELIA 2 10 CD - DESCRIPTION - 1
Modèles électromécaniques 3.1 KW

AIRWELL AELIA 2 10 CD - DESCRIPTION - 2
Modèlelectronique3.1 KW

AIRWELL AELIA 2 10 CD - DESCRIPTION - 3
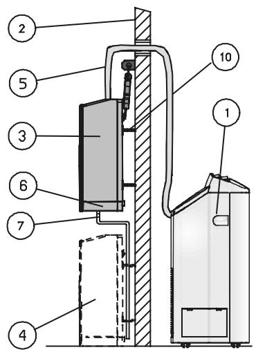
Figure 1: Description des composantes extérieures et intérieures de l'unité (avant)
Modèles électromécaniques 4.1 KW

  1. Contrôles (pour modèle électromécanique)
  2. Indicateurs (LEDs)
  3. Ajustage de la grille d'approvisionnement d'air
  4. Poignée de transport- l'unité interieure
  5. Porte du réservoir d'eau
  6. Roulettes

  7. Liaison frigorifique

  8. Poignée de transport- l'unité extérieure
  9. Bac récapération de l'eau
  10. Grille du ventilateur du condenseur
  11. Télecommande (modèles électroniques seulement)

AIRWELL AELIA 2 10 CD - DESCRIPTION - 4
Modèles 3.1 KW

AIRWELL AELIA 2 10 CD - DESCRIPTION - 5
Modèles 3.1 KW - Avec branchements rapides

AIRWELL AELIA 2 10 CD - DESCRIPTION - 6
Modèles 4.1 KW

AIRWELL AELIA 2 10 CD - DESCRIPTION - 7
Modèles 4.1 KW - Avec branchements rapides
Figure 3: Description des composantes extérieures et intérieures de l'unité (arrière)

  1. Couvercle de débranchement rapide (optionnel)
  2. Trous d'assemblage
  3. Admission de return d'air
  4. Tuyau de vidage avec unité de branchement interieur
  5. Poignée du filtré d'air
  6. Fil électrique

  7. Espacement des trous de goujons

  8. Tuyau de vilage avec unité de branchement extérieur
  9. Unité extérieure à roulettes (seulement pour le modele 4.1 KW)
  10. Support de suspension
  11. Espacement des trous de goujons

□ ACCESSORIES

Ce climatiseur split mobile peut etre instalé par l'utilisateur, comme suit :

Choisir un endroit approprié pour l'unité intérieure, à côté d'une ouverture donnant sur l'extérieur (fenêtre ou porte). Une prise de courant mise à la terre de 230 V doit se trouver à moins de 2.5 mètres.

L'unité extérieur peut être suspendue à la fenêtre ou au mur, ou bien place à même le sol à proximité d'une porte. S'assurer qu'elle soit stable et correctement fixée à son support (voir Fig. 5).

La distance minimum entre l'unité extérieure et le mur doit être de 6 cm.

Veiller à ce que sa poignée et son tuyau couple soient diriges vers le haut. Pour assurer une bonne évacuation de l'eau de condensation, veiller à ce que l'unité soit installée de niveau.

En cas d'humidité importante, le bac de récapération des eaux de condensat (6) peut déborder. Siça arrive suivant il est recommandé d'utiliser un tuyau de vidange permanent (7) d'un diamètre de 13 mm OD, branché au drain.

POUR MODELES 4.1 KW

Dans le mode refroidissement (voir détaill A), le tuyaux de vidange (8) doit être dirigé vers le haut; utilisé le collier (9).

Dans le mode chauffage (voir détail B), le tuyaux de vidange (8) doivent être débranche du son collier (9) et dirigé en bas vers le point de drain.

AIRWELL AELIA 2 10 CD - POUR MODELES 4.1 KW - 1
For model 3.1. KW

  1. Unité interieure
  2. Fenêtre
  3. Unité extérieure, montage mur
  4. Unité extérieure, montage sol
  5. Tuyau de raccordement

  6. Bac récapération eaux de condensation de l'unité extérieure

  7. Tuyau de vidange de débordement
  8. Tuyau de vidange
  9. Collier du tuyau
  10. Goujon d'espace

Un kit standard (voir Fig. 8), fourni avec le climatiseur permet de monter l'unité extérieure soit sur le rebord d'une fenêtre (Fig. 6) soit sur le mur (Fig. 7); réfères s.v.p. à la Figure 7 pour les directives de montage suivantes.

  1. Viser les 4 goujons (1) sur le dos de l'unité pour assurer libre circulation de l'air.
  2. Pour le montage sur le rebord de la fenêtre se reporter à la Fig. 5. Placer la console de support (3) sur le rebord de la fenêtre,encer quatre trous et monter la console solidement à l'aide des quatre vis.
  3. Attaché les deux crochets inférieurs de cotés de l'unité.
  4. Passe l'unité extérieure par la fenêtre et attaché les deux crochets supérieurs (4) sur les cotés de la console de support (3).
  5. Vérifiez que l'unité soit bien soutenue, stable et en position horizontale. Des rubans de suspension peuvent être pourmettre l'unité à l'horizontale.
  6. Pour le montage sur le mur se reporter à la Fig. 7. Placer la console de support (3) contre le mur, percer quatre trous et monter la console solidement à l'aide des quatre vis. Vérifiez que la console soit en position horizontally.

AIRWELL AELIA 2 10 CD - POUR MODELES 4.1 KW - 2
Figure 6. Montage de l'unité extérieure sur le rebord d'une fenêtre

AIRWELL AELIA 2 10 CD - POUR MODELES 4.1 KW - 3
Figure 7. Montage de l'unité extérieure sur un mur

Pour tous les modèles jusqu'à 3.1 KW et 4.1 KW

  1. Goujons d'espace (x4)
  2. Ruban de suspension
  3. Console de Support
  4. Crochet supérieur (x2)
  5. Crochet inférieur (x2)
  6. Goujons (4)
  7. Rondelle (x4)
  8. Écrou (x4)
  9. Console de Support (pour les modèles de 3.1 KW)

AIRWELL AELIA 2 10 CD - POUR MODELES 4.1 KW - 4
Figure 8. Kit de montage de l'unité extérieure

AIRWELL AELIA 2 10 CD - POUR MODELES 4.1 KW - 5

AIRWELL AELIA 2 10 CD - POUR MODELES 4.1 KW - 6

AIRWELL AELIA 2 10 CD - POUR MODELES 4.1 KW - 7

AIRWELL AELIA 2 10 CD - POUR MODELES 4.1 KW - 8
Figure 9

Pratiquer une ouverture dans la partie interieure de la porte ou du chassin de fenetre pour le passage du tuyau de raccord (voir Fig. 9).

Faire passer par cette ouverture la liaison frigorifique, le cable et le tube de vidange, en veillant à ne pas comprimer le tuyau couple et en évitant les coudes et toute torsionforcée. Avant demettre l'appareil en marche, fermer la porto ou la fenetre, et utiliser les ventouses si cela est nécessaire.

NOTES

a. Si vous utilisez le climatiseur dans des pieces différentes, il est recommendé de boucher l'ouverture non utilisée de la fenetre ou de la porte.
b. En transporte l'appareil, veiller à le tener en position verticale (déflecteur d'air vers le haut). En-retirant l'unité extérieure, vider l'eau accumulée dans le bas en l'inclinant sur le côté

UTILISATION DE LA LIAISON DEMONTABLE (OPTIONNEL)

La liaison démontable est utilisé lorsque l'appareil doit être installé à travers un mur. Elle permet de séparer temporairement les unités interieures et extérieures. Cette liaison passée à travers un mur donnant sur l'extérieur.

DEMONTAGE DES UNITS (Voir Figures 10 et 11)

Pour séparer l'unité interieure de l'unité extérieure, suivre les instructions suivantes:

ATTENTION: S'assurer que l'appareil est débranché.

ETAPE 1. Enlever le couvercle (1) après avoir devissé les écrous (2).

ETAPE 2. Débrancher le connecteur électrique (3) et l'enlever de son logement (4).

ETAPE 3. Séparer le tuyau dé drainage (9) du bac de récapuration (10).

ETAPE 4. Enlever le collier (12) en desserrant sa vis.

ETAPE 5. Desserrer le raccord haute pression (5) de la piece avec lequel il correspond (6) en la devissant de la façon suivante:

  • Maintenir l'écrou hexagonal (13) à l'aide de la clé numéro 2 fournie (20) et dévisser avec la clé numéro 1 fournie (19) l'écrou hexagonal (5).
  • Dévisser doucement l'écrou (5) et séparer les 2 pieces (5) et (6).

ETAPE 6. Desserrer le raccordasse pression (7) de la piece avec lequel il correspond (8) en la devissant de la façon suivante:

  • Maintenir l'écrou hexagonal (14) à l'aide de la clé numéro 2 fournie (20) et dévisser avec la clé numéro 1 fournie (19) l'écrou hexagonal (7).
  • Dévisser doucement l'écrou (7) et séparer les 2 pieces (7) et (8).

ETAPE 7. Enlever le collier du tuyau de raccordement 21) en desserrant sa vis.

ETAPE 8. Pour protégé les orifices du tuyau de tout matériel ou contamination, bouchez-les à l'aide des prises et des couvercles ; se référer à la figure 11. Insérez la prise (16) dans l'écrou (5), la prise (18) dans l'écrou (7). Mettre (15) sur la piece (6) etmettre (17) sur la piece (8). Resserrez légarement tous ces éléments.

AIRWELL AELIA 2 10 CD - UTILISATION DE LA LIAISON DEMONTABLE (OPTIONNEL) - 1
Figure 11
Figure 10

MONTAGE DES UNITS (Voir Figure 12 et 13)

Après avoir placé l'unité interieure et l'unité extérieure à l'endroit souhaïte, effectuer les opérations suivantes pour les relier à nouveau.

ETAPE 1. Retirez les prises de protection (16), (18) et les couvercles (15), (17) de leurs branchements respectifs (voir Figure 13).

ETAPE 2. Relier la liaison demontable (5) à la piece avec lequel il correspond (6) comme suit :

  • Visser à la main les 2 pieces (5) et (6) entre elles

  • Maintainir l'écrou hexagonal (13) avec la clé numéro 2 (20) et visser avec la clé numéro 1 (19)

I'écrou hexagonal (5) sur la partie mâle (6) jusqu'à ce qu'il soit serré

NOTE Ne pas serrer les écrous trop fort mais suffisamment.

ETAPE 3. Relier la liaison basse pression (7) à la piece avec lequel il correspond (8) de la façon suivante :

  • Visser à la main les 2 pieces (7) et (8) entre elles.

  • Maintainir l'écrou hexagonal (14) avec la clé numéro 2 (20) et visser avec la clé numéro 1 (19)

I'écrou hexagonal (7) sur la partie mâle (8) jusqu'à ce qu'il soit serré.

NOTE Ne pas serrer les écrous trop fort mais suffisamment.

ETAPE 4. Raccorder le collier du tuyau de raccordement (21) avec les vis.

ETAPE 5. Raccorder le tuyau de drainage (9) au bac de récapuration (10).

ETAPE 6. Raccorder le connecteur electrique (3) au connecteur (4).

ETAPE 7. Raccorder le collier des tuyaux (12) avec les vis.

ETAPE 8. Remetre la plaque (1) et la fixer avec les vis (2).

L'unité extérieur et le tuyau de connexion (11) peuvent maintenant être séparés de l'unité interieure, le tuyau peut être passé à travers l'ouverture pratiquée dans le mur.

AIRWELL AELIA 2 10 CD - MONTAGE DES UNITS (Voir Figure 12 et 13) - 1
Figure 13
Figure 12

BRANCHEMENT ÉLECTRIQUE

Avant de brancher l'appareil vérifiez que:

  1. Le courant et le fusible correspondent à la valeur spécifique sur la plaque d'identification de l'unité.
  2. Les socles et les prises sont bien adaptés l'un à l'autre et d'accès facile.
  3. Les socles de prise de courant sont bien fixés.

Le fabriquant ne pourra être tenu responsable d'aucun dégât si les instructions concernant les procédures de sécurité ne sont pas été observées.

UTILISATION DE LA LIAISON DEMONTABLE (OPTIONNEL)

AIRWELL AELIA 2 10 CD - UTILISATION DE LA LIAISON DEMONTABLE (OPTIONNEL) - 1

FONCTIONNEMENT - MODELE ÉLECTRONIQUE

Afin d'obtenir le maximum de comport et d'économie, vérifie que:

  • Les porte et les fenêtres de la pierce à conditionner doivent être bien fermée.
    Vérifiez que les orifices d'entrée et de sortie d'air de l'unité ne sont pas obstruées.
  • Protégez la piece des rayons directs du soleil et éviter que des sources excessives de chaleur ne se trouvent dans la piece.

MODES DE FONCTIONNEMENT, FONCTIONS ET CARACTERISTIQUES

AIRWELL AELIA 2 10 CD - MODES DE FONCTIONNEMENT, FONCTIONS ET CARACTERISTIQUES - 1

REFROIDISSEMENT

Refroidit, déshumidifie et filtre l'air de la piece. Maintient la température désirée.

AIRWELL AELIA 2 10 CD - REFROIDISSEMENT - 1

CHAUFFAGE

Chauffe et filtre l'air de la pierce. Maintient la tempéature désirée dans la pierce.

AIRWELL AELIA 2 10 CD - CHAUFFAGE - 1

AUTO

Le climatiseur selectionne automatiquement la vitesse de ventilation selon la température de la pièce. Au départ la vitesse est râpè. Lorsque la pièce atteint la température souhaïée la vitesse de ventilation diminué.

AIRWELL AELIA 2 10 CD - AUTO - 1

SEC

Déshumidifie et refroidit doucement la piece. Sur le mode SEC, le climatiseur fonctionne à une puissance de déshumidification plus élevé. Ce mode est recommendé lorsque la température est只想 basse et que le niveau d'humidity est élevé.

AIRWELL AELIA 2 10 CD - SEC - 1

VENTILATION

Circulation et filtrage de l'air de la pièce. Maintient un mouvement d'air constant dans la pièce.

AIRWELL AELIA 2 10 CD - VENTILATION - 1

AUTO VENTILATION

Le climatiseur selectionne automatiquement la vitesse VENTILATION selon la temperture de la piece. Au début, l'unité fonctionne à une puissance de ventilation élevée. Lorsque l'air de la piece atteint presque la temperture désirée, le ventilateur passse à une vitesse moins élevée pour un fonctionnement plus silencieux.

AIRWELL AELIA 2 10 CD - AUTO VENTILATION - 1

MINUTEUR

Le contrôle du temps réel et son affichage étant ou met en marche le climatiseur automatiquement selon l'heure pré-fixée, assurant ainsi une température/agréable avant le retard à la maison, sans gaspillage d'électricité, le climatiseur peut aussi être étient automatiquement lorsque vous dormez.

AIRWELL AELIA 2 10 CD - MINUTEUR - 1

SOMMEIL

Destiné à creer des conditions agreables pendant votre sommeil. Sur le mode REFROIDISSEMENT, la température augmente d'un degré centigrade au dessus du point fixé atteint après chaque heures consécutive depuis la mise en marche sur ce mode. La hausse de température évite la sensation de froid excessif pendant le sommeil (lorsque votre corps est au repos). Sur le mode CHAUFFAGE, c'est le contraire; le climatiseur fait baisser la température d'un degré par heures. Sur le mode SOMMEIL, le climatiseur s'éteindra automatiquement après sept heures. Le résultat est un sommeil plus comfortable et revigorant qui vous laisse frais et dispose le matin.

REMARQUE: Les modes de chauffage sont utilisés sur les unités avec refroidissement et chauffage.

AIRWELL AELIA 2 10 CD - SOMMEIL - 1

DIFFUSION D'AIR A LA VERTICALE (OPTIONNEL)

Diffuse automatiquement l'air vers la verticale. Les volets bougent automatiquement vers le haut et vers le bas afin de diffuser l'air climatisé de façon égale dans toute la piece.

AIRWELL AELIA 2 10 CD - DIFFUSION D'AIR A LA VERTICALE (OPTIONNEL) - 1

INDICATEUR POUR LE FILTRÉ ET LE RÉSERVOIR D'EAU (indicateur (C) sur la figure 15)

L'indicateur du filtré s'allume sur le panneau d'affichage de l'unité lorsque le filtré doit être nettoyé. Àpres le nettoyage et la remise en place du filtré, le système peut être remis en marche. Quand l'indicateur clignote cela indique que le réservoir d'eau est plein et qu'il faut le vider.

AIRWELL AELIA 2 10 CD - DIFFUSION D'AIR A LA VERTICALE (OPTIONNEL) - 2

INDICATEUR SONORE

Une sonnerie douce retentira pour indiquer qu'une commande donnée par la télécommande a ete acceptee et enregistrree dans la memoire de l'unite. Il est facilement possible d'annuler cette sonnerie a partir du panneau d'affichage.

OPÉRATION DE MISE EN MARCHE (bouton E et D sur la figure 15)

Le climatiseur peut facilement etre allumé ou eteint à partir du panneau d'affichage de l'unité sans utiliser la télécommande.

SUSPENSION DE 3-MIN.

Le compresseur est protégé par une suspension de 3 minutes et se remet en marche automatiquement.

MÉMOIRE

Le microprocesseur retient la dernière entree de donnee que l'unite soit branchee ou non. Par consequent, lorsque l'unite se remet en marche après une interruption ou une panne, elle fonctionnera sur le mode sur lequel elle fonctionnait avant l'interruption de courant.

ENREGISTREMENT DES POSITIONS

Le climatiseur enregistrera tous les programmes du bouton d'opération MODE sur REFROIDISSEMENT, CHAUFFAGE, AUTO, SECHAGE et VENTILATION.

UTILISATION DE LA TÉLECOMMANDE SANS FIL

LA TÉLECOMMANDE SANS FIL MET TOUTES LES FONCTIONS À PORTÉE DE MAIN.

AVANT LA MISE EN MARCHE

Avant de mettre votre climatisation en marche vérifie que:

L'unité est correctement branchée.
L'étiquette rouge qui protège les piles de la télécommande a bien ete retiree.
Pour le réglage de la montre, voir page 18.

AIRWELL AELIA 2 10 CD - AVANT LA MISE EN MARCHE - 1

REEMPLACEMENT DES PILES DE LA TÉLECOMMANDE

  • Retirez les piles de la télécommande comme indiqué sur la figure 14. Utilisez deux piles de 1,5 volts, taille AAA.
    Pour la protection de l'environnement, renvoyez les piles vides pour recyclage.

LE COMPARTIMENT DE LA TÉLÉCOMMANDE

Utilisez le compartment de la télécommande lorsque l'unité n'est pas en marche. La télécommande peut être introduite ou retiree du compartment. (Voir fig. 14).

PROTEGER LE SYSTEME ÉLECTRONIQUE

L'unité et la télécommande doivent être à une distance d'au moins un mètre de toute télévision, radio ou tout autre apparéil menagerlectronique.
- Protégez l'unité et la télécommande des rayons du soleil ou de toute source d'éclairage.

Diriger vers le signal infra-rouge du climatiseur se trouvant dans la piece lors de son utilisation.
Le signal de la télécommande peut etre reçu jusqu'au une distance de 8 m.
Assurez-vous qu'il n'existe pas d'obstacle entre la télécommande et le récepteur du signal.
- Ne pas faire tomber et ne pas lancer la télécommande.
- Ne pas laisser la télécommande dans un endroit exposé aux rayons du soleil ou proche d'une unité de chauffage ou de toute autre source de chaleur.
- Ne pas exposer le récepteur de signal du climatiseur à proximé de fortes sources d'éclairage telles qu'un fluorescent ou d'une lampe à bronze.

A. INDICATEUR DU MINUTEUR

S'allume lors des opérations MINUTEUR et SOMMEIL.

B. INDICATEUR DE MISE EN MARCHE

S'allume lors de l'opération. Clignote pour announcer que le signal infra-rouge de la télécommande a ete reçu et enregistré. Clignote sans arrêt lorsque le compresseur fonctionne sur son mode de protection contre les haute pressions.

C. INDICATEUR DE FILTRE ET DE RÉSERVOIR D'EAU

S'allume lorsque le filtrte doit'être nettoyé.
Clignote en cas de trop plein.

D. BOUTON D'ANNULATION/ Filtre

Appuyez pour arrêter l'indicateur de FILTRE et pour remettre en marche la fonction de filtrage, après avoir réinstaller le filtré nettoyé.

Appuyez pour annuler le signal sonore s'il a eté choisi.

E. TOUCHE REFROIDISSEMENT / CHAUFFAGE/MARCHE/ARRET

Utilisé pourmettre l'unité sur les positions: MARCHE,ARRÉT,REFROIDISSEMENT ou CHAUFFAGE sansutiliser la télécommande.

AIRWELL AELIA 2 10 CD - TOUCHE REFROIDISSEMENT / CHAUFFAGE/MARCHE/ARRET - 1
Figure 15

OPÉRATION DE MISE EN MARCHE

Si la télécommande ne peut fonctionner, le climatiseur peut etre mis en marche pour réfrigerer ou chauffer ou il peut etre etint en appuyant sur le bouton MODE (E) du climatiseur. Le bouton MODE changera le statut de l'opération de I'unité entre RÉFROIDISSEMENT - CHAUFFAGE - ARRET chaque fois que vous y appuierez.

REMARQUE: Les modes de chauffage sont utilisés sur les unités avec refroidissement et chauffage.

AIRWELL AELIA 2 10 CD - OPÉRATION DE MISE EN MARCHE - 1
LA TELÉCOMMANDE (voir figure 16)

AIRWELL AELIA 2 10 CD - OPÉRATION DE MISE EN MARCHE - 2
Figure 16

1 Bouton MARCHE /ARRÉT
Bouton de selection du MODE d'opération
Bouton VIITESSE DE VENTILATION et AUTO VENTILATION
Bouton pour baiser la température (-)
Bouton pour augmenter la température (+)
6 Bouton SOMMEIL
7 Direction verticale de I'air
Bouton de selection du MINUTEUR
9 Bouton pour augmenter le MINUTEUR (+)
10 Bouton de programmation du MINUTEUR (-)
11 Affichage LCD
12 Transmetteur de signal infra-rouge
Bouton TIMER SET
Bouton TIMER CLEAR
Symbolde transmission

ALLUMER LE CLIMATISEUR

Pressez sur le bouton MARCHE/ARRÉT (1) afin d'allumer le climatiseur. L'indicateur de fonctionnement (B) s'allumera indiquant que l'unité fonctionne. Notez que l'affichage LCD (11) indiquera toujours le dernier mode sur lequel l'appareil a été utilisé.

AIRWELL AELIA 2 10 CD - ALLUMER LE CLIMATISEUR - 1

AIRWELL AELIA 2 10 CD - ALLUMER LE CLIMATISEUR - 2

OPERATION DE VENTILATION

Sélectionnez le mode VENTILATION en appuyant sur le bouton MODE (2) Passez à la vitesse de ventilation ou sur AUTO en appuyant sur le bouton de vitesse de ventilation (3).

AIRWELL AELIA 2 10 CD - OPERATION DE VENTILATION - 1

AIRWELL AELIA 2 10 CD - OPERATION DE VENTILATION - 2

Sélectionnez le mode REFROIDISSEMENTen appuyant sur le bouton MODE (2). Passez à la vitesse de ventilation désirée ou la ventilation AUTO en appuyant sur le bouton (3). Sélectionnez la température qui vous convient.

AIRWELL AELIA 2 10 CD - OPERATION DE VENTILATION - 3

AIRWELL AELIA 2 10 CD - OPERATION DE VENTILATION - 4

OPÉRATION de REFROIDISSEMENT AVEC MODE D'AUTO VENTILATION

Cette opération débute sur la diffusion d'air le plus élevé afin de faire rapidement baisser la température de la pierce. L'appareil passera automatiquement à une diffusion d'air plus faible pourmaintenir, en silence, la température choisisie.

AIRWELL AELIA 2 10 CD - OPÉRATION de REFROIDISSEMENT AVEC MODE D'AUTO VENTILATION - 1

AIRWELL AELIA 2 10 CD - OPÉRATION de REFROIDISSEMENT AVEC MODE D'AUTO VENTILATION - 2

*REMARQUE: Les modes de chauffage sont utilisés sur les unités avec refroidissement et chauffage.

DIRECTION AUTOMATIC VERTICAL D'AIR

Appuyez sur le bouton (7) pourmettre en marche la rotation automatique. Appuyez de nouveau sur le bouton pour arreter cette fonction.

AIRWELL AELIA 2 10 CD - DIRECTION AUTOMATIC VERTICAL D'AIR - 1

AIRWELL AELIA 2 10 CD - DIRECTION AUTOMATIC VERTICAL D'AIR - 2

OPÉRATION DE CHAUFFAGE*

Selectionnez le mode de CHAUFFAGE en appuyant sur le bouton MODE (2). Passez à la vitesse de ventilation désirée ou à l'AUTO VENTILATION en appuyant sur le bouton VENTILATION (3). Choisissez la température désirée. (Voir figure 7)

AIRWELL AELIA 2 10 CD - OPÉRATION DE CHAUFFAGE* - 1

AIRWELL AELIA 2 10 CD - OPÉRATION DE CHAUFFAGE* - 2

OPÉRATION DE CHAUFFAGE AVEC MODE AUTO VENTILATION*

Le climatiseur se met en marche en grande vitesse de ventilation de façon à atteindre rapidement la température souhaitiée.

AIRWELL AELIA 2 10 CD - OPÉRATION DE CHAUFFAGE AVEC MODE AUTO VENTILATION* - 1

AIRWELL AELIA 2 10 CD - OPÉRATION DE CHAUFFAGE AVEC MODE AUTO VENTILATION* - 2

CHOISIR LA TEMPERATURE

Appuyez sur le bouton (4) ou (5) pour changer la température choisis sur le panneau d'affichage (11). La température choisis est indiquée en degrés centigrades. Un nombre plus élevé indique que la température de la piece est plus élevé ; un nombre plus bas indique que la température de la piece est plus BASSE.

AIRWELL AELIA 2 10 CD - CHOISIR LA TEMPERATURE - 1

AIRWELL AELIA 2 10 CD - CHOISIR LA TEMPERATURE - 2

OPÉRATION DE SECHAGE

Sélectionnez le mode SEC en appuyant sur le bouton MODE (2). Choisir la température désirée. Sur le mode SEC, le climatiseur fonctionnera d'abord à faible vitesse de ventilation, ignorant le poste de ventilation affché sur le panneau d'affichage. Le ventilateur s'arrête de fonctionner de temps en temps pour empêcher une réfrigération excessive.

AIRWELL AELIA 2 10 CD - OPÉRATION DE SECHAGE - 1

AIRWELL AELIA 2 10 CD - OPÉRATION DE SECHAGE - 2

PROGRAMMAGE DE LA MONTRE

Le programmation de la montre se fait lorsque les piles sont introduites. La télécommande affiche le programmation et le tableau d'affichage de la montre clignotera en indiquant "00:00" ou "12:00" jusqu'à ce qu'une nouvelle heures soit programmée. Pour le programmation de la montre, utilisez les boutons (9) (10) pour les heures et les minutes, respectivement, et ensuite appuyez le bouton PROGRAMMEUR du minuteur (13). Le programmation de la montre peut aussi être fait en appuyant sur le bouton PROGRAMMEUR du minuteur (13) pendant 5 secondes. Le tableau d'affichage de la montre se mettra à clignoter, pour un nouveau programmation, suivre les étapes décrites ci-dessus.

AIRWELL AELIA 2 10 CD - PROGRAMMAGE DE LA MONTRE - 1

AIRWELL AELIA 2 10 CD - PROGRAMMAGE DE LA MONTRE - 2

ARRÉT DU CLIMATISEUR

Appuyez sur le bouton MARCHE/ARRÉt (1) pour éteindre le climatiseur. L'indicateur d'opération (B) s'éteindra. La télécommande LCD affichera l'heure et la température de la piece ou la température programmée de la piece. La dernière opération de programmation sera enregistrée pour la prochaine opération.

AIRWELL AELIA 2 10 CD - ARRÉT DU CLIMATISEUR - 1

AIRWELL AELIA 2 10 CD - ARRÉT DU CLIMATISEUR - 2

FONCTION SOMMEIL

Appuyez sur le bouton SOMMEIL (6) pour sélectionner la fonction SOMMEIL. Lorsque la fonction sommeil est mise en marche, le climatiseur s'arrête automatiquement après sept heures. Si au même moment l'ARRÉT DU MINUTEUR est mis en marche, le climatiseur s'éteindra selon l'heure fixée sur le MINUTEUR. L'indicateur du MINUTEUR (A) sur le climatiseur s'allumera pendant la fonction SOMMEIL

AIRWELL AELIA 2 10 CD - FONCTION SOMMEIL - 1

AIRWELL AELIA 2 10 CD - FONCTION SOMMEIL - 2

Pour annuler la fonction SOMMEII appuyez sur un des boutons suivants:

MARCHE/ARRET (1)
SOMMEIL (6)

OPÉRATION MINUTEUR

Appuyez sur le bouton TIMER (8) pour activer le mode d'opération du minuteur. A chaque fois que l'on appuie sur le bouton MINUTEUR (8), un des quatre types de modes d'opération apparaitra sur le tableau d'affichage. Les modes d'opération sont classés suivant le sens de la flèche. L'indicateur (A) s'allumera sur le climatiseur au cours de l'opération MINUTEUR.

REMARQUE: après une interruption de courant l'indicateur (A) du MINUTEUR clignote. (Lorsque l'unité est sur le mode MINUTEUR) L'unité passera automatiquement sur le mode ATTENTE et la mise en marche du minuteur sera annulée. Pour renouveler la mise en marche du minuteur, suivez les instructions ci-dessus.

AIRWELL AELIA 2 10 CD - OPÉRATION MINUTEUR - 1

AIRWELL AELIA 2 10 CD - OPÉRATION MINUTEUR - 2

LES MODES D'OPÉRATION DU MINUTEUR

AIRWELL AELIA 2 10 CD - LES MODES D'OPÉRATION DU MINUTEUR - 1

Ce mode vous permet de programmermer le moment de mise en marche. Appuyez sur le bouton MINUTEUR (8) jusqu'à ce que le signal MARCHE clignote. Le temps du début de l'opération peut être programmé en utilisant les boutons d'en haut et d'en bas (9) et (10), respectivement. Appuyez sur le bouton PROGRAMMEUR (13) pourmettre le minuteur en marche.

Exemple: Opération début à 10 h 30.

II. ARRET DU MINUTEUR

Ce mode permet de programmer le moment d'arrêt du minuteur. Appuyez deux fois sur le bouton du minuteur (8), le signal ARRÉT se mettra à clignoter. Le moment de l'arrêt de l'opération peut être programmé en utilisant les boutons d'en haut et d'en bas (9) et (10), respectivement. Appuyez sur le bouton PROGRAMMEUR (13) pourmettre le minuteur en marche.

Exemple: Opération stoppe à 18 h 00.

Ce mode vous permet de programmer le moment de mise en marche et d'arrêt de l'opération. Appuyez sur le

Bouton (8) jusqu'à ce que le signe MARCHE clignote, en appuyant de nouveau sur le signe ARRÊT le signe ARRÊT se mettra à clignoter. Le temps peut être programmé en utilisant les boutons d'en haut et d'en bas (9) et (10), respectivement. Appuyez sur le bouton PROGRAMMEUR (13) pourmettre le minuteur en marche.

Exemple: Opération début à 10 h 30 et stoppe à 18 h 00.

IV. CLEAR

Utiliser ce mode pour annuler l'opération du minuteur. Appuyez sur le bouton CLEAR (14), l'opération du minuteur sera terminée et tableau d'affichage sera annulé pour tous les modes du minuteur. En appuyant sur le bouton CLEAR l'indicateur (A) du minuteur s'eteindra.

REMARQUE: Si le bouton (8) du minuteur est sélectionné et qu'aucune heures n'est programmée, les boutons PROGRAMMEUR ou CLEAR sont enclenchés dans un-delai de 15 secondes, l'opération du minuteur est annulée et le dernier programmation est affiché.

OPÉRATION - MODELE ÉLECTRO-MÉCHANIQUE

Le climatiseur comprend :

  • Une unité de contrôle d'opération
    Voyants lumineux d'indication
    Voyant lumineux d'avertissement
    Thermostat

UNE UNITE DE CONTROLE ET UN TABLEAU D'AFFICHAGE (voir figure 17)

Afin d'obtenir un comport et une economie maximum :

  • Pour ce que les orifices d'entrée et de sortie d'air ne soient pas obstrués.
  • L'unité une installation convenable pour le refroidissement, voir page 5.
    Veillez a doit etre a l'ombre, eoignee des rayons du soleil et des sources de chaleur excessives pouvant etre presentes dans la chambre.

A - Bouton de selection

Le bouton de selection peut être mis sur les positions suivantes:

A 1. Arret
A 2. Ventilation uniqueness - grande puissance
A 3. Ventilation uniqueness - grande puissance
A 4. Refroidissement – faible puissance

B-Bouton de contrôle de Température

C - Indicateurs

C 1. Indicateur de refroidissement
C 2. Indicateur d'opération
C 3. Indicateurannonçant que le filtré est sale/le réservoir d'eau est plein

AIRWELL AELIA 2 10 CD - C - Indicateurs - 1
Figure 17

PROCEDURE D'OPÉRATION

Brancher l'unité sur le courant, l'indicateur de courant (C1) s'allume. Cela signifie que l'unité est prête à fonctionner.

MISE EN MARCHE DU CLIMATISEUR

Changer la position du bouton de sélection (A) d'ARRÉT, sur la position désirée.

MISE EN MARCHE DE LA VENTILATION

AIRWELL AELIA 2 10 CD - MISE EN MARCHE DE LA VENTILATION - 1

Changer la position du bouton de selection de (A) à (A2)

  • Forte ventilation (A2)

AIRWELL AELIA 2 10 CD - MISE EN MARCHE DE LA VENTILATION - 2

MISE EN MARCHE DU REFROIDISSEMENT

Mettre le bouton de selection (A) sur une des positions suivantes:

Fort refroidissement (A3)

AIRWELL AELIA 2 10 CD - MISE EN MARCHE DU REFROIDISSEMENT - 1

  • Faible refroidissement (A4)

Lorsque le mode de refroidissement est mis en marche, l'indicateur (C1) s'allume. Il est reconntré d'utiliser le mode de refroidissement forte puissance (A3) lorsque une baisse rapide de la température est désirée, alors que le mode de refroidissement faible puissance (A4) doit être utilisé pour un fonctionnement silencieux normal et pourmaintenir la température sélectionnée.

AIRWELL AELIA 2 10 CD - MISE EN MARCHE DU REFROIDISSEMENT - 2

SELECTION DE LA TEMPERATURE

La température désirée est selectionnée en tournant le bouton de contrôle de température (B).

Si la température est plus élevé que celle désirée, tournez le bouton (B) dans le sens des aiguilles d'une montre et leMETRE sur la position désirée.

Si la température est plus BASse que celle désirée, tournez le bouton (B) dans le sens contraire des aiguilles d'une montre vers la position désirée.

FERMER LE CLIMATISEUR

Tournez le bouton de seLECTION (A) sur la position ARRÉT (A1). L'indicateur de opération (C2) restera sur MARCHE.

ATTENTION : attendez 5 minutes avant de remetre en marche les modes de refroidissement, ou avant de changer la programmation de la température.

AIRWELL AELIA 2 10 CD - FERMER LE CLIMATISEUR - 1

AIRWELL AELIA 2 10 CD - FERMER LE CLIMATISEUR - 2
Fig. 19

AIRWELL AELIA 2 10 CD - FERMER LE CLIMATISEUR - 3
Fig. 21

AIRWELL AELIA 2 10 CD - FERMER LE CLIMATISEUR - 4

AIRWELL AELIA 2 10 CD - FERMER LE CLIMATISEUR - 5
Fig. 20

ATTENTION

Avant d'effectuer toute opération de maintenance, débranchez la prise de courant du climatiseur.

Une des fonctions du climatiseur est de filtrer l'air qu'il aspire en collectant les particules de poussières et de saleté générées dans l'air. Notre climatiseur possède un filtré principal et deux autres filtrés purificateurs, utilisant du carbone activé et des matériaux electrostatiques.

Le cadre doit être nettoyé périodiquement – une fois par mois – ou au moins une fois par saison en conditions ordinaires.

Si vous ne nettoyez pas le filtré d'air la capacité de refroidissement/chauffage sera réduite et cela peut cause des dommages à l'unité.

NETTOYAGE DES FILTRES D'AIR

  • Retirer et nettoyer le filtrre principal (voir figures 18, 19, 21, 22).
    Pour retirer le filtrre, prendre la poignee par derriere et tirer le filtrte. (Voir figure18).
    Pour retirer le filtrre, prendre la poignee par derriere et tirer le filtrre. (Voir figure 19).
  • Rincez le filtrtre principal des deux côtés à l'eau tiède du robinet et laisssez-le sécher (pas au soleil).
  • Remetre les deux cadres des deux filtres de purification sur le filtré principal.
  • Réinstallez le filtrre principal en l'introduisant dans l'ouverture arrêté de l'unité et poussez le filtrte vers l'intérieur (voir figure 22).

ATTENTION

NE METTEZ PAS LE CLIMATISEUR EN MARCHE SANS LE FILTRE!

FILTRE DE PURIFICATION DE REMPLACEMENT (Voir figures 19, 20, 21)

  • Les filtres de purification doivent être retirés du contrôle principal et replacés une fois par an.
  • Retirez les deux cadres des filtres de purification du filtré principal (Voir figure 19).
  • Remplacez les deux éléments du contrôle et fixez-les dans les cadres (Voir figure 20).
  • Réinstallé les deux cadres des filtres de purification sur le filtrte principal (Voir figure 21).

NETTOYAGE DU CLIMATISEUR

  • Essuyez l'unité avec un chiffon doux ou nettoyez-le avec un aspirateur.
  • Ne pas utiliser d'eau chaude ou de produits corrosifs qui pouraient endommager la surface du climatiseur.

AU DÉBUT DE LA SAISON

Assurez-vous qu'aucun obstacle ne bouche l'entrée et la sortie d'air.
Assurez-vous que le courant est correctement branché.

NETTOYAGE DU BASSIN DE CONDENSATION DE L'UNITÉ EXTERIEURE (voir Figures 23 et 24)

Retirez le bassin d'eau (2) en dévissant les quatre visses (3) de chaque côté du bassin. Nettoyez le bassin à l'eau, séchez- le et remettez-le à sa place.

AIRWELL AELIA 2 10 CD - NETTOYAGE DU BASSIN DE CONDENSATION DE L'UNITÉ EXTERIEURE (voir Figures 23 et 24) - 1
Figure 23. Comment retirer le bassin de condensation Modèle 3.1 KW

AIRWELL AELIA 2 10 CD - NETTOYAGE DU BASSIN DE CONDENSATION DE L'UNITÉ EXTERIEURE (voir Figures 23 et 24) - 2
Figure 24. Comment retarder le bassin de condensation Model 4.1 KW

DÉPLACEMENT ET RANGEMENT - POUR TOUS LES MODELES (Voir

Figure 25)

Avant de transporter ou ranger l'appareil, incliner l'unité extérieure pour vider la condensation restant à l'intérieur.

Utiliser les poignées de transport pour déplacer l'unité sur ses roulettes. N'essayez jamais de déplacer l'unité en tirant par les tuyaux. Maintenir toujours l'unité à la verticale pendant le transport en voiture.

POUR LES MODELES 3.1 KW

Les unités interieures et extérieures doivent être fixées l'une à l'autre (Figure 25) pour le déplacement ou le rangement du climatiseur. Pour attacher les unités, insérez les broches d'attachment (10) de l'unité extérieure dans les trous (2) de l'unité interieure destinés à cet effet (voir Figure 3).

AIRWELL AELIA 2 10 CD - POUR LES MODELES 3.1 KW - 1
Figure 25. Les unités fixées l'une à l'autre pour le déplacement - Modèle 3.1

  1. Unité interieure
  2. Unité extérieure

PRECAUTIONS

  • Ce climatisationur est destiné à l'environnement domestique et ne doit pas être utilisé pour tout autre objectif.
  • Ne pas obstruer la sortie et l'entrée d'air du climatiseur.
    Si une réparation est nécessaire, contactez uniquement le centre de service agréé le plus proche ; des réparations effectuées par un service non-qualifié est dangereux.
  • Ce climatisation ne doit être utilisé que par des femmes. Ne permette pas aux enfants de jouer avec.
  • Toujours connecter l'unité à la terre.
    Assurez-vous que l'unité est installée sur un sol égal.
  • Avant d'effectuer toute opération de nettoyage ou de réparation, débrancher toujours la prise. De son socle.
  • Ne pas tirer sur le fil électrique de l'unité lorsque vous la déplacez.
    Le climatiseur ne doit pas etre place a proximite de gaz combustibles, ou dans un endroit ou de I'huile ou du suture se trouvent dans l'atmosphere, ou a proximite de toute source possible de chaleur.
  • Ne placez pas d'objet chaud ou lourd sur le climatisationur.
    Nettoyez le filtré d'air périodiquement.
    Le climatiseur doit etre transporte en position verticale. Ares le transport attendez- au moins une heure avant de le metre en marche.
  • Àprous un transport attendez au moins une heures avant demettre l'unité en marche.
  • Transportez l'unité avec précautions sur des tapis ou sur la moquette.
    Videz le réservoir d'eau à la fin de la journée ou avant de le transporter sur de la moquette ou des tapis.
  • En cas de dégât causé au cordon électrique, ce dernier doit être remplaced ou réparé seulement par un électricien qualifié.
  • En installation permanente, l'air décharge par le tuyau s'échappe à l'extérieur de la pièce. Assurez-vous que la pièce n'est pas fermée hermétiquement. Une baisse de la pression de la pièce causera une opération irrégulière qui à son tour mettra en marche le système de protection contre les haute températures.
  • Cette unité est conformes aux Directives EEC la comptabilité électromagnétique (89/336/EEC).

AIRWELL AELIA 2 10 CD - PRECAUTIONS - 1

AVANT D'APPELER LE SERVICE RÉPARATION

Avant d'appeler le service réparation, veuillez vérifier les mauvais fonctionnement suivant et les corriger comme nécessaire. Si cela ne résous pas le problème, contacter le centre de service/agree le plus proche pour une assistance qualifiée.

PROBLÈMECAUSESOLUTIONEM
· L'unité ne fonctionne pas. L'indicateur d'opération ne s'allume pas.◆ Problème de courant. ◆ La prise n'est pas branchée. ◆ Le réservoir d'eau n'est pas dans l'unité ou est mal installé.□ Vérifier le fusible principal. □ Brancher la prise sur son socle. □ Mettre le réservoir d'eau à sa place.XX
· L'unité fonctionne mais n'est pas efficace.◆ Une fenêtre est ouverte. ◆ Source de chaleur dans la piece (cuisinière, etc.) ou la piece est surpeupleée. ◆ La capacité de l'unité n'est pas suffisante pour la surface de la piece. ◆ Programmation de tempête inappropriée. ◆ Le filtre d'air est bouché. ◆ Défaut de réfrigérant. ◆ La piece est fermée hermétiquement. ◆ Tuyau d'échéppement bloqué, tordu ou incliné.□ Fermer la fenêtre. □ Oter la source de chaleur. □ Consulter votre fournisseur. □ Ajuster la tempête programmée. □ Nettoyer le filtre. □ Appeler le service réparation. □ Ouvrir une fenêtre ou une porte extérieure. □ Enlever ce qui obtrue.XX
· L'indicateur de trop- plein d'eau clignote : l'unité ne déshumidifie pas.◆ Le réservoir d'eau est plein□ Videz l'eau grâce au tuyau de vidage (4). Voir Fig. 3XX
· L'unité ne chauffe pas.◆ La tempête fixée est trop BASSE. ◆ L'élement de chauffage est brûlé.□ Reprogrammez la tempête. □ Appeler le service réparationX
· L'unité ne fonctionne pas. L'indicateur d'opération s'allume.◆ Mauvais fonctionnement de la télécommande.□ Vérifier les piles de la télécommande. □ Essayer de la faire marcher à plus proche distance. □ Allumer avec le contrôle de mise en marche de l'unité. □ Effectuer une programmation en appuyant sur les boutons (9), (10), (13), (14) pour 5 seconds.X
L'unité ne répond pas correctement aux ordres de la télécommandeLe signal Infra-rouge n'arrive pas jusqu'à l'unité.Vérifier qu'il n'y a pas d'obstacle entre l'unité et la télécommande et, si c'est le cas, l'enlever.X
La distance entre la télécommande et l'unité est trop grande ou la télécommande est activée à un mauvais angle.Se rapprocher de l'unité.
Le récepteur du signal infra-rouge sur l'unité est exposé à une forte source de luminière.Attenuer la luzère, particulièrement s'il s'agit d'un fluorescent.
L'indicateur d'opération clignote.Le compresseur fonctionne à haute pression.Opération normale du climatiseur.X
Ouvrir une fenêtre ou un porte extérieure.
L'indicateur du filtre s'allume.Le filtre d'air est contaminé.Nettoyer le filtre, le réinstaller et remettre l'indicateur en marche.X
Bruit provenant de l'unité extérieure.La pompe à condensation de l'unité extérieure fonctionne sans eau.Bruit normal.XX

Legende:

E - Modèlelectronique

M - Modèle electromécanique

Airwell

AIRWELL AELIA 2 10 CD - Airwell - 1

A.C.E

FRANCE :

1 bis,Avenue du 8 Mai 1945

Saint-Quentin-en-Yvelines

78284 GUYANCORD Cedex

Tel. 33139447800

Fax 33139441155

www.airwell.com

Sommaire Cliquez un titre pour y accéder
Assistant notice
Powered by Anthropic
En attente de votre message
Informations produit

Marque : AIRWELL

Modèle : AELIA 2 10 CD

Catégorie : Climatiseur