EV 107 DFR ROUGE - Four électrique FRATELLI ONOFRI - Notice d'utilisation et mode d'emploi gratuit
Retrouvez gratuitement la notice de l'appareil EV 107 DFR ROUGE FRATELLI ONOFRI au format PDF.
| Type de produit | Four électrique |
|---|---|
| Caractéristiques techniques principales | Four à convection avec plusieurs niveaux de cuisson |
| Alimentation électrique | 220-240 V, 50 Hz |
| Dimensions approximatives | Largeur : 60 cm, Hauteur : 60 cm, Profondeur : 55 cm |
| Poids | 35 kg |
| Compatibilités | Compatible avec les accessoires standard de cuisine |
| Type de batterie | Non applicable |
| Tension | 220-240 V |
| Puissance | 2000 W |
| Fonctions principales | Cuisson, rôtissage, grill, décongélation |
| Entretien et nettoyage | Nettoyage à l'eau savonneuse, pas de produits abrasifs |
| Pièces détachées et réparabilité | Disponibilité de pièces détachées auprès du fabricant |
| Sécurité | Système de verrouillage de porte, protection contre la surchauffe |
| Informations générales | Garantie de 2 ans, manuel d'utilisation inclus |
FOIRE AUX QUESTIONS - EV 107 DFR ROUGE FRATELLI ONOFRI
Questions des utilisateurs sur EV 107 DFR ROUGE FRATELLI ONOFRI
0 question sur cet appareil. Repondez a celles que vous connaissez ou posez la votre.
Poser une nouvelle question sur cet appareil
Téléchargez la notice de votre Four électrique au format PDF gratuitement ! Retrouvez votre notice EV 107 DFR ROUGE - FRATELLI ONOFRI et reprennez votre appareil électronique en main. Sur cette page sont publiés tous les documents nécessaires à l'utilisation de votre appareil EV 107 DFR ROUGE de la marque FRATELLI ONOFRI.
MODE D'EMPLOI EV 107 DFR ROUGE FRATELLI ONOFRI
RENSEIGNEMENTS GENERAUX DESTINES A L'UTILISATEUR
CONSEILS ET AVERTISSEMENTS D'ORDRE GENERAL
AVENTISSEMENTS POUR L'ENVIRONNEMENT
Déchets emballage
Ne pas jeter l'emballage de Voitre apparéil aux ordures, mais sélectionné les différents matériaux (par ex. tôle, carton, polystyrene) selon les prescriptions locales pour l'élimination des déchets.
Ce produit répond aux éxigences des Directives Communautaires:
- 73/23/CEE relative à la "basse tension".
- 89/336/CEE relative aux "perturbations électromagnétiques".
- 90/396/CEE relative aux "appareils à gaz"
- 89/109/CEE relative aux "matériaux en contact avec les alimentés".
- En plus les Directives sur mentionnées sont conformes à la Directive 93/68/CEE.
- Cét apparéil devra être exclusivement destiné à l'usage pour lequel il a été expressément projeté, en tant "qu' apparéil de cuisson" domestique.
CHER CLIENT,
- Nous Vous invitons à生存 attentivement ces instructions avant d'utiliser l'appareil et de les conserver soigneusement afin de les consulter en cas de besoin.
- Le matériel d'emballage (sacs en plastique, morceaux de polystyrene, etc...) doit être tenu hors de portée des enfants car il constitue une source potentielle de danger.
GARANTIE
Votre nouvel apparéil est couvert par une garantie.
Le certificat relatif se trouve ci-joint.
S'il manque, demandez-le à Vauteur revendeur, en spécifient la date d'achat, le modele et le numero matricule imprimés sur la plaquette d'identification placée dans le tiroir inférieur de l'appareil.
Conservez la partie qui Vous est destinée. Celle-ci doit être montré, en cas de nécessité, au personnel du Service Assistance Technique avec la relative facture d'achat.
Si Vous ne suivez pas cette procédure, le personnel technique sera obligé de Vous débiter toutes les éventuelles réparations.
SERVICE ASSISTANCE TECHNIQUE
Cet apparéil, avant de sortir de l'usine, a été essayé et régle par du personnel expert et spécialisé, afin de pouvoir donner lesassageurs résultats de fonctionnement.
Toute réparation ou mise au point, qui pourrait ensuite se rendre nécessaire, doit être effectuee avec le plus grand soin et beaucoup d'attention.
Pour cette raison, nous conseillons de Vous adresser toujours au revendeur ou à notre Centre Assistance plus proche, en spécifiant le type d'incoqvient et le modele de Notre apparéil.
Cet apparéil porte le symbole du recyclage conformément à la Directive Européenne 2002/96/CE concernant les Déchets d'Équipements Électriques et Électroniques (DEEE ou WEEE).En procedant correctement à la mise au rebut de cet apparéil, vous contribuèrez à empêcher toute conséquence nuisible pour l'environnement et la santé de l'homme.
Le symbole présent sur l'appareil ou sur la documentation qui l'accompagne indique que ce produit ne peut enaucun cas etre traité comme déchet ménager. Il doit par conséquent etremis à un centre de collecte des déchets charge du recyclage des équipements électriques et électroniques. Pour la mise au rebut, respectez les normes relatives à l'élimination des déchets en vigueur dans le pays d'installation.Pour obtenir de plus amples détails au sujeit du traitement, de la récapération et du recyclage de cet apparéil, veuillez vous adresser au bureau compétent de votre commune, à la société de collecte des déchets ou directement à vosere revendeur.
ATTENTION:
- N'oubliez pas, avant d'utiliser l'appareil, d'enlever le film de plastique qui protège certaines pieces (tableau de bord, cadres en inox, etc).
- Ne pas utiliser l'appareil pour chauffer la piece.
- Lorsque l'appareil n'est pas utilisé, débrancher le courant et fermer le robinet général du gaz.
EN CAS D'INCENDIE
- En cas d'incendie, fermer le robinet général d'alimentation et couper le courant; ne jamais jeter de l'eau sur l'huile en flamme ou en train de frire.
- Ne pas garder de produits infammables ou de bouteilles d'áerosol près de l'appareil et ne pas vaporiser d'áerosol près d'un brûleur allumé.
POUR VOTRE SURETE ET CELLE DE VOS ENFANTS.
- Eviter de garder dessus ou pres de l'appareil des produits attractifs pour les enfants.
Garder les enfants loin de l'appareil: ne pas oublier que certaines parties de l'appareil ou des casseroles utilisées deviennent très chaudes et dangereuses tant pendant le fonctionnement que pendant le temps nécessaire au refroidissement après l'extinction. - Faire attention aux poignées des casseroles, disposez les de façon que les jeunes enfants ne fassent pas tomber les casseroles.
- Ne mettez pas de vêtements ou d'accessoires amples lorsque les brûleurs sont allumés; l'incendie du textile peut être cause de graves blessures.
ATTENTION - FOUR:
Lorsque le four ou le grilloir sont en fonction, les parties accessibles peuvent devenir très chaudes, il faut éloigner les jeunes enfants de l'appareil.
- Eviter de cuire les alimentés sur la base du four.
- En cas d'utilisation négligente en proximé des charnières de la porte du four, il existe le danger de se blesser les mains.
- Interdir aux enfants de s'asseoir ou de jouer avec la porte du four. Ne pas utiliser la porte comme un tabouret.
TIROIR INFERIEUR
N'introduisez pas de matérieliaux inflammables ou en plastique dans le chauffe-plates (positionné au dessous du four).
UTILISATION DE LA TABLE DE TRAVAIL
UTILISATION DES BRULEURS A GAZ
Les symboles suivants se trouvent sur le bandeau de commande, pres de chaque bouton:
- Disque plein
robinet fermé
- Grande flamme
ouverture maximale
- Petiteflamme
ouverture minimale
La position minimum se trouve à la fin de la rotation en sens inverse des aiguilles d'un montre de la manette.
Toutes les positions de fonctionnement doivent être choisies entre les positions de max. et de min., jamais entre max. et la fermeture.
ALLUMAGE MANUEL
Pour allumer l'un des brûleurs, approcher une allumette au brûleur, presser le bouton correspondant au brûleur préalablement choisi et le tourner dans le sens inverse des aiguilles d'une montre jusqu'à la position de maximum.
ALLUMAGE ELECTRIQUE (selon les modèles)
Pour allumer l'un des brûleurs, presser le bouton correspondant au brûleur préalablement choisi et le tourner dans le sens inverse des aiguilles d'une montre jusqu'à la position de maximum; simultanément, actionner le bouton-poussoir de l'allumage électrique placé sur le tableau de bord et portant le symbole. Dans le cas où il n'y aurait plus de courant électrique, le brûleur pourra être allumé à l'aide d'une allumette.
ALLUMAGE ELECTRIQUE AUTOMATIQUE (selon les modèles)
Pour allumer l'un des brûleurs, presser le bouton correspondant au brûleur préalablement besoini et le tourner dans le sens inverse des aiguilles d'une montre jusqu'à la position de maximum. En maintainant pressée la manette on mettra en fonction l'allumage électrique du brûleur.
Dans le cas où il n'yaurait plus de courant electrique,le bruleur pourra etre allumé à l'aide d'une allumette.
APPAREILS AVEC THERMOCOUPLE DE SECURITE
(selon les modèles)
Pour l'allumage des brûleurs, il est nécessaire d'effectuer les mêmes opérations décrites ci-dessus. Dans ce cas, une fois que les manéttes se trouvent en position d'ouverture, il est indispensable de continuer à appuyer sur la manette concernée pendant environ 10 secondes après l'allumage. Si la flamme avait s'éteindre une fois que Vous relâchez la manette, le dispositif de sécurité bloquera le passage du gaz vers le brûleur concerné.
ECONOMIE D'ENERGIE
- Le diamètre du fond de la casserole doit correspondre au diamètre du brûleur. La flâme du brûleur ne doit jamais sortir du diamètre de la casserole.
Utiliser toujours des cassetoles à fond plat. - Cuire de préférence avec un couvercle. Cela permet d'utiliser des puissances plus basses.
- Cuire les légumes, pommes de terre, etc. avec peu d'eau pour économiqueir l'énergie et réduire les temps de cuisson.

Fig.1
| Brûleurs | Ø min | Ø max |
| -Rapide | 180mm | 220mm |
| -Semirapide | 120mm | 200mm |
| -Auxiliaire | 80mm | 160mm |
| -triple couron | 220mm | 260mm |
UTILISATION DU FOUR ELECTRIQUE
Quand le four est utilisé pour la première fois, il peut se produit de la fumée de odeur âcre, causée par le premier chauffage du collant des panneaux isolants autour du four (il est opportun de le chauffer à la température maximale pour une durée de 30-40 minutes à portefermée). Il s'agit d'un phénomène absoluement normal et, s'il devait se produit encore, il faudrait attendre que la fumée cesse avant d'introduire les alimentés.
En général le four est équipé de: grille support pour la cuisson des préparations en casseroles ou bien posées directement sur la grille, l'éche-frite pour la cuisson des gâteaux, biscuits, etc. ou pour récapérer les jus et les matières grasses des alimentés placés directement sur la grille.
Note: dans les tableaux suivants il y a les indications pour la cuisson de quelques préparations principales. Les temps de cuisson conseillés dans ces tableaux sont indicatifs. Nous sommes surs qu'après quelque essais vous pourrez apporder les modifications nécessaires pour obtenir les résultats désirés.
Tableau de cuisson système traditionnel
| Preparations | Temp. °C. | Minutes |
| Poisson | 180-240 | suivant dim. |
| Viande | ||
| Rôti de boeuf | 250 | 30 par kg. |
| Rôti de veau | 200-220 | 60 par kg. |
| Poulet | 200-240 | env. 50 |
| Canard ou oie | 220 | suivant poids. |
| Gigot de mouton | 250 | 30 par kg. |
| Rôti de porc | 250 | 60 par kg. |
| Soufflés | 200 | 60 par kg. |
| Gateaux | ||
| Cake | 160 | 50-60 |
| Biscuits de Savoie | 160 | 30-50 |
| Pâté brisée | 200 | 15 |
| Pâté feuilletée | 250 | 15 |
| Tarte aux fruits | 200-220 | 30 |
| Meringues | 100 | 60 |
| Gratin | 220 | 30 |
| Cake 4/4 | 120-140 | 60 |
| Brioches | 160-180 | 45 |
Tableau de cuisson à air chaud
| Préparations | Temp. °C. | Minutes | Poids kg. |
| Entrées | |||
| Lasagnes au four | 200-220 | 20-25 | 0,5 |
| Pâtes au four | 200-220 | 25-30 | 0,5 |
| Riz à la créole | 200-230 | 20-25 | 0,5 |
| Pizza | 210-230 | 30-45 | 0,5 |
| Viandes | |||
| Rôti de veau | 160-180 | 65-90 | 1-1,2 |
| Rôti de porc | 160-170 | 70-100 | 1-1,2 |
| Rôti de boeuf | 170-190 | 40-60 | 1-1,2 |
| Filet de boeuf | 170-180 | 35-45 | 1-1,5 |
| Roast-Beef | 180-190 | 40-45 | 1-1,5 |
| Rôti d'agneau | 140-160 | 100-130 | 1,5 |
| Poulet rôti | 180 | 70-90 | 1-1,2 |
| Canard rôti | 170-180 | 100-160 | 1,5-2 |
| Oie rôti | 160-180 | 120-160 | 3-3,5 |
| Dindon rôti | 160-170 | 160-240 | 5 env. |
| Lapin rôti | 160-170 | 80-100 | 2 env. |
| Lievre rôti | 170-180 | 30-50 | 2 env. |
| Poisson | 160-180 | d'après poids | |
| Gâteaux (Pâtisserie) | |||
| Tarte aux fruits | 180-200 | 40-50 | |
| Savarin | 160-180 | 35-45 | |
| Gâteau "Margherita" | 200-220 | 40-45 | |
| Pain de Genes | 200-230 | 25-35 | |
| Fouace au raisin | 230-250 | 30-40 | |
| Brioches | 170-180 | 40-60 | |
| Strûdel | 160 | 25-35 | |
| Feuillantines sucrées | 180-200 | 20-30 | |
| Beignets de pom. | 180-200 | 18-25 | |
| Flan biscuit Savoie | 170-180 | 30-40 | |
| Biscuits de Savoie | 150-180 | 50-60 | |
| Toasts | 230-250 | 7 | |
| Pain | 200-220 | 40 |
FOURS A CONVECTION NATURELLE (Petit four)
Le four est pourvu de:
- une résistance inférieure:
- une résistance supérieure.
En tournant dans le sens des aiguilles d'une montre la manette du thermostat il est possible de selectionner la temperture désirée dans le four et, selon les modèles, une ou plusieurs fonctions:

Four éteint

Lumière four
60 ÷ MAX Branchement de la résistance supérieure + inférieure

Branchement de la résistance supérieure

Branchement de la résistance inférieure

Branchement du grilloir
(tournebroche selon les modeles
ATTENTION -
Le grilloir doit toujours être utilisé avec porte entrouverte (en correspondance du premier déclenchement de la charnière), et le déflecteur pour la protection des manettes installé (fig. 2).
Note:
Un témoin place sur le tableau de bord resté allumé jusqu'à ce que la température soit atteinte, ensuite il s'allumera par intermittence.

Le four est pourvu de:
- une résistance inférieure;
- une résistance supérieure;
- une résistance circulaire qui entoure le ventilateur.
N.B.: Le branchement de n'importe qu'elle fonction a lieu toujours après avoir placé la manette du thermostat en correspondance de la température désirée.
Thermostat four
Tournier la manette dans le sens des aiguilles d'une montre pour sélectionner la température du four désirée, comprise entre 50 et MAX°C

Sélecteur fonctions four
Tournier la manette des le sens des aiguilles d'une montre pour sélectionner la fonction du four désirée

Note:
Un tímoin placé sur le tableau de bord resté allumé jusqu'à ce que la température soit atteinte, ensuite il s'allumera par intermittence.
Le four jours doit etre a la porte fermée.
Utilisation du four
Note: fours avec thermostat et commutateur séparés.
Lorsqu'on utilise les fonctions [ ] [ ] placer la manette du thermostat entre 180 ÷ 200^ C comme température maximale.
ATTENTION:
La température indiquée sur le tableau de bord correspond à la température maintainue au centre du four seulement quand les fonctions sélectionnées sont ou

Une fois tourné le bouton sur cette position, la lampe reste allumée pendant toutes les opérations qui seront.

Décongélation par ventilateur
Cette position permet la circulation de l'air pulsed à la température ambiente tout autour de l'aliment surgelé en le décongelant sans modifier ou ALTERER son contenu protéique.

Branchement de la résistance inférieure et supérieure du four. Il s'agit de la cissoon traditionnelle, excellente pour rotir les gigots, ideale pour les biscuits, les pommes au four et pour que les alimentes deviennent tres croquants. On obtient de bons résultats pour les cissoons sur un niveau avec reglage de la temperature de 50 a MAX°C.

Cuisson par air pulsé
La résistance circulaire et le ventilateur sont en fonction. L'air chaud, régblé entre 50 et MAX°C, est pousse uniformément sur tous les étages du four. Ceci permet une cuisson ideale de plusieurs mets ensemble (viande, poisson, etc.) sans mélanger les différents odeurs et saveurs. Cuisson délicate indiquée pour Génoises, gâteaux de Savoie, pâtes feuilletées, etc.

Gril moyen
Par cette position, la résistance du grill moyen à l'infrarouge est en fonction. Ceci permet de griller ou gratiner les plats traditionnels de petites dimensions.

Grill
Par cette position, la résistance du grill à l'infrarouge est en fonction. Ceci permet de griller ou gratiner les plats traditionnels.La manette du thermostat doit être placée sur la position 180 - 200^

Grill ventilé
L'air, chauffé par la résistance du grill, est aspiré par le ventilateur et poussé sur les alimentes. Le grill ventilé remplace remarquablement le tournebroche et il assure des résultats excellents avec VOLAILLES, saucisses et viandes rouges, même en quantité considérable.La manette du thermostat doit être placée sur la position 180 - 200^

Sole ventilé
L'air, rechauffé par la résistance inférieure, est aspiré par le ventilateur et poussé sur les aliments. Cette fonction peut être utilisée pour stérisifier les aliments. Cette fonction peut être utilisée entre 50 et MAX°C.
Positionner la grille porte-plats au troisième gradin en partant du fond du four, à 12 cm à peu pres de la surface rayonnante.
Voussouspoucezchangerdegradin,suivantvoretrogutpersonnel et lesnecessitésdesdifférentesmets.Avantd'enfourner,laisserchauffer5minutes.

Fig. 2

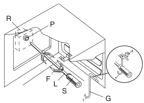
Tournebroche (selon les moseles)
- Enfilier le poulet ou la pierce à rôtir sur la broche L ennant bienSON de l'immobiliser entre les deux fourches F et de bien l'équilibrer afin d'éviter des efforts inutiles au moto réducteur R. (fig. 3).
- Mettre la broche sur le support G, après avoir introduit son extrémité opposée dans le trou P du moteur R (fig. 3).
- Engager la lèchefrite avec un peu d'eau au dessous de la broche.
- Mettre en place l'écran de protection S de manettes et placer la porte en position entre ouverte (voir fig. 2).
- Pour enlever la broche opérer de la façon contraire utilisant la manette S et un Guantanamo de protection en laine isolante (fig.3).
Pour la mise en fonction du tournebroche, tournier la manette sur le symbole 1 .

Fig. 3
INSTRUCTIONS POUR L'UTILISATION DES
DISPOSITIFS CONTROLE
(SELON LES MODELES)
HORLOGE "LED" (Fig. 4)
\section*{Caracteristiques}
Horloge 24 heures avec programmation automatique et comptées.
Fonctions
Durée de cuisson, fin cuisson, position manuelle, horloge, comptes-minutes, temps régibles jusqu'à 23 heures et 59 minutes.
Affichage des fonctions
Affichage lumineux à 4 chiffres pour indiquer l'heure et les temps de cuisson.
Durée de cuisson et fonction manuelle = symbole de la casserole
Fonction automatique = AUTO
Minuterie = symbole de la cloche Une fonction est selectionnelle lorsque le symbole correspondant est affiché.

Fig. 4
| Minuterie sonore | |
| Durée de cuisson | |
| Fin de cuisson | |
| Manuel | |
| - | Diminution du temps |
| + | Augmentation du temps |
Programmation
La programmation s'effectue en appuyant sur le bouton de la fonction désirée. ÀpRES avoir relâché ce bouton, programmer le temps avec + et -
Boutons + et -
En appuyant sur les boutons + et - le temps augmente ou diminuè à une vitesse variable selon la durée de la pression sur le bouton.
Réglage de l'heure
Pour régler l'heure désirée, appuyer en même temps sur le bouton manuel et réglage l'heure avec + ou -. Par cette opération, tous programmes précédents sont éliminés. Le symbole AUTO clignote.
Fonctionnement en manuel
En appuyant sur le bouton de manuel, le symbole AUTO s'eteint, le symbole de casserole apparait. Le fonctionnement manuel a lieu seulement à la fin de la programmation automatique ou après que celle-ci a été annulée.
Fonctionnement automatique
En appuyant sur le bouton de durée ou de fin cuisson, le programmateur se commute automatiquement de la fonction manuelle à la fonction automatique.
Fonctionnement semi-automatique avec durée de cuisson
Appuyer sur le bouton de durée de cuisson et programmerme les temps désiré avec + ou -. Le symbole AUTO et de durée de cuisson apparaissent en permanence. Quand le temps de fin de cuisson correspond à l'heure, le symbole de durée de cuisson se débranche, la sonnerie retentit, et le symbole AUTO clignote.
Fonctionnement semi-automatique avec fin de cuisson
Appuyer sur le bouton de fin cuisson. L'heure apparait sur l'affichage lumineux. Sélectionner le temps de fin cuisson désiré avec le bouton+. Les symboles AUTO et durée de cuisson apparaisent en permanence.
Quand le temps de fin cuisson correspond à l'heure,
le symbole de durée de cuisson se débranchent. Une fois le temps de cuisson écoué, le symbole AUTO clignote, la sonnerie retentit, le symbole de durée de cuisson s'éteint.
Fonctionnement automatique avec durée et fin de cuisson
Appuyer sur le bouton de durée et selectionner la durée de cuisson désirée avec + ou -. Les symboles AUTO et durée apparaissent en permanence. Appuyer sur le bouton de fin de cuisson. Le temps de fin cuisson le plus proche apparait sur l'affichage lumineux. Sélectionner le temps de fin cuisson désiré à travers le bouton+. Le symbole de durée se débranche. Le symbole s'allume de nouveau quand l'heure correspond au temps de début de cuisson.
Une fois le temps de cuisson écoué, le symbole AUTO clignote. La sonnerie retentit et le symbole de durée et s'eteint.
Minuterie
Appuyer sur le bouton compte-minutes et seLECTIONner le temps de cuisson désiré avec le bouton + ou -.
Pendant le fonctionnement de la minuterie, le symbole de la cloche apparait. À la fin du tempsCHOsi, la sonnerie retentit et le symbole de la cloche s'eteint.
Signal sonore
Le signal se met en marche à la fin d'une programmation ou de la fonction minuterie pour durée de 15 minutes. Pour l'arrêter, appuyer sur un bouton quelconque des fonctions.
Début programme et contrôle
Les programmes démarrent à peu après 4 secondes après leur programmation.
Il est possible de vérifier à tout moment le programme en cours en appuyant sur le bouton concerné.
Erreur de programmation
Il y a un erreur de programmation si l'heure indiquée par l'horloge est comprise entre l'heure de début cuisson et l'heure de fin cuisson. L'erreur de programmation peut être corrigé, en changeant la durée ou le temps de fin cuisson.
Suppression d'un programme
On peut supprimer un programme en appuyant sur le bouton de durée cuisson et puis sur le bouton - afin que l'indication 00 00 apparaisse sur l'affichage lumineux. À la fin d'un programme, ceci s'éliminera automatiquement.
HORLOGE ANALOGIC (fig. 5).
Pour la mise à l'heure
Presser et tourner le bouton vers la droite, jusqu'à ce que l'heure exacte apparaisse. En cas d'une fausse manoeuvre, éviter de tourner vers la gauche. Un mécanisme de sécurité protège les composants de l'horloge.
Réglage sonnerie
Tournier le bouton vers la croite, sans le presser, afin que l'aiguille corresponde au temps de sonnerie désiré. Une fois le temps écoué la sonnerie retentit sans cette. Pour l'arrêter, tourner le bouton vers la croite afin que l'aiguille corresponde au symbole de la cloche rayée.

Fig. 5
ENTRETIEN ET NETTOYAGE
Avant de procéder au nettoyage, débrancher le robinet du gaz général et enlever la fiche de la prise de courant ou couper le courant de la ligne d'alimentation au moyen de l'interrupteur général de l'installation électrique.
Eviter de nettoyer les surfaces de l'appareil lorsqu'elles sont encore chaudes.
Ne pas utiliser de nettoyeurs vapeur pour nettoyer le four. SURFACES EMAILLEES
Nettoyer avec une éponge mouillée avec de l'eau et du savon. Les taches de gras peuvent être enlevées facilement avec de l'eau chaude ou un produit spécifique se trouvant facilement en commerce pour le nettoyage de l'émail. Eviter les produits contenant des substances abrasives. Ne pas laisser sur l'émail de substances acides ou alcalines (jus de citron, vinaigre, sel etc...)
Les apparêls en acier inox doivent être nettoyés avec des détergents spéciaux pour acier inox. Ces détergents doivent être appliqués à l'aide d'un linge moelleux.
GRILLES ET BRULEURS
Pour procéder au nettoyage des brûleurs de la table de travail, il est nécessaire de les extraire de leur siège en les élevant vers le haut et de lesmettrependant une dizaine de minutes dans une solution d'eau chaude et produit détergent non abrasif. Avec avoir nettoyé et lavé les brûleurs, les essuyer soigneusement.
Contrôler toujours que les orifices des brûleurs ne soient pas obstrués.
Nous conseillons de réaliser cette opération au moins une fois parSEAme ou chaque fois que cela est necessaire.Faire attention a remonter de façon correcte les bruleurs de la table.
PORTE DU FOUR
Pour certains modèles, la porte du four peut être démontee de la façon suivante: les charnières A sont pourvues, pour ce but, de cavaliers mobiles B qui accrochés au secteurs des charnières C, lorsque la porte est complètement ouverte, les bloquent. ÀpRES il faut enlever la porte vers l'extérieur faisant donc les deux mouvements montrés en figure. Pour effectuer ces opérations, faire prise sur les côts de la porte en proximé des charnières. Pour remonter la porte introduire les charnières dans leur sièges. Avant de fermer la porte, ne pas outlier d'enlever les cavaliers mobiles B. Attention: en proximé des charnières de la porte du four, il existe le danger de se blesser les mains.

PORTE DU FOUR
Pour les parties émailées nettoyer avec une éponge mouillée avec de l'eau et du savon. Les taches de gras peuvent être enlevées facilement avec de l'eau chaude ou un produit spécifique se trouvant facilement en commerce pour le nettoyage de l'email. Eviter lese produits contenant des substances abrasives.
RENSEIGNEMENTS DESTINES A

DIMENSIONS D'ENCOMBREMENT (mod. 192)


DIMENSIONS D'ENCOMBREMENT (mod. 108)

Certain modèles sont écipés de 4 pieds utiles pour aligner éventuellesment la cusinière avec les meubles. (voir fig. 8 ou 8A selon modèles).

Fig. 8
Fig. 8A
Soulever la cuisine et visser les quatre pieds dans les logements prévus à cet effet aux quatre coins sous l'appareil.


AVERTISSEMENTS
Avant d'effectuer toute réparation ou intervention, débrancher la prise de courant et fermer le robinet de gaz. Le technicien qualifié est responsable de l'installation correcte suivant les normes de sécurité en vigueur. La mise à la terre de l'appareil est obligatoire aux termes de la loi.
Le constructeur décline toute responsabilité quant aux dommages subsis par des personnes, des animaux ou des biens, résultat de la non observation des normes ci-dessus indiquées.
Les données techniques sont indiquées sur la plaque signalétique placée dans le tiroir inférieur de l'appareil. Les conditions de réglage sont indiquées sur l'étiquette appliquée sur l'emballage. Ne pas utiliser la poignée de la porte du four pour effectuer des opérations de mouvement, y compris l'opération nécessaire pour enlever l'appareil de l'emballage.
L'appareil est en classe 1 ou classe 2 sous-classes 1.
INSTALLATION
IMPORTANT: Le revêtement du meuble doit supporter des températures (min. 90^ ).
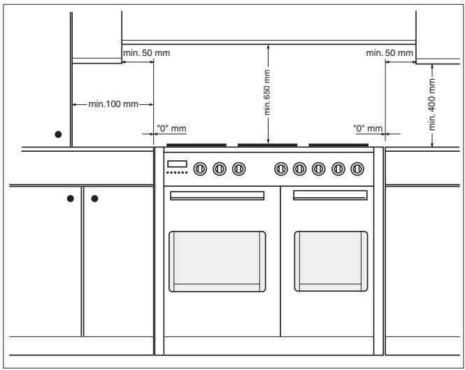
Si l'appareil doit être installé pres des meubles, observer les distances minimales prévues par le plan ci-après.

L'installation et l'entretien de l'appareil doivent être effectuels par une personne qualifiée conformément aux textes réglementaires et règes de l'art en vigueur:
L'installation et l'entretien de l'appareil doivent être effectuels par une personne qualifiée conformément aux textes réglementaires et règes de l'art en vigueur notamment:
- Arrêté du 2 août 1977 (art.10-11)
Règles Techniques et de Sécurité applicables aux installations de gaz combustible et d'hydrocarbures liquifiés situés à l'intérieur des batiments d'habitation et de leur dépendances.
Norme DTU P 45-204
Installations de gaz (anciennement DTU n° 61-1 - Installations de gaz - Avril 1982 + additif n°1 Juillet 1984).
- Règlement Sanitaire Départemental
Pour les apparèils raccordés au réseau électrique:
Norme NF C 15-100
Installations électriques à basse tensione - Règles.
Cet apparéil n'est pas pourvu de dispositif d'évacuation des produits de la combustion. On doit donc l'instructor dans des endroits suffisamment aérés suivant les dispositions des lois en vigueur.
La quantité d'air nécessaire à la combustion ne doit pas être inférieure à 2.0 m³/h pour chaque kW de puissance installée.
(Voir la puissance totale sur la plaque signalétique placée dans le tiroir inférieur de l'appareil).
La norme fixe la valeur minimale de la section libre totale des ouvertures permanentes (fentes, perforation, grilles, gains, etc.) destinée à l'évacuation de l'air des cuisines qui doit être d'au moins de 100~cm^2
La norme spécifique que la partie supérieure de l'ouverture permanente utilisée pour l'évacuation de l'air vicié par les produits de combustion doit être située à 1,80 m au moins au dessus du sol du local. Une section libre au moins égale doit être réservée aux ouvertures d'entrée d'air.
L'emplacement des ouvertures doit etre tel qu'il n'en résultat aucun courant d'air insupportable pour les occupants.


RACCORDEMENT AU GAZ
Contrôr si l'appareil est prévu pour le type de gaz distribué. Le raccordement à la canalisation gaz doit être effectué en conformité avec les règlements en vigueur (Article 10 de l'arrêté du 02.08.1977 et aux règles de l'art. (DTU 61-1), installations de gaz qui imposent sur l'extrémité de cette canalisation la présence d'un robinet de commande.
Pour le butane et le propane, un détenteur-declencheur conforme à la norme NF D 36-303 peut tener lieu de robinet de commande.
Ce robinet de commande permet de couper l'alimentation en gaz lorsque l'appareil n'est pas utilisé.
Une fois terminées les opérations de raccordement gaz, contrôle l'étanchéité des raccords avec de l'eau et du savon.
L'extremité du raccord est filtée.
Les raccordements possibles sont:
1) le raccordement rigide avec interposition d'un joint;
2) le raccordement par tuyau flexible avec armature à embouts mécaniques suivant les normes en vigueur.
Le tuyau doit être raccordé directement au coude de la rampe. (voir fig 9).

3) le raccordement par tuyau flexible
Le tuyau doit être monté sur l'about (porte caoutchouc) avec un collier de serrage (F) pour éviter toute fuite de gaz et visitable sur toute sa longueur ( voir fig 10).
Dans ce dernier cas, contrôle la date de péremption imprimée sur le tuyau et le remplacer avant cette date.
AVERTISSEMENTS
Nous rappelons pour les tuyaux couples (longueur max.1500mm), de:
1 - eviter tous étranglements ou écrasements du tuyau
2 - eviter des efforts de traction et de torsion
3 - eviter d'entrée en contact avec des corps pointus, à vivre arête, etc...
4 - eviter d'entrée en contact avec des parties qui dépassent de 70^ la température ambiente.
5 - s'assurer qu'ils peuvent etre vérifiés pour toute leur longueur.

Fig. 10
Si l'appareil a eté prévu pour fonctionner avec un type de gaz différént de celui de l'alimentation disponible, il faut changer les injecteurs, régler le début réduit des brûleurs et changer l'about annelé.
Afin de changer les injecteurs de la table de travail, il est nécessaire d'effectuer les opérations suivantes: enlever les grilles, enlever les brûleurs et leurs chapeaux (voir fig.11 A), changer l'injecteur (voir figure 11 B) et le remplacer avec celui approprié au nouveau type de gaz (voir tableau D). Remonter tout en sens inverse en faisant attention à placer le chapeau de façon correcte sur le brûleur.

Fig. 11
Valeurs se référant à Hs - 15°C - 1013,25mbar
| TAB.D TABLEAU GENERAL INJECTEURS | ||||||
| Type de gaz | mbar | Inject. N. | Brûleur type | Puisance Watt Cohsom | ||
| max. | min. | max. | ||||
| NATUREL G20/25 | 20/25 | 1,15 | -Rapide | 3000 | 750 | 286 l/h |
| 0,97 | -Semi rapide | 1750 | 480 | 167 l/h | ||
| 0,72 | -Auxiliaire | 1000 | 330 | 95 l/h | ||
| 1,28 | -Triple cour. | 3300 | 1300 | 315 l/h | ||
| 1,20 | -Poussonière | 2900 | 1500 | 277 l/h | ||
| BUTANE G30 PROpane G31 | 28/30 | 0,85 | -Rapide | 3000 | 750 | 219 g/h |
| 0,65 | -Semi rapide | 1750 | 480 | 128 g/h | ||
| 0,50 | -Auxiliaire | 1000 | 330 | 73 g/h | ||
| 37 | 0,93 | -Triple cour. | 3300 | 1300 | 241 g/h | |
| 0,85 | -Poussonière | 2900 | 1500 | 211 g/h | ||
| AIR BUTANE PROpane G130 | 8 | 2,60 | -Rapide | 3000 | 750 | 421 l/h |
| 1,85 | -Semi rapide | 1750 | 480 | 245 l/h | ||
| 1,45 | -Auxiliaire | 1000 | 330 | 140 l/h | ||
| 2,90 | -Triple cour. | 3300 | 1300 | 463 l/h | ||
REGLAGE DEBIT REDUIT ROBINETS DE LA TABLE.
Afin de règler le débit réduit, procéder comme il suit: allumer le brûleur et tourner la manette vers la position de débit réduit ; enlever la manette du robinet. Introduire un petit tourne-vis dans la tige du robinet (fig. 12). Attention: dans les robinets avec sécurité, la vis de règlage “Z” du minimum se trouve à l'extérieur de la tige du robinet (fig. 12 A).
Dévisser la vis de réglage pour augmenter le débit, ou visser la vis pour diminuir le débit. Le réglage est correct quand la flamme mésure environ 3 ou 4 mm. Pour le gaz butane/propane, la vis de réglage doit être visée à fond. S'assurer que la flamme ne s'éteint pas lorsqu'on passé brusquement du débit max. 且 , au débit réduit et viceversa. Remonter la manette.


BRANCHEMENT ELECTRIQUE
Le branchement de l'appareil au réseau électrique doit être réalisé par un personnel spécialisé, connaissant les normes de sécurité en vigueur.
La mise à la terre de l'appareil est obligatoire selon les termes de la loi. Avant d'effectuer le branchement électrique, s'assurer de l'efficacité de la mise à la terre.
S'assurer que la soupape limitatrice et les cablages domestiques poussent supporter le chargement de l'appareil.
Prévoir un dispositif de déconnexion sur le réseau d'alimentation avec une distance d'ouverture des contacts qui permette la déconnexion complète dans les conditions de la catégorie de surtension III, conformément aux règles d'installation. Le cable de terre jaune/vert ne doit pas être interrompu par l'interrupteur.
Important: les fils du cable d'alimentation ont les couleurs suivantes:
- jaune/vert = pour la mise à la terre " 12 " (E)
-bleu = pour le neutre "N"
-
marron = pour la phase "L"
-
Vérifier toujours que le cable électrique ne touche pas ni des surfaces coupantes ni chaudes avec une températe qui dépasse de 50^ celle ambiente, et qu'il soit de longueur suffisante pour un eventuel déplacement nécessaire au nettoyage ou à une réparation. S'il on utilise une fiche pour le branchement, la fiche de branchement du cable d'alimentation et la prise à laquelle elle doit être branchée doivent être du même type (conformes aux normes).
| Type d'appareil | Alimentation monophasée 230V~ | |
| Type de cable | Section | |
| Table toutes gaz + double four électr. | Caoutchouc H05 RR-F | 3 x 2,5 mm² |
REplacement DU CABLE
Dans le cas ou le cable devrait s'endommager, le replacer selon les instructions suivantes:
- ouvrir la boite du bornier comme précrit dans la figure ci-dessous;
- dévisser la vis "A" qui bloque la câble;
- remplacer la cable avec un de la même longueur et correspondant aux caractéristiques décrites dans le tableau:
- le fil de mise à la terre "jaune-verte" doit être raccorde à la borne " 1 " et il doit être plus long d'environ 10mm par rapport aux fils de ligne;
- le fil neutre "bleu" doit être raccorde à la borne marquée par la dette "N"
- le fil de ligne doit être raccorde à la borne marquée par la dette "L".

AVERTISSEMENTS
Avant d'effectuer toute réparation ou intervention, débrancher la prise de courant et fermer le robinet du gaz.
Le constructeur décline toute responsabilité quant aux dommages subsis par des personnes, des animaux ou des biens, résultat de la non observation des normes ci-dessus indiquées.
Dans le cas où il serait nécessaire de réparer ou replacer les composants interns, il faut:
La lampe four utilisée est de type spécial résistant aux températures élevées. Afin de pouvoir la replacer démonter le verre de protection (A) et replacer la lampe brûlée par une dou même type, ensuite remonter le verre de protection (fig 12 B).

DEMONTAGE DE LA TABLE DE TRAVAIL
Enlever les grilles, enlever les brûleurs et les chapeaux (voir fig.13), dévisser les vis "V" visibles au dessus de la table (voir fig. 14). Démonter la table de travail en dévisant les 4 vis "A" arrêté (voir fig. 15). De cette façon il est possible de soulever la table de travail et acceder aux composants interns.



- Pour démonter le tableau de bord il suffit de dévisser les 4 vis internes (B) qui fixent le tableau de bord à la façon du four (fig. 16).

GRAISSAGE DES ROBINETS
Si la manoeuvre d'un robinet devient dure, il faut l'engraisser avec un gras spécifique pour les haute températures. Proceder comme il suit: ouvrir la table de travail et démonter le tableau de bord aussi comme décrit dans le précédent paragraphe.
Dévisser les deux vis de fixation du corps du robinet (voir figure) et enlever le cône.

Nettoyer le cône et sa siège avec un linge mouillé avec du solvant. Engraisser légèrement le cône avec le gras spécifique, le placer dans sa siège, et le tourner quelque fois. Enlever le cône de nouveau et enlever le gras résiduel faisant attention à ne pas obstruer les passages de gaz avec des résidus de gras.
Monter tout soigneusement en sens inverse.
Ouvrir la table de travail et démonter le tableau de bord aussi comme décrit dans le précédent paragraphe. Dévisser l'écrou D du tube quiporte le gaz au brûleur, dévisser la vis V fixant le robinet à la bride et l'enlever (voir figure 16 A).
Note: Lorsqu'on remplace le robinet il est nécessaire de replacer le joint d'étancheité du robinet.

Fig. 16 A
Notice Facile