RD5 - Refrigerateur bar FABIOLR - Notice d'utilisation et mode d'emploi gratuit
Retrouvez gratuitement la notice de l'appareil RD5 FABIOLR au format PDF.
| Type d'appareil | Four électrique |
| Capacité | Non précisé |
| Dimensions (HxLxP) | Non précisé |
| Puissance | Non précisé |
| Fonctions principales | Cuisson, décongélation rapide |
| Commandes | Panneau de commandes |
| Éclairage interne | Oui |
| Utilisation compartiments | Réfrigérateur et congélateur (optionnels) |
| Sécurité | Avertissements de sécurité intégrés |
| Nettoyage | Nettoyage et dégivrage |
| Installation | Branchement électrique requis |
| Consommation énergétique | Non précisé |
| Accessoires | Non précisé |
| Conseils d'utilisation | Lire le manuel pour préserver les caractéristiques |
| Garantie | Non précisé |
| Poids | Non précisé |
FOIRE AUX QUESTIONS - RD5 FABIOLR
Téléchargez la notice de votre Refrigerateur bar au format PDF gratuitement ! Retrouvez votre notice RD5 - FABIOLR et reprennez votre appareil électronique en main. Sur cette page sont publiés tous les documents nécessaires à l'utilisation de votre appareil RD5 de la marque FABIOLR.
MODE D'EMPLOI RD5 FABIOLR
| AVERTISSEMENTS | 32 |
| Avertissements généraux de sécurité | 32 |
| Pour cet apparéil | 35 |
| Fonction de l' apparéil | 36 |
| Ce manuel d'utilisation | 36 |
| Responsabilité du fabricant | 36 |
| Service Assistance. | 36 |
| Plaque d'identification | 36 |
| Étiquette énergétique | 37 |
| Élimination | 37 |
| Informations destinées aux organismes de contrôle | 37 |
| Pour économique l'énergie | 37 |
| Comment dire le manuel d'utilisation | 37 |
| DESCRIPTION | 38 |
| Description générale | 38 |
| Accessoires | 38 |
| UTILISATION | 39 |
| Opérations préliminaires | 39 |
| Première utilisation | 39 |
| Panneau des commandes | 39 |
| Sélection de la température | 39 |
| Fonction congélation rapide | 39 |
| Utilisation des accessoires | 39 |
| Utilisation du compartment réfrigérateur | 40 |
| Utilisation du compartment congélateur | 41 |
| Bruits durant le fonctionnement | 41 |
| Mise hors tension | 41 |
| Conseils pour la conservation | 42 |
| NETTOYAGE ET ENTRETIEN | 42 |
| Nettoyage de l'appareil | 42 |
| Dégivage | 43 |
| Éclairage interne | 43 |
| Que faire si... | 43 |
| INSTALLATION | 44 |
| Branchement électrique | 44 |
| Positionnement | 44 |
Nous conseillons de dire attentivement ce manuel qui contient toutes les indications nécessaires pour préserver les caractéristiques esthétiques et fonctionnelles de l'appareil acheté. Pour toute information complémentaire concernant le produit : www.smeg.com
AVERTISSEMENTS
Avertissements généraux de sécurité
Dommages corporels
- Selon la reglementation en vigueur, les enfants de 3 à 8 ans peuvent prendre oumettre des alimentés dans l'appareil, mais il est fortement déconseilé de permettre aux enfants de moins de 8 ans d'effectuer ces opérations et, en général, d'utiliser l'appareil.
-
Gardez à l'écart les enfants de moins de 8 ans, s'ils ne sont pas surveillés en continu, et assurez-vous qu'ils ne jouent pas avec l'appareil.
-
N'essayez jamais d'éteindre une flamme/incendie avec de l'eau : mettez l'appareil hors tension et couvre la flamme avec une couverture ignifuge.
- Ne touchez pas les éléments chauffants à l'extérieur de l'appareil.
- Les opérations de nettoyage et d'entretien, qui doivent être effectuées par l'utilisateur, ne doivent jamais être effectuees par des enfants sans surveillance.
- Ne modifiez pas cet articleil.
-
N'introduisez pas d'objets métalliques pointus (couverts ou ustensiles) dans les fentes.
-
Ne touche pas (surtout avec les mains mouillées) et ne mettez pas directement en bouche les alimentés congelés.
- Ne conservez pas de substances inflammables, explosives ou susceptibles des 'evaporer.
- Ne pas conserver dans l'appareil de produits explosifs tels que des aérosols inflammables.
- Les bouteilles contenant un pourcentage élevé d'alcool doivent'être bien fermées et en position verticale.
- Les substances organiques, acides et les huiles éthérées risquent de provoquer la corrosion des surfaces en plastique et des joints en cas de contact prolongé.
- Avant de procéder au nettoyage ou à l'entretien, mettez l'appareil hors tension et débranchez-le du réseau électrique..
- Ne tirez jamais le cable pour débrancher la fiche.
Dommages subis par l'appareil
- Ne posez jamais d'objets métalliques pointus (couverts ou couvercles) sur l'objet durant l'emploi.
- N'utilisez pas de détergents abrasifs ou corrosifs sur les parties en verre (ex. produits en poudre, détachants et éponges
metalliques).
- Ne vous asseyez pas sur l'appareil.
- Ne vous appuyez pas et ne vous asseyez pas sur la porte ou sur les évventuels tiroirs ouverts.
- Ne faites pas levier sur la porte ou la poignée pour déplacer l'appareil.
- N'utilisez pas de jets de vapeur pour nettoyer l'appareil.
- N'utilisez pas d'appareils électriques ( comme un séchecheveux, etc.) ni un spray dégivrant qui risquent de déformer les pièces en plastique.
- N'utilisez jamais l'appareil pour rafraîchir la piece.
- Débranche l'appareil quand il est en panne, soumis à un entretien ou pendant son nettoyage.
- Ne conservez pas dans le congélateur de liquides en boîtes ou des recipients en verre.
- N'utilisez pas d'objets métalliques pointus pour éliminer la glace en excès dans le compartment Congélateur.
- N'utilisez pas d'adaptateurs pour fiches.
-
ATTENTION Ne placez pas de prises multiples portables ni d'alimentations de puissance portables au dos de l'appareil électroménager.
-
Ne posez pas d'objects lourds sur l'appareil.
- N'éliminez pas le givre ou la glace avec un objet coupant, pour éviter d'endommager irrémédiablement les parois de l'appareil.
Installation et entretien
- La mise à la terre est obligatoire selon les modalités prévues par les normes de sécurité de l'installation électrique.
- Positionnez l'appareil avec l'aide d'une autre personne.
- N'utilisez pas la porte ouverte comme levier pour positionner l'appareil.
- N'exercez pas de pressions excessives sur la porte ouverte.
- L'appareil ne doit pas etre installe a proximite de sources de chaleur. Si cela est impossible, utilisez un panneau isolant adequat.
L'appareil ne doit pas etre exposé aux rayons du soleil. - Ne positionné pas l'appareil à l'extérieur.
- Du personnel qualifié doit effectuer l'installation et les interventions d'assistance dans le respect des normes en vigueur.
- Un technicien habilité doit effectuer le branchement électrique.
Pour éviter tout danger, si le
cable d'alimentation electrique est abimé, contactez immédiatement le service d'assistance technique qui se chargerà de le remplacer, afin d'éviter tout risque.
- Avant toute intervention sur l'appareil (installation, entretien, positionnement ou déplacement), munissez-vous de équipements de protection individuelle.
- Avant toute intervention, désactive l'alimentation électrique générale.
- S'il est installé à proximité d'un autre réfrigérateur ou d'un conge lateur, gardez une distance minimum de 2 cm.
- N'essayez jamais de réparer l'appareil sans l'intervention d'un technicien qualifié.
- N'installez pas / n'utilisez pas l'appareil en plein air.
ATTENTION: pendant l'installation de l'appareil electroménager, veiller à ce que le cordon d'alimentation ne soit pas coincide ou détiérioré.
Pour éviter l'instabilité de l'appareil, installez-le et fixez-le correctement, comme indiquedans les instructions fournies dans le manuel present. - Cet apparéil peut être utilisé jusqu'à une altitude de 2000 m au-dessus du niveau de la mer.
Pour cet apparéil
- L'appareil peut être utilisé par des enfants âgés d'au moins 8 ans et par des personnes représentant des capacité physiques, sensorielles ou mentales réduites, ou dénuées d'expérience ou de la connaissance nécessaire, à condition qu'ils soient sous surveillance ou bien après avoir reçu les instructions relatives à l'utilisation en toute sécurité de l'appareil et avoir parfaitement compris les dangers inhérents auditteeille.
Surveillez les enfants pour éviter qu'ils ne jouent avec l'appareil. - Ne vous appuyez pas et ne vous asseyez pas sur la porte ouverte.
- Vérifiez qu'aucun objet ne reste coincé dans la porte du four.
- L'appareil contient une petite quantité d'isobutane (R600a), veillez à ne pas abîmer le circuit de réfrigération pendant son transport, son montage ou son nettoyage.
- Maintainir les ouvertures de ventilation dans l'espace entourant l'appareil ou dans la niche d'encastrement libres de toute obstruction.
- Ne pas utiliser de dispositifs mécaniques, électriques, chimiques différents de ceux
recommendés par le
produeur pour accelerer le
processus de dégivrage.
- Ne pas endommager le circuit de réfrigération (s'il peut être accessible).
- N'utilisez pas d'appareils électriques à l'intérieur des compartments pour la conservation des alimentés, si ceux-ci ne sont pas du type recommendé par le fabricant.
- En cas de détérioration du circuit de réfrigération, évitez d'utiliser des flammes nues et aéréz correctement la piece.
- N'utilisez pas l'appareil ou des parties de l'appareil d'une manière différente de cette qui est indiquée dans le manuel present.
- Attention : risque d'incendie (matériaux inflammables).

- L'ouverture de la portedemanière prolongée peutentrainer une augmentationcosaquente de la températurea l'intérieur des compartmentsde I'appareil.
-
Nettoyez régulierement les surfaces pouvant entrau au contact des alimentés, ainsi que les systèmes de drainage accessibles.
-
Conservez la viande crue et le poisson dans des boîtes appropriées dans le réfrigerateur, de manière à ce qu'ils n'entrent pas au contact d'autres alimentés et qu'ils ne s'égouttent pas dessus.
-
S'il reste vide pendant de longues périodes, éteignez l'appareil, décongelez-le, nettoyez-le, séchez-le et laissez-le avec la porte ouverte pour éviter que des moissures ne se développement à l'intérieur.
Fonction de l'appareil
Leprésent apparéil est concu pour un usage domestique et des usages analogues comme :
- la zone cuisine destinée au personnel des magasins, des bureaux et d'autres lieux de travail ;
- dans les fermes, les hotels, les motelels et dans d'autres espaces résidentiels;
- dans les bed & breakfast ;
- pour les services de restauration et des applications analogues non destinées à la vente au détail.
L'appareil n'est pas destiné à un usage professionnel et commercial. -
Cet apparéil est destiné à la réfrigération et à la conservation d'aliments frais et surgelés en milieu domestique. Toute autre utilisation estIMPÔRPE.
-
Cet apparéil n'est pas concu pour fonctionner avec des temporisateurs externes ou des systèmes de commande à distance.
Ce manuel d'utilisation
- Ce manuel d'utilisation fait partie intégrante de l'appareil. Conservez-le en parfait état et à portée de main de l'utilisateur pendant tout le cycle de vie de l'appareil.
- Lisez attentivement ce manuel d'utilisation avant d'utiliser l'appareil.
Responsabilité du fabricant
Le fabricant decline toute responsabilité en cas de dommages subs par les personnes et les biens, causés par :
- l'utilisation de l'appareil différente de cette prévue ;
- le non-respect des prescriptions du manuel d'instructions;
- l'alteration même d'une seule partie de l'appareil;
- l'utilisation de pieces détaches non d'origine.
Service Assistance.
- En cas de défaillance de l'appareil, contactez le service d'assistance technique et faites effectuer la réparation par du personnel qualifié uniquement.
assurez-vous d'avoir le modele et le numero de série disponibles sur la plaque d'identification. - N'utilise que des pieces de rechange d'origine.
- N'essayez jamais de réparer l'appareil sans l'intervention d'un technicien qualifié : outre les conséquences en matière de sécurité, cela pourrait annuler la garantie.
- Les pièces de rechange d'origine de certains composants restent disponibles pendant 7 ou 10 ans au moins après leur date de mise sur le marché du modele, selon le type de composant.
Plaque d'identification
La plaque d'identification contient les données techniques, le numéro de série et le marquage. N'enlevez jamais la plaque d'identification.
Étiquette énergétique
Pour être informé des performances de votre apparéil via la base de données EPREL de l'UE, visitez l'adresse web suivante et entrez le nom du modele (indiqué sur la plaque d'identification):
https://eprel.ec.europa.eu
Un code QR sur l'étiquette énergétique permet d'accederrapidement à l'adresse web. Utilisez un dispositif équipé d'un programme de lecture approprié.
L'étiquette énergétique doit être conservée avec tous les documents fournis avec l'appareil.
Élimination

Cet apparéil, conforme à la directive française DEEE (2012/19/UE), doit être éliminé séparément des autres
déchets au terme de son cycle de vie.
Cet appeareil ne contient pas de substances dont la quantité est jugée dangereuse pour la santé et l'environnement, conformément aux directives européennes en vigueur.

Tensionélectrique Danger'd'electrocution
- Coupe l'alimentation électrique générale.
- Débranche le cable d'alimentation électrique de l'installation électrique.
Pour éliminer l'appareil :
- Coupe le cable d'alimentation électrique et retirez-le.
- Confiez l'appareil destiné à la mise au rebut aux centres de collecte sélective des déchets électriques et électroniques, ou remettez-le au revendeur au moment de l'achat d'un apparéil équivalent, à raison d'un contre un.
On précise que pour l'emballage de nos produits, nous utilisons des matériaux non polluants et recyclables.
- Confiez les matériaux de l'emballage aux centres de collecte sélective.

Emballage en plastique Danger d'asphyxie
- Ne laïsez jamais sans surveillance l'emballage ni ses parties.
- Évitez que les enfants jouent avec les sachets en plastique de l'emballage.
Informations destinées aux organismes de contrôle
Pour les vérifications EcoDesign, l'installation et la préparation de l'appareil doivent être conformes à la norme EN 62552.
- Les exigences en matière de ventilation, de dimensions et d'espace minimum par rapport à la paroi postérieure sont indiquées dans le chapitre « Installation » de ce manuel.
- Contactez le fabricant pour plus d'informations.
Pour economiser l'énergie

- Une utilisation appropriée de l'appareil, un emballage ajustat des aliments, une température constante et une bonne hygiène des alimentés influencant la qualité de la conservation.
- Réduisez le temps et le nombre d'ouvertures des portes pour éviter un rechauffement excessif de l'intérieur des compartments.
Nettoyez regulierement le condensateur (si accessible) situé à l'arrière du congélateur pour éviter que l'appareil ne perdé en efficacité. - Décongelez les surgelés dans le compartmenté réfrigerateur de manière à recupérer le froid accumulé par les alimentés congelés.
Comment dire le manuel d'utilisation
Ce manuel d'utilisation utilise les conventions de lecture suivantes :

Description générale

1 Compartiment congélateur
Utile pour la conservation d'aliments surgelés, pour la congélation des aliments frais et pour la production de glaçons.
2 Compartiment réfrigérateur
Utile pour la conservation d'aliments frais.
3 Tiroir pour fruits et legumes
4 Éclairage interne
L'éclairage interne de l'appareil s'active à l'ouverture de la porte.
5 Thermostat
Utile pour selectionner la temperture à l'intérieur du compartment réfrigerateur et du compartment congélateur.
6 Porte réfrigérateur
Accessoires

Certaines modèles ne sont pas équipés de ces accessoires.

Les accessoires susceptibles d'entrée au contact des alimentés sont fabriqués avec des matériaux conformes aux lois en vigueur.

Vous pouvez demander les accessoires d'origine fournis ou en option aux centres d'assistance agreeés. Utilisez uniquement les accessoires d'origine du fabricant.
Clayettes

Utile pour optimiser l'espace et ranger les alimentés à l'intérieur du compartment réfrigérateur.
Tiroir pour fruits et légumes

Utile pour la conservation des fruits et legumes, il assure un degré constant d'humidité à l'intérieur.

Utilities pour y ranger des alimentes emballés en
UTILISATION
Opérations préliminaires

Voir les averissements généraux de sécurité.
- Éliminez les évventuelles pellicules de protection à l'extérieur et à l'intérieur de l'appareil et des accessoires.
- Retirez les éventuelles étiquettes (à l'exception de la plaque contenant les données techniques) appliquées sur les accessoires et les clayettes.
- Enlevez et lavez tous les accessoires de l'appareil (voir le chapitre « NETTOYAGE ET ENTRETIEN »).
Première utilisation

Après l'installation ou un repositionnement évientuel de l'appareil, attendez au moins deux heures avant de leMETTE sous tension.
Assurez-vous que l'appareil est branché à la prise de courant.
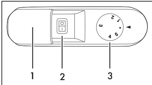
Panneau des commandes

1 Lampe.
2 Touche fonction congélation rapide.
petits paquets. Le écipient dans la partie inférieure de la porte est utile pour le rangement de bouteilles.
3 Manette de selection de la température.
Sélection de la température
Tourner la manette du thermostat de la position 1 (minimum) à 5 (maximum) en fonction de la température voulue.

En augmentant des positions 1 à 5, la température diminue à l'intérieur.

Sur la position l'appareil s'estint.
Fonction congélation rapide
Cette fonction permet de congefer en peu de temps de grandes quantités d'alimentsrangés dans le congelateur.
Activez la fonction 24 heures avant de placer les aliments à l'intérieur.

Pour economiser de l'énergie, 24 heures après avoir inséré les alimentés frais, désactiver la fonction.
Utilisation des accessoires
Clayettes
Les clayettes peuvent être positionnées suivant vos besoin à différentes hauteurs en les introduisant dans les guides spécifique. Pour les extraire complètement, tirez la clayette vers
l'exterieur.


Les alimentés facilement dégradables doivent être positionnés dans la partie arrrière des clayettes où la temperature est inférieure.
Balconnets et recipients de la porte
Ils sont utiles pour la conservation des oeufs, du beurre, des produits laitiers, des tubes, des conserves et d'autres petits paquets. Un填补ant a bouteilles est positionné dans la partie inférieure de la porte. Evitez de positionner dans le porte-bouteilles des bouteilles trop lourdes et de les laisser tomber au fond au moment du positionnement.

Tiroir pour fruits et légumes
Ce réseau est positionné dans la partie inférieure du compartment réfrigérateur dans lequel on a prévu une clayette en verre pour la protection des alimentés frais exigeant des conditions d'humidité constante pour une
conservation correcte.


La conservation de legumes à fortete nateur en eau peut provoquer laformation de condensation sur laclayette en verre. Ce phénomène naturel ne nuit pas au fonctionnement correct de l'appareil.
Utilisation du compartment réfrigérateur
Disposition des alimentes
Disposez les alimentés sur les différentes clayettes en veillant à les emballer et à les couvrir hermetiquement. Cette précaution permet de :
- préserver l'arôme, l'humidité et la fraîcheur des aliments ;
- éviter tout risque de contamination d'odeurs et de goût entre les aliments;
- éviter une accumulation excessive d'humidité à l'intérieur du comportement, due à la transpiration normale des alimentés (en particulier des fruits et légumes frais), qui, dans des conditions précises de fonctionnement (augmentation de la température et de l'humidité ambiente, augmentation de la fréquence d'ouverture de la porte), pourraient produit la formation de condensation sur les clayettes.

Laissez toujours refroidir les alimentés et les boissons chaudes à température ambiente avant de les introduire à l'intérieur de l'appareil.
Tableau des temps de conservation
| Aliments | Temps |
| OEufs, viande fumée, alimentés marinés, fromage | 10 jours max. |
| Légumes avec des racines | 8 jours max. |
| Beurre | 7 jours max. |
| Petits fours, fruits, alimentés prêts, viande fraîche | 2 jours max. |
| Poisson, viande hachée, fruits de mer | 1 jour max. |
Utilisation du compartment congélateur
Pour une conservation et une congélation correctes des aliments :
- emballez les fruits et les légumes en portions de maximum 1 kg; la viande et le poisson en portions de 2 kg maximum.
les emballages réduits congèlent rapidement, permettant une(Meilleure conservation des propriétés nutritionnelles, même après la décongélation/préparation. - Emballez les aliments dans des sachets hermétiques et expulsez le plus possible l'air lié sents à l'intérieur.
- N'utilisez pas de sachets en papier ou des sacs pour les courses; utilisez toujours les sachets/recipientspéciaux pour la congélation.

Laissez toujours refroidir les alimentes et les boissons chaudes à température ambiente avant de les introduire à l'intérieur de l'appareil.
Tableau des temps de conservation des aliments congelés
| Aliments | Temps |
| Fruits, bœuf | 10-12 mois max. |
| Légumes, veau, volaille | 8-10 mois max. |
| Gibier | 6-8 mois max. |
| Porc | 4-6 mois max. |
| Viande hachée | 4 mois max. |
| Pain, gâteaux, alimentés cuits, poisson gras | 3 mois max. |
| Abats | 2 mois max. |
| Saucisses, poisson maigre | 1 mois max. |
Aliments décongelés
Les alimentés décongelés doivent être consommés des que possible. Le froid conserve les alimentés mais ne détruit pas les microorganismes qui s'activent après la décongélation endommagent les alimentés.
La décongélation partielle réduit la valeur nutritionnelle des aliments, en particulier des fruits et des légumes ainsi que des alimentés cuisine.
Bruits durant le fonctionnement
Le refroidissement du compartment réfrigérateur et du compartmenting congelateur est réalisé par un système à compression. Pourmaintenir la température selectionnée à l'intérieur des compartments,le compresseur entre en fonction et, suivant le refroidissement souhaite, il peut, si nécessaire,fonctionner en continu.Quand le compresseur entre en fonction, on entend un ronflement qui tendàdiminuer au bout de quelques minutes.
On entend un autre bruit lie au fonctionnement normal du réfrigerateur : un gargouillage du au passage du liquide réfrigerant à l'intérieur des tubes du circuit. Ce bruit est normal et n'est pas le signe d'un mauvais fonctionnement de l'appareil. Si ce bruit est trop fort, il peut être du à d'autres causes. Il faut vérifier que :
- le réfrigerateur est correctement nivélé au sol et qu'il ne vigre pas lorsque le compresseur tourne : réglez correctement les pieds fournis ;
les tiroirs, les clayettes et les bacs dans la porte sont correctement placés dans les logements spécifiques : remettez-les correctement en place ;
les bouteilles et les recipients sur les differentes clayettes sont stables et qu'ils ne se touchent pas : la vibration due au fonctionnement du compresseur pourrait générer un certain bruit ; - ne mettez pas le réfrigerateur au contact de meubles ou d'autres apparèils menagers.
Mise hors tension
En cas de période d'arrêt prolongée, il est recommandé de mettre l'appareil hors tension.
- Débranche la fiche d'alimentation électrique.
-
Videz les compartments.
-
Àpres le dégivrage, séchez l'humidité résiduelle accumulée avec un chiffon doux.

Laissez les portes entrouvertes pour éviter que l'humidité et l'air stagnants ne généré de mauvaises odeurs.
Conseils pour la conservation
Conseils généraux
- Contrôlez toujours la date limite de consommation figurant sur l'emballage.
- Les alimentés doivent être conservés dans des recipients fermés ou correctement emballés et il ne doit s'en dégager ni odeurs ni humidité.
- Si vous doivent avoir le contrôle de l'impôtage, la surveillance et le contrôle de l'impôts.
Portedu compaition réfrigérateur
- Conservez les oeufs, le beurre et le fromage, etc. dans la partie supérieure et centrale.
- Conservez les boissons, les boîtes, les bouteilles, etc. dans la partie inférieure et centrale.
Compartment réfrigérateur
- Conservez les alimentés conservés, le vin et les biscuits, etc. dans la partie supérieure.
-
Conservez les produits laitiers, les plats cuisinés, la pâtisserie, les jus de fruit et la bière, etc. dans la partie centrale.
-
Conservez les viandes et la charcuterie dans la partie inférieure.
Le tiroir pour fruits et legumes doitContainir des fruit frais, des fruit tropicaux, les legumes,les carottes,les pommes de terre, les oignons...
Compartment concélateur
- Indiquez sur l'emballage les données concernant le type d'aliment, la quantité et la date de congélation.
Utilisez de petits emballages et si possible froids. - La quantité d'aliments frais qu'on peut conçeler simultanément figure sur la plaque des caractéristiques située dans le compartment réfrigerateur.
Utilisez des sachets pour la congélation, des feuilles d'aluminium, des pellicules en polyéthylène à usage alimentaire et des recipients de congélation. - N'utilisez pas de sachets en papier, de sachets en cellophane non indiqués pour l'usage alimentaire ni de sacs pour les courses ou pour la congélation ayant déjà été utilisés.
- Évitez que les aliments doivent congelés ne se trouvent au contact des aliments frais à congeler.
- Conservez les légumes emballés, les glacons et les crèmes glacées, etc.
NETTOYAGE ET ENTRETIEN
Nettoyage de l'appareil

Voir les averissements généraux de sécurité.
Une protection anti-bactérienne particulière dans la partie supérieure des parois de l'appareil empêche la prolifération de bacteriés et maintain sa propre. Toutefois, pour une bonne conservation des surfaces, il faut les nettoyer régulièrement.
Nettoyage de la partie externe
Nettoyez l'appareil avec de I'eau et un détergent liquide à base d'alcool (par ex., un produit à vitres, etc.).
- Évitez les détergents et les éponges agressives pour ne pas endommager les surfaces.
- Avec une BrosseSouple,eliminez la poussiere et les depots de fumée du condensateur à l'arrière de l'appareil.
Nettoyez le bac situé au-dessus du compressor.
Nettoyage de la partie interne
Nettoyez l'intérieur de I'appareil avec un détergent liquide dilué et de I'eau tiède contenant un peu de vinaigre.
- Les balconnets et les recipiens des portes peuvent être extraits : frappez légèrement du poing de bas en haut d'abord d'un côté puis de l'autre dans la zone d'introduction.
- Éliminez les évventuelles couches de glace dépassant une épaissur de 3-5 mm. N'utilise pas d'objets pointus ni de solutions en spray.
Dégivrage

La presence périodique de givre à l'intérieur du compartment Congélateur est un phénomène normal.

N'utilisez pas d'appareils électriques ( comme un sèche-cheveux, etc.) ni un spray dégivrant qui risquent de déformer les pieces en plastique.
Dégivrage du compartment réfrigérateur
Le compartment réfrigerateur n'a pas besoin d'être dégivré car la glace se formant sur la plaque réfrigerante fond automatiquement durant l'arrêt du compresseur. Le processus de dégivrage est automatique.
L'eau de dégivrage est acheminée directement dans le bac situé à l'arrière de l'appareil. La chaleur produit par le compresseur provoque son evaporation.
Dégivrage du compartment Congélateur
Le compartment congestioneur doit être dégivré manuellement. Lorsque l'épaissur du givre ou de la glace est supérieure à 2 cm, il est recommendé de procéder au dégivrage.
- Quelques heures avant de proceder au dégivrage, réglez le thermostat sur la valeur maximale de manière à refroidir ultérieurement les alimentés congelés.
- Puis débranche la fiche d'alimentation électrique.
- Enlevez les produits surgelés du département et protégez-les contre la décongélation au cours de la phase de nettoyage.
- Attendre que la glace ne fonde, puis éliminer l'eau du compartment de congélation avec une éponge ou un chiffon absorbant.
Éclairage interne
Si le système d'éclairage interne est endommagé, seul le Service d'assistance technique peut intervenir.
Que faire si...
L'appareil ne fonctionne pas :
-
Contrôlez que l'appareil est branché et que l'interrupteur général est activé.
Le compresseur démarre trop liéquement ou fonctionne sans interruption :
La température externe est trop élevé. -
Ouverture trop fréquence ou prolongée de la porte.
La porte ne se ferme pas hermetiquement. - Présence excessive d'aliments frais.
- Vérifiez qu'il circule suffisamment d'air à proximé du capteur situé à droite du compartment réfrigérateur.
- Vérifiez que l'arrête du réfrigérateur est correctement aéré et que le condensateur n'est pas excessivement sale.
À l'intérieur du compartment réfrigerateur se trouve une formation excessive de glace ou de condensation :
- Ouverture trop fréquence ou prolongée de la porte.
- Des alimentés chauds ont été introduits à l'intérieur du compartment réfrigérateur.
- Les alimentés ou les recipiens sont au contact de la paroi postérieure.
Le joint de la porte est sale ou endommagé.
Procedez à son nettoyage ou à son remplacement.
Refroidissement insuffisant du compartment réfrigérateur :
- Le thermostat de réglage est placé sur une température trop élevée.
- Ouverture trop fréquence ou prolongée de la porte.
La porte ne se ferme pas hermetiquement.
La température externe est trop élevée.
Température à l'intérieur du compartment réfrigérateur trop floide - congélation des aliments :
- Le thermostat de réglage est placé sur une température trop BASSE.
- Aliments non couverts avec des sachets et des recipients spécifiques.
Fruits et légumes peuvent être excessively mouillés. - Aliments posés contre la paroi postérieure du compartment réfrigerateur.
La température à l'intérieur du compartment congélateur ne permet pas une congélation correcte des alimentés :
Le thermostat de réglage est placé sur une température trop élevée.
- Ouverture trop fréquence ou prolongée de la porte.
La porte ne se ferme pas hermetiquement.
- Le joint de la porte est sale ou endommagé. Procedez à son nettoyage ou à son remplacement.
L'aliment a congeler contient trop de sucre.
À l'intérieur du compartment congestérateur se trouve une formation excessive de glace :
- Le thermostat de réglage est placé sur une température trop BASSE.
La température externe est trop élevé.
- Ouverture trop fréquence ou prolongée de la porte.
La porte ne se ferme pas hermetiquement.
- Le joint de la porte est sale ou endommagé. Procedez à son nettoyage ou à son remplacement.
- Des alimentés chauds ont été introduits à l'intérieur du compartment congélateur.
INSTALLATION
Branchementélectrique

Voir les averissements généraux de sécurité.
Informations generales
Assurez-vous que les caractéristiques du réseau électrique sont appropriées aux données indiquées sur la plaque. La plaque d'identification, avec les données techniques, le numéro de série et le marquage, est placée dans une position bien visible sur l'appareil. N'enveze jamais la plaque.
- Verifiez que la fiche et la prise sont du même type.
- Évitez d'utiliser des réducteurs, des adaptateurs ou des shunts car ils pourraient provoquer des surchauffes et des brûlures.
- La prise devra toujours être accessible après l'installation de l'appareil.
- Avant demettre l'appareil sous tension pour la première fois, laissez-le au moins deux heures en position verticale.
- S'il est nécessaire de replacer le cordon d'alimentation, cette opération doit être confiée uniquement à un technicien autorisé du Service d'assistance technique.
Positionnement

Voir les averissements généraux de sécurité.
Lechoixdulieu
L'appareil doit toujours être placé dans un
Difficulté d'ouverture des portes immédiatement après la fermeture :
- Si l'onessaie de rouvrir une porte immédiatement après la fermeture (en particulier celle du congelateur), il faut exercer une force plus importante. Ce phénomène est dû à la dépression créé par le refroidissement de l'air chaud qui a pénétré dans le compartment.
Les portes sont désalignées :
- Vérifiez le nivellement correct de l'appareil.
- Intervenez sur les pieds pour améliorer le nivellement.
endroit sec suffisamment aéré. Suivant la classe climatique à laquelle il apparait (indiquée sur la plaque des caractéristiques appliquée à l'intérieur du compartment réfrigérateur)
l'appareil peut être utilisé dans différentes conditions de température.
- Positionnéz l'appareil à au moins 3 cm des cuisinières électriques ou à gaz, et à au moins 30 cm des systèmes de chauffage à combustion ou des radiateurs.
L'appareil ne doit pas etre instalé a proximete de sources de chaleur. Si cela est impossible,utilisez un panneau isolant adequat. - Maintenez une distance de sécurité d'au moins 5 cm du meuble suspendu sous lequel il est installé.
Assurez-vous que l'appareil est positionné dans un espace suffisamment grand pour pouvoir ouvrir la porte et extraire éventuellesment les clayettes et les tiroirs.
| Classe | Température ambiente |
| SN (Subnormal) | de + 10°C à + 32°C |
| N (Normal) | de + 16°C à + 32°C |
| ST (Subtropical) | de + 18°C à + 38°C |
| T (Tropical) | de + 18°C à + 43°C |
Entretoises
Pour assurer un refroidissement correct du condensateur, l'appareil ne doit pas etre positionné trop pres du mur. Pour eviter cela, le produit est muni de deux entretoises en plastique, a positionner sur la partie posterieure
de I'appareil.



Mise en place
Positionnez l'appareil sur une surface stable et plane.
Il est recommandé de faire très attention durant le déplacement afin d'éviter d'endommager le sol (par exemple, si le réfrigérateur est posé sur du parquet).
Pour compenser l'irregularité du sol, l'appareil est équipé de deux pieds réglibes à l'avant.

Agissez sur les pieds pour niveler l'appareil
horizontal.

Pour facilititer une fermetre correcte de la porte, inclinez légèrement l'appareil vers l'arrière.

Une installation correcte doit permettre la fermeture correcte de la porte. Vérifiez que les joints de la porte se ferment hermétiquement surtout au niveau descoins.


Pression sur le joint Risque de dommages a l'appareil
- N'exercez aucune force sur le joint, ne le déchirez pas et ne le détachez pas de la porte.
Au bout de quelques jours, vérifie que le niveaument initial a résisté. Lorsque l'appareil fonctionne et contient des alimentés, vérifie qu'il est toujours stable et que les joints de la porte se ferment hemétiquement. Si nécessaire, effectuez un nouveau niveaument et modèlez de nouveau les joints.
Dimensions hors tout de I'appareil (mm)




Notice Facile