S65388KG1 - Réfrigérateur-congélateur AEG - Notice d'utilisation et mode d'emploi gratuit

Retrouvez gratuitement la notice de l'appareil S65388KG1 AEG au format PDF.

📄 46 pages Français FR 💬 Question IA 8 questions ⚙️ Specs
Notice AEG S65388KG1 - page 1
Intitulé Détails
Type de produit Réfrigérateur combiné
Capacité totale 350 litres
Type de froid Froid ventilé
Classe énergétique A++
Dimensions approximatives H 185 cm x L 59.5 cm x P 65 cm
Poids 70 kg
Alimentation électrique 220-240 V
Consommation d'énergie annuelle 250 kWh
Fonctions principales Fonction de congélation rapide, éclairage LED, contrôle de la température
Entretien et nettoyage Nettoyage régulier des surfaces intérieures, dégivrage si nécessaire
Pièces détachées et réparabilité Disponibilité de pièces de rechange, réparabilité modérée
Sécurité Verrouillage de sécurité, conformité aux normes CE
Compatibilités Compatible avec les accessoires AEG

FOIRE AUX QUESTIONS - S65388KG1 AEG

Comment régler la température de mon réfrigérateur AEG S65388KG1 ?
Pour régler la température, appuyez sur le bouton de réglage de température, puis utilisez les flèches pour augmenter ou diminuer la température souhaitée. La température recommandée pour le réfrigérateur est de 4°C.
Que faire si mon réfrigérateur ne refroidit pas correctement ?
Vérifiez que la porte est bien fermée, que les bouches d'aération ne sont pas obstruées et que le réfrigérateur est installé dans un endroit bien ventilé. Si le problème persiste, contactez le service après-vente.
Comment dégivrer mon réfrigérateur AEG S65388KG1 ?
Pour dégivrer votre réfrigérateur, débranchez-le et laissez la porte ouverte. Utilisez un récipient pour recueillir l'eau de dégivrage. Ne jamais utiliser d'objets pointus pour retirer la glace.
Quels sont les niveaux de bruit normaux pour le réfrigérateur AEG S65388KG1 ?
Le niveau sonore normal est d'environ 38 dB. Si le bruit est excessif, vérifiez que le réfrigérateur est de niveau et qu'il n'y a rien en contact avec l'appareil.
Comment nettoyer l'intérieur de mon réfrigérateur ?
Utilisez un mélange d'eau tiède et de vinaigre blanc pour nettoyer l'intérieur. Évitez les produits abrasifs et assurez-vous de bien sécher les surfaces après le nettoyage.
Que faire si l'alarme de température se déclenche ?
Vérifiez si la porte est fermée correctement. Si l'alarme persiste, vérifiez la température interne et assurez-vous que l'appareil n'est pas surchargé.
Comment utiliser la fonction de congélation rapide sur le AEG S65388KG1 ?
Appuyez sur le bouton de congélation rapide pour activer la fonction. Cela permettra de congeler rapidement les aliments et de préserver leur qualité.
Les lumières de mon réfrigérateur ne s'allument pas, que faire ?
Vérifiez d'abord l'ampoule et remplacez-la si nécessaire. Assurez-vous également que le réfrigérateur est bien branché et que le disjoncteur n'a pas sauté.

Questions des utilisateurs sur S65388KG1 AEG

0 question sur cet appareil. Repondez a celles que vous connaissez ou posez la votre.

Poser une nouvelle question sur cet appareil

L'email reste privé : il sert seulement à vous prévenir si quelqu'un répond à votre question.

Aucune question pour l'instant. Soyez le premier à en poser une.

Téléchargez la notice de votre Réfrigérateur-congélateur au format PDF gratuitement ! Retrouvez votre notice S65388KG1 - AEG et reprennez votre appareil électronique en main. Sur cette page sont publiés tous les documents nécessaires à l'utilisation de votre appareil S65388KG1 de la marque AEG.

MODE D'EMPLOI S65388KG1 AEG

Réfrigérateur congélateur

Mode d'emploi

Lors de sa fabrication, cet appareil a été construit selon des normes, directives et/ou décrets pour une utilisation sur le territoire français.

Pour la sécurité des biens et des personnes ainsi que pour le respect de l'environnement, vous devez impérativement suivre les préconisations suivantes avant toute utilisation de votre appareil.

AEG S65388KG1 - Réfrigérateur congélateur - 1

Pour éviter tout risque de dépréciation de l'appareil, transportez-le dans sa position d'utilisation muni de ses cales de transport (selon modèle).

Au déballage de celui-ci, et pour empêcher des risques d'asphyxie et corporel, tenez les matériaux d'emballage hors de la portée des enfants.

AEG S65388KG1 - Réfrigérateur congélateur - 2

Pour éviter tout risque (mobilier, immobilier, corporel,...), l'installation, les raccordements (eau, gaz, électricité, évacuation selon modèle), la mise en service et la maintenance de votre appareil doivent être effectués par un professionnel qualifié.

AEG S65388KG1 - Réfrigérateur congélateur - 3

Votre appareil a été conçu pour être utilisé par des adultes. Il est destiné à un usage domestique normal. Ne l'utilisez pas à des fins commerciales ou industrielles ou pour d'autres buts que ceux pour lesquels il a été conçu. Vous éviterez ainsi des risques matériel et corporel.

AEG S65388KG1 - Réfrigérateur congélateur - 4

Débranchez votre appareil avant toute opération de nettoyage manuel. N'utilisez que des produits du commerce non corrosifs ou non inflammables. Toute projection d'eau ou de vapeur est proscrite pour écarter le risque d'électrocution.

AEG S65388KG1 - Réfrigérateur congélateur - 5

Si votre appareil est équipé d'un éclairage, débranchez l'appareil avant de procéder au changement de l'ampoule (ou du néon, etc.) pour éviter de s'électrocuter.

AEG S65388KG1 - Réfrigérateur congélateur - 6

Afin d'empêcher des risques d'explosion et d'incendie, ne placez pas de produits inflammables ou de éléments imbibés de produits inflammables à l'intérieur, à proximité ou sur l'appareil.

AEG S65388KG1 - Réfrigérateur congélateur - 7

Lors de la mise au rebut de votre appareil, et pour écarter tout risque corporel, mettez hors d'usage ce qui pourrait présenter un danger : coupez le câble d'alimentation au ras de l'appareil. Informez-vous auprès des services de votre commune des endroits autorisés pour la mise au rebut de l'appareil.

AEG S65388KG1 - Réfrigérateur congélateur - 8

Respectez la chaîne de froid depuis l'acquisition d'un aliment jusqu'à sa consommation pour exclure le risque d'intoxication alimentaire.

Veuillez maintenant lire attentivement cette notice pour une utilisation optimale de votre appareil.

Conservez cette notice d'utilisation avec votre appareil. Si l'appareil devait être vendu ou cédé à une autre personne, assurez-vous que la notice d'utilisation l'accompagne. Le nouvel utilisateur pourrait alors être informé du fonctionnement de celui-ci et des avertissements s'y rapportant.

Ces avertissements ont été rédigés pour votre sécurité et celle d'autrui.

Comment dire votre notice d'utilisation ?

Les symboles suivants vous guideront tout au long de la lecture de votre notice d'utilisation.

AEG S65388KG1 - Réfrigérateur congélateur - 9

Instructions de sécurité

AEG S65388KG1 - Réfrigérateur congélateur - 10

Conseils et recommandations

AEG S65388KG1 - Réfrigérateur congélateur - 11

Informations liées à la protection de l'environnement

AEG S65388KG1 - Réfrigérateur congélateur - 12

Conseils pratiques

(stockage des aliments)

AEG S65388KG1 - Réfrigérateur congélateur - 13

Le symbole sur le produit ou son emballage indique que ce produit ne peut être traité comme déchet ménager. Il doit plutôt être remis au point de ramassage concerné, se chargeant du recyclage du matériel électrique et électronique. En vous assurant que ce produit est éliminé correctement, vous favorisez la prévention des conséquences négatives pour l'environnement et la santé humaine qui, sinon, seraient le résultat d'un traitement inapproprié des déchets de ce produit. Pour obtenir plus de détails sur le recyclage de ce produit, veuillez prendre contact avec le bureau municipal de votre région, votre service d'élimination des déchets ménagers ou le magasin où vous avez acheté le produit.

Sommaire

Conservation des aliments / Maîtrise des températures. 7

Respect des règles d'hygiène 8

Sécurité des enfants. 8

Installation 9

Protection de l'environnement 9

Installation. 11

Déballage 11

Avant la première utilisation 11

Emplacement de l'appareil 11

Modification du sens d'ouverture de la porte. 13

Description de l'appareil, les parties principales. 15

Mise en service. 16

Régulation de la température 16

Utilisation de l'appareil réfrigérateur 16

Emplacement des denrées 17

Stockage des aliments 18

Bac à légumes. 19

Temps et température de stockage des aliments. 19

Recyclage d'air 19

Démoulage des glaçons 21

Instructions et conseils utiles 22 Economie d'énergie / Stockage optimal 23 Protection de l'environnement 23

Guide de congélation 23

Préparer 23 Emballer 23 Quel emballage choisir 24 Conseils de préparation 26 Poissons, crustacés, coquilles St. Jacques 35

Entretien et nettoyage 38 Dégivrage 38 En cas d'anomalie de fonctionnement 40 En cas d'absence prolongée ou de non utilisation 42 Remplacement de l'ampoule d'éclairage 42 En cas d'arrêt de fonctionnement 43 Garantie 43 Service après vente 43 Plaque signalétique 43 Branchement électrique 44

AEG S65388KG1 - Sommaire - 1

Utilisation

  • Voiture appareil est destiné à un usage domestique normal. Ne l'utilise pas à des fins commerciales ou industrielles ou pour d'autres buts que celui pour lequel il a été créé.
  • Les éventuelles réparations ou interventions sur votre appareil, ainsi que le remplacement du câble d'alimentation, ne doivent être effectuées que par un personnel qualifié.
  • En cas d'intervention sur votre appareil, exigez du service après-vente les pièces de rechange constructeur.
  • Débranche toujours la prise de courant avant de procéder au nettoyage intérieur et extérieur de l'appareil, au remplacement de la lampe d'éclairage (si votre appareil en est équipé) ou lors d'une intervention sur l'appareil.
  • N'utilisez pas de rallonge au niveau du câble d'alimentation. Assurez-vous que la prise n'est pas écrasée ou endommagée par l'arriè
  • Ne placez pas d'objets lourds ou l'appareil sur le câble d'alimentation (risque de court-circuit et incendie).
  • Ne débranchez pas l'appareil en tirant sur le câble, particulièrement lorsque l'appareil est tiré de son emplacement.
  • Si le câble d'alimentation est endommagé ou écrasé peut causer un court circuit, un incendie et/ou une électrocution.
  • Important: En cas de dommage du câble d'alimentation, il ne doit être remplacé que par un professionnel qualifié.
  • Si la prise murale est mal fixée, ne branchez pas l'appareil (risque d'électrocution ou d'incendie).
  • N'utilisez pas l'appareil si le diffuseur de l'ampoule d'éclairage n'est pas présent.
  • N'essayez jamais d'enlever le givre avec un objet métallique, vous risqueriez d'endommager irrémédiablement l'évaporateur rendant du même coup l'appareil inutilisable. N'employez pour cela qu'une spatule en plastique.
  • Ne placez pas près du thermostat ou de l'ampoule d'éclairage des aliments liquides.
  • Ne touchez pas avec les mains humides les surfaces givrées et les produits congelés et ne consommez pas certains produits tels que les bâtonnets glacés dè
  • Un produit décongelé ne doit jamais être recongelé.
  • Suivez les indications du fabricant pour la conservation et/ou congélation des aliments.
  • N'utilisez pas d'appareils électriques ou agents chimiques pour dégivrer votre appareil.
  • Ne posez pas d'éléments brûlants sur les parties plastiques de l'appareil.
  • Ne placez ni bouteilles ni boîtes de boissons gazeuses dans le compartiment congélateur, elles pourraient éclater.
  • Ne modifiez pas ou n’essayez pas de modifier les caractéristiques de cet appareil. Cela représente un danger pour vous.
  • Les réfrigerateurs et/ou congélateurs sont destinés uniquement à la conservation et/ou congélation des aliments.
  • Si la température ambience est inférieure ou égale à 10°C, les performances du compartiment congélateur ne seront plus assurées. Ceci est aussi valable lorsque l'interrupteur de température ambience est basculé (si votre appareil en est équipé).
  • Ne décollez jamais les bacs à glaçons avec un couteau ou tout autre objet, vous risquez de détériorer irrémédiablement l'évaporateur.
  • Vérifiez et nettoyez régulièrement l'orifice d'écoulement de l'eau de dégivrage.

Stockage des denrées dans les réfrigérateurs et règles d'hygiène

La consommation croissante de plats préparés et d'autres aliments fragiles, sensibles en particulier au non-respect de la chaîne de froid (1), rend nécessaire une meilleure maîtrise de la température de transport et de stockage de ces produits.

À la maison, le bon usage du réfrigerateur et le respect de règles d'hygiène rigoureuses contribuent de façon significative et efficace à l'amélioration de la conservation des aliments.

Conservation des aliments / Maîtrise des températures

Stockez les aliments selon leur nature dans la zone appropriée:

Zone tempérée: Boissons, œufs, beurre, sauces industrielles et préparées, fromages à pâtes cuites, fruits et légumes frais.

Zone fraîche: Produits laitiers, desserts lactés, matières grasses, fromages frais.

Zone la plus froide: Viandes, volailles, poissons, charcuteries, plats préparés, salades composées, préparations et pâtisseries à base d'œufs ou de crème, pâtes fraîches, pât à tarte, pizza/quiches, produits frais et fromages au lait cru, légumes prêts à l'emploi vendus sous sachet plastique et plus généralement, tout produit frais dont la date limite de consommation (DLC) est associée à une température de conservation inférieure ou égale à +4°C.

L'observation des conseils suivants est de nature à éviter la contamination croisée et à prévenir une mauvaise conservation des aliments.

  • Emballer systématiquement les produits pour éviter que les denrées ne se contaminent mutuellement.
  • Se laver les mains avant de toucher les aliments et plusieurs fois pendant la préparation du repas si celle-ci implique des manipulations successives de produits différents, et après, bien sûr, au moment de passer à table comme les règles d'hygiène l'imposent.
  • Ne pas réutiliser des ustensiles ayant déjà servi (cuillère en bois, planche à découper) sans les avoir bien nettoyés au préalable.
  • Attendre le refroidissement complet des préparations avant de les stocker (exemple : soupe).
  • Limiter le nombre d'ouvertures de la porte et, en tout état de cause, ne pas la laisser ouverte trop longtemps pour éviter une remontée en température du réfrigérateur.
  • Disposer les aliments de telle sorte que l'air puisse circuler librement tout autour.

Il convient de vérifier régulièrement que la température, notamment celle de la zone la plus froide, est correcte et le cas échéant, d'ajuster le thermostat en conséquence comme indiqué (page «UTILISATION»).

La mesure de la température dans une zone (sur une clayette, par exemple) peut se faire au moyen d’un thermomètre placé dans un récipient rempli d’eau (verre). Pour avoir une représentation fidèle de la réalité, lisez la température sans manipulation des commandes ni ouverture de porte.

Respect des règles d'hygiène

  • Nettoyez fréquemment l'intérieur du réfrigérateur en utilisant un produit d'entretien sans effet oxydant sur les parties métalliques, puis rincez avec de l'eau additionnée de jus de citron, de vinaigre blanc ou avec tout produit désinfectant ajusté au réfrigérateur.
  • Retirez les sur-emballages du commerce avant de placer les aliments dans le réfrigérateur (par exemple, sur-emballages des packs de yaourts). Couvrez les aliments.
  • Consultez la notice d'utilisation de l'appareil en toutes circonstances et en particulier pour les conseils d'entretien.

1) Chaîne de froid : maintien sans rupture de la température requise d'un produit, depuis sa préparation et son conditionnement jusqu'à son utilisation par le consommateur.

Sécurité des enfants

  • Ne laissez pas à la portée des enfants les différents emballages.
  • Cet appareil a été créé pour être utilisé par des adultes. Veillez à ce que les enfants n'y touchent pas et ne l'utilisent pas comme un jouet.
  • Cet appareil est muni de fermetures magnétiques. S'il remplace un appare appareil et de mettre ainsi leur vie en danger. Veillez également à couper le cable d'alimentation électrique au ras de l'appareil.

Installation

  • Placez l'appareil dos au mur pour éviter tout contact avec le compresseur et le condenseur.
  • Retirez la prise avant de déplacer l'appareil. Assurez-vous après avoir déplacé l'appareil, que celui-ci ne repose pas sur le câble d'alimentation.
  • Cet appareil est lourd. Faites attention lors de son déplacement.
  • L'appareil se réchauffe sensiblement au niveau du condenseur et du compresseur. Veillez à ce que l'air circule librement tout autour de l'appareil. Une ventilation insuffisante entraînerait un mauvais fonctionnement et des dommages sur l'appareil.

AEG S65388KG1 - Installation - 1

Protection de l'environnement

  • Le système frigorifique et l'isolation de votre appareil ne contiennent pas de C. F. C., contribuant ainsi à préserver l'environnement.
  • Les C. F. C. sont remplacés par des hydrocarbures.
  • Le circuit réfrigérant de cet appareil contient de l'isobutane (R 600 A) : les interventions doivent être effectuées exclusivement par des personnes qualifiées ayant reçu une formation spécifique pour le R 600 A.

Ce gaz est néanmoins inflammable:

  1. Ne faites pas fonctionner d'appareils électriques (par exemple: sorbetières électriques, mélangeurs ou sèche-cheveux pour accélérer le dégivrage,...) à l'intérieur de votre appareil.
  2. Pendant le transport et l'installation de votre appare
  3. Évitez les flammes vives (briquet) et autres allumages (étincelles).
  4. Aérez la pièce où se trouve l'appareil.
  5. Si vous vous débarrasssez de votre appareil, veillez à ne pas détruire les circuits frigorifiques.

Veuillez lire attentivement ces remarques avant d'installer et d'utiliser votre appareil. Nous vous remercions de votre attention.

En cas d'anomalie de fonctionnement, reportez-vous à la rubrique "EN CAS D'ANOMALIE DE FONCTIONNEMENT". Si malgré toutes les vérifications, une intervention s'avère nécessaire, le vendeur de votre appareil est le premier habilité à intervenir. A défaut (déménagement de votre part, fermeture du magasin où vous avez effectué l'achat...), veuillez consulter le Centre Contact Consommateurs qui vous communiquera alors l'adresse d'un Service Après-Vente.

En cas d'intervention sur votre appareil, exigez du service après-vente les pièces de rechange certifiées Constructeur

AEG S65388KG1 - Protection de l'environnement - 1

Déballage

AEG S65388KG1 - Déballage - 1

L'appareil doit être livré dans son emballage d'origine. Respectez les indications pour le déballer.

À la réception de l'appareil, déballez-le ou faites-le déballer immédiatement. Vérifiez son aspect général. Faites les éventuelles réserves sur le bon de livraison dont vous garderez un exemplaire.

Avant de brancher votre appareil, laissez-le environ 2 heures au repos.

Avant la première utilisation

Retirez les bandes adhésives qui maintiennent les éléments amovibles à l'intérieur de l'appareil.

Votre appareil étant destiné au stockage des aliments, prenez la précaution de nettoyer l'intérieur avec de l'eau tiède et un savon inodore (produit utilisé pour la vaisselle) avant toute utilisation.

Séchez soigneusement.

AEG S65388KG1 - Avant la première utilisation - 1

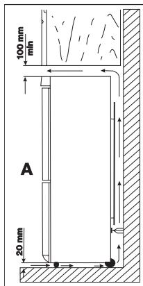
Emplacement de l'appareil

La température ambiante influence sur la consommation et le bon fonctionnement de l'appareil.

Pour le bon fonctionnement de votre appareil, la température ambiente du local doit être comprise entre +10°C et +38°C. Au-delà de ces températures, ses performances peuvent s'en voir diminuées.

Pour éviter que le condenseur ne touche le mur, vous devez fixer les équerres jointes dans le sachet contenant les accessoires. Placez les équerres comme indiqué sur la figure.

AEG S65388KG1 - Emplacement de l'appareil - 1

Calez soigneusement l'appareil en agissant sur les pieds réglables de telle sorte qu'il soit de niveau et d'aplomb.

Placez votre appareil loin d'une source de chaleur (chauffage, cuisson ou rayons solaires trop intenses, cuisinière, lave-vaisselle,...).

Si l'installation proche d'une source de chaleur est inévitable, observez les distances minimales latérales suivantes:

-avec des cuisinières électriques 3 cm,

-avec des poêles à mazout et à charbon 30 cm.

S'il n'est pas possible d'observer ces distances, une plaque isolante doit être placée entre la source de chaleur et l'appareil frigorifique.

Veillez à ce que l'air circule librement tout autour de l'appareil. Si toutefois vous désirez placer directement l'appareil dans une niche ou directement sous un élément, il est indispensable de laisser un espace de 100 mm entre le dessus de l'appareil et l'élément supérieur.

AEG S65388KG1 - Emplacement de l'appareil - 2

AEG S65388KG1 - Emplacement de l'appareil - 3

Modification du sens d'ouverture de la porte

Si l'emplacement ou la manipulation le nécessitent, la direction d'ouverture de la porte peut être changée de droite à gauche.

Les appareils sont commercialisés avec l'ouverture à droite.

Les opérations suivantes doivent être effectuées en se basant sur les figures et les explications :

AEG S65388KG1 - Modification du sens d'ouverture de la porte - 1

  1. Pour effectuer les opérations enumerées ci-dessous, il est recommande de demander de l'aide à une autre personne qui tiendra fermement les portes pendant l'exécution des opérations.
  2. Débrancher l'appareil de l'alimentation électrique.
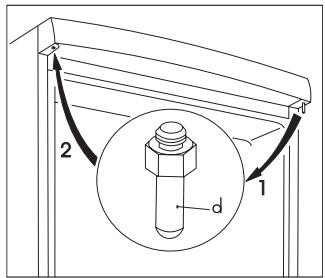
  3. Ouvrir la porte et démonter la double charnière de porte (a, b) en retirant les vis (2 vis) (c). (fig. 2)
  4. Retirer la double charnière de porte (a, b, c) en la tirant progressivement du montant, en inclinant légèrement les deux portes. Ne pas oublier de retirer l'espaceur en plastique (b) situé sous la charnière. (fig. 2)
  5. Retirer la porte du réfrigérateur en la tirant légèrement vers le bas.
  6. Retirer la porte du congélateur en la tirant légèrement vers le haut.
  7. Dévisserez la tige du haut de la porte (d) du réfrigérateur, puis la revissez de l'autre côté. (fig. 1)
  8. Retirer l'insert du socle (e) avec un tournevis. (fig. 4)
  9. Démonter la tige inférieure de la charnière (f) et sa rondelle (h) et les remonter de l'autre côté. (fig. 4)
  10. Replacer l'insert du socle (e) de l'autre côté.
  11. Retirer les vis de couverture (3 pièces) (n, k) du support de la double porte du côté gauche et les placer de l'autre côté. (fig. 2)
  12. Retirer les embouts (t, z) des deux portes. (fig. 3)
  13. Retirer les dispositifs de fermeture (u, v) des portes en dévissant la vis (s).

AEG S65388KG1 - Modification du sens d'ouverture de la porte - 2

AEG S65388KG1 - Modification du sens d'ouverture de la porte - 3

AEG S65388KG1 - Modification du sens d'ouverture de la porte - 4

  1. Dévisssez la patte supérieure de la poignée de la barre de celle-ci (1). Dévisssez la patte inférieure de la poignée de la porte (2). Dévisssez la patte supérieure de la poignée de la porte (3) et vissez-la en bas à droite de la porte (4) (fig. 5)
  2. Tourner la patte de la poignée avec la barre de la poignée à et les visser sur la porte (5) et sur la patte de poignée déjà fixée (6). (fig. 5) Ne pas trop serrer la vis (max. 2 Nm), au risque d'abîmer les poignées de porte.
  3. Replacer les dispositifs de porte (u, v) du côté opposé de l'autre porte après les avoir retournés, puis les fixer en vissant la vis (s).
  4. Replacer les embouts (t, z) du côté opposé.
  5. Insérer la tige de la double charnière de porte (m) dans le trou de gauche de la porte du congélateur. (fig. 2)
  6. Enfiler la porte du congélateur sur la tige de la charnière de la porte inférieure (f). (fig. 4)
  7. Enfiler la porte du réfrigérateur sur la tige de la charnière de la porte supérieure (d), puis, en inclinant légèrement les deux portes, insérer la tige de la double charnière de porte (m) dans le trou gauche de la porte du réfrigérateur.
  8. En ouvrant les deux portes, fixer la charnière de la double porte du côté gauche en utilisant les vis (2 vis). Ne pas oublier de replacer l'espaceur en plastique (b) sous la charnière. Prendre garde à ce que les coins des portes soient parallèles aux coins du manteau.
  9. Mettre l'appareil en place, contrôler le niveau, et le mettre sous tension.

AEG S65388KG1 - Modification du sens d'ouverture de la porte - 5

AEG S65388KG1 - Modification du sens d'ouverture de la porte - 6

AEG S65388KG1 - Modification du sens d'ouverture de la porte - 7

AEG S65388KG1 - Modification du sens d'ouverture de la porte - 8

AEG S65388KG1 - Modification du sens d'ouverture de la porte - 9

AEG S65388KG1 - Modification du sens d'ouverture de la porte - 10

AEG S65388KG1 - Modification du sens d'ouverture de la porte - 11

Si vous ne souhaitez pas exécuter la procédure ci-dessus vous-même, contactez le service après-vente de la marque le plus proche. Les techniciens s'occuperont de la modification avec expertise. Ce service sera PAYANT.

Description de l'appareil, les parties principales

AEG S65388KG1 - Description de l'appareil, les parties principales - 1

AEG S65388KG1 - Description de l'appareil, les parties principales - 2

A - Réfrigérateur B - Congélateur 1. Couvercle, commandes et témoins 2. Lumières 3. Ventilateur 4. Rayonnage vitré 5. Clayette bouteilles 6. Plat congélateur 7. Collectionneur de gel fondu 8. Rayon vitré 9. Panier 10. Plaque signalétique 11. Grille d'aération 12. Compartiment(s) avec paniers 13. Compartiment de congélation avec panier 14. Grille inférieure

  1. Pieds régables
  2. Couvercle du beurrier
  3. Plateau à alvéoles pour les œufs
  4. Rayon de porte
  5. Étanchéité de porte
  6. Stockage bouteilles
  7. Poignées
  8. Plateau à glaçons
  9. Condenseur
  10. Tuyau d'écoulement
  11. Distanceur
  12. Plat de vaporisateur
  13. Compresseur
  14. Roulettes

Mise en service

Mettre les accessoires dans le réfrigérateur puis connecter la fiche dans la prise.

Par le régulateur de température qui se trouve dans la boîte d'éclairage du réfrigérateur, vous pouvez démarrer l'appareil et régler la température en tournant le bouton dans le sens des aiguilles d'une montre. Voir le point suivant pour le réglage.

Régulation de température, réglage

Le régulateur de température, selon la régulation, arrête automatiquement pour une période plus ou moins longue la réfrigération et puis il la redémarre, il assure ainsi la température souhaitée. Plus le régulateur est proche de la position maximale, plus la réfrigération est intensive. Si le bouton de régulation de la température occupe une position moyenne (entre minimum et maximum), cela fait -18 °C dans le congélateur et +5 °C dans le réfrigerateur. Cette position moyenne est ajustée pour l'utilisation quotidienne.

A part la position du régulateur de température, la température ambience, la

fréquence de l'ouverture des portes de l'appareil, la quantité des aliments frais qu'on vient d'y mettre, etc. influencent également la température interne de l'appareil.

AEG S65388KG1 - Régulation de température, réglage - 1

À la température maximale en cas de charge importante, p. ex. en période caniculaire, le compresseur pourra fonctionner sans discontinuer. Cela n'abîmera pas l'appareil.

AEG S65388KG1 - Régulation de température, réglage - 2

Utilisation de l'appareil réfrigérateur

Le refroidissement adéquat de l'appareil nécessite une circulation d'air correcte à l'intérieur. Veuillez donc ne jamais couvrir de papier ou de plateau l'espace libre derrière le fond des clayettes. Afin d'éviter le givrage inutile, attendez le complet refroidissement des préparations avant de les stocker. Avant de mettre les aliments dans l'appareil, enfermez-les dans des récipients ou emballez-les en feuilles d'aluminium, de polyéthylène, de rilsan, etc. de manière à éviter le transfert des odeurs ou le dessèchement. Par exemple, les légumes ainsi emballés garderont leur fraîcheur pendant plusieurs jours.

Compartment réfrigérateur

Indicateur de température:

Pour vous aider au bon réglage de votre appareil, nous avons équipé votre réfrigérateur d'un indicateur de température, celui-ci étant placé dans la zone la plus froide.

Pour la bonne conservation des denrées dans votre réfrigérateur et notamment dans la zone la plus froide, veillez à ce que dans l'indicateur de température «OK» apparaisse.

Si «OK» n'apparaît pas, la température moyenne de la zone est trop élevée. Réglez le thermostat sur une position supérieure.

L'indication «OK» apparaissant en noir, celui-ci est difficilement visible si l'indicateur de température est mal éclairé. La bonne lecture de celui-ci est facilitée s'il est correctement éclairé.

À chaque modification du thermostat, attendez la stabilisation de la température à l'intérieur de l'appareil avant de procéder, si nécessaire, à un nouveau réglage. Ne modifiez la position du thermostat que progressivement et attendez au moins 12 heures avant de procéder à une nouvelle vérification et à une éventuelle modification.

NOTA: Après chargement de l'appareil de denrées fraîches ou après ouvertures répétées (ou ouverture prolongée) de la porte, il est normal que l'inscription «OK» n'apparaisse pas dans l'indicateur de température; attendez au moins 12h avant de réajuster le thermostat.

Si l'évaporateur du compartiment réfrigérateur (paroi du fond de l'appareil) se couvre anormalement de givre (appareil trop chargé, température ambience élevée, thermostat sur une position élevée, ouvertures fréquentes de la porte), ramenez progressivement la manette du thermostat sur une position inférieure, jusqu'à atteindre de nouveau des périodes d'arrêt du compresseur. En effet, le dégivrage automatique du compartiment réfrigérateur ne s'effectue que si le compresseur s'arrête par intermittence.

Emplacement des denrées

Zone la plus froide

Vous obtiendrez une meilleure conservation de vos aliments si vous les placez dans la zone de froid convenant le mieux à leur nature. La zone la plus froide se situe au niveau de la clayette inférieure en verre.

Le symbole ci-contre indique l'emplacement de la zone la plus froide de votre réfrigérateur.

L'espace situé directement au-dessus de la clayette en verre du bac à légumes est la zone la plus froide du compartiment réfrigerateur, comme indiqué par la clayette ou l'autocollant sur la paroi de votre appareil.

La clayette située au dessus de celle du bac à légumes définit le haut de la zone la plus froide, cette clayette étant amovible, veillez à ce qu'elle soit tou-

jours au même niveau que la limite de zone désirée sur l'autocollant, afin de garantir les températures dans cette zone.

Dans un réfrigérateur, la température n'est pas uniforme (à l'exception des appareils à froid ventilé ou brassé). Chaque type d'aliment a une température de conservation idéale et donc un emplacement précis à respecter.

En réglant correctement votre réfrigerateur, vous obtiendrez des zones correspondant à chaque type d'aliment (voir chapitre «AVERTISSEMENTS IMPORTANTS»).

1. Aliments cuits, entremets et toutes denrées à consommer assez rapidement. Fromages frais, charcuterie. 2. Viandes, volailles, gibiers et poissons crus. Temps maximum de conservation: 1 à 2 jours. 3. Bacs à légumes: légumes frais, fruits. 4. Contre porte: les balconnets receveur, en bas, les bouteilles, puis en remontant les produits de faible volume et d'emploi courant (crème, yaourts...). Le beurre, les fromages

AEG S65388KG1 - Emplacement des denrées - 1

cuits et les œufs trouveront leur place dans les casiers ou étagères appropriés.

Stockage des aliments

  • Afin de permettre une circulation d'air correcte, ne couvrez jamais les clayettes de papier ou de feuilles en plastique.
  • Attendez le refroidissement complet des préparations avant de les stocker (ex: soupe).
  • N'entreposez que des aliments frais, nettoyés et enfermés dans des emballages ou récipients appropriés de qualité alimentaire (il en existe de nombreux modèles dans le commerce).

Nous vous rappelons qu'un produit décongelé doit être consommé dans le plus bref délai et ne jamais être recongelé sauf s'il a été cuit entre temps.

Bac à légumes

Le bac sert à stocker des légumes et des fruits.

Il possède un cloison amovible qui permet de séparer les aliments selon vos besoins.

AEG S65388KG1 - Bac à légumes - 1

Temps et température de stockage des aliments

Voir le tableau "Température de stockage" concernant la durée de stockage des aliments à la fin de ce mode d'emploi.

Il est impossible de prédéterminer le temps de stockage des aliments car ce temps dépendra de la fraîcheur et de la manipulation des aliments refroidis. Pour cela, les temps ne sont disponibles qu’en titre d’orientation.

Ne voulant pas utiliser les alimentés achetés en état congelés, vous pouvez les stocker pendant environ un jour (jusqu'à leur dégel).

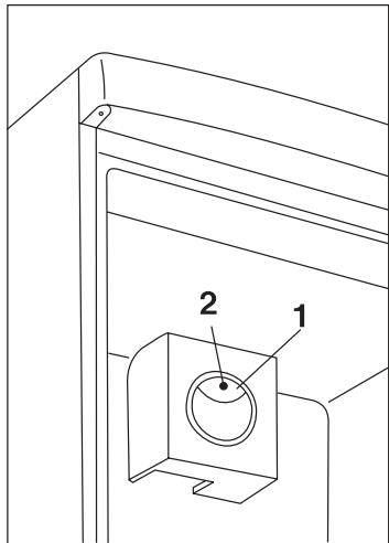
Recyclage d'air

Le réfrigérateur est équipé d'un ventilateur spécial D. A. C. (ventilateur dynamique) qu'on met en marche par un commutateur (1). Si le feu vert s'allume, cela peut dire que le ventilateur marche (2). Il est conseillé de mettre en marche le ventilateur (D. A. C.) au cas où la température extérieure dépasse les 25°C.

Il est important de mettre le commutateur de régulation de temperature (thermostat) dans

Cet appareil garantit le refroidissement rapide des aliments et une température plus stable à l'intérieur du réfrigérateur.

AEG S65388KG1 - Recyclage d'air - 1

Votre appareil porte le sigle normalisé *** 4 étoiles. L'appareil est propre à conserver une quantité de produits alimentaires frais indiquée sur la plaque signalétique. Après une préparation ajustée, conserver les produits alimentaires de la façon suivante.

Mettre le bouton tournant du régulateur de température dans une position moyenne.

Remettre les produits alimentaires déjà congelés du panier supérieur dans l'autre panier ou paniers. Mettre les produits alimentaires frais dans le panier supérieur, laisser suffisamment de place pour la circulation d'air.

Faire fonctionner l'appareil de cette façon pendant 24 heures.

Dans 24 heures, remettre le bouton tournant du régulateur de température dans la position que vous souhaitez ou laisser dans une position moyenne, ce qui satisfait en général aux besoins de réfrigération normaux.

AEG S65388KG1 - Recyclage d'air - 2

Il n'est pas recommandé de mettre le régulateur de température dans une position plus haute (p. ex. position maximale). Quoiqu'on puisse diminuer le temps de congélation par cette méthode, cela peut aussi baisser durablement la température du réfrigerateur au-dessous de 0°C, qui gérerait les aliments et boissons y stockés.

AEG S65388KG1 - Recyclage d'air - 3

Ne jamais congeler plus d'aliments que le pouvoir de congélation indiqué dans la "Spécification technique", sinon la congélation ne sera pas parfaite, et après la décongélation se produira de différentes altérations (perte de saveur, d'arôme, destructions, etc.).

AEG S65388KG1 - Recyclage d'air - 4

Si possible, ne pas faire de glace pendant la congélation, puisque le glaçage diminue le pouvoir de congélation.

AEG S65388KG1 - Recyclage d'air - 5

Conseils de congélation

Après écoulement du temps nécessaire à la congélation, répartissez les produits dans le(s) autre(s) tiroir(s) de manière à libérer le tiroir occupé pour une prochaine opération de congélation.

Si l'on doit ranger de grandes quantités d'aliments, on peut enlever de l'appareil le(s) tiroir(s) à l'exception du tiroir inférieur et placez directement les aliments sur le(s) clayette(s) refroidissantes.

  • Pour une bonne conservation des produits surgelés et congelés, la température à l'intérieur du compartiment congélateur doit être maintenue égale ou inférieure à -18°C. Assurez-vous que l'emballage est intact et qu'il ne présente aucune trace d'humidité, signe d'un début de décongélation.
  • Prévoyez un temps réduit au minimum pour leur transport du magasin d'alimentation à votre domicile. Utilisez des sacs isothermes (dans la mesure du possible).
  • Repérez la date de fabrication du produit, et respectez la durée de conservation indiquée par le fabricant.
  • Une augmentation de la température peut réduire sensiblement la durée de conservation des aliments.
  • Evitez de procéder à la fabrication de glaçons lors de la congélation de denrées fraîches.
  • Ne touchez pas avec les mains humides les surfaces givrées et les produits congélés et ne consommez pas certains produits tels que les batonnets glacés dès leur sortie du compartiment Congélateur, la température très BASSE à laquelle ils se trouvent peut provoquer des brûlures ou un arrachement de la peau. Un produit décongelé doit être consommé dans le plus bref délai et ne jamais être recongelé, sauf s'il a été cuit entre-temps.

Fabrication des glaçons

La fabrication des glaçons s'effectue dans le compartiment congélateur.

Remplissez le bac jusqu'aux trois quarts de leur hauteur, de manière à permettre l'expansion de la glace.

Si l'eau est particulièrement riche en sels minéraux (calcaire notamment), remplissez le bac avec de l'eau minérale non gazeuse.

Les bacs en matière plastique vous assurent un démoulage plus facile. Si toutefois vous désirez obtenir des glaçons plus rapidement, nous vous conseillons d'utiliser des bacs métalliques que vous trouverez dans le commerce.

Nous vous recommandons de faire régulièrement de nouveaux glaçons.

Démoulage des glaçons

Le démoulage des bacs en matière plastique s'obtient par simple torsion.

Si vous utilisez des bacs métalliques, passez-les sous l'eau froide pour en faciliter le démoulage.

AEG S65388KG1 - Démoulage des glaçons - 1

Ne décollez jamais les bacs à glaçons avec un couteau ou tout autre objet, vous risquez de détériorer irrémédiablement l'évaporateur.

Instructions et conseils utiles

AEG S65388KG1 - Instructions et conseils utiles - 1

  1. On vous attire l'attention sur le fait que l'appareil possède un système réglable de clayettes qui augmente considérablement l'utilisabilité de l'espace frigo normal. Il est déjà possible de replacer les clayettes en n'ouvrant la porte de l'appareil qu'à.
  2. Après avoir ouvert et fermé la porte du congélateur, un vide se produit dans l'espace intérieur de l'appareil à cause de la température basse. C'est pourquoi, après avoir fermé la porte, attendez 2-3 minutes avant de la rouvrir, jusqu'à ce que la pression intérieure s'égalise.
  3. Faites attention à utiliser le congélateur de façon que le régulateur de température soit dans une position telle que la température dans l'espace intérieur ne soit jamais plus haute que -18°C.
  4. Il est conseillé de s'assurer tous les jours du fonctionnement parfait du congélateur pour détecter le plus vite possible l'éventuel dysfonctionnement, pour prévenir l'altération des produits alimentaires congelés.
  5. Pendant le fonctionnement de l'appareil, vous allez entendre les bruits typiques suivants.
  6. Un déclic: au moment où la commande électronique démarre ou arrête le compresseur, vous entendez un déclic.
  7. Bourdonnement: Pendant le fonctionnement du compresseur, vous entendez un bruit de bourdonnement.
  8. Gargouilllement: Au moment où le compresseur démarre et le liquide de refroidissement commence à circuler dans les tuyaux, cela peut provoquer un bruit intermittant (gémissement, bruissement, glouglou, dégoutement). Ce bruit pourrait être entendu un peu même après avoir arrêté le compresseur.
  9. Crépitation: Le composant qui refroidit l'espace frigo normal (évaporateur), dans la plupart de nos appareils se trouve dans un lit de mousse caché dans le corps de l'appareil. La température de cette partie, ainsi que ses dimensions, changent pendant que l'appareil fonctionne.

Ce changement de dimension peut eventuellement générer un bruit de crépitation sourd. Ce phénomène sonore est naturel, pas vicieux.

  1. Si vous désirez contrôler la température des produits stockés dans l'appareil, mettez dans une position moyenne le régulateur de température, placez un verre d'eau au milieu de l'espace frigo et mettez dans l'eau un thermomètre convenable, à précision de +/− 1°C. Si 6 heures

AEG S65388KG1 - Instructions et conseils utiles - 2

passées, il vous montre une valeur entre +3°C et +8°C, l'appareil fonctionne normalement. Ne faites le contrôle qu'en conditions stables (sans changer de charge).

  1. Si vous désirez contrôler la température dans le congélateur par le thermomètre propre de celui-ci, placez le thermomètre au milieu des produits alimentaires, puisque de cette façon il vous montrera la température réelle des produits congelés.

Économie d'énergie / stockage optimal

  1. Placez votre appare isinière, lave-vaisselle,...).
  2. Veillez à ce que l'air circule librement tout autour de l'appareil.
  3. Nettoyez régulièrement le condenseur.

AEG S65388KG1 - Économie d'énergie / stockage optimal - 1

Protection de l'environnement

Le système frigorifique et l'isolation de votre appareil ne contiennent pas de C. F. C., contribuant ainsi à préserver l'environnement.

Tous les matériaux marqués par le symbole sont recyclables. Déposez-les dans une déchetterie prévue à cet effet (renseignez-vous auprès des services de votre commune) pour qu'ils puissent être récupérés et recyclés.

Guide de congélation

Préparez et emballez les aliments et congalez-les rapidement.

Préparer

Les denrées congélées doivent conserver toutes leurs qualités d'origine. Pour cela, préparez-les comme si elles devaient être consommées immédiatement.

Les fruits et les légumes seront épluchés, nettoyés et blanchis si nécessaire, les volailles et les poissons, vidés et nettoyés, les viandes dégraissées (voir paragraphes correspondants). Chaque paquet doit être proportionné à l'importance de la consommation familiale de manière à être utilisé en une seule fois.

Des paquets de petites dimensions permettent d'obtenir une congélation rapide et uniforme.

Emballer

Avant de mettre les aliments sans le congélateur, ils doivent être soigneusement et hermétiquement emballés de manière à éviter le dessèchement, l'oxydation et le transfert des odeurs.

Selon la nature des produits, vous choisissez l'emballage qui offre le meilleur contact entre l'aliment et les surfaces froides.

Quel que soit le type d'emballage, il doit être:

  • de qualité alimentaire
  • inodore
  • spécial congélation, c'est à dire résistant aux très basses températures
  • imperméable à l'eau et à l'air.

Il doit pouvoir :

  • être employé de telle sorte que l'air en soit éliminé aussi complètement que possible
  • être clos de façon hermétique

Les récipients

Rigides ou semi-rigides, ils conviennent aux fruits délicats, compotes et plats cuisinés.

Les boîtes en matière plastique

Munies d'un couvercle assurant une fermeture hermétique, elles conviennent particulièrement à la congélation. Carrées ou rectangulaires, elles offrent un contact étroit avec les parois froides de l'appareil et permettent un rangement rationnel. Elles sont réutilisables.

Les barquettes d'aluminium: il en existe de différentes formes et contenances. Leurs couvercles aisés à mettre en place assurent généralement une bonne étanchéité. Ces barquettes sont souvent réutilisables après avoir été bien nettoyées et ébouillantées.

Les barquettes et gobelets en carton paraffiné: s'emploient comme les barquettes en aluminium mais ne peuvent recevoir d'aliments chauds et ne sont pas réutilisables. Remarque: en congélant, les produits augmentent de volume; ne remplissez pas complètement les récipients.

Les sachets: vous utiliserez de la même façon les gains vendues en rouleau; elles permettent de réaliser des sachets à la demande en soudant l'une des extrémités à l'aide d'un appareil à thermosceller ou tout simplement en utilisant un fer à repasser.

Peu encombrants, en polyéthylène ou en rislan, ils sont pratiques car ils épousent bien la forme des aliments. De différentes capacités, ils constituent l'emballage idéal des volailles et légumes peu fragiles.

Après avoir chassé l'air, ils sont fermés par un lien ou thermoscellés.

Certains sachets de qualité « à bouillir » offrent l'avantage supplémentaire de pouvoir être immergés dans l'eau bouillante pour en réchauffer le contenu.

Les sachets ne sont pas réutilisables.

Les feuilles

Comme les sachets, elles permettent d'obtenir des paquets qui épousent parfaitement la forme des aliments.

L'aluminium, le polyéthylène, le rilsan ou les films adhésifs peuvent être indifféremment employés à condition de plusieurs jours Choosing la qualité «spécial congélation ». Les paquets sont fermés par un double pliage dans chaque sens et maintenus par un ruban adhésif.

Les feuilles sont aussi utiles pour séparer les petites pièces de viande ou les tranches de poisson par exemple.

Ce sont principalement:

  • des liens à armature métallique pour fermer sacs et sachets,
  • des rubans adhésifs résistant aux basses températures et pouvant recevoir des inscriptions.

Liens et rubans se vendent au rouleau. - des étiquettes autocollantes pour congélation et des marqueurs indélébiles pour identifier les emballages.

L'étiquetage

L'identification des emballages est de première importance ; elle doit indiquer la nature de l'aliment, le poids, la quantité ou le nombre de parts, la date de congélation et éventuellement la date limite d'utilisation (voir paragraph «durée de conservation en mois»).

La durée de conservation varie selon la nature des aliments. Il est indispensable de tenir à jour un inventaire des denrées congelées afin de les consommer dans un ordre correct.

Comment décongeler

La décongélation est une phase très importante car c'est souvent d'une décongélation mal menée que viennent toutes les déceptions.

Chaque aliment, selon sa nature, sa forme ou simplement la recette prévue, demande que l'on choisisse la méthode de décongélation la plus adaptée.

En règle générale, sachez que la plus mauvaise des méthodes est la décongélation à l'air ambiant, favorable au développement microbien. La meilleure étant, chaque fois que cela est possible, «la décongélation-cuisson», qui de plus apporte un gain de temps certain.

Ne recongelez jamais un aliment décongelé, sauf un aliment cru qui aura été cuit entre-temps.

Décongélation et cuisson simultanées

Tous les produits à consommer cuits, s'ils ne sont pas trop volumineux, peuvent être cuits sans décongélation préalable:

Les légumes dans l'eau bouillante, les poissons dans la friture ou au court-bouillon, les viandes à rôtir dans la cocotte ou au four, les petites pièces directement sur le grill ou dans la poêle.

La seule précaution à prendre pour les viandes et les poissons est de les cuire à plus faible température et d'augmenter le temps de cuisson de 50% environ.

Pour les pièces volumineuses (grosses volailles par ex.), il est préférable de les décongeler au moins partiellement au réfrigérateur ou méthodiquement au four à micro-ondes avant de procéder à leur cuisson.

Décongélation au réfrigérateur

Ce procédé, conseillé pour les pièces de viande ou les volailles volumineuses, convient aussi à la décongélation des produits à consommer crus, tels que les fruits, le beurre...

Selon la nature et l'épaisseur des produits, la durée de décongélation peut varier de 2 à 20 heures. Dans ce cas vous laisserez le produit dans son emballage de congélation.

Décongélation aux micro-ondes

On ne peut aujourd'hui parler de décongélation sans évoquer le four à micro-ondes. Il est indéniablement le complément idéal du congélateur.

La décongélation aux micro-ondes est très rapide, ce qui offre le double avantage d’éviter la contamination microbiennne et de permettre l’utilisation quasi immédiate des produits congelés.

Par exemple : un poulet de 1 kg demande environ 15 heures pour être décongelé dans un réfrigérateur et seulement 20 minutes dans un four à micro-ondes.

Pour la congélation et décongélation

Il convient d'être particulièrement vigilant pour la congélation des fruits car ils sont délicats.

Solution 1

  • La couleur des poires, pommes et pêches s'altère très vite lorsqu'on les épluche, les coupe ou les dénoyaute.
  • Pelez et coupez les fruits. Dénoyautez-les si nécessaire.
  • Remplissez un récipient d'eau + 1 jus de citron.
  • Mettez-y les fruits lorsqu'ils sont pelés et coupés.
  • Préparez-les ensuite avec une solution d'eau sucrée + 2 jus de citron pour un litre d'eau ou un sirop (voir solution 4).

- Solution 2

  • Mettez les fruits lavés dans un plat. Ils doivent rester mouillés.
  • Saupoudrez de sucre (1 volume de sucre pour 3 volumes de fruits) 300gr/kg fruits.
  • Retournez les fruits avec beaucoup de précautions pour une bonne répartition du sucre.
  • Congelez ensuite les fruits saupoudrés de sucre.

- Solution 3

  • Délayez 650 gr de sucre dans un litre d'eau (solution à 40%).
  • Mettez les fruits dans des boîtes, gobelets, saladiers « spécial congélation ».
  • Recouvrez complètement de cette solution qui doit être aussi froide que possible.
  • Mettez au congélateur (fruits au sirop).

- Solution 4

  • Faites dissoudre 800 gr de sucre dans 12 l d'eau pour obtenir environ 1 litre de sirop.
  • Portez à ébullition.
  • Ajoutez-y 1 jus de citron (par litre de sirop) et versez sur les fruits.
  • Laissez refroidir et congelez l'ensemble «fruits au sirop».

Décongélation La décongélation des fruits doit s'effectuer au réfrigérateur (ou au four à micro-ondes pour la préparation des compotes).

Abricots

-bien mûrs - fermes frais

Lavez-les et coupez-les en 2. Dénoyautez-les. Pelez-les. Placez-les dans un saladier et arrosez-les d'un jus de citron.

Congelez-les en les préparant avec les solutions 3 ou 4.

  • Si vous ne pelez pas les abricots, trempez-les pendant 12 heure dans l'eau bouillante afin que la peau se ramollisse pendant la congélation. Faites-les ensuite refroidir.
  • Meilleur résultat avec la solution d'eau sucrée.
  • mûres à point - fermes - non écrasées

Triez-les, lavez-les, équeutez-les et dénoyautez-les. Congelez-les nature ou avec la solution 2 étalée sur un plateau (*) ou préparez-les avec la solution 3 ou 4.

  • Utilisez-les nature, pour la préparation de tartes et saupoudrez les cerises de sucre vanillé après cuisson.
  • petites ou moyennes - fermes - très parfumées - fraîches - non écrasées - cueillies du jour.

Lavez-les. Faites-les égoutter avec précaution pour ne pas les endommager.

Otez-leur le pédoncule. Congelez-les nature ou avec la solution 2, étalées sur un plateau(*)

  • Utilisez-les à l'état surgelé comme garniture de gâteaux ou tartes.
  • Décongelez lentement au réfrigérateur.
  • Les fraises décongelées sont très fragiles. Utilisez-les avec précaution.
  • fermes - mûres à point - bien parfumées - non écrasées - fraîches - bien colorées - cueillies du jour.

Lavez-les avec beaucoup de précaution. Équeutez-les et égouttez-les sur une feuille de papier absorbant.

Pour les tartes, congélez-les posées côte à côte sur un plateau (*) puis rangez-les.

Pour les charlottes et les entremets, saupoudrez-les de sucre + 1 jus de citron, posées côte à côte sur un plateau (*).

Très bons résultats. Très bonne qualité après congélation. Comme les fraises, les framboises doivent être cueillies par ciel dégagé, le temps orageux est très néfaste à leur conservation.

Groseilles ROUGES, blanches ou CASSIS

  • bien mûrs - fermes - non avariés - frais - parfaitement sains

Lavez-les, équeutez-les. Égouttez-les sur un papier absorbant. Congelez-les nature, étalés sur un plateau (*) ou avec une des préparations à base de sucre (voir solutions 2, 3 ou 4).

Pour les glaces et les coulis, passez-les en purée.

Les cassis et groseilles sont sensibles aux manipulations. Il faut les cueillir avec précaution et avant que le soleil ne commence à chauffer.

  • Entiers: détachez un couvercle de 10 cm de diamètre. Sortez les pépins à l'aide d'une cuillère. Rincez l'intérieur. Remplissez le fruit de la solution3. Remettez le couvercle et emballez dans du papier cellophane.
  • En morceaux ou en quartiers : coupez le melon en quartiers. Sortez les pépins. Épluchez les quartiers. Congelez avec la solution 3. En général, les melons gardent toute leur saveur et tout leur arôme après congélation.

MULES et myrtille

-bien noires - mûres à point - fermes

Triez-les, lavez-les et équeutez-les. Égouttez-les délicatement. Congelez-les nature, étalées sur un plateau (*) ou avec une des préparations à base de sucre (solutions 2, 3 ou 4).

  • Légèrement acidulées, très juteuses, les myrtilles supportent parfaitement bien la congélation.

PECHES Blanches ou JAUNES

  • très parfumées - mûres à point - fermes lisses
  • En quartiers: lavez-les, pelez-les et coupez-les en quartiers. Congelez-les en les préparant avec la solution 1.
  • En purée: lavez-les, pelez-les et écrasez-les. Sucrez la préparation, mélangez et congalez.
  • Vous pèlerez les pêches plus facilement si vous les trempez dans l'eau bouillante. Les pêches supportent mal la congélation. Préférez donc la congélation en purée plutôt qu'en fruit entier.

POIRES

  • poires type William - récemment cueillies non tannées - paraphumées - mûres mais fermes juteuses - non granuleuses.
  • En quartiers: lavez-les, pelez-les et coupez-les en quartiers. Congelez-les en les préparant avec la solution 1.
  • En purée : lavez-les, pelez-les et écrasez-les en purée.
  • Vous pèlerez les poires plus facilement si vous les trempez dans l'eau bouillante. Les poires supportent mal la congélation. Préférez donc la congélation en purée qu'en fruit entier.
  • reinettes toutes sortes de pommes
  • En compote : lavez-les et épluchez-les. Cuisez-les. Écrasez-les en compote. Laissez refroidir et congalez.

Remarques identiques à celles des poires. Procédez de la même façon pour congeler de la compote de toutes sortes de fruits.

PRUNES

  • Reines Claudes, Quetches, etc... - mûres - fermes - fraîchement cueillies. Lavez-les, pelez-les et coupez-les en 2. Dénoyotez-les. Mettez-les au fur et à mesure dans la solution 1.
  • Si vous ne pelez pas les prunes, elles seront dures. Les prunes gardent toutes leurs qualités après avoir été congélées.
  • fraîche - tendre - peu fibreuse

Lavez-la, otez les fils et épluchez légèrement.

Coupez-la en tronçons. Congelez-la nature ou avec les solutions 2 ou 3.

  • Utilisez-la directement sur une tarte, un gâteau ou cuisez-la en compte.

Décongélation

La décongélation des fruits doit s'effectuer au réfrigérateur ou au four à micro-ondes pour la préparation des comptes).

Portez l'eau à ébullition.

Immergez les légumes en totalité dans l'eau bouillante (500 gr pour 3 à 4 litres d'eau). La même eau pouvant être utilisée 6 à 7 fois.

Couvrez

Prenez une marmite à pression.

Mettez les légumes dans le panier en métal. Remplissez la marmite d'eau (reportez-vous aux instructions de la notice d'utilisation de cet récipient) et portez-la à ébullition. Suspendez le panier afin qu’il ne trempe pas dans l'eau. Mettez la marmite sous pression.

Refroidissement

Très vite après le blanchiment, plongez les légumes dans un bain d'eau froide. Laissez éventuellement couler l'eau dans ce bain de manière à avoir la température la plus BASSE (possibilité d'utiliser de la glace).

Faites égoutter les légumes quelques minutes. Emballez-les et congalez-les.

Asperges

  • fraîches - très tendres

Lavez-les soigneusement. Pelez-les et coupez les grosses en deux (sens de la longueur).

Blanchissez-les à l'eau ou à la vapeur,

  • 3 min. à l'ébullition
  • 4 min. à la vapeur

Refroidissez à l'eau courante. Laissez égoutter. Emballez.

Les résultats sont très inégaux selon que les asperges sortent de terre ou ont déjà quelques heures.

  • jeunes carottes - forme régulière

Epluchez-les ou grattez-les si elles sont petites. Coupez-les si vous le jugez nécessaire.

Durée de conservation en mois
Abricots8
Cassis10
Cerises8 à 10
Fraises8 à 10
Framboises8 à 10
Groseilles10
Melons8
Mûres10
Myrtilles10
Pêches6 à 8
Poires8 à 10
Pommes8 à 10
Prunes8 à 10
Rhubarbe10

Blanchiment

Il consiste à ébouillanter les légumes pendant quelques instants et à refroidir aussitôt à l'eau froide. Blanchissez-les 3 min. à l'eau bouillante. Laissez égoutter et refroidir. Emballez.

CHAMPIGNONS (Paris - Cèpes - Girolles)

  • petites - fermes - sains - propres - fraîchement cueillis - chapeaux pas trop ouverts.

Préparez-les et lavez-les. Faites-les revenir dans une poêle pour éliminer leur eau de végétation. Ajoutez une cuillère d'huile. Égouttez-les. Emballez

  • Pour les cèpes, s'ils sont très jeunes et très petits, congelez-les tels quels sur une feuille à pâtisserie et ensuite emballez-les.

Choux-fleurs

  • très blancs - bien fermes - serrés - non épanouis
  • Entier: Enlevez les feuilles et une partie du pied. Mettez-le 12 heure
  • En morceau: Otez les feuilles et une partie du pied. Détachez les petits bouquets en taille égale. Lavez-les. Blanchissez-les 2 min. dans l'eau bouillante. Refroidissez à l'eau courante. Laissez égoutter et emballez.
  • Le résultat est excellent. Les choux-fleurs perdent une partie de leur goût fort.

CHOUX VERTS

  • tendres - cœur blanc

Épluchez-les: ôtez les côtes. Blanchissez-les 2 min. à l'eau bouillante. Égouttez.

  • Ils sont surtout utilisés pour les potées, choux braisés, farcis, saucisses au choux etc.
  • bien blanches - non épanouis - bien fermes

Nettoyez-les et lavez-les. Coupez-les en morceaux de 1 à 2 cm de long. Blanchissez-les à l'eau bouillante pendant 3 min. Remuez-les pour qu'elles soient bien immergées. Refroidissez-les à l'eau courante. Laissez égoutter. Emballez.

  • Il est possible de ne pas les blanchir et, par contre, de les braiser directement sans autre manipulation.

Epinards

  • frais - tendres - petites feuilles - petites queues - juteux

Otez les queues. Lavez les feuilles. Blanchissez-les à l'eau bouillante pendant 1 min.

Remuez pendant la cuisson pour séparer les feuilles. Refroidissez-les à l'eau courante. Laissez égoutter. Emballez.

  • Evitez les épinards de grandes tailles (mauvais résultats).

Haricots VERTS et haricots BEURRE

  • fins charnus - grains non formés - très verts ou beurre - sans taches Effilez-les et cassez-les en deux ou trois morceaux. Lavez-les. Blanchissez-les dans l'eau bouillante pendant 4 min. ou à la vapeur pendant 5 min.

Refroidissez-les à l'eau courante. Laissez-les égoutter et emballez.

  • Il est nécessaire de les réhydrater.

HERBES aromatiques

  • persil, estragon, cerfeuil, menthe, fines herbes, ciboulette - bien vertes - fraîches feuilles tendres

Lavez-les. Égouttez-les. Mettez-les en petits bouquets. Emballez-les. Lavez-les, égouttez-les et hachez-les finement. Emballez-les dans de petits récipients (boîtes plastiques).

  • Frottez les bouquets dans vos mains pour les écraser sur la préparation à aromatiser. La décongélation est presque immédiate. Très pratique pour aromatiser vos préparations.

PETITS POIS

  • fermes - tendres sucrés - verts - fraîchement cueillis

Lavez-les après les avoir écosssés. Blanchissez-les 2 min. à l'eau bouillante ou 3 min. s'ils sont un peu plus gros. Refroidissez-les à l'eau courante. Égouttez et emballez.

  • Excellent résultat

Tomates

  • saines - mûres - fermes - bien rouges.
Durée de conservation en mois
Asperges12
Carottes10 à 12
Champignons10 à 12
Choux fleurs8 à 10
Choux verts
- nature8 à 10
- cuisine2 à 3
Endives6 à 8
Epinards10 à 12
Haricots verts10 à 12
Haricots beurre10 à 12
Herbes aromatiques6 à 8
Petits.POIS12
Tomates6
  • Entières: lavez-les. Épluchez-les si nécessaire (trempez-les 2 à 3 secondes dans l'eau bouillante pour plus de facilité). Séchez-les et emballez-les.
  • En purée: lavez-les. Coupez-les en morceaux. Cuisez-les avec un peu d'eau. Écrasez-les en purée. Refroidissez la purée en plongeant le récipient dans de l'eau froide.
  • Bons résultats. Attention: les tomates peuvent se démonter. Coupez-les encore gelées pour la préparation d'une salade. Il est préférible de congeler les tomates en purée car les tomates entières perdent leur fermeté.

Viandes

  • Coupe la viande en morceaux (quantité consommée par votre famille en un repas). Evitez de faire des paquets supérieurs à 2kg.
  • Dégraissez et désossez pour obtenir un gain de place de 25 à 30%.
  • Ne pas saler, ajoutez quelques épices si nécessaire (ATTENTION: après congélation de la viande, poivre plus fort, curry fade, noix de muscade trop, paprika et céleri prennent un goût très désagréable).
  • Emballez toujours les morceaux ou les tranches que vous séparez par des feuilles de papier cellophane.
  • Congelez la viande dès que possible.
  • La charcuterie préparée et congelée aussitôt faite, crue ou cuite selon le cas. Pour une longue conservation, il est préféable d'utiliser les moyens traditionnels (conserves stérilisées) car la charcuterie rancit doucement au congelateur alors que les pâtés, rillettes et rotis de porc se bonifient en conserves stérilisées.

Viande crue:

  • Décongélation de quelques heures à 24 heures selon grosseur, au réfrigérateur pour les tournedos, grillades, côtes ou quelques minutes dans un four à micro-ondes (se reporter aux temps indiqués dans la notice dans la notice d'utilisation du four ou dans le livre de recettes).
  • Cuisson directe sans décongélation pour le bœuf mode, le gigot, roti, etc. Prévoyez un temps de cuisson un peu plus long pour la décongélation et vérifiez la cuisson.

Vande cuite:

  • Décongélation de quelques heures à 24 heures selon grosseur, au réfrigérateur pour les viandes cuites à consommer froides ou très rapidement au four à micro-ondes (se reporter aux temps indiqués)
  • Réchauffez les viandes cuites en sauce directement sans décongélation.

Remarque: il est nécessaire de nettoyer la volaille avant de la congeler.

  • Nettoyez bien le gibier et préparez-le comme les viandes.
  • Coupez l'aorte et pendez la volaille par les pattes.
  • Trempez-la dans de l'eau à 50°C pendant quelques minutes.
  • Plumez-la (de la queue aux ailes).
  • Ne déchirez surtout pas la peau.
  • Brûlez sur une flamme les plumes restantes.
  • Faites une incision après les pattes dans la partie souple du ventre pour la vider.
  • Emballez entièrement avec du papier polyéthylène. Congelez.

Décongélation

  • Les volailles seront cuites directement sans décongélation.
  • Prévoyez un temps de 15 à 20 minutes supplémentaires selon la grosseur.
  • Si vous désirez effectuer une décongélation avant cuisson : placez la volaille à décongeler au réfrigérateur (de quelques heures à 24 heures) ou dans le four micro-ondes (se reporter aux temps indiqués dans la notice d'utilisation du four ou dans le livre de recettes).
Durée de conservation en mois
ABATS4
BCEUF:
Tourneds, grillades, rôti, mode (cu)10 à 12
Cru en sauce, côtes8 à 12
Cuits en sauce, Mode (cuit)2 à 3
CHARCUTERIE2 à 3
GROS GIBIER4 à 5
MOUTON:
Côtes, gigot9
Colliers en sauce, hauts de côtes2
PORC6 à 8
VEAU:
Rôti, côtes, tandrons6
Paupiettes2
GIBIER - VOLAILLE:
Poulets10 à 12
Poules8 à 10
Canards5 à 6
Dindes entières, escalopes, cuisses6
Oies4
Gibier à plumes3 à 4
LAPIN6

Poissons, crustaces, coquilles ST jacques

Écailliez, videz et séchez le poisson. Coupez-le en tranches (gros poissons). Emballez le poisson entier, ou en tranches séparément, et congégez immédiatement.

Crustaces

Langoustes - homards - crabes :

Pour avoir un meilleur décollement de la chair au moment de la préparation, ébouillantez-les 5 minutes. Refroidissez-les et emballez-les. Congelez-les le plus rapidement possible.

Crevettes grises ou roses:

Congelez-les fraîches, crues, sans préparation spéciale.

Moules:

Lavez-les et faites-les ouvrir sur le feu. Décoquillez-les et laissez-les refroidir.

Emballez-les et congalez-les.

Filtrez l'eau et congalez-la à part.

Coquilles st-jacques

Ouvrez-les. Ne gardez que la noix et le corail. Lavez-les et séchez-les. Congelez-les posées sur un plateau (*) et emballez-les après congélation.

Poissons:

  • sans décongélation: directement à la cuisson, court-bouillon, au four ou à la poèle.
  • au réfrigérateur : décongélation de quelques heures à 24 heures selon grosseur. au four à micro-ondes : se reporter aux temps indiqués dans la notice d'utilisation du four ou au livre de recettes.

Crustaces:

  • sans décongélation: directement au court-bouillon.
  • au réfrigérateur : quelques heures pour les crevettes, moules ou coquilles St-Jacques. au four à micro-ondes : se reporter aux temps indiqués dans la notice d'utilisation du four ou au livre de recettes.
  • utilisation directe en plats cuisinés pour les crevettes, moulus, coquilles St-Jacques.

Produits laitiers

  • Battez les jaunes d’œufs, ajoutez 1/2 cuillère à café de sel ou 1 cuillère à soupe de sucre pour 2 jaunes selon utilisation.
Durée de conservation en mois
POISSONS MAIGRES
Merlan, cabillaud, lieu3 à 4
POISSONS GRAS
Thon, maquereau, saumon, truite de mer1 à 2
CRUSTACES
Langouste, homard, crabe, etc.5 à 6
COQUILLES ST JACQUES2
  • Mettez les blancs dans de petits récipients.
  • Battez la crème fraîche et congérez.
  • Beurre et fromage à pâté molle seront emballés dans du papier d'aluminium.

Décongélation

Dans le réfrigérateur pendant 1 à 2 heures.

Vérifiez l'état de décongélation avant l'utilisation.

Remarques:

  • Les yaourts se séparent et les résultats de congélation ne sont pas satisfaisants. Il n'est pas dangereux de les consommer mais la texture est abimée.
  • Ne congelez pas la mayonnaise car l'huile se sépare du jaune d'œuf.

PLATS Cuisines

  • Cuisinez vos plats selon vos recettes habituelles.
  • Prévoyez des portions correspondant au nombre de personnes de votre famille.
  • Emballez et congalez.

Décongélation

  • Réchauffez doucement dans un plat. Couvrez.
  • Remuez les aliments tels que soupes, potages et viandes en sauce.

Remarque:

La décongélation peut s'effectuer dans un four à micro-ondes (se reporter aux temps indiqués dans la notice d'utilisation du four ou dans le livre de recettes).

Boulangerie

  • Pain: congelez-le frais à peine refroidi. Coupez-le en morceaux.
  • Brioches: congelez-les aussitôt refroidies, sur des grilles (*).
  • Croissants: congelez-les cuits, juste refroidis sur des grilles (*). Levure: congelez-la telle quelle.

Décongélation

À température ambiante environ 2 heures. Accélérez la décongélation en mettant pain, brioche ou croissants au four classique ou four à micro-ondes.

Remarques :

La décongélation peut s'effectuer dans un four à micro-ondes (se reporter aux temps indiqués dans la notice d'utilisation du four ou dans le livre de recettes).

Pour ne pas les casser, congalez-les sur une grille ou un plateau (*) après complet refroidissement (1).

Décongélation

Retirez l'emballage. Décongelez à l'air ambiant. Coupez les parts avant décongélation pour garder leur forme (utilisez un couteau adapté).

Préparez la glace selon vos recettes habituelles. Congelez-la dans des boîtes spéciales congélation si elle n'a pas besoin d'être remuée.

Décongélation

Attendez quelques instants avant de consommer directement.

Durée de conservation en mois
PRODUITS LAITIERS
Jaune d'œuf8 à 10
Blanc d'œuf10 à 12
Beurre, fromage8
Crème3
BOULANGERIE
Pain2 à 4
Brioches3
Croissants4 à 6
Levure6
GATEAUX, TARTES, TOURTES
Cake2 à 3
Crêpes, quiches1 à 2
Gâteaux, crème1 à 2
Pâtte à tarte, tartes2
Petits fours1
CREMES GLACEES2

Plateau de congélation (1) Emballez ensuite dans des sacs ou boîtes «spécial congélation» pour libérer votre plateau.

Compartment réfrigérateur

Le dégivrage de l'appareil s'effectue AUTOMATIQUEMENT à chaque arrêt du compresseur. L'eau de dégivrage s'écoule par l'orifice d'écoulement de l'eau de dégivrage et s'évacue dans un bac situé à l'arrière de l'appareil où elle s'évapore. Cette opération ne nécessite aucune intervention de votre part.

Nettoyage

AEG S65388KG1 - Nettoyage - 1

Ne procédez au nettoyage qu'après avoir débranché l'appareil.

Il est indispensable de maintenir votre appareil en parfait état de propreté.

N'utilisez jamais de produits abrasifs ou caustiques, ni d'éponges avec grat-toir pour procéder au nettoyage intérieur et extérieur de votre appareil.

Proscrivez également l'emploi d'alcool ou de détergent contenant ce produit : vous risquez d'endommager irrémédiablement le revêtement de votre appareil et tout particulièrement les pièces plastique (cuve, poignée, etc.).

Nettoyage intérieur

Il est recommandé de nettoyer le compartiment réfrigé

réfrigérateur très régulièrement et le compartiment congélateur chaque fois que vous procédez au dégivrage complet.

Compartment réfrigérateur

Retirez tous les accessoires du compartiment (clayettes, balconnets, bac(s) à légumes, etc.). Lavez-les à l'eau tiède additionnée d'un détergent doux et inodore (produit utilisé pour la vaisselle par exemple). Rincez à l'eau javellisée et séchez très soigneusement.

Lavez les parois intérieures du compartiment comme indiqué pour les accessoires. Soignez particulièrement les supports de clayettes et l'orifice d'é

coulement de l'eau de dégivrage à l'aide du bâtonnet se trouvant dans l'orifice.

Lavez le joint de porte en caoutchouc sans omettre de nettoyer également sous le joint.

À l'occasion d'un dégivrage, lavez le compartiment et le joint de porte à l'aide d'une éponge et d'un détergent doux. Rincez et séchez soigneusement.

AEG S65388KG1 - Compartment réfrigérateur - 1

Nettoyage extérieur

Lavez l'ensemble de la carrosserie à l'eau tiède savonnée. Rincez et séchez soigneusement. De temps en temps, dépoussiérez le condenseur (paroi arrière de l'appareil).

En cas d'anomalie de fonctionnement

La fabrication de votre appareil a fait l'objet de nombreuses vérifications. Cependant, si vous constatez une anomalie de fonctionnement, consultez le tableau ci-dessous avant d'appeler le service après-vente.

Nous attirons votre attention sur le fait qu'il n'est pas anormal d'entendre le bruit de circulation du fluide frigorigène selon son état liquide, gazeux ou vapoureux ou le bruit de fonctionnement du compresseur.

SymptômesCausesSolutions
L'appareil ne fait pas suffisamment de froid dans le compartment réfrigérateur• Le thermostat est sur une position trop basse.• Placez le thermostat sur une position plus élevé.
• Les alimentés n'ont pas été refroidis avant d'être introduits dans l'appareil.• Attendez le complet refroidissement des alimentés.
• La porte du compartment réfrigérateur n'est pas corRECTement fermée.• Vérifiez la fermeture de la porte.
• L'appareil est situé à proximité d'une source de chaleur.• Vérifiez l'emplacement de l'apareil (voir chapitre «Installation").
L'appareil ne fait pas suffisamment de froid dans le compartment congélateur• Le thermostat est sur une position trop basse.• Placez le thermostat sur une position plus élevé.
• La porte du compartment con-gélateur n'est pas correctement fermée.• Vérifiez la fermeture de la porte.
• Trop de produits frais ont été introduits en même temps dans le compartment congélateur.• Placez les alimentés correctement afin que l'air circule correctement.
Il y a des gout-telettes d'eau sur l'évaporateur du compartment réfrigérateur• C'est normal. Pendant la phase de dégivrage automatique, l'eau dégivrée ruisse sur l'é-vaporateur.
Il y a des traces d'eau au fond du compartment réfrigérateur• L'orifice d'écoulement de l'eau de dégivrage est obstrué.• Nettoyez l'orifice d'écoulement.
• Des denrées empêchent le passage de l'eau dans l'orifice d'é-coulement de l'eau de dégivrage.• Placez correctement les denrées alimentaires sur les clayettes.
Il y a des traces d'eau sur le sol• Le flexible d'évacuation de l'eau de dégivrage à l'arrière de l'apareil ne débouche pas dans le bac de récapération d'eau.• Mettez-le en place correctement.
• Les conditions de stockage ne sont pas respectées.• Vérifiez que les alimentés sont couverts, les légumes placés dans le(s) bac(s) approprié(s).
Il y a trop de givre dans le compartment connékalteur ou réfrigérateur• La porte n'est pas correctement fermée.• Vérifiez la fermeture des portes.
• Le joint de porte n'est pas en bon état.• Vérifiez le bon état du joint de porte.
• Le thermostat est sur une position trop élevée.• Placez le thermostat sur une position moins • Elevée.
Le compresseur fonctionne en continu• Le thermostat est sur une position trop élevée.• Placez le thermostat sur une position moins élevée.
• Les portes ne sont pas correctement fermées.• Vérifiez la fermeture des portes.
• Le joint de porte n'est pas en bon état et propre.• Vérifiez le bon état et la propreté du joint.
• Trop de produits frais ont été introduits dans l'appareil.
• La température ambiente du local où est situé l'appareil est trop élevée.
L'appareil ne fonctionne pas• La prise n'est pas correctement branchée.• Vérifiez que la prise est effectivement branchée.
• Il n'y pas de courant.• Vérifiez qu'il n'y a pas de coupure de courant ou que les fusibles sont en bon état et n'ont pas disjoncté.
• Le thermostat est placé sur la position arrêt.• Vérifiez la position du thermostat.
L'appareil fait trop de bruit• L'appareil n'est pas correctement installé.• Vérifiez que l'appareil est de niveau et d'aplomb.

Si, aucun de ces défauts n'est observé, il convient de consulter très rapidement le service après-vente de votre magasin vendeur afin d'éviter toute altération des aliments. Donnez-lui la référence complète de votre appareil : ces renseignements figurent sur la plaque signalétique située à l'intérieur de l'appareil.

En cas d'absence prolongée ou de non utilisation

Ramenez le thermostat sur la position arrêt.

Débranchez, videz, dégivrez et nettoyez l'appareil.

Maintenez les portes entrouvertes pendant toute la durée de non-utilisation.

Si toutefois, vous n'avez pas la possibilité de débrancher et vider l'appareil, faites vérifier régulièrement le bon fonctionnement de celui-ci et ceci en tenant compte de sa charge et de son autonomie de fonctionnement.

Remplacement de l'ampoule d'éclairage

L'ampoule est accessible après avoir retiré le diffuseur.

Débranche l'appareil.

Presse le levier (1) à l'arrière du diffuseur et retirez-le (2).

Dévissez l'ampoule et remplacez-la par un modèle identique et de même puissance.

Remplacez le diffuseur.

Branchez l'appareil et remettez-le en service.

L'absence d'éclairage n'influence pas le bon fonctionnement de l'appareil.

AEG S65388KG1 - Remplacement de l'ampoule d'éclairage - 1

En cas d'arrêt de fonctionnement

Si la panne est de courte durée, il n'y a aucune risque d'altération pour les aliments. Abstenez-vous cependant d'ouvrir les portes.

Si la panne doit se prolonger, transférez les produits surgelés et congelés dans un autre congélateur. L'autonomie de fonctionnement de votre appareil est indiquée au chapitre «Caractéristiques techniques».

Cette durée est sensiblement raccourcie selon la charge de l'appareil.

Dès que vous constatez un début de décongélation, consommez les aliments le plus rapidement possible ou recongelez-les après les avoir cuits (aliments crus).

Garantie

Conformément à la Législation en vigueur, Votre Vendeur est tenu, lors de l'acte d'achat de votre appareil, de vous communiquer par écrit les conditions de garantie et sa mise en œuvre appliquées sur celui-ci.

Sous son entière initiative et responsabilité, Votre Vendeur répondra à toutes vos questions concernant l'achat de votre appareil et les garanties qui y sont attachées. N'hésitez pas à le contacter.

Service après vente

En cas d'anomalie de fonctionnement, reportez-vous à la rubrique «En cas d'anomalie de fonctionnement». Si malgré toutes les vérifications une intervention s'avère nécessaire, le vendeur de votre appareil est le premier habilité à intervenir. À défaut (déménagement de votre part, fermeture du magasin où vous avez effectué l'achat...), veuillez consulter le Centre Contact Consommateurs qui vous communiquera alors l'adresse d'un Service Après-Vente.

En cas d'intervention sur votre appareil, exigez du Service Après-Vente les Pièces de Rechange certifiées Constructeur.

AEG S65388KG1 - Service après vente - 1

AEG S65388KG1 - Service après vente - 2

Plaque signalétique

En appelant un Service Après-Vente, indiquez-lui le modèle, le numéro de produit et le numéro de série de l'appareil. Ces indications figurent sur la plaque signalétique située à l'intérieur de votre appareil.

Branchement électrique

Votre appareil ne peut être branché qu'en 230 V monophasé.

Vérifiez que le compteur électrique peut supporter l'intensité absorbée par votre appareil compte tenu des autres appareils branchés.

Calibre des fusibles en ligne (un par phase) 10 A en 230 V.

AEG S65388KG1 - Branchement électrique - 1

Important

L'installation doit être réalisée conformément aux règles de l'art, aux prescriptions de la norme NF. C 15.100 et aux prescriptions de l'E. D. F.

Utilisez un socle de prise de courant importante une borne de mise à la terre, qui doit être obligatoirement raccordée conformément à la norme NF. C 15.100 et aux prescriptions de l'E. D. F. ; cette prise de courant doit impératifement être accessible.

Si le câble d'alimentation est endommagé, il doit être remplacé par un câble d'alimentation certifié. Cette opération ne peut être effectuée que par une personne habilitée, par votre vendeur, ou par le fabricant.

L'appareil ne doit pas être raccordé à l'aide d'un prolongateur, d'une prise multiple ou d'un raccordement multiple (risque d'incendie).

Vérifiez que la prise de terre est conforme aux règlements en vigueur.

Notre responsabilité ne saurait être engagée en cas d'accidents ou d'incidents provoqués par une mise à la terre inexistante ou déficiente.

AEG S65388KG1 - Important - 1

Cet appareil est conforme aux Directives Communautaires suivantes:

  • 73/23 CEE 19/02/73 (Basse Tension) et modifications successives,
  • 89/336 CEE 03/05/89 (Compatibilité Electromagnétique) et modifications successives.

AEG S65388KG1 - Important - 2

Le Groupe Electrolux est le premier fabricant mondial d'appareils de cuisine, d'entretien et d'extérieur. Plus de 55 millions de produits du Groupe Electrolux (tels que réfrigerateurs, cuisinières, lave-linge, aspirateurs, tondeuses à gazon) sont vendus chaque année pour un montant d'environ 14 milliards de dollars US dans plus de 150 pays à travers le monde.

AEG S65388KG1 - Important - 3

Le symbole sur le produit ou son emballage indique que ce produit ne peut être traité comme déchet ménager. Il doit plutôt être remis au point de ramassage concerné, se chargeant du recyclage du matériel électrique et électronique. En vous assurant que ce produit est éliminé correctement, vous favorisez la prévention des conséquences négatives pour l'environnement et la santé humaine qui, sinon, seraient le résultat d'un traitement inapproprié des déchets de ce produit. Pour obtenir plus de détails sur le recyclage de ce produit, veuillez prendre contact avec le bureau municipal de votre région, son service d'élimination des déchets ménagers ou le magasin où vous avez acheté le produit.

www.electrolux.com

www.aeg-electrolux.fr

200370703-00-0406

Pour tenir nos engagements, nous écoutons les consommateurs

Info Conso Electrolux est le lien privilégié entre la marque et ses Consommateurs. Il assure en permanence une double mission : satisfaire vos exigences et tirer parti de cette proximité pour améliorer sans cesse les produits que nous vous proposons.

Avant l'achat

Toute une équipe répond avec clarté et précision à vos sollicitations concernant l’éventail de nos gammes de produits et vous apporte des informations pour vous aider dans votre choix en fonction de vos propres besoins.

Après l'achat

Exprimez-vous sur la perception que vous avez de nos produits et votre satisfaction à l'utilisation. Mais interrogez aussi nos spécialistes sur l'utilisation et l'entretien de vos appareils. C'est alors que notre mission prend tout son sens. Écouter, comprendre, agir : trois temps essentiels pour tenir l'engagement de la marque dans le plus grand respect du Consommateur.

Dans le souci d'une amélioration constante de nos produits, nous nous réservons le droit d'apporter à leurs caractéristiques toutes modifications liées à l'évolution technique (décret du 24.03.78).

Info conso

AEG S65388KG1 - Info conso - 1

BP 50142 - 60307 Senlis Cedex

Tél.: 08 90 71 03 44 (0,15 € TTC/mn)

Fax:0344622154

E-MAIL: info.conso@electrolux.fr

Permanence téléphonique du lundi au vendredi

Pour toute question technique :

Centre de Contact Consommateurs

BP 20139 - 60307 SENLIS CEDEX

Tél.: 08 92 68 24 33 (0,34 € TTC/mn)

E-MAIL: ehp.consommateur@electrolux.fr

Permanence téléphonique du lundi au vendredi

AEG S65388KG1 - Info conso - 2

Le Groupe Electrolux est le premier fabricant mondial d'appareils domestiques, d'entretien et d'extérieur. Plus de 55 millions de produits du Groupe Electrolux (tels que réfrigerateurs, cuisinières, lave-linge, aspirateurs, tondeuses, tondeuses à gazon) sont vendus chaque année pour un montant d'environ 14 milliards d'euros dans plus de 150 pays à travers le monde.

Sommaire Cliquez un titre pour y accéder
Assistant notice
Powered by ChatGPT
En attente de votre message
Informations produit

Marque : AEG

Modèle : S65388KG1

Catégorie : Réfrigérateur-congélateur