OL 6263 PLANCHA NOIR - Plancha BRASERO - Notice d'utilisation et mode d'emploi gratuit
Retrouvez gratuitement la notice de l'appareil OL 6263 PLANCHA NOIR BRASERO au format PDF.
| Intitulé | Description |
|---|---|
| Type de produit | Brasero Plancha |
| Matériau | Acier émaillé |
| Dimensions approximatives | Longueur : 60 cm, Largeur : 40 cm, Hauteur : 15 cm |
| Poids | 8 kg |
| Source de chaleur | Charbon de bois ou briquettes |
| Puissance thermique | Jusqu'à 300°C |
| Fonctions principales | Cuisiner, griller, rôtir |
| Utilisation | Idéal pour les barbecues en extérieur, facile à transporter |
| Entretien et nettoyage | Nettoyer après chaque utilisation, utiliser une brosse métallique pour les résidus |
| Pièces détachées et réparabilité | Disponibilité de pièces de rechange sur demande |
| Sécurité | Utiliser uniquement à l'extérieur, éloigner des matériaux inflammables |
| Informations générales | Ne pas laisser sans surveillance pendant l'utilisation, respecter les consignes de sécurité |
FOIRE AUX QUESTIONS - OL 6263 PLANCHA NOIR BRASERO
Questions des utilisateurs sur OL 6263 PLANCHA NOIR BRASERO
0 question sur cet appareil. Repondez a celles que vous connaissez ou posez la votre.
Poser une nouvelle question sur cet appareil
Téléchargez la notice de votre Plancha au format PDF gratuitement ! Retrouvez votre notice OL 6263 PLANCHA NOIR - BRASERO et reprennez votre appareil électronique en main. Sur cette page sont publiés tous les documents nécessaires à l'utilisation de votre appareil OL 6263 PLANCHA NOIR de la marque BRASERO.
MODE D'EMPLOI OL 6263 PLANCHA NOIR BRASERO
A. Recommendations de sécurité
B. Gaz et régulateur
C. Installation
D. Utilisation
E. Nettoyage et maintenance
- SPECIFICATIONS TECHNIQUES ET DEPANNAGE p.20
A. Spécifications techniques
B. Dépannage
ATTENTION
- MONTAGE / UTILISATION ET FONCTIONNEMENT
Ne jamais repercer ou adapter le produit en dehors des indications de la notice.
Toute modification de l'appareil peut se reveler dangereuse.
- LE BRANCHEMENT GAZ
Cette plancha est donc pour fonctionner au butane (bouteille de gaz 6 kg UNIQUEMENT) contrôle par un régulateur de butane 28 mbar approuvé, ou au propane (bouteille de gaz 5 kg UNIQUEMENT) contrôle par un régulateur de propane 37 mbar approuvéd. Il est déconseilé d'utiliser un système de melange de gaz, et le régulateur doit être utilisé selon les lois et régements nationales du pays de destination.
- NETTOYAGE ET MAINTENANCE
Nettoyez votre plancha régulièrement entre deux sessions de cuisson et après l'avoir laissé inutilisée pendant une longue période. Àpres utiliseation, attendez au moins 1 h avant de procéder au nettoyage. Protégez vos mains avec des gants afin d'éviter toute brûlure
APPAREIL A GAZ A UTILISER AVEC PRUDENCE
IMPORTANT : LIRE ATTENTIVEMENT LA NOTICE ET LA CONSERVER POUR Toute REFERENCE ULTERIEURE

La plancha ne peut être utilisée qu'en extérieur. Tenez-la à l'écart de tout matériel inflammable (ex. haies, maquis, parapluie, etc.)

Les parties accessibles peuvent être très chaudes. Tenez les jeunes enfants, les personnes âgées et les animaux à l'écart.

N'utilise jamais une plancha dans une zone non ventilée, en raison du risque de formation de monoxyde de carbone. Il faut toujours nettoyer les grilles de cuisson et le bac àGRAISSE après usage pour éviter tout retard de flamme sou-dain.
2. LIST DES PIECES
Vérifiez l'emballage avant de procéder au montage de votre plancha, pour vous assurer qu'il contient bien toutes les pieces indiquées ci-dessous. Prenez le temps de vous familiariser avec toutes les pieces fournies, et vérifiez aussi que les orifices ne sont pas obtrués par la peinture avant de commencer.

LISTE





3.

3. NOTICE DE MONTAGE
Bien que nous ayons conçu cette plancha avec le souci d'éliminer tout bord coupant, soyez prudent dans la manipulation des pieces pour vous éviter toute blessure accidentelle.
Retirez avec soin tous les emballages en polyéthylène et placez-les hors de portée des enfants.
Lisez attentivement nos recommendations de sécurité avant de commencer à utiliser votre plancha. Lisez attentivement toutes les instructions et conservez l'emballage externe pour avoir une image du produit fini et pouvoir vous y reférer en cas de difficulté de montage.
Veuillez conserver cette notice de montage avec les instructions de sécurité pour toute consultation ultérieure.
MONTAGE
Lisez complètement toutes les instructions avant de commencer. Consultez la liste des pièces et les diagrammes de montage autant de fois que cela vous est nécessaire. Nous vous conseillons de demander à quelqu'un de l'aide si nécessaire.
ATTENTION
Cet apparéil n'est pas équiné de régulateur de gaz, de tuyau flexible de gaz, joint en caoutchouc, de détendeur et de pince. Veuillez acheter des composants conformes à la réglementation nationale en vigueur du pays de destination. Ces composants doivent être replacés périodiquement, en fonction de la date indiquée sur le corps de chacun d'eux, ou conformément à la réglementation nationale en vigueur du pays de destination.
Le système a ete conu et fabriqu conformement aux normes europennes enumeratedes ci-dessous: EN 498 et EN 437 ainsi que ses modifications ulterieures (normes gaz).
L'appareil est conforme aux exigences essentielles de la directive Appareils à gaz 2009/142.
Le système d'allumage de la plancha (piezo) fonctionne avec une pile AA (non incluse).
La plaque de cuisson est très lourde pour éviter les blessures l'assemblage doit être effectué par deux personnes

ETAPE1
3. NOTICE DE MONTAGE

ETAPE 2
3. NOTICE DE MONTAGE

ETAPE 3

3. NOTICE DE MONTAGE

ETAPE 4
3. NOTICE DE MONTAGE

ETAPE5

3. NOTICE DE MONTAGE

ETAPE 6
3. NOTICE DE MONTAGE
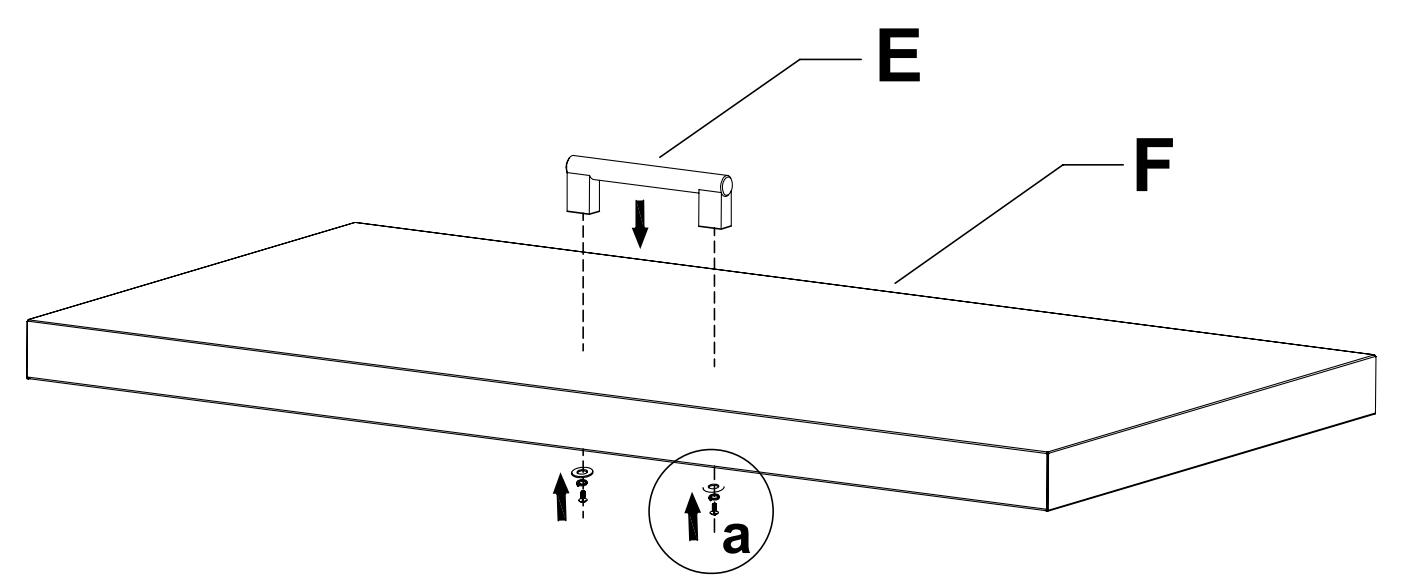
ETAPE7
La plaque de cuisson est très lourde pour éviter les blessures l'assemblage doit être effectué par deux personnes

3. NOTICE DE MONTAGE

ETAPE 8

3. NOTICE DE MONTAGE

ETAPE 9

ETAPE 10

ETAPE 11
4. UTILISATION ET ENTRETIEN
A. Recommendations de sécurité
Lisez attentivement ces recommandations avant de monter et utiliser votre plancha.
-
Conservez ces recommandations pour vous y référer ultérieurement.
-
Notre plancha est conçue pour un usage en extérieur uniquement. Ne l'utilisez jamais en interieur.
-
Utilisez uniquement du gaz GPL
-
N'utilisez pas la plancha à moins de 1 m de toute structure ou surface inflammable.
-
Ne stockez pas et n'utilisez pas les bouteilles de gaz positionnées à l'horizontal. Toute fuite peut avoir de graves conséquences et du liquide peut entraîr dans le tuyau de gaz.
-
Si la plancha est équipée avec couvercle, ouvre le couvercle avant d'allumer la plancha. La poignée de couvercle peut devenir très chaud. Il est conseillé d'utiliser des gants de cuisine.
-
Ne déplacez pas la plancha alors qu'elle fonctionne.
-
Ne laissiez pas la plancha sans surveillance lorsqu'elle est allumée.
-
La plancha devient très chaude en cours de fonctionnement. Faites très attention si des enfants, des personnes âgées ou des animaux sont à proximité.
-
Fermez toujours la bouteille de gaz lorsque vous n'utilise pas votre plancha.
-
Ne couvrez jamais votre plancha avant qu'elle ne soit complètement refroidie.
-
Procedez à un test de fuite chaque année et chaque fois que vous enlevez ou remplacez la bouteille de gaz.
-
Ne stockezaucun matériel inflammable pres de la plancha.
-
N'utilise aucun aérosol près de la plancha.
-
Ne pas fouvoir vous conformer aux recommandations et instructions de ce manuel pourrait entraîner des blessures ou dommages sérieux.
-
Si vous avez des questions concernant ces recommendations et instructions, consultez votre revendeur local.
-
Ne modifiez jamaisaucomposantde la plancha.Toute modification de l'appareil est formellement interdite et peut se révélé très dangereuse.Notamment,ne jamais démonter les injecteurs de la plancha.
-
Les parties protégées de la plancha ne doivent pas'être manipulées par l'utilisateur.
-
Aucun produit d'allumage ne doit être utilisé avec cet apparéil.
-
Avant chaque utilisation, vérifiez que le tuyau ne présente ni entailles, ni fissures, ni signes d'usure excessive. Si le tuyau est endommagé, remplacez-le immédiatement après vous étés assured que le nouveau tuyau convient au gaz et est conforme aux normes nationales actuellement en vigueur.
B. Gaz et régulateur
Cette plancha a ete conque pour fonctionner avec du gaz butane (Bouteille de 6 Kg de gaz SEULEMENT) controllee par un regulateur de butane 28 mbar approuve, ou au propane (Bouteille de 5 Kg de gaz SEULEMENT) controllee par un regulateur de propane 37 mbar approuve.
Il est déconseilé d'utiliser un système de mélange de gaz, et le régulateur doit être utilisé selon les lois et réglementations nationaux du pays de destination.
UN RÉGULATEUR ET UNE BOUTEILLE DE GAZ APPROPRIÉS SONT INDISPENSABLES POUR ASSURER UN FONCTIONNEMENT SANS RISQUE ET EFFICACE DE VOTRE PLANCHA.
L'UTILISATION D'UN RÉGULATEUR INAPPROPRIÉ OU DÉFECTUEUX EST DANGEREUX ET ANNULE NOTRE GARANTIE.
Consultez votre marchand de gaz local pour obtenir une bouteille de gaz appropriée.
C. INSTALLATION
Installez la plancha en conformité avec les lois et réglementations nationales.
C1. Choix d'un emplacement
Cette plancha est destinée à une utilisation en extérieur uniquement et dans un endroit bien aéré. Ne le placez jamais sur une surface combustible. La distance entre la plancha, les murs environnants et les cotsés doit être de minimum 1 metre. Il ne doit pas y avoir de plafond au-dessus de la plaque. Gardez la plancha à l'écart de toute substance inflammable.
C2. Précautions
Ne bloquez pas les ouvertures de ventilation de la plancha. Disposez la bouteille de gaz au niveau du sol, à proximé de la plancha et à l'écart de toute source de chaleur. S'il vous devez replacer la bouteille de gaz, assurez-vous que la plancha est éteinte et qu'aucune source potentielle d'incendie (cigarette, flamme nue, étincelle, etc.) ne se trouve à proximé avant de commencer. Assurez-vous que le tuyau de gaz n'est pas pince ni entortillé. Raccordez le tuyau flexible en caoutchouc au tuyau situé dans la partie inférieure de la plancha de telle sorte que celui-ci ne touche aucune partie chaude. Le tuyau ne doit ni être ni plié, ni entortillé ni faire de noèud, afin de s'assurer que le gaz s'écoule librement. Le tuyau ne doit toucher aucune piece chaude de la plancha, hormis le point de raccordement. Avant chaque utilisation, vérifiez que le tuyau ne présente ni entailles, ni fissures, ni signes d'usure excessive. Si le tuyau est endommagé, ou la date limite est dépassée, replacez-le immédiatement après vous être assuré que le nouveau tuyau convient au gaz et est conforme aux normes nationales actuellesment en vigueur. La longueur du tuyau ne doit pas dépasser 1,5 m ou se reporter aux réglementations nationales du pays de destination.
C3. Montage du régulateur sur la bouteille de gaz
Assurez-vous que tous les boutons de contrôle de la plancha sont fermés. Fixez le régulateur à la bouteille de gaz en suivant les instructions du régulateur et du vendeur de la bouteille de gaz.
C4. Test de fuite (à effectuer dans un espace bien aéré)
Assurez-vous que tous les boutons de contrôle sont fermés. Raccordez correctement la bouteille de gaz à la plancha. Ouvrez la vanne de contrôle de gaz de bouteille ou du régulateur. Vérifiez qu'il n'y ait pas de fuites en utilisant un mélange d'eau et de savon en proportions égales (moitié eau, moitié savon) sur tous les points de raccordement de votre installation de gaz, y compris les raccordements à la vanne de gaz, au tuyau et au régulateur. N'UTILISEZ JAMAIS UNE
FLAMME NUE pour trouver une fuite. La formation de bulles au niveau du point de test signifie la presence d'une fuite. Coupez l'alimentation en gaz et serrez fermement tous les raccordements. Répétez le test. Si vous voyagez encore des bulles, n'utilisez pas la plancha. Demandez de l'aide à votre revendeur local. Executez ce test de fuite au minimum une fois par an et à chaque fois que vous retirez ou remplacer la bouteille de gaz. Assurez-vous que la vanne est correctement positionnée au-dessus du diffuseur. Vous devrez aussi effectuer ce test chaque fois que vous sentirez l'odeur caractéristique du gaz.

4. UTILISATION ET ENTRETIEN
D. UTILISATION
D1. Avertissements
Avant de procéder, assurez-vous que vous comprendez toutes les RECOMMANDATIONS DE SECURITE énumérées ci-dessous. N'utilise jamais plus de 70 % de la surface de la plancha comme plaque de cuisson. L'occupation totale de la surface peut entraîner une accumulation excessive de chaleur et endommager la plancha. Avant de cuisiner pour la première fois, préchauffez la plancha en position «Grande Flamme» pendant 15 minutes jusqu'à ce que la fumée se dissipe.
L'allumeur est alimenté par une pile, dévisser le bouchon de l'allumeur dans le sens contraire des aiguilles d'une montre et insérez une pile AA. Respecter la polarisation de la batterie comme indiqué sur le marquage en dessous de l'allumeur.
D2. Préparation avant la cuisson
Pour empêcher que la nourriture ne colle à la plaque de cuisson, prenez une Brosse à poignée longue et Brossez la plaque avec une fine couche d'huile de cuisson ou d'huile végétale avant chaque utilisation. (Remarque : Quand vous allumez votre plancha pour la première fois, les couleurs de la peinture peuvent légèrement changer sous l'effet de la chaleur. C'est parfaitement normal : ne vous inquiétez pas).
D3. Allumage de la plancha
L'allumage d'une bouteille de gaz neuve prend plus de temps, car l'air dans le circuit de gaz doit être drainé. Pour allumer les brûleurs, procédez comme suit :
- Si la plancha est équipée de roulettes, verrouillez-les (si possible).
- Si la plancha est équipée d'un couvercle, ouvrez-le.
- Vérifie que tous les boutons sont en position «OFF». Ouvrez la vanne de gaz sur la bouteille ou le détendeur.
- Assurez-vous bien qu'il y ait une pile dans le bouton d'allumage avant de faire la plancha.
- Commencer par allumer du brûleur de croite. Appuyer sur le bouton de commande et tournez-le dans le sens inverse des aiguilles d'une montre sur la position grand feu. Maintenir le bouton appuyé pendant 2-3 secondes et appuyer plusieurs fois sur le bouton d'allumage pour allumer le brûleur. Remetre le bouton de commande sur la position «OFF» si le brûleur n'est pas allumé et recommencer.
- Repétez l' étape ci-dessus autant de fois que nécessaire jusqu'à ce que les brûleurs soient allumés.
- Si vous ne parvenez pas à allumer le brûleur après plusieurs essais, mettez le bouton de commande en position «OFF» et fermez le gaz sur la bouteille ou sur le détendeur. Attendez 5 minutes, puis repêze l' étape ci-dessus.
- ÀpRES les avoir allumés, laissez les brûleurs sur grand feu pendant 10 minutes afin de préchauffer la plancha. Ce processus doit être exécuté avant toute session de cuisson. IMPOR-TANT: le couvercle/capot doit être ouvert au cours du préchauffage.
- A l'issue du préchauffage, ramenez les brûleurs sur petit feu pour deGXrleurs résultats dcuisson.

4. UTILISATION ET ENTRETIEN
D4. Allumage manuel de la plancha:
- Si la plancha est équipée de roulettes, verrouillez-les.
- Si la plancha est équipée d'un couvercle, ouvre-le.
- Vérifiez que tous les boutons sont en position «OFF». Ouvrez la vanne de gaz sur la bouteille ou sur le détendeur.
- Craquez une allumette et approchez-la des orifices de sortie du gaz du brûleur de gauche.
- Approchez l'allumette du brûleur, tournez le bouton de droite dans le sens inverse des aiguilles d'une montre jusqu'à ce que vous entendiez un «click», et maintenez cette position pendant 2 à 3 secondes. ATTENTION : Le bouton de la vanne de gaz doit être complètement ouvert pour allumer le brûleur.
- ÀpRES les avoir allumés, laissez les brûleurs sur grand feu pendant 10 minutes afin de préchauffer la plancha. Ce processus doit être exécuté avant toute session de cuisson. IMPOR-TANT: le couvercle/capot doit être ouvert au cours du préchauffage.
- A l'issue du préchauffage, ramenez les brûleurs sur petit feu pour deGXIeurs résultats de cuisson.
- Si vous ne pouvez pas allumer le brûleur en procédant de cette manière, vérifie les points suivants:
a. La bouteille de gaz est-elle vide?
b. Le diffuseur est-il correctement inséré dans l'injecteur?
c. Tous les tuyaux sont-ils correctement raccordés?

D5. Fin d'une séance de cuisson
Lorsque vous avez terminé la cuisson, placez tous les boutons de commande sur la position «OFF» puis swtich hors du régulateur de pression sur la bouteille de gaz.
ATTENTION: avant de nettoyer attente jusqu'à la plancha refroidit complètement
Après chaque session de cuisson, tournez les boutons de contrôle des brûleurs en position «Grande Flamme» et patientez pendant 5 minutes. Les résidus seront brûlés, facilitant par conséquent le nettoyage. Le couvercle doit rester ouvert pendant ce processus.
D6. Extinction de votre plancha
Dès que la cuisson est terminée, ramenez tous les boutons de contrôle en position «OFF» en les tournant dans le sens des aiguilles d'une montre, puis fermez la vanne de la bouteille de gaz. Laissez la plancha refroidir suffisamment avant de nettoyer ou de déplacer votre plancha.
4. UTILISATION ET ENTRETIEN
E. Nettoyage et maintenance
NettoyezVote plancha regulierement entre deux sessions de cuisson et après l'avoir laissé inutilisée pendant une longue période. Avres utilisation, attendez au moins 1h avant de proceder au nettoyage. Protegez vos mains à l'aide de gants afin d'eviter toute brûlle.
- Ne versez jamais d'eau sur la plaque quand les surfaces sont encore chaudes.
- Ne manipulez jamais les pieces chaudes sans vous protégger les mains.
Pour garantir une durée de vie plus longue, nous vous recommendons fortement de couvrir votre plancha si vous la rangez à l'extérieur, même pour une courte période, notamment pendant les mois d'hiver.
E1. Plaque de cuisson
Attention: Les parties protégées de la plancha ne doivent pas être manipulées par l'utilisateur. Nettoyez-la avec de l'eau savonneuse chaude. Pour enlever tous les résidus de nourriture, utilisez un produit nettoyant en crème que vous appliquez sur une éponge non abrasive. Rincez abondament et essuyez complètement.
E2. Corps de la plancha
Enlevez régulièrement l'excess d'huile ou de graisse du corps de la plancha à l'aide d'un racloir souple en plastique ou en bois. Il n'est pas nécessaire d'enlever entièrement la graisse et l'huile. Pour un nettoyage approfondi, utilisez uniquement de l'eau savonneuse chaude et un chiffon ou une Brosse en nylon.
E3. Maintenance des brûleurs
Enlevez les brûleurs et nettoyez-les une fois par an ou chaque fois que vous remarquez une accumulation excessive de débris ou d'insectes, afin d'éviter d'obstruer les orifices des brûleurs et les tubes venturi. Utilisez un cure-pipe pour déboucher les orifices obstrués. Utilisez une Brosse métallique pour enlever la corrosion des brûleurs. Réassemblez les brûleurs en vous assurant que les tubes venturi sont correctement ajustés dans les robinets.
E4. Éléments de fixation
Nous vous recommendons de procéder au moins une fois par an au contrôle et, le cas échéant, au resserrage des éléments de fixation métalliques.
E5. Tiroir collecteur de graisse:
Retirer le dessus du tiroir en pressant les languettes situées sur les côtés. Nettoyer le tiroir en utilisant un dégraissant domestique.
E6. Rangement
RangezVote plancha dans un endroit sec et frais. La bouteille doit en outre etre protegee de la lumiere du soleil.Couvrez les bruleurs avec du papier d'aluminium afin d'empêcher des insectes ou autres débris de s'accumuler sur les trous des bruleurs et les obstruer.Si vous rangez votre plancha en interieur, débranchez la bouteille de gaz et laissez-la a l'extérieur. Entreposez toujours la bouteille de gaz à l'extérieur, dans un endroit sec et bien aéré, éloignée de toute source de chaleur ou d'incendie.Ne laissez pas les enfants s'amuser avec la bouteille.Avant de réutiliser la plancha proceder au test de fuite.
| Problèmes | Causes possibles | Solutions |
| Les bruleurs ne s'allument pas lorsque j'utilise le système d'allumage | 1/ La bouteille de gaz est vide2/ Le régulateur est défectueux.3/ Les trough des bruleurs sont bouches4/ Les giclleurs ou tuyaux de gaz sont bouches | 1/ Remplacez la bouteille vide2/ Faites controller et replacer le régulateur.3/ Nettoyer les brûleurs.4/ Nettoyer les giclleurs et tuyaux de gaz. |
| Les bruleurs ne s'allument pas avec une allumette | 1/ La bouteille de gaz est vide2/ Le régulateur est défectueux3/ Les trough des brûleurs sont bouchés.4/ Les giclleurs ou tuyaux de gaz sont bouchés. | 1/ Remplacez la bouteille vide2/ Faites contrôleer et replacer le régulateur3/ Nettoyer les brûleurs4/ Nettoyer les giclleurs et tuyaux de gaz. |
| Flamme faible ou-retour de flamme (feu a l'intérieur du tube du bruleur – on entend un bruit de sifflement ou de bruissement) | 1/ La bouteille de gaz est trop petite2/ Les trough des brûleurs sont bouchés.3/ Les giclleurs ou tuyaux de gaz sont bouchés.4/ Temps ventoux | 1/ Utilisez une bouteille plus grande2/ Nettoyz les brûleurs3/ Nettoyz les giclleurs et tuyaux de gaz4/ Placer la plancha dans un endroit plus protéger |
| Le bouton de robinet de gaz est difficile à tourner | Le robinet de gaz est bloqué. | Remplacez le robinet de gaz |
Toutes les modifications ou réparations doivent être effectuées par un technicien qualifié approprié.
Toute modification de l'appareil peut se reveler dangereuse.
BRASERO
Outdoor Cooking
www.braserogrill.com
Notice Facile