Elipsonreference - Platine vinyle MAROQUE - Notice d'utilisation et mode d'emploi gratuit
Retrouvez gratuitement la notice de l'appareil Elipsonreference MAROQUE au format PDF.
| Type d'appareil | Platine vinyle |
| Connectivité | Bluetooth |
| Codec audio sans fil | aptX |
| Type de lecture | Vinyle analogique |
| Bras de lecture | Bras droit avec cellule amovible |
| Vitesse de rotation | 33 1/3 et 45 tours par minute |
| Alimentation | Alimentation secteur intégrée |
| Matériau du plateau | Non précisé |
| Sortie audio | Sortie analogique et Bluetooth |
| Fonction anti-patinage | Oui |
| Dimensions | Non précisées |
| Poids | Non précisé |
| Compatibilité | Vinyles 12" et 7" |
| Mode d'emploi inclus | Oui |
| Garantie | Non précisée |
FOIRE AUX QUESTIONS - Elipsonreference MAROQUE
Questions des utilisateurs sur Elipsonreference MAROQUE
0 question sur cet appareil. Repondez a celles que vous connaissez ou posez la votre.
Poser une nouvelle question sur cet appareil
Téléchargez la notice de votre Platine vinyle au format PDF gratuitement ! Retrouvez votre notice Elipsonreference - MAROQUE et reprennez votre appareil électronique en main. Sur cette page sont publiés tous les documents nécessaires à l'utilisation de votre appareil Elipsonreference de la marque MAROQUE.
MODE D'EMPLOI Elipsonreference MAROQUE
Merci d'avoir choisi la platine Elipson.
Prenez le temps de dire attentivement ce mode d'emploi avant d'installer votre platine. Il contient des conseils pour en tirer le meilleur profit et des instructions pour l'utiliser sans risque. Nous vous recommendons vivement de conserver l'emballage et ce mode d'emploi pour d'eventuels usages ultérieurs.

aptX
CSR

AVERTISSEMENT
VOTRE PLATINE VINYLE N'EST PAS PRÉTE POUR UN USAGE IMMEDIAT.
VOUS DEVEZ IMPÉRATIVÉMENT SUIVRE LES INSTRUCTIONS D'INSTALLATION AVANT Toute UTILISATION.
I. OUVERTURE

Poser le carton dans une zone claire et dégagée.

Repérer le sens d'ouverture du carton.

Ouvrir le carton avec précaution et retarder la mousse protectrice.
Dégager le couvercle du carton, sortir la platine et la déposer sur une surface plane et dégagée.
II. CONTENU
Avant utilisation, vérifier la présence des éléments ci-dessous :

Notice d'installation

Alimentation sector

Cable RCA + masse (Alpha 50, Alpha 100 et Omega 100)

OU
Cable RCA (autres modèles)

Gabarit de réglage

Courroie

Feutrine

Centreur
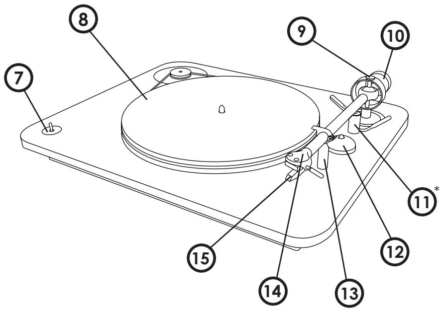
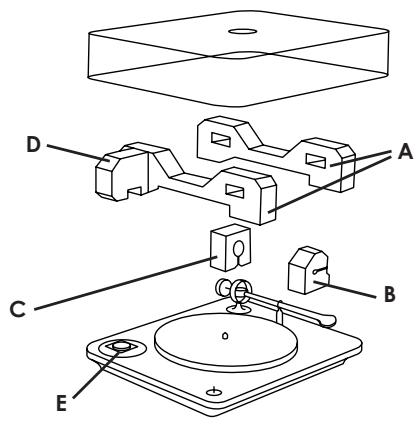
III. DESCRIPTION

- Couverage
- Poulie
- Courroie
- Bras
- Plateau
- Chàssis

- Sélecteur 33 tours / 0 (off) / 45 tours
- Feutrine
- Molette de réglage anti-skating
- Contre-poids
- Lève-bras*
- Centreur
- Support bras
- Porte-cellule
- Cellule
IV. INSTALLATION
1. PREPARATION
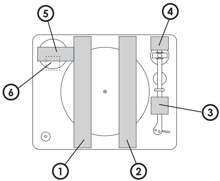
Durant le transport, le couvercle amovible et les différents éléments de la platine sont bloqués par des cales.
- Retirer délicatement les mousse protecrices du plateau (1 et 2), du bras (3 et 4), et de la poulie moteur (5). Retirer ensuite délicatement la cale en mousse située sous la poulie (6).

-
Positionner le couvercle au dessus de plateau, et ajuster les 2 charnières dans les espaces prévus à cet effet. Bien vérifier l'orientation des charnières et le bon ajustement du couvercle sur le plateau. Appuyer fortement afin d'assurer le bon maintainen du couvercle.
-
Mise en place de la courroie :
-
de la main gauche, maintainir doucement la couroie dans la rainure de la poulie prévue à cet effet
- avec la main droite, tendre la courroie de la poulie vers le plateau en évitant de l'étirer
- enrouler délicatement la courroie autour du plateau sans faire de pris.


Décovrez notre tutoriel video sur Youtube :
https://youtu.be/PtjOU411WAU
Ou scannez le code ci-contre à l'aide d'un
smartphone pour acceder directement à la video.
- Positionner la feutrine sur le plateau central.

- Vérifier le niveau de planéité de la platine, l'ajuster grâce aux pieds réglibres si besoin.
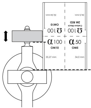
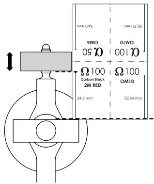
2. RÉGLAGE DU CONTRE-POIDS
VOTRE PLATINE ELIPSON A ETÉ RÉGILLE EN USINE AFIN DE GARANTIR UNE UTILISATION OPTIMALE. CES RÉGLAGES SONT UNIQUÉMENT DESTINÉS AUX UTILISATEURS AVERTIS.
Le contre-poids permet d'équilibrer le bras en fonction du poids de la cellule. Chaque modele de cellule ayant un poids différent, il convient de régler le poids en fonction.
En cas de déréglement, ou si vous avez changé de cellule, il peut être nécessaire de régler à nouveau le contre-poids.
- Se munir du gabarit de réglage fourni et le positionner en se référant aux schémas ci-dessous.
- Mettre le contre-poids en butée haute, puis l'ajuster en fonction du gabarit, selon le modele de platine et la cellule utilisée.

ALPHA 50
Cellule OM5

TOUS MODELES ALPHA 100
Cellule OM10

TOUS MODELES OMEGA 100*
Cellule OM10

OMEGA 100 RIAA BT CARBON BLACK
Cellule 2M RED
Afin d'obtenir un réglage encore plus précis, il est également possible d'utiliser une balance en complément ( disponible chez Elipson).
- Pour une cellule Ortofon OM5, le poids idéal est de 1,75g (force d'appui : 1,5g-2,0g).
- Pour une cellule Ortofon OM10, le poids idéal est de 1,5g (force d'appui : 1,25g-1,75g).
- Pour une cellule Ortofon 2M Red, le poids idéal est de 1,8g (force d'appui : 1,6g-2,0g).
L'ENSEMBLE DES OPÉRATIONS D'INSTALLATION DE VOITRE PLATINE EST TERMINÉ.
L'ÉCOUTE DE VOTRE PREMIER DISQUE VINYLE SUR LA PLATINE ELIPSON EST DÉSORMAIS POSSIBLE.
PENSEZ AU DISQUE ELIPSON POUR LE RODAGE DE VOS APPAREILS HIFI.
EN CAS DE DOUTE, VEUILLEZ CONTACTER UN PROFESSIONNEL ELIPSON.
V. BRANCHEMENTS
MODELES:
±b50 ±b100
100
1. CONNEXION ANALOGIQUE

NÉCESSITE UN AMPLIFICATEUR HIFI AVEC ENTREE PHONO OU UN MODULE RIAA EXTERNE.
- Connecter la platine à l'entrée phono d'un ampli via le cable RCA fourni muni d'un fil de masse en respectant les polarités (droite) et (gauche).
- Connecter la fourche du fil de masse à l'emplacement ① indiqué sur la platine et l'amplificateur.

MODELES:
α100 - RIAA
0100 - RIAA BT
Ω100 - RIAA
Q100 - RIAA BT
1. CONNEXION ANALOGIQUE

CONNECTER DIRECTEMENT À L'ENTREE DE LIGNE D'UN AMPLI HIFI.
NE PAS CONNECTER À UNE ENTREE PHONO.
- Sélectionner le type de cellule dont votre platine est équipée (MM par défaut) :

- Connecter la platine à votre ampli via le cable RCA fourni en respectant les polarités : ® (droite) et ① (gauche).


2. CONNEXION NUMÉRIQUE SANS-FIL BLUETOOTH (SELON LES MODELES*)
Certains modèles de platine vinyle Epilson sont munis d'un émetteur Bluetooth aptX pour vos récepteurs sans-fil. Le signal Bluetooth sera renvoyé vers votre système hifi sans-fil. Notre récepteur doit être muni d'un contrôle du volume, que vous devrez ajuster à un volume faible avant toute utilisation.
Lors de votre première connexion entre la platine et votre récepteur Bluetooth, vous doivent réaliser l'appairage. Cette opération est à réaliser une seule fois pour chaque récepteur Bluetooth.

1: Bouton d'appairage du signal Bluetooth
2 : Témoin d'activité du signal Bluetooth par une LED de couleur bleue
Premièreutilisation:
- Brancher la platine, et allumer le récepteur (ampli ou enceinte). La LED bleue de la platine clignote lentement.
- Faire un appui court sur le bouton "pairing" (appairage) de la platine. La LED de la platine clignote bleu et rouge.
Appuyer sur le bouton "pairing" (appairage) du récepteur. - Attendre le jumelage entre les deux apparéils. La LED bleue de la platine devient fixe. Voitre récepteur Bluetooth est maintainant connecté à la platine.
Utilisation quotidienne :
(ou si la platine a ete einte / debranchee (suite a une coupre de courant par exemple)):
- Vérifier que le récepteur est allumé.
- Brancher la platine.
La LED bleue de la platine clignote lentement.
- Le jumelage entre les deux apparèils est automatique.
La LED bleue de la platine devient fixe.
Votre récepteur Bluetooth est maintainant connecté à la platine.
- modèles disposant de la connexion Bluetooth : Alpha 100 RIAA BT, Omega 100 RIAA BT
Si vous rencontres des difficultés pour l'appairge, vérifie qu'il n'y a pas d'autre apparéil connecté en Bluetooth. Si les difficultés persistent, il peut être nécessaire de réinitialiser la mémoire de la platine.
- Brancher la platine. Attendre 5 secondes.
La LED bleue de la platine clignote lentement. - Appuyer sur le bouton "pairing" (appairage) pendant 3 secondes.
La LED bleue de la platine s'eteint. - Appuyer sur le bouton "pairing" (appairage) pendant 10 secondes.
La mémoire d'association est effacée. - Réaliser l'appairage comme pour une première utilisation.
Si malgré ces manipulations l'apparaige ne se fait toujours pas, appuyer 3 secondes sur le bouton d'appairage afin d'éteindre le Bluetooth. Appuyer à nouveau 3 secondes sur le bouton d'appairage pour le rallumer.
REMARQUES
- La portée maximale entre la platine et votre source Bluetooth sans-fil est de 10m (sans obstacles). Si des coupures audio apparaisent, rapprochez votre source Bluetooth de la platine.
- Il peut se produit des coupures audio lorsque votre environnement est chargé en WiFi.
- Il peut se produit des coupures audio si vos apparéils Bluetooth diffusent de l'audio en même temps qu'ils exécutent une autre tache (internet, accès disque dur... )
- Un environnementchége en électricité statique peut perturber le signal Bluetooth.
- Àpres l'arrêt de la platine, le Bluetooth reste actif durant 2 minutes. Si vous souhaitez appairer vos récepteurs sans fil à une autre source, vous devrez donc attendre que le Bluetooth s'éteigne.
VI. FONCTIONNEMENT
IMPORTANT : RÉGLER L'AMPLIFICATEUR SUR UN VOLUME MODÉRÉ AVANT LA MISE EN PLACE DE LA CELLULE SUR LE DISQUE AFIN D'ÉVITER D'EVENTUELS DOMMAGES SUR VOTRE SYSTème.
- Allumer l'amplificateur à un volume faible.
- Positionner le disque sur la feutrine, et s'assurer qu'il soit correctement nettoyé et dépousséré.
- Sélectionner la vitesse selon le disque choisi (33 ou 45 tours).
- Retirer la protection de la cellule.
- Sortir le bras de son support puis le positionnerdélicatement sur le disque.
- Demarrer la lecture.
En fin de lecture :
- Ajuster le niveau sonore de votre amplificateur.
- Mettre le sélecteur de vitesse sur "0".
- Remonter le bras délicatement et le reposer sur son support.
VII. RÉGLAGES OPTIONNELS
VOTRE PLATINE ELIPSON A ETÉ REGÉLLE EN USINE AFIN DE GARANTIR UNE UTILISATION OPTIMALE. CES RÉGLAGES SONT UNIQUÉMENT DESTINÉS AUX UTILISATEURS AVERTIS.
1. ANTI-SKATING (OU ANTI-DERAPAGE)
Lorsque la platine tourne, le frottement du diamant dans le sillon du vinyle cree une force qui attire le bras vers le centre de la platine. L'anti-skating permit de compenser cette attraction afin de reduire la distorsion qu'elle genere. Idealement, le reglage de l'anti-skating se fait sur disque vierge (non fourni). La force de I'anti-skating peut etre ajustee manuellesment par la molette située sur le bras. Lorsque la cellule est posee sur le disque, celle ci ne doit pas bouger, ni vers I'intérieur, ni vers I'extérieur du disque.

- Mettre en marche la platine.
-
Poser la cellule au milieu du disque vierge.
-
Si la cellule se déplace vers l'intérieur du vinyle, l'anti-skating est trop faible : il faut augmenter la force en tournant la molette dans le sens anti-horaire.
- Si la cellule se déplace vers l'extérieur du vinyle, l'anti-skating est trop fort : il faut diminuer la force en tournant la molette dans le sens horaire.
2. ORIENTATION DE LA CELLULE
En cas de changement de cellule, ou si la platine a ete de placee, il peut etre necessaire de regler a nouveau l'orientation de la cellule. La tete de cellule comprend deux vis permettant d'ajuster I'angle de la cellule selon le type de vinyle concerne (33 tours ou 45 tours). Des gabarits de reglage sont disponibles aupres des fabricants specialisés.


Décovrez notre tutoriel video sur Youtube :
https://youtu.be/bL0zOdH5pr8
Ou scannez le code ci-contre à l'aide d'un
smartphone pour acceder directement à la video.
VIII. ENREGISTREMENT USB (SELEN LES MODELES*)
Il est possible de connecter votre platine à un ordinateur en utilisant le port USB.
La platine est reconnaue comme une source audio USB et permet l'enregistrement** de vos vinyles. Compatible Windows et Mac OS.

1 : Port USB permettant la connexion à un ordinateur via un cable USB type B
- Brancher une des extrémités d'un cable USB type B (non fourni) au port USB de la platine.
- Brancher l'autre extrémité au port USB de votre ordinateur.
Sur Windows :
- Ouvrir le Panneau de configuration (menu Démarrer)
- Sélectionner "Matériel et Audio"
- Cliqueur sur "Son" puis "Enregistrement"
- Sélectionner "Elipson" dans la liste des péripériques proposés puis cliquer sur "par défaut" pour valider.
- Vérifier le volume d'entrée, l'augmenter si besoin.
- Lancer le logiciel spécialisé (non fourni).
- Demarrer la lecture du disque et proceder à l'enregistrement.
Sur Mac OS :
- Ouvrir les Préférences Systeme (menu Pomme)
- Aller dans les réglages Son puis "Entrée"
- Sélectionner "Elipson" comme entree Son.
- Vérifier le volume d'entrée, l'augmenter si besoin.
- Lancer le logiciel spécialisé (non fourni).
-
Demarrer la lecture du disque et proceder à l'enregistrement.
-
modèles disposant du port USB : Alpha 100 RIAA BT, Omega 100 RIAA BT.
** nécessite un logiciel spécialisé non fourni. Il en existe de nombreux téléchargeables gratuitement.
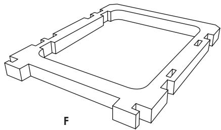
COMMENT RÉEMBALLER VOTRE PLATINE POUR LE TRANSPORT
L'EMBALLAGE ET LES MOUSSES DE PROTECTION ONT ETÉ SPECIALMENT DÉVELOPPÉS POUR PROTÉGER VOTRE PLATINE DURANT LE TRANSPORT. NOUS VOUS RECOMMANDONS FORTÉMENT DE SUIVRE LES INSTRUCTIONS SUIVANTES SI VOUS SOUHAITEZ TRANSPORTER VOTRE PLATINE, AFIN D'ÉVITER TOUS DOMMAGES ET DÉGATS MATériELS.

Décovrez notre tutoriel video sur Youtube :
https://youtu.be/sXAt7Vz3mgg
Ou scannez le code ci-contre à l'aide d'un
smartphone pour acceder directement à la video.

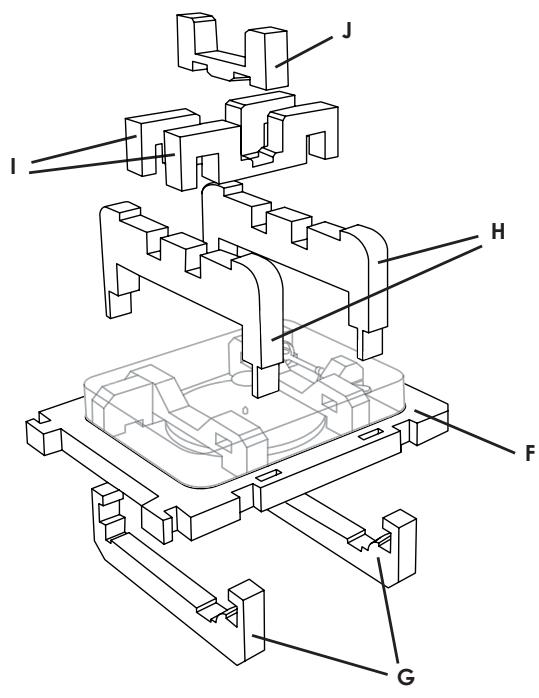
A x2

B

C

D

E




1x2

J

(1)


(2)

(3)
Alimentation sector
CHARACTERISTIQUES
Compatible avec les cellules MM/MC
Pré-ampli RIAA intégré haut de gamme
Diaphonie >60dB
Rapport signal bruit : >82dB MM / >78dB MC
Bluetooth aptX*
USB opto-isole perpetant l'enregistrement des vinyles sur Mac et PC*
Qualité d'enregistrement : 16 bits / 48 kHz
Dimensions (L × H × P) : 450 × 120 × 380 ~mm
Poids Net : Alpha : 5 kg
Omega : 5,8 kg
*selon les modèles
AVERTISSEMENT
Déballage
L'emballage (cartons et mouses) a été uncon pour protéger efficacement votre électronique ELIPSON lors des transports et expéditions. Nous vous invitons à les conserver pour un usage ultérieur. Protégez l'environnement : si vous souhaitez vous débarrasser de l'emballage, notez que celui-ci est recyclable. Nous vous invitons à prendre les dispositions pour le meilleur respect de l'environnement suivant les possibités qui vous sont offertes (tri sélectif par exemple). À la fin de sa vie, cet appeareil ne doit pas être jeté dans une poubelle classique. Il doit être returné dans un centre de recyclage pour équipements électroniques. Ce symbole sur le produit indique qu'il est uncon pour être recyclé suivant un procédé particulier. Vous ferez ainsi un contribution très significative pour la preservation

de l'environnement. Cet appeareil respecte la directive européenne RoHS. Cela signifie qu'il ne dégage pas de substances polluantes lors du recyclage (Plomb, Mercure, Cadmium, Chrome hexavalent, Polybromobiphenyles, Polybromodiphenyléthers).
Précautions d'usage
Ce produit est construit suivant des normes rigoureuses et en respectant les standards de sécurité. Vousdezependant l'utiliser dans des conditions normales comme decrit cidesous.Verifiez la tension d'alimentation electrique avant de le raccorder a I'alimentation secteur.Cette electronique a ete conque pour pouvoir travailler dans divers pays.Nous vous conseillons de brancher complètement notre produit avant de le raccorder au secteur.Manipulez le cordon d'alimentation avec precaution.Quand vous debranchez le cordon d'alimentation d'une prise secteur,faites-le en tirant sur la fiche et non sur le cable.Si vous envisagez de ne pas utiliser cet appeareil pendant une période prolongee,debranchez-le du


CAUTION
RISK OF ELECTRIC SHOCK DO NOT OPEN
secteur. N'ouvrez pas le boîtier. Cét appareil ne contient aucune pièce changeable par l'utilisateur. L'accès à l'intérieur peut provoquer des chocs électriques. Toute modification du produit aura pour conséquence d'invalider la garantie. Si un object ou un liquide tombe dans le boîtier, prenez contact avec votre revendeur pour qu'un technicien le retire de l'appareil en toute sécurité.
GARANTIE
La platine Epipson est conscience et fabriquée suivant les meilleurs standards de qualité. Si vous platiné Epipson présente un début, Epipson ou un revendeur agréé pourra prendre en charge la réparation dans les limites de cette garantie.
La garantie est de 2 ans à partir de la date d'achat chez un revendeur/agree.
Définition de la garantie
La garantie est limitée à la réparation de l'équipement Epilson. Enaucun cas, le transport, les coûts associés ainsi que l'installation ne sont couverts par la garantie.
La garantie n'est applicable qu'au premier propriétaire et n'est pas transférable.
La garantie ne s'applique pas dans les cas suivants :
- Le dommage est causé par une installation ou un branchement incorrect.
- Le dommage est causé par un usage incorrect, autre que celui décrit dans ce manuel, par néligence, ou modification du produit par une personne non autorisée par Epipson.
- Les dommages causés par des accidents, la foudre, l'eau, le feu, une chaleur excessive ou toutes autres causes ne pouvant être contrôlées par Epipson.
- Dans le cas d'une réparation par du personnel non autorisé. Cette garantie complète les garanties légales en vigueur dans le pays du revendeur agrée.
Comment faire réparer un produit sous garantie
Prenoze simplement contact avec votre revendeur agréé. Pour garantir un transport dans de bonnes conditions, utilisez toujours l'emballage d'origine. Si vous utilisez un produit dans un autre pays que celui où vous l'avez achété, prenez contact avec l'importateur de votre pays de résidence qui vous orientera vers un centre technique agréé.
La liste des distributeurs agréés est disponible sur le site :
http://www.elipson.com
Pour valider votre garantie, vous devez produit comme preuve d'achat l'original de votre facture contenant la date de votre achat et le cachet de votre revendeur.
Notice Facile