RIC 322/DF - Réfrigérateur congélateur combiné ROSIERES - Notice d'utilisation et mode d'emploi gratuit

Retrouvez gratuitement la notice de l'appareil RIC 322/DF ROSIERES au format PDF.

📄 14 pages Français FR Télécharger 💬 Question IA 8 questions ⚙️ Specs
Notice ROSIERES RIC 322/DF - page 2
Type d'appareilRéfrigérateur combiné
Capacité totaleNon précisé
Volume réfrigérateurNon précisé
Volume congélateurNon précisé
Classe énergétiqueNon précisé
Type de froidNon précisé
Nombre de portes2
Type de dégivrageNon précisé
Consommation électrique annuelleNon précisé
Niveau sonoreNon précisé
Dimensions (HxLxP)Non précisé
PoidsNon précisé
CouleurNon précisé
Fonction congélation rapideNon précisé
Type de commandesNon précisé
Éclairage intérieurNon précisé

FOIRE AUX QUESTIONS - RIC 322/DF ROSIERES

Comment régler la température du four sur le ROSIERES RIC 322/DF ?
Utilisez le bouton de réglage de la température situé sur le panneau de commande. Tournez-le dans le sens des aiguilles d'une montre pour augmenter la température et dans le sens inverse pour la diminuer.
Que faire si le four ne chauffe pas ?
Vérifiez que le four est bien branché et que le disjoncteur n'a pas sauté. Assurez-vous également que la fonction de cuisson est sélectionnée et que la température est réglée.
Comment nettoyer le ROSIERES RIC 322/DF ?
Pour nettoyer l'extérieur, utilisez un chiffon doux et un nettoyant non abrasif. Pour l'intérieur, attendez qu'il soit froid, puis utilisez un mélange d'eau chaude et de savon doux. Évitez les produits chimiques agressifs.
Le four émet un bruit étrange, que faire ?
Un bruit léger peut être normal, mais si le bruit est fort ou inhabituel, vérifiez si des objets sont coincés dans les ventilateurs. Si le problème persiste, contactez le service client.
Comment utiliser la fonction de minuterie ?
Pour utiliser la minuterie, tournez le bouton de minuterie sur la durée désirée. Le four émettra un signal sonore lorsque le temps sera écoulé.
Pourquoi la lumière du four ne s'allume pas ?
Vérifiez si l'ampoule est grillée. Si c'est le cas, remplacez-la avec une ampoule de la même puissance. Assurez-vous également que le four est allumé.
Comment utiliser le gril ?
Pour utiliser le gril, sélectionnez la fonction 'gril' sur le panneau de commande et réglez la température souhaitée. Assurez-vous de placer les aliments à une distance appropriée de l'élément chauffant.
Le four affiche un code d'erreur, que dois-je faire ?
Consultez le manuel d'utilisation pour identifier le code d'erreur. Si vous ne trouvez pas de solution, contactez le service client pour obtenir de l'aide.

Questions des utilisateurs sur RIC 322/DF ROSIERES

0 question sur cet appareil. Repondez a celles que vous connaissez ou posez la votre.

Poser une nouvelle question sur cet appareil

L'email reste privé : il sert seulement à vous prévenir si quelqu'un répond à votre question.

Aucune question pour l'instant. Soyez le premier à en poser une.

Téléchargez la notice de votre Réfrigérateur congélateur combiné au format PDF gratuitement ! Retrouvez votre notice RIC 322/DF - ROSIERES et reprennez votre appareil électronique en main. Sur cette page sont publiés tous les documents nécessaires à l'utilisation de votre appareil RIC 322/DF de la marque ROSIERES.

MODE D'EMPLOI RIC 322/DF ROSIERES

1) Lire attentivement les instructions containues dans ce livre car elles vous donnent d'importantes indications au sujet de la sécurité, de l'emploi, de l'entretien et de installation.
Conserver soigneusement ce livre qui pourrait vous aider par la suite.
2) ÀpRES avoir déballé l'appareil, vérifiez son bon état. Signalez toute anomalie à votre revendeur.

Cet apparéil ne doit être destiné qu'à l'emploi pour lequel il a été construit, c'est-à-dire pour la conservation des alimentés.

Tout autre employ est abusif, donc dangereux.

Le constructeur ne peut être retenu responsable de dommages éventuelles causes par un employe abusif, erroné et déraisonnable.

Déclaration de conformité: cet appeareil est, dans ses parties destinées à entraire en contact avec des substances alimentaires, conforme à la prescription de la Dir. EEC 89/109.

Cet apparéil est conforme aux directives 89/336/EEC, 73/23/EEC et modifications successives.

UTILISATION DU REFRIGERATEUR

Branchement électrique

Ce réfrigérateur est conscience pour fonctionner selon la tension nominale de courant indiquée sur la plaquette à l'intérieur de l'appareil. Les écarts de tension ne doivent pas dépasser, en plus ou en moins, 10% de la tension nominale.

Avant de brancher l'appareil, vérifie que les données techniques de la plaquette, se trouvant à l'intérieur de l'appareil correspondent à celles du réseau de distribution électrique.

En cas d'incompatibilité entre la prise et la fiche de l'appareil, faire replacer la prise par un technicien qualifié qui contrôle égarlement que la section des cables de la prise corresponde à la puissance absorbée par l'appareil.

Nous déconseillons vivement l'emploi d'adaptateur de prises à fiches multiples et/ou de rallonges. La prise d'alimentation du réfrigérateur doit avoir une excellente mise à la terre. Il faut absolument vérifier ce dispositif de sécurité et, en cas de doute, faire contrôle l'installation par un technicien qualifié.

Le constructeur n'est absolument pas responsable des dommages eventuels causés par l'absence de mise à la terre.

INSTALLATION

Dans les modèles ou les pieds ne sont pas montés, visser ces derniers dans les trouss filetés situés en-dessous du réfrigerateur. Les deux pieds avant doivent être légèrement dévissés afin de laisser au réfrigerateur une faible inclination en arrêté.

Le cas échéant, appliquer les entreprises (fig. 1) pour obtenir une circulation parfaite de l'air sur la paroi arrière: faire attention à ne pas boucher les fentes de ventilation en laissant un espace d'au moins 5 cm.

Eviter d'installer le réfrigerateur prés d'une source de chaleur. Eviter également l'installation dans une piece où la température reste longtemps inférieure à +16^ et supérieure à +38÷ 43^ .

Pour le réfrigérateur à deux portes vérifier que le tuyau de vidange de l'eau de dégivrage

aboutisse dans la cuvette d'évaporation placée à l'arrière du réfrigérateur, au-dessus du compressor.

Le réfrigerateur peut-être aussi installé sous les éléments de cuisine; dans ce cas la libre circulation de l'air doit être garantie, laissant un espace libre d'environ 5 centimètres entre le meuble et l'appareil ou dans la partie postérieure du meuble.

Une mauvaise installation peut cause des dommages aux personnes, aux animaux et aux choses et le constructeur ne peut en être retenu responsable.

CONSEILS POUR LE CONTROLE DE LA TEMPERATURE ET POUR LE RESPECT DES RÉGLES D'HYGIÈNE ALIMENTAIRE

Une bonne utilisation du réfrigérateur et le respect des règles hygiéniques alimentaires contribuient de façon significative à une meilleure conservation des aliments.

Contrôle de la température

Placer les alimentes les plus délicats dans la zone la plus froide de l'appareil: en général, la basse au-dessus des tiroirs à fruits et à légumes.

Les alimentes cuits doivent être mis dans des recipients hermétiques, laisser refroidir puis placer dans la zone centrale du réfrigerateur.

Les fruits et les légumes doivent être placés dans les recipients prévus à cet effet dans la partie BASSE DU RÉFRIGERATUR.

Respect des régles d'hygiène alimentaire

Eliminer les enveloppes d'emballage avant demettre les alimentes à l'intérieur du réfrigérateur.

Emballer les alimentés frais: de cette façon, ils se conservent plus longtemps et on évite qu'ils se contaminant mutuellesment.

Disposer les alimentés frais de façon que l'air puisse circuler librement à l'intérieur du réfrigérateur.

Nettoyer fréquement l'intérieur du réfrigérateur en utilisant des détergents délicats mais qui ont un pouvoir bactericide certain.

INFORMATIONS POUR L'ENVIRONNEMENT

Emballage,traitement des déchets

Après avoir déballé l'appareil, ne pas jeter l'emballage à la poubelle mais trier les différents matériaux ( comme le polystyrene, le carton, etc. ...) selon les prescriptions locales pour l'élimination des ordures et selon les normes en vigueur.

Attention

Cet apparéil est produit sans utiliser de CFC; le circuit réfrigérant contient un fluide HFC R 134a ou, alternatively, du gaz isobutane R 600 a. Pour plus de détails, voir la plaque signalétique.

Pour les opérations de nettoyage, n'utiliseraucun outil ou méthode autre que ce qui est décrit dans le chapitre s'y rapportant pour éviter d'endommager l'appareil.

Pour les apparèils à l'isobutane (R 600 a)

L'isobutane est un gaz naturel qui n'a aucun effet sur l'environnement mais qui est inflammable. Il est donc indispensable de s'assurer que:

  • l'installation de l'appareil se fait dans locaux ayant un volume libre de plus de 3 metres cube;

  • les ouvertures de ventilation de l'appareil sont maintainues libres et propres;

  • le circuit réfrigérant de l'appareil n'est pas endommagé, que ce soit intérieurement (en utilisant des objects coupants ou pointus de façon incorrecte) ou extérieurment (opérations incorrectes en cours de nettoyage du circuit condensateur).

Au terme de la durée de vie de l'appareil, celui-ci devra être mis en condition de sécurité avant de l'envoyer à la décharge. Pour cela, s'adresser à votre revendeur ou à l'administration locale chargée de cela.

UTILISATION DU COMPARTIMENT RÉFRIGÉRATEUR

Pour conserver l'arôme au moins, substance et fraîcheur de tous les alimentés à disposer, nous vous recommendons de les enrouler préalablement dans des feuilles d'aluminium ou de plastique ou de les placer dans les bacs appropriés avec couvercle.

Il est ainsi évité toute superposition d'arômes.

Nous conseillons de dispose les aliments comme suit:

Viandes en général, poissons, charcuterie: sur la grille au dessus du bac fruits et legumes.

Aliments cuits, gâteaux, etc....: sur les grilles supérieures.

Oeufs et boites de lait: dans la contreporte de l'appareil.

Fruits et légumes: dans le bac prévu à cet effet, s'ils sont emballés dans un sachet "plastique"; il est préféable de le percher pour une(Meilleure)conservation.

Produits et conserve: une fois la boite ouverte,steroler la nourriture restante et la conserver dans un autre recipient qui ne soit pas en métal.

Important: S'assurer d'une circulation de l'air entre les différents conditionnements.

Remetre les alimentes cuits uniquement refroidis ainsi que les liquides dans des bacs avec couvercle.

EXPLICATION DES SYMBOLES

Réfrigerateur

Le compartment à basse température est idéal pour la conservation des alimentés surgelés pendant une période limitée (uneSEAINE environ).

Réfrigérateur

Le compartment à basse température est idéal pour la conservation des alimentés sur-gelés pendant une période moyenne (un mois environ).

Réfrigerateur

Le compartment à basse température est idéal pour la conservation des alimentés surgelés pendant une période prolongée (trois mois environ), pour la conservation des crèmes glacées et des produits similaires.

Réfrigerateur - Réfrigerateur/Congélateur

Le symbole indique la possibilité de congeler les produits frais et de conserver à basse température les produits surgelés pendant une période prolongée, selon les indications du tableau de congestion.

REGLAGE DE LA TEMPERATURE

La température ambiente, la charge et la fréquence d'ouverture de la porte de l'appareil électro-menager, influencent la température interne. Quand on modifie le réglage, l'appeil peut ne pas démarrer immidiatement car il est en pause. Le réglage de la températu-

re se fait en agissant sur la manette du thermostat qui se trouve à l'interieur ou à l'extérieur du réfrigerateur. Sur la position "0" le réfrigerateur ne fonctionne pas, "0" signifie arrêt. Il est préféable demettre le bouton du thermostat en position intermédiaire.

En tournant le bouton du thermostat dans le sens des aiguilles d'une montre, la température dans le réfrigérateur descend.

Si la température de votre piece est élevé, le réfrigerateur fonctionne continuallylement, ici pouvant occasionner la formation de givre. Dans ce cas,mettre le bouton du thermostat sur une position moins élevée.

VERSION MONO COMPRESSEUR ET DOUBLE COMPRESSEUR ENCASTRABLES AVEC BANDEAU DE COMMANDE

Dans la version "double compresseurs" la température de la partie "réfrigerateur" est régliable à l'intérieur du compartment réfrigerateur tandis que celle de la partie "congelateur" est régliable sur le bandeau de commande (fig. 2).

Le thermostat "D" contrôle le département "congêlateur".

Sur la position "0", le congélateur ne fonctionne pas.

En tournant le bouton dans le sens horaire, le concélateur se met en route et le témoin lumineux vert "A" s'allume.

En positionnant le bouton sur "S" (congélation rapide), le témoin lumineux jaune "C" s'allume et le compresseur fonctionne en continu pendant 50 heures. Au bout de 50 heures, le témoin jaune clignote indiquant que la congélation rapide est terminée et que le thermostat doit être replaced en position normale.

Le témoin lumineux d'alarme rouge "B" s'allume lorsque la température dans le congélateur n'est pas correcte. Cela signifie que:

  • l'appareil vient juste d'être mis en route

  • la porte est restée ouverte ou mal fermée

  • insertion d'aliments frais à congeler trop importante.

Le témoin lumineux d'alarme rouge s'éteindra lorsque la température du congélateur correcte sera atteinte.

La version "simple compréseur" ne possède qu'une seule seLECTION sur le bandeau de commande (fig. 2).

Le thermostat "D" contrôle les compartments "congélateur" et "réfrigerateur".

Sur la position "0", l'appareil ne fonctionne pas.

En tournant le bouton dans le sens horaire, l'appareil se met en route et le témoin lumineux vert "A" s'allume.

En positionnant le bouton sur "S" (congélation rapide), le témoin lumineux jaune "C" s'allume et le compresseur fonctionne en continu pendant 6 heures. Au bout de 6 heures, le témoin jaune clignote indiquant que la congélation rapide est terminée et que le thermostat doit être replaced en position normale.

Le témoin lumineux d'alarme rouge “B” s'allume lorsque la température dans le congélateur n'est pas correcte. Cela signifie que:

  • l'appareil vient juste d'être mis en route

  • la porte est restée ouvert ou mal fermée

  • insertion d'aliments frais à congeler trop importante.

Le témoin lumineux d'alarme rouge s'éteindra lorsque la température du congélateur correcte sera atteinte.

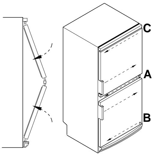
BANDEAU DE CONTROLE (fig. 4b & fig. 13) POUR RÉFRIGÉRATEUR BI-COMPRESSEUR

Le thermostat "A" contrôle la congélation. Tournez la manette dans le sens des aiguilles d'une montre, le congélateur se met en marche et les voyants "B" vert et "C" rouge

s'allument. le voyant rouge "C" s'eteint des que le congélateur atteint la température sélectionnée.

Levoyantjaune"E"sallume(comme sur fig.4b) lorsquelboutonde lacongflationrapi deF'estenfonced,alsoreque surlemodeledont lebandeau de controlexintiquedig.13,la supercongelationestactivee quandla manette"A estpositionnee sur"Super". La manette dethermostat"H"controlelatemperaturedurrefrigerateur,sielleestpositionnee sur "0",leréfrigerateurnefonctionnepas.Pourmettreleréfrigerateurenmarche:tournezla manette"H" danslesensdesaiguillesd'une montreetlevoyantvert"G"sallume.

BANDEAU DE CONTROLLE (fig. 4) POUR RÉFRIGÉRATEUR CONGÉLATEUR "NO FROST" MONO-COMPRESSEUR

La manette de thermostat "A" contrôle la température du réfrigerateur, si elle est positionné sur "0", le réfrigerateur et le congélateur ne fonctionne ni l'un ni l'autre. La manette "H" commande la température du réfrigerateur. Lorsque l'on tourne la manette "A" dans le sens des aiguilles d'une montre, le freezer se met en marche : le voyant "B" s'enclenché et le voyant "C" clignote. Cette opération doit uniquement être effectuee lorsque I'appareil est en fonctionnement.

Les 4 voyants vert s "D" indiquent la tempéature à l'intérieur du congélateur. Levoyant jaune "E" s'allume lorsque le bouton de super congélateur "F" est poussependant 4 secondes au minimum, alors le compresseur fonctionne de manière continue.

La manette "H" permet d'ajuster la température du réfrigerateur. Sur la position "0", le réfrigerateur ne fonctionne pas. En tournant la manette "H" dans le sens des aiguilles d'une montre, le réfrigerateur se met en marche et le voyant vert "G" s'allume (uniquement si la manette "A" est sur une autre position que "0"). Le réfrigerateur fonctionne uniquement si le voyant vert "B" est allumé.

Signal de dysfonctionnement : si levoyant rouge "C" clignote et que l'un des voyants verts "S" est allumé, cela signifie qu'il y a une panne de courant ou que les alimentés dans le conge-lateur ont subi une température supérieure à 0 degrés pendant un certain temps. Pour éteindre levoyant rouge clignotant "C", enforcez le bouton "F" pendant 4 secondes minimum.

Pour un résultat optimal du congelateur, nous vous conseillons de positionner la manette de manière à ce que le voyant vert "X" s'allume, ce qui garanti une conservation ideale des alimentents.

BANDEAU DE CONTROLE (fig. 13) POUR RÉFRIGÉRATEUR CONGÉLATEUR "NO FROST" MONO-COMPRESSEUR

La manette de thermostat "A" contrôle la température du réfrigerateur, si elle est positionné sur "0", le réfrigerateur et le congélateur ne fonctionne ni l'un ni l'autre. La manette "H" commande la température du réfrigerateur

Lorsque l'on tourne la manette "A" dans le sens des aiguilles d'une montre, le congélateur se met en marche : les voyants "B" vert et "C" rouge s'allument.

Lorsque le congélateur atteint la température sélectionnée, le voyant rouge s'éteint.

Levoyant jaune "E"sallume quant la manette "A'est sur la position "SUPER",alors le compresseur fonctionne de maniere continu.

La manette "H" permet d'ajuster la température du réfrigérateur. Sur la position "0", le réfrigérateur ne fonctionne pas. En tournant la manette "H" dans le sens des aiguilles d'une montre, le réfrigérateur se met en marche et le voyant vert "G" s'allume (uniquement si la manette "A" est sur une autre position que "0").

BANDEAU DE CONTROLLE (fig. 4,fig. 4b, fig. 13)

Lorsque le voyant rouge est ou s'est allumé, la température dans le réfrigérateur ou le congélateur n'est pas assez froide.

Motifs du dysfonctionnement :

  • l'appareil vient juste d'être mis en marche
  • porte laissée ouverte ou entrebailée
  • alimentes frais à congeler introduits depuis peu dans le congélateur.

Le conGPLateur doit de toute façon toujours garantir des températures égales ou inférieures à -18°C.

ATTENTION: il n'y a pas de rapport entre les numérors indiqués sur la poignée thermostat

(A) et les températures indiquées sur les 4 voyants lumineux vents (D).

TABLEAU DE BORD (fig. 12)

Le thermostat "A" contrôle le réfrigerateur et le congélateur.

Sur la position "0", réfrigérateur et congélateur sont hors fonctionnement.

En tournant la manette du thermostat dans le sens des aiguilles d'une montre, l'appareil fonctionne et le voyant vert "B" s'allume.

CONSERVATION

Quelques modèles possédent un compartmenté placed en haut du conge lâteur, sur la partie haute de l'évaporateur, le compartmenté est un "2 étoiles" comme indiqué sur la plaque signalétique.

Les conditions maximes de conservation s'obtiennent en retardant tous les paniers, excepté celui du bas.

Le symbole x*** indique la possibilité de conserver le "surgelé" à basse température pendant une longue période, ainsi que de congeler des poduits frais.

Les temps de conservation dépendent strictement du maintainen de la température; par conséquent des variations évientuelles de température influent directement sur la durée de la conservation.

En cas de panne d'électricité, n'ouvre absolument pas la porte ou le couvercle. Les denrées conservées ne subissantaucun dommage si la panne dure de 10 à 12 heures. En cas d'interruption plus longue, enveloppez les produits dans du papier spécial pour alimentés et placez-les,autant que possible,dans un réfrigérateur ou,à la limite,dans un endroit frais.En tout cas il est conseilé de consommer ces denrées dans un délambda de 24 heures ou de les faire cuire et de les congeler ensuite.

CONGELATION

La performance maximale de congélation est obtenu en retardant les paniers excepté celui du bas.

Réfrigérateur-congélateur avec bandeau de contrôle (fig. 2, fig. 4, fig. 4b et fig13)

Avant de congeler des alimentes frais, nous vous conseillons de transférer les alimentes déjà congélés du compartmentement supérieur au compartmentement inférieur, de manière à laisser la place aux produits frais.

24 heures avant de congeler des alimentes, suivre les instructions suivantes :

Bandeau de contrôle (fig.4 - fig. 4b)

Pour activer la fonction congélation rapide, enforcez le bouton "F" pendant 4 secondes minimum, levoyant jaune s'allume et indique que le processus de congélation rapide est enclenché. Cette fonction s'arrête automatiquement après 50 heures et l'appareil reprendra les fonctions initialement sélectionnées.(levoyant jaune s'éteint). Si vous souhaitez arrêté le processus de super congélation avant ce laps de temps, enforcez le bouton "F" pendant plus de 4 secondes.

Bandeau de contrôle (fig.13)

Pour activer la fonction congélation rapide., tournez la manette "A" dans le sens des aiguilles d'une montre sur la position "Super", le voyant jaune "E" s'allume pour indiquer que le processus de congélation rapide est enclenché. Cette fonction s'arrête automati-

quement 50 heures après et l'appareil reprendra les fonctions initialement seLECTIONnées (levant jaune s'eteint).

Pour ramener l'appareil aux fonction initialement selectionnées, tournez la manette "A" sur la position initiale, autre que "Super".

Bandeau de contrôle (fig. 2) pour réfrigerateur-congélateur intégrable bi-compresseur

Pour activer la fonction congélation rapide., tournez la manette "D" dans le sens des aiguilles d'une montre sur la position "Super", le voyant jaune "C" s'allume. Au bout de 50 heures, lorsque le programme de congélation rapide est terminé, le voyant jaune "C" clignotera pour indiquer que la manette de thermostat doit être positionnée sur la fonction de marche normale.

Combinés Réfrigérateur/Congélateur, avec ou sans tableau de bord (fig. 12)

24 heures avant le début de la congélation, faire de la place pour les produits à congefer. Au début de la congélation, pour ne pas faire refroidir excessivement le compartment réfrigérateur, il peut être nécessaire de ramener d'environ 1/2 numéro la poignée du thermostat, en fonction du chargement et de la température ambiente. A la fin de la congélation, remettre la poignée du thermostat sur la position habituelle.

Mono compresseur intégrable avec bandeau de commande (fig. 2)

Additif spécifique aux Refrigerateurs Congélateurs sans bandeau de commande:

pour augmenter l'efficacité de congélation lorsque la température ambiente est supérieure à 30^ C, actionner la congélation rapide en positionnant le bouton sur la position «S» au moins 6 heures avant d'introduire des alimentés frais à congeler.

Après 6 heures (lorsque levoyant "C" clignote) positionné la manette de thermostat sur une position de marche autre que "Super".

POUR TOUS LES APPAREILS: la quantité maximum à congefer est, selon les modalités prévues par les normes européennes, indiquée sur la plaque signalétique.

DEGIVRAGE

Le compartment frigorifique est équipé d'un système de dégivrage automatique qui s'effectue pendant les temps de pause du compresseur. Au cours de ce cycle, les gouttes d'eau qui se forment par suite du givre qui fond, se déposent dans le bac placé au-dessus du compresseur qui, par la chaleur, en provoque l'évaporation.

Ne pas placer de denrées ou de recipients en contact avec la paroi arrêté.

Pour les compartments de congélation des "double porte" agir comme suit:

a) 24 heures avant de dégivrer, tourner la manette du thermostat vers les positions les plus froides ou brancher l'interrupteur de congélation rapide afin de donner aux alimentés la température la plus)basse.
b) Envelopper les alimentés surgelés ou congelés dans du papier alimentaire et les placers soit dans le réfrigerateur soit dans un endroit frais, en veillant à ce qu'ils ne déconglient pas.
c) Placer le thermostat sur la position "0" ou, s'il est prévu, éteindre l'interrupteur vert.
d) Laisser la porte ouverte.
e) Une fois le dégivrage effectué nettoyer et sécher l'intérieur de l'appareil et remettre en place les alimentés.
f) Remetre l'appareil dans les conditions initiales et le laisser fonctionner avec le thermostat positionné sur la position de plus grand froid.

Fig. 9) Important: Le congélateur est pourvu d'un système d'évacuation de l'eau de dégivrage se composant d'un égoutoir en caoutchouc, place sur le bord inférieur du compartment.

Fig. 10) Important: l'eau de dégivrage est évacuée (seulement sur quelques modèles) de l'intérieur du congealateur vers l'extérieur à travers un conduit (fermé par un bouchon relié à un ramasse - goutte aménagé sur le socle).

Sur quelques modèles, l'égoutoir doit être retire de son socle, et remis en placeès la fin de l'opération de dégivrage (Fig. 10b).

N.B.: Se rappeler d'enlever le bouchon qui ferme le conduit pour faire couler l'eau de dégivrage puis le remettre une fois l'opération terminée.

Modèles avec distributeur de liquide:

Certains sont dotés d'un distributeur de liquide composé d'un distributeur et d'un égouttoir; l'ensemble s'applique à la contre-porte.

Instructions pour l'application et l'utilisation

1) Fig. 8A - Tirer vers l'avant la petite grille "K" jusqu'à partir l'arrêt et disposer le conteur "H" de la contre-porte en boulevant vers le haut.
2) Fig. 8B - Positionner le distributeur "Z" du contueur "H" en le vissant sur la bouteille et l'introduire dans le contueur.
3) Fig. 8A - Monter le conteneur "H" dans la contre-porte en l'insérant dans les crochets par un mouvement vertical du haut vers le bas et en le bloquant à la contre-porte en appuyant à fond la petite grille "K".
4) Fig. 8A - Le distributeur est prét à l'utilisation; pour obtenir la boisson, appuyer le bord du verre sur les trois doiguits du distributeur et appuyer vers le haut.
5) Fig. 8A - Pour nettoyer la partie egoutoir, tirer vers l'avant la petite grille "K" jusqu'à la sortie, nettoyer les dépôts de liquide et réinsérer la petite grille.

N.B.: ÀpRES une utilisation fréquence du distributeur avec des boissons sucrées, nettoyer avec de l'eau.

ENTRETIEN

Afin d'éviter la formation de mauvaises odeurs, nous vous conseillons de nettoyer régulierement l'intérieur du réfrigérateur au moins deux ou trois fois par an.

a) Avant de procéder aux opérations de nettoyage ou d'entretien, débrancher l'appareil du réseau d'alimentation électrique en enlevant la prise (il ne suffit pas de placer la poignée du thermostat sur "0").
b) Vider le réfrigérateur et enlever les cubes de glace (voir "dégivrage").
c) Attendre que tout le qivre, formé sur l'évaporateur, soit fondu.
d) Nettoyer l'intérieur du réfrigerateur en utilisant une solution d'eau tiège et de bicarbonate de soude; rincer et secher. ATTENTION ne jamais utiliser de produits détergents, abrasifs ou solvants.
e) Remetre le réfrigérateur en fonctionnement avant d'y placer les aliments.
f) Nettoyer le trou de vidange de l'eau, de temps en temps en utilisant son accessoire (Fig. 5), en le laissant même introduit dans le trou de vidange.

Lorsque l'appareil n'est pas utilisé pendant un certain temps, effectuer un nettoyage à fond et laisser l'appareil débranché avec sa porte entr'ouverte.

ASSISTANCE TECHNIQUE

Pour toute réparation adresséz-vous à votre revendeur et exiger les pieces de rechange d'origine. Si les conditions ci-dessus ne sont pas respectées; le fonctionnement de l'appareil peut être compromises. Si le réfrigérateur ne fonctionne pas, ou si le fonctionnement est anormal, effectuer les contrôleis suivants avant d'appeler le technicien.

1) Le courant arrive-t-il à la prise de branchement du réfrigérateur? Essayer à l'aide d'une lampe.
2) La fiche de connexion est-elle débranchée? L'introduire.
3) Le thermostat est-il sur la position "0" (arrêt)? Tourner la poignée sur la position 3.
4) Y-a-t-il du givre sur l'évaporateur? (plus de 4 à 5 mm)? Effectuer le dégivrage (voir "Dégivrage").
5) Les alimentents sont-ils bien placés à l'intérieur du réfrigérateur et laissent-ils une circulation suffisante d'air?
6) La circulation de l'air autour du condensateur place derriere le réfrigérateur est-elle libre? Eloigner l'appareil du mur.

Si le défaut persite, adressez-vous à votre revendeur en communiquant le type du modèle que vous trouverez sur la plaquette placée à l'intérieur du réfrigerateur (ou sur le feuillet de garantie). A l'aide de ces informations vous obtiendraz une intervention plus rapide et plus appropriée.

Important: le chauffage périmétral du compartment de congélation indique un fonctionnement correct.

REVERSIBILITE DU SENS D'OUVERTURE DES PORTES (seulement sur chaque modele) fig 3

1) Basculer le réfrigerateur, ou l'incliner de 45^ car il faudra agir sur la partie inférieure de l'appareil pour enlever la charnière inférieure.
2) Le cas échéant démonter le socle.
3) En dévissant les vis A (voir la figure), enlever la charnière inférieure et ses rondelles.
4) Enlever la porte inférieure.
5) Enlever la charnière centrale et les rondelles en agissant sur les vis B (voir figure 3). Modèles avec porte supérieure haute (fig 7d - l'intérieur de la partie supérieure de la porte haute). Tout d'abord, retirez les vis qui fixent la charnière centrale (entre le réfrigérateur et la porte du congélateur); ouvrir la porte supérieure etsteroler le cache M et l'embout plastique L. Les portes doivent être soutenues pendant toute la durée de l'opération.
6) Enlever la porte supérieure. Retirez la vis N de la charnière basse droite (fig 7e - partie inférieure de l'appareil plinthe retiree). Prenez la charnière basse gauche dans le sachet plastique et fixez-la en bas de l'appareil avec la vis retiree de la charnière basse droite.
7) Enlever la membrane de plastique qui couvre la charnière supérieure gauche.
8) Dévisser le pivot C de la charnière supérieure droite et le remonter à gauche. Modèles avec porte supérieure haute (fig 7c l'intérieur de la partie supérieure de la porte haute). Retirez le cache F-G, le pivot D et la charnière supérieure droite et enlever la vis. Prenez la charnière supérieure gauche (H) dans le sachet plastique et la fixer avec la vis retiree. Fixez le pivot D avec la rondelle à la charnière supérieure gauche. Àpès avoir transféré la charnière à gauche, l'embout plastique L qui couvre ce mécanisme doit être changé, la membrane du cache G doit être cassée de manière à se remettre en place.
9) Remonter la porte en agissant en sens inverse (6-5-4-3-2); ne pas oublier de remonter également les rondelles servante d'entretoise entre la porte et la charnière.
10) Déplacer les poignées verticales, si elles ont été fournies avec l'appareil, du côté gauche au côte droit en ajustant les vis appropriées. Pour les modèles équipés de poignées marquées «M», déplacer simplement les poignées en de la gauche vers la droite (fig. 7b). Enlever la marque adhéasive de la poignée gauche et replacer la sur la poignée droite.
11) Remetre l'appareil en position verticale.

N.B. Pour obtenir un alignement correct des portes, agir sur la charnière centrale.

INVERSION DU SENS D'OUVERTURE DES PORTES (seulement surquelque modèle) voir fig. 7

Pour les modèles à charnière inférieure montée aussi bien à droite qu'à gauche.

1) Il est conseilé d'icliner le réfrigérateur d'environ 45^ .
2) Enlever les vis (A) qui fixent la charnière centrale. Modèles avec porte supérieure haute (fig 7d - l'intérieur de la partie supérieure de la porte haute). Tout d'abord, retirez les vis qui fixent la charnière centrale (entre le réfrigerateur et la porte du congélateur); ouvrir la porte supérieure etsteroler le cache M et l'embout plastique L. Les portes doivent être soutenues pendant toute la durée de l'opération.
3) Enlever la porte supérieure. Retirez la vis N de la charnière basse droite (fig 7e - partie inférieure de l'appareil plinthe retiree). Prenez la charnière basse gauche dans le sachet

plastique et fixez-la en bas de l'appareil avec la vis retiree de la charniere bajo droite.

4) Enlever la charnière centrale.
5) Enlever la porte inférieure
6) Enlever du panneau de commande et du socle la membrane de plastique qui recouvre la charnière supérieure gauche et la charnière inférieure gauche.
7) Dévisser le pivot (B) de la charnière inférieure droite puis le remonter à gauche.
8) Dévisse le pivot (C) de la charnière supérieure droite puis le remonter à gauche. Modèles avec porte supérieure haute (fig 7c l'intérieur de la partie supérieure de la porte haute). Retirez le cache F-G, le pivot D et la charnière supérieure droite et enlever la vis. Prenez la charnière supérieure gauche (H) dans le sachet plastique et la fixer avec la vis retiree. Fixez le pivot D avec la rondelle à la charnière supérieure gauche. Àpès avoir transféré la charnière à gauche, l'embout plastique L qui couvre ce mécanisme doit être change, la membrane du cache G doit être cassée de manière à se remetre en place.
9) Remonter les portes en opérant en sens inverse (5-4-3-2) sans oublier de remonter aussi les rondelles s'il y en a.
10) Déplacer les poignées verticales, si elles ont été fournies avec l'appareil, du côté gauche au côte droit en ajustant les vis appropriées. Pour les modèles équipés de poignées marquées «M», déplacer simplement les poignées en de la gauche vers la croite (fig. 7b). Enlever la marque adhéasive de la poignée gauche et replacer la sur la poignée croite.
11) Remetre l'appareil en position verticale.

COMMENT HABILLER LE REFRIGERATEUR 370 L - 410 L

Dimensions des panneaux d'habillage:

370 LHauteur mm.Largeur mm.Epaisseur mm.
Porte freezer709588max 3
Porte réfrigérateur976588max 3

410 L

Porte freezer709588max 3
Porte réfrigérateur1134588max 3

Outillage nécessaire: tourneis cruciforme

Exécution (fig.11):

a) Retirer la cornière de la porte du freezer en dévissant les vis placées sur la droite de la porte.
b) Desserrer les vis supérieures et inférieures.
c) Introduire le panneau dans la glissiere prévue sur la cornière.
d) Remonter la corniere en serrant les vis et desserrer les vis supérieures et inférieures.

Proceder de la même façon pour la porte du réfrigérateur.

SI L'ÉCLAIRAGE INTÉRIEUR DU RÉFRIGÉRATEUR NE FONCTIONNE PLUS, PROCESS DE LA FAÇON SUIVANTE:

  • Débrancher l'appareil en retardant la prise.
  • Retirer le couvercle de protection en le déboitant des supports qui le maintainnent en place:
  • dans les modèles avec plafonniers, tirer vers l'avant et vers le bas,
  • dans les modèles avec porte-lampe appliqué sur la paroi latérale, appuyer sur la partie inférieure et tirer vers le haut.
  • Dévisser l'ampoule défectueuse et la replacer par une du même type.
  • Replacement le couvercle de protection.
  • Rebrancher l'appareil electriquement.

ROSIERES RIC 322/DF - SI L'ÉCLAIRAGE INTÉRIEUR DU RÉFRIGÉRATEUR NE FONCTIONNE PLUS, PROCESS DE LA FAÇON SUIVANTE: - 1
Fig. 1

ROSIERES RIC 322/DF - SI L'ÉCLAIRAGE INTÉRIEUR DU RÉFRIGÉRATEUR NE FONCTIONNE PLUS, PROCESS DE LA FAÇON SUIVANTE: - 2
Fig. 2
Fig. 5

ROSIERES RIC 322/DF - SI L'ÉCLAIRAGE INTÉRIEUR DU RÉFRIGÉRATEUR NE FONCTIONNE PLUS, PROCESS DE LA FAÇON SUIVANTE: - 3

ROSIERES RIC 322/DF - SI L'ÉCLAIRAGE INTÉRIEUR DU RÉFRIGÉRATEUR NE FONCTIONNE PLUS, PROCESS DE LA FAÇON SUIVANTE: - 4
Fig. 7

ROSIERES RIC 322/DF - SI L'ÉCLAIRAGE INTÉRIEUR DU RÉFRIGÉRATEUR NE FONCTIONNE PLUS, PROCESS DE LA FAÇON SUIVANTE: - 5
Fig. 3

ROSIERES RIC 322/DF - SI L'ÉCLAIRAGE INTÉRIEUR DU RÉFRIGÉRATEUR NE FONCTIONNE PLUS, PROCESS DE LA FAÇON SUIVANTE: - 6

ROSIERES RIC 322/DF - SI L'ÉCLAIRAGE INTÉRIEUR DU RÉFRIGÉRATEUR NE FONCTIONNE PLUS, PROCESS DE LA FAÇON SUIVANTE: - 7

ROSIERES RIC 322/DF - SI L'ÉCLAIRAGE INTÉRIEUR DU RÉFRIGÉRATEUR NE FONCTIONNE PLUS, PROCESS DE LA FAÇON SUIVANTE: - 8
Fig. 4

ROSIERES RIC 322/DF - SI L'ÉCLAIRAGE INTÉRIEUR DU RÉFRIGÉRATEUR NE FONCTIONNE PLUS, PROCESS DE LA FAÇON SUIVANTE: - 9
Fig. 4b

ROSIERES RIC 322/DF - SI L'ÉCLAIRAGE INTÉRIEUR DU RÉFRIGÉRATEUR NE FONCTIONNE PLUS, PROCESS DE LA FAÇON SUIVANTE: - 10
Fig. 7b

ROSIERES RIC 322/DF - SI L'ÉCLAIRAGE INTÉRIEUR DU RÉFRIGÉRATEUR NE FONCTIONNE PLUS, PROCESS DE LA FAÇON SUIVANTE: - 11
Fig. 7d

ROSIERES RIC 322/DF - SI L'ÉCLAIRAGE INTÉRIEUR DU RÉFRIGÉRATEUR NE FONCTIONNE PLUS, PROCESS DE LA FAÇON SUIVANTE: - 12
Fig. 7c

ROSIERES RIC 322/DF - SI L'ÉCLAIRAGE INTÉRIEUR DU RÉFRIGÉRATEUR NE FONCTIONNE PLUS, PROCESS DE LA FAÇON SUIVANTE: - 13
Fig. 7e

ROSIERES RIC 322/DF - SI L'ÉCLAIRAGE INTÉRIEUR DU RÉFRIGÉRATEUR NE FONCTIONNE PLUS, PROCESS DE LA FAÇON SUIVANTE: - 14

ROSIERES RIC 322/DF - SI L'ÉCLAIRAGE INTÉRIEUR DU RÉFRIGÉRATEUR NE FONCTIONNE PLUS, PROCESS DE LA FAÇON SUIVANTE: - 15

ROSIERES RIC 322/DF - SI L'ÉCLAIRAGE INTÉRIEUR DU RÉFRIGÉRATEUR NE FONCTIONNE PLUS, PROCESS DE LA FAÇON SUIVANTE: - 16

ROSIERES RIC 322/DF - SI L'ÉCLAIRAGE INTÉRIEUR DU RÉFRIGÉRATEUR NE FONCTIONNE PLUS, PROCESS DE LA FAÇON SUIVANTE: - 17

ROSIERES RIC 322/DF - SI L'ÉCLAIRAGE INTÉRIEUR DU RÉFRIGÉRATEUR NE FONCTIONNE PLUS, PROCESS DE LA FAÇON SUIVANTE: - 18

ROSIERES RIC 322/DF - SI L'ÉCLAIRAGE INTÉRIEUR DU RÉFRIGÉRATEUR NE FONCTIONNE PLUS, PROCESS DE LA FAÇON SUIVANTE: - 19

ROSIERES RIC 322/DF - SI L'ÉCLAIRAGE INTÉRIEUR DU RÉFRIGÉRATEUR NE FONCTIONNE PLUS, PROCESS DE LA FAÇON SUIVANTE: - 20

Sommaire Cliquez un titre pour y accéder
Assistant notice
Powered by Anthropic
En attente de votre message
Informations produit

Marque : ROSIERES

Modèle : RIC 322/DF

Catégorie : Réfrigérateur congélateur combiné