ELAS 90 ECBL - Cuisinière électrique FALCON - Notice d'utilisation et mode d'emploi gratuit
Retrouvez gratuitement la notice de l'appareil ELAS 90 ECBL FALCON au format PDF.
| Type d'appareil | Cuisinière électrique |
| Type de table de cuisson | Céramique |
| Nombre de foyers | 4 |
| Puissance totale | Non précisé |
| Commandes | Manettes rotatives |
| Four | Électrique |
| Fonctions du four | Chaleur tournante, grill |
| Dimensions (HxLxP) | Non précisé |
| Matériau du corps | Acier inoxydable |
| Sécurité | Verrouillage enfant |
| Type d'installation | Pose libre |
| Couleur | Blanc ou inox |
| Consommation énergétique | Non précisé |
| Type d'alimentation | Électrique |
| Accessoires inclus | Grille, lèchefrite |
| Garantie | Non précisé |
FOIRE AUX QUESTIONS - ELAS 90 ECBL FALCON
Questions des utilisateurs sur ELAS 90 ECBL FALCON
0 question sur cet appareil. Repondez a celles que vous connaissez ou posez la votre.
Poser une nouvelle question sur cet appareil
Téléchargez la notice de votre Cuisinière électrique au format PDF gratuitement ! Retrouvez votre notice ELAS 90 ECBL - FALCON et reprennez votre appareil électronique en main. Sur cette page sont publiés tous les documents nécessaires à l'utilisation de votre appareil ELAS 90 ECBL de la marque FALCON.
MODE D'EMPLOI ELAS 90 ECBL FALCON
Cuisinière électrique avec table de cuisson en céramique
Instructions d'utilisation et d'installation
| Sécurité avant tout | 22 |
| La table de cuisson | 22 |
| Gril | 23 |
| Fours | 24 |
| Four droit | 25 |
| Handyrack | 26 |
| Horloge | 27 |
| Cuisson avec minuterie | 28 |
| Nettoyage de la cusinière | 29 |
| Déplacement de la cusinière | 30 |
| Dépannage | 30 |
| Consignes générales de sécurité | 32 |
| Entretien et pieces de rechange | 33 |
| Installation | 34 |
| Notice d'entretien | 36 |
| Fiche technique | 39 |
| Schéma de câblage | 59 |
Sécurité avant tout
Ne posez aucun objet lourd sur la cusinière. Meme si la surface en céramique est très résistante, un impact violent ou un objet contendant tombant accidentellement dessus risque de la fissurer. Dans qu'une fissure est visible sur la surface, mettez immédiatement la cusinière hors tension et faites-la réparer. Veillez à prévenir toute infiltration d'eau dans la cusinière.
La cuisine est chaude pendant et après l'utilisation. Il importe donc de faire preuve de vigilance en présence d'enfants en bas âge. Si les plus jeunes enfants de votre famille viennent dans la cuisine, il est fortement recommandé de ne les laisser sans surveillance à peu moment.
Si vous n'vez jamais utilisé de cuisineire electrique, nous给您illons de dire les pages 67-69. Nous y donnons des conseils de base en vue d'une'utilisation sure d'une cuisineire.
Alimentation électrique en marche
Vérifiez que l'alimentation électrique est en marche.
Odeur de neuf
Une légère odeur de neuf peut se dégager lors de la première utilisation de la cusinière. Elle disparaître rapidement à l'utilisation.
La table de cuisson
Lorsque you cuisine sur une table de cuisson en céramique, il est très important d'utiliser des casse-roles adaptées...

Veillez à utiliser uniquement des casseroles conçues pour les tables de cuisson en céramique.
Il est conseilé d'utiliser des cassetoles en acier inoxy-dable et en émail car les cassetoles à fond en cuivre ou en aluminium laissent des marques difficiles à faire disparaitre sur la table de cuisson.
Les plats de cuisson en vitrocéramique ne convennent pas du fait de leur faible conductivity.
Utilisez des casseroles à fond épais, lisse et plat. Ceci permet un transfert de chaleur maximal de la table de cuisson à la casserole, d'ou une cuisson plus rapide et plus économique.
N'utilisez jamais de Wok à fond rond, même avec un support.
Les casseroles les比较好es sont celles qui sont très légèrement arrondies lorsqu'elles sont froides. En plaçant une règle sur le fond de ces casseroles, on peut constater que sa surface est légèrement incurvée vers le milieu. Sous l'effet de la chaleur, le métal se dilate et le fond entier du recipient de cuisson touche la surface de cuisson.
Veillez à ce que le fond du récipient de cuisson soit propre et sec pour éviter que des résidus d'aliments ne brûlent et n'attachent sur le panneau de la table de cuisson. Ceci permet également d'éviter les éraflures et les dépôts (teils que les particules de calcaire).
Veillez à toujours utiliser des recipients de la même taille (ou légèrement plus grands) que le diamètre indiqué sur la surface de cuisson. L'utilisation de recipients plus petits entraîne une perte de chaleur et en cas de débordement, le contenu du recipient attachera à la surface de cuisson. Utilisez un couvercle sur les recipients de cuisson pour porter à ébullition plus rapidement.

POSITION CORRECTE POSITION INCORRECTE
Veillez à toujours soulever les récipiens pour les retarder de la surface de cuisson car le faire glisser risque d'entrainer des marques et des éraflues. Mettez toujours le bouton de commande sur la position arrêt [Off] avant de retarder un récipient de la surface de cuisson.

Unvoyant corresponda chaque zone de la table de cuisson.Cevoyant s'allume lorsqu'une commande est mise en marche et il reste allumé tant que la surface n'est pas refroidie.Prenez toujours garde lorsque vous touchez la cusinière car même eteinte,elle peut etre encore très chaude.

1.1kW 1.56kW
Les capacités des surfaces de cuisson sont indiquées dans le schéma ci-dessus.
Généralités
Meme si la surface en ceramique est très résistant, un impact violent ou un objet contendant (une salière, par exemple) tombant accidentellement dessus risque de la fissurer. Si la surface du chauffe-plates est fissurée, mettez immédiatement la cusinière hors tension et faites-la réparer.
Veillez à prévenir toute infiltration d'eau dans la cuisineire.

Les parties où figurent deux cercles concentriques comportent un élément interne et un élément externe. Tournez le bouton de commande dans le sens horsaire pour chauffer toute la surface lorsque vous utilisez de grands écipients de cuisson. Pour les petits écipients, tournez dans l'autre sens afin de chauffer la partie interieure.

Ne cuisez jamais d'aliment directement sur la surface de cuisson.
Le type de récipient de cuisson utilisé et la quantité d'aliments ont une incidence sur le réglage requis. Pour les quantités d'aliments importantes, utilisez un réglage plus élevé.
Nettoyez la surface après chaque utilisation pour éviter les rayures et la formation de taches.
La garantie couvre uniquement les éraflures sur la table de cuisson signalées dans les 14 jours après l'installation de la cusinière. Elle ne couvre pas les éraflures résultat de l'utilisation de l'appareil.
Lorsque vous cuisinez sur la table de cuisson, il se peut que la surface de la table utilisée s'allume et s'éteigne. Ceci est dû à un dispositif de sécurité servant à limiter la température de la table de cuisson. Ce phénomène est tout à fait normal, surtout en présence de températures élevées. Toutefois, si cela se produit fréquement avec un recipient de cuisson particulier, cela peut venir du fait que celui-ci ne convient pas à une table de cuisson en céramique car il est trop petit ou est doté d'un fond trop irrégulier.
La table de cuisson est susceptible d'être endommagée de façon permanente si du sucre est renversé sur la surface. Veillez donc à tout de suite nettoyer soigneusement l'endroit souillé. N'attendez jamais que le sucre renversé ne sèche avant d'essayer de le retirer.
Si du sucre ou des alimentés à force teneur en sucre, des objets en aluminium ou en plastique ont fondu accidentellement sur la surface de la table de cuisson, retirez-les immediatement de la partie chaude de la table à l'aide d'un racleur afin d'eviter d'abimer la surface. Reportez-vous à la section « Nettoyage de la cusinière »
Ne coupez jamais d'aliments directement sur la surface de cuisson.
Ne cuisez jamais d'aliments directement sur la surface de cuisson sans lesmettre au préalable dans un recipient ou un ustensile de cuisson.
N'utilisez jamais la cuisine comme plan de travail.
Ne faites jamais glisser d'ustensiles sur la surface de cuisson.
Ne placez jamais rien entre le fond du écipient de cuisson et la table de cuisson (par exemple une plaque d'amiate, une feuille de papier aluminium ou un support de Wok).
Ne laissez jamais d'ustensiles, d'aliments ou de produits combustibles sur la table de cuisson lorsqu'elle n'est pas en marche (par exemple un torchon ou une poèle à frire contenant de l'huile).
Ne placez jamais de plastique, de feuille de papier aluminium ou de recipients en plastique sur la table de cuisson.
Ne laissez jamais aucune partie de la table de cuisson allumée si vous ne l'utilise pas pour cuire des aliments.
Ne placez jamais de grande bassine à confiture ou de poissonnière sur deux surfaces chauffantes.
Ne placez jamais d'ustensiles recouvrant seulement en partie une surface chauffante. Veillez à tous jours placer les ustensiles bien au centre d'une surface de la cuisineire.
N'autorisez jamais quiconque à grimper ou se tenir debout sur la table de cuisson.
Grill
ATTENTION : Des parties accessibles risquent d'être chaudes pendant le fonctionnement du gril. Eloignez les enfants de la cuisineire.
François
Retirez la l'echefrite de la partie inférieure de l'enceinte du grill.
Après avoir placé les alimentés sur la grille de la lèchefrite du grill, insérez la lèchefrite dans les supports latéraux, juste au-dessous des éléments. Veillez à ce qu'elle soit insérée à fond, jusqu'à la butée arrrière.
Le grill a deux éléments qui permettent de chauffer la totalité de la lèchefrite, ou seulement la partie droite de celleci.
Tournez le bouton en sens horsaire jusqu'à la position 3 pour chauffer la totalité du grill. Tournez-le en sens anti-horaire pour chauffer la partie droite.
Pour obtenir les membres résultats possibles, préchauffez pendant 2 minutes avec la lèchefrite en place. ÀpRES avoir placé les alimentés sur la grille de la lèchefrite, insérez la lèchefrite dans les supports latéraux. Tournez le bouton de commande pour régler le grill.
Veillez à ce que la l'échefrite soit insérée à fond, jusqu'à la butée arrête.
Ne fermez jamais la porte du grill lorsque celui-ci est en marche.
La grille de la lèchefrite est réversible pour permettre deux positions de grill.
Ne laissiez jamais le grill en marche pendant plus de quelques instants si la l'échefrite n'est pas en place sous le grill.
Un ventilateur de refroidissement se met en marche des la mise en marche du grill. Le ventilateur fonctionnera pendant le fonctionnement du grill.
Fours
Votrecuisiniereadeuxfoursdetypestdifferents.
Four gauche
Le four gauche est un four multifonctions. Outre le ventilateur de four et l'objet du ventilateur, le four est doté de deux éléments chauffants supplémentaires, l'un visible dans la voûte, et l'autre sous la sole. Veillez à ne pas toucher l'objet supérieur et le déflecteur de l'objet lors de l'insertion ou du retrait des plats dans le four.
Le four multifonctions est doté de deux commandes, un sélecteur de fonction et un bouton de réglage de température.

Tournez le sélecteur de fonction pour lemettre sur une fonction de cuisson. Levoyant au néon au-dessus du sélecteur s'allumera.
Mettez le bouton de réglage de température du four sur la température requise.
Levoyant du four s'allumera jusqu'à ce que le fouratteigne la température requise. Il s'allumera et s'eteindra pendant la cuisson.
Le four multifonctions permet de nombreuses utilisations variees. Nous vous conseillons de bien surveiller la cuisson jusqu'à ce que vous soyez familiarisé avec chaque fonction. N'oubliez pas : toutes les fonctions ne convennent pas à tous les types d'aliments.
Fonctions du four multifonctions

Décongélation
Avec cette fonction, le ventilateur du four brasse uniquement de l'air froid. Il n'y a pas de chaleur. Cette fonction permet de décongeler des alimentés, en petites quantités, par exemple desdesserts, gâteaux à la crème, morceaux de viande, poisson et volaille.
Ce type de décongélation accélère le processus de décon-gélation et protège les alimentés des mouches. Placez les morceaux de viande, poisson et volaille sur une grille, audressus d'une plaque prévue pour l'égouttement. N'oubliez pas de nettoyer la grille et la plaque après décongélation.
La porte du four doit être fermée pendant la décongénation.
Des alimentés plus volumineux, tels que des poulets entiers et des rôts, ne doivent pas être décongelés de cette façon. Nous vous conseillons de les décongeler au réfrigérateur.
Ne décongelez pas des alimentents dans un four tiège ou à côté d'un four en marche ou encore chaud.
Vérifiez que les alimentés à base de produits laitiers, la viande et la volaille sont complètement décongelés avant de les cuire.

Four ventilé
Cette fonction commande le ventilateur et l'élement chauffant autour de celui-ci. Une chaleur uniforme est produit partout dans le four, ce qui permet la cuisson rapide de grandes quantités d'aliments.
La cuisson par four ventilé est particulièrement utile pour la cuisson simultanée d'aliments sur plusieurs grilles et est une excellente fonction « polyvalente ». Vous devrez peut-être diminuer la température de 10^ environ pour des plats que vous aviez l'habitude de cuire dans un four conventionnel.
Si vous souhaitez préchauffer le four, attendez que le voyant s'éteigne avant demettre le plat au four.

Gril ventilé
Cette fonction commande le ventilateur pendant que l'élement chauffant supérieur est en marche. On obtient ainsi une chaleur plus uniforme, moins intense que celle d'un grill conventionnel. Pour obtenir les membres résultats possibles, placez les alimentés à griller sur une grille sur un plat à rotir qui doit être plus petit qu'une lechefrite de grill
conventionnel. Ceci assure une meilleure circulation de l'air. Ce type de cuisson est idéal pour les morceaux de viande ou de poisson écais, car la circulation de l'air diminue l'intensité de la chaleur du grill. La porte du four doit être fermée pendant la cuisson au grill pour éviter un gaspillage d'énergie. Vous constaterez que vous devrez moins surveiller et tourner les alimentés cuits de cette façon. Ce type de cuisson nécessite un préchauffage du four.

Four ventile mixte
Cette fonction commande le ventilateur et brasse l'air chauffé par les éléments chauffants de la voûte et de la sole du four. Cette fonction, qui combine la cuisson ventilée et la cuisson conventionnelle (chaleur supérieure et inférieure), est un moyen de cuisson idéal pour les alimentés volumineux (gros roti, par exemple) pour lesquels une cuisson compte est très importante. On peut également faire cuire des plats simultanément sur deux grilles, mais les plats devront être intervertis pendant la cuisson, car, avec cette fonction, la chaleur est plus intense dans la voûte du four qu'au niveau de la sole.
Ce mode de cuisson est intensif et rapide; surveillez les alimentés cuits de la sorte jusqu'à ce que vous soyez familiarisé avec cette fonction.

Four conventionnel
(chaleur de voûte et de sole)
Cette fonction combine la chaleur fournie par les éléments supérieurs et inférieurs. Elle est particulièrement utile pour la cuisson d'aliments rôtis et des pâtes à tartes, gâteaux et biscuits. Les alimentents cuits sur la grille supérieure gratineront et doreront plusrapidement que ceux placés sur la grille inférieure car la chaleur est plus intense dans la voute du four qu'au niveau de la sole, comme dans le cas de la fonction « Four ventilé mixte ». Des alimententssemblables cuits de la sortè devront être intervenbris pour cuire uniformément. Cette fonction permet donc de cuire des alimentents nécessitant des températures de cuisson différentes, en utilisant la partie moins chaude dans la partie inférieure du four et la partie plus chaude dans la partie supérieure du four.

Elément gratineur
Cette fonction utilise uniquement l'objet situé dans la voûte du four. C'est une fonction utile pour gratiner ou finir des gratins de pâtes, des légumes en sauce et des lasagnes, le plat à gratiner étant déjà chaud avant la mise en marche de l'objet supérieur.

Chaleur inférieure
Cette fonction utilise uniquement l'objet inférieur. Elle permettra de dorer le fond de votre pizza ou de votre qui-iche ou de terminer la cuisson d'un fond de tarte sur une grille inférieure. C'est également une chaleur douce, par
faite pour le moyen de plats placés au milieu du four ou pour réchauffer des assiettes.
Les fonctions Elément gratineur et Chaleur inférieure sont des adjonctions utiles à votre four et vous permettent de finir vos plats à la perfection. Vous constaterez rapidement que leur utilisation contribue à étendre vos compétences culinaires.
Four droit
Le ventilateur dans le four droit brasse l'air chaud continulement, assurant ainsi une cuisson plus rapide et plus uniforme.
En général, les températures de cuisson recommandées pour un four ventilé sont plus basses que celles pour un four conventionnel.
Le bouton de commande du four ventilé droit est à l'extré-mité droite du panneau de commande.
Mettez le bouton de réglage de température du four sur la température requise.
Levoyant du four s'allumera jusqu'à ce que le fouratteigne la température requise. Il s'allumera et s'éteindra pendant la cuisson.
Four gauche et four droit
Un ventilateur de refroidissement se met en marche dés la mise en marche du four. Le ventilateur fonctionnera pendant le fonctionnement du four.
Avant la première utilisation des jours, faites fonctionner les jours à 200^ pendant 30 minutes afin d'éliminer l'odeur de neuf.
N'oubliez pas : toutes les cusinières sont différentes - les températures de vos nouveaux jours Elan peuvent être différentes de celles de votre ancienne cusinière.
Veillez à ce que les grilles interieures soient toujours insé rées à fond dans le four.
Placez les plaques de cuisson, moules à viandes, etc., à niveau, au centre des grilles du four. Eloignez les plaques et les plats de cuisson des bords du four, afin d'éviter de trop dorer les alimentés.
Pour un dorage uniforme, il est recommanced'utiliser une plaque de cuisson de dimensions maximales : -
| Four principal | 362 mm de largeur x 305 mm de longueur. Dans le four principal, placez toujours les plaques avec la partie la plus large transversalement dans le four. |
| Four haut | 230 mm x 320 mm. |
La cuisson d'aliments à haute teneur en eau peut produit une « bouffée de vapeur » à l'ouverture de la porte du four. Lorsque vous ouvrez la porte du four, reculez-vous et attendez que la vapeur se soit dissipée.
Lorsque le four est en marche, ne laissez pas la porte du four ouverte plus longtemps que nécessaire, afin de prévenir une surchauffe des boutons de commande.
Laissez toujours un 'doigt de largeur' entre des plats places sur une grille de four, pour faciliter la circulation de chaleur autour des plats.
François
Les panneaux internes autonettoyants (voir la section « Nettoyage de la cuisine ») sont plus efficaces lorsqu'on évite les projections grasses. Couvre la viandependant la cuisson.
Pour diminuer les projections grasses lorsque vous ajoutez des légumes dans laGRAISSSEchaude autour d'un roti, sechez soigneusement les légumes ou enduisez-les d'une légère couche d'huile à friture.
Le four produit assez de chaleur pendant la cuisson pour réchauffer des assiettes placées dans l'enceinte du grill.
Si vous souhaitez dorer un fond de tarte, préchauffez la plaque de cuisson pendant 15 minutes avant de placer le plat au centre de la plaque.
Placez les plats susceptibles de bouillir et déborderpendant la cuisson sur une plaque de cuisson.
Vapeur
Pendant la cuisson d'aliments à haute teneur en eau (fri-tes surgelées, par exemple) un peu de vapeur peut être visible à la grille à l'arrière du chauffe-plats. Ceci est tout à fait normal.
Grilles du four principal
Les grilles de four peuvent être facilement retirees et remises en place.
Tirez la grille vers l'avant jusqu'à ce que l'arrière de la grille soit arrêté par les butées d'arrêt laterales du four.
Soulevez la partie avant de la grille pour faire passer l'arrière de la grille sous la butée d'arrêt, puis tirez la grille vers l'avant.


Pour remettre la grille en place, mettez la grille à niveau avec une glissière latérale du four, puis insérez la grille à fond jusqu'à ce que les extrémités soient en contact avec la butée d'arrêt de la grille. Soulevez l'avant de la grille pour que les extrémités puissant dépasser les butées, puis abaissez l'avant pourmettre la grille à l'horizontal, avant de l'insérer à fond.
Handyrack

Le Handyrack se monte uniquement sur la porte du four gauche. Le poids maximum supportable par le Handyrack est de 5,5 kg. Il ne doit être utilisé qu'avac le plat à viande fourni, qui est spécialement concu pour être utilisé avec le Handyrack. Tout autre recipient de cuisson risque d'être instable.
Lorsque le Handyrack est utilisé sur sa position supérieure maximum, d'autres plats peuvent être cuits sur une grille placée à la position inférieure du four.
Lorsque le Handyrack est utilisé sur sa position inférieure maximum, d'autres plats peuvent être cuits sur une grille placée à la deuxième position du four.
Pour monter le Handyrack, placez un cote sur le support de la porte.


Faites sortir l'autre côté pour l'accrocher sur l'autre support.
Grilles du four haut
Le four haut est fourni avec quatre grilles de cuisson ordinaires


et une grille chauffe-plats.
Lorsque vous utilisez le four haut, vous pouvez faire cuire des alimentes sur les quatre grilles simultanement, mais veillez à ce que les plats soient bien écartsés les uns des autres pour permettre à l'air chaud de circuler.
Horloge
Réglage de l'heure

A Bouton de Minuterie B Bouton de Réglage
Après raccordement initial de l'horloge, l'affichage clignotera pour indiquer ( 1.10) et ( ) alternatively.
Pour régler l'horloge sur l'heure actuelle, tournez et appuyez sans relâcher sur le bouton de Minuterie pour lemettre sur le symbole horloge (①) et simultanément tournez le bouton de Réglage vers la gauche ou vers la droite jusqu'à l'affichage de l'heure correcte. N'oubliez pas quec'est une horloge 24 heures. Relâchez le bouton de Minuterie ; il revienda à la position verticale de réglage manuelde four.
Réglage de la minuterie pour la cuisson (minuterie)

Tournez le bouton de Minuterie vers la droite sur le réglage minuterie () -vous devrez entendre un déclic lorsqu'il est à la position correcte. Utilisez le bouton de Réglage pour régler le temps de cuisson comme indiqué ci-dessous.

Vous pouvez remettre le bouton sur le réglage manuel (®) pour pouvoir voir l'heure ou le laisser sur la position minuterie (°) pendant toute la durée de la cuisson.
Arrêt du signal sonore lorsque celui-ci retentit
Tournez le bouton de Réglage en sens anti-horaire.
Arrêt automatique
Utilisez cette fonction lorsque vous avez mis le four en marche manuellement.

Tournez le bouton de Minuterie pour lemettre sur la position .Utilisez le bouton de Reglage pour regler le temps de cuisson comme indiqué ci-dessous.

« L'heure d'arrêt » [« Stop Time »] sera affiché. AUTO sera affiché. Tournez le bouton de Minuterie pour lemettre sur la position « AUTO ». Le signal sonore indiquera la fin de la cuisson. Tournez le bouton de Minuterie pour le mettre sur la position verticale ( ) pour revenir au fonctionnement manuel.
Mise en marche et arrêt automatiques du four
Avant de régler la minuterie, vous doivent avoir deux chiffres à l'esprit.
Le « temps de cuisson », c'est-à-dire la durée pendant laquelle vous pouze que le four fonctionne.
« L'heure d'arrêt », c'est-à-dire l'heure à laquelle vous poulez que le four s'arrête.
Vous ne pouvez pas régler directement une heures de mise en marche - celle-ci est réglée automatiquement lorsque vous réglez le temps de cuisson et l'heure d'arrêt.

Tournez le bouton de Minuterie pour lemettre sur la position (一 ) .UtilisezleboutondeRéglage pourreglerle «tempesdecuisson» commeindiquéci-dessous.

Tournez le bouton de Minuterie pour lemettre sur la position () . L'affichage indiquera l'heure et le « temps de cuisson » que you venez de régler. Utilisez le bouton de Réglage pour régler « l'heure d'arrêt » comme indiqué cidesous.
François
13.30


« L'heure d'arrêt » [« Stop Time »] sera affichée. AUTO sera affché. Réglez le (les) four(s) à la température re-quise (n'oubliez pas de désirir une fonction si vous utilisez le four multifonctions). Tournez le bouton de Minuterie pour lemettre sur la position « AUTO »
Le signal sonore indiquera la fin de la cuisson. Tournez le bouton de Minuterie pour lemettre sur la position verticale ( ) pour revenir au fonctionnement manuel.
Si vous étés absent pendant la cuisson, ne vous inquiétez pas au sujet de l'arrêt du signal sonore, celui-ci s'arrête après un certain temps. A votre retour, tournez le bouton de Minuterie pour lemettre sur la position verticale (®) pour revenir au fonctionnement manuel.
AUTO est affché, et vous voulez remettre le four sur fonctionnement manuel.
Pour annuler tout réglage automatique ou réglage de minuterie, tournez brièvement le bouton de Minuterie pour leMETTE sur le symbole horloge (一) puis relâchez-le.
Fonctions spéciales de l'horloge
Fonction de verrouillage
Lorsque la fonction de verrouillage est activée, l'horloge fonctionne comme de coutume mais le four est verrouillé et ne peut s'allumer. De cette façon, s'il arrivait à votre enfant de selectionner un programme de cuisson, la mise en route du programme ne serait pas activée et le four ne s'allumerait pas.
Mise en marche de la fonction de verrouillage
Vérifiez que l'horloge est sur le mode manuel et annulez tout programme en cours.
Tournez et appuyez sans relâcher sur le bouton de Minuterie pour lemettre sur le symbole ( ⊙ ) pendant environ 8 secondes. « On » ([Marche]) sera affché..

Continuez demaintenir le bouton de Minuterie sur les symbole (一) et tournez le bouton de Reglage dans le sens horaire jusqu'à l'affichage du symbole de cle (i) et de « Of » ([Arrêt]). Relâchez les boutons.

Aopsis, les jours sont verrouillés. Aprees quelques secondes, l'affichage indique de nouveau l'heure et le symbole de la clé.

Arrêt de la fonction de verrouillage
Appuyez sans relâcher sur l'Tournez et appuyez sans relâcher sur le bouton de Minuterie pour lemettre sur le symbole (♀) pendant environ 8 secondes. « Of » ([Arrêt]) sera affché.

Continuez de maintainir le bouton de Minuterie sur le symbole (⊙) et tournez le bouton de Reglage dans le sens horaire jusqu'à ce que le symbole de clé (♀) soit replacé par l'affichage de « Of » ([Arrêt]). Relâchez les boutons.

Après quelques secondes, l'affichage indique de nouveau l'heure.

A présent, les jours peuvent être utilisés normalement.
erie
La minuterie peut être utilisée pour la mise en marche et l'arrêt automatiques d'un ou des deux jours. L'heure de mise en marche et d'arrêt doit être la même pour les deux jours, mais les températures de cuisson peuvent être différentes.
Si vous foulezmettre en marche l'un des jours à la même heures que cette réglee pour la minuterie pour la cuisson automatique, vous devez attendre que la minuterie ait mis en marche le (les) four(s). Vous pouze ensuite effectuer leur réglage manuellement de façon normale.
Vous pouvez régler le four pour qu'il se mette en marche à n'importe quel moment des 24 heures qui suivent.
Si vous désirez cuire plusieurs plats simultanément, choisissez des plats nécessitant approximativement le même temps de cuisson. Cependant, la cuisson de certains plats peut être légèrement « ralentie » en utilisant des petits plats de cuisson et en les recouvrant d'une feuille de papier aluminium, ou « accéléée » en utilisant de plus petites quantités ou des plats de cuisson plus grands.
Evitez d'utiliser des alimentes rapidement périssables (poisson, porc, etc.) si vous prévoyez une longue période d'attente, surtout par temps chaud.
Ne placez pas d'aliments chauds dans le four.
N'utilisez pas un four deja chaud.
N'utilisez pas ce mode de cuisson si le four adjacent est chaud.
Evitez d'utiliser du vin ou de la bière si vous prévoyez une période d'attente, ceci afin de prévenir le risque de fermentation.
Pour empêcher la crème de tourner, ajoutez-la aux plats juste avant de servir.
Enduisez les légumes frais de matière grasse fondue ou faites-les tremper dans une solution d'eau et de jus de citron, pour prévenir leur décoloration pendant la période d'attente.
Les tartes aux fruits, tartes à la crème ou autres mélanges humides sur fonds de tartes non cuits neodonreront debons résultats que si la période d'attente avant la cuisson est courte. Les plats contenant des restes de viande ou de volaille cuite ne doivent pas etre cuits automatiquement si la cuisson est suivie d'une période d'attente.
Décongelez complètement les volailles entières avant de lesmettre au four.
Vérifiez que la viande et la volaille sont complètement cui-tes avant de les servir.
Nettoyage de la cuisineire
Avant un nettoyage complet, mettez la cuisineire hors tension. N'oubliez pas de remetre sous tension lorsque le nettoyage est terminé.
N'utilisez jamais de solvants pour peinture, de cristaux de soude, de nettoyants caustiques, de poudres biologiques, d'eau de Javel, de nettoyants chlorés, de produits abrasifs à gros grain ou de sel. Ne mélangez pas plusieurs produits nettoyants, car ils risquent de réagir entre eux et d'avoir des effets nocifs.
Si vous désirez déplacer votre cuisinière pour la nettoyer, veuillez dire la section « Déplacement de la cuisinière »
Toutes les parties de la cusinière peuvent être lavées à l'eau savonnue chaude, mais voirlez à prévenir toute infiltration d'eau dans l'appareil.
Table de cuisson
Le nettoyage de la table de cuisson s'effectue très facilement avec un produit recommandé.
ATTENTION : N'utilisez pas de produits nettoyants ou tampons de nettoyage abrasifs, ni d'aerosol, de tampon de nettoyage de four ou de détachant sur la table de cuisson.
Entretien quotidien
Tout d'abord, assurez-vous que tous les voyants de chaleur sont eteints et que la surface de cuisson est froide. Appliquez une petite quantite de nettoyant semi-liquide pour surface vitroceramique (d'un diametre d'environ 2 cm) au centre de chaque endroit a nettoyer. A l'aide d'une serviette en papier propre et humide, repartissez le produit nettoyant liquide sur la surface de cuisson, comme s'il s'agissait de nettoyer une fenetre. Derniere etape, essayez la surface à l'aide d'une serviette en papier propre et sèche.
Nettoyage des débordements
Si un aliment se repand ou déborde pendant la cuisson, éteignez la cusinière et essuyez autour de l'endroit chaud à l'aide d'une serviette en papier propre. Si les aliments
renversés (autres qu'une substance sucrée) se trouvent dans un endroit chaud de la table de cuisson, attendez que celle-ci ait entièrement refroidi pour nettoyer et suivez les instructions ci-dessous (« Nettoyage de substances brûlées »). Si un objet posé par inadvertance sur la table de cuisson fond ou si des alimentés à force teneur en sucre sont renversés sur la cusinière (confiture, sauce tomate, etc.), RETIREZ IMMEDIATEMENT les alimentés renversés à l'aide d'un racleur pendant que la table est encore chaude. IMPORTANT : Utilisez un gant isolant pour éviter toute brûlure eventuelle aux mains. Grattez la plus grande partie des alimentés renversés ou de toute matière qui aurait fondu afin de l'enlever de la surface de cuisson, puis écartz-la vers un endroit froid de la cusinière. Ensuite, mettez la cusinière sur la position Arrêt [OFF] et laissez-la refroidir avant de nettoyer à nouveau. Lorsque la surface de cuisson est refroidie et que les voyants de chaleur sont éteints, suivez la procédure de nettoyage quotidien spécifique plus haut.
Nettoyage de substances brûlées
Vérifiéz que les voyants de chaleur sont éteints et que la cuisineira a refroidi. Retirez toute matière brûlée à l'aide d'un racleur. Tenez le racleur selon un angle d'environ 30^ au-dessus de la surface et raclez la matière brûlée comme si vous enleviez la peinture d'une fenêtre.

IMPORTANT : Procedez avec précaution si vous utilisez un racleur très coupant.
Lorsque la plus grande partie de la matière a ete retiree a l'aide du racleur, suivez la procedure de nettoyage quotidien specifiée plus haut.
Retrait de traces de métal
Lorsqu'ils sont glissés sur la table de cuisson, les recipients en aluminium ou en cuivre peuvent y laisser des marques. Meme si elles ressemblant souvent à des rayures, ces marques sont facies à retarder au moyen de la procédure de nettoyage des substances renversées décrite plus haut. Dans le cas de marques tenaces, utilisez un produit nettoyant semi-liquide et un racleur, en procédant selon la méthode décrite plus haut.
Grill
Lavez la lèchefrite et la grille à l'eau savonneuse chaude. Àpres grillade de viandes ou d'aliments salissants, faites tremper pendant quelques minutes dans l'évier immédiatement après la cuisson. Les taches tenaces sur la grille peuvent être enlevées à l'aide d'une Brosse en nylon.
Panneau de commande et portes des fours
Les mêleurs résultats s'obtiennent avec des détergents liquides.
Le panneau et les boutons de commande doivent être nettoyés uniquement avec un chiffon doux imbibé d'eau sa
François
vonneuse chaude. Veiliez à prévenir toute infiltration d'eau dans l'appareil. Essuyez avec un chiffon humide propre, puis lustrez à l'aide d'un chiffon sec. Les portes des fours doivent être nettoyées uniquement avec un chiffon doux imbibé d'eau savonneuse chaude.
Four principal
Le four principal est doté de panneaux amovibles à revêtement émailé qui sont partiellement autonettoyants.
Ceci n'empêche pas complètement la formation de taches sur le revêtement, mais réduit le nettoyage manuel nécessaire.
Le nettoyage automatique des panneaux est plus efficace à une température supérieure à 200^ . Si, en général, vous utilisez le four à des températures inférieures, occasionnellement retirez les panneaux et essuyez-les avec un chiffon non pelucheux imbibé d'eau savonneuse chaude. Séchez et replacez les panneaux dans le four chauffé à 200^ pendant environ une heures. Ceci assurera un bon fonctionnement des panneaux autonettoyants.
N'utilisez pas de paille de fer (ou tout autre matériel susceptible de rayer la surface). N'utilisez pas de tampons de nettoyage pour fours.
Retrait des panneaux internes du four
Certains panneaux interieurs du four sont amovibles afin de permettre leur nettoyage et le nettoyage de la partie du four à l'arrête des panneaux. Retirez d'abord les grilles du four.
Chaque panneau létal du four est maintainu en place par quatre vis de fixation. Les panneaux peuvent être retirés sans avoir à enlever les vis. Soulevez chaque panneau létal pour le décrocher des vis. Tirez-le ensuite vers l'avant.
Après retrait des panneaux internes, vous pouvez nettoyer l'intérieur émailé du four.
Lors de la remise en place des panneaux internes, replacez d'abord les panneaux lateraux.
Four haut
Pour nettoyer les parois laterales du four, retirez les grilles, decrochez les supports des parois laterales et les-sortir.

Déplacement de la cuisineire
Mettez la cuisineire hors tension.
La cusinière est lourde, deux personnes seront peut-être nécessaires pour la déplacer. La cusinière est équipée de deux galets de mise à niveau à l'arrière et de deux supports de mise à niveau vissables, situés à l'avant.
Ouvrez la porte du grill et la porte du four croit afin d'avoir une bonne prise sur la partie inférieure du panneau de commande pour déplacer la cusinière. Levez légèrement l'avant de la cusinière et tirez vers l'avant.
N'utilisez pas les poignées de portes ou les boutons de commande pour déplacer la cuisine.

Déplacez la cusinière progressivement, en vérifiant à l'arrière que le tuyau de gaz n'est pas entravé. Vérifiez que le tuyau de gaz et le cable électrique sont assez longs pour permettre le déplacement de la cusinière vers l'avant.
Si la cusinière est dotée d'une chaine stabilisatrice, défaites-la pour pouvoir manœuvrer la cusinière. N'oubliez pas de la remetre en place lorsque vous replacez la cusinière.
Lors de la remise en place de la cuisine, vérifie de nouveau que le cable électrique et le tuyau de gaz ne sont pas entravés ou coincés.
Dépannage
Une fissure est apparue sur la surface de la table de cuisson
Mettez immédiatement la cusinière hors tension et faites-la réparer. N'utilisez pas la cusinière tant qu'elle n'a pas été réparée. Pour savoir comment contacter un spécialiste de l'entretien, reportez-vous à la brochure « Conseils à la clientèle »
Ma table de cuisson est rayée
Avez-vous utilisé les méthodes de nettoyage correctes?
Les récipiens de cuisson à fond rugueux ou la présence de particules abrasives (sel ou sable) entre un récipient et la surface de la table de cuisson peuvent entraîner des rayures.
Utilisez les méthodes de nettoyage recommendées. Vérifie que le fond des recipients utilisés est lisse et propre. Il n'est pas toujours possible dePTRir les très petites taches mais celles-ci s'estomperont à la longue après plusieurs nettoyages.
La garantie couvre uniquement les éraflures sur la table de cuisson signalées dans les 14 jours après l'installation de la cusinière. Elle ne couvre pas les éraflures résultat de l'utilisation de l'appareil.
Traces de métal sur la table de cuisson
Ne faites pas glisser de récipient de cuisson en aluminium ou en cuivre sur la surface de cuisson. Les traces de récipient en aluminium et en cuivre, de même que les dépôts inorganiques issus de l'eau et des alimentents, peuvent être retirees à l'aide d'un produit nettoyant semi-liquide.
De la vapeur s'échappe du four
Pendant la cuisson d'aliments à haute teneur en eau (frites surgelées, par exemple) un peu de vapeur peut être visible à la grille arrière. Faites attention en ouvrant la porte du
four, une bouffée de vapeur peut s'échapper momentarilyément à l'ouverture du four. Reculez-vous et attendez que la vapeur se soit dissipée.
Le ventilateur du four est bruyant
Le bruit du ventilateur peut changer pendant le chauffage du four - ceci est tout à fait normal.
Les boutons de commande deviennent chauds lorsque j'utilise le four ou le grill; comment faire pour empêcher cela?
Ceci est dû à la chaleur provenant du four ou du grill. Ne laissez pas la porte du four ouverte. Lorsque vous utilisez le grill, vérifie que la l'échéfrite du grill est bien insérée jusqu'à la 'butée arrête'.
En cas de problème concernant l'installation, si mon installateur d'origine ne peut pas venir résoudre le problème, à qui incombent les frais?
C'est à vous qu'incombent ces frais. Les sociétés d'entretien factureront leurs interventions si elles réparent une installation effectuee par votre installerur d'origine. Il est de votre intérêt de contacter votre installerur d'origine.
Disjoncteurs-detecteurs de fuites de terre commandés par injection de courant
Lorsque l'installation de la cusinière est protégée par un dispositif pour courant résiduel (DCR) d'une sensibilité de 30 milliampères, l'utilisation combinée de votre cusinière et d'autres apparèils domestiques peut occasionnellement cause des disjonctions fortuites. Dans ce cas, il est utile de protéger le circuit de la cusinière avec un dispositif de 100mA . Cette intervention doit être effectuee par un électricien qualifié.
Les aliments cuisent trop lentement, trop rapidement, ou brûlent
Les temps de cuisson peuvent être différents de ceux de votre ancien four. Les températures du four et les temps de cuisson sont fournis à titre indicatif uniquement. En fonction des goûts individuels, les températures devront peut-être être modifiées dans un sens ou dans l'autre, pour obtenir les résultats que vous recherchez. Essayez une cuisson à des températures plus élevées.
La cuisson au four n'est pas uniforme
Veillez à utiliser une plaque de cuisson ne dépassant pas 362 mm x 305 mm pour le four principal ou d'une dimension maximale de 230 mm x 320 mm pour le four haut.
Dans le cas de la cuisson d'un grand plat, vous devrez peut-être le tourner pendant la cuisson.
Si vous utilisez deux grilles, vérifie qu'il y a assez de place pour permettre à la chaleur de circuler. Lorsque vous insérez une plaque de cuisson dans le four, veillez à la placer bien au centre de la grille. Vérifie que le joint d'étanchéité de la porte n'est pas endommagé et que le loquet de porte est régle de façon à ce que la porte soit bien appuyée contre le joint.
Un récipient d'eau place sur la grille doit avoir une profondeur uniforme. (S'il est plus profund à l'arrière, par ex
ample, l'arrière de la cusinière doit être levé ou l'avant de la cusinière abaisse). Si la cusinière n'est pas à niveau, demandez à votre fournisseur de la dette à niveau.
Le four ne se met pas en marche lorsqu'il est mis en marche manuellement
L'appareil est-il sous tension? L'horloge est-elle éclairée? Si ce n'est pas le cas, l'alimentation électrique est peut-être défectueuse. Le sectionneur de l'alimentation électrique de la cusinière est-il sur la position Marche? L'horloge clignote-t-elle en indiquant 0.00? Dans ce cas, réglez l'horloge sur l'heure correcte. La minuterie a-t-elle été mise sur AUTO par erreur? Si l'affichage de l'horloge indique AUTO, appuyez sur le bouton de « temps de cuisson» et remplacez tout temps de cuisson pré-reglé par 0.00, à l'aide des boutons (+) et (-). Appuyez deux fois sur le bouton.
Le symbole de la clé (l) s'affiche-t-il? Reportez-vous à la section Horloge des générées instructions pour un complément d'informations sur la fonction de verrouillage de l'horloge.
Le four ne se met pas en marche avec la mise en marche automatique
La minuterie est reglee correctement, mais le bouton du four a-t-il ete laissé sur ARRET [OFF] par erreur?
Le symbole de la clé (l) s'affiche-t-il? Reportez-vous à la section Horloge des Presents instructions pour un complément d'informations sur la fonction de verrouillage de l'horloge.
Avec le temps, la température du four de la cusinière devient plus chaude
Si le fait demettre le bouton de réglage sur une tempéra-ture inférieure n'a pas eu d'effet ou a eu un effet temporaire, vous devrez peut-être replacer le thermostat. Cette intervention doit être effectuee par un spécialiste de l'entretien.
Le grill ne cuit pas correctement
Utilisez-vous la lèchefrite et la grille fournies avec la cuisinière? Utilisez-vous la lèchefrite sur les glissières et non pas directement sur la surface inférieure de l'enceinte du grill? La lèchefrite est-elle insérée à fond jusqu'à la butée arrrière?
L'éclairage du four ne fonctionne pas
L'ampoule à probablement grillé. Vous pouvez acheter une ampoule de rechange (non couverte par la garantie) dans un bon magasin de produits électriques. Demandez une ampoule à culot vissable Edison 15 W 240 V, POUR FOURS. Ce doit être une ampoule spéciale, pouvant résister à une température de 300^ .
Ouvrez la porte du four et retirez le Handyrack (le cas échéant) et les grilles du four.
Mettez l'appareil hors tension.
Dévissez le couvercle de l'ampoule en tournant en sens anti-horaire. Dévissez l'ampoule défectueuse. Vissez l'ampoule de rechange, puis revissez le couvercle de l'ampoule. Remettez l'appareil sous tension et vérifie que l'ampoule fonctionne.
François
Consignes générales de sécurité
La cusinière doit être installée par un electricien qualifié, conformément aux instructions d'installation. Elle doit faire l'objet d'un entretien effectué par un technician d'entretien qualifié, lequel doit utiliser uniquement des pieces de rechange approvées. Demandez à l'installateur de vous indiquer l'emplacement du commutateur de commande de la cusinière. Notez cet emplacement à des fins de réference. Laissez toujours la cusinière refroidir et mettez-la hors tension avant de la nettoyer ou d'effectuer une intervention d'entretien, sauf indication contraire dans les prsentes instructions.
Prenez garde lorsque vous touche la table de cuisson, en particulier dans les parties déliminées qui sont réservées à la cuisson. La surface en verre de la table de cuisson restera chaude même lorsque la cusinière est étente. Pour prévenir les risques de brûlure, vérifietz toujours que les commandes sont sur ARRET (OFF) et que la totalité de la surface en verre de la table de cuisson a refroidi avant de la nettoyer.
Eteignez toujours la cusinière avant desteroler un recipient de cuisson du plan de travail.
Ne placez jamais d'ustensiles sur la surface de cuisson lorsque la cusinière est en marche. Ils risquent en effet de devenir chauds et de provoquer des brûlures.
Nous vous recommendons d'éviter d'essuyer toute partie de la table de cuisson tant qu'elle n'a pas refroidi et que levoyant de chaleur n'est pas étient. Ajoutons une seule exception à cette précaution : lorsque du sucre est renversé sur la table de cuisson. A ce sujet, reportez-vous à la section « Nettoyage de la cusinière ». Lorsque la cusinière a refroidi, utilisez uniquement le produit nettoyant semi-liquide recommandié pour nettoyer la table de cuisson.
Pour éviter d'abîmer la surface de cuisson, ne repandez pas de produit nettoyant semi-liquide sur le verre lorsque la surface est encore chaude. Veuillez tire et suivre toutes les instructions ainsi que les avertissements indiqués sur les étiquettes des produits nettoyants semi-liquides. ÀpRES le nettoyage, utilisez un chiffon sec ou une serviette en papier pour retarder les résidus de nettoyant semi-liquide.
Evitez de faire chauffer un réseau de cuisson vide. Ceci risque en effet d'abimer la table de cuisson et le réseau.
Veillez à ne pas placer ni ranger d'objets sur la surface de cuisson en verre pendant qu'elle est en marche.
Si vous utilisez un apparéil électrique à proximité de la table de cuisson, veillez à ce que le cordon de l' apparéil n'entre pas en contact avec la table de cuisson.
Si la surface du chauffe-plats est fissurée, mettez immédiatement la cusinière hors tension et faites-la réparer.
Servez-vous de recipients de cuisson adaptés à la taille de la partie utilisée et voirlez à ce qu'ils soient dotés d'un fond plat suffisamment grand pour couvir le plan de travail choisi. En utilisant un recipient trop petit, vous risquez de vous trouver en contact direct avec une partie du plan de travail, vos vêtements pouvant alors prendre feu. L'utilisation de
récipiens de cuisson adaptés au plan de travail choisi mettra également d'améliorer l'efficacité de la cusinière.
Ne faites pas glisser de-scripte du cuisson sur la surface de cuisson car vous risquez de rayer le verre. Meme s'il est capable de résister aux rayures, le verre en conserverait les marques. Les instruments pointus, les bagues ou autres bijoux et les boutons de vêtements peuvent rayer la surface de la table de cuisson.
N'utilisez pas la surface de cuisson pour couper des algo-
ments.
Ne rangez pas d'objets lourds au-dessus de la table de cuisson. Ils risqueraient de l'abîmer en cas de chute.
Toutes les parties de la cusinière deviennent chaudes lorsque l'appareil est en marche et resteront chaudes même lorsque la cuisson est terminée.
Au besoin, utilisez des gants de cuisine secs - l'emploi de gants humides risque de causeur des brûlures dues à la vapeur lors du contact avec une surface chaude. Ne faites jamais fonctionner la cusinière avec des mains mouillées.
N'utilise pas de torchon ou autre chiffon épais à la place d'un gant de cuisine. Ils risquent de s'enflammer au contact d'une surface chaude.
Nettoyez la table de cuisson avec précaution. Si vous utilisez une éponge ou un chiffon humide pour essuyer des taches sur une surface chaude, prenez garde aux brûlures par la vapeur. Certains produits nettoyants peuvent produit des vapeurs nocives au contact d'une surface chaude.
N'utilise pas de casseroles instables et tournez les manches vers l'intérieur de la table de cuisson.
Ne laissez jamais les bébés, les tout-petits et les jeunes enfants s'approcher de la cusinière. Ne les laissez jamais s'asseoir ni monter sur une partie de la cusinière. Apprenez-leur à ne pas journer avec les commandes ou avec une partie quelconque de la cusinière.
Ne rangez jamais dans des placards au-dessus d'une cuisine qui que ce soit susceptible d'attirer l'attention des enfants - des enfants grimpant sur une cuisine pour atteindre des objets risquent de se blesser gravement.
Nettoyez uniquely les pieces indiquées dans les générées instructions.
Pour des raisons d'hygiene et de sécurité, la cusinière doit toujours être propre, afin de prévenir le risque d'incendie causé par l'accumulation de graisse et autres particules alimentaires.
Veillez à ce que les revêtements muraux inflammables, rideaux, etc. soient toujours suffisamment éloignés de la cuisine.
N'utilisez pas d'aerosols à proximé de la cusinière lorsque celle-ci est en marche.
N'entreposez pas de matériaux combustibles ou de liquides inflammbables à proximé de la cuisineire.
N'utilisez pas d'eau pour eteindre les incendies dus à la graisse. Ne soulevez jamais un recipient de cuisson qui a pris feu. Eteignez la cusinière. Etouffez un recipient qui a pris feu, sur un plan de travail, en le recouvrant complete
ment avec un couvercle de taille appropriée ou une plaque de cuisson. Si possible, utilisez un extincteur à poudre chimique ou à mousse de type polyvalent.
Ne laissez jamais la cuisine en marche sans surveillance si les brûleurs de la table de cuisson sont régles sur maximum. Le débordement des recipients de cuisson peut produit de la fumée et des taches de gras qui risquent de s'enflammer.
Ne portez pas de vêtements amples ou flottants lorsque vous utilisez la cuisineire. Prenez garde lorsque vous essayez d'atteindre des objets dans des placards situés au-dessus de la table de cuisson. Des matérielux inflammbables risquent de s'enflammer au contact d'une surface chaude et provoquer des brûlures graves.
Faites très attention lors du chauffage des graisses et des huiles car celles-ci risquent de s'enflammer en cas de surchauffe.
Si possible, utilisez un thermomètre à bain de friture pour prévenir une surchauffe de l'huile au-delà du point de fumée.
Ne laissez jamais une friteuse sans surveillance. Faites toujours chauffer l'huile lentement, en la surveillant. Les friteuses ne doivent être remplies qu'à un tiers de leur capacité. Une friteuse trop pleine peut déborder lorsqu'on y plonge des alimentents. Si vous utilisez un mélange d'huile et deGRAISSER pour la friture, mélangez-les avant de chauffer, ou pendant la fonte des graisses.
Les aliments à frire doivent être le plus sec possible. La présence de cristaux de glace sur des aliments congelés ou d'humidité sur des aliments frais peut provoquer une ébullition et un débordement de l'huile. Surveillance attentivement pour prévenir les débordements et la surchauffe pendant la friture à haute ou moyenne température. N'essayez jamais de déplacer un recipient de cuisson contenant de l'huile chaude, en particulier une friteuse. Attendez que l'huile ait refroidi.
Lorsque le grill est en marche, ne vous servez pas de la grille d'évacuation (la grille le long de la partie arrêté de la cusinière) pour réchauffer des assiettes ou des plats, secher des torchons ou ramollir du beurre.
Veillez à prévenir toute infiltration d'eau dans la cusinière. Seuls certains types de recipients en verre, vitrocérémente terre cuite ou autres recipients émailles peuvent etre utilisés sur la table de cuisson ; les autres risquent de se briser en raison du changement soudain de température.
N'autorisez personne à grimper, se tenirABOUT ou s'accrocher sur ou à une partie de la cuisineire.
Ne recouvre pas les grilles, les panneaux internes ou la voûte du four de papier aluminium.
Veillez à ce que la cuisine soit bien ventilée en permanence. Utilisez des extracteurs ou des hottes aspirantes dans la mesure du possible.
Ne chauffez jamais des recipients alimentaires qui n'ont pas eté ouverts. La pression accumulée à l'intérieur du recipient peut le faire éclater et blesser l'utilisateur.
La cuisine est donc uniquement pour la cuisine domestique et ne doit pas etre utiliser à d'autres fins.
N'UTILISEZ PAS le four pour chauffer la cuisine; non seulement c'est un gaspillage l'énergie, mais il peut y avoir surchauffe des boutons de commande.
Lorsque le four est en marche, NE LAISSEZ PAS la portedu four ouverte plus longtemps que nécessaire.
Les caractéristiques techniques de cette cuisine ne doivent pas été modifiées.
Cet apparéil est lourd; prenez garde lorsque vous le déplacez.
Lorsque la cuisine n'est pas utilisé, vérifie que les boutons de commande sont sur la position Arrêt (Off).
Entretien et pieces de rechange
Veuillez replir la fiche technique ci-dessous et la conserver à des fins de référence ultérieure – cette information nous permettra d'identifier exactement votre cusinière et de mistrés répondre à vos besoin. Cette fiche vous fera gagner du temps et vous sera très utile plus tard en cas de problème concernant votre cusinière. Nous vous conseillons également de conserver votre reçu d'achat avec la présente brochure. Vous devrez peut-êtreprésenter ce reçu pour valider une visite sur place dans le cadre de la garantie.
La garantie couvre uniquement les éraflures sur la table de cuisson signalées dans les 14 jours après l'installation de la cusinière. Elle ne couvre pas les éraflures résultat de l'utilisation de l'appareil.
| Type de combustible : Vitrocéramique électrique |
| Nom et Couleur de l'appareil* Elan 90 Cermic |
| Appliance Serial Number * |
| Numéro de série de l'appareil* |
| Date d'achat |
| Nom et Adresse de l'installateur |
| Date d'installation |
- Cette information figure sur le badge technique de l'appareil.
En cas de problème
Dans le cas peu probable où vous auriez un problème avec votre cuisinière, veuilles d'abord dire le reste de la présente brochure, en particulier la section de dépannage, pour vérifier que l'appareil est utilisé correctement.
Si le problème persististe, contactez votre fournisseur.
François
Nota
Si vous appeareil n'est plus couvert par la garantie, notre fournisseur de services d'entretien peut vous facturer cette visite.
Si vous nevez faire appel à un technicien d'entretien et si le défaut n'est pas la responsabilité du fabricant, notre fournisseur de services d'entretien se réserves le droit de facturer son intervention.
Les rendez-vous non respectés par le client peuvent être facturés.
Après la période de garantie
Nous recommendons un entretien périodique de nos apparciels pendant toute leur vie utile afin de garantir des performances et une efficacité optimes.
Les travaux d'entretien doivent être effectuels uniquement par des personnes techniquement compétentes et qualifiées.
Pèces de rechange
Pour garantir une performance optimale et sure, nous recommandons l'utilisation exclusive de pieces d'origine. N'utilise pas de commandes de gaz remises à neuf ou non autorisées. Contactez votre fournisseur.
Installation
Cette cusinière est conçue uniquement pour un usage domestique. Toute autre utilisation n'engage ni la responsabilité, ni la garantie du fabricant.
Mesures/Règlements de sécurité
Cette cusinière doit être installée par un électricien qualifié, conformément à la réglementation appropriée et aux prescriptions de la compétence d'électricité locale. Lisez les instructions avant d'installer ou d'utiliser cet apparéil.
Avant l'installation, vérifie que la cusinière convient à la tension d'alimentation électrique. Reportez-vous au badge technique.
L'installation de la cusinière nécessitera l'emploi du matériel indiqué cédssous.
Multimetre (pour les contrôles électriques)
Un mètre en acier
Un tournevis cruciforme
Un niveau à bulle
Un outil de mise à niveau de cuisine (fourni dans le pack)

Positionnement de la cusinière
La table de cuisson doit être au niveau ou au-dessus de tout plan de travail adjacent. Au-dessus du niveau de la table de cuisson, laissez un espace de 75mm entre chaque côte de la cusinière et toute surface verticale adjacente.
Pour les surfaces non-combustibles (telles que le métal non peint ou les carrelings) cette cote peut être de 25 mm.
Laissez un espace de 650~mm au minimum entre la partie supérieure de la table de cuisson et une surface horizontale combustible

- Toute hotte de cusinière doit être installée conformément aux instructions du fabricant de hotte.
Les surfaces des meubles et des murs de chaque côte et à l'arrière de l'appareil doivent être résistantes à la chaleur, aux éclaboussures et à la vapeur. Certains types de meubles de cuisine en vinyle ou en stratifié sont particulièrement susceptibles aux risques de dommages thermiques et de décoloration. Nous déclinons toute responsabilité pour des dommages résultat d'une'utilisation normale de la cusinière et subis par des matériaux qui se décollent ou se décolorent à des températures situées dans une fourchette de 65^ au-dessus de la température ambiente.
Par mesure de sécurité, ne placez pas de rideaux directement derriere la cuisine.
Nous recommendons de laisser un espace de 910 mm entre les unités pour permettre le déplacement de la cusinière. Si la cusinière doit être encastrée, placez-la à niveau avec l'élement d'un côte, puis montez l'élement de l'autre côte. La cusinière ne doit pas être totally encastrée. En effet, il doit être possible de la déplacer vers l'avant et vers l'arrière pour la nettoyer et pour y acceder lors des interventions de dépannage. Ne placez pas la cusinière sur un support.

Si la cusinière est pres d'un coin de la cuisine, un dégagement de 130 mm est nécessaire pour permettre l'ouverture des portes du four.
Déballage de la cuisineire
La cusinière est très lourde. Prenez garde lorsqu vous la déplacez. Nous recommendons de faire appel à deux personnes pour déplacer la cusinière. Assurez-vous que le revêtement du sol est solidement fixé en place ou retirez-le afin d'éviter de l'abîmer en déplaçant la cusinière.
N'enlevez aucun emballage de la cusinière tant que celle-ci n'est pas directement en face de l'emplacement où elle sera installée (sauf si, dans son emballage externe, la cusinière ne peut pas passer par une porte).
Reportez-vous à la feuille volante relative au déballage.
Mise à niveau
Nous vous recommendons d'utiliser un niveau à bulle placé sur une des grilles de four pour vérifier le niveau.
Placez la cusinière à l'emplacement prévu pour son installation, en veillant à ne pas exercer de force de torsion lorsque vous l'insérez entre les éléments de cuisine, pour ne pas l'endommager ou endommager les éléments.
Les supports avant et les galets arrêté réglibes permettent la mise à niveau de la cusinière. Pour régler la hauteur de l'arrière de la cusinière, utilisez l'outil de mise à niveau fourni pour tourner les écrous de réglage aux coins avant inférieurs de l'appareil.

Pour régler les supports avant, tournez les socles pour lever ou abaiser.
Montage des poignées (uniquement sur certains modèles)
Déposez les vis Allen 4 mm des portes à l'aide de la clé hexagonale. Montez les poignées de portes à l'aide des vis.

Les poignées doivent être au-dessus des fixations.

Les poignées doivent être au-dessus des fixations. Placez les obturateurs en plastique sur les trous de fixation.
Déposez les vis Allen 4 mm des coins supérieurs du panneau avant et montez la barre ornamentale avant.

Montage du dosseret (en option - uniquely sur certains modèles)

vue depuis l'arrière de la cuisineire
Déposez les deux vis de fixation (vis à pans creux hexagonales 3 mm) et les écrous qui traversent la partie supérieure de la grille arrière. Maintenez le dosseret en place. De l'arrière, replacez les 2 vis et les écrous.
Raccordement électrique
Cette cusinière doit être installée par un électricien qualifié, conformément à la réglementation appropriée et aux prescriptions de la compétence d'électricité locale.
MISE EN GARDE : CET APPAREIL DOIT ETRE MIS A LA TERRE
Remarque
La cusinière doit être raccordée à l'alimentation électrique correcte, indiquée sur l'étiquette de tension sur l'appareil, par le biais d'une unité de commande de cusinière appropriée à interrupteur bipolaire (avec une séparation de contact de 3 mm au minimum entre les pôles). Cette cusinière ne doit pas être raccordée à une prise d'alimentation domestique ordinaire.
La charge électrique totale de cet apparéil est de 14,8 kW environ. Le cable utilisé doit avoir un calibre adapté à la charge et être conforme à toutes les prescriptions locales.
Pour acceder au bornier d'alimentation secteur, retirez le boitier électriche sur le panneau arriere.
Raccordez les câbles d'alimentation secteur aux bornes correctes pour votre type d'alimentation électrique. Veuillez notes que le calibre de cable maximum est de 6 mm2 pour les bornes de vis et de 10mm2 pour les fils à trois dents.

François

Vérifiez que les connecteurs sont montés correctement et que les vis des bornes sont bien serrées. Fixez le cable d'alimentation secteur à l'aide du serre-câble.
Disjoncteurs-detecteurs de fuites de terre commandés par injection de courant
Lorsque l'installation de la cusinière est protégée par un dispositif pour courant résiduel (DCR) d'une sensibilité de 30 milliampères, l'utilisation combinée de votre cusinière et d'autres apparèils domestiques peut occasionnellement cause des disjonctions fortuites. Dans ce cas, il est utile de protéger le circuit de la cusinière avec un dispositif de 100mA . Cette intervention doit être effectue par unElectricien qualifié.
Surface de cuisson
Allumez chaque surface de cuisson et vérifie qu'elle commence à chauffer.
Grill
Ouvrez la porte de l'enceinte du grill. Tournez le bouton de commande du grill et vérifie que le grill commence àCHAuffer.
Contrôle des jours
L'horloge doit être réglée sur l'heure actuelle pour que les jours puissant fonctionner.
Pour le réglage de l'horloge, voir la section « Horloge »
Allumez les jours et vérifie qu'ils commencer à chauffer. Eteignez les jours.
Montage de la plinthe
Dévissez les 3 vis le long du bord inférieur avant de la cusinière. Insérez l'encoche centrale en forme de trou de serrure sur la vis centrale. Tournez et insérez les encoches d'extrémités en trou de serrure sur leurs vis respectives. Serrez les vis de fixation.
Eclairages des jours
Appuyez sur les interrupteurs d'éclairage des jours et vérifie que l'éclairage fonctionne.
N.B. Les ampoules des éclairages des jours ne sont pas inclues dans la garantie.
Conseils à la clientèle
Veuillez indiquer au client comment faire fonctionner la cusinière et lui remetter les générantes instructions.
Merci.
Notice d'entretien
Débranche l'alimentation d'électricité avant toute intervention d'entretien, notamment si vous nevez resterir l'un des éléments suivants : panneau de commande, panneaux lateraux, table de cuisson en ceramique ou l'un des composants électriques ou des boitiers. Avant de rebrancher l'alimentation électricque, effectuez les contrôleires de sécurité nécessaires.
1. Retrait d'un panneau létral
Débranche l'alimentation d'électricité.
Tirez la cuisine vers l'avant.
Tirez sur les chapeaux d'extrémité du panneau de commande à ajustage appuyé et retirez les vis de fixation d'extrémité situées sous le chapeau d'extrémité.
Retirez les vis de fixation de chaque panneau (1 à l'avant et 2 à l'arrière). Les vis de fixation de la partie inférieure avant (une de chaque côte) sont situées sous le bord inférieur au niveau des angles avant des panneaux lateraux.
Remontez en procédant dans l'ordre inverse.
2. Pour soulever la table de cuisson en céramique
Tirez la cuisine vers l'avant.

Tirez sur les chapeaux d'extrémité du panneau de commande à ajustage appuyé et retirez les vis de fixation d'extrémité situées sous le chapeau d'extrémité.
Déposez les vis de fixation de la partie inférieure avant (une de chaque côte) situées sous le bord inférieur au niveau des angles avant des pan-neaux lateraux.
Faites pivoter les panneaux latraux pour acceder aux vis de fixation de la table de cuisson (une de chaque côté) au niveau de l'avant supérieur des montants latraux. Déposez ces vis.
Attention
Le matériel de la table de cuisson est beaucoup plus susceptible de rayer sur le dessous que sur la surface supérieure.
Soulevez la table de cuisson en céramique à l'avant et placez-la sur un support non métallique.
Veillez à ne pas toucher ni rayer le dessous de la partie céramique car ceci risque d'affaibrir sa résistance et de faire éclater la surface de cuisson.
3. Replacement de l'élément table de cuisson
Soulevez la table de cuisson comme indiquée plus haut au point 2. A present, vous pouvez acceder aux éléments.
4 Retrait du panneau de commande
Débranche l'alimentation d'électricité.
Déposez la barre ornamentale en retardant les 2 vis de fixation de support d'extrémité.

Tirez sur les chapeaux d'extrémité du panneau de commande à ajustage appuyé et retirez les vis de fixation d'extrémité situées sous le chapeau d'extrémité.
Tirez pour enlever tous les boutons de commande. Ouvrez les portes du four et du gril et retirez les vis de fixation du panneau de commande audessous du panneau de commande. Les vis situées juste sous l'horloge sont destinées au support de fixation de l'horloge. Ne les retirez pas.

Tirez le panneau de commande vers l'avant et débranchez le câblage de l'arrière.
Remontez en procédant dans l'ordre inverse. Pour remettre les fils électriques, reportez-vous au schéma de câblage. Contrôlez le fonctionnement de la minuterie.
5. Retrait de l'interrupteur d'éclairage du four
Retirez le panneau de commande (voir point 4).
N.B. Il se peut que l'ancien interrupteur soit détruit au cours de l'opération de retrait.
Retirez le bouton d'interrupteur et l'ancien interrupteur de l'encadrement en prenatal bien en main le corps de l'interrupteur depuis l'arrière du panneau de commande et en tournant d'un coup sec.
Retirez ensuite l'encadrement de l'interrupteur en returnant les languettes de verrouillage et poussez vers l'avant. Posez le nouvel encadrement sur le panneau de commandes. Commencez par aligner la clé en relief figurant sur la partie principale avec la découpe du panneau de commandes, puis poussez en place depuis l'avant. Montez le nouvel interrupteur sur l'encadrement en alignant les parties-clés et en enforcant pour lemettre en place. Posez le nouveau bouton en le poussant depuis l'avant.
Remettez le panneau de commande en place en procédant dans l'ordre inverse et effectuez un essai pour vérifier que l'interrupteur fonctionne correctement.
6. Retrait de la miniterie électronique
Débranche l'alimentation d'électricité.
Retirez les boutons de commande de la minuterie et déposez le panneau de commande (voir point 4). Retirez l'ensemble de minuterie/support de montage du panneau de commande en retardant les deux vis de fixation. Retirez la minuterie de son support de montage en appuyant sur les languettes en plastique situées sur le boîtier de la minuterie tout en tirant l'unité vers l'avant.
Remontez en procédant dans l'ordre inverse. Pour remettre les fils électriques, reportez-vous au schéma de câblage. Contrôlez le fonctionnement de la minuterie.
7. Retrait d'un thermostat
Soulevez le haut de la table de cuisson en céramique (voir point 2). Retirez le panneau de commande (voir point 4). Ouvrez la porte de four appropriée et déposez les éléments de cuisson du four.
Four principal (droit)
Retirez le couvercle du tube en verre du thermostat (2 vis). Dégagez le tube en verre du thermostat des clips de retenue sur l'arrière du four.
Four haut
Déposez la partie arrière interne du four - voir point 18. Dégagez le tube en verre du thermostat des clips de retenue sur l'arrière du four.
Sortez le tube capillaire du four. Débranchez le câblage du thermostat. Déposez les deux vis retenant le thermostat au panneau de montage. Posez le nouveau thermostat et réassemblez en procédant dans l'ordre inverse. Vérifié que le tube en verre est solidement fixé à l'arrête du four et qu'il est positionné entre les clips de retenue.
Contrôlez le fonctionnement du thermostat.
8. Remplacement d'un contrôleur de grill
Soulevez le haut de la table de cuisson en céramique (voir point 2). Retirez le panneau de commande (voir point 4). Débranchez le cablage du contrôleur. Déposez les deux vis retenant le contrôleur au panneau de montage. Posez le nouveau contrôleur et réassemblez en procédant dans l'ordre inverse. Vérifiez que le contrôleur fonctionne correctement.
9. Démontage de panneau extérieur de porte de four
Ouvrez la porte du four gauche et déposez 2 vis sur le bord inférieur de la porte du grill. Ouvrez la porte du grill, soutenez le panneau extérieur de la porte du grill et déposez deux vis sur la face interne supérieure de la porte du grill.
Remontez en procédant dans l'ordre inverse.
10. Déposse de la porte du grill
Déposez le panneau gauche (voir point 1). Retirez le panneau de commande (voir point 4). Retirez la cordure de protection centrale (5 vis - 2 en haut, 2 en bas et une au milieu). Retirez les deux vis à tête noyée (1 de chaque côté) qui retiennent les bras articulés du grill à l'avant de l'enceinte du grille.
REMARQUE : Les bras sont retenus par ressort. Procedez avec soin pour-retirer la porte du gril. Conservez les joints.
Procedez au réassemblage dans l'ordre inverse, en vérifiant que le joint est monté entre le bras articulé et l'avant de l'enceinte du grill.
10. Retrait de la porte du four principal
Ouvrez la porte du four et retirez le Handyrack (le cas échéant) en faisant sorter un côté du support de la porte et en faisant glisser l'autre pour extraire le tout. Soutenez la porte et déposez les deux vis retenant la charnière supérieure et le joint à l'avant du four. Retirez la porte de la charnière inférieure en la levant légèrement afin de la dégager de l'appareil.
Remontez en procédant dans l'ordre inverse.
11. Remplacement de panneau extérieur de porte de four principal
Avancez la cuisine a fin de pouvoir acceder aux cotes.
Entrouvre la porte du four et retirez les vis de fixation du panneau avant des côtes de porte (deux de chaque côté).

Soulevez le panneau de porte extérieur avec précaution.
Retirez la poignée de porte du panneau en dévisant les 2 écrous de retenue. Posez la poignée de porte sur le nouveau panneau.
Posez le panneau sur la porte. Remontez en procédant dans l'ordre inverse.
12. Remplacement du verrouillage de porte du four principal
Retirez le panneau de porte extérieur (voir point 15). Retirez les vis "B" fixant l'ensemble du dispositif de verrouillage au panneau de porte extérieur. Posez le nouveau loquet et réassemblez en procédant dans l'ordre inverse.
Vérifiez que la porte fonctionne correctement.

13. Remplacement du joint d'étanchéité de porte de four
Ouvrez la porte du four. Le joint est maintain en place à l'aide de petits crochets placés sur la face arrière. Depuis l'angle, tirez sur le joint dans le sens de la diagonale et à l'écart du centre de la porte, jusqu'à ce que le crochet se défasse. Passez au crochet suivant et libreze-le, ainsi que les suivants, selon le même procédé. Vous pouvez forcer si les crochets résistant car l'ancien joint sera mis au rebut.
François

Lors de la pose d'un nouveau joint, positionné le raccord dans le bas. Accrochez le nouveau joint dans l'un des orifices situés à un angle de la porte et poursuivez l'opération sur tout le tour de façon àmettre chaque crochet en place.
14. Réglage de la gâche du loquet de porte du four principal
Ouvrez la porte du four, desserrez l'écrou de verrouillage à la base de la gâche et serrez ou desserrez jusqu'à obtention du réglage requis. Resserrez l'écrou de verrouillage.
15. Retrait de la partie arrêté interne du four ventilé
Ouvrez la porte du four croit et retirez les 4 vis et rondelles retenant la partie arrrière interne à l'arrière du four. Soulevez la partie arrrière interne en procédant avec précaution. Réassemblez dans l'ordre inverse, en veillant à serrer à fond les 4 vis et rondelles.
16. Retrait de la porte du four haut
Ouvrez la porte du four, soutenez la porte et déposez les deux vis retenant la charnière supérieure et le joint à l'avant du four. Retirez la porte de la charnière inférieure en la levant légèrement afin de la dégager de l'appareil.
Remontez en procédant dans l'ordre inverse.
17. Remplacement de panneau extérieur de porte de four haut
Déposez la porte du four - voir point 16. Posez la porte face vers le bas sur une surface adéquate et déposez deux vis du bord inférieur et 2 vis de la face interne de la porte.
Retirez le panneau de porte extérieur Retirez la poignée de porte en dévissant 2 vis. Retirez les 2 vis cruciformes retenant le support de fixation de poignée de porte au panneau de porte. Posez le support de poignée de porte et la poignée de porte sur le nouveau panneau.
Posez le panneau sur la porte. Veillez à ce que la bague en caoutchouc assure l'étanchéité du capteur du Thermodial sur la porte.

Remontez en procédant dans l'ordre inverse.
18. Remplacement du verrouillage magnétique de porte du four haut
Retirez le panneau de commande (voir point 4).
Retirez la plinthe (3 vis) et le couvercle vertical central (5 vis). Soulevez pour-retirer le clip de l'élément magnétique. Posez le nouvel élément et le clip de retenue.
Remontez en procedant dans l'ordre inverse.
Vérifiez que la porte fonctionne correctement.
19. Remplacement du ventilateur de four Debranchez l'alimentation d'électricité.
Avancez la cusinière afin de pouvoir acceder à la partie arrrière. Retirez les vis retenant le couvercle électrique à la plaque arrrière et retirez le couvercle. Débranchez les 3 bornes raccordées au ventilateur ennant note de leur emplacement. Retirez la partie arrrière interne du four (voir point 15). Maintenez la pale du ventilateur et défaites l'écrou central (fil-tage gauche), les 2 rondelles en cuivre, la pale et le jonc d'arrêt. Dévissez les écrous de blocage et les rondelles (3 de chaque) et retirez le ventilateur de la partie arrrière de la cusinière. Posez le nouveau ventilateur et réassemblez en procédant dans l'ordre inverse. Contrôlez le fonctionnement du four.
20. Retrait de l'élément du four ventilé
Débranche l'alimentation d'électricité.
Avancez la cusinière afin de pouvoir acceder à la partie arrrière. Retirez les vis retenant le couvercle électrique à la plaque arrrière et retirez le couvercle. Débranchez les 3 bornes raccordées à l'élement en prenatal note de leur emplacement. Retirez la partie arrrière interne du four (voir point 15). Déposez 2 vis situées en haut de l'élement et 1 vis se trouvant en bas de l'élement à l'intérieur du four. Procedez avec précaution pour extraire l'élement. Posez le nouvel élément et réassemblez en procédant dans l'ordre inverse. Contrôlez le fonctionnement du four.
21. Dépose d'élement du grill
Débranche l'alimentation d'électricité.
Avancez la cusinière afin de pouvoir acceder à la partie arrrière. Retirez les vis retenant le couvercle électrique à la plaque arrrière et retirez le couvercle. Débranchez les 4 bornes raccordées aux éléments en prénant note de leur emplacement. Déposez la lèchefrite de l'enceinte du grill. Dans l'enceinte du grill, retirez la protection émaillée avant de la voûte du grill, les 2 vis et les rondelles. Retirez les 2 vis et les rondelles retenant le support avant d'élement du grill. Retirez une vis de chacun des éléments du grill et enlevez les éléments de l'enceinte. Posez les nouveaux éléments et réassemblez en procédant dans l'ordre inverse. Contrôlez le fonctionnement du grill.
22. Retrait des éléments inférieur et supérieur du four gauche
Débranche l'alimentation d'électricité.
Elément inférieur
Avancez la cusinière afin de pouvoir acceder aux boîtiers situés à l'arrière de l'appareil. Retirez les fixations retenant le couvercle et soulevez pour le retarder.
Retirez les 2 vis « A » de façon à permettre à la plaque de descendre.

Défaites les branchements de borne en veillant à prendre note de leurs emplacements.

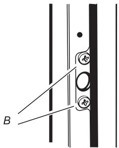
Retirez les fixations de support d'objet « B » et enlevez l'objet. Remplacez l'objet et remontez en procédant dans l'ordre inverse.
Elément supérieur
Ouvrez la porte de four gauche et defaites les fixations retenant l'écran thermique. Retirez les fixations de support d'élement supérieur et enlevez l'élement. Remplacez l'élement et remontez en procédant dans l'ordre inverse. Vérifiez que le four fonctionne correctement.
Fiche technique
NOTICE A L'INSTALLATEUR : Veuillez remetre les presentes instructions à l'utilisateur.
EMPLACEMENT DU BADGE TECHNIQUE : Arrière de la cusinière, badge de répétition du numéro de série sous l'ouverture de la porte du four. Dimensions
| Hauteur totale | minimum 900 mm | maximum 925 mm |
| Largeur totale | 900 mm (Reportez-vous à la section « Positionnement de la cuisine ») | |
| Profondeur totale | 648 mm | |
| Emplacement prévu pour fixation | Reportez-vous à la section « Positionnement de la cuisine » | |
| Espace minimum au-dessus de la table de cuisson | 650 mm | |
Capacités
Charge totale A 230V 15,6 kW (valeur totale approximative complenant l'éclairage de four, le ventilateur du four, etc.)
Table de cuisson :

| Fours | Multifonctions | Convection forée |
| 2.5kW | 2.5kW | |
| Classement selon son efficacité énergétique sur une échelle allant de A (économe) à G (peu écconome) | B | B |
| Consommation d'énergie Calculée en charge normalisée | 0.90kWh | 0.95kWh |
| Volume utile (litres) | 62 | 53 |
| Type | Volume moyen | Volume moyen |
| Temps de cuisson en charge normale (minutes) | 41 minutes | 49 minutes |
| Surface de cuisson | 1400cm² | 790cm² |
| Gril | 2.3kW |


Scheme de câblage
Le raccord indiqué sur le schéma de câblage est pour une alimentation monophasée. Les capacités nominales sont pour 230 V 50 HZ
A Regulateur d'énergie à circuit double de l'extrémité droit de la table de cuisson
B Régulateur d'énergie de la partie arrêté droite de la table de cuisson
C Régulateur d'énergie de la partie avant droite de la table de cuisson
D Régulateur d'énergie de la partie avant gauche de la table de cuisson
F Régulateur d'énergie à circuit double de la partie arrêté gauche de la table de cuisson
G Contrôleur gauche de chauffe-plats/table de cuisson
H Horloge
J1 Thermostat du four multifonctions
J2 Interrupteurs des fonctions du four multifonctions
J3 Ventilateur du four multifonctions
J4 Element de ventilateur du four multifonctions
J5 Elément de gratinage du four multifonctions (paire intérieure)
J6 Elément de voute du four multifonctions (paire extérieure)
J7 Element de sole du four multifonctions
K1 Thermostat du four croit
K2 Interrupteurs du four droit
K3 Ventilateur du four droit
K4 Element de four ventilé droit
M1 Interrupteur de ventilateur de refroidissement
M2 Ventilateur de refroidissement
N Borne neutre
Q1 Regulateur de puissance du grill
Q2 Éléments du grill
R Indicateurs de panneau de commande à néon
S Indicateurs de table de cuisson à neon
T1 Interrupteur d'éclairage du four
T2 Ampoule d'éclairage du four
U Protecteur thermique
Code couleur
b Bleu
bl Noir
br Brun
or Orange
Rouge
Violet
W Blanc
y Jaune
Notice Facile