TSFO1DGEU - Grille pain DOLCE GABBANA - Notice d'utilisation et mode d'emploi gratuit
Retrouvez gratuitement la notice de l'appareil TSFO1DGEU DOLCE GABBANA au format PDF.
| Type d'appareil | Petit électroménager |
| Origine | Fabriqué en Italie |
| Design | Édition spéciale avec créativité unique |
| Collaboration | Smeg & Dolce&Gabbana |
| Usage | Usage domestique |
| Matériaux | Non précisé |
| Couleur | Non précisé |
| Dimensions | Non précisé |
| Poids | Non précisé |
| Puissance | Non précisé |
| Fonctions | Non précisé |
| Garantie | Non précisé |
| Accessoires inclus | Non précisé |
| Facilité d'entretien | Non précisé |
| Sécurité | Non précisé |
| Compatibilité | Non précisé |
FOIRE AUX QUESTIONS - TSFO1DGEU DOLCE GABBANA
Questions des utilisateurs sur TSFO1DGEU DOLCE GABBANA
0 question sur cet appareil. Repondez a celles que vous connaissez ou posez la votre.
Poser une nouvelle question sur cet appareil
Téléchargez la notice de votre Grille pain au format PDF gratuitement ! Retrouvez votre notice TSFO1DGEU - DOLCE GABBANA et reprennez votre appareil électronique en main. Sur cette page sont publiés tous les documents nécessaires à l'utilisation de votre appareil TSFO1DGEU de la marque DOLCE GABBANA.
MODE D'EMPLOI TSFO1DGEU DOLCE GABBANA
Nous vous remercions d'avoir acheté un petit appareil électroménager de l'édition spéciale Smeg - Dolce&Gabbana, Sicily is my love.
Smeg et Dolce&Gabbana associant leurs veines artistiques donnant vie à une collection unique, originale Made in Italy, réalisée par Smeg avec une créativité unique signée Dolce&Gabbana.
Nous espérons que vous pourrez apprécier pleinement votre appareil électroménager, nous vous présentons nos salutations les plus cordiales, SMEG S. p. A.
Sommaire
1.1 Introduction 34 1.2 Ce manuel d'utilisation 34 1.3Utilisation prévue 34 1.4 Avertissements généraux de sécurité 35 1.5 Responsabilité du fabricant 36 1.6 Plaque d'identification 36 1.7 Élimination 36
2 Description 37
2.1 Description du produit 37 2.2 Panneau de commandes 38
3 Utilisation 39
3.1 Avant la première utilisation 39 3.2 Fonctionnement 40 3.3 Fonctions spéciales 41 3.4 Utilisation des accessoires en option 42
4 Nettoyage et entretien 44
4.1 Avertissements 44 4.2 Nettoyage des surfaces 44 4.3 Nettoyage ordinaire quotidien 44 4.4 Taches d'aliments ou résidus 44 4.5 Nettoyage du tiroir ramasse-miettes 45 4.6 Nettoyage du portesandwich et du support viennoiserie en option 45
1.1 Introduction
Informations importantes pour l'utiliser :
Avertissements

Informations générales sur ce manuel d'utilisation, la sécurité et l'élimination finale.
Description

Description de l'appareil et de ses accessoires.
Utilisation

Informations sur l'utilisation de l'appareil et des accessoires, conseils de cuisson.
Nettoyage et entretien

Informations pour un nettoyage et un entretien corrects de l'appareil.

Avertissement de sécurité

Information

Suggestion
1.2 Ce manuel d'utilisation
Ce manuel d'utilisation fait partie intégrante de l'appareil. Conservez-le en parfait état et à portée de main de l'utilisateur pendant tout le cycle de vie de l'appareil.
1.3 Utilisation prévue
Utilisez l'appareil uniquement à l'intérieur. Le dispositif a été spécialement conçu pour un usage domestique. Il ne peut être utilisé que pour griller le pain. N'utilisez pas l'appareil à des fins autres que son utilisation prévue. - Respectez scrupuleusement les notes et les suggestions indiquées dans le manuel d'utilisation. Utilisez l'appareil exclusivement pour griller du pain. - On peut utiliser l'appareil pour la préparation de sandwiches uniquement en utilisant le porte-sandwich spécifique (vendu séparément). - Le contact des aliments ou d'autres substances avec les éléments chauffants peut produire de mauvaises odeurs, des fumées et endommager l'appareil. - Cet appareil n'est pas conçu pour fonctionner avec des temporisateurs externes ou des systèmes de commande à distance. - Cet appareil ne peut pas être utilisé par des enfants de plus de 8 ans et des personnes ayant des capacités physiques, sensorielles ou mentales réduites, ou manquant d'expérience et de connaissances, à moins qu'elles ne soient assistées ou qu'elles reçoivent la formation d'adultes et de personnes responsables de leur sécurité. - Les enfants ne doivent pas jouer avec l'appareil. Gardez l'appareil hors de portée des enfants.
1.4 Avertissements généraux de sécurité
Suivez toutes les instructions de sécurité pour une utilisation sèvre de l'appareil.
- Ne plongez pas l'appareil, le cordon d'alimentation ou la fiche dans l'eau ou tout autre liquide.
- N'utilisez pas l'appareil si le cordon d'alimentation ou la prise sont endommagés ou si l'appareil est tombé ou endommagé de chaque façon.
- Ne placez pas l'appareil sur ou près d'un brûleur à gaz ou électrique ou dans un four chauffé. Le câble est court pour éviter les accidents. N'utilisez pas une rallonge.
- En cas de panne, ne faire réparer l'appareil que par un technicien qualifié.
- Mettez l'appareil hors tension après l'utilisation.
- N'essayez jamais d'éteindre une flamme ou un incendie avec de l'eau : mettez l'appareil hors tension, retirez la fiche de la prise de courant et couvrez la flamme avec un couvercle ou une couverture ignifugée.
- Lisez attentivement ce manuel d'utilisation avant d'utiliser l'appareil.
- Ne modifiez pas cet appareil.
- N'essayez jamais de réparer l'appareil sans l'intervention d'un technicien qualifié.
- Si le câble d'alimentation électrique est abimé, contactez immédiatement le service d'assistance technique.
Pour cet appareil
- Le grille-pain peut atteindre des températures élevées durant le fonctionnement. Ne touchez pas les surfaces chaudes. Utilisez la manette et les fonctions de commande, le levier de descente du pain et les accessoires en option.
- Enlevez la fiche de la prise lorsque le grille-pain n'est pas utilisé, avant de le nettoyer et en cas de panne. Laissez l'appareil refroidir avant de le nettoyer. Le pain peut brûler. N'utilisez pas l'appareil à proximité ou sous des matériaux inflammables tels que les rideaux.
- Vérifiez que le levier du grille-pain est soulevé avant d’insérer ou d’enlever la fiche. Assurez-vous que l’air puisse circuler librement autour du grille-pain. Ne placez aucun objet sur le grille-pain.
- N'essayez pas d'enlever le pain du grille-pain lorsqu'il fonctionne.
- Pendant l'utilisation, ne placez pas sur l'objet des objets métalliques tels que couteaux, fourchettes et cuillères.
- N'utilisez pas d'objets métalliques tels que couteaux, fourchettes, cuillères pour nettoyer le grille-pain.
- Les opérations de nettoyage ne doivent pas être effectuées par des enfants sans surveillance.
1.5 Responsabilité du fabricant
Le fabricant décline toute responsabilité en cas de dommages subis par les personnes et les biens, causés par :
- l'utilisation de l'appareil différente de celle prévue,
- le manque de lecture du manuel d'utilisation;
- l'altération même d'une seule pièce de l'appareil;
- l'utilisation de pièces détachées non originales;
- le non-respect des consignes de sécurité.
1.6 Plaque d'identification
La plaque d'identification contient les données techniques, le numéro de série et le marquage. N'enlevez jamais la plaque d'identification.
1.7 Élimination

Cet appareil doit être éliminé séparément des autres déchets (directive 2012/19/UE). Cet
appareil ne contient pas de substances dont la quantité est jugée dangereuse pour la santé et l'environnement, conformément aux directives européennes en vigueur.

Tension électrique danger d'électrocution
- Mettez l'appareil hors tension.
- Débranchez le câble d'alimentation électrique de l'installation électrique.
- Lesieux appareils électriques ne doivent pas être jetés avec les ordures ménagères! Conformément à la loi en vigueur, les appareils électriques à la fin de leur vie doivent être conférés à des centres de recyclage des déchets électriques et é
On précise que pour l'emballage de nos produits, nous utilisons des matériaux non polluants et recyclables.
- Confiez les matériaux de l'emballage aux centres de collecte sélective.

Emballage en plastique danger d'asphyxie
- Ne laissez jamais sans surveillance l'emballage ni ses parties.
- Évitez que les enfants jouent avec les sachets en plastique de l'emballage.
2.1 Description du produit
Modèle TSF01 - Grille-pain 2 tranches
Modèle TSF02 - Grille-pain 4 tranches
1 Fentes extra larges avec un centrage automatique de la tranche
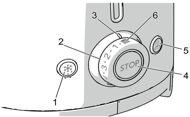
3 Panneau de commandes
2 Levier de descente du pain
4 Tiroir ramasse-miettes

1. Bouton fonction de décongélation

Cette fonction est utile pour griller du pain congelé. Pendant le grillage, le bouton de Décongélation s'allume pour indiquer que le cycle de grillage est actif.
2. Manette de commande de drainage
Cette commande est utile pour sélectionner l'un des 6 niveaux de dorage ou la fonction Rechauffage. Pendant le grilling, le voyant LED central s'allume pour indiquer que le cycle de grilling est actif.
3. Indicateur de drainage
Montre le niveau de raffraîchissement sélectionné ou la fonction Réchauffage.
4. Bouton de fonction arrêt

Le bouton d'arrêt permet de stopper ou d'arrêter le cycle de grillage à tout moment.
5. Touche de fonction bagel

Cette fonction permet de griller un seul côté du bagel ou tout autre type de pain sans griller l'autre. Pendant le grillage, le bouton Bagel s'allume pour indiquer que la fonction est active.
6. Fonction réchauffage

Cette fonction permet de rechauffer les toasts froids ou de continuer le cycle de grillage si le résultat n'est pas satisfaisant. Pendant le grillage, le voyant LED central s'allume pour indiquer que le cycle de grillage est actif.

Danger d'électrocution
- Insérez la fiche dans une prise de courant avec mise à la terre.
- Ne retirez pas la mise à la terre.
- N'utilisez pas un adaptateur.
- N'utilisez pas une rallonge.
- Le non-respect de ces instructions peut entraîner la mort, un incendie ou un choc électrique.
3.1 Avant la première utilisation
- Enlevez tous les autocollants et les étiquettes et nettoyez l'extérieur du grille-pain avec un chiffon humide.
- Utilisez le grille-pain pour la première fois sans introduire des tranches de pain.
- Tournez la manette de commande sur la position de dorage maximum et abaissez le levier pour le grillage. De cette façon, tous les résidus de poussière tombés à l'intérieur du grille-pain au cours du processus de fabrication ou de transport seront éliminés.
Lors de la première utilisation, de la fumée et une odeur désagréable pourraient se développer.

Suggestions et conseils pour l'utilisateur
- Le premier cycle permet aux éléments chauffants d'atteindre la température correcte de grillage. Les cycles successifs pourraient griller correctement les tranches de pain en moins de temps.
- Le type de pain utilisé a une influence sur le temps de grillage. Plus le pain est frais, plus le grillage est long. Différents types de pain et de niveaux d'humidité peuvent nécessiter différents niveaux de dorure.
Pour de meilleurs résultats :
grillez un type de pain à la fois; grillez des tranches de pain de la même épaisseur; - utilisez des tranches de pain avec une épaisseur maximale de 30 mm. - Si l'on utilise du pain tranché à la main, les tranches devraient avoir la même épaisseur. Des tranches d'épaisseurs différentes ne grillent pas uniformément. - Ne grillez pas des tranches très fines car elles risquent de brûler.
3.2 Fonctionnement
- Si nécessaire, raccourcissez le câble en l'enroulant sous la base.

- Branchez le grille-pain.
- Insérez les tranches de pain dans le compartiment.
Vu que généralement le pain n'a pas une forme carrée, il pourrait être nécessaire de tourner la tranche de l'autre côté pour une meilleure introduction et pour optimiser la surface de grillage. 4. Choisissez le degré de dorure souhaité (niveau de dorure de 1 à 6, du clair au foncé) ou la « fonction Réchauffage »

- Poussez le levier vers le bas jusqu'à ce qu'il s'arrête pour démarrer le cycle de grillage.

- Au besoin, sélectionnez l'une des fonctions supplémentaires de
Démongelation ou Bagel ou les deux.
L'élément chauffant est activé. Le pain est automatiquement centré pour un grillage uniforme. 7. Le toast est ejecté automatiquement à la fin du grillage. 8. Si le toast n'est pas suffisamment doré et s'il a besoin de plus de temps, appuyez sur le bouton de Réchauffage pour prolonger le temps de grillage.

Avertissement
- Si l'appareil n'est pas branché sur le réseau d'alimentation, le levier ne se bloque pas.
Annulation/interruption du cycle de grillage
Le cycle de grillage peut être annulé ou interrompu à tout moment en appuyant sur le bouton (STOP).
Décongélation
Cette fonction permet de décongeler doucement le pain et de le griller au niveau de dorure sélectionné.
Pour activer la fonction, insérez le pain dans la fente, sélectionnez le niveau désiré de dorure, poussez le levier vers le bas jusqu'à ce qu'il s'arrête, puis appuyez sur le bouton de décongélation : le voyant du bouton s'allume. Le temps de cuisson est automatiquement augmenté pour permettre au pain de décongeler et de se dorer correctement. Lors de l'expulsion automatique du pain, le voyant du bouton Décongélation s'éteint.

Particulièrement adapté pour les bagels, petits pains, muffins, baguettes. Cette fonction spéciale permet de griller des toasts d'un seul côté. Pour activer la fonction, insérez le pain dans la fente avec le côté à griller vers l'extérieur, sélectionnez le niveau désiré de cuisson, poussez le levier vers le bas jusqu'à ce qu'il s'arrête, puis appuyez sur le bouton Bagel : le voyant du bouton s'allume. Une fois le grilling terminé, le pain est éjecté automatiquement et le voyant du bouton Bagel s'éteint.
Réchauffage

Cette fonction permet de réchauffer les toasts froids ou de continuer le cycle de grillage si le résultat n'est pas satisfaisant. Pour activer la fonction, insérez le pain dans la fente, sélectionnez la fonction Réchauffage sur la manette de commande de dorage et poussez le levier vers le bas jusqu'à l'arrêt. Levoyant central de la manette de commande de dorage s'allume. Une fois le grillage terminé, le pain est ejecté automatiquement et le voyant de la manette de commande est éteint.
Les fonctions de Décongélation ou de Réchauffage et Bagel peuvent être sélectionnées en même temps.
3.4 Utilisation des accessoires en option
Les accessoires peuvent être différentes selon les spécifications.

Appareil chaud
Le porte-sandwich et le support viennoiserie atteignent des températures élevées pendant le grillage. Lors du retrait du grille-pain, veillez à ne pas vous brûler en touchant les parties métalliques.
Porte-sandwich
Modèle TSSR01 pour grille-pain TSF01
Modèle TSSR02 pour grille-pain TSF02
Le porte-sandwich permet de griller des sandwiches farcis ou d'extraire de petits sandwiches comme par exemple les bagel, avec plus de facilité.

Suggestions et conseils pour l'utilisateur
Pour optimiser les résultats, il est préférable d'utiliser de fines tranches de jambon, de dinde, etc. et de fromage finement rapé. Pour optimiser les résultats, on conseille de laisser la charcuterie hors du réfrigerateur à température ambiante pendant quelques instants avant de les utiliser. - Ne farcissez pas trop le toast. - Si vous utilisez le grille-pain à un faible niveau de dorure, le fromage et/ou la charcuterie pourrait tiédir. Dans ce cas, laissez le toast à l'intérieur du compartiment pendant quelques minutes avant la fin du grillage ou prolongez le temps de grillage par l'intermédiaire du bouton de Réchauffage.

Avertissement
- Si l'appareil n'est pas branché sur le réseau d'alimentation, le levier ne se bloque pas.
Mode d'emploi:
- Ouvrez le porte-sandwich en élargissant les poignées.
- Placez le toast à l'intérieur du porte-sandwich.
- Serrez les poignées du porte-sandwich pour attraper le toast.

- Insérez le porte-sandwich dans la fente et sélectionnez un niveau de dorure.
- Poussez le levier vers le bas jusqu'à ce qu'il s'arrête pour démarrer le cycle de grillage.
- Une fois le grillage terminé, retirez le porte-sandwich du grille-pain.

Modèle TSBW01 pour grille-pain TSF01 modèle TSBW02 pour grille-pain TSF02
Le support viennoiserie est utile pour chauffer du pain, des fougasses ou des viennoiseries.
Mode d'emploi:
- Placez le support sur le grille-pain en s’assurant que les pieds en fer aux extrémités s’insèrent dans les fentes du grille-pain.
- Placez les pains, les fougasses ou les viennoiseries sur le support viennoiserie et sélectionnez le niveau de dorure 1 (non supérieur).
- Poussez le levier vers le bas jusqu'à ce qu'il s'arrête pour démarrer le cycle de grillage.


Danger d'électrocution
- Retirez la fiche de la prise de courant avant de nettoyer le grille-pain, le tiroir ramasse-miettes et les accessoires en option.

Risque de brûlures
- Laissez l'appareil et les accessoires en option refroidir avant de les nettoyer.

Risque de dommages aux surfaces
- N'utilisez pas de jets de vapeur pour nettoyer l'appareil.
- N'utilisez pas de produits de nettoyage à base de chlore, d'ammoniaque ou d'eau de Javel sur les parties en acier ou traitées en surface avec des finitions métalliques (ex. anodisations, nickelages, chromages).
- N'utilisez pas de détergents abrasifs ou corrosifs (ex. produits en poudre, détachants et éponges métalliques).
- N'utilisez pas de matériaux rêches, abrasifs, ou de racloirs métalliques tranchants.
4.2 Nettoyage des surfaces
Pour une bonne conservation des surfaces, nettoyez-les régulièrement après chaque utilisation, après les avoir laissées refroidir.
4.3 Nettoyage ordinaire quotidien
N'utilisez que des produits spécifiques ne contenant pas de substances abrasives ni acides à base de chlore.
Versez le produit sur un chiffon humide puis passez et repassez soigneusement et essuyez avec un chiffon doux ou en microfibre.

En cas d'éclaboussures d'huile ou de graisse, éliminez-les immédiatement avec un chiffon en coton doux et humide.
4.4 Taches d'aliments ou résidus
Évitez absolument d'utiliser des éponges en acier et des racloirs tranchants susceptibles d'endommager les surfaces.
Utilisez les produits normalement préconisés, non abrasifs, en vous servant éventuellement d’ustensiles en bois ou en plastique. Repassez soigneusement et essuyez avec un chiffon doux ou en microfibre.
4.5 Nettoyage du tiroir ramasse-miettes
- Appuyez sur le tiroir ramasse-miettes pour le déverrouiller, puis tirez-le pour l'extraire et le vider. Videz le tiroir ramasse-miettes après chaque utilisation.



Le tiroir ramasse-miettes peut être lavé à la main. Essuyez soigneusement le tiroir avant de le mettre dans le grille-pain.
- Remplacez le tiroir ramasse-miettes dans le grille-pain. Appuyez jusqu'à ce qu'il s'arrête à son emplacement. N'utilisez pas le grille-pain sans le tiroir ramasse-miettes dans la bonne position.

4.6 Nettoyage du porte-sandwich et du support viennoiserie en option
Le porte-sandwich et le support viennoiserie peuvent être lavés à la main. Une fois lavés, rincez-les et séchez-les avec un chiffon doux.
Notice Facile