LiITHOS 450 BLANC - Hotte aspirante FABER - Notice d'utilisation et mode d'emploi gratuit
Retrouvez gratuitement la notice de l'appareil LiITHOS 450 BLANC FABER au format PDF.
| Type de produit | Hotte de cuisine |
|---|---|
| Caractéristiques techniques principales | Hotte murale, extraction d'air, design moderne |
| Alimentation électrique | 230 V, 50 Hz |
| Dimensions approximatives | Largeur : 90 cm, Profondeur : 50 cm, Hauteur : 30 cm |
| Poids | 15 kg |
| Compatibilités | Compatible avec les cuisines de taille standard |
| Type de batterie | Non applicable |
| Tension | 230 V |
| Puissance | 300 W |
| Fonctions principales | Extraction des fumées, éclairage LED, plusieurs niveaux de puissance |
| Entretien et nettoyage | Filtres lavables au lave-vaisselle, nettoyage régulier recommandé |
| Pièces détachées et réparabilité | Disponibilité des filtres et pièces de rechange |
| Sécurité | Protection contre les surcharges, conforme aux normes de sécurité européennes |
| Informations générales utiles | Installation murale, garantie de 2 ans, service après-vente disponible |
FOIRE AUX QUESTIONS - LiITHOS 450 BLANC FABER
Questions des utilisateurs sur LiITHOS 450 BLANC FABER
0 question sur cet appareil. Repondez a celles que vous connaissez ou posez la votre.
Poser une nouvelle question sur cet appareil
Téléchargez la notice de votre Hotte aspirante au format PDF gratuitement ! Retrouvez votre notice LiITHOS 450 BLANC - FABER et reprennez votre appareil électronique en main. Sur cette page sont publiés tous les documents nécessaires à l'utilisation de votre appareil LiITHOS 450 BLANC de la marque FABER.
MODE D'EMPLOI LiITHOS 450 BLANC FABER
Manuel d'Instruction
Sommaire
CONSEILS ET SUGGESTIONS 3
CHARACTERISTIQUES. 6
INSTALLATION 7
UTILISATION 10
ENTRETIEN 11
Les instructions pour l'utilisation se réfèrent aux différents modèles de cet appareil. Par conséquent, certaines descriptions de caractéristiques particulières pourrait ne pas appartenir spécifiquement à cet appareil.
Installation
- En aucun cas le fabricant ne peut être tenu pour responsable de dommages eventuels dus à une installation ou à une utilisation propre.
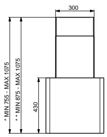
- La distance de sécurité minimum entre le plan de cuisson et la hotte aspirante est de 650 mm (certains modèles peuvent être installés à une hauteur inférieure ; voir le paragraphe concernant les dimensions de travail et l'installation).
- Assurez-vous que la tension de votre secteur correspond à celle indiquée sur la plaque des données appliquée à l'intérieur de la hotte.
- Pour les appareils de Classe I, s'assurer que l'installation électrique de votre intérieur dispose d'une mise à la terre ajustée.

Relier l'aspirateur au conduit de cheminée avec un tube d'un diamètre minimum de 120 mm. Le parcours des fumées doit être le plus court possible.
- Ne pas relier la hotte aspirante aux conduits de cheminée qui acheminent les fumées de combustion (par exemple de chaudières, de cheminées, etc.).
- Si vous utilisez l'aspirateur en combinaison avec des appareils non électriques (par ex. appareils à gaz), vous devez garantir un degré d'aération suffisant dans la pièce, afin d'empêcher le retour du flux des gaz de sortie. La cuisine doit partager une ouverture communiquant directement vers l'extérieur pour garantir l'aération d'air
propre. Si vous utilisez la hotte de cuisine en combinaison avec des appareils non alimentés à l'électricité, la pression négative dans la pièce ne doit pas dépasser 0,04 mbar afin d'éviter que la hotte ne réaspiré les fumées dans la pièce.
- Si le cordon d'alimentation est endommagé, veuillez le faire remplacer par le fabricant ou par un service après-vente/agréé pour éviter tout risque d'accident.

- Si les instructions d'installation du plan de cuisson à gaz spécifient une distance supérieure à celle indiquée ci-dessus, veuillez impérativement en tenir compte. Toutes les normes concernant l'évacuation de l'air doivent être respectées.
- Utiliser exclusivement des vis et des petites pièces du type adapté pour la hotte.
Attention : toute installation des vis et des dispositifs de fixation non conforme aux présentes instructions peut entraîner des risques de décharges électriques.
- Brancher la hotte à l'alimentation de secteur avec un interrupteur bipolaire ayant une ouverture des contacts d'au moins 3 mm.
Utilisation
- Cette hotte aspirante a été conçue exclusivement pour un usage domestique, dans le but d'éliminer les odeurs de cuisine.
- Ne jamais utiliser la hotte pour des objectifs différents de ceux pour lesquels elle a été conçue.
- Ne jamais laisser un feu vif allumé sous la hotte lorsque celle-ci est en fonction.
- Régler l'intensité du feu de manière à l'orienter exclusivement vers le fond de la casserole, en vous assurant qu'il ne déborde pas sur les côtés.
- Contrôler constamment les friteuses durant leur utilisation : l'huile surchauffée risque de s'incendier.
- Ne pas flamber des mets sous la hotte : sous risque de provoquer un incendie.
- Cet appareil n'est pas destiné à être utilisé par des enfants d'un âge inférieur à 8 ans, ni par des personnes dont les capacités physiques, sensorielles ou mentales sont diminuées ou qui ont une expérience et des connaissances insuffisantes, à moins que ces enfants ou ces personnes ne soient attentivement surveillés et instruits sur la manière d'utiliser cet appareil en sécurité et sur les dangers que cela comporte.
Assurez-vous que les enfants ne jouent pas avec cet appareil. Le nettoyage et l'entretien de la part de l'utilisateur ne doivent pas être effectués par des enfants, à moins que ce ne soit sous la surveillance d'une personne responsable.

- ATTENTION : Les parties accessibles peuvent devenir très chaudes pendant l'utilisation des appareils de cuisson.
Entretien
- Avant d'effectuer toute opération de nettoyage et d'entretien, éteindre ou débrancher l'appareil du secteur.
- Nettoyer et/ou remplacer les filtres après le début indiqué (danger d'incendie).
- Nettoyer les filtres à graisse tous les 2 Ces filtres peuvent être lavés au lave-vaisselle.
- Le filtre à charbon actif ne peut être ni lavé ni régénéré et il doit être remplacé environ tous les 4
- Effectuer le nettoyage selon les instructions, sous risque d'incendie.
- Nettoyer la hotte avec un chiffon humide et un détergent liquide neutre.
Le symbole marqué sur le produit ou sur son emballage indique que ce produit ne peut pas être éliminé comme déchet ménager normal. Lorsque ce produit doit être éliminé, veuillez le remettre à un centre de collecte prévu pour le recyclage du matériel électrique et électronique. En vous assurant que cet appareil est éliminé correctement, vous participez à prévenir des conséquences potentiellement négatives pour l'environnement et pour la santé, qui risqueraient de se présenter en cas d'élimination inappropriée. Pour toute information supplémentaire sur le recyclage de ce produit, contactez votre municipalité, votre déchetterie locale ou le magasin où vous avez acheté ce produit.



- Dimensions pour hotte en version aspirante. Dimensions pour hotte en version filtrante.
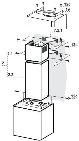
Composants
| Réf. | Q.té | Composants du produit |
| 1 | 1 | Corps de hotte comptenant: commandes, éclairage, groupe de ventilation, filtres |
| 2 | 1 | Conduit télécopique constitué de : |
| 2.1 | 1 | Conduit supérieur |
| 2.2 | 1 | Conduit inférieur |
| 9 | 1 | Bride de réduction, Ø 150 - 120 mm |
| 15 | 1 | Raccord de sortie de l'air |
| 19 | 1 | Cornière de fixation du conduit |
| Réf. | Q.té | Composants d'installation |
| 7.2.1 | 2 | Étriers de fixation du conduit supérieur |
| 11 | 5 | Chevilles |
| 11a | 2 | Chevilles SB 12/10 |
| 12a | 5 | Vis 4,2 x 44,4 |
| 12c | 10 | Vis 2,9 x 6,5 |
| Q.té | Documentation | |
| 1 | Guide d'utilisation |

Perçage du mur
Tracer sur le mur :
- une ligne verticale jusqu'au plafond ou jusqu'au plan supérieur, au centre de la zone prévue pour le montage de la hotte;
- une ligne horizontale à : 650 mm minimum au-dessus du plan de cuisson;
- Comme indiqué, poser l'étrier 7.2.1 à 1 à 2 mm du plafond ou du plan supérieur, en alignant le centre (entailles) sur la ligne verticale de référence;
- Marquer les centres des trous de l'étrier;
- Comme indiqué, poser l'étrier 7.2.1 à X mm au-dessous du premier étrier (X = hauteur du conduit supérieur fourni avec la hotte), en alignant le centre de l'étrier (entailles) sur la ligne verticale de reference;
- Marquer les centres des trous de l'étrier;
- Marquer comme indiqué, un point de référence à 105mm de la ligne horizontalement de repère.
- Percer les trous avec une mèche de 8 mm.
- Introduire les chevilles 11 dans les trous; Fixer les étriers à l'aide des vis 12a (4,2 x 44,4) fournies.
- Marquer, comme indiqué, un point de référence à 373 mm au-dessus de la ligne horizontale de référence et à 150 mm à droite de la ligne verticale de référence;
- Répéter cette opération de l'autre côté et vérifier la mise à niveau;
- Percer les trous avec une mèche de 12 mm;
- Introduire les chevilles avec la vis et l'étrier 11a dans les trous et visser.
- Enlever les filtres Anti-graisse, en intervenant sur les poignées spécialement prévues.
- Régler les deux vis Vr, des brides 11a, en début de course.
- Accrocher le corps de la hotte aux 2 brides 11a.
- Depuis l'intérieur du corps de la hotte, intervenir sur les vis VR pour niveler le corps de la hotte.
- Visser les vis de sécurité 12a.

SORTIE air version aspirante
Pour l'installation en version aspirante, relier la hotte au tube de sortie au moyen d'un tube rigide ou flexible de 150 ou 120mm dont lechioix est laissé à l'installateur.
- Pour la liaison avec le tube 120mm, insérer la buse de réduction 9 sur la sortie du corps de la hotte.
- Fixer le tube avec des colliers serre-tube appropriés. Le matériel nécessaire n'est pas fourni.
- Retirer les filtres anti-odeur à charbon actif eventuels.

SORTIE Air version filtrante
- Desserrer les 2 vis de fixation du support supérieur 7.2.1.
- Visser à sa place le raccord de sortie de l'air 15 avec les 2 vis précédemment retirées.
- Relier le raccord 15 à la sortie du corps de hotte au moyen d'un tube rigide ou flexible de 150 mm, au besoin de l'installateur.
- S'assurer de la présence du filtre anti-odeur au charbon actif.

Branchement electrique
- Brancher la hotte sur le secteur en intercalant un interrupteur bipolaire avec ouverture des contacts d'au moins 3mm.
- Enlever les filtres à graisse (voir § "Entretien") et s'assurer que le connecteur du câble d'alimentation soit bien branché dans la prise du diffuseur.

Montage du conduit
- Visser avec 4 vis 12c la cornière de fixation des conduits 19 à la coque.
Conduit supérieur
- Écarter légèrement les deux côtés, les accrocher derrière les étriers 7.2.1 et les refermer complètement;
- Fixer légèrement aux étriers à l'aide des 4 vis 12c(2,9 x 9,5) fournies avec l'appareil;
- Si elles sont générées, s'assurer que la sortie des rallonges du raccord se trouve en face des ouvertures du conduit.
Conduit inférieur
- Écarter légèrement les deux côtés du conduit, les accrocher entre le conduit supérieur et le mur et les refixer complètement.
- Fixer étroitement la partie à la cornière de fixation des conduits 19 avec les 2 vis 12c (2,9 x 9,5) fournies.



Tableau des commandes
| TOUCHE | VOYANT | FONCTIONS | |
| T1 | Vitesse | Allumé | Démarre le moteur en première vitesse. |
| Coupe le moteur. | |||
| T2 | Vitesse | Allumé | Démarre le moteur en deuxieme vitesse. |
| T3 | Vitesse | Fixe | Appuyée brièvement, démarre le moteur en troisieme vitesse. |
| Clignotant | Appuyée pendant 2 secondes. | ||
| Démarre la quatrième vitesse avec une temporisation de 6 minu-tes, après lesquelles le moteur returne à la vitesse précédem-ment programmée. Fonction indiquée pour faire face aux pointes d'émission de fumées de cuisson. | |||
| L | Lumière | Branché et débranché l'éclairage. | |
Attention : La touche T1 coupe le moteur en passant toujours par la première vitesse.
Filtres anti-graisse
NETTOYAGE FILTRES ANTI-GRAISSE METALLIQUES AUTOPORTEURS
- Lavables au lave-vaiselle, ils doivent être lavés environ tous les 2 mois d'emploi ou plus fréquemment en cas d'emploi particulièrement intense.
- Retirer les filtres l'un après l'autre, en les poussant vers la partie arrière du groupe et en tirant simultanément vers le bas.
- Laver les filtres en évitant de les plier et les laisser sécher avant de les remonter.
- Remonter les filtres en veillant à ce que la poignée reste vers la partie visible externe

Filtre anti-odeur (version filtrante)
Ils ne sont pas lavables ni régénérables, il faut les remplacer au moins tous les 4 mois d'emploi ou plus fréquemment en cas d'emploi particulièrement intense.
Remplacement filtre au charbon ACTIF
- Retirer les filtres anti-graisse métalliques.
- Retirer les filtres anti-odeur au charbon actif saturés, comme indiqué (A).
- Monter les nouveaux filtres (B).
- Remonter les filtres anti-graisse métalliques.


Lampe halogène de 20 w.
- Sortir la lampe de la douille en exerçant une légère traction.
- Remplacer par une nouvelle lampe possédant les mêmes caractéristiques, en veillant à ce que les deux fiches soient correctement insérées dans le logement de la Douille.

| Ampoule | Absorption (W) | Culot | Voltage (V) | Dimensions (mm) | Code ILCOS |
| 28 | E14 | 220 - 240 | 104 x 35 | HGSB/C/UB-28-220/240-E14 | |
| 20 | G4 | 12 | 33 x 9 | HSG/C/UB-20-12-G4 | |
| 35 | GU10 | 230 | 51 x 50,7 | HAGS-35-230-GU10-51/40 | |
| 50 | GU10 | 230 | 51 x 50,7 | HAGS-35-230-GU10-51/20 | |
| 20 | GU4 | 12 | 40 x 35 | HRGS-20-12-GU4-35/30 | |
| 20 | GU5.3 | 12 | 46 x 51 | HRGS-20-12-GU5.3-50/10 | |
| 16 | G13 | 95 | 720 x 26 | FD--16/40/1B-E--G13--26/720 | |
| 18 | G13 | 57 | 589,8 x 26 | FD--18/40/1B-E--G13--26/600 | |
| 9 | G23 | 60 (ampoule) 220-240 (starter) | 167 x 28 | FSD-9/27/1B-I-G23 | |
| 11 | G23 | 91 (ampoule) 220-240 (starter) | 235,8 x 28 | FSD-11/40/1B-I-G23 |
Notice Facile