COCKTAIL 550 NOIR - Hotte aspirante FABER - Notice d'utilisation et mode d'emploi gratuit
Retrouvez gratuitement la notice de l'appareil COCKTAIL 550 NOIR FABER au format PDF.
| Type de produit | Hotte de cuisine |
| Caractéristiques techniques principales | Hotte décorative, extraction ou recyclage, moteur puissant |
| Alimentation électrique | 220-240 V, 50 Hz |
| Dimensions approximatives | Largeur : 55 cm, Profondeur : 50 cm, Hauteur : 15 cm |
| Poids | Environ 10 kg |
| Compatibilités | Compatible avec les cuisines de taille standard |
| Type de batterie | Non applicable |
| Tension | 220-240 V |
| Puissance | Max 300 W |
| Fonctions principales | Éclairage LED, plusieurs niveaux de puissance d'aspiration |
| Entretien et nettoyage | Filtres lavables au lave-vaisselle, nettoyage régulier de la surface |
| Pièces détachées et réparabilité | Filtres et moteurs disponibles en pièces détachées |
| Sécurité | Protection contre les surcharges, conforme aux normes de sécurité électrique |
| Informations générales utiles | Installation murale recommandée, garantie de 2 ans |
FOIRE AUX QUESTIONS - COCKTAIL 550 NOIR FABER
Questions des utilisateurs sur COCKTAIL 550 NOIR FABER
0 question sur cet appareil. Repondez a celles que vous connaissez ou posez la votre.
Poser une nouvelle question sur cet appareil
Téléchargez la notice de votre Hotte aspirante au format PDF gratuitement ! Retrouvez votre notice COCKTAIL 550 NOIR - FABER et reprennez votre appareil électronique en main. Sur cette page sont publiés tous les documents nécessaires à l'utilisation de votre appareil COCKTAIL 550 NOIR de la marque FABER.
MODE D'EMPLOI COCKTAIL 550 NOIR FABER
Manuel d'Instructions
RECOMMENDATIONS AND SUGGESTIONS 3 CHARACTERISTICS 4 INSTALLATION 5 USE 8 MAINTENANCE 9
Sommaire
CONSEILS ET SUGGESTIONS 11 CHARACTERISTIQUES 12 INSTALLATION 13 UTILISATION 16 ENTRETIEN 17
La présente notice d'emploi vaut pour plusieurs versions de l'appareil. Elle peut contenir des descriptions d'accessoires ne figurant pas dans votre appareil.
Installation
- Le fabricant ne désigne aucune responsabilité en cas de dommage du à une installation non correcte ou non conforme aux règles de l'art.
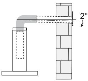
- La distance minimale de sécurité entre le plan de cuisson et la hotte doit être de 650 mm au moins (certains modèles peuvent être installés à une hauteur inférieure : se reporter aux paragraphes « Encombrement » et « Installation »).
- Vérifier que la tension du secteur correspond à la valeur qui figure sur la plaquette apposée à l'intérieur de la hotte.
- Pour les appareils appartenant à la première classe, veiller à ce que la mise à la terre de l'installation électrique domestique ait été effectuée conformément aux normes en vigueur.
- Connecter la hotte à la sortie d'air aspiré à l'aide d'une tuyauterie d'un diamètre égal ou supérieur à 120 mm. Le parcours de la tuyauterie doit être le plus court possible.
- Ne pas connecter la hotte à des conduites d'évacuation de fumées issues d'une combustion telles que (chaudière, cheminée, etc...).
- Si vous utilisez des appareils qui ne fonctionnent pas à l'électricité dans la pièce où est installée la hotte (par exemple: des appareils fonctionnant au gaz), vous devez prévoir une aération suffisante du milieu. Si la cuisine en est dépourvue, pratiquez une ouverture qui communique avec l'extérieur pour garantir l'infiltration de l'air pur. Pour un emploi correct et sans risque, la dépression maximum dans la pièce ne doit pas dépasser 0,04 mbar.
- En cas d'endommagement du cordon d'alimentation, faites-le remplacer par le constructeur ou par le service après-vente, afin de prévenir tout risque.
Utilisation
- La hotte a été conçue exclusivement pour l'usage domestique, dans le but d'éliminer les odeurs de la cuisine.
- Ne jamais utiliser abusivement la hotte.
- Ne pas laisser les flammes libres à une intensité quand la hotte est en service.
- Toujours régler les flammes de manière à éviter toute sortie latérale de ces dernières par rapport au fond des marmites.
- Contrôler les friteuses lors de l'utilisation car l'huile surchauffée pourrait s'enflammer.
- Ne pas préparer d'aliments flambés sous la hotte de cuisine : risque d'incendie
- Cet appareil ne doit pas être utilisé par des personnes (y compris les enfants) ayant des capacités psychiques, sensorielles ou mentales réduites, ni par des personnes n’ayant pas l’expérience et la connaissance de ce type d’appareils, à moins d’être sous le contrôle et la formation de personnes responsables de leur sécurité.
- Les enfants doivent être surveillés pour s'assurer qu'ils ne jouent pas avec l'appareil.
- « ATTENTION : Les parties accessibles peuvent devenir très chaudes si utilisées avec des produits de cuisson. »
Entretien
- Avant de procéder à toute opération d'entretien, débrancher la hotte en retirant la fiche ou en actionnant l'interrupteur général.
- Effectuer un entretien scrupuleux et en temps des filtres, à la cadence conseillée (Risque d'incendie). Pour le nettoyage des surfaces de la hotte, il suffit d'utiliser un chiffon humide et détergent liquide neutre.
Le symbole sur le produit ou son emballage indique que ce produit ne peut être traité comme déchet managerial. Il doit plutôt être remis au point de ramassage concerné, se chargeant du recyclage du matériel électrique et électronique. En vous assurant que ce produit est éliminé correctement, vous favorisez la prévention des conséquences négatives pour l'environnement et la santé humaine qui, sinon, seraient le résultat d'un traitement inapproprié des déchets de ce produit. Pour obtenir plus de détails sur le recyclage de ce produit, veuillez contacter le bureau municipal de votre région, votre service d'élimination des déchets managers ou le magasin où vous avez acheté le produit.



Encombrement


Composants
| Réf. | Q.té | Composants du produit |
| 1 | 1 | Corps de hotte équipé de : commandes, éclairage, groupe de ventilation, filtres |
| 2.1 | 1 | Conduit supérieur |
| 2.2 | 1 | Conduit inférieur |
| 9 | 1 | Buse de réduction 150--120 |
| 14.1 | 2 | Rallonge raccord sortie air |
| 15 | 1 | Raccord sortie air |
| 19 | 1 | Élement d'angle conduit |
| Réf. | Q.té | Composants de l'installation |
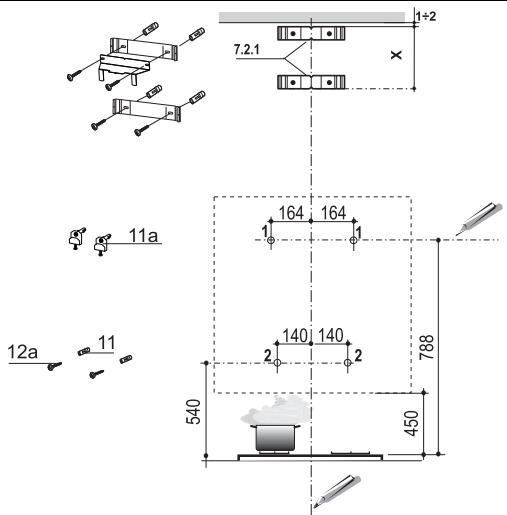
| 7.2.1 | 2 | Brides de fixation conduit supérieur |
| 7.3 | 1 | Étrier de soutien du raccord |
| 11 | 6 | Chevilles |
| 11a | 2 | Chevilles SB 12/10 |
| 12a | 6 | Vis 4,2 x 44,4 |
| 12c | 10 | Vis 2,9 x 6,5 |
| 12d | 4 | Vis 2,9 x 6,5 |
| Q.té | Documentation | |
| 1 | Manuel d'instructions |



Tracer sur la paroi :
- une ligne verticale jusqu'au plafond ou à la limite supérieure, au centre de la zone prévue pour le montage de la hotte;
- une ligne horizontale à 788 mm au-dessus du plan de cuisson.
- Marquer un point (1) sur la ligne horizontale à 164 mm à droite de la ligne verticale de référence.
- Répéter cette opération de l'autre côté et vérifier la mise à niveau.
- Marquer comme indiqué, un point de référence (2) à 140 mm de la ligne verticale de référence et 540 mm au-dessus du plan de cuisson.
- Répéter cette opération de l'autre côté et vérifier la mise à niveau.
- Percer les points marqués (1) avec une mèche de 12 mm.
- Percer les points marqués (2) avec une mèche de 8 mm.
- Mettre les chevilles avec le support 11a dans les trous (1) et visser.
- Insérer les chevilles 11 dans les trous (2).
- Poser le support 7.2.1 comme indiqué, à 1 - 2mm du plafond ou de la limite supérieure, en alignant le centre (encoche) sur la ligne verticale de référence.
- Marquer les centres des trous du support.
- Faire reposer le support 7.2.1, comme indiqué, à X mm en dessous du premier support (X = hauteur de la partie supérieure fournie), en alignant le centre (encochement) sur la ligne verticale de référence.
- Marquer les centres des trous du support.
- Percer les points marqués avec une mèche de 8 mm.
- Insérer les chevilles 11 dans les trous.
- Fixer la bride inférieure 7.2.1 en utilisant les vis 12a (4,2 x 44,4) fournies.
- Fixer ensemble la bride supérieure 7.2.1 et le support 7.3 en utilisant les vis 12a (4,2 x 44,4) fournies.
Montage du corps de hotte
- Ouvrir les portes/la porte (Regard paragraphe Ouverture Panels).
- Retirer les Filtres à Graisse en agissant sur les poignées appropriées.
- Placer les deux vis Vr, sur les équilles 11a sans les visser.
- Accrocher le corps de hotte aux 2 barres 11a.
- Agir sur les vis Vr de l'intérieur du corps de hotte pour en régler le niveau.
- Visser les vis de sécurité 12a.
- Refermer les portes/la porte.

SORTIE air version aspirante
En cas d'installation en version aspirante, brancher la hotte à la tuyauterie de sortie via un tube rigide ou flexible de 150 ou 120mm, au besoin de l'installateur.
- En cas de branchement avec un tube de 120 mm, insérer le flasque de réduction 9 sur la sortie du corps de la hotte.
- Fixer le tube par des colliers appropriés. Le matériel nécessaire n'est pas fourni.
- Retirer les éventuels filtres anti-odeur au charbon actif.

SORTIE Air version filtrante
- Insérer latéralement les rallonges raccord 14.1 sur le raccord 15.
- Placer le raccord 15 dans l'étroit de soutien 7.3 en le fixant avec une vis.
- S'assurer que la sortie des rallonges raccord 14.1 se trouve au niveau des bouches de la cheminée aussi bien en horizontal qu'en vertical.
- Brancher le raccord 15 à la sortie du corps de la hotte avec un tube rigide ou flexible de 0.150 mm, selon le choix de l'installateur.
- S'assurer de la présence des filtres anti-odeur au charbon actif.

Branchement electrique
- Brancher la hotte sur le secteur en intercalant un interrupteur bipolaire avec ouverture des contacts d'au moins 3mm.
- Enlever les filtres à graisse (voir § "Entretien") et s'assurer que le connecteur du câble d'alimentation soit bien branché dans la prise du diffuseur.

Montage du conduit d'évacuation
- Fixer l'objet d'angle 15 au corps de la hotte au moyen des vis 12d (2,9 × 9,5) fournies avec l'appareil.
Conduit d'évacuation supérieur
- Écarter légèrement les deux bords latéraux, les accrocher derrière les supports 7.2.1 et les refermer jusqu'en butée.
- Fixer latérallement aux supports avec 4 vis 12c (2,9 x 9,5) fournies.
- S'assurer que les rallonges du raccord débouchent en face des ouvertures du conduit.
Conduit d'évacuation inférieur
- Écarter légèrement les deux bords latéraux du conduit, les accrocher entre le conduit supérieur et la paroi, et les referrer jusqu'en butée.
- Fixer légèrement la partie inférieure au corps de hotte, à l'aide de 2 vis 12c (2,9 x 9,5) fournies.








Tableau des commandes
| Touche | Fonction | |
| T1 | Coupe le moteur. | - |
| T2 | Démarre le moteur en première vitesse | Les touches T1+T2 sont al-lumées. |
| T3 | Démarre le moteur en deuxieme vitesse | Les touches T1+T3 sont al-lumées. |
| Appuyée pendant 2 secondes, elle active l'extinction différée de 30 minutes (Moteur + Éclairage). Lorsque la fonction est active, vous pouvez varier la vitesse d'exercice. | Les touches respectives T1+ (T2 ou T3 ou T4) clignotent. | |
| T4 | Démarre le moteur en troisieme vitesse | Les touches T1+T4 sont al-lumées. |
| Appuyée pendant 2 secondes, elle démarre la vitesse Intensive temporisée à 10 minutes, après lesquelles le système returne à la vi-tesse précédemment programmée. Fonction indiquée pour faire face aux pointes d'émission des fumées de cuisson. | La touche clignote. | |
| L | Allume et étèint l'éclairage à l'intensité maximale. | Touchche allumée |
| En appuyant pendant 2 secondes, le système d'éclairage s'allume et s'éteint à faible in-tensité. | Touchche allumée |
Ouverture panneau
- Ouvrir le panneau en le tirant.
- Le panneau se bloquera quel que soit la position où il se place.
- Le nettoyer à l'extérieur avec un chiffon humide et un détergent liquide neutre.
- Le nettoyer également à l’intérieur avec un chiffon humide et un détergent neutre; ne jamais utiliser des chiffons ou des éponges mouillés, ni des jets d'eau; ne pas utiliser de substances abrasives.

Nettoyage filtres anti-graisse metalliques autoporteurs
- Lavables au lave-vaisselle, ils doivent être lavés environ tous les 2 mois d'emploi ou plus fréquemment en cas d'emploi particulièrement intense.
- Tirer sur les panneaux pour les ouvrir.
- Retirer les filtres, un à un, en les poussant vers la partie postérieure du groupe tout en tirant vers le bas.
- Laver les filtres en évitant de les plier, et les faire sécher avant de les remonter. (Tout changement de couleur sur la surface du filtre, susceptible de se produire avec le temps, ne nuit en rien à l'efficacité de ce dernier.)
- Remonter les filtres en faisant attention de tenir la poignée vers la partie externe visible.
- Refermer les panneaux comport.

Filtres anti-odeur au charbon actif (version filtrante)
Le filtre anti-odeur au charbon actif n'est pas lavable et ne peut pas être régénéré : il faut le remplacer tous les 4 mois de service environ, ou plus souvent en cas d'usage particulièrement intense.
Reemplacement
- Tirer sur les panneaux comport pour les ouvrir.
- Retirer les filtres à graisse.
- Enlever les filtres anti-odeur au charbon actif satures, comme indiqué (A).
- Monter les nouveaux filtres, comme indiqué (B).
- Remonter les filtres à graisse.
- Refermer les panneaux comport.


Lampe halogène de 20 w.
- Enlever le dispositif métallique de blocage du verre par encliquetage en exerçant une pression sous l'embout en le soutenant d'une main.
- Extraire la lampe du support
- Remplacer la lampe par une nouvelle ayant le même caractéristiques, en prenant soin d'insérer correctement les deux fiches dans le support.
- Remonter le dispositif de blocage du verre par encliquetage.

Notice Facile