CLT6444X0 - Lave-vaisselle DARRYSCHNEIDER - Notice d'utilisation et mode d'emploi gratuit
Retrouvez gratuitement la notice de l'appareil CLT6444X0 DARRYSCHNEIDER au format PDF.
| Type d'appareil | Lave-vaisselle encastrable |
| Capacité | 12 à 15 couverts |
| Nombre de programmes | 6 à 8 programmes |
| Consommation d'eau | 10 à 15 litres par cycle |
| Consommation énergétique | Classe A à A++ |
| Niveau sonore | 45 à 50 dB |
| Type de séchage | Condensation |
| Type de commande | Électronique avec affichage LED |
| Départ différé | Oui, jusqu'à 24 heures |
| Protection anti-fuite | Oui |
| Type de panier | Panier supérieur réglable |
| Dimensions (HxLxP) | 82 x 60 x 55 cm (approx.) |
| Poids | Non précisé |
| Alimentation électrique | 230 V, 50 Hz |
| Couleur | Blanc ou inox |
| Garantie | Non précisé |
FOIRE AUX QUESTIONS - CLT6444X0 DARRYSCHNEIDER
Questions des utilisateurs sur CLT6444X0 DARRYSCHNEIDER
0 question sur cet appareil. Repondez a celles que vous connaissez ou posez la votre.
Poser une nouvelle question sur cet appareil
Téléchargez la notice de votre Lave-vaisselle au format PDF gratuitement ! Retrouvez votre notice CLT6444X0 - DARRYSCHNEIDER et reprennez votre appareil électronique en main. Sur cette page sont publiés tous les documents nécessaires à l'utilisation de votre appareil CLT6444X0 de la marque DARRYSCHNEIDER.
MODE D'EMPLOI CLT6444X0 DARRYSCHNEIDER
Manuel d'instructions
CONSIGNES DE SÉCURITÉ IMPORTANTES
Veuillez lire attentivement les instructions suivantes avant d'utiliser cet appareil. Veuillez conserver ces instructions pour toute future référence.

Lors de l'utilisation de votre lave-vaisselle, prenez toutes les précautions indiquées ci-dessous :
- Cet appareil est destiné à être utilisé dans les ménages.
- Cet appareil peut être utilisé par des enfants âgés de 8 ans et plus ainsi que par des personnes dont les capacités physiques, sensorielles et mentales sont réduites, ou des personnes dénuées d'expérience ou de connaissance, si celles-ci ont bénéficié d'une surveillance ou d'instructions préalables concernant l'utilisation de l'appareil en toute sécurité et comprenant les dangers encourus.
Les enfants ne doivent pas jouer avec l'appareil. Le nettoyage et l'entretien usuel par l'utilisateur ne doit pas être effectué par des enfants sans surveillance.
(Pour EN60335-1)
- Cet appareil n'est pas conçu pour être utilisé par des personnes (y compris les enfants) dont les capacités physiques, sensorielles ou mentales sont réduites, ou des personnes dénuées d'expérience ou de connaissance, sauf si celles-ci bénéficient d'une surveillance ou ont reçu les instructions préalables concernant l'utilisation de l'appareil, par l'intermédiaire d'une personne responsable de leur sécurité.
(Pour IEC60335-1)
- Les enfants peuvent se blesser avec les matériaux d'emballage !
- Cet appareil est inconçu pour un usage domestique, à l'intérieur exclusivement.
- N'immergez jamais l'appareil, le cordon ou la fiche dans de l'eau ni dans tout autre liquide afin d'éviter tout risque d'électrocution.
- Veuillez débrancher l'appareil avant le nettoyage et toute opération d'entretien. Utilisez un chiffon humecté avec une solution de savon et puis utilisez un chiffon sec pour l'essuyer.

Consignes de mise à la terre
- L'appareil doit être mis à la terre. En cas de dysfonctionnement ou de défaillance, la mise à la terre réduira le risque de chocs électriques en fournissant une voie de moindre résistance au courant électrique. Cet apparéil comporte un cordon électrique doté d'un conducteur et d'une fiche de mise à la terre.
- La fiche doit être branchée sur une prise de courant appropriée qui est installée et reliée à la terre conformément à tous les codes et règlements locaux.
- Tout branchement abusif du conducteur de mise à la terre peut constituer un risque d'électrocution.
- En cas de doute, faites vérifier la
mise à la terre par un électricien agréé ou un représentant du service après-vente.
- Ne modifies pas la fiche fournie avec l'appareil si celle-ci ne correspond pas à la prise installée.
- La mise à la terre doit être réalisée par un électricien/agréé.
- N'utilisez pas la porte ni le panier du lave-vaisselle comme appui, ne vous asseyez pas et ne montez pas dessus.
- Ne faites pas fonctionner le lave-vaisselle si tous les panneaux de l'enceinte ne sont pas en place.
- Ouvrez la porte très délicatement si le lave-vaisselle est en cours de la lessive car de l'eau pourrait s'en échapper. Ne déposez pas d'objets lourds et ne montez pas sur la porte lorsqu'elle
est ouverte. L'expérience pourrait basculer.
- Lorsque vous chargez le lave-vaisselle :
1) Placez les objets coupants de façon à ce qu'ils ne puissent pas endommager le joint de la porte; 2) Avertissement : Les couteaux et autres ustensiles pointus doivent être placés dans le panier à couverts avec la pointe vers le bas, ou placés en position horizontale.
- Certains détergents pour lave-vaisselle sont fortement alcalins. Ils peuvent être extrê
- Vérifiez que le distributeur de
détergent est vide à la fin du programme de lavage.
- Ne lavez pas d'ustensiles en plastique à moins qu'ils ne soient estampillés étant lavables au lave-vaisse.
- Pour les articles en plastique ne sont mention pas d'indications, consultez les recommandations du fabricant.
- N'utilisez que des détergents et produits de rinçage d'usage spécifique pour lave-vaisse automatique.
- N'utilisez jamais de savon, de détergent à lessive ou de liquide vaisselle dans le lave-vaisse.
- Ne laissez pas la porte ouverte, car cela peut augmenter le risque de trébuchement. Afin d’éviter tout danger, si le cordon d'alimentation est endommagé, faites-le remplacer par le fabricant,
un agent agréé ou une personne qualifiée.
- Pendant l'installation, évitez de plier ou d'écraser le câble d'alimentation.
- Ne touchez pas au mécanisme des commandes.
- L'appareil doit être raccordé au robinet principal d'entrée d'eau en utilisant des tuyaux neufs. N'utilisez pas un tuyau usage.
- Si l'appareil n'est pas éteint, il s'éteindra automatiquement au bout de 30 minutes et passera en mode veille pour économiser de l'énergie.
Mise au rebut
- Pour la mise au rebut de l'emballage et l'appareil, adressez-vous à un centre de collecte. Coupez donc le câble d'alimentation électrique et rendez le dispositif de verrouillage de porte inopérant.

- Les cartons d'emballage sont fabriqués à partir de papier recyclé et doivent être jetés dans un container pour papier pour pouvoir être recyclés.
- En vous assurant que ce produit est mis au rebut de manière appropriée, vous contribuerez à éviter toute conséquence potentiellement néfaste sur l'environnement et la santé, qu'une élimination inappropriée de celui-ci pourrait autrement provoquer.
- Pour en savoir plus sur le recyclage de ce produit, veuillez contacter votre municipalité locale et le service local de récupération des déchets ménagers.
- MISE AU REBUT : Ce produit ne peut en aucun cas être jeté dans les déchets ordinaires et doit faire l'objet d'une collecte séparée pour subir un traitement spécial.
Pour obtenir des performances optimales de votre lave-vaisselle, lisez toutes les consignes d'utilisation avant de l'utiliser pour la première fois.


tarre pour les ouverts Bras d'aspersion supérieur
bain ouverts bain superieur bain inferieur
Les illustrations sont utilisées uniquement pour référence, les modèles peuvent différer. À titre indicatif seulement.
L'utilisation de l'autre la e-vaisselle :

- Utilisez l'adoucisseur d'eau
- Ajoutez du sel dans l'adoucisseur
- Remplissez les paniers
- Ajoutez le détérgent
Ouillez l'installation Adoucisseur d'eau de la section Adoucisseur d'eau de la dimension standard si vous avez besoin d'ajuster l'adoucisseur d'eau.
Remplissage du sel dans l'adoucisseur

Un autre modèle n'est pas équipé d'un adoucisseur d'eau, vous pouvez ignorer ce chapitre.
Utilisez toujours du sel conçu spécialement pour lave-vaiselle.
Le réservoir de sel se trouve sous le panier inférieur et doit être rempli comme suit :

• Utilisez seulement le sel conçu spécifiquement pour la lave-vaisselle
Tous les autres types de sels non spécifiquement conçus pour une utilisation dans un lave-vaisselle, en particulier le sel de table, pourraient endommager l'adoucisseur d'eau. En cas de dommages causés par l'utilisation d'un sel de ce type incorrect, le fabricant n'assumera aucune garantie ni responsabilité pour les dommages causés.
- Ajoutez du sel uniquement avant de démarrer l'un des programmes de lavage.
Cela empêchera toute corrosion due à la présence de traces de sel ou d'eau salée antérieurement légèrement débordée au fond de l'appareil.
Veuillez suivre les étapes suivantes pour ajouter le sel de lave-vaisselle:

- Retirez le panier inférieur puis dévissez et enlevez le bouchon du réservoir.
- Placez le bout de l'entonnoir fourni dans l'orifice et versez, kg de sel environ.
- Remplissez complètement le réservoir de sel avec de l'eau. Il est normal qu'une petite quantité d'eau déborde du réservoir de sel.
- Une fois le réservoir rempli, revissez fermement le bouchon.
- Le voyant d'avertissement du niveau de sel s'éteindra une fois le réservoir rempli de sel.
- Immédiatement après avoir rempli le réservoir de sel, un programme de lavage doit être démarré. Nous conseillons d'utiliser un programme court. Sinon, le système de filtration, la pompe ou d'autres pièces importantes de la machine pourraient être endommagées par l'eau salée. Ceci ne serait pas couvert par la garantie.

- Le réservoir de sel ne doit être rempli que lorsque le voyant (signalant qu'il n'y a plus de sel) s'allume sur le panneau de commande. Il se peut que le voyant reste allumé un certain temps alors que le réservoir est plein, cela dépend de la vitesse à laquelle le sel se dissolve.
Si votre lave-vaisselle ne comporte pas de voyant d'avertissement du niveau de sel sur le panneau de commande (sur certains modèles), vous pouvez savoir à peu près quel moment vous devez remettre du sel dans l'adoucisseur partir du nombre de cycles de lavage effectués.
- Si le Sel a un peu débordé lors du replissage, lancez un programme court ou de rinçage pour éliminer l'excès de sel.
Réglage du panier supérieur
La hauteur du panier supérieur peut être facilement ajustée pour accueillir des plats plus grands dans le panier supérieur ou inférieur.
Pour régler la hauteur du panier supérieur, suivez les étapes suivantes :
1 Retirez le panier supérieur.
2 Enlevez le panier supérieur.
3 Fixez le panier supérieur sur les rouleaux supérieur ou inférieur.
4 Remettez le panier supérieur.
Pour soulever le panier supérieur en position plus haute, soulevez-le jusqu'à ce que les deux côtés soient à la même hauteur. Le panier se fixera en place.
Pour abaisser le panier, poussez la poignée vers le bas et relâchez.
Replier les étagères pour tasses
Pour faire de la place pour les articles plus grands dans le panier du lave-vaiselle, soulevez le panier vers le haut. Vous pouvez alors y poser les grands verres. Vous pouvez également l'enlever lorsque vous ne l'utilisez pas.

Replier les supports des étagères
Les pointes sont utilisées pour tenir les assiettes et un plateau. Elles peuvent être rabaisées pour faire de la place pour les grands ustensiles de grande dimension.

La porte et le joint de la porte
Nettoyez régulièrement les joints de la porte avec un doux chiffon humide afin d'éliminer les dépôts alimentaires.
Lors du chargement du lave-vaiselle, des résidus alimentaires et de boissons peuvent dégouliner sur les côtés de la porte du lave-vaiselle. Ces surfaces sont situées en dehors de la cuve de lavage et ne peuvent donc pas être atteintes par l'eau des bras d'aspersion. Tout dépôt doit être essuyé avant de fermer la porte.
Le panneau de commande
Si le nettoyage est nécessaire, le panneau de commande doit être essuyé avec un chiffon légèrement humide UNIQUEMENT.

Avertissement
- N'utilisez jamais de produits nettoyants en aérosol pour nettoyer la porte, car cela pourrait endommager le dispositif de verrouillage de la porte et les composants électriques.
- N'utilisez jamais de produits de nettoyage abrasifs ou des tampons rugueux sur les surfaces extérieures qui risqueraient de laisser des marques ou des rayures sur la surface en inox. Certains essuie-tout en papier peuvent également égratigner les surfaces ou laisser des rayures.
Système de filtrage
Le système de filtrage à la base de la cuve de lavage retient les gros débris du cycle de lavage. Les gros débris recueillis peuvent bloquer les filtres. Vérifiez l'état des filtres régulièrement et nettoyez-les sous l'eau du robinet si nécessaire. Suivez les étapes ci-dessous pour nettoyer les filtres de la cuve de lavage.

Remarque :
Les illustrations sont utilisées uniquement pour référence, les modèles de système de filtration et de bras d'aspersion peuvent différer. Titre indicatif seulement.

Tenez le filtre dégrossissant et tournez-le dans le sens inverse des aiguilles d'une montre pour le déverrouiller. Soulevez le filtre vers le haut et hors du lave-vaisse.

Le microfiltre peut être retiré du bas du système de filtres.
Le filtre dégrossissant peut être détaché du filtre principal en pressant légèrement les languettes sur la partie supérieure et en tirant dessus.

3 Les gros résidus alimentaires peuvent être nettoyés en nettoyant le filtre sous l'eau du robinet. Pour un nettoyage plus en profondeur, utilisez une brosse couplée de nettoyage.

Assemblez les filtres dans l'ordre inverse du démontage, replacez l'insert du filtre et tournez-le dans le sens des aiguilles d'une montre en direction de la flèche.

- Ne serrez pas trop les filtres. Remettez les filtres en place correctement, sinon des débris grossiers pourraient pénétrer dans le système et le bloquer.
- N'utilisez JAMAIS le lave-vaisselle sans les filtres. Veillez à ce qu'ils soient correctement remis en place pour garantir de bons résultats de lavage et ne pas abimer la vaisselle et les ustensiles.
Ras d'aspiration
Il est nécessaire de nettoyer les ras d’aspersion régulièrement pour retarder les produits chimiques présents dans l’eau dure qui peuvent empêcher le bon fonctionnement des jets d’eau et des roulements à billes
Pour nettoyer les ras d'aspersion, veuillez suivre les consignes suivantes :

Pour enlever le ras d'aspersion supérieur, maintenez l'écrou du centre et faites tournier le ras d'aspersion dans le sens des aiguilles d'une montre pour l'enlever

Pour enlever le ras d'aspersion inférieur, tirez vers le haut pour le dévisser.

3 Nettoyez les ras au savon et à l'eau chaude et utilisez une brosse douce pour nettoyer les orifices des jets. Remettez-les en place après les avoir bien rincés.
Rations contre le gel
Veuillez prendre des mesures contre le gel pour protéger votre lave-vaisselle en hiver. APRÈS chaque utilisation de votre lave-vaisselle, veuillez suivre la procédure suivante :
Débranchez le courant électrique alimentant le lave-vaisselle. Fermez l'arrivée d'eau et débranchez le tuyau correspondant du robinet d'arrivée d'eau. Évacuez l'eau du tuyau d'arrivée d'eau et du robinet d'adduction d'eau. Utilisez une assine pour récupérer l'eau. Débranchez le tuyau d'arrivée d'eau sur le robinet. Retirez le filtre dans le fond de la cuve et retirez l'eau du faisard avec une éponge.
Après le cycle de lavage, fermez le robinet d'arrivée d'eau et laissez la porte entrouverte pour éviter la formation de moisissures et d'odeurs désagréables à l'intérieur de l'appareil
Évarez toujours l'appareil avant de procéder à son nettoyage ou à son entretien
Étirer les solants et les rodits à rassembler
N'utilisez en aucun cas de produits abrasifs ou de solvants pour nettoyer l'habillage et les éléments en caoutchouc. Utilisez uniquement un chiffon humidifié à l'aide d'une solution d'eau chaude savonneuse.
Pour éliminer les traces ou les taches de la surface intérieure, utilisez un chiffon humidifié à l'aide d'une solution d'eau légèrement vinaigrée, ou à l'aide d'un produit de nettoyage spécial pour lave-vaisselle.
Notice d'utilisation pendant une longue période
Il est conseillé d'effectuer un cycle complet à vide, de dérancer l'appareil, de fermer le robinet d'arrivée d'eau et de laisser la porte légèrement entrouverte. Cela permettra de conserver les joints en bon état plus longtemps et empêchera toute formation d'odeurs désagréables à l'intérieur de l'appareil.
Époêne d'appareil
Si l'appareil doit être déplacé, essayez de le maintenir en position verticale. Si cela s'avère absolument nécessaire, couchez-le sur l'arrière.

Attention
L'installation des tuyaux et les raccordements électriques doit être réalisés par des professionnels qualifiés.

Veuillez dire les indications figurant sur la plaque signalétique pour connaître la tension nominale. Branchez le lave-vaisselle sur une alimentation appropriée. Utilisez un fusible de La présence d'un fusible temporisé ou d'un disjoncteur est préconisée, de même que la présence d'un circuit d'alimentation indépendant pour cet appareil.
Assurez-vous que la tension et la fréquence d'alimentation correspondent à celles indiquées sur la plaque signalétique. Branchez la fiche uniquement sur une prise secteur correctement reliée à la terre. Si la prise électrique à laquelle l'appareil doit être raccordé n'est pas appropriée pour la prise, remplacez la prise, que d'utiliser un adaptateur ou un autre appareil similaire, car cela pourrait provoquer une surchauffe et des brûlures.
Avant d'installer l'appareil, vérifie que la mise à la terre est effectuée correctement
Raccordement d'eau froide
Branchez le tuyau d'arrivée d'eau froide sur un embout filtré de 19 mm et assurez-vous que le branchement est fermement serré.
Si les tuyaux sont neufs ou s'ils n'ont pas été utilisés pendant un certain temps, laissez l'eau couler pour vérifier que l'eau est propre. Cette précaution est nécessaire pour éviter le blocage de l'entrée d'eau et endommager l'appareil.
tuyau d'arrivée d'eau ordinaire
tuyau d'arrivée d'eau de sécurité
Asu et du tuyau d'arrière d'eau de sécurité
Le tuyau d'arrivée d'eau de sécurité est double paroi. Le système du tuyau garantit son intervention en bloquant le début d'eau en cas de rupture du tuyau d'arrivée d'eau et lors que l'espace d'air entre le tuyau d'arrivée d'eau et le tuyau ondulé extérieur est rempli d'eau.

Un tuyau fixé une doucette peut exposer s'il est installé sur le conduit d'alimentation en eau du lave-vaisselle. Si votre évier en est doté, il est recommandé de déconnecter le tuyau et d'obturer le trou.
Comment racorder le tuyau d'arrière d'eau de sécurité
- orte complète ent le tu au d'arrivée d'eau ors du compartiment de stockage situé l'arrière du lave-vaiselle.
- Déserrrez les vis du tuyau d'arrivée d'eau au robinet filtré de mm.
- Effectuer complètement l'arrivée d'eau avant d'utiliser le lave-vaisselle.
Comment débrancher le tuyau d'arrière d'eau de sécurité
- Coupe l'arrivée d'eau
- etire le tuyau d'arrivée d'eau du robinet
Insère le tuyau d'évacuation d'eau dans une conduite d'évacuation d'un diamètre d'au moins 4 cm ou laisse couler dans l'évier. Assure-toi que le tuyau n'est pas tordu ou plié. La hauteur du tuyau d'évacuation doit être inférieure à l'extrémité ouverte du tuyau qui ne doit pas être submergée dans l'eau pour éviter les reflux.
bien fixer le tuyau d'évacuation en position ou en position

Étage drain et îles d'eau des tuyaux
Si l'évier est placé à une hauteur du sol, il n'est pas possible de vider l'excès d'eau des tuyaux directement dans l'évier. Il sera dans ce cas nécessaire de recueillir l'eau dans un bol ou tout autre récipient approprié situé à l'extérieur et à une hauteur inférieure à celle de l'évier.
Notice d'utilisation
Accorde le tuyau d'évacuation vérifie qu'il est installé correctement pour éviter toute fuite éventuelle. Assure-toi que le tuyau d'évacuation d'eau ne soit pas plié ou écrabouillé.
Rallonge détachable
Si vous avez besoin d'une rallonge de tuyau, veillez utiliser un tuyau d'évacuation du lave-vaisselle.
Celui-ci ne devra pas dépasser 4 mètres, sous peine de réduire les performances de nettoyage du lave-vaisse.
e branc ement d'vacuation doittre a une auteur inf rieure a cm (maximum) au-dessus du fond du lave-vaiselle. e tu au d'vacuation doit tre bien fixe en place.
Mise en place de l'appareil
Placez le lave-vaisselle dans la position désirée. Sa face arrière doit toucher le mur derrière lui et les côtés se placent le long du mur ou des meubles contigus. Le lave-vaisselle est équipé de tuyaux d'alimentation et d'évacuation d'eau qui peuvent être positionnés soit sur le côté droit soit sur le côté gauche pour faciliter une installation correcte.
Mise en eau de l'appareil
Une fois que vous avez mis le lave-vaisselle en place, la hauteur du lave-vaisselle peut être modifiée en ajustant le niveau de vissage des pieds.


S'appliquent uniquement au lave-vaisselle en pose libre.
Le lave-vaisselle a été étudié avec une hauteur standard de 845 mm et peut être ainsi placé entre des meubles de cuisine modernes de même hauteur. Pour obtenir un alignement parfait, agissez sur les pieds réglables.
Le plan supérieur laminé de la machine ne requiert pas d'entretien particulier car il est résistant à la chaleur, aux rayures et aux taches.

installation sous un plan de travail)
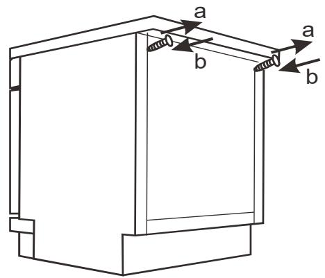
Les cuisines modernes disposent d'un plan de travail unique sous lequel viennent s'insérer les meubles de base et les appareils ménagers. Dans ce cas, il suffit de retirer le plan de travail en devissant les vis qui se trouvent à l'arrière (a).

Attention
Après avoir retiré le plan de travail, les vis DOIVENT être vissées de nouveau (b).
La hauteur est ainsi réduite à 815 mm comme prévu dans la norme internationale (ISO), et le lave-vaisselle vient s'intégrer parfaitement sous le plan de travail.
Tar e 1: choisir le meilleur endroit pour le lave-vaiselle
Le lave-vaisse doit être installé à proximité d'un robinet d'arrivée d'eau, d'un tuyau d'évacuation et d'une prise d'alimentation déjà existants.
Illustrations des dimensions du lave-vaisselle et de la position d'installation.
- L'espace compris entre le plan supérieur du lave-vaisselle et la partie supérieure du meuble doit être inférieur à 5 mm ; la porte doit être alignée par rapport aux parois latérales du meuble.

- Si le lave-vaisselle est installé dans un meuble annulaire, assurez-vous qu'il a suffisamment d'espace disponible pour ouvrir la porte.


Remarque :
Vous aurez peut-être besoin de percer un autre trou dans le meuble situé en face en fonction de l'emplacement de votre prise électrique.
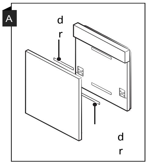
Taille 2: dimensions et installation du panneau décoratif
Pour la fixation du panneau d'habillage sur la porte du lave-vaisselle veuillez-vous référer aux illustrations et aux instructions d'installation ci-dessous.
Module semi-intégrable
Séparez les deux bandes velcro A et B, apposez la bande velcro A sur le panneau décoratif en bois et la bande velcro feutrée B sur la porte extérieure du lave-vaisselle (voir figure A). Une fois le panneau positionné, fixez-le sur la face etérieure de la porte à l'aide de vis et de boulons voir figure


Modulable tout intégrable
Installez le crochet sur le panneau décoratif en bois, puis insérez-le dans la fente de la face extérieure de la porte du lave-vaisselle (voir figure A). Une fois le panneau positionné, fixez-le sur la face extérieure de la porte à l'aide de vis et de boulons (voir figure B).


Taper : Réglage de la tension des ressorts de la porte
- La tension correcte des ressorts de la porte est réglée en usine. Si vous installez un panneau décoratif, il sera nécessaire de régler à nouveau la tension des ressorts. Tournez la vis de réglage de façon à desserrer ou à relâcher la tension du câble d'acier.
La tension du ressort de la porte est correcte lorsque la porte reste horizontale en position complètement ouverte, et qu'elle se ferme en la poussant légèrement.

Veuillez consulter les étapes d'installation spécifiées sur les dessins d'installation.
- Apposez la bande de condensation sous la surface de travail du meuble. Veuillez vous assurer que la bande de condensation affleure le bord de la surface de travail. (Étape 2)
- Connectez le tuyau d'arrivée à l'alimentation en eau froide.
- Branchez le tuyau d'évacuation.
- Branchez le câble d'alimentation.
- Mettez le lave-vaisselle en place. (Étape 4)
- Nivelez le lave-vaisselle. Le côté arrêté peut être réglé à partir de l'avant du lave-vaisselle en tournant la vis qui se trouve au milieu de la base du lave-vaisselle. Pour régler les pieds avant, utilisez un tournevis plat et tournez les pieds avant jusqu'à ce que le lave-vaisselle soit nivelé. (Étape 5 à Étape 6)
- Installez la porte du meuble sur la porte extérieure du lave-vaisselle. (Étape 7 à Étape 10)
- Réglez la tension des ressorts de la porte en tournant une clé Allen dans le sens des aiguilles d'une montre pour serrer les ressorts à gauche et à droite de la porte. Ne pas le faire pourrait endommager votre lave-vaisselle. (Étape 11)
- Le lave-vaisselle doit être bien fixé. Il y a deux manières de procéder :
A. Plan de travail normal : Insérez le crochet d'installation dans la fente du plan latéral et fixez-le au plan de travail avec les vis à bois.
B. Plan de travail en marbre ou en granit : Fixez le côté avec une vis.

Étape : niveler le lave-vaiselle
Le lave-vaisse doit être nivelé pour assurer un fonctionnement correct du panier et une performance optimale de lavage.
- Placez un niveau à bulle sur la porte et sur l’étagère dans le lave-vaisselle comme illustré pour vérifier que le lave-vaisselle est nivelé.
- Nivelez le lave-vaisselle en ajustant les trois pieds de nivellement individuellement.
- Lorsque vous nivelez le lave-vaisselle, veuillez faire attention à ne pas faire basculer le lave-vaisselle.


Remarque :
l'auteur a indiqué de rétracter des pieds est de
Attente d'intervention technique
Consultez les tableaux présentés sur les pages suivantes, cela pourra vous éviter de faire appel à un technicien.
| robl me | Causes possibles | Solution |
| Le lave-vaisselle ne marche pas | Le lave-vaisselle ne démarre pas | Fermez complètement la porte et assurez- ous qu'elle est ien verrouillée. |
| L'alimentation électrique ou la ligne électrique n'est pas connectée l'options Départ différé a été sélectionnée | érisfe et ranche l'alimentation électrique | |
| Consultez la section Départ différé de ce mode d'emploi pour réinitialiser | ||
| Verrouillage de sécurité enfants activé (modèles sélectionnés) | Désactivez le verrouillage de sécurité enfants, consultez la section de verrouillage enfants de ce mode d'emploi | |
| Le lave-vaisselle émet un bip à la fin du cycle | Cela indique que le cycle de lavage est terminé, le lave-vaisselle émettra un bip | |
| Le voyant de Produkt de in a es allume | L'écran L affiche « Lsb » | Ajoutez du produit de rinçage |
| Le lave-vaisselle est en fonctionnement trop longtemps | Le lave-vaisselle est connecté à l'eau froide | Vérifiez le lave-vaisselle, assurez-vous qu'il est correctement connecté à l'alimentation d'eau chaude |
| Le temps de cycle variera en fonction du degré de salissure de la vaisselle | Si la vaisselle est très sale, les cycles automatique, normal, casseroles et poèles seront plus longs | |
| L'option de désinfection est sélectionnée | Lorsque l'options de désinfection est sélectionnée, le temps de cycle augmentera pour atteindre la température requise de désinfection | |
| Les plats ne sont pas assez propres | La pression d'eau est temporairement faible | Utilisez votre lave-vaisselle lorsque la pression d'eau est normale |
| La température de l'eau entrant dans le lave-vaisselle est BASSE | Assurez-vous que le lave-vaisselle est branché sur l'alimentation en eau chaude. 'essa e pas d'utiliser autre la évaisselle lorsque l'eau chaude est utilisée ailleurs dans la maison. | |
| ro l e | Causes poss les | Solution |
| Les plats sont charges trop前几天 l'un de l'autre. | Chargez de nouveau la vaisselle selon le anuel d'instructions Ajoutez le détergent en fonction de la durée de l'eau et du cycle que vous avez choisi. Utilisez un détergent frais | |
| Le cycle sélectionné n'est pas adapté aux salissures causées par les alimentes. | Choisissez un autre cycle avec un temps de lavage plus long. | |
| es bras d'aspersion sont bloqués par certains éléments. | Assurez-vous ue le bras d'aspersion tourne librement | |
| Le lave-vaisselle ne marche pas | Le lave-vaisselle ne démarre pas | Fermez complètement la porte et assurez-vous u'elle est bien verrouillée. |
| ali entation electri ue ou la ligne électrique n'est pas connectée l'options Départ différé a été sélectionnée | érisfe et branc e l'ali entation électrique | |
| Consultez la section Départ différé de ce ode d'e ploi pour réinitialiser | ||
| Verrouillage de sécurité enfants activé (modèles sélectionnés) | Désacteve z le verrouillage de sécurité enfants, consultez la section de verrouillage enfants de ce mode d'e ploi | |
| La vaisselle ne sèche pas suffisamment | Le distributeur de liquide de rinceage est vide | Remplissez le distributeur de produit de rinceage ou ajoutez le produit de rinceage. |
| Chargement incorrect de la vaisselle | Chargez de nouveau la vaisselle selon le anuel d'instructions | |
| Le cycle que vous aze c oisi n'inclut pas le séchage | Choisissez le cycle approprié incluant le séchage | |
| La vaisselle présente des tâches et des dépôts de calcaire | a durété de l'eau est trop élevé | nstalle un adoucisseur d'eau si la durété de l'eau est extr e ent élevé |
| Chargement incorrect de la vaisselle | Chargez de nouveau la vaisselle selon le anuel d'instructions | |
| Vous utilisez un vaisse produit de rinceage | Utilisez un produit de rinceage frais | |
| Le distributeur de produit de rinceage est vide | Ajoutez le produit de rinceage dans le distributeur | |
| robl me | Causes possibles | Solution |
| Vous utilisez une trop grande quantité de détergent | Réduisez la quantité de détergent si vous utilisez de l'eau douce. | |
| La température d'eau d'entrée excède 158 °F | Baissez la température d'eau d'entrée | |
| Vous avez laissé du détergent dans le réservoir de détergent | Le détergent peut être trop hauts | Utilisez un détergent frais |
| e bras d'aspersion est bloqué | Chargez la vaiselle en vous assurant que les bras d'aspersion ne sont pas bloqués. | |
| Le distributeur de détergent ne se ferme pas | Dysfonctionnement du couvercle du distributeur de détergent | Ajoutez le détergent et le produit de rençage conformément aux indications du manuel. |
| 'eaou reste dans le lave-vaiselle. | e ccle pr c dont n'est pas terminé ou a été interrompu. | Sélectionnez le cycle approprié selon les explications du manuel. |
| Le lave-vaiselle ne se vidange pas correctement | Le circuit de vidange est obstrué | V rifiiez l'entrefer si vous en avez un Assurez-vous que le broyeur de déchets alimentaires est vide si le lave-vaiselle y est connecté |
| Le tuyau de vidange est plié | Assurez-vous que le tuyau de vidange est correctement raccord à l'vier | |
| Présence de mousse dans la cuve | Vous utilisez un détergent non approprié | Assurez-vous de n'utiliser que le détergent pour lave-vaiselle automatique |
| Fuites de lave-vaiselle | Excès de mousse causé par l'utilisation d'un détergent inadéquat | Assurez-vous de n'utiliser que le détergent pour lave-vaiselle approprié |
| Le lave-vaiselle n'est pas équilibré | Équilibréz le lave-vaiselle | |
| Taches noires ou grises sur les plats | Les ustensiles en aluminium se frontent contre les plats. | Réarrangez la vaiselle, assurez-vous que l'eau d'entr e n'est pas inf rieure à 120 H |
| Présence de taches à l'int rieur de la cuve | Salissures de café et de thé | Utilisez un nettoyant spécifique pour les taches pour retarder toutes les salissures |
| Taches rougeâtres | Elles sont causées par certains alimentés à base de tomates ; seul un cycle de rinçage après le chargement permettra de diminuier la coloration. | |
| ro l me | Ca ses ossi les | ol tion |
| Bruits | Ouverture du réservoir pour détergent\ Son de la pompe de vidange | Cela est normal |
| n ob et dur s'est introduit dans le module de lavage.ne fais l'ob et bro é le son doit s'arrêté. | Si le bruit persististe après un cycle complet, appelez le service après-vente. | |
| Le lave-vaisselle ne se remplit pas | Le robinet d'eau est fermé. | érifie si le robinet d'eau est ouvert |
| Le loquet de portepeut ne pas être correctement fixé. | Assurez-vous que la porte est fermée. |
1. Aire supérieure

| u éro | lé t |
| 1 | Tasses |
| 2 | Soucoupes |
| 3 | Verres |
| 4 | Petit bol de service |
| 5 | Bol de service moyen |
| 6 | Grand bol de service |
2. Airierérieur

| u éro | lé t |
| 7 | Assiettes à dessert |
| 8 | Assiettes à dîner |
| 9 | Assiettes creuses |
| 10 | Plat ovale |
| 11 | Panier à couverts |
3.ORTE-COUVERTS:

Veuillez placer les éléments plats et légers sur l'étagère. Le poids total est inférieur à 1,5kg.
4. Ranger couverts :



Informations pour les tests de comparabilité conformément à la norme EN 50242
Capacité : 14 couverts
Position du panier inférieur : position inférieure
Programme : ECO
Réglage du produit de finissage: 6
écalage de l'adoucissant : H3
| Numéro | Éléments |
| 1 | Cuillères àSoupe |
| 2 | Fourchettes |
| 3 | Couteaux |
| 4 | Cuillères àcafé |
| 5 | Cuillère àdessert |
| 6 | Cuillères deservice |
| 7 | Fourchettes aservir |
| 8 | Louches |
Pour connaître le mode d'emploi en détail, veuillez lire le contenu correspondant dans le manuel d'utilisation.

1 Installation du lave-vaisselle (Veuillez consulter la section 5 « NS PARTIE I : version générique.)
2 Élimination de gros résidus sur les couverts
Intérieur Exterieur
Chargement des paniers

4 Chargement du distributeur

5 Sélection d'un programme et fonctionnement du lave-vaisse
Utilisation de votre ave-vaisselle

| Ali entation | Appuyez ce bouton pour allumer votre lave-vaisselle. |
| ro ra e | Appuyez sur ce bouton pour sélectionner le programme de lavage approprié, le voyant correspondant s'allume. |
| Départ di éré | Appuyez sur le bouton Temporisation pour augmenter le temps de départ différé. Retarder un cycle jusqu'à 24 heures par incréments d'une heures. ÀpRES avoir régélé le temps de départ différé, appuyez sur la touche Démarrer/pause pour démarrer. |
| De i-c ar e | our les petites charges, vous pouvez sélectionner l'options demi-charge. Le cycle de lavage se fait uniquement dans le panier supérieur ou dans le panier inférieur et permet ainsi de faire des économies d'énergie. our activer cette option, veuillez appuyer sur le bouton demi-charge sur le bandeau de commande. |
| 5 ndi auteur de ro ra e | Intensif Pour la vaisselle très sale, les marmites, les casseroles, les plats, etc. normalement salis avec des alimentés incrustés. Verre Pour la vaisselle légèrement sale et les verres. Normal Pour les couverts normalement sales tels que les marmites, les assiettes, les verres et les casseroles légèrement sales. 90 min Pour les couverts normalement sales qui nécessitate un lavage rapide. ÉCO l s'agit d'un programme standard approprié pour le nettoyage de la vaisselle et c'est le programme le plus efficace en termes de consommation d'eau et d'énergie combinée pour ce type de vaisselle. Rapide Un lavage plus court pour les couverts légèrement sales qui n'ont pas besoin d'être séchés. |
| 6 ndi auteur d'avertisse ent | Produit de rincege Si l'indicateur ≅ « est allumé, alors le niveau de produit de rincege est bas et doit être ajouté. Sel Si l'indicateur ≅ « est allumé, alors le niveau de sel est bas et doit être ajouté. |
| 7 ndi auteur lt | u rieur Lors ue vous s le tionne u rieur seule la use du anier su rieur est a tiv e La use in rieure ne on tionnera as n rieur Lors ue vous s le tionne n rieur seule la use du anier in rieur est a tiv e La use su rieure ne on tionnera as |
| 8 ran | i e le te s restant le te s de te orisation le code d'erreur etc. |
Adoucisseur d'eau
L'adoucisseur d'eau doit être réglé manuellement à l'aide du cadran de durée de l'eau.
L'adoucisseur d'eau est conçu pour éliminer les minéraux et les sels de l'eau, ce qui aurait un effet néfaste ou négatif sur le fonctionnement de l'appareil.
Plus la teneur en sels est élevée, plus l'eau est dure.
L'adoucisseur d'eau doit être réglé en fonction de la dureté de l'eau de votre région. L'autorité locale en charge de la distribution de l'eau peut vous donner des conseils sur la dureté de l'eau dans votre région.
Réglementation de la consommation de sel
Le lave-vaisselle est conçu de façon à permettre le réglage de la quantité de sel consommée en fonction de la dureé de l'eau utilisée. L'objectif est d'optimiser et de personnaliser le niveau de consommation de sel.
Veuillez suivre les étapes ci-dessous pour ajuster la consommation de sel.
- Ouvrez la porte, mettez l'appareil en marche;
- Appuyez sur la touche Programme et maintenez-la enfoncée pendant plus de 5 secondes pour démarrer le mode de réglage de l'adoucisseur d'eau dans les 60 secondes qui suivent la mise en marche de l'appareil. Les voyants d'avertissement relatifs au sel et au produit de rincage s'allument sur une base régulière lorsque le modèle de réglage de l'adoucisseur d'eau est activé.
- Appuyez sur le bouton Programme pour sélectionner le réglage approprié en fonction de votre environnement local. Les paramètres changent selon le modèle de série suivant : H4->H5->H6->H1->H2->H3;
- Appuyez sur le bouton d'alimentation pour terminer le mode de réglage.
| DURETÉ DE EAU | Dégré de l'adoucisseur d'eau | Consommation de sel (gramme/cycle) | |||
| Allemand : dH | François : fH | Britannique : Clarke | Mmol/l | ||
| 0 - 5 | 0 - 9 | 0 - 6 | 0 - 0.94 | H1 | 0 |
| 6 - 11 | 10 - 20 | 7 - 14 | 1.0 - 2.0 | H2 | 9 |
| 12 - 17 | 21 - 30 | 15 - 21 | 2.1 - 3.0 | H3 | 12 |
| 18 - 22 | 31 - 40 | 22 - 28 | 3.1 - 4.0 | H4 | 20 |
| 23 - 34 | 41 - 60 | 29 - 42 | 4.1 - 6.0 | H5 | 30 |
| 35 - 55 | 61 - 98 | 43 - 69 | 6.1 - 9.8 | H6 | 60 |
Le réglage d'usine : H3
Contactez votre service local de distribution d'eau pour obtenir les informations relatives au degré de dureté d'eau.
pour plus de renseignements et d'informations veuillez consulter la section Réplissage du sel dans l'adoucisseur de l'ère version

Si autre modèle n'est pas équipé d'un adoucisseur d'eau, vous pouvez effectuer cette séquence.
Adoucisseur d'eau
La dureté de l'eau varie d'une zone à une autre. Si vous utilisez de l'eau dure dans le lave-vaisselle, des dépôts se forment sur la vaisselle et les ustensiles. L'appareil est équipé d'un adoucisseur spécial qui utilise un réservoir de sel spécialement conçu pour éliminer le calcaire et les minéraux de l'eau.
Réparation et arrêt de laaisyelle
- rivilé ie l'ac at d'ustensiles portant la ention lavable au lave-vaiselle «.
- Pour les ustensiles fragiles, sélectionnez un programme fonctionnant à la température la plus basse possible.
- Ne retirez pas vos verres et vos couverts du lave-vaisselle immédiatement après la fin du programme pour éviter tout risque d'endommagement.
Poids de matériau
- Couverts à ansè en bois, en porcelaine ou en nacre
- Objets en plastique qui ne résistent pas à la chaleur, ouverts anciens dotés d'éléments collés qui ne résistent pas aux autres températures. Couverts ou plats avec colle.
- Éléments en étain ou en cuivre
- Verres en cristal
- Objets en acier pouvant rouiller
- Plateaux en bois
- Objets en fibres synthétiques
- Certains types de verres peuvent se ternir au bout d'un certain nombre de lavages
- Les éléments en argent et en aluminium ont tendance à se décolorer au lavage
- Les motifs vitrés peuvent se ternir s'ils sont fréquemment lavés au lave-vaisselle
Recommandations pour le care ent du lave-vaisselle
rincez les grandes quantités de résidus d'aliments. Lavez roulez les résidus d'aliments dans vos poêles et casseroles. Il n'est pas nécessaire de rincer la vaisselle à l'eau courante.
Pour garantir une performance optimale du lave-vaisselle, respectez les directives de chargement suivantes.
Placez les objets dans le lave-vaisselle de la manière suivante :
- Les articles tels que les tasses, les verres, casseroles/marmites, etc. doivent être orientés vers le bas.
- Les articles incrus ou encastrés doivent être disposés en piles pour que l'eau puisse s'écouler.
- Tous les ustensiles sont empilés en toute sécurité et ne peuvent pas basculer.
- Tous les ustensiles sont positionnés de façon à permettre la libre rotation des bras d'aspersion durant le lavage.
- Disposez les articles creux tels que les tasses, les verres, les casseroles, etc. avec l'ouverture vers le haut pour éviter une accumulation d'eau dans le récipient ou la base profonde.
- Les plats et les lents de couvert ne doivent pas être posés l'un dans l'autre ou couchés les uns sur les autres.
- Pour éviter tout dommage, les verres ne doivent pas se toucher. Le panier supérieur est conçu pour contenir des articles plus délicats et plus légers tels que des verres, des tasses à café et à thé.
- Les couteaux à longue lame rangés en position verticale constituent un danger potentiel!
- Les éléments de couvert longs et/ou tranchants tels que les couteaux à découvert doivent être positionnés horizontalement dans le panier supérieur.
- Veuillez éviter de surcharger votre lave-vaisselle. Cette consigne est importante pour obtenir de bons résultats et assurer une consommation énergétique raisonnable.

Remarque :
Vous ne devez pas laver les articles de très petite taille dans le lave-vaisselle, car ils pourraient facilement tomber du panier
Retrait de a VAISSE e
Pour viter le coule ent d'eau du panier supérieur vers le panier inférieur, nous vous recommendons de vider le panier inférieur avant le panier supérieur.

Avertissement

Un avaisse peut être chaud. Ne sortez pas vos verres et vos couverts du lave-vaisselle dans les 15 minutes suivant la fin du programme pour éviter tout risque d'endommagement.
Argument du panier supérieur
Le panier supérieur est uncon pour contenir des articles plus délicats et plus légers tels que des verres, des tasses à café et à thé, des soucoupes, ainsi que des plats, des petits bols et des casseroles peu profondes (à condition qu'elles ne soient pas trop sales). Positionnez les plats et ustensiles de cuisine de façon à empêcher leur déplacement par la pulvérisation d'eau.

Argument du panier inférieur
Nous vous suggérons de placer de gros articles et les articles les plus difficiles à nettoyer dans le panier inférieur. Il s'agit des marmites, des casseroles, des couvercles, des plats et bols de service, comme l'illustre la figure ci-dessous. Il est préférable de placer les plats de service et les couvercles sur le côté des étagères afin d'éviter de bloquer la rotation du bras d'aspersion supérieur.
Le diamètre maximal conseillé pour les plats placés devant le distributeur de détergent est de 19 cm, ceci pour ne pas bloquer son ouverture.

Argument du panier couverts
Les couverts doivent être placés correctement dans le porte-couverts séparément les uns des autres. Assurez-vous que les ustensiles ne s'emboitent pas les uns dans les autres, cela peut conduire à de mauvais résultats de lavage.


Ne laissez aucun article déborder à travers la partie inférieure.
Chargez toujours les ustensiles tranchants avec la pointe effilée orientée vers le bas !
Pour un meilleur résultat de lavage, veuillez charger les paniers conformément aux indications du chapitre « Chargement des paniers » de la GR : version générique
Rôle du produit de rinçage et du détergent
Le produit de rinceage est libéré lors du rinceage final pour éviter que l'eau ne forme des gouttelettes sur vos plats, ce qui peut laisser des taches et des stries. Il améliore également le séchage en permettant à l'eau de moins s'écouler des plats. Notre lave-vaisselle est conçu pour fonctionner avec un produit de rinceage liquide.

Avertissement
Utilisez uniquement les produits de rinçage pour lave-vaiselle. Ne replissez jamais le distributeur de produit de rinçage d'autres substances, par ex. liquide vaisselle. Ils peuvent endommager l'appareil.
Intervalle de replissage du distributeur de liquide de rinçage
À moins que le voyant d'advertisement de rinceage ( ) sur le panneau de commande ne soit allumé, vous pouvez toujours estimer la quantité requise à partir de la couleur de l'indicateur optique de niveau situé à côté du bouchon. Lorsque le réservoir de produit de rinceage est plein, l'indicateur passe complètement au noir. La taille du point noir diminue au fur et à mesure que le niveau du produit de rinceage baisse. Ne laissez jamais le produit de rinceage descendre en dessous des 1/4 du réservoir.
Lorsque le niveau du liquide de rinçage baisse, la taille du point noir sur l'indicateur de niveau du liquide de rinçage change, tel qu'illustré ci-dessous.
• Plein

Plein au 3/4

Plein au 1/2

Plein au 1/4
Vide
Rôle du détergent
Les ingrédients chimiques qui composent le détergent sont nécessaires au retrait, au broyage et à la distribution de toute la saleté du lave-vaisselle. La majorité des détergents de qualité commerciale conviennent à cette fin.

Avertissement
- Utilisation appropriée du détergent
Utilisez uniquement les détergents spécialement conçus pour les lave-vaisselle. Gardez votre détergent au frais et au sec. Ajoutez le détergent en poudre dans le distributeur dédié juste avant le démarrage du cycle de lavage.

Les détergents pour lave-vaisselle sont corrosifs. Tenez le détergent pour lave-vaisselle hors de la portée des enfants.
Épaisseur du réservoir duuide derinhage

1 Retirez le bouchon du réservoir du liquide de rinçage en le faisant tourner dans le sens antihoraire.

3 Fermez le bouchon du réservoir du liquide de rinçage en le faisant tourner dans le sens horaire.
Indicateur de niveau du produit de rinçage

2 Versez le liquide de rinceage dans le distributeur en évitant qu'il ne déborde.
Nettoyez le liquide de rincage déversé à l'aide d'un chiffon absorbant pour éviter la formation excessive de mousse au cours du prochain lavage.
Étage du réservoir du tuyau de rinçage

Tournez le cadran indicateur du liquide de rinceage sur un chiffre compris entre 1 et 6. Plus le nombre est élevé, plus le liquide de rinceage utilisé par le lave-vaisselle est important. Si la vaisselle est mal séchée ou présente des taches, réglez le cadran sur le chiffre supérieur jusqu'à ce que vos plats ne présentent plus de taches.
Réduisez le niveau si vos plats présentent des taches blanches collantes ou si vos verres ou vos couteaux présentent une pellicule bleutée.
1 Ouvrez le volet du distributeur de détergent en poussant le loquet de ce dernier.
3 Fermez le volet en le faisant glisser vers la gauche, puis en l'appuyant vers le bas.
2 Ajoutez le détergent dans la plus grande cavité (A) pour le cycle de lavage principal.
Pour un meilleur résultat de lavage, surtout si votre vaisselle est très sale, versez une petite quantité de détergent sur la porte. Le détergent supplémentaire s'activera pendant la phase de prélavage.

- Notez que le réglage peut varier selon l'encrassement de l'eau.
- Veuillez observer les recommandations du fabricant indiquées sur l'emballage de votre détergent.
L'eau de cycle de la vapeur
Le tableau ci-dessous indique les programmes qui conviennent le mieux aux niveaux de résidus alimentaires et la quantité de détergent nécessaire. On y trouve également diverses informations sur les programmes.
(● indique la nécessité d'ajouter le liquide de rinceage dans le distributeur de liquide de rinceage.
| rogramme | escription du cycle | étergent de préla age la age | urée de fonctionnement min | nergie | Eau L | Li uide de ren age |
| Intensif | Prélavage(50 °C) | |||||
| Lavage (60 °C) | ||||||
| Rinçage | 5/30 g | |||||
| Rinçage | 1 ou 2 pieces | 175 | 1,6 | 17,5 | ● | |
| Rinçage (70 °C) | ||||||
| Séchage | ||||||
| Normal | Prélavage(45 °C) | |||||
| Lavage (55 °C) | 5/30 g | |||||
| Rinçage | 1 ou 2 pieces | 185 | 1,3 | 13,5 | ● | |
| Rinçage (65 °C) | ||||||
| Séchage | ||||||
| ÉCO EN | Prélavage | |||||
| Lavage (45 °C) | 5/30 g | |||||
| Rinçage (65 °C) | 1 ou 2 pieces | 195 | 0,93 | 10 | ● | |
| Séchage | ||||||
| Verre | Prélavage | |||||
| Lavage (40 °C) | 5/30 g | |||||
| Rinçage | (1 piece) | 130 | 0,9 | 13 | ● | |
| Rinçage (60 °C) | ||||||
| Séchage | ||||||
| 90' min | Lavage (65 °C) | |||||
| Rinçage | 35 g | |||||
| Rinçage (65 °C) | (1 piece) | 90 | 1,35 | 12,5 | ● | |
| Séchage | ||||||
| Rapide | Lavage (45 °C) | 25 g | 30 | 0,75 | 11 | ○ |
| Rinçage (50 °C) | ||||||
| Rinçage (55 °C) |

50242: Ce programme est le cycle de test. Informations pour le test de comparabilité conformément à la norme EN 50242.
Arrangement du levage
- Sortez les paniers inférieur et supérieur, chargez la vaisselle et remettez-les. Il est recommandé de charger d'abord le panier inférieur, puis le panier supérieur.
- Ajoutez le détergent.
- Branchez la fiche à la prise. Pour des informations relatives à l'alimentation électrique, réferez-vous à la première page « Fiche produit ». Assurez-vous que l'alimentation en eau est réglée sur la pression maximale.
- Ouvrez la porte, appuyez sur le bouton d'alimentation.
- Choisissez un programme, le témoin de réponse s'allume. Puis, fermez la porte, le lave-vaisselle démarre.
Configuration du programme au cours d'un jeu
Un cycle de lavage ne peut être changé que s'il fonctionne depuis peu de temps, sinon le détergent peut déjà avoir été libéré et le lave-vaisselle peut déjà avoir drainé l'eau de lavage. Dans ce cas, vous devez redémarrer le lave-vaisselle et remplir à nouveau le distributeur de détergent. Pour redémarrer le lave-vaisselle, suivez les instructions ci-dessous :
- Ouvrez légèrement la porte pour arrêter le lave-vaisselle. Pour l'arrêt du bras d'aspersion, vous pouvez ouvrir complètement la porte.
- Appuyez sur le bouton Programme et maintenez-le enfoncé pendant plus de trois secondes, la machine passe en mode veille.
- Vous pouvez changer le programme pour le réglage du cycle de votre choix.

Vous avez oublié d'ajouter un plat ?
Vous pouvez ajouter un plat oublié à tout moment avant l'ouverture du distributeur de dédTangent. Dans ce cas, suivez les instructions ci-dessous :
- Ouvrez légèrement la porte du lave-vaisselle pour interrompre le lavage.
- Près l'arrêt des bras d'aspersion, vous pouvez ouvrir complètement la porte.
- Ajoutez les plats oubliés.
- Fermez la porte.
- Le lave-vaisselle se remet en marche.



Il est dangereux d'ouvrir la porte du lave-vaisselle lorsqu'un cycle est en cours, la vapeur chaude pourrait vous brûler.
En cas de dysfonctionnement, le lave-vaisselle affichera des codes d'erreur permettant de les identifier :
| odes | i ni i a ions | auses poss es |
| E1 | ‘appareil c ar e pendant une longue période. | Les robinets ne sont pas ouverts ou l'entrée d'eau est blo uée ou la pression d'eau est trop BASSE. |
| E3 | ‘atteint pas la te pérature requise. | sfonctionne ent d'un élé ent chauffant. |
| E4 | Débordement. | Certains éléments du lave-vaiselle fuient. |
| E8 | Défaut d'orientation de la vanne de distribution. | Le circuit de la vanne de distribution est ouvert ou rompu. |
| E9 | ‘un des boutons a été aintenu,enforcé pendant 30 secondes. | résence de traces d'eau ou tout autre éléments sur le bouton. |

- En cas de débordement, coupe les soupapes d’approvisionnement en eau principal avant de contacter le service après-vente. Si la base de la cuve contient de l'eau en raison d’un débordement ou de fuites internes, retire l'eau avant de remettre le lave-vaiselle en marche.

| auteur | 815 mm |
| Largeur | 598 mm |
| rofondeur | 550 mm (avec porte fermée) |
| rofondeur | mm a ec porte ou erte ☑ |
Fiche du lave-vaiselle domestique conformément à la Directive européenne 1016/2010 & 1059/2010 :
| Fabricant | SCHNEIDER |
| Type/Description | SCLT6444X0 |
| Nombre de couverts standard | 14 |
| Classe d'efficacité énergétique ① | A++ |
| onsommation d'énergie annuelle ② | 266 kWh |
| a consommation d'énergie lors du ccle de netto age standard | 0,93 kWh |
| onsommation d'énergie en mode ff Arr t | 0,45 W |
| onsommation d'énergie mode eft-on (Laisse sur marche) | 0,49 W |
| onsommation d'eau annuelle ③ | 2 800 litres |
| lassé d'efficacité de sec age ④ | A |
| Cycle de nettoyage standard ⑤ | ÉCO 45 °C |
| Durée du programme avec cycle de nettoyage standard | 195 min |
| Niveau sonore | 44 dB (A) re 1 pW |
| Montage | Encastrable |
| Peut être encastré | Oui |
| Consommation d'énergie | 1 930 W |
| Tension/fréquence nominale | 230 V/50 Hz |
| ression d'eau pression du dé it | 0,04-1 MPa |
A+++(efficacité maximale) à D(efficacité minimale) 2 Consommation énergétique sur la base de 280 cycles standard de nettoyage avec alimentation en eau froide et modes économiques. La consommation d'énergie réelle varie en fonction de l'utilisation de l'appareil. Consommation d'eau sur la base de 280 cycles standard de nettoyage. La consommation d'eau réelle varie en fonction de l'utilisation de l'appareil. A (efficacité maximale) à G (efficacité minimale) 5 Ce programme est adapté au nettoyage de la vaisselle normalement sale. En outre, il s'agit du programme le plus efficace en termes de consommation d'énergie et d'eau combinées pour ce type de vaisselle.
La garantie ne couvre pas les pièces d'usure du produit, ni les problèmes ou les dommages résultant de:
(1) déteriorations superficielles dues à l'usure normale du produit ; (2) défauts ou déteriorations dus au contact du produit avec des liquides et dus à la corrosion provoquée par la rouille ou la présence d'insectes ; (3) tout incident, abus, utilisation impropre, modification, démontage ou réparation non autorisés ; (4) toute opération propre d'entretien, utilisation non conforme aux instructions concernant le produit ou le branchement à une tension incorrecte ; (5) toute utilisation d'accessoires non fournis ou non approuvés par le fabricant.

La garantie sera annulée en cas d'élimination de la plaque signalétique et/ou du numéro de série du produit.

Pour en savoir plus : www.quefairodedemesdechets.fr
Importé par SCHNEIDER CONSUMER GROUP 12, rue Jules Ferry, 93110 Rosny-sous-Bois, FRANCE
Notice Facile