SCX-4623FW - Imprimante multifonction laser SAMSUNG - Notice d'utilisation et mode d'emploi gratuit
Retrouvez gratuitement la notice de l'appareil SCX-4623FW SAMSUNG au format PDF.
| Type de produit | Imprimante multifonction laser monochrome |
| Fonctions principales | Impression, copie, numérisation, fax |
| Technologie d'impression | Laser |
| Résolution d'impression | Up to 1200 x 1200 dpi |
| Vitesse d'impression | Jusqu'à 23 pages par minute |
| Capacité du bac d'alimentation | 250 feuilles |
| Connectivité | USB 2.0, Ethernet, Wi-Fi, NFC |
| Compatibilité des systèmes d'exploitation | Windows, Mac OS, Linux |
| Dimensions approximatives | 406 x 362 x 254 mm |
| Poids | 8,5 kg |
| Alimentation électrique | 220-240 V, 50/60 Hz |
| Consommation électrique | Environ 350 W (impression), 50 W (veille) |
| Niveau sonore | 54 dB (impression), 30 dB (veille) |
| Entretien et nettoyage | Nettoyage régulier du tambour et des rouleaux, remplacement des toners |
| Pièces détachées et réparabilité | Disponibilité de toners, tambours et pièces de rechange |
| Certifications de sécurité | CE, FCC, UL |
| Garantie | 1 an (sur site) |
FOIRE AUX QUESTIONS - SCX-4623FW SAMSUNG
Questions des utilisateurs sur SCX-4623FW SAMSUNG
Le message d'erreur "Capot ouvert, ferme-le" sur votre imprimante multifonction Samsung SCX-4623FW indique que le capot supérieur de l'appareil n'est pas correctement fermé, ce qui empêche l'imprimante de fonctionner. Voici les étapes à suivre pour résoudre ce problème :
1. Vérification du capot
- Assurez-vous que le capot supérieur est bien abaissé et enclenché. Il doit être fermé fermement sans obstacle.
- Inspectez le capot pour vérifier qu'aucun objet ou papier ne bloque sa fermeture.
2. Contrôle du bac à papier
- Vérifiez que le bac à papier est correctement inséré et bien en place, car un bac mal positionné peut parfois entraîner ce message d'erreur.
3. Redémarrage de l'imprimante
- Éteignez l'imprimante, patientez une dizaine de secondes, puis rallumez-la pour réinitialiser le système.
4. Inspection des capteurs
- Si le message persiste malgré la fermeture correcte du capot, il est possible que le capteur de détection du capot soit défectueux ou obstrué. Nettoyez délicatement la zone autour du capteur pour enlever poussière ou débris.
- Si le problème continue, un contrôle technique peut être nécessaire.
En suivant ces étapes, vous devriez pouvoir éliminer le message d'erreur et reprendre l'utilisation normale de votre imprimante Samsung SCX-4623FW.
Téléchargez la notice de votre Imprimante multifonction laser au format PDF gratuitement ! Retrouvez votre notice SCX-4623FW - SAMSUNG et reprennez votre appareil électronique en main. Sur cette page sont publiés tous les documents nécessaires à l'utilisation de votre appareil SCX-4623FW de la marque SAMSUNG.
MODE D'EMPLOI SCX-4623FW SAMSUNG
Imprimante multifonction Mode d'emploi
imaginez les possibilités
Merci d'avoir fait l'acquisition de ce produit Samsung.
© 2009 Samsung Electronics Co., Ltd. Tous droits réservés.
Le present mode d'emploi n'est fourni qu'a titre informatif. Toutes les informations communiques ci-après sont susceptibles d'être modifiées sans préavis.
Samsung Electronics ne saurait etre tenu pour responsable des dommages, directs ou indirects, consecutifs à l'utilisation de ce guide.
Samsung et le logo Samsung sont des marques commerciales de Samsung Electronics Co., Ltd.
Microsoft, Windows, Windows Vista, Windows 7 et Windows 2008 Server R2 sont des marques déposées ou des marques commerciales de Microsoft Corporation.
TrueType, LaserWriter et Macintosh sont des marques commerciales d'Apple Computer, Inc.
- Les autres noms de produit et de marque sont des marques commerciales de leurs propriétaires respectifs.
Reportez-vous au fichier « LICENSE.txt » du CD-ROM fourni pour consulter les informations de licence Open Source.
REV. 1.02
COPYRIGHT 2
TABLE DES MATIÈRES

9 Informations en matière de sécurité
14 Informations legales
23 A propos de ce mode d'emploi
25 Caracteristiques de votre nouvel apparéil
INTRODUCTION

27 Description de l'appareil
27 Yue avant
28 Vue arrriere
29Vue d'ensemble du panneau de commande (SCX-4623 Series)
30Vue d'ensemble du panneau de commande (SCX-4600 Series)
31 Signification du voyant Statut
31 Présentation des touches utiles
31 Touche Menu
31 Touche d'Alimentation
31 Touche Impr. Écran
31 Mise en marche de l'appareil
PRISE EN MAIN

32 Configuration du matériel
32 Logiciels fournis
33 Configuration requise
33 Windows
34 Macintosh
34 Linux
34 Installation du pilote d'un apparéil connecté via USB
34 Windows
35 Macintosh
36 Linux
36 Partage local de l'appareil
37 Windows
37 Macintosh
38 Environnement réseau
38 Présentation des programmes réseau utiles
38 SyncThru™ Web Service
38 SyncThru™ Web Admin Service
38 Samsung AnyWeb Print
38 SetIP
38 Utilisation d'un réseau cable
38 Impression d'un rapport de configuration reseau
39 Creation d'une adresse IP
40 Paramétrage des valeurs réseau
40 Restauration des paramètres usine par défaut
41 Installation du pilote d'un apparéil connecté à un réseau cable ou via USB
41 Windows
42 Macintosh
43 Linux
43 Configuration IPv6
43 Activation d'IPv6
43 Paramétrage des adresses IPV6
44 Connexion de SyncThruTM Web Service
CONFIGURATION DE BASE
45
45 Réglage de l'altitude
45 Modification de la langue d'affichage
45 Paramétrage de la date et de l'heure
46 Modification du mode d'horloge
46 Modification du mode par défaut
46 Configuration dessons
46 Haut-parleur, sonnerie, bips de touches et bip d'advertissement
46 Volume du haut-parleur
46 Saisie de caractères à l'aide du pavé numérique
46 Saisie de caractères alphanumerices
47 Lettres et chiffres du clavier
47 Correction de nombres ou de noms
47 Insertion d'une pause
47 Utilisation des modes d'économie
47 Utilisation de la fonctionnalité d'économie de toner
47 Utilisation de la fonctionnalité d'économie d'énergie
47Réglage du bac et du papier par défaut
47 Au panneau de commande
48 Dans l'ordinateur
48 Réglage du début d'expiration de la tâche
SUPPORTS ET BACS
49
49 Préparation des originaux
49 Mise en place des originaux
49 Sur la vitre d'exposition
50 Dans le chargeur de documents
50 Sélection du support d'impression
50 Recommendations pour selectionner le support d'impression
50 Formats de support pris en charge dans chaque mode
51 Modification du format du bac
51 Chargement de papier dans le bac
51 Bac 1
52 Bac manuel
52 Impression sur supports spéciaux
53 Enveloppe
53 Transparent
54 Etiquettes
54 Papiers cartonnés ou de format personnelisé
54 Papier à en-tête/papier pré-imprimé
54 Photo
54 Brillant
55 Reglage du type et du format de papier
55 Réglage du format de papier
55 Réglagedutypedepapier
55 Réglage de la source de papier
55 Utilisation du support de sortie papier
55 Empilement ferme des feuilles
56 Récupération d'une impression de petite taille
IMPRESSION
57
57 Fonctions des pilotes d'impression
57 Pilote d'impression
57 Impression de base
58 Annulation d'une impression
58 Ouverture des préférences d'impression
58 Utilisation d'un réglage favori
59 Utilisation de l'aide
59 Utilisation des fonctions d'impression spéciales
59 Impression de plusieurs pages sur une seule feuille
59 Impression d'affiches
59 Impression de documents reliés (manuelle)
60 Impression recto verso (manuelle)
60 Modification des proportions de votre document
60 Impression d'un document sur un format de papier donné
60 Impression de filigranes
61 Utilisation de la surimpression
62 Options avances
62 Modification des réglages d'impression par défaut
62 Définition de votre apparéil comme apparéil par défaut
62 Impression dans un fichier (PRN)
63 Impression Macintosh
63 Impression d'un document
63 Modification des paramètres de l'imprimante
64 Impression de plusieurs pages sur une seule feuille
64 Impression Linux
64 Impression à partir d'applications
64 Impression de fichiers
65 Configuration des propriétés de l'imprimante
COPIE DE DOCUMENTS

66 Copie de base
66 Changer le réglage pour chaque copie
66 Modification du contraste
66 Sélection du type des originaux
66 Réduction ou agrandissement de copies
67 Changer les réglages de copie par défaut
67 Utilisation des fonctions de copie spéciales
67 Copie de cartes d'identité
68 Copie de type 2 pages ou 4 pages (pages multiples)
68 Copie de type Affiche
68 Copie de type Clone
68 Effacement des images de fond
69 Choix de la forme de sortie de la copie
69 Réglage du début de réinitialisation de copie
NUMÉRISATION

70 Méthode de numérisation de base
70 Numérisation d'originaux et envoi vers votre ordinateur (NUMER. VERS PC)
70 Pour les appareils connectés via USB
71 Pour un apparéil connecté au réseau
71 Utilisation du Gestionnaire de scan Samsung
71 Onglet Définir bouton de numérisation
72 Onglet Modifier port
72 Numérisation avec un logiciel compatible TWAIN
72 Numérisation avec le pilote WIA
72 Windows XP
72 Windows Vista
73 Windows 7
73 Numérisation Macintosh
73 Numérisation en USB
73 Numérisation en réseau
74 Numérisation Linux
74 Numérisation
74 Ajout de paramètres Job Type
75 Utilisation du Image Manager
TELECOPIE 76
76 Préparation à l'envoi de télécopie
76 Utilisation d'une télécopie sur votre ordinateur
76 Envoi d'une télécopie
77 Réception d'une télécopie
77 Envoi d'une télécopie sur votre apparéil
77 Réglage de l'en-tête de télécopie
78 Envoi d'une télécopie
78 Envoi manuel d'une télécopie
78 Confirmation d'une transmission
78 Recomposition automatique
78 Recomposition du dernier numero
78 Envoi d'une télécopie vers plusieurs destinataires
79 Envoi d'une télécopie differee
79 Envoi d'une télécopie prioritaire
80 Réception d'une télécopie sur votre apparéil
80 Modification des modes de réception
80 Réception manuelle en mode Tél
80 Réception automatique en mode Répondeur/Télécopie
80 Réception manuelle de télécopies avec un téléphone auxiliaire
81 Réception des télécopies en mode DRPD
81 Réception en mode de réception sécurisée
81 Activation du mode de reception sécurisée
81 Réception de télécopies en mémoire
81 Configuration des paramètres de document
82 RESOLUTION
82 LUMINOSITE
82 Transfert d'une télécopie vers une autre destination
82 Transfert d'une télécopie envoyee vers une autre destination
82 Transfert d'une télécopie reue vers une autre destination
83 Configuration d'un carnet d'adresses
83 Numeros de composition abrégée
83 Numeros de composition de groupe
84 Recherche d'une entrée dans le Carnet d'adresses
84 Impression automatique d'un rapport de télécopie
ÉTAT DE L'APPAREIL ET CARACTERISTIQUES AVANÇÉES
85
85 Configuration de fax
85 Modification des options de configuration de télécopie
85 Envoi
86 Réception
87 Modifier défaut
87 Journal auto
87 Configuration de copie
87 Modification des options de configuration de copie
87 Modifier défaut
87 Impression d'un journal
88 Effacement de la mémoire
89 Reseau
89 Présentation des menus
OUTILS DE GESTION

91 Présentation des outils de gestion utiles
91 Utilisation de SyncThru™ Web Service
91 Accès à SyncThru™ Web Service
91 Présentation de SyncThru™ Web Service
91 Paramétrage des informations de contact
92 Utilisation du programme Smart Panel
92 Présentation de Smart Panel
92 Modification des paramètres du programme Smart Panel
92 SmarThru
93 Demarrage de SmarThru
93 Utilisation de SmarThru
94 Utilisation du programme SetIP
94 Windows
94 Macintosh
94 Linux
95 Utilisation de Linux Unified Driver Configurator
95 Ouverture d'Unified Driver Configurator
95 Printers configuration
96 Scanners configuration
96 Ports configuration
97 Impression d'un journal de l'appareil
97 Suivi de la durée de vie des consommables
97 Utilisation de l'alerte pour toner faible
97 Trouver le nombre de série
97 Nettoyage de I'appareil
98 Nettoyage de I'extérieur
98 Nettoyage de l'intérieur
98 Nettoyage du scanner
99 Stockage de la cartouche de toner
99 Instructions de manipulation
99 Utilisation de cartouches de toner d'une autre marque que Samsung et rechargées
99 Durée de vie estimée d'une cartouche
99 Conseils pour déplacer et ranger l'appareil
AINTENANCE
DEPANNAGE

100 Redistribution du toner
101 Suppression des bourages d'original
102 Astuces pour éviter les voilages du papier
102 Astuces pour éviter les bourrages papier
102 Résolution des bourages papier
102 Dans le bac 1
102 Dans le bac d'alimentation manuel
103 Å l'intérieur de l'appareil
103 A la sortie papier
104 Signification des messages d'erreur
104 Vérification des messages à l'écran
108 Résolution d'autres problèmes
108 Problemes d'alimentation
108 Problemes d'alimentation papier
109 Problemes d'impression
111 Problemes de qualite d'impression
114 Problemes de copie
114 Problemes de numérisation
115 Problemes de télécopie
Table des matières
115 Probleme du Gestionnaire de scan Samsung
116 Problemes Windows courants
116 Problemes Linux courants
118 Problemes Macintosh courants
FOURNITURES ET ACCESSOIRES

119 Consommables dispensibles
119 Pièces de rechange disponibles
120 Remplacement de la cartouche de toner
121 Vérification de la durée de vie des consommables
CHARACTERISTIQUES TECHNIQUES

122 Caracteristiques techniques du matériel
123 Caracteristiques techniques environnementales
123 Caracteristiques techniques électriques
124 Spécifications des supports d'impression
CONTACT SAMSUNG WORLDWIDE

GLOSSaire

INDEX

Informations en matière de sécurité
Ces avertissements et precautions sont inclus afin d'eviter des blessures pour vous et d'autres personnes, ainsi que pour eviter des dommages potentiels à votre apparéil. Veillez à litre et à comprendre toutes ces instructions avant d'utiliser l' apparéil.
Faites preuve de bon sens lors de l'utilisation d'appareils électriques et chaque fois que vous utilisez votre apparéil. Observe en outre toutes les mises en garde et instructions mentionnées sur le produit et dans la documentation qui l'accompagne. Une fois que vous avez lu cette section, conservez-la pour pouvoir vous y reporter par la suite.
Important symboles de sécurité
Ce section explique la signification des icônes et des signes de ce guide de l'utilisateur. Ces symboles de sécurité sont dans l'ordre, suivant le degré de danger.
Explication des iconônes et des signes utilisés dans le guide de l'utilisateur :
| A | Avertissement Situations dangereuses ou à risques pouvant entraîner des blessures graves ou la mort. |
| A' | Mise en garde Situations dangereuses ou à risques pouvant entraîner des blessures légères ou des dommages matériels. |
| ⊗ | Ne pas essayer. |
| ⊗ | Ne pas démonter. |
| ⊗ | Ne pas toucher. |
| ⊗ | Débranchez la prise d'alimentation de la prise murale. |
| ½ | Assurez-vous que votre apparéil est branché sur une prise de courant reliée à la terre. |
| ○ | Contactez le service de maintenance pour obtenir de l'aide. |
| ○ | Suivez les instructions à la dette. |

Avertissement

Ne pas utiliser si le cable d'alimentation électrique est endommagé ou si la prise électrique n'est pas reliée à la terre.
Risque de décharge électrique ou d'incendie.

Ne rien poser sur l'appareil (eau, objets métalliques, objets lourds, bougies, cigarettestes allumées, etc.).
Risque de décharge électrique ou d'incendie.

Si l'appareil surchauffe, libre de la fumée, émet des bruits étranges, ou produit une odeur bizarre : coupez immédiatement l'interrupteur d'alimentation et débranchez l'appareil.
Risque de décharge électrique ou d'incendie.

Mise en garde

Pendant un orage ou pendant une période de non-fonctionnement, retirez la fiche d'alimentation de la prise de courant.
Risque de décharge électrique ou d'incendie.

Faites attention, la zone de sortie papier est chaude.
Vous pouvez vous brûler.
Si on a laissé tomber l'appareil, ou si le boftier semble endommagé, débranchez toutes les connexions de l'appareil et demandez une assistance auprès du personnel de service qualifié.
Dans le cas contraire, il y a un risque de décharge électrique ou d'incendie.

Si l'appareil présente un changement visible et brusque du niveau de performance, débranchez toutes les connexions de l'appareil et demandez une assistance auprès du personnel de service qualifié.
Dans le cas contraire, il y a un risque de décharge électrique ou d'incendie.

Ne pliez pas le cable d'alimentation électrique et ne placez pas d'objets lourds dessus.
Le fait de marcher sur le cable d'alimentation électrique ou de l'écraser avec un objet lourd peut occasionally une décharge électrique ou un incendie.

Ne retirez pas la fiche en tirant sur le cable; ne manipulez pas la prise avec des mains mouillées.
Risque de décharge électrique ou d'incendie.

Si la fiche n'entre pas facilement dans la prise, ne forcez pas pour l'insérer.
- Appelez un électricien pour changer la prise de courant, sous peine de décharge électrique possible.

Veillez à ce qu'aucun animal domestique ne ronge les cordons d'alimentation, de téléphone et d'interface PC.
Risque de décharge électrique ou d'incendie et/ou de blessure pour votre animal domestique.

Si l'appareil ne fonctionne pas correctement après avoir suivi ces instructions, débranchez toutes les connexions de l'appareil et demandez une assistance auprès du personnel de service qualifié.
Dans le cas contraire, il y a un risque de décharge électrique ou d'incendie.

Mise en garde

Ne tirez pas avec force sur la feuille durant l'impression.
Vous risquez d'endommager l'appareil.

Faites attention de ne pasmettre la main entre I'appareil et le bac d'alimentation papier.
Vous pourriez vous blesser.

N'obstruez pas l'orifice de ventilation et n'y poussez pas d'objets.
La température des composants risquérer d'augmenter et pourrait provoquer des dommages ou un incendie.

Faites attention lorsque vous remplacez du papier ou que vous retirez du papier coince.
- Les bords d'une feuille neuve sont tranchants et peuvent provoquer des coupures douloires.

Lors de l'impression de grandes quantités, la partie inférieure de la zone de sortie papier peut devenir chaude. Ne laissez pas des enfants y toucher.
Vous pouvez vous bruler.

Lorsque you retirez du papier coince, evitez d'utiliser des objets métalliques pointus.
Cela pourrait endommager l'appareil.

Ne laissez pas le papier s'empiler sur le réceptacle de sortie.
Cela pourrait endommager l'appareil.

Le dispositif d'interruption d'alimentation de cet apparéil est son cable d'alimentation électrique.
Pour couper l'alimentation, retirez le cable d'alimentation électrique de la prise électrique.

Avertissement

Ne placez pas l'appareil dans un endroit poussiéreux, humide ou sujet à des fuites d'eau.
Risque de décharge électrique ou d'incendie.

Mise en garde

Avant de déplacer l'appareil, éteignez-le et débranchez tous les cordons.
Puis levez l'appareil :
-si le poids de l'appareil est inférieur à 20 kg, une seule personne suffit;
-si le poids de l'appareil est de 20kg , deux personnes sont nécessaires ;
-si le poids de l'appareil est supérieur à 40 kg, 4 personnes sont nécessaires.
L'appareil pourrait tomber et être endommagé ou blesser quelqu'un.
Ne placez pas l'appareil sur une surface instable.
L'appareil pourrait tomber et être endommagé ou blesser quelqu'un.
L'appareil doit être connecté au niveau de puissance indiqué sur l'étiquette.
En cas de doute et si vous voulez vérifier le niveau de puissance utilisé, contactez le service d'électricité.
Utilisez exclusivement du cable AWG N°26a ou un cable de téléphone plus grand, si nécessaire.
Dans le cas contraire, vous risquez d'endommager l'appareil.
Ne couvrez pas l'appareil et ne le placez pas dans un endroit confiné comme un placard.
Si l'appareil n'est pas bien ventilé, il y a un risque d'incendie.
! Branchez directement le cable d'alimentation electrique dans une prise de courant correctement reliée à la terre.
Dans le cas contraire, il y a un risque de décharge électrique ou d'incendie.
Ne branchez pas un trop grand nombre d'appareils électriques sur une même prise murale ou sur une même rallonge.
- Une prise surchargee réduit les performances et constitue une source potentielle d'incendie et de décharges électriques.
Pour un fonctionnement sur, utilisez le cable d'alimentation électrique fourni avec votre apparéil. Si vous utilisez un cable de plus de 2 mètres avec un apparéil 140V , le calibre doit être 16 AWG ou plus grand.
Dans le cas contraire, l'appareil peut etre endommagé et il y a un risque de décharge électrique ou d'incendie.

Mise en garde

Débranche l'appareil de la prise secteur avant de nettoyer l'intérieur. Ne nettoyez pas l'appareil avec du benzène, du diluant pour peinture ou de l'alcool; ne pulverisez pas de l'eau directement dans l'appareil.
Risque de décharge électrique ou d'incendie.

Lorsque you effectuez une tâche dans l'appareil pour remplacer des consommables ou nettoyer l'intérieur, ne le faites pas fonctionner.
Vous pourriez vous blesser.
Gardez le cable d'alimentation et la surface de contact de la fiche exempts de poussière ou d'eau.
Dans le cas contraire, il y a un risque de décharge électrique ou d'incendie.
Ne retirez jamais les couvercles ou protections fixés avec des vis.
L'appareil doit exclusivement etre réparé par un technicien de maintenance Samsung.

Gardez les produits de nettoyage hors de portée des enfants.
Ils peuvent se blesser.

Ne démontez pas, ne répAREZ pas et ne remontez pas l'appareil vous-même.
Cela pourrait endommager l'appareil. Appelez un technicien/agree lorsque l'appareil doit être réparé.
Pour nettoyer et faire fonctionner l'appareil, respectez à la dette le guide d'utilisateur fourni avec l'appareil.
Dans le cas contraire, vous pourriez endommager l'appareil.
Utilisation des consommables

Mise en garde

Ne démontez pas la cartouche de toner.
Les particules de toner peuvent etre dangereuses si vous les inhalez ou les ingérez.

Ne brûlezaucin consommable comme une cartouche de toner ou une unité de chauffe.
Cela pourrait provoquer une explosion ou déclencher un incendie incontrollable.
Lorsque vous changez la cartouche de toner ou que vous retirez un papier bloqué, faites attention de ne pas vous salir ou salir vos vêtements avec le toner.
- Les particules de toner peuvent être dangereuses si vous les inhalez ou les ingérez.

Lorsque vous rangez les consommables comme les cartouches de toner, gardez-les hors de portées de enfants.
Les particules de toner peuvent etre dangereuses si vous les inhalez ou les ingérez.
L'utilisation de consommables recyclés, comme le toner, peut endommager l'appareil.
En cas de dommage lié à l'utilisation de consommables recyclés, des frais seront imputés.
Si du toner se dépose sur vos vêtements, n'utilise pas d'eau chaude pour les laver.
L'eau chaude fixe le toner sur le tissu. Utilisez de l'eau froide.
Cet apparéil est certifié avec plusieurs déclarations légales.
Avertissement relatif à la sécurité laser
Cet appareil est certifié conforme aux specifications DHHS 21 CFR, chapitre 1, sous-chapitre J pour les produits laser de classe I (1) aux États-Unis, et certifié dans les autres pays comme un produit laser de classe I, conformément aux specifications IEC 825.
Les produits laser de classe I ne sont pas considérés comme dangereux. Le système laser et l'imprimante sont conçus de manière à interdir tout accès aux rayonnements laser au-dessus d'un niveau de classe I pendant l'exploitation normale, les interventions de maintenance utilisateur, dans les conditions d'utilisation spécifique.
AVERTISSEMENT
N'tilisizjamaisl'imprimanteapresavoirretirelecapotprotecteurdu module laser/scanner.Lefaisceau lumineux,bienqu'invisible,pourtait endommagervosyeux.
Lors de l'utilisation de cet apparéil, ayez toujours à l'esprit les recommendations de sécurité suivantes, afin de réduire les risques d'incendie, de décharge électrique et d'autres accidents corporels :

CAUTION -CLASS 3B LASER RADIATION WHEN OPEN
AVOID EXPOSURE TO THE BEAM.
DANGER - LASER RADIATION AVOID DIRECT
EXPOSURE TO BEAM.
DANGER - RADIATIONS INVISIBLES DU LASER EN CAS
D'OUVERTURE. EVITER Toute Exposition
DIRECTE AU FAISCEAU.
Consignes de sécurité relatives à l' ozone

En mode d'utilisation normal, cet apparéil génére de l'ozone. Cette production ne présente aucun risque pour l'utilisateur. Toutfois, il est préféable d'utiliser l' apparéil dans un local correctement aéré.
Pour obtenir des informations complémentaires sur l'zone, contactez votre revendeur Samsung le plus proche.
AVERTISSEMENT CONCERNANT LE PERCHLORATE
Cet avertissement concernant le Perchlorate s'applique uniquement aux piles au lithium à CR (Dioxyde de manganèse) primaire dans le produit vendu ou distribué UNIQUEMENT en Californie.
Matériau à base de perchlorate – une manipulation spéciale peut être applicable.
Voir www.dtsc.ca.gov/hazardouswaste/perchlorate. (États-Unis uniquement).

Ct t i t t t t t t t t t t t t t t t t t t t t t t t t t t t t t t t t t t t t t t t t t t t t t t t t t t 0
Lorsque l'imprimante ne recoit pas de données pendant un certain temps, la consommation électrique est réduite automatiquement.
ENERGY STAR et la marque ENERGY STAR sont des marques déposées aux États-Unis.
Pour plus d'informations sur le programme ENERGY STAR, reportez-vous au site http://www.energystar.gov.
Recyclage

Veuillez recycler ou jitter les emballages de ce produit dans le respect de l'environnement.
Chine uniqueness
回收和再循环
Lesbons gestes de mise au rebut de ce produit (Déchets d'équipements électriques etlectroniques)

(Applicable dans les pays de l'Union Européenne et dans d'autres pays européens pratiquant le tri sélectif)
Le symbole sur le produit, les accessoires ou la documentation indique que le produit et ses accessoires électroniques (par ex. chargeur, écouteurs, cable USB) ne doivent pas été éliminés en fin de vie avec les autres déchets menagers. Pour éviter toute atteinte à l'environnement ou à la santé des personnes due à une mise au rebut non contrôle, veuillez séparer ces éléments des autres déchets et les recycler afin de promouvoir une réutilisation durable des ressources matérielles.
Les particuliers doivent contacter le revendeur chez qui ils ont acheté le produit ou l'administration appropriée pour s'informer sur le lieu et le moyen de recycler ces éléments tout en preserving l'environnement.
Les entreprises et professionnels sont invités à contacter leurs fournisseurs et à consulter les conditions de leur contrat de vente. Cet apparéil et ses accessoires électroniques ne doivent pas été mélangés avec d'autres déchets commerciaux lors de leur mise au rebut.
Élimination des batteries de ce produit
(Applicable aux pays de l'Union europeenne et aux autres pays européens dans lesquels des systèmes de collecte sélective sont mis en place)

Le symbole sur la batterie, le manuel ou l'emballage indique que les batteries de ce produit ne doivent pas etre eliminées en fin de vie avec les autres déchets menagers. Lorsquils sont inscrits, les symboles chimiques Hg, Cd ou Pb indiquent que la batterie contient une dose de mercure, de cadmium ou de plomb supérieure à ce que prévoit la directive européenne 2006/66. Si les batteries en question ne sont pas éliminées correctement, ces substances peuvent etre nocives pour la santé humaine et pour I'environnement. Afin de protégger les ressources naturelles et d'encourager la réutilisation du matériel, veillez a séparer les batteries des autres types de déchets et à les recycler via notre système local de collecte gratuite des batteries.
警告
Émissions radioélectriques
Réglementation FCC
Cet apparéil est conforme à l'aléna 15 de la réglementation FCC. Son exploitation ou utilisation est sujette aux deux conditions suivantes :
- Cet apparéil ne doit pas provoquer d'interférences nuisibles.
Cet appeireil doit accepter toute interfeence reque, y compris les interferences pouvant provoquer un fonctionnement indesirable.
Ce matériel a eted este t and sifait aux limes s'aplaant au appareils numerie de class B en vertu des dispositions de l'alina 15 de la reglementation FCC. Ces limtes visent a assurer une protection raisonnable contre les interfences en zone résidentielle. Cet apparil genere, utilise et peut emetre de haute frquesies radio et, s'il n'est pas installe et utilise conformement aux instructions, peut provoquer des perturbations dans les communications radio. Il est toutefois possible que son utilisation dans un environnement domestique genere de nombreuses interfences. Le cas echeant, l'utiliser devra faire le necessitiesaire pour les eliminer et prendra toutes les depenses afferentes a sa charge. Si cet apparil provoque des interfences sur la reception radio ou television lors de sa mise sous tension et hors tension, essayez de resoudre le probleme en adoptant I'une des mesures suivantes :
- Réorientez ou repositionnéz l'antenne de réception.
- Éloignez l'équipement du récepteur.
- Branchez l'appareil sur une prise différente de celle du récepteur.
- Consultez votre distributeur ou un technician radio/television qualifié pour obtaining de l'aide.

Tout changement ou modification effectué sans l'accord expres du fabricant pourrait annuler la capacité de l'utilisateur à utiliser cet équipement.
Réglementations canadiennes relatives aux interférences radio
Cet appeareil numérique ne dépasse pas les limites de Classe B pour les émissions de parasites radio par des apparils numériques, telles que définies dans la norme sur les équipements provoquant des interférences intitulée « Digital Apparatus», ICES-003 de l'Industry and Science Canada.
Cet appeareil numérique respecte les limites de bruits radioélectriques applicables aux appareils numériques de Classe B prescrites dans la norme sur le matériel brouilleur : « Appareils Numériques », ICES-003 édICTe par l'Industrie et Sciences Canada.
Russie uniquement
AB57

AB57
Mнсвязп Рocси

MnHCBMaPocnn
Marquage des télécopies
Le Telephone Consumer Protection Act de 1991 rend illegal l'utilisation par quiconque d'un ordinateur ou de tout autre apparéil électronique pour envoyer des messages via un télécopieur, sans qu'ils ne stipulent clairément dans la marge haute ou BASSE de chaque page, ou sur la première page transmise les informations suivantes :
- La date et l'heure de transmission.
- Le nom de l'entreprise, de l'entité commerciale ou du particulier qui envoie le message.
- Le numero de téléphone de la machine émettrice, de l'entreprise, de l'entité commerciale ou du particulier.
Votre operteur tlecom pout modifier ses eqipements de communication, leur fonctionnement ou certaines procedres lorsquil l'estime necessaire dans la limite du raisonnable et tant que cela n'est pas en contradiction avec l'alinca 68 de la reglementation FCC. Si, pour un client, il est logique de penser que de telles modifications risquent d'entrauner l'incompatibilité de certains de ses terminaux avec les equipments de communication de I'opérateur, de rendre nécessaire leur modification ou leur alteration, ou d'avoir des conséquences matérielles quelconques sur leur utilisation ou leurs performances, ce client est en droit d'en etre informé par ecrit de façon adequate, afin delui permettre de prendre les mesures visant a une utilisation ininterrompue des terminaux en question.
Indice REN
L'indice REN (« Ringer Equivalence Number ») - Indice d'équivalence de la sonnerie) et le numéro d'enregistrement FCC de cet appeareil se trouvent sur l'étiquette placée dessous ou derrière la machine. Dans certains cas, vous pouze être améné à fournir ces nombres à l'opérateur télécom.
L'indice REN indique la charge électrique placée sur la ligne téléphonique. Il permet de déterminer les éventuelles surcharges. L'installation de plusieurs types d'équipement sur la même ligne téléphonique peut cause des problèmes pour les appeals téléphoniques entrants et sortants, en particulier la sonnerie en cas d'applé. Pour un service optimal de l'opérateur telcom, la somme des indices REN de tous ces équipements doit être inférieure à cinq. Dans certains cas, la somme de cinq équipements peut ne pas permettre l'utilisation de la ligne. Si un élément de votre équipement téléphonique ne fonctionne pas correctement, débranchez-le immédiatement de la ligne téléphonique car il peut endommager le réseau téléphonique.
Cet équipement est conforme à la section 68 de la réglementation FCC et aux exigences adoptées par l'ACTA. La partie arrête de cet équipement présente une étiquette mentionnant, entre autres, l'identifiant du produit au format américain : AAAEQ##TXXXX. En cas de besoin, vous doivent indiquer ce numéro à l'opérateur télécom.

La reglementation FCC indique que les changements ou modifications de cet équipement qui n'auraient pas pu etre expressement approuvés par le fabricant peuvent priver l'utiliser du droit de l'utiliser. Si un terminal endommage le reseau tellephonique, l'opérateur télécom doit prévenir le client que le service risque d'être interrompu. Toutefois, lorsqu'il n'est pas possible de donner un préavis, I'opérateur peut interrompree temporairement le service s'il :
a) Prévient rapidement le client.
b) Donne au client la possibilité de remédier au problème d'équipement.
c) Informe le client de son droit à porter plaine auprès de la commission fédérale de la communication conformément aux procédures définies dans la sous-partie E de l'aléa 68 de la réglementation FCC.
Voudevezaussi savoir que:
- Voire telecopier Samsung n'est pas conu pour etre connecte a un syste PBX (autocommutateur privé) numérique.
Si you envisagez d'utiliser un modem d'ordinateur ou de telercopier sur la meme ligne tléphonique que voitre telercopier, tous les
appareils peuvent presenter des problemes de transmission et de reception. A part un telephone, il est recommande de ne pas installer
d'autre apparail sur la meme ligne que le telercopier.
Si la foudre affecte souvent une region ou que les surtensions y sont frquentes, il est recommendé d'installer des parasurtenseurs pour les lignes electrique et telephonique. Vous pouvez les acheter auprès de votre revendeur ou dans des magasins spécialisés dans la téléphonie ou l'électronique. - Avant de programmer les numéro d'urgence et/ou de les tester, prévenez le régulateur de ces services en l'appelant sur un numéro autre que les numéro d'urgence. Il vous donnera des instructions sur la façon de tester le numéro d'urgence.
- Cet apparéil ne peut pas être utilisé avec les services payants ou sur des lignes partagées.
- Ce téléphone dispose de couplage magnétique avec les apparèils de correction auditive.
Voue puez connecter cet appareil au reseau tellephonique en toute sccurté à l'aide d'une prise modulaire standard de type USOC RJ-11C.
Important
Les fils electriques de cet appeareil sont Equipes d'une fiche electrique standard de 13 A (BS 1363) et d'un fusible de 13 A. Lorsque you changez ou examinez le fusible, you nevez replaced le fusible de 13 A approprié. You nevez ensuite replace le capuchon du fusible. Si you ave perdu le capuchon du fusible, nutilise pas la prise avant d'avoir replaced un autre capuchon.
Prenez contact avec le détaillant qui vous a vendu l'appareil.
La fiche électrique la plus utilisée au Royaume-Uni est la prise de 13 A. Cependant, certains batiments (particulierement les plus anciens) ne disposent pas de prises de courant de 13 A. Vous doivent alors vous procurer un adaptateur approprié. Ne retirez pas la fiche moulée d'origine.
Si la fiche monocque est endommagée, débarrasssez-vous en immédiatement. Il n'est pas possible de la réparer et vous risqueriez de recevoir une décharge électrique si vous la branchiez dans une prise.
Avertissement important

Cet apparéil doit être relié à la terre.
Le code de couleurs suivant est appliqué aux fils des branchements électriques :
- Vert et jaune: terre
- Bleu:neutre
- Brun : phase
Si les fils de votre système électrique ne correspondent pas aux couleurs indiquées sur la fiche, procédez comme suit :
Connectez le fil vert et jaune à la broche portant la lecture « E », le symbole de mise à la terre, la couleur verte ou les couleurs jaune et verte.
Connectez le fil bleu à la broche signalée par la lecture « N » (neutre) ou par la couleur noire.
Connectez le fil marron à la broche signalée par la dette « L » ou par la couleur rouge.
Un fusible de 13 A doit être present dans la fiche, dans l'adaptateur ou sur le tableau électrique.
Approbations et certifications

Le marquage CE apposé sur ce télécopieur signifie que Samsung Electronics Co., Ltd. a déclaré l'appareil conforme aux directives 93/68/CEE de l'Union Européenne suivantes :
Par la presente, Samsung Electronics déclare que l'appareil est conforme aux exigences essentielles et aux autres dispositions pertinentes de :
Voue puez cunter ce dearion de conformite sur www.samsung.com/priners. Accedz a Assistance tlchargements et entrez le nom de va tme imprimante (MFP) pour parcourir cette déclaration.
1er janvier 1995 : Directive 2006/95/EC du Conseil de l'UE, harmonisation des lois des États membres relatives aux équipements basse tension.
1er janvier 1996 : Directive 2004/108/EC (92/31/CEE) du Conseil de l'UE, harmonisation des lois des États membres relatives à la compatibilité electromagnétique.
9 mars 1999 : Directive 1999/5/CE relative à la conformité des équipements radios et des terminaux de télécommunications. Vous pouvez vous procurer le texte complet de la déclaration, décrivant en détaill ces différentes directives et les normes correspondantes, auprès de votre distributeur Samsung Electronics Co., Ltd.
Certification CE
Certification de conformité à la Directive 1999/5/CE relative aux équipements radio et terminaux de télécommunications (FAX).
Cet équipement Samsung a ete auto-certifie par Samsung pour la connexion en Europe d'un terminal simple au reseau tellephonique commute (RTPC) en conformite avec la Directive 1999/5/CE. Il a ete prevu pour fonctionner sur le reseau tellephonique public commute français et sur les autocommutateurs privés compatibles des pays européens :
En cas de probleme, il convient de contacter en premier lieu le laboratoire europeen QA de Samsung Electronics Co., Ltd.
Ce produit a ete teste en fonction des normes TBR21. Pour faciliter l'utilisation et la mise en oeuvre de tout equipement terminal compatible avec ces normes, l'Institut européen des normes de télécommunications (ETSI) a edite un document consultatif (EG 201 121) contenant des remarques et des obligations supplémentaires destinées à assurer la compatibilité totale des terminaux TBR21 avec les reseaux. Ce produit a ete concu en fonction et dans le respect total de toutes les informations applicables containues dans ce document.
Copyright © 1998-2001 The OpensSL Project. Tous droits réservés.
La redistribution et l'emploi sous forme de code source et binaire, modifie ou non, sont autorisés si les conditions suivantes sont respectées :
- La redistribution du code source implique d'inclure la déclaration de copyright ci-dessus, cette liste de conditions et la clause exonératoire suivante.
- La redistribution sous forme binaire doit reprendre la déclaration de copyright précédente, cette liste de condition et la clause d'exonération de responsabilité suivante dans la documentation et/ou tout autre matériel fourni avec la distribution.
- Tout support publicitaire mentionnant ou utilisant ce logiciel doit faire mention de la déclaration suivante : « Ce produit contient un logiciel développé par OpensSL Project et inclus dans le OpensSL Toolkit. (http://www.openssl.org/) »
- Toute utilise des noms « OpensSL Toolkit » et « OpensSL Project » dans le but de promouvoir des produits dérivés de ce logiciel ou d'en faire de la publicité est formellement interdite sans
- autorisation écrite préalable. Pour obtenir une autorisation écrite, veuillez vous adresser à opensll-core@openssl.org.
- Les produits dérivés de ce logiciel ne peuvent s'appeler « OpensSL » ni composer « OpensSL » dans leur nom sans autorisation écrite préalable de OpensSL Project.
- La redistribution, sous quelque forme que ce soit, doit mentionner la déclaration suivante : « Ce produit inclut un logiciel développement par OpensSL Project pour une utilisation dans OpensSL Toolkit (http://www.openssl.org/) »
CE LOGICIEL EST FOURNI PAR THE OpensSL PROJECT EN L'ETAT ET Toute GARANTIE EXPRESSE OU TACITE, Y COMPRIS MAIS SANS S'Y LIMITER, TOUTE GARANTIE IMPLICITE RELATIVE À LA QUALITÉ MARCHANDE ET À L'ADAPTATION À UN USAGEPARTICULIER EST REJETEE. THE OpensSL PROJECT OU SES COLLABORATEURS NE POURRONT EN AUCUN CAS ÉTRE TENUSPOUR RESPONSABLES DE DOMMAGES DIRECTS, INDIRECTS, ACCIDENTELS, SPECAUX, EXEMPLAIES NI SECONDAIRES QUELSQU'ILS SOIENT (Y COMPRIS MAIS SANS S'Y LIMITER, LES DOMMAGES CAUSES PAR UNE PERTE D'USAGE, DE DONNÉES OU DEBENÉFICES, AU REMPLACEMENT DE MARCHANDISES OU DE SERVICES, OU À L'INTERRUPTION DE L'ACTIVité), ET CE QUEILLEQU'en SOIT LA CAUSE OU LA RESPONSABILITÉ THÉORIQUE, QUE CETTE RESPONSABILITÉ SOIT DE NATURE CONTRACTUELLE,DELICTUELLE OU QUASI DELICTUELLE, OU QU'IL S'AGISSE D'une RESPONSABILITÉ SANS FAUTE OU RELEVANT D'une AUTRECATÉGORIE (Y COMPRIS LA NÉLGENCE), SUITE À L'UTILISATION SOUS QUELQUE FORME QUE CE SOIT DE CE LOGICIEL, MÊMESI LA POSSIBILITÉ D'UN TEL DOMMAGE AVAIT ÉTÉ MENTIONNée.
Ce produit inclut un logiciel cryptographique développé par Eric Young (eay@cryptsoft.com). Ce produit inclut un logiciel développé par Tim Hudson (tjh@cryptsoft.com).
Copyright © 1995-1998 Eric Young (eay@cryptsoft.com). Tous droits réservés.
Ce propiciel est une implementation SSL ecrite par Eric Young (eay@cryptsoft.com). L'implémentation a été ecrite de façon à être compatible Netscapes SSL.
Cte h t u a e. c d t t t t t t t t t t t t t t t t t t t t t t t t t t t t t t t t t t t t t t t t t t t t t t t t t t 01t i f l l f f f f f f f f f f f f f f f f f f f f f f f f f f f f f f f f f f f f f f f f f f f f f f f f f f s o o o o o o o o o o o o o o o o o o o o o o o o o o o o o o o o o o o o o o o o o o o o o o o o o o O T r r r r r r r r r r r r r r r r r r r r r r r r r r r r r r r r r r r r r r r r r r r r r r r r r r R R R R R R R R R R R R R R R R R R R R R R R R R R R R R R R R R R R R R R R R R R R R R R R R R R R
La redistribution et l'emploi sous forme de code source et binaire, modifie ou non, sont autorisés si les conditions suivantes sont respectées :
- La redistribution du code source implique d'inclure la déclaration de copyright ci-dessus, cette liste de conditions et la clause exonératoire suivante.
- La redistribution sous forme binaire doit reprendre la déclaration de copyright précédente, cette liste de condition et la clause d'exonération de responsabilité suivant dans la documentation et/ou tout autre matériel foumi avec la distribution.
- Tout support publicitaire mentionnant ou utilisant ce logiciel doit faire mention de la déclaration suivante : « Ce produit inclut un logiciel cryptographique écrit par Eric Young (eay@cryptsoft.com) ». Le terme « cryptographique » peut être omis si les routines de la bibliothèque utilisée n'ont pas un caractère cryptographique.
- Si vous incluez un code spécifique à Windows (ou un de ses dérivés) provenant du repertoire apps (code d'application) vous devez inclure un.accuse de réception : « Ce produit contient un logiciel développé par Tim Hudson (tjh@cryptsoft.com) »
CE LOGICIEL EST FOURNI PAR ERIC YOUNG AS EN L'ETAT ET Toute GARANTIE EXPRESSE OU TACITE, Y COMPRIS MAIS SANS S'Y LIMITER, TOUTE GARANTIE IMPLICITE RELATIVE À LA QUALITÉ MARCHANDE ET À L'ADAPTATION À UN USAGE PARTICULIER EST REJETEE. L'AUTEUR OU SES COLLABORATEURS NE POURRONT EN AUCUN CAS ÉTRE TENUS POUR RESPONSABLES DE DOMMAGES DIRECTS, INDIRECTS, ACCIDENTELS, SPEÇAUXS, EXEMPLAIES NI SECONDAIRES QUELS QU'ILS SOIENT (Y COMPRIS MAIS SANS S'Y LIMITER, LES DOMMAGES CAUSES PAR UNE PERTE D'USAGE, DE DONNÉES OU DE BÉNFICES, AU REMPLACEMENT DE MARCHANDISES OU DE SERVICES, OU À L'INTERRUPTION DE L'ACTIVité), ET CE QUEILLE QU'en SOIT LA CAUSE OU LA RESPONSABILITÉ THEORIQUE, QUE CETTE RESPONSABILITÉ SOIT DE NATURE CONTRACTUELLE, DÉLICTUELLE OU QUASI DÉLICTUELLLE, OU QU'IL S'AGISSE D'une RESPONSABILITÉ SANS FAUTE OU RELEVANT D'une AUTRE CATÉGORIE (Y COMPRIS LA NÉLGENCE), SUITE À L'UTILISATION SOUS QUELQUE FORME QUE CE SOIT DE CE LOGICIEL, MÈME SI LA POSSIBILITÉ D'UN TEL DOMMAGE AVAIT ÉTÉ MENTIONnée.
La licence et les termes de distribution pour toute version disponible publiquement de ce code ne peuvent pas etre changés, c'est-à-dire que ce code ne peut pas simplement etre copie et place dans une autre licence publique (y compris la licence publique GNU).
产品中有毒有害物质或元素的名称及含量
A propos de ce mode d'emploi
Ce mode d'emploi fournit des informations sur l'utilisation de l'appareil. Les novices comme les utilisateurs professionnels peuvent s'y reporter pour l'installation et l'utilisation de l'appareil.

- Lisez les informations de sécurité avant d'utiliser l'appareil.
Si you rencontrez un probleme d'utilisation de l'appareil, reportez-vous au chapitre de depannage (voir « Dépannage » à la page 100). - Les termes utilisés dans ce guide de l'utilisateur sont expliqués dans le chapitre du glossaire (voir « Glossaire » à la page 127).
Toutes les illustrations de ce mode d'emploi peuvent etre differentes de sua re appareil en fonction de ses options ou du modèle. - Les procédures de ce mode d'emploi sont principalement basées sur Windows XP.
Convention
Certains termes sont utilisés de manière interchangeable dans ce mode d'emploi, comme ci-dessous :
- « Document » est synonyme d'« original »
- « Papier » est synonyme de « support » ou de « support d'impression »
- « Appareil » se rapporte à une imprimante ou une imprimante multifonctions.
Youtourevez les conventions utilisées dans ce guide récapitulées dans le tableau ci-dessous :
| Convention | Description | Exemple |
| Gras | Pour les textes apparaissant à l'écran ou les noms des boutons sur l'appareil. | DEMAR |
| Remarque | Donne des informations supplémentaires ou des specifications détaillées des fonctions et fonctionnalités de l'appareil. | Le format de la date peut varier d'un pays à l'autre. |
| Mise en garde | Informe les utilisateurs des risques éventuels de dommages mécaniques ou de dysfonctionnements de l'imprimante. | Ne touche pas la partie inférieure verte de la cartouche de toner. |
| Note de bas de page | Donne des informations détaillées sur certains mots ou certaines expressions. | a. pages par minute |
| (« Rétérence ») | Renvoie les utilisateurs à une page de référence pour des informations détaillées supplémentaires. | (Voir Recherche d'autres informations.) |
Les ressources suivantes you proposent, soit a l'écran, soit sous forme imprimée, des informations concernant la configuration et l'utilisation de l'appareil.
| Nom du document | Description |
| Guide d'installation rapide | Ce guide fournit des informations de base sur l'installation de votre apparéil. |
| Mode d'emploi | Ce guide fournit des instructions pas à pas pour utiliser toutes les fonctions de l' apparéil, et contient des informations pour l'entretien et le dépannage, ainsi que pour le remplacement de consommables. |
| Aide du pilote de l' apparéil | Cette aide fournit une assistance sur le pilote d'impression et des instructions concernant la configuration des propriétés pour l'impression (voir « Utilisation de l'aide » à la page 59). |
| Site Web de Samsung | Si vous avez accès à Internet, vous pouvez obtenir l'aide, le support, les pilotes de l' apparéil, les manuels ou les informations de commande nécessaires sur le site Web Samsung, www.samsung.com/printer. |
| Logiciels téléchargeables | Vous pouvez télécharger des logiciels utiles à partir du site Web de Samsung. • SyncThru™ Web Admin Service : Pratique pour les administrateurs réseau qui ont besoin de gérer de différents apparéils simultanément. Ce programme ne concerne que le module réseau. (http://solution.samsungprinter.com) • Samsung AnyWeb Print : Permet aux utilisateurs individuels de facilement capturer à l'écran la fenêtre du site Web dans Windows Internet Explorer. (http://solution.samsungprinter.com/personal/anywebprint) |
Caracteristiques de votre nouvel appareil
Votre nouvel appareil est doté de fonctionnalités améliorant la qualité des documents que vous imprimez.
Fonctions spéciales

Impressionrapide et de haute qualite
- Vous pouvez imprimer jusqu'à une résolution effective de 1200 × 1200 points par pouce.
- Vous pouvez imprimer jusqu'à 22 ppm sur du papier au format A4 et 23 ppm sur du papier au format Letter.
Prise en charge de plusieurs types de support d'impression

- Le bac manuel prend en charge le papier ordinaire en divers formats, le papier à en-tête, les enveloppées, les étiquettes, des supports de format personnelisé, des cartes postales, et du papier lourd.
Le bac de 250 feuilles prend en charge le papier ordinaire.
Creation de documents professionnels

- Impression de filigranes. Vous pouvez personnaliser vos documents avec des mots tels que « Confidentialiel » (voir « Impression de filigranes » à la page 60).
- Impression d'affiches. Le texte et les images de chaque page de votre document sont agrandis et imprimés sur plusieurs feuilles de papier qui peuvent être collées ensemble pour former une affiche (voir « Impression d'affiches » à la page 59).
- Vous pouvez utiliser des formulaires préimprimés avec du papier ordinaire (voir « Utilisation de la surimpression » à la page 61).
Gain de temps et d'argent

Pour economiser du papier, vous pouvez imprimer plusieurs pages sur une seule feuille (voir « Impression de plusieurs pages sur une seule feuille » à la page 59).
- Cet apparéil économique l'électricité en réduisant considérablement la consommation électrique lorsqu'il n'est pas utilisé.
- Afin d'économiser le papier, vous pouvez imprimer sur les deux faces de chaque feuille (impression manuelle) (voir « Impression recto verso (manuelle) » à la page 60).
Impression sous différents environnements

- Vous pouvez imprimer sur divers systèmes d'exploitation tels que Windows, Linux et Macintosh (voir « Configuration requise » à la page 33).
- Voiture appliceil est équipé d'une interface USB et d'une interface réseau.
Reproduction de documents originaux sous plusieurs formats

- Notre apparéil peut réproduire plusieurs copies d'un original sur une seule feuille (voir « Copie de type 2 pages ou 4 pages (pages multiples) » à la page 68).
- Vous poubez régler et améliorer simultanément la qualité d'impression et la taille de l'image.
Numérisation des originaux et envoi sur-le-champ

- Numérique en couleur et recourez à la compression précise des formats JPEG, TIFF et PDF.
- Numériquerapidement des fichiers et envoyez-les à plusieurs destinataires via le réseau (voir « Pour un apparéil connecté au réseau » à la page 71).
Définition d'un jour et d'une heures spécifiques pour l'envoi d'une télécopie

- Vous avez la possibilité d'indiquer le jour et l'heure d'envoi d'une télécopie ainsi que d'effectuer l'envoi à plusieurs destinataires enregistrés.
- Vous pouvez configurer l'appareil pour l'impression de journaux des télécopies une fois celles-ci envoyées.
IPv6
Cet apparéil prend en charge IPv6.

Cet appareil est conçu pour répondre à tous vos besoin documentaires, de l'impression à la copie, en passant par des solutions réseau avancées destinées à saufive activités commerciale.
Certains composants et fonctions en option peuvent etre indisponibles en fonction du mode ou du pays.
Les fonctionnalités par modèle incluant :
| FONCTIONS | SCX-4600(K) SCX-4605K SCX-4610K | SCX-4623F(K) | SCX-4623FN | SCX-4623FH |
| Impression | ● | ● | ● | ● |
| Impression recto versus (manuelle) | ● | ● | ● | ● |
| Copie | ● | ● | ● | ● |
| Téléçocopie | ● | ● | ● | |
| Téléçocopie PC réseau | ● | ● | ● | |
| Téléçocopie vers PC (Gestionnaire de numérisation et de télécopie Samsung) | ● | ● | ● | |
| Composition combiné raccroché | ● | ● | ● | |
| Combiné | ● | |||
| USB 2.0 | ● | ● | ● | ● |
| Carte LAN filaire Ethernet 10/100 Base TX | ● | |||
| IPv6 | ● | |||
| SyncThru™ Web Service | ● | |||
| Impression écran | ● | ● | ● | |
| Chargeur de documents | ● | ● | ● |
(·: Inclus, o : optionnel, vierge : non disponible)
Ce chapitre vous présente brivement l'appareil.
Ce chapitre contient les sections suivantes :
Description de l'appareil
- Vue d'ensemble du panneau de commande (SCX-4623 Series)
- Vue d'ensemble du panneau de commande (SCX-4600 Series)
Signification duvoyant Statut
- Présentation des touches utiles
- Mise en marche de l'appareil
Description de l'appareil
Vue avant







Selon le modele, cette illustration peut différer de votre apparéil.
| 1 | Capot du chargeur de documentsa | 6 | Poignée du capot avant | 11 | Bac de sortie des documents | 16 | Vitre d'exposition |
| 2 | Guides de largeur du chargeur de documentsa | 7 | Poignée | 12 | Panneau de commande | 17 | Combinéb |
| 3 | Bac d'alimentation du chargeur de documentsa | 8 | Bac 1 | 13 | Cartouche de toner | 18 | Module de numérisation |
| 4 | Réceptacle de sortie du chargeur de documentsa | 9 | Bac manuel | 14 | Guides de largeur papier du chargeur manuel | 19 | Bouton de fermeture du module de numérisationc |
| 5 | Support de sortie papier | 10 | Capot avant | 15 | Cache du scanner |
a. SCX-4623F(K), SCX-4623FN, SCX-4623FH
b. SCX-4623FH
c. Ce bouton est utilisé pour fermer le module de numérisation.

Selon le modele, cette illustration peut différer de votre apparéil.

Port réseaua

Prise d'alimentation

Port USB

Capot arrière

Connecteur téléphoniqueb

Poignée du capot arrêté

Prise gigogne (EXT) ^b
a. SCX-4623FN
b. SCX-4623F(K), SCX-4623FN, SCX-4623FH
Selon le modele, ce panneau de commande peut différer de celui de votre apparéil.

| 1 | Duo Copie | Vous pouvez copier les deux faces d'un document officiel, par exemple un permis de conduire, sur une même page (voir « Copie de cartes d'identité » à la page 67). |
| 2 | Impr. Écran | Imprime l'écran actif qui s'affiche sur le moniteur (voir « Touche Impr. Écran » à la page 31). (SCX-4623F(K), SCX-4623FH uniquement). |
| Réduc./Agrand. | Permet de réduire ou d'agrandir la copie par rapport à l'original. (SCX-4623FN uniquement). | |
| 3 | Affichage | Permet d'afficher l'état de la tâche en cours et des messages. |
| 4 | Statut | Permet d'afficher l'état de l'appareil (voir « Signification du voyant Statut » à la page 31). |
| 5 | (Fax) | Active le mode télécopie. |
| 6 | (Copie) | Active le mode copie. |
| 7 | (Numberisation) | Active le mode numérisation. |
| 8 | Flèches | Permettent de faire défilier les options disponibles dans le menu sélectionné et d'augmenter ou de diminuer des valeurs. |
| 9 | Menu | Permet d'accéder aux menus et de les faire défilier (voir «État de l'appareil et caractéristiques avancées » à la page 85). |
| 10 | OK | Permet de confirmer la sélection à l'écran. |
| 11 | Retour | Permet de revenir au menu supérieur. |
| 12 | Clavier numérique | Permet de composer les numérodes de fax et de saisir le nombre de copies souhaitées ou d'autres options. |
| 13 | Répertoire | Vous permet d'enregistrer les numérodes de télécopie fréquement utilisés ou de rechercher des numérodes de télécopie enregistrrés. |
| 14 | Bis/Pause | En mode veille, recompose le dernier numéro. Également en mode édition, insère une pause dans un numéro de télécopie. |
| 15 | Ligne | Vous permit de composer un numéro avec le combiné posé. |
| 16 | Départ | Permet de lancer une tâche. |
| 17 | Arrêt/Suppr. | Permet d'interr compromise une opération à tout moment. Une fenêtre contextuelle s'affiche à l'écran, indiquant la tâche en cours que l'utilisateur peut interromper ou reprendre. |
| 18 | Alimentation | Permet demettre l'appareil sous et hors tension (voir « Touche d'Alimentation » à la page 31). |
Selon le modele, ce panneau de commande peut différer de celui de votre apparéil.

| 1 | Affichage | Permet d'afficher l'état de la tâche en cours et des messages. |
| 2 | Statut | Permet d'afficher l'état de l'appareil (voir « Signification duvoyant Statut » à la page 31). |
| 3 | Flèches | Permettent de faire défilier les options disponibles dans le menu sélectionné et d'augmenter ou de diminuer des valeurs. |
| 4 | Menu | Permet d'accéder aux menus et de les faire défilier (voir « État de l'appareil et caractéristiques avances » à la page 85). |
| 5 | OK | Permet de confirmier la sélection à l'écran. |
| 6 | Retour | Permet de revenir au menu supérieur. |
| 7 | Duo Copie | Voues pouvez copier les deux faces d'un document officiel, par exemple un permis de conduire, sur une même page (voir « Copie de cartes d'identité » à la page 67). |
| 8 | Vers: | Envoie des données numériées (voir « Numérisation d'originaux et envoi vers votre ordinateur (NUMER. VERS PC) » à la page 70). |
| 9 | Impr. Écran | Imprime l'écran actif qui s'affiche sur le moniteur (voir « Touche Impr. Écran » à la page 31). |
| 10 | Arrêt/Suppr. | Permet d'interr compromise une opération à tout moment. Une fenêtre contextuelle s'affiche à l'écran, indiquant la tâche en cours que l'utilisateur peut interrompree ou reprendre. |
| 11 | Départ | Permet de lancer une tâche. |
| 12 | Alimentation | Permet demettre l'appareil sous et hors tension (voir « Touche d'Alimentation » à la page 31). |
Signification duvoyant Statut
La couleur duvoyant indique I'etat actuel de I'appareil.
| Statut | Description | |
| Désactivé | L'appareil est déconnecté.L'appareil est en mode économique d'énergie.Dès que l'appareil recoit des données ou qu'une touche est sélectionnée, l'appareil se remet automatiquement en ligne. | |
| Vert | Clignotant | Un clignotement lent indique que l'appareil recoit des données de l'ordinateur.Un clignotement rapide indique que l'appareil imprime des données. |
| Fixe | L'appareil est connecté et il est prét à être utilisé. | |
| Rouge | Clignotant | Un léger dysfonctionnement est survenu et l'appareil est en attente jusqu'à ce qu'il soit corrugé. Consultez le message d'erreur. Dès que le problème est résolu, l'appareil reprend la tâche interrompue.II reste une petite quantité de toner dans la cartouche. L'autonomie estimée de la cartoucheaest presque atteinte. Préparez une nouvelle cartouche en vue de son remplacement. Vous pouvez améliorer provisoirement la qualité d'impression en redistribuant le reste du toner. (Voir « Redistribution du toner » à la page 100.) |
| Fixe | Une cartouche de toner a pratiquement atteint son autonomie estimée.a.II est recommendé de replacer la cartouche de toner (voir « Remplacement de la cartouche de toner » à la page 120).Un bourage papier s'est produit (voir « Résolution des bourages papier » à la page 102).Le capot est ouvert. Fermez le capot.Le bac est vide. Insérez du papier dans le bac.L'appareil s'est arrêté à la suite d'une erreur grave. Consultez le message d'erreur (voir « Signification des messages d'erreur » à la page 104). | |
a. L'autonomie estimée de la cartouche signifie l'autonomie attendue ou estimée de la cartouche de toner, ce qui indique la capacité moyenne d'impression. Elle est définié conformément à la norme ISO/IEC 19752. Le nombre de pages peut varier en fonction de l'environnement d'exploitation, du-delai entre chaque impression, ainsi que du type et du format des supports. Un peu de toner peut rester dans la cartouche, même lorsque le message Fin de vie Rempl nouvel cart apparait, et l'imprimante arrêté l'impression. (Voir www.samsung.com/printer pour obtenir des informations récentes.)
Samsung ne recommende pas l'utilisation de cartouches de toner non-Samsung, telles que les cartouches rechargées ou réusinées. Samsung ne peut garantir la qualité des cartouches de toner non-Samsung. Tout entretien ou réparation requis suite à l'utilisation de cartouches de toner non-Samsung ne sera pas couvert par la garantie de l'appareil.
Vérifiez le message sur l'écran. Suivez les instructions du message ou reportez-vous au dépannage (voir « Signification des messages d'erreur » à la page 104). Si le problème persististe, contactez le service de maintenance.
Toutes les erreurs d'impression doivent apparaître dans la fenetre du programme Smart Panel. Si le problème persististe, contactez le service de maintenance.
Présentation des touches utiles
Touche Menu
Lorsque vous souhaitez connaître l'etat de l'appareil et régler votre appareil pour utiliser une fonctionnalité avancée, cliquez sur la touche Menu (voir « État de l'appareil et caractéristiques avancées » à la page 85).
Touché d'Alimentation
Lorsque vous souhaitezmettre hors tension,appuyez sur cette touche jusqu'à ce que Hors tension s'affiche. Choisissez OUI,pourmettre hors tension.Cette touche peut également servir àmettre l'appareil sous tension.
| Statut | Description |
| Désactivé | • L'appareil est en mode prét. • L'appareil est étant. |
| Activé | L'appareil est en mode économique d'énergie. |
Touche Impr. Écran
Les fonctions et les périhériques optionnels pris en charge peuvent varier selon le modele. Veuillez vérifier le nom de votre modele. (Voir « Fonctionnalités par modele » à la page 26.)
Appuyez sur la touche Impr. Écran :
| Message | Description |
| Active | L'appareil imprime l'écran actif qui s'affiche sur le moniteur. |
| Plein | L'appareil imprime l'ensemble de l'écran qui s'affiche sur le moniteur. |
La page sera imprimée sur le format par défaut (A4, Lette, par exemple).
- Vous ne pouvez utiliser cette fonction qu'avac un apparéil connecté via un port USB.
- Impr. Écran ne peut être utilisé qu'avoc les systèmes d'exploitation Windows et Mac OS.
- Vous ne pouvez utiliser cette fonction que si le pilote de l'appareil est installé.
Mise en marche de l'ordinateil
Branchez le cordon d'alimentation. L'appareil se mettra en marche.
Si vous souhaitezmettre l'appareil hors tension,appuyez sur la touche Alimentation jusqu'à ce que Hors tension s'affiche.
Ce chapitre vous guide pas à pas dans la procédure de paramétrage de l'appareil connecté via USB et des logiciels.
Ce chapitre contient les sections suivantes :
- Configuration du matériel
- Logiciels fournis
- Configuration requise

Les fonctions et les périphériques optionnels pris en charge peuvent varier selon le modele. Veuillez vérifier le nom de votre modele. (Voir « Fonctionnalités par modele » à la page 26.)
Configuration du matériel
Ce chapitre décrit les étapes de configuration du matériel, comme elles sont représentées dans le Guide d'installation rapide. En premier lieu, veillez à dire le Guide d'installation rapide et effectuez les étapes suivantes :
- Choisissez un emplacement approprié.
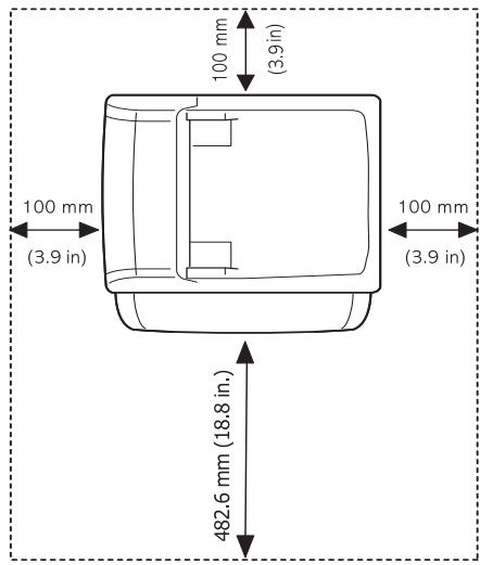
Installez votre copieur sur un support horizontal et stable en laissant suffisamment d'espace pour la circulation de l'air. Prévoyez un espace supplémentaire pour l'ouverture des capots et des bacs.
Cet emplacement doit etre bien aere et a l'abri de toute exposition directe à la luziere du soleil, ou de toute source de chaleur, de froid et d'humidite. Evitez d'inclerer voire appeareil pres du bord de voire plan de travail.

L'impression est adaptée pour des zones avec une altitude inférieure à 1000 m. Reportez-vous au réglage d'altitude pour optimiser votre impression (voir « Réglage de l'altitude » à la page 45).
Installez votre copieur sur un support horizontal et stable et ne le laïsez pas s'incliner à plus de 2 mm. Sinon, la qualité d'impression peut être affectée.
Installation du pilote d'un apparéil connecté via USB
- Partage local de l'appareil

- Deballez l'appareil, puis contrôle les éléments inclus.
- Retirez toute la bande adhésive.
- Installes la cartouche de toner.
- Chargez du papier (voir « Chargement de papier dans le bac » à la page 51).
- Vérifiez que les cables sont correctement connectés à l'appareil.
- Mettez l'appareil sous tension.

Cet équipement ne fonctionnera pas en cas de panne secteur.
Logiciels fournis
Après avoir configuré et connecté votre appareil à votre ordinateur, vous devez installer le logiciel de l'appareil. Si vous utilisez un système d'exploitation Windows ou Mac OS, installez le logiciel depuis le CD foumi. Si vous utilisiez Linux, téléchargez le logiciel du site Web de Samsung (www.samsung.com/printer) et installez-le.

Les logiciels des apparèils sont parfoids mis à jour en raison du lancement d'un nouveau système d'exploitation, etc. Si nécessaire, téléchargez la version la plus récente du site web de Samsung (www.samsung.com/printer).
| Système d'exploitation | Contenu |
| Windows | ·Pilote d'impression: ce pilote permet d'exploiter toutes les fonctions de votre apparéil.·Pilote de numériqueation: les pilotes TWAIN et WIA (Windows Image Acquisition) sont disponibles pour numérique des documents à partir de votre apparéil.·Smart Panel: ce programme vous permet de surveiller l'état de l'appareil et vous avertit lorsqu'un dysfonctionnement survient en cours d'impression.·SmarThrua: ce programme est le logiciel conçu pour Windows, qui accompagne votre apparéil multifonction.·Gestionnaire de numériqueation et de télécopieSamsung: vous avez accès aux informations sur le programme Gestionnaire de numériqueation et de télécopie et sur l'état du pilote de numériqueation installé.SetIP: ce programme permit de configurer les adresses TCP/IP de l' apparéil. |
| Macintosh | ·Pilote d'impression: ce pilote permet d'exploiter toutes les fonctions de votre apparéil.·Pilote de numériqueation: le pilote TWAIN est disponible pour la numériqueation de documents sur votre apparéil.·Smart Panel: ce programme vous permit de surveiller l'état de l' apparéil et vous avertit lorsqu'un dysfonctionnement survient en cours d'impression.·Gestionnaire de numériqueation et de télécopieSamsung: vous avez accès aux informations sur le programme Gestionnaire de numériqueation et de télécopie et sur l'état du pilote de numériqueation installé.SetIP: ce programme permit de configurer les adresses TCP/IP de l' apparéil. |
| Linux | ·Unified Linux Driver: ce pilote permet d'exploiter toutes les fonctions de votre apparéil.SANE: utilisez ce pilote pour numérique des documents.·Smart Panel: ce programme vous permit de surveiller l'état de l' apparéil et vous avertit lorsqu'un dysfonctionnement survient en cours d'impression.SetIP: ce programme permit de configurer les adresses TCP/IP de l' apparéil. |
a. Permet d'editor une image numérique selon différentes méthodes, à l'aide d'un puissant programme de retouche d'images, puis d'envoyer l'image par e-mail. Vous pouvez aussi ouvrir un autre programme de retouche d'images, comme Adobe Photoshop, depuis SmarThru. Pour plus de détails, reportez-vous à l'aide à l'écran du programme SmarThru (voir « SmarThru » à la page 92).
Configuration requise
Avant de commencer, assurez-vous que votre système répond aux conditions ci-dessous :
Windows
Votre apparéil prend en charge les systèmes d'exploitation Windows suivants.
| SYSTÈME D'EXPLOITATI ON | Configuration (recommendée) | ||
| Processeur | RAM | Espace disque disponible | |
| Windows 2000 | Pentium II 400 MHz (Pentium III 933 MHz) | 64 Mo (128 Mo) | 600 Mo |
| Windows XP | Pentium III 933 MHz (Pentium IV 1 GHz) | 128 Mo (256 Mo) | 1,5 Go |
| Windows Server 2003 | Pentium III 933 MHz (Pentium IV 1 GHz) | 128 Mo (512 Mo) | 1,25 Go à 2 Go |
| Windows Server 2008 | Pentium IV 1 GHz (Pentium IV 2 GHz) | 512 Mo (2 048 Mo) | 10 Go |
| Windows Vista | Pentium IV 3 GHz | 512 Mo (1 024 Mo) | 15 Go |
| Windows 7 | Processeur Pentium IV 1 GHz 32 bits ou 64 bits ou supérieur | 1 Go (2 Go) | 16 Go |
| • Prise en charge DirectX 9 avec 128 Mo de mémoire (pour activer le thème Aero) • Lecteur de DVD-R/W | |||
| Windows Server 2008 R2 | Processeurs Pentium IV 1 GHz (x86) ou 1,4 GHz (x64) (2 GHz ou plus rapide) | 512 Mo (2 048 Mo) | 10 Go |

Pour tous les systèmes d'exploitation Windows, Internet Explorer 5.5 ou supérieur doit etre instalé sur l'ordinateur.
-
Les utilisateurs qui disposent des droits d'administrateur peuvent installer le logiciel.
-
Windows Terminal Services est compatible avec cet apparéil.
Macintosh
| SYSTÉME D'EXPLOITA TION | Configuration (recommendée) | ||
| Processeur | RAM | Espace disque disponible | |
| Mac OS X 10.3 à 10.4 | • Processeurs Intel • PowerPC G4/G5 | • 128 Mo pour un Mac équipé d'un processeur PowerPC (512 Mo) • 512 Mo pour un Mac équipé d'un processeur Intel (1 Go) | 1 Go |
| Mac OS X 10.5 | • Processeurs Intel • Processeur PowerPC G4/G5 à 867 MHz ou plus rapide | 512 Mo (1 Go) | 1 Go |
| Mac OS X 10.6 | • Processeurs Intel | 1 Go (2 Go) | 1 Go |
Linux
| Élément | Configuration requise |
| Système d'exploitation | RedHat Enterprise Linux WS 4, 5 (32/64 bits) Fedora Core 2 à 10 (32/64 bits) SuSE Linux 9.1 (32 bits) OpenSuSE 9.2, 9.3, 10.0, 10.1, 10.2, 10.3, 11.0, 11.1 (32/64 bits) Mandrake 10.0, 10.1 (32/64 bits) Mandriva 2005, 2006, 2007, 2008, 2009 (32/64 bits) Ubuntu 6.06, 6.10, 7.04, 7.10, 8.04, 8.10 (32/64 bits) SuSE Linux Enterprise Desktop 9, 10 (32/64 bits) Debian 3.1, 4.0, 5.0 (32/64 bits) |
| Processeur | Pentium IV 2,4 GHz (IntelCore2) |
| RAM | 512 Mo (1 024 Mo) |
| Espace disque disponible | 1 Go (2 Go) |

- Vous avez également besoin d'une partition de swap d'au moins 300 Mo si vous souhaitez travailler sur des images numériées volumineuses.
- Le pilote de numérisation Linux prend en charge la résolution optique maximale.
Installation du pilote d'un apparéil connecté via USB
Un apparéil local est un apparéil directement connecté à votre ordinateur à l'aide du cable USB. Si votre apparéil est relié à un réseau, ignorez les étapes suivantes et passez à l'installation du pilote de l' apparéil connecté à un réseau (voir « Installation du pilote d'un apparéil connecté à un réseau cable ou via USB » à la page 41).

- Installation personnalisée vous permet de désirir les programmes à installer.
Utilisez uniquement un cable USB ne dépassant pas 3m
Windows
Vous pouvez installer le logiciel d'impression à l'aide de la méthode standard ou personnelisée.
Les étapes suivantes sont recommandées pour la plupart des utilisateurs qui utilisent un apparéil directement raccordé à l'ordinateur. Tous les composants nécessaires aux opérations de l' apparéil seront installés.
- Assurez-vous que l'appareil est connecté à votre ordinateur et qu'il est sous tension.

Si la fenêtre Assistant Matériel détecté apparait durant la procédure d'installation, fermez-la en cliquant sur x, en haut a droite, ou sur Annuler.
-
Insérez le CD de logiciels dans le lecteur.
-
Le CD de logiciels s'exécute automatiquement et la fenêtre d'accueil s'affiche à l'écran.
- Si la fenêtre d'installation ne s'affiche pas, cliquez sur Demarrer puis sur Executer. Tapez X:\Setup.exe, en remplaçant « X » par la dette qui pourraitaire votre lecteur. Cliquez sur OK.
- Si vous utilise Windows Vista, Windows 7 ou Windows 2008 Server R2, cliquez sur Demarrer > Tous les programmes > Accessoires > Exécuter.
Saisissez X:\Setup.exe, en remplaçant « X » par la dette représentant le lecteur, puis cliquez sur OK.
- Si la fenêtre Execution automatique s'affiche sous Windows Vista, cliquez sur Exécuter Setup.exe dans le champ Installer or executer un programme, et cliquez sur Continuer dans les fenêtres Contrôle de compte d'utilisateur.
-
Si la fenêtre Exécution automatique s'affiche sous Windows 7 ou Windows 2008 Server R2, cliquez sur Exécuter Setup.exe dans le champ Installer or exécuter un programme, et cliquez sur Oui dans les fenêtres Contrôle de compte d'utilisateur.
-
Sélectionnez Installerer maintainant.

Au besoin, sélectionnez une langue dans la liste déroulante. -
Lisez le Contrat de licence et Sélectionnez J'accepte les dispositions du contrat de licence. Ensuite, cliquez sur Suivant.
Le programme recherche l'appareil.

Si vous appeareil n'est pas connecté à l'ordinateur, un message d'erreur s'affiche.
- Une fois l'appareil connecté, cliquez sur Suivant.
- Si vous ne souhaitez pas connecter l'appareil pour l'instant, cochez la case en regard de Vérifiez si vous souhaitez installer les logiciels sans connecter l'imprimante au réseau ou localement. La fenêtre « Imprimer une page de test » est alors ignorée et l'installation terminée.
-
La fenêtre d'installation représentée dans ce Mode d'emploi peut différer de cette qui apparait sur votre écran. Cela dépend de l'appareil et de l'interface utilisés.
-
Lorsque la fenêtre de confirmation de la connexion de l'imprimante s'affiche, vérifie le nom de l'imprimante et cliquez sur Suivant.
- Une fois l'installation terminée, une fenêtre vous demandant d'imprimer une page de test apparait. Si vousCHOISISSEZ d'imprimer une page de test, cliquez sur le bouton puis sur Suivant.
- Si la page s'imprime correctement, cliquez sur Oui.
Sinon, cliquez sur Non pour relancer l'impression. - Pour vous inscrite en tant qu'utilisateur de l'appareil et receivevoir des informations de Samsung, cliquez sur Inscription en ligne.
- Cliquez sur Terminer.

Si le pilote d'impression ne fonctionne pas correctement, procédez comme suit pour le réparer ou le réinstaller.
a) Assurez-vous que l'appareil est connecté à votre ordinateur et qu'il est sous tension.
b) Dans le menu Demarrer, Sélectionnez Programmes ou Tous les programmes > Samsung Printers > le nom de votre pilote d'impression > Maintenance.
c) Sélectionné l'option souhaïée, puis suivez les instructions qui s'affichent dans la fenêtre.
Macintosh
Le CD de logiciels livre avec votre apparéil contient les fichiers de pilote vous permettant d'utiliser le pilote CUPS ou le pilote PostScript (disponible uniquement si vous utilisez un apparéil prénant en charge les pilotes PostScript) pour imprimer à partir d'un Macintosh.
Il fournit également le pilote TWAIN pour la numérisation sur un ordinateur Macintosh.
- Assurez-vous que l'appareil est connecté à votre ordinateur et qu'il est sous tension.
- Insérez le CD de logiciels dans le lecteur.
- Double-cliquez sur l'icone CD-ROM qui apparaît sur le bureau du Macintosh.
- Double-cliquez sur le dossier MAC Installer.
- Double-cliquez sur I'icone Installer OS X.
- Saisissez le mot de passer et cliquez sur OK.
- La fenêtre du programme d'installation Samsung s'ouvre. Cliquez sur Continuer.
- Lisez le contrat de licence et cliquez sur Continuer.
- Cliquez sur J'accepte pour accepter les termes du contrat de licence.
- Sélectionnez Installation standard et cliquez sur Programme d'installation => Installer (10.4). L'option Installation standard est recommandée pour la plupart des utilisateurs. Tous les composants nécessaires aux opérations de l'appareil seront installés.
Lorsque vous choisissez Installation personalisée, vous pouvez installer les composants de votrechoix.
- Lorsqu'un message avertissant de la fermeture de toutes les applications en cours d'exécution sur votre ordinateur apparait, cliquez sur Continuer.

Si une fenêtre vous demandant de sélectionner un type d'installation s'affiche, sélectionnez Installation standard sur imprimante locale et cliquez sur OK.
- Une fois l'installation terminée, cliquez sur Quitter.

Si vous avez installé le pilote de numérisation, cliquez sur Redémarrer.
-
Ouvrez le dossier Applications > Utilitaires > Configuration d'imprimante.
-
Sous Mac OS X 10.5 à 10.6, ouvre le dossier Applications > Préférences Systeme et cliquez sur Imprimantes et fax.
-
Cliquez sur Ajouter dans la Liste des imprimantes.
-
Sous Mac OS X 10.5 à 10.6, appuyez sur l'icone « + »; une fenêtre d'affichage apparait.
-
Sous Mac OS X 10.3, Sélectionnez l'onglet USB.
-
Sous Mac OS X 10.4, cliquez sur Navigateur par défaut et recherche la connexion USB.
-
Sous Mac OS X 10.5 à 10.6, cliquez sur Par défaut et recherche la connexion USB.
-
Sous Mac OS X 10.3, si la sélection automatique ne fonctionne pas correctement, sélectionnez Samsung dans Modèle de l'imprimante et votre nom d'appareil dans Nom de modèle.
-
Sous Mac OS X 10.4, si la sélection automatique ne fonctionne pas correctement, sélectionnez Samsung dans Imprimer via et votre nom d'appareil dans Modèle.
- Sous Mac OS X 10.5 à 10.6, si la sélection automatique ne fonctionne pas correctement, Sélectionnez Sélectionner un gestionnaire à utiliser..., puis le nom de votre imprimante dans Imprimer via.
Votre apparéil apparaît dans la Liste des imprimantes et est défini comme imprimante par défaut.
- Cliques sur Ajouter.
Si le pilote d'impression ne fonctionne pas correctement, désinstallé-le et réinstallé-le.
Pour Mac OS, procédez comme suit pour désinstaller le pilote.
a) Assurez-vous que l'appareil est connecté à votre ordinateur et qu'il est sous tension.
b) Insérez le CD de logiciels dans le lecteur.
c) Double-cliquez sur l'icone CD-ROM qui apparaît sur le bureau du Macintosh.
d) Double-cliquez sur le dossier MAC Installer.
e) Double-cliquez sur Iicone Installer OS X.
f) Saisissez le mot de passer et cliquez sur OK.
g) La fenêtre du programme d'installation Samsung s'ouvre. Cliquez sur Continuer.
h) Sélectionnez Déinstaller et cliquez sur Déinstaller.
i) Lorsqu'un message avertissant de la fermetre de toutes les applications en cours d'exécution sur votre ordinateur apparait, cliquez sur Continuer.
j) Une fois la déinstallation terminée, cliquez sur Quitter.
Linux
Vou des télécharger les packages de logiciels Linux du site Web de Samsung pour installer le=logiciel de l'imprimante.
Suivez les étapes ci-dessous pour installer le logiciel.
Installation du pilote Linux unifié
- Assurez-vous que l'appareil est connecté à votre ordinateur et qu'il est sous tension.
- Lorsque la fenêtre Administrator Login apparaît, entrez root dans le champ Login et entrez le mot de passer du système.

Vous doivent vous connecter en tant que super-utilisateur (root) pour installer le pilote de l'appareil. Si vous ne disposez pas du statut de super-utilisateur, contactez votre administrateur système.
- Depuis le site Web de Samsung, téléchargez le package Unified Linux Driver sur votre ordinateur et décompresssez-le.
- Cliquez sur en bas du bureau. Lorsque l'écran Terminal apparait, tapez : [root@localhost root]#tar zxf [CheminAccèsFichier]/ UnifiedLinuxDriver.tar.gz[root@localhost root]#cd [CheminAccèsFichier]/cdroot/Linux[root@localhost Linux]#./. install.sh

Si vous n'utilise pas l'interface graphique et que vous n'êtes pas parvenu à installer le logiciel, vous doivent utiliser le pilote en mode texte. Suivez les étapes 3 et 4, puis les instructions qui s'affichent sur l'écran Terminal.
- Lorsque l'écran de bienvenue s'affiche, cliquez sur Next.
- Une fois l'installation terminée, cliquez sur Finish. Pour des raisons pratiques, le programme d'installation a ajouté l'icone de bureau d'Unified Driver Configurator et le groupe Unified Driver au menu système. Si vous rencontres la moindre difficulté, consultez l'aide à l'écran, accessible via le menu système ou via les applications Windows du package du pilote, telles que Unified Driver Configurator ou Image Manager.
Installation de Smart Panel
- Assurez-vous que l'appareil est connecté à votre ordinateur et qu'il est sous tension.
- Lorsque la fenêtre Administrator Login apparait, entrez root dans le champ Login et entrez le mot de passer du système.

Vous doivent vous connecter en tant que super-utilisateur (root) pour installer le pilote de l'appareil. Si vous ne disposez pas du statut de super-utilisateur, contactez votre administrateur système.
- Depuis le site Web de Samsung, téléchargez le package Smart Panel sur votre ordinateur et décompresssez-le.
- Cliquez sur en bas du bureau. Lorsque l'écran Terminal apparaît, tapez : [root@localhost root]#tar zxf [CheminAccèsFichier]/ SmartPanel.tar.gz[root@localhost root]#cd [CheminAccèsFichier]/ cdkroot/Linux/smartpanel[root@localhost smartpanel]#./.install.sh

Si vous n'utilise pas l'interface graphique et que vous n'êtes pas parvenu à installer le logiciel, vous doivent utiliser le pilote en mode texte. Suivez les étapes 3 et 4, puis les instructions qui s'affichent sur l'écran Terminal.
Installation de Printer Setting Utility
- Assurez-vous que l'appareil est connecté à votre ordinateur et qu'il est sous tension.
- Lorsque la fenêtre Administrator Login apparait, entrez root dans le champ Login et entrez le mot de passer du système.

Vous doivent vous connecter en tant que super-utilisateur (root) pour installer le pilote de l'appareil. Si vous ne disposez pas du statut de super-utilisateur, contactez votre administrateur système.
- Depuis le site Web de Samsung, téléchargez le package Printer Setting Utility sur votre ordinateur et décompresssez-le.
- Cliquez sur en bas du bureau. Lorsque l'écran Terminal apparaît, tapez : [root@localhost root]#tar zxf [CheminAccèsFichier]/ PSU.tar.gz[root@localhost root]#cd [CheminAccèsFichier]/cdroot/ Linux/psu[root@localhost psu]#./.install.sh

Si vous n'utilisez pas l'interface graphique et que vous n'êtes pas parvenu à installer le logiciel, vous devez utiliser le pilote en mode texte. Suivez les étapes 3 et 4, puis les instructions qui s'affichent sur l'écran Terminal.

Si le pilote d'impression ne fonctionne pas correctement, désinstallé-le et réinstallé-le. Pour Linux, procédez comme suit pour désinstaller le pilote.
a) Assurez-vous que l'appareil est connecté à votre ordinateur et qu'il est sous tension.
b) Lorsque la fenêtre Administrator Login apparaît, tapez root dans le champ Login et saisissez le mot de passer système. Vous doivent vous connecter en tant que super-utilisateur (root) pour désinstaller le pilote d'impression. Si vous ne disposez pas du statut de super-utilisateur, contactez votre administrateur système.
c) Cliquez sur l'icone située en bas du bureau. Lorsque I'écran Terminal apparait, tapez : [root@localhost root]#cd /opt/Samsung/mfp/uninstall/ [root@localhost uninstall]#./.uninstall.sh
d) Cliqueur Uninstall.
e) Cliquez sur Next.
f) Cliquez sur Finish.
Partage local de l'appareil
Procedez comme suit pour configurer les ordinateurs pour partager l'appareil localement.
Si l'ordinateur hôte est directement connecté à l'appareil avec un cable USB et est également connecté à l'environnement du réseau local, l'ordinateur client connecté au réseau local peut utiliser l'appareil partagé pour imprimer via l'ordinateur hôte.

| 1 | Ordinateur hôte | Ordinateur qui est directement connecté à l'appareil par un cable USB. |
| 2 | Ordateurs clients | Ordateurs qui utilisent l'appareil partagé via l'ordinateur hôte. |
Windows
Configuration d'un ordinateur hôte
- Installez votre pilote d'impression (voir « Installation du pilote d'un appareil connecté via USB » à la page 34).
- Cliques sur le menu Demarrer de Windows.
-
Pour Windows 2000, Sélectionnez Paramètres > Imprimantes.
-
Sous Windows XP/2003, Sélectionnez Imprimantes et télécopieurs.
- Sous Windows 2008/Vista, Sélectionnez Panneau de configuration > Matériel et audio > Imprimantes.
- Sous Windows 7, Sélectionnez Panneau de configuration > Matériel et audio > Périphériques et imprimantes.
-
Sous Windows Server 2008 R2, Sélectionnez Panneau de configuration > Matériel > Périphériques et imprimantes.
-
Cliquez avec le bouton droit sur l'icone de votre imprimante.
- Sous Windows XP/2003/2008/Vista, Sélectionnez Propriétés. Sous Windows 7 et Windows Server 2008 R2, Sélectionnez, dans les menus contextuels, les Propriétés de l'imprimante.
Si la marque accompany l'objet Proprietés de l'imprimante, vous pouvez selectionner les autres pilotes d'impression reliés à l'imprimante sélectionnée.
- Sélectionnez l'onglet Partage.
- Cochez Modifier les options de partage.
- Cochez Partager cette imprimante.
- Renseignez le champ Nom de partage. Cliquez sur OK.
Configuration d'un ordinateur client
- Installez votre pilote d'impression (voir « Installation du pilote d'un appareil connecté via USB » à la page 34).
- Cliques sur le menu Demarrer de Windows.
- Sélectionnez Tous les programmes > Accessoires > Explorateur Windows.
- Saisissez l'adresse IP de l'ordinateur hôte et appuyez sur Entrée sur voiture clavier.

10.58.67.72



Si l'ordinateur hôte exige un Nom d'utilisateur et un Mot de passer, indiquez l'ID d'utilisateur et le mot de passer du compte de l'ordinateur hôte.
- Cliquez avec le bouton croit sur l'icone de l'imprimante que vous souhaitez partager et selectionnez Se connecter.
- Si un message de configuration terminée apparait, cliquez sur OK.
- Ouvrez le fichier que vous souhaitez imprimer et démarrez l'impression.
Macintosh

Les étapes suivantes concernent Mac OS X 10.5 à 10.6.
Reportez-vous à l'aide Mac pour les autres versions du système d'exploitation.
Configuration d'un ordinateur hôte
- Installez votre pilote d'impression (voir « Macintosh » à la page 35).
- Ouvrez le dossier Applications > Préférences Système et cliquez sur Imprimantes et fax.
- Sélectionnez l'imprimante à partager dans la Liste des imprimantes.
- Sélectionnez Partager cette imprimante.
Configuration d'un ordinateur client
- Installez votre pilote d'impression (voir « Macintosh » à la page 35).
- Ouvrez le dossier Applications > Préférences Système et cliquez sur Imprimantes et fax.
- Appuyez sur l'icone « + ». Une fenêtre indiquant le nom de votre imprimante partagée apparait.
- Sélectionnez votre apparéil et cliquez sur Ajouter.
Ce chapitre vous guide pas-à-pas dans la procédure de paramétrage de l'appareil connecté à un réseau et du logiciel.
Ce chapitre contient les sections suivantes :
- Environnement réseau
- Présentation des programmes réseau utiles
Utilisation d'un réseau cable

Les fonctions et les périphériques optionnels pris en charge peuvent varier selon le modele. Veuillez vérifier le nom de votre modele. (Voir « Fonctionnalités par modele » à la page 26.)
Environnement réseau
Vouvedez configurer les protocoles reseau de l'appareil pour pouvoir l'utiliser comme appareil reseau. Vous pouvez definir les parametes reseau de base à l'aide du panneau de commande de l'appareil.
Le tableau suivant indique les environnements réseau compatibles avec l'appareil :
| Élément | Configuration requise |
| Interface réseau | • Ethernet 10/100 Base-TX |
| Système d'exploitation réseau | • Windows 2000/XP/2003/2008/Vista • Différents systèmes d'exploitation Linux • Mac OS X 10.3 à 10.6 |
| Protocoles réseau | • TCP/IPv4 • DHCP, BOOTP • DNS, WINS, Bonjour, SLP, UPnP • Impression TCP/IP standard (RAW), LPR, IPP • SNMPv 1/2/3, HTTP(S), IPSec • TCP/IPv6 (DHCP, DNS, RAW, LPR, SNMPv 1/2/3, HTTP(S), IPSec) (Voir « Configuration IPv6 » à la page 43.) |
Présentation des programmes réseau utiles
Il existe plusieurs programmes disponibles pour configurer facilement les paramètres réseau dans un environnement réseau. Pour l'administrateur réseau particulièrement, il est possible de gérer plusieurs appareils sur le réseau.

Avant d'utiliser les programmes ci-dessous, définiresse d'abord l'adresse IP.
SyncThru™ Web Service
Serveur Web intégré à votre périphérique réseau, vous permettant de :
- Définir les paramètres réseau nécessaires à la connexion de l'appareil à divers environnementés réseau.
-
Personnaliser les paramètres de l'appareil. (Voir « Utilisation de SyncThru™ Web Service » à la page 91.)
-
Installation du pilote d'un appareil connecté à un réseau cable ou via USB
- Configuration IPv6
SyncThru™ Web Admin Service
Solution Web de gestion de parc d'appareils destinée aux administrateurs réseau. SyncThru™ Web Admin Service constitue un outil performant d'administration de vos imprimantes réseau, qui vous permet de les superviseur à distance et de corriger tout dysfonctionnement depuis n'importe quel point du réseau. Téléchargez ce programme sur http:// solution.samsungprinter.com.
Samsung AnyWeb Print
Cet utiliser vous aide à effectuer une capture d'écran, prévisualiser, supprimer et imprimer l'écran de Windows Internet Explorer plus facilement que lorsque vous utilisez le programme habitual. Cliquez sur Demarrer > Tous les programmes > Samsung Printers > Samsung AnyWeb Print > Download the latest version pour acceder au site Web où se trouve l'utilitaire en téléchargement. Cet utilisé n'est disponible que pour les systèmes d'exploitation Windows.
SetIP
Cet utiliseraire vous permet de selectionner une interface réseau et de configurer manuellement les adresses IP à utiliser avec le protocole TCP/IP (voir « Définition d'adresse IP à l'aide du programme SetIP (Windows) » à la page 39 ou « Définition d'adresse IP à l'aide du programme SetIP (Macintosh) » à la page 40).

TCP/IPv6 n'est pas pris en charge par ce programme.
Utilisation d'un réseau cable
Vous doivent configurer les protocôtes réseau sur votre appareil pour utiliser celui-ci dans votre réseau. Ce chapitre vous explique comment le faire facilement.
Vous pouvez utiliser le réseau après avoir connecté le cable réseau à un port correspondant sur votre appareil.

品

品

品

品

品
Impression d'un rapport de configuration réseau
Voussoupiezimprerun Rapport de configuration reseau avec les parametes reseau actuel de l'appareil a partir du panneau de commande. Cela you aidera à configurer un reseau et a résoudre les problèmes.
- Appuyez sur la touche Menu du panneau de commande.
-
Appuyez sur la flèche gauche/droite jusqu'à ce que Réseau s'affiche, puis appuyez sur OK.
-
Appuyez sur la flèche gauche/droite jusqu'à ce que INFO. RESEAU s'affiche, puis appuyez sur OK.
- Appuyez sur la flèche gauche/droite jusqu'à ce que OUI s'affiche, puis appuyez sur OK.
Avec ce Rapport de configuration réseau, vous pouze才知道 l'adresse MAC et l'adresse IP de votre(APpeuil.
Par example :
- Adresse MAC : 00:15:99:41:A2:78
Adresse IP:192.0.0.192
Création d'une adresse IP
Commencez par creator une adresse IP pour l'impression et la gestion réseau. Dans la plupart des cas, une nouvelle adresse IP est attribuée automatiquement par un serveur DHCP (serveur de protocole DHCP) situé sur le réseau.
Dans quelques cas, l'adresse IP doit être créé manuelles. Cette adresse est appelée IP statique et elle est souvent requise dans les Intranets d'entreprise pour des raisons de sécurité.
- Affectation d'adresse IP par DHCP : connectez votre apparéil au réseau et patientez quelques minutes jusqu'à ce que le serveur DHCP attribue une adresse IP à l' apparéil. Ensuite, imprimez le Rapport de configuration réseau, comme expliqué ci-dessus. Si le rapport indique que l'adresse IP a changé, l'attribution est réussie. Vous verrez la nouvelle adresse IP sur le rapport.
- Attribution d'adresse IP statique : utilisez le programme SetIP pour changer l'adresse IP depuis votre ordinateur. Si vous appeareil possede un panneau de commande, vous pouvez également modifier l'adresse IP à partir du panneau de commande.
Dans un environnement professionnel, nous vous recommendons de contacter un administrateur réseau pour définir cette adresse.
Définition de l'adresse IP à l'aide du panneau de commande
- Connectez l'appareil au réseau avec un cable réseau.
- Mettez l'appareil sous tension.
- Appuyez sur la touche Menu du panneau de commande.
- Appuyez sur la flèche gauche/droite jusqu'à ce que Réseau s'affiche, puis appuyez sur OK.
- Appuyez sur la flèche gauche/droite jusqu'à ce que TCP/IP (IPv4) s'affiche, puis appuyez sur OK.
- Appuyez sur la flèche gauche/droite jusqu'à ce que STATIQUE s'affiche, puis appuyez sur OK.
- Appuyez sur la flèche gauche/droite jusqu'à ce que ADRESSE IP s'affiche, puis appuyez sur OK.
- Saisissez l'adresse IP à l'aide du pavé numérique, puis appuyez sur OK.

Saisissez un octet compris entre 0 et 255 à l'aide du pavé numérique, puis appuyez sur la flèche gauche/droite pour vous déplacer entre les octets.
Répétez cette étape jusqu'à ce que vous ayez complété l'adresse du premier au quatrième octet.
- Entrez les autres paramètres, tels que MASQUE SS RES. et PASSERELLE, puis appuyez sur OK.
- Àprous avoir entré tous les paramètres, appuyez sur Arrêtier/Suppr. pour returner au mode prét.
Ensuite, passez à la section « Installation du pilote d'un apparéil connecté à un réseau cable ou via USB » à la page 41.
Définition d'adresse IP à l'aide du programme SetIP (Windows)
Ce programme permet de configurer manuellement l'adresse réseau IP de votre apparéil à l'aide de son adresse MAC pour communiquer avec l' apparéil. Une adresse MAC est le numéro de série matériel de l'interface réseau et peut être trouvez sur le Rapport de configuration réseau.
Pour utiliser le programme SetIP, désactive le pare-feu de l'ordinateur avant de poursuivre, en procédant comme suit :
- Ouvrez Panneau de configuration.
- Double-cliquez sur Centre de sécurité.
- Cliques sur Pare-feu Windows.
- Désactive le pare-feu.
Installation du programme
- Insérez le CD-ROM du logiciel de l'imprimante fourni avec votre apparéil. Fermez la fenêtre d'exécution automatique du CD.
- Lancez l'Explorateur Windows et ouvre le lecteur X (X représentée votre lecteur de CD-ROM).
- Double-cliquez sur Application > SetlP.
- Double-cliquez sur Setup.exe pour installer ce programme.
- Sélectionnez une langue, puis cliquez sur Suivant.
- Suivez les instructions qui s'affichent à l'écran pour terminer l'installation.
Démarrage du programme
- Connectez l'appareil au réseau avec un cable réseau.
- Mettez l'appareil sous tension.
- À partir du menu Démarrer de Windows, Sélectionnez Tous les programmes > Samsung Printers > SetIP > SetIP.
- Cliquez sur l'icone (la troisième en partant de la gauche) dans la fenêtre SetIP pour ouvrir la fenêtre de configuration TCP/IP.
- Saisissez les nouvelles informations de l'appareil dans la fenêtre de configuration, de la manière suivante. Dans un intranet d'entreprise, ces informations peuvent devoir être affectées par un gestionnaire du réseau avant de poursuivre.

-
Adresse MAC : recherche l'adresse MAC de l'appareil dans le Rapport de configuration réseau et saississez-la sans les deux-points (:). Par exemple, 00:15:99:29:51:A8 devient 0015992951A8.
-
Adresse IP : saisissez une nouvelle adresse IP pour votre imprimante.
Par exemple, si l'adresse IP de votre ordinateur est 192.168.1.150, entrez 192.168.1.X (X correspond à un nombreitué entre 1 et 254, autre que l'adresse de l'ordinateur). - Masque de sous-réseau : saisissez un masque de sous-réseau.
-
Passerelle par défaut : Saisissez une passerelle par défaut.
-
Cliquez sur Appliquer, puis sur OK. L'appareil imprimera automatiquement le Rapport de configuration réseau. Vérifie que tous les paramètres sont corrects.
-
Cliquez sur Quitter pour fermer le programme SetlP.
- Au besoin, redémarrez le pare-feu de l'ordinateur.
Définition d'adresse IP à l'aide du programme SetIP (Macintosh)
Pour utiliser le programme SetIP, désactive le pare-feu de l'ordinateur avant de poursuivre, en procédant comme suit :
- Ouvrez Preférences Systeme.
- Cliquez sur Sécurité.
- Cliquez sur le menu Coupe-feu.
- Désactive le pare-feu.
Les instructions suivantes peuvent varier selon le modele.
- Connectez l'appareil au réseau avec un cable réseau.
- Insérez le CD d'installation, et ouvre la fenêtre disque, puis sélectionnez MAC Installer > MAC Printer > SetIP > SetIPApplet.html.
- Double-cliquez sur le fichier et Safari s'ouvre automatiquement, puis selectionnez Se fier. Le navigateur ouvrira la page SetIPApplet.html indiquant le nom et l'adresse IP de l'imprimante.
- Mettez en surbrillance la ligne des informations de l'imprimante et selectionnez l'icone Configurer, qui est la deuxième en partant de la gauche dans la barre de menu d'application. Une fenêtre de configuration TCP/IP s'ouvre alors.
Si l'imprimante n'est pas indiquée dans la ligne d'informations, Sélectionnez l'icône Définir manuelle (la troisième en partant de la gauche) pour ouvrir la fenêtre de configuration TCP/IP.
-
Saisissez les nouvelles informations de l'appareil dans la fenetre de configuration, de la manière suivante. Dans un intranet d'entreprise, ces informations peuvent devoir etre affectees par un gestionnaire du réseau avant de poursuivre.
-
Adresse MAC : recherche l'adresse MAC de l'appareil dans le Rapport de configuration réseau et saississez-la sans les deux-points (:). Par exemple, 00:15:99:29:51:A8 devient 0015992951A8.
- Adresse IP : saisissez une nouvelle adresse IP pour votre imprimante.
Par exemple, si l'adresse IP de votre ordinateur est 192.168.1.150, entrez 192.168.1.X (X correspond à un nombre situé entre 1 et 254, autre que l'adresse de l'ordinateur). - Masque de sous-réseau : saisissez un masque de sous-réseau.
-
Passerelle par défaut : saississez une passerelle par défaut.
-
Sélectionnez Appliquer, puis OK et une nouvelle fois OK. L'imprimante imprimera automatiquement le rapport de configuration. Vérifie que tous les paramètres sont corrects. Quittez Safari. Vous pouvez fermer et éjecter le CD-ROM d'installation. Au besoin, redémarrez le pare-feu de l'ordinateur. Vous avez à ce stade modifié l'adresse IP, le masque de sous-résseau et la passerelle.
Définition d'adresse IP à l'aide du programme SetIP (Linux)
Le programme SetIP devrait être automatiquement installé lors de l'installation du pilote d'impression.
- Imprimez le rapport de configuration réseau de l'appareil pour trouver l'adresse MAC de votre apparéil.
- Ouvrez /opt/Samsung/mfp/share/util/.
- Double-cliquez sur le fichier SetIPApplet.html.
- Cliquez pour ouvrir la fenêtre de configuration TCP/IP.
- Saisissez l'adresse MAC de votre carte d'imprimante réseau, l'adresse IP, le masque de sous-résseau, la passerelle par défaut, puis cliquez sur Appliquer.
Saisissez l'adresse MAC sans les deux-points ().
- La machine imprime les informations réseau. Vérifiez que tous les paramètres sont corrects.
- Fermez le programme SetIP.
Paramétrage des valeurs réseau
Voupez également configurer les divers paramétres réseau via les programmes d'administration réseau comme SyncThru™ Web Admin Service et SyncThru™ Web Service.
Restauration des paramètres usine par défaut
- Vous devrez peut-être réinitialiser l'appareil selon les paramètres par défaut définis en usine lorsque l'appareil que vous utilisez est connecté au nouvel environnement réseau.
Restauration des paramètres usine par défaut à l'aide du panneau de commande
- Appuyez sur la touche Menu du panneau de commande.
- Appuyez sur la flèche gauche/droite jusqu'à ce que Réseau s'affiche, puis appuyez sur OK.
- Appuyez sur la flèche gauche/droite jusqu'à ce que EFFACER REGL. s'affiche, puis appuyez sur OK.
- Éteignez puis rallumez l'appareil pour appliquer les paramétres.
Restauration des paramètres par défaut définis en usine à l'aide du SyncThru™ Web Service
- Démarrez un navigateur Web, comme Internet Explorer, Safari ou Firefox et saisissez la nouvelle adresse IP de votre apparéil dans la fenêtre du navigateur.
Par exemple :
http://192.168.1.133/
-
Lorsque la fenêtre SyncThru™ Web Service s'ouvre, cliquez sur Config. réseau.
-
Cliquez sur Réinitialiser. Cliquez ensuite sur Supprimer pour le réseau.

- Éteignez puis rallumez l'appareil pour appliquer les paramètres.
Installation du pilote d'un apparéil connecté à un réseau cable ou via USB
Windows
Pour configurer le pilote de l'appareil, procededz comme suit.
Il s'agit de la procédure recommendée pour la plupart des utilisateurs. Tous les composants nécessaires aux opérations de l'appareil seront installés.
- Assurez-vous que l'appareil est connecté au réseau ou via USB et qu'il est sous tension.
-
Insérez le CD du logiciel dans le lecteur.
-
Le CD du logiciel s'exécute automatiquement et la fenêtre d'accueil s'affiche à l'écran.
- Si la fenêtre d'installation ne s'affiche pas, cliquez sur Demarrer puis sur Exécuter. Tapez X:\Setup.exe, en remplaçant « X » par la dette qui représentée votre lecteur. Cliquez sur OK.
- Si vous utilise Windows Vista, Windows 7 ou Windows 2008 Server R2, cliquez sur Demarrer > Tous les programmes > Accessoires > Exécuter.
Saisissez X:\Setup.exe, en remplaçant « X » par la dette représentant le lecteur, puis cliquez sur OK.
- Si la fenêtre Exéciution automatique s'affiche sous Windows Vista, cliquez sur Exécuter Setup.exe dans le champ Installer or executer un programme, et cliquez sur Continuer dans les fenêtres Contrôle de compte d'utilisateur.
-
Si la fenêtre Exéciution automatique s'affiche sous Windows 7 ou Windows 2008 Server R2, cliquez sur Exécuter Setup.exe dans le champ Installer or exécuter un programme, et cliquez sur Oui dans les fenêtres Contrôle de compte d'utilisateur.
-
Sélectionnez Installerer maintainant.

Au besoin, sélectionnez une langue dans la liste déroulante.

L'Installation avancée dispose de deux options, Installation personalisée et Installer uniquement les logiciels.
L'Installation personnalisée vous permet de sélectionner la connexion de l'appareil et de désirir les composants individuels à installer. Installer uniquement les logiciels vous permet d'installer les logiciels fournis, tels que Smart Panel. Suivez les instructions affichées dans la fenêtre.
- Lisez le Contrat de licence et Sélectionnez J'accepte les dispositions du contrat de licence. Ensuite, cliquez sur Suivant.
Le programme recherche l'appareil.

Si l'appareil n'est pas détecté dans le réseau ou locally, un message d'erreur s'affiche.
-
Vérifiez si vous souhaitez installer les logiciels sans connecter l'imprimante au réseau ou localement.
-
Cochez cette option pour installer le programme sans qu'un apparéil soit connecté. La fenêtre « Imprimer une page de test » est alors ignorée et l'installation terminée.
-
Chercher à nouveau
Lorsque you appuyez sur ce bouton, la fenetre d'advertissement concernant le pare-feu s'affiche.
-
Désactivez le pare-feu et cliquez sur Chercher à nouveau. Pour le système d'exploitation Windows, cliquez sur Demarrer > Panneau de configuration > Pare-feu Windows et désactivez cette option.
-
Désactivez tout pare-feu tiers. Reportez-vous au manuel fourni avec le programme correspondant.
Saisie directe
La Saisie directe vous permet de rechercher un apparéil spécifique sur le réseau.
- Recherche par adresse IP : Saisissez l'adresse IP ou le nom d'hote. Cliquez sur Suivant.
Pour vérifier l'adresse IP de l'appareil, imprimez un rapport de configuration réseau (voir « Impression d'un rapport de configuration réseau » à la page 38).
- Rechercher par chemin réseau : Pour rechercher un appareil partagé (chemin d'accès UNC), saisissez le nom de partage manuellement ou recherchez une imprimante partagée enclistuant sur le bouton Parcourir. Cliquez sur Suivant.
Aide
Si l'appareil n'est pas connecté à l'ordinateur ou au réseau, ce bouton d'aide vous fournira des procédures de connexion détaillées.
Définir l'adresse IP
Si vous souhaitez définir une adresse IP spécifique sur un apparéil réseau donné, cliquez sur le bouton Définir l'adresse IP. La fenêtre Définir l'adresse IP apparaît. Procedez comme suit :
a) Sélectionnez l'appareil à associer à une adresse IP spécifique dans la liste.
b) Configurez manuellement une adresse IP, un masque de sous-réseau et une passerelle pour l'appareil, puis cliquez sur Appliquer pour définir l'adresse IP spécifique de l'appareil réseau.
c) Clique sur Suivant.
- Les apparèils déteçés s'afficheront à l'écran. Sélectionnez celui que vous souhaitez utiliser.

Si le pilote n'a trové qu'une seule imprimante, la fenêtre de confirmation s'affiche.
Le programme démarre l'installation.
- Une fois l'installation terminée, une fenêtre vous demandant d'imprimer une page de test apparait. Si vous souhaitez imprimer un page de test, cliquez sur Imprimer une page de test.
Sinon, contentez-vous de cliquer sur Suivant et passez à l'etape 8.
- Si la page s'imprime correctement, cliquez sur Oui.
Sinon, cliquez sur Non pour relancer l'impression. - Pour vous inscrite en tant qu'utilisateur de l'appareil et receivevoir des informations de Samsung, cliquez sur Inscription en ligne.
- Cliquez sur Terminer.

- Une fois le pilote installé, vous pouvez activer les pare-feu.
- Si, après son installation, le pilote d'impression ne fonctionne pas correctement, réperez-le ou réinstallé-le (voir « Installation du pilote d'un apparéil connecté à un réseau cable ou via USB » à la page 41).
Macintosh
- Assurez-vous que l'appareil est connecté à votre réseau et qu'il est sous tension. L'adresse IP de votre apparéil doit également avoir été définie.
- Insérez le CD du logiciel dans le lecteur.
- Double-cliquez sur l'icone CD-ROM qui apparaît sur le bureau du Macintosh.
- Double-cliquez sur le dossier MAC Installer.
- Double-cliquez sur Iicone Installer OS X.
- Saisissez le mot de passer et cliquez sur OK.
- La fenêtre du programme d'installation Samsung s'ouvre. Cliquez sur Continuer.
- Lisez le contrat de licence et cliquez sur Continuier.
- Cliquez sur J'accepte pour accepter les termes du contrat de licence.
- Sélectionnez Installation standard et cliquez sur Programme d'installation => Installer (10.4). L'option Installation standard est recommandée pour la plupart des utilisateurs. Tous les composants nécessaires aux opérations de l'appareil seront installés. Lorsque vous désissez Installation personalisée (10.4), vous pouvez installer les composants de votre choix.
- Le message avertissant de la fermeture de toutes les applications en cours d'exécution sur votre ordinateur apparait. Cliquez sur Continuer.

-
Si une fenêtre vous demandant de sélectionner un type d'installation s'affiche, sélectionnez Installation standard sur imprimante réseau et cliquez sur OK.
-
Si vous sélectionnez Installation standard sur imprimante réseau, le programme SetIP se lance automatiquement. Si l'appareil dispose déjà d'informations réseau configurées, fermez le programme SetIP. Passez à l'étape suivante.
-
Une fois l'installation terminée, cliquez sur Quitter.
-
Ouvrez le dossier Applications > Utilitaires > Configuration d'imprimante.
-
Sous Mac OS X 10.5 à 10.6, ouvre le dossier Applications > Préférences Systeme et cliquez sur Imprimantes et fax.
-
Cliquez sur Ajouter dans la liste des imprimantes.
-
Sous Mac OS X 10.5 à 10.6, appuyez sur l'icone « + »; une fenêtre d'affichage apparait.
-
Sous Mac OS X 10.3, Sélectionnez l'onglet Impression via IP.
Sous Mac OS X 10,4, cliquez sur Imprimante IP.
Sous Mac OS X 10.5 à 10.6, cliquez sur IP.
- Sélectionnez Socket/HP Jet Direct dans Type (10.3).
Lors de l'impression d'un document contenant de nombreuses pages, le niveau de performance d'impression peut être amélioré enCHOISSSANT Socket pour I'option Type (10.3).
- Saisissez l'adresse IP de l'appareil dans le champ Adresse de l'imprimante.
- Saisissez le nom de la file d'attente dans le champ File d'atte. Si vous n'arrivez pas à déterminer le nom de la file d'attente du serveur de votre apparéil, commencez par essayer d'utiliser la file d'attente par défaut.
-
Sous Mac OS X 10.3, si la sélection automatique ne fonctionne pas correctement, sélectionnez Samsung dans Nom de modele et votre nom d'appareil dans Modèle de l'imprimante.
-
Sous Mac OS X 10.4, si la sélection automatique ne fonctionne pas correctement, sélectionnez Samsung dans Imprimer via et votre nom d'appareil dans Modèle.
- Sous Mac OS X 10.5 à 10.6, si la sélection automatique ne fonctionne pas correctement, Sélectionnez Sélectionner un gestionnaire à utiliser..., puis le nom de votre imprimante dans Imprimer via.
L'adresse IP de votre apparéil apparait sur Liste des imprimantes, et l' apparéil est réglé comme apparéil par défaut.
- Cliquez sur Ajouter.

Si le pilote d'impression ne fonctionne pas correctement, désinstallé-le et réinstallé-le.
Pour Macintosh, procédez comme suit pour désinstaller le pilote.
a) Assurez-vous que l'appareil est connecté à votre ordinateur et qu'il est sous tension.
b) Insérez le CD du logiciel dans le lecteur.
c) Double-cliquez sur l'icone CD-ROM qui apparaît sur le bureau du Macintosh.
d) Double-cliquez sur le dossier MAC Installer.
e) Double-cliquez sur Iicone Installer OS X.
f) Saisissez la clé réseau et cliquez sur OK.
g) La fenêtre du programme d'installation Samsung s'ouvre. Cliquez sur Continuer.
h) Sélectionnez Déinstaller et cliquez sur Déinstaller.
i) Lorsqu'un message avertissant de la fermetre de toutes les applications en cours d'exécution sur votre ordinateur apparait, cliquez sur Continuer.
j) Une fois la déinstallation terminée, cliquez sur Quitter.
Linux
Installation du pilote Linux et ajust d'une imprimante réseau
- Assurez-vous que l'appareil est connecté à votre réseau et qu'il est sous tension. L'adresse IP de votre apparéil doit également avoir été définie.
- Téchéchargez le package Unified Linux Driver du site Web de Samsung.
- Extrayez le fichier UnifiedLinuxDriver.tar.gz et ouvre le nouveau repertoire.
- Double-cliquez sur le dossier Linux.
- Double-cliquez sur I'icone install.sh.
- La fenêtre du programme d'installation Samsung s'ouvre. Cliquez sur Continue.
- La fenêtre de l'assistant d'avout d'imprimante s'ouvre. Cliquez sur Next.
- Sélectionnez imprimante réseau et cliquez sur le bouton Search.
- L'adresse IP et le nom de modèle de l'imprimante apparaisent dans le champ de liste.
- Sélectionnez l'appareil, puis cliquez sur Next.
- Entrez la description de l'imprimante et cliquez sur Next.
- Une fois l'ajout d'imprimante terminé, cliquez sur Finish.
- Une fois l'installation terminée, cliquez sur Finish.
Ajout d'une imprimante réseau
- Double-cliquez sur Unified Driver Configurator.
- Cliquez sur Add Printer...
- La fenêtre Add printer wizard s'ouvre. Cliquez sur Next.
- Sélectionnez Network printer et cliquez sur le bouton Search.
- L'adresse IP et le nom de modèle de l'imprimante apparaisent dans le champ de liste.
- Sélectionnez l'appareil, puis cliquez sur Next.
- Entrez la description de l'imprimante et cliquez sur Next.
- Une fois l'ajout d'imprimante terminé, cliquez sur Finish.
Configuration IPv6

TCP/IPv6 n'est correctement pris en charge que sur Windows Vista ou ultérieur.

Si le réseau IPv6 ne semble pas fonctionner correctement, réinitialisez tous les paramètres réseau par défaut et réessayez (voir « Restauration des paramètres usine par défaut » à la page 40).
Pour utiliser l'environnement réseau IPv6, procédez comme suit afin d'utiliser l'adresse IPv6 :
- Connectez l'appareil au réseau avec un cable réseau.
- Mettez l'appareil sous tension.
- Depuis le panneau de commande de l'appareil, imprimez un Rapport de configuration réseau permettant de contrôle les adresses IPV6.

a) Appuyez sur la touche Menu du panneau de commande.
b) Appuyez sur la flèche gauche/droite jusqu'à ce que Résseau s'affiche, puis appuyez sur OK.
c) Appuyez sur la flèche gauche/droite jusqu'à ce que INFO.
RESEAU s'affiche, puis appuyez sur OK.
d) Appuyez sur la flèche gauche/droite jusqu'à ce que OUI s'affiche, puis appuyez sur OK.
- Sélectionnez Demarrer > Panneau de configuration > Matériel et audio > Imprimantes > Ajouter une imprimante.
- Cliquez sur Ajouter une imprimante locale dans la fenêtre Ajouter une imprimante.
- Suívez les instructions affichées dans la fenêtre.

Si l'appareil ne fonctionne pas dans l'environnement réseau, activez IPv6. Reportez-vous à la section suivante.
Activation d'IPv6
L'appareil est fourni avec la fonction IPv6 activée.
- Appuyez sur la touche Menu du panneau de commande.
- Appuyez sur la flèche gauche/droite jusqu'à ce que Réseau s'affiche, puis appuyez sur OK.
- Appuyez sur la flèche gauche/droite jusqu'à ce que TCP/IP (IPv6) s'affiche, puis appuyez sur OK.
- Appuyez sur la flèche gauche/droite jusqu'à ce que IPv6 activé s'affiche, puis appuyez sur OK.
- Appuyez sur la flèche gauche/droite jusqu'à ce que ACTIVE s'affiche, puis appuyez sur OK.
- Mettez l'appareil hors tension puis sous tension.
- Réinstallé le pilote d'impression.
Paramétrage des adresses IPV6
L'appareil prend en charge les adresses IPV6 suivantes pour l'impression et la gestion réseau.
- Link-local Address : adresse IPv6 locale configurée automatiquement (l'adresse commence par FE80).
- Stateless Address : adresse IPV6 configurée automatiquement par un routeur réseau.
- Stateful Address: adresse IPV6 configurée par un serveur DHCPv6.
- Manual Address : adresse IPV6 configurée manuellement par un utilisateur.
Configuration d'adresse DHCPv6 (Stateful)
Si vous possédez sur votre réseau un serveur DHCPv6, vous pouvez définir une des options suivantes pour la configuration dynamique de l'hôte par défaut :
- Appuyez sur la touche Menu du panneau de commande.
- Appuyez sur la flèche gauche/droite jusqu'à ce que Résseau s'affiche, puis appuyez sur OK.
- Appuyez sur la flèche gauche/droite jusqu'à ce que TCP/IP (IPv6) s'affiche, puis appuyez sur OK.
- Appuyez sur la flèche gauche/droite jusqu'à ce que Config. DHCPv6 s'affiche, puis appuyez sur OK.
-
Appuyez sur les flèches gauche et droite pour acceder à la valeur souhaïée.
-
ROUTEUR : utilisation de DHCPv6 uniquement sur demande d'un réseau.
- Adr. DHCPv6 : utilisation exclusive de DHCPv6quelle que soit la demande du routeur.
-
DHCPv6 désact : utilisation proscrite de DHCPv6 qu'elle que soit la demande du routeur.
-
Appuyez sur OK.
Configuration manuelle de l'adresse
- Ouvrez un navigateur Web qui prend en charge l'adressage IPv6 comme URL, par exemple Internet Explorer (voir « Connexion de SyncThru™ Web Service » à la page 44).

Pour IPv4, saisissez l'adresse IPv4 (http://xxx.xxx.xxx.xxx) dans le champ d'adresse, puis appuyez sur la touche Entrée ou cliquez sur Atteindre.
- Lorsque la fenêtre SyncThru™ Web Service s'ouvre, cliquez sur Config. réseau.
- Cliquez sur TCP/IP.

- Activez l'options Adresse manuel dans la section TCP/IPv6.
- Sélectionnez le Prfixe du routeur et cliquez sur le bouton Ajouter ; le préfixe du routeur est alors saisi automatiquement dans le champ d'adresse.
Saisissez le reste de l'adresse (par ex.: 3FFE:10:88:194::AAAA. « A » est le chiffre hexadecimal 0 à 9, A à F).
- Cliquez sur le bouton Appliquer.
Connexion de SyncThru™ Web Service
- Ouvrez un navigateur Web qui prend en charge l'adressage IPV6 comme URL, par exemple Internet Explorer.
- Sélectionnez une des addresses IPV6 (Link-local Address, Stateless Address, Stateful Address, Manual Address) à partir du Rapport de configuration réseau.
- Saisissez les adresses IPV6 (par ex.: http://[FE80::215:99FF:FE66:7701]).

L'adresse doit être place entre crochets « [] »
Configuration de base
Une fois l'installation terminée, vous doivent définir les paramètres par défaut de l'appareil. Consultez la section suivante si vous souhaitez définit ou modifier des valeurs. Ce chapitre vous guide pas-à-pas dans la procédure de paramétrage de l'appareil.
Ce chapitre contient les sections suivantes :
Réglage de l'altitude
Modification de la langue d'affichage
Paramétrage de la date et de l'heure
- Modification du mode d'horloge
- Modification du mode par défaut
Réglage de l'altitude
La qualité d'impression est affectée par la pression atmosphérique, celle-ci étant déterminée par la position de l'appareil par rapport au niveau de la mer. Les informations suivantestraitent du paramétrage de l'appareil de façon à Obtir une qualité d'impression optimale.
Avant de définir les paramètres d'altitude, déterminez l'altitude à laquelle vous trouvez.

1 Elevé 1
2 Elevé 2
3 Elevé 3
4 Normal
- Vérifiez que vous avez bien installé le pilote d'impression inclus dans le CD-ROM du logiciel d'impression fourni.
- Double-cliquez sur l'icone Smart Panel de la barre des tâches de Windows (ou de la zone Notification Area de Linux). Vous pouvez également cliquer sur Smart Panel de la barre d'état de Mac OS X.
- Cliques sur Paramètres d'imprimante.
- Cliquez sur Paramètres > Ajustement altitude. Sélectionnez la valeurADFÉQUATE dans la liste déroulante, puis cliquez sur Appliquer.

- Si votre apparéil est connecté à un réseau, l'écran SyncThru™ Web Service apparait automatiquement. Cliquez sur Config. apparéil > Configuration du système > Config. apparéil > Altitude. Sélectionnez la valeur d'altitude ajustée, puis cliquez sur Appliquer.
- Si votre apparéil est connecté via un cable USB, réglez l'altitude dans l'options ALTITUDE de l'écran de l' apparéil.
Modification de la langue d'affichage
Pour modifier la langue qui apparait sur l'écran, effectuez les opérations suivantes :
- Configuration dessons
Saisie de caractères à l'aide du pavé numérique
Utilisation des modes d'économie - Réglage du bac et du papier par défaut
-
Réglage du début d'expiration de la tâche
-
Appuyez sur la touche Menu du panneau de commande.
- Appuyez sur la flèche gauche/droite jusqu'à ce que CONFIG SYSTEME s'affiche, puis appuyez sur OK.
- Appuyez sur la flèche gauche/droite jusqu'à ce que CONFIG MACHINE s'affiche, puis appuyez sur OK.
- Appuyez sur la flèche gauche/droite jusqu'à ce que LANGUE s'affiche, puis appuyez sur OK.
- Appuyez sur la flèche gauche/droite pour afficher la langue souhaitée.
- Appuyez sur OK pour valider votrechoix.
- Appuyez sur Arrête/Suppr. pour revenir en mode prét.
Paramétrage de la date et de l'heure
Le réglage de la date et de l'heure est utilisé pour les options de télécopie différée et d'impression différée. Ces données sont également imprimées sur les journaux. Si celles-ci sont incorrectes, vous nevez lesmettre a jour.

En cas de coupure de courant, vous doivent de nouveau régler la date et l'heure une fois le courant rétabli.
- Appuyez sur la touche Menu du panneau de commande.
- Appuyez sur la flèche gauche/droite jusqu'à ce que CONFIG SYSTEME s'affiche, puis appuyez sur OK.
- Appuyez sur la flèche gauche/droite jusqu'à ce que CONFIG MACHINE s'affiche, puis appuyez sur OK.
- Appuyez sur la flèche gauche/droite jusqu'à ce que DATE & HEURE s'affiche, puis appuyez sur OK.
- Saisissez l'heure et la date correctes à l'aide de la flèche gauche/droite ou du pavé numérique.
Mois = 01 à 12,
Jour = 01 à 31,
Année = 4 chiffres,
Heure = 01 à 12,
Minute = 00 a 59,
et vous pouvez également sélectionner AM ou PM.
- Appuyez sur OK pour valider votrechoix.
- Appuyez sur Arrête/Suppr. pour revenir en mode prét.
Modification du mode d'horloge
Vous pouvez paramétrer votre apparéil pour que l'heure s'affiche au format 12 ou 24 heures.
- Appuyez sur la touche Menu du panneau de commande.
- Appuyez sur la flèche gauche/droite jusqu'à ce que CONFIG SYSTEME s'affiche, puis appuyez sur OK.
- Appuyez sur la flèche gauche/droite jusqu'à ce que CONFIG MACHINE s'affiche, puis appuyez sur OK.
- Appuyez sur la flèche gauche/droite jusqu'à ce que MODE HORLOGE s'affiche, puis appuyez sur OK.
- Appuyez sur la flèche gauche/droite pour sélectionner l'autre mode, puis appuyez sur OK.
- Appuyez sur Arrête/Suppr. pour revenir en mode prét.
Modification du mode par défaut
Votre apparéil est préconfigure en mode copie. Vous pouvez basculer ce mode par défaut entre les modes télécopie et copie.
- Appuyez sur la touche Menu du panneau de commande.
- Appuyez sur la flèche gauche/droite jusqu'à ce que CONFIG SYSTEME s'affiche, puis appuyez sur OK.
- Appuyez sur la flèche gauche/droite jusqu'à ce que CONFIG MACHINE s'affiche, puis appuyez sur OK.
- Appuyez sur la flèche gauche/droite jusqu'à ce que MODE PAR DEF. s'affiche, puis appuyez sur OK.
- Appuyez sur la flèche gauche/droite pour sélectionner le mode souhaïte.
- Appuyez sur OK pour valider votrechoix.
- Appuyez sur Arrête/Suppr. pour revenir en mode prét.
Configuration des sons
You pouvez controller lessons suivants :
- TONAL. CLAVIER: ACTIVE ou DESACTIVE la tonalité du clavier. Si cette option est ACTIVE, un bip est émis chaque fois que vous appuyez sur une touche.
- TONAL. ALARME: ACTIVE ou DESACTIVE la tonalité de l'alarme. Lorsque cette option est réglée sur ACTIVE, une tonalité d'alarme retentitès qu'une erreur intervient ou que la communication par fax s'interrrompt.
HAUT-PARLEUR: ACTIVE ou DESACTIVE lessons de la ligne téléphonique diffusés par le haut-parleur, comme la tonalité de composition ou la tonalité de télécopie. Lorsque cette option est en mode COM. qui signifie « commun, courant», le haut-parleur reste activé jusqu'à ce que l'appareil distant réponde.

Vous pouvez ajuster le niveau du volume à l'aide de Ligne. Si votre apparéil est équipé d'un combiné, vous pouvez vous en servir pour régler le volume.
- SONNERIE : ajusté le volume de la sonnerie. Pour le volume de la sonnerie, vous pouvez désirer entre DESACTIVE, FAIBLE, MILIEU et ELEVEE.
Haut-parleur, sonnerie, dips de touches et bip d'advertisement
- Appuyez sur la touche Menu du panneau de commande.
- Appuyez sur la flèche gauche/droite jusqu'à ce que CONFIG SYSTEME s'affiche, puis appuyez sur OK.
- Appuyez sur la flèche gauche/droite jusqu'à ce que SON/VOLUME s'affiche, puis appuyez sur OK.
- Appuyez sur la flèche gauche/droite jusqu'à ce que l'options de son souhaïette apparaissée, puis appuyez sur OK.
- Appuyez sur la flèche gauche/droite jusqu'à ce que le statut ou le volume sonore sélectionné s'affiche, puis appuyez sur OK.
- Si besoin, repétez les étapes 4 à 5 pour paramétrer d'autres sons.
- Appuyez sur Arreter/Suppr. pour revenir en mode prêt.
Volume du haut-parleur
Pour régler le volume à l'aide de la touche Ligne :
- Appuyez sur (Télécopie) sur le panneau de commande.
- Appuyez sur Ligne. Le haut-parleur émet une tonalité de composition.
- Appuyez sur la flèche gauche/droite jusqu'à ce que vous obteniez le volume sonore souhaité.
- Appuyez sur Ligne pour valider la modification et revenir au mode prét. Si votre apparéil est équipé d'un combiné :
- Decrochez le combiné. L'écouteur émet une tonalité d'appel.
- Appuyez sur la flèche gauche/droite jusqu'à ce que vous obteniez le volume sonore souhaité.
- Appuyez sur OK pour enregistrer la modification et reposez le combiné.

Vous ne pouvez ajuster le volume du haut-parleur que lorsque le cable téléphonique est connecté.
Saisie de caractères à l'aide du pavé numérique
Lors de l'exécution de diverses tâches, vous devrez indiquer différents noms et numérios. Par exemple, lorsque vous configUREZ votre apparéil, vous indiquez votre nom ou le nom de la société et le numéro de télécopie.
Saisie de caractères alphanumerices
- Lorsque le système vous invite à saisir une lecture, repérez la touche sur laquelle figure le caractère souhaité. Appuyez sur la touche jusqu'à ce que la lecture souhaïée s'affiche à l'écran.
Par exemple, pour taper la dette O, appuyez sur la touche 6, qui désigne les lettres « MNO »
À chaque pression sur la touche 6, l'écran affiche une dette différente, M, N, O et finalement 6.
Vou puez inclure des caractères spéciaux dans le nom (espace, signe plus, etc.). Pour plus de détails, consultez la section ci-dessous.
- Pour saisir des caractères supplémentaires, recommencez l'étape 1. Si la dette suivante à saisir se trouve sur la même touche, déplaceze le curseur à l'aide de la flèche gauche/droite, puis appuyez sur la touche voulue. Le curseur se déplace vers la droite et la dette suivante s'affiche.
Voussoussezaisirunespaceenappuyantdeuxfois surla touche1. - Quand vous avez terminé de saisir les lettres, appuyez sur OK.
Lettres et chiffres du clavier
| Touche | Chiffres,lettres ou caractères associés |
| 1 | @ / . ' 1 |
| 2 | A B C a b c 2 |
| 3 | D E F d e f 3 |
| 4 | G H I g h i 4 |
| 5 | J K L j k l 5 |
| 6 | M N O m n o 6 |
| 7 | P Q R S p q r s 7 |
| 8 | T U V t u v 8 |
| 9 | W X Y Z w x y z 9 |
| 0 | & + - , 0 |
| * | * |
| # | # |
Correction de numérios ou de noms
En cas d'erreur de saisie, appuyez sur la flèche gauche/droite pour effacer le dernier chiffre ou caractère saisi. Saisissez ensuite le chiffre ou le caractère approprié.
Insertion d'une pause
Avec certains systèmes téléphoniques, vous devez composer un code d'accès (9, par exemple) puis patienter jusqu'à l'émission d'une deuxième tonalité de composition. Le cas échéant, vous devez insérer une pause dans le numéro de téléphone. Vous pouvez insérer une pause lorsque vous configurez les numérios de composition abrégée. Pour insérer une pause, appuyez sur Bis/Pause à l'endetroit approprié lors de la saisie du numéro de téléphone. Un - apparait sur l'écran à l'emplacement correspondant.
Utilisation des modes d'économie
Utilisation de la fonctionnalité d'économie de toner
Le mode économique de toner permet à l'appareil d'utiliser moins de toner par page. Avec ce mode, la durée de vie des cartouches est allongée par rapport à celle obtenue en mode normal, mais la qualité d'impression est moins bonne.
- Appuyez sur la touche Menu du panneau de commande.
- Appuyez sur la flèche gauche/droite jusqu'à ce que CONFIG SYSTEME s'affiche, puis appuyez sur OK.
- Appuyez sur la flèche gauche/droite jusqu'à ce que CONFIG MACHINE s'affiche, puis appuyez sur OK.
- Appuyez sur la flèche gauche/droite jusqu'à ce que ECO TONER s'affiche, puis appuyez sur OK.
- Appuyez sur la flèche gauche/droite jusqu'à ce que ACTIVE s'affiche, puis appuyez sur OK.
- Appuyez sur Arrête/Suppr. pour revenir en mode prét.

Si vous imprimez depuis un PC, vous pouvez aussi activer ou désactiver le mode d'économie de toner dans les propriétés de l'imprimante.
Utilisation de la fonctionnalité d'économie d'énergie
Lorsque vous n'utilisez pas l'appareil pendant un moment, utilisez cette fonctionnalité pour economiser l'énergie.
- Appuyez sur la touche Menu du panneau de commande.
- Appuyez sur la flèche gauche/droite jusqu'à ce que CONFIG SYSTEME s'affiche, puis appuyez sur OK.
- Appuyez sur la flèche gauche/droite jusqu'à ce que CONFIG MACHINE s'affiche, puis appuyez sur OK.
- Appuyez sur la flèche gauche/droite jusqu'à ce que ECO ENERGIE s'affiche, puis appuyez sur OK.
- Appuyez sur la flèche gauche/droite pour sélectionner le temps souhaité.
- Appuyez sur OK pour valider votrechoix.
- Appuyez sur Arrête/Suppr. pour revenir en mode prét.
Réglage du bac et du papier par défaut
Vous pouvez selectionner le bac et le papier à utiliser par défaut pour les tâches d'impression.
Au panneau de commande
Réglage du format de papier
- Appuyez sur la touche Menu du panneau de commande.
- Appuyez sur la flèche gauche/droite jusqu'à ce que CONFIG SYSTEME s'affiche, puis appuyez sur OK.
- Appuyez sur la flèche gauche/droite jusqu'à ce que CONFIG PAPIER s'affiche, puis appuyez sur OK.
- Appuyez sur la flèche gauche/droite jusqu'à ce que FÜRMAT PAPIER s'affiche, puis appuyez sur OK.
- Appuyez sur la flèche gauche/droite pour sélectionner le bac d'alimentation papier souhaïte, puis appuyez sur OK.
- Appuyez sur la flèche gauche/droite pour sélectionner le format de papier souhaité.
- Appuyez sur OK pour valider votrechoix.
- Appuyez sur Arrête/Suppr. pour revenir en mode prêt.
Réglage du type de papier
- Appuyez sur la touche Menu du panneau de commande.
- Appuyez sur la flèche gauche/droite jusqu'à ce que CONFIG SYSTEME s'affiche, puis appuyez sur OK.
- Appuyez sur la flèche gauche/droite jusqu'à ce que CONFIG PAPIER s'affiche, puis appuyez sur OK.
- Appuyez sur la flèche gauche/droite jusqu'à ce que TYPE PAPIER s'affiche, puis appuyez sur OK.
- Appuyez sur la flèche gauche/droite pour sélectionner le bac d'alimentation papier souhaïte, puis appuyez sur OK.
- Appuyez sur la flèche gauche/droite pour sélectionner le type de support souhaité.
- Appuyez sur OK pour valider votrechoix.
- Appuyez sur Arrête/Suppr. pour revenir en mode prêt.
Réglage de la source de papier
- Appuyez sur la touche Menu du panneau de commande.
- Appuyez sur la flèche gauche/droite jusqu'à ce que CONFIG SYSTEME s'affiche, puis appuyez sur OK.
-
Appuyez sur la flèche gauche/droite jusqu'à ce que CONFIG PAPIER s'affiche, puis appuyez sur OK.
-
Appuyez sur la flèche gauche/droite jusqu'à ce que ALIM. PAPIER s'affiche, puis appuyez sur OK.
- Appuyez sur la flèche gauche/droite jusqu'à ce que BAC COPIE ou BAC FAX s'affiche, puis appuyez sur OK.
- Appuyez sur la flèche gauche/droite pour sélectionner le bac d'alimentation papier souhaité.
- Appuyez sur OK pour valider votrechoix.
- Appuyez sur Arreter/Suppr. pour revenir en mode prêt.
Dans l'ordinateur
Windows
- Cliquez sur le menu Démarrer de Windows.
-
Pour Windows 2000, Sélectionnez Paramètres > Imprimantes.
-
Sous Windows XP/2003, Sélectionnez Imprimantes et télécopieurs.
- Sous Windows 2008/Vista, Sélectionnez Panneau de configuration > Matériel et audio > Imprimantes.
- Sous Windows 7, Sélectionnez Panneau de configuration > Matériel et audio > Périphériques et imprimantes.
-
Sous Windows Server 2008 R2, Sélectionnez Panneau de configuration > Matériel > Périphériques et imprimantes.
-
Cliquez avec le bouton croit sur votre apparéil.
- Sous Windows XP/2003/2008/Vista, cliquez sur Options d'impression.
Sous Windows 7 et Windows Server 2008 R2, Sélectionnez, dans les menus contextuels, les Options d'impression.

Si la marque accompany l'élément Options d'impression, vous pouvez sélectionner les autres pilotes d'impression reliés à l'imprimante sélectionnée.
- Cliquez sur l'onglet Papier.
- Sélectionnez le bac souhaité et les options correspondantes, notamment le format et le type de papier.
- Appuyez sur OK.

Si vous souhaitez utiliser du papier de format spécial comme du papier à facture, Sélectionnez l'onglet Papier > Format > Modifier... dans les Options d'impression (voir « Ouverture des préférences d'impression » à la page 58).
Macintosh
Les utilisateurs de Macintosh doivent changer manuellement le réglage par défaut chaque fois qu'ils veulent utiliser d'autres réglages.
- Ouvrez une application Macintosh, puis selectionnéz le fichier à imprimer.
- Ouvrez le menu Fichier et cliquez sur Imprimer.
- Sélectionnez le volet Alimentation.
- Ouvrez le menu Fichier et cliquez sur Imprimer.
- Accedez à Alimentation.
- Définisse le bac approprié duquel vous souhaitez imprimer.
- Sélectionnez le volet Papier.
- Reglez le type de papier pour faire correspondre le papier inséré dans le bac avec celui youlu pour l'impression.
- Cliques sur Imprimer pour imprimer.
Linux
- Ouvrez le programme Terminal.
- Lorsque l'écran Terminal apparaît, tapez : [root@localhost root]# lpr
- Sélectionnez Printer et cliquez sur Properties...
- Cliquez sur l'onglet Advanced.
- Sélectionnéz le bac (source) et ses options, telles que le format et le type de papier.
- Appuyez sur OK.
Réglage du début d'expiration de la tâche
Quand aucune saisie n'est réalisée pendant un certain laps de temps, l'appareil quitte le menu actif et returnne aux paramètres par défaut. Vous pouvez définir le temps d'attente de l'appareil.
- Appuyez sur la touche Menu du panneau de commande.
- Appuyez sur la flèche gauche/droite jusqu'à ce que CONFIG SYSTEME s'affiche, puis appuyez sur OK.
- Appuyez sur la flèche gauche/droite jusqu'à ce que CONFIG MACHINE s'affiche, puis appuyez sur OK.
- Appuyez sur la flèche gauche/droite jusqu'à ce que EXPIR. IMPR. s'affiche, puis appuyez sur OK.
- Saisissez le temps à l'aide de la flèche gauche/droite ou du pavé numérique.
- Appuyez sur OK pour valider votrechoix.
- Appuyez sur Arrête/Suppr. pour revenir en mode prét.
Ce chapitre vous explique comment installer les originaux et les supports d'impression dans votre apparéil.
Ce chapitre contient les sections suivantes :
- Préparation des originaux
- Mise en place des originaux
- Sélection du support d'impression
Modification du format du bac

Les fonctions et les périphériques optionnels pris en charge peuvent varier selon le modele. Veuiliez vérifier le nom de votre modele. (Voir « Fonctionnalités par modele » à la page 26.)
Préparation des originaux
- N'insérez pas du papier dont le format est inférieur à 142 × 148 mm ou supérieur à 216 × 356 mm.
-
N'essayez pas de charger les types de papier suivants au risque de provoquer un bourrage, une impression de mauvaise qualité et un endommagement de l'appareil.
-
Papier carbone ou papier autocopiant.
- Papier couché.
- Papier bible ou trop fin.
- Papier froissé ou plié.
- Papier ondulé ou en rouleau.
-
Papier déchiré.
-
Retirez tout trombone ou agrafe avant de charger des documents.
- Si vous avez utilisé du correcteur, de la colle ou de l'encre, vérifie que le papier est entièrement sec avant de charger les documents.
- Ne chargez que des originaux de même format ou grammaige.
- Ne chargez pas de documents reliés, de livrets, de transparents ou de documents non standard.
Mise en place des originaux
Voussupportezutiliserla vitred'expositionoulechargeurautomatiquedocuments pour charger un document originala des fins de copie,denumerisation et d'envoi par fax.
Sur la vente d'exposition
Assurez-vous que le chargeur de documents est vide. Si un original est détesté dans le chargeur de documents, il devient prioritaire par rapport à l'original placé sur la vitre d'exposition. Pour obtenir une qualité de numérisation optimale, notamment pour les images en couleur ou en niveaux de gris, utilisez la vitre d'exposition.
- Chargement de papier dans le bac
Impression sur supports spéciaux -
Réglage du type et du format de papier
Utilisation du support de sortie papier -
Soulevez et ouvre le capot du scanner.

- Placez les originaux, face imprimée vers le bas, sur la vitre d'exposition. Et alignez-le sur le guide situé dans l'angle supérieur gauche de la vitre.

- Fermez le capot du scanner.

- Refermez toujours le capot du scanner pour obtenir une qualité d'impression optimale et réduire la consommation de toner.
- La présence de poussière sur la vitre d'exposition peut entraîner l' apparition de taches noires sur le document imprimé. Veiliez à ce que cette vitre soit toujours propre (voir « Nettoyage du scanner » à la page 98).
- Lorsque vous numériqueez une page d'un livre ou d'un magazine, ouvrez complètement le capot du scanner, puis reférerlez. Si le livre ou le magazine fait plus de 30 mm d'épaissieur, laissez le capot ouvert pour effectuer la numérisation.

- Faites attention à ne pas casser la vitre d'exposition. Vous pourriez vous blesser.
- Ne la touchez pas avec vos doigs en refermant le capot du scanner. Le capot du scanner pourrait tomber et être endommagé.
- Ne regardez pas la lumière qui vient de l'intérieur du scanner lorsque vous copiez ou numérique un document. Cela est dangereux pour vos yeux.
Dans le chargeur de documents
Le chargeur automatique de documents peut receivevoir jusqu'à 40 feuilles de papier (75g / m^2) pour une tâche.
- Courbez ou déramez la pile de papier afin de séparer les feuilles avant de charger les originaux.

- Placez l'original, face imprimée vers le haut, dans le chargeur de documents. Assurez-vous que le bord croit de l'original est aligné sur la marque de format de papier présente sur le bac d'alimentation.

- Ajustez le guide de largeur du chargeur de documents en fonction du format du papier.


Des particules de poussière sur la vitre du chargeur de documents peuvent creer des taches noires sur le document imprimé. Maintenez toujours la vitre propre (voir « Nettoyage du scanner » à la page 98).
Sélection du support d'impression
Vous pouvez imprimer sur differents supports, par exemple du papier ordinaire, des enveloppopes, des étiquettes ou encore des transparents. N'utilisez que des supports d'impression compatibles avec l'appareil.
Recommendations pour sélectionner le support d'impression
L'utilisation d'un support d'impression non conforme aux spécifications décrites dans leprésent mode d'emploi peut provoquer des problèmes, notamment :
- Une qualité d'impression médiocre.
- Des bourages papier répétés.
- Une usure prématurée de l'appareil.
Certaines caractéristiques, comme le gramma, la composition, le grain et la teneur en humidité, constituent des facteurs importants qui ont une incidence sur les performances de l'imprimante et sur la qualité d'impression. Lorsque vous choisissez un support d'impression, tenez compte des points suivants :
- Le type, le format et le grammage des supports d'impression pour votre apparéil sont décrits dans les specifications sur les supports d'impression (voir « Spécifications des supports d'impression » à la page 124).
- Résultat recherché :CHOISSEZ un support d'impression adapté à votre travail.
- Luminosite : plus le support d'impression est blanc, plus les couleurs paraissent éclatantes.
- Satinage: le satinage du papier améliore la nettable de l'impression.

Il arrive que certains supports d'impression répondant aux critères décrits dans cette section ne fournissant cependant pas des résultats satisfaisants. Cela peut être d'à une manipulation inadéquate, à des niveaux de température et d'hygrométrie excessifs ou à autres facteurs sur lesquels aucun contrôle ne peut être exercé.
- Avant de faire acquisition de supports d'impression en grande quantité, vérifie qu'ils répondent aux specifications indiquées dans le present document.

L'utilisation d'un support d'impression non conforme aux specifications peut provoquer des problèmes de fonctionnement de l'imprimante, allant jusqu'à nécessiter l'intervention d'un technicien. Ce type d'intervention n'est pas couvert par la garantie ni par les contrats de maintenance.
La quantité de papier placée dans le bac peut varier selon le type de support utilisé (voir « Spécifications des supports d'impression » à la page 124).
Formats de support pris en charge dans chaque mode
| Mode | Format | Alimentation |
| Mode copie | Lettre, A4, Légal, Oficio, Folio, Exécutif, B5 ISO, B5 JIS, A5, A6 | • bac 1 • bac manuel |
| Mode d'impression | Tous les formats pris en charge par l'appareil | • bac 1 • bac manuel |
| Mode télécopie | Lettre, A4, Légal | • bac 1 |
Modification du format du bac
Selon le pays, le bac est reglé par défaut sur le format Lettre ou A4. Pour changer le format, vous doivent régler les guides-papier.

1 Guide de support
2 Guide-papier
3 Verrou du guide
4 Guide de largeur du papier
- D'une main, pressez et maintenez le guide, et de l'autre main, tenez ensemble le guide-papier et le support de guidage. Faites glisser le guide-papier et le support de guidage pour les faire venir dans l'encochrome correspondant au format du papier.

- Courbez ou déramez la pile de papier afin de séparer les feuilles avant de les charger. Insérez le papier dans le bac.



- Une fois le papier inséré dans le bac, réglez le guide de support jusqu'à ce qu'il touche légèrement la pile de papier.

- Appuyez sur les guides de largeur du papier et déplacez-les au format de papier indiqué au fond du bac.


- Si vous poussez le guide-papier trop loin, le papier risque de se courber.
- Si vous n'ajustez pas le guide, vous risquiez de provoquer des bourrages papier.



Chargement de papier dans le bac
Bac 1
- Retirez le bac d'alimentation papier et reglez le format du bac en fonction du support charge (voir « Modification du format du bac » à la page 51).
- Courbez ou déramez la pile de papier afin de séparer les feuilles avant de charger le papier.

- Insérez le papier face à imprimer vers le bas.

- Remettez le bac en place dans l'appareil.
- Lorsque vous imprimez un document, Sélectionnez le format et le type de papier pour le bac.
Pour plus d'informations sur la configuration du type et du format du papier, reportez-vous à la section « Réglage du bac et du papier par défaut » à la page 47.

Si vous rencontres des problèmes avec l'alimentation papier, vérifie que le papier corresponde aux specifications de support d'impression. Ensuite, essayez de placer une feuille à la fois dans le bac manuel (voir « Spécifications des supports d'impression » à la page 124).
Bac manuel
Le bac manuel peutContainir des supports de types et de formats spéciaux, tels que des cartes postales, des cartes de correspondance et des enveloppopes. Il est très utile pour réaliser des impressions sur une seule feuille de papier à en-été ou de papier de couleur.
Conseils d'utilisation du bac d'alimentation manuel
- Si vous sélectionnez Chargeur manuel comme Alimentation depuis votre application logicielle, vous devez appuyer sur OK à chaque fois que vous imprimez une page et chargez un seul type, un seul format et un seul grammage de support d'impression à la fois dans le bac manuel.
- Pour éviter les bourrages papier, n'ajoutez pas de papier pendant l'impression tant que le bac manuel n'est pas vide. Cela s'applique également aux autres types de support.
- Les supports doivent être charges face vers le haut, le bord supérieur inséré en premier dans le bac d'alimentation manuel, et être placés au centre du bac.
Utilisez uniquement les supports d'impression repertoriés pour éviter les bourrages papier ou les problèmes de qualité d'impression (voir « Spécifications des supports d'impression » à la page 124). -
Lissez les cartes, enveloppes et planches d'étiquettes avant de les insérer dans l'alimentation manuelle.
-
Chargez le format de papier approprié dans le bac manuel.


- Ne forcez pas le papier au-delà de la surface marquée par lors du chargement.
- Lors de l'impression sur support spécial, suivez les recommendations de chargement (voir « Impression sur supports spéciaux » à la page 52).
- Lorsque des feuilles se chevauchent lors de l'impression avec le bac manuel, ouvrez le bac 1 et retirez les feuilles qui se chevauchent; recommencez l'impression.
-
Lorsque le papier ne s'alimente pas correctement pendant l'impression, poussez manuellement le papier jusqu'à ce qu'il commence à s'alimenter automatiquement.
-
Pressez les guides de papier de l'alimentation manuelle et ajustez-les à la largeur du papier. Ne forcez pas trop, au risque de plier le papier et de provoquer un bourrage papier ou une impression oblique.
- Pour imprimer dans une application, ouvre-la et démarrez le menu d'impression.
- Ouvrez Options d'impression (voir « Ouverture des préférences d'impression » à la page 58).
- Appuyez sur l'onglet Papier dans Options d'impression, et sélectionnez le type de papier approprié.

Par exemple, si vous souhaitez utiliser une étiquette, définissez le type de papier sur Étiquettes.
- Sélectionnez Chargeur manuel dans la source de papier puis appuyez sur OK.
- Lancez l'impression depuis l'application.

Si vous imprimez plusieurs pages, insérez la feuille suivante une fois la première page imprimée, puis appuyez sur OK. Répéteze cette opération pour chaque page à imprimer.
Impression sur supports spéciaux
Le tableau ci-dessous montre les supports spéciaux disponibles pour chaque bac.

Lors de l'utilisation d'un support spécial, nous vous recommendons d'alimenter une feuille à la fois. Vérifiez le nombre maximum de feuilles à alimenter pour chaque bac (voir « Spécifications des supports d'impression » à la page 124).
| Types | Bac 1 | Bac manuel |
| Papier ordinaire | ● | ● |
| Papier épais | ● | ● |
| Papier fin | ● | ● |
| Papier de luxe | ● | |
| Papier couleur | ● | |
| Papier cartonné | ● | |
| Étiquettes | ● | |
| Transparent | ● | |
| Enveloppe | ● | |
| Pré-imprimé | ● | |
| Papier en coton | ● | |
| Papier recyclé | ● | ● |
| Papier archive | ● | ● |
(·: pris en charge, vide : non pris en charge)
Ces types de support sont affichés dans Options d'impression. Cette option de type de papier vous permet de définir le type du papier chargé dans le bac. Ce format défini apparait alors dans la liste et vous pouvez le sélectionner. Vous obtiendaç ainsi une qualité d'impression optimale. Dans le cas contraire, la qualité d'impression souhaitation peut ne pas être atteinte.
- Papier ordinaire : papier ordinaire normal. Sélectionnez ce type si votre apparéil est monochrome et imprime sur du papier de 60 à 90 g/ m².
- Papier épais : papier épais 90 à 105g / m^2
- Papier fin : papier fin 60 à 70 g/m².
- Papier de luxe : papier de luxe 105 à 120 g/m².
- Papier couleur: papier de couleur 75 à 90 g/m².
- Papier cartonné: papier cartonné 90 à 163 g/m².
- Étiquettes: étiquettes 120 à 150 g/m².
Transparent: papier transparent 138 à 146 g/m². -
Enveloppe: enveloppe 75 à 90 g/m².
-
Pré-imprimé : papier à en-tête/pre-imprimé 75 à 90 g/m².
- Papier en coton : papier en fibre de coton 75 à 90 g/m².
- Papier recyclé : papier recyclé 75 à 90 g/m².

Lorsque vous utilisez du papier recyclé, les impressions peuvent sembler froissées.
- Papier archive : 70 à 90 g/m². Si vous doivent conserver des imprimés pendant une longue période, des archives par exemple, Sélectionnez cette option.
Enveloppe
La qualité d'impression sur les enveloppées dépend de la qualité des enveloppées.
Pour imprimer une enveloppe, introduizez en premier dans l'imprimante la partie où figure la zone réservée au timbre, à savoir le côte gauche.
Positionnez l'enveloppe au centre du bac manuel.

Si les enveloppées imprimées présentant des pris, des froissements ou des lignes noires épaisses, ouvre le capot arrêté et abaissez le levier de pression, puis réessayez d'imprimer. Maintenez le capot arrêté ouvert pendant l'impression.

1 Levier depression
Lorsque vous choisissez des enveloppes, tenez compte des facteurs suivants :
- Grammage : le gramma de papier de l'enveloppe ne doit pas dépasser 90 g/m² sinon un bourrage risque de se produit.
- Qualité de fabrication : les enveloppées doivent être stockées à plat, avec moins de 6 mm de plissement. Elles ne doivent pas contérer d'air.
- État : les enveloppes ne doivent pas être froissées, éraflées ni endommagées.
- Température : utilisez des enveloppes résistant à la température de fusion et à la pression de l'appareil durant le fonctionnement.
Utilisez uniquement des enveloppopes de bonne qualite, dotees de rabats bien decoupes et bien plies.
N'tutilisez pas d'enveloppes affranchies.
- N'utilise pas d'enveloppès à fermoire, à soufflet, à fenêtre, préencollées, adhésvises, ou compteant d'autres matériaux synthétiques.
- Évitez d'utiliser des enveloppées endommagées ou non conformes.
- Vérifiez que la bande collée aux deux extrémités de l'enveloppe se termine bien aux coins de l'enveloppe.


1 Acceptable
2 Inacceptable
- Les enveloppes avec une bande adhéasive ou avec plusieurs rabats se superposant doivent utiliser des adhésifs compatibles avec la température de fusion (environ 170^ ) pendant 0,1 seconde. Les rabats et les bandes risquent de se plier, de se froisser, de provoquer des bourrages ou même d'endommager le four.
Pour une qualite d'impression optimale, laissez une marge d'au moins 15 mm à partir du bord de l'enveloppe. - Évitez d'imprimer sur les pliures de l'enveloppe.
Transparent
Pour ne pas endommager l'appareil, utilisez uniquement des transparents conçus pour les imprimantes laser.

- Les transparents utilisés doivent pouvoir supporter la température de fusion de l'appareil.
- Placez les transparents sur une surface plane après les avoir retirés de l'appareil.
- Ne laissez pas les transparents inutilisés trop longtemps dans le bac d'alimentation papier. Il se peut que de la poussière s'accumule sur les transparents et provoque des taches sur les impressions.
- Pour éviter les taches dues aux traces de doigs, manipuez-les délicatement.
Pour que les transparents imprimés ne se decolectent pas, évitez de les exposer trop longtemps à la lumière du soleil.
Assurez-vous que les transparents ne sont pas froissés ou ondulés et qu'ils ne sont pas déchirés sur les bords. - N'utilise pas de transparents qui se séparent de la feuille de support.
Pour éviter que les transparents se collent les uns aux autres, retirez au fur et à mesure du bac de sortie les feuilles imprimées.
Étiquettes
Pour éviter d'endommager l'appareil, n'utilise que des étiquettes conçues pour les apparèils laser.

-
Lorsque vous choisissez des étiquettes, tenez compte des facteurs suivants :
-
Substance adhésive : le revêtement adhésif doit rester stable à la température de fusion (environ 170^ ) de l'appareil.
- Disposition : n'utilise pas de planches partiellement décollées où le fond de la planche est visible. Les étiquettes pourraient se décoller et provoquer des bourrages importants.
- Plissement : avant l'impression, les étiquettes doivent être stockées à plat, avec moins de 13 mm d'ondulation quel que soit le sens.
-
État : n'utilisez pas d'étiquettes froissées,présentant des bulles d'air ou d'autres signes de décollement.
-
Vérifiez que la substance adhéensive ne dépasse pas des étiquettes. Les zones exposées risqueraient de provoquer le détachment des étiquettes durant l'impression, entraînant des bourrages papier. De plus, la substance adhéensive pourrait endommager certains composants de l'appareil.
- N'utilise pas plusieurs fois la même planche d'étiquettes. Le revêtement adhésiF n'est prévu que pour un seul passage dans l'imprimante.
- N'utilisez pas d'étiquettes se décollant de la planche ou encore floissées, gondolées ou abîmées.
Papiers cartonnés ou de format personnelisé
Cet apparéil permet d'imprimer des cartes postales, des cartes et des formats personalisés.

- N'utilise pas de supports de largeur inférieure à 76 mm et d'une longueur inférieure à 127 mm.
- Dans l'application, définièsez des marges d'au moins 6,4 mm par rapport aux bords du support.
- Si le grammase est supérieur à 160g / m^2 , imprimez dans le capot arrêté (face imprimée vers le haut).
Papier à en-tête/papier pré-imprimé
| Une seule face | Recto verso | |
| Bac 1 | Face imprimée vers le bas | Face imprimée vers le haut |
| Bac manuel | Face imprimée vers le haut | Face imprimée vers le bas |
- Les encres utilisées sur les formulaires pré-imprimés doivent être thermostables ; elles ne doivent ni fondre, ni s'évaporer, ni émettre de substances toxiques lorsqu'elles sont soumises à la température de fusion de l'appareil un dixieme de seconde. Vérifiez les specifications de votre apparéil pour connaître la température de fusion (environ 170^ ).
- Ces encles ne doivent pas etre inflammables ni endommager les rouleaux de l'appareil.
- Les formulaires et papiers à en-tête doivent être conservés dans un emballage résistant à l'humidité pour éviter toute altération pendant la période de stockage.
- Avant d'insérer du papier préimprimé ou du papier à en-tête dans l'imprimante, vérifie que l'encre est bien s'est. Durant le processus de fusion, une encre encore humide risquerait de s'effacer du support pré-imprimé, diminuant ainsi la qualité de l'impression.
Photo
- Veillez à ne pas utiliser du papier photo pour jet d'encre avec cet apparéil. Vous risqueriez d'endommager l' apparéil.
Brillant

Chargez une feuille à la fois dans le bac manuel, face brillante orientée vers le haut.
Supports recommendés : papier brillant (Lettre) pour cet apparéil HP Brochure Paper (Produit : Q6611A) uniquement.
Supports recommendés : papier brillant (A4) pour cet apparéil HP Superior Paper 160 glossy (Produit : Q6616A).
Réglage du type et du format de papier
Après avoir inséré du papier dans le bac papier, configurez l'appareil en fonction du format utilisé à l'aide du panneau de commande. Ces paramètres s'appliquent aux modes copie et télécopie. Pour l'impression PC, Sélectionnez le format et le type du papier dans l'application utilisée sur votre ordinateur (voir « Ouverture des préférences d'impression » à la page 58).

Les paramètres définis sous le pilote de l'appareil prconnent autorité sur ceux qui sont définis à partir du panneau de configuration.
Réglage du format de papier
- Appuyez sur la touche Menu du panneau de commande.
- Appuyez sur la flèche gauche/droite jusqu'à ce que CONFIG SYSTEME s'affiche, puis appuyez sur OK.
- Appuyez sur la flèche gauche/droite jusqu'à ce que CONFIG PAPIER s'affiche, puis appuyez sur OK.
- Appuyez sur la flèche gauche/droite jusqu'à ce que FORMAT PAPIER s'affiche, puis appuyez sur OK.
- Appuyez sur la flèche gauche/droite pour sélectionner le bac d'alimentation papier souhaïte, puis appuyez sur OK.
- Appuyez sur la flèche gauche/droite pour sélectionner le format de papier souhaité.
- Appuyez sur OK pour valider votrechoix.
- Appuyez sur Arrête/Suppr. pour revenir en mode prét.

Si vous souhaitez utiliser du papier de format spécifique comme du papier à facture, Sélectionnez Modifier... dans l'onglet Papier des Options d'impression (voir « Ouverture des préférences d'impression » à la page 58).
Réglage du type de papier
- Appuyez sur la touche Menu du panneau de commande.
- Appuyez sur la flèche gauche/droite jusqu'à ce que CONFIG SYSTEME s'affiche, puis appuyez sur OK.
- Appuyez sur la flèche gauche/droite jusqu'à ce que CONFIG PAPIER s'affiche, puis appuyez sur OK.
- Appuyez sur la flèche gauche/droite jusqu'à ce que TYPE PAPIER s'affiche, puis appuyez sur OK.
- Appuyez sur la flèche gauche/droite pour sélectionner le bac d'alimentation papier souhaïte, puis appuyez sur OK.
- Appuyez sur la flèche gauche/droite pour sélectionner le type de support souhaité.
- Appuyez sur OK pour valider votrechoix.
- Appuyez sur Arrête/Suppr. pour revenir en mode prét.
Réglage de la source de papier
- Appuyez sur la touche Menu du panneau de commande.
- Appuyez sur la flèche gauche/droite jusqu'à ce que CONFIG SYSTEME s'affiche, puis appuyez sur OK.
- Appuyez sur la flèche gauche/droite jusqu'à ce que CONFIG PAPIER s'affiche, puis appuyez sur OK.
- Appuyez sur la flèche gauche/droite jusqu'à ce que ALIM. PAPIER s'affiche, puis appuyez sur OK.
- Appuyez sur la flèche gauche/droite jusqu'à ce que BAC COPIE ou BAC FAX s'affiche, puis appuyez sur OK.
-
Appuyez sur la flèche gauche/droite pour sélectionner le bac d'alimentation papier souhaité.
-
Appuyez sur OK pour valider votrechoix.
- Appuyez sur Arrête/Suppr. pour revenir en mode prêt.
Utilisation du support de sortie papier

La surface du bac de sortie peutCHAuffer si vous imprimez un grand nombre de pages en une seule fois. Ne touche pas cette surface et ne laissiez pas les enfants s'en approcher.
Les pages imprimées s'empilent sur le support de sortie papier, et celui-ci permet d'aligner les pages imprimées. Elle envoie l'impression vers le bac de sortie par défaut. Assurez-vous que le capot arrêté est bien fermé pour utiliser le bac de sortie.


Si vous utilisez du papier au format A5, repliez le bac de sortie, sans quoi un mauvais alignement ou un bourrage des pages imprimées pourrait se produit.
Emplement ferme des feuilles
Si vous utilisez un apparéil dans un endroit humide, ou si vous utilisez un support d'impression humide à cause d'une humidité élevée, les feuilles imprimées générées sur le bac de sortie pourrait être voilées et pouraient ne pas s'empiler correctement. Dans ce cas, vous pouvez dire à l' apparéil d'utiliser la fonction Empil. papier pour laisser les impressions s'empiler fermement. Toutefois, l'utilisation de cette fonction ralentira l'impression.
- Appuyez sur la touche Menu du panneau de commande.
- Appuyez sur la flèche gauche/droite jusqu'à ce que CONFIG SYSTEME s'affiche, puis appuyez sur OK.
- Appuyez sur la flèche gauche/droite jusqu'à ce que MAINTENANCE s'affiche, puis appuyez sur OK.
- Appuyez sur la flèche gauche/droite jusqu'à ce que Empil. papier s'affiche, puis appuyez sur OK.
- Appuyez sur la flèche gauche/droite jusqu'à ce que ACTIVE s'affiche, puis appuyez sur OK.
- Appuyez sur Arrête/Suppr. pour revenir en mode prêt.
Récupération d'une impression de petite taille
Lorsque vous imprimez sur un support de petite taille tel qu'une enveloppe ou un format personnelisé, l'impression réalisée pourrait, du fait de sa taille, ne pas être positionnée sur le support de sortie papier.
Dans ce cas, récapérez l'impression en tirant sur le module de numérisation et refermez-le en vue d'une utilisation future.

Une fois votre impression récapurée, fermez le module de numérisation en appuyant sur le bouton de fermeture du module.

Ce chapitre déscrit les tâches d'impression courantes.
Ce chapitre contient les sections suivantes :
- Fonctions des pilotes d'impression
Impression de base - Ouverture des préférences d'impression
Utilisation de l'aide
Utilisation des fonctions d'impression spéciales

Les procédures de ce chapitre sont principalement basées sur Windows XP.
Fonctions des pilotes d'impression
Les pilotes d'impression de votre imprimante sont dotés des fonctionnalités standard suivantes :
- Sélection de l'orientation du papier, du format, de la source et du type de support.
- Nombre d'exemplaires.
Vou puez également utiliser diverses fonctions d'impression spéciales.
Le tableau ci-dessous récapitule les différentes fonctions prises en charges par les pilotes d'impression.

Certains modètes ou systèmes d'exploitation peuvent ne pas prendre en charge une ou plusieurs fonctionnalités du tableau suivant.
Piloted'impression
| Fonction | Windows |
| Qualité d'impression | ● |
| Impression brochure | ● |
| Impression d'affiche | ● |
| Plusieurs pages par face | ● |
| Ajustement à la page | ● |
| Réduction/agrandissement | ● |
| Source d'alimentation différente pour la première page | ● |
| Filigrane | ● |
| Surimpression | ● |
| Impression recto verso (manuelle) | ● |
(·: pris en charge, vide : non pris en charge)
Impression de base
Votre appeareil vous permet d'imprimer à partir de diverses applications Windows, Macintosh ou Linux. La procédure exacte peut légèrement varier d'une application à l'autre.
- Modification des réglages d'impression par défaut
- Définition de votre apparéil comme apparéil par défaut
Impression dans un fichier (PRN) - Impression Macintosh
- Impression Linux

- La fenêtre Options d'impression peut être différente de celle représentée dans ce mode d'emploi selon l'appareil utilisé. Cependant, la composition de la fenêtre Options d'impression est similaire. Vérifie quels systèmes d'exploitation sont compatibles avec l'appareil. Dans les specifications de l'imprimante, reportez-vous à la section relative à la compatibilité des systèmes d'exploitation (voir « Configuration requise » à la page 33).
- Lorsque vous sélectionné une option dans Options d'impression, vous pouvez voir une marque d'advertissement, ou . Un point d'exclamation ( ) signifie que vous pouze sélectionner cette option, mais qu'elle n'est pas recommandée, et une croix ( ) signifie que vous ne pouvez pas sélectionner cette option à cause de la configuration ou de l'environnement de votre apparéil.
La procédure ci-dessous décrit les étapes à suivre pour effectuer des impressions à partir de diverses applications Windows.

Impression de base Macintosh (voir « Impression Macintosh » à la page 63).
Impression de base Linux (voir « Impression Linux » à la page 64).
La fenêtre Options d'impression suivante s'applique au Bloc-notes sous Windows XP. Notre fenêtre Options d'impression peut varier suivant notre système d'exploitation ou l'application utilisée.
- Ouvrez le document à imprimer.
- Sélectionnez Imprimer dans le menu Fichier. La fenêtre Imprimer s'ouvre.
- Sélectionnez votre apparéil dans la liste Sélectionnez une imprimante.

Les paramètres d'impression de base, notamment le nombre de copies et le nombre de pages à imprimer sont sélectionnés dans la fenêtre Imprimer.

Pour exploiter pleinement les fonctions de votre pilote d'impression, cliquez sur Propriétés ou Préférences dans la fenêtre Imprimer de l'application pour changer les paramètres d'impression (voir « Ouverture des préférences d'impression » à la page 58).
- Pour démarrer l'impression, cliquez sur OK ou sur Imprimer dans la fenêtre Imprimer.

Si vous utilise Windows Internet Explorer, l'utilitaire Samsung AnyWeb Print vous permet de:gagner du temps pour les images de capture d'écran ou pour imprimer l'image. Cliquez sur Demarrer > Tous les programmes > Samsung Printers > Samsung AnyWeb Print > Download the latest version pour acceder au site Web où se trouve l'utilitaire en téléchargement.
Annulation d'une impression
Si la tâche d'impression est en attente dans une liste ou une file d'attente d'impression, annulez-la comme suit :
- Cliquez sur le menu Démarrer de Windows.
-
Pour Windows 2000, Sélectionnez Paramètres > Imprimantes.
-
Sous Windows XP/2003, Sélectionnez Imprimantes et télécopieurs.
- Sous Windows 2008/Vista, Sélectionnez Panneau de configuration > Matériel et audio > Imprimantes.
- Sous Windows 7, Sélectionnez Panneau de configuration > Matériel et audio > Périphériques et imprimantes.
-
Sous Windows Server 2008 R2, Sélectionnez Panneau de configuration > Matériel > Periphériques et imprimantes.
-
Sous Windows 2000, XP, 2003 et Vista, double-cliquez sur votre apparéil.
Sous Windows 7 et Windows Server 2008 R2, cliquez avec le bouton droit de la souris sur l'icone de votre imprimante > menus contextuels > Afficher les tâches d'impression en cours.

Si la marque accompany l'élément Afficher les tâches d'impression en cours, vous pouvez sélectionner les autres pilotes d'impression reliés à l'imprimante selectionnée.
- Dans le menu Document, Sélectionnez Annuler.

Vous pouvez également acceder à cette fenêtre en double-client simplement sur l'icone de l'appareil ( ) dans la barre des tâches de Windows.
Vous pouvez également annuler la tâche en cours en appuyant sur Arrêter/Suppr. sur le panneau de commande.
Ouverture des préférences d'impression
Vous pouvez prévisualiser les paramètres sélectionnés en haut à droite de la fenêtre Options d'impression.
- Ouvrez le document à imprimer.
- Sélectionnez l'option Imprimer dans le menu Fichier. La fenêtre Imprimer s'ouvre.
-
Sélectionnez vous appareil dans la liste Sélectionnez une imprimante.
-
Cliquez sur Propriétés ou sur Préférences.

Utilisation d'un réglage favori
L'option Prééglages, visible sur chaque de préférences à l'exception de l'onglet Samsung, vous permet d'enregistrer vos préférences de réglages actuels en vue d'une'utilisation future.
Pour enregistrer des réglages Prérogliages :
- Dans chaque onglet, modifiez les paramètres selon vos préférences.
- Entrez un nom dans la zone de saisie PréRéglages.

- Cliquez sur Ajouter. Lorsque vous enregistrez des réglages Prérogliages, tous les paramètres actuels du pilote sont enregistrés.
Si vous cliquez sur Ajouter, le bouton Ajouter se change en Mettre à jour. Sélectionnez d'autres options et cliquez sur Mettre à jour ; les paramétres seront ajustés aux Prépréglages que vous avez effectués.
Pour utiliser un paramétrage enregistré, Sélectionnez le nom correspondant dans la liste déroulante Prérgléglages. L'appareil est à présent prét à imprimer en fonction de votre sélection.
Pour supprimer un paramétrage enregistré, Sélectionnez le nom correspondant dans la liste déroulante Préroglages, et cliquez sur Supprimer.
Voussouspoucezegalementrestaurelresreglagespardefautdipilote d'impression en selectionnant Preréglage par defaut dans la listedéroulantePreréglages.
Utilisation de l'aide
Cliquez sur le point d'interrogation en haut à droite de la fenêtre, puis sur l'options pour laquelle vous souhaitez obtenir des informations. Une fenêtre apparait alors, compteant des informations à propos des fonctionnalités de cette option du pilote.

Si vous souhaitez effectuer une recherche par mots-clés, cliquez sur l'onglet Samsung dans la fenêtre Options d'impression, et saisissez un mot-clé dans le champ de l'options Aide. Pour plus d'informations à propos des consommables, mises à jour de pilote, inscriptions, etc., cliquez sur les boutons appropriés.
Utilisation des fonctions d'impression spéciales
Les fonctionnalités spéciales d'impression complrennt :
- « Impression de plusieurs pages sur une seule feuille » à la page 59.
- « Impression d'affiches » à la page 59.
- *** 'Impression de documents reliés (manuelle)' on page 59 ***.
- « Impression recto verso (manuelle) » à la page 60.
- « Modification des proportions de votre document » à la page 60.
- « Impression d'un document sur un format de papier donné » à la page 60.
- « Impression de filigranes » à la page 60.
« Utilisation de la surimpression » à la page 61. - « Options avancées » à la page 62.
Impression de plusieurs pages sur une seule feuille
Vous pouvez seLECTIONner le nombre de pages à imprimer sur une même feuille. Si vous choisissez d'imprimer plusieurs pages par feuille, les pages sont réduites et organises dans l'ordre indiqué. Vous pouvez imprimer jusqu'à 16 pages par feuille.
- Pour changer les paramètres d'impression à partir de votre application, accédez à la fenêtre Options d'impression (voir « Ouverture des préférences d'impression » à la page 58).
- Cliquez sur l'onglet De base, Sélectionnez Plusieurs pages par face dans la liste déroulante Type.
- Sélectionnez le nombre de pages à imprimer par feuille (2, 4, 6, 9 ou 16) dans la liste déroulante Pages par face.
- Sélectionnez l'ordre des pages dans la liste déroulante Ordre des pages, si nécessaire.
- Cochez la case Bordures pour qu'une bordure encadre chaque page imprimée sur la feuille.
- Cliquez sur l'onglet Papier, Sélectionnez le Format, Alimentation, et Type.
- Cliquez sur OK ou Imprimer jusqu'à ce que vous quittiez la fenêtre Imprimer.
Impression d'affiches
Cette fonction vous permet d'imprimer un document d'une seule page sur 4, 9 ou 16 pages que vous pouvez coller ensemble pour former une affiche.

- Pour changer les paramètres d'impression à partir de votre application, accédez à la fenêtre Options d'impression (voir « Ouverture des préférences d'impression » à la page 58).
- Cliquez sur l'onglet De base, Sélectionnez Affiche dans la liste déroulante Type.
- Sélectionnez la mise en page de votre choix.
Spécification de la mise en page :
- Affiche <2 × 2> : le document sera agrandi et divisé en 4 pages.
- Affiche <3 × 3> : le document sera agrandi et divisé en 9 pages.
-
Affiche <4 × 4> : le document sera agrandi et divisé en 16 pages.
-
Sélectionnez la valeur Chevauchement. Spécifiez Chevauchement en millimétres ou pouces en sélectionnant la case d'options en haut à droite de l'onglet De base pour faciliter le collage des feuilles ensemble.

- Cliquez sur l'onglet Papier, Sélectionnez le Format, Alimentation, et Type.
- Cliquez sur OK ou Imprimer jusqu'à ce que vous quittiez la fenêtre Imprimer.
- Vous pouvez reconstituer l'affiche en collant les feuilles ensemble.
Impression de documents reliés (manuelle)
Cette fonction imprime votre document en recto verso et permet d'organiser les pages imprimées afin de pouvoir les relier en les pliant par leur milieu.
Si vous souhaitez réalisier une brochure, vousdez ez imprimer sur un support au format Lettre, Legal, A4, Folio ou Oficio.

- Pour changer les paramètres d'impression à partir de votre application, accédez à la fenêtre Options d'impression (voir « Ouverture des préférences d'impression » à la page 58).
- Cliquez sur l'onglet De base, Sélectionnez Impression brochure dans la liste déroulante Type.
- Cliquez sur l'onglet Papier, Sélectionnez le Format, Alimentation, et Type.
L'option Impression brochure n'est pas disponible pour tous les formats papier. Pour trouver le format de papier disponible pour cette fonctionnalité, Sélectionnez le format de papier disponible dans l'option Format de l'onglet Papier.
Si vous Sélectionnez un format de papier non disponible, cette option peut être automatiquement annulée. Sélectionnez
uniquement du papier disponible (du papier sans la marque


- Cliquez sur OK ou Imprimer jusqu'à ce que vous quittiez la fenêtre Imprimer.
- Une fois le document imprimé, pliez, puis agrafez les pages.
Impression recto verso (manuelle)
Vous pouvez imprimer sur les deux faces d'une feuille de papier, en recto verso. Avant d'imprimer, decide de l'orientation de vos documents. Vous pouvez utiliser cette fonctionnalité avec du papier au format Lettre, L'égal, A4, Folio ou Oficio (voir « Spécifications des supports d'impression » à la page 124).

Nous vous conseillons de ne pas imprimer sur les deux faces de supports spéciaux tels que les étiquettes, les enveloppées ou le papier écais. Cela peut provoquer un bourrage ou endommager l'appareil.
- Pour changer les paramètres d'impression à partir de votre application, accédez à la fenêtre Options d'impression (voir « Ouverture des préférences d'impression » à la page 58).
- Cliquez sur I'onglet Avancé.
- Dans la section Impression recto- verso (manuelle), selectionnez l'option de reliure souhaitée.
Aucune
- Bord long: cette option est la mise en page traditionnelle utilisée pour la reliure des livres.


- Bord court: cette option est la mise en page traditionnelle utilisée pour les calendriers.


- Cliquez sur l'onglet Papier, Sélectionnez le Format, Alimentation, et Type.
- Cliquez sur OK ou Imprimer jusqu'à ce que vous quittiez la fenêtre Imprimer.

Si vous appeareil ne dispose pas d'un module recto verso, vous devez terminer le travail d'impression manuellement. L'appareil imprime d'abord toutes les autres pages du document. Ensuite, un message apparait sur votre ordinateur. Suivez les instructions à l'écran pour terminer la tâche d'impression.
Modification des proportions de votre document
Vous pouvez modifier la taille d'un document pour l'agrandir ou le réduire à l'impression, en donnant le pourcentage souhaité.

- Pour changer les paramètres d'impression à partir de votre application, accédez à la fenêtre Options d'impression (voir « Ouverture des préférences d'impression » à la page 58).
- Cliquez sur l'onglet Papier.
- Entrez le taux de mise à l'échelle dans la zone de saisie Pourcentage.
Vous pouvez également cliquer sur les flèches haut et bas pour selectionner l'échelle. - Sélectionnez Format, Alimentation, et Type dans Options du papier.
- Cliquez sur OK ou Imprimer jusqu'à ce que vous quittiez la fenêtre Imprimer.
Impression d'un document sur un format de papier donné
Cette fonction vous permet d'adapter votre travail d'impression à n'importe quel format de papier,quelle que soit la taillu du document. Elle peut s'avérer utile pour vérifier les détails d'un petit document.

- Pour changer les paramètres d'impression à partir de votre application, accédez à la fenêtre Options d'impression (voir « Ouverture des préférences d'impression » à la page 58).
- Cliquez sur l'onglet Papier.
- Sélectionné le format de papier souhaité dans Ajuster à la page.
- Sélectionnez Format, Alimentation, et Type dans Options du papier
- Cliquez sur OK ou Imprimer jusqu'à ce que vous quittiez la fenêtre Imprimer.
Impression de filigranes
L'option Filigrane vous permet d'imprimer du texte sur un document existant. Par exemple, vous l'utilise lorsqu vous souhaitez imprimer le texte « BROUILON » ou « CONFIDENTIEL » en diagonale sur la première page ou sur toutes les pages d'un document.

Plusieurs filigranes prédéfinis sont fournis avec l'appareil. Vous pouvez les modifier ou en ajouter des nouveaux à la liste.
Utilisation d'un filigrane existant
- Pour changer les paramètres d'impression à partir de votre application, accédez à la fenêtre Options d'impression (voir « Ouverture des préférences d'impression » à la page 58).
- Cliquez sur l'onglet Avance, et selectionnez le filigrane souhaité dans la liste déroulante Filigrane. Le filigrane sélectionné apparait dans l'image d'aperçu.
- Cliquez sur OK ou Imprimer jusqu'à ce que vous quittiez la fenêtre d'impression.
Création d'un filigrane
- Pour changer les paramètres d'impression à partir de votre application, accédez à la fenêtre Options d'impression (voir « Ouverture des préférences d'impression » à la page 58).
- Dans sur l'onglet Avancé, Sélectionnez Modifier... dans la liste déroulante Filigrane. La fenêtre Modifier filigranes s'ouvre.
- Saisissez le texte dans le champ Texte du filigrane. Vous pouvez entraîr jusqu'à 256 caractères. Le texte s'affiche dans la fenêtre d'aperçu.
Si la case Première page seulement est cochée, le filigrane est uniquement imprimé sur la première page.
- Définisse les options du filigrane.
Vous peuvent désirir la police, le style, la taille ou l'ombrage du filigrane dans la zone Attributes de police et son angle dans la zone Angle du texte.
- Cliquez sur Ajouter pour ajouter un nouveau filigrane à la liste Filigranes actuels.
- Lorsque vous avez terminé l'édition, cliquez sur OK ou Imprimer jusqu'à ce que vous quittiez la fenêtre Imprimer.
Pour ne pas imprimer de filigrane, Sélectionnez Aucun dans la liste déroulante Filigrane.
Modification d'un filigrane
- Pour changer les paramètres d'impression à partir de votre application, accédez à la fenêtre Options d'impression (voir « Ouverture des préférences d'impression » à la page 58).
- Cliquez sur l'onglet Avancé, Sélectionnez Modifier... dans la liste déroulante Filigrane. La fenêtre Modifier filigranes s'ouvre.
- Sélectionnez le filigrane à modifier dans la liste Filigranes actuels, puis modifiez le message et les options du filigrane.
- Cliquez sur Mettre à jour pour enregistrer les modifications.
- Cliquez sur OK ou Imprimer jusqu'à ce que vous quittiez la fenêtre Imprimer.
Suppression d'un filigrane
- Pour changer les paramètres d'impression à partir de votre application, accédez à la fenêtre Options d'impression (voir « Ouverture des préférences d'impression » à la page 58).
- Cliques sur l'onglet Avancé, Sélectionnez Modifier... dans la liste déroulante Filigrane. La fenêtre Modifier filigranes s'ouvre.
- Sélectionnez le filigrane à supprimer dans la liste Filigranes actuels, puis cliquez sur Supprimer.
- Cliquez sur OK ou Imprimer jusqu'à ce que vous quittiez la fenêtre Imprimer.
Utilisation de la surimpression
Les surimpressions consist en du texte et/ou des images enregistrés sur le disque dur de l'ordinateur sous un format spécial et qui peuvent être imprimés sur n'importe quel document. Les surimpressions remplacent souvent les papiers à en-tête. Plutôt que d'avoir recours à un en-tête pré-imprimé, vous pouvez creator une surimpression responsable les mêmes informations que cet en-tête. Vous n'avez donc plus à charger votre papier à en-tête habituel pour imprimer une dette à l'en-tête de votre entreprise. Faites simplement apparaitre l'en-tête en surimpression sur le document.

Création d'une surimpression de page
Pour utiliser une surimpression de page, vous doivent préalablement la créé, et y insérer un logo ou une image.
- Créez ou ouvrez un document contenant le texte ou l'image que vous souhaitez utiliser comme nouvelle surimpression de page. Placez les éléments exactement comme vous souhaitez qu'ils apparaissent à l'impression sous forme de surimpression.
- Pour enregistrer le document en tant que surimpression, accedez à la fenêtre Options d'impression (voir « Ouverture des préférences d'impression » à la page 58).
- Cliquez sur l'onglet Avancé, Sélectionnez Modifier... dans la liste déroulante Texte. La fenêtre Modifier les surimpressions apparait.
- Dans la fenêtre Modifier les surimpressions, cliquez sur Créer.
- Dans la fenêtre Enregistrer sous, saisissez un nom compteant jusqu'à huit caractères dans la zone Nom du fjichier. Sélectionné le chemin de destination, si nécessaire (le chemin par défaut est C:\Formover).
- Cliquez sur Enregistrer. Le nom apparait sur la Liste des surimpressions.
- Cliquez sur OK ou Imprimer jusqu'à ce que vous quittiez la fenêtre Imprimer.
- Le fichier n'est pas imprimé. Il est enregistré sur le disque dur de votre ordinateur.
Le format du document de surimpression doit etre identique a celui du document imprimé avec la surimpression. Vous ne pouvez pas creer de surimpression importante un filigrane.
Utilisation d'une surimpression de page
Une fois la surimpression creée, vous pouvez l'imprimer en l'appliquant à votre document. Pour imprimer une surimpression avec un document :
- Créez ou ouvrez le document à imprimer.
- Pour changer les paramètres d'impression à partir de votre application, accédez à la fenêtre Options d'impression (voir « Ouverture des préférences d'impression » à la page 58).
- Cliquez sur l'onglet Avancé.
- Sélectionnez la surimpression souhaitée dans la liste déroulante Texte.
- Si le fichier de surimpression souhaité n'apparait pas dans la liste déroulante Texte, Sélectionnez Modifier... dans la liste et cliquez sur Charger. Sélectionnez le fichier de surimpression que vous souhaitez utiliser.
Si vous avez enregistré le fjichier de surimpression à utiliser dans une source externe, vous pouvez le charger à partir de la fenêtre Ouvrir.
Après avoir sélectionné le fjichier, cliquez sur Ouvrir. Le fjichier apparait dans la zone Listes des surimpressions. Vous pouvez donc l'imprimer. Sélectionnez la surimpression dans la zone Listes des surimpressions.
- Si nécessaire, cochez la case Confirmer la surimpression. Si cette case est cochée, un message vous demande de confirmer l'application de la surimpression, chaque fois que vous imprimez un document.
Si cette case n'est pas cochée et qu'une surimpression est seLECTIONnée, cette dernière est automatiquement imprimée avec le document.
- Cliquez sur OK ou Imprimer jusqu'à ce que vous quittiez la fenêtre Imprimer.
L'en-tête sélectionné s'imprime sur votre document.

Le fichier de surimpression et le document à imprimer doivent avoir la même résolution.
Suppression d'une surimpression
Voussupprimerles surimpressionsdepagedontvouseneuserveszplus.
- Dans la fenêtre Options d'impression, cliquez sur l'onglet Avancé.
- Sélectionnez Modifier... dans la liste déroulante Surimpression.
- Sélectionnéz la surimpression à supprimer dans la boîte Listes des surimpressions.
- Cliquez sur Supprimer.
- Lorsque le message de confirmation apparait, cliquez sur Oui.
- Cliquez sur OK ou Imprimer jusqu'à ce que vous quittiez la fenêtre Imprimer.
Options avances
Les options de l'onglet Graphiques permettent de régler la qualité d'impression en fonction de vos besoins.

Si l'option est grisee ou n'est pas affichee, elle n'est pas applicable avec le langage imprimante utilisé.
- Pour changer les paramètres d'impression à partir de votre application, accédez à la fenêtre Options d'impression (voir « Ouverture des préférences d'impression » à la page 58).
- Cliquez sur I'onglet Graphiques.

Reportez-vous à l'aide en ligne pour les informations de chaque option fournies pas les Options d'impression.
Police/Texte: Sélectionnez Texte foncé pour imprimer les textes plus sombres que sur un document normal. Utilisez Tout le texte en noir pour imprimer en noir, sans se soucier de la couleur qui apparait sur l'écran.
- Économie de toner: en sélectionnant cette option, vous augmentez la durée de vie de la cartouche de toner et réduisez le coût par page, tout en ne réduisant que faiblement la qualité d'impression.
- Activé : sélectionnez cette option pour permettre à l'imprimante d'utiliser moins de toner sur chaque page.
-
Désactivé : sélectionnez cette option si vous ne souhaitez pas économique le toner.
-
Cliquez sur OK ou Imprimer jusqu'à ce que vous quittiez la fenêtre Imprimer.
Modification des réglages d'impression par défaut
- Cliquez sur le menu Demarrer de Windows.
-
Pour Windows 2000, Sélectionnéz Paramètres > Imprimantes.
-
Sous Windows XP/2003, Sélectionnez Imprimantes et télécopieurs.
- Sous Windows 2008/Vista, Sélectionnez Panneau de configuration > Matériel et audio > Imprimantes.
- Sous Windows 7, Sélectionnez Panneau de configuration > Matériel et audio > Périphériques et imprimantes.
-
Sous Windows Server 2008 R2, Sélectionnez Panneau de configuration > Matériel > Periphériques et imprimantes.
-
Cliquez avec le bouton croit sur votre apparéil.
- Sous Windows XP/2003/2008/Vista, cliquez sur Options d'impression. Sous Windows 7 et Windows Server 2008 R2, selectionnez, dans les menus contextuels, les Options d'impression.
Si la marque accompagne l'élément Options d'impression, vous pouvez sélectionner les autres pilotes d'impression reliés à l'imprimante sélectionnée.
- Dans chaque onglet, modifiez les paramètres.
- Cliquez sur OK.

Si vous souhaitez modifier les réglages pour chaque tâche d'impression, changez-les dans les Options d'impression.
Définition de votre apparéil comme apparéil par défaut
- Cliquez sur le menu Demarrer de Windows.
-
Pour Windows 2000, Sélectionnéz Paramètres > Imprimantes.
-
Sous Windows XP/2003, Sélectionnez Imprimantes et télécopieurs.
- Sous Windows 2008/Vista, Sélectionnez Panneau de configuration > Matériel et audio > Imprimantes.
- Sous Windows 7, Sélectionnez Panneau de configuration > Matériel et audio > Périphériques et imprimantes.
-
Sous Windows Server 2008 R2, Sélectionnez Panneau de configuration > Matériel > Periphériques et imprimantes.
-
Sélectionnez votre apparéil.
- Cliquez avec le bouton croit sur votre apparéil et sélectionnez Définir comme imprimante par défaut.

Sous Windows 7 et Windows Server 2008 R2
Si la marque accompany l'élément Définir comme imprimante par défaut, vous pouvez sélectionner les autres pilotes d'impression reliés à l'imprimante selectionnée.
Impression dans un fichier (PRN)
Vous devrez parfois sauvegarder les données d'impression en tant que fichier.
Pour creer un fichier :
- Dans la fenêtre Imprimer, cochez la case Imprimer dans un fichier.

- Cliquez sur Imprimer.
- Saisissez le chemin d'accès et le nom du fichier de destination, et cliquez ensuite sur OK. Par exemple c:\Temp\nom de fichier.

Si vous ne saisissez que le nom de fichier, le fichier est automatiquement enregistré dans Mes documents.
Cette section explique la manière d'imprimer avec un Macintosh. Vous doivent définir l'environnement d'impression avant d'imprimer.
- Connexion USB (voir « Macintosh » à la page 35).
- Connexion réseau (voir « Macintosh » à la page 42).
Impression d'un document
Lorsque vous imprimez à partir d'un Macintosh, vous doivent vérifier la configuration du pilote d'impression dans chaque application utilisé. Pour imprimer à partir d'un Macintosh, procédez comme suit :
- Ouvrez le document à imprimer.
- Ouvrez le menu Fichier et cliquez sur Format d'impression.
- Choisissez votre format papier, l'orientation, la mise à l'échelle, les autres options, et assurez-vous que votre apparéil est sélectionné. Cliquez sur OK.

- Ouvrez le menu Fichier et cliquez sur Imprimer.
- Sélectionné le nombre de copies et indique les numérios des pages à imprimer.
- Cliquez sur Imprimer.
Modification des paramètres de l'imprimante
Vous pouvez utiliser des options d'impression avancées proposées par votre apparéil.
Ouvrez une application et Sélectionnez Imprimer dans le menu Fichier. Le nom d'appareil qui apparaît dans la sous-fenêtre des propriétés de l'imprimante peut varier en fonction de l'appareil utilisé. Le reste des éléments de la sous-fenêtre des propriétés de l'imprimante est toujours identique aux éléments suivants.

- Les options de configuration peuvent varier en fonction des imprimantes et de la version de Mac OS utilisée.
- La sous-fenêtre suivante peut varier suivant votre système d'exploitation ou l'application utilisée.
La sous-fenêtre ci-dessous sera la première à s'afficher à l'ouverture de la sous-fenêtre des propriétés de l'imprimante. Sélectionnez d'autres options avancées dans la liste déroulante.

Mise en page
L'onglet Mise en page permet de partager le document tel qu'il sera sur la page imprimée. Vous pouvez imprimer plusieurs pages par feuille. Sélectionnez Mise en page dans la liste déroulante sous Orientation pour acceder aux options suivantes.
- Page(s) par feuille: cette option déterminé le nombre de pages à imprimer sur une feuille (voir « Impression de plusieurs pages sur une seule feuille » à la page 64).
- Orientation : cette option permet deCHOISIR le sens de l'impression sur une page similaire aux exemples montrés.
- Bordure: cette option vous permet d'imprimer une cordure autour de chaque page imprimée sur la feuille.
- Inverser l'orientation de la page: cette option vous permet de faire pivoter la page de 180 degrés.
Graphiques
L'onglet Graphiques propose des options pour sélectionner la Résolution. Sélectionnez Graphiques dans la liste déroulante sous Orientation pour acceder aux options graphiques.
- Résolution (Qualité): cette option vous permet de sélectionner la résolution d'impression. Plus la valeur est élevé, plus les caractères et les graphiques imprimés sont nets. Toutefois, une résolution élevée peut augmenter le temps d'impression d'un document.
Papier
Réglez le Papier Type pour faire correspondre le papier inséré dans le bac avec celui youlu pour l'impression. Vous obtiendrez ainsi une qualité d'impression optimale. Si vous utilisez un support différent, sélectionnez le type correspondant.
Configuration de l'imprimante
L'onglet Configuration de l'imprimante comporte les options du Mode économique de toner. Sélectionnez Configuration de l'imprimante dans la liste déroulante sous Orientation pour acceder aux fonctionnalités suivantes.
-
Mode économique de toner: en sélectionnant cette option, vous augmentez la durée de vie de la cartouche de toner et réduisez le coût par page, tout en ne réduisant que faiblement la qualité d'impression.
-
Activé : sélectionnez cette option pour permettre à l'imprimante d'utiliser moins de toner sur chaque page.
- Désactivé : Sélectionnez cette option si vous ne souhaitez pas économiser le toner.
Impression de plusieurs pages sur une seule feuille
Vouspouvez imprimer plus d'une page sur une seule feuille de papier.
Cette option vous permet d'imprimer les brouillons en mode economique.
- Ouvrez une application et selectionnez Imprimer dans le menu Fichier.
- Sélectionnez Mise en page dans la liste déroulante Orientation. Dans la liste déroulante Page(s) par feuille, Sélectionnez le nombre de pages que vous souhaitez imprimer sur une feuille de papier.

- Sélectionnez les autres options que vous souhaitez utiliser.
- Cliquez sur Imprimer, puis l'appareil imprime le nombre de pages que vous souhaitez imprimer sur une feuille de papier.
Impression Linux
Impression à partir d'applications
Vous pouvez réaliser des impressions à partir de nombreuses applications Linux, à l'aide du système CUPS (Common UNIX Printing System). Vous pouvez ainsi procéder à des impressions sur votre apparéil à partir de n'importe qu'elle application de ce type.
- Ouvrez une application et selectionnez Print dans le menu File.
-
Sélectionnez Print directement à l'aide de la fonction Ipr.
-
Dans la fenêtre LPR GUI, Sélectionné le nom de modèle de votre apparéil dans la liste des imprimantes, puis cliquez sur Properties.

-
Modifiez les propriétés de la tâche d'impression en utilisant les quatre onglets suivants affichés en haut de la fenêtre.
-
General: cette option vous permet de changer le format de papier, le type de papier et l'orientation des documents. Elle permet la fonctionnalité recto verso, ajoute des bannières de début et de fin, et change le nombre de pages par feuille.
- Text: cette option permet de définir les marges de la page et les options du texte, telles que l'espacement et les colonnes.
- Graphics: cette option permet de déterminer les options d'image appliquées lors de l'impression des images fichiers, telles que les couleurs, la taille ou la position de l'image.
- Advanced: cette option permet de définir la résolution d'impression, le papier, la source et les options d'impression spéciales.
Si une option est grisée,ILA signifie qu'elle n'est pas prise en charge.
- Cliquez sur Apply pour appliquer les modifications et fermer la fenêtre Properties.
- Pour lancer l'impression, cliquez sur OK dans la fenetre LPR GUI.
- La fenêtre d'impression s'ouvre : elle vous permet de surveiller l'état de la tâche d'impression.
Pour annuler la tâche actuelle, cliquez sur Cancel.
Impression de fichiers
Vous pouvez imprimer de nombreux types de filchier differents sur l'appareil à l'aide de CUPS (de la manière habituelle, c'est-à-dire directement à partir de l'interface de ligne de commande). Pour ce faire, vous pouvez utiliser l'utilitaire CUPS Ipr. Toutefois, le package du pilote remplace l'outil Ipr classique par un programme graphique LPR beaucoup plus convivial. Pour imprimer un filchier :
- Entrez lpr
sur la ligne de commande du shell Linux, puis appuyez sur Enter. La fenêtre LPR GUI s'ouvre.
Lorsque vous tapez uniquement lpr et que vous appuyez sur Enter, la fenêtre Select file(s) to print, s'affiche d'abord. Sélectionnez les fichiers à imprimer, puis cliquez sur Open. -
Dans la fenêtre LPR GUI, Sélectionnéz l'appareil dans la liste, puis modifiez les propriétés de la tâche d'impression.
-
Cliquez sur OK pour demarrer l'impression.
Configuration des propriétés de l'imprimante
La fenêtre Printer Properties associée à l'options Printers configuration permet de modifier les propriétés de votre apparéil dans son role d'imprimante.
- Ouvrez Unified Driver Configurator.
Si nécessaire, passez à Printers configuration. - Dans la liste des imprimantes disponibles, Sélectionnez l'appareil youlu, puis cliquez sur Properties.
- La fenêtre Printer Properties s'ouvre.

Les cinq onglets suivants apparaisent en haut de la fenêtre :
- General: cette option permet de modifier l'emplacement et le nom de l'imprimante. Le nom entre dans cet onglet s'affiche dans la liste des imprimantes de Printers configuration.
- Connection: cette option permet d'afficher ou de Sélectionner un autre port. Si vous changez le port de l'appareil (passage d'un port USB à un port parallele et réciropquement) en cours d'utilisation, vous doivent reconfigurer le port de l'appareil dans cet onglet.
- Driver: cette option permet d'afficher ou de SéLECTIONNER un pilote d'appareil. Cliquez sur Options pour définir les options par défaut du périphérique.
- Jobs: cette option affiche la liste des tâches d'impression. Cliquez sur Cancel job pour annuler la tâche sélectionnée et cochez la case Show completed jobs pour afficher les tâches précédentes dans la liste des tâches.
-
Classes: cette option affiche la catégorie dans laquelle figure vous appraeil. Cliquez sur Add to Class pour ajouter l'appareil à une catégorie précise ou sur Remove from Class pour supprimer l'appareil de la catégorie selectionnée.
-
Cliquez sur OK pour appliquer les modifications et fermer la fenêtre Printer Properties.
Ce chapitre vous guide pas-à-pas dans le processus de copie de documents.
Ce chapitre contient les sections suivantes :
- Copie de base
- Changer le réglage pour chaque copie
- Changer les réglages de copie par défaut

Les fonctions et les périphériques optionnels pris en charge peuvent varier selon le modele. Veuillez vérifier le nom de votre catégorie. (Voir « Fonctionnalités par catégorie » à la page 26.)
Copie de base
Voutrouverez ci-dessous la procEDURE normale de copie d'originaux.
- Appuyez sur (Copie) sur le panneau de commande.
- Placez les originaux face imprimée vers le haut dans le chargeur de documents ou un seul original face imprimée vers le bas sur la vitre d'exposition.
(Voir « Sur la vente d'exposition » à la page 49 ou « Dans le chargeur de documents » à la page 50.)
- Si nécessaire, réglez les paramètres pour chaque copie : RED./ AGRAND., LUMINOSITE, TYPE DOC. etc. (voir « Changer le réglage pour chaque copie » à la page 66).
- Si nécessaire, saisissez le nombre de copies à réaliser à l'aide de la flèche ou du pavé numérique.
- Appuyez sur Départ sur le panneau de commande pour lancer la copie.

Pour annuler la copie en cours, appuyez sur la touche Arreter/Suppr. du panneau de commande.
Changer le réglage pour chaque copie
Votre apparéil propose des paramètres par défaut pour la copie, afin que vous puissiez effectuer rapidement et facilement une copie. Cependant, si vous souhaitez modifier les options pour chaque copie, utilisez les touches de fonction de copie sur le panneau de commande.

Si vous appuyez sur Arrête/Suppr. lors du paramétrage des options de copie, toutes les options définies pour la tâche en cours sont annulées et réinitialisées à leurs valeurs par défaut lorsque l'appareil a terminé la tâche en cours.
Modification du contraste
Si vous original comporte des marques attenuées ou des images sombres, vous pouvez ajuster la luminosité pour obtenir une copie dont la lecture soit plus facile.
- Appuyez sur (Copie) sur le panneau de commande.
- Appuyez sur la touche Menu du panneau de commande.
- Appuyez sur la flèche gauche/droite jusqu'à ce que FONCT. COPIE s'affiche, puis appuyez sur OK.
- Appuyez sur la flèche gauche/droite jusqu'à ce que LUMINOSITE s'affiche, puis appuyez sur OK.
Utilisation des fonctions de copie spéciales
- Choix de la forme de sortie de la copie
- Réglage du début de réinitialisation de copie
-
Appuyez sur la flèche gauche/droite jusqu'à ce que le mode de contraste souhaité apparaisse, puis appuyez sur OK.
-
CLAIR: convient aux images sombres.
LE PLUS CLAIR: convient aux images plus sombres.
NORMAL: convient aux originauxtapés ou imprimés standard.
SOMBRE: convient aux images claires. -
LE PLUS SOMB.: convient aux images plus claires ou aux marques au crayon de papier.
-
Appuyez sur Arrête/Suppr. pour revenir en mode prêt.
Sélection du type des originaux
Le paramètre de type d'original permet d'améliorer la qualité de la copie en indiquant le type de document de la tâche de copie à effectuer.
- Appuyez sur (Copie) sur le panneau de commande.
- Appuyez sur la touche Menu du panneau de commande.
- Appuyez sur la flèche gauche/droite jusqu'à ce que FONCT. COPIE s'affiche, puis appuyez sur OK.
- Appuyez sur la flèche gauche/droite jusqu'à ce que TYPE DOC. s'affiche, puis appuyez sur OK.
-
Appuyez sur la flèche gauche/droite jusqu'à ce que le mode d'image souhaité apparaisse, puis appuyez sur OK.
-
TEXTE : adapte aux documents contenant essentiellement du texte.
- TEXT/PHOTO : adapté aux documents contenant à la fois du texte et des photographies.
-
PHOTO : adapté aux photographies.
-
Appuyez sur Arrête/Suppr. pour revenir en mode prêt.
Réduction ou agrandissement de copies
Vous pouvez réduire ou agrandir la taille d'une image copiee de 25 à 400 % par rapport au document original lorsque vous utilisez la vitre d'exposition, et de 25 à 100 % lorsque vous vous servez du chargeur automatique de documents.
Pour sélectionner des formats de copie prédéfinis :
- Appuyez sur (Copie) sur le panneau de commande.
- Appuyez sur la touche Menu du panneau de commande.
- Appuyez sur la flèche gauche/droite jusqu'à ce que FONCT. COPIE s'affiche, puis appuyez sur OK.
- Appuyez sur la flèche gauche/droite jusqu'à ce que RED./AGRAND. s'affiche, puis appuyez sur OK.
- Appuyez sur la flèche gauche/droite jusqu'à ce que le paramètre de taille souhaité apparaisse et appuyez sur OK.
- Appuyez sur Arrête/Suppr. pour revenir en mode prêt.
Mettre à l'échelle la copie en introduisant directement le pourcentage :
-
Appuyez sur (Copie) sur le panneau de commande.
-
Appuyez sur la touche Menu du panneau de commande.
-
Appuyez sur la flèche gauche/droite jusqu'à ce que FONCT. COPIE s'affiche, puis appuyez sur OK.
-
Appuyez sur la flèche gauche/droite jusqu'à ce que RED./AGRAND. s'affiche, puis appuyez sur OK.
-
Appuyez sur la flèche gauche/droite jusqu'à ce que PERSO s'affiche, puis appuyez sur OK.
-
Appuyez sur la flèche gauche/droite ou le pavé numérique pour entrer la talle de copie souhaitée. Maintenez la flèche gauche/droite enforcée pour faire défilier les valeurs plus rapidement.
-
Appuyez sur OK pour valider votrechoix.
-
Appuyez sur Arrête/Suppr. pour revenir en mode prét.

Lors d'une réduction d'échelle, des lignes noires peuvent apparaitre dans la partie inférieure de votre copie.
Changer les réglages de copie par défaut
Vous pouvez définir les options de copie, notamment la luminosité, le type d'original, le format de copie, le classement et le nombre d'exemplaires en fonction des modes les plus utilisés. Lorsque vous copiez un document, les paramètres par défaut sont utilisés, sauf si vous les modifie à l'aide des touches correspondantes situées sur le panneau de commande.
- Appuyez sur (Copie) sur le panneau de commande.
- Appuyez sur la touche Menu du panneau de commande.
- Appuyez sur la flèche gauche/droite jusqu'à ce que CONFIG. COPIE s'affiche, puis appuyez sur OK.
- Appuyez sur la flèche gauche/droite jusqu'à ce que MODIF. DEFAULT s'affiche, puis appuyez sur OK.
- Appuyez sur la flèche gauche/droite jusqu'à ce que l'option de configuration souhaïée apparaisse, puis appuyez sur OK.
- Appuyez sur la flèche gauche/droite jusqu'à ce que le paramètre souhaité apparaitse, puis appuyez sur OK.
- Repétez les étapes 5 à 6, si nécessaire.
- Appuyez sur Arrête/Suppr. pour revenir en mode prét.

Lorsque vous paramétrez les options de copie, l'activation de la touche Arrête/Suppr. annule les modifications effectuees et rétablit les valeurs par défaut.
Utilisation des fonctions de copie spéciales
Vouppouvezutiliserlesoptionsdecopie suivantes:
Copie de cartes d'identité
Votre machine peut imprimer un document recto verso sur une seule feuille au format A4, Lettre, Légal, Folio, Exécutif, B5, A5 ou A6.
L'appareil imprime le recto sur la moitié supérieure de la feuille et le verso sur la moitié inférieure de la feuille, sans réduire le format de l'original. Cette fonction est particulièrement adaptée aux documents de format réduit, tels que les cartes de visite.


- Cette fonctionnalité est disponible uniquement lorsque vous placez les originaux sur la vente d'exposition.
-
Le format des originaux à 2 faces doit être plus petit que A5, sinon une partie ne sera pas copiee.
-
Appuyez sur la touche Duo Copie du panneau de commande.
- Placer recto et app. sur [Start] s'affiche à l'écran.
- Placez la face avant d'un original face vers le bas sur la vitre d'exposition, à l'endroit indiqué par la flèche, puis fermez le capot du scanner.

- Appuyez sur la touche OK du panneau de commande.
Votre appeareil commence la numérisation de la face avant et indique Placer verso et app. sur [Start].
- Retournez l'original et place-le sur la vitre d'exposition, à l'endroit indiqué par la flèche, puis fermez le capot du scanner.

- Appuyez sur OK sur le panneau de commande pour lancer la copie.

- Si l'original est plus grand que la zone imprimable, certaines parties risquent de ne pas apparaitre à l'impression.
- Si vous n'appuyez pas sur la touche OK, seul le recto est copié.
- Si vous appuyez sur Arrête/Suppr., l'appareil annule le travail de copie et returne en mode prét.
Copie de type 2 pages ou 4 pages (pages multiples)
L'appareil peut réduire le format des images originales et imprimer deux ou quatre pages sur une seule feuille.

- Appuyez sur (Copie) sur le panneau de commande.
- Appuyez sur la touche Menu du panneau de commande.
- Appuyez sur la flèche gauche/droite jusqu'à ce que FONCT. COPIE s'affiche, puis appuyez sur OK.
- Appuyez sur la flèche gauche/droite jusqu'à ce que MISE EN PAGE s'affiche, puis appuyez sur OK.
- Appuyez sur la flèche gauche/droite jusqu'à ce que 2 pages/1 ou 4 PAGES/1 s'affiche, puis appuyez sur OK.
- Lorsque OUI apparait, appuyez sur OK.
- Appuyez sur Départ sur le panneau de commande pour lancer la copie.
Vous ne pouvez pas regler le format de copie à l'aide de RED./ AGRAND. pour la fonction N PAGES SUR 1.
Copiede type Affiche
L'original est divisé en neuf zones. Il suffit ensuite de coller ces feuilles ensemble pour former une affiche.
Cette fonctionnalité est disponible uniquement lorsque vous placez les originaux sur la vente d'exposition.

- Appuyez sur (Copie) sur le panneau de commande.
- Appuyez sur la touche Menu du panneau de commande.
- Appuyez sur la flèche gauche/droite jusqu'à ce que FONCT. COPIE s'affiche, puis appuyez sur OK.
- Appuyez sur la flèche gauche/droite jusqu'à ce que MISE EN PAGE s'affiche, puis appuyez sur OK.
- Appuyez sur la flèche gauche/droite jusqu'à ce que COPIE AFFICHE s'affiche, puis appuyez sur OK.
- Appuyez sur Arrête/Suppr. pour revenir en mode prét.
- Appuyez sur Départ sur le panneau de commande pour lancer la copie.
L'original est divisé en neuf zones. Les zones sont numériées et imprimées lesunes aprèsles autres dans l'ordre ci-après:
| 1 | 2 | 3 |
| 4 | 5 | 6 |
| 7 | 8 | 9 |
Copie de type Clone
L'appareil imprime plusieurs images d'origine sur une seule page. Le nombre d'images est automatiquement déterminé en fonction de l'image d'origine et du format de papier.
Cette fonctionnalité est disponible uniquement lorsque vous place les originaux sur la vente d'exposition.

- Appuyez sur (Copie) sur le panneau de commande.
- Appuyez sur la touche Menu du panneau de commande.
- Appuyez sur la flèche gauche/droite jusqu'à ce que FONCT. COPIE s'affiche, puis appuyez sur OK.
- Appuyez sur la flèche gauche/droite jusqu'à ce que MISE EN PAGE s'affiche, puis appuyez sur OK.
- Appuyez sur la flèche gauche/droite jusqu'à ce que DUPLICATION s'affiche, puis appuyez sur OK.
- Lorsque OUI apparait, appuyez sur OK.
- Appuyez sur Départ du panneau de commande pour lancer la copie.
Vous ne pouvez pas régler le format de copie à l'aide de RED./ AGRAND. pour la fonction DUPLICATION.
Effacement des images de fond
Cette fonction est utile lors de la copie d'originaux contenant une couleur d'arrière-plan, comme les journaux ou les catalogues.
- Appuyez sur (Copie) sur le panneau de commande.
- Appuyez sur la touche Menu du panneau de commande.
- Appuyez sur la flèche gauche/droite jusqu'à ce que FONCT. COPIE s'affiche, puis appuyez sur OK.
- Appuyez sur la flèche gauche/droite jusqu'à ce que REGLER LE FOND s'affiche, puis appuyez sur OK.
-
Appuyez sur la flèche gauche/droite jusqu'à ce que l'option de reliure souhaïée apparaissée.
-
DESACTIVE: permet de désactiver cette fonction.
- AUTO: permet d'optimiser l'arrière-plan.
- Améliorée : plus le chiffre est élevé, plus l'arrête-plan sera de couleur vivie.
-
Erase : plus le chiffre est élevé, plus l'arrière-plan sera clair.
-
Appuyez sur OK pour valider votrechoix.
- Appuyez sur Arrête/Suppr. pour revenir en mode prêt.
Choix de la forme de sortie de la copie
Vou puez parametre l'appareil afin qu'il trie les tirages d'une tache de copie. Par exemple, si vous effectuez 2 copies d'un original de 3 pages, vous obtiendrez un premier jeu de 3 pages, suivi d'un deuxieme.
- Appuyez sur (Copie) sur le panneau de commande.
- Placez les originaux, face imprimée vers le haut, dans le chargeur de documents. Vous pouvez également placer un seul original face imprimée vers le bas sur la vitre d'exposition et fermer le capot du scanner.
- Appuyez sur OK et saississez le nombre de copies à réaliser à l'aide de la flèche gauche/droite ou du pavé numérique.
- Appuyez sur la touche Menu du panneau de commande.
- Appuyez sur la flèche gauche/droite jusqu'à ce que CONFIG. COPIE s'affiche, puis appuyez sur OK.
- Appuyez sur la flèche gauche/droite jusqu'à ce que MODIF. DEFAULT s'affiche, puis appuyez sur OK.
- Appuyez sur la flèche gauche/droite jusqu'à ce que COPIES ASSEMB. s'affiche, puis appuyez sur OK.
-
Appuyez sur la flèche gauche/droite jusqu'à ce que ACTIVE s'affiche, puis appuyez sur OK.
-
ACTIVE: permet d'imprimer des jours de copie respectant l'ordre des originaux.


- DESACTIVE: permet d'imprimer des jours de copie triés par page.



- Appuyez sur Arrête/Suppr. pour revenir en mode prét.
- Appuyez sur Départ pour lancer la copie.
Un document complet s'imprimera, puis le deuxieme document complet.
Réglage du début de réinitialisation de copie
Vou puez définir le temps d'attente de l'appareil avant le rétablissement des paramètres de copie par défaut, au cas où vous n'effectueriez pas de copie après avoir modifié les paramètres dans le panneau de commande.
- Appuyez sur la touche Menu du panneau de commande.
- Appuyez sur la flèche gauche/droite jusqu'à ce que CONFIG SYSTEME s'affiche, puis appuyez sur OK.
- Appuyez sur la flèche gauche/droite jusqu'à ce que CONFIG MACHINE s'affiche, puis appuyez sur OK.
- Appuyez sur la flèche gauche/droite jusqu'à ce que TEMPORISATION s'affiche, puis appuyez sur OK.
- Appuyez sur la flèche gauche/droite jusqu'à ce que le décai souhaité s'affiche.
Si vous sélectionnez DESACTIVE, l'appareil ne rétablit les paramètres par défaut qu'une fois que vous avez appuyé sur Départ pour effectuer une copie ou sur Arrête/Suppr. pour annuler l'opération.
- Appuyez sur OK pour valider votrechoix.
- Appuyez sur Arrête/Suppr. pour revenir en mode prét.
Avec votre apparéil, la numérisation vous permet de convertir des images et du texte en fichiers numériques pouvant être enregistrés sur votre ordinateur.
Ce chapitre contient les sections suivantes :
- Méthode de numérisation de base
- Numérisation d'originaux et envoi vers votre ordinateur (NUMER. VERS PC)
Utilisation du Gestionnaire de scan Samsung

La résolution maximale que vous pouvez obtenir dépend de plusieurs facteurs, notamment la rapidité de votre ordinateur, l'espace disque disponible, la taille de la mémoire et celle de l'image à numérique, ainsi que le paramétrage de la profondeur de bit. Ainsi, selon votre système et l'objet que vous souhaitez numérique, vous ne pourrez pas utiliser certaines résolutions, surtout si vous faites appel à la fonctionnalité de résolution avancée.

Les fonctions et les périphériques optionnels pris en charge peuvent varier selon le modele. Veuiliez vérifier le nom de votre modele. (Voir « Fonctionnalités par modele » à la page 26.)
Méthode de numérisation de base
Vous pouvez numériser les originaux avec votre apparéil via un cable USB ou le réseau.
- Gestionnaire de scan Samsung: Numérique les originaux à partir du panneau de commande. Ensuite, les données numériées seront stockées dans le dossier Mes documents de l'ordinateur connecté. Lorsque vous installez tous les logiciels du CD fourni, le Gestionnaire de scan Samsung est également installé automatiquement sur votre ordinateur. Vous pouvez utiliser cette fonction via la connexion locale ou réseau (voir « Utilisation du Gestionnaire de scan Samsung » à la page 71).
- TWAIN: TWAIN est l'une des applications de gestion d'images prédéfinies. La numérisation d'une image lance l'application selectionnée, vous permettant ainsi de contrôler le processus de numérisation. Vous pouvez utiliser cette fonction via la connexion locale ou réseau (voir « Numérisation avec un logiciel compatible TWAIN » à la page 72).
- SmarThru: ce programme est le logiciel accompagnant votre apparéil. Vous pouvez utiliser ce programme pour numériérer des images ou des documents. Vous pouvez utiliser cette fonction via la connexion locale ou réseau (voir « SmarThru » à la page 92).
-
WIA: WIA signifie Windows Images Acquisition. Pour pouvoir utiliser cette fonction, votre ordinateur doit être directement connecté à l'appareil via un cable USB (voir « Numérisation avec le pilote WIA » à la page 72).
-
Numérisation avec un logiciel compatible TWAIN
- Numérisation avec le pilote WIA
- Numérisation Macintosh
- Numérisation Linux
Numérisation d'originaux et envoi vers votre ordinateur (NUMER. VERS PC)
Vous pouvez numériser une image sur l'appareil via le programme Gestionnaire de scan Samsung installé sur votre ordinateur en réseau.
Pour les appareils connectés via USB
Voici une méthode de numérisation de base pour un apparéil connecté par le port USB.
- Assurez-vous que l'appareil est connecté à votre ordinateur et qu'il est sous tension.
-
Placez les originaux face imprimée vers le haut dans le chargeur de documents ou un seul original face imprimée vers le bas sur la vitre d'exposition. (Voir « Mise en place des originaux » à la page 49.)
-
Appuyez sur (Numérisation) sur le panneau de commande.
-
Appuyez sur la flèche gauche/droite jusqu'à ce que NUMER. VERS PC s'affiche, puis appuyez sur OK.
- Appuyez sur la flèche gauche/droite jusqu'à ce que PC LOCAL s'affiche, puis appuyez sur OK.

Si vous VOYZ le message INDISPONIBLE, VERIFIEZ la connexion du port.
- Appuyez sur la flèche gauche/droite jusqu'à ce que l'application souhaïée apparaissée, puis appuyez sur OK. Le paramètre par défaut est Mes documents.

Pour ajouter ou supprimer le dossier de destination du fichier numérique, ajoutez ou supprimez l'application dans Gestionnaire de scan Samsung > Propriétés > Définir bouton de numération.
-
Appuyez sur la flèche gauche/droite jusqu'à ce que le paramètre souhaité apparaitse, puis appuyez sur OK.
-
RESOLUTION : définit la résolution de l'image.
COULEUR NUMER.: définit le mode couleur. - FORMAT NUMER.: définit le format de fichier sous lequel l'image sera enregistrée.
- TAILLE NUMER.: définit la taille de l'image.

- FORMAT NUMER. apparait uniquement lorsque vous sélectionnez la destination de numérisation Mes documents.
-
Si vous souhaitez numérique avec les paramètres par défaut, appuyez sur Départ.
-
La numérisation commence.

- L'imag numérisée est enregistrée dans le dossier Mes documents > Mes images > Samsung de l'ordinateur.
Pour une numérisation rapide, vous pouvez utiliser le pilote TWAIN dans le programme Gestionnaire de scan Samsung. - Vous pouvez également numériser en appuyant sur Demarrer > Panneau de configuration > Gestionnaire de scan Samsung > Numérisation rapide dans Windows.
Pour un apparéil connecté au réseau
Vérifiez que le pilote d'impression a été installé sur votre ordinateur à l'aide du CD de logiciels fourni, le pilote d'impression incluant le programme de numération (voir « Installation du pilote d'un apparéil connecté à un réseau cable ou via USB » à la page 41).
- Assurez-vous que votre apparéil et l'ordinateur sont connectés à un réseau et que le Gestionnaire de scan Samsung est installé sur l'ordinateur.
- Placez les originaux face imprimée vers le haut dans le chargeur de documents ou un seul original face imprimée vers le bas sur la vitre d'exposition.
- Appuyez sur (Numérisation) sur le panneau de commande.
- Appuyez sur la flèche gauche/droite jusqu'à ce que NUMER. VERS PC s'affiche, puis appuyez sur OK.
- Appuyez sur la flèche gauche/droite jusqu'à ce que PC RESEAU s'affiche, puis appuyez sur OK.

Si vous Voyez le message INDISPONIBLE, vérifie la connexion du port.
- Sélectionnez l'ID de votre ordinateur enregistré et, au besoin, saisissez le MOT DE PASSE.

-
ID est la même ID que l'ID de l'ordinateur enregistrée pour Gestionnaire de scan Samsung.
-
MOT DE PASSE est le Mot de passer à 4 chiffres enregistré pour Gestionnaire de scan Samsung.
-
Appuyez sur la flèche gauche/droite jusqu'à ce que l'application souhaïée apparaisse, puis appuyez sur OK.
Le paramètre par défaut est Mes documents.

Pour ajouter ou supprimer le dossier de destination du fichier numérique, ajoutez ou supprimez l'application dans Gestionnaire de scan Samsung > Propriétés > Définir bouton de numérisation.
-
Appuyez sur la flèche gauche/droite jusqu'à ce que le paramètre souhaité apparaisse, puis appuyez sur OK.
-
RESOLUTION : définit la résolution de l'image.
COULEUR NUMER.:définitle mode couleur. - FÜRMAT NUMER.: définit le format de fichier sous lequel l'image sera enregistrée.
- TAILLE NUMER.: définit la taille de l'image.

- FORMAT NUMER. apparait uniquement lorsque vous sélectionnez la destination de numérisation Mes documents.
-
Si vous souhaitez numériser avec les paramètres par défaut, appuyez sur Départ.
-
La numérisation commence.

- L'image numérique est enregistrée dans le dossier Mes documents > Mes images > Samsung de l'ordinateur.
Pour une numérisation rapide, vous pouvez utiliser le pilote TWAIN dans le programme Gestionnaire de scan Samsung. - Vous pouvez également numériser en appuyant sur Démarrer > Panneau de configuration > Gestionnaire de scan Samsung > Numérisation rapide dans Windows.
Utilisation du Gestionnaire de scan Samsung
Si vous avez installé le pilote d'impression, le Gestionnaire de scan Samsung l'est également. Démarrez le Gestionnaire de scan Samsung pour acceder aux informations de ce programme et à l'état du pilote de numérisation installé. Via ce programme, vous pouvez également modifier les paramètres de numérisation et ajouter ou supprimer les dossiers où sont enregistrés les documents numériés sur l'ordinateur.

Le Gestionnaire de scan Samsung ne peut être utilisé que sur les systèmes Windows et Mac OS. Si vous utilisiez Macintosh, reportez-vous à « Paramétrage des informations de numérisation dans le Gestionnaire de numération » à la page 74.
- À partir du menu Demarrer, cliquez sur Panneau de configuration > Gestionnaire de scan Samsung.

Vous pouvez ouvrir le Gestionnaire de scan Samsung en faisant un clic droit sur l'icone du Smart Panel dans la barre des tâches Windows et en selectionnant le gestionnaire de numérisation.
- Sélectionnez l'appareil approprié depuis la fenêtre du Gestionnaire de scan Samsung.
- Appuyez sur Propriétés.
- L'onglet Définir bouton de numérisation vous permet de modifier la destination d'enregistrement et les paramètres de numérisation, ainsi que d'ajouter ou de supprimer des applications et des fichiers de format. Vous pouvez modifier l'appareil de numérisation à l'aide du paramètre Modifier port (local ou réseau).
- Lorsque le paramétrage est terminé, appuyez sur OK.
Onglet Définir bouton de numérisation

Emplacement de numérisation
- Listes des emplacements disponibles: affiche la liste des applications actuelles liée aux images numériées dans le registre de l'ordinateur. Sélectionnez le programme que vous souhaitez utiliser puis cliquez sur la flèche droite, et ajouter à把这些 emplacements du panneau de commande.
- List des emplacements du panneau de commande : affiche la liste d'applications pouvant ouvrir l'image numérique.
- Ajouter une application : vous permet d'ajouter l'application que vous souhaitez utiliser à Nombre des emplacements disponibles,
- Supprimer l'application : vous permet dePTRirer un élément ajouté par l'utilisateur dans la Liste des emplacements disponibles.
- Format fischier : vous permet de selectionner la forme des données numériées à enregistrer. Vous avez le choix entre BMP, JPEG, PDF, et TIFF.
Propriétés de numérisation
ID de l'ordinateur : indique l'ID de votre ordinateur.
- Emplacement d'enregistrement : vous permet de désirer l'emplacement du dossier d'enregistrement par défaut.
- Résolution: vous permet deCHOISIR LA RÉSULTATION DE NUMÉRISATION.
- Couleur de numérisation : vous permet de désirir la couleur de numérisation.
- Taille de numérisation: vous permet de désirir la taille de numérisation.
CAD recto verso : numérique automatiquement les deux faces. Si votre modèle ne prend pas en charge cette option, elle sera grisée.
- Afficher aperçu : le fait de cocher cette case vous permet de prévisualiser les options de numérisation appliquées. Vous pouvez modifier les options avant numérisation.
- Par défaut : vous permet de revenir aux options par défaut.
Onglet Modifier port

Scanner local
Sélectionnez si votre apparéil est connecté par le port USB ou LPT.
Scanner en réseau
Sélectionnez si votre apparéil est connecté par le port réseau.
- Détection automatique sur le réseau : détecte automatiquement votre apparéil.
- Adresse IP: saisissez l'adresse IP de votre apparéil pour le détector.
Numérisation avec un logiciel compatible TWAIN
Si vous souhaitez numériser des documents à l'aide d'autres logiciels, vous nevez utiliser un logiciel compatible TWAIN, comme Adobe Photoshop.
Procedez comme suit pour numériser avec un logiciel compatible TWAIN :
- Assurez-vous que l'appareil est connecté à votre ordinateur et qu'il est sous tension.
- Placez les originaux face imprimée vers le haut dans le chargeur de documents ou un seul original face imprimée vers le bas sur la vitre d'exposition.
(Voir « Mise en place des originaux » à la page 49.)
- Ouvrez une application, par exemple Adobe Photoshop.
- Ouvrez la fenêtre TWAIN et définièsez les options de numérisation.
- Numérisez et sauvegardez votre image numérisée.
Numérisation avec le pilote WIA
L'appareil prend également en charge le pilote WIA (Windows Image Acquisition) de numérisation d'images. WIA est l'un des composants standard fournis par Microsoft Windows XP; il fonctionne avec les appareils photo numériques et les scanners. Contrairement au pilote TWAIN, le pilote WIA permet de numériser des images et de les manipuler facilement sans avoir recours à d'autres logiciels.

Le pilote WIA fonctionne uniquement sous Windows XP/Vista, sur le port USB.
Windows XP
- Assurez-vous que l'appareil est connecté à votre ordinateur et qu'il est sous tension.
- Placez les originaux face imprimée vers le haut dans le chargeur de documents ou un seul original face imprimée vers le bas sur la vitre d'exposition.
(Voir « Mise en place des originaux » à la page 49.)
- Dans le menu Demarrer, selectionnez Panneau de configuration > Scanneurs et apparecs photos.
- Double-cliquez sur l'icone de votre pilote de numérisation. L'assistant Assistant Scanneur-appareil photo apparait.
- Cliquez sur Suivant.
- Définissez l'option dans la fenêtre Choisir des préférences de numérisation et cliquez sur Aperçu pour voir dans chaque mesure les options affectent l'image.
- Cliquez sur Suivant.
- Entrez un nom d'image, puis Sélectionnez un format et une destination de fichier pour enregistrer l'image.
- Notre image a été copiee sur votre ordinateur. Choisissez l'une des options à l'écran.
- Cliquez sur Suivant.
- Cliquez sur Terminer.
Windows Vista
- Assurez-vous que l'appareil est connecté à votre ordinateur et qu'il est sous tension.
- Placez les originaux face imprimée vers le haut dans le chargeur de documents ou un seul original face imprimée vers le bas sur la vitre d'exposition.
(Voir « Mise en place des originaux » à la page 49.)
- Dans le menu Demarrer, Sélectionnez Panneau de configuration > Matériel et audio > Scanneurs et apparecs photos.
- Double-cliquez sur Numériser un document ou une image. L'application Télécopie et numérisation Windows apparait.

- Vous pouvez cliquer sur on Afficher les scanneurs et les apparèils photo pour afficher les scanners.
-
S'il n'y a pas d'options Numériser un document ou une image, ouvrez le programme MS Paint et, dans Fichier, cliquez sur D'un scanneur ou d'un apparéil photo...
-
Cliquez sur Nouvelle numérisation. Le pilote de numérisation apparait.
- Choisissez des options de numérisation et cliquez sur Aperçu pour obtenir un aperçu de votre image en fonction des options choisisies.
- Cliques sur Numériser.

Pour annuler une numérisation, appuyez sur le bouton Annuler de l'Assistant Scanner-appareil photo.
Windows 7
- Assurez-vous que l'appareil est connecté à votre ordinateur et qu'il est sous tension.
- Placez les originaux face imprimée vers le haut dans le chargeur de documents ou un seul original face imprimée vers le bas sur la vitre d'exposition. (Voir « Mise en place des originaux » à la page 49.)
- Dans le menu Demarrer, Sélectionnez Panneau de configuration > Matériel et audio > Periphériques et imprimantes.
- Cliquez avec le bouton droit de la souris sur l'icone du pilote de l'appareil dans Imprimantes et télécopieurs > Rechercheer. L'application Nouvelle numérisation s'affiche.
- Choisissez des options de numérisation et cliquez sur Aperçu pour obtenir un aperçu de votre image en fonction des options choisisies.
- Cliques sur Numériser.
Numérisation Macintosh
Voussouspoucez numériser des documents avec le programme Transfert d'images.Mac OS propose le programme Transfert d'images.
Numérisation en USB
- Assurez-vous que l'appareil est connecté à votre ordinateur et qu'il est sous tension.
- Placez les originaux face imprimée vers le haut dans le chargeur de documents ou un seul original face imprimée vers le bas sur la vitre d'exposition.
(Voir « Mise en place des originaux » à la page 49.)
- Démarrez Applications et cliquez sur Transfert d'images.

Si le message Aucun apparéil de transfert d'images apparait, déconnectez le cable USB et reconnectez-le. Si le problème persististe, reportez-vous à l'aide de Transfort d'images.
- Définissez les options de numérisation sur ce programme.
- Numérisez et sauvegardez votre image numérisée.

- Pour de plus amples informations concernant l'utilisation de Transfert d'images, reportez-vous à l'aide de Transfert d'images.
Utilisez des logiciels compatibles TWAIN pour appliquer plus d'options de numérisation. - Vous pouvez également numériser avec un logiciel compatible
TWAIN, comme Adobe Photoshop.
- Le processus de numérisation varie en fonction du logiciel compatible TWAIN utilisé. Reportez-vous au mode d'emploi du logiciel.
- Si la numérisation ne fonctionne pas dans Transfert d'images, mettez à jour le système Mac OS à la dernière version. Transfert d'images fonctionne correctement dans Mac OS 10.3.9 ou version ultérieure et Mac OS X 10.4.7 ou version ultérieure.
Numérisation en réseau
- Assurez-vous que l'appareil est connecté à votre ordinateur et qu'il est sous tension.
- Placez les originaux face imprimée vers le haut dans le chargeur de documents ou un seul original face imprimée vers le bas sur la vitre d'exposition.
(Voir « Mise en place des originaux » à la page 49.)
- Démarrez Applications et cliquez sur Transfert d'images.
- Sous Mac OS X 10.4 à 10.5
Cliquez sur Appareils, puis cliquez sur Parcourir le contenu des apparèils.
Sous Mac OS X 10.6
Sélectionnez votre apparéil sous PARTAGÉS. Passez ensuite à l'étape 7.
- Sous Mac OS X 10.4 :
Sélectionnez votre apparéil dans l'option des périphériques TWAIN. Assurez-vous que la case Utiliser le logiciel TWAIN est cochée, et cliquez sur Se connecter.
- Si un message d'advertissement s'affiche, cliquez sur Modifier port pour selectionner un port.
- Si l'interface TWAIN s'affiche, dans l'onglet Préférences, cliquez sur Modifier port pour sélectionner un port.

Reportez-vous au gestionnaire de numérisation pour l'utilisation de Modifier port (voir « Paramétrage des informations de numérisation dans le Gestionnaire de numérisation » à la page 74).
Sous Mac OS X 10.5 :
Vérifié que la case Connecté est cochée en regard de votre apparéil dans Appareils Bonjour.
Si vous souhaitez numérique à l'aide de TWAIN, reportez-vous à la procédure ci-dessus pour Mac OS X 10.4.
- Définissez les options de numérisation sur ce programme.
- Numérisez et sauvegardez votre image numérisée.

- Sous Mac OS X 10.3, utilisez des logiciels compatibles TWAIN.
- Pour de plus amples informations concernant l'utilisation de Transfert d'images, reportez-vous à l'aide de Transfert d'images.
Utilisez des logiciels compatibles TWAIN pour appliquer plus d'options de numérisation. - Vous pouvez également numériser avec un logiciel compatible TWAIN, comme Adobe Photoshop.
- Le processus de numérisation varie en fonction du logiciel compatible TWAIN utilisé. Reportez-vous au mode d'emploi du logiciel.
- Si la numérisation ne fonctionne pas dans Transfert d'images, mettez à jour le système Mac OS à la première version. Transfert d'images fonctionne correctement dans Mac OS X 10.4.7 ou ultérieur.
Paramétrage des informations de numérisation dans le Gestionnaire de numérisation
Pour acceder aux informations sur le programme Gestionnaire de numérisation et sur l'état du pilote de numérisation installé, pour changer les paramètres de numérisation et pour ajouter ou supprimer les dossiers ou les documents numérisés sur l'ordinateur sont enregistrés dans le gestionnaire de numérisation, suivez ces instructions :
- Dans le menu Smart Panel de la barre d'etat, cliquez sur Gestionnaire de numérisation.
- Sélectionnez l'appareil approprié depuis le gestionnaire de numérisation.
- Appuyez sur Propriétés.
- L'onglet Définir bouton de numérisation vous permet de modifier la destination d'enregistrement et les paramètres de numérisation, ainsi que d'ajouter ou de supprimer des applications et des fichiers de format. Vous pouvez modifier l'appareil de numérisation à l'aide du paramètre Modifier port (local ou réseau).
- Une fois terminé, appuyez sur OK.
Numérisation Linux
Vous pouvez numériser un document via la fenêtre Unified Driver Configurator.
Numérisation
- Double-cliquez sur l'icone Unified Driver Configurator du bureau.
- Cliquez sur le bouton pour passer en mode Scanners configuration.
- Sélectionnez le scanner dans la liste.

Lorsque vous ne disposez que d'un apparéil, et que celui-ci est connecté à l'ordinateur et sous tension, le scanner apparaît dans la liste et est sélectionné automatiquement.
Si plusieurs scanners sont connectés à l'ordinateur, vous pouvez selectionner n'importe lequel à tout moment. Par exemple, pendant que l'opération d'acquisition est en cours sur le premier scanner, vous pouvez selectionner un deuxieme scanner, définir les options du péripérisque et lancer l'acquisition d'image.
- Cliquez sur Properties.
- Placez les originaux face imprimée vers le haut dans le chargeur de documents ou un seul original face imprimée vers le bas sur la vitre d'exposition.
(Voir « Mise en place des originaux » à la page 49.)
- Dans la fenêtre Scanner Properties, cliquez sur Preview.
Le document est numérique et l'aperçu de l'image apparait dans le Preview Pane.

- Faites glisser le pointeur afin de définir la zone de l'image à numériser dans le Preview Pane.
-
Modifiez les options de numérisation dans les zones Image Quality et Scan Area.
-
Image Quality : cette option permet de sélectionner la composition des couleurs et la résolution de numérisation de l'image.
- Scan Area : cette option vous permet de sélectionner la taille de la page. À l'aide du bouton Advanced, vous pouvez définir manuellement le format de page.
Pour utiliser un paramètre d'options de numérisation prédéfi, selectionnez-la dans la liste déroulante Job Type (voir « Ajout de paramétres Job Type » à la page 74).
Cliquez sur Default pour rétablier les paramètres par défaut pour les options de numérisation.
- Une fois les modifications terminées, cliquez sur Scan pour lancer la numérisation.
La barre d'etat apparait dans l'angle inférieur gauche de la fenetre ; elle affiche I'etat d'avancement de la numérisation. Pour annuler la numérisation, cliquez sur Cancel.
- L'image numériée apparait.
Pour modifier l'image numérique, utilisez la barre d'outils (voir « Utilisation du Image Manager » à la page 75).
- Une fois l'opération terminée, cliquez sur Save dans la barre d'outils.
- Sélectionnez le réseau de fichiers dans lequel enregistrer l'image et entrez le nom du fisquier.
- Cliquez sur Save.
Ajout de paramètres Job Type
Voupeuz enregister les parametes des options de numérisation afin de les réutiliser plus tard.
Pour enregistrer un nouveau paramètre Job Type :
- Modifiez les options dans la fenetre Scanner Properties.
- Cliquez sur Save As.
- Entrez le nom du paramètre.
- Cliquez sur OK. Le paramètre est ajouté à la liste déroulante Saved Settings.
Pour enregistrer un paramètre Job Type pour une prochaine tâche de numérisation :
- Dans la liste déroulante Job Type, Sélectionnez le paramètre à utiliser.
- Lorsque vous ouvrez à nouveau la fenêtre Scanner Properties, le paramètre enregistré est sélectionné automatiquement pour la tâche de numérisation.
Pour supprimer un paramètre Job Type :
- Dans la liste déroulante Job Type, Sélectionnez le paramètre à supprimer.
- Cliquez sur Delete.
Le paramètre est supprimé de la liste.
Utilisation du Image Manager
Le Image Manager permet de modifier les images numériées, à l'aide de commandes de menu et d'outils.

Pour modifier une image, utilisez les outils suivants :
| Outils | Nom | Fonction |
| Save | Enregistre l'image. | |
| Undo | Annule la dernière action. | |
| Redo | Restaure l'action annulée. | |
| Scroll | Permet de faire défilier l'image. | |
| Crop | Rogne la zone d'image sélectionnée. | |
| Zoom Out | Applique un zoom arrêté à l'image. | |
| Zoom In | Applique un zoom avant à l'image. | |
| Scale | Permet de mettre à l'échelle la taille de l'image ; vous pouvez entra r la taille manuellement ou définir un taux de mise à l'échelle proportionnelle, verticale ou horizontale. | |
| Rotate | Permet de faire pivoter l'image ; vous pouvez sélectionner l'angle de rotation dans la liste déroulante. | |
| Flip | Permet de returner l'image verticalément ou horizontalement. | |
| Effect | Permet de régler la luminosité ou le contraste de l'image, ou d'inverser l'image. | |
| Properties | Affiche les propriétés de l'image. |
Pour plus de détails concernant l'application Image Manager, reportez-vous à l'aide à l'écran.
Ce chapitre fournit des informations sur l'emploi de votre(APpeuil en tant que telecopieur.
Ce chapitre contient les sections suivantes :
- Préparation à l'envoi de télécopie
Utilisation d'une télécopie sur votre ordinateur - Envoi d'une télécopie sur votre apparéil
- Réception d'une télécopie sur votre apparéil

- Vous ne pouvez pas utiliser cet apparéil comme télécopieur via le téléphone par Internet. Pour plus d'informations, consultez votre fournisseur d'accès à Internet.
- Nous vous recommendons d'utiliser des services téléphoniques analogiques classiques (PSTN: réseau téléphonique public commuté) lors de la connexion des lignes téléphoniques pour utiliser la télécopie. Si vous utilisez d'autres services Internet (DSL, ISDN, VoIP), vous pouze améliorer la qualité de connexion en utilisant le Micro-filtre. Le microfiltre élimine les signaux de bruit inutiles et améliore la qualité de la connexion ou d'Internet. Étant donné que le Micro-filtre DSL n'est pas fourni avec l'appareil, contactez votre fournisseur de services Internet pour l'utilisation sur le Micro-filtre DSL.

1 Port ligne
2 Micro filtr
3 Modem DSL/Ligne téléphonique

Les fonctions et les périhériques optionnels pris en charge peuvent varier selon le modele. Veuillez vérifier le nom de votre modele.
(Voir « Fonctionnalités par modèle » à la page 26.)
Préparation à l'envoi de télécopie
Avant d'envoyer ou de receivevoir une télécopie, vous devez raccarder le cordon fourni à la prise murale. Reportez-vous au Guide d'installation rapide pour la procédure de connexion. La mise en place d'une connexion téléphonique varie d'un pays à un autre.
Utilisation d'une télécopie sur votre ordinateur
Vous pouvez envoyer et recevoir une télécopie depuis votre ordinateur sans utiliser l'appareil.
Envoi d'une télécopie
Pour envoyer une télécopie à partir de votre ordinateur, le programme Samsung Network PC Fax doit être installé. Ce programme sera installé lors de l'installation du pilote d'imprimante.
- Configuration des paramètres de document
- Transfert d'une télécopie vers une autre destination
-
Configuration d'un carnet d'adresses
Impression automatique d'un rapport de télécopie -
Ouvrez le document à envoyer.
- Sélectionnez Imprimer dans le menu Fichier.
La fenêtre Imprimer s'affiche. Son apparcence peut légèrement varier selon les applications.
- Sélectionnez Samsung Network PC Fax dans la fenêtre Imprimer.
- Cliquez sur Imprimer ou OK.
- Saisissez les numéroes des destinataires et selectionnez l'option.

Pour utiliser une page de garde, cochez la case Utiliser une page de garde.
Cochez la case Notify me on delivery une fois la télécopie bien reçue par les destinataires.
- Cliques sur Envoyer.

Pour de plus amples informations concernant Samsung Network PC Fax, cliquez sur Help.
Consultation de liste de télécopies envoyées
Vous pouvez consulter une liste des télécopies envoyées sur votre ordinateur.
Dans le menu Demarrer, cliquez sur Programmes ou Tous les programmes > Samsung Printers > Network PC Fax > Fax Journal. La fenetre Fax Journal s'ouvre alors avec la liste des télécopies envoyées.
Réception d'une télécopie
Si vous avez installé le pilote d'impression, le programme Gestionnaire de numérisation et de télécopie Samsung l'est également. Démarrez le programme Gestionnaire de numérisation et de télécopie Samsung pour acceder aux informations de ce programme et à l'état du pilote installé. Via ce programme, vous pouvez modifier les paramètres de télécopie et ajouter ou supprimer les dossiers où sont enregistrés les documents télécopies sur l'ordinateur.

Le programme Gestionnaire de numérisation et de télécopie Samsung ne peut être utilisé que sur les systèmes Windows et Mac OS. Vérifiez si le transfert d'une télécopie vers PC est défini sur ACTIVE :
a) Appuyez sur (Télécopie) sur le panneau de commande.
b) Appuyez sur la touche Menu du panneau de commande.
c) Appuyez sur la flèche gauche/droite jusqu'à ce que 1.FAX s'affiche, puis appuyez sur OK.
d) Appuyez sur la flèche gauche/droite jusqu'à ce que REROUTAGE s'affiche, puis appuyez sur OK.
e) Appuyez sur la flèche gauche/droite jusqu'à ce que PC s'affiche, puis appuyez sur OK.
-
Ouvrez Gestionnaire de numérisation et de télécopie Samsung.
-
Sous Windows, à partir du menu Demarrer, cliquez sur Panneau de configuration > Gestionnaire de numérisation et de télécopie Samsung.
Voussouspoucez ouvrirceprogramme enclinquant avec le bouton droit de la souris sur l'iconde du Smart Panel dans la barre des taches de Windows et en selectionnant Gestionnaire de numérisation et de télécopie Samsung. - Pour les ordinateurs Macintosh, cliquez sur Gestionnaire de numérisation et de télécopie Samsung dans le menu Smart Panel de la barre d'etat.
- Sélectionnez l'appareil approprié depuis Gestionnaire de numérisation et de télécopie Samsung.
- Cliques sur Propriétés.
- Utilisez Configurer la réception de télécopies pour modifier les paramètres de télécopie.
- Lorsque le paramétrage est terminé, appuyez sur OK.

Onglet Configurer la réception de télécopies
- Activer la réception de télécopies: vous pouvez indiquer si vous souhaitez ou non l'utiliser.
- Format fichier: vous pouvez convertir les télécopies reçues en PDF ou TIFF.
- Emplacement d'enregistrement: permet de sélectionner le dossier d'enregistrement des télécopies converties.
- Préfixe: permet de sélectionner le schéma de fichier ou de dossier en tant que préfixe.
- Imprimer la télécopie reçue: une fois la télécopie reçue, permet d'imprimer les informations de la télécopie reçue.
- M'envoyer une notification une fois la télécopie reçue: affiche une fenêtre contextuelle avertissant de la réception d'une télécopie.

Onglet Modifier port
Scanner local
Sélectionnez si votre apparéil est connecté par le port USB ou LPT.
Scanner en réseau
Sélectionnez si votre apparéil est connecté par le port réseau.
- Détection automatique sur le réseau: détecte automatiquement votre apparéil.
- Adresse IP: saisissez l'adresse IP de votre apparéil pour le détector.
Envoi d'une télécopie sur votre apparéil
Cette partie explique comment envoyer une télécopie et quelles sont les méthodes spéciales de transmission.

Vous pouvez utiliser le chargeur de documents tout comme la vitre d'exposition pour charger les originaux (voir « Mise en place des originaux » à la page 49). Si les originaux sont placés à la fois dans le chargeur de documents et sur la vitre d'exposition, l'appareil lit d'abord les documents du chargeur de documents, qui est prioritaire en matière de numérisation.
Réglage de l'en-tête de télécopie
Dans certains pays, vous devez, afin de vous accycler de vos obligations légales, indiquer votre numéro de télécopie sur toutes les télécopies que vous envoyez.
- Appuyez sur la touche Menu du panneau de commande.
- Appuyez sur la flèche gauche/droite jusqu'à ce que CONFIG SYSTEME s'affiche, puis appuyez sur OK.
- Appuyez sur la flèche gauche/droite jusqu'à ce que CONFIG MACHINE s'affiche, puis appuyez sur OK.
- Appuyez sur la flèche gauche/droite jusqu'à ce que ID MACHINE s'affiche, puis appuyez sur OK.
- SaisissezVote nomb ou celui de suaive entreprises à l'aide du pavé numérique. Vous pouvez saisir des caractères alphanumériques à l'aide du pavé numérique, y compris des symboles spéciaux, en appuyant sur la touche 1. Pour plus de détails concernant la saisie de caractères alphanumériques, reportez-vous à la section « Saisie de caractères à l'aide du pavé numérique » à la page 46.
- Appuyez sur OK pour enregistrer l'identifient.
- Appuyez sur la flèche gauche/droite jusqu'à ce que NO. MACH. FAX s'affiche, puis appuyez sur OK.
- Saisissez votre numéro de télécopie à l'aide du clavier numérique, puis appuyez sur OK.
- Appuyez sur Arrête/Suppr. pour revenir en mode prét.
Envoi d'une télécopie
- Appuyez sur (Télécopie) sur le panneau de commande.
- Placez les originaux face imprimée vers le haut dans le chargeur de documents ou un seul original face imprimée vers le bas sur la vitre d'exposition.
(Voir « Sur la vitre d'exposition » à la page 49 ou « Dans le chargeur de documents » à la page 50.)
- Vous pouvez ajuster la résolution et le contraste du document (voir « Configuration des paramètres de document » à la page 81).
- Saisissez le numéro du télécopieur de réception.
Vous pouvez utiliser les numérores de composition abrégée ou les numérores de composition de groupe. Pour plus de détails concernant l'enregistrement et la recherche d'un numéro, reportez-vous à la section « Configuration d'un carnet d'adresses » à la page 83.
- Appuyez sur la touche Départ du panneau de commande. L'appareil lance la numérisation et envoie la télécopie aux destinataires.

- Si vous souhaitez envoyer une télécopie directement à partir de votre ordinateur, utilisez Samsung Network PC Fax (voir « Envoi d'une télécopie » à la page 76).
Lorsque you souhaitez annuler une télécopie, appuyez sur Arrêter/Suppr. avant que l'appareil ne lance la transmission. - Si vous avez utilisé la vente d'exposition, un message vous invite à charger une autre page.
Envoi manuel d'une télécopie
Cette méthode envoie une télécopie à l'aide de Ligne sur le panneau de commande.
- Appuyez sur (Télécopie) sur le panneau de commande.
- Placez les originaux face imprimée vers le haut dans le chargeur de documents ou un seul original face imprimée vers le bas sur la vitre d'exposition.
- Vous pouvez ajuster la résolution et le contraste du document (voir « Configuration des paramètres de document » à la page 81).
- Appuyez sur la touche Ligne du panneau de commande ou soulevez le combiné.
-
Saisissez un numéro de télécopie à l'aide du clavier numérique du panneau de configuration.
-
Appuyez sur Départ lorsque vous percevez le signal sonore aigu du télécopieur distant.

Pour annuler une télécopie, appuyez sur Arrêter/Suppr. à n'importe quel stade de l'envoi.
Confirmation d'une transmission
Lorsque la dernière page de votre original a été envoyée avec succès, l'appareil émet un signal sonore et revient en mode prét.
Si un dysfonctionnement survient en cours de transmission, un message d'erreur s'affiche à l'écran. Pour consulter la liste des messages d'erreur et leur signification, reportez-vous à la section « Signification des messages d'erreur » à la page 104. Si vous receivez un message d'erreur, appuyez sur Arrêter/Suppr. pour effacer le message et essayez à nouveau d'envoyer la télécopie.
Vous pouvez configurer votre apparéil pour qu'il imprime un rapport de façon automatique après chaque envoi de télécopie. Pour plus d'informations, reportez-vous à la section « Impression automatique d'un rapport de télécopie » à la page 84.
Recomposition automatique
Si le numero que vous avez composé est occupé ou ne répond pas lorsque vous essayez d'envoyer une télécopie, l'appareil recompose automatiquement le numero toutes les trois minutes et jusqu'à sept fois de suite, conformément aux paramètres d'usine par défaut.
Si l'écran affiche RECOMPOSER ?, appuyez sur OK pour recomposer immédiatement le numéro. Pour annuler la recomposition automatique, appuyez sur Arrêt/Suppr.
Pour modifier l'intervalle entre les recompositions et le nombre d'essais de récomposition, consultez « Modification des options de configuration de télécopie » à la page 85.
Recomposition du dernier numéro
Pour recomposer le dernier numero appelé :
- Appuyez sur la touche Bis/Pause du panneau de commande.
- Lorsqu'un original est placé dans le chargeur de documents, la transmission démarre automatiquement.
Si vous placez un original sur la vitre d'exposition, Sélectionnez OUI pour ajouter une autre page. Placez un autre original, puis appuyez sur OK. Lorsque vous avez terminé, Sélectionnez NON à l'invite AUTRE PAGE?
Envoi d'une télécopie vers plusieurs destinataires
Utilisez la fonction d'envoi multiple pour envoyer une télécopie vers plusieurs destinataires. Les originaux sont automatiquement enregistrés dans la mémoire et envoyés à un système distant. Une fois transmis, les documents sont automatiquement effacés de la mémoire. Vous ne pouvez pas envoyer de télécopie couleur avec cette fonction.
- Appuyez sur (Télécopie) sur le panneau de commande.
- Placez les originaux face imprimée vers le haut dans le chargeur de documents ou un seul original face imprimée vers le bas sur la vitre d'exposition.
- Vous pouvez ajuster la résolution et le contraste du document (voir « Configuration des paramètres de document » à la page 81).
- Appuyez sur la touche Menu du panneau de commande.
- Appuyez sur la flèche gauche/droite jusqu'à ce que 1.FAX s'affiche, puis appuyez sur OK.
-
Appuyez sur la flèche gauche/droite jusqu'à ce que ENVOI MULTIPLE s'affiche, puis appuyez sur OK.
-
Introduisez le numéro du premier télécopieur de réception, puis appuyez sur OK.
Vous pouvez appuyer sur les numérodes composition abrégée ou sélectionner un nombre de composition de groupe à l'aide de la touche Répertoire. Pour plus d'informations, voir « Configuration d'un carnet d'adresses » à la page 83.
- Saisissez le deuxième numéro de télécopie, puis appuyez sur OK. Un message vous invite à saisir un autre numéro de télécopie auquel envoyer le document.
- Pour saisir d'autres numérores de télécopie, appuyez sur OK lorsque OUI s'affiche, puis repêze les étapes 7 et 8. Vous pouvez ajouter jusqu'à 10 destinataires.
- Appuyez sur OK pour lancer l'enregistrement des originaux numériés dans la mémoire.
Dés que vous aurez saisi un nombre de composition de groupe, vous ne pourrez plus saisir d'autres numérios de composition de groupe.
- Lorsque vous avez terminé la saisie des numérios de télécopie, appuyez sur la flèche gauche/droite pour selectionner NON à l'invite AUTRE NO.? , puis appuyez sur OK.
- Si vous placez un original sur la vitre d'exposition, Sélectionnez OUI pour ajouter d'autres pages. Placez un autre original, puis appuyez sur OK.
Lorsque you've terminé, Sélectionnez NON à l'invite AUTRE PAGE?
L'appareil commence à envoyer la télécopie aux numérios indiqués, en suivant l'ordre dans lequel vous les avez saisis.
Envoi d'une télécopie différée
Vous pouvez configurer votre apparéil pour qu'il envoie une télécopie en votre absence. Vous ne pouvez pas envoyer de télécopie couleur avec cette fonction.
- Appuyez sur (Télécopie) sur le panneau de commande.
- Placez les originaux face imprimée vers le haut dans le chargeur de documents ou un seul original face imprimée vers le bas sur la vitre d'exposition.
- Vous pouvez ajuster la résolution et le contraste du document (voir « Configuration des paramètres de document » à la page 81).
- Appuyez sur la touche Menu du panneau de commande.
- Appuyez sur la flèche gauche/droite jusqu'à ce que 1.FAX s'affiche, puis appuyez sur OK.
- Appuyez sur la flèche gauche/droite jusqu'à ce que ENV. DIFFERE s'affiche, puis appuyez sur OK.
- Introduisez le numéro du premier télécopieur de réception, puis appuyez sur OK.
Vous pouvez appuyer sur les numérodes composition abrégée ou sélectionner un nombre de composition de groupe à l'aide de la touche Répertoire. Pour plus d'informations, voir « Configuration d'un carnet d'adresses » à la page 83.
- Un message vous invite à saisir un autre numéro de télécopie auquel envoyer le document.
- Pour saisir d'autres numérores de télécopie, appuyez sur OK lorsque OUI s'affiche, puis repêzez l'objet 7 et 8. Vous pouvez ajouter jusqu'à 10 destinataires.
Dés que vous aurez saisi un numéro de composition de groupe, vous ne pourrez plus saisir d'autres numérios de composition de groupe.
- Lorsque vous avez terminé la saisie des numérores de télécopie, appuyez sur la flèche gauche/droite pour sélectionner NON à l'invite AUTRE NO.?, puis appuyez sur OK.
- Introduisez le nom de tâche que vous souhaitez, puis appuyez sur OK.
Pour plus de détails concernant la saisie de caractères
alphanumericques, reportez-vous à la section « Saisie de caractères à l'aide du pavé numérique » à la page 46.
Si vous ne souhaitez pas attribuer de nom, ignorez cette étape.
- Entrez l'heure à l'aide du clavier numérique, puis appuyez sur OK.
Si vous introduizez une heures antérieure à l'heure actuelle, la télécopie sera envoyée à l'heure indiquée le lendemain.
L'original est méorisé avant d'être transmis.
- Si vous placez un original sur la vitre d'exposition, Sélectionnez OUI pour ajouter d'autres pages. Placez un autre original, puis appuyez sur OK.
Lorsque vous avez terminé, sélectionnez NON à l'invite AUTRE PAGE?
L'appareil se remet en mode prét. L'écran affiche un message vous indiquant que le mode prét est activé et qu'un envoi en différé estprogrammé.
Ajout de documents à une tâche de télécopie différée et réservée
Vou puez ajouter d'autres documents à la tâche de télécopie différée enregistrée en mémoire.
- Chargez les originaux à ajouter et réglez les paramètres du document.
- Appuyez sur la touche Menu du panneau de commande.
- Appuyez sur la flèche gauche/droite jusqu'à ce que 1.FAX s'affiche, puis appuyez sur OK.
- Appuyez sur la flèche gauche/droite jusqu'à ce que AJOUTER PAGE s'affiche, puis appuyez sur OK.
- Appuyez sur la flèche gauche/droite jusqu'à ce que la tâche de télécopie souhaïette apparaisse, puis appuyez sur OK. Lorsque vous avez terminé, Sélectionnez NON à l'invite AUTRE PAGE? L'appareil numérique l'original en mémoire.
- Appuyez sur Arrête/Suppr. pour revenir en mode prét.
Annulation d'une tâche de télécopie différée réservée
Vous pouvez annuler la tâche de télécopie différée enregistrée en mémoire.
- Appuyez sur la touche Menu du panneau de commande.
- Appuyez sur la flèche gauche/droite jusqu'à ce que 1.FAX s'affiche, puis appuyez sur OK.
- Appuyez sur la flèche gauche/droite jusqu'à ce que ANNULER TACHE s'affiche, puis appuyez sur OK.
- Appuyez sur la flèche gauche/droite jusqu'à ce que la tâche de télécopie souhaïée apparaisse, puis appuyez sur OK.
- Appuyez sur OK lorsque OUI s'affiche. La télécopie selectionnée est effacée de la mémoire.
- Appuyez sur Arrête/Suppr. pour revenir en mode prét.
Envoi d'une télécopie prioritaire
Utilisez cette fonction lorsqu'une télécopie prioritaire doit être envoyée avant toute autre opération programmée. L'original est mémorisé, puis envoyé immidiatementès la fin de l'opération en cours. En outre, les envois prioritaires interrompent les opérations d'envoi multiple entre deux envois (par exemple, à la fin de l'envoi au poste A et avant le début de l'envoi au poste B) ou deux tentatives de recomposition.
-
Appuyez sur la flèche gauche/droite jusqu'à ce que ENVOI PRIORIT. s'affiche, puis appuyez sur OK.
-
Introduisez le numéro du premier télécopieur de réception, puis appuyez sur OK.
-
Appuyez sur (Télécopie) sur le panneau de commande.
- Placez les originaux face imprimée vers le haut dans le chargeur de documents ou un seul original face imprimée vers le bas sur la vitre d'exposition.
- Vous pouvez ajuster la résolution et le contraste du document (voir « Configuration des paramètres de document » à la page 81).
- Appuyez sur la touche Menu du panneau de commande.
- Appuyez sur la flèche gauche/droite jusqu'à ce que 1.FAX s'affiche, puis appuyez sur OK.
Vous pouvez appuyer sur les numérodes de composition abrégée ou sélectionner un nombre de composition de groupe à l'aide de la touche Répertoire. Pour plus d'informations, voir « Configuration d'un carnet d'adresses » à la page 83.
- Introduisez le nom de tâche que vous souhaitez, puis appuyez sur OK. L'original est mémorisé avant d'être transmis.
- Si vous placez un original sur la vitre d'exposition, Sélectionnez OUI pour ajouter d'autres pages. Placez un autre original, puis appuyez sur OK.
Lorsque you've terminé, Sélectionnez NON à l'invite AUTRE PAGE?
L'appareil lance la numérisation et envoie la télécopie aux destinataires.
Réception d'une télécopie sur votre apparéil
Cette partie explique comment receivevoir une télécopie et déscrit les différentes méthodes de réception disponibles.
Modification des modes de réception
Par défaut, votre apparéil est préconfigured en mode FAX. Lorsque vous receivez une télécopie, l' apparéil répond à l'appel au bout d'un certain nombre de sonneries et la réception a lieu de façon automatique. Si vous souhaïez passer à un autre mode, reportez-vous aux étapes suivantes :
- Appuyez sur (Télécopie) sur le panneau de commande.
- Appuyez sur la touche Menu du panneau de commande.
- Appuyez sur la flèche gauche/droite jusqu'à ce que CONFIG. FAX s'affiche, puis appuyez sur OK.
- Appuyez sur la flèche gauche/droite jusqu'à ce que RECEPTION s'affiche, puis appuyez sur OK.
- Appuyez sur la flèche gauche/droite jusqu'à ce que MODE RECEPTION s'affiche, puis appuyez sur OK.
-
Appuyez sur la flèche gauche/droite jusqu'à ce que le mode de réception des télécopies souhaïte s'affiche.
-
FAX: répond à une télécopie entrante et passer immédiatement en mode de réception de télécopies.
- TEL : permet de receivevoir une télécopie en appuyant sur Ligne puis sur Départ. Si votre apparéil est équipé d'un combiné, vous pouvez receivevoir une télécopie en le décrochant.
- REP/FAX: à utiliser lorsqu'un répondeur est connecté à l'appareil. L'appareil répond aux appelents entrants et votre correspondant peut laisser un message sur le répondeur. Si le télécopieur détecte une tonalité de télécopie, l'appareil passée automatiquement en mode Fax pour recevoir la télécopie.
- DRPD : vous pouvez receivevoir un appel à l'aide de la fonction de détéction du motif de sonnerie distinct (DRPD). Le service
déléphonique de sonnerie distincte permet à un utiliser de se servir d'une seule ligne téléphonique pour répondre à différents numérios de téléphone. Pour plus d'informations, reportez-vous à la section « Réception des télécopies en mode DRPD » à la page 81.
- Appuyez sur OK pour enregistrer votre sélection.
- Appuyez sur Arreter/Suppr. pour revenir en mode prêt.

- Pour utiliser le mode REP/FAX, vous devez brancher un répondeur sur la prise gigogne à l'arrière de l'appareil.
- Si vous souhaitez éviter que d'autres personnes aient accès à vos documents, vous pouvez utiliser le mode de réception sécurisée. Avec ce mode, toutes les télécopies reçues sont enregistrées dans la mémoire. Pour plus d'informations, reportez-vous à la section « Réception en mode de réception sécurisée » à la page 81.
Réception manuelle en mode Tél
Vous pouvez receivevoir une télécopie en appuyant sur Ligne, puis en appuyant sur Départ lorsque vous entendez la tonalité de télécopie du télécopieur distant. L'appareil commence la réception du fax. Si votre apparéil est équipé d'un combiné, vous pouvez l'utiliser pour répondre auxAAPels.
Pour modifier le nombre de sonneries, reportez-vous à la section « Modification des options de configuration de télécopie » à la page 85.
Réception automatique en mode Répondeur/ Télécopie
Pour pouvoir utiliser ce mode, vous devez connecter un répondeur à la prise EXT située à l'arrière de l'appareil (voir « Vue arrêté » à la page 28). Si l'interlocuteur laïssse un message, le répondeur l'enregistre comme il le ferait en temps normal. Si votre appareil détecte une tonalité de télécopieur sur la ligne, il commence automatiquement la réception de la télécopie.

-
Si vous avez reglé l'appareil sur ce mode et que votre répondeur est étéint ou qu'aucun répondeur n'est connecté à la prise EXT, l'appareil passae automatiquement en mode Fax après un nombre de sonneries prédéfini.
-
Si vous répondeur est doté d'un compteur de sonneries paramétrable par l'utilisateur, règlez-le de sorte qu'il réponde aux appeals au bout d'une sonnerie.
-
Si vous étés en mode Tél et qu'un répondeur est connecté à l'appareil, vous devez éteindre le répondeur. Sinon, son message d'accueil interrompra votre conversation téléphonique.
ception manuelle de télécopies avec un téléphone kiliaire
Pour une utilisation optimale de cette fonction, vous devez brancher un téléphone auxiliaire sur la prise EXT située à l'arrière de l'appareil. Vous pouvez receivevoir une télécopie d'une personne avec qui vous âtes en train de parler au téléphone sans vous déplacer jusqu'àu télécopieur.
Lorsque vous receivez un appel sur le poste téléphonique et que vous percevez la tonalité de télécopie, appuyez sur les touches 9 du téléphone auxiliaire. L'appareil recoit la télécopie.
Appuyez sur les touches doucement et l'une après l'autre. Si vous continue à percevoir la tonalité de télécopie de la part du télécopieur de votre correspondant, appuyez à nouveau sur les touches 9.
9 est le code de réception prédéfini en usine. Les astérisques de début et de fin sont fixes, mais vous pouvez modifier le numéro du milieu par celui de votre choix. Pour plus d'informations concernant la modification du code, reportez-vous à « Modification des options de configuration de télécopie » à la page 85.
Réception des télécopies en mode DRPD
Le service téléphonique de sonnerie distincte permet à un utilisateur de se servir d'une seule ligne téléphonique pour répondre à différents numérios de téléphone. Le numéro utilisé pour vous appeler est identifiable grâce à un motif de sonnerie déterminé, constitué d'une série de signaux sonores plus ou moins longs. Cette fonction est souvent utilisée par les services qui répondent aux appeals destinés à plusieurs clients et qui ont besoin de connaître le numéro composé pour pouvoir répondre à l'appel de façon appropriée.
La fonction de détention du motif de sonnerie distincte (DRPD) permet à votre télécopier de mémoriser le motif de sonnerie auquel il doit répondre. Sauf modification ultérieure, ce motif de sonnerie sera toujours interprétré comme un appel de type télécopie. Tous les autres motifs sont transmis au poste téléphonique ou au répondeur relié au connecteur d'extension. Vous pouvez facilement interrompree ou modifier la fonction DRPD à n'importe quel moment.
Pour pouvoir utiliser l'option DRPD, demandez à votre opérateur d'installer le service de sonnerie distinctive sur votre ligne téléphonique. Pour configurer la détction de motifs de sonnerie distincte (DRPD), vous doivent désposer d'une seconde ligne téléphonique au même endroit ou prévoir qu'une personne compose votre numéro de télécopie depuis l'extérieur.
Pour configurer le mode DRPD :
- Appuyez sur (Télécopie) sur le panneau de commande.
- Appuyez sur la touche Menu du panneau de commande.
- Appuyez sur la flèche gauche/droite jusqu'à ce que CONFIG. FAX s'affiche, puis appuyez sur OK.
- Appuyez sur la flèche gauche/droite jusqu'à ce que RECEPTION s'affiche, puis appuyez sur OK.
- Appuyez sur la flèche gauche/droite jusqu'à ce que MODE RECEPTION s'affiche, puis appuyez sur OK.
- Appuyez sur la flèche gauche/droite jusqu'à ce que DRPD s'affiche, puis appuyez sur OK.
ATT. SONNERIE s'affiche sur l'écran.
- Appelez votre numero de télécopieur à partir d'un autre téléphone. Il n'est pas nécessaire d'effectuer l'objet à partir d'un télécopieur.
- Laissez sonner votre apparéil. L' apparéil a besoin de plusieurs sonneries pour apprendre la séquence.
Une fois cet apprenticeage effectué, l'écran affichera le message CONFIG DRPD TERMINE. Si la configuration DRPD échoue, ERREUR SONN. DRPD apparait.
Appuyez sur OK lorsque DRPD s'affiche, et recommence à partir de l'étape 6.

- Le mode DRPD doit être reconfiguré à chaque fois que vous modifiez le numéro de votre télécopieur ou que vous connectez l'appareil à une autre ligne téléphonique.
- Une fois le mode DRPD configuré,appelez à nouveau votre télécopieur pour vérifier que l'appareil répond avec une tonalité de fax. Composez ensuite un numéro différent attribué à la même ligne afin d'être certain que l'appel est transmis au poste téléphonique ou au répondeur branché sur la prise gigogne.
Réception en mode de réception sécurisée
Voupez empêcher les personnes non autorisées d'acceder à vos télécopies. Le mode de réception sécurisée permet d'interdire l'impression de toutes les télécopies reçues en votre absence. En mode de réception sécurisée, toutes les télécopies entrantes sont enregistrées dans la mémoire. Lorsque le mode est désactivé, toutes les télécopies enregistrées sont imprimées.
Activation du mode de réception sécurisée
- Appuyez sur (Télécopie) sur le panneau de commande.
- Appuyez sur la touche Menu du panneau de commande.
- Appuyez sur la flèche gauche/droite jusqu'à ce que 1.FAX s'affiche, puis appuyez sur OK.
- Appuyez sur la flèche gauche/droite jusqu'à ce que RECEP PROTEGEE s'affiche, puis appuyez sur OK.
- Appuyez sur la flèche gauche/droite jusqu'à ce que ACTIVE s'affiche, puis appuyez sur OK.
- Saisissez un mot de passer à 4 chiffres que vous souhaitez utiliser et appuyez sur OK.

Vous pouvez activer le mode de réception sécurisée sans définir de mot de passer, mais vous ne pouvez pas protégger vos télécopies.
- Saisissez à nouveau le mot de passer affin de le confirmer et appuyez sur OK.
- Appuyez sur Arrête/Suppr. pour revenir en mode prêt.
En mode de réception sécurisée, votre apparéil enregistre les télécopies reçues dans la mémoire et affiche RECEP PROTEGEE pour vous avertir qu'une télécopie a été reçue.
Impression des télécopies reçues
- Accédez au menu RECEP PROTEGEE en suivant les étapes 1 à 4 de « Activation du mode de réception sécurisée »
- Appuyez sur la flèche gauche/droite jusqu'à ce que IMPRIMER s'affiche, puis appuyez sur OK.
- Saisissez le mot de passer à quatre chiffres et appuyez sur OK. L'appareil imprime l'ensemble des télécopies enregistrées dans la mémoire.
Désactivation du mode de réception sécurisée
- Accédez au menu RECEP PROTEGEE en suivant les étapes 1 à 4 de « Activation du mode de réception sécurisée »
- Appuyez sur la flèche gauche/droite jusqu'à ce que DESACTIVE s'affiche, puis appuyez sur OK.
- Saisissez le mot de passer à quatre chiffres et appuyez sur OK. Le mode est alors désactivé et l'appareil imprime toutes les télécopies stockées en mémoire.
- Appuyez sur Arrête/Suppr. pour revenir en mode prêt.
Réception de télécopies en mémoire
Étant donné que vous appareil est un dispositif multifonctions, il peut recevoir des télécopies même en cours de copie ou d'impression. Si vous receivez une télécopie alors que vous étés en train d'effectuer une copie ou une impression, votre apparéil enregistre les télécopies entrantes dans sa mémoire. Puis, dés que vous avez fin de copier ou d'imprimer, l' apparéil se met automatiquement à imprimer la télécopie.
Configuration des paramètres de document
Avant d'envoyer une télécopie, modifier les paramètres suivants en fonction de votre document original, afin d'obtenir la meilleure qualité.
RESOLUTION
Les paramètres par défaut donnant de très bons résultats avec les documents originaux classiques contenant du texte. Cependant, si vous envoyez des originaux peu visibles ou contenant des photographies, vous pouvez ajuster la résolution pour obtenir une télécopie de qualité supérieure.
- Appuyez sur (Télécopie) sur le panneau de commande.
- Appuyez sur la touche Menu du panneau de commande.
- Appuyez sur la flèche gauche/droite jusqu'à ce que 1.FAX s'affiche, puis appuyez sur OK.
- Appuyez sur la flèche gauche/droite jusqu'à ce que RESOLUTION s'affiche, puis appuyez sur OK.
- Appuyez sur la flèche gauche/droite jusqu'à ce que l'option souhaïée apparaisse, puis appuyez sur OK.
- Appuyez sur Arrête/Suppr. pour revenir en mode prét.
Les paramétrages de résolution recommendés pour les différents types d'originaux sont décrits dans le tableau ci-dessous :
| Mode | Recommendé pour : |
| STANDARD | Originaux comportant des caractères de taillenormale. |
| SUPERIEURE | Originaux contenant de petits caractères ou des lignes fines ou originaux imprimés à l'aide d'uneimprimante matricielle. |
| OPTIMALE | Originaux contenant des détails extrémement fins. La résolution OPTIMALE n'est activée que si l'appareil avec lequel vous communiquez la prend égalementen charge. |
| • Le mode OPTIMALE n'est pas disponible lors de l'envoi de documents mémorisés. La résolution est automatiquement réglée surSUPERIEURE. | |
| • Si la résolution de votre apparéil est régée sur OPTIMALE et que le télécopieur aveclequel vous communiquez ne prend pas encharge la résolution OPTIMALE, l' apparéiltransmet les données en appliquant larésolution la plus élevé acceptée par ce télécopieur. | |
| FAX PHOTO | Originaux contenant des niveaux de gris ou desphotographies. |
| FAX COULEUR | Originaux comportant des couleurs. L'envoi d'un faxcouleur n'est activé que si l' apparéil avec lequel vous communiquez prend également en charge laréception de fax couleur et que vous envoyez le faxmanuellement. Dans ce mode, l'envoi de documentsmémorisés n'est pas disponible. |

Le paramètre de résolution est appliqué au travail de télécopie en cours. Pour modifier le paramètre par défaut, reportez-vous à la section « Modifier défaut » à la page 87.
LUMINOSITE
You pouvez selectionner le niveau de contraste du document original.
- Appuyez sur (Télécopie) sur le panneau de commande.
- Appuyez sur la touche Menu du panneau de commande.
- Appuyez sur la flèche gauche/droite jusqu'à ce que 1.FAX s'affiche, puis appuyez sur OK.
- Appuyez sur la flèche gauche/droite jusqu'à ce que LUMINOSITE s'affiche, puis appuyez sur OK.
- Appuyez sur la flèche gauche/droite jusqu'à ce que l'options souhaïtées apparaissée, puis appuyez sur OK.
- Appuyez sur Arrête/Suppr. pour revenir en mode prêt.
Le paramètre de contraste est appliqué au travail de télécopie en cours. Pour modifier le paramètre par défaut, reportez-vous à la section « Modifier défaut » à la page 87.
Transfert d'une télécopie vers une autre destination
Vous pouvez configurer l'appareil pour transférer une télécopie reçue ou envoyée vers une autre destination par télécopie. Cette fonction peut être utile si vous n'êtes pas au bureau et que vous attendez une télécopie.
Transfert d'une télécopie envoyee vers une autre destination
Vous pouvez configurer l'appareil pour transférer toutes vos télécopies envoyées vers une autre destination.
- Appuyez sur (Télécopie) sur le panneau de commande.
- Appuyez sur la touche Menu du panneau de commande.
- Appuyez sur la flèche gauche/droite jusqu'à ce que 1.FAX s'affiche, puis appuyez sur OK.
- Appuyez sur la flèche gauche/droite jusqu'à ce que REROUTAGE s'affiche, puis appuyez sur OK.
- Appuyez sur la flèche gauche/droite jusqu'à ce que FAX s'affiche, puis appuyez sur OK.
- Appuyez sur la flèche gauche/droite jusqu'à ce que RENVOI EMISS. s'affiche, puis appuyez sur OK.
- Appuyez sur la flèche gauche/droite jusqu'à ce que ACTIVE s'affiche, puis appuyez sur OK.
- Indiquez le numero du télécopier voulu, puis appuyez sur OK.
- Appuyez sur Arrête/Suppr. pour revenir en mode prét. Les télécopies envoyées suivantes seront transférées vers le télécopieur indiqué.
Transfert d'une télécopie reçue vers une autre destination
Grac à cette fonction, vous pouvez transférer toutes vos télécopies reçues vers une autre destination. Lorsque l'appareil recoit une télécopie, celle-ci est stockée en mémoire puis l'appareil la transmet à la destination spécifiée.
- Appuyez sur (Télécopie) sur le panneau de commande.
- Appuyez sur la touche Menu du panneau de commande.
- Appuyez sur la flèche gauche/droite jusqu'à ce que 1.FAX s'affiche, puis appuyez sur OK.
-
Appuyez sur la flèche gauche/droite jusqu'à ce que REROUTAGE s'affiche, puis appuyez sur OK.
-
Appuyez sur la flèche gauche/droite jusqu'à ce que FAX s'affiche, puis appuyez sur OK.
- Appuyez sur la flèche gauche/droite jusqu'à ce que RECEP. TRANSF. s'affiche, puis appuyez sur OK.
- Appuyez sur la flèche gauche/droite jusqu'à ce que REROUTAGE s'affiche, puis appuyez sur OK. Pour paramétrer l'appareil pour qu'il imprime une télécopie lorsque le transfert est terminé, sélectionnez REROUT.&IMPR.
- Indiquez le numero du télécopier voulu, puis appuyez sur OK.
- Saisissez l'heure de début à l'aide de la flèche gauche/droite ou du pavé numérique, puis appuyez sur OK.
- Saisissez l'heure de fin à l'aide de la flèche gauche/droite ou du pavé numérique, puis appuyez sur OK.
- Appuyez sur Arrête/Suppr. pour revenir en mode prét. Les télécopies reçues suivantes seront transférées vers le télécopieur indiqué.
Configuration d'un carnet d'adresses
Voussouspouce configurer un Répertoire avec les numérodes de télécopie les plus fréquement utilisés. Voitrappareilvousproposeles fonctions suivantes pour paramétrrerleRépertoire:

Avant de commencer à enregistrer des numéroes de télécopie, assurez-vous que votre apparéil se trouve en mode télécopie.
Numérodescompositionabrégée
Vou puez enregistrer jusqu'à 200 numéroes de télécopie liéquement utilisés dans des numéroes de composition rapide.
Enregistrement d'un numéro abrégé
- Appuyez sur (Télécopie) sur le panneau de commande.
- Appuyez sur la touche Répertoire du panneau de commande.
- Appuyez sur la flèche gauche/droite jusqu'à ce que NOUVEAU&MODIF. s'affiche, puis appuyez sur OK.
- Appuyez sur la flèche gauche/droite jusqu'à ce que COMP. ABREGEE s'affiche, puis appuyez sur OK.
- Saisissez un numero abrégé compris entre 0 et 199, puis appuyez sur OK. Si une entrée est déjà enregistrée dans le numero choisi, l'écran affiche le message afin de vous permettre de le modifier. Pour mémoriser le numero à un autre emplacement mémoire, appuyez sur Retour.
- Introduisez le nom que vous souhaitez, puis appuyez sur OK. Pour plus de détails concernant la saisie de caractères alphanumeriques, reportez-vous à la section « Saisie de caractères à l'aide du pavé numérique » à la page 46.
- Saisissez le numéro de télécopie que vous souhaitez enregistrer, puis appuyez sur OK.
- Appuyez sur Arrête/Suppr. pour revenir en mode prêt.
Modification de numérios abrégés
- Appuyez sur (Télécopie) sur le panneau de commande.
- Appuyez sur la touche Répertoire du panneau de commande.
- Appuyez sur la flèche gauche/droite jusqu'à ce que NOUVEAU&MODIF. s'affiche, puis appuyez sur OK.
-
Appuyez sur la flèche gauche/droite jusqu'à ce que COMP. ABREGEE s'affiche, puis appuyez sur OK.
-
Saisissez le numéro abrégé que vous souhaitez modifier et appuyez sur OK.
6.Modifiez le nom et appuyez sur OK.
7.Modifiez le numero de telecopie et appuyez sur OK. - Appuyez sur Arrête/Suppr. pour revenir en mode prét.
Utilisation de numérores abrégés
Lorsque vous âtes invite à introduire un numéro de destination lors de l'envoi d'une télécopie, saisissez le numéro abrégé auquel vous avez affecté le numéro souhaïte.
- Pour un numéro abrégé à un chiffre (0 à 9), pressez et maintenez enforcée la touche numérique correspondante sur le clavier numérique.
- Pour composer un numéro abrégé à deux ou trois chiffres, appuyez sur la ou les premières touches appropriées, puis appuyez sur la的最后一 touche et maintenez-la enforcée.
Vous pouvez également rechercher une entrée dans la mémoire en appuyant sur CARNET ADRES. (voir « Recherche d'une entrée dans le Carnet d'adresses » à la page 84).
Numérodescompositiondegroupe
Si vous envoyez féquèment un même document à plusieurs destinataires, vous pouvez grouper ces destinataires et les affecter à un numéro de composition de groupe. Vous pouvez alors utiliser un numéro de composition de groupe pour envoyer un document à tous les destinataires au sein du groupe. Vous pouvez configurer 100 (0 à 99) numérios de composition de groupe à l'aide des numérios abrégés existant de destination.
Enregistrement d'un numéro de composition de groupe
- Appuyez sur (Télécopie) sur le panneau de commande.
- Appuyez sur la touche Répertoire du panneau de commande.
- Appuyez sur la flèche gauche/droite jusqu'à ce que NOUVEAU&MODIF. s'affiche, puis appuyez sur OK.
- Appuyez sur la flèche gauche/droite jusqu'à ce que COMP. GROUPE s'affiche, puis appuyez sur OK.
- Saisissez un numero de composition de groupe compris entre 0 et 99, puis appuyez sur OK. Si une entrée est déjà enregistrée dans le numero choisi, l'écran affiche le message afin de vous permettre de le modifier.
- Introduisez le nom que vous souhaitez, puis appuyez sur OK. Pour plus de détails concernant la saisie de caractères alphanumeriques, reportez-vous à la section « Saisie de caractères à l'aide du pavé numérique » à la page 46.
- Saisissez les premières lettres du nom de composition abrégée souhaité.
- Appuyez sur la flèche gauche/droite jusqu'à ce que le nom et le nombre souhaités apparaisent, puis appuyez sur OK.
- Appuyez sur OK lorsque OUI s'affiche à l'invite AUTRE NO.? Répétez l'étape 7 pour inclure d'autres numérios abrégés dans le groupe.
- Lorsque vous avez terminé, appuyez sur la flèche gauche/droite pour sélectionner NON à l'invite AUTRE NO.? , puis appuyez sur OK.
- Appuyez sur Arrête/Suppr. pour revenir en mode prêt.
Modification d'un numéro de composition de groupe
- Appuyez sur (Télécopie) sur le panneau de commande.
- Appuyez sur la touche Répertoire du panneau de commande.
- Appuyez sur la flèche gauche/droite jusqu'à ce que NOUVEAU&MODIF. s'affiche, puis appuyez sur OK.
- Appuyez sur la flèche gauche/droite jusqu'à ce que COMP. GROUPE s'affiche, puis appuyez sur OK.
- Saisissez le numéro de composition de groupe que vous souhaitez modifier et appuyez sur OK.
- Saisissez le nom que vous souhaitez modifier et appuyez sur OK.
- Saisissez les premières lettres du nom de composition abrégée que vous souhaitez ajouter ou supprimer.
- Appuyez sur la flèche gauche/droite jusqu'à ce que le nom et le numéro souhaités apparaiscent, puis appuyez sur OK.
Si vous avez introduit un nouveau numero abrégé, AJOUTER ? s'affiche.
Si vous entrez un numero abrégé enregistré dans le groupe, SUPPRIMER ? s'affiche.
- Appuyez sur OK pour ajouter ou supprimer le numero.
- Appuyez sur OK lorsque OUI s'affiche, pour ajouter ou supprimer d'autres numérores, puis repêze les étapes 7 et 8.
- Lorsque vous avez terminé, appuyez sur la flèche gauche/droite pour sélectionner NON à l'invite AUTRE NO.? , puis appuyez sur OK.
- Appuyez sur Arreter/Suppr. pour revenir en mode prêt.
Utilisation des numérores de composition de groupe
Pour utiliser une entrée de composition de groupe, vous devez la recherche et la sélectionner dans la mémoire.
Lorsqu'on vous invite à introduire un numéro lors de l'envoi d'une télécopie, appuyez sur Répertoire. Voir ci-dessous.
Recherche d'une entrée dans le Carnet d'adresses
Il existe deux manières de retrouver un numéro en mémoire. Vous pouvez soit l'explorer de façon sequentière de A à Z, soit l'explorer à l'aide des premières lettres du nom associé au numéro.
Recherche séquentielledans lamémoire
- Appuyez sur (Télécopie) sur le panneau de commande.
- Appuyez sur la touche Répertoire du panneau de commande.
- Appuyez sur la flèche gauche/droite jusqu'à ce que RECH.&COMPOSER s'affiche, puis appuyez sur OK.
- Appuyez sur la flèche gauche/droite jusqu'à ce que COMP. GROUPE s'affiche, puis appuyez sur OK.
- Appuyez sur la flèche gauche/droite jusqu'à ce que TOUS s'affiche, puis appuyez sur OK.
- Appuyez sur la flèche gauche/droite jusqu'à ce que le nom et le numéro souhaités s'affiche. Vous pouvez rechercher vers le haut ou vers le bas dans l'ensemble de la mémoire et par ordre alphabétique.
Recherche séquentielle dans la mémoire
- Appuyez sur (Télécopie) sur le panneau de commande.
- Appuyez sur la touche Répertoire du panneau de commande.
-
Appuyez sur la flèche gauche/droite jusqu'à ce que RECH.&COMPOSER s'affiche, puis appuyez sur OK.
-
Appuyez sur la flèche gauche/droite jusqu'à ce que COMP. GROUPE s'affiche, puis appuyez sur OK.
- Appuyez sur la flèche gauche/droite jusqu'à ce que ID s'affiche, puis appuyez sur OK.
- Saisissez les premières lettres du nom que vous recherchez.
- Appuyez sur la flèche gauche/droite jusqu'à ce que le nom et le nombre de composition de groupe souhaités s'affichent.
Suppression d'une entrée du carnet d'adresses
- Appuyez sur (Télécopie) sur le panneau de commande.
- Appuyez sur la touche Répertoire du panneau de commande.
- Appuyez sur la flèche gauche/droite jusqu'à ce que SUPPRIMER s'affiche, puis appuyez sur OK.
- Appuyez sur la flèche gauche/droite jusqu'à ce que l'options de suppression souhaïée s'affiche, puis appuyez sur OK.
- Appuyez sur la flèche gauche/droite jusqu'à ce que la méthode d'interrogation souhaïée s'affiche, puis appuyez sur OK.
Sélectionnez TOUT RECH. pour rechercher une entrée en parcourant toutes les entrées du carnet d'adresses Répertoire. Sélectionnez RECH. ID pour rechercher une entrée par les premières lettres du nom.
- Appuyez sur la flèche gauche/droite jusqu'à ce que le nom souhaité s'affiche, puis appuyez sur OK.
Ou, introduizez les premières lettres. Appuyez sur la flèche gauche/ droite jusqu'à ce que le nom souhaité s'affiche, puis appuyez sur OK.
- Appuyez sur OK lorsque OUI s'affiche pour confirmer la suppression.
- Appuyez sur Arrête/Suppr. pour revenir en mode prêt.
Impression du carnet d'adresses
Vous pouvez vérifier les paramètres du Répertoire en imprimant une liste.
- Appuyez sur (Télécopie) sur le panneau de commande.
- Appuyez sur la touche Répertoire du panneau de commande.
- Appuyez sur la flèche gauche/droite jusqu'à ce que IMPRIMER s'affiche, puis appuyez sur OK.
L'impression démarre.
Impression automatique d'un rapport de télécopie
Vous pouvez paramétrel l'appareil pour qu'il imprime un journal avec des informations détaillées concernant les 50 opérations de communication précédentes, notamment l'heure et la date.
- Appuyez sur (Télécopie) sur le panneau de commande.
- Appuyez sur la touche Menu du panneau de commande.
- Appuyez sur la flèche gauche/droite jusqu'à ce que CONFIG. FAX s'affiche, puis appuyez sur OK.
- Appuyez sur la flèche gauche/droite jusqu'à ce que JOURNAL AUTO s'affiche, puis appuyez sur OK.
- Appuyez sur la flèche gauche/droite jusqu'à ce que ACTIVE s'affiche, puis appuyez sur OK.
- Appuyez sur Arrête/Suppr. pour revenir en mode prêt.
État de l'appareil et caractéristiques avancées
Ce chapitre vous explique comment naviguer dans les options d'etat de l'appareil et comment définir les paramétres de configuration avancée. Lisez attentivement ce chapitre pour pouvoir utiliser toutes les fonctions de l'appareil.
Ce chapitre contient les sections suivantes :
- Configuration de fax
- Configuration de copie
Impression d'un journal

Selon les options ou le modele de votre apparéil, il est possible que certains menus ne s'affichent pas à l'écran. Dans ce cas, votre apparéil ne les prend pas en charge.
Configuration de fax
Modification des options de configuration de télécopie
Votre apparéil possède diverses options personnalisables pour la configuration du télécopieur. Vous pouvez modifier les paramètres par défaut selon vos préférences et besoin.
Pour modifier les options de configuration de télécopie :
- Appuyez sur FAX.
- Appuyez sur la touche Menu du panneau de commande.
- Appuyez sur la flèche gauche/droite jusqu'à ce que CONFIG. FAX s'affiche, puis appuyez sur OK.
- Appuyez sur la flèche gauche/droite jusqu'à ce que l'options de configuration de télécopie souhaïette apparaisse, puis appuyez sur OK.
- Appuyez sur la flèche gauche/droite jusqu'à ce que l'options souhaïtée apparaisse, puis appuyez sur OK.
- Appuyez sur la flèche gauche/droite jusqu'à ce que l'état souhaité s'affiche ou saississez la valeur pour l'option sélectionnée, puis appuyez sur OK.
- Le cas échéant, repêze les étapes 4 à 6.
- Appuyez sur Arreter/Suppr. pour revenir en mode prêt.
Envoi
| Option | Description |
| DELAIS RECOMP. | Vous pouvez spécifique le nombre de rappels. Si vous saississez la valeur 0, l'appareil ne recompose pas le numéro. |
| INTERV RECOMPO | Votre apparéil peut rappeler automatiquement un télécopieur distant si celui-ci est occupé. Vous pouvez définir un intervalle entre les tentatives. |
| PREFIX RECOMP | Vous pouvez définir un préfixe compteant jusqu'à cinq chiffres. Ce numéro est composé devant tout numéro automatique. Cette option s'avère pratique pour accéder aux autocommutateurs privés. |
Effacement de la mémoire
Réseau
- Présentation des menus
| Option | Description |
| MODE ECM | Ce mode permet de compenser la mauvaise qualité de la ligne et de garantir les envois de télécopie effectuels vers des télécopieurs dotés de ce mode. L'envoi de télécopie avec l'ECM prend plus de temps. |
| ENVOI JOURNAL | Vous pouvez configurer votre apparéil pour qu'il imprime un journal de confirmation indiquant si la transmission a bien eu lieu, le nombre de pages envoyées, etc. Les options disponibles sont ACTIVE, DESACTIVE et SI ERREUR, qui ne générent de journal que si la transmission échoue. |
| IMAGE TCR | Cette fonction permet aux utilisateurs de savoir quelles télécopies ont été envoyées en indiquant les messages envoyés dans le journal de confirmation de transmission. La première page du message est transformée en un fjichier image qui est imprimé sur le journal de confirmation de transmission pour que les utilisateurs puissant voir quels messages ont été envoyés. Cependant, vous ne pouvez pas utiliser cette fonction lorsque vous envoyez des télécopies sans enregistrer les données dans la mémoire. |
| MODE COMPOS. | Ce paramètre n'est peut-être pas disponible en fonction du pays dans lequel vous résiduez. Si vous n'arrivez pas à acceder à cette option, votre apparéil ne prend pas en charge cette fonctionnalité.Vous pouvez définir le mode de numérorotation de votre apparéil sur numérorotation par fréquences vocales ou par impulsions. Si vous étés équipé d'un système de téléphonie public ou d'un système d'autocommutateur privé (PBX), il vous faudra peut-être sélectionner IMPULSION.Contactez votre opérateur téléphonique local si vous ne savez pas quel mode de numérorotation utiliser.Si vous sélectionnez IMPULSION, il se peut que certaines caractéristiques du téléphone ne soient pas disponibles. La numérorotation d'un numéro de téléphone ou de télécopie peut également être plus longue. |
Réception
| Option | Description |
| MODE RECEPTION | Vous pouvez sélectionner le mode de réception par défaut. Pour plus de détails concernant la réception de télécopies dans chaque mode, reportez-vous à la section « Modification des modes de réception » à la page 80. |
| NB. SONNERIES | Vous pouvez spécifique le nombre de sonneries au bout duquel l'appareil répond à un appel. |
| DONNEES RECEP. | Cette option permet à l'imprimante d'imprimer automatiquement le numéro de page, ainsi que la date et l'heure de réception, en bas de chaque page des télécopies reçues. |
| CODE DEM. REC. | Ce code permit de receivevoir une télécopie à partir d'un téléphone auxiliaire relié à la prise gigogne de votre télécopieur. Si vous décrochez le poste auxiliaire et percevez une tonalité de télécopie, saisissez le code. Il est préréglé sur *9*. |
| REDUCTION AUTO | Lors de la réception d'une télécopie dont les pages sont d'une longueur égale ou supérieure à celle du papier chargeé dans le bac d'alimentation, l'ordinateil peut réduire le format de l'original afin qu'il corresponde à celui du papier en question. Activez cette fonctionnalité pour réduire automatiquement les documents reçus. Lorsque cette fonction est paramétrée sur DESACTIVE, l'ordinateil ne peut pas réduire l'original de manière à le faire tener sur une page. L'original est alors imprimé à sa taille réelle et divisé sur deux pages au moins. |
| Option | Description |
| EFFACER TAILLE | Lors de la réception d'un document dont les pages sont d'une longueur égale ou supérieure à celle du papier chargé dans l'appareil, vous pouvez configurer ce dernier pour qu'il élimine une longueur spécifique en bas de la télécopie reçue. La machine imprimera la télécopie reçue sur une ou plus feuilles, moins les données qui auraient dû se trouver sur la partie éliminée.Lorsque la télécopie reçue contient des pages plus grandes que le papier présente, et que REDUCTION AUTO a été activé, l'appareil réduit la télécopie pour qu'elle tienne sur la feuille présente, sans rien éliminer. |
| CFG FAX INDES. | Ce paramètre n'est peut-être pas disponible en fonction du pays dans lequel vous résiduez.Lorsque la fonction est activée, le télécopieur refuse toutes les télécopies provenant des systèmes distants dont les numérots ont été enregistrrés comme numéroros de télécopie indésirables. Cette fonction est utile pour bloquer tout fax indésirable.Lorsque vous activez cette fonction, vous pouvez utiliser les options suivantes pour définir les numéroros de télécopie indésirables.AJOUTER : vous permet de configurer jusqu'à 10 numéroros de télécopie.SUPPRIMER : vous permit de supprimer le numéro de télécopie indésirable de votrechoix. TOUT SUPPRIMER vous permit de supprimer tous les numéroros de télécopie indésirables. |
| MODE DRPD | Ce mode permet à un usager d'utiliser une même ligne téléphonique pour répondre à différents numérores de téléphone. Ce menu permet de configurer l'appareil pour qu'il sache à quelles tonalités de sonnerie répondre. Pour plus d'information sur cette fonction, reportez-vous à « Réception des télécopies en mode DRPD » à la page 81. |
Modifier défaut
| Option | Description |
| RESOLUTION | La modification du paramètre de résolution affecte l'aspect du document reçu. • STANDARD: Originaux comportant des caractères de taille normale. • SUPERIEURE: Originaux contenant de petits caractères ou des lignes fines ou originaux imprimés à l'aide d'une imprimante matricielle. • OPTIMALE: Originaux contenant des détails extrémement fins. La résolution OPTIMALE n'est activée que si l'appareil avec lequel vous communiquèz la prend également en charge. • Le mode OPTIMALE n'est pas disponible lors de l'envoi de documents mémorisés. La résolution est automatiquement réglée sur SUPERIEURE. • Si la résolution de votre apparéil est réglée sur OPTIMALE et que le télécopieur avec lequel vous communiquèz ne prend pas en charge la résolution OPTIMALE, l' apparéil transmet les données en appliquant la résolution la plus élevé acceptée par ce télécopieur. • FAX PHOTO: Originaux contenant des niveaux de gris ou des photographies. • FAX COULEUR: Originaux comportant des couleurs. L'envoi d'un fax couleur n'est activé que si l' apparéil avec lequel vous communiquèz prend également en charge la réception de fax couleur et que vous envoyez le fax manuellement. Dans ce mode, l'envoi de documents mémorisés n'est pas disponible. |
| LUMINOSITE | Vouss pouvez sélectionner le contraste par défaut afin d'obscürcir ou d'éclaircir les originaux transmis. |
Journal auto
Voues pouvez parameter l'appareil pour qu'il imprime un journal avec des informations détaillées concernant les 50 opérations de communication precedentes, notamment l'heure et la date.
Pour plus d'informations, reportez-vous à la section « Impression automatique d'un rapport de télécopie » à la page 84.
Configuration de copie
Modification des options de configuration de copie
Voussoupiez configurerplusieursoptionsàl'avance pourlestachesde copie.
- Appuyez sur la touche Copie du panneau de commande.
-
Appuyez sur la touche Menu du panneau de commande.
-
Appuyez sur la flèche gauche/droite jusqu'à ce que CONFIG. COPIE s'affiche, puis appuyez sur OK.
- Appuyez sur la flèche gauche/droite jusqu'à ce que l'option de configuration de copie souhaïée apparaisse, puis appuyez sur OK.
- Appuyez sur la flèche gauche/droite jusqu'à ce que l'options de configuration souhaitée apparaisse, puis appuyez sur OK.
- Appuyez sur la flèche gauche/droite jusqu'à ce que le paramètre souhaité apparaitse, puis appuyez sur OK.
- Repetez les étapes 4 à 6, si nécessaire.
- Appuyez sur Arrête/Suppr. pour revenir en mode prêt.
Modifier défaut
| Option | Description |
| COPIES | Vous peuvent saisir le nombre de copies à réaliser sur le pavé numérique. |
| COPIES ASSEMB. | Vous peuvent paramétre l'appareil afin qu'il trie les tirages d'une tâche de copie.Pour plus d'informations, reportez-vous à la section « Choix de la forme de sortie de la copie » à la page 69. |
| RED./AGRAND. | Permet de réduire ou d'agrandir le format de l'image copiée. |
| LUMINOSITE | Permet de régler la luminosité de manière à obtenir une copie plus lisible lorsque l'original comporte des inscriptions claires ou des images sombres. |
| TYPE DOC. | Permet d'améliorer la qualité de copie grâce à la sélection du type de document en cours. |
Impression d'un journal
Voussoupiezimprimerunjournalsurlaconfigurationde lamachine,la listedespolices,etc.
- Appuyez sur la touche Menu du panneau de commande.
- Appuyez sur la flèche gauche/droite jusqu'à ce que CONFIG SYSTEME s'affiche, puis appuyez sur OK.
- Appuyez sur la flèche gauche/droite jusqu'à ce que JOURNAL s'affiche, puis appuyez sur OK.
- Appuyez sur la flèche gauche/droite jusqu'à ce que le journal ou la liste que vous souhaitez imprimer apparaisse, puis appuyez sur OK. Pour imprimer tous les journaux et toutes les listedes, Sélectionnez JOURNAL GEN.
- Appuyez sur OK quand OUI apparaît pour confirmer l'impression. Les informations sélectionnées sont imprimées.
| Option | Description |
| CONFIGURATION | Cette liste indique l'état des options configurable. Vous pouvez imprimer cette liste pour confirmer vos modifications après avoir modifié des paramètres. |
| REPERTOIRE | Cette liste indique tous les numérodes de télécopie actuellément enregistrérés dans la mémoire de l'appareil. |
| ENVOI JOURNAL | Ce relevé indique le numérode télécopie, le nombre de pages, la durée totale, le mode de communication et le résultat de la transmission. Vous pouvez paramétrrer votre appareil pour imprimer automatiquement un journal de confirmation de transmission après chaque tâche de télécopie (voir « Envoi » à la page 85). |
| JOURN ENVOIS | Cette liste contient des renseignements sur les dernières télécopies envoyées. Vous pouvez paramétrrer l'appareil pour imprimer automatiquement ce rapport toutes les 50 communications (voir « Envoi » à la page 85). |
| JOURN REC. FAX | Cette liste contient des renseignements sur les dernières télécopies reçues. |
| TRAV. PROGRAM. | Cette liste indique les documents actuellément stockés correspondant à des télécopies différées, avec l'heure de début et le type de chaque opération. |
| JOURN FAX IND. | Cette liste indique les numérodes de télécopie désignés comme numérodes de télécopie indésirables. Pour ajouter ou supprimer des numérods dans cetteliste, accédez au menu de «?Junk Fax Setup?» (voir « Réception » à la page 86). |
| INFO. RESEAU | Cette liste donn des informations sur la connexion réseau et la configuration de votre apparéil. |
Voupez également acceder aux informations d'etat de l'appareil et les imprimer avec SyncThru™ Web Service. Ouvrez le navigateur Web de votre ordinateur en réseau et saississez l'adresse IP de l'appareil. Lorsque SyncThru™ Web Service s'ouvre, cliquez sur Informations > Imprimer informations.

Effacement de la mémoire
Vou puevez effacer de façon selective des informations stockées sur la mémoire de votre apparéil.
- Appuyez sur la touche Menu du panneau de commande.
- Appuyez sur la flèche gauche/droite jusqu'à ce que CONFIG SYSTEME s'affiche, puis appuyez sur OK.
- Appuyez sur la flèche gauche/droite jusqu'à ce que EFFACER REGL. s'affiche, puis appuyez sur OK.
- Appuyez sur la flèche gauche/droite jusqu'à ce que l'élement à effacer apparaisse, puis appuyez sur OK.
- Appuyez sur OK lorsque OUI s'affiche pour confirmer la suppression.
- Pour effacer un autre élément, repétez les étapes 4 à 5.
- Appuyez sur Arrête/Suppr. pour revenir en mode prêt.

Selon les options ou le modele de votre apparéil, il est possible que certains menus ne s'affichent pas à l'écran. Dans ce cas, votre apparéil ne les prend pas en charge.
| Option | Description |
| TOUS REGLAGES | Efface toutes les données stockées dans la mémoire et réinitialise tous vos paramètres aux valeurs par défaut d'origine. |
| CONFIG. FAX | Restaure toutes les options de télécopie à leurs valeurs par défaut d'origine. |
| CONFIG. COPIE | Restaure toutes les options de copie à leurs valeurs par défaut d'origine. |
| CONFIG NUMER. | Restaure toutes les options de numérisation à leurs valeurs par défaut d'origine. |
| CONFIG SYSTEME | Restaure toutes les options système à leurs valeurs par défaut d'origine. |
| CONFIG RESEAU | Restaure toutes les options reseau à leurs valeurs par défaut d'origine. |
| REPERTOIRE | Efface toutes les entrées de nombres de télécopie enregistrées en mémoire. |
| JOURN ENVOIS | Efface toutes les données concernant les télécopies envoyées. |
| JOURN RECEPT. | Efface toutes les données concernant les télécopies reçues. |
Réseau
Vous pouvez configurer le réseau via l'écran tactile de l'appareil. Vous ne devez avant tout connaître les types de protocôles réseau et le système d'exploitation utilisés. Si vous ne savez pas quels paramètres utiliser, contactez notre administrateur réseau.
- Appuyez sur la touche Menu du panneau de commande.
- Appuyez sur la flèche gauche/droite jusqu'à ce que Réseau s'affiche, puis appuyez sur OK.
- Appuyez sur la flèche gauche/droite jusqu'à ce que l'option de configuration souhaïée apparaisse, puis appuyez sur OK.
- Appuyez sur la flèche gauche/droite jusqu'à ce que le paramètre souhaité apparaisse, puis appuyez sur OK.
- Repetez les étapes 3 à 4, si nécessaire.
- Appuyez sur Arrête/Suppr. pour revenir en mode prét.
| Option | Description |
| TCP/IP (IPv4) | Permet de sélectionner le protocole approprié et de configurer les paramètres à utiliser dans l'environnement réseau. De nombreux paramètres doivent être définis. En cas de doute, conservez les paramètres par défaut ou contactez votre administrateur réseau. |
| TCP/IP (IPv6) | Sélectionnez cette option pour utiliser l'environnement réseau via IPv6 (voir « Configuration IPv6 » à la page 43). |
| VIT. ETHERNET | Permet de configurer la vitesse de transmission du réseau. |
| EFFACER REGL. | Permet de restaurer les paramètres réseau à leurs valeurs par défaut. |
| INFO. RESEAU | Cette liste donn des informations sur la connexion réseau et la configuration de votre appareil. |
Présentation des menus
Le panneau de commande permet d'acceder à différents menus pour configurer l'appareil ou utiliser ses fonctions. Ces menus sont accessibles en appuyant sur Menu.
Selon les options ou le modele de votre apparéil, il est possible que certains menus ne s'affichent pas à l'écran. Dans ce cas, votre apparéil ne les prend pas en charge.
| Éléments | Option |
| 1.FAX | LUMINOSITE RESOLUTION ENVOI MULTIPLE ENV. DIFFERE ENVOI PRIORIT. REROUTAGE RECEP PROTEGEE AJOUTER PAGE ANNULER TACHE |
| CONFIG. FAX | ENVOI DELAIIS RECOMP. INTERV RECOMPO PREFIX RECOMP MODE ECM ENVOI JOURNAL IMAGE TCR MODE COMPOS. RECEPTION MODE RECEPTION NB. SONNERIES DONNEES RECEP. CODE DEM. REC. REDUCTION AUTO EFFACER TAILLE CFG FAX INDES. MODE DRPD MODIF. DEFAULT RESOLUTION LUMINOSITE JOURNAL AUTO |
| FONCT. COPIE | RED./AGRAND. LUMINOSITE TYPE DOC. MISE EN PAGE REGLER LE FOND |
| CONFIG. COPIE | TAILLE NUMER. MODIF. DEFAULT COPIES COPIES ASSEMB. RED./AGRAND. LUMINOSITE TYPE DOC. |
| CONFIG SYSTEME | CONFIG MACHINE ID MACHINE NO. MACH. FAX DATE & HEURE MODE HORLOGE LANGUE MODE PAR DEF. ECO ENERGIE TEMPORISATION EXPIR. IMPR. ALTITUDE ECO TONER CONFIG PAPIER FORMAT PAPIER TYPE PAPIER ALIM. PAPIER SON/VOLUME TONAL. CLAVIER TONAL. ALARME HAUT-PARLEUR SONNERIE JOURNAL JOURNAL GEN. CONFIGURATION REPERTOIRE ENVOI JOURNAL JOURN ENVOIS JOURN REC. FAX TRAV. PROGRAM. JOURN FAX IND. INFO. RESEAU MAINTENANCE EFF. MES. VIDE DUR VIE CONSO Alert ton faib NUMERO SERIES Empil. papier EFFACER REGL. TOUS REGLAGES CONFIG. FAX CONFIG. COPIE CONFIG NUMER. CONFIG SYSTEME CONFIG RESEAU REPERTOIRE JOURN ENVOIS JOURN RECEPT. |
| Éléments | Option |
| Réseau | TCP/IP (IPv4)DHCPBOOTPSATIQUE TCP/IP (IPv6)IPv6 activités Config. DHCPv6VIT. ETHERNETEFFACER REGL.INFO. RESEAU |
Ce chapitre presente les outils de gestion fournis pour vous aider à tirer pleinement parti de votre apparéil.
Ce chapitre contient les sections suivantes :
- Présentation des outils de gestion utiles
Utilisation de SyncThru™ Web Service
Utilisation du programme Smart Panel

Les fonctions et les périphériques optionnels pris en charge peuvent varier selon le modele. Veuillez vérifier le nom de votre modele. (Voir « Fonctionnalités par modele » à la page 26.)
Présentation des outils de gestion utiles
Les programmes ci-dessous facilitent l'utilisation de votre apparéil.
- « Utilisation de SyncThru™ Web Service » à la page 91.
- « Utilisation du programme Smart Panel » à la page 92.
« SmarThru » à la page 92. - « Utilisation de Linux Unified Driver Configurator » à la page 95.
Utilisation de SyncThru™ Web Service

La fenêtre SyncThru™ Web Service représentée dans ce mode d'emploi peut être différente en fonction de l'appareil utilisé.
Si vous avez connecté votreServeil à un réseau et que les paramètres réseau TCP/IP sont corrects, vous pouvez administrer votreServeil par l'intémédiaire de SyncThru™ Web Service, un serveur Web intégré. Utilisez SyncThru™ Web Service pour :
- Voir les informations concernant l'appareil et vérifier son état actuel.
- Modifier les paramètres TCP/IP et définir d'autres paramètres réseau.
- Modifier les préférences de l'imprimante.
- Paramétrer les notifications par e-mail pour informant de l' état de l'appareil.
- Obtérir de l'aide pour l'utilisation de l'appareil.
Accès à SyncThru™ Web Service
- Lancez un navigateur Web, comme Internet Explorer, depuis Windows. Entrez l'adresse IP de l'appareil (http://xxx.xxx.xxx.xxx) dans la zone d'adresse et appuyez sur la touche Entrée ou cliquez sur Atteindre.
-
Le site Web intégré de votre apparéil s'ouvre.
-
SmarThru
Utilisation du programme SetIP - Utilisation de Linux Unified Driver Configurator
Présentation de SyncThru™ Web Service

- Onglet Informations : cet onglet vous donne des informations générales concernant votre apparéil. Vous pouvez vérifier des paramètres, comme l'adresse IP de l' apparéil, la quantité restante de toner, des informations Ethernet, la version de microprogramme, etc. Vous pouvez également imprimer des rapportés comme un rapport d'erreur et d'autres.
- Onglet Config. appareil : cet onglet vous permet de définir les options prévues sur votre appareil.
- Onglet Config. réseau : cet onglet vous permet d'afficher et de modifier l'environnement réseau. Vous pouvez définir des paramétres comme TCP/IP, activation d'EtherTalk, etc.
- Onglet Maintenance: cet onglet vous permet de garder votre apparéil à jour en mettant à niveau le microprogramme et en paramétrant les informations de sécurité.
- Onglet Support: cet onglet vous permet de définir les informations de contact pour l'envoi de courrier électronique. Vous pouvez également vous connecter au site Web SEC ou télécharger des pilotes en Sélectionnant Link.
Paramétrage des informations de contact
Définissez les informations d'administrateur de l'appareil ; ce réglage est nécessaire pour utiliser l'options de notification par courrier électronique.
- Lancez un navigateur Web, comme Internet Explorer, depuis Windows. Entrez l'adresse IP de l'appareil (http://xxx.xxx.xxx.xxx) dans la zone d'adresse et appuyez sur la touche Entrée ou cliquez sur Atteindre.
- Le site Web intégré de votre apparéil s'ouvre.
- Sélectionnez Support.
- Introduisez le nom de l'administrateur de l'appareil, son numero de téléphone, son emplacement ou son adresse électronique.
- Cliquez sur Appliquer.
Utilisation du programme Smart Panel
Smart Panel est un programme qui surveille l'etat de l'appareil et vous en informe, et vous permet de personneliser ses paramétres. Sous les systèmes d'exploitation Windows et Mac OS, Smart Panel est installé automatiquement lorsque vous installez le logiciel de l'appareil. Sous Linux, vous pouvez télécharger Smart Panel du site Web de Samsung et l'installer (voir « Installation de Smart Panel » à la page 36).

Pour utiliser ce programme, vous doivent disposer de la configuration minimale suivante :
- Windows. Vérifiez les systèmes d'exploitation Windows compatibles avec votre apparéil (voir « Configuration requise » à la page 33).
Mac OS X 10.3 ou supérieur.
Linux. Vérifie les systèmes Linux compatibles avec votre appareil (voir « Configuration requise » à la page 33). - Internet Explorer version 5.0 ou supérieure pour les animations Flash de l'aide HTML.
Si vous avez besoin de connaître le nom exact de votre apparéil, reportez-vous au CD du logiciel inclus avec l' apparéil.
Présentation de Smart Panel
Si une erreur survient au cours de l'impression, vous pouvez la contrôle dans le Smart Panel.
Vous pouvez également lancer manuellement Smart Panel. Double-cliquez sur I'icone Smart Panel de la barre des taches (sous Windows) ou de la zone Notification Area (sous Linux). Vous pouvez aussi cliquer sur I'icone de la barre d'etat (sous Mac OS X).
| Windows | Sous Windows, double-cliquez sur cette icône. | |
| Macintosh | Sous Mac OS X, cliquez sur cette icône. | |
| Linux | Sous Linux, cliquez sur cette icône. | |
Ou, si vous utilisez Windows, vous pouvez le lancer à partir du menu Demarrer, selectionner Programmes ou Tous les programmes > Samsung Printers > le nom de votre pilote d'impression > Smart Panel.

- Si vous avez déjà installé plusieurs apparciels Samsung, Sélectionnez tout d'abord le modele d'appareil voulu afin d'utiliser le programme Smart Panel correspondant.
Cliquez avec le bouton droit (sous Windows ou Linux) ou cliquez (sous Mac OS X) sur l'icone Smart Panel, puis selectionnez votre apparéil.
- La fenêtre Smart Panel et son contenu représentés dans ce mode d'emploi du logiciel peuvent être différents selon l'appareil et le système d'exploitation que vous utilisez.
Le programme Smart Panel affiche l'etat actuel de l'appareil, le niveau de toner restant dans les cartouches de toner et divers autres types d'informations. Vous pouvez également modifier les paramétres.

| 1 | Niveau de toner | Permet de connaître le niveau des cartouches de toner. L'appareil et le nombre de cartouches de toner indiqués dans la fenêtre ci-dessus peuvent différer selon l'appareil que vous utilisez. Cette caractéristique n'est pas présente sur toutes les imprimantes. |
| 2 | Acheter maintainant | Commander en ligne des cartouches de toner de remplacement. |
| 3 | Mode d'emploi | Afficher le Mode d'emploi. Ce bouton se transforme en Guide de dépannage en cas d'erreur. Vous pouvez ouvrir directement la section dépannage du mode d'emploi. |
| 4 | Paramètres d'imprimante | Configurez divers paramètres de l'appareil dans la fenêtre Utilitaire de paramétrage d'imprimante. Cette caractéristique n'est pas présente sur toutes les imprimantes. Si vous connectez votre appareil sur un réseau, la fenêtre SyncThru™ Web Service apparait à la place de la fenêtre Utilitaire de paramétrage d'imprimante. |
| 5 | Paramétrage du pilote | Définissez toutes les options de l'appareil dont vous avez besoin dans la fenêtre Options d'impression. Cette fonctionnalité n'est disponible que sous Windows (voir « Ouverture des préférences d'impression » à la page 58). |
Ouverture du Guide de dépannage
Trouvez des solutions aux problèmes en utilisant le Guide de dépannage.
Cliquez avec le bouton droit (sous Windows ou Linux) ou cliquez (sous Mac OS X) sur l'icone Smart Panel, puis selectionnez Guide de dépannage.
Modification des paramètres du programme Smart Panel
Cliquez avec le bouton droit (sous Windows ou Linux) ou cliquez (sous Mac OS X) sur l'icone Smart Panel, puis selectionné Options. Sélectionné les paramètres de votre choix dans la fenêtre Options.
Le CD du logiciel fourni vous fournit SmarThru. SmarThru vous propose des fonctionnalités commercés à utiliser avec votre apparéil.
Démarrage de SmarThru
Procedez comme suit pour démarrer SmarThru :
- Assurez-vous que l'appareil est correctement connecté à l'ordinateur et que tous les deux sont sous tension.
- Une fois que vous avez installé SmarThru, l'icone SmarThru apparaît sur le bureau.
- Double-cliquez sur I'icone SmarThru.

- SmarThru apparait.

- Numériser vers : permet de numériser une image et de l'enregistrer dans une application ou un dossier, de l'envoyer par messagerie électronique ou de la publier sur un site Web.
- Image : permet de modifier une image enregistrée sous la forme d'un fisier graphique, et de l'envoyer vers l'application ou le dossier sélectionné, de l'envoyer par messagerie électronique ou de la publier sur un site Web.
- Imprimer : permet d'imprimer des images enregistrées. Si vous appareil le permet, vous pouvez imprimer des images en noir et blanc ou en couleur.
Pour plus d'informations sur SmarThru, cliquez sur en haut à droite de la fenêtre. La fenêtre d'aide de SmarThru apparait ; vous pouvez afficher l'aide à l'écran fournie dans le programme SmarThru.

Procedez comme suit pour désinstaller SmarThru. Avant de lancer la procédure de désinstallation, vérifie que toutes les applications sont fermées sur votre PC.
a) Dans le menu Demarrer, selectionnez Programmes ou Tous les programmes.
b) Sélectionnez Samsung Printers > SmarThru 4 > Déinstaller SmarThru 4.
c) Lorsque l'ordinateur vous demande de confirmer la selection, lisez le message et cliquez sur OK.
d) Cliquez sur Terminer.
Utilisation de SmarThru
Numérisation
- Cliquez sur Numériser vers.

- Application : numérisation d'une image et placement de cette image dans une application de retouché d'images, comme Paint ou Adobe Photoshop.
- E-mail : numérisation d'une image et envoi par messagerie électronique de cette dernière. Permet de numériser une image, de la prévisualiser et de l'envoyer par messagerie électronique.

Pour envoyer une image par courrier électronique, vous doivent disposer d'un programme client de messagerie, comme Outlook Express, configuré pour utiliser toute compte de messagerie.
- Dossier : numérisation d'une image et enregistrement de cette dernière dans un dossier. Permit de numériser une image, de la prévisualiser et de l'enregistrer dans le dossier de votre choix.
-
OCR : numérisation d'une image et application de la reconnaissance optique des caractères. Permet de numériser une image, de la prévisualiser et de l'envoyer au logiciel de reconnaissance optique des caractères (OCR).
-
Option de numérisation recommandaee pour l'OCR.
- Résolution : 200 ou 300 ppp.
-
Type d'image : échelle de gris ou Noir et blanc.
-
Web : numérisation et prévisualisation d'une image, puis publication de cette image sur un site Web au format de fichier spécifique pour l'image.
-
Paramètres : personnelisation des paramètres des fonctions principales de Numériser vers. Permet de personneliser les paramètres des fonctions Application, E-mail, OCR et Web.
-
Définissez les paramètres de numérisation et cliquez sur Numériser.
Impression
- Cliquez sur Imprimer.
- Sélectionné le fichier que vous souhaitez imprimer.
- Sélectionnez l'appareil que vous souhaitez utiliser pour l'impression.
- Cliquez sur Imprimer pour demarrer la tache.
Utilisation du programme SetIP
Ce programme est utilisé pour le paramètre IP réseau utilisant l'adresse MAC qui correspond au nombre de série matériel de l'interface ou de la carte d'imprimante réseau.
Il permet notamment à l'administrateur réseau de définir simultanément plusieurs IP réseau.

Vous ne pouvez utiliser le programme SetIP que si vous appareil est connecté à un réseau.
Windows
Les instructions suivantes font reférence au système d'exploitation Windows XP.
Installation du programme
- Insérez le CD du logiciel fourni avec votre apparéil. Fermez la fenêtre d'exécution automatique du CD.
- Dans le menu Demarrer, Sélectionnez Poste de travail et ouvre le lecteur X (X représentée votre lecteur de CD-ROM).
- Double-cliquez sur Application > SetIP.
- Double-cliquez sur Setup.exe pour installer ce programme.
- Cliquez sur OK.
Au besoin, sélectionnez une langue dans la liste déroulante.
6. Suivez les instructions qui s'affichent à l'écran et terminez l'installation.
Impression de l'adresse MAC de l'appareil
- Appuyez sur la touche Menu du panneau de commande.
- Appuyez sur la flèche gauche/droite jusqu'à ce que Réseau s'affiche, puis appuyez sur OK.
- Appuyez sur la flèche gauche/droite jusqu'à ce que INFO. RESEAU s'affiche, puis appuyez sur OK.
You pouvez retrouver l'adresse MAC et l'adresse IP de votre apparéil.
Paramétrage des valeurs réseau
- Imprimez le rapport de configuration réseau de l'appareil pour trouver l'adresse MAC de votre apparéil.
- À partir du menu Démarrer de Windows, Sélectionnez Tous les programmes > Samsung Printers > SetIP > SetIP.
- Cliquez pour ouvrir la fenêtre de configuration TCP/IP.
- Saisissez l'adresse MAC de votre carte d'imprimante réseau, l'adresse IP, le masque de sous-résseau, la passerelle par défaut, puis cliquez sur Appliquer.

Saisissez l'adresse MAC sans les deux-points ():
- La machine imprime les informations réseau. Vérifiez que tous les paramètres sont corrects.
- Fermez le programme SetIP.
Macintosh
Le programme SetIP devrait être automatiquement installé lors de l'installation du pilote d'impression.
Impression de l'adresse MAC de l'appareil
- Appuyez sur la touche Menu du panneau de commande.
- Appuyez sur la flèche gauche/droite jusqu'à ce que Réseau s'affiche, puis appuyez sur OK.
- Appuyez sur la flèche gauche/droite jusqu'à ce que INFO. RESEAU s'affiche, puis appuyez sur OK.
You pouvez retrouver l'adresse MAC et l'adresse IP de votre apparéil.
Paramétrage des valeurs réseau
Si vous voulez changer le réglage IP de votre imprimante réseau, suivez les instructions ci-dessous.

Si vous avez sélectionné Installation standard sur imprimante réseau lors de l'installation du pilote d'impression, le programme SetIP se lance automatiquement après l'installation. Passez à l'étape 4.
- Imprimez le rapport de configuration réseau de l'appareil pour trouver l'adresse MAC de votre apparéil.
- Ouvrez le dossier Bibliothèque > Imprimantes > Samsung > le nom du modèle de votre imprimante > SetIP.
- Double-cliquez sur le fichier SetIPapplet.html.
- Lorsque la fenetre du certificat apparait, cliquez sur Se fier.
- Cliquez pour ouvrir la fenêtre de configuration TCP/IP.
- Saisissez l'adresse MAC de votre carte d'imprimante réseau, l'adresse IP, le masque de sous-résseau, la passerelle par défaut, puis cliquez sur Appliquer.

Saisissez l'adresse MAC sans les deux-points ():
- La machine imprime les informations réseau. Vérifiez que tous les paramètres sont corrects.
- Fermez le programme SetIP.
Linux
Le programme SetIP devrait être automatiquement installé lors de l'installation du pilote d'impression.
Impression de l'adresse MAC de l'appareil
- Appuyez sur la touche Menu du panneau de commande.
- Appuyez sur la flèche gauche/droite jusqu'à ce que Résseau s'affiche, puis appuyez sur OK.
- Appuyez sur la flèche gauche/droite jusqu'à ce que INFO. RESEAU s'affiche, puis appuyez sur OK.
Yououpouvezretrouverl'adressMacet l'adresseIPdevoirtepaareil.
Paramétrage des valeurs réseau
- Imprimerz le rapport de configuration réseau de l'appareil pour trouver l'adresse MAC de votre apparéil.
- Ouvrez /opt/Samsung/mfp/share/util/.
- Double-cliquez sur le fichier SetIPApplet.html.
- Cliquez pour ouvrir la fenêtre de configuration TCP/IP.
- Saisissez l'adresse MAC de votre carte d'imprimante réseau, l'adresse IP, le masque de sous-résseau, la passerelle par défaut, puis cliquez sur Appliquer.

Saisissez l'adresse MAC sans les deux-points ():
- La machine imprime les informations réseau. Vérifiez que tous les paramètres sont corrects.
- Fermez le programme SetIP.
Utilisation de Linux Unified Driver Configurator
Unified Driver Configurator est un outil principalement conçu pour configurer les péripériques de l'appareil. Vous devez installer Unified Linux Driver pour pouvoir utiliser Unified Driver Configurator (voir « Installation du pilote Linux unifié » à la page 36).
Après installation du pilote sur votre système Linux, l'icone Unified Driver Configurator est automatiquement créé sur le bureau.
Ouverture d'Unified Driver Configurator
- Double-cliquez sur l'icone Unified Driver Configurator du bureau.
Vous pouvez également cliquer sur l'icone Startup et selectionner Samsung Unified Driver > Unified Driver Configurator. - Cliquez sur les différents boutons sur la gauche pour ouvrir la fenêtre de configuration correspondante.

1 Printers configuration
2 Scanners configuration
3 Ports configuration

Pour utiliser l'aide à l'écran, cliquez sur Help.
- Une fois les configurations modifiées, cliquez sur Exit pour fermer Unified Driver Configurator.
Printers configuration
Printers configuration propose les deux ontlets : Printers et Classes.
Onglet Printers
Affichez la configuration de l'imprimante du système actuel en cliquant sur l'icone représentant l'imprimante, à gauche de la fenêtre Unified Driver Configurator.


PassenodePrintersconfiguration.

Affiche tous les apparciels installés.

Affiche l'etat, le nom du modele et l'URI de votre apparéil.
Les boutons de commande d'imprimante sont comme suit :
- Refresh : actualise la liste des appareils disponibles.
- Add Printer: permit d'ajouter un nouvel apparéil.
- Remove Printer : supprime l'appareil sélectionné.
- Set as Default : définit l'appareil sélectionné comme apparéil par défaut.
- Stop/Start: arrête/démarre l'appareil.
- Test : permet d'imprimer une page de test afin de s'assurer du bon fonctionnement de l'appareil.
Properties : permet d'afficher et de modifier les propriétés de l'imprimante.
Onglet Classes
L'onglet Classes affiche la liste des catégories d'appareils disponibles.

1 Affiche toutes les options classes d'appareil.
2 | Affiche l'etat de la catégorie et le nombre d'appareils dans cette catégorie.
- Refresh:actualise la liste des catégories.
- Add Class : permet d'ajouter un nouvel apparéil.
- Remove Class : supprime la classe d'appareil sélectionnée.
Cette fenêtre permet de surveiller l'activité des scanners, d'afficher une liste des péripériques Samsung installés, d'en modifier les propriétés, et de numériser des images.

1 Passe en mode Scanners configuration.
2 | Affiche tous les scanners installés.
3 | Affiche le fabricant, le nom du modele et le type du scanner.
Properties : permet de modifier les propriétés de numérisation et de numériser un document.
Ports configuration
Cette fenêtre permet d'afficher la liste des ports disponibles, de vérifier l'état de chaque port et de libérer un port qui reste occupé lorsque le processus propriétaire a été interrompu pour une raison quelconque.

1 Passe en mode Ports configuration.
2 Affiche tous les ports disponibles.
3 Affiche le type de port, le périhérique connecté au port et l'etat.
- Refresh : actualise la liste des ports disponibles.
- Release port: libre le port sélectionné.
Partage de ports entre imprimantes et scanners
Votre machine peut etre reliée a un ordinateur hote via un port parallle ou un port USB. Le periphérique contient plusieurs dispositifs (imprimante et scanner) ; par consequenc, vousdez organiser l'acces des diverses applications à ces dispositifs via le port d'E/S unique.
Le package de pilote Linux unifié offre un mécanisme de partage des ports ajustat,utilisé par les pilotes d'impression et de numérisation Samsung. Les pilotes communiquent avec leurs périhériques ce que l'on appelle des ports d'appareil. Vous pouvez afficher l'état actuel d'un port d'appareil dans Ports configuration. Le partage de ports permet d'éviter l'accès à un bloc fonctionnel du périhérique alors qu'un autre bloc est en cours d'utilisation.
Il est vivement recommendé d'utiliser le Unified Driver Configurator lors de l'installation d'une nouvelle imprimante sur votre système. Si vous le faites, vous serez invite àCHOISIR un port d'E/S pour le nouveau dispositif. Ce choix permet de définir la configuration la mieux adaptée, pour un fonctionnement optimal de I'appareil. Les ports d'E/S des scanners de I'appareil sont selectionnés automatiquement par les pilotes de numérisation ; les paramètres adéquats sont ainsi appliqués par défaut.
Le present chapitre fournit des informations sur la maintenance de votre apparéil et de la cartouche de toner.
Ce chapitre contient les sections suivantes :
Impression d'un journal de l'appareil
Suivi de la durée de vie des consommables
- Utilisation de l'alerte pour toner faible
Trouver le numero de série
Impression d'un journal de l'appareil
Vous pouvez imprimer un journal sur les informations et tâches de l'appareil.
- Appuyez sur la touche Menu du panneau de commande.
- Appuyez sur la flèche gauche/droite jusqu'à ce que CONFIG SYSTEME s'affiche, puis appuyez sur OK.
- Appuyez sur la flèche gauche/droite jusqu'à ce que JOURNAL s'affiche, puis appuyez sur OK.
- Appuyez sur la flèche gauche/droite jusqu'à ce que le rapport ou la liste souhaïte s'affiche, puis appuyez sur OK. Pour imprimer tous les journaux et toutes les listedes, Sélectionnez JOURNAL GEN.
- Appuyez sur la flèche gauche/droite pour afficher OUI à l'invite IMPRIMER ?, puis appuyez sur OK.

Vous pouvez utiliser SyncThru™ Web Service pour imprimer la configuration de l'appareil ou acceder aux informations d'etat. Ouvrez le navigateur Web de votre ordinateur en réseau puis saisissez l'adresse IP de votre apparéil. Lorsque SyncThru™ Web Service s'ouvre, cliquez sur Informations > Imprimer informations.
Suivi de la durée de vie des consommables
Si vous rencontres de féuents problèmes de bourrage papier ou d'impression, vérifie le nombre de pages que l'appareil a imprimé. Remplacez si nécessaire les pieces correspondantes.
- Appuyez sur la touche Menu du panneau de commande.
- Appuyez sur la flèche gauche/droite jusqu'à ce que CONFIG SYSTEME s'affiche, puis appuyez sur OK.
- Appuyez sur la flèche gauche/droite jusqu'à ce que MAINTENANCE s'affiche, puis appuyez sur OK.
- Appuyez sur la flèche gauche/droite jusqu'à ce que DUR VIE CONSO s'affiche, puis appuyez sur OK.
-
Appuyez sur la flèche gauche/droite jusqu'à ce que l'élement souhaité apparaisse, puis appuyez sur OK.
-
INFOS CONSO.: imprime la page d'informations concernant les fournitures.
TOTAL: affiche le nombre total de pages imprimées. - NUMÉRIS. ADF : affiche le nombre de pages numérisées à l'aide du chargeur automatique.
-
NUMERIS. VITRE : affiche le nombre de pages numériées à l'aide de la vente d'exposition.
-
Appuyez sur Arrête/Suppr. pour revenir en mode prét.
Nettoyage de l'appareil
Stockage de la cartouche de toner
- Conseils pour déplacer et ranger l'appareil
Utilisation de l'alerte pour toner faible
S'il ne reste qu'une petite quantité de toner dans la cartouche, le voyant Statut clignote en rouge. Vous pouvez désirir de faire clignoter ou non levoyant.
- Vérifiez que vous avez bien installé le pilote d'impression inclus dans le CD du logiciel d'imprimante fourni.
- Double-cliquez sur l'icone Smart Panel de la barre des tâches de Windows (ou de la zone Notification Area de Linux). Vous pouvez également cliquer sur Smart Panel de la barre d'état de Mac OS X.
- Cliques sur Paramètres d'imprimante.
- Cliquez sur Paramètres > Alerte Niveau de Toner Faible. Sélectionnéz le paramètre ajustat, puis cliquez sur Appliquer.
Trouver le numéro de série
Si vous vous connectez au site Web de Samsung, pour contacter le service de maintenance ou vous enregistrer en tant qu'utilisateur, suivez les étapes suivantes pour fournir le numéro de série de votre apparéil :
- Appuyez sur la touche Menu du panneau de commande.
- Appuyez sur la flèche gauche/droite jusqu'à ce que CONFIG SYSTEME s'affiche, puis appuyez sur OK.
- Appuyez sur la flèche gauche/droite jusqu'à ce que MAINTENANCE s'affiche, puis appuyez sur OK.
- Appuyez sur la flèche gauche/droite jusqu'à ce que NUMERO SERIAL S'affiche, puis appuyez sur OK.
- Relevez le numero de série de l'appareil.
- Appuyez sur Arrête/Suppr. pour revenir en mode prét.
Nettoyage de l'appareil
Si des problèmes de qualité d'impression surviennent, ou si vous utilisez leur apparéil dans un environnement poussièreux, vous devez nettoyer leur apparéil régulièrement afin de préserver des conditions d'impression optimale et augmenter la durée de vie de votre apparéil.

- Le nettoyage du boîtier de l'appareil avec des produits d'entretien contenant une forte teneur en alcool, solvant ou autre substance puissant peut décolorer ou endommager le boîtier.
- Si vous appeareil ou son environnement proche est salis par le toner, nous vous recommendons d'utiliser un tissu ou un chiffon humidifié avec de l'eau pour le nettoyer. Avec un aspirateur, vous risquez de faire voler le toner et d'être incommodé par le nuage ainsi formé.
Nettoyage de l'extérieur
Nettoyez le boitier de l'imprimante avec un chiffon doux non pelucheux.
Humidifiez légèrement le chiffon avec de l'eau, mais faites attention à ne pas laisser couler de liquide sur l'appareil ou à l'intérieur.
Nettoyage de l'intérieur
Lors de l'impression, des particules de poussière, de toner et de papier peuvent s'accumuler à l'intérieur de l'appareil. Cette accumulation risque d'entrainer des problèmes de qualité d'impression, tels que la présence de taches ou de trainées de toner. Le fait de nettoyer l'intérieur de l'appareil permet de supprimer et de diminuer ce genre de problèmes.
- Mettez l'appareil hors tension et débranche le cordon d'alimentation.
Attendez que l'appareil refroidisse. - Ouvrez le capot avant et retirez la cartouche de toner. Posez-la sur une surface plane et propre.


- Pour éviter d'endommager la cartouche de toner, ne l'expose pas à la lumière plus de quelques minutes. Si nécessaire, recouvre-la d'une feuille de papier.
-
Ne touche pas la surface verte située sous la cartouche de toner. Utilisez la poignée de la cartouche pour éviter de toucher la zone en question.
-
Avec un chiffon sec et non pelucheux, essuyez la poussière et les particules de toner accumulées autour des cartouches de toner et dans leurs cavités.


Lorsque vous nettoyez l'intérieur de l'appareil, évitez d'endommager le rouleau de transfert, ainsi que tout autre composant interne. N'utilise pas de solvant comme du benzène ou du diluant pour peinture. Des problèmes de qualité d'impression peuvent survenir et endommager l'appareil.
- Repérez le long rectangle en verre (LSU) dans la partie supérieure du compartment de la cartouche et nettoyez doucement le verre à l'aide d'un chiffon.

- Remettez la cartouche de toner en place et fermez le capot avant.
- Branchez le cordon d'alimentation et mettez l'appareil sous tension.
Nettoyage du scanner
En nettoyant régulièrement le module de numérisation, vous aurez l'assurance d'obtenir une qualité de copie optimale. Nous vous conseillons de nettoyer le module tous les matins et dans la journée, si besoin est.
- Humidifiez légèrement un chiffon doux non peluchex ou une serviette en papier avec de l'eau.
- Ouvrez le cache de la vitre d'exposition.
- Essuyez la vitre de numérisation et celle du chargeur de documents jusqu'à ce qu'elles soient propres et sèches.

1 Cache du scanner
2Vitre d'exposition
3Vitre du chargeur de documents
4 Barre blanche
- Nettoyez la face inférieure du capot du scanner et la barre blanche jusqu'à ce qu'ils soient propres et secs.
- Fermez le capot du scanner.
Les cartouches de toner contiennent des composants sensibles à la lumière, à la température et à l'humidité. Samsung conseille aux utilisateurs de suivre les recommandations afin d'optimiser les performances, la qualité et la durée de vie de votre nouvelle cartouché de toner Samsung.
Stockez cette cartouche dans le même environnement que celui dans lequel l'imprimante sera utilisée, à savoir dans des conditions de température et d'humidité de bureau contrôlées. La cartouche de toner doit rester dans son emballage d'origine, non ouvert, jusqu'à son installation - si vous ne disposez pas de l'emballage d'origine, couvrez l'ouverture supérieure de la cartouche avec du papier et stockez-la dans un meuble.
Ouvrir l'emballage de la cartouche avant son utilisation réduit de façon considérable sa durée de conservation et de fonctionnement. Ne stockez pas la cartouche à même le sol. Si vous retirez la cartouche de toner de l'imprimante, stockez-la toujours :
A l'intérieur du sachet de protection de l'emballage original.
- A plat (et non verticalément sur une extrémité), dans le même sens que si elle était installée dans l'appareil.
- Ne rangez pas les consommables :
- à une température supérieure à 40^
- dans une gamme d'humidité inférieure à 20 % et supérieure à 80 % ;
- dans un environnement soumis à des variations importantes en termes d'humidité ou de température ;
exposés directement au rayonnement solaire ou à l'éclairage de la pièce ; - dans des endroits poussièreux ;
- dans une voiture sur une trop longue période ;
- dans un environnement responsable des gaz corrosifs ;
- dans un environnement iodé.
Instructions de manipulation
- Ne touche pas la surface du tambour photoconducteur dans la cartouche.
N'exposez pas la cartouche à des vibrations ou chocs inutiles. - Ne faites jamais tourner manuellement le tambour, notamment dans le sens inverse ; cela pourrait provoquer des dommages internes et une fuite de toner.
Utilisation de cartouches de toner d'une autre marque que Samsung et rechargées
Samsung Electronics ne recommend ni n'approvou l'utilisation de cartouches de toner non-Samsung dans votre imprimante, y compris les cartouches génériques, de marque de distributeur, recharges ou réusinées.

La garantie de l'imprimante Samsung ne couvre pas des dommages à l'imprimante provoqués par l'utilisation d'une cartouche de toner rechargée, reconditionnée ou d'une autre marque que Samsung.
Durée de vie estimée d'une cartouche
La durée de vie (l'autonomie) estimée d'une cartouche dépend de la quantité de toner utilisée pour chaque travail d'impression. Le nombre réel de pages peut varier selon la densité de l'impression, l'environnement de travail, les intervalles entre les impressions, le type et le format du support. Par exemple, si vous imprimez beaucoup de graphiques, la consommation de toner sera élevée et la cartouche se videra plus rapidement.
Conseils pour déplacer et ranger l'appareil
Assurez-vous de ne pas incliner ni renverser l'appareil lorsque vous le déplacez. Dans le cas contraire, l'intérieur de la machine peut être contaminé par du toner, ce qui peut endommager la machine ou ALTERER la qualité d'impression.
- Lors du déplacement de l'appareil, assurez-vous qu'au moins deux personnes le tiennent fermement.
Ce chapitre fournit des informations utiles en cas de dysfonctionnement.
Ce chapitre contient les sections suivantes :
- Redistribution du toner
- Suppression des bourrages d'original
Astuces pour éviter les voilages du papier - Astuces pour éviter les bourrages papier
Redistribution du toner
Lorsque la cartouche de toner approche de la fin de sa durée de vie :
- Des bandes blanches apparaisent ou l'impression devient plus claire.
- Préparez nouvel. cartouche s'affiche à l'écran.
Levoyant Statut clignote en rouge.
Dans ce cas, vous pouvez améliorer temporairement la qualité d'impression en répartissant le toner restant dans la cartouche. Parfois, des bandes blanches ou une impression plus claire peuvent persister même après la redistribution du toner.
- Ouvrez le capot avant.
- Retirez la cartouche usagée.

- Secouez soigneusement la cartouche 5 ou 6 fais pour répartir le toner de façon homogène à l'intérieur de la cartouche.


Si vous receivez du toner sur vos vêtements, essuyez-les avec un chiffon sec et lavez-les à l'eau froide. L'eau chaude fixe le toner sur le tissu.

Ne touche pas la partie inférieure verte de la cartouche de toner. Utilisez la poignée de la cartouche pour éviter de toucher la zone en question.
-
Résolution des bourrages papier
Signification des messages d'erreur
Résolution d'autres problèmes -
Tenez la cartouche de toner par la poignée et insérez-la délicatement dans l'ouverture de l'appareil.
Les taquets situés sur les côtés de la cartouche et les rainures correspondantes sur l'appareil facilitent l'insertion de la cartouche. Un déclic indique qu'elle est bien en place.

- Fermez le capot avant. Assurez-vous qu'il est bien fermé.
Suppression des bourrages d'original
Lorsqu'un original se bloque en passant dans le chargeur de documents, un message d'advertisement s'affiche à l'écran.

Pour ne pas déchirer le document bloqué, retirez-le avec délicasses et précaution.

Pour éviter les bourrages de document, utilisez la vitre d'exposition pour les originaux en papier écais, fin ou de différents types.
- Retirez toutes les pages restantes du chargeur de documents.
- Ouvrez le capot du chargeur de documents.

- Retirez délicatement le papier bloqué du chargeur de documents.


Si vous ne VOYZEZ TODJOURS pas le papier a cet endroit, passez a I'etape 5.
- Fermez le capot du chargeur de documents. Si nécessaire, replacez les documents que vous avez retirés dans le chargeur de documents.

- Ouvrez le cache de la vitre d'exposition.
- Maintenez la feuille mal alimentee, puis retirez le papier du bac de sortie en le tirant delicatement vers la droite avec les deux mains.

1 Cache du scanner
- Fermez le capot du scanner. Replacez ensuite les pages retirees dans le chargeur de documents.
Astuces pour éviter les voilages du papier
- Ouvrez le capot arrêté.
- Enoncez le levier de pression de chaque cote.

1 Levier depression

Maintenez le capot arrête ouvert pendant l'impression.
À utiliser seulement lorsque l'impression est voilée de plus de 20 mm.

Astuces pour éviter les bourges papier
La plupart des bourrages papier peuvent etre évités en selectionnant des types de support adaptations. Lorsqu'un bourrage papier survient, suivez les instructions suivantes.
Assurez-vous que les guides papier sont correctement positionnés (voir « Chargement de papier dans le bac » à la page 51).
- Ne replissez pas trop le bac d'alimentation. Vérifiez que le niveau de papier ne dépasse pas le trait indiquant la capacité de papier à l'intérieur du bac.
- Évitez de retarder le papier du bacpendant une impression.
Courbez le papier, déramez-le puis remettez-le bien à plat avant de le charger dans le bac.
N'utilisez pas de papier froissé, humide ou ondulé.
- Ne mélangez pas différents types de papier dans le bac.
Utilisez uniquement les supports d'impression recommendés (voir « Réglage du type et du format de papier » à la page 55).
Assurez-vous que la face du support d'impression recommendée pour l'impression est tournée vers le bas du bac, ou vers le haut dans le chargeur manuel.
Résolution des bourrages papier
Lorsqu'un bourrage papier se produit, le message d'advertisement s'affiche à l'écran.
Après un bourrage de papier, ouvrez, puis refermez le capot avant pour reprendre l'impression.

Pour éviter que le papier ne se déchire, tirez dessus avec précaution et lentement. Suivez les instructions des sections suivantes pour supprimer le bourrage.
Dans le bac 1

Cliquez sur ce lien pour ouvrir une animation concernant la suppression d'un bourrage.
- Ouvrez et fermez le capot avant. Le papier bloqué est éjecté automatiquement de l'appareil.
Si le papier ne sort pas, passez a I'etape suivante.
- Sortez le bac 1.

- Retirez le papier coince en tirant dessus avec précaution.

Si le papier ne rouge pas quand vous tirez, ou si vous ne voiriez aucun papier à cet endroit, contrôlez la zone du four autour de la cartouche de toner (voir « À l'intérieur de l'appareil » à la page 103).
- Réinsérez le bac 1 dans l'appareil jusqu'à ce qu'il s'enclenche.
L'impression reprend automatiquement.
Dans le bac d'alimentation manuel

Cliquez sur ce lien pour ouvrir une animation concernant la suppression d'un bourrage.
- Si le papier n'est pas correctement entrainé, enlevez-le de l'imprimante.

- Ouvrez puis refermez le capot avant pour reprendre l'impression.
À l'intérieur de l'appareil

Cliquez sur ce lien pour ouvrir une animation concernant la suppression d'un bourrage.

La zone du four est extrémement chaude. Procedez avec prudence lorsqu vous retirez le papier bloqué dans l'appareil.
- Ouvrez le capot avant et sortie la cartouche de toner en la tirant delicatement vers le bas.

- Retirez le papier coince en tirant dessus avec précaution.

- Remettez la cartouche de toner en place et fermez le capot avant. L'impression reprend automatiquement.
À la sortie papier

Cliquez sur ce lien pour ouvrir une animation concernant la suppression d'un bourrage.
- Ouvrez et fermez le capot avant. Le papier bloqué est éjecté automatiquement de l'appareil.
Si vous ne VOYZEZ pas le papier bloqué, passez à l'etape suivante.
- Sortez le papier du plateau de sortie en tirant dessus avec précaution.

Si vous ne voirz pas le papier bloqué ou si vous rencontres une résistance quand vous tirez, arrêtez et passez à l'étape suivante.
- Ouvrez le capot arrête.
- Abaissez les leviers de pression et retirez la feuille.

1 Levier depression
Si vous ne VOYEZ pas le papier bloqué, passez à l'étape suivante.
- Tirez les leviers du capot du four vers le bas et retirez la feuille. Replacez les leviers du capot du four dans leur position initiale.

La zone du four est extrémement chaude. Procedez avec prudence lorsque vous retirez le papier bloqué dans l'appareil.
- Replacez les leviers de pression dans leur position initiale.
- Fermez le capot arrère.
- Ouvrez puis refermez le capot avant pour reprendre automatiquement l'impression.
Signification des messages d'erreur
Des messages apparaissent sur le panneau de commande pour indiquer l'état de l'appareil ou des erreurs évientuelles. Reportez-vous aux tableaux ci-dessous pour connaître la signification de ces messages et, le cas échéant, résoudre le problème.
Vérification des messages à l'écran
Si le message ne figure pas dans le tableau, redémarrez l'appareil, puis essayez de lancer de nouveau la tâche d'impression. Si le problème persististe, contactez le service de maintenance.
- Notez le contenu du message à l'écran afin de pouvoir l'indiquer si vous appelez le service de maintenance.
- Certains messages peuvent ne pas apparaître à l'écran en fonction des options ou des modèles.
- [numéro de l'erreur] indique le numéro de l'erreur.
- [type de bac] indique le type de bac.
- [type de support] indique le type de support.
- [format du support] indique le format du support.
[couleur] indique la couleur du toner ou de l'unité d'imagerie.
| Message | Signification | Solutions possibles |
| [ERR. COMMUNIC.] | L'appareil rencontres un problème de communication. | Demandez à l'expéditeur d'essayer de nouveau. |
| [INCOMPATIBLE] | La machine a reçu une télécopie considérée comme indésirable. | Les données de la télécopie réceptionné seront supprimées. Vérifiez de nouveau les paramètres de télécopies indésirables. Reportez-vous à la page 50. |
| [LIGNE OCCUP] | Le télécopieur destinataire n'a pas répondu, ou bien la ligne est occupée. | Essayez de nouveau après quelques minutes. |
| [ERREUR LIGNE] | Votre apparéil ne parvient pas à se connecter avec le télécopieur destinataire, ou bien il a perdu le contact à cause d'un problème de ligne téléphonique. | Essayez de nouveau. Si le problème persististe, attendez pendant environ une heures le rétablissement de la ligne et essayez de nouveau. Vous pouvez également activer le mode ECM. Voir page 50. |
| [STOP ACTIVE] | Arrêtier/Suppr. a été,enforcé pendant une opération. | Essayez de nouveau. |
| Problème BOOTP Exécut IP auto | L'allocation d'adresses IP a échéoué. Cela se produit lorsque Auto IP pour BOOTP est défini dans SyncThru™ Web Service. | Modifiez la méthode d'allocation d'adresses IP en DHCP ou Statique. Si vous ne modifies pas cette option, le serveur BOOTP vous demandera en permanence d'allooner l'adresse IP. |
| Problème BOOTP Reconfigur DHCP | L'allocation d'adresses IP a échéoué. Cela se produit lorsque Auto IP pour BOOTP n'est pas défini dans SyncThru™ Web Service. | Modifiez la méthode d'allocation d'adresses IP en DHCP ou Statique. Si vous ne modifies pas cette option, le serveur BOOTP vous demandera en permanence d'allooner l'adresse IP. |
| Problème DHCP : Exécut IP auto | L'allocation d'adresses IP a échéoué. Cela se produit lorsque Auto IP pour DHCP est défini dans SyncThru™ Web Service. | Modifiez la méthode d'allocation d'adresses IP en BOOTP ou Statique. Si vous ne modifies pas cette option, le serveur DHCP vous demandera en permanence d'allooner l'adresse IP. |
| Problème DHCP Reconfigur BOOTP | L'allocation d'adresses IP a échéoué. Cela se produit lorsque Auto IP pour DHCP n'est pas défini dans SyncThru™ Web Service. | Modifiez la méthode d'allocation d'adresses IP en BOOTP ou Statique. Si vous ne modifies pas cette option, le serveur DHCP vous demandera en permanence d'allooner l'adresse IP. |
| Bourrage de doc. Suppr bourrage | L'original charge s'est bloqué dans le chargeur automatique. | Supprimez le bourrage (voir « Suppression des bourrages d'original » à la page 101). |
| Capot ouvert. Fermez-le | Le capot avant n'est pas correctement verrouillé. | Refermez le capot jusqu'à entendre un déclic. |
| Message | Signification | Solutions possibles |
| Fin de vie Rempl nouvel cart | La cartouche de toner spécifique a atteint sa durée de vie estimée. L'impression)cesse.L'autonomie estimée de la cartouche signifie l'autonomie attendue ou estimée de la cartouche de toner, ce qui indique la capacité moyenne d'impression. Elle est définie conformément à la norme ISO/IEC 19798 (voir « Consommables disponibles » à la page 119). Le nombre de pages peut varier en fonction de l'environnement d'exploitation, du salarié entre chaque impression, ainsi que du type et du format des supports. Un peu de toner peut rester dans la cartouche, même lorsque le message Fin de vie Rempl nouvel cart apparait et l'imprimante arrêté l'impression. | Remplacez la cartouche de toner (voir «Remplacement de lacartouche de toner » à la page 120). |
| Erreur [numéro de l'erreur] Éteignez, rallum | Une erreur systématique s'est produit. | Redémarrez l'appareil et reliancez la tâche d'impression. Si le problème persiste, contactez le service de maintenance. |
| Installer toner | La cartouche de toner est mal installée ou n'est pas installée. | Réinstallé la cartouche de toner deux ou trois fois pour vous assurer qu'elle est bien en place. Si le problème persisté, la cartouche de toner n'est pas détectée. Contactez le service de maintenance. |
| CHARGER [format du support] DS [numéro du bac] | Il n'y a pas de papier correspondant dans le bac correspondant. | Chargez le papier correspondant dans le bac correspondant (voir « Chargement de papier dans le bac » à la page 51). |
| Mémoire pleine Retirez tâche | La mémoire est saturaè. | Appuyez sur les flèches gauche/droite pourmettre en surbrillation ANNULER ou DEMAR, et appuyez ensuite sur OK. Si vous sélectionnez ANNULER, l'appareil arrêté la tâche de télécopie. Si vous sélectionnez DEMAR, l'appareil envoie uniquement les documents numériés de la tâche de télécopie. |
| Problème réseau CONFLIT IP | Cette adresse IP est déjà utilisée ailleurs. | Vérifiez l'adresse IP ou procurez-vous une nouvelle adresse. |
| PAS DE REPONSE | Le télécopieur destinataire ne répond pas malgré toutes les tentatives d'elles. | Essayez de nouveau. Assurez-vous que l'appareil destinataire fonctionne. |
| Cartouche toner non compatible | La cartouche de toner n'est pas adaptée à votre apparéil. | Remplacez la cartouche de toner par une cartouche Samsung (voir « Remplacement de la cartouche de toner » à la page 120). |
| Bac sortie plein Retirez papier | Le bac à papier est plein. Ou le capteur n'est pas tourné vers le bas. | Videz le bac de sortie; l'impression reprend alors. Ou assurez-vous que le capteur est bien tourné vers le bas. Si le problème persisté, contactez le service de maintenance. |
| [numéro du bac] vide | Le bac spécifique est vide. | Chargez du papier dans le bac (voir « Chargement de papier dans le bac » à la page 51). |
| Message | Signification | Solutions possibles |
| Cassette du [numéro du bac] sortie | La cassette du bac spécifique n'est pas insérée ou correctement fermée. | Pour fermer le bac en place, abaissez la face arrrière, alignez le bac sur l'emplacement prévu et introduisez-le dans l'imprimante. |
| Bourrage papier dans le bac poly | Un bourage papier est survenu au niveau du bac d'alimentation manuelle. | Supprimez le bourrage (voir « Dans le bac d'alimentation manuel » à la page 102). |
| Bourrage papier dans le bac 1 | Un bourage papier s'est produit au niveau du bac 1. | Supprimez le bourrage (voir « Dans le bac 1 » à la page 102). |
| Bourage papier dans la machine | Du papier est coincé à l'intérieur de l'appareil. | Supprimez le bourrage (voir « À l'intérieur de l'appareil » à la page 103). |
| Bourage papier dans zone sortie | Un support d'impression spécial est bloqué au niveau du bac de sortie. | Supprimez le bourrage. • Voir « À la sortie papier » à la page 103. • Voir « Dans le bac d'alimentation manuel » à la page 102. |
| Préparez nouvel. cartouche | Une petite quantité de toner reste dans la cartouche spécifique. L'autonomie estimée de la cartouche est presque atteinte. | Préparez une nouvelle cartouche en vue de son remplacement. Vous pouvez améliorer provisoirement la qualité d'impression en secouant la cartouche afin de répartir le toner résiduel (voir « Redistribution du toner » à la page 100). |
| Retir bande prot et install toner | L'appareil ne peut pas dé峋eter de cartouche de toner. | Retirez la bande adhésive de la cartouche de toner. Reportez-vous au Guide d'installation rapide. |
| REPLACER TONER | La cartouche de toner a pratiquement atteint son autonomie estimée. | Vous peuventchosir entre STOP ou CONTINUER comme indiqué sur le panneau de commande. Si vous sélectionnez STOP, l'imprimante arrêté l'impression et vous ne pouvez plus imprimer avant d'avoir changé la cartouche. Si vous sélectionnez CONTINUER, l'imprimante continue l'Impression, mais la qualité d'impression ne peut pas'être garantie. Pour garantir la meilleure qualité d'impression, replacez la cartouche de toner lorsque ce message apparait. Utiliser une cartouche au-delà de cette limite peut provoquer des problèmes de qualité d'impression (voir « Replacement de la cartouche de toner » à la page 120).Samsung ne recommende pas l'utilisation de cartouches de toner non authentiques Samsung, comme des cartouches recharges ou reconditionnées. Samsung ne peut pas garantir la qualité d'une cartouche non authenticique Samsung. Aucun entretien ou réparation consécutif à l'utilisation des cartouches non authentiques Samsung ne sera couvert pas la garantie de l'appareil. |
| Message | Signification | Solutions possibles |
| Remplacez par un nouveau four | La durée de vie de l'unité de chauffe est atteinte. | Remplacez l'unité de chauffe par une nouvelle. Contactez le service de maintenance. |
| Auto-diagnostic Patientez | Le moteur de l'imprimante examine certains problèmes déteçés. | Veuillez patienter quelques minutes. |
| Trop de fax Retirez la tâche | Trop de télécopies ont été reçues. | Retirez la télécopie reçue. |
Résolution d'autres problèmes
Le tableau suivant dresse la liste des problèmes que vous pouvez rencontres et des solutions recommandées correspondantes. Appliquez les solutions proposées jusqu'à ce que le problème soit résolu. Si le problème persiste, contactez le service de maintenance.
Problèmes d'alimentation

Cliquez sur ce lien pour ouvrir une animation concernant les problèmes d'alimentation.
| État | Solutions possibles |
| L'appareil n'est pas alimenté ou le cable de connexion qui reliée l'ordinateur à l'imprimante n'est pas correctement raccordé. | • Branchez le cordon d'alimentation et appuyez sur ⓥ (bouton d'alimentation) sur le panneau de commande. • Déconnectez le cable de l'appareil, puis reconnectpez-le. - Pour l'impression en mode local • Pour l'impression en réseau (modèle réseau uniquement) • • • • • • • • • • • • • • • • • • • • • • • • • • • • • • • • • • • • • • • • • • • • • • • • • • • • • • • • • • • • • • • • • • • • • • • • • • • • • • • • • • • • • • • • • • • • • • • • • • • • • - Pour l'impression en réseau (modèle réseau uniquement) |
Problèmes d'alimentation papier
| État | Solutions possibles |
| Bourrages papier en cours d'impression. | Supprimez le bourrage papier (voir « Résolution des bourrages papier » à la page 102). |
| Plusieurs feuilles sont collées les unes aux autres. | Vérifiez la capacité papier maximale du bac (voir « Spécifications des supports d'impression » à la page 124).Vérifiez que vous utilisez un type de papier adéquat (voir « Spécifications des supports d'impression » à la page 124).Retirez le papier du bac d'alimentation, courbez-le ou déramez-le.Dans un environnement humide, les feuilles risquent de se coller les unes aux autres. |
| Impossible d'insérer plusieurs feuilles de papier. | Il se peut que différents types de papier soient empiélés dans le bac d'alimentation. Chargez des feuilles de type, de format et de grammaïge identiques. |
| Le papier n'est pas entrainné dans l'appareil. | Retirez tout ce qui fait obstruction à l'intérieur de l'appareil.Le papier n'a pas été chargeé correctement. Retirez le papier du bac d'alimentation et rechargez-le correctement.II y a trop de papier dans le bac d'alimentation. Enlevez le surplus de papier.Le papier est trop écais. Utilisez uniquement du papier conforme aux caractéristiques de l'appareil (voir « Spécifications des supports d'impression » à la page 124).Si l'appareil ne parvient pas à entraîner les originaux, il faut peut-être replacer le patin du chargeur automatique. Contactez le service de maintenance. |
| Le papier ne cesse de se bloquer. | Il y a trop de papier dans le bac d'alimentation. Enlevez le surplus de papier. Si vous imprimez sur des supports spéciaux, utilisez le bac manuel. Le type de papier utilisé n'est pas correct. Utilisez uniquement du papier conforme aux caractéristiques de l'appareil (voir « Spécifications des supports d'impression » à la page 124). Des particules se sont accumulées dans l'appareil. Ouvrez le capot avant de l'imprimante et retirez les débris éventuels. Si l'appareil ne parvient pas à entraîner les originaux, il faut peut-être replacer le patin du chargeur automatique. Contactez le service de maintenance. |
| Les transparents se collent les uns aux autres au niveau de la sortie papier. | Utilisez uniquement des transparents adaptés aux imprimantes laser. Retirez les transparents au fur et à mesure qu'ils sortent de l'appareil. |
| Les enveloppopes s'impriment de travers ou ne sont pas entrainnées correctement. | Assurez-vous que les guides papier reposent des deux côts des enveloppes. |
Problèmes d'impression
| État | Cause possible | Solutions possibles |
| L'appareil n'imprime pas. | L'appareil n'est pas sous tension. | Vérifiez que le cordon d'alimentation est branché correctement. |
| Vous n'avez pas définir votre appareil en tant qu'appareil par défaut. | Réglez votre appareil comme appareil par défaut pour Windows. | |
| Vérifiez les éléments ci-après sur l'appareil : • Le capot avant n'est pas fermé. Fermez le capot avant. • Du papier est bloqué. Suprimez le bourrage papier (voir « Résolution des bourrages papier » à la page 102). • Il n'y a pas de papier dans le bac. Chargez du papier (voir « Chargement de papier dans le bac » à la page 51). • La cartouche de toner n'est pas installée. Installez la cartouche de toner. Si une erreur système se produit, contactez le service de maintenance. | ||
| Le cable de connexion qui relié l'ordinateur à l'imprimante n'est pas raccordé correctement. | Déconnectez le cable de l'appareil, puis reconnectctez-le. | |
| Le cable de connexion qui relié l'ordinateur à l'imprimante est défectueux. | Si possible, raccordez le cable à un autre ordinateur en état de marche et imprimez un document. Vous pouvez également utiliser un autre cable d'appareil. | |
| La configuration du port n'est pas correcte. | Vérifiez les paramètres de l'imprimante dans Windows pour voir si la tâche d'impression est envoyée au port approprié. Si l'ordinateur comporte plusieurs ports, assurez-vous que l'appareil est raccordé au port adéquat. | |
| L'appareil est peut-être mal configuré. | Vérifiez les Options d'impression pour voir si tous les réglages d'impression sont corrects (voir « Ouverture des préférences d'impression » à la page 58). | |
| Le pilote d'impression est peut-être mal installé. | Réparez le logiciel de l'appareil (voir « Installation du pilote d'un appareil connecté via USB » à la page 34, « Installation du pilote d'un appareil connecté à un réseau cable ou via USB » à la page 41). | |
| L'appareil ne fonctionne pas correctement. | Vérifiez le message affiché à l'écran pour déterminer s'il s'agit d'une erreur système. Contactez le service de maintenance. | |
| L'appareil n'imprime pas. | Le document est si volumieux que l'espace disponible sur le disque dur n'est pas suffisant pour acceder à la tâche d'impression. | Libéréz davantage d'espace disque et relancez l'impression du document. |
| Le bac à papier est plein. | Une fois que vous avez vidé le bac de sortie, l'impression reprend. | |
| L'appareil n'utilise pas la bonne source d'alimentati on papier. | L'options papier sélectionnée dans les Options d'impression n'est peut-être pas correcte. | Pour la plupart des logiciels d'application, pour sélectionner la source d'alimentation du papier il faut aller sur l'onglet Papier dans Options d'impression.Sélectionnez la source d'alimentation papier adéquate.Consultez l'aide du pilote d'impression (voir « Ouverture des préférences d'impression » à la page 58). |
| Une tâche d'impression est très lente. | L'impression est peut-être très complexe. | Simplify la page ou modifier les paramètres de qualité d'impression. |
| La moitié de la page est blanche. | L'orientation de la page n'est peut-être pas correcte. | Changez l'orientation de la page dans votre application. Consultez l'aide du pilote d'impression. |
| Le format du papier et les paramètres de format ne correspondent pas. | Assurez-vous que le format de papier défini dans les paramètres du pilote d'impression correspond au format du papier se trouvant dans le bac d'alimentation.Vérifiez également que le format de papier défini dans les paramètres du pilote d'impression correspond au format de papier sélectionné dans les paramètres de l'application. | |
| État | Cause possible | Solutions possibles |
| L'appareil imprime, mais le texte est erroné, tronqué ou incomplet. | Le cable de l'appareil est mal raccordé ou défectueux. | Déconnectez le cable de l'appareil, puis reconnectez-le. Essayez d'imprimer un document ayant déjà été imprimé correctement. Si possible, reliez le cable et l'appareil à un autre ordinateur ayant déjà été correctement imprimé, et lancez l'impression d'un document. Si ces solutions n'aboutissent pas, remplacez le cable de l'appareil. |
| Vous avezsLECTIONné le mauvais pilote d'impression. | Vérifiez que votre appareil est selectionné dans le menu de selection de l'imprimante de l'application. | |
| L'application ne fonctionne pas correctement. | Essayez d'imprimer un document à partir d'une autre application. | |
| Le système d'exploitation ne fonctionne pas correctement. | Quittez Windows, puis redémarrez l'ordinateur. Mettez l'appareil hors tension, puis sous tension. | |
| Les pages s'impriment, mais elles sont vierges. | La cartouche de toner est défectueuse ou vide. | Secouze la cartouche de toner, si besoin est. Si nécessaire, remplacez la cartouche. |
| Le fichier contient peut-être des pages blanches. | Vérifiez que le fichier ne contient pas de pages blanches. | |
| Certains éléments, comme le contrôleur ou la carte, sont peut-être défectueux. | Contactez le service de maintenance. | |
| L'impriment e n'imprime pas correctement le fichier PDF. Une partie des graphiques, du texte ou des illustrations manque. | Incompatibilité entre le fichier PDF et les produits Acrobat. | L'impression du fichier PDF en tant qu'image peut permettre l'impression du fichier. Activez l'options Print As Image dans les options d'impression Acrobat. L'impression d'un fichier PDF en tant qu'image demande plus de temps qu'une impression ordinaire. |
| La qualité d'impression des photos n'est pas bonne. Des images ne sont pas supprimées. | La résolution des photos est très faible. | Réduisez la taille de la photo. Plus vous augmentez la taille des photos dans le programme, plus la résolution diminuera. |
| Avant l'impression, la machine émet de la vapeur près du bac de sortie. | L'utilisation de papier humide peut provoquer la formation de vapeur pendant l'impression. | Ce n'est pas un problème. Continuez l'impression. |
| L'appareil n'imprime pas sur du papier de format spécifique comme le papier à factures. | Le format du papier et les paramètres de format ne correspondent pas. | Réglez le format de papier correct dans Paramètres du format de papier personnelisé dans l'onglet Papier des Options d'impression (voir « Ouverture des préférences d'impression » à la page 58). |
Problèmes de qualité d'impression
Si l'intérieur de l'appareil est encrassé ou si le papier a été mal chargé, il peut y avoir une baisse de la qualité d'impression. Reportez-vous au tableau ci-dessous pour résoudre le problème.
| État | Solutions possibles |
| Impression claire ou floue | Si une strie blanche verticale ou une zone floue apparaît sur la page, la quantité de toner restante est faible. Essayez de secouver la cartouche pour redistribuer le reste du toner et prolonger son utilisation (voir « Redistribution du toner » à la page 100). Si la qualité ne s'améliore pas, remplacez la cartouche. Le papier n'est pas conforme aux caractéristiques de l'appareil : papier humide ou rugieux, par exemple (voir « Spécifications des supports d'impression » à la page 124). Si toute la page est claire, la résolution d'impression sélectionnée est insuffisante ou le mode Économie de toner est activé. Réglez la résolution d'impression et désactivez le mode Économie de toner. Consultez l'aide du pilote d'impression. La présence simultanée de zones floues et de trainées de toner peut indiquer la nécessité de nettoyer la cartouche (voir « Nettoyage de l'intérieur » à la page 98). La surface du module de numérisation laser du côte intéérieur à l'appareil peut être sale (voir « Nettoyage de l'intérieur » à la page 98). |
| État | Solutions possibles |
| Taches de toner | Le papier n'est pas conforme aux caractéristiques de l'appareil: papier humide ou rugueux, par exemple (voir « Spécifications des supports d'impression » à la page 124). Le rouleau de l'imprimante est peut-être sale. Nettoyez l'intérieur de l'appareil. Contactez le service de maintenance. Le circuit d'entrainment du papier a besoin d'être nettoyé. Contactez le service de maintenance. |
| Zones vides | Si des zones vides, généralement au niveau des arrondis des caractères, apparaissent sur la page : Il se peut qu'une feuille de papier soit de mauvaise qualité. Essayez de réimprimer la page. Le taux d'humidité du papier n'est pas homogène ou certaines zones du papier sont humides. Changez de marque de papier (voir « Spécifications des supports d'impression » à la page 124). La rame de papier est de mauvaise qualité. Le processus de fabrication du papier est à l'origine du problème et empêche le toner de se fixer sur certains zones. Changez de marque ou de type de papier. Modifiez l'options d'impression et réessayez. Allez dans Options d'impression, cliquez sur l'onglet Papier, et définissez le type sur Papier écais (voir « Ouverture des préférences d'impression » à la page 58). Si le problème persististe, contactez le service de maintenance. |
| Taches blanches | Si des taches blanches apparaissent sur la page : Le papier est trop rugueux et de la poussière provenant du papier se dépose à l'intérieur de l'appareil; le rouleau de transfert est peut-être sale. Nettoyez l'intérieur de l'appareil (voir « Nettoyage de l'intérieur » à la page 98). Le circuit d'entrainment du papier a besoin d'être nettoyé (voir « Nettoyage de l'intérieur » à la page 98). |
| Lignes verticales | Si des stries verticales noires apparaissent sur la page : • La surface (partie tambour) de la cartouche de toner à l'intérieur de l'appareil a probablement été griffée. Retirez la cartouche de toner, puis installez-en une nouvelle (voir « Remplacement de la cartouche de toner » à la page 120). Si des stries verticales blanches apparaissent sur la page : • La surface du module de numérisation laser du côté intéérieur à l'appareil peut être sale (voir « Nettoyage de l'intérieur » à la page 98). |
| Fond noir | Si la quantité de toner déposée sur la page create un fond grisé inacceptable : • Choisissez du papier de grammaige intéérieur (voir « Spécifications des supports d'impression » à la page 124). • Vérifiez les conditions ambiantes : un air trop sec ou trop humide (plus de 80 % d'humidité relative) peut avoir une incidence sur l'ombrage du fond. • Retirrez l'ancienne cartouche et installez-en une nouvelle (voir « Remplacement de la cartouche de toner » à la page 120). |
| Trainées de toner | Si le toner fait des trainées sur la page : • Nettoyez l'intérieur de l'appareil (voir « Nettoyage de l'intérieur » à la page 98). • Vérifiez le type et la qualité du papier (voir « Spécifications des supports d'impression » à la page 124). • Retirrez la cartouche de toner, puis installez-en une nouvelle (voir « Remplacement de la cartouche de toner » à la page 120). |
| Défauts verticaux répétitifs | Si des marques apparaissent plusieurs fois sur une page, à intervalles réguliers : • La cartouche de toner est peut-être défectueuse. Si le problème persiste, remplacez la cartouche (voir « Remplacement de la cartouche de toner » à la page 120). • Certaines pieces de l'appareil comportant peut-être des dépôts de toner. Si le défaut apparait au dos de la page, le problème se résoudra sans doute de lui-même au bout de quelques pages. • L'unité de fusion est peut-être endommagée. Contactez le service de maintenance. |
| État | Solutions possibles |
| Fond moucheté | Les fonds mouchétés apparaissent lorsque des particules de toner se déposent aléatoirement sur la page. • Le papier peut être trop humide. Essayez d'imprimer en utilisant une autre rame de papier. N'ouvrez les rames qu'au dernier moment afin d'éviter que le papier n'absorbe l'humidité de l'air. • Si le fond moucheté apparait sur une enveloppe, changez la mise en page pour éviter l'impression sur des zones de pliure. L'impression sur une zone de pliure peut cause des problèmes. • Si le fond moucheté recouvre la totalité de la page, réglez la résolution d'impression à partir de l'application ou des Options d'impression (voir « Ouverture des préférences d'impression » à la page 58). |
| Caractères mal formés | Si des caractères sont mal formés etsemblant creusés par endroits, le papier est peut-être trop lisse. Changez de type de papier (voir « Spécifications des supports d'impression » à la page 124). Si les caractères sont mal formés, créé un effet d'ondulation, le scanner a peut-être besoin d'une révision (voir « Nettoyage du scanner » à la page 98). |
| Impression oblique | Assurez-vous que le papier est correctement charge. Vérifiez le type et la qualité du papier (voir « Spécifications des supports d'impression » à la page 124). Assurez-vous que les guides ne sont pas trop serrrés ou trop lâches par rapport au papier. |
| Pages gondolées | Assurez-vous que le papier est correctement charge. Vérifiez le type et la qualité du papier. Une température ou une humidité trop élevé peut engendrer une ondulation du papier (voir « Spécifications des supports d'impression » à la page 124). Retournez la pile de papier dans le bac. Essayez également de changer le sens du papier (rotation à 180 degrès) dans le bac. |
| Pages plieées ou floissées | Assurez-vous que le papier est correctement chargeé.Vérifiez le type et la qualité du papier (voir « Spécifications des supports d'impression » à la page 124).Retournez la pile de papier dans le bac.Essayez également de changer le sens du papier (rotation à 180 degrés) dans le bac. |
| Dos de la page taché | Vérifiez que le toner ne coule pas. Nettoyez l'intérieur de l'appareil (voir « Nettoyage de l'intérieur » à la page 98). |
| Pages entièrement noires ou de couleur | La cartouche de toner n'est sans doute pas installée correctement. Enlevez-la, puis réinstalléla.La cartouche de toner est peut-être défectueuse. Retirez la cartouche de toner, puis installez-en une nouvelle (voir « Remplacement de la cartouche de toner » à la page 120).L'appareil a peut-être besoin d'une révision. Contactez le service de maintenance. |
| Toner non fixé | Nettoyez l'intérieur de l'appareil (voir « Nettoyage de l'intérieur » à la page 98).Vérifiez le type et la qualité du papier (voir « Spécifications des supports d'impression » à la page 124).Retirez la cartouche de toner, puis installez-en une nouvelle (voir « Remplacement de la cartouche de toner » à la page 120).Si le problème persististe, il se peut que l'appareil ait besoin d'une révision. Contactez le service de maintenance. |
| État | Solutions possibles |
| Caractères tachés de blanc | Un caractère devant être noir contient des taches blanches: • Si vous utilisez des transparents,CHOISISSEZ-en d'un autre type. Étant donné la matière dont sont constitués les transparents, il est normal de constater des taches blanches dans les caractères. • Il se peut que vous imprimiez du mauvais côté du papier. Retirez le papier et returnez-le. • Le papier n'est peut-etre pas conforme aux caractéristiques de l'appareil (voir « Spécifications des supports d'impression » à la page 124). |
| Stries horizontales | Des stries noires horizontales ou des trainées de toner apparaisent: • La cartouche de toner est peut-etre mal installée. Enlevez-la, puis réinstallé-la. • La cartouche de toner est peut-etre défectueuse. Retirrez la cartouche de toner, puis installez-en une nouvelle (voir « Remplacement de la cartouche de toner » à la page 120). • Si le problème persististe, il se peut que l'appareil ait besoin d'une révision. Contactez le service de maintenance. |
| Plessement | Si le papier imprimé est ondulé ou s'il n'est pas entrainé dans l'appareil: • Retournez la pile de papier dans le bac. Essayez également de changer le sens du papier (rotation à 180 degrés) dans le bac. • Modifiez l'options d'impression et réessayez. Allez dans Options d'impression, cliquez sur l'onglet Papier, et définièsez le type sur Papier fin (voir « Ouverture des préférences d'impression » à la page 58). |
| Image inconnue apparaisant de manière répétitive sur plusieurs pages, toner non fixé sur le papier, document très pâle ou problème de contamination. | Vous utilisez probablement l'appareil à une altitude de 1 000 m ou plus. Une altitude élevée peut alterer la qualité d'impression: le toner ne se fixe pas correctement sur le papier ou le document est très pâle. Corriguez le paramètre d'altitude de votre appliceel (voir « Réglage de l'altitude » à la page 45). |
Problèmes de copie
| État | Solution proposée |
| Les copies sont trop claires ou trop sombres. | Utilisez LUMINOSITE dans FONCT. COPIE pour éclaircir ou ascombrir le fond des copies (voir « Modification du contraste » à la page 66). |
| Les copies contiennent des trainées, des lignes, des traces ou des taches.AaBbCcAaBbCcAaBbCcAaBbCcAaBbCc | Si les défauts apparaissent sur l'original, utilisez LUMINOSITE dans FONCT. COPIE pour éclaircir l'arrière-plan de vos copies (voir « Modification du contraste » à la page 66).Si les défauts n'apparaissent pas sur l'original, nettoyez le module de numérisation (voir « Nettoyage du scanner » à la page 98). |
| L'image copée est de travers. | Vérifiez que l'original est placé face imprimée vers le bas si vous utilisez la vitre d'exposition ou face imprimée vers le haut si vous utilisez le chargeur de documents.Assurez-vous que le papier est correctement chargé. |
| Des copies blanches sont imprimées. | Vérifiez que l'original est placé face imprimée vers le bas si vous utilisez la vitre d'exposition ou face imprimée vers le haut si vous utilisez le chargeur de documents. |
| L'image s'efface facilement de la copie. | Remplacez le papier du bac par une nouvelle rame tout juste déballée.Dans les environnements très humides, ne laissez pas le papier dans l'appareil pendant un trop long moment. |
| Les bourages papier sont fréquents. | Ventilez la pile de papier, puis returnez-la dans le bac d'alimentation. Changez la pile de papier du bac d'alimentation. Si nécessaire, vérifiez/ajustez les guide-papier.Assurez-vous que le grammage du papier est correct.Vérifiez qu'aucune feuille ni aucun morceau de papier ne reste coincé dans l'appareil après un bourrage. |
| La cartouche de toner est épuisée avant impression du nombre de copies normal. | Les originaux contiennent peut-être des images, des zones sombres ou des lignes épaisses. Ainsi, les documents de type formulaire, lecture d'information ou livre consommert plus de toner.Le capot du scanner a peut-être été laissé ouvert pendant les copies.Eteignez l'appareil puis rallumez-le. |
Problèmes de numérisation
| État | Solutions possibles |
| Le scanner ne fonctionne pas. | Assurez-vous que l'original est placé face imprimée vers le bas sur la vitre de numération ou vers le haut dans le chargeur de documents.II se peut qu'il n'y ait pas assez de mémoire disponible pour vous permettre de stocker le document que vous souhaitez numérique. Essayez la fonction Prénumérique. Essayez de diminuer la résolution de numération.Vérifiez que le cable de l'appareil est branché correctement.Assurez-vous que le cable de l'appareil n'est pas défectueux. Interchangez le cable existant avec un autre en bon état. Le cas échéant, remplacez le cable.Vérifiez que le scanner est configuré correctement. Vérifiez les paramètres de numération dans SmarThru ou dans l'application que vous souhaitez utiliser et assurez-vous que la tâche de numération est transmise au port adéquat (par exemple, USB001). |
| La numération est très lente. | Vérifiez si l'appareil est en train d'imprimer des données reçues. Si tel est le cas, attendez la fin de l'impression des données avant de numérique le document.La numération des graphismes est plus lente que celle des textes.La vitesse de communication diminue en mode numérique, car une grande quantité de mémoire est requise pour analyser et reproductive l'image numérique. Dans le BIOS, paramétrz chez la ordinateur sur le mode d'imprimante ECP. La vitesse s'en trouvera augmentée. Pour plus d'informations sur le paramétrage du BIOS, reportez-vous au guide de l'utilisateur de votre ordinateur. |
| Un message s'affiche sur l'écran de votre ordinateur : • Le périphérique ne peut être régé sur le mode matériel souhaité. • Le port est en cours d'utilisation. • Le port est désactivé. • Le scanner est occupé à receiveoir ou à imprimer des données. Réessayez une fois la tâche terminée. • Handle non valide. • La numérisation a échoué. | • L'imprimante est peut-être en cours de copie ou d'impression. Lorsque cette tâche est terminée, réessayez votre tâche. • Le port sélectionné est en cours d'utilisation. Redémarrez votre ordinateur et réessayez. • Il se peut que le cable de l'appareil soit mal branché ou que l'appareil ne soit pas sous tension. • Le pilote de numération n'est pas installé ou l'environnement d'exploitation est mal configuré. • Vérifiez que l'appareil est branché correctement et qu'il est sous tension puis redémarrez votre ordinateur. • Il se peut que le cable USB soit mal branché ou que l'appareil ne soit pas sous tension. |
Problèmes de télécopie
| État | Solutions possibles |
| L'appareil ne fonctionne pas, rien ne s'affiche à l'écran ou les touches ne répondent pas. | Débranchez et rebranchez le cable d'alimentation.Vérifiez que la prise est alimentée. |
| Pas de tonalité de composition. | Vérifiez que la ligne téléphonique est connectée correctement.Vérifiez que la prise téléphonique fonctionne en y branchant un autre téléphone. |
| Les numérosmémorisés ne sont pas composés correctement. | Vérifiez que les numérors sont correctementémorisés. Imprimez une liste CARNET ADRES. (voir « Configuration d'un carnet d'adresses » à la page 83). |
| L'original n'est pas entrainé dans l'appareil. | Assurez-vous que le papier n'est pas froissé et qu'il est introduit correctement. Vérifiez que l'original est au bon format, ni trop fin, ni trop écais.Assurez-vous que le chargeur de documents est correctement fermé.II faut peut-être replacer le patin du chargeur de documents. Contactez le service de maintenance. |
| Impossible de recevoir automatiquement les fax. | Le mode de réception doit être paramétré en position Fax.Vérifiez qu'il y a du papier dans le bac d'alimentation.Voyez si l'écran affiche un message d'erreur. Dans ce cas, réglez le problème. |
| État | Solutions possibles |
| L'appareil n'effectue pas d'envoi. | Assurez-vous que l'original est chargé dans le chargeur de documents ou sur la vitre d'exposition.Assurez-vous que le télécopieur destinataire est en mesure de receivevoir votre télécopie. |
| Les télécopies reçues comportant des espaces blancs ou sont de qualité médiocre. | Il se peut que le télécopieur source soit défectueux.Une ligne téléphonique bruyante peut provoquer des erreurs de ligne.Vérifiez le fonctionnement de votre apparéil en imprimant une copie.Une cartouche de toner a atteint son autonomie estimée. Remplacez la cartouche de toner (voir « Remplacement de la cartouche de toner » à la page 120). |
| Certains mots d'une télécopie reçue ont été agrandis. | Le télécopieur source a rencontres un problème de bourrage-temporaire. |
| Des lignes apparaissent sur les originaux envoyés. | Vérifiez s'il y a des taches sur le module de numération et nettoyez-le (voir « Nettoyage du scanner » à la page 98). |
| L'appareil compose un numéro, mais ne parvient pas à se connecter au télécopieur distant. | Il se peut que l'autre télécopieur soit étéint, qu'il manque de papier ou qu'il ne puisse pas receivevoir d'appels entrants. Demandez à l'opérateur de l' apparéil de résoudre le problème. |
| Les télécopies ne sont pas enregistrées dans la mémoire. | L'espace libre de la mémoire est peut-être insuffisant pour enregistrer la télécopie. Si le message de mémoire faible s'affiche à l'écran, supprimez toutes les télécopies dont vous n'avez plus besoin puis essayez à nouveau d'enregistrer la télécopie. Appelez le service de maintenance. |
| Des zones blanches apparaissent en bas de chaque page, ainsi qu'une petite bande de texte dans la partie supérieure. | Il se peut que vous ayez sélectionné des paramètres de papier incorrÊts dans les options utilisateur. Pour plus d'informations sur les paramètres du papier, reportez-vous à la section « Réglage du type et du format de papier » à la page 55. |
Problème du Gestionnaire de scan Samsung
| État | Solution proposée |
| Le Gestionnaire de scan Samsung ne fonctionne pas. | Vérifiez votre configuration requise. Le Gestionnaire de scan Samsung fonctionne sous Windows et Mac OS (voir « Configuration requise » à la page 33). |
Problèmes Windows courants
| État | Solutions possibles |
| “Le message « Fichier en cours d'utilisation » apparaît au cours de l'installation. | Fermez tous les programmes ouverts. Effacez tous les programmes du groupe Démarrage de l'imprimante, puis redémarrez Windows. Réinstallé le pilote d'impression. |
| “Le message « Erreur de protection générale », « Exception OE», « Spool 32», ou « Opération non autorisée » apparaît. | Fermez toutes les applications, redémarrez Windows et recommencez l'impression. |
| Les messages « Échec d'impression » et « Erreur de temporisation de l'imprimante » s'affichent. | Ces messages sont susceptibles d'apparaître en cours d'impression. Attendez simplement que l'appareil ait terminé l'impression. Si le message apparait en mode veille ou une fois l'impression achèvée, vérifie le branchement et/ou l'existence d'une erreur évientuelle. |
Pour plus d'informations sur les messages d'erreur Windows, reportez-vous au Guide de l'utilisateur de Microsoft Windows fourni avec votre ordinateur.

Problèmes Linux courants
| État | Solutions possibles |
| L'appareil n'imprime pas. | Vérifiez que le pilote d'impression est installé. Ouvrez le Unified Driver Configurator et passez dans l'onglet Printers de la fenêtre Printers configuration pour voir la liste des imprimantes disponibles. Vérifiez que votre imprimante figure dans la liste. Si ce n'est pas le cas, ouvrez Add new printer wizard pour paramétrer l'imprimante.Vérifiez que l'appareil est sous tension. Ouvrez Printers configuration et sélectionnez votre imprimante dans la liste. Vérifiez la description indiquée dans le volet Selected printer. Si l'état contient la chaîne Stopped, appuyez sur la touche Start. Une fois que vous avez effectué ces étapes, l'appareil devrait reprendre son fonctionnement normal. L'état « stopped » peut apparaitre en cas de problèmes d'impression. Il peut être généré, par exemple, si vous tentez d'imprimer un document alors que le port est utilisé par une application de numération.Assurez-vous que le port est disponible. Étant donné que les composants de l'appareil (imprimante et scanner) partagent la même interface d'E/S (port), plusieurs applications utilisateur sollicitant l'appareil risquent d'accéder au port au même moment. Pour éviter tout conflit, une seule application est autorisée à accéder au périphérique. Un message « device busy » est envoyé à l'autre utiliseur. Ouvrez la boîte de dialogue Ports configuration et sélectionnez le port attribué à l'appareil. Vérifiez si le port est occupé par une autre application dans le volet Selected port. Si tel est le cas, attendez la fin de la tâche ou appuyez sur la touche Release port si l'application utilisant le port ne fonctionné pas correctement.Vérifiez si votre application comporte une option d'impression spécifique de type « -oral ». Si « -oral » figure dans le paramètre de ligne de commande, supprimez-le pour imprimer correctement. Dans le cas du terminal Gimp, sélectionnez « print » -> « Setup printer » et modifier le paramètre de ligne de commande dans l'élement de commande.La version du système CUPS (Common Unix Printing System) intégrée à SuSE Linux 9.2 (cups-1.1.21) n'est pas compatible avec l'impression IPP (Internet Printing Protocol). Utilisez l'impression par port au lieu de l'impression IPP ou installez une version supérieure de CUPS (cups-1.1.22 ou version supérieure). |
| L'appareil n'imprime pas des pages entières et seule une moitié de page apparait sur la sortie. | Il s'agit d'un problème connu qui se produit lorsqu'un apparéil couleur est utilisé sur la version 8.51 ou une version antérieure de Ghostscript, le système d'exploitation 64 bits de Linux. Il est signalé sur bugsghostscript.com sous l'intitulé Ghostscript Bug 688252. Le problème est résolu dans AFPL Ghostscript 8.52 ou une version supérieure. Téléchargez la dernière version de AFPL Ghostscript à l'adresse http://sourceforge.net/projects/ghostscript/ et installez-la pour résoudre ce problème. |
| Impossible de numérique au moyen du terminal Gimp. | Vérifiez que le menu Acquire du terminal Gimp compte bien l'options Xsane: Device dialog. Sinon, installez le compagnon Xsane pour Gimp sur votre ordinateur. Vous trouvez z'ensemble compagnon Xsane pour Gimp sur le CD Linux ou sur la page d'accueil Gimp. Pour obtenir des informations plus détaillées, reportez-vous au CD d'aide de Linux ou à l'application de terminal Gimp. Si vous souhaitez utiliser un autre programme de numériqueation, reportez-vous à l'aide de l'application. |
| Je rencontres l'erreur « Cannot open port device file » lors de l'impression d'un document. | Il est déconseilé de modifier les paramètres de la tâche d'impression (via l'utilitaire LPR, par exemple) pendant l'impression d'une tâche. Les versions connues du serveur CUPS interrompent la tâche d'impression si les options d'impression sont modifiées, puis tentent de relaxer la tâche depuis le début. comme l'Unified Linux Driver verrouille le port lors de l'impression, la terminaison brute du pilote laisse le port verrouillé et indisponible pour les tâches d'impression suivantes. Si cette situation se produit, essayez de libérer le port en selectionnant Release port dans la fenêtre Port configuration. |
| État | Solutions possibles |
| L'appareil n'apparaît pas dans la liste des scanners. | Assurez-vous que votre appareil est relié à votre ordinateur, connecté correctement via le port USB, et sous tension.Assurez-vous que le pilote de numérisation correspondant à votre appareil est installé sur votre système. Ouvrez Unified Linux Driver, passez à Scanners configuration, puis appuyez sur Drivers. Vérifiez que le pilote portant le même nom que votre appareil est répertorié dans la fenêtre.Assurez-vous que le port est disponible. Étant donné que les composants de l'appareil (imprimante et scanner) partagent la même interface d'E/S (port), plusieurs applications utilisateur sollicitant l'appareil risquent d'acceder au port au même moment. Pour éviter tout conflit, une seule application est autorisée à acceder au périphérique. Un message « device busy » est envoyé à l'autre utilisateur. Ceci se produit généralement lors du démarrage d'une procédure de numérisation. Une boîte de message appropriée s'affiche.Pour identifier la source du problème, ouvrez Ports configuration et sélectionnez le port attribué à votre scanner. Le symbole du port / dev/mfp0 correspond à la désignation LP:0 affichée dans les options du scanner, /dev/ mfp1 se rapporte à LP:1 et ainsi de suite. Les ports USB démarrant à l'indication /dev/mfp4, le scanner sur USB:0 correspond à /dev/ mfp4, et ainsi de suite. Vérifiez si le port est occupé par une autre application dans le volet Selected port. Si tel est le cas, attendez la fin de la tâche ou appuyez sur la touche Release port si l'application utilisant le port ne fonctionne pas correctement. |
| L'appareil refuse de numériquer. | Assurez-vous qu'un document soit charge dans l'appareil, assurez-vous que votre appareil soit connecté à un ordinateur.S'il y a une erreur E/S pendant la numériquessation. |
Reportez-vous au guide de l'utilisateur Linux fourni avec votre ordinateur pour plus de renseignements sur les messages d'erreur Linux.
Problèmes Macintosh courants
| État | Solutions possibles |
| L'imprimante n'imprime pas correctement les fichiers PDF. Une partie des graphiques, du texte ou des illustrations manque. | L'impression du fjichier PDF en tant qu'image peut permettre l'impression du fjichier. Activez l'options Print As Image dans les options d'impression Acrobat.L'impression d'un fjichier PDF en tant qu'image demande plus de temps qu'une impression ordinaire. |
| Le document a eté imprimé, mais la tâche d'impression n'a pas disparu de la file d'attente sous Mac OS X 10.3.2. | Mettez à jour votre système d'exploitation Mac OS et passez au système 10.3.3 ou version ultérieure. |
| Certaines lettres ne s'affichent pas correctement lors de l'impression de la couverture. | Le système d'exploitation Mac OS ne peut pas creer la police lors de l'impression de la Couverture. L'alphabet anglais et les numéroros sont affichés correctement sur la page de couverture. |
| Lors de l'impression sous Mac OS d'un document dans Acrobat Reader 6.0 ou une version supérieure, les couleurs ne s'impriment pas correctement. | Vérifiez que la résolution définie dans le pilote de l'appareil correspond à celle d'Acrobat Reader. |
Reportez-vous au mode d'emploi Macintosh fourni avec votre ordinateur pour plus de renseignements sur les messages d'erreur Macintosh.

Fournitures et accessoires
Ce chapitre fournit des informations sur l'achat des consommables, des accessoires et des pieces de rechange disponibles pour votre apparéil.
Ce chapitre contient les sections suivantes :
Comment commander
- Consommables dispensibles
- Pièces de rechange disponibles

Les accessoires disponibles peuvent varier d'un pays à l'autre. Contactez vous représentant commercial pour obtenir la liste des accessoires disponibles.
Comment commander
Pour commander des accessoires, consommables et pieces de rechange agréées par Samsung, contactez le distributeur ou revendeur Samsung auprès duquel vous avez achetié l'appareil. Vous pouvez également visiter le site www.samsung.com/supplies. Sélectionnez votre pays/région, pour trouver le numéro à appeler pour bénéficier de nos services.
Consommables dispensibles
Lorsque le toner est épuisé, vous pouvez commander les types suivants de consommables pour votre apparéil :
| Type | Nombre de pages (moyenne)a | Nom de pièce |
| Capacité standard | Environ 1 500 pages | • 105 (MLT-D105S) • Région Ab: 1052 (MLT-D1052S) • Région Bc: 1053 (MLT-D1053S) |
| Rendement élevé | Environ 2 500 pages | • 105L (MLT-D105L) • Région Ab: 1052L (MLT-D1052L) • Région Bc: 1053L (MLT-D1053L) |
a. Capacité moyenne d'une cartouche conformément à la norme ISO/IEC 19752.
b. Région A: Albanie, Allemagne, Autriche, Belgique, Bosnie, Bulgarie, Chypre, Croatia, Danemark, Espagne, Finlande, France, Grce, Hongrie, Italie, Macedoine, Norvège, Pays-Bas, Pologne, Portugal, République Tchèque, Roumanie, Royaume-Uni, Serbie, Slovaquie, Slovenie, Suède, Suisse.
c. Région B: Chine et Inde.
Pour remplaçer une cartouche de toner, reportez-vous à la « Remplacement de la cartouche de toner » à la page 120.

La durée de vie de la cartouche peut varier selon les options et les modes de tâches utilisés.
- Remplacement de la cartouche de toner
- Vérification de la durée de vie des consommables
Vou devez acheter les consommables,notament les cartouches de toner,dans le même pays que celui ou vous avez achetevoire apparéil.Dans le cas contraire,les consommables seront incompatibles avec votre apparéil,car la configuration du système varie d'un pays à l'autre.
Samsung ne recommende pas l'utilisation de cartouches de toner non-Samsung, telles que les cartouches rechargées ou réusinées. Samsung ne peut garantir la qualité des cartouches de toner non-Samsung. Tout entretien ou réparation requis suite à l'utilisation de cartouches de toner non-Samsung ne sera pas couvert par la garantie de l'appareil.
Pièces de rechange disponibles
Afin d'éviter tout problème de qualité d'impression ou d'alimentation papier du à l'usure des pieces et de maintainir votre apparéil dans un excellent état de fonctionnement, remplacez les pieces ci-dessous au terme du nombre de pages indiqué ou de la durée de vie de chaque élément.
| Pièces | Nombre de pages (moyenne)a | Nom de pièce |
| Envviron 20 000 pages | RMO ADF RUBBER | |
| Rouleau de transfert | Envviron 50 000 pages | ROLLER-TRANSF ER |
| Unité de chauffe | Envviron 50 000 pages | FUSER |
| Rouleau d'entrainment | Envviron 50 000 pages | ROLLER-PICK UP |
| Unité de cassette | Envviron 50 000 pages | CASSETTE |
a. Peut varier en fonction du système d'exploitation utilisé, du fonctionnement de votre ordinateur, du logiciel d'application, de la méthode de connexion, du type et du format du support et de la complexité du travail.
Pour acheter des pieces de rechange, contactez la source où vous avez acheté l'appareil.
Il est recommandé de faire effectuer ces opérations de maintenance par un fournisseur agréé, un distributeur ou le revendeur auprès duquel vous avez acquis l'appareil. La garantie ne couvre pas le remplacement des pièces d'entretien après leur cycle de vie.
Remplacement de la cartouche de toner

Cliquez sur ce lien pour ouvrir une animation concernant le remplacement d'une cartouche de toner.
Lorsqu'une cartouche de toner a atteint sa durée de vie estimée :
- Fin de vie Rempl nouvel cart s'affiche à l'écran.
- L'impression est interrompue. Les télécopies entrantes sont enregistrées dans la mémoire.
Voudevez alors remplacer la cartouche de toner. Vérifiez le type de cartouche de toner adapté à votre apparéil (voir « Consommables disponibles » à la page 119).
- Ouvrez le capot avant.
- Retirez la cartouche usagée.

- Sortez une nouvelle cartouche de son emballage.
- Enlevez le papier de protection de la cartouche en tirant sur la bande de l'emballage.

- Repérez la bande adhésive de protection située à l'extrémité de la cartouche. Retirez délicatement la bande, puis jetez-la.


Si elle est correctement retiree, la bande doit en principe mesurer plus de 60 cm.
- En tenant la cartouche de toner, tirer sur la bande adhésive d'étanchéité pour le retarder de la cartouche. Faites attention de ne pas couper la bande. Si cela arrivait, vous ne pourriez pas utiliser la cartouche de toner.
-
Vous pouvez vous reporter aux illustrations figurant sur le papier d'emballage de la cartouche.
-
Secouez soigneusement la cartouche 5 ou 6 fais pour répartir le toner de façon homogène à l'intérieur de la cartouche. Le nombre de pages par cartouche en sera optimisé.

Si vous receivez du toner sur vos vêtements, essuyez-les avec un chiffon sec et lavez-les à l'eau froide. L'eau chaude fixe le toner sur le tissu.
Ne touchez pas la partie inférieure verte de la cartouche de toner. Utilisez la poignée de la cartouche pour éviter de toucher la zone en question.
- Tenez la cartouche de toner par la poignée et insérez-la délicatement dans l'ouverture de l'appareil.
Les taquets situés sur les côtés de la cartouche et les rainures correspondantes sur l'appareil facilitent l'insertion de la cartouche. Un déclic indique qu'elle est bien en place.

- Fermez le capot avant. Assurez-vous qu'il est bien fermé.
Vérification de la durée de vie des consommables
Si vous rencontres de féuents problèmes de bourrage papier ou d'impression, vérifie le nombre de pages que l'appareil a imprimé. Remplacez si nécessaire les pieces correspondantes.
- Appuyez sur la touche Menu du panneau de commande.
- Appuyez sur la flèche gauche/droite jusqu'à ce que CONFIG SYSTEME s'affiche, puis appuyez sur OK.
- Appuyez sur la flèche gauche/droite jusqu'à ce que MAINTENANCE s'affiche, puis appuyez sur OK.
- Appuyez sur la flèche gauche/droite jusqu'à ce que DUR VIE CONSO s'affiche, puis appuyez sur OK.
-
Appuyez sur la flèche gauche/droite jusqu'à ce que l'élement souhaité apparaisse, puis appuyez sur OK.
-
INFOS CONSO.: imprime la page d'informations concernant les fournitures.
TOTAL: affiche le nombre total de pages imprimées. - NUMÉRIS. ADF : affiche le nombre de pages numérisées à l'aide du chargeur automatique.
-
NUMERIS. VITRE : affiche le nombre de pages numériées à l'aide de la vente d'exposition.
-
Appuyez sur Arrête/Suppr. pour revenir en mode prét.
Caracteristiques techniques
Ce chapitre traite des caractéristiques techniques de l'appareil, telles que ses diverses fonctionnalités.
Il comprend les sections suivantes :
- Caracteristiques techniques du matériel
- Caracteristiques techniques environnementales
- Caracteristiques techniques électriques
- Spécifications des supports d'impression

Les valeurs presentees ici sont basées sur des données préliminaires. Consultez www.samsung.com/printer pour obtenir des informations récentes.
Caracteristiques techniques du matériel
| Élément | Description | |
| Dimensions | Hauteur | • SCX-4600 Series: 275,8 mm • SCX-4623F(K), SCX-4623FN: 318,9 mm SCX-4623FH: 318,9 mma |
| Profondeur | • SCX-4600 Series: 409 mm • SCX-4623F(K), SCX-4623FN: 415,4 mm • SCX-4623FH: 415,4 mma | |
| Largeur | • SCX-4600 Series: 416 mm • SCX-4623F(K), SCX-4623FN: 416 mm • SCX-4623FH: 416 mma | |
| Grammage | Appareil avec consommables | • SCX-4600 Series: 10,59 kg • SCX-4623F(K), SCX-4623FN: 11,55 kg • SCX-4623FH: 11,55 kga |
| Poids de l'emballage | Papier | • SCX-4600 Series: 2,13 kg • SCX-4623 Series: 2,29 kg |
| Plastique | • SCX-4600 Series: 0,62 kg • SCX-4623 Series: 0,49 kg | |
a. Les dimensions et le poids sont mesurés sans combiné.
\section*{Caracteristiques techniques environnementales}
| Élément | Description | |
| Niveau sonorea | Mode prét | 26 dB(A) |
| Mode impression | 50 dB(A) | |
| Mode copie (vitre de numérisation) | 50 dB(A) | |
| Mode copie (chargeur de documents) | 52 dB(A) | |
| Température | Fonctionnement | 10 à 32 °C |
| Stockage | 10 à 32 °C | |
| Humidité | Fonctionnement | 20 à 80 % HR |
| Stockage | 20 à 80 % HR | |
a. Pression sonore, ISO 7779. Configuration testee : installation de base de l'appareil, papier A4, impression simple face.
Caracteristiques techniques électriques

La configuration électrique est basée sur le pays/la région où est vendu l'appareil. Ne convertissez pas les tensions de fonctionnement. Vous risqueriez en effet d'endommager l'appareil et d'annuler la garantie du produit.
| Élément | Description | |
| Alimentationa | Modèles 110 volts | CA 110 - 127 V |
| Modèles 220 volts | CA 220 - 240 V | |
| Consommation électrique | Mode de fonctionnement moyen | Inférieure à 370 W |
| Mode prét | Inférieure à 45 W | |
| Mode économique d'énergie | Inférieure à 10 W | |
| Mode hors tension | inférieure à 1 W | |
a. Pour plus d'informations sur la puissance, la fréquence (Hertz) et le type de courant appropriés pour l'appareil, reportez-vous à l'étiquette de specifications sur l'appareil.
Spcifications des supports d'impression
| Type | Format | Dimensions | Grammage du support d'impressiona/Capacitéb | |
| Bac 1 | Bac manuel | |||
| Lettre | 216 × 279 mm | 60 à 120 g/m2· 250 feuilles de 80 g/m2 | 60 à 220 g/m2· Emplement 1 feuille | |
| Légal | 216 × 356 mm | |||
| Folio | 216 × 330 mm | |||
| A4 | 210 × 297 mm | |||
| Oficio | 216 × 343 mm | |||
| JIS B5 | 182 × 257 mm | 60 à 90 g/m2· 150 feuilles de 80 g/m2 | ||
| ISO B5 | 176 × 250 mm | |||
| Executive | 184 × 267 mm | |||
| A5 | 148 × 210 mm | |||
| A6 | 105 × 148 mm | |||
| Enveloppe | Env. Monarch | 98 × 191 mm | Non disponible dans le bac 1 | 75 à 90 g/m2· Emplement 1 feuille |
| Env. No.10 | 105 × 241 mm | |||
| Env. DL | 110 × 220 mm | |||
| Env. C5 | 162 × 229 mm | |||
| Env. C6 | 114 × 162 mm | |||
| Papier épais | Reportez-vous à la section Papier ordinaire | Reportez-vous à la section Papier ordinaire | 90 g/m2 | 90 g/m2· Emplement 1 feuille |
| Papier fin | Reportez-vous à la section Papier ordinaire | Reportez-vous à la section Papier ordinaire | 60 à 70 g/m2 | 60 à 70 g/m2· Emplement 1 feuille |
| Transparent | Reportez-vous à la section Papier ordinaire | Reportez-vous à la section Papier ordinaire | Non disponible dans le bac 1 | 138 à 146 g/m2· Emplement 1 feuille |
| Étiquettesc | Lettre, Légal, Folio, A4, B5 JIS, B5 ISO, Executif, A5, Statement | Reportez-vous à la section Papier ordinaire | Non disponible dans le bac 1 | 120 à 150 g/m2· Emplement 1 feuille |
| Papier cartonné | Lettre, Légal, Folio, A4, B5 JIS, B5 ISO, Executif, A5, Statement, Carte postale 4x6 | Reportez-vous à la section Papier ordinaire | Non disponible dans le bac 1 | 105 à 163 g/m2· Emplement 1 feuille |
| Format minimal (personnalisé) | 76 × 127 mm | 60 à 163 g/m2 | ||
| Format maximal (personnalisé) | 216 × 356 mm | |||
a. Si le grammae du support est supereir a 120~g / m^2 , chargez le papier feuille par feuille dans le bac.
b. La capacité des bacs peut varier en fonction du gramma et de l'épaissur des supports, ainsi que de l'environnement d'utilisation.
c. Satinage : 100 à 250 (méthode Sheffield).
Contact SAMSUNG worldwide
Le glossaire suivant vous permet de vous familiariser avec le produit grâce à une définition des termes courants de l'impression ainsi que des termes mentionnés dans le present guide de l'utilisateur.
802.11
802.11 est un ensemble de normes pour les communications par réseau local sans fil (WLAN), développé par le comité de normes IEEE LAN/MAN (IEEE 802).
802.11b/g/n
802.11b/g/n peut partager le même matériel et utiliser la bande 2,4 GHz.
802.11b prend en charge une bande passante jusqu'à 11 Mbit/s,
802.11n prend en charge une bande passante jusqu'à 150 Mbits/s. Les péripériques 802.11b/g/n peuvent parfois souffrir d'interférences provenant de jours à micro-ondes, des téléphones sans-fil et des péripériques Bluetooth.
Point d'accès
Un point d'accès ou point d'accès sans fil (AP ou WAP) est un périphérique qui relié les périphériques de communication sans fil ensemble sur des reseaux locaux sans fil (WLAN), et fait office d'émetteur et récepteur central des signaux radio du WLAN.
ADF
Un chargeur automatique de documents (ADF) est un module de numérisation pouvant charger automatiquement un document original afin de numériser une pile de documents en une seule tâche.
AppleTalk
Suite de protocôles réseau propriétaires développée par Apple, Inc.
Cette suite de protocôles, intégrée aux premiers produits Macintosh (1984), est désormais tombée en désuétude au profit de la pile de protocôles réseau TCP/IP.
Profondeur de bit
Terme d'infographie désignant le nombre de bits représentant la couleur d'un pixel dans une image matricielle. Une profondeur de bit (ou de couleur) plus élevée permet d'obtenir une gamme de couleurs plus large. Plus le nombre de bits est élevé, plus le nombre de couleurs possibles est grand. Une couleur codée sur 1 bit est communément qualifiée de monochrome ou noir et blanc.
BMP
Format d'images matricielles utilisé par le sous-système graphique de Microsoft Windows (GDI) et, communément, comme format de fichiers image sur cette plate-forme.
BOOTP
Protocole d'amorçage. Protocole réseau permettant d'attribuer automatiquement une adresse IP à un client du réseau. Ceci s'effectue généralement dans le processus bootstrap d'ordinateurs ou de
systèmes d'exploitation les exécutant. Les serveurs BOOTP attribuent l'adresse IP à chaque client à partir d'un ensemble d'adresses. Le protocole BOOTP permet aux postes de travail qui ne disposent pas de disque dur d'obtenir une adresse IP avant d'amorcer un système d'exploitation.
CCD
Le capteur à transfert de charge (CCD) est un élément matériel permettant de numériser un document. Un dispositif de verrouillage des capteurs CCD est également utilisé pour maintainir le module CCD afin d'empêcher tout dommage pendant le transport.
Assemblage
Méthode d'impression de documents comptant plusieurs exemplaires en différents jours de tirages. Lorsque le tri est sélectionné, le péripérique imprime un jeu dans son intégralité avant d'imprimer d'autres exemplaires.
Panneau de commande
Le panneau de commande est une zone plane, généralement verticale, sur laquelle s'affichent les outils de commande et de surveillance. Il se trouve généralement à l'avant de l'appareil.
Couverture
Terme d'impression correspondant à une mesure de l'utilisation du toner. Par exemple, une couverture de 5% signifie qu'une feuille de papier au format A4 comporte environ 5% d'image ou de texte. Si le papier ou l'original comporte des images complexes ou une grande quantité de texte, la couverture sera supérieure à 5% et l'utilisation du toner sera équivalente à cette couverture.
CSV
Valeurs séparées par des virgules (CSV). Format de fichier utilisé pour échanger des données entre des applications différentes. Ce format de fichier, utilisable sous Microsoft Excel, est devenu une norme de facto, même sous les environnementes autres que Microsoft.
DADF
Un chargeur automatique de documents recto- verso (DADF) est un module de numérisation pouvant charger automatiquement un document original puis le returner, afin de numériser des documents recto- verso.
Par défaut
Valeur ou paramètre appliqué en sortie d'usine ou lorsque l'appareil a été réinitialisé.
DHCP
Un protocole de configuration dynamique de l'hote (DHCP) est un protocole reseau client-serveur. Un serveur DHCP fournit des parametes de configuration specifiques à l'hote client DHCP
demandant, généralement, des informations requises par l'hote client pour participer à un réseau IP. Le protocole DHCP permet également l'attribution d'adresses IP aux hôtes client.
DIMM
Le module mémoire double en ligne (DIMM) est une carte électronique qui contient de la mémoire. Une carte DIMM stocke toutes les données de l'appareil, par exemple les données d'impression ou les données de télécopie reçues.
DLNA
Le Digital Living Network Alliance (DLNA) est une norme qui permet aux apparéils d'un réseau domestique de partager des informations entre eux à travers tout le réseau.
DMPr
L'imprimante multimédia numérique (DMPr) est un périhérique qui permet d'imprimer sur un réseau domestique DLNA. L'imprimante multimédia numérique (DMPr) imprime une page en combinant les images avec un modèle XHTML (Extensible HyperText Markup Language).
DNS
Le serveur de nom de domaine (DNS) est un système qui stocke des informations associées au nom de Domaine dans une base de données répartie sur des réseaux, comme Internet.
Imprimante matricielle
Type d'imprimante dont la tete d'impression balaie la page de part et d'autre, puis transfere l'encre en frappant un ruban encreur ; ce principe de fonctionnement est analogue à celui d'une machine à écrire.
DPI
Unité de mesure de la résolution de numérisation et d'impression. De manière générale, une forte valeur de PPP se traduit par une plus grande résolution, des détails d'image plus fins et un volume de fichier plus élevé.
DRPD
Détction sélective de tonalité d'appoint. Le service téléphonique de sonnerie distincte permet à un utilisateur de se servir d'une seule ligne téléphonique pour répondre à différents numéroes de téléphone.
Recto/Verso
Fonctionnalité permettant un returnement automatique d'une feuille de papier afin d'imprimer (ou de numérique) sur les deux faces du papier. Une imprimante équipée d'un module Recto/Verso peut imprimer sur les deux côts du papier en un seul cycle d'impression.
Capacité de traitement
Quantité de pages n'aflectant pas les performances de l'imprimante sur un mois. Généralement, l'imprimante a une durée de vie limitée par exemple au nombre de pages par an. Cette durée de vie correspond à la capacité moyenne d'impression, qui couvre généralement la période de garantie. Par exemple, si la capacité de traitement est 48 000 pages
par mois en supposant 20 jours de travail, une imprimante est limitée à 2 400 pages par jour.
ECM
Le mode de correction d'erreur (ECM) est un mode de transmission facultatif intégré aux télécopieurs de classe 1 ou aux modems de télécopie. Ce mode déetecte et corrige automatiquement toute erreur de transmission de télécopie provoquée par du bruit sur la ligne téléphonique.
Émulation
Procedé permettant de reproductive le fonctionnement d'un apparéil sur un autre.
Un émulateur réplique les fonctions d'un système sur un système différent de telle façon que le second fonctionne exactement comme le premier. L'émulation consiste à reproduce rigoureusement le comportement externe, ce qui la différence de la simulation, qui renvoie à la simulation du modele abstraït d'un système enPNANT en considération le fonctionnement interne.
Ethernet
Technologie de réseau informatique reposant sur des trames, pour des réseaux locaux (LAN). Il définit le câblage et la transmission de signaux de la couche physique, et les formats de trame et les protocôles pour la couche de contrôle d'accès au support (MAC)/couche liaison de données du modulo OSI. Ethernet est principalement standardisé en IEEE 802.3. C'est devenu la technologie de réseau local la plus répandue depuis les années 1990 jusqu'àquourd'hui.
EtherTalk
Suite de protocoles reseau développée par Apple Computer. Cette suite de protocoles, intégrée aux premiers produits Macintosh (1984), est désormais tombée en désétude au profit de la pile de protocoles reseau TCP/IP.
FDI
L'interface pour pérophérique étranger (FDI) est une carte installée à l'intérieur de l'appareil afin de permettre l'installation d'un pérophérique tiers comme un monnayeur ou un lecteur de cartes. Vous pourrez ainsi activer un service d'impressionpayant sur votre apparéil.
FTP
Un protocole de transfert de fichiers (FTP) est un protocole très repandu d'échange de fichiers sur tout réseau prénant en charge les protocoles TCP/IP (Internet ou Intranet).
Unité de chauffe
Piece de l'imprimante laser qui fixe le toner sur le support d'impression. Cette unité est constituée d'un rouleau thermique et d'un rouleau presseur. Une fois le toner transféré sur le papier, l'unité de chauffe applique la chaleur et la pression requises pour que le toner adhére de manière permanente sur le papier; c'est la raison pour laquelle le papier est chaud en sortant de l'imprimante laser.
Passerelle
Connexion entre des reseaux informatiques ou entre un réseau informatique et une ligne téléphonique. Celle-ci est très repandue,
puisqu'il s'agit d'un ordinateur ou d'un réseau qui autorise l'accès à un autre ordinateur ou réseau.
Niveaux de gris
Nuances de gris représentant les parties claires et foncées d'une image lorsque les images couleur sont converties en niveau de gris ; les couleurs sont représentées par différents niveaux de gris.
Demi-teinte
Type d'image simulant des niveaux de gris en variant le nombre de points. Les zones très riches en couleur se composent d'un grand nombre de points, tandis que les zones plus claires se composent d'un moins grand nombre de points.
HDD
Péripétrique de stockage non volatil qui enregistre des données codées numérique sur des plateaux en rotation recouverts d'une surface magnétique.
IEEE
L'IEEE (IEEE) est une organisation professionnelle internationale à but non lucratif dédiée à l'avancée des technologies liées à l'électricité.
IEEE 1284
Norme relative au port parallele 1284 mise au point par l'IEEE (Institute of Electrical and Electronics Engineers). Le terme « 1284-B » renvoie à un type de fiche spécifique pour câbles paralleles se connectant au péripérisque (par exemple, une imprimante).
Intranet
Réseau privé qui utilise des protocôtes Internet, une connectivité réseau et évientuèlement le système public de télécommunications pour partager de manière sécurisée une partie des informations ou opérations d'une organisation avec ses employés. Parfois, le terme désigne seulement le service le plus visible, le site Web interne.
Adresse IP
Une adresse de protocole Internet (adresse IP) est un nombre unique perceptant d'identifier les péripériques d'un réseau IP afin qu'ils échangent des données.
IPM
Unité de mesure de la vitesse d'une imprimante. Le nombre d'images par minute indique le nombre de feuilles recto que l'imprimante peut terminer en une minute.
IPP
Le protocole d'impression Internet (IPP) est un protocole normalisé permettant l'impression ainsi que la gestion notamment des tâches d'impression, des formats de supports ou encore de la résolution. Le protocole IPP peut être utilisé en local ou via Internet pour des centaines d'imprimantes et prend en charge le contrôle d'accès et l'authentication, ce qui en fait une technologie d'impression plus fiable et plus sécurisée que ses prédécesseurs.
IPX/SPX
IPX/SPX est l'acronyme de Internet protocole d'échange de paquets entre réseaux/protocole d'échange de paquets séquentiels. Ce sont des protocôles réseaux utilisés par les systèmes d'exploitation Novell NetWare. Les protocôles IPX et SPX offrent des services de connexion similaires à TCP/IP. Le protocole IPX est comparable au protocole IP ; et SPX, au protocole TCP. IPX/SPX ont été conçus initialement pour les réseaux locaux (LAN). À ce titre, ils sont des protocôles très performants pour cet usage (généralement, les performances dépassant celles des protocôles TCP/IP sur un réseau local).
ISO
L'organisme international de normalisation (ISO) est composé de représentants d'institutions de normalisation nationales. Il définit des normes commerciales et industrielles à l'échelle mondiale.
ITU-T
L'union internationale des télécommunications est un organisme international de normalisation et de régulation des télécommunications et des transmissions hertziiennes internationales. Ses missions principales incluent la normalisation et l'attribution de bandes de fréquences hertziiennes, et la gestion de l'interconnexion entre les différents pays afin de permettre les appeals internationaux. Le -t de ITU-T renvoie à télécommunication.
Mire ITU-T N° 1
Mire de test normalisée, publiée par l'ITU-T, pour les transmissions de télécopies.
JBIG
Norme de compression d'image sans pertes de précision ou de qualité, développée pour la compression des images binaires, notamment des télécopies, mais aussi pour d'autres images.
JPEG
Le groupe mixte d'experts en photographie (JPEG) est un format de compression avec pertes utilisée pour les photographies. Ce format est utilisé pour le stockage et la transmission de photographies sur Internet.
LDAP
Le protocole d'accès à l'annuaire léger (LDAP) est un protocole réseau d'interrogation et de modification des services d'annuaire sur TCP/IP.
Voyant
Semi-conducteur qui indique l'etat de l'appareil.
Adresse MAC
Le contrôle d'accès au support (MAC) est un identifient unique associé à une carte réseau. Une adresse MAC est un identifient unique code sur 48 bits, généralement représenté par 12 caractères hexadécimaux groupés par paires (par exemple, 00-00-0c-34-11-4e). Cette adresse est généralement programmée dans la mémoire morte de la carte réseau par le constructeur et facilité la détction des machines locales par les routeurs sur des réseaux de grandes dimensions.
MFP
Le périhérique multifonction (MFP) est un équipement bureauque doté des fonctionnalités suivantes : impression, télécopie, scanner, etc.
MH
MH (Modified Huffman) est une méthode de compression pour diminuer la quantité de données à transmettre entre les télécopieurs pour transférer l'image commandeée par l'ITU-T T.4. MH est un schéma de codage de longueur d'exécution basé sur un livre de codes, optimisé pour compresser efficacement l'espace blanc. Dans la mesure où la plupart des télécopies sont constituées d'espaces blancs, ce procédé réduit les temps de transmission de la plupart des télécopies.
MMR
Le Modified Modified READ est un algorithme de compression recommandé par l'ITU-T T.6.
Modem
Appareil permettant de moduler le signal d'une porteuse afin d'encoder des données numériques et de démoduler un tel signal afin de découvert des données transmises.
MR
Le MR (Modified Read) est un algorithme de compression recommendé par l'ITU-T T.4. MR code la première ligne numérique à l'aide de MH. La ligne suivante est comparée à la première ; ensuite, les différences sont établies puis encodées et transmises.
NetWare
Système d'exploitation réseau développé par Novell, Inc. À l'origine, il utilise le multitâche coopératif pour executer plusieurs services sur un micro-ordinateur et les protocôles réseau reposaient sur la pile XNS de Xerox. Aujourd'hui, NetWare prend en charge aussi bien TCP/IP que IPX/SPX.
OPC
Dispositif créé une image virtuelle pour l'impression à l'aide d'un faisceau laser émis par l'imprimante laser ; il est généralement de couleur verte ou rouille et de forme cylindrique.
Avec le temps, une unité d'imagerie complRentant un tambour use la surface de ce dernier lorsqu'elle est utilisée dans l'imprimante et elle doit etre remplacement de maniere appropriee puisqu'elle est usée suite au contact avec la Brosse de devellopment de la cartouche, le dispositif de nettoyage et le papier.
Originaux
Premier exemplaire d'un document comme une photographie ou du texte, qui est copié, produit ou traduit afin de produit d'autres exemplaires, mais qui n'est pas issu d'un autre document.
OSI
L'interconnexion de systèmes ouverts (OSI) est un modèle de transmission des données développé par l'Organisation internationale de normalisation (ISO). Le modele OSI définit une méthode standard et modulaire de conception des reseaux qui divise l'ensemble des fonctions complexes nécessaires en des couches fonctionnelles,
autonomes et administrables. Les couches sont, de haut en bas, les suivantes : application, presentation, session, transport, réseau, liaison de données et physique.
Autocommutatetr
Équipement de commutation téléphonique automatique destiné aux entreprises privées.
PCL
Le langage de commande d'imprimante (PCL) est un langage de description de page (LDP), devenu une norme de l'industrie, développé par HP comme protocole d'impression. Développè à l'origine pour les imprimantes à jet d'encre, PCL a été appliqué aux imprimantes thermiques, matricielles et aux imprimantes laser.
Le format PDF (PDF) est un format de fichier propriétaire développé par Adobe Systems pour représentier les documents bidimensionnels dans un format indépendant du périhérique ou de la résolution.
PostScript
PS (PostScript) est un langage de description de page et de programmation utilisé principalement dans les domaines de la publication électronique et assistée par ordinateur. Il est exécuté dans un interpréteur pour générer une image.
Pilot d'impression
Programme utilisé pour transmettre des commandes et des données de l'ordinateur vers l'imprimante.
Support d'impression
Support tel qu'une feuille, une enveloppe, une étiquette et un transparent pouvant être utilisé dans une imprimante, un scanner, un télécopieur ou un copieur.
PPM
Unité de mesure permettant de déterminer la cadence d'une imprimante, c'est-à-dire le nombre de pages pouvant être produit par l'imprimante en une minute.
Fichier PRN
Interface du pilote d'un périphérique permettant au logiciel d'interagir avec le pilote du périphérique en utilisant des appels de système d'entrée/sorting standard, simplifiant ainsi de nombreuses tâches.
Protocole
Convention ou norme qui contrôle ou permet la connexion, la communication, et le transfert de données entre deux points terminaux de calcul.
PS
Voir PostScript.
PSTN
Réseau des réseaux téléphoniques à commutation de circuits internationaux généralement acheminé, sur les sites industriels, via le standard téléphonique.
RADIUS
RADIUS (Remote Authentication Dial In User Service) est un protocole d'authentication et de comptabilité pour un utilisateur distant. RADIUS permet une gestion centralisée des données d'authentication comme les noms d'utilisateur et les mots de passer à l'aide d'un concept AAA (authentication, autorisation, et comptabilité) pour:gérer l'accès au réseau.
Résolution
Precision d'une image, mesure en points par pouce. Plus le nombre de ppp est élevé, plus la résolution est élevé.
SMB
Le bloc de message serveur (SMB) est un protocole réseau dédié principalement au partage de fichiers, aux imprimantes, aux portes série et à divers échanges entre les nœuds d'un réseau. Ce protocole permet également un système de communication interprocessus authenticate.
SMTP
Le protocole simple de transfert de courrier (SMTP) est une norme de transmission de messages sur Internet. Le protocole SMTP, reposant sur du texte, est relativement simple. Un ou plusieurs destinataires du message sont définis, puis le texte du message est transféré. Il s'agit d'un protocole client-serveur permettant à un client de transmettre des messages électroniques au serveur.
SSID
L'identifant d'ensemble de services (SSID) est un nom d'un réseau local sans fil (WLAN). Tous les périphériques sans fil d'un WLAN utilisent le même SSID pour communiquer les uns avec les autres. Les SSID respectent la casse et ont une longueur maximale de 32 caractères.
Masque de sous-réseau
Code utilisé conjointement à l'adresse réseau permettant de déterminer la partie de l'adresse correspondant à l'adresse réseau et la partie de l'adresse correspondant à l'adresse de l'hôte.
TCP/IP
Le protocole de contrôle de transmission (TCP) et le protocole Internet (IP) sont un ensemble de protocoles de communication implémentant la pile de protocoles sur laquelle fonctionnent Internet et la plupart des réseaux commerciaux.
TCR
Le rapport de confirmation de transmission (TCR) est un journal fournissant des informations sur chaque transmission, telles que l'état de la tâche, le résultat de la transmission et le nombre de pages envoyées. L'impression de ce journal peut être paramétrée pour être effectuee après chaque tâche ou bien après chaque échec de transmission.
TIFF
Format d'image matricelle à résolution variable. De manière générale, le format TIFF correspond aux données image provenant d'un scanner. Les images TIFF utilisent des balises et des mots-clés définissant les caractéristiques de l'image incluse au fisier. Ce format flexible et multi-plateforme peut être utilisé pour des images créées sous différentes applications de traitement d'images.
Cartouche de toner
Sorte de bouteille ou de recipient se trouvant dans un apparéil comme une imprimante et contenant du toner. Le toner est une poudre utilisée dans les imprimantes laser et les photocopieurs qui forme le texte et les images sur le papier imprimé. Le toner est fondu en utilisant la combinaison chaleur/pression de l'unité de chauffe et se fixe dans les fibres du papier.
TWAIN
Norme de l'industrie relative aux scanners et aux logiciels. En utilisant un scanner compatible TWAIN avec un programme compatible TWAIN, une tâche de numérisation peut être lancée depuis ce programme. C'est une capture d'image API pour systèmes d'exploitation Microsoft Windows et Apple Macintosh.
Chemin UNC
La convention de nommage uniforme (UNC) est une méthode standard permettant d'acceder à des ressources partagées sous Windows NT ainsi que sous d'autres produits Microsoft. Le format d'un chemin UNC est : \
URL
Le localisateur uniforme de ressource (URL) est l'adresse globale des documents et des ressources sur Internet. La première partie de l'adresse indique le protocole utilisé, la seconde partie spécifique l'adresse IP ou le nom de Domaine correspondant à l'emplacement de la ressource.
USB
Le bus série universel (USB) est une norme développée par USB Implementers Forum, Inc. pour connecter les ordinateurs et les péripériques. Contrairement au port parallele, le port USB est conçu pour permettre de connecter un seul ordinateur à plusieurs péripériques.
Filigrane
Image reconnaissable ou motif plus clair sur le papier, visible par transparence. Les filigranes ont ete initialement introduits a Bologne, en Italie, en 1282. IIs ont ete utilisés par les fabricants de papier afin d'identifier leurs produits, sur les timbres, les billets de banque et autres documents officiens afin d'empêcher la contrefaison.
WEP
WEP (Wired Equivalent Privacy) est un protocole de sécurité spécifique dans l'IEEE 802.11 pour fournir le même niveau de sécurité que celui d'un réseau local cable. WEP procure la sécurité en chiffrant les données hertzioniennes afin de les protégger lorsqu'elles sont transmises d'un point final à un autre.
WIA
Architecture graphique lancée initialement sous Windows Me et Windows XP. Une tâche de numérisation peut être lancée à partir de ces systèmes d'exploitation à l'aide d'un scanner compatible WIA.
WPA
L'accès protégé Wi-Fi (WPA) est une classe de systèmes pour sécuriser les réseaux d'ordinateurs sans fil (Wi-Fi), qui a été créé pour améliorer les fonctionnalités de sécurité de WEP.
WPA-PSK
L'accès protégé Wi-Fi avec clé pré-partagée (WPA Pre-Shared Key) est un mode spécial de WPA pour les petites entreprises ou les utilisateurs personnels. Une clé partagée, ou un mot de passer, est configuré dans le point d'accès sans fil (WAP) et n'importe quels portables ou périphériques de bureau sans fil. WPA-PSK générale une clé unique pour chaque session entre un client sans fil et le WAP associé pour une sécurité plus évoluée.
WPS
Le paramétrage protégé Wi-Fi (WPS) est un standard permettant de créé un réseau local sans fil. Si vous point d'accès sans fil prend en charge le WPS, vous pouvez configurer la connexion du réseau sans fil facilement sans avoir à utiliser un ordinateur.
XPS
La spécification papier XML (XPS) est une spécification de langage de description de page (PDL) et un nouveau format de document, développé par Microsoft, qui présente les avantages du document portable et du document électronique. Il s'agit d'un format de document vectoriel indépendant du pérophérique, basé sur XML et sur un nouveau chemin d'impression.
A
affichage 29
affiche impression 59
authentication impression dun journal 87
B
bac
chargement du papier dans le bac manuel 52
modification du format du bac 51
réglage de la largeur et de la longueur 51
réglage du type et du format de papier 55
bac manuel
chargement 52
conseils dutilisation 52
utilisation de support spécial 52
bourrage papier
astuces pour éviter les bourrages papier 102
dégager le papier 102
bouton arrêtesuppr 29, 30
brochures 59
C
cable USB installation du pilote 34
caracteristiques techniques
général 122
support dimpression 124
cartouche de toner
autonomie estimée 99
enregistrement 99
instructions de manipulation 99
nonSamsung et recharges 99
redistribution du toner 100
replacement de la cartouche de toner 120
chargement dans le chargeur de documents 50
originaux sur la vitre dexposition 49
papier dans le bac 1 51
papier dans le bac manuel 52
support special 52
chargeur de documents 50
configuration de copie 87
configuration de fax 85
configuration réseau 89
convention 23
copie
clone copie de type 68
copie de base 66
Copie de carte identité 67
copie de type affiche 68
copie pages multiples 68
modification de la configuration de copie 87
réduction ou agrandissement de copies 66
régler le contraste 66
sélection du format des originaux 66
tri 69
Copie de cartes identité 67
copie pages multiples 68
définition de la résolution dimpression Linux 64
délambdaexpirationde la tâche 48
document original
chargement
dans le chargeur de documents 50
sur la vitreDEXPOSITION 49
suppression dun bourrage papier 101
E
économie dénergie
utilisation du mode déconomie dénergie 47
écran modification de la langue daffichage 45
écran daffichage 30
envoi de télécopies
envoi différe 79
envoi dune télécopie 77
envoi multiple 78
recomposition du dernier numero 78
F
fonctions 25
caracteristique du support dimpression 124
caracteristiques de lappareil 85, 122
fonctionnalité déconomie dénergie 47
logiciels fournis 32
pilote dimpression 57
fournitures
autonomie estimée de la cartouche de toner 99
commande 119
consommables disponibles 119
replacement de la cartouche de toner 120
suivi de la durée de vie des consommables 97
G
glossaire 127
H
hors tension Touche 31
1
impression
impression dans un fichier 62
impression de filigranes 60
impression dun document
Windows 57
impression dun document sur un format de papier donné 60
impression recto versuso
Windows 60
Linux 64
Macintosh 63
modification de la proportion dimpression 60
modification des réglages dimpression par défaut 62
plusieurs pages sur une seule feuille
Macintosh 64
Windows 59
poster 59
utilisation de la surimpression 61
impression brochure 59
impression de surimpression
creation 61
impression 61
supprimer 62
impression dun document
Linux 64
Macintosh 63
impression N pages sur 1
Macintosh 64
Windows 59
impression recto versus manuelle
pilote dimpression 60
Informations legales 14
L
langue 45
Ligne
matériel 29
Linux
configuration requise 34
impression 64
installation du pilote pour une connexion par cable USB 36
installation du pilote pour une connexion réseau 43
logiciels fournis 33
numérisation 74
problèmes Linux courants 116
propriétés de limprimante 65
utilisation de SetIP 40
utilisation du programme SetIP 94
M
Macintosh
configuration requise 34
impression 63
installation du pilote pour une connexion par cable USB 35
installation du pilote pour une connexion réseau 42
logiciels fournis 33
numérisation 73
partage local dun apparel 37
problèmes Macintosh courants 118
utilisation de SetIP 40
utilisation du programme SetIP 94
mémoire
effacement de la mémoire 88
message derreur 104
mise en marche de lappareil 31
mise en place dun apparéil
espacement 32
réglage de laltitude 45
mode economie de toner 47
N
nettoyage
extérieur 98
intérieur 98
module de numérisation 98
nettoyage dun apparieil 97
numérisation
informations de base 70
Linux 74
Macintosh 73
modification des paramètres par défaut 46
pour une connexion locale 70
TWAIN 72
panneau de commande 29, 30
paramètres par défaut
chargement du papier 46
modification des paramètres par défaut 46
paramétrage de lentête de télécopie 77
parametes du bac 55
pièces de rechange 119
pilote dimpression
fonctions 57
préférences de limprimante
Linux 65
présentation des menus 89
problèmes
problèmes dalimentation 108
problèmes dalimentation papier 108
problèmes de copie 114
problèmes de qualité dimpression 111
programme SetIP 39,40,94
propriétés de limprimante 59
R
rapports
adresse MAC réseau 94
réception de télécopie
telephoneauxiliaire80
réception de télécopies
activation de la réception protégée 81
en mode faxrépondeur 80, 81
mode DRPD 81
modifierlemode deréception80
réception sécurisée 81
réglage
format du bac 47
réglage de la date 45
réglage de l'heure 45
réglage du délambda de réinitialisation de copie 69
réglagesfavoris pourlimpression58
répondeurtelecopie 80
réseau
environmentdinstallation 38
installation du pilote
Linux 43
Macintosh 42
Windows 41
présentation des programmes réseau 38
programme SetIP 39,40,94
utilisation dun reseau cable 38
configuration IPv6 43
résolution
telécopie 82
résolution dimpression définition
Macintosh 63
s
saisie
à laide du pavé numérique 46
scanner
chargement des documents 49
covercle 27
vitre 49
sécurities
Informations 9
symboles 9
support de sortie papier 55
support dimpression
enveloppe 53
étiquettes 54
instructions 50
papier à entête 54
papier brilliant 54
papier cartonne 54
papier photo 54
papier préimprimé 54
réglage du bac et du papier par défaut au panneau de commande 47 dans lordinateur 48
réglagedu format depapier55
réglagedutypedepapier55
support de sortie papier 124
transparent 53
SyncThru Web Service
informations generales 91
T
telecopie
carnet dadresses 83
changer le mode de réception 80
composition de groupe 83
envoi 77
envoi dune telécopie différée 79
envoi dune telécopie prioritaire 79
modification de la configuration de télécopie 85
numérotation automatique 83
préparation à lenvoi de télécopie 76
réception 80
réception avec un téléphone auxiliaire 80
réception dune télécopie en mémoire 81
réception en mode RépFax 80
réception en mode TEL 80
recomposition du dernier numéro 78
réglage de la résolution 82
réglage de lentete de télécopie 77
regler le contraste 82
transfert des télécopies 82
telephoneauxiliaire80
touche de démarrage 29, 30
touches
alimentation 31
TWAIN numérisation 72
type doriginal
copie 66
U
utilisation du programme SetIP
Linux 94
Macintosh 94
Windows 94
V
vitre dexposition
chargement des documents 49
voyant
état de lappareil 31
présentation duvoyant détat 31
vue arrière 28
vue avant 27
W
installation du pilote pour une connexion
par cable USB 34
installation du pilote pour une connexion
réseau 41
logiciels fournis 33
numérisation 70
partage local dun appareil 37
problèmes Windows courants 116
utilisation de SetIP 39
utilisation du programme SetIP 94
Windows7
numérisation 73
Notice Facile