SCIH3661B - Cuison induction DARRYSCHNEIDER - Notice d'utilisation et mode d'emploi gratuit
Retrouvez gratuitement la notice de l'appareil SCIH3661B DARRYSCHNEIDER au format PDF.
| Type de table | Induction |
| Nombre de foyers | 3 |
| Commandes | Touches tactiles |
| Affichage | LED |
| Puissance totale | Non précisé |
| Zones de cuisson | Différentes tailles |
| Fonction booster | Oui |
| Sécurité enfants | Oui |
| Minuterie | Oui |
| Détection automatique des casseroles | Oui |
| Matériau de la surface | Verre céramique |
| Dimensions | Non précisé |
| Couleur | Noir |
| Installation | Encastrable |
| Protection contre la surchauffe | Oui |
| Indicateur de chaleur résiduelle | Oui |
FOIRE AUX QUESTIONS - SCIH3661B DARRYSCHNEIDER
Questions des utilisateurs sur SCIH3661B DARRYSCHNEIDER
0 question sur cet appareil. Repondez a celles que vous connaissez ou posez la votre.
Poser une nouvelle question sur cet appareil
Téléchargez la notice de votre Cuison induction au format PDF gratuitement ! Retrouvez votre notice SCIH3661B - DARRYSCHNEIDER et reprennez votre appareil électronique en main. Sur cette page sont publiés tous les documents nécessaires à l'utilisation de votre appareil SCIH3661B de la marque DARRYSCHNEIDER.
MODE D'EMPLOI SCIH3661B DARRYSCHNEIDER
Manuel d'instructions
Veillez lire attentivement les instructions suivantes avant d'utiliser cet appareil. Veillez conserver ces instructions pour toute future référence.
Toutes nos félicitations pour l'achat de votre nouvelle plaque à induction.
Nous vous recommandons de prendre le temps de lire ce mode d'emploi / manuel d'installation afin de bien comprendre comment l'installer et l'utiliser correctement.
Pour l'installation, veuillez lire le chapitre Installation.
Lisez toutes les instructions de sécurité attentivement avant l'utilisation et conservez ce mode d'emploi / manuel d'installation pour une future référence.
Consignes de sécurité
Cet appareil est destiné à un usage domestique.
MISE EN GARDE: Cet appareil et ses parties accessibles deviennent chauds pendant leur utilisation. Il convient de veiller à ne pas toucher les éléments chauffants. Il convient de maintenir à distance les enfants de moins de 8 ans, à moins qu'ils ne soient sous une surveillance permanente.
Cet appareil peut être utilisé par des enfants à partir de 8 ans et
FR-2
par des personnes ayant des capacités physiques, sensorielles ou mentales réduites ou un manque d'expérience et de connaissances à condition qu'elles aient été placées sous surveillance ou qu'elles aient reçu des instructions concernant l'utilisation de l'appareil en toute sécurité et qu'elles comprennent les dangers encourus. Les enfants ne doivent pas jouer avec l'appareil. Le nettoyage et l'entretien par l'usage ne doit pas être effectué par des enfants, sans surveillance.
MISE EN GARDE: Laisser cuire des aliments sans surveillance sur une table de cuisson en utilisant des matières grasses ou de l'huile peut être dangereux et
FR-3
déclencher un incendie.
AVERTISSEMENT: Veuillez
surveiller les cuissons. En
particulier les cuissons de courte
durée doit être surveillée sans
interruption.
Il convient de veiller à ne pas
toucher les éléments chauffants.
NE JAMAIS essayer d'éteindre un
incendie avec de l'eau, mais arrêtez
l'appareil puis couvrir les flammes
par exemple avec un couvercle ou
une couverture anti-feu.
MISE EN GARDE: Si la surface est
fêlée, déconnecter l'appareil de
l'alimentation pour éviter un risque
de chaleur électrique.
Ne pas utiliser un appareil de
nettoyage à la vapeur.
FR-4
L'appareil n'est pas destiné à être mis en fonctionnement au moyen d'une minuterie extérieure ou par un système de commande à distance séparé. Il est recommandé de ne pas déposer d'objets métalliques tels que couteaux, fourchettes, cuillères et couvercles sur le plan de cuisson, car ils peuvent devenir chauds.
La température des surfaces accessibles peut être élevée lorsque l'appareil est en fonctionnement. Un moyen de déconnexion du réseau d'alimentation ayant une distance d'ouverture des contacts de tous les pôles doit être prévu dans la canalisation fixe conformément aux
FR-5
d'installation.
Si le câble d'alimentation est endommagé, il doit être remplacé par le fabricant, son service après-vente ou des personnes de qualification similaire afin d'éviter un danger. MISE EN GARDE: Risque d'incendie: ne pas entreposer d'objets sur les surfaces de cuisson.
MISE EN GARDE: Utiliser uniquement les dispositifs de protection de table de cuisson conçus par le fabricant de l'appareil de cuisson ou indiqués par le fabricant de l'appareil dans les instructions d'utilisation comme adaptations ou les dispositifs de protection de table de cuisson intégrés à l'appareil. L'utilisation
FR-6
L'utilisation de dispositifs de protection non appropriés peut entraîner des accidents.
Après utilisation, éteindre la table de cuisson au moyen de son dispositif de commande et ne pas compter sur le détecteur de casseroles.
MISE EN GARDE : S'assurer que l'appareil est déconnecté de l'alimentation avant de remplacer la lampe pour éviter tout risque de choc électrique.
Ne pas utiliser de produits d'entretien très abrasifs ou de grattoirs métalliques durs pour nettoyer le verre de la table de cuisson, au risque de rayer la surface et d'entraîner l'éclatement du verre.
FR-7
Pour le raccordement électrique, se reférer au chapitre « BRANCHEMENT ELECTRIQUE » dans la notice. Pour l'entretien et nettoyage de l'appareil, se reférer au chapitre « ENTRETIEN ET NETTOYAGE ».
Installation risque de choc électrique
- Débranchez l'appareil de la prise d'alimentation avant d'y effectuer tout travail ou entretien. Le raccordement à un réseau électrique en norme avec mise à la terre est obligatoire.
- Les modifications du système de câblage domestique ne peuvent être réalisées que par
FR-
un électricien qualifié.
- Le non-respect de ce conseil peut entraîner des chocs électriques mortels.
Risques pour la santé
Cet appareil est conforme aux normes de sécurité électromagnétique.
Toutefois, les personnes ayant un stimulateur cardiaque ou autres implants électriques (tels que les pompes à insuline) doivent consulter leur médecin ou le fabricant de l'implant avant d'utiliser cet appareil afin de s'assurer que leurs implants ne seront pas affectés par le champ électromagnétique.
Le non-respect de ce conseil peut entraîner un accident mortel.
FR-9
Danger : surface chaude
- Pendant l'utilisation, les parties accessibles de cet appareil deviendront suffisamment chaudes pour causer des brûlures.
- Ne laissiez pas votre corps, des vêtements ou tout élément autre que l'ustensile de cuisson approprié en contact avec le verre induction tant que la surface n'est pas refroidie.
- Les poignées des casseroles peuvent être chaudes au toucher. Veillez à ce que les poignées des casseroles ne surplombent pas les autres foyers qui sont allumés. Gardez
FR-10
Présentation du produit vue de dessus

- Max. 1300/1500W
- Max. 2300/2600W
- Max. 3000/3600W
- Dessus vitrocéramique
- Panneau de contrôle
Panneau de contrôle

- Marche / Arrêt
- Activation de la minuterie
- Fonction Boost
- Sélection du foyer de cuisson
- Réglage de la puissance et de la minuterie
- Verrouillage du bandeau de commande
FR-
Un mot sur la cuisson à induction
La cuisson par induction est une technologie de cuisson sécuritaire, avancée, efficace et économique. Elle fonctionne par des vibrations électromagnétiques produisant la chaleur directement dans la casserole, qu'indirectement par l'échauffement de la surface du verre. Le verre devient chaud parce qu'il est réchauffé par la casserole.

Casserole en fer
Circuit magnétique Plaque vitrocéramique Bobine d'induction Courant induit
Avant d'utiliser votre nouvelle plaque de cuisson à induction
- Lisez ce guide, en portant une attention particulière aux « Consignes de sécurité ».
- Enlevez tout film protecteur pouvant encore se trouver sur votre plaque de cuisson à induction.
Utilisation des touches de commande
- Les commandes répondent au toucher, vous n'avez donc pas besoin d'appuyer. Utilisez le bout rond de votre doigt, pas à son extrémité.
- Vous entendrez un bip chaque fois qu'une touche est enregistrée. Assurez-vous que les commandes soient toujours propres et sèches, et qu'il n'y ait aucun objet (par ex. un ustensile ou un chiffon) qui les couvre. Même un mince film d'eau peut compliquer l'utilisation des commandes sensitives.
FR-12

Choisir le bon ustensile de cuisson
- Utilisez uniquement des ustensiles de cuisson avec une base adaptée pour l'induction.
Recherchez le symbole de l'induction sur l'emballage ou sur le fond de la casserole.
- Vous pouvez vérifier si votre réseau est ajusté en effectuant le test de l'aimant. Déplacez un aimant vers le fond de la casserole.
S'il est attiré, la casserole convient pour l'induction.
- Si vous n'avez pas d'aimant :
- Mettez un peu d'eau dans la casserole.
- Si ne clignote pas sur le bandeau de commande et que l'eau chauffe, la casserole est appropriée.
- Les batteries de cuisine fabriquées à partir des matériaux suivants ne sont pas adaptées : acier inoxydable pur, aluminium ou cuivre sans base magnétique, verre, bois, porcelaine, céramique et faïence.

N'utilisez pas de batteries de cuisine avec des bords dentelés ou une base courbée.

Assurez-vous que le fond de votre casserole soit lisse, repose à plat contre le verre et soit de la même taille que la zone de cuisson. Utilisez des casseroles dont le diamètre est plus grand que la sénégraphie de la zone sélectionnée. L'utilisation d'une casserole de taille légèrement supérieure à la taille du foyer sera le plus efficace. Si vous utilisez une casserole plus petite, l'efficacité pourrait être réduite. Une casserole inférieure à 140 mm pourrait ne pas être détectée par la plaque de cuisson. Centrez toujours votre casserole sur la zone de cuisson.

Levez toujours les casseroles de la plaque à induction – ne les faites pas glisser, ou elles risqueraient de rayer le verre.

Pour commencer la cuisson
Touchez la commande Marche / Arrêt pendant trois secondes. Après la mise sous tension, l'avertisseur sonore émet un bip, tous les écrans affichent "-" ou "- - ", indiquant que la plaque à induction est passée en mode veille.
Placez une casserole appropriée sur la zone de cuisson que vous souhaitez utiliser.
- Assurez-vous que le fond de la casserole et la surface de la zone de cuisson soient propres et secs.
- Lorsque vous sélectionnez une zone de cuisson en appuyant sur la touche correspondante, son indicateur clignote. En touchant la commande de sélection de la zone de chauffage, un indicateur à côté de la touche clignote " - " ou " + ".

FR-
Vous pouvez modifier le réglage de la chaleur à tout moment pendant la cuisson.
Si vous ne désirez pas un réglage de chaleur dans la minute qui suit, la plaque à induction s'éteint automatiquement. Vous devrez recommencer à l'étape 1. Vous pouvez modifier le réglage de la chaleur à tout moment pendant la cuisson.

Si clignote en alternance avec le réglage de température
- vous n'avez pas placé la casserole correctement sur la zone de cuisson ou,
- la casserole que vous utilisez ne convient pas pour la cuisson par induction ou,
- la casserole est trop petite ou mal centrée sur la zone de cuisson.
La table de cuisson ne chauffera pas tant qu'une casserole appropriée est détectée sur la zone de cuisson.
L'écran s'éteint automatiquement après 1 minute si aucune casserole appropriée n'est placée dessus.
Pour terminer la cuisson
Touchez la commande de sélection de la zone de cuisson que vous souhaitez éteindre.

Éteignez la zone de cuisson en appuyant sur "- " jusqu'à ce que "0" est affiché ou en appuyant simultanément sur les touches "- " et "+".
Assurez-vous que l'écran affiche "0".
FR-15
Éteignez toute la table de cuisson en appuyant sur la touche Marche / Arrêt.
H indique que la zone de cuisson correspondante est encore chaude. Ce témoignage de chaleur résiduelle disparaît lorsque la surface a refroidi à une température sûre. L'indicateur permet également de faire des économies d'énergie. Si vous souhaitez chauffer d'autres casseroles, utilisez la plaque de cuisson qui est encore chaude.


Activation de la fonction "boost
Appuyez sur la touche de sélection de la zone de cuisson.
En appuyant sur la touche "Booster"
suralimentation (), l'indicateur affiche "P" et la puissance est réglée au maximum.
Annulation de la fonction boost
En appuyant de nouveau sur la touche ou sur la touche "-", vous annulez la fonction Boost. En appuyant sur la touche B, la table revient à la puissance régulière avant l'activation de la fonction Boost.
Appuyez simultanément sur les commandes "-" et "+". La zone de cuisson s'éteint et la fonction boost s'annule automatiquement.

FR-16
- La fonction Boost est disponible sur chaque zone de cuisson.
- Elle est automatiquement désactivée après 5 minutes et revient à la puissance régée au préalable (avant l'activation de la fonction Boost).
- Si la puissance régée par avant était 0, la puissance sera réglée sur 9.
Verrouillage des commandes
- Vous pouvez verrouiller les commandes pour éviter toute utilisation involontaire (par exemple, les enfants qui allument accidentellement les zones de cuisson).
- Lorsque les commandes sont verrouillées, toutes les commandes, à l'exception de la commande Marche / Arrêt, sont désactivées.
| Pour verrouiller les commandes | |
| Maintenez appuyée la touche de verrouillage ⊙ pendant quelques secondes. | L'indicateur de la minuteurie affiche '' Lo '' |
| Pour déverrouiller les commandes | |
| Maintenez appuyée la touche de verrouillage ⊙ pendant quelques secondes. | |
Lorsque la table de cuisson est en mode verrouillage, toutes les commandes sont désactivées à l'exception de la commande Marche / Arrêt ①. Vous pouvez toujours éteindre la table de cuisson à induction avec la commande Marche / Arrêt ① en cas d'urgence, mais vous devez déverrouiller le bandeau de cuisson avant la prochaine utilisation.
Utilisation de la minuterie
Vous pourriez utiliser le minuteur de deux manières différentes :
a) Vous pouvez l'utiliser comme un minuteur classique. Dans ce cas, la minuterie vous avertit lorsque le temps est écoulé, mais n'éteint aucune zone de cuisson.
b) Vous pouvez régler la minuterie pour qu'elle éteigne une ou plusieurs zones de cuisson une fois le temps programmé écoulé. La durée maximale de la minuterie est de 99 minutes.
Si vous ne sélectionnez aucune zone de cuisson
Assurez-vous que la table de cuisson soit allumée.
Remarque : pour pouvoir utiliser le minuteur, il faut qu’au moins une zone soit active.
Touchez les commandes de la minuterie. Le voyant du minuteur se met à clignoter et "10" s'affiche sur l'écran du minuteur.
Réglez la durée en appuyant sur la touche "-" ou "+" du minuteur.
Conseil : Appuyez une fois sur la touche "-" ou "+" du minuteur pour diminuer ou augmenter d'une minute.
Maintenez appuyée la touche de la minuterie "-" ou "+" pour diminuer ou augmenter de 10 minutes.


En appuyant simultanément sur les touches "-" et "+", la minuterie est annulée et "00" s'affiche à l'écran des minutes.

Lorsque la durée est réglée, le compte à rebours commence immédiatement. L'écran affiche le temps restant et le témoin de la minuterie clignote pendant 5 secondes.
Lorsque le temps est écoulé, un niveau sonore retentit pendant 30 secondes et l'indicateur de la minuterie affiche "--".


FR-18
Réglage de la minuterie pour éteindre une zone de cuisson
- Minuterie pour éteindre un foyer
Appuyez sur la touche de sélection de la zone de cuisson pour laquelle vous souhaitez régler la minuterie. (par exemple, zone 3#)
Appuyez ensuite sur la touche de la minuterie, l'indicateur du minuteur se met à clignoter et "10" s'affiche sur l'écran de la minuterie.
Réglez la durée en appuyant sur les touches de réglage de la minuterie.
Conseil: Appuyez une fois sur la touche "-" ou "+" de la minuterie pour diminuer ou augmenter d'une minute. Maintenez appuyée la touche "-" ou "+" de la minuterie pour diminuer ou augmenter de 10 minutes.

En appuyant simultanément sur les touches "-" et "+", la minuterie est annulée et "00" s'affiche à l'écran des minutes.
Lorsque la durée est réglée, le compte à rebours commence immédiatement. L'écran affiche le temps restant et l'indicateur de la minuterie clignote pendant 5 secondes.
REMARQUE: Le point rouge à côté de l'indicateur de niveau de puissance s'allume pour indiquer que la zone est sélectionnée.
À l'expiration de la minuterie, la zone de cuisson correspondante s'éteint automatiquement.




Les autres zones de cuisson continueront à fonctionner si elles ont été allumées précédemment.
FR-19
Protection contre la surchauffe
Un capteur de température intégré surveille la température à l'intérieur de la plaque à induction. Lorsqu'une température excessive est détectée, la plaque à induction s'arrête, la plaque arrête automatiquement de chauffer.
Détection de petits objets
Lorsque la taille d’une casserole est inadaptée ou si la casserole n’est pas magnétique (par exemple en aluminium), ou certains autres petits éléments (par exemple couteau, fourchette, clés) ont été laissés sur la plaque, la plaque de cuisson passe automatiquement en mode veille pendant 1 minute. Le ventilateur maintiendra la cuisson au ralenti de la plaque à induction à nouveau pendant 1 minute.
Arrêt automatique
L'arrêt automatique est une fonction de protection pour votre plaque de cuisson à induction. L'appareil s'arrête automatiquement si vous oubliez de l'éteindre. Le temps de fonctionnement par défaut pour les différents niveaux de puissance est limité et indiqué dans le tableau ci-dessous :
| Niveau de puissance | 1 | 2 | 3 | 4 | 5 | 6 | 7 | 8 | 9 |
| Durée de fonctionnement par défaut (heures) | 8 | 8 | 8 | 4 | 4 | 4 | 2 | 2 | 2 |
Lorsqu'une casserole est retirée, la plaque à induction arrête la cuisson immédiatement et s'éteint automatiquement après 2 minutes.

Les personnes avec un stimulateur cardiaque devraient consulter leur médecin avant d'utiliser cet appareil.
FR-0
Conseils pour la cuisson
- Lorsque la nourriture arrive à ébullition, réduisez la puissance.
- L'utilisation d'un couvercle réduit le temps de cuisson et économise de l'énergie en retenant la chaleur.
- Réduisez la quantité de liquide ou de graisse pour diminuer les temps de cuisson.
- Commencez la cuisson à haute température et réduisez le réglage lorsque l'aliment est réchauffé.
Feu doux, cuisson du riz
- Mijoter se fait en-dessous du point d’ébullition, à environ 85°C, lorsque les bulles remontent juste occasionnellement à la surface du liquide de cuisson. C’est la clé de délicieuses soupes et ragôts tendres parce que les saveurs se développent sans sur-cuisson des aliments. Vous devriez également cuire les sauces à base d’œufs et les épaissir en-dessous du point d’ébullition.
- Certaines tâches, y compris la cuisson du riz par la méthode d'absorption, peuvent exiger un réglage plus élevé que le réglage le plus bas pour s'assurer que les aliments sont cuits correctement dans la durée recommandée.
Saisir les steaks
Pour cuire des steaks juteux et savoureux :
- Placez la viande à température ambiante pendant environ 20 minutes avant la cuisson.
- Chauffez une poêle à frire à fond épais.
- Badigeonnez les deux côtés du steak avec de l'huile. Arrosez d'un peu d'huile dans la poêle chaude et puis déposez la viande dans la poêle chaude.
- Tournez le steak une seule fois pendant la cuisson. Le temps de cuisson exact dépend de l'épaisseur du steak et de la cuisson que vous souhaitez. Le temps peut varier d'environ 2 à 8 minutes de chaque côté. Appuyez sur le steak pour évaluer comment il est cuit - plus il semble ferme plus il sera «bien cuit».
- Laissez le steak reposer sur une assiette chaude pendant quelques minutes afin qu'il puisse se détendre et devenir tendre avant de servir.
FR-1
Saisir les steaks
Pour cuire des steaks juteux et savoureux :
- Placez la viande à température ambiante pendant environ 20 minutes avant la cuisson.
- Chauffez une poêle à frire à fond épais.
- Badigeonnez les deux côtés du steak avec de l'huile. Arrosez d'un peu d'huile dans la poêle chaude et puis déposez la viande dans la poêle chaude.
- Tournez le steak une seule fois pendant la cuisson. Le temps de cuisson exact dépend de l'épaisseur du steak et de la cuisson que vous souhaitez. Le temps peut varier d'environ 2 à 8 minutes de chaque côté. Appuyez sur le steak pour évaluer comment il est cuit - plus il semble ferme plus il sera «bien cuit».
- Laissez le steak reposer sur une assiette chaude pendant quelques minutes afin qu'il puisse se détendre et devenir tendre avant de servir.
Pour les sautés
- Choisissez un wok à fond plat compatible avec l'induction ou une grande poêle.
- Préparez tous les ingrédients et le matériel. Faire sauter les aliments rapidement. Si vous devez cuire de grandes quantités, faites cuire les aliments en plusieurs fois.
- Préchauffez la poêle brièvement et ajoutez deux cuillères à soupe d'huile.
- Faites cuire toutes les viandes en premier, réservez et gardez au chaud.
- Faites sauter les légumes. Lorsqu'ils sont chauds, mais encore croquants, tournez la zone de cuisson à un réglage inférieur, retournez la viande dans la poêle et ajoutez votre sauce.
- Mélangez les ingrédients doucement pour vous assurer qu'ils sont chauffés à l'intérieur.
- Servir immédiatement.
Réglages de puissance
Les paramètres ci-dessous sont uniquement des indications. Le réglage exact dépend de plusieurs facteurs, dont vos batteries de cuisine et la quantité que vous cuisinez. Faites des essais avec la plaque à induction pour trouver les réglages qui vous convennent le mieux.
FR-2
| Réglage de puissance | Convient à |
| 1-2 | réchauffer de petites quantités d'aliments délicats faire fondre le chocolat, le beurre et les alimentés qui brûlent rapidement.mijotage doux réchauffement lent |
| 3-4 | réchauffage.mijotage rapidecuisson du riz |
| 5-6 | crêpes |
| 7-8 | faire sautercuisson des pâtes |
| 9 | sautéssaisirporter la soupe à ébullitionbouillir de l'eau |
Si une anomalie apparait, la plaque à induction entre en mode sécurité automatique et affiche les codes erreurs correspondants :
FR-3
| Problème | Causes possibles | Ce qu'il faut faire |
| E1 | Défaillance du capteur de température de la plaque céramique - circuit ouvert. | Vérifiez la connexion ou remplacez le capteur de température de la plaque céramique. |
| E2 | Défaillance du capteur de température de la plaque céramique - court-circuit. | |
| Eb | Défaillance du capteur de température de la plaque céramique | |
| E3 | Température elevée du capteur à plaque céramique. | Attendez que la température de la plaque en céramique revienne à la normale. Appuyez sur la touche "Marche / Arrêt" pour redémarrer l'appareil. |
| E4 | Capteur de température de l'IGBT défaillant -- circuit ouvert. | Remplacez la carte d'alimentation. |
| E5 | Défaillance du capteur de température de l'IGBT -- court-circuit | |
| E6 | Température élevée de l'IGBT. | Attendez que la température de l'IGBT revienne à la normale. Appuyez sur le bouton "Marche / Arrêt" pour redémarrer l'unité. Vérifiez si le ventilateur fonctionne correctement; Si ce n'est pas le cas, remplacez le ventilateur. |
| E7 | La tension d'alimentation est inférieure à la tension nominale. | Veuillez vérifier si l'alimentation électrique est normale. Mettez sous tension après que l'alimentation électrique soit normale. |
| E8 | La tension d'alimentation est supérieure à la tension nominale. | |
| E9 | Erreur de communication. | Réinsérez la connexion entre le tableau d'affichage et le tableau d'alimentation. Remplacez le tableau d'alimentation ou le tableau d'affichage. |
FR-24
Entretien et nettoyage
FR-5
| Quoi? | Comment? | Important! |
| Tous les jours, les salissures sur le verre (traces de doigts, marques, taches laissées par les aliments ou les débordements non sucrés sur le verre) Les débordements, les déversements de fondant, et sucres chauds sur le verre) | 1. Coupe l'alimentation de la plaque de cuisson.2. Appliquer un nettoyant pour plaques de cuisson tant que le verre est encore chaud (mais pas brûlant!)3. Rincez et essuyez avec un chiffon propre ou un essuie-tout.Rallumez la plaque de cuisson. Retirez-les salissures immédiatement avec une tranche de pain, un couteau ou une lame de rasoir adaptée pour les plaques de cuisson à induction en verre, mais féiez vous des surfaces chaudes de la zone de cuisson :1. Coupez l'alimentation de la plaque de cuisson2. Tenez la lame ou l'ustensile à un angle de 30° et grattez la saleté ou le liquide répandu sur la surface froide de la plaque de cuisson. | Lorsque l'alimentation électrique de la plaque de cuisson est coupée, il n'y aura aucune indication « surface chaude», mais la zone de cuisson peut encore être chaude! Faites extrémement attention.Les éponges à récurer, certaines lavettes à récurer en nylon et les agents de nettoyage abrasifs durs risqueraient de rayer le verre. Lisez toujours l'étiquette pour vérifier si votre nettoyant ou récurant estadapté.Ne laissez jamais de résidus de nettoyant sur la surface de cuisson: le verre peut se tacher.Enlevez les taches laissées par le fond et les alimentents sucrés ou |
FR-6
| 3. Nettoyez les salissures ou déversement avec un torchon de papier ou de tissu. 4. Suivez les étapes 2 à 4 « les salissures de tous les jours sur le verre » ci-dessus | les débordements dés que possible. Si vous les laissez refroidir sur le verre, ils peuvent être difficiles à-retirer ou même définitivement endommager la surface du verre. • RÉduire le risque: lorsque le capuchon de sécurité est rétracté, la lame dans le gratoir est tranchante. Utilisez-la avec une extrème précaution et rangez-la toujours en toute sécurité et hors de la portée des enfants. | |
| Les débordements sur les commandes tactiles | 1. Coupe l'alimentation de la plaque de cuisson. 2. Absorbez le déversement. 3. Essuyez la surface des commandes tactiles avec un chiffon ou une éponge propre et humide. 4. Essuyez la zone complètement sèche avec une serviette en papier. 5. Rallumez la plaque de cuisson. | • La plaque de cuisson peut émettre un bip et s'éteindre elle-même et les touches de commande peuvent ne pas fonctionner en présence de liquide dessus. Assurez-vous d'avoir essuyé la surface des commandes tactiles avant de rallumer la plaque de cuisson. |
Trucs et astuces
| Problème | Causes possibles | Ce qu'il faut faire |
| La plaque à induction ne peut pas être allumée. | Pas d'alimentation électrique. | Assurez-vous que la plaque à induction est branchée à l'alimentation et qu'elle est allumée. Vérifie-s'il y a une panne de courant dans votre maison ou la région. Si vous avez tout vérifié et que le problème persiste, appelez un technicien qualifié. |
| Les touches de commandes ne répondent pas. | Les commandes sont verrouillées. | Déverrouillez les commandes. Voir la section « Utilisation de votre plaque de cuisson à induction » pour obtenir des instructions. |
| Les commandes tactiles sont difficilles à utiliser. | Il peut y avoir un léger film d'eau sur les commandes ou vous pourriez avoir utilisé la pointe de votre doigt quand vous touchez les commandes. | Assurez-vous que la surface des commandes tactiles est sèche et utilisez le bout rond du doigt pour toucher les commandes. |
| Le verre est rayé. | Batterie de cuisine à bords rugueux. Tampon à récurer non adapté, abrasif ou produits de nettoyage utilisés. | Utilisez des batteries de cuisine avec des bases plane et lisses. Voir « Comment désirsir le bon ustensile de cuisson ». Voir « Entretien et nettoyage » |
| Certaines casseroles font des bruits de crépitations ou des cliquetis. | Ceci peut être causé par la construction de vos ustensiles de cuisine (couches de différents métaux vibrant différément). | Ceci est normal pour les ustensiles de cuisine et n'indique pas un défaut. |
| La plaque à induction fait un faible bruit de bourdonnement lorsqu'elle est utilisée à un réglage de température elevée. | Ceci est causé par la technologie de cuisson par induction. | Ceci est normal, mais le bruit devrait se calmer ou disparaitre complètement quand vous diminuerez le réglage de la chaleur. |
| Bruit de ventilateur venant de la plaque à induction. | Un ventilateur de refroidissement intégré à votre plaque à induction s'est mis en route pour empêcher l'électronique de surchauffer. Il peut continuer à tourner même si vous avez étéint la plaque à induction. | Ceci est normal et ne nécessite aucune action. Ne débranchez pas la plaque de cuisson à induction de la prise de courant muralpendant que le ventilateur tourne. |
FR-29
| Les casseroles ne chauffent pas et s'affiche à l'écran. | La plaque à induction ne peut pas détacter la casserole parce qu'elle n'est pas adaptée pour la cuisson par induction. La plaque à induction ne peut pas détacter la casserole car elle est trop petite pour la zone de cuisson ou pas correctement centrée sur la zone. | Utilisez des batteries de cuisine pour la cuisson par induction. Voir la section « Choisir le bon ustensile de cuisson ». Centrez la.POèle et assurez-vous que sa base correspond à la taille de la zone de cuisson. |
| La plaque à induction ou une zone de cuisson s'est éteinte d'elle-même de façon inattendue, un bip retentit et un code d'erreurs affiche (généralement en alternance avec un ou deux chiffres dans l'affichage de la minuterie de cuisson) | Défaut technique. | Veuillez notes le code de l'erreur les lettres et chiffres, débranchez la plaque à induction de la prise de courant murale et contactez un technicien qualifié. |
Si une anomalie apparait, la plaque à induction entre en mode sécurité automatique et affiche les codes erreurs correspondants :
| Problème | Causes possibles | Ce qu'il faut faire |
| F3/F4 | Capteur de température de la panne de la bobine d'induction | Veuillez contacter le fournisseur. |
| F9/FA | Capteur de température de la défaillance d'un module IGBT. | Veuillez contacter le fournisseur. |
| E1/E2 | Tension d'alimentation anormale | Vérifiez si la tension d'alimentation est normale. Allumez après que l'alimentation électrique est normale. |
| E3 | Température élevé du capteur de température de la bobine d'induction | Veuillez contacter le fournisseur. |
| E5 | Température élevé du capteur de température d'un module IGBT | Redémarrez quand la plaque de cuisson est refroidie. |
Ce qui précède concerne l'évaluation et l'inspection des pannes courantes.
Ne démontez pas l'appareil vous-même pour éviter tous dangers et dommages à la plaque de cuisson à induction.
| Plaque de cuisson | SCIH3661B |
| Zones de cuisson | 3 zones |
| Tension d'alimentation | 220-240V~ 50/60Hz |
| Puisance électrique installée | 7200 W |
| Dimensions L× I × H(mm) | 590X 520 X 62 |
| Dimensions d'encastrement A × B (mm) | 560 X 490 |
Les poids et les dimensions sont approximatifs. Nous nous efforçons continuellement d'améliorer nos produits, aussi nous pouvons modifier les spécifications, dessins et modèles sans préavis.
FR-30
Choix du matériel d'installation
Découpez le plan de travail selon les dimensions indiquées dans le schéma. Aux fins d'installation et d'utilisation, un minimum de 5 cm d'espace doit être prévu autour de la découpe. Veillez à ce que l'épaisseur du plan de travail soit supérieure à 30 mm. Veuillez sélectionner des matériaux de plan de travail résistants à la chaleur pour éviter une déformation causée par le rayonnement de chaleur de la plaque chauffante. Comme indiqué ci-dessous :


| L(mm) | W(mm) | H(mm) | D(mm) | A(mm) | B(mm) | X(mm) | F(mm) |
| 590 | 520 | 62 | 58 | 560+4 +1 | 490+4 +1 | 50 min. | 3 min. |
Dans tous les cas, assurez-vous que la plaque de cuisson à induction est bien aérée et que l'entrée d'air et la sortie ne sont pas bloquées. Assurez-vous que la plaque de cuisson à induction est en bon état. comme indiqué ci-dessous

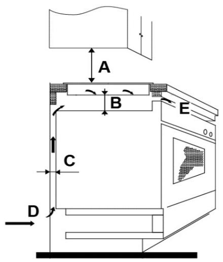
Remarque : la distance de sécurité entre la plaque et le meuble au-dessus de la plaque de cuisson doit être au moins de 760 mm.

FR-1
| A(mm) | B(mm) | C(mm) | D | E |
| 760 | 50 mini | 20 mini | Entrée d'air | Sortie d'air 5 mm |
AVENTISSEMENT : Assurer une ventilation ajustée
Assurez-vous que la table de cuisson à induction est bien ventilée et que l'entrée et la sortie d'air ne sont pas bloquées. Afin d’éviter tout contact accidentel avec le fond de la table de cuisson en surchauffe, ou tout choc électrique imprévisible pendant le travail, il est nécessaire de placer un insert en bois, fixé par des vis, à une distance minimale de 50 mm du fond de la table de cuisson. Suivez les instructions ci-dessous.


- Des trous de ventilation se trouvent à l'extérieur de la table de cuisson. VOUS DEVEZ vous assurer que ces trous ne sont pas bloqués par le plan de travail lorsque vous mettez la table de cuisson en place.
- Sachez que la colle qui joint le matériel ou bois au meuble, doit résister à une température non inférieure à 150°C, pour éviter le décollement du lambris.
- La paroi arrêtée, les surfaces adjacentes et environnantes doivent donc pouvoir résister à une température de 90°C.
FR-32
Avant d'installer la plaque de cuisson, assurez-vous que
- le plan de travail est d’équerre et de niveau et qu’aucun des éléments de structure n’interfère avec les espaces requis
- le plan de travail est fabriqué dans un matériel résistant à la chaleur
- Si la plaque est installée au-dessus d'un four, le four dispose d'un ventilateur de refroidissement intégré.
- L'installation se conforme à toutes les exigences de dégagement et aux normes et règlements applicables.
- Un sectionneur adéquat fournissant une coupure complète de l'alimentation électrique est intégré dans le câblage permanent, monté et placé afin de se conformer aux règles d'installation locales et règlements.
Le sectionneur doit être d'un type homologué et fournir une séparation de contact d'entrefer de 3 mm dans tous les pôles (ou tous les conducteurs actifs [phase] si les règles locales de câblage permettent cette variation des exigences)
- Le client pourra facilement accéder au sectionneur une fois la plaque de cuisson installée.
- En cas de doute concernant l'installation et les règlements, renseignez-vous auprès des autorités locales.
- Vous utilisez des finitions résistantes à la chaleur et faciles à nettoyer (par ex. carreaux de céramique) pour les surfaces des murs entourant la zone de cuisson.
- le câble d'alimentation n'est pas accessible par les portes des armoires ou tiroirs
- il y a un débit ajustat d'air frais provenant de l'extérieur de l'armoire à la base de la plaque de cuisson
- Si la plaque est installée au-dessus d'un tiroir ou espace de rangement, une barrière de protection thermique est installée sous la base de la plaque de cuisson.
- Le sectionneur est facilement accessible par le client
Avant de placer les pattes de fixation
L'appareil doit être placé sur une surface plate et lisse (utilisez l'emballage). Ne forcez pas les commandes qui dépassent de la plaque de cuisson.
FR-3
Réglage de la position du support
Après l'installation, fixez la table de cuisson sur le plan de travail en vissant 4 supports sur la partie inférieure de la table (voir photo). Ajustez la position des supports en fonction de l'épaisseur du plan de travail.

Mises en garde
- La plaque à induction doit être installée par du personnel qualifié ou un technicien. Nous avons des professionnels à votre service. N'effectuez jamais l'opération par
FR-34
vous-même.
- La plaque de cuisson ne sera pas installée directement au-dessus d'un lave-vaisselle, réfrigérateur, congélateur, lave-linge ou un sèche-linge, car l'humidité peut endommager l'électronique de la plaque de cuisson.
- La plaque à induction doit être installée de façon à ce qu'une meilleure dissipation de la chaleur puisse être garantie pour améliorer sa fiabilité.
- Le mur au-dessus de la surface de la plaque et les matériaux d'encastrement doivent résister à la chaleur.
Brancher la plaque de cuisson à l'alimentation

Cette plaque de cuisson doit être branchée à l'alimentation électrique uniquement par une personne qualifiée.
Avant de brancher la plaque de cuisson à la prise de courant, vérifiez que :
- le système de câblage intérieur est adapté pour la puissance absorbée par la plaque de cuisson.
- la tension correspond à la valeur indiquée sur la plaque signalétique
- Les sections de câble d'alimentation électrique peuvent résister à la charge spécifique sur la plaque signalétique.
N'utilisez pas d'adaptateurs, réducteurs ou dispositifs de branchement pour brancher la plaque de cuisson à l'alimentation électrique car ils peuvent provoquer une surchauffe et un incendie. Le câble d'alimentation ne doit pas toucher les parties chaudes et doit être placé de sorte que sa température ne dépasse pas 75°C en tout point.

Vérifiez avec un électricien si le système de câblage intérieur est adapté sans modifications. Les modifications doivent uniquement être effectuées par un électricien qualifié.
L'alimentation électrique doit être branchée en conformité avec la norme pertinente, ou un disjoncteur unipolaire. La méthode de branchement est illustrée ci-dessous.


- Si le câble est endommagé ou à remplacer, l'opération doit être effectuée par l'agent du service après-vente avec des outils dédiés pour éviter des accidents.
- Si l'appareil est branché directement au secteur, un disjoncteur omnipolaire doit être installé avec une ouverture minimale de 3 mm entre les contacts.
- l'installateur doit s'assurer qu'un raccordement électrique correct a été réalisé et qu'il est conforme aux réglementations de sécurité.
- le câble ne doit pas être plié ou compressé.
- le cable doit être vérifié régulièrement et remplace par des Electriciens agrés.
FR-6
Informations concernant les plaques de cuisson domestiques électriques
| Symbole | Valeur | Unité | |
| Identification du modele | SCIH3661B | ||
| Type de plaque | Induction | ||
| Nombre de zones et/ou aires de cuisson | 3 | ||
| Technologie de chauffage (zones et aires de cuisson par induction, zones de cuisson conventionnelle, plaques électriques) | Zones de cuisson par induction | ||
| Pour les zones ou aires de cuisson circulaires: diamètre de la surface utile par zone de cuisson électrique, arrondi aux 5 mm les plus proches | Ø | 3 | cm |
| Pour les zones ou aires de cuisson non circulaires: diamètre de la surface utile par zone ou aire de cuisson électrique, arrondi aux 5 mm les plus proches | L W | -- | cm |
| Consommation d'énergie par zone ou aire de cuisson, calculée par kg | EC cuisson électrique | 1 87.82 82.53 77.5 | Wh/kg |
| Consommation d'énergie de la plaque de cuisson, calculée par kg | EC plaque électrique | 182.6 | Wh/kg |
Garantie
La garantie ne couvre pas les pièces d'usure du produit, ni les problèmes ou les dommages résultant de:
(1) déteriorations superficielles dues à l'usure normale du produit ; (2) défauts ou déteriorations dus au contact du produit avec des liquides et dus à la corrosion provoquée par la rouille ou la présence d'insectes ; (3) tout incident, abus, utilisation impropre, modification, démontage ou réparation non autorisés ; (4) toute opération propre d'entretien, utilisation non conforme aux instructions concernant le produit ou le branchement à une tension incorrecte ; (5) toute utilisation d'accessoires non fournis ou non approuvés par le fabricant.
La garantie sera annulée en cas d'élimination de la plaque signalétique et/ou du numéro de série du produit.
Mise au rebut

La directive Européenne 2012/19/UE sur les Déchets des Equipements Electriques et Electroniques (DEEE), exige que les appareils ménagers usagés ne soient pas jetés dans le flux normal des déchets municipaux. Les appareils usagés doivent être collectés séparément afin d'optimiser le taux de récupération et le recyclage des matériaux qui les composent et réduire l'impact sur la santé humaine et l'environnement.
Le symbole de la poubelle barrée est apposé sur tous les produits pour rappeler les obligations de la collecte séparée. Les consommateurs devront contacter les autorités locales ou leur revendeur concernant la démarche à suivre pour l'enlèvement de leur appareil.
Informations sur la signification du marquage de conformité

Le marquage € indique que le produit répond aux principales exigences des Directives Européennes 2006/95/CE (Basse Tension), 2004/108/CE (Compatibilité Electromagnétique), 2011/65/UE (Réduction de l'emploi de certaines substances dangereuses dans les EEE).

Pour en savoir plus: www.quefairodedemesdechets.fr
FR-38
www.schneiderconsumer.com
Notice Facile