CS 1411F - Friteuse électrique MIELE - Notice d'utilisation et mode d'emploi gratuit
Retrouvez gratuitement la notice de l'appareil CS 1411F MIELE au format PDF.
| Catégorie de produit | Friteuse électrique |
| Marque | Miele |
| Modèle | CS 1411F |
| Capacité de cuisson | Information non disponible |
| Puissance électrique | Information non disponible |
| Matériau de fabrication | Information non disponible |
| Dimensions | Information non disponible |
| Utilisation et fonctionnalités | Information non disponible |
| Options de sécurité | Information non disponible |
| Maintenance et entretien | Information non disponible |
| Garantie du produit | Information non disponible |
| Informations supplémentaires | Information non disponible |
FOIRE AUX QUESTIONS - CS 1411F MIELE
Questions des utilisateurs sur CS 1411F MIELE
0 question sur cet appareil. Repondez a celles que vous connaissez ou posez la votre.
Poser une nouvelle question sur cet appareil
Téléchargez la notice de votre Friteuse électrique au format PDF gratuitement ! Retrouvez votre notice CS 1411F - MIELE et reprennez votre appareil électronique en main. Sur cette page sont publiés tous les documents nécessaires à l'utilisation de votre appareil CS 1411F de la marque MIELE.
MODE D'EMPLOI CS 1411F MIELE

Friteuse électrique CS 1411
Lisez impérativement cette notice d'utilisation et de montage avant d'installer et de mettre en service votre appareil. Vous vous protégerez ainsi et éviterez de détériorer votre appareil.
fr - FR
M.-Nr. 07 140 620
Description de l'appareil 3
Accessoires fournis 4
Commande 12
Mise en marche et arrêt. 12
Affichage de chaleur résiduelle. 12
Avant de frire 13
Friture. 14
Conseils pour une frutta saine et réussie 16
Après la friture 17
Autres possibilités d'utilisation 18
Cuisson des pâtes 18
Après la cuisson des pâtes 18
Nettoyage et entretien 20
Detertrage 22
Que faire si... 23
Accessoires en option 24
Produits de nettoyage et d'entretien 24
Conseils de sécurité relatifs au montage 26
Dimensions des appareils et cotes d'encastrement 30
Préparation du plan de travail 31
Encastrement de plusieurs appareils 32
Montage des ressorts de blocage et des équerres 35
Installation de l'appareil 37
Conseils de montage - généralités 38
Branchement électrique 39
Service après-vente, plaque signalétique 41

① Panier ② Poignée (escamtable, amovible) ③ Dispositif de suspension ④ Etrier de suspension du panier ⑤ Résistance (reliable) ⑥ Robinet de vidange ⑦ Affichage ⑧ Bouton de commande ⑨ Bac à friture, quantité min. 3,0 Ltr., max. 4,0 Ltr.
Affichage

10 Témoin de fonctionnement 1 Témoin de température ⑫ Affichage de chaleur résiduelle

Couvercle de friteuse
Couvercle de protection du bac à friture
Cette friteuse répond aux réglementations de sécurité en vigueur. Une utilisation non appropriée peut néanmoins entraîner des dommages corporels et matériels.
Lisez attentivement cette notice d'utilisation et de montage avant d'utiliser votre table de cuisson pour la première fois.
Il contient des informations importantes concernant la sécurité, l'utilisation et l'entretien de l'appareil. Vous vous protégerez ainsi et éviterez de détériorer votre appareil.
Conservez cette notice d'utilisation et de montage et remettez-la à un éventuel futur propriétaire.
Utilisation conforme
Utilisez la friteuse uniquement pour les utilisations mentionnées dans cette notice.
Toute autre utilisation est interdite et peut être dangereuse. Le fabricant n'est pas responsable de dommages causés par une utilisation incorrecte, non conforme aux prescriptions.
Les personnes qui ne sont pas en mesure d'utiliser cette friteuse en toute sécurité en raison de déficiences physiques, sensorielles ou mentales, de leur manque d'expérience ou de connaissances ne doivent pas l'utiliser sans la surveillance d'une personne responsable.
Précautions à prendre avec les enfants
Surveillance des enfants lorsqu'ils jouent à proximité de la friteuse. Ne laisser que pas les enfants jouer avec cet appareil.
Les enfants sont autorisés à utiliser la friteuse sans surveillance uniquement si vous leur avez expliqué comment l'utiliser sans danger. Ils doivent être conscients des risques encourus en cas de mauvaise manipulation.
La friteuse chauffe beaucoup pendant le fonctionnement et reste très chaude quelque temps après l'arrêt. Tenez les enfants éloignés de l'appareil jusqu'à ce qu'il ait suffisamment refroidi pour écarter tout risque de blessure.
Ne rangez aucun objet pouvant intéresser les enfants sur des étagères au-dessus ou à l'arrière de l'appareil. Ils pourraient être tentés de grimper sur l'appareil. Risque de brûlure
Faites en sorte que les enfants ne puissent pas toucher au robinet de vidange de l'appareil afin qu'ils n'en vidangent pas le contenu potentiellement chaud.
Les emballages (sachets, polystyrène, par ex.) peuvent être dangereux pour les enfants. Risque de suffocation ! Rangez les emballages hors de portée des enfants et jetez-les aussi vite que possible.
Sécurité technique
Les interventions techniques ne doivent être exécutées que par des professionnels agréés par le fabricant. Les travaux d'installation, d'entretien ou de réparation incorrects peuvent entraîner de graves dangers pour l'utilisateur, pour lesquels le fabricant décline toute responsabilité. Vérifiez que votre friteuse ne présente pas de dommages extérieurs avant de la monter. Ne mettez jamais une friteuse endommagée en service. Un appareil endommagé peut mettre votre sécurité en péril. La sécurité électrique de cette friteuse n'est garantie que si elle est raccordée à un système de mise à la terre homologué. Il est très important que cette condition de sécurité élémentaire soit remplie.
En cas de doute, faites vérifier l'installation par un électricien. Le fabricant ne peut être tenu pour responsable des dégâts causés par une mise à la terre manquante ou défectueuse à l'installation (décharge électrique).
Avant de brancher la friteuse, comparez impérativement les données de raccordement (tension et fréquence) figurant sur la plaque signalétique avec celles du réseau électrique.
Ces données doivent absolument concorder pour éviter toute dépréciation de l'appareil. Interrogez un electricien en cas de doute.
Ne branchez pas la friteuse avec une rallonge ou une multiprise, qui ne garantissent pas la sécurité suffisante (risque de surchauffe...).
Utilisez uniquement la friteuse montée afin que son bon fonctionnement soit garanti. Si la fiche du cordon d'alimentation est enlevée, l'appareil doit être monté et branché par un électricien compétent qui respecte les prescriptions nationales et recommandations de la Compagnie distributrice d'électricité. Le fabricant ne saurait être tenu responsable des dégâts liés à des erreurs de montage ou de branchement. Si le cordon d'alimentation est endommagé, il doit être remplacé par un cordon spécial de type H 05 VV-F (isolation PVC) disponible chez le fabricant ou le service après-vente. N'ouvrez en aucun cas la carrosserie de la friteuse.
Un contact éventuel avec les raccordements sous tension et la modification des composants électriques et mécaniques constituent un danger pour vous et peuvent entraîner un fonctionnement anormal de la friteuse.
Prescriptions de sécurité et mises en garde
La réparation de la friteuse pendant la période de garantie doit être effectuée exclusivement par un Service Après-Vente agréé par le fabricant, si non vous perdrez le bénéfice de la garantie en cas de pannes ultérieures. Lors de travaux d'installation ou de réparation, la friteuse doit être mise hors tension. La hotte n'est déconnectée du réseau que lorsque l'une des conditions suivantes est remplie : - les fusibles de l'installation domestique sont ôtés, - la fiche de l'appareil est débranchée. Ne tirez pas sur le cordon, mais sur la fiche pour débrancher l'appareil. - Remplacez les pièces défectueuses uniquement par des pièces détachées d'origine Miele. Ces pièces sont les seules dont le fabricant garantit qu’elles remplissent les conditions de sécurité.
Utilisation et installation
Evitez le contact avec la friteuse chaude, la graisse chaude ou l'eau chaude dans le bac. La friteuse et son contenu restent chauds encore quelque temps après l'arrêt. Seule la poignée du panier de friture et du panier à pâtes peuvent être touchés sans danger. Lorsque l'affichage de chaleur résiduelle s'éteint, il n'y a plus de danger de brûlure. - Portez des gants ou des maniques thermoisolants pour cuisiner lorsque l'appareil est chaud. Ceux-ci ne doivent être ni trempés ni humides. En effet la chaleur se propage rapidement dans les tissus mouillés. Vous pourriez vous brûler. Cet appareil ne doit pas être installé et utilisé à l'air libre. En cas d'utilisation d'une prise à proximité de la table de cuisson, veillez à ce que le cordon électrique de l'appareil utilisé ne soit pas en contact avec la table de cuisson en cours de fonctionnement. L'isolation du cordon pourrait être endommagée. Risque de décharge électrique! Ne laissez pas la table de cuisson allumée sans surveillance. Les huiles ou graisses surchauffées peuvent s'enflammer et même mettre le feu à la hotte. N'approchez surtout pas une flamme non couverte, par exemple, un briquet allumé, près de la graisse chaude. Risque d'incendie!
Si laGRAISSDe friture s'enflammait malgré tout, n'essayez surtout pas de l'éteindre avec de l'eau. Éteignez le feu par exemple avec une couverture ou en remettant le couvercle. Veillez toujours à utiliser la friteuse de manière appropriée. N'utilisez pas la friteuse pour chauffer la pièce et ne l'enclenchez jamais lorsque la résistance est relevée. Les objets inflammables à proximité peuvent en effet prendre feu en raison du fort dégagement de chaleur élevé. La durée de vie de l'appareil s'en trouverait également réduite. Nettoyez ou changez la graisse de friture sale à temps. La graisse sale est particulièrement inflammable. Pour votre santé, cuisez vos aliments de manière appropriée. Tenez donc compte du chapitre "Conseils pour une friture saine et réussie". Utilisez la friteuse uniquement sans couvercle et remplie. Ne versez pas laGRAISSEchaude dans un récipient en plastique. Ce matériau fond à température élevée. Usez uniquement un récipient résistant à la chaleur.
Ne videz pas la graisse de friture usagée avec les eaux usées. Elle boucherait les tuyaux d'eaux usées et risquerait de les endommager.
Renseignez-vous auprès de votre commune pour savoir comment jeter les graisses usées.
Le fabricant ne peut être tenu pour responsable des dégâts dus au non-respect des prescriptions de sécurité et des mises en garde.
Enlèvement de l'emballage
L'emballage protège l'appareil contre les avaries de transport. Les matériaux utilisés sont choisis en fonction de critères écologiques de façon à en faciliter le recyclage.
Le recyclage de l'emballage économise les matières premières et réduit le volume des déchets à éliminer. En principe, votre revendeur reprend l'emballage.
Enlèvement de l'ancien appareil
Les appareils électriques et électroniques contiennent souvent encore des matériaux recyclables. Ils contiennent également des matériaux nocifs, nécessaires au bon fonctionnement et à la sécurité de l'appareil. Ces matériaux peuvent être dangereux pour les hommes et l'environnement s'ils restent dans la collecte de déchets ou s'ils sont mal manipulés. Ne jetez par conséquent en aucun cas votre appareil avec les déchets.

Faites appel au service d'enlèvement mis en place par votre commune ou rapportez votre appareil dans un point de collecte spécifique adaptés à l'évacuation de ce type d'appareil. Informez-vous le cas échéant auprès de votre revendeur.
Gardez l'ancien appareil hors de portée des enfants jusqu'à son enlèvement, pour éviter tout accident.
Collez la plaque signalétique jointe à l'appareil à l'endroit précisé au chapitre "Plaque signalétique".
Premier nettoyage
Enlevez les éventuels films de protection. - Remplissez le bac d'environ 4 litres d'eau et ajoutez un peu de liquide vaisselle. Verifiez que l'eau ne dépasse pas le repère de remplissage maximum à l'arrière du bac à friture. - Tournez le bouton de commande vers la droite sur 130° C et faites bouillir l'eau quelques instants. - Arrêtez la friteuse et vidangez l'eau dans un récipient résistant à la chaleur (voir chapitre "Après la friture"). Nettoyez le bac à friture et rincez-le à l'eau chaude. Fermez le robinet de vidange après le nettoyage. Relevez la résistance et séchez le bac à friture avec un torchon. ■ Essuyez également les autres surfaces de votre appareil avec une éponge puis séchez-les.
Les éléments en métal sont protégés par un produit d'entretien spécial. C'est pourquoi une odeur passagère peut se dégager lors de la première utilisation de l'appareil.
L'odeur et l'éventuelle vapeur d'eau dégagées disparaissent rapidement et n'indiquent en rien un mauvais branchement ou une défectuosité de l'appareil.
Mise en marche et arrêt
N'enclenchez jamais la friteuse à vide ou lorsque la résistance est reliée.
Pour enclencher la friteuse, tournez le bouton vers la droite et pour l'arrêter, tournez le bouton vers la gauche.

Le bouton ne doit pas être tourné sur "0" en passant par 200°C
Lorsque la friteuse est mise en marche, le témoin de fonctionnement s'allume. Le témoin de température ne fonctionne que lorsque le chauffage de la friteuse est en marche.
Affichage de chaleur résiduelle
L'affichage de chaleur résiduelle s'éteint lorsque la friteuse peut être touchée sans danger.
Tant que l'affichage de chaleur résiduelle est allumé, ne touche pas la friteuse.
Avant de frire
Enlevez impérativement le couvercle de friteuse.
N'utilisez que de la graisse spéciale haute températures solide ou liquide.
Ne mélangez pas les huiles de types différents. Le bac à friture doit être suffisamment rempli de GRAISSE à frire (3 l ou 3 kg minimum, 4 l ou 4 kg maximum).
Vérifiez si le robinet de vidange est fermé. - Versez la GRAISSE dans le bac à friture. Coupez la GRAISSE solidifiée en petits morceaux. Si de la GRAISSE solidifiée reste de la dernière utilisation, percez un trou jusqu'à la résistance. L'eau qui s'est accumulée sous la GRAISSE peut ainsi évaporer. - Tournez le bouton de commande sur 100°C et attendez que la GRAISSE ait fondu. Vérifiez le niveau de remplissage du bac à friture. Le niveau de remplissage doit être compris entre les deux repères de remplissage figurant à l'arrête du bac à friture.
Friture
- Réglez la température de friture souhaitée (voir tableau) et attendez que le témoin de température s’éteigne une première fois. La graisse atteint la température réglée.
- Abaissez le panier rempli d'aliments à frire dans la graisse chaude. Si la graisse mousse beaucoup, enlevez le panier quelques instants puis replongez-le lentement dans la graisse chaude. Lorsque l'aliment est cuit, retirez le panier de la graisse chaude. Laissez la graisse s'égoutter de la friture en agitant un peu le panier puis accrochez-le à l'étrier de suspension.
Ne laissez pas la friture goutter trop longtemps au-dessus du bac à friture car elle perdrait de son croustillant en raison des vapeurs de graisse. Déposez la friture sur du papier absorbant.
Pendant la friture, faites attention à ne pas vous brûler avec la graisse chaude ! Protégez surtout vos mains, par ex. avec des gants isolants.
| Aliment, frais | Quantité | Température en °C | Durée de friture en minutes |
| Boules de Berlin | 4 pieces | 170 | 6-8 |
| Camembert | 4 x 1/2 P. | 170 | 2-3 |
| Beignets de légu-mes | 400 g | 170 | 7-9 |
| Quart de poulet, pané | 2 morceaux de 250 g | 170 | 8-10 |
| Croustis de pommes de terre | 400 g | 170 | préfrière 2-4 frire 3-5 |
| Beignets aux pom-mes | 5 pieces | 170 | 6-8 |
| Persil | 180 | 1-2 | |
| Frites | 400 g | 170 | préfrière 4-6 frire 2-4 |
| Escalope de dinde, non panée | 2 morceaux de 250 g | 180 | 3-5 |
| Escalope panée | 200 g | 180 | 5-7 |
| Pets-de-nonne | 4 pieces | 170 | 6-8 |
| Beignets de banane | 2 pieces | 170 | 3-4 |
| Aliment surgelé | Quantité | Température en °C | Durée de friture en minutes |
| Bâtonnets de poisson | 300 g | 170 | 4-6 |
| Croustis de pommes de terre | 400 g | 170 | préférite 1-2 frire 3-4 |
| Frites | 250 g | 170 | 2-3 |
| 400 g | 3-4 | ||
| Filet de carrelet, non pané | 300 g | 170 | 3-5 |
| Calamars non panés | 250 g | 180 | 2-3 |
Il s'agit de valeurs individuelles.
Conseils pour une friture saine et réussie
Pour votre santé, cuisez et préparez vos aliments de manière appropriée. Ils doivent être dorés et non brûnis.
Ne salez jamais les aliments au-dessus de la graisse. Ceci fait mousser la graisse.
- La graisse de friture doit être suffisamment chaude pour que les pores de l'aliment se ferment. Si la température est trop faible, l'aliment frit absorbe trop de graisse et devient lourd à digérer. Veuillez donc attendre à chaque fois que le témoin de température s’éteigne (ce qui signifie que la température programmée est atteinte) avant de mettre les aliments dans la friteuse.
- Si vous vous en tenez aux données du tableau, votre cuisson sera réussie. Ne sélectionnez les températures au-dessus de 170°C que si celles-ci sont spécifiées (par ex. poisson et viande sans pâté à frire).
- Pour frire les produits surgelés, CHOISSEZ LA TEMPERATURE LA plus basse parmi celles indiquées par le fabricant.
- Réduire le temps de friture le plus possible.
- La quantité d'aliment à frire doit être proportionnelle à la quantité de graisse. Soit 1:10 à 1:15. Par exemple, pour 100 g de frites, 1 à 1,5 l d'huile sont nécessaires. Davantage d'huile chaufferait trop les aliments; s'il n'y a pas assez d'huile, elle est refroidie par les aliments.
- Ne faites pas chauffer la graisse plus que nécessaire, sinon elle rancit plus rapidement.
- Les aliments à frire doivent être le plus secs possibles, car l'humidité entraîne la formation de mousse. Séchez les aliments humides avec de l'essuie-tout. Enlevez les restes de glace des aliments surgelés.
- Abaissez doucement le panier à friture afin que la graisse ne déborde pas.
- Les rondelles de pommes de terre ne se collent pas si vous les rincez préalablement à l'eau froide et que vous les séchez soigneusement à l'essuie-tout.
- Ne salez jamais les aliments avant de les frire. Ne saupoudrez de sel, d'épices ou de sucre qu'après avoir égoutté la friture.
Après la friture
Arrêtez la friteuse et filtrez la graisse de friture. Ceci permet d'éliminer les impuretés qui altèrent le goût des aliments et accélèrent le rancissement de la graisse.
Laissez la graisse refroidir mais pas se solidifier.
Si laGRaisSE est déjà solidifiée, liquefiez-la en enclenchant la friteuse à 100°C
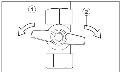
- Disposez un grand récipient résistant à la chaleur sous le robinet de vidange, par ex. une casserole en métal. Ouvrez le robinet de vidange en-dessous de la friteuse en tournant complètement le robinet vers la gauche ①.

■ Refermez le robinet après avoir vidangé laGRAISSE en tournant complètement le robinet vers la droite ②. Filtrez l'huile avec de l'essuie-tout ou un filtre papier disposé dans une passoire et conservez-la jusqu'à la prochaine utilisation dans un récipient hermétique et résistant à la chaleur.
Faites en sorte que le dessous de l'appareil soit toujours accessible pour la vidange de la graisse.
Vérifiez que la GRAISSE n'est pas trop chaude avant de la vidanger.
Risque de brûlure!
Pour recueillir la graisse d'écume, utilisez impérativement un récipient résistant à la chaleur.
Ne reposez le couvercle qu'après refroidissement de l'appareil !
La graisse de friture doit être remplacée lorsque
- elle est très nombreuse et épaisse.
- elle mousse et dégage une odeur sé-sagréable
- elle commence à fumer en-dessous de 170°C
Cuisson des pâtes
Utilisez impérativement le panier et le couvercle spéciaux pour les pâtes (voir chapitre "Accessoires en option").
Pour cuire les pâtes, la graisse doit être complètement vidangée de la friteuse et le bas doit être soigneusement nettoyé (voir chapitre "Après la friture").
Vérifiez si le robinet de vidange est fermé. ■ Remplissez le bac de friture d'eau : - pour 500 g de pâtes, jusqu'au repère maximum (4 l), - pour 250 g jusqu'au repère minimum (3 l).
Ne jamais faire cuire plus de 500 g de pâtes sèches en une fois.
Tournez le bouton de commande sur 200°C et attendez que l'eau commence à bouillir. - Plongez le panier pour pâtes dans l'eau bouillante. Posez le couvercle spécial et attendez que l'eau bouille de nouveau. Tournez alors le bouton sur 130°C et ne modifiez plus ce réglage jusqu'à la fin de la cuisson.
Conseils
- Il n'est pas nécessaire de remuer les pâtes.
- Les temps de cuisson ne se différencient pas de ceux de la table de cuisson.
- Ne salez que quand l'eau bout.
- Vous pouvez également utiliser la friteuse pour blanchir les légumes et les fruits.
Procéder de la même façon qu'avec les pâtes. - N'y cuisez pas de céréales (riz, blé) car elles passent à travers le panier pour pâtes.
Après la cuisson des pâtes
Après chaque cuisson, nettoyez le bac à friture.
Arrêtez la friteuse et vidangez l'eau dans un réseau résistant à la chaleur (voir chapitre "Après la friture").
Votre appareil est doté d'une sécurité oubli. Elle arrête automatiquement l'appareil lorsque
- le bac à friture n'est pas rempli au minimum jusqu'au repère inférieur.
- la friteuse est enclenchée sans graissé ou sans eau.
- la friteuse est enclenchée alors que la résistance est relevée (par exemple lors du nettoyage).
Vous reconnaissiez l'arrêt automatique au fait que le témoin de température et l'affichage de fonctionnement sont activés et que la graisse ne chauffe plus.
- Tournez le bouton de commande sur "0" et attendez que la résistance ait refroidi. Enlevez la broche ① en bas à droite de l'avant de l'appareil avec un stylo bille.
Vous pouvez ensuite faire refonctionner la friteuse normalement.

N'utilisez pas de nettoyeur vapeur pour le nettoyage. La vapeur pourrait s'infiltrer dans les composants et provoquer un court-circuit.
Nettoyez votre appareil régulièrement, de préférence après chaque utilisation. Laissez d'abord l'appareil refroidir. Après le nettoyage, séchez la surface avec un chiffon. Afin d'éviter les traces de calcaire.
Les produits de nettoyage abrasifs tels que les éponges à tampons durs ou les crèmes à récurer ne doivent servir qu'à nettoyer la résistance.
Pour éviter d'endommager les surfaces en inox en les nettoyant, n'utilisez pas
- de détergents à base de soude, d'ammoniaque, de produit alcalin, d'acide ou de chlorure,
- de produits anticalcaire,
- de détartre et de produit anti-rouille,
- de produits abrasifs tels que poudres et laits à récurer,
- de détergents contenant des solvants,
- de détergents pour lave-vaisselle,
- de bombes pour grill et fours,
- de produits nettoyants pour verre
- d'éponges avec tampon abrasif, de brosses ou d'éponges contenant des restes de produit détergent.
- d'objet pointu (pour ne pas abîmer les joints entre le cadre et le plan de travail)
Bac

Avant de nettoyer le bac, vidangez la graisse de friture ou l'eau (voir le chapitre "Après la friture" ou "Après la cuisson de pâtes"). Relevez la résistance. Enlevez les salissures importantes avec de l'essuie-tout. - Remplissez le bac à friture jusqu'au repère de remplissage supérieur avec de l'eau chaude et un peu de liquide vaisselle. Vidangez l'eau sale et nettoyez l'évacuation avec un goupillon. Rincez à l'eau chaude et séchez le bac et l'évacuation.
N'utilisez pas de produit d'entretien spécial inox pour le bac !
Surface en inox, couvercle de la fritteuse et couvercle pour pâtés
Utilisez un détergent spécial inox non abrasif pour le nettoyage. (Voir "accessoires en option").
Pour éviter une re-salissure rapide, nous vous conseillons d'utiliser un produit d'entretien inox (sauf pour le bac à friture). Voir chapitre "Accessoires en option".
Appliquez un peu de produit sur la surface à traiter avec un chiffon doux.
Panier pâtes et frites
Après chaque utilisation, nettoyez le panier de friture ou pour pâtes dans l'eau chaude avec un peu de liquide vaisselle.
Détartrage
La cuisson à l'eau laisse des traces de tartre. Il est donc nécessaire de détartrer régulièrement l'appareil.
Pour un nettoyage efficace, nous vous conseillons d'utiliser les pastilles détartrantes Miele spéciales (voir chapitre "Accessoires en option"). Vous pouvez également utiliser un détartrant à base d'acide citrique du commerce. Respectez les consignes de sécurité et de dosage.
Attention de ne pas répandre de détartrant sur le bandeau de commande et le cadre.
Il pourrait laisser des taches. Le cas échéant, essuyez tout de suite le détartrant.
Avant le détartrage, vidangez la graissé de friture et filtrez-la (voir le chapitre "Après la friture").
■ Préparez 2 litres de solution détartrante dans le bac. Veuillez respecter le dosage figurant sur l'emballage du détartrant. Tournez le bouton de commande sur 200°C et faites bouillir brièvement la solution détartrante. Tournez le bouton de commande sur "0". Laissez agir la solution détartrante env. 15 minutes. Vidangez la solution détartrante après le temps d'action (15 min). Rincez bien le bac à l'eau chaude et séchez le bac et l'évacuation.
La réparation des appareils électriques doit être exclusivement effectuée par des techniciens agréés Miele. Les réparations incorrectes peuvent entraîner de graves dangers pour l'utilisateur.
Que faut-il faire si
Vérifiez si
- la sécurité oublis s'est déclenchée (voir chapitre "Sécurité oubli").
- le fusé de l'installation domestique s'est déclenché. Dans ce cas, avertissez un electricien ou le service après-vente.
Les graisses sentent mauvais?
Vérifiez si laGRaisse
- conviendra à la friture
- doit être changée
Vérifiez qu'il y a suffisamment d'huile et que le panier à friture n'est pas surchargé. Laissez les alimentés frire suffisamment longtemps.
Miele propose une série d'accessoires conçus pour votre appareil.
Vous pouvez commander ces articles sur Internet.
Vous pouvez également vous les procurer aux Pièces détachées et accessoires Miele et chez votre revendeur Miele (voir page arrêté du mode d'emploi).
Produit nettoyant pour vitrocéramique et pour acier inoxydable 250 ml

Enlève les salissures, traces de tartre et colorations.
Produit d'entretien inox 250 ml

Pour enlever facilement les coulures d'eau, les taches et les empreintes de doigts.
Évite une re salissure rapide
Tissu microfibres tous usages

Enlève les empreintes de doigts et les traces légères.
Pastilles de détartrant par 6

Pour détartrer le bac à friture.
Afin d'éviter tout dégât sur l'appareil, celui-ci ne doit être intégré qu'une fois le montage du meuble supérieur et de la hotte effectué.
Il ne faut jamais encastrer une table de cuisson gaz à côté d'une friteuse électrique en raison d'un possible retour de flammes. Prévoir un écartement correspondant au moins à la largeur d'un domino (288 mm) entre les appareils. Les bois de placage des plans de travail doivent être traités avec une colle thermoréfractaire (100^) pour éviter qu'ils ne se décollent ou se déforcent. Les filets de finition muraux doivent être thermoréfractaires. Le montage et la mise en service de cet appareil sur des unités mobiles (des bateaux par exemple) ne peuvent être effectués que par des entreprises spécialisées ou des professionnels, en veillant à ce que les conditions nécessaires au fonctionnement de l'appareil en toute sécurité soient réunies. Assurez-vous que le cordon d'alimentation de la friteuse n'est pas exposé à des contraintes mécaniques après le montage, par exemple lorsque la graisse est vidangée.
N'utilisez pas de pâte à joint à moins que cela vous soit spécifié. Le joint de la table de cuisson suffit à assurer l'étanchéité avec le plan de travail (voir chapitre "Etanchéité").
Toutes les dimensions sont indiquées en mm.
Distance de sécurité par rapport aux meubles supérieurs

La distance de sécurité entre la hotte et la table de cuisson prescrite par le fabricant de la hotte doit être respectée. Si vous ne disposez pas d'indications du fabricant à ce sujet ou si des matériaux inflammables sont montés (portique par exemple) au-dessus de la table de cuisson, la distance de sécurité doit être d'environ 760 mm minimum.
Lorsque des distances de sécurité différentes sont recommandées dans la notice de montage/d'utilisation selon le type d'appareil encastrés sous une hotte, par exemple un wok et ou une table de cuisson électrique, CHOISISEZ LA DISTANCE LA PLUS IMPORTANTE.
Distances de sécurité latérales
Une table de cuisson encastrée peut être entourée d'un côté et à l'arrière de placards ou de cloisons ; en revanche, l'autre côté doit demeurer libre : il ne doit y avoir aucun appareil ou meuble plus haut que la table de cuisson (voir croquis).
En raison du fort dégagement de chaleur, une distance de sécurité de minimum 50 mm entre la découpe du plan de travail et la paroi adjacente doit être respectée.
Entre la découpe du plan de travail et les meubles environnants, par ex. une armoire à droite ou à gauche, la distance de sécurité est de
| 40 mm | sur | CS 1212 |
| CS 1221 | ||
| CS 1234 | ||
| CS 1223 |
| 50 mm | sur | CS 1112 |
| CS 1122 | ||
| CS 1134 | ||
| CS 1326 | ||
| CS 1411 |
| 100 mm | sur | CS 1012 |
| 150 mm | sur | CS 1421 |
| CS 1312 | ||
| CS 1322 |
| 200 mm | sur | CS 1034 |
| 250 mm | sur | CS 1011 |
| CS 1021 |



Distance de sécurité en cas d'habillage de niche
Une distance de 50 mm minimum doit être respectée entre l'habillage de niche et la découpe dans le plan de travail.
Cette distance n'est obligatoire que si l'habillage de niche est en matériel inflammable tel que le bois. Pour les matériaux ininflammables (métal, carreaux en céramique...) vous pouvez retrancher l'épaisseur du matériel à la distance indiquée.
Les températures élevées peuvent déterminer ou détruire les matériaux.


① Mur ② Habillage de niche ③ Fichier de finition mural (4) Plan de travail ⑤ Découpe dans le plan de travail (6) 50 mm de distance minimum


(1) Ressorts de blocage ② Avant ③ Hauteur d'encastrement ④ Boîtier de raccordement électrique avec cordon d'alimentation, L = 2000 mm ⑤ Robinet de vidange
Effectuez la découverte du plan de travail suivant le schéma côté.
Respectez la distance minimale par rapport au mur arrière et à gauche ou à droite par rapport à un mur latéral.
Voir le chapitre "Conseils de sécurité relatifs au montage".
Scellez les bords de coupe des plans de travail en bois avec un vernis spécial, du caoutchouc au silicone ou de la résine pour éviter tout gonflement dû à l'humidité.
Les matériaux utilisés doivent être thermorésistants.
Si vous constatez lors du montage que le joint du cadre ne repose pas correctement sur le plan de travail aux angles, reprenez le rayon aux angles (≤ R4) avec précaution à l'aide d'une scie sauteuse.
Encastrement de plusieurs appareils
En cas d'encastrement de plusieurs tables de cuisson, une entretoise ② doit être montée.
Voir chapitre "Ressorts de blocage et entretoises".
Découpe du plan de travail - trois appareils


En cas d'encastrement de deux dominos la largeur de la découverte D correspond à la somme des cotes A et C.
En cas d'encastrement de trois dominos la largeur de la découverte D correspond à la somme des cotes A, B et C.
A = largeur appareil (288 mm ou 380 mm ou 576 mm) moins 8 mm B = largeur de l'appareil (288 mm ou 380 mm ou 576 mm) C = largeur appareil (288 mm ou 380 mm ou 576 mm) moins 8 mm D = largeur de la découverte du plan de travail
En cas d'encastrement de plus de trois tables, ajouter une cote B (288 mm, 380 mm ou 576 mm) aux cotes A, B ou C pour chaque table ajoutée.
Exemples de calcul de la découverte du plan de travail en cas d'encastrement de trois tables de cuisson.
| A Largeur appareil moins 8 | B Largeur appareil | C Largeur appareil moins 8 | D Découpe du plan de travail |
| 280 | 288 | 280 | 848 |
| 280 | 380 | 372 | 1032 |
| 280 | 576 | 568 | 1424 |
| 372 | 288 | 280 | 940 |
| 372 | 380 | 372 | 1124 |
| 372 | 576 | 568 | 1516 |
| 568 | 288 | 280 | 1136 |
| 568 | 380 | 372 | 1320 |
| 568 | - | 568 | 1136 |
Dimensions en mm

Ressorts de blocage ② Entertoises ③ Espace entre l'entertoise et le plan de travail
La fixation des ressorts de blocage ① et des entretoises ② est représentée dans le croquis pour 3 appareils.
Pour chaque appareil, une entretoise supplémentaire est nécessaire. La position de l'entretoise supplémentaire dépend de la largeur B (288 mm / 380 mm / 576 mm).
Plan de travail en bois


Posez les ressorts de blocage fournis ① et les entretoises ② aux endroits marqués sur le rebord supérieur de la découpe. Fixez les ressorts de blocage et les entretoises avec les vis fournies 3,5 × 25 ~mm.
Plan de travail en pierre naturelle
Les vis ne sont pas nécessaires pour les plans de travail en pierre naturelle.


Positionnez et fixez les ressorts de blocage ① et les entretoises ② avec une bande adhésive double face ③.

Appliquez un cordon de silicone sur les cottes et le bas du ressort de blocage.

Comblez l'espace ④ entre les cottes et le plan de travail avec du silicone (tube fourni).
■ Faites passer le cordon d'alimentation par la découpe. Posez d'abord l'avant du domino dans la découpe. - Abaissez ensuite l'appareil avec les deux mains vers le bas et enclenchez-la dans les ressorts. Vérifiez que le joint de l'appareil repose bien sur le plan de travail après avoir encliqueté la table de cuisson. Ceci permet une étanchéité parfaite de tous côtés. N'utilisez pas de pâte pour joint. - Branchez l'appareil au réseau électrique (voir chapitre "Branchement électrique"). Vérifiez le fonctionnement de la table de cuisson.
Pour soulever la table de cuisson, vous devez disposer d'un outil spécifique.
Vous pouvez également faire sortir le domino par en-dessous. Attention, le dessous doit d'abord être sorti.

Veillez impérativement à ce qu'aucun produit pour joint d'étanchéité ne soit posé entre le cadre de la partie supérieure de l'appareil et le plan de travail !
Cela compliquerait la dépose de la table en cas d'intervention et le cadre et le plan de travail pourraient être endommagés.
La bande sous le pourtour de la partie supérieure de la table de cuisson garantit une étanchéité suffisante par rapport au plan de travail.
Il est conseillé d'effectuer le raccordement électrique avec une prise. Ceci permet de faciliter le SAV.
Vérifiez que la prise est accessible une fois l'appareil monté.
Si le raccordement n'est pas réalisé par l'intermédiaire d'une prise, faites appel à un electricien spécialisé qui connait très précisément les directives locales ainsi que les prescriptions complémentaires de la société locale de distribution d'électricité et les respectera scrupuleusement.
Si la prise de courant n'est plus accessible ou si le branchement est prévu en fixe, un dispositif de sectionnement de chacun des pôles doit être prévu sur l'installation. Ce dispositif peut être constitué d'un interrupteur à ouverture de contact de min. 3 mm. Il peut s'agir d'un disjoncteur automatique, de fusibles ou de contacteurs.
Si le cordon d'alimentation est endommagé, il doit être remplacé par un cordon spécial de type H 05 VV-F (isolation PVC) disponible chez le fabricant ou le service après-vente.
Vous trouverez les caractéristiques de branchement obligatoires sur la plaque signalétique. Ces caractéristiques doivent correspondre à celles du réseau.
Nous vous rappelons que nous déclinons toute responsabilité en ce qui concerne les dégâts directs ou indirects dus à un montage ou un branchement incorrect.
Le fabricant ne peut être tenu pour responsable de dégâts causés par une mise à la terre manquante ou défectueuse (décharge électrique).
La protection contre les contacts accidentels des pièces isolées en fonction doit être assurée après le montage.
Puissance totale
Voir plaque signalétique
Raccordement et protection
AC 230 V / 50 Hz
Protection de surintensité 16 A avec circuit spécialisé
Disjoncteur différentiel
Pour plus de sécurité, il est recommandé de monter un disjoncteur différentiel avec courant de déclenchement à 30 mA en avant de l'appareil.
Comment mettre hors tension
Si l'appareil doit être mis hors tension, procéder de la façon suivante (en fonction du type du réseau) :
Fusibles :
Extraire entièrement les fusibles de leurs embouts à visser.
ou:
- Disjoncteurs :
Appuyez sur le bouton de test (rouge) jusqu'à ce que le bouton médian (noir) se déclenche.
ou :
- Disjoncteurs à réarmement automatique
Basculer le levier de 1 (Marche) sur 0 (Arrêt)
- Disjoncteur différentiel
Commutez l'interrupteur principal de 1 (Marche) à 0 (Arrêt) ou actionnez la touche de contrôle.
Après déconnexion du disjoncteur, prendre les précautions nécessaires pour éviter une remise sous tension accidentelle.
Remplacement du cordon d'alimentation
En cas de remplacement du cordon d'alimentation, il doit être remplacé par un cordon spécial de type H 05 VV-F (isolation PVC) disponible chez le fabricant ou le service après-vente.
Le cordon d'alimentation ne doit être remplacé que par le service après-vente du fabricant ou un service après-vente ou un electricien agréé par le fabricant. Vous trouvez les caractéristiques de branchement obligatoires sur la plaque signalétique.
Notice Facile