R5-WHITE - Radio portable TEAC - Notice d'utilisation et mode d'emploi gratuit
Retrouvez gratuitement la notice de l'appareil R5-WHITE TEAC au format PDF.
| Type d'appareil | Radio portable |
| Réception | DAB/FM |
| Alimentation | Pile ou secteur |
| Affichage | Écran LCD |
| Fonction réveil | Oui |
| Préréglages stations | Non précisé |
| Connectivité | Non précisé |
| Haut-parleur intégré | Oui |
| Portée | Portée standard portable |
| Dimensions | Non précisé |
| Poids | Non précisé |
| Fonction DLS (Dynamic Label Segment) | Oui |
| Contrôle du volume | Manuel |
| Type d'antenne | Non précisé |
| Utilisation | Portable, intérieur |
FOIRE AUX QUESTIONS - R5-WHITE TEAC
Questions des utilisateurs sur R5-WHITE TEAC
0 question sur cet appareil. Repondez a celles que vous connaissez ou posez la votre.
Poser une nouvelle question sur cet appareil
Téléchargez la notice de votre Radio portable au format PDF gratuitement ! Retrouvez votre notice R5-WHITE - TEAC et reprennez votre appareil électronique en main. Sur cette page sont publiés tous les documents nécessaires à l'utilisation de votre appareil R5-WHITE de la marque TEAC.
MODE D'EMPLOI R5-WHITE TEAC
- N'exposez pas cet appareil au ruissellement ni aux éclaboussures.
- Ne placez un objet contenant du liquide, tel qu'un vase, sur l'appareil.
- N'installez pas cet appareil dans un espace confiné comme une bibliothèque ou unité similaire.
- L'appareil tire un courant nominal de veille de la prise secteur quand son interrupteur POWER ou OFF/ON n'est pas en position ON.
- L'appareil doit être placé assez après la prise de courant pour que vous puissiez à tout moment attraper facilement la fiche du cordon d'alimentation.
- La fiche secteur est utilisée comme dispositif de déconnexion et doit donc toujours rester disponible.
- Les produits de Classe I sont équipés d'un cordon d'alimentation ayant une fiche de terre. Le cordon de ces produits doit être branché dans une prise de terre.
- Si le produit utilise des batteries (y compris un pack d'accus ou des piles), elles ne doivent pas être exposées au soleil, au feu ou à une chaleur excessive.
- PRECAUTION pour les produits utilisant des batteries au lithium replacables : il existe un danger d'explosion en cas de remplacement par un type de batterie incorrect. Remplacez-les uniquement par des modèles identiques ou équivalents.
- Des précautions doivent être prises pour l'emploi d'écouteurs ou d'un casque avec le produit car une pression acoustique (volume) excessive dans les écouteurs ou dans le casque peut provoquer une perte d'audition.
Précautions concernant les batteries rechargeables
Ce produit utilise des batteries rechargeables. Un mauvais emploi des batteries peut entraîner leur rupture, leur fuite ou d'autres problèmes. Respectez toujours les précautions suivantes quand vous utilisez des batteries.
- Si une batterie rechargeable a coulé, ne touchez pas à main nue le liquide qui en est sorti. Veuillez consulter TEAC Corporation en cas de fuite du liquide de batterie.
- Du liquide de batterie dans l'œil peut entraîner une perte de la vision. Si ce liquide touche un œil, rincez-le immédiatement à l'eau claire. Ne frottez pas l'œil pendant que vous le rincez. Consultez un médecin juste après le rincage. L'entrée en contact du liquide de batterie avec le corps ou les vêtements peut causer des blessures ou brûlures cutanées. Rincez immédiatement à l'eau claire puis consultez un médecin.
- N'utilisez aucun adaptateur secteur autre que le modèle conçu pour l'emploi avec cette unité. Utilisez toujours l'adaptateur secteur prévu pour faire fonctionner l'unité ou recharger les batteries à partir d'une prise secteur. L'emploi d'un autre adaptateur secteur peut entraîner une surchauffe et des blessures, incendies ou dégradations, ainsi qu'une rupture des batteries et l'écoulement de leur liquide.
- Ne jetez pas une batterie dans un feu et ne la laissez pas et ne la rechargez pas près d'un feu, au soleil ou dans d'autres conditions de chaleur élevée.
- Ne démontez pas une batterie. Cela pourrait causer un choc électrique. Veuillez contacter le magasin dans lequel vous avez acheté le produit ou TEAC Corporation si vous souhaitez faire inspecter ou réparer la batterie. Si vous VOULEZ jeter le produit, veuillez suivre les instructions du mode d'emploi pour retirer les batteries et correctement recycler l'équipement.
Sommaire
Nous vous remercions d'avoir besoin de TEAC. Lisez ce mode d'emploi avec attention pour tirer les meilleures performances de cette unité.
Avant l'utilisation. 37
Branchements (autres appareils) 40
Fonctions de l'unité 42
Réglage de l'horloge 45
Écoute de la radio DAB 48
Emploi du menu DAB 50
Écoute de la radio FM. 54
Emploi du menu FM 56
Pré-réglage de syntonisation (preset)....58
Écoute d'une source externe 59
Minuterie d'extinction. 64
Atténuateur (Dimmer). 64
Guide de dépannage. 65
Caractéristiques techniques. 66
Avant l'utilisation
- Il est possible que l'unité chauffe durant l'utilisation, laissez donc toujours un espace suffisant autour de lui pour la ventilation.
- La tension fournie à l'unité doit correspondre à la tension imprimée sur l'étiquette de l'adaptateur secteur. Si vous avez des doutes à ce sujet, consultez un électricien.
- Choisissez soigneusement l'emplacement de votre unité. Évitez de l'exposer directement aux rayons solaires ou à une source de chaleur. Évitez aussi les endroits sujets aux vibrations, à une poussière excessive, à la chaleur, au froid et à l'humidité.
- N'installez pas l'unité au-dessus d'un amplificateur, d'un récepteur ou autre appareil produit de la chaleur.
- N'ouvre pas le boîtier car cela peut endommager le circuit ou causer un choc électrique. Si un objet étranger pénètre dans l'unité, consultez votre revendeur ou le service après-vente.
- Quand vous débranchez le cordon d'alimentation de la prise secteur, tirez toujours la prise, jamais le cordon.
- Conserve ce livre dans un endroit sec pour référence ultérieure.
Entretien
Si la surface de l'unité est sale, essuyez-la avec un chiffon doux ou utilisez un savon liquide léger dilué. Veillez à enlever tout excès de liquide. N'utilisez pas de diluant ni d'alcool car ils peuvent endommager la surface de l'unité. Laissez la surface de l'unité sécher complètement avant utilisation.
Le R-5DAB utilise un pack de batteries Nickel-Hydrure de métal contenu dans le compartiment des batteries. Laisser l'adaptateur branché à la fois au R-5DAB et au secteur assure la recharge totale des batteries au cas où vous auriez besoin de faire fonctionner le R-5DAB sur batteries. Le R-5DAB a 5 heures d'autonomie après recharge complète des batteries.
- Si le R-5DAB n'est pas employé alors que l'adaptateur secteur est branché, les batteries se rechargeront complètement en environ 3,5 heures si elles étaient totalement déchargées.
- Si le R-5DAB est allumé et l'adaptateur secteur branché, les batteries se rechargeront complètement en environ 24 heures.
- Il peut falloir jusqu'à 4 cycles de charge/ lé de brancher le R-5DAB environ 12 heures avant de l'utiliser pour la première fois.
- Une fois que le R-5DAB a été complètement chargé en voille (STANDBY), ne débranchez pas l'adaptateur secteur pour le rebrancher immédiatement. Cela relancerait le cycle de charge même si les batteries sont complètement chargées. Répéter cela endommagera les batteries.
- Si le R-5DAB n'est pas branché, les batteries se déchargent lentement.
- Les cycles de recharge du pack de batteries Nickel-Hydride de métal diminuent la capacité des batteries. Cela s'appelle "l'effet mémoire". Pour l'éviter, laissez parfois les batteries se décharger avant de les recharger.
Branchement du pack de batteries
Le connecteur du pack de batteries n'est pas branché pour éviter la décharge quand vous achetez l'unité. Branchez le pack de batteries avant d'utiliser l'unité pour la première fois.
- Dévissez les deux vis du capot du compartiment des batteries.
- Retirez le capot.
- Branchez le connecteur du pack de batteries.
- Remplacez le capot et serrez les vis.

Remplacement du pack de batteries
Quand les batteries sont hors d'usage, remplacez le pack de batteries par un neuf.
- Retirez le capot du compartiment des piles.
- Débranchez le connecteur du pack de batteries et sortez ce dernier.
- Insérez un nouveau pack de batteries et raccordez son connecteur.
- Replacez le capot et serrez les vis.

Attention:
- Ne chauffez pas et ne démontez pas des batteries rechargeables. Ne jetez jamais de vieilles batteries en les lançant dans un feu ou dans l'eau.
Vérification de l'icône des batteries
L'icône des batteries varie selon l'état de l'adaptateur secteur, du pack de batteries, et la mise en veille/service.
| Connexion à l'adaptateur secteur et aux ban- tries | ||
| Batteries | Pas totalement chargees (en charge) | Totalement chargees |
| Unité | ||
| Standby | Icône clignotante | Pas d'icône |
| ON | Icône clignotante | Pas d'icône |
| Connexion à l'adaptateur secteur seulement | |
| Standby | Icône clignotante |
| ON | Pas d'icône |
| Connexion aux batteries seulement | ||
| Batteries Unité | Pas totalement chargées | Totalement chargées |
| Standby | Icône affichée | Pas d'icône |
| ON | Icône affichée | Pas d'icône |
Attention:
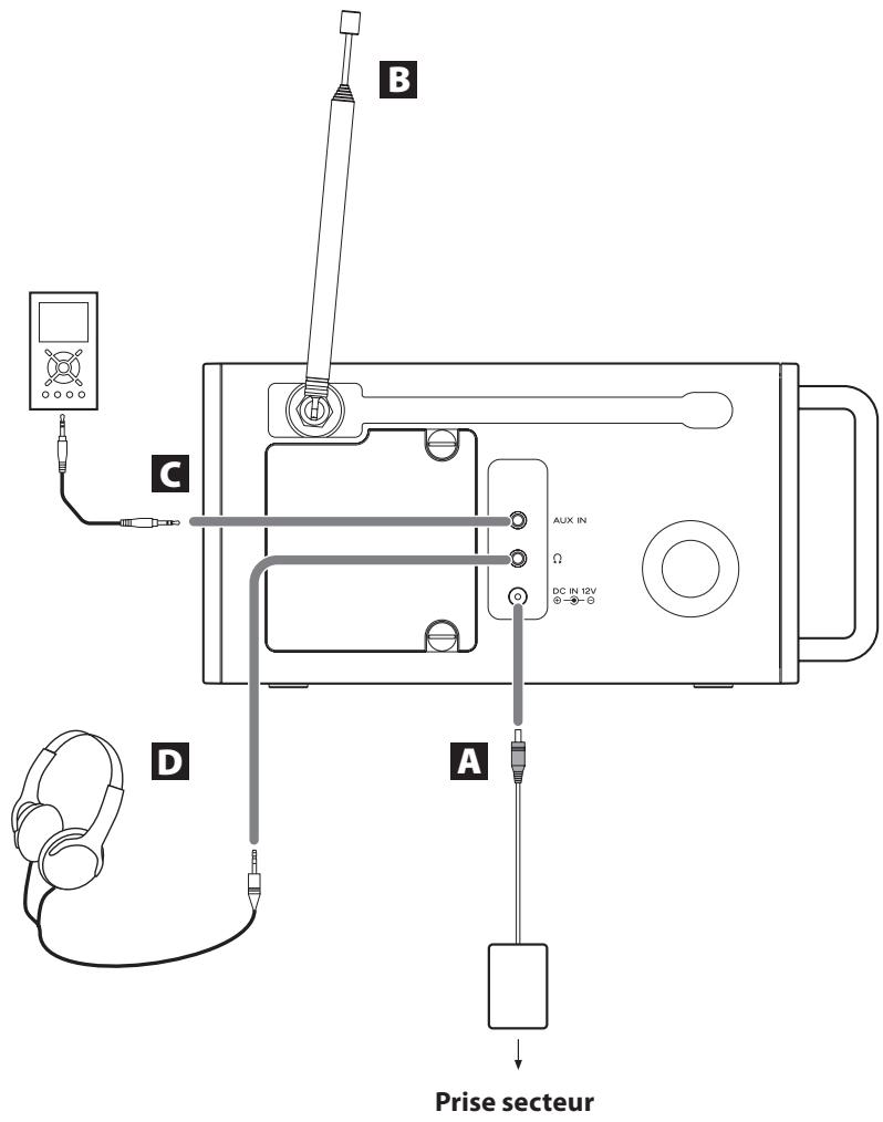
- Coupez l'alimentation avant de faire les branchements.
- Lisez les modes d’emploi de tous les éléments que vous comptez employer avec cette unité. Assurez-vous que chaque fiche est bien enfoncée. Pour éviter tout grondement ou bruit parasite, ne regroupez pas les câbles de connexion.

Branchez à cette prise l'adaptateur secteur fourni. Puis branchez la fiche de l'adaptateur secteur à une prise secteur.
N'utilisez pas d'autre adaptateur secteur que celui fourni avec cette unité pour éviter les incendies, chocs électriques, etc. Veillez bien à brancher l'adaptateur à une prise secteur fournissant la tension correcte.
Antenne FM télescopique
Déployez complètement l'antenne téléscopique et orientez-la dans la direction qui donne la meilleure réception.
Vous pouvez brancher un lecteur audio portable à cette prise.
Branchez la sortie LINE OUT ou PHONES (prise de sortie audio) du lecteur audio à l'aide du câble mini-jack stéréo fourni.
Si vous utilisez la prise PHONES (casque) de votre lecteur audio, vous devez régler le volume de ce dernier ou vous risquez de ne pas entendre de son par votre R-5DAB.
- Trop monter le volume du lecteur audio peut entraîner une distorsion du son produit par votre R-5DAB. Si c'est le cas, réduisez le volume du lecteur audio jusqu'à ce que la distorsion disparaisse, puis réglez le volume du R-5DAB à un niveau d'écoute confortable.
Pour bénéficier d'une écoute privée, insérez la fiche de votre casque dans cette prise et réglez le volume à l'aide du bouton VOLUME.
- Vous pouvez écouter au casque en stéréo si vous recevez une émission stéréo.

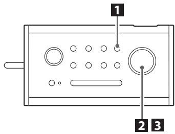
Appuyez sur cette touche pour mettre l'unité en service (On) ou en veille (Standby).
Le voyant s'allume quand l'unité est en veille. Quand l'unité est mise en service, le voyant s'éteint.
B VOLUME
Tournez ce bouton pour régler le niveau de volume.
Utilisez cette touche avec la molette MULTI JOG pour régler les graves et les aigus.
D ALARM 1/2
Utilisez ces touches pour régler les réveils.
Utilisez cette touche pour accéder aux menus.
- En mode DAB, cette touche vous permet d'accéder à “Recherche totale”, “DRC” (Dynamic Range Control), “Écouter”, etc.
- En mode FM, cette touche vous permet d'accéder à “Régl. recherche”, “Réglage audio”, etc.
- Cette touche vous permet aussi de revenir au menu précédent (un niveau au-dessus).
En mode FM, tournez cette molette pour rechercher une station.
La tourner vous permet aussi de parcourir les options et la presser en son centre pour vérifier votre sélection.
- Dans ce document, nous l'appellerons "molette MULTI JOG".
Tourner la molette MULTI JOG : TUNING/MULTI JOG
Presser la molette MULTI JOG : TUNING/MULTI JOG
Fonctions de l'unité (2)
Utilisez cette touche pour régler la minuterie d'extinction.
En mode DAB ou FM, utilisez cette touche pour voir des informations.
Quand le réveil se déclenche, appuyez sur cette touche pour activer le report de réveil.
- Cette touche sert aussi à changer la luminosité de l'afficheur.
- Si vous appuyez sur cette touche alors que l'unité est en veille (standby), le rétroéclairage s'allume et persiste environ 10 secondes.
Utilisez cette touche pour sélectionner une station préenregistrée.
Vous pouvez aussi sauvegarder vos stations favorites en maintenant cette touche pressée.
Utilisez cette touche pour sélectionner DAB, FM ou AUX.
Quand un lecteur audio portable est branché à la prise AUX IN, sélectionnez AUX pour écouter la source externe.
Réglage de l'horloge (1)
Si vous devez changer la langue utilisée pour l'affichage avant de régler l'horloge, suivez les instructions de "Langue" en page 52.

1 Appuyez sur la touche MENU.
- Si aucune touche n'est pressée durant 15 secondes, le mode de menu est abandonné.
3 Tournez la molette MULTI JOG jusqu'à l'affichage du menu désiré.
L'affichage passe en revue les menus suivants :

Réglage de l'heure et de la date
Vous pouvez régler manuellement l'heure, la minute, le jour, le mois et l'année, un par un.
2 Appuyez sur la molette MULTI JOG.
TUNING/MULTI JOG
3 Tournez la molette MULTI JOG pour changer l'heure, puis appuyez sur la molette pour valider votre sélection.

4 Répétez l'étape 3 pour régler la minute, l'année, le mois et le jour.
- Si la mise à jour (MAJ) automatique est activée, l'horloge s'actualise automatiquement d'après le signal DAB reçu (pour le réglage de mise à jour automatique, voir "Actualisation automatique" en colonne de droite).
- Si l'unité est débranchée de l'alimentation électrique et si les batteries sont complètement déchargées depuis environ une heure, les réglages d'horloge et de réveil sont perdus.
Actualisation automatique
Vous pouvez activer l'actualisation (mise à jour ou MAJ) automatique pour que l'horloge se règle automatiquement d'après les informations reçues d'une station DAB ou FM.
1 Sélectionnez "MAJ Automatique" (page 45).
Le réglage actuel est affiché avec **.
2 Appuyez sur la molette MULTI JOG.
TUNING/MULTI JOG
3 Tournez la molette MULTI JOG pour passer à "MAJ par DAB" ou "MAJ par FM", puis appuyez sur la molette pour valider votre sélection.
- Pour désactiver la mise à jour automatique, sélectionnez à la place "Pas de MAJ".

Réglage 12h/24h
Vous pouvez sélectionner l'affichage du temps en mode 12 h ou 24 h.
1 Sélectionnez "Régl. 12h/24h" (page 45).
Le réglage actuel est affiché avec **.
2 Appuyez sur la molette MULTI JOG.
TUNING/MULTI JOG
3 Tournez la molette MULTI JOG pour alterner entre "Régl. 12 h" et "Régl. 24 h", puis appuyez sur la molette pour valider votre sélection.
TUNING/MULTI JOG
TUNING/MULTI JOG
Réglage du format de date
Vous pouvez choisir le format d'affichage de la date:
1 Sélectionnez "Régl. format date" (page 45).
Le réglage actuel est affiché avec " *".
2 Appuyez sur la molette MULTI JOG.
TUNING/MULTI JOG
3 Tournez la molette MULTI JOG pour choisir entre "MM-JJ-AAAA" et "JJ-MM-AAAA", puis appuyez sur la molette pour valider votre sélection.
MM : mois, JJ : jour, AAAA : année
TUNING/MULTI JOG TUNING/MULTI JOG
1 Appuyez sur la touche standby/on pour allumer l'unité.
L'indicateur de veille s'éteint.
- L'unité s'allume sur la source sélectionnée.

2 Appuyez successivement sur la touche function jusqu'à ce que "DAB" s'affiche.
L'unité est passée en mode DAB.
Au premier passage de l'unité en mode DAB, une recherche complète est automatiquement lancée pour détecter toutes les stations DAB et les sauvegarder en mémoire.
- Une fois la recherche terminée, les stations DAB sont affichées par ordre alphanumérique et la première station de la liste est sélectionnée.
- Si aucune station n'est détectée ou si vous voulez actualiser la liste des stations, lancez une recherche totale (voir page 50).
- Si vous voulez sélectionner une autre station une fois la recherche terminée oupendant l'écoute d'une station DAB, tournez la molette MULTI JOG jusqu'à l'affichage de la station désirée, puis appuyez sur la molette pour valider votre sélection.
Note: Si aucun signal DAB n'est trouvé dans votre zone, essayez de déplacer votre unité R-5DAB.
Réception d'une station DAB
En mode DAB, tournez la molette MULTI JOG jusqu'à l'affichage de la station désirée, puis appuyez sur la molette.

Affichage des informations de DAB
1 Recherche d'une station DAB (page 48). 2 Appuyez sur la touche INFO.

Chaque fois que vous appuyez sur la touche INFO, le mode INFO change comme suit :

Le Dynamic Label Segment (DLS) est un texte défilant envoyé par la station de radio. Il peut s'agir d'informations sur les titres musicaux ou de détails concernant le programme ou la station.
DL Plus
Le Dynamic Label Plus (DL Plus) offre des informations supplémentaires qui peuvent être diffusées par les stations et temporairement conservées dans votre radio.
Chaque fois que vous appuyez sur la touche INFO, les informations DL Plus affichées changent.
Par exemple :
Artiste que Station que Programme actuel
Force du signal
Vous pouvez vérifier la force du signal de la station actuellement captée.
Type de programme
C'est une description du type de la musique diffusée par la station de radio, comme par exemple pop, rock ou musique classique.
Nom de l'ensemble (bouquet ou multiplex)
Affiche le nom de l'ensemble qui diffuse le programme.
Canal et fréquence
Affiche le canal et la fréquence de l'émission actuellement entendue.
Taux d'erreur dans le signal
Affiche le taux d'erreur numérique (0-9) du canal actuellement capté. Plus bas est le chiffre, meilleure est la qualité de la diffusion reçue.
Débit binaire
Le débit binaire de l'émission actuellement reçue est affiché.
Heure
Affiche l'heure actuelle.
Date
Affiche la date du jour.
Emploi du menu DAB (1)
En mode DAB, utilisez les menus DAB pour accéder aux diverses fonctions.

En mode DAB, appuyez sur la touche MENU (page 48). 2 Tournez la molette MULTI JOG jusqu'à l'affichage du menu désiré.
L'affichage revue les menus DAB suivants.

- Vous pouvez aussi accéder aux menus Heure, Langue, Régl. en Usine, Actual. logiciel et Version logiciel en appuyant sur la touche MENU en mode FM ou AUX.
- Les menus ci-dessous sont expliqués dans les sections DAB suivantes.
Heure → pages 45-47 Langue → page 52 Réglage en usine → page 53 Mise à jour logiciel → page 53 Version logiciel → page 53
Recherche totale
L'unité balayera les bandes DAB entre 5A et 13F et ajoutera les stations trouvées à la liste des stations.
1 En mode de menu DAB, sélectionnez "Recherche totale" (voir la colonne de gauche). 2 Appuyez sur la molette MULTI JOG.
TUNING/MULTI JOG
La recherche totale commence.
Réglage manuel (syntonisation manuelle)
Cette option vous permet de couvrir manuellement un canal et de visualiser une indication continuellement actualisée de la force du signal. Cela peut être utile pour régler ou positionner une ANTENNE en vue d'une meilleure réception.
En mode de menu DAB, sélectionnez "Réglage manuel" (page 50). 2 Tournez la molette MULTI JOG pour sélectionner la station voulue, puis appuyez deux fois sur la molette pour valider votre sélection.
TUNI JOG TUNING / MULTI JOG
DRC (dynamic range control)
Utilisez cette option pour régler la valeur du contrôle de dynamique ou DRC (Dynamic Range Control) à appliquer aux émissions reçues. Le DRC sert à réduire l'écart entre hauts et bas volumes de l'audio et est parfois appliqué à la source de diffusion. La musique pop peut se voir appliquer un haut niveau de DRC, approprié à des niveaux d'écoute constamment élevés, tandis que les émissions de musique classique peuvent n'avoir aucun DRC pour permettre à l'auditeur de bénéficier de toute la plage dynamique du volume de la source.
En mode de menu DAB, sélectionnez "DRC" (page 50).
Le réglage actuel est affiché avec " *".
2 Appuyez sur la molette MULTI JOG.
TUNING/MULTI JOG
3 Tournez la molette MULTI JOG pour sélectionner le réglage de DRC voulu, puis appuyez sur la molette pour valider votre sélection.
- Les trois réglages de DRC suivants sont disponibles : DRC Désactivé, DRC bas, et DRC haut.
TUNI/MUJOG TUNING/MULTI JOG
Nettoyage de la liste des stations
Avec cette fonction, vous pouvez retirer de la liste des stations toutes les stations inactives.
En mode de menu DAB, sélectionnez "Effacer" (page 50). 2 Appuyez sur la molette MULTI JOG.
TUNI/MULTI JOG
3 Tournez la molette MULTI JOG pour sélectionner "Oui", puis appuyez sur la molette pour valider votre sélection.

Vous pouvez changer la langue de l'affichage.
En mode de menu DAB, sélectionnez "Langue" (page 50). Le réglage actuel est affiché avec " *". 2 Appuyez sur la molette MULTI JOG.
TUNING/MULTI JOG
3 Tournez la molette MULTI JOG pour sélectionner la langue voulue, puis appuyez sur la molette pour valider votre sélection.
- Les quatre langues suivantes sont disponibles :

Retour aux réglages d'usine
Vous pouvez réinitialiser tous les paramètres pour retrouver les réglages d'usine.
En mode de menu DAB, sélectionnez "Régl. en usine" (page 50). 2 Appuyez sur la molette MULTI JOG.
TUNING/MULTI JOG
3 Tournez la molette MULTI JOG pour sélectionner "Oui", puis appuyez sur la molette pour valider votre sélection.
TUNING/MULTI JOG TUNING/MULTI JOG
L'unité redémarre immédiatement.
- Après un retour aux réglages d'usine, l'affichage se fait de nouveau en anglais. Pour des détails sur la façon de changer la langue, voir "Langue" en page 52.
Actualisation du logiciel
Les utilisateurs n'ont pas accès à cette fonction.
Version du logiciel DAB
1 En mode de menu DAB, sélectionnez "Version logiciel" (page 50). 2 Appuyez sur la molette MULTI JOG.
TUNING/MULTI JOG
Le numéro de version du logiciel installé est affiché.

1 Appuyez sur la touche standby/on pour allumer l'unité.
L'indicateur de veille s'éteint.
- La dernière source employée est sélectionnée.
2 Appuyez successivement sur la touche function jusqu'à ce que "FM source" s'affiche.
L'unité est passée en mode FM.
Si la réception FM est mauvaise
Pour la meilleure réception, tournez l'antenne téléscopique jusqu'à ce que vous receviez correctement les stations.

Syntonisation manuelle
Tournez la molette MULTI JOG jusqu'à ce que la station que vous souhaitez écouter apparaisse. La fréquence change par pas fixes.
Syntonisation automatique (balayage)
Appuyez sur la molette MULTI JOG pour lancer la syntonisation automatique. Dès qu'une station est trouvée, l'appareil se cale dessus. Répétez cette étape jusqu'à ce que vous ayez trouvé la station souhaitée.
- Pour arrêter le processus, appuyez brièvement sur la molette MULTI JOG.
Sélection d'un préréglage (preset)
Appuyez sur la touche PRESET. Tournez la molette MULTI JOG pour sélectionner une station préréglée, puis appuyez sur la molette pour valider votre sélection. Vous obtenez la station préréglée sélectionnée.
- Pour la façon de prérégler (mémoriser) des stations, voir page 58.
2 Tournez le bouton volume pour régler le volume.
Le niveau peut être réglé entre 0 et 15.
Le système RDS (Radio Data System) est un service de diffusion qui permet aux stations d'envoyer des informations supplémentaires en même temps que le programme radio normal.
Le RDS ne fonctionne sur la bande FM qu'en europe.
1 Recherche d'une station FM (page 54). 2 Appuyez sur la touche INFO.

À chaque fois que vous appuyez sur la touche INFO, l'information RDS change comme suit :

RT (texte radio)
Si vous sélectionnez RT, jusqu'à 64 caractères d'informations transmises par la station s'affichent.
S'il n'y a pas de données RT, "Pas de texte" s'affiche.
PTY (type de programme)
Si vous sélectionnez PTY, le type de programme est affiché.
S'il n'y a pas de données PTY, "Pas d'info" s'affiche.
PS (affichage du nom de la station)
Si vous sélectionnez PS, le nom de la station s'affiche.
S'il n'y a pas de données PS, "Pas de nom" s'affiche.
FM mode
Le mode FM (stéréo ou mono) s'affiche.
L'heure actuelle sera affichée au format "HH:MM:SS".
La date du jour s'affiche.
Emploi du menu FM
En mode FM, utilisez les menus FM pour accéder aux diverses fonctions.

En mode FM, appuyez sur la touche MENU (page 54). 2 Tournez la molette MULTI JOG jusqu'à l'affichage du menu désiré.
L'affichage passe en revue les menus FM suivants.

- Les menus ci-dessous sont expliqués dans les sections DAB suivantes.
Heure → pages 45-47 Langue Régl. en usine → page 53 Actual. logiciel → page 53 Version logiciel → page 53
Réglage de la recherche
Par défaut, la recherche FM s'arrête sur toute station captée. Il peut en résulter un rapport signal/bruit médiocre (grésillements) pour les stations faiblement reçues.
Pour changer le réglage de recherche afin de ne s'arrêter que sur les stations dont le signal est bien capté, suivez les 2 étapes ci-dessous :
En mode de menu FM, sélectionnez "Régl. recherche" (page 56).
Le réglage actuel est affiché avec " *".
2 Tournez la molette MULTI JOG pour sélectionner "Stations fortes", puis appuyez sur la molette pour valider votre sélection.
- Les deux options suivantes sont disponibles : Toutes chaînes et Stations fortes.
TUNING/MULTI JOG TUNING/MULTI JOG
Réglage audio
Par défaut, toutes les stations stéréo sont reproduites en stéréo. Il peut en résulter un rapport signal/bruit médiocre (grésillements) pour les stations faiblement reçues.
Pour produire les stations faibles en mono, suivez les 2 étapes ci-dessous:
1. En mode de menu FM, sélectionnez "Réglage audio" (page 56).
Le réglage actuel est affiché avec **.
2 Tournez la molette MULTI JOG pour sélectionner "Stations mono", puis appuyez sur la molette pour valider votre sélection.
- Les deux options suivantes sont disponibles : Stéréo address et Stations mono.
TUNING/MULTI JOG TUNING/MULTI JOG
Préchauffage des stations
Vous pouvez mémoriser 10 stations DAB et 10 stations FM dans l'unité.
1 Cherchez une station que vous voulez écouter (page 48 pour la DAB ou page 54 pour la FM). 2 Maintenez la touche PRESET pressée jusqu'à ce que "Mémor. prérégl. <1: (Vide) >" s'affiche. 3 Tournez la molette MULTI JOG jusqu'à l'apparition du nombre que vous pouvez utiliser, puis appuyez sur la molette.
La station est mémorisée.
Répétez les étapes 1 à 3 pour mémoriser d'autres stations.

Sélection des stations préréglées

1. Appuyez sur la touche PRESET. 2. Tournez la molette MULTI JOG pour sélectionner une station préréglée (preset), puis appuyez sur la molette pour valider votre sélection.
Écoute d'une source externe

1 Reliez la prise PHONES (près de sortie audio pour casque) d'un lecteur audio portable à la prise AUX IN du R-5DAB à l'aide du câble mini-jack stéréo fourni.

2 Appuyez sur la touche STANDBY/ON pour allumer l'unité. 3 Appuyez successivement sur la touche FUNCTION afin de sélectionner Entrée Aux.
Faites jouer la source, et régalez le volume avec le bouton VOLUME du R-5DAB et celui du lecteur audio.
Si vous utilisez la prise PHONES (casque) de leur lecteur audio, vous devez régler le volume de ce dernier ou vous risquez de ne pas entendre de son par votre R-5DAB.

1 Appuyez sur la touche TONE.

- Les deux commandes suivantes sont disponibles : Aigus et Basses.
- Le réglage de niveau actuel est affiché avec " *".
- Le niveau peut être réglé entre -5 et +5.

Insérez la fiche du casque dans la prise prévue à cet effet (ω) et réglez le volume.
Quand une émission FM stéreo est reçue, vous pouvez écouter le son en stéreo en branchant votre casque stéreo à la prise casque.
Vous pouvez aussi entendre en stéreo le son d'une source externe branchée à la prise casque.
Attention
Baissez toujours le niveau de volume avant de brancher votre casque. POUR ÉVITER D'ENDOMMAGER VOTRE AUDITION - Ne mettez pas votre casque sur la tête avant de l'avoir branché.
Réveil (1)

Vous pouvez régler l'unité pour qu'elle s'allume à une heure spécifique.
- L'unité peut mémoriser 2 réglages de réveil (ALARM 1 et ALARM 2).
- Le réveil s'arrête automatiquement au bout d'une heure et l'unité passe en veille (standby).
- Réglez l'horloge avant de régler le réveil (pages 45-47).
Les procédures ci-dessous règlent ALARM 1. Suivez les mêmes étapes pour régler ALARM 2.
1 Appuyez sur la touche ALARM 1.
"Réveils 1 Config" (réglage du réveil 1) s'affiche.
3 Réglez un par un les menus suivants en tournant la molette MULTI JOG jusqu'à ce que l'option désirée apparaisse, puis appuyez sur la molette pour valider votre sélection.
H. M. ché (Heure de réveil) :
Réglez l'heure et la minute de réveil.
Sélectionnez la source devant servir de son au réveil. Les trois options suivantes sont disponibles : DAB, FM et Buzzer.
Si vous avez sélectionné DAB ou FM pour la source, sélectionnez la station que vous voulez capter. Vous pouvez sélectionner une station préréglée (prégé) ou la dernière station captée.
- Si aucune station n'est disponible pour cause de mauvaise réception DAB alors que DAB est sélectionnée, le buzzer est automatiquement activé à la place.
Récurrence du réveil :
Vous pouvez régler le réveil sur Tous les jours, Une fois, Week end ou Semaine. Si vous sélectionnez Une fois, il vous est aussi demandé de choisir la date désirée.
Réglez le volume du son.
- Le réglage minimal du volume est 4; vous ne pouvez pas régler le volume en-dessous de 4.
Après avoir appuyé sur la molette pour valider votre sélection de volume, "Réveil Enregistré" apparait.
- Si l'unité est débranchée de l'alimentation électrique et si les batteries sont complètement déchargées depuis environ une heure, les réglages d'horloge et de réveil sont perdus.
Si le réveil ALARM 2 chevauche ALARM 1 :
ALARM 1 (heure de réveil : 7:00, source : DAB) ALARM 2 (heure de réveil : 7:30, source : FM)
Si les réglages des réveils se chevauchent, la source change automatiquement pour la prochaine source spécifique à l'heure du second réveil.
Dans l'exemple ci-dessus, l'unité s'allume à 7:00 avec DAB sélectionnée, puis la source passe à la FM à 7:30. L'unité s'éteint à 8:30.

Appuyez simplement sur la touche standby/on.
Le réveil s'arrête et l'unité passe en veille (standby).
Annulation d'un réglage de réveil

Après avoir réglé le réveil, vous pouvez annuler le réglage.
Les procédures ci-dessous servent à annuler le réglage du réveil ALARM 1.
Suivez les mêmes étapes pour annuler le réglage du réveil ALARM 2.
2 Tournez la molette MULTI JOG pour sélectionner "arrêt", puis appuyez sur la molette pour valider votre sélection.
"Réveil Enregistré" apparait.
- Pour rappeler le dernier réglage de réveil annulé, appuyez sur la touche ALARM correspondante puis suivez la procédure normale de réglage de réveil.
Snooze (report de réveil)
Vous pouvez temporairement mettre l'appareil en veille après son allumage par le réveil.
- Les trois réglages de report suivants sont disponibles : 5, 10, 15 et 30.
Si vous voulez repousser le réveil de 10, 15 ou 30 minutes, appuyez respectivement deux, trois ou quatre fois sur la touche.

L'indicateur ALARM commence à clignoter dans l'afficheur. "Veilleuse" s'affiche aussi et l'unité décompte le temps avant le nouveau réveil.
L'unité passe en mode de veille (STANDBY).
- Une fois le temps de report écoulé, le réveil sonne de nouveau. Pour le repousser encore de 5 minutes, appuyez à nouveau sur la touche SNOOZE.
- Appuyez sur la touche STANDBY/ON pour arrêter cette fonction.
Minuterie d'extinction
L'appareil peut être mis en veille après un temps défini.
Appuyez successivement sur la touche SLEEP jusqu'à ce que le temps désiré s'affiche.

Mode sommeil 15, 30, 45, 60 ou 90 minutes:
L'unité passera en veille 15, 30, 45, 60 ou 90 minutes plus tard.
Arr_mode sommeil (réglement par défaut) :
La minuterie d'extinction est désactivée.
- L'écran est automatiquement atténué quand la minuterie d'extinction est activée.
Pour vérifier le temps restant
Appuyez une fois sur la touche SLEEP.
Le temps restant s'affichera pendant 10 secondes, puis l'affichage normal reviendra.
Attenuateur (dimmer)
Appuyez sur la touche SNOOZE/DIMMER pour régler la luminosité de l'affichage.
Appuyez sur la touche SNOOZE/DIMMER pour régler la luminosité de l'affichage.

La luminosité de l'affichage change comme suit :

Guide de dépannage (1)
Si vous avez des problèmes avec votre système, veuillez consulter cette liste et essayez de voir si vous pouvez résoudre vous-même le problème avant d'appeler votre revendeur ou un service après-vente TEAC.
L'indicateur standby ne s'allume pas.
Quand l'unité est alimentée par les batteries, l'indicateur ne s'allume pas pour accroître l'autonomie.
Pas d'alimentation.
Si les batteries sont déchargees, branchez l'adaptateur secteur pour les recharger. Vérifiez le branchement à l'alimentation secteur. Vérifiez et assurez-vous que la source d'alimentation n'est pas une prise commutée et, si c'est le cas, qu'elle est en service. Vérifiez que la prise délivre bien du courant en y branchant un autre appareil tel qu'une lampe ou un ventilateur.
Pas de son
Allumez l'unité et réglez son volume. Sélectionnez la source en appuyant sur la touche FUNCTION. Retirez la fiche du casque de sa prise.
Le son est parasité.
L'unité est trop proche d'un téléviseur ou appareil électronique similaire. Installez-le à l'écart de tels dispositifs ou éteignez-les. Essayez aussi une autre prise électrique ou faites fonctionner votre R-5DAB sur batteries pour voir si les parasites viennent de votre connexion électrique.
Le réveil ne fonctionne pas.
Réglez réveil (voir pages 61-62).
Les messages s'affichent dans une autre langue.
Quand vous utilisez l'unité pour la première fois ainsi qu'après un retour aux réglages d'usine, l'affichage se fait en anglais. Suivez les instructions de "Langue" en page 52 pour des détails sur le changement de langue.
Pas de son.
Assurez-vous que l'unité a pu capter une station DAB.
Pas de ch. DAB s'affiche.
Vérifiez que la diffusion DAB est disponible dans votre région. Pour des détails sur la procédure de recherche automatique (recherche totale), voir page 50.
Impossible d'écouter la station sélectionnée.
Vérifiez que vous avez appuyé sur la molette MULTI JOG pour écouter une station. La station que vous écoutez actuellement sera affichée sur la première ligne de l'écran, la seconde ligne affichant les autres options de station quand vous faites défiler la liste des noms de station. Appuyez sur la molette MULTI JOG pour valider votre sélection.
Un gargouillis est entendu sur certaines stations.
Un système DAB peut produire de l'audio de qualité à partir d'un signal de bas niveau, mais quand le niveau du signal est juste trop bas, un "gargouillis" peut se faire entendre. Pour le réduire, essayez de repositionner votre antenne afin de maximiser la réception du signal.
Radio FM
Aucune station ne peut être captée, ou le signal est trop faible.
Réglez correctement la station. Pour recevoir une émission FM, déployez l'antenne téléscopique et tournez-la à la recherche de la meilleure réception.
Si vous ne pouvez pas rétablir un fonctionnement normal, retirez le pack de batteries et débranchez l'adaptateur secteur, attendez un moment puis réinstallez le pack de batteries et rebranchez l'adaptateur secteur.
Plage de fréquences
Plage de fréquences FM.... 87.50 à 108.00 MHz (pas de 50 kHz).
Plage de fréquences DAB... Bande III: 5A à 13F (174.928 à 239.200 MHz)
Haut-parleur
Type 65 mm Impédance 6 ohms
Générales
Puissance de sortie.... 2 W (Tuner/syntoniseur) 5 W (Aux)
Alimentation électrique (adaptateur secteur). 230 V, 50 Hz Consommation électrique : 8 W (en fonction) 15 W (en charge) Dimensions (L x H x P) : 240 x 130 x 122 mm Poids : 1,2 kg (batteries comprises)
Accessoires standard
Adaptateur secteur PS-M12125 x 1 Pack de batteries* BP-R5 (7,2 V, 1200 mAh) x 1 Câble mini-jack stéréo x 1 Mode d'emploi x 1 Carte de garantie x 1
*Inclus mais pas branché à l'unité
- Conception et caractéristiques techniques sont sujettes à changement sans préavis.
- Les illustrations peuvent être légèrement différentes des modèles de production.
Mise au rebut des équipements électriques et électroniques
(a) Tout équipement électrique et électronique doit être traité séparément de la collecte municipale d'ordures ménagères dans des points de collecte désignés par le gouvernement ou les autorités locales. (b) En vous débarrassant correctement des équipements électriques et électroniques, vous contribuez à la sauvegarde de précieuses ressources et à la prévention de potentiels effets négatifs sur la santé humaine et l'environnement. (c) Le traitement incorrect des déchets d'équipements électriques et électroniques peut avoir des effets graves sur l'environnement et la santé humaine en raison de la présence de substances dangereuses dans les équipements. (d) Le symbole de déchets d'équipements électriques et électroniques (DEEE), qui représente une poubelle à roulettes barrée d’une croix, indique que les équipements électriques et électroniques doivent être collectés et traités séparément des déchets ménagers. (e) Des systèmes de retrait et de collecte sont disponibles pour l’utilisateur final. Pour des informations plus détaillées sur la mise au rebut des derniers équipements électriques et électroniques, veuillez contacter votre mairie, le service d’ordures ménagères ou le magasin dans lequel vous avez acquis l’équipement.

Mise au rebut des batteries et/ou accumulateurs
(a) Les batteries et/ou accumulateurs hors d'usage doivent être traités séparément de la collecte municipale d'ordures ménagères dans des points de collecte désignés par le gouvernement ou les autorités locales. (b) En vous débarrassant correctement des batteries et/ ou accumulateurs hors d'usage, vous contribuerez à la sauvegarde de précieuses ressources et à la prévention de potentiels effets négatifs sur la santé humaine et l'environnement. (c) Le traitement incorrect des batteries et/ou accumulateurs hors d'usage peut avoir des effets graves sur l'environnement et la santé humaine car ils contiennent des substances dangereuses. (d) Le symbole de déchets d'équipements électriques et électroniques (DEEE), qui représente une poubelle à roulettes barrée d'une croix, indique que les batteries et/ou accumulateurs doivent être collectés et traités séparément des déchets ménagers.
Si une batterie ou un accumulateur contient plus que les valeurs spécifiées de plomb (Pb), mercure (Hg) et/ou cadmium (Cd) telles que définies dans la directive sur les batteries (2006/66/EC), alors les symboles chimiques de ces éléments seront indiqués sous le symbole DEEE.
Des systèmes de retour et de collecte sont disponibles pour l'utilisateur final. Pour des informations plus détaillées sur la mise au rebut des batteries et/ou accumulateurs, veuillez contacter votre mairie, le service d'ordures ménagères ou le magasin dans lequel vous les avez achetés.
Pb, Hg, Cd
| TEAC CORPORATION | 1-47 Ochiai, Tama-shi, Tokyo 206-8530 Japan Phone: (042) 356-9156 |
| TEAC AMERICA, INC. | 7733 Telegraph Road, Montebello, California 90640 U.S.A. Phone: (323) 726-0303 |
| TEAC CANADA LTD. | 5939 Wallace Street, Mississauga, Ontario L4Z 1Z8, Canada Phone: (905) 890-8008 |
| TEAC MEXICO, S.A. DE C.V. | Río Churubusco 364, Colonia Del Carmen, Delegation Coyoacán, CP 04100, México DF, México Phone: (5255)5010-6000 |
| TEAC UK LTD. | Suites 19 & 20, Building 6, Croxley Green Business Park, Hatters Lane, Watford, Hertfordshire, WD18 8TE, U.K. Phone: (0845) 130-2511 |
| TEAC EUROPE GMBH | Bahnstraße 12, D-65205 Wiesbaden-Erbenheim, Deutschland Phone: 0611-71580 |
Notice Facile