FN35402 - MiteleNoFrost MIELE - Notice d'utilisation et mode d'emploi gratuit
Retrouvez gratuitement la notice de l'appareil FN35402 MIELE au format PDF.
| Type d'appareil | Congélateur |
| Capacité | Non précisé |
| Classe énergétique | Non précisé |
| Type de dégivrage | Non précisé |
| Nombre de tiroirs | Non précisé |
| Dimensions (HxLxP) | Non précisé |
| Poids | Non précisé |
| Consommation électrique annuelle | Non précisé |
| Niveau sonore | Non précisé |
| Type de froid | Non précisé |
| Alarme porte ouverte | Non précisé |
| Réglage de la température | Non précisé |
| Couleur | Non précisé |
| Garantie | Non précisé |
| Accessoires inclus | Non précisé |
FOIRE AUX QUESTIONS - FN35402 MIELE
Questions des utilisateurs sur FN35402 MIELE
0 question sur cet appareil. Repondez a celles que vous connaissez ou posez la votre.
Poser une nouvelle question sur cet appareil
Téléchargez la notice de votre MiteleNoFrost au format PDF gratuitement ! Retrouvez votre notice FN35402 - MIELE et reprennez votre appareil électronique en main. Sur cette page sont publiés tous les documents nécessaires à l'utilisation de votre appareil FN35402 de la marque MIELE.
MODE D'EMPLOI FN35402 MIELE
Mode d'emploi et instructions de montage congélateur

Lisez impérativement ce mode d'emploi et ses instructions de montage avant d'instruire et de mettre en service votre appareil. Vous assurez ainsi votre protection et évitez d'endommager votre appareil.
Table des matières
Consignes de sécurité et mises en garde 4
Votre contribution à la protection de l'environnement 12
Comment faire des économies d'énergie? 13
Description de l'appareil 15
Bandeau de commande 15
Explication des symboles 16
Mise en marche et arrêt de l'appareil 18
Utiliser l'appareil 18
En cas d'absence prolongée 19
Choix de la bonne température 20
Affichage de la température 20
Régler la température 21
Utilisation de la fonction SuperFrost 22
Température et alarme de porte 23
Alarme de température 23
Désactiver l'alarme de température 23
Alarme de porte 24
Désactiver l'alarme de porte 24
Autres réglages 25
Verrouillage automatique 25
Signalisation sonore 26
Luminosité de l'écran d'affichage 27
Mode Shabbat 28
Aménagement intérieur 30
Déplacer les tiroirs de congélation montés sur rails télescopiques 30
Retirer les tablettes 30
Congélation et conservation 31
Pouvoir de congestion maximal 31
Processus de congélation pour les produits frais. 31
Conservation de produits surgelés 31
Congélation de produits 32
Utiliser les accessoires 35
Dégivrage automatique 36
Nettoyage et entretien 37
Avant le nettoyage 38 Retirer les rails télescopiques 38 Intérieur, accessoires 39 Nettoyer le joint de porte 40 Nettoyer les ouvertures d'aération 40 En cas d'anomalie 41 Origines des bruits 48 Miele@home 49 Service après-vente et garantie 51 Informations pour les revendeurs 52 Mode expo 52 Branchement électrique 54 Instructions de montage 55 Installation côté à côté (side by side) 55 Lieu d'installation 55 Aération et évacuation d'air 56 Avant l'encastrement de l'appareil 58 L'ancien appareil avait-il un autre type de charnière ? 59 Façade inox 59 Cotes d'encastrement 60 Limiter l'angle d'ouverture de porte 61 Inversion du sens d'ouverture de porte 62 Encastrement de l'appareil 66
Cet appareil répond aux réglementations de sécurité en vigueur. Une utilisation inappropriée est néanmoins susceptible d'occasionner des dommages corporels et matériels.
Lisez attentivement cette notice avant de mettre votre appareil en service. Elle contient des informations importantes sur le montage, la sécurité, l'utilisation et l'entretien de votre appareil. Respectez ces consignes pour vous protéger et éviter d'endommager votre appareil.
Miele ne peut être tenu pour responsable des dommages liés au non-respect des consignes de sécurité.
Veuillez conserver ce document à disposition et le remettre au futur propriétaire en cas de cession de votre appareil !
Utilisation conforme
Cet appareil est destiné exclusivement à un usage domestique, à la maison ou dans un autre environnement de type domestique. Cet appareil ne convient pas à une utilisation en extérieur.
Utilisez cet appareil uniquement dans le cadre domestique, pour conserver des produits surgelés, congeler des produits frais et préparer des glaçons.
Toute autre utilisation est interdite et peut être dangereuse.
L'appareil ne convient ni au stockage ni au refroidissement de médicaments, de plasma sanguin, de préparations de laboratoire ou de substances ou produits similaires soumis à la directive relative aux dispositifs médicaux. Une utilisation non conforme de cet appareil risque d'altérer ou d'endommager les produits qui y sont stockés. Par ailleurs, n'utilise pas cet appareil dans des zones potentiellement explosives.
Miele décline toute responsabilité en cas d'utilisation non conforme ou inappropriée de l'appareil.
Précautions à prendre avec les enfants
Les personnes qui ne sont pas en mesure d'utiliser cet appareil en toute sécurité en raison de déficiences physiques, sensorielles ou mentales, de leur manque d'expérience ou de leur ignorance doivent impérativement être surveillées lorsqu'elles l'utilisent. Ces personnes sont autorisées à utiliser l'appareil sans surveillance uniquement si vous leur avez expliqué comment l'utiliser sans danger et les risques encourus en cas de mauvaise manipulation. Tenez les enfants de moins de huit ans éloignés de l'appareil à moins qu'ils ne soient sous étroite surveillance.
Les enfants de huit ans et plus ne sont autorisés à utiliser l'appareil sans surveillance que s'il leur a été expliqué comment l'utiliser sans danger. Vérifiez qu'ils ont compris les risques encourus en cas de mauvaise manipulation. Les enfants ne doivent pas nettoyer ou intervenir sur l'appareil sans être sous la surveillance d'un adulte. Ne laissez pas les enfants sans surveillance à proximité de l'appareil. Ne les laissez pas jouer avec l'appareil. Risque d'asphyxie! Les enfants se mettent en danger en s'enveloppant dans les matériaux d'emballage (film plastique, par exemple) ou en glissant leur tête à l'intérieur. Tenez les matériaux d'emballage hors de portée des enfants.
Sécurité technique
Le circuit du fluide frigorigène a fait l'objet d'un contrôle d'étanchéité. L'appareil est conforme aux dispositions de sécurité en vigueur ainsi qu'aux directives européennes applicables.
Cet appareil contient de l'isobutane (R600a), un gaz naturel sans danger pour l'environnement, mais inflammable. Il ne nuit pas à la couche d'ozone et n'augmente pas l'effet de serre.
L'utilisation de ce fluide frigorigène peu polluant a pour contrepartie d'augmenter le niveau sonore de l'appareil. Il se peut en effet qu'un bruit d'écoulement interne au circuit de refroidissement accompagne les sons caractéristiques du compresseur. Ces effets incontournables n'affectent en rien les performances de l'appareil.
Veillez à n'endommager aucune élément du circuit de réfrigération lors du transport et de l'encastrement / de l'installation de l'appareil. Les projections de fluide frigorigène dans les yeux peuvent provoquer des lésions graves!
En cas de dommages matériels :
- évitez d'allumer une flamme ou tout ce qui pourrait causer une étincelle,
- débranche l'appareil du réseau électrique,
- aérez la pièce où se trouve l'appareil pendant quelques minutes puis
- contactez le service après-vente.
La taille de la pièce où est installé l'appareil doit être proportionnelle à la quantité de fluide frigorigène contenue dans l'appareil. En cas de fuite, un mélange air-gaz inflammable risque de se former si la pièce est trop petite. La pièce doit avoir un volume d'au moins 1m³ pour 8g de fluide frigorigène. La quantité de fluide frigorigène est indiquée sur la plaque signalétique à l'intérieur de l'appareil.
Les données de raccordement (tension et fréquence) figurant sur la plaque signalétique de l'appareil doivent impérativement correspondre à celles du réseau électrique pour éviter d'endommager votre appareil. Comparez ces données avant de brancher votre appareil et interrogez un électricien en cas de doute. Seul un raccordement à une prise de terre conforme garantit un fonctionnement de l'appareil en toute sécurité. Attention : Cette règle de sécurité élémentaire doit absolument être respectée ! En cas de doute, faites vérifier vos installations par un électricien. Seul un raccordement de l'appareil au réseau électrique public permet de garantir un fonctionnement sûr et fiable de ce dernier. Si le cordon d'alimentation électrique de votre appareil est endommagé, faites appel à un technicien/agréé par Miele exclusivement pour éviter de faire courir le moindre danger à l'utilisateur. N'utilisez pas les rallonges ou multiprises pour brancher votre appareil : elles représentent un danger potentiel (risque d'incendie). Lorsque l'humidité atteint les éléments sous tension ou le câble d'alimentation, cela peut engendrer un court-circuit. N'installez par conséquent jamais cet appareil dans des locaux représentant des risques d'humidité ou d'éclaboussures (garages, bunderies etc.). Cet appareil ne doit pas être utilisé sur des engins en mouvement. N'utilisez jamais votre appareil si ce dernier est endommagé : il représente un danger potentiel. Vérifiez que votre appareil ne présente aucun dommage apparent avant de l'utiliser. Afin de garantir un fonctionnement en toute sécurité, encastrez cet appareil avant de l'utiliser. Lors de travaux d'installation ou d'entretien ou en cas de réparations, l'appareil doit être mis hors tension. L'appareil est débranché du réseau électrique uniquement lorsque l'une des conditions suivantes est remplie :
Consignes de sécurité et mises en garde
- les fusibles correspondants sont déclenchés ou
- les fusibles à filetage sont totalement dévissés de l'installation électrique (non applicable en France) ou
- la prise de l'appareil est débranchée. Ne tirez jamais sur le cordon d'alimentation mais tenez la prise fermement pour débrancher l'appareil.
Des travaux d'installation, d'entretien ou de réparation non conformes peuvent entraîner de graves dangers pour l'utilisateur. Ces interventions doivent être exécutées exclusivement par des professionnels agréés par Miele. Les bénéfices liés à la garantie sont perdus en cas de réparation de l'appareil par un service après-vente non agrée par Miele. Les pièces de rechange d'origine sont les seules dont Miele garantit qu'elles remplissent les conditions de sécurité. Ne remplacez les pièces défectueuses que par des pièces détachées d'origine.
Utilisation conforme
- Voiture appareil est conçu pour une classe climatique donnée (plage de température ambience). Veuillez respecter les limites indiquées sur la plaque signalétique placée à l'intérieur de l'appareil. Une température ambience inférieure provoque un arrêt prolongé du compresseur, avec pour conséquence de faire descendre les zones de froid sous les températures requises. Ne recouvrez pas et n'obstruez jamais les fentes d'aération et d'évacuation de l'air, faute de quoi la ventilation ne serait plus assurée, la consommation en électricité augmenterait et les éléments de l'appareil risqueraient d'être endommagés. Si vous conservez des aliments contenant de la GRAisse ou de l'huile dans la contreporte, veillez à ce que la GRAisse ou l'huile ne fuient pas sur les pièces en plastique de l'appareil. Des fissures risquent d'apparaître dans le plastique qui peut casser.
Ne stockez pas de produits explosifs ou d'aérosols dans l'appareil. Certains gaz inflammables peuvent prendre feu en raison de certains composants électriques. Risque d'incendie et d'explosion! N'utilisez pas d'appareils électriques dans l'appareil (par ex.: fabrication de glaces à l'italienne). Des étincelles risqueraient de se produire. Risque d'explosion! N'entreposez ni canettes, ni bouteilles contenant des boissons gazeuses dans la zone de congélation de l'appareil : ces contenants sont susceptibles d'éclater. Risque de dommages corporels et matériels! Si vous placez des bouteilles dans le congélateur pour les refroidir plus rapidement, enlevez-les au bout d'une heure maximum, sinon elles risquent d'éclater. Risque de blessure et de dommages matériels. Ne touchez pas les produits congelés ou les éléments métalliques, avec les mains mouillées. Elles pourraient y rester collées sous l'effet du froid. Risque de blessure! Ne consommez jamais de glaçons ou d'esquimaux, ronds ou les sorbets, quand ils sortent du congélateur. Vos lèvres et votre langue risquent de geler instantanément. Risque de blessures! Ne recongelez jamais d'aliments qui ont été partiellement ou totalement décongelés. Consommez-les au plus vite avant qu'ils ne perdent toute valeur nutritive et s'abiment. Toutefois, vous pouvez remettre au congélateur des aliments que vous avez cuits-vous-même.
Consignes de sécurité et mises en garde
Ne consommez pas d'aliments qui ont dépassé la date limite de congélation : vous risquez une intoxication ! La durée de conservation des aliments dépend de nombreux facteurs dont leur degré de fraîcheur, leur qualité et leur température de conservation. Respectez la date limite de consommation et les indications présentes sur les emballages !
N'utilisez que des accessoires d'origine Miele. Le montage d'autres pièces exclut tout bénéfice de la garantie.
Nettoyage et entretien
Ne traitez pas le joint de porte avec des huiles ou des graisses, sinon il devient poreux. La vapeur d'un nettoyeur vapeur pourrait parvenir sur les composants conducteurs et provoquer un court-circuit.
N'utilisez jamais de nettoyeur vapeur pour nettoyer votre appareil.
Les objets pointus ou tranchants risquent d'endommager les générateurs de froid, ce qui compromettrait le bon fonctionnement de l'appareil. N'utilisez donc pas d'objets pointus ou tranchants pour
- retirer le givre ou la glace,
- décoller les glaçons et aliments pris dans la glace.
Ne placez jamais d'appareils électriques ou de bougies dans l'appareil pour accélérer le dégivrage. Vous pouvez endommager le plastique. N'utilisez pas de bombes dégivrantes. Elles peuvent former des gaz explosifs, contenir des solvants ou des agents propulseurs qui endommagent le plastique et sont nocives à la santé.
Transport
L'appareil doit impérativement être transporté à la verticale et dans son emballage afin de ne subir aucun dommage. L'appareil étant très lourd, transportez-le à deux personnes. Risque de blessure et de dommages matériels!
Enlèvement de l'ancien appareil
- Mettez la serrure de votre ancien appareil hors d'état de fonctionnement avant de l'éliminer.
Vous éviterez ainsi que des enfants ne s'enferment dedans en jouant et risquent leur vie.
Les projections d'agent réfrigérant peuvent provoquer des lésions oculaires! N'endommagez aucune partie du circuit de refroidissement, par exemple
- ne percez jamais les conduits de l'évaporateur contenant du frigorigène,
- ne coudez pas les conduits,
- ne grattez pas les revêtements de surfaces.
Symbole sur le compresseur (selon modèle)
Cette remarque est uniquement significative pour le recyclage. Il n'y a aucun danger en fonctionnement normal!

L'huile dans le compresseur peut être mortelle en cas d'ingestion et de pénétration dans les voies respiratoires.
Nos emballages
Nos emballages protègent votre appareil des dommages pouvant survenir pendant le transport. Nous les sélectionnons en fonction de critères écologiques permettant d'en faciliter le recyclage.
En participant au recyclage de vos emballages, vous contribuez à économiser les matières premières et à réduire le volume des déchets. Notre revendeur reprend vos emballages.
Votre ancien appareil
Les appareils électriques et électroniques dont on se débarrasse contiennent souvent des matériaux précieux. Cependant, ils contiennent aussi des substances toxiques nécessaires au bon fonctionnement et à la sécurité des appareils. Si vous déposez ces appareils usagés avec vos ordures ménagères ou les manipulez de manière inadéquate, vous risquez de nuire à votre santé et à l'environnement. Ne jetez jamais vos anciens appareils avec vos ordures ménagères!

Faites appel au service d'enlèvement mis en place par votre commune ou rapportez votre appareil dans un point de collecte spécifique dédié à l'élimination de ce type d'appareil.
Veillez à ne pas endommager les conduits du circuit frigorifique de votre appareil jusqu'à son enlèvement vers une décharge assurant le recyclage des matériaux.
On évitera ainsi que le fluide frigorifique contenu dans le circuit et l'huile contenue dans le compresseur ne soient libérés dans l'atmosphère.
Jusqu'à son enlèvement, veillez à ce que votre ancien appareil ne présente aucun danger pour les enfants. Pour de plus amples informations, reportez-vous au chapitre "Consignes de sécurité et mises en garde" du mode d'emploi.
| Consommation ener-gé-tique normale | Consommation ener-gé-tique élevé | |
| Installation / En-tretien | Dans des locaux aérés. | Dans des locaux fermés, non aérés. |
| Pas d'exposition directe à la lumière du soleil. | Exposition directe à la lu-mière du soleil. | |
| Eloigné d'une source de chaleur (chauffage, ciusi-nière). | Près d'une source de cha-leur (chauffage, ciusinière). | |
| Température ambiente idéale d'env. 20 °C. | Température ambiente élevée. | |
| Ne recouvre pas les fentes d'aération et dépoussiérez régulièrement. | Fentes d'aération et d'éva-cuation d'air plus ou moins empoussierées | |
| Réglage de la température | Zone de congélation à -18 °C | Réglage de température faible : plus la température de la zone de congélation est BASSE, plus la consom-mation d'énergie est élevé ! |
Comment faire des économies d'énergie?
| Consommation énergétique normale | Consommation énergétique elevée | |
| Utilisation | Agencement des tiroirs et des tablettes conforme à la sortie d'usine. | |
| Ouvrir la porte si nécessaire seulement et la referrer le plus vite possible. Ranger correctement les alimentés. | Des ouvertures de porte trop fréquentes et trop longues entrainant des pertes de froid et une pénétration d'air chaud dans l'appareil. L'apareil doit ensuite faire re-descendre la température. La durée de fonctionnement du compresseur augmente. | |
| Emmener un sac isotherme pour aller faire les courses et ranger les alimentés rapide-ment dans l'appareil. Laisser d'abord refroidir les boissons et les plats chaud à l'extérieur de l'appareil. | Les plats encore chauds et les alimentés à température ambiente font pénétrer de la chaleur dans l'appareil : ce dernier doit ensuite faire re-descendre sa température et la durée de fonctionnement du compresseur augmente. | |
| Emballez les alimentés avant de les ranger. | L'évaporation et la condensation de liquides à l'intérieur du congélateur contribue à une moindre performance de la production de froid. | |
| Pour une meilleure ventilation de l'appareil, ne pas surchargez les comparti-ments. | Une mauvaise circulation d'air contribue à une moindre performance de la production de froid. |
Bandeau de commande

① Mise en marche/Arrêt de l'ensemble de l'appareil ② Interface optique (pour le SAV seulement) ③ Activation/désactivation de la fonction Superfrost
④ Régler la température (V pour plus de froid), flèche de sélection en mode réglage ⑤ Valider une sélection (touche OK) ⑥ Régler la température ( ∧ pour moins de froid), flèche de sélection en mode réglage ⑦ Activer / Désactiver le mode réglage ⑧ Désactivation de l'alarme de porte Ecran avec affichage de température et symboles (symboles visibles uniquement en mode réglage, en cas d'alarme ou de message; explication des symboles, voir tableau)
Explication des symboles
| Symbole | Signification | Fonction |
| ® | Verrouillage automatique | Protection contre toute modification inov-lontaire des régles notamment une mise hors tension, un changement de tempéra-ture involontaire, une activation de la fon-cion SuperFroid et SuperFrost. |
| J& | Signaux sonores | Choix du bip sonore et du signal d'alertis-sement en cas de déclenchement d'alarme de porte et de température. |
| © | Miele@home | Visible seulement si le module de commu-nication Miele@home ou la clé de commu-nication est connecté (voir "Miele@home") |
| SG | SmartGrid | Visible seulement si le module de commu-nication Miele@home ou la clé de commu-nication est connecté (voir "Miele@home") |
| ◎ | Luminosité de l'écran d'affichage | Régler la luminosité de l'écran d'affichage |
| üü | Mode Shabbat | Activer / Désactiver le mode Shabbat. |
| -ü | Raccordement réseau | Confirme que l'appareil est branché au ré-seau électrique lorsqu'il n'est pas sous ten-sion; clignote en cas de panne de courant |
| △ | Alarme | S'allume en cas d'alarme de porte, clignote en cas d'alarme de température, de cou-pure de courant et d'autres messages d'er-reur. |
| ■ | Mode Expo(visible uniquement en cas d'activation du mode expo | Désactiver le mode expo |
Cette image montre un exemple de modèle.
① Bandeau de commande ② Éclairage intérieur ③ Dispositif NoFrost Tiroir de congélation supérieur utilisable comme tablette de congélation ⑤ Tiroirs de congélation (nombre selon modèle)
Emballages de transport
Retirez tous les matériaux d'emballage qui se trouvent à l'intérieur de l'appareil.
Nettoyage
Respectez scrupuleusement les instructions du chapitre "Nettoyage et entretien".
Nettoyez l'intérieur de l'appareil et les accessoires.
Utiliser l'appareil
Pour utiliser l'appareil, il vous suffit d'effleurer les touches sensibles avec le doigt.
Tout contact est validé par un bip sonore que vous pouvez aussi désactiver si vous le souhaitez (voir chapitre "Réglages - Volume - Bip touches").
Allumer l'appareil
Une fois l'appareil mis sous tension, le symbole de raccordement au réseau électrique -é apparaît à l'écran au bout de quelques instants.

Effleurez la touche Marche/Arrêt.
Le symbole du raccordement électrique s'extingue et la température s'affiche à l'écran.
Deux traits clignotent à l'écran lorsque la température dépasse 0°C.
L'appareil commence à refroidir.
L'affichage de la température et le symbole de l'alarme clignotent simultanément, jusqu'à ce que la température souhaitée soit atteinte.
En ouvrant la porte de l'appareil, l'éclairage intérieur s'allume et l'éclairage par LED devient plus clair jusqu'à ce qu'elle ait atteint la luminosité maximale.
Laissez l'appareil fonctionner quelques heures avant d'y déposer des aliments pour que la température soit suffisamment basse.
Eteindre l'appareil

Effleurez la touche Marche/Arrêt. Si ce n'est pas possible, c'est que le verrouillage est enclenché!
L'affichage de la température s'éteint et le symbole de raccordement au réseau s'allume.
La production de froid est désactivée.
Désactiver le mode shabbat
Vous pouvez éteindre l'appareil quand vous le souhaitez.

Effleurez la touche Marche/Arrêt.
L'affichage de la température s'éteint et le symbole de raccordement au réseau s'allume.
La production de froid est désactivée.
Le mode Shabbat s'éteint dès que vous rallumez l'appareil.
En cas d'absence prolongée
En cas d'arrêt prolongé de l'appareil, de la moisissure risque de se former si la porte reste fermée et si l'appareil n'a pas été nettoyé. Nettoyez impérativement l'appareil.
Si l'appareil doit rester longtemps sans fonctionner :
éteignez l'appareil, débranchez l'appareil ou ôtez le fusible de l'installation domestique, nettoyez l'appareil et laissez les portes de l'appareil ouvertes afin d'aérer suffisamment et éviter ainsi la formation de mauvaises odeurs.
Il est primordial de sélectionner une température correcte afin de bien conserver les aliments. Ceux-ci s'abiment vite sous l'action de micro-organismes. Une bonne température de conservation peut retarder, voir empêcher leur dégradation. Plus la température baisse et plus ce processus ralentit.
Il faut obtenir une température de -18^ pour congeler des aliments frais et les conserver longtemps. À cette température le développement des micro-organismes est très faible mais+. des que la température dépasse les -10°C, la décomposition des aliments par les micro-organismes reprend et ils se conservent moins longtemps. Aussi ne faut-il jamais recongeler des aliments partiellement ou totalement décongelés à moins qu'ils aient été cuits depuis leur décongélation. Les microorganismes sont éliminés par des tem-. pératures élevées.
La température à l'intérieur de l'appareil augmente,
- en fonction de la fréquence et de la durée d'ouverture de porte,
- en fonction de la quantité d'aliments conservés,
- en fonction de la chaleur des aliments mis à refroidir,
- en fonction de la température ambiante de la pièce où est installé l'appareil. Cet appareil est prévu pour une classe climatique (température ambiante) précise dont il faut respecter les limites.
Affichage de la température
L'affichage de température sur l'écran indique, en fonctionnement normal, la température de la zone de congélation réelle moyenne qui règne actuellement dans l'appareil.
Si la température de la pièce dépasse les limites de la plage de température autorisée, seuls des tirets clignotent à l'écran.
En fonction de la température ambience et des réglages, il faut parfois plusieurs heures avant que la température sélectionnée soit atteinte et affichée.
La température est passée sous le seuil des -18 °C pendant une durée prolongée ? Vérifiez que vos produits surgelés n'ont pas commencé à décongeler.
Dans ce cas, consommez-les au plus vite ou faites-les cuire ou rôtir avant de les congeler de nouveau.
Régler la température
- Réglez la température à l'aide des deux touches sensibles en-dessous de l'écran d'affichage.
En appuyant sur la touche :

- la température diminue,

- la température augmente.
Pendant le réglage, la température clignote.
Les modifications suivantes peuvent être observées à l'écran lorsque vous effleurez les touches sensitives :
Premier effleurement : la dernière valeur de température régée clignote. - À chaque fois que vous appuyez sur la touche, la température augmente ou diminue de 1°C. - En maintenant le doigt sur la touche sensitive : la valeur de température change continuellement.
Environ 5 secondes après la dernière action sur la touche sensitive, la valeur de température effective régnant alors dans l'appareil apparait automatiquement dans l'affichage.
- Validez en appuyant sur OK.
Lorsque vous avez modifié la température à l'aide du sélecteur, vérifiez la température au bout de 6 heures env. si l'appareil est peu rempli et après 24 heures env. s'il est rempli. Ce n'est qu'à ce moment-là que la température réelle est réglée.
Si la température se trouve encore trop élevée ou trop BASSE, reglez-la à nouveau.
Plage des températures
La température est réglable entre -15 °C et -28 °C.
Fonction superfrost
Enclenchez la fonction SuperFrost afin de congeler les aliments frais dans les meilleures conditions.
Cette fonction permet de congeler les aliments à cœur rapidement afin de préserver leurs valeurs nutritives, leurs vitamines, leur aspect et leur goût.
Exceptions :
Lorsque vous déposez des aliments déjà congelés dans votre congélateur. Lorsque vous congélez seulement jusqu'à 2 kg d'aliments par jour.
Activer la fonction superfrost
VoudevezactiverlafonctionSuperfrost6heuresavantdemetreacongelerlesproduits. Siyoussoushaitezutiliserlacapacitemaximaledecongélation, actvezlafonctionSuperfrost24heuresaI'avance

Effleurez la touche SuperFrost jusqu'à ce qu'elle soit rétroéclairée en jaune.
La température baisse dans la zone de congélation, car celle-ci fonctionne à la puissance frigorifique maximale.
Désactiver la fonction superfrost
La fonction SuperFrost s'arrête automatiquement après environ 30 à 65 heures. Le temps écoulé jusqu'à l'arrêt de la fonction dépend de la quantité d'aliments frais stockés. Le symbole SuperFrost s'éteint et l'appareil fonctionne à nouveau à sa capacité de refroidissement normale.
Pour économiser l'énergie, vous pouvez désactiver vous-même la fonction SuperFrost, dès qu'une température de congélation constante de -18 °C est atteinte. Contrôlez la température à l'intérieur de l'appareil.

Effleurez la touche SuperFrost, de manière à ce qu'elle ne soit plus rétroéclairée en jaune.
L'appareil se remet à fonctionner à puissance frigorifique normale.
L'appareil est équipé d'une alarme sonore pour éviter que la température dans la zone de congélation n'augmente sans que l'on s'en aperçoive et afin d'éviter une perte d'énergie si la porte de l'appareil devait rester ouverte.
Alarme de température
La température est passée sous le seuil des -18°C pendant une durée prolongée ? Vérifiez que vos produits surgelés n'ont pas commencé à décongeler.
Dans ce cas, consommez-les au plus vite ou faites-les cuire ou rôtir avant de les congeler de nouveau.
Si la température de congélation atteint un niveau trop élevé, le symbole de l'alarme clignote à l'écran. En outre, un signal sonore retentit.
Cette limite est déterminée par le réglage du sélecteur de température.
Les signaux acoustique et optique réagissent notamment dans les cas suivants :
- l'appareil est mis sous tension, dans la mesure où la température est trop différente de celle régée,
- lorsque trop d'air chaud pénètre dans la zone de décongélation au moment d'ouvrir la porte pour sortir ou ranger des produits surgelés,
- lorsque vous congelez de grosses quantités d'aliments,
- lorsque vous congelez des produits frais encore chauds,
- après une panne de courant,
- lorsque l'appareil est défectueux.
Dès que l'état critique est passé, le signal sonore s'arrête et le symbole Alarme s'éteint.
Désactiver l'alarme de température
Si l'alarme vous dérange, vous pouvez l'interrompre avant la fin.

Effleurez le bouton de l'alarme de température pour la désactiver.
L'alarme s'arrête.
Le symbole d'alarme reste allumé, jusqu'à ce que l'appareil ne soit plus en état d'alarme.
Alarme de porte
Si la porte de l'appareil reste ouverte de manière prolongée, un avertisseur sonore retentit. Le symbole d'alarme s'allume.
Le délai de déclenchement de l'alarme de porte dépend du réglage sélectionné et peut être de 2 minutes (réglage usine) ou 4 minutes. L'alarme de porte peut également être désactivée (voir "Réglages supplémentaires - Signaux sonores").
Dès que la porte de l'appareil est fermée, le signal sonore s'arrête et le symbole Alerte s'éteint.
Si aucun signal sonore n'est audible alors que l'alarme de porte est activée, le signal d'alarme a été désactivé dans le mode de réglage (voir "Réglages supplémentaires - Signaux sonores").
Désactiver l'alarme de porte
Si l'alarme vous dérange, vous pouvez l'interrompre avant la fin.

Appuyez sur la touche sensitive de l'alarme de porte pour la désactiver.
L'avertisseur sonore s'arrête.
Le symbole d'alarme s'allume jusqu'à ce que la porte de l'appareil soit fermée.
Certains réglages de l'appareil ne peuvent s'effectuer qu'en mode Réglages.
Quand vous êtes en mode Réglages, l'alarme de porte ou les autres messages d'erreur sont automatiquement bloqués, et ce même si le symbole d'alarme s'affiche encore à l'écran.
Options de réglages
| ♀ | Activer / Désactiver le ver-rouillage |
| ♂ | Activer / Désactiver la signalisa-tion sonore |
| ◎ | Modifier la luminosité de l'écran |
| üü | Activer / Désactiver le mode Shabbat |
Toutes les autres possibilités de réglages sont décrites ci-dessous.
Verrouillage automatique
Le verrouillage permet de prévenir :
- un arrêt involontaire de l'appareil,
- une modification involontaire du réglage de la température,
- une sélection involontaire de la fonction Superfrost,
- un dérèglement involontaire des réglages (seule la désactivation du verrouillage est possible).
Vous évitez ainsi que les personnes non autorisées, notamment les enfants, n'enclenchent des fonctions de l'appareil.
Activer ou désactiver le verrouillage

Appuyez sur la touche "Réglages".
À l'écran, tous les symboles sélectionnables s'affichent et le symbole se met à clignoter.

- Validez en appuyant sur OK.
À l'écran, le dernier réglage sélectionné clignote et le symbole s'allume.

Appuyez sur les touches ∧ ou ∨ pour choisir si vous souhaitez activer/désactiver le verrouillage. 0: verrouillage désactivé 1: verrouillage activé.

- Validez en appuyant sur OK.
Votre choix est validated, le symbole clignote.

Appuyez sur la touche du mode Réglages pour quitter le mode de réglage. Sinon, l'électronique quitte automatiquement le mode de réglage au bout environ 1 minute.
Une fois le verrouillage activé, le symbole s'allume.
Signalisation sonore
L'appareil dispose d'une signalisation sonore, notamment du bip de touches, de l'alarme de porte et de l'alarme de température.
Vous avez la possibilité d'activer ou de désactiver le bip de touches et l'alarme de porte mais pas l'alarme de température!
Vous pouvez choisir un des quatre réglages qui vous sont proposés. Le réglage d'usine est configuré sur 3 : le bip touches et l'alarme de porte sont enclenchés.
Activer ou désactiver la signalisation sonore

Appuyez sur la touche "Réglages".
À l'écran, tous les symboles sélectionnables s'affichent et le symbole se met à clignoter.

Appuyez sur les touches de réglage de température (∧ ou ∨) jusqu'à ce que le symbole clignote à l'écran.

- Validez en appuyant sur OK.
À l'écran, le dernier réglage sélectionné clignote et le symbole s'allume.

Appuyez sur les touches ∧ ou ∨ pour choisir une des options suivantes :
1: bip touches désactivé; alarme de porte activée (au bout de 4 minutes) 2: bip touches désactivé; alarme de porte activée (au bout de 2 minutes) 3: bip touches activé; alarme de porte activée (au bout de 2 minutes)

- Validez en appuyant sur OK.
Votre choix est validé, le symbole clignote.

- Appuyez sur la touche du mode Réglages pour quitter le mode de réglage.
Sinon, l'électronique quitte automatiquement le mode de réglage au bout d'environ 1 minute.
Luminosité de l'écran d'affichage
Vous pouvez adapter la luminosité de l'écran d'affichage à l'éclairage ambiant.
La luminosité de l'écran d'affichage peut être modulée de 1 à 3. Le réglage d'usine est programmé sur 3 (luminosité maximale).
Modifier la luminosité de l'écran

Appuyez sur la touche "Réglages".
À l'écran, tous les symboles sélectionnables s'affichent et le symbole se met à clignoter.

Appuyez sur les touches de réglage de température (∧ ou ∨) jusqu'à ce que le symbole clignote à l'écran.

- Validez en appuyant sur OK.
À l'écran, le dernier réglage sélectionné se met à clignoter et le symbole s'allume.

Appuyez sur les touches ∧ ou ∨ pour moduler la luminosité de l'écran :
7 correspond à la luminosité minimale. 2 correspond à une luminosité moyenne. 3 correspond à la luminosité maximale.

- Validez en appuyant sur OK.
Votre choix est validé, le symbole © clignote.

- Appuyez sur la touche du mode Réglages pour quitter le mode de réglage.
Sinon, l'électronique quitte automatiquement le mode de réglage au bout d'environ 1 minute.
Mode shabbat
Cet appareil dispose du mode Shabbat pour répondre aux coutumes religieuses.
Sont désactivées :
- l'éclairage intérieur qui s'allume lorsque la porte de l'appareil est ouverte,
- Toute la signalisation sonore et visuelle,
- l'affichage de la température, Superfrost (s'il est activé).
Les touches suivantes restent accessibles :
- la touche de désactivation du mode Shabbat,
- la touche Marche/Arrêt.
Le mode Shabbat se désactive automatiquement au bout de 120 heures.
La signalisation sonore et visuelle étant désactivée, vous devez contrôler que la porte est bien fermée.
Si une panne de courant survient pendant cette période, elle ne sera pas signalée. APRÈS une panne de courant, l'appareil redémarre en mode Shabbat.
Activer le mode shabbat

Appuyez sur la touche "Réglages".
À l'écran, tous les symboles sélectionnables s'affichent et le symbole se met à clignoter.

Appuyez sur les touches de réglage de température (∧ ou ∨) jusqu'à ce que le symbole clignote à l'écran.

- Validez en appuyant sur OK.
À l'écran, le dernier réglage sélectionné se met à clignoter et le symbole s'allume.

Pour activer le mode Shabbat, appuyez sur les touches ou puis sélectionnez le numéro 1.

- Validez en appuyant sur OK.
Votre choix est validé, le symbole s'allume.
Dès que le symbole s'éteint à l'écran (après 3 secondes), le mode Shabbat est activé.
Désactivez le mode Shabbat à la fin du Shabbat.
Désactiver le mode shabbat

Pour quitter le mode Shabbat, appuyez sur la touche de réglage correspondante.
La température sélectionnée et l'éclairage intérieur s'affichent à l'écran.
Déplacer les tiroirs de condensation montés sur rails télescopiques
Les tiroirs de congélation sont équipés de rails téléscopiques. Vous pouvez les sortir complètement pour les charger, les décharger ou tout simplement pour les nettoyer :
Sortez les tiroirs jusqu'à la butée.

■ Attrapez le tiroir sur le côté à l'arrière et soulevez-le d'abord vers le haut puis vers l'avant.
Repoussez les rails de guidage. Vous évitez ainsi de les endommager!
Une graisse special a ete deposee sur les rails telescopiques. Veillez ane pas al retirer au cours dun nettoyage.
Nettoyez les rails télescopiques avec un chiffon humide.
Pour remettre le tiroir en place, posez-le sur les rails entièrement entrés. Glissez-le dans l'appareil jusqu'à ce que le tiroir s'emboite.
Retirer les tablettes
Les tablettes sont amovibles.
- Soulevez légèrement les tablettes, puis tirez-les vers l'avant.
Pouvoir de congélation maximal
Pour que la congélation des aliments s'effectue le plus rapidement possible, il convient de ne pas dépasser la capacité maximale de congélation. Vous trouverez la capacité maximale de congélation en 24 heures sur la plaque signalétique : « Pouvoir de congélation … kg/24 h »
La capacité de congélation maximale indiquée a été déterminée en conformité avec la norme DIN EN ISO 15502.
Processus de congélation pour les produits frais.
Les aliments frais doivent être congélés à cœur aussi rapidement que possible afin de conserver leur valeur nutritive, vitamines, aspect et goût.
Plus les aliments sont congelés lentement, plus la quantité de liquide qui s'échappe de chaque cellule est importante. Les cellules se recroquevillent alors. Lors de la décongélation, seule une partie du liquide qui s'est échappée peut retourner dans les cellules. Concrètement, ceci signifie que la perte de saveur des aliments est plus importante. Ceci se manifeste par la flaque d'eau qui se forme autour de l'aliment lorsque vous le décongelez.
Si les produits sont congélés rapidement, le liquide a moins de temps pour s'échapper des cellules et passer dans les cavités. Les cellules se contractent bien moins. Lors de la décongélation, la faible quantité de liquide qui est passée
Dans les cavités peut revenir dans les cellules, et la perte de jus est moindre. Seule une petite tache d'eau se forme !
Conservation de produits surgelés
Pour conserver des produits surgelés vendus dans le commerce, contrôlez lors de l'achat dans le magasin
- si l'emballage n'est pas abîmé,
- la date limite de conservation et
- la température du congélateur dans lequel l'aliment est vendu. Si la température est supérieure à -18 °C, les produits surgelés se conservent moins longtemps. ■ Prenez les produits surgelés en dernier et transportez-les dans un sac isotherme ou du papier journal.
- Rangez vos produits surgelés immédiatement dans le congélateur.
Ne recongelez pas les marchandises décongelées ou partiellement décongelées. Recongelez-les seulement après les avoir cuisines (en les faisant cuire ou griller).
Congélation de produits
Ne congelez que des produits frais et de première qualité!
Conseils pour la congélation
- Aliments pouvant être congelés : viande, volaille, gibier, poissons, légumes, fines herbes, fruits crus, produits laitiers, pâtisseries, plats cuités. Aliments pour lesquels la congélation est déconseillée : raisins, salade, radis, oignons, pommes et poires entières crues, mayonnaise, œufs entiers dans leur coquille, viandes grasses. Pour préserver la couleur, le goût, l'arôme et la vitamine C de vos légumes, blanchissez-les avant de les congeler. Pour ce faire, faites cuire vos légumes, portion par portion, à l'eau bouillante pendant 2 - 3 minutes. Retirez ensuite les légumes et refroidissez-les rapidement sous l'eau froide. Égouttez enfin les légumes. - La viande maigre se congèle mieux que la viande grasse et se conserve beaucoup plus longtemps.
- Séparez les côtelettes, biftecks, escalopes et autres viandes avec un film plastique pour éviter qu'ils congèlent en bloc.
- N'assaisonnez pas les aliments crus et les légumes blanchis avant de les congeler et assaisonnez légèrement les plats cuisinés. Certaines épices changent l'intensité du goût lors de la congélation.
- Faites refroidir les aliments et boissons chaudes avant de les mettre au congélateur pour éviter un début de décongélation pour les autres produits déjà congelés et une augmentation de la consommation d'énergie.
Emballages
- Portionnez les produits à congeler.
- films plastiques
- feuilles en polyéthylène
- feuilles en aluminium
- boîtes de congélation
Emballages à éviter
- papier d'emballage
- papier sulfurisé
- papier cellophane
- sac poubelle
- sacs plastiques utilisés pour les courses
Chassez l'air de l'emballage. Fermez l'emballage hermétiquement avec
- caoutchoucs
- clips plastiques
- attaches ou
- autocollants spéciaux pour congélation.
Conseil : Vous pouvez bien entendu utiliser un appareil pour souder les sacs et films de congélation.
Inscrivez le contenu et la date de congélation sur l'emballage.
Avant la congélation
Si vous devez congeler plus de 2 kg de produits frais, activez la fonction Superfrost (voir "Utilisation de la fonction SuperFroid et SuperFrost - Fonction SuperFrost") pendant quelques instants avant de ranger les aliments dans le congélateur. Cette mesure permet de refroidir suffisamment les produits congelés, qui accumulent une réserve de froid.
Mise en congélation
Les charges maximes suivantes doivent etre respectees : - tiroir de congélation supérieur = 5kg - tiroir de congélation = 25 kg - tablette en verre = 35kg
Les aliments à congeler ne doivent pas entrer en contact avec des aliments déjà congélés afin d'éviter que ces derniers ne commencent à décongeler.
Veillez à ce que les emballages soient bien secs pour éviter une congélation en bloc.
Petit quantité d'aliments à congeler
Congeler les aliments dans les tiroirs de congélation du bas. - Disposez les aliments à congeler à plat sur le fond des tiroirs de congélation afin que la congélation à cœur se fasse le plus rapidement possible.
Posez les aliments à congeler sur la tablette en verre de telle sorte que les fentes du ventilateur à l’arrière de l’appareil restent toujours libres. Elles sont indispensables au bon fonctionnement de l’appareil et à une consommation d’énergie faible!
Quantité d'aliments à congeler maximale (voir plaque signalétique)
Retirez les tiroirs de congélation. - Disposez les produits de manière à ce qu'ils occupent la plus grande surface possible sur les tablettes en verre, afin qu'ils congèlent le plus vite possible jusqu'à leur centre.
Après le processus de congélation : Déposez les aliments congélés dans le tiroir de congélation et replacez-le.
- Aliments volumineux à congeler
Pour stocker des aliments plus volumineux (par exemple, une dinde ou du gibier), vous pouvez retirer les tablettes en verre entre les tiroirs de congélation.
Retirez les tiroirs de congélation et soulevez légèrement les tablettes en verre souhaitées, puis faites-les glisser vers l'avant !
Durée de conservation des aliments congelés
La conservation des aliments est elle-même très différente en cas de respect de la température prescrite de - C. Même dans les produits congelés, des processus de décongélation fortement ralentis ont lieu. La graisse peut par ex. devenir rance avec l'oxygène. De la viande maigre peut par conséquent être conservée deux fois plus longtemps que la viande grasse.
Les durées de conservation indiquées sont des valeurs de référence pour la durée de conservation des différents groupes d'aliments dans la zone de congélation.
| Groupe d'aliments | Durée de conservation (mois) |
| Oeuf sur le plat | 2 à 6 |
| Pain, pâtisseries | 2 à 6 |
| Fromage | 2 à 4 |
| Poisson, gras | 1 à 2 |
| Poisson, maigre | 1 à 5 |
| Saucisse, jambon | 1 à 3 |
| Gibier, porc | 1 à 12 |
| Volaille, bœuf | 2 à 10 |
| Fruits et légumes | 6 à 18 |
| Herbes aromatiques | 6 à 10 |
Pour des résultats de congélation classiques, la durée de conservation indiquée sur l'emballage est décisive.
Décongélation de produits congelés
Décongélation de aliments
- au micro-ondes,
- au four en mode "Chaleur tournante" ou "Décongélation",
- dans la zone de réfrigération (le froid sera utilisé pour refroidir les autres alimentés),
- au four vapeur.
Vous pouvez faire cuire les morceaux de viande ou de poissons plats partiellement décongelés dans une poêle chaude.
Décongelez les morceaux de viande et de poisson (viande hachée, poulet, fillets de poisson, etc.) de manière à éviter tout contact avec les autres aliments. Récupérez l'eau de décongélation et jetez-la avec précaution.
Vous pouvez décongeler les fruits à température ambiante dans leur emballage ou dans un saladier couvert.
En général, les légumes peuvent être plongés dans l'eau bouillante ou cuits directement dans de la graisse chaude sans être décongelés. Leur temps de cuisson est un peu plus court que celui des légumes frais en raison de la structure cellulaire modifiée.
Ne recongelez pas les marchandises décongelées ou partiellement décongelées. Recongelez-les seulement après les avoir cuisinés (en les faisant cuire ou griller).
Rafraîchissement rapide de boissons
Si vous placez des bouteilles dans le congélateur pour les refroidir plus rapidement, enlevez-les au bout d'une heure maximum, sinon elles risquent d'éclater.
Préparation de glaçons

- Remplissez le bac à glaçons à trois quarts avec de l'eau et posez-le sur le fond du compartiment de congélation. Aidez-vous d'un objet à bout rond, une cuillère par exemple, pour détacher le bac à glaçons.
Conseil: Les glaçons pourront plus facilement être retirés du bac à glaçons si vous les passez rapidement sous l'eau.
Accumulateur de froid
L'accumulateur de froid évite une brusque montée de la température dans la zone de congélation en cas de coupure accidentelle de courant. Vous pouvez ainsi prolonger le temps de conservation.

Déposez l'accumulateur de froid dans le tiroir de congélation supérieur.
Laissez-le pendant 24 heures environ pour qu'il puisse produire sa puissance frigorifique maximale.
En cas de panne de courant
Posez l'accumulateur de froid congélateur directement sur l'aliment congelé dans le tiroir de congélation supérieur.
Conseil : Vous pouvez également utiliser l'accumulateur de froid pour séparer les aliments frais des aliments déjà congelés.
Conseil : Dans la glacière, il permet aussi de garder frais les aliments et boissons des pique-niques et en sac isotherme, de faire des achats de surgelés sans interrompre la chaîne du froid.
Dégivrage automatique
L'appareil est pourvu d'un système "No-Frost" permettant d'assurer son dégivrage automatique.
L'humidité pouvant être présente dans la zone de congélation se liquéfie dans l'évaporateur et est automatiquement dégivrée et évaporée à intervals réguliers.
Grâce au dégivrage automatique, la glace ne s'accumule jamais dans la zone de congélation. Ce système spécial permet d'éviter la décongélation des aliments stockés dans l'appareil !
Veuillez vous assurer que l'eau ne pénètre pas dans l'électronique ni dans l'éclairage.
L'eau de nettoyage ne doit pas passer par l'orifice d'évacuation de l'eau de dégivrage.
N'utilisez jamais de système de nettoyage vapeur : la vapeur risque d'atteindre les pièces sous tension et de provoquer un court-circuit.
Ne retirez pas la plaque signalétique qui se trouve à l'intérieur de votre appareil. Elle vous sera utile en cas d'anomalie!
Conseils pour l'entretien
Pour éviter d'endommager les surfaces, n'utilisez pas :
- de produits nettoyants à base de soude, d'ammoniaque, d'acide ou de chlorure,
- de produit anti-calcaire,
- de détergent abrasif, comme la poudre, la crème à récurer ou les pierres de nettoyage,
- de détégent contenant des solvants,
- de produit spécial inox,
- de nettoyant pour lave-vaisselle,
- de décapant four en bombe,
- de produits,
- d'éponge et de brosse abrasive,
- de gomme de nettoyage,
- de grattoir métallique acéré !
À l'intérieur de l'appareil, n'utilise que des produits de nettoyage et d'entretien qui ne doivent aucun risque pour les aliments.
Pour le nettoyage, nous vous conseillons l'utilisation d'eau tiède additionnée d'un peu de produit vaisselle.
Pour plus d'informations sur le nettoyage, veuillez vous reporter aux pages suivantes.
Avant le nettoyage
- Arrêtez l'appareil.
L'écran s'éteint et la production de froid s'arrête. Dans le cas contraire, le verrouillage s'enclenche (voir "Autres réglages - Activer / Désactiver le verrouillage").
Débranche l'appareil ou retirez le fusible correspondant. Sortez tous les aliments qui se trouvent dans l'appareil. Entrepolez-les dans un endroit frais. Retirez les tablettes : soulevez légèrement les tablettes, puis tirez-les vers l'avant.
Les baguettes avec rails télescopiques des tablettes ne peuvent pas aller au lave-vaisselle!
Retirer les rails télescopiques
Poussez le crochet vers le haut (1.). Poussez les rails téléscopiques vers le côté (2.), puis vers l'arrière (3.).

- Après le nettoyage, fixez les rails téléscopiques aux tablettes. Pour ce faire, montez à l'arrière et accrochez les rails téléscopiques (1.) et enforcez le crochet à l'avant jusqu'au déclic (3.).
Intérieur, accessoires
Nettoyez l'appareil au moins une fois par mois.
Ne laissez pas les salissures sécher, nettoyez-les le plus rapidement possible.
Nettoyez l'intérieur de l'appareil avec de l'eau tiède et un peu de liquide vaisselle, puis rincez à l'eau claire avant de sécher le tout avec un chiffon.
Les éléments suivants ne peuvent pas être mis au lave-vaisselle :
- tous les tiroirs de congélation
- les baguettes
- les tablettes
- les rails télescopiques des tablettes
- les accumulateurs de froid. Nettoyez ces accessoires à la main.
Le bac à glaçons peut être nettoyé au lave-vaisselle.
La température du programme sélectionné au lave-vaisselle ne doit pas dépasser 55 °C max.
Les éléments plastifiés qui entrent en contact avec des colorants naturels, tels que les carottes, les tomates ou le ketchup sont susceptibles de se décolorer au lave-vaisselle.
Ce phénomène n'altère en rien la robustesse des éléments concernés.
Nettoyez les rails télescopiques avec un chiffon humide. Une graisse spéciale a été déposée sur les rails télescopiques. Veillez à ne pas la retirer au cours du nettoyage. Laissez les portes de l'appareil ouvertes un instant afin d'aérer suffisamment et éviter ainsi la formation de mauvaises odeurs.
Nettoyer le joint de porte
N'appliquez aucun corps gras sur le joint de porte : il risque de devenir poreux.
Nettoyez régulièrement le joint à l'eau claire puis séchez-le soigneusement à l'aide d'un chiffon.
Nettoyer les ouvertures d'aspiration
Les dépôts de poussière augmentent la consommation énergétique.
Nettoyez régulièrement la grille d'aération à l'aide d'un pinceau ou de l'aspirateur (utilisez pour ce faire par ex. la Brosse à meuble des aspirateurs Miele).
Après le nettoyage
- Remettez les tablettes dans l'appareil. Refermez la porte de l'appareil. Rebranchez l'appareil puis mettez-le en marche. Pour accélérer la production de froid de la zone de congélation, activez la fonction SuperFrost pendant quelques temps. Dès que la température de la zone de congélation est suffisamment redescendue, insérez-y les tiroirs de congélation qui contiennent les aliments. Pour désactiver la fonction SuperFrost, appuyez sur la touche correspondante une fois atteinte la température minimale de congélation constante de -18°C.
Vous pouvez résoudre vous-même la plupart des anomalies ou erreurs qui peuvent se produire au quotidien. Le tableau ci-dessous répertorie les problèmes les plus fréquents et vous indique la solution adaptée.
Si vous ne trouvez pas la cause d'une anomalie ou que vous ne parvenez pas à la résoudre, veuillez contacter le service après-vente.
En cas de panne, évitez d'ouvrir la porte de l'appareil afin de limiter au maximum la perte de froid.
Des travaux d'installation, d'entretien ou de réparation non conformes peuvent entraîner de graves dangers pour l'utilisateur.
Ces interventions doivent être exécutées exclusivement par des professionnels/agréés par Miele.
| Problème | Cause et solution |
| L'appareil ne produit pas de froid, l'éclairage interieur ne fonctionne pas lorsque la porte de l'appareil est ouverte et l'affichage est étant. | L'appareil n'est pas branché et l'écran affiche le symbole du raccordement au réseau électrique - Ⓞ.■ Allumez l'appareil. |
| La fiche de l'appareil n'est pas bien enforcée dans la prise.■ Branchez la fiche de l'appareil dans la prise.Lorsque l'appareil est hors tension, le symbole de raccordement au réseau électrique - Ⓞ s'affiche. | |
| Le fusible de l'installation domestique s'est déclenché. Vérifiez si l'appareil, la tension domestique ou un autre appareil sont défectueux.■ Le cas échéant, averissez un electricien ou le service après-vente. | |
| Le symbole ■ s'allume à l'écran, l'appareil ne produit pas de froid bien que les commandes de l'appareil et l'éclairage interieur continuant de fonctionner. | Le mode expo est activé. Il permet aux revendeurs deprésenter l'appareil sans que l'appareil ne produise de froid. Ce réglage n'a aucune utilisé pour le particulier.■ Désactivez le mode expo (voir chapitre "Informations pour revendeurs - Mode expo"). |
| Le compresseur fon-citionne en continu. | Ce n'est pas une anomalie! Quand les besoin en froid sont moins importants, le compresseur se règle automatiquement sur une vitesse inférieure afin d'économiser de l'énergie: sa durée de fonctionnement augmente proportionnellement. |
| Le compresseur s'en-clenché de plus en plus fréquemment et de plus en plus longtemps. | Les fentes d'aération et d'évacuation d'air dans le meuble d'encastrement sont recouvertes ou cou-vertes de poussière. ■ Ne recouvre jamais les ouvertures d'aération. ■ Dépoussièrez-les régulièrement. |
| La porte a été ouverte trop souvent ou vous avez congesté de grosses quantités d'aliments frais. ■ Ouvrez la porte si nécessaire seulement et la refer-mez le plus vite possible. La température requise revient peu à peu à la nor-male. | |
| La porte de l'appareil n'est pas correctement fermée. Il se peut qu'une épaissse couche de givre se soit déjà formée. ■ Fermez la porte. La température requise revient peu à peu à la nor-male. Si une couche épaissse de givre s'est déjà formée, ce-la diminue la production de froid ce qui fait augmenter la consommation d'énergie. ■ Dégivrez l'appareil et nettoyez-le. | |
| La température ambiente est trop élevé. Plus la température ambiente est élevé, plus le temps de fonctionnement du compresseur augmente. ■ Suivez les indications du chapitre "Installation - Lieu d'installation". | |
| L'appareil n'a pas été correctement encastré dans la niche. ■ Tenez compte des remarques aux chapitres "Installation, Encastrement de l'appareil". | |
| Le compresseur s'en-clenché de plus en plus souvent et de plus en plus longtemps, la température à l'intérieur de l'appareil est trop BASSE. | La température à l'intérieur de l'appareil est régée à une valeur trop BASSE. ■ Vérifiez le réglage de la température. |
| La porte n'est pas bien fermée. ■ Contrôlez que la porte de l'appareil ferme bien. | |
| Une grande quantité d'aliments a été mise à congefer en même temps. ■ Suivez les indications du chapitre "Congélation et conservation". | |
| La fonction SuperFrost est encore enclenchée. ■ Afin d'économiser de l'énergie, vous pouze désactiver la fonction SuperFrost plus tout que pré-vu : Appuyez sur la touche SuperFrost. | |
| Le compresseur s'en-clenché de moins en moins souvent, de telle sorte que la température dans l'appareil augmente. | Ce n'est pas une anomalie! La température régée est trop élevé. ■ Vérifiez le réglage de la température. ■ Contrôlez de nouveau la température 24 h plus tard. |
| Les produits surgelés commencer à décongeler. La température ambiente est inférieure à celle pour laquelle votre apparèil a été concu. Lorsque la température ambiente est trop BASse, le compresseur se met en marche plus rarement. La température de la zone de congélation risque alors d'être trop élevé. ■ Suivez les indications du chapitre "Installation - Lieu d'installation". ■ Augmentez la température ambiente. | |
| La LED en bas à l'arrière de l'appareil à côté du compresseur cli-gnote. | Ce n'est pas une anomalie! Le clignotement est normal. L'électronique du compresseur est équipée d'un affichage de fonctionnement et de témoins de contrôle LED de diagnostic d'anomalie (selon modele). Elle clignote régulièrement toutes les 15 secondes. |
Messages à l'écran
| Message | Cause et solution |
| L'écran affiche "F0 à F9". | Une anomalie a été détectée. Contactez le service après-vente Miele. |
| Le symbole de l'alarme s'allume à l'écran et un signal d'alarme re-tentit. | L'alarme de porte a été activée. Fermez la porte de l'appareil. Le symbole de l'alarme ◆ et le signal sonore s'éteignent. |
| Le symbole de l'alarme clignote à l'écran. | La zone de congélation est plus chaude ou plus froide que la température régée parce que - la porte de l'appareil a été souvent ouverte ou est encore ouverte, - vous avez congélé une grande quantité d'aliments sans activer la fonction SuperFrost, - le courant a été coupé pendant une période relativement longue. Arrêtez le mode alarme. Le symbole de l'alarme ◆ s'éteint tandis que la touche sensitive de la zone de réfrigération reste allumée. Le signal d'alarme se tait. Vérifiez que les alimentés n'ont pas commencé à déconceler. Le cas échéant, cuisine-les avant de les congefer à nouveau. |
Messages à l'écran
| Message | Cause et solution |
| Le symbole panne de courant -ɑ, apparait à l'affichage et le signal d'alarme retentit. La température maxi-male de la zone de congélation au moment de la panne ou de la coupure de courant s'affiche également. | La température à l'intérieur de l'appareil est montée trop fortement à la suite d'une panne d'alimentation ou d'une coupure de courant survenue les jours précéd-cédents ou quelques heures aparavant. Une fois la coupure de courant terminée, l'appareil fonctionne à nouveau à la的最后一èvre température ré-glee. ■ Pressez la touche Arrêt de l'alarme. L'affichage de la température maximale atteinte par la zone de congélation s'éteint. La température effective de la zone de décongélation s'affiche de nouveau en temps réel. ■ Selon la température affichée à l'écran, vérifie que les alimentents n'ont pas commencé à décongeler. Le cas échéant, cuisine-les avant de les congeiler à nouveau. |
L'éclairage intérieur ne fonctionne pas.
| Problème | Cause et solution |
| L'éclairage intéérieur ne fonctionne pas. | L'appareil n'est pas allumé. ■ Allumez l'appareil. |
| L'éclairage intéérieur s'éteint automatiquement au bout d'env. 15 minutes d'ouverture de la porte en raison d'un risque de surchauffe. Si ce n'est pas le cas, une anomalie subsiste. | |
| Risque de blessures provoqué par un choc électrique! Sous le cache de l'ampoule se trouvent des éléments sous tension. Seul le service après-vente est habilité à replacer les ampoules de l'éclairage LED. | |
| Risque de blessures provoqué par l'éclairage LED! L'intensité lumineuse correspond à la classe de laser 1/1M. Les caches de l'ampoule ne doivent pas être reti-rés ou endommagés ou avoir été retirené en raison de dommages! Risque de blessures oculaires. Ne jamais regarder l'éclairage LED (rayonnement laser de classe 1/1M) à travers des instruments grossissants (teils qu'une loupe, par exemple) ! | |
| Contactez le service après-vente Miele. |
Problèmes généraux liés à l'appareil
| Problème | Cause et solution |
| Vous n'arrivez pas à ouvrir la porte de la zone de congélation plusieurs fois de suite ? | Ceci n'est pas une anomalie ! En raison de l'effet d'aspiration, vous ne pouvez ouvrir la porte de l'ap-pareil sans effort particulier qu'après env. 1 minute. |
| Un produit congélé resté fixé par le gel. | L'emballage de l'aliment n'était pas sec lorsqu'il a été placé au congélateur. ■Décollez-le avec un object plat à bout rond, le manche d'une cuillère par exemple. |
| Aucun signal d'alarme ne retentit, alors que la porte de l'appareil est ouverte depuis un certain temps. | Ceci n'est pas une anomalie ! Le signal d'alarme a été désactivé en mode "Réglages". Pour plus d'options concernant les possibilités de réglages, consul-tez le chapitre "Réglages supplémentaires - Signaux sonores". |
| Il est impossible d'éteindre l'appareil. | Le verrouillage est activé. Lorsqu'il est activé, le symbole ◎ s'allume sur l'écran d'affichage. ■Désactiver le verrouillage (voir "Effectuer les ré-glages - Activer/ Désactiver le verrouillage"). |
| Les parois externes de l'appareil sont chaudes. | Ceci n'est pas une anomalie ! La chaleur dégagée par le processus de réfrigération est réutilisée pour empêcher la formation de condensation. |
Origines des bruits
| Bruits normaux | Quelle est leur origine? |
| Brrrr.... | Le vrombissement vient du moteur (compresseur). Il peut être plus fort pendant un moment donné, lorsque le moteur se met en route. |
| Blubb, blubb.... | Les gargouillements ou les renronnements viennent du fluide réfrigérant qui passé dans les conduits. |
| Clic.... | Les cliquetis sont audibles lorsque le thermostat active ou désactive le moteur. |
| Sssrrrrr.... | Un léger bruit de fond provenant de la circulation d'air peut se faire entendre à l'intérieur de l'appareil. |
| Crac ... | Des bruits de craquement peuvent se faire entendre en cas d'expansion de certains matériaux de l'appareil. |
| N'oubliez pas qu'on ne peut pas éviter les bruits de moteur et d'arrivée du fluide dans le circuit frigorifique. | |
| Bruits | Cause et solution |
| Claquement,clinquètement | L'appareil n'est pas posé sur une surface plane. Remettez-le d'aplomb à l'aide d'un niveau à bulles. Utilisez pour ce faire les pieds de réglage situés sous l'appareil ou utilisez des cales. |
| L'appareil est en contact avec d'autres meubles ou d'autres ap-pareils. Eloignez-le. | |
| Des tiroirs ou tablettes vacillent ou sont coincés. Contrôlez les pieces amovibles et replacez-les correctement le cas échéant. | |
| Les bouteilles ou récipliers se touchent. Séparez-les. | |
| Le cable de transport se trouve encore à l'arrête de l'appareil. Retirez-le. |

① Appareil ménager compatible Miele@home ② Stick de communication XKS3000Z et module de communication XKM3000Z Miele@home ③ Appareil ménager avec fonction SuperVision compatible Miele@home ④ Gateway Miele@home XGW3000 ⑤ Routeur Wi-Fi ⑥ Interface du réseau domestique ⑦ Smartphone, tablette PC, ordinateur portable ⑧ Connexion à Internet
Votre appareil électroménager ① / 3 est un appareil interactif qui peut être intégré dans le système Miele@home via un module de communication ou un stick de communication ② disponibles en option et éventuellement un jeu d'adaptation.
Dans le système Miele@home, les appareils électroménagers interactifs envoient des informations sur leur état de fonctionnement et des informations relatives au déroulement du programme sur l'écran ③ d'un four, par exemple, équipé de la fonction SuperVision.
Affichage d'informations, commande des appareils
- Appareil électroménager SuperVision ③
L'écran de certains appareils électroménagers aptes à l'interconnexion peut afficher l'état d'autres appareils électroménagers pouvant être interconnectés.
- Terminaux mobiles ⑦
Si vous êtes équipé d'un PC, d'un ordinateur portable, d'un iPod*, d'iPhone* ou d'un smartphone, vous pouvez grâce au Wi-Fi ⑤ superviser le fonctionnement de vos appareils électroménagers et les commander à distance.
- Réseau domestique 6
Le système Miele@home permet de mettre en place un réseau domestique. La passerelle "Gateway Miele@home" vous permet d'intégrer les appareils électroménagers interactifs dans d'autres systèmes de bus domestiques.
- En Allemagne, les appareils ménagers avec fonction de communication peuvent être intégrés à la plateforme QIVICON Smart Home (www.qivi-con.de), à la place de la Gateway Miele@home.
SmartStart (selon l'appareil)
Les appareils électroménagers compatibles Smart Grid peuvent démarrer automatiquement en heures creuses ou lorsque l'électricité (issue par exemple de l'installation photovoltaïque) est disponible en quantité suffisante.
Accessoires en option (selon l'appareil)
- Module de communication XKM3000Z et stick de communication XKS3000Z
- Jeu d'adaptation pour la préparation à la communication XKV
- Gateway Miele@home XGW3000
Des modes d'emploi et des notices d'installation sont joints aux accessoires.
En savoir plus
Pour plus d'informations sur Miele@home, veuillez consulter le site Internet de Miele et les modes d'emploi respectifs des composants Miele@home.
Service après vente
Vous n'avez pas réussi à résoudre le problème par vous-même ? Contactez :
-dépanneur revendeur Miele ou - le service après-vente Miele.
Vous trouverez le numéro de téléphone du service après-vente au dos de ce mode d'emploi et des instructions de montage.
Veuillez indiquer le modèle et la référence de votre appareil.
Vous trouverez ces informations sur la plaque signalétique apposée à l'intérieur de l'appareil.
Mode expo
La fonction "mode expo" permet de présenter l'appareil dans les magasins et les locaux d'exposition. Les commandes de l'appareil et son éclairage intérieur continuent à fonctionner mais le compresseur reste éteint.
Activer le mode expo

Activez l'appareil en effleurant la touche Marche/Arrêt. Si ce n'est pas possible, c'est que le verrouillage est enclenché!
L'affichage de la température s'éteint et le symbole de raccordement au réseau s'allume.

Posez un doigt sur la touche et maintenez votre doigt sur cette position.

- Appuyez une fois sur la touche Marche/Arrêt (ne relâchez pas la touche !).

Laissez le doigt sur la touche V jusqu'à ce que le symbole s'affiche à l'écran. Relâchez la touche V.
Le mode expo est activé, le symbole s'allume à l'écran.
Désactiver le mode expo
Le symbole s'allume à l'écran.

Appuyez sur la touche "Réglages".
À l'écran, tous les symboles sélectionnables s'affichent et le symbole se met à clignoter.

Appuyez sur les touches de réglage de température (V ou ∧) jusqu'à ce que le symbole clignote à l'écran.

- Validez en appuyant sur OK.
Le 1 clignote (signification : le mode expo est activé), et le symbole ■ s'allume.

- Appuyez sur les touches ou , jusqu'à ce que le 0 apparaisse à l'écran (signification : le mode expo est désactivé).

- Validez en appuyant sur OK.
Votre choix est validé, le symbole ■ clignote.

Appuyez sur la touche du mode Réglages pour quitter le mode de réglage. Sinon, l'électronique quitte automatiquement le mode de réglage au bout d'environ 1 minute.
Le mode expo désactivé, le symbole s'éteint.
L'appareil qui vous est livré est prêt à être raccordé avec un câble et une prise en monophasé 50 Hz, 220-240 V.
Prévoyez un fusible d'au moins 10 A.
Branchez exclusivement l'appareil à une prise de courant réglementaire reliée à la terre. L'installation électrique doit être conforme aux normes EDF.
Afin que l'appareil puisse être rapidement coupé du réseau électrique, la prise de courant ne doit pas se trouver derrière l'appareil. Elle doit rester accessible en cas d'urgence.
Si la prise de courant n'est plus accessible pour l'utiliser, l'installation doit être équipée d'un dispositif de sectionnement pour chaque pole. Ce dispositif peut être constitué d'un interrupteur à ouverture de contact de min. 3 mm. Il peut s'agir d'un disjoncteur, de fusibles ou de contacteurs (conformes à la norme EN 60335).
La fiche ainsi que le câble d'alimentation de l'appareil ne doit pas toucher l'arrière de cet appareil, étant donné que la fiche et le câble d'alimentation risqueraient d'être endommagés par les vibrations de l'appareil. Cela pourrait provoquer un court-circuit.
Évitez aussi de brancher d'autres appareils à des prises situées derrière l'appareil.
Il est interdit d'effectuer le branchement avec une rallonge car celle-ci n'assure pas la sécurité nécessaire (risque de surchauffe).
Ne branchez jamais l'appareil sur des filtres d'onduleurs, utilisés pour une alimentation électrique autonome comme une alimentation en énergie solaire par exemple, faute de quoi le dispositif de coupure de sécurité risque de s'enclencher au moment de la mise sous tension de l'appareil, en raison de crêtes de tension, et d'endommager l'électronique.
De même, n'utilise jamais l'appareil avec des fiches à économie d'énergie car l'alimentation réduite en énergie provoquerait un échauffement de l'appareil.
S'il faut remplacer le câble d'alimentation, seul un electricien qualifié est habilité à le faire.
Les modèles FNS 35402 i et FNS 37402 i disposent de deux chauffages entourés de mousse dans une paroi latérale et peuvent ainsi être montés respectivement en "side-by-side" (côte à côte) dans des niches d'encastrement séparées.
Informez-vous auprès de votre revendeur pour savoir quelle combinaison est possible avec votre appareil.
Un appareil qui n'est pas encastré risque de basculer.
Lieu d'installation
Évitez de placer l'appareil juste à côté d'une table de cuisson, d'un radiateur ou d'une fenêtre exposée à la lumière directe du soleil. Plus la température ambiantes est élevée, plus le compresseur doit fonctionner longtemps et plus l'appareil consomme d'électricité. Choisissez une pièce très peu humide que vous pouvez aérer facilement.
Lors de l'installation de l'appareil, contrôlez aussi les points suivants :
- La prise de courant ne doit pas se trouver derrière l'appareil. Elle doit rester accessible en cas d'urgence.
- La fiche et le câble d'alimentation ne doivent pas entrer en contact avec le dos de l'appareil. Ils pourraient être endommagés par les vibrations de l'appareil.
- Évitez aussi de brancher d'autres appareils à des prises situées derrière l'appareil.
Lorsque le taux d'humidité est élevé, de la condensation peut s'accumuler sur les surfaces extérieures de l'appareil.
Et cette eau de condensation peut engendrer une corrosion au niveau des parois extérieures.
En prévention, nous recommandons d'installer l'appareil dans une pièce sèche et/ou climatisée et suffisamment aérée.
Une fois l'installation effectuée, assurez-vous que la porte de l'appareil ferme correctement, que les fentes d'aération et d'évacuation d'air ne sont pas recouvertes et que l'appareil a été correctement installé.
Classe climatique
L'appareil est conçu pour fonctionner pour une classe climatique donnée (température ambiante). Veuillez respecter les limites indiquées sur la plaque signalétique à l'intérieur de l'appareil. Une température ambiante plus basse entraîne l'arrêt prolongé du compresseur. Cela peut provoquer une augmentation de la température à l'intérieur de l'appareil et engendrer des dommages.
La classe climatique est indiquée sur la plaque signalétique située à l'intérieur de l'appareil.
| Classe climatique | Température ambiente |
| SN | + 10 °C à + 32 °C |
| N | + 16 °C à + 32 °C |
| ST | + 16 °C à + 38 °C |
| T | + 16 °C à + 43 °C |
Lorsqu'un appareil réfrigérant de la classe climatique SN fonctionne à des températures ambiantes plus basses (jusqu'à + 5 °C), son bon fonctionnement est garanti.
Aération et évacuation d'air
Si les fentes d'aération et d'évacuation d'air sont recouvertes, le compresseur se met plus souvent en marche et est activé pendant plus de temps.
Cela entraîne une consommation énergétique plus élevée et une augmentation de la température de fonctionnement du compresseur, ce qui risque d'endommager le compresseur.
Ne recouvre pas les fentes d'aération et d'évacuation d'air.
L'air présent sur la paroi arrière de l'appareil se réchauffe. La niche d'encastrement doit donc être conçue de manière à ce que l'aération et l'évacuation d'air puissent se faire de façon optimale à tout moment (voir "Cotes d'encastrement"): Renvoie uniquement la version corrigée du passage, en respectant les règles. N'ajoute aucun mot qui ne soit pas déjà présent ou clairement tronqué.

- L'entrée d'air ① se fait par le socle et l'évacuation de l'air ② par le haut, dans la partie arrête du meuble de cuisine.
- Pour l'aération et l'évacuation d'air, il faut prévoir un canal d'évacuation d'air d'au moins 40 mm de profondeur à l'arrête de l'appareil.
- Les fentes d'aération et d'évacuation d'air dans le socle du meuble, dans l'armoire d'encastrement et au niveau du plafond doivent disposer d'un passage libre d'au moins 200 cm² afin que l'air chaud puisse s'évacuer sans problème.
Si vous souhaitez installer une grille d'aération sur les prises d'air, ces dernières doivent faire plus de 200 cm². Le passage libre de 200 cm² résulte de la somme des sections d'ouverture dans la grille.
- Important ! Plus les fentes d'aération et d'évacuation de l'air sont grandes, moins l'appareil doit dépenser d'énergie.
Les fentes d'aération et d'évacuation d'air doivent rester dégagées et être dépoussièrees régulièrement.
Fente supérieure d'évacuation de l'air
Vous pouvez installer la fente supérieure d'évacuation de l'air à plusieurs endroits :

directement au-dessus de l'appareil avec une grille d'aération (passage libre d'au moins 200 cm²) entre le meuble de cuisine et le plafond dans un faux-plafond
Avant l'encastrement de l'appareil
Avant d'installer l'appareil, retirez le sachet contenant les éléments de montage et les autres accessoires de l'appareil et retirez le ruban adhésif à l'extérieur de la porte. - Les éléments suivants ne doivent en aucun cas être retirés de l'arrière de l'appareil:

- les sachets (selon modèle). Ils garantissent l'écart nécessaire entre la paroi arrière et le mur.
- les sachets qui sont situés entre la paroi arrière de l'appareil et la grille métallique (échangeur thermique) (selon le modèle). Ils sont importants pour le fonctionnement de l'appareil. Leur contenu est non toxique et ne présente aucun danger. Commencez par retirer le passercable au dos de l'appareil. Vérifiez ensuite que tous les éléments au dos de l'appareil peuvent se mouvoir librement. Si certains éléments sont entravés, courbez-les avec précaution.

Ouvrez la porte de l'appareil et retirez la sécurité de transport rouge ① (selon le modèle).
L'ancien appareil avait-il un type de charnière ?
Si votre ancien appareil était équipé d'un autre type de charnières, vous pouvez quand même utiliser la porte du meuble. Pour ce faire, démontez les anciennes ferrures de l'armoire d'encastrement. Elles ne seront plus utiles, car la porte du meuble sera directement montée sur la porte de l'appareil. Toutes les pièces nécessaires sont livrées avec l'appareil ou peuvent être obtenues auprès du service après-vente.
Façade inox
(en série ou en option selon modèle)
Si vous ancien appareil était équipé d'un autre type de charnière et que vous ne pouvez ou ne voulez plus utiliser l'ancienne porte de meuble ou si votre porte n'est plus utilisable pour d'autres raisons, vous pouvez la remplacer par une façade inox.
Vous pouvez vous renseigner auprès du SAV pour savoir où vous procurer cette façade inox.

- La consommation énergétique déclarée a été déterminée à partir d'une profondeur de niche de 560 mm. Avec une hauteur de niche de 550 mm, l'appareil fonctionne parfaitement mais consomme légèrement plus d'énergie.
Avant l'encastrement, veillez à ce que l'armoire encastraible corresponde précisément aux dimensions d'encastrement exigées. Il est impératif de respecter les consignes concernant les fentes d'aération et de ventilation afin de garantir le bon fonctionnement de l'appareil.
| Hauteur de niche [mm]A | |
| FN 35402 i | 1397 – 1413 |
| FN 37402 i | 1772 – 1788 |
| FNS 35402 i | 1397 – 1413 |
| FNS 37402 i | 1772 – 1788 |
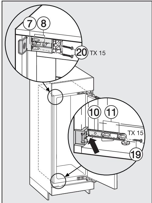
Les charnières de portes sont réglées à la sortie de l'usine pour pouvoir être grandement ouvertes.
S'il vous faut limiter l'angle d'ouverture de la porte de l'appareil, vous pouvez le régler sur les channières.
Cependant, si la porte de l'appareil se cogne contre un obstacle à chaque fois que vous l'ouvrez, nous recommandons d'en limiter l'angle d'ouverture à.
Les chevilles réduisant l'angle d'ouverture de la porte doivent être montées avant l'encastrement de l'appareil.

Introduisez par le dessus les chevilles fournies à cet effet dans les charnières.
L'angle d'ouverture de la porte de l'appareil est maintenant limité à
Inversion du sens d'ouverture de porte
Ne procédez à cette opération qu'avec l'aide d'une autre personne.
Votre appareil est livré avec une ouverture à droite. Si vous souhaitez une ouverture à gauche, vous devez inverser la butée de porte.
Pour inverser la butée de porte, vous avez besoin des outils suivants :

Ouvrez la porte de l'appareil.

Décrochez les caches ①, ② et ③.

Desserrez un peu les vis ④ et ⑤ sur les charnières. Décalez la porte ⑥ vers l'extérieur, décrochez-la, et mettez-la de côté.

Desserrez totalement la vis ④. - Placez l'élément de fixation ⑦ sur le côté opposé, et vissez légèrement les vis ④. Dévissez entièrement les vis ⑤, et vissez-les légèrement sur le côté opposé.

Si vous aviez installé des chevilles dans les charnières pour réduire l'angle d'ouverture de la porte : enlevez les chevilles des charnières par le haut.
Retirer l'amortisseur de porte
Attention! L'amortisseur de porte se resserre lorsqu'il est démonté !
Risque de blessure!
Posez la porte de montée avec la façade extérieure vers le bas sur une surface plane et stable.

Retirez l'amortisseur de porte ⑧ du pivot à rotule. Dévissez le support ⑨ et retirez l'amortisseur de porte ⑧.

Desserrez le pivot à rotule ⑩ à l'aide d'un tournevis, et revissez-le dans l'autre sens. Tournez maintenant la porte de l'appareil de sorte qu'elle se retrouve face extérieure vers le haut (les charnières restent ouvertes).
Risque de blessure!
Ne repliez pas les charnières.

Desserrer les vis ①. Monter les charnières en diagonale 12.
Fixer l'amortisseur de porte
Tournez maintenant la porte de l'appareil de sorte qu'elle se retrouve face extérieure vers le bas.

Vissez à fond le support ⑨ dans la charnière. Désassemblez l'amortisseur de porte ⑧, et accrochez-le au pivot à rotule.

■ Glissez la porte de l'appareil ⑥ sur les vis pré-installées ④ et ⑤, et serrez les vis ④ et ⑤. ■ Encliquetez les caches ①, ② et ③.

■ Installez les chevilles réduisant l'angle d'ouverture de la porte dans les charnières par le dessus.
Faites appel à une deuxième personne pour installer l'appareil.
Ne montez l'appareil que dans des meubles de cuisine robustes et stables installés sur un sol plat et horizontal. - Sécurisez les armoires d'encastrement pour empêcher qu'elles ne se renversent.

Ajustez le meuble de cuisine à l'aide d'un niveau à bulles. Les angles de la niche doivent être parfaitement droits (90°), faute de quoi la porte du meuble ne recouvrira pas correctement les angles. - Les fentes d'aération et d'évacuation d'air doivent obligatoirement rester découvertes (voir "Montage - Aération / Évacuation d'air"; "Cotes d'encastrement").
Vous aurez besoin des outils suivants pour le montage :

Vous aurez besoin des éléments de montage suivants :
Tous les éléments de montage sont identifiés par des chiffres. Vous retrouverez ces mêmes chiffres d'identification des pièces de montage dans les différentes étapes de montage.
Pour l'encastrement de l'appareil dans la niche :
Les éléments ne sont joints qu'aux appareils d'une hauteur de 140 cm et plus. * Le nombre dépend de la hauteur de la niche. Contient également des pièces de montage supplémentaires pour le montage de grandes portes de meuble ou à plusieurs volets.
- Monter la porte du meuble :
Le nombre dépend de la hauteur de la niche. Contient également des pièces de montage supplémentaires pour le montage de grandes portes de meuble ou à plusieurs volets. Toutes les étapes de montage indiquent un appareil avec une butée à droite. Si la butée est à gauche, tenez compte de cette modification en suivant les indications de montage.
Préparation de l'appareil
Posez l'appareil immédiatement devant la niche du meuble de cuisine.

- Placez les pattes du bandeau d'ajustement ① depuis l'avant dans les supports de l'ergot.

- Vissez l'équerre de fixation ④ avec la vis à tête hexagonale ⑤ sur les trous préalablement forés dans la porte de l'appareil. Vissez un deuxième couple d'équres de fixation ④ dans la zone de saisie (poignée) de la porte. Utilisez pour ce faire les trous préalablement forés de la porte de l'appareil. Glissez l'appareil à deux tiers dans la niche d'encastrement. Veillez à ce que le cable d'alimentation ne soit pas coincé!
Conseil: Pour avoir moins de difficultés à pousser l'appareil, attachez un bout de ficelle à la fiche afin de "rallonger" le câble d'alimentation.
Tirez ensuite le câble d'alimentation à travers le meuble de cuisine en tirant sur l'autre extrémité de la ficelle de sorte que l'appareil puisse être facilement branché au réseau électrique une fois l'installation terminée.
Uniquement pour les parois d'armoire d'une épaisseur de 16 mm :

- Clipsez les entretoises ② et ③ à droite sur les charnières. Ouvrez la porte de l'appareil.

Retirez la protection 6. Vissez sans serrer la pièce de fixation ⑦, à l'aide de vis ⑧ sur la partie supérieure gauche de l'appareil. Ne serrez pas les vis, de sorte que la pièce puisse encore être déplacée. Montez l'élément de butée ⑨ sur l'équerre de fixation ⑩. Vissez l'équerre de fixation ⑩ à l'aide de vis ⑪ dans la partie inférieure de l'appareil. Ne serrez pas les vis, de sorte que la pièce puisse encore être déplacée.

Retirez le film de protection du ruban adhésif ⑬. Collez le ruban adhésif ⑬ à l'avant sur le côté de l'appareil sur lequel la porte s'ouvre.
- Placez le ruban adhésif au niveau de la partie inférieure de l'élément de fixation du haut.
- Collez-le sur toute sa longueur.
Encastrement de l'appareil
Glissez l'appareil dans la niche jusqu'à ce que tous les angles de fixation touchent le rebord avant de la paroi latérale du meuble. - Pour les parois de meuble d'une épaisseur de 16 mm :
Les angles de fixation touchent en haut et en bas le rebord avant de la paroi latérale du meuble.
- Pour les parois de meuble d'une épaisseur de 19 mm :
les rebords avant des charnières en haut et en bas sont alignés avec le rebord avant de la paroi latérale du meuble.
- Contrôlez encore une fois si l'angle de fixation en haut et en bas est aligné avec le rebord avant de la paroi latérale du meuble.
Cela permet de maintenir un écart circulaire de 42 mm par rapport aux rebords avant des parois latérales du meuble.
Pour les meubles avec éléments de butée de porte (comme les cames, les joints d'étanchéité, etc.), il faut tenir compte des dimensions des éléments de charnière de porte de manière à ce que la aussi, un écart circulaire de 42 mm soit maintenu.
Tirez l'appareil vers l'avant en fonction de ces dimensions.
Les charnières et les protections dépassent maintenant de façon à prendre en compte l'espace nécessaire pour les éléments de charnière.
Conseil: Enlevez tous les éléments de butée de porte! Cette mesure permet de garantir l'alignement par rapport aux portes de meubles avoisinantes.
16 Ajustez l'appareil des deux côtés pour qu'il soit droit, en vous servant des pieds réglables, à l'aide de la clé à fourche jointe.
Si un écart circulaire de 42 mm (entre le corps de l'appareil et la partie avant des parois latérales de l'armoire) n'est pas respecté, la porte de l'appareil risque de ne pas bien se fermer.
Cela peut entraîner des risques de givrage, de formation de condensation et de mauvais fonctionnement, qui à leur tour augmentent la consommation d'énergie!
Fixer l'appareil dans la niche

Poussez l'appareil contre la paroi du meuble, côté charnières. Afin de relier l'appareil au meuble, vissez les vis pour aggloméré en haut et en bas à travers les éclisses des charnières.

- Faites glisser les équerres de fixation desserrées jusqu'à la paroi du meuble. A l'aide de la vis ⑨, fixez l'équerre de fixation ⑩ sur la paroi de l'armoire. Forez au préalable la paroi du meuble si nécessaire. À l'aide des vis ②, fixez l'équerre de fixation ⑦ sur la paroi du meuble. Forez préalablement la paroi du meuble si nécessaire.
Attention! Maintenez avec vos pouces le coude espacé contre la paroi du meuble pendant que vous vissez. L'appareil ne doit pas glisser vers l'arrière.
Resserrez bien les vis 8 et 11.

Détachez les extrémités qui dépassent des équerres de fixation. Vous n'en aurez plus besoin et pouvez les mettre au rebut. Posez les caches respectifs ⑥ et ② sur les angles de fixation.
Seulement pour un appareil avec une hauteur de niche à partir de 140 cm
Pour une sécurité supplémentaire, glissez les entretoises fournies entre l'appareil et le fond du meuble au niveau de la partie inférieure de l'appareil :

Commencez par fixer la poignée au niveau d'une des entreprises 23. Introduisez cette dernière dans le canal de passage jusqu'au bout. Retirez maintenant la poignée et montez-la sur l'autre entreprise livrée et introduisez-la également dans le canal. Important! Gardez la poignée au cas où vous voudriez encastrer de nouveau l'appareil par la suite. Refermez la porte de l'appareil.
Montage de la porte du meuble
L'épaisseur de la porte du meuble doit être comprise entre 16 mm et 19 mm.
Les écarts suivants doivent être respectés :
- L'espace qui sépare la porte du meuble et la porte de l'armoire située juste au-dessus doit être d'au moins 3 mm.
- L'espace vertical entre les portes du meuble doit en général être de 3 mm. La valeur exacte dépend du rayon du bord de la porte du meuble.
Le rebord supérieur de la porte du meuble devrait se situer à la même hauteur que les portes du meuble des armoires adjacentes si l'encastrement se fait dans une implantation linéaire.
La porte du meuble doit être montée à l'horizontale et sans tension.
Les portes de meuble montées dépassant le poids autorisé peuvent endommager les charnières, qui pourraient entre autres causer des dysfonctionnements!
Avant de monter la porte sur le meuble, assurez-vous que le poids de cette dernière ne dépasse pas le poids maximal autorisé :
| Appareil | Poids max. de la porte du meuble en kg |
| FN 35402 i | 21 |
| FN 37402 i | 26 |
| FNS 35402 i | 21 |
| FNS 37402 i | 26 |
Pour le montage de portes de meuble plus grandes ou en plusieurs parties, vous pouvez vous procurer un kit de montage ou un autre kit d’équerres de fixation auprès du SAV Miele ou de votre revendeur.

En usine, un écart de 8 mm est prévu entre la porte de l'appareil et la traverse de fixation. Contrôlez la distance et rajustez-la si nécessaire. Glissez les supports de montage ② à la hauteur de la porte du meuble : le rebord inférieur des supports de montage doit se situer à la même hauteur que le bord supérieur de la porte de meuble à monter (symbole ▲).

Conseil: À l'aide de la façade du meuble, poussez les supports de montage ② à la hauteur des portes des armoires avoisinantes.

- Dévissez les écrous ③ et démontez la traverse de fixation ④ avec les supports de montage ②.
Posez la porte de l'armoire démontée avec la façade extérieure vers le bas sur une surface plane et stable.

À l'aide d'un crayon, tracer une fine ligne centrale sur la face intérieure de la porte du meuble ⑤. - Suspendez la traverse de fixation ④ avec les supports de montage sur la face intérieure de la porte du meuble. Ajustez la traverse de fixation au milieu. Vissez la traverse de fixation à l'aide d'au moins 6 vis pour aggloméré (6). (N'utilisez que 4 vis sur le bord avec les portes à caisson). Percez au préalable, si nécessaire, les trous dans la porte du meuble. Retirez les supports de montage ⑦ en tirant vers le haut.
Retournez les supports de montage, puis insérez-les complètement dans les fentes centrales de la traverse de fixation (pour les y ranger).

Poussez la protection latérale ⑰ sur l'entretoise de fixation en face du côté des charnières. Tournez la porte du meuble et fixez la poignée (si nécessaire). Ouvrez la porte de l'appareil.

Suspendez la porte de meuble sur les chevilles d'ajustage ⑧. Vissez les écrous ③ sans trop serrer sur les chevilles d'ajustage. Fermez la porte et vérifiez l'espace entre la porte et les portes des meubles contigus. L'espace doit être identique partout.
Ajuster la position de la porte
- Réglage par rapport aux côtés (X)
Déplacez la porte du meuble. - Réglage en hauteur (Y) Tournez les chevilles d'ajustage ⑧ à l'aide d'un tournevis.
Une distance de 8 mm est prévue entre la porte de l'appareil et la traverse de fixation. Contrôlez la distance et réglez-la si nécessaire. Ne modifiez cette distance que dans la zone indiquée.

- Serrez les écrous ③ sur la porte de l'appareil à l'aide de la clé polygonale ⑩ tout en maintenant les chevilles d'ajustage ⑧ à l'aide d'un tournevis. Le bandeau d'ajustage ⑪ ne doit pas dépasser. Il doit disparaître totalement dans la niche.

Percez au préalable les trous de fixation ⑫ dans la porte du meuble et vissez les vis ⑬. Veillez à ce que les deux rebords en métal soient parallèles (symbole //). Fermez la porte de l'appareil et du meuble.
-Réglage en profondeur (z)
Desserrez les vis 9 situées en haut de la porte de l'appareil et la vis 14 située en bas sur l'équerre de fixation. Déplacez la porte du meuble afin de laisser un espace de 2 mm entre la porte du meuble et le corps du meuble.
Serrrez encore une fois bien toutes les vis.

Montez les protections respectives du haut ⑤ et encliquetez-les.

Montez les protections latérales 16 de manière à ce qu'elles s'emboîtent de façon audible.
Comment savoir si l'appareil a été correctement monté :
- Vérifier si la porte se ferme correctement.
- La porte ne doit pas toucher le corps du meuble.
- Le joint sur le coin supérieur côté poignée doit être bien en contact. Pour vérifier, posez une lampe de poche allumée dans l'appareil et fermez la porte de l'appareil. Plongez la pièce dans le noir et vérifiez si de la lumière passe par les côtes de l'appareil. Si tel est le cas, contrôlez toutes les étapes de montage.
Siège social
9 avenue Albert Einstein - Z.I. du Coudray
93151 - Le blanc-mesnil CEDEX
R. C. S. Bobigny B 708 203 088
Miele center paris
55 Boulevard Malesherbes
75008 Paris
Miele center nice
Secteur Cap 3000
285 avenue de Verdun
06700 Saint-Laurent-du-Var

Internet
www. miele. fr

La ligne Consommateurs
Conseilis, SAV, accessoires et pièces détachées
0974501000
Appel non surtaxé
Notice Facile