DHD 1155W - Hotte DE DIETRICH - Notice d'utilisation et mode d'emploi gratuit
Retrouvez gratuitement la notice de l'appareil DHD 1155W DE DIETRICH au format PDF.
| Type d'appareil | Hotte aspirante décorative |
| Mode d'installation | Plafond |
| Matériau | Acier inoxydable |
| Nombre de vitesses | 3 |
| Type de filtration | Charbon actif et filtre à graisse |
| Éclairage | LED intégré |
| Niveau sonore | Non précisé |
| Débit d'air | Non précisé |
| Commande | Électronique |
| Dimensions (L x P x H) | Non précisé |
| Puissance électrique | Non précisé |
| Type d'évacuation | Évacuation ou recyclage |
| Couleur | Acier inoxydable |
| Installation | Encastrée au plafond |
| Accessoires inclus | Non précisé |
| Garantie | Non précisé |
FOIRE AUX QUESTIONS - DHD 1155W DE DIETRICH
Questions des utilisateurs sur DHD 1155W DE DIETRICH
Si votre hotte DE DIETRICH DHD 1155W ne fonctionne plus, malgré un voyant allumé et des boutons qui ne répondent pas, voici plusieurs pistes à vérifier pour tenter de résoudre ce problème :
1. Vérification de l'alimentation électrique
- Assurez-vous que la hotte est correctement branchée à une prise fonctionnelle.
- Testez la prise en y branchant un autre appareil pour confirmer qu'elle délivre du courant.
2. Contrôle du fusible ou disjoncteur
- Vérifiez que le fusible ou le disjoncteur lié à la prise de la hotte n'est pas déclenché ou grillé.
3. Réinitialisation de la hotte
- Débranchez la hotte pendant environ 5 minutes pour permettre une réinitialisation électronique.
- Rebranchez-la ensuite et testez si les commandes répondent.
4. Vérification des commandes
- Contrôlez que les boutons ne sont pas bloqués, coincés ou encrassés.
- Nettoyez délicatement les commandes pour assurer un bon contact électrique.
5. Inspection des filtres et du système interne
- Un filtre très encrassé peut parfois perturber le fonctionnement de la hotte.
- Nettoyez ou remplacez les filtres si nécessaire.
Si après ces vérifications la hotte ne répond toujours pas malgré le voyant allumé, il est possible qu'un composant électronique interne soit défectueux. Dans ce cas, un dépannage par un professionnel agréé est recommandé pour assurer une réparation sûre et efficace.
Téléchargez la notice de votre Hotte au format PDF gratuitement ! Retrouvez votre notice DHD 1155W - DE DIETRICH et reprennez votre appareil électronique en main. Sur cette page sont publiés tous les documents nécessaires à l'utilisation de votre appareil DHD 1155W de la marque DE DIETRICH.
MODE D'EMPLOI DHD 1155W DE DIETRICH
- Consignes de sécurité 04
- Respect de l'environnement 05 Description de votre appareil 06
2 / Installation de votre appareil
Utilisation en version évacuation 07 - Utilisation en version recyclage 07 Raccordement électrique 08 Montage de la hotte 09 Montage de la cheminée Evacuation extérieure 10 Recyclage 11
3 / Utilisation de votre appareil
- Description des commandes 12
4 / Entretien et nettoyage de votre appareil
- Nettoyage du filtre cassette 14
- Changement du filtre charbon 14
- Nettoyage de la surface extérieure 14
- Changement de la lampe 14
- Entretenir votre appareil 15
5/Anomalies de fonctionnement 16
Dans le souci d'une amélioration constante de nos produits, nous nous réservons le droit d'apporter à leurs caractéristiques techniques, fonctionnelles ou esthétiques toutes modifications liées à leur évolution.

Important :
Avant de mesurer tout appareil en marche, veuillez lire attentivement ce guide d'installation et d'utilisation afin de vous familiariser plus rapidement avec son fonctionnement.
Important
Conservez cette notice d'utilisation avec votre appareil. Si l'appareil devait être vendu ou cédé à une autre personne, assurez-vous que la notice d'utilisation l'accompagne. Merci de prendre connaissance de ces conseils avant d'installer et d'utiliser votre appareil. Ils ont été rédigés pour leur sécurité et celle d'autrui.
Consignes de sécurité
-Cet appareil a été conçu pour être utilisé par des particuliers dans leur lieu d'habitation. - Cet appareil n'est pas prévu pour être utilisé par des personnes (y compris les enfants) dont les capacités physiques, sensorielles ou mentales sont réduites, ou des personnes dénuées d'expérience ou de connaissance, sauf si elles ont pu bénéficier, par l'intermédiaire d'une personne responsable de leur sécurité, de surveillance ou d'instructions préalables concernant l'utilisation de l'appareil. Il convient de surveiller les enfants pour s'assurer qu'ils ne jouent pas avec l'appareil. - À la réception de l'appareil, déballez-le ou faites-le déballer immédiatement. Vérifiez son aspect général. Faites les éventuelles réserves par écrit sur le bon de livraison dont vous gardez un exemplaire. - Votre appareil est destiné à un usage domestique normal. Ne l'utilisez pas à des fins commerciales ou industrielles ou pour d'autres buts que celui pour lequel il a été conçu. - Ne modifiez pas ou n'essayez pas de modifier les caractéristiques de cet appareil. Cela représentait un danger pour vous. - Les réparations doivent être exclusivement effectuées par un spécialiste agréé. - Débranchez toujours la hotte avant de procéder à son nettoyage ou à son entretien. - Aérez convenablement la pièce en cas de fonctionnement simultané de la hotte et d'autres appareils alimentés par une source d'énergie différente de l'énergie électrique. Ceci afin que la hotte n'aspire pas les gaz de combustion. - Il est interdit de flamber des mets ou de faire fonctionner des foyers gaz sans récipients.
de cuisson, au-dessous de la hotte (les flammes aspirées risqueraient de déterminer l'appareil).
- Les fritures effectuées sous l'appareil doivent faire l'objet d'une surveillance constante. Les huiles et graisses portées à très haute température peuvent prendre feu.
- Respectez la fréquence de nettoyage et de remplacement des filtres. L'accumulation de dépôts de graisse risque d'occasionner un incendie.
- Le fonctionnement au-dessus d'un foyer à combustible (bois, charbon) n'est pas autorisé.
- N'utilise jamais d'appareils à vapeur ou à haute pression pour nettoyer votre appareil (exigences relatives à la sécurité électrique).
- Dans le souci d'une amélioration constante de nos produits, nous nous réservons le droit d'apporter à leurs caractéristiques techniques, fonctionnelles ou esthétiques toutes modifications de leurs caractéristiques liées à l'évolution technique. -Afin de retrouver aisément à l'avenir les références de votre appareil, nous vous conseillons de les noter en page ServiceAprès-Vente et Relations Consommateurs. (Cette page vous explique également où les trouver sur votre appareil).
Attention
Dans le cas d'une cuisine chauffée avec un appareil raccordé à une cheminée (ex : poêle), il faut installer la hotte en version recyclage. Ne pas utiliser la hotte sans les filtres cassettes.
Une ventilation convenable de la pièce doit être prévue lorsqu'une hotte de cuisine est utilisée simultanément avec des appareils utilisant du gaz ou un autre combustible.
Respect de l'environnement
- Les matériaux d'emballage de cet appareil sont recyclables. Participez à leur recyclage et contribuez ainsi à la protection de l'environnement en les déposant dans les conteneurs municipaux prévus à cet effet.
- Notre appareil contient également de nombreux matériaux recyclables. Il est donc marqué de

ce logo afin de vous indiquer que les appareils usagés ne doivent pas être mélangés avec d'autres déchets. Le recyclage des appareils qu'organise votre fabricant sera ainsi réalisé dans les meilleures conditions, conformément à la directive européenne 2002/96/CE sur les déchets d'équipements électriques et électroniques. Adressez-vous à votre mairie ou à votre revendeur pour connaître les points de collecte des appareils usagés les plus proches de votre domicile.
- Nous vous remercions pour votre collaboration à la protection de l'environnement.

Attention
L'installation est réservée aux installateurs et techniciens qualifiés.

Attention
Avant la première utilisation du filtre cassette, retirez le film de protection.

Attention
Les parties accessibles de cet appareil peuvent devenir chaudes lorsqu'il est utilisé avec des appareils de cuisson.
Description de votre appareil

Ouiies
Envelope
Cheminee
Commandes
- L'appareil doit être débranché pendant l'installation ou dans l'éventualité d'une intervention.
- Vérifiez que la tension du réseau correspond à la tension mentionnée sur la plaque signalétique située à l'intérieur de la hotte.
- Si l'installation électrique de votre habitation nécessite une modification pour le branchement de votre appareil, faites appel à un électricien qualifié.
- Si la hotte est utilisée en version évacuation, ne raccordez pas l'appareil à un conduit d'évacuation de fumées de combustion (chaudière, cheminée, etc.) ou à une VMC (ventilation mécanique contrôlée).
- Le conduit d'évacuation, quel qu'il soit, ne doit pas déboucher dans les combles.
- Installez la hotte à une distance de sécurité d'au moins 70cm d'un plan de cuisson électrique, gaz ou mixte.
- Utilisation en version evacuation
Vous possédez une sortie vers l'extérieur
(fig. 1)
Votre hotte peut être raccordée sur celle-ci par l'intermédiaire d'une gaine d'évacuation non fournie (minimum 125 mm, émaillée, en alu, flexible ou en matière ininflammable). Si votre gaine est inférieure à 125 mm de diamètre, passez obligatoirement en mode recyclage.
Utilisation en version recyclage
Vous ne possédez pas de sortie vers l'extérieur
(fig. 2)
Tous nos appareils ont la capacité de fonctionner en mode recyclage.
Dans ce cas, ajoutez un filtre à charbon actif (en option) qui retiendra les odeurs.
(voir Chapitre 4: Changement du filtre carbon)


Raccordement electrique
Lors de l'installation et des opérations d'entretien, l'appareil doit être débranché du réseau électrique, les fusibles doivent être coupés ou retirés.
Le raccordement électrique est à réaliser après assemblage et fixation.
Vérifiez que:
- la puissance de l'installation est suffisante,
- les lignes d'alimentation sont en bon état
- le diamètre des fils est conforme aux règles d'installation.

Attention
Cet appareil est livré avec un câble d'alimentation H 05 VVF à 3 conducteurs de 0,75 mm2 (neutre, phase et terre). Il doit être branché sur réseau 220-240 V monophasé par l'intermédiaire d'une prise de courant normalisée CEI 60083 qui doit rester accessible après installation, conformément aux règles d'installation.
Notre responsabilité ne saurait être engagée en cas d'accident consécutif à une mise à la terre inexistante ou incorrecte. Le fusible de votre installation doit être de 10 ou 16 A. Si le câble d'alimentation est endommagé, faites appel au service après-vente afin d'éviter un danger.

Attention
Si l'installation électrique de votre habitation nécessite une modification pour le branchement de votre appareil, faites appel à un électricien qualifié.

Attention
Si la hotte présente une quelconque anomalie, débranchez l'appareil ou enlevez le fusible correspondant à la ligne de branchement de l'appareil.

Attention
L'installation doit être conforme aux réglements en vigueur pour la ventilation des locaux. En France, ces réglements sont indiqués dans le DTU 61.1 du CSTB. En particulier, l'air évacué ne doit pas être envoyé dans un conduit utilisé pour évacuer les fumées d'appareils utilisant du gaz ou autre combustible. L'utilisation de conduits désaffectés ne peut se faire qu'après accord d'un spécialiste compétent.
La distance minimale entre le plan de cuisson et la partie la plus BASSE de la hotte doit être de 70 cm. Si les instructions de la table de cuisson installée sous la hotte spécifient une distance plus grande que 70 cm, celle-ci doit être prise en compte.
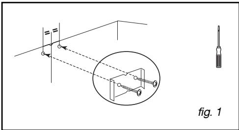
- Tracez un trait horizontal à 70 cm minimum du plan de cuisson (A/fig.1).
- Tracez un trait vertical (B/fig.1) sur le mur, centré par rapport au plan de cuisson en allant du plafond jusqu'en limite du trait horizontal précédent (A).
- Placez contre le mur le gabarit de perçage (C/fig. 1).
Dans le cas d'un mur creux, utilisez des chevilles et vis adaptées.
- Percez les 2 trous. Enoncez les 2 chevilles.
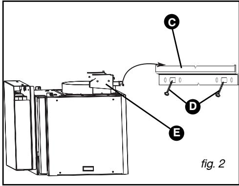
- Vissez la barrette de fixation au mur (C/fig. 2) avec les 2 vis (D/fig. 2).
- Accrochez la hotte aspirante par ses suspensions (E/fig. 2).
- Réglez la hauteur et le niveau en manœuvrant les vis de réglage (E / fig. 2) des supports (la vis du haut pour l'horizontalité, la vis du bas pour le plaçage au mur).
- Mettre la vis anti-soulèvement (D/fig. 1)
- Retirez le ruban adhésif du boîtier composant (F fig. 3) - Soulevez le boîtier d'environ 2 cm, puis le dégagez, faites-lui faire 1/4 de tour, puis le glissez et le fixez à l'aide des 2 vis sur le dessus du moteur (fig. 3).
Attention de ne pas blesser les câbles pendant la rotation et la fixation.



Évacuation extérieure
- Fixez contre le mur, en appui sur le plafond, le support de cheminée métallique avec les deux vis (fig. 1).
- Montez le clapet anti-retour sur la sortie du moteur (fig. 2). Ce clapet anti-retour permet d'obstruer l'entrée d'air venant de l'extérieur.
- Dans le cas d'une gaine de diamètre 125mm, utilisez l'adaptateur fourni (fig. 3).
Si votre gaine extérieure est inférieure à 125 mm, il est obligatoire de raccorder la hotte en mode recyclage.
- Emboîtez l'extrémité de la gaine sur la sortie moteur (fig. 4).
- Préparez votre cheminée téléscopique en tenant soin de dissimuler les ouïes (B/fig. 4).
Emboîter la cheminée ainsi assemblée sur la hotte et levez la partie supérieure pour ajuster la hauteur, puis la visser (G/fig. 4) sur le support de cheminée métallique (A/fig. 4).

Conseil
Pour une utilisation optimale de votre appareil, nous vous conseillons le raccordement à une gaine diamètre 150 mm (non livrée). Limiter au maximum le nombre de coude et la longueur de la gaine. Dans le cas où la hotte fonctionne en évacuation extérieure, il convient d'assurer une arrivée d'air frais suffisante pour éviter de mettre la pièce en dépression.



A Support de cheminée B Cheminée télescopique Gaine D Adaptateur E Clapet anti-retour F Sortie moteur G Vis de maintien de la cheminée

Recyclage
- Retirez le clapet anti-retour (fig. 1).
Fixez contre le mur, en appui sur le plafond, le déflecteur plastique de fumée avec les deux vis (fig. 2). Prenez soin de centrer le déflecteur par rapport au trait vertical tracé sur le mur (fig. 2). Pour les modèles > à 700mm, ajoutez les 2 entretoises fournies dans la pochette (A/fig. 2). - Emboîtez une extrémité de la gaine sur le déflecteur et l'autre extrémité sur la sortie moteur (fig. 3). - Préparez votre cheminée en prenant soin de placer les ouïes vers le haut de manière à ce qu'elles soient visibles (B/fig. 3). - Emboîtez la cheminée ainsi assemblée (C/fig. 3) sur la hotte et levez la partie supérieure pour ajuster la hauteur, puis la visser sur le déflecteur de fumée (A/fig. 3) avec les deux vis (F/fig. 3).


Déflecteur de fumée Ouvettes Cheminée télescopique Gaine Support moteur Vis de maintien de la cheminée

Description des commandes (*selon modèle)

Vitesse 4 Mode automatique Voyant
Mode automatique (selon modèle)
Ces hottes ont un sens inné de l'adaptation. Equipées de capteurs sensoriels, elles se déclenchent automatiquement dès lors qu'elles détectent toute émission de chaleur ou de vapeur, adaptant spontanément la vitesse d'aspiration et cessent de fonctionner une fois les dernières fumées évacuées.
Sélection du type de table en mode automatique *
Pour sélectionner votre type de table (Par défaut table induction), votre hotte doit être arrêtée. Effectuez un appui sur et ICS afin d'être en mode configuration ( © clignote). Un appui court sur pour sélectionner une table Induction; Un appui court sur pour sélectionner une table Vitro; Un appui court sur pour sélectionner une table Gaz. Un appui court sur ICS (ou après 10 sec) permet de valider votre choix.
Pour régler la sensibilité (Par défaut sensibilité moyenne):
- un appui court sur (clignote) sensibilité minimum,
- un appui court sur 2^11 (clignote) -> sensibilité moyenne.
- un appui court sur 3^111 ( clignote) sensibilité maximum.
Un appui court sur ICS (ou après 10 sec) permet de valider votre choix.
Mode d'évacuation / recyclage
En fonction de votre installation, configurez votre hotspot :
Appuyez pendant plus de 2 secondes simultanément sur et qui deviennent lumineux, © clignote ou est allumé.
Un appui court sur est allumé -> mode recyclage.
Un appui court sur 1^1, clignote -> mode évacuation.
Validez la configuration en appuyant sur 3^III.
Passage en mode automatique
Effectuez un appui long sur ICS, clignote. est allumé dès qu'une source de chaleur est détectée, la hotte se met en route. À la fin de la cuisson, la hotte continue de fonctionner de 40 sec à 10 min.
Un appui long sur ICS désactive le mode automatique.
Mise en marche
Appuyez sur le bouton de la vitesse choisie (de 1 à 4).
Exemple : vitesse 2.
- un appui sur 2^11, le bouton 2^11 devient lumineux, la hotte est en vitesse 2
- U , la hotte s'arrête au terme de 10 min.
- un autre appui éteint la hotte.
Lorsque les touches et 2^11 clignotent simultanément, les filtres cassettes doivent être nettoyés (possibilité de les mettre au lave-vaiselle).
Pour désactiver la fonction saturation fille cassette, appuyez simultanément sur et 2^11.
- Saturation filtre à charbon
Lorsque votre hotte est en mode recyclage.
Les touches 3^100 et ICS clignotent simultanément, il faut changer le filtre à charbon (nous vous conseillons de remplacer vos filtres toutes les 360 heures d'utilisation.)
Pour désactiver la fonction simultanément sur 3^111 et ICS.
- Auto stop ventilateur
Si vous oubliez d'éteindre votre hotte, celle-ci s'arrête au terme de 9 heures de fonctionnement.
- Auto stop éclairage
Si vous oubliez d'éteindre la lumière, celle-ci s'éteindra au terme de 9 heures de fonctionnement.
Nettoyage des filtres cassettes
Il doit être nettoyé toutes les 30 heures d'utilisation environ ou une fois par mois minimum. Utilisez une brosse, de l'eau chaude et un détergent doux. Rincez-le et séchez-le soigneusement avant de le remettre en place.
- Démontage des filtres cassettes (fig. 1)
- Pivotez la poignée intégrée des filtres cassettes.
- Basculez les filtres cassettes vers le bas.
Changement du filtre charbon (fig. 2)
- Remplacez-le toutes les 120 heures d'utilisation environ.
- Pivotez la poignée intégrée des filtres cassettes (fig.1)
- Basculez les filtres cassettes vers le bas.
- Déserrer la cloison (A)
- Retirez le filtre charbon usage en le déclipant (B).
- Ajouter le filtre charbon neuf (C)
- Revisser la cloison
- Remettre les filtres cassettes


- Nettoyage de la surface exterieure
Pour nettoyer l'extérieur de votre hotte, utilisez de l'eau savonneuse, mais n'utilisez pas de crèmes à recycler, ni d'éponge grattoir.
Modèle avec lampe halogène
- Retirez le hublot (fig. 3).
- Changez la lampe halogène G4-20W-12V.
- Replacez l'ensemble en effectuant les opérations en sens inverse.


Attention
Débranche (soit en retirant la prise, soit en actionnant le disjoncteur) l'appareil avant de procéder à l'entretien et au nettoyage de l'appareil. Un entretien régulier de votre appareil est une garantie de bon fonctionnement, de bon rendement et de durabilité.

Attention
Le non-respect des instructions de nettoyage de l'appareil et des filtres peut occasionner des incendies. Veuillez respecter strictement les consignes d'entretien.
Entretenir votre appareil
| ENTRETIEN... | COMMENT PROCEDER ? | PRODUITS/ACCESSOIRESA UTILISER |
| Enveloppe et accessoires | N'utilisez jamais de tampons métalliques, de produits abrasifs ou de brosses trop dures. | Pour nettoyer la carrosserie et le hublot d'éclairage, utilisez exclusivement des nettoyants menagers du commerce dilués dans de l'eau, puis rincez à l'eau claire et essuyez avec un chiffon doux. |
| Filtre cassette | Ce filtre retient les vapeurs gras- ses et les poussières. Il est l'élement assurant une part importante de l'efficacité de votre hotte. Dans le cas de taches persistan- tes, utilisez une crème non abra- sive, puis rincez à l'eau claire. | Avec un nettoyant menager du commerce, puis rincez abondam- ment et séchez. |
| Filtre charbon actif (selon modèle ou en option) | Ce filtre retient les odeurs et doit être changé au moins tous les ans en fonction de votre utili- sation.Commandez ces filtres chez votre revendeur et notez la date de changement. |
Pour préserver votre appareil, nous vous recommandons d'utiliser les produits d'entretien Clearit

L'expertise des professionnelles au service des particuliers
Clarity vous propose des produits professionnels et des solutions adaptées pour l'entretien quotidien de vos appareils électroménagers et de vos cuisines.
Vous les trouverez en vente chez votre revendeur habituel, ainsi que toute une ligne de produits accessoires et consommables.
| SYMPTOMES | SOLUTIONS |
| La hotte ne fonctionne pas... | Vérifiez que: • il n'y a pas de coupure de courant. • une vitesse a été effectivement sélectionnée. |
| La hotte a un rendement insuffisant... | Vérifiez que: • la vitesse moteur sélectionnée est suffisante pour la quantité de fumée et de vapeur dégagée. • la cuisine est suffisamment aérée pour permettre une prise d'air. • le filtré à charbon n'est pas usage (hotte en version recyclage) |
| La hotte s'est arrêtée au cours du fonctionnement | Vérifiez que: • il n'y a pas de coupure de courant. • le dispositif à coupure omnipolaire ne s'est pas enclenché. |
Les éventuelles interventions sur votre appareil doivent être effectuées par un professionnel qualifié dépositaire de la marque. Lors de votre appel, mentionnez la référence complète de votre appareil (modèle, type, numéro de série). Ces renseignements figurent sur la plaque signatétique (Fig. 1).

Pièces d'origine
Lors d'une intervention d'entretien, demandez l'utilisation exclusive de pièces détachées certifiées d'origine.

Pour en savoir plus sur tous les produits de la marque :
informations, conseils, les points de vente, les spécialistes après-vente.
Pour communiquer :
Nous sommes à l'écoute de toutes vos remarques, suggestions, propositions auxquelles nous vous répondrons personnellement.
Vous pouvez nous écrire:
Service Consommateurs
DE DIETRICH
BP 9526
95069 Cergy Pontoise Cedex
ou nous téléphoner au :
02 88 04
0,337€ TTC/mm depuis un poste fixe
Notice Facile