BCB31AAF - Réfrigérateur-congélateur HOTPOINT - Notice d'utilisation et mode d'emploi gratuit
Retrouvez gratuitement la notice de l'appareil BCB31AAF HOTPOINT au format PDF.
| Type de produit | Réfrigérateur combiné |
| Capacité totale | 300 litres |
| Type de froid | Froid ventilé |
| Classe énergétique | A+ |
| Dimensions approximatives | 185 x 60 x 65 cm |
| Poids | 70 kg |
| Nombre de tiroirs | 3 tiroirs pour le congélateur |
| Fonctions principales | Fonction super congélation, éclairage LED |
| Entretien et nettoyage | Nettoyage intérieur avec un chiffon humide, dégivrage manuel |
| Pièces détachées et réparabilité | Disponibilité de pièces détachées sur demande |
| Sécurité | Système de verrouillage de porte, conforme aux normes de sécurité |
| Informations générales | Garantie de 2 ans, service après-vente disponible |
FOIRE AUX QUESTIONS - BCB31AAF HOTPOINT
Questions des utilisateurs sur BCB31AAF HOTPOINT
0 question sur cet appareil. Repondez a celles que vous connaissez ou posez la votre.
Poser une nouvelle question sur cet appareil
Téléchargez la notice de votre Réfrigérateur-congélateur au format PDF gratuitement ! Retrouvez votre notice BCB31AAF - HOTPOINT et reprennez votre appareil électronique en main. Sur cette page sont publiés tous les documents nécessaires à l'utilisation de votre appareil BCB31AAF de la marque HOTPOINT.
MODE D'EMPLOI BCB31AAF HOTPOINT
Description de l'appareil, 7
Installation, 19
Mise en marche et utilisation, 19
Entretien et soin, 21
Précautions et conseils, 21
Anomalies et remèdes, 22

Vue d'ensemble
Ces instructions d'utilisation s'appliquent à plusieurs modèles, il se peut donc que les composants illustrés aient des différences par rapport à ceux de l'appareil que vous avez acheté. Vous trouverez dans les pages suivantes la description des objets plus complexes.
4 Boite FOOD CARE ZONE pour VIANDE et POISSON *
5 WINE RACK*
6 CLAYETTE*
7 ECLAIRAGE (voir Entretien) *
8 Balconnet amovible PORTE-OBJETS*
9 Balconnet BOUTEILLES
10 FRESH BOX *
11 ACTIVE OXYGEN *
12 AIR
13 Commande pour RÉGLER LA TEMPERATURE
14 Super Freeze*
- Leur nombre et/ou leur emplacement peut varier, n'existe que sur certains modèles.
! Conservez ce mode d'emploi pour pouvoir le consulter à tout moment. En cas de vente, de cession ou de déménagement, veillez à ce qu'il suive l'appareil pour informer le nouveau propriétaire sur son fonctionnement et lui fournir les conseils correspondants.
! Lisez attentivement les instructions : elles contiennent des conseils importants sur l'installation, l'utilisation et la sécurité de votre appareil.
Mise en place
- Placez l'appareil dans une pièce bien aérée et non humide.
- Ne bouchez pas les grilles d'aération : le compresseur et le condensateur produisen
3. Installez l'appareil loin de sources de chaleur (rayons directs du soleil, cuisinière électrique).
Raccordement électrique
Après le transport, placez l'appareil à la verticale et attendez au moins 3 heures avant de le raccorder à l'installation électrique. Avant de brancher la fiche dans la prise de courant, assurez-vous que:
- la prise est bien munie d'une terre conforme à la loi;
- la prise est bien apte à supporter la puissance maximale de l'appareil, indiquée sur la plaquette signalétique placée à l'intérieur du compartiment réfrigérateur en bas à gauche (ex. 150 W);
- la tension d'alimentation est bien comprise entre les valeurs indiquées sur la plaquette signalétique, placée en bas à gauche (ex. 220-240 V);
- la prise est bien compatible avec la fiche de l'appareil. En cas d'incompatibilité, faites remplaçer la fiche par un technicien/agréé (voir Assistance); n'utilise ni rallonges ni prises multiples. ! Après installation de l'appareil, le cable électrique et la prise de courant doivent être facilement accessibles. ! Le cable ne doit être ni plié ni excessivement écrasé. ! Il doit être contrôlé périodiquement et ne peut être remplacé que par un technicien agréé (voir Assistance). ! Nous déclinons toute responsabilité en cas de non-respect des normes enumeratedes ci-dessus.
Mise en service de l'appareil
! Avant de mettre l'appareil en service, suivez bien les instructions sur l'installation (voir Installation).
! Avant de brancher votre appareil, nettoyez bien les compartiments et les accessoires à l'eau tiède additionnée de bicarbonate.
- Branchez la fiche dans la prise de courant et assurez-vous que l'éclairage intérieur s'allume.
- Amenez le bouton de REGLAGE DE LA TEMPERATURE sur une valeur intermédiaire. Au bout de quelques heures, vous pourrez commencer à stocker des aliments dans le réfrigérateur.
Réglage de la température
Le réglage de la température à l'intérieur du compartiment réfrigérateur est automatique en fonction de la position du bouton du thermostat.
I^* = moins froid
^* = plus froid
Nous conseillons toutefois une position intermédiaire
Pour augmenter la place disponible, simplifier le rangement et améliorer l'aspect esthétique, cet appareil loge sa "partie
refroidissante" à l'intérieur de la paroi arrière du compartiment réfrigérateur. Pendant le fonctionnement de l'appareil, cette paroi est tour à tour couverte de givre ou de gouttelettes d'eau selon que le compresseur est en marche ou à l'arrêt. Ne vous inquiétez pas! Notre réfrigérateur fonctionne normalement.
Compartment concélateur
Lors de la première mise en service de l'appareil et après avoir sélectionné la température désirée, il est conseillé d'activer la fonction SUPER FREEZE * pour refroidir le compartiment plus rapidement. Il est conseillé d'attendre l'arrêt de la fonction SUPER FREEZE * avant de ranger les aliments dans le compartiment.
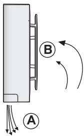
On le reconnaît à la présence d'un dispositif appliqué à la paroi dans le haut du compartiment réfrigérateur (voir figure).

AIR qui optimise au maximum la circulation de l'air, améliore l'efficacité de l'évaporateur et contribue à rétablir très rapidement la température à l'intérieur du réfrigérateur après chaque ouverture. L'air souffle (A) refroidit au contact de la paroi froide, tandis que l'air plus chaud (B) est aspiré (voir figure).
Ce dispositif libère à l'intérieur du réfrigerateur des molécules d'ozone, une substance présente dans la nature et capable d'attaquer les bactéries et les microorganismes, réduisant ainsi la prolifération de ces derniers dans le réfrigerateur, et de limiter les mauvaises odeurs.
Le dispositif définit automatiquement la quantité d'ozone nécessaire au bon fonctionnement et peut être activé et désactivé en appuyant sur le bouton prévu à cet effet.
Une odeur caractéristique légère peut être perçue à l'intérieur du réfrigérateur, comme celle qui accompagne parfois les orages et qui est justement due à l'ozone produit par les décharges des éclairs. Ce phénomène est tout à fait normal. La quantité produite par le dispositif est très faible et chute rapidement avec l'action antibactérienne.

La touche permet d'activer et de désactiver la fonction de libération automatique des molécules d'ozone à l'intérieur du réfrigérateur.
Pour profiter à plein de votre réfrigérateur
- Pour régler la température, utilisez le bouton de REGLAGE DE LA TEMPERATURE (voir Description).
- N'introduisez que des aliments froids ou à peine tièdes, jamais chauds (voir Précautions et conseils).
- Les aliments cuits, contrairement à ce que l'on croit, ne se conservent pas plus longuement que les aliments crus.
- N'introduisez pas de récipients non fermés contenant des liquides : ces derniers entraîneraient une augmentation de l'humidité et la formation d'eau condensée.
Clayettes: pleines ou grillagées.
Elles sont amovibles et réglables en hauteur grâce à des glissières spéciales (voir figure), pour le rangement de récipients ou d'aliments de grande dimension. Pour régler la hauteur, pas besoin de sortir la clayette complètement.

C'est la nouvelle boîte conçue pour conserver longuement des aliments tels que fromages et charcuterie, par exemple. Quand elle ne sert pas, elle peut être facilement sortie du compartiment réfrigérateur. Si l'appareil est équipé du dispositif porte-bouteilles, glisser la Fresh Box à l'intérieur de ce dernier pour gagner de la place.
FOOD CARE ZONE*
Emplacement réservé à la conservation des aliments frais, tels que la viande et le poisson. Grâce à la basse température à l'intérieur de ce compartiment, Food Care Zone permet de prolonger la durée de conservation jusqu'à une semaine.
Indicateur de TEMPERATURE*: pour repérer la zone la plus froide à l'intérieur du réfrigerateur.
- Contrôler que l'indicateur affiche bien OK (voir figure).

- Si le message OK n'est pas affiché, c'est que la température est trop élevée : régler le bouton FONCTIONNEMENT REFRIGERATEUR sur un numéro plus élevé (plus froid) et attendre environ 10 h jusqu'à ce que la température se stabilise.
- Contrôler l'indicateur une nouvelle fois : si nécessaire, procédé à un nouveau réglage. Si de grossse quantités d'aliments ont été stockées ou si la porte du réfrigerateur est ouverte très souvent, il est normal que l'indicateur n'indique pas OK. Attendre au moins 10 h avant de régler le bouton FONCTIONNEMENT REFRIGERATEUR sur un chiffre plus élevé.
- Leur nombre et/ou leur emplacement peut varier, n'existe que sur certains modèles.
Le nouvel éclairage à double LED, grâce à la puissante lumière diffuse, permet une vision claire de tous les aliments, sans aucune zone d'ombre.
En cas de remplacement des LED, veuillez vous adresser au service d'assistance technique.

Pour profiter à plein de votre congélateur
- Ne recongelez pas des aliments décongelés ou en cours de décongélation; il faut les faire cuire et les consommer (dans les 24 heures).
- Les aliments frais à congeler ne doivent pas être placés au contact d'aliments déjà congélés; il faut les stocker dans le compartiment supérieur CONGELATION et CONSERVATION où la température qui descend au-dessous de -18°C garantit une vitesse de congélation adéquate.
- Ne stockez pas dans votre congélateur des bouteilles en verre contenant des liquides, bouchées ou fermées hermétiquement, elles pourraient se briser.
- La quantité journalière maximale d'aliments pouvant être congelée est indiquée sur l'étiquette des caractéristiques, placée dans le compartiment réfrigérateur en bas à gauche (exemple : 4 Kg/24h).
Évitez d'ouvrir la porte pendant la phase de congélation. En cas de coupure de courant ou de panne, n'ouvre pas la porte du congélateur : les produits surgelés et congelés se conservent ainsi sans problème pendant 9 - 14 heures environ. Pour gagner de la place à l'intérieur du compartiment congélateur, vous pouvez enlever les tiroirs (sauf le tiroir du bas et celui de la COOL CARE ZONE à température variable si votre appareil en est équipé) et stocker vos aliments directement sur les plaques évaporantes.
L'interrupteur "Super Freeze" active le refroidissement intensif qui permet de rétablir rapidement la température souhaitée. Quand la congélation des aliments frais est terminée, replacez à nouveau l'interrupteur en position OFF. ATTENTION : pour consommer moins d'électricité, assurez-vous d'éteindre l'interrupteur au bout de 24 heures.
Mise hors tension
Pendant les opérations de nettoyage et d'entretien, mettez l'appareil hors tension en débranchant la fiche de l'appareil de la prise de courant. Il ne suffit pas de placer le bouton de réglage de la température sur OFF (appareil éteint) pour éliminer tout contact électrique.
Nettoyage de l'appareil
- Nettoyez l'extérieur, l'intérieur et les joints en caoutchouc à l'aide d'une éponge imbibée d'eau tiède additionnée de bicarbonate de soude ou de savon neutre. N'utilisez pas de solvants, de produits abrasifs, d'eau de Javel ou d'ammoniaque.
- mettez tremper les accessoires amovibles dans de l'eau chaude additionnée de savon ou de liquide vaisselle. Rincez-les et essuyez-les soigneusement.
- Le dos de l'appareil a tendance à s'empoussiérer, pour éliminer la poussière avec délicatesse, après avoir éteint l'appareil et débranché la fiche, servez-vous d'un aspirateur montant un accessoire adéquat et réglé sur une puissance intermédiaire.
Contre la formation de moisissures et de mauvaises odeurs
- Cet appareil est fabriqué dans des matériaux hygiéniques qui ne transmettent pas d'odeur. Pour sauvegarder cette caractéristique, veillez à bien emballer et couvrir vos aliments. Vous évitez par la même occasion la formation de taches.
- Si vous nevez laisser votre appareil étèint pendant une période de temps prolongée, nettoyez bien l'intérieur et laissez les portes ouvertes.
Dégivrage de l'appareil
Conformez-vous aux instructions suivantes.
Ne pas utiliser d'objets pointus et coupants pour dégivrer l'appareil, ils risqueraient d'endommager irréparablement le circuit réfrigérant.
Dégivrage du compartiment réfrigérateur
Le réfrigerateur est muni d'un système de dégivrage automatique : l'eau est acheminée vers la paroi arrière par un trou d'évacuation (voir figure) où la chaleur produite par le compresseur la fait évaporer. Il vous suffit de nettoyer périodiquement le trou d'évacuation pour permettre à l'eau de s'écouler normalement.

Dégivrage du compartiment réglateur
Si la couche de givre dépasse 5 mm, procédez à un dégivrage manuel :
1. Amenez le bouton de REGLAGE DE LA TEMPERATURE sur OFF 2. Enveloppez vos produits surgelés ou congelés dans du papier et placez-les dans un endroit frais. 3. Laissez la porte ouverte jusqu'à ce que le givre fonde complètement ; pour accélérer cette opération placez dans le compartiment congélateur des récipients d'eau tiède.
- Leur nombre et/ou leur emplacement peut varier, n'existe que sur certains modèles.
4. Nettoyez et séchez soigneusement le compartiment condenseur avant de rallumer l'appareil.
Remplacement de l'ampoule d'éclairage *
Pour remplacer l'ampoule d'éclairage du compartiment réfrigérateur, débranchez la fiche de la prise de courant. Suivez les indications fournies ci-dessous. Pour pouvoir remplacer l'ampoule, démontez le couvercle de protection comme illustré (voir figure). Remplacez-la par une ampoule semblable dont la puissance doit correspondre à celle indiquée sur le couvercle de protection.

Précautions et conseils
L'appareil a été conçu et fabriqué conformément aux normes internationales de sécurité. Ces conseils sont fournis pour des raisons de sécurité et doivent être lus attentivement.

Cet appareil est conforme aux Directives Communautaires suivantes: -73/23/CEE du 19/02/73 (Basse Tension) et modifications suivantes; -89/336/CEE du 03/05/89 (Compatibilité Electromagnétique) et modifications suivantes; -2002/96/CE.
Sécurité générale
- Cet appareil a été conçu pour un usage familial, de type non professionnel.
- Cet appareil qui sert à conserver et à conserver des aliments ne doit être utilisé que par des femmes conformément aux instructions du mode d'emploi.
- Cet appareil ne doit pas être installé en extérieur, même dans un endroit à l'abri, il est en effet très dangereux de le laisser exposé à la pluie et aux orages.
- Ne touchez pas à l'appareil pieds nus ou si vos mains ou pieds sont mouillés ou humides.
- Ne touchez pas aux parties refroidissantes : vous pourriez vous brûler ou vous blesser.
- Pour débrancher la fiche de la prise de courant, sortez la fiche, ne tirez pas sur le câble.
- Avant d'effectuer toute opération de nettoyage ou d'entretien, débranche la fiche de la prise de courant. Il ne suffit pas de placer le bouton de REGLAGE DE LA TEMPERATURE sur OFF (appareil éteint) pour éliminer tout contact électrique.
- En cas de panne, n'essayez en aucun cas d'accéder aux mécanismes internes pour tenter de réparer l'appareil.
- Ne pas utiliser, à l'intérieur des compartiments de conservation pour aliments congelés, d'ustensiles pointus et coupants ou d'appareils électriques d'un type autre que celui recommandé par le fabricant.
- Ne pas porter à la bouche des glaçons à peine sortis du congélateur.
- Cet appareil n'est pas prévu pour être utilisé par des personnes (y compris les enfants) dont les capacités physiques, sensorielles ou mentales sont réduites, ou des personnes dénuées d'expérience ou de connaissance, sauf si elles ont pu bénéficier, par l'intermédiaire d'une personne responsable
de leur sécurité, d'une surveillance ou d'instructions préalables concernant l'utilisation de l'appareil. Il convient de surveiller les enfants afin qu'ils ne jouent pas avec l'appareil.
- Les emballages ne sont pas des jouets pour enfants.
Mise au rebut
- Mise au rebut du matériel d'emballage : conformez-vous aux réglementations locales, les emballages pourront ainsi être recyclés.
- La Directive Européenne 2002/96/EC sur les Déchets des Equipements Electriques et Electroniques (DEEE), exige que les appareils ménagers usagés ne soient pas jetés dans le flux normal des déchets municipaux. Les appareils usagés doivent être collectés séparément afin d'optimiser le taux de récupération et le recyclage des matériaux qui les composent et réduire l'impact sur la santé humaine et l'environnement. Le symbole de la "poubelle barrée" est apposé sur tous les produits pour rappeler les obligations de collecte séparée. Les consommateurs devront contacter les autorités locales ou leur revendeur concernant la démarche à suivre pour l'enlèvement de leur vieux appareil.
Économies et respect de l'environnement
- Installez votre appareil dans un endroit frais et bien aéré, protégez-le contre l'exposition directe aux rayons du soleil et ne le placez pas près de sources de chaleur.
- Pour introduire ou sortir les aliments, n'ouvrez les portes de l'appareil que le temps strictement nécessaire. Chaque ouverture de porte cause une considérable dépense d'énergie.
- Ne chargez pas trop votre appareil : pour une bonne conservation des aliments, le froid doit pouvoir circuler librement. Si la circulation est entravée, le compresseur travaillera en permanence.
- N'introduisez pas d'aliments chauds : ces derniers font monter la température intérieure, ce qui oblige le compresseur à travailler beaucoup plus et à gaspiller un tas d'électricité.
- Dégivrez l'appareil dès que de la glace se dépose (voir Entretien) ; une couche de glace trop épaisse génère considérablement la cession de froid aux aliments et augmente la consommation d'électricité.
Anomalies et remèdes
Il peut arriver que l'appareil ne fonctionne pas. Avant de téléphoner au service de dépannage (voir Assistance), contrôlez s'il ne s'agit pas d'un problème facile à résoudre à l'aide de la liste suivante.
L'éclairage intérieur ne s'allume pas.
- La fiche n'est pas branchée dans la prise de courant ou pas assez enfoncée pour qu'il y ait contact ou bien il y a une coupure de courant.
Le réfrigérateur et le congélateur refroidissent peu.
- Les portes ne ferment pas bien ou les joints sont abimés.
- Ouverture trop fréquente des portes.
- La position du bouton de REGLAGE DE LA TEMPERATURE n'est pas correcte.
- Le réfrigerateur et le congélateur sont excessivement remplis.
- La température ambiante de travail du produit est inférieure à 14°C.
Les aliments gèlent à l'intérieur du réfrigérateur.
- La position du bouton FONCTIONNEMENT REFRIGERATEUR n'est pas correcte (voir Description).
- Les alimentations touchent à la paroi arrêtée.
Le ventilateur air ne tourne pas.
- La porte du réfrigérateur est ouverte.
- Le système AIR ne se met en marche automatiquement que quand il est nécessaire afin de rétablir les conditions optimales dans le compartiment réfrigérateur.
Le moteur est branché en permanence.
- La porte n'est pas bien fermée ou trop souvent ouverte.
- La température à l'extérieur est très élevée. L'épaisseur du givre dépasse 2-3 mm (voir Entretien).
- L'appareil n'a pas été installé bien à plat (voir Installation).
- L'appareil est installé entre des meubles ou des objets qui vibrent et font du bruit.
- Le gaz réfrigérant interne produit un léger bruit même quand le compresseur est à l'arrêt : il ne s'agit pas d'un défaut, c'est tout à fait normal.
La température est élevée à certains endroits de l'extérieur du réfrigérateur.
- Les températures élevées sont nécessaires pour éviter la formation d'eau condensée dans des zones particulières du produit.
Formation de givre ou de gouttelettes d'eau sur la paroi arrière du compartiment réfrigérateur.
- Il s'agit du fonctionnement normal du produit.
Il y a de l'eau dans le fond du réfrégérateur.
- Le trou d'évacuation de l'eau est bouché (voir Entretien).
Notice Facile