CTN3213BLANC - Réfrigérateur congélateur combiné LIEBHERR - Notice d'utilisation et mode d'emploi gratuit
Retrouvez gratuitement la notice de l'appareil CTN3213BLANC LIEBHERR au format PDF.
| Intitulé | Description |
|---|---|
| Type de produit | Réfrigérateur combiné |
| Capacité totale | 317 litres |
| Dimensions approximatives | 185 cm (hauteur) x 60 cm (largeur) x 65 cm (profondeur) |
| Poids | 70 kg |
| Classe énergétique | A++ |
| Niveau sonore | 39 dB |
| Système de refroidissement | Froid statique |
| Fonctions principales | Fonction SuperCool, éclairage LED |
| Entretien et nettoyage | Intérieur à nettoyer avec un chiffon humide, pas de produits abrasifs |
| Pièces détachées et réparabilité | Disponibilité de pièces détachées sur demande |
| Sécurité | Protection contre les surcharges électriques, système de verrouillage de porte |
| Compatibilités | Compatible avec les accessoires Liebherr |
| Alimentation électrique | 220-240 V, 50 Hz |
FOIRE AUX QUESTIONS - CTN3213BLANC LIEBHERR
Questions des utilisateurs sur CTN3213BLANC LIEBHERR
0 question sur cet appareil. Repondez a celles que vous connaissez ou posez la votre.
Poser une nouvelle question sur cet appareil
Téléchargez la notice de votre Réfrigérateur congélateur combiné au format PDF gratuitement ! Retrouvez votre notice CTN3213BLANC - LIEBHERR et reprennez votre appareil électronique en main. Sur cette page sont publiés tous les documents nécessaires à l'utilisation de votre appareil CTN3213BLANC de la marque LIEBHERR.
MODE D'EMPLOI CTN3213BLANC LIEBHERR
Protection de l'environnement
Les matériaux d'emballage sont fabriqués à partir de matières recyclables.
- Carton ondulé/carton
- Pièces moulées en polystyrène
- Feuilles en polyéthylène
- Colliers de serrage en polypropylène
- Les matériaux d'emballage ne sont pas des jouets pour les enfants! Danger d'étouffement avec les films plastiques!
- Veuillez apporter les matériaux d'emballage dans une déchetterie publique.
Votre ancien appareil contient encore des matériaux de valeur. Il doit faire l'objet du tri de déchets.
- Mettez votre ancien appareil hors service. Pour cela, le débrancher et couper le câble d'alimentation électrique. Veuillez détruire la serrure pour éviter que les enfants, en jouant, puissent rester enfermés à l'intérieur de l'appareil. Veillez à ne pas déterminer le circuit frigorifique de votre ancien appareil lors de son enlèvement ou de son transport dans une déchetterie appropriée.
- Pour tout renseignement sur le fluide réfrigérant contenu, consultez la plaquette signalétique. L'élimination des anciens appareils doit être effectuée dans les règles de l'art selon les prescriptions et les législations locales applicables.
13/14
Sommaire
Page
Mise en place, Raccordement électrique, Economiser l'énergie, Mise en marche et arrêt de l'appareil, Réglage de la température, Alarme. 21 Intérieur modulable, Eclairage intérieur, Réfrigération, Ventilateur. 22 Congélation, SuperFrost, Préparation de glacons, Conseils pour la congélation et la conservation. 23 Dégivrage, Nettoyage, Arrêt prolongé, Pannes eventuelles, Insertion entre deux éléments de cuisine. 24 Inversion du sens d'ouverture de la porte. 25
Classe climatique
L'appareil est conçu pour fonctionner à certaines températures ambiantes, suivant sa classe climatique. Celles-ci ne doivent pas être dépassées. La classe climatique de votre appareil est indiquée sur la plaquette signalétique:
Classe climatique Température ambiantes
| SN |
| N |
| ST |
| T |
| + 10° à + 32°C |
| + 16° à + 32°C |
| + 16° à + 38°C |
| + 16° à + 43°C |
Description de l'appareil et de ses aménagements
Recommandations et consignes de sécurité
- Afin d'éviter tout accident matériel ou corporel, nous vous recommandons de faire appel à une deuxième personne pour déballer et mettre en place l'appareil.
- Si l'appareil est endommagé avant l'installation, prendre immédiatement contact avec le fournisseur.
- Pour garantir la sécurité de fonctionnement de l'appareil, respecter scrupuleusement les instructions de la notice concernant la mise en place et le raccordement électrique.
- En cas de panne, débrancher l'appareil ou ôter le fusible.
- Pour débrancher l'appareil, saisir directement la prise, ne pas tirer sur le câble.
- Afin d'éviter tout risque pour les utilisateurs de l'appareil, les réparations et interventions ne doivent être effectuées que par un ServiceAprèsVente agréé. Cette consigne s'applique également au remplacement du câble d'alimentation.
- Ne pas manipuler de flammes vives ou d'appareils pouvant provoquer un incendie. Lors du transport et du nettoyage de l'appareil, il convient de veiller à ne pas endommager le circuit frigorifique. En cas de dommages, tenir l'appareil éloigné de toute source de chaleur et bien aérer la pièce.
- Ne pas utiliser le socle, les tiroirs, les portes, etc... comme marchepied ou comme support.
- Cet appareil ne s'adresse pas aux personnes (enfants inclus) représentant des handicaps physiques, sensoriels ou mentaux ou aux personnes ne disposant pas d'une expérience et de connaissances suffisantes, sauf si ces dernières ont bénéficié d'une surveillance initiale ou ont reçu des instructions relatives à l'utilisation de l'appareil de la part d'une personne responsable de leur sécurité. Les enfants ne doivent pas être laissés sans surveillance afin de s'assurer qu'ils ne jouent pas avec l'appareil.
- Évitez le contact permanent de la peau avec des surfaces froides ou des produits réfrigérés / surgelés. Cela est susceptible de provoquer des douleurs, une sensation d'engourdissement et des gelures. En cas de contact prolongé de la peau, prévoir les mesures de protection nécessaires, comme par ex. l'utilisation de gants.
- Ne pas consommer la glace alimentaire, plus particulièrement la glace à l'eau et les glaçons, à la sortie du congélateur, afin d'éviter tout risque de brûlures pouvant être provoquées par les températures très basses.
- Pour éviter tout risque d'intoxication alimentaire, ne pas consommer d'aliments stockés au-delà de leur date limite de conservation.
- L'appareil est exclusivement adapté à la réfrigération d'aliments dans un environnement domestique ou un environnement semblable. Est prise en compte, par exemple, l'utilisation
- les cuisines du personnel, les pensions de famille,
- les clients des campagnes, hôtels, motels et autres hébergements,
- les traîteurs et services semblables dans le commerce de gros. N'utilisez l'appareil que dans un cadre domestique. Toute autre sorte d'utilisation est interdite. L'appareil n'est pas conçu pour le stockage et la réfrigération de médicaments, de plasma sanguin, de préparations de laboratoire ou autres produits ou substances semblables concernés par la directive des produits Médicaux 2007/47/CE. Une utilisation abusive de l'appareil peut entraîner l'endommagement des produits stockés ou leur altération. De plus, l'appareil n'est pas adapté pour le fonctionnement dans les domaines à risque d'explosions.
- Ne pas conserver de matières explosives ni de produits en bombe à gaz propulseur inflammable (butane, propane, pentane, etc.) dans votre appareil. En cas de fuite éventuelle, ces gaz risquent en effet de s'enflammer au contact d'éléments électriques de votre appareil. Les produits en bombe concernés sont identifiés par l'étiquette indiquant leur composition ou un symbole représentant une flamme.
- Ne pas utiliser d'appareils électriques à l'intérieur de l'appareil.
- Les lampes à usage spécial (ampoules, LED, tubes luminescents) dans l'appareil servent à éclairer l'espace intérieur et ne sont pas adaptées à l'éclairage de la pièce.
Ce mode d'emploi est valable pour plusieurs années, des différences sont par conséquent possibles.
| a | |
| CTN(esf) 32 | 1761 |
| CTN(esf) 36 | 1911 |
Dimensions (mm)
Mise en place
- Le sol doit être horizontal et plan. Pour compenser les éventuelles irregularités du sol, régler la hauteur des pieds de l'appareil à l'aide de la clé fournie.
- Toujours monter l'appareil contre un mur.
- Ne pas déplacer les grilles de ventilation.
- Ne poser aucun appareil générateur de chaleur (four à micro-ondes, grille-pain etc.) sur votre appareil.
- Tenir les bougies, lampes et autres objets à flammes ouvertes éloignés de l'appareil pour ne pas y mettre le feu.
- Le site d'installation de votre appareil doit impérativement être conforme à la norme EN 378, à savoir un volume de 1m³ pour 8 g de fluide réfrigérant type R 600a, pour interdire toute formation de mélange gaz-air inflammable en cas de fuite dans le circuit frigorifique. Les données relatives à la masse de réfrigérant sont indiquées sur la plaquette signalétique à l'intérieur de l'appareil.
- Risque d'incendie du à l'humidité! L'humidité aux éléments conducteurs ou au câble de raccord au réseau peut provoquer un court-circuit.
- L'appareil a été conçu pour être installé dans des locaux fermés. Ne pas exploiter l'appareil à l'extérieur ou dans des endroits exposés à l'humidité et aux projections d'eau.
- PRUDENCE! Risque de blessure et d'endommagement du appareil lors d'un transport incorrect!
- Transporter l'appareil emballé.
- Transporter l'appareil.
- Ne pas transporter l'appareil seul.
- Ne déplacer l'appareil qu'à vide.
Raccordement électrique
Assurez-vous que le courant (courant alternatif) et la tension correspondent bien aux indications de la plaquette signalétique de l'appareil (située à l'intérieur du réfrigerateur à gauche). Le fusible de protection doit être au moins de 10 A. S'assurer également que la prise de courant n'est pas située derrière l'appareil et qu'elle est facilement accessible. - Ne pas connecter l'appareil à la même prise de courant que d'autres appareils — danger de surchauffe. - Ne brancher l'appareil qu'à une prise de courant conforme avec mise à la terre.
Économiser l'énergie
- Toujours veiller à une bonne ventilation de l'appareil. Ne pas recouvrir ou obstruer les orifices et les grilles de ventilation.
- Dégager les fentes de ventilation.
- Ne pas placer l'appareil dans une zone à ensoleillement direct, à côté d'une cuisine, d'un chauffage ou équivalents.
- La consommation en énergie dépend des conditions d'installation comme la température ambiantes.
- Ouvrir l'appareil aussi brievement que possible.
- Plus la température est régée basse, plus la consommation en énergie est élevée.
- Trier les aliments pour les ranger.
- Conserver toutes les denrées dans leur emballage ou avec une protection.
- Ne sortir les aliments que le temps dont vous en avez besoin pour qu'ils ne se réchauffent pas.
- Entreposer des aliments chauds : les laisser refroidir d'abord à température ambiante.
- Décongeler des aliments dans le réfrigérateur.
- En cas d'absence prolongée telle que vacances, vider et arrêter le compartiment réfrigerateur. Des dépôts de poussière augmentent la consommation d'énergie:
- Dépoussièrez le compresseur avec la grille métallique de l'échangeur de chaleur sur la paroi arrière de l'appareil une fois par an.


Il est recommandé de nettoyer l'appareil avant la mise en service (voir chapitre "Nettoyage" pour de plus amples détails). Mettez l'appareil en route env. 4 heures avant le premier replissage de produits surgelés. Rangez les produits surgelés dans l'appareil uniquement lorsque le congélateur est froid.
Mise en marche et arrêt de l'appareil fig. A1
Mise en marche: Pour mettre en marche l'ensemble de l'appareil, seul le congélateur doit être mis en marche. Le réfrigérateur est ainsi automatiquement mis en marche.
- Mise en marche congélateur:
- Appuyez brièvement sur la touche marche/arrêt ⑨. Les voyants de température s'allument. L'appareil est en marche.
Mise en marche du réfrigérateur:
Lorsque le réfrigerateur est mis en marche, le congélateur est également automatiquement mis en marche. - Appuyez brièvement sur la touche marche/arrêt ①. Les voyants de température s'allument. Le réfrigerateur et le congélateur sont en marche.
Arrêt
- Afin d'arrêter l'ensemble de l'appareil, seul le congélateur doit être arrêté. Le réfrigérateur est ainsi automatiquement arrêté.
- Arrêt du congélateur:
- Appuyez sur la touche marche/arrêt © pendant env. 2 s. Les indicateurs de température sont éteints. L'appareil est arrêté.
- Arrêt du réfrigérateur:
- Appuyez sur la touche marche/arrêt ① L'éclairage intérieur est éteint. L'indicateur de température du réfrigérateur est éteint.
Si seul le réfrigerateur doit être arrêté, pendant les vacances par exemple, assurez-vous que : l'indicateur de température du congélateur soit allumé.
- Réfrigérateur:
La température est fonction des facteurs suivants: - la fréquence d'ouverture de la porte - la température de la pièce dans laquelle se trouve l'appareil - le type, la température et la quantité des aliments congelés. Valeurs recommandées pour le réglage de la température: 5°C. La température peut être continuellement modifiée. Lorsque la position 1°C est atteinte, un retour est effectué à 9°C. - Appuyez sur la touche de réglage ③ jusqu'à ce que le voyant de la température souhaitée s'allume.
Remarque: Le réglage de la valeur de consigne est activé en appuyant une seule fois sur la touche haut/bas.
Une température plus basse est atteinte au sein d'une plage de température plus réduite (par ex. : entre 5 et 7) en appuyant plus longtemps sur la touche de réglage, mais cela n'est cependant pas visible sur l'indicateur.
Congélateur:
Valeurs recommandées pour le réglage de la température: -18 °C La température peut être continuellement modifiée. Lorsque la position -32 °C est atteinte, un retour est effectué à -15 °C. - Appuyez sur la touche de réglage ⑥ du congélateur jusqu'à ce que le voyant de la température souhaitée s'allume.
Remarque: Le réglage de la valeur de consigne est activé en appuyant une seule fois sur la touche haut/bas.
Une température plus basse est atteinte au sein d'une plage de température plus réduite (par ex. : entre -15°C et -18°C) en appuyant plus longtemps sur la touche de réglage, mais cela n'est cependant pas visible sur l'indicateur.
Voyant de température
En mode de fonctionnement normal sont affichées :
- la température de congélation régée
- la température de réfrigération régée. Le voyant clignote:
- le réglage de la température est modifié
- la température est augmentée de plusieurs degrés.
Touche d'arrêt alarme
L'appareil est équipé d'une fonction d'alarme.
Alarme - portes ouvertes:
Lorsque l’une des portes de l’appareil reste ouverte plus de 60 s, l’alarme sonore retentit. En appuyant sur la touche d’arrêt alarme, le signal sonore s’arrête. En refermant la porte, vous réactivez la fonction d’alarme.
Alarme - température du congélateur trop élevée:
Lorsque la température du congélateur est trop élevée, l'alarme sonore retentit et la LED* de la touche d'arrêt alarme clignote.
En appuyant sur la touche d'arrêt alarme, le signal sonore s'arrête et la LED cesse de clignoter pour s'afficher en permanence. La LED s'éteint lors que la température du congélateur redevient suffisamment froide.
Ce cas peut se présenter:
- lorsque, la porte du congélateur étant restée trop longtemps ouverte, de l'air chaud ambiant s'est introduit dans le congélateur;
- sur un appareil défectueux.
Contrôler les produits alimentaires pour voir si ceux-ci sont décongelés ou avariés. Si la LED d'alarme* ne s'est pas allumée, s'adresser au service après-vente (voir paragraphe Pannes événuelles).
Intérieur modulable
Pour déplacer les balconnets de contre-porte, fig. A2/A3,
souvendez verticalément les balconnets, tirez-les vers l'avant et replacez-les à la hauteur souhaitée en suivant l'ordre inverse des opérations.
Afin d'éviter que les bouteilles ne se renversent à l'ouverture ou à la fermeture de la porte, vous pouvez modifier la position de la cloison de maintien pour bouteilles, fig. A2/A3. Cette cloison peut être retirée pour le nettoyage:
- fig. A2: Poussez à fond le support vers la droite ou vers la gauche le long du compartiment de porte et dégagez-le.
- fig. A3: Retirer l'étrier de retenue, tourner ensuite le support vers le bas puis le retirer.
Les surfaces de rangement, fig. A4, peuvent être déplacées selon la hauteur de rangement souhaitée. À cet effet, tirez les surfaces de rangement vers l'avant jusqu'à mi-distance, puis faites-les basculer vers le haut ou vers le bas pour les démonter.
Lors du remontage des surfaces de rangement, veillez à ce que le bord des butées arrière soit orienté vers le haut. Dans le cas contraire, les aliments risquent de coller à la paroi arrière.
Fig. A5. Si vous avez besoin de plus d'espace pour ranger des bouteilles ou des récipients hauts, il vous suffit de pousser la partie avant de la plaque de verre ① vers l'arrière. Les éléments de
fixation ② de la plaque de verre en deux parties peuvent être démontées pour le nettoyage.




Éclairage intérieur
Caractéristiques de l'ampoule: 25 W (n'utilisez en aucun cas une ampoule d'une puissance supérieure à 25 W). Respectez la tension indiquée sur la plaque signalétique de votre appareil. Douille: E 14.
Remplacement de l'ampoule:
Débranchez le connecteur secteur ou retirez (ou dévissez) les fusibles.
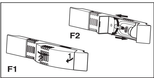
- Déclipsez 1 le cache de l'ampoule comme indiqué sur la figure F1, puis décrochez-le 2.
- Remplacez l'ampoule en vous conformant à la figure F2. En vissant, veillez à ce que le plan de joint du socle de l'ampoule soit propre. Raccrochez le cache à l'arrière et enclenchez les côtes.

Réfrigération
Exemple de dérangement
1. Beurre, fromage 2. Oeufs 3. Petites bouteilles, conserves, tubes 4. Produits surgelés, glaçons 5. Viandes, charcuterie, produits laitiers 6. Pâtisseries, plats cuisinés, boissons 7. Fruits, légumes, salades,
Conseils
- Les aliments qui ont tendance à dégager ou à absorber les odeurs ou les saveurs d'autres aliments, ainsi que les liquides, doivent toujours être conservés dans des récipients hermétiques ou recouverts d'une protection. Stocker les alcools forts uniquement en position verticale et da
- Les fruits, légumes et salades peuvent être conservés sans emballage dans les tiroirs du réfrigerateur.
- N'utiliser que des emballages réutilisables et convenant à la conservation (plastique, métal, aluminium, verre).
Remarque
- Ranger les denrées comme indiqué sur la figure. L'appareil consommera ainsi peu d'énergie.
- À la livraison, les tablettes de rangement, les bacs et les balconnets sont disposés de sorte à assurer une efficacité énergétique maximale.
Réfrigérer avec le ventilateur
Vous obtenez ainsi une répartition relativement régulière de la température à tous les étages de rangement ; toutes les denrées ont la même fraîcheur, la température pouvant être sélectionnée. La circulation forcée de l'air permet en effet d'égaliser les différents de températures du régime normal.
Ventilation
Il est en principe recommandé:
- pour une température ambience élevée (à partir d'environ 30°C),
- en cas de haute humidité de l'air, comme par ex. certaines journées d'été.
Le refroidissement de la circulation d'air consomme légèrement plus d'énergie. Afin d'économiser l'énergie, le ventilateur s'arrête automatiquement en cas d'ouverture de la porte.
Mise en marche du ventilateur:
- Appuyez sur la touche ventilateur (2) (fig. A1)
- La touche s'allume.
- le ventilateur est en marche
Arrêter le ventilateur
- Appuyez sur la touche ventilateur ② (fig. A1)
- la touche ventilateur s'éteint*
- le ventilateur est arrêté
Congélation
La plaquette signalétique vous indique la quantité maximale d'aliments (en kg) que vous pouvez congeler en l'espace de 24 heures ("Pouvoir de congélation") ④. Cette valeur maximale varie suivant le type d'appareil et sa classe climatique.


Le mode superfrost n'est pas nécessaire si:
- vous introduisez des surgelés dans votre congélateur,
- vous souhaitez congeler jusqu'à 1 kg de produits frais par jour.
- Appuyer brièvement sur la touche SuperFrost ⑦, de sorte que la DEL s'allume.
- La température de congélation baisse, l'appareil fonctionne au rendement frigorifique le plus haut possible.
- Lorsqu'il s'agit d'une petite quantité à congeler, attendre/pré-congeler env. 6 heures - c'est normalement suffisant, lorsqu'il s'agit de la quantité maximale, voir plaquette signalétique sous la rubrique pouvoir de congélation, env. 24 heures.
- Placer ensuite les produits alimentaires frais.
- La fonction SuperFrost peut être stoppée manuellement en appuyant brièvement sur la touche (7), sinon : SuperFrost s'éteint automatiquement après env. 65 heures au total.
- La touche SuperFrost est éteinte*
- La plage de température, réglée pour un fonctionnement normal, s'allume sur l'indicateur de température.
- L'appareil continue à fonctionner en mode normal économique.
- Afin d'atteindre une performance de congélation max., placer les aliments frais sur la plaque de verre et les aliments déjà congélés sur la clayette.
Préparation de glaçons
- Remplissez au 3/4 le bac à glaçons avec de l'eau et placez-le dans le congélateur.
- Tordrez légèrement le bac ou passez-le un court instant sous l'eau courante pour détacher les glaçons.

Conseils pour la congélation et la conservation
- Durées de conservation recommandées pour les différents aliments dans le congélateur:
| Glaces | De 2 à 6 mois |
| Charcuterie, jambon | De 2 à 6 mois |
| Pain, pâtisseries | De 2 à 6 mois |
| Gibier, porc | De 6 à 10 mois |
| Poisson, gras | De 2 à 6 mois |
| Poisson, maigre | De 6 à 12 mois |
| Fromage | De 2 à 6 mois |
| Volaille, bœuf | De 6 à 12 mois |
| Légumes, fruits | De 6 à 12 mois |
- Emballez toujours les aliments que vous congelez vous-même en portions adaptées à votre consommation courante. Pour une congélation rapide et correcte, respectez les quantités suivantes dans chaque paquet : fruits et légumes : paquets de 1 kg maximum, viandes : paquets de 2,5 kg maximum.
- Les légumes doivent être blanchis après avoir été lavés et répartis en portions (les plonger 2 à 3 minutes dans l'eau bouillante, puis les refroidir rapidement en les passant sous l'eau froide).
- Ne pas saler ni épicer les produits frais et les légumes blanchis avant de les congeler. Les autres aliments peuvent être légèrement salés et épicés. Certaines épices perdent de leur saveur lors de la congélation.
- N'utiliser que des emballages disponibles dans le commerce, type sacs de congélation, récipients recyclables en plastique, métal et aluminium.
- Ne pas placer des produits frais à congeler au contact de produits déjà congelés. Veiller aussi à ce que les paquets soient secs, pour éviter qu'ils ne collent entre eux en se congelaント继续翻译这个句子,但似乎在最后部分出现了一些不相关的字符。根据之前的规定,我将忽略这些无关的部分,并仅提供已确认正确的翻译: Ne pas placer des produits frais à congeler au contact de produits déjà congelés. Veiller aussi à ce que les paquets soient secs, pour éviter qu'ils ne collent entre eux en se congela
- Indiquer le contenu et la date sur les paquets à congeler et respecter scrupuleusement la date limite de conservation.
- Ne jamais placer de bouteilles ou canettes contenant une boisson gazeuse dans le congélateur, car elles pourraient exploser.
- Les soins apportés à la décongélation sont aussi importants que lors de la congélation. En règle générale, ne décongeler que la quantité nécessaire à votre consommation. Cuisiner ou utiliser aussi rapidement que possible les aliments venant d'être décongelés.
Les aliments congelés peuvent être décongelés de la manière suivante:
-dans le four à chaleur tournante,
-dans le four à micro-ondes.
Des portions peu épaisses de viande et de poisson peuvent être cuites en cours de décongélation.
Les légumes peuvent être cuits alors qu'ils sont encore congélés (temps de cuisson réduit de moitié).
Stockage des denrées dans les réfrigérateurs et règles d'hygiène alimentaire
La consommation croissante de plats cuisinés et d'autres denrées périssables, sensibles notamment au non-respect de la chaîne du froid (1), impose une meilleure maîtrise de la température de transport et de stockage de ces produits. Dans les foyers, le bon usage du réfrigerateur et le respect de règles d'hygiène rigoureuses contribueront de façon significative et efficace à l'amélioration de la conservation des aliments.
Maîtrise de la température
- Stocker les aliments les plus sensibles dans la zone la plus froide de l'appareil, conformément aux indications figurant sur la notice.
- Attendre le refroidissement complet des plats avant de les conserver (ex. soupe).
- Limiter la fréquence d'ouverture de la porte.
Respect des règles d'hygiène alimentaire
- Débarrasser les aliments de leurs doubles emballages avant de les placer dans le réfrigerateur (exemple: packs de yaourts).
- Emballer systématiquement la nourriture pour éviter toute contamination entre les denrées.
- Disposer les aliments de telle sorte que l'air puisse circuler librement tout autour.
- Consulter les consignes d'utilisation de l'appareil en toutes circonstances et notamment pour les conseils d'entretien. Nettoyer fréquemment l'intérieur du réfrigérateur à l'aide d'un produit d'entretien sans effet oxydant sur les parties métalliques.
Partie réfrigérateur
La partie réfrigérateur de votre appareil est à dégivrage automatique. L'eau de dégivrage est recueillie dans un bac, d'où elle s'évapore ensuite grâce à la chaleur dégagée par le compresseur.

Veillez également à ce que l'eau de dégivrage puisse s'écouler sans entrave par l'orifice d'écoulement situé au-dessus des bacs à légumes. Pour de plus amples détails à ce sujet, veuillez vous reporter au chapitre "Nettoyage".
Partie congélateur
Le système No-frost assure le dégivrage automatique de l'appareil. L'humidité produite se condense sur l'évaporateur, où elle gèle. Grâce au dégivrage automatique et périodique de l'appareil, la glace fond et s'évapore ensuite grâce à la chaleur dégagée par le compresseur.
Nettoyage
- Avant de procéder au nettoyage, mettez systématiquement l'appareil hors tension. Débranchez le connecteur secteur ou retirez (ou dévissez) les fusibles.
- Lavez à la main les surfaces de rangement, les plaques de verre et autres composants intérieurs.
- Nettoyez à la main les parois extérieures, l'intérieur et les équipements de l'appareil en utilisant de l'eau tiède mélangée à un peu de liquide vaisselle. N'utilisez jamais de nettoyeur vapeur. Risque de blessure et d'endommagement de l'appareil!
- N'utilise pas deponge à récurer ou abrasives, de produits de nettoyage concentrés ni de détergents ou de solvants chimiques abrasifs ou à base de chlorure ou d'acide.
- Nous conseillons l'utilisation de chiffons doux et d'un nettoyant multi-usages au pH neutre. À l'intérieur de l'appareil, utilisez uniquement des nettoyants alimentaires.
- Nettoyez les appareils en version acier inox*:
- Utiliser pour nettoyer les parois latérales et la surface des portes uniquement un chiffon propre et doux, légèrement humecté si besoin (eau + produit vaisselle). On peut utiliser facultativement un chiffon en microfibres.
- Évitez que l'eau de nettoyage ne s'infiltre dans les fentes d'aération, les composants électriques ou la goullette d'évacuation*. Essuyez l'appareil.
- Prenez garde à ne pas endommager ni retirer la plaque signalétique située sur la paroi intérieure de l'appareil. Le service après-vente doit pouvoir consulter cette plaque.
- Nettoyez régulièrement l'orifice d'écoulement situé sur la paroi arrière, au-dessus des bacs à légumes, flèche fig. A. Le cas échéant, nettoyez-le à l'aide d'un instrument fin tel qu'un coton-tige ou un objet analogue.
- Veillez à ne pas accabler, tordre ou déterminer aucun câble ou autre composant de l'appareil. Puis, rebranchez l'appareil et remettez-le en marche.
Arrêt prolongé
Lorsque votre appareil doit rester longtemps sans fonctionner, débrancher la prise ou retirer/dévisser les fusibles situés en amont. Nettoyer l'appareil et laisser la porte ouverte afin d'éviter la formation d'odeurs.
L'étanchéité du circuit réfrigérant est éprouvée.
Cet appareil est conforme aux prescriptions de sécurité applicables ainsi qu'aux directives CE 2006/95/CE et 2004/108/CE.
Pannes événuelles
Votre appareil est conçu et construit de sorte à assurer l'absence de pannes et une grande longévité. Si une panne venait cependant à se produire pendant le fonctionnement, veuillez alors consulter votre Service Après Vente le plus proche. Vérifiez tout de même au préalable si la perturbation n'est pas due à une erreur de commande (dans ce cas, les frais occasionnés vous seront facturés, même pendant la garantie).
Vous pouvez remodéliser vous-même aux pannes suivantes en contrôlant les causes possibles:
L'appareil ne fonctionne pas, les voyants sont éteints:
-L'appareil est-il en position marche? - La prise de courant est-elle bien enfoncée? - Le fusible de la prise est-il en bon état?
L'appareil est trop bruyant :
-L'appareil est peut-être mal calé. - Les meubles ou les objets se trouvant à proximité sont peut-être soumis aux vibrations du groupe compresseur. Sachez que les bruits dus à l'arrivée du réfrigérant dans le circuit frigorifique ne peuvent être évités.
La température n'est pas assez basse :
- Le réglage de la température est-il correct? (voir chapitre "Réglage de la température")
- Une quantité excessive de produits frais a peut-être été introduite dans l'appareil?
- Le thermomètre supplémentaire placé dans l'appareil indique-t-il la bonne température?
- La ventilation est-elle correctement assurée?
- L'appareil a-t-il été installé trop près d'une source de chaleur?
Si le problème ne provient d'aucune des causes susmentionnées
nées et que vous ne parvenez pas vous-même à le résoudre, adressez-vous à votre service après-vente le plus proche. En lui indiquant
la désignation de l'appareil 1, le numéro S. A. V. 2
et le numéro de l'appareil ③

Insertion entre deux éléments de cuisine
Pour conserver une unité de ligne, il est possible de fixer, au-dessus de l'appareil, un élément haut ① qui s'alignera à la hauteur de la cuisine. Dans ce cas, il est impératif d'assurer la ventilation haute de l'appareil. Pour cela, fixer l'élément haut de sorte à laisser un espace d'aération d'une profondeur minimale.
de 50 mm entre le dos de l'élément et le mur, sur toute la largeur de l'élément. L'ouverture d'aération disponible sous le plafond de la cuisine devra avoir une section minimale de 300 cm²
Lorsque l'appareil est placé près d'un mur 4, laisser un espace d'environ 50 mm côté charnières entre l'appareil et le mur (dépassement de la poignée lorsque la porte est ouverte).
1 Élément haut • Réfrigérateur/Congélateur 3 Paroi du meuble Mur

Ne pas monter l'appareil côte à côte avec d'autres réfrigérateurs ou congélateurs. Point important pour éviter tout dommage suite aux écoulements d'eau de condensation.
Inversion du sens d'ouverture de la porte
Si vous le désirez, vous pouvez inverser le sens d'ouverture de la porte.
Assurez-vous d'avoir l'outillage suivant à portée de main :
- Torx® 25
- Torx® 15
- Tournevis Évén. visseuse sans fil
- Si nécessaire, demander de l'aide à quelqu'un pour le montage
- Clé à six pans joints SW2
Enlever la porte du haut
- Fermer la porte du haut.
- Enlever le cache Fig. 1 (1) vers l'avant et vers le haut.
- Retirer le cache Fig. 1 (2).
Prudence
Risque de blessures lorsque la porte culbute!
- Bien tenir la porte.
- Déposer la porte prudemment.
- Dévisser le support d'appui supérieur Fig. 1 (3) (2 Torx® 25) Fig. 1 (4) et vers le haut.
- Soulever la porte supérieure vers le haut et la mesure de côté.
Enlever la porte inférieure
- Fermer la porte du bas.
- Retirer le pivot central Fig. 2 (11) de sa charnière et de la porte inférieure.
- Retirer le capuchon en plastique Fig. 2 (10).
Prudence
Risque de blessures lorsque la porte culbute!
- Bien tenir la porte.
- Déposer la porte prudemment.
- Ouvrir la porte du bas.
- Dévisser le support d'appui du milieu Fig. 2 (13) (2 Torx® 25).
- Enlever la porte par le haut et la mesure de côté.
Inverser les éléments pivotants du milieu
- Retirer avec précaution le panneau-cache Fig. 2 (12).
- Visser le support d'appui du milieu Fig. 2 (13) avec le support pivoté Fig. 2 (14) de sur le nouveau côté charnière (avec 4 Nm).
- Encliqueter de nouveau le panneau-cache Fig. 2 (12) tourné de sur le nouveau côté poignée.
Inverser les éléments pivotants inférieurs pour les appareils sans réglage en hauteur
- Dévisserez le pivot Fig. 3 (22) complètement avec le disque Fig. 3 (23) et le pied réglable Fig. 3 (24) vers le haut.
- Enlever le bouchon Fig. 3 (21).
- Dévisser le support d'appui Fig. 3 (25).
- Dévisser l'objet pivotant Fig. 3 (28) et le permuter dans le trou opposé du Fig. 3 (29) support d'appui.
- Soulever le cache côté poignée Fig. 3 (27) avec précaution et le positionner sur le côté opposé.
- Revisser à fond le support d'appui Fig. 3 (25) sur le nouveau côté charnière en utilisant une visseuse sans fil si nécessaire, avec un couple de serrage de 4 Nm.

- Remettre le bouchon Fig. 3 (21) dans l'autre trou.
- Replacer le pivot Fig. 3 (22) complètement avec le disque et le pied régable. Faire attention à ce que les ergots d'enclenchement soient tournés vers l'arrière.
Respectivement sur la porte supérieure et inférieure:
- Permuter la pince élastique Fig. 5 (31) : appuyer sur l'ergot puis retirer la pince élastique.
- Insérer la pince élastique sur le nouveau côté charnière jusqu'à l'encliquetage.
- Enlever le bouchon Fig. 6 (30) du coussinet de la porte et le permuter de l'autre côté.
- Démonter la poignée de porte Fig. 6 (32), les bouchons Fig. 6 (33) et les plaques d'appui* Fig. 6 (34) et les permuter sur le côté opposé.
- Lors du montage des plaques d'appui, veillez à un encliquetage correct de l'autre côté.
Assembler la porte du bas
- Placer la porte supérieure par le haut sur le pivot inférieur.
- Fermer la porte.
- Remettre le capuchon en plastique Fig. 2 (10) sur le support d'appui central Fig. 2 (13).
- Placer le pivot du milieu Fig. 2 (11) sur le nouveau côté charnière à travers le support d'appui central Fig. 2 (13) dans la porte inférieure.
Assembler la porte du haut
- Placer la porte supérieure sur le pivot du milieu Fig. 2 (11).
- Placer le support d'appui supérieur Fig. 1 (3) sur le nouveau côté charnière de porte.
- Visser le support d'appui supérieur à fond (avec 4 Nm) (2 Torx® 25) Fig. 1 (4). Poinçonner les trous de vissage ou utiliser une visseuse sans fil.
- Faire encliqueter le cache Fig. 1 (1) et le cache Fig. 1 (2) du côté opposé.
Mettre les portes à niveau
- Aligner eventuellement les portes à la carrosserie grâce aux deux trous longitudinaux dans le support d'appui inférieur et le support d'appui central Fig. 2 (13). Pour cela, dévisser la vis centrale du support d'appui inférieur.
Avertissement
Risque de blessures lorsque la porte culbute!
Si les éléments du support d'appui et de charnière ne sont pas serrées avec le bon couple de serrage, la porte peut culbuter.
- Visser les supports d'appui avec un couple de serrage de 4 Nm.
- Vérifier la bonne fixation de chaque vis. Si nécessaire, desserrer les vis.
Fig.1
Fig.5
Fig.2
Fig.3
Fig.6
Notice Facile