VP-D352 - Caméscope SAMSUNG - Notice d'utilisation et mode d'emploi gratuit
Retrouvez gratuitement la notice de l'appareil VP-D352 SAMSUNG au format PDF.
| Type de produit | Caméscope numérique |
| Résolution vidéo | 720 x 480 pixels (D1) |
| Capteur | CCD 1/6 pouces |
| Zoom optique | 34x |
| Zoom numérique | 1200x |
| Écran | Écran LCD de 2,5 pouces |
| Formats d'enregistrement | AVI, MPEG-2 |
| Capacité de stockage | Cartes mémoire SD/SDHC |
| Alimentation électrique | Batterie lithium-ion rechargeable |
| Autonomie de la batterie | Environ 2 heures |
| Dimensions approximatives | 85 x 130 x 70 mm |
| Poids | Environ 300 g |
| Compatibilités | Compatible avec Windows et Mac |
| Fonctions principales | Enregistrement vidéo, prise de photos, lecture vidéo |
| Entretien et nettoyage | Utiliser un chiffon doux pour nettoyer l'objectif et le boîtier |
| Pièces détachées et réparabilité | Disponibilité limitée des pièces détachées |
| Sécurité | Ne pas exposer à l'eau, éviter les chocs violents |
| Informations générales | Vérifier la compatibilité des cartes mémoire avant l'achat |
FOIRE AUX QUESTIONS - VP-D352 SAMSUNG
Questions des utilisateurs sur VP-D352 SAMSUNG
Pour allumer votre caméscope Samsung VP-D352, suivez ces étapes simples :
- Vérifiez la batterie : Assurez-vous que la batterie est correctement insérée et suffisamment chargée. Si la batterie est faible, rechargez-la avant de continuer.
- Localisez le bouton d'alimentation : Sur le Samsung VP-D352, ce bouton se trouve généralement sur le dessus ou à l'arrière de l'appareil, identifiable par le symbole universel d'alimentation (un cercle avec une ligne verticale).
- Allumez le caméscope : Appuyez et maintenez ce bouton enfoncé pendant quelques secondes jusqu'à ce que l'écran LCD s'allume ou qu'un signal sonore confirme la mise en marche.
- Vérifiez l'écran : Une fois allumé, l'écran doit afficher des informations sur l'état du caméscope, indiquant qu'il est prêt à être utilisé.
Si le caméscope ne s'allume pas, vérifiez la batterie et son installation. En cas de problème persistant, il peut être utile de vérifier l'état de la batterie ou de contacter un service technique.
Téléchargez la notice de votre Caméscope au format PDF gratuitement ! Retrouvez votre notice VP-D352 - SAMSUNG et reprennez votre appareil électronique en main. Sur cette page sont publiés tous les documents nécessaires à l'utilisation de votre appareil VP-D352 de la marque SAMSUNG.
MODE D'EMPLOI VP-D352 SAMSUNG
Caméscope video numérique
Mini D
Digital Video
Cassette
Mise au point automatique
CCD
Mémoire à transfert de charges
ACL
Affichage à cristaux liquides

AF
Manuel d'utilisation
Avant de faire fonctionner l'appareil, lisez ce manuel d'utilisation avec attention et conservez-le en vue d'une'utilisation ultérieure.
SAMSUNG
ELECTRONICS
Cet apparéil est conforme aux directives 89/336 CEE, 73/23 CEE, 93/68 CEE.

Remarques et consignes de sécurité 6
Familiariez-vous avec votre caméoscope. 11
Fonctions 11
Accessoires livres avec le camoscope 12
Vue de I'avant et du cote gauche 13
Vueducotégauche 14
Vue du dessus et du cote croit 15
Vue de I'arriere et du dessous 16
Télécommande (VP-D353(i)/D354(i)/D355(i) uniquely) 17
Prise en main 18
Réglage de la dragonne 18
Dragonne 18
Transport du caméoscope 18
Fixation du cache-objectif 18
Insertion de la pile au lithium 19
Insertion de la pile de l'horloge interne 19
Insertion de la pile de la télécommande (modèle VP-D353(i)/D354(i)/D355(i) uniquement)..19
Branchement sur une source d'alimentation 20
Utilisation de l'adaptateur CA et du cordon CC 20
Sélection du mode Caméoscope (VP-D353(i)/D354(i)/D355(i) uniquement)...20
Utilisation de la batterie lithium-ion 21
Charge de la batterie lithium-ion 21
Tableau des durées d'enregistrement en continu selon le type et le modele de batterie 22
Affichage du niveau de charge de la batterie 23
Affichage à l'écran en modes Camera
Affiche a I'ecran en modes M.Cam
Activation/Désactivation de l'affichage à l'écran 25
Réglagedu menuSystème 26
Choix de la langue d'affichage à l'écran. 26
Réglage de l'horloge 27
Activation de la reconnaissance de la télécommande par le camescope
(VP-D353(i)/D354(i)/D355(i) uniqueness) 28
Réglage du signal sonore 29
Réglage du bruit de l'obturator (VP-D353(i)/D354(i)/D355(i) uniquely) .........30
Demonstration 31
Réglages du menu Affichage 32
Réglage de l'écran ACL 32
Réglage de la date et de l'heure 33
Réglage de l'affichage TV 34
Enregistrement simple 35
Utilisation du viseur 35
Réglage de la mise au point 35
Insertion et ejection d'une cassette 36
Astuces pour une prise de vue stable 37
Enregistrement à l'aide de l'écran ACL 37
Enregistrement à l'aide du viseur 37
Techniques d'enregistrement 38
Réalisation de votre premier enregistrement 39
Mode EASY.Q (débutants) 40
Recherche d'enregistrement (REC SEARCH) 41
Mise du compteur à zéro (VP-D353(i)/D354(i)/D355(i) uniquement) 42
Enregistrement automatique à l'aide de la télécommande
(modèle VP-D353(i)/D354(i)/D355(i) uniquement). 43
Zoom avant et arrêté 44
Mode Tefel Macro 44
Ouverture et fermetre en fondu 45
Lancement d'un enregistrement 45
Arrêt d'un enregistrement (ouverture/fermeture en fondu) 45
Mode Compensation de contre-jour (BLC). 46
Utilisation de la fonction Color Nite Shutter avec éclairage (VP-D353(i)/D354(i)/D355(i) uniquement) ..48
Bouton Nite Pix (prise de vue dans le noir) 49
Enregistrement avancé 51
Utilisation des différentes fonctions 51
Réglages 51
Disponibilité des fonctions dans chaque mode 53
Mode Enregistrement 54
Mode Audio 55
Fonction Suppression du bruit du vent (Wind Cut) 56
Réglage de la vitesse de l'obturator et de l'exposition 57
Choix de la vitesse d'obturator en fonction du type d'enregistrement .....57
Fonction Auto Focus/Manual Focus (mise au point automatique/manuelle)......58
Mise au point automatique 58
Mise au point manuelle 58
Réglage de la balance des blancs 59
Menu rapide : Balance des blancs 60
Réglage du stabilisateur d'image numérique (DIS) 61
Menu rapide:Stabilisateur d'image numérique (DIS) 62
Modes d'exposition automatique programmable (Program AE) 63
Réglage de la fonction d'exposition automatique programmable (Program AE) ..64
Menu rapide : Exposition automatique programmable (Program AE) ....................64
Effets speciaux numériques 65
Choix des effets spéciaux numériques 66
Zoom avant et arriré à l'aide du zoom numérique 67
Activation du zoom numérique 67
Utilisation en tant qu'appareil photo. 68
Recherche d'une photo 68
Lecture 69
Visualisation d'un enregistrement sur cassette au moyen de l'écran ACL......69
Réglage des paramètres LCD Bright
Réglage du volume sonore du haut-parleur 70
Lecture d'une cassette 71
Lecture sur I'ecran ACL 71
Lecture sur un écran TV 71
Raccordement à un téléviseur disposant de prises d'entrée Audio/Video....71
Raccordement à un téléviseur ne disposant pas de prises d'entrée Audio/Video..72
Lecture 72
Fonctions disponibles en mode Player 73
Pause 73
Recherche d'une image (Forward/Reverse) 73
Ralenti (Forward/Reverse
Avance image par image (modèle VP-D353(i)/D354(i)/D355(i) uniquement)..74
Lecture X2 (Forward
Lecture arrère (VP-D353(i)/D354(i)/D355(i) uniquement).74
Zoom en cours de lecture (PB ZOOM) 75
Entree/Sortie AV (VP-D351i/D352i/D353i/D354i/D355i uniquement) 76
Post-sonorisation (VP-D353(i)/D354(i)/D355(i) uniquely). 77
Ajout d'une bande son 77
Lecture avec post-sonorisation 78
Transfert de données IEEE1394 79
Interface USB (VP-D352(i)/D353(i)/D354(i)/D355(i)uniquement)..81
Mode Appareil photo numérique (VP-D353(i)/D354(i)/D355(i) uniquement).. 87
Memory Stick (accessoire en option) 87
Fonctions du Memory Stick. 87
Insertion et ejection de la carte mémoire 88
Organisation des dossiers et fichiers de la carte mémoire. 89
Format d'image 89
Selection du mode Camoscope 89
Sélection de la mémoire interne (modèles VP-D354(i)/D355(i) uniquement) ....90
Menu rapide : Memory Type
Summario
Choix de la qualite d'image. 91
Choisir la qualite de I'image. 91
Nombre d'images sur la carte mémoire 91
Menu rapide: Qualité de la photo. 92
Numéro de fichier en mémoire 93
Prise de photos 94
Visualisation d/images figées 95
Pour visualiser une seule image 95
Pour visualiser un diaporama 95
Pour visualiser l'affichage multiple 96
Protection contre la suppression accidentelle 97
Menu rapide:Protection 98
Suppression d/images figées et de films 99
Menu rapide : Suppression 100
Formatage de la carte mémoire 101
Enregistrement MPEG 102
Sauvegarde d/images sous la forme d'un film sur la carte mémoire 102
Lecture MPEG. 103
Menu rapide : Sélection M.Play 104
Enregistrement d'une image issue d'une cassette en tant qu'image figee.....105
Copie d'images figées d'une cassette vers la carte mémoire 106
Copier dans (Copie les fichiers de la carte mémoire vers la mémoire interne)
(modules VP-D354(i)/D355(i) uniquely) 107
Marquage des images pour impression 108
Utilisation du menu rapide : Print Mark
PictBridgeTM (modèlees VP-D353(i)/D354(i)/D355(i) uniquement).. 110
Entretien 112
A la fin d'un enregistrement. 112
Nettoyage et entretien du caméoscope 113
Utilisation de votre caméoscope à l'étranger. 114
Dépannage 115
Charakteristiques 118
Index 119
Pour la France uniquement 120
Summario
Remarques et consignes de sécurité
Remarques concernant la rotation de l'écran ACL
Manipuez l'écran ACL avec précaution, comme le montre l'illustration.
Une rotation excessive peut endommager l'intérieur de la chamière qui relié I'écran ACL au caméscope.
- Ecran ACL fermé.
- Enregistrement normal à l'aide de l'écran ACL.
Déployez l'écran ACL avec le doigt.
- Enregistrement en regardant l'écran ACL par le haut.
- Enregistrement en regardant l'écran ACL par l'avant.
- Enregistrement en regardant l'écran ACL par la gauche.
- Enregistrement avec l'écran ACL replié.
1

2


3

4

5

6

Remarques et consignes de sécurité
Les programmes de télévision, cassettes video, DVD, films et autres supports d'images peuvent faire l'objet d'un copyright.
La reproduction de supports soumis au copyright peut être illégale.
Toutes les appellations commerciales et marques déposées citées dans ce manuel ou dans toute documentation fournie avec votre apparéil Samsung appartiennent à leurs propriétaires respectifs.
Remarques sur la condensation
- Une brusque hausse de la température de l'air peut entrainer la formation de condensation à l'intérieur du caméoscope.
A titre d'exemple :
lorsque you deplacez le camescope d'un endroit froid vers un endroit chaud (de l'extérieur vers l'intérieur en hiver, par exemple).
lorsque vous déplacez le caméoscope d'un endroit frais vers un endroit chaud (de l'intérieur vers l'extérieur en été, par exemple).
- Si la fonction (DEW
) est activée, laissez le caméoscope au repos pendant au moins deux heures dans un endroit sec et tempéré en ayant pris soin d'ouvoir le compartment à cassette et d'oter la batterie.
Remarques sur le caméoscope
- N'exposez jamais le caméoscope à des températures très élevées (plus de 60^ ), dans une voiture garée au soleil ou en contact direct avec les rayons du soleil, par exemple.
- Evitez de mouiller le camoscope.
Gardez le caméscope à l'abri de la pluie, de l'eau de mer ou de toute autre source d'humidité.
Le contact avec l'eau peut endommager votre caméoscope.
Un dysfonctionnement cause par un contact avec du liquide n'est pas toujours réparable.
Avertenzé relative al copyright (solo VP-D351i/D352i/D353i/D354i/D355i)
Remarques et consignes de sécurité
Remarques concernant la batterie
- Il est conseilé d'utiliser une batterie d'origine, disponible auprès du service après-vente SAMSUNG.
Assurez-vous que la batterie est complètement chargée avant de commencer l'enregistrement. - Afin de menager la batterie, éteignez votre caméscope lorsque vous ne vous en servez pas.
- Si votre caméoscope est en mode CAMERA et reste en mode STBY sans être utilisé pendant plus de cinq minutes alors qu'une cassette est chargée, il s'estint automatiquement pour éviter que la batterie ne se décharge inutillement.
- Vérifie que la batterie est insérée correctement.
Ne laissez jamais tomber la batterie. Cela risquerait de l'endommager. - Les batteries neuves ne sont jamais chargées.
Avant d'en utiliser une, il vous faut donc la charger complètement. - Les éléments internes risquent de s'abîmer si la batterie lithium-ion est complètement déchargée. La batterie risque de fouir si elle est complètement déchargée.
Lorsque la batterie arrive en fin de vie, veuillez prendre contact avec votre revendeur le plus proche.
Les batteries doivent être traitées comme des déchets chimiques.
Remarques concernant le nettoyage des têtes video
- Afin de garantir un enregistrement normal et des images nettes, nettoyez régulierement les têtes video.
Si une image de forme carrée perturbe la lecture ou si un écran bleu s'affiche, les têtes video sont probablement sales.
Dans ce cas, nettoyez les têtes video avec une cassette de nettoyage à sec.
- N'utilise pas de cassette de nettoyage utilisant un liquide sous peine d'abîmer les têtes video.
Remarques et consignes de sécurité
Remarques concernant l'objet
Ne filmez pas alors que l'objectif du caméoscope est orienté en direction du soleil.
Une exposition directe au soleil peut endommager la mémoire à transfert de charge.
Remarques sur le viseur électronique
- Evitez de viser le soleil lorsque vous étés en train de filmer. La lumière directe du soleil est susceptible d'endommager l'intérieur du viseur. Ne place pas le caméoscope au soleil ou pres d'une fenêtre reçvant les rayons du soleil.
- Ne saisissez jamais le caméscope par le viseur.
- En manipulant le viseur trop brutalement, vous risque de l'endommager.
Remarques concernant l'enregistrement ou la lecture à l'aide de l'écran ACL
- L'écran ACL est un composant de haute précision.
Il se peut toutefois que de petits points (rouges, bleus ou verts) apparaisent sur celui-ci.
Ce phénomène est normal et n'a aucune influence sur l'image enregistrée.

- Lorsque vous utilisez l'écran ACL en plein soleil ou à l'extérieur, il se peut que l'image soit difficile à voir.
Nous vous recommendons dans ce cas de recourir au viseur. - La lumière directe du soleil est susceptible d'endommager l'écran ACL.
Remarques concernant la dragonne
Pour garantir la stabilité de l'image pendant que vous filmez, vérifie que la dragonne est bien réglée.
- Ne forcez pas sur la dragonne pour passer votre main car vous risqueriez de l'endommager.

Remarques et consignes de sécurité
Remarques concernant la dragonne
- La pile au lithium assure le fonctionnement de l'horloge et garde en mémoire les réglages personalisés, même lorsque la batterie ou l'adaptateur CA est retire.
- Dans des conditions d'utilisation normales, la durée de vie de la pile au lithium est d'environ six mois à compter de son insertion.
- Lorsque la pile au lithium devient faible ou est complètement déchargeé, le témoin d'horodatage affiche 00:00 1.JAN.2005 quand vous reglez la fonction Date/Time
sur On . Dans ce cas, remplacez la pile au lithium par une pile neuve (type CR2025). - Il existe un risque d'explosion si la pile est replacée de façon incorrecte.
Insérez uniquement une pile neue identique ou du même type.
Avertissement : conservez la pile au lithium hors de portee des enfants. En cas d'ingestion de la pile, consultez un medecin immédiatement.
Dépannage
N'essayez pas de réparer vous-même ce caméscope.
En ouvrant ou en retardant les capots, vous vous exposez à des tensions électriques dangereuses et à d'autres risques.
Confiez toute réparation à un technicien qualifié.
Pieces de rechange
Lorsque des pieces doivent être changées, assurez-vous que le réparateur utilise des pieces de rechange spécifiées par le fabricant, possédant les mêmes caractéristiques que celles d'origine.
L'utilisation de toute piece de rechange non agrée pourrait notamment occasionner un incendie ou une électrocution.
Familiarisez-vous avec votre caméscope
- Affichage à l'écran en plusieurs langues
Choisissez la langue d'affichage à l'écran désirée après la liste OSD.
- Fonction de transfert de données numériques IEEE1394
Béniciante de la norme IEEE1394 (i.LINKTM : iLINK est un protocole de transfert de données en série et un système d'interconnexion permettant de transférer des données video numériques (DV, digital video), les séquences animées comme les images figées peuvent être transférées vers un ordinaire, ce qui permet de visionner ou de modifier plusieurs images.
- Interface USB pour le transfert d'images numériques
(modèle VP-D352(i)/D353(i)/D354(i)/D355(i) uniquement)
Vous pouvez transférer des images vers un ordinateur en utilisant l'interface USB sans avoir besoin de carte supplémentaire.
PHOTO
En mode Camera, une fonction vous permet de photographier une scene tout en conservant le son.
- Zoom numérique 900x
Permet de grossir une image jusqu'à 900 fois sa taille d'origine.
Ecran ACL-TFT couleur
Un écran ACL-TFT couleur de haute résolution vous donne des images propres et nettes et vous permet de visionner vos enregistements immédiement.
Stabilisateur d'imaginemique (DIS)
Le DIS attenue les tremblements, réduisant ainsi le nombre d'images instables, notamment dans le cas des gros plans.
- Quelques effets spéciaux numériques
Intégrés à vos images, les effets spéciaux numériques permettent de leur donner une touche d'originalité.
Compensation de contre-jour (BLC)
La fonction BLC (Contré-jour) atténue un arrêté-plan trop clair derrière le sujet que vous enregrettEZ.
- Program AE
La fonction Program AE vous permet d'adapter la villesse et l'ouverture de l'obtraturer au type de scene ou d'action à filmer.
- NITE pix
La fonction associée au bouton NITE_PIX vous permet d'enregistrer un sujet dans un endroitASFRE.
Appareil photo numérique (VP-D353(i)/D354(i)/D355(i) uniquement)
-
Vous pouvez facilement enregistrer et dire des images figées au format standard à l'aide de la carte mémoire.
-
Vous pouvez transférer des images figées standard de la carte mémoire vers vous PC à l'aide de l'interface USB.
Enregistrement MPEG (VP-D353(i)/D354(i)/D355(i) uniqueness)
L'enregistrement MPEG permet de stocker un enregistrement video sur la carte mémoire.
La fente multi-cartes mémoire peut accepter des memory sticks ainsi que des cartes MMC et SD.
Vou pouvrez utiliser les fonctions d'appelére photo numérique sans carte mémoire externe grâce à la mémoire interne de Your camscope. (VP-D354(i) : 16 Mo/VP-D355(i) : 64 Mo)
Funzioni
- Lingue del display OSD
Familiarisez-vous avec votre caméscope
Accessoires livres avec le caméoscope
Vérifiez que les accessoires suivants ont bien été fournis avec votre caméscope numérique.
Accessoires principaux
- Batterie lithium-ion
- Adaptateur CA (TYPE AA-E8)
- Cordon CA
- Cable audio/video
- Manuel d'utilisation
- Pile au lithium pour la télécommande (VP-D353(i)/D354(i)/D355(ii) uniquement) ou l'horloge. (TYPE: CR2025)
- Telecommande (VP-D353(i)/D354(i)/D355(i) uniquely)
- Cable USB (VP-D352(i)/D353(i)/D354(i)/ D355(i) unquemel)
- CD d-installation des logiciels (VP-D352(i)/D353(i)/D354(i)/ D355(i) unquigement)
- Cache-objectif
- Cordon du cache-objectif
Accessoires en option
- Cable S-VIDEO
- Carte Memory Stick (VP-D353(i)/D354(i)/D355(i) unique)
-
Adaptateur péritel
-
Lithium Ion Battery Pack

- AC Power Adapter (AA-E8 TYPE)

- AC Cord

- Audio/Video Cable

- Instruction Book

- Lithium Battery (CR2025)

- Remote Control

- USB Cable

- Software CD

- Lens Cover

- Lens Cover Strap

- S-Video Cable

- Memory Stick

- Scart Adapter

Accessoribase
Familiarisez-vous avec votre caméscope
Vue de l'avant et du côte gauche
- Objectif
- Diode lumineuse (voir page 48) (VP-D353(i)/ D354(i)/D355(i) unquemel)
-
Capteur de la télécommande (VP-D353(i)/ D354(ii)/D355(i) uniquely)
-
Prise S-Video
- Micro interne
- Bouton EASY.Q (voir page 40)
- Boutons de fonctionnement
| PLAYER | CAMERA | M Player (VP-D35S3(I)/D354(I)/D355(I) uniquemel) |
| - | EASY.Q | - |
| : Ret.Rapide | REC.SEARCH - | REV |
| : Av.Rapide | REC.SEARCH + | FWD |
| : LECTUREPAUSE | FADE | S.SHOW (SLIDE SHOW) |
| : ARRET | BLC | MULTI DISP. |
Familiarisez-vous avec votre caméscope
Familiarisez-vous avec votre caméscope
Vue du dessus et du côte droit
Familiarisez-vous avec votre caméscope
Vue de l'arrière et du dessous

-
Charging indicator
-
Couvercle de la batterie au lithium
- Témoin de charge
- Fente à carte mémoire (VP-D353(i)/D354(i)/D355(i) uniquement)
- Bouton de déverrouillage de la batterie
- Emplacement pour trépied
Fente à carte mémoire (cartes utilisables)
| VP-D353(i) uniqueness | VP-D354(i)/D355(i) uniqueness |
| Memory Stick Memory Stick PRO | Memory Stick Memory Stick PRO SD/MMC |
Familiarisez-vous avec votre caméscope
Réglage de la dragonne
Il est primordial que la dragonne soit correctement régée avant de commencer tout enregistrement.
Gracé à cette dragonne, vous pouvez :
- tenir le caméscope en adoptant une position stable etcomfortable;
- appuyer sur les boutons ZOOM et Start/Stop sans qu'il soit nécessaire de déplacer votre main.
- Introduisez la dragonne dans la boute qui se trouve a l'avant du caméoscope puis tirez-la par l'extrémité.
- Passez votre main dans la dragonne puis ajustez la longueur de cette derniere à sauter convenance.
- Fermez la dragonne.



Maniglia
Transport du caméscope
- Tirez sur la laniere supérieure de la dragonne pour la déplier.
- Retirez-la de la boucle afin d'ajuster sa longueur.
- Passez votre main dans la dragonne et fermez le rabat.




Fixation du cache-objectif
- Accrochez le cache-objectif au cordon correspondant comme sur l'illustration.
- Attachez le cordon du cache-objectif à la dragonne puis ajustez-le en. suivant les mêmes
recommendations que pour la dragonne.
- Fermez la dragonne.



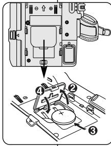
Insertion de la pile au lithium
Insertion de la pile de l'horloge interne
La pile au lithium assure le fonctionnement de l'horloge et permet la conservation en mémoire des réglages même lorsque la batterie ou l'adaptateur CA est retire.
Dans des conditions d'utilisation normales, la durée de vie de la pile au lithium est d'environ six mois à compter de son insertion.
Lorsque la pile au lithium devient faible ou est complètement décharge, le témoin d'horodatage affiche 00:00 1.JAN.2005 quand vous reglez la fonction Date/Time
- Retirez la batterie lithium-ion du compartment qui se trouve à l'arrête du caméoscope.
- Otez le couvercle de la pile au lithium situé à l'arrière du caméoscope.
- Placez la pile au lithium dans son compartment, pôle positif () orienté vers le haut.
- Refermez le compartment de la pile au lithium.
Insertion de la pile de la télécommande (VP-D353(i)/D354(i)/D355(i) uniquely)
Vous doivent insérer ou remplancer la pile au lithium lorsque :
- vous venez d'acheter le caméscope ;
- la télécommande ne fonctionne pas.
Placez la pile au lithium dans son compartment, pôle positif () orienté vers le haut.
Faites attention à ne pas inverser les polarités.
[Remarque]
La pile au lithium doit être insérée dans le bon sens.
Avertissement: Conserze la pile au lithium hors de portée des enfants. En cas d'ingestion de la pile, consultez unmedicineimmédiatement.
![SAMSUNG VP-D352 - [Remarque] - 1](/content/2024/11/24152/images/aa5320da5ddd465461136c79eca32745f7c82b9022040e725b551a0eed32864d.jpg)
![SAMSUNG VP-D352 - [Remarque] - 2](/content/2024/11/24152/images/4a2923166eda429c5d0dc00956564a7e6e2d34155d8b33327fbf46d7c8d61866.jpg)
Branchement sur une source d'alimentation
Deux types de source d'alimentation peuvent être raccordés à votre caméoscope :
- l'adaptateur CA associé au cordon d'alimentation CA (utilisables lorsque vous filmez en interieur) ;
- la batterie (utilisable lorsque vous filmez en extérieur).
Utilisation de l'adaptateur CA et du cordon CC
- Raccordez l'adaptateur CA au cordon CA.
- Branchez le cordon d'alimentation CA sur une prise murale.
[Remarques]
- Vous doivent utiliser un adaptateur CA de type AA-E8.
-
Le type de la fiche et de la prise murale peut être différent en fonction du pays dans lequel vous résiduez.
-
Branchez le cordon CC sur la prise CC de l'appareil.
- Reglez le caméscope sur chaque mode en tournant le/selecteur de l'interrupteur Power sur CAMERA puis sur PLAYER.
Selection du mode Caméoscope (VP-D353(i)/D354(i)/D355(i) uniquement)
Si vous souhaitez utiliser l'appareil comme caméscope, réglez l'interrupteur Mode sur TAPE.
Si vous souhaitez utiliser l'appareil comme apparéil photo numérique, règlez l'interrupteur Mode sur MEMORY CARD.
Utilisation de la batterie lithium-ion
La durée d'enregistrement en continu disponible dépend de plusieurs facteurs :
- Type et capacité de la batterie utilisée ;
- Fréquence d'utilisation du zoom.
Il est recommandé de-disposer de plusieurs batteries de rechange.
Charge de la batterie lithium-ion
- Insérez la batterie dans le caméscope.
- Raccordez l'adaptateur CA au cordon CA puis branchez ce dernier sur une prise murale.
- Branchez le cordon CC sur la prise CC de l'appareil.
- Tournez l'interruuteur Power sur Off : le témoin de charge se met alors à clignoter, indiquant que la batterie est en cours de charge.

Preparazione
| Fréquence de clignotement | Taux de charge |
| Une fois par seconde | Inférieur à 50 % |
| Deux fois par seconde | 50% ~ 75% |
| Trois fois par seconde | 75% ~ 90% |
| Le clignotement cesse et le tímein reste allumé | 90% ~ 100% |
| Le tímein s'allume pendant une seconde et s'éteint la seconde suivante | Erreur - Replacez la batterie et le cordon CC |
- Une fois qu'elle est complètement chargée, débranche la batterie ainsi que l'adaptateur CA du caméoscope. La batterie se décharge même lorsque l'interrupteur Power est sur Off.
[Remarques]
Il se peut que la batterie soit légèrement chargée au moment de l'achat.
Pour empecher une reduction de la capacité et de la durée de vie de la batterie, retirez-la toujours du camscope après l'avoir complètement chargée.
La durée d'enregistrement en continu disponible dépend de plusieurs facteurs :
- Type et capacité de la batterie utilisée ;
- Fréquence d'utilisation du zoom.
- Mode d'utilisation (caméscope/appareil photo/visée à l'aide de l'écran ACL...) ;
-
Température ambiente. Il est conseilé de prévoir des batteries supplémentaires.
-
Si la batterie est laissée dans son logement, elle continue de se décharger, même lorsque l'interrupteur Power est sur Off.
![SAMSUNG VP-D352 - [Remarques] - 1](/content/2024/11/24152/images/6443431db9591a7e35cab1364d80d927667f5ce54bc8f6c814a7fa813405aa84.jpg)
Tableau des durées d'enregistrement en continu selon le type et le modele de batterie
Si vous rabattez l'écran ACL, celui-ci s'était et le viseur est automatiquement activé.
Les durées d'enregistrement en continu représentées dans le tableau ci-dessous sont approximatives.
La durée d'enregistrement réelle dépend du mode d'utilisation.
| Intervalle de temps Batterie | Durée de charge | Durée d'enregistrement en continu | |
| Ecran ACL actif | Viseur actif | ||
| SB-LSM80 | Environ 1h 20 | Environ 1h 20 | Environ 1h30 |
| SB-LSM160 | Environ 3h | Environ 2h 40 | Environ 3h |
[Remarques]
- Lors de la recharge de la batterie, la température doit être comprise entre 0 et 40^ .
- La batterie ne doit jamais être chargeée lorsque la température ambiente est inférieure à 0^ .
- La durée de vie et la capacité de la batterie seront diminuées si celle-ci est utilisée alors que la température est inférieure à 0^ ou stockée à unetempérature supérieure à 40^ pendant une période prolongée, même en cas de recharge completé.
- Ne placez pas la batterie à proximé d'une source de chaleur (feu ou apparéil de chauffage, par exemple).
La batterie ne doit etre ni demontee, ni forcee, ni chauffee. - Veiliez à ce que les bornes + et – de la batterie ne soient pas court-circuitées. Des fuites, dégagements de chaleur, surchauffes ou incendies peuvent en résultat.
N'utilisez que le modele de batterie SB-LSM80 ou SB-LSM160. - Il est conseilé d'utiliser une batterie d'origine, disponible auprès du service après-vente SAMSUNG.
Preparazione
Affichage du niveau de charge de la batterie
Le témoin du niveau de charge de la batterie indique la quantité d'énergie restante à l'intérieur de cette dernière.
a. Charge complete
b. 20 à 40% utilisés
c. 40 à 80% utilisés
d. 80 à 95% utilisés
e. Batterie épuisée (le témoin de charge clignote)
(Le caméoscope est sur le point de s'arrête;
changez la batterie aussitôt que possible.)

- Veuillez vous reporter au tableau de la page 22 pour connaître les durées approximatives d'enregistrement en continu.
- Ces durées sont dépendantes de la température et des conditions d'utilisation.
- Elle sont sensiblement réduites lorsqu'il fait froid. Les durées d'enregistrement en continu données dans le manuel d'utilisation ont été établies à l'aide d'une batterie complètement chargée fonctionnant à 25^ . Etant donné que la température et les conditions d'utilisation sont variables, la durée d'enregistrement correspondant à la charge restante de la batterie peut différer des valeurs données dans le manuel.
[Notas]
Affichage à l'écran en modes Camera/
- Niveau de charge (voir page 23)
- Mode Effets spécifique numériques (voir page 65)
- EASY.Q (see page 40)
- DIS (voir page 61)
- Program AE
(voir page 63)
6.Mode White balance(voir page 59) - Vitesse de l'obturator (voir page 57)
- Exposition (voir page 57)
- Manual Focus
(voir page 58) - Date/Time
(voir page 33) - Position du zoom (voir page 44)
- NITE pix (voir page 49)
- Color Nite (voir page 47)
- USB (VP-D352j(1)/D353j(1)/D354j(1)/D355j(1) unquintile)
- Telecommande (voir page 28) (VP-D353(i)/D354(i)/D355(i) unique)
- Wind cut
(voir page 56) - BLC (Compensation du contre-jour) (voir page 46)
-
Diode lumineuse (VP-D353(i)/D354(i)/ D355(i) unquiement) (voir page 48)
-
Mode Enregistrement audio (voir page 55)
- Bande restante (en minutes)
- Compteur de bande
- Compteur à zéro (VP-D353(i)/D354(i)/ D355(i) uniquely) (voir page 42)
- Mode Vitesse d'enregistrement
- Mode de fonctionnement
- Retardateur automatique (VP-D353(i)/D354(i)/ D355(i) unquivalent)
- Photo
- Télé/MACRO (voir page 44)
- Lecture audio
- Réglage du volume sonore (voir page 70)
- Entree DV IN (mode de transfert de donnees DV) (VP-D351i/D352i/D353i/ D354i/D355i uniquement) (voir page 80)
- Entree AV IN (VP-D351/D352/D353/D354/D355quintuple)
- Bande son (VP-D353(i)/D354(i)/ D355(i) uniqueness) (voir page 77)
- CONDENSATION (voir page 7)
- Témoin d'ajtestissement (voir page 115)
- Ligne de message (voir page 115)
OSD in Camera Mode

OSD in Player Mode

Affichage à l'écran en modes M.Cam
- Qualité photo
- Témoin CARTE (carte mémoire)
- Compteur d'images
Nombre total d'images figées pouvant être enregistrées.
- Témoin d'enregistrement et de chargement d'image
- Témoin de prévention des suppressions accidentelles (voir page 97)
- Impression (voir page 108)
- Numéro du dossier/fichier (voir page 89)
- Taille de l'image au format JPEG
- Diaporama
Activation/Désactivation de l'affichage à l'écran
Activation/Désactivation de l'affichage à l'écran
Appuyez sur le bouton DISPLAY situé sur le côté gauche de l'appareil.
- Chaque pression sur le bouton permet alternatively d'activer et de désactiver la fonction d'affichage à l'écran.
- Désactivation de l'affichage à l'écran
En mode CAMERA : Les modes STBYet REC s'affichent toujours à l'écran, même lorsque l'affichage à l'écran est désactivié. Les principales informations saissies apparaissent pendant trois secondes avant de disparaitre.
En mode PLAYER : Lorsque vous appuyez sur un bouton de fonction,quel qu'il soit, la fonction s'affiche à l'écran pendant trois secondes avantde disparaître.
Activation/Désactivation de la fonction Date/Heure
Pour activer ou désactiver l'affichage de la date et de l'heure, allez dans le menu et changez le mode Date/Heure. (voir page 33)
Réglage du menu Système
Choix de la langue d'affichage à l'écran
La fonction Langue fonctionne dans les modes Camera</Player/M.Cam/M.Player.
Choisissez la langue d'affichage à l'écran qui vous convient d'après la liste OSD.
- Réglez l'interrupteur Power sur CAMERA ou PLAYER.
- Reglez l'interrupteur Mode sur TAPE ou MEMORY CARD. (modèles VP-D353(i)/D354(i)/D355(i) uniquement)
- Appuyez sur le bouton MENU.
Le listedesomenusapparaft.
- Déplacez le bouton Menu selector vers la gauche ou vers la droite pour sélectionner System
puis appuyez sur Menu selector. - Déplacez le bouton Menu selector vers la gauche ou vers la droite pour sélectionner Language puis appuyez sur Menu selector.
La liste des Langues disponibles s'affiche.

4

- Déplacez le bouton Menu selector vers la gauche ou vers la droite pour sélectionner la Langue d'affichage à l'écran de votre choix puis appuyez sur Menu selector.
L'affichage à l'écran est modifié pour tener compte de la Langue sélectionnée. - Pour quitter le menu, appuyez sur le bouton MENU.
[Remarque]
La fonction "Language" apparait toujours en angeais à l'écran.
Réglage du menu Système
Réglage de l'horloge
Le réglage de l'horloge se fait en modes Camera
L'indication Date/Time
Le listedesomenusapparait.
- Déplacez le bouton Menu selector vers la gauche ou vers la droite pour selectionner System
puis appuyez sur Menu selector. - Déplacez le bouton Menu selector vers la gauche ou vers la droite pour sélectionnier Clock Set
puis appuyez sur Menu selector.
L'année se détache en premier.
- Déplacez le bouton Menu selector vers la gauche ou vers la droite pour sélectionner l'année en cours puis appuyez sur Menu selector.
Le mois se détache alors. - Vous pouvez régler le mois, le jour, l'heure et les minutes en suivant la même procédure que pour le réglage de l'année.
- Appuyez sur le bouton Menu selector après le réglage des minutes.
Le message Complete!
Pourégler l'horloge, sélectionné Year
- Pour quitter le menu, appuyez sur le bouton MENU.
4

(5)

8

[Remarques]
- Àprouse épuisement de la pile au lithium (au bout de six mois environ), la date et l'heure s'affichent à l'écran sous la forme 00:00 1.JAN.2005.
Voupsouspoucezreglerl'horlogejusqu'à l'an2037.
Si la pile au lithium n'est pas installée, aucune des données entrees ne sera sauvégardée.
[Notas]
Réglage du menu Système
Activation de la reconnaissance de la télécommande par le caméoscope (VP-D353(i)/D354(i)/D355(i) uniquement)
La fonction Telecommande ne peut etre activee qu'en modes Camera
Elle vous permet d'activer ou de désactiver la télécommande en vue d'une utilisation avec le caméoscope
- Reglez l'interrupteur Power sur CAMERA ou PLAYER.
- Placez l'interrupteur Mode sur TAPE ou MEMORY CARD.
- Appuyez sur le bouton MENU.
Le liste des menus apparait.
- Déplacez le bouton Menu selector vers la gauche ou vers la droite pour sélectionner System
puis appuyez sur Menu selector. - Déplacez le bouton Menu selector vers la gauche ou vers la droite pour sélectionner Remote
puis appuyez sur Menu selector. - Déplacez le bouton Menu selector vers la droite ou vers la gauche pour sélectionner On
ou Off puis appuyez sur Menu selector. - Pour quitter le menu, appuyez sur le bouton MENU.
[Remarque]
Si, dans le menu, vous reglez l'option Remote
Réglage du menu Système
Réglage du signal sonore
- Camera
/Player /M.Cam / M.Play .
Vous pouvez activer ou désactiver la fonction Beep Sound. Lorsqu'elle est reglee sur On , un signal sonore retentit chaque fois que vous appuyez sur un bouton.
- Reglez l'interrupteur Power sur CAMERA ou PLAYER.
- Placez l'interrupteur Mode sur TAPE ou MEMORY CARD. (modetes VP-D353(i)/D354(i)/D355(i) uniquement)
- Appuyez sur le bouton MENU.
La liste des menus apparait.
- Déplacez le bouton Menu selector vers la gauche ou vers la droite pour sélectionner System
puis appuyez sur Menu selector. - Déplacez le bouton Menu selector vers la gauche ou vers la droite pour sélectionner Beep Sound
puis appuyez sur Menu selector. - Déplacez le bouton Menu selector vers la droite ou vers la gauche pour sélectionner On
ou Off puis appuyez sur Menu selector. - Pour quitter le menu, appuyez sur le bouton MENU.


(4)

(6)
Réglage du menu Système
Réglage du bruit de l'obtraturéur (VP-D353(i)/D354(i)/D355(i) uniquement)
La fonction Bruit de l'obtraturer peut être activée en modes Player
Vous pouze activer ou désactiver la fonction Shutter Sound
- Reglez l'interrupteur Power sur CAMERA ou PLAYER.
- Si l'interrupteur Alim. est reglé sur CAMERA, placez l'interrupteur MODE sur MEMORY CARD. Si l'interrupteur Alim. est reglé sur PLAYER, placez l'interrupteur MODE sur TAPE.
3.Appuyez sur le bouton MENU. La liste des menus apparait. - Déplacez le bouton Menu selector vers la gauche ou vers la droite pour selectionner System
puis appuyez sur Menu selector. - Déplacez le bouton Menu selector vers la gauche ou vers la droite pour selectionner Shutter Sound
puis appuyez sur Menu selector. - Déplacez le bouton Menu selector vers la droite ou vers la gauche pour sélectionner On
ou Off puis appuyez sur Menu selector. - Pour quitter le menu, appuyez sur le bouton MENU.
Réglage du menu Système
Avant de commencer, assurez-vous qu'il n'y a pas de cassette insérée dans votre caméoscope. (voir page 36)
La démonstration vous montre automatiquement les principales fonctions de votre caméoscope afin que vous pioussiez les utiliser plus facilement.
La démonstration vous montre automatiquement les principales fonctions de votre caméoscope afin que vous pioussies les utiliser plus facilement.
La démonstration défile en boucle jusqu'à ce que le mode Demonstration
- Placez l'interrupteur Power sur CAMERA.
- Placez l'interrupteur Mode sur TAPE. (modetes VP-D353(i)/D354(i)/D355(i) uniquement).
- Appuyez sur le bouton MENU.
La liste des menus apparait.
- Déplacez le bouton Menu selector vers la gauche ou vers la droite pour sélectionner System
puis appuyez sur Menu selector. - Déplaceze le bouton Menu selector vers la gauche ou vers la droite pour sélectionner Demonstration
puis appuyez sur Menu selector. - Déplacez le bouton Menu selector vers la droite ou vers la gauche pour selectionner On
puis appuyez sur Menu selector. - Appuyez sur le bouton MENU.
La démonstration commence.
- Pour quitter la démonstration, appuyez sur le bouton MENU.
[Remarques]
- La fonction Demonstration ne fonctionne que si aucune cassette n'est insérée dans le camoscope. Le mode Demonstration
s'active automatiquement lorsque le camoscope reste inutilisé pendant plus de 10 minutes après basculément en mode Camera (aucune cassette n'était insérée dans le camoscope).
Si vous appuyez sur un autre bouton (FADE, BLC, PHOTO, EASY.Q) lorsque vous estes en mode Demonstration, la démonstration s'arrête temporairement puis reprend dix minutes plus tard si aucune autre fonction n'a été activée entre-temps.
Lors du réglage du bouton NITE pix sur ON, la fonction Demonstrationn'est pas accessible.
![SAMSUNG VP-D352 - [Remarques] - 1](/content/2024/11/24152/images/3f2fce256496edf62781a0a609c59a3e833ed0d7ce6cfc723f5eba64ecf59d70.jpg)
(4)
![SAMSUNG VP-D352 - [Remarques] - 2](/content/2024/11/24152/images/634fbad50940ba01c912fa44ae8fff694af3312d60b23571612c0ff26555ac2c.jpg)
![SAMSUNG VP-D352 - [Remarques] - 3](/content/2024/11/24152/images/f8fa77836d4180d012d1d7c24f891265916bd448dbaedd6483d78957f8842e93.jpg)
6
![SAMSUNG VP-D352 - [Remarques] - 4](/content/2024/11/24152/images/468f14873f8bfcf1190a39f72961be32ea709582506dd640333f4e49ab830740.jpg)
Réglages du menu Affichage
Réglage de l'écran ACL
Cette fonction ne peut etre activée qu'en modes Camera / Player / Mode Player>/M.Cam/MPlayer / Mode M.Play>
Your caméoscope est équipé d'un écran à affichage à cristaux liquides de 2,36 pôues, lequel vous permet de visualiser directement les images que vous enregistrez ou lisez.
Selon les conditions dans lesquelles vous utilisez votre caméoscope (en intérieur ou en extérieur, par exemple), vous pouvez régler :
- LCD Bright
-
LCD Colour
-
Réglez l'interrupteur Power sur CAMERA ou PLAYER.
-
Placez l'interrupteur Mode sur TAPE ou MEMORY CARD. (modetes VP-D353(i)/D354(i)/D355(i) uniquement)
-
Appuyez sur le bouton MENU.
La liste des menus apparait.
- Déplacez le bouton Menu selector vers la gauche ou vers la droite pour selectionner Display
puis appuyez sur Menu selector. - Déplacez le bouton Menu selector vers la droite ou la gauche pour sélectionner l'objet que vous souhaitez régler (LCD Bright
ou LCD Colour ) puis appuyez sur Menu selector. - Déplacez le bouton Menu selector vers la croîde ou la gauche pour régler la valeur de l'élement sélectionné (LCD Bright
ou LCD Colour ) puis appuyez sur Menu selector.
La valeur des paramètres LCD Bright
-
Pour quitter le menu, appuyez sur le bouton MENU.
-
Les fonctions LCD Bright
et LCD Colour n' affectent ni la luminosité ni la couleur de l'image qui sera enregistrée.


4

6

Adjus

Select

Exit
Réglages du menu Affichage
Réglage de la date et de l'heure
La fonction d'horodatage ne peut etre activee qu'en modes Camera
La date et l'heure sont enregistrées automatiquement dans une zone de la cassette réservée à ce type de données.
- Réglez l'interrupteur Power sur CAMERA ou PLAYER.
- Placez l'interrupteur Mode sur TAPE ou MEMORY CARD. (modèles VP-D353(i)/D354(i)/D355(i) uniquement)
- Appuyez sur le bouton MENU.
La liste des menus apparait.
- Déplacez le bouton Menu selector vers la gauche ou vers la droite pour sélectionnner Display
puis appuyez sur Menu selector. - Déplacez le bouton Menu selector vers la gauche ou vers la droite pour sélectionner Date/Time
puis appuyez sur Menu selector. - Déplacez le bouton Menu selector vers la gauche ou vers la croite pour sélectionner le type d'affichage de la date et de l'heure puis appuyez sur Menu selector.
Type d'affichage de la date et de l'heure: Off
- Pour quitter le menu, appuyez sur le bouton MENU.
[Remarques]
-
Les informations Date/Time
s'affichent sous la forme 00:00 1.JAN.2005 dans les conditions suivantes : -
lorsqu'une partie vierge d'une cassette est lue;
- la cassette a été enregistrée avant le réglage de la fonction Date/Time
du caméoscope ; -
lorsque la pile au lithium est faible ou décharge.
-
Vous doivent régler l'horloge avant d'utiliser la fonction d'horodatage. Voir Réglage de l'horloge, page 27.
![SAMSUNG VP-D352 - [Remarques] - 1](/content/2024/11/24152/images/3ec921e71553a4a08b2b7b7137fee268a4921cb4d402340c3ce6d4f8561448a6.jpg)
(4)

(6)

Réglages du menu Affichage
Réglage de l'affichage TV
La fonction Affichage TV peut être activée en modes Camera
You pouze selectionner le chemin de sortie de l'affichage à l'écran.
- Off
: l'affichage à l'écran apparait sur l'écran ACL et dans le viseur uniquement. - On
: l'affichage à l'écran apparait sur l'écran ACL, dans le viseur et sur votre écran TV. - Utilisez le bouton DISPLAY situé sur la gauche du caméoscope pour activer/désactiver l'affichage à l'écran (écran ACL/viseur/écran TV).
La liste des menus apparait.
- Déplacez le bouton Menu selector vers la gauche ou vers la droite pour selectionner Display
puis appuyez sur Menu selector. - Déplacez le bouton Menu selector vers la gauche ou vers la droite pour sélectionner TV Display
puis appuyez sur Menu selector. - Pour activer la fonction d'affichage TV, déplacez le bouton Menu selector vers la croite ou la gauche afin de selectionner On
ou Off , puis appuyez sur Menu selector. - Pour quitter le menu, appuyez sur le bouton MENU.

4


6
Enregistrement simple
Utilisation du viseur
En mode PLAYER, le viseur fonctionne lorsque l'écran ACL est replié.
En mode CAMERA, le viseur fonctionne lorsque l'écran ACL est rabattu ou subit une rotation de 180^ dans le sens inverse des aiguilles d'une montre.
Réglage de la mise au point
Le bouton de réglage de la mise au point du visueur permet aux personnes ayant des problèmes de vue de voir les images avec plus de nettété.
- Rabattez l'écran ACL et tirez le viseur.
- Utilisez le bouton de réglage de la mise au point du viseur pour régler la nettedé de l'image.

- Ne regardez pas le soleil ni aucune source de lumière intense dans le viseur pendant une période prolongée : vous risqueriez de subir des léasons oculaires temporaires ou permanentes.
Le viseur fonctionne en mode Lecture lorsque l'écran ACL est rabattu et en mode Camera lorsque l'écran ACL est rabattu ou de face.
[Notas]
Enregistrement simple
Insertion et éjection d'une cassette
Lorsque you inserez une cassette ou fermez le compartment a cassette, faites-le sans brutalité.
sous peine de provoquer un dysfonctionnement de l'appareil.
Utilisez uniquement des cassettes MiniDV.
- Raccordez votre apparéil à une source d'alimentation puis faites glisser le bouton TAPE EJECT.
Le compartmenté à cassette s'ouvre automatique. - Insérez une cassette dans le compartment, la fenêtre de la cassette devant être orientée vers l'extérieur et le volet de protection vers le haut. (Insertion d'une cassette)
La cassette est automatiquement ejectee des que vous exercez une pression vers l'extérieur. (Ejection d'une cassette) - Appuyez sur la zone du compartment à cassette marquee PUSH jusqu'à ce que vous entendiez un déclic.
- Eloiignez la dragonne du tiroir à cassette lorsque vous fermez celui-ci. Vous risqueriez d'endommager l'appareil en coinjectant la dragonne à l'intérieur du compartment à cassette.
La cassette est chargée automatiquement.
[Remarque]
Lorsque vous avez enregistré une série que vous souhaitez conserver, vous pouvez la protégger d'une eventuelle suppression accidentelle.
a. Protection d'une cassette
Pousseze le voit de protection en écriture de la cassette afin de dégager l'ouverture sous-jacente.
b. Retrait de la protection en écriture de la cassette
Lorsque vous ne voulez plus conserver un enregistrement, repoussez le volet de protection en écriture de la cassette afin d'obturer l'ouverture.
Conditions de conservation des cassettes
a. Evitez la proximé d'aimants ou les interférences magnétiques.
b. Evitez les endroits humides ou poussiereux.
c. Conservé la cassette en position verticale et ne la stockez pas dans un endroit exposé à la lumière directe du soleil.
d. Evitez de faire tomber ou de cogner vos cassettes.
![SAMSUNG VP-D352 - [Remarque] - 1](/content/2024/11/24152/images/d1b72201306b49b1d2c2e1cf06d9eda3afb9ce5146d467ba814d010dfeb26acb.jpg)
![SAMSUNG VP-D352 - [Remarque] - 2](/content/2024/11/24152/images/0a24a4fcae257705e15432bfb0d6fd7440c31504e79143dc3a76c8ea9b7ec26f.jpg)
![SAMSUNG VP-D352 - [Remarque] - 3](/content/2024/11/24152/images/39ac625cde4cd7bed26fcefccb60f05f9339092890dbdfd4dbb58696488a63f1.jpg)
![SAMSUNG VP-D352 - [Remarque] - 4](/content/2024/11/24152/images/4ac46d6491f0e5f6709eaae5bc5923bc28d5ae3c74083fc3e68e27f9a00e8ac5.jpg)
Enregistrement simple
Astuces pour une prise de vue stable
Il est très important de tener le caméoscope correctement pendant l'enregistrement.
Fixez fermement le cache-objectif a la dragonne. (voir page 18)
Enregistrement à l'aide de l'écran ACL
- Tenez le caméscope fermement en passant la main dans la dragonne.
- Ramenez Your code drot dans l'alignment du corps.
- Placez votre main gauche sous ou sur le côté de l'écran ACL afin de le soutenir et d'en régler l'orientation.
Ne touche pas le microphone intégré. - Choisissez une position stable et comfortable lors de vos prises de vue.
Vous pouvez vous adosser à un mur ou vous appuyer sur une table pour une plus grande stabilité.
Veillez à respirer sans à-coups. - Utilisez le cadre de l'écran ACL pour repérer l'horizontal.
- Utilisez un trépied lorsque cela est possible.
Enregistrement à l'aide du viseur
- Tenez le caméscope fermement en passant la main dans la dragonne.
- RamenezVote coude crodit dans l'alignement du corps.
- Placez votre main gauche sous le caméoscope pour le soutenir. Assurez-vous de ne pas toucher le microphone intégré.
- Choisissez une position stable et comfortable lors de vos prises de vue.
Vous pouvez vous adosser à un mur ou vous appuyer sur une table pour une plus grande stabilité. - Pour visualiser un sujet dans le viseur, tirez celui-ci jusqu'à ce que vous entendiez un déclic.
Procedez avec délicesse afin de ne pas endommager le viseur. - Collez vous oeil à l'oculaire du viseur.
- Utilisez le cadre du viseur pour repérer l'horizontale.
- Utilizez un trépied lorsque cela est possible.


Enregistrement simple
Techniques d'enregistrement
La technique d'enregistrement peut être adaptée à la scène si vous souhaitez obtenir des résultats plus spectaculaires.
- Enregistrement classique.
- Enregistrement près du sol.
Réalisez une prise de vue en contrélant la scène sur l'écran ACL orienté vers le haut.
- Enregistrement en hauteur.
Réalisez une prise de vue en contrélant la scène sur l'écran ACL orienté vers le bas.
- Enregistrement automatique.
Enregistrez-vous en contrôlant la scène sur l'écran
ACL orienté vers l'avant.
- Enregistrement à l'aide du viseur.
Dans les cas où l'utilisation de l'écran ACL s'avéré difficile, le viseur peut être une option pratique.



[Remarque]
Faites pivoter l'écran ACL avec délicatesses car une rotation excessive peut endommager l'intérieur de la charrière qui relié l'écran ACL au caméscope.
Enregistrement simple
Réalisation de votre premier enregistrement
- BranchezYOUR camescapeur une source d'alimentation (voir page 20) (Batterie ou adaptateur CA.). Inserez une cassette. (voir page 36)
- Retirez le cache-objectif.
- Placez l'interrupteur Power sur CAMERA.
Déployez l'écran ACL.
- Placez l'interrupteur Mode sur TAPE. (modèlees VP-D353(i)/D354(i)/D355(i) uniquement) Assurez-vous que le fémenin STBY
Si le volet de protection en écriture de la cassette est ouvert (position de sauvégarde), STOP et Protection!
Assurez-vous que la scène que vous souhaitez enregistrer apparait sur l'écran ACL ou dans le viseur.
Assurez-vous que levoyant de la batterie indique qu'il reste assez d'énergie pour la durée d'enregistrement prévue.
- Pour commencer l'enregistrement, appuyez sur le bouton Start/Stop.
Le témoin REC
Pour arreter l'enregistrement, appuyez à nouveau sur le bouton Start/Stop.
STBY
[Remarque]
Enlevez la batterie lorsque l'enregistrement est terminé pour prévenir la consommation d'énergie de la batterie.
![SAMSUNG VP-D352 - [Remarque] - 1](/content/2024/11/24152/images/919cc2f2a7c7cb6016b3e2b6e0aa8bbbedabe13145301c52ba721d1d31a90a10.jpg)
Enregistrement simple
Mode EASY.Q (débutants)
Le mode EASY.Q fonctionne uniquement en mode Camera
Le mode EASY.Q permet aux débutants de faire, facilement, de bons enregistements.
- Placez l'interrupteur Power sur CAMERA.
- Placez l'interrupteur Mode sur TAPE. (modèles VP-D353(i)/D354(i)/D355(i) uniquement)
- En appuyant sur le bouton EASY.Q, toutes les fonctions de l'appareil photo sont désactivées et les paramètres d'enregistrement basculent vers les régliées de base suivants :
le niveau de la batterie, le mode d'enregistrement, le compteur, la date/heure et le témoin DIS ( ) s'affichent ;
■ l'indication EASY.Q apparait au même moment sur l'écran ACL. Cependant, la date et l'heure ne s'affichant que si elles ont été préalablement rédigues. (voir page 33)
- Appuyez sur le bouton Start/Stop pour commence l'enregistrement.
L'enregistrement début avec application des réglages automatiques de base.
- Appuyez a nouveau sur le bouton EASY.Q en mode STBY
puis désactiver le mode EASY.Q.
La fonction EASY.Q ne peut etre désactiver en cours d'enregistrement.
L'appareil active à nouveau les réglages définis avant le basculement en mode EASY.Q.
[Remarques]
- Certaines fonctions, comme Menu, BLC (Compensation de contre-jour) et Manual focus
ne sont pas disponibles en mode EASY.Q. Si vous souhaitez utiliser ces fonctions, il faut d'abord désactiver le mode EASY.Q. - Les réglages du mode EASY.Q sont effacés lorsqu'you retirez la batterie. C'est pourquoi ils doivent être réinitialisés lorsqu'you remèttez la batterie en place.
Le mode EASY.Q ne peut être désactivé en cours d'enregistrement. - Prendre une photo à l'aide du bouton PHOTO en mode EASY.Q désactive la fonction DIS uniquement.
- Les fonctions Digital Zoom
., COLOR NITE SHUTTER et Digital Effect ne sont pas disponibles en mode EASY.Q.
![SAMSUNG VP-D352 - [Remarques] - 1](/content/2024/11/24152/images/92090e093cbca7aba98ad562d6162bd00dcc7e227b90e3aedd68005f54845d1f.jpg)
![SAMSUNG VP-D352 - [Remarques] - 2](/content/2024/11/24152/images/7b279b5b6346df0d694aba626e2fbccc9966f1b2371cae9245e644e2c608288a.jpg)
![SAMSUNG VP-D352 - [Remarques] - 3](/content/2024/11/24152/images/e4ed9cd047f860704f231b5ced6c896fdbf12f703f017eb8c46e2465f1fb542f.jpg)
Enregistrement simple
Lorsqu'une cassette est chargée et que le caméoscope est laissé en mode STBY
Pour l'utiliser à nouveau, appuyez sur le bouton Start/Stop ou mettez le bouton Power sur OFF puis à nouveau sur CAMERA.
Cette fonctionnalité d'arrêt automatique est donc pour économiser l'énergie de la batterie.
Recherche d'enregistrement (REC SEARCH)
En mode STBY
Si vous appuyez sur le bouton REC SEARCH - en mode STBY
[Remarque]
En mode Record Search
Enregistrement simple
Mise du compteur à zéro (VP-D353(i)/D354(i)/D355(i) uniquement)
La fonction ZERO MEMORY peut être activée en mode Camera
Vous pouvezposer un repère sur une bande à l'endetroit où vous souhaitez restourer après la lecture.
- Placez l'interrupteur Power sur CAMERA ou PLAYER.
- Placez l'interrupteur Mode sur TAPE.
- Appuyez sur le bouton ZERO MEMORY de la télécommande avant l'enregistrement ou pendant la lecture à l'endetroit où vous souhaitez revenir.
Le code temps est remplaced par un compteur de bande qui prend la forme 0:00:00 (semoin ZERO MEMORY).
Pour désactiver la fonction ZERO MEMORY, appuyez à nouveau sur le bouton ZERO MEMORY.
-
Retour à la position zéro
-
Àprous arrêt de la lecture, faites avancer ou rembobinez la bande. La défillement s'arrête automatiquement lorsque la position zéro est atteinte.
En fin d'enregistrement, réglez l'interrupteur Alim. sur PLAYER puis appuyez sur le bouton (Ret. Rapide).
La défilament s'arrête automatiquement lorsque la position zéro est atteinte.
- Le compteur de bande et le témoin (ZERO MEMORY) disparaissent de l'écran au profit du code temps.
[Remarques]
- Le mode ZERO MEMORY peut être désactiver automatiquement dans les situations suivantes :
- à la fin d'une série déjà marquee d'un repère ZERO MEMORY;
- si vous retirez la cassette ;
- si vous otez la batterie ou débranchez l'appareil.
La mise à zéro peut ne pas fonctionner correctement aux endroits de la cassette caractérisés par une coupure entre deux enregistements.
![SAMSUNG VP-D352 - [Remarques] - 1](/content/2024/11/24152/images/e1b7f2dc94bd67c196297f2462d81cc3742ab0128f3345240be771b31297a0f4.jpg)
![SAMSUNG VP-D352 - [Remarques] - 2](/content/2024/11/24152/images/d1aba6806a38392ef494a0a6a54b90a686467bbd26dcff53672bcf7bde322a02.jpg)
Enregistrement simple
Enregistrement automatique à l'aide de la télécommande (VP-D353(i)/D354(i)/D355(i) uniquement)
La fonction SELF TIMER
Lorsque you utilisez la fonction Self Timer
- Placez l'interrupteur Power sur CAMERA.
- Placez l'interrupteur Mode sur TAPE.
- Appuyez sur le bouton SELF TIMER jusqu'à ce que le témoin correspondant apparaisse sur l'écran ACL.
-
Appuyez sur le bouton Start/Stop pourmettre le retardateur en marche.
-
Le retardateur automatique lance le compte à rebours à partir de dix en émettant un bip sonore.
- Dans la première seconde du compte à rebours, le bip sonore s'accelèse puis l'enregistrement débute automatiquement.
-
Si vous souhaitez désactiver la fonction Retardateur automatique avant l'enregistrement, appuyez sur le bouton SELF TIMER.
-
Appuyez sur le bouton Start/Stop une nouvelle fois lorsque vous voulez arrêté l'enregistrement.
[Remarques]
- Ne généz pas le capteur de votre télécommande en plaçant des obstacles entre la télécommande et le caméoscope.
La portée de la télécommande est de 4 5m
La télécommande peut être orientée sans dysfonctionnement jusqu'à 30 degrés de part et d'autres de la ligne Médiane de l'appareil.
L'utilisation d'un trépied est recommendée pour les enregistements retardés.
![SAMSUNG VP-D352 - [Remarques] - 1](/content/2024/11/24152/images/3562a41c70451e53b88025dfc87a89b7f5319b41d16401e804509baaa0b673b4.jpg)
![SAMSUNG VP-D352 - [Remarques] - 2](/content/2024/11/24152/images/8d18f29fcc7bcbcee1effc2866bce06f6e53431a26e4b877ccd4722a8ac4e3ac.jpg)
![SAMSUNG VP-D352 - [Remarques] - 3](/content/2024/11/24152/images/574226ca9d6d34613b8984a3165d5d4bea836d084789dbb00fbdddac6a088a88.jpg)
Enregistrement simple
Zoom avant et arrêté
La fonction Zoom peut être activée en mode Camera
Le zoom est une technique d'enregistrement grâce à laquelle vous pouvez modifier la taille du sujet d'une scène.
Vous pouvez recourir à différentes vitesses de zoom.
Néanmoins, il est conseilé d'utiliser une même vitesse pour une prise de vue donnée. Veuillez noter qu'une utilisation excessive du zoom peut produit des résultats peu professionnelles et entrainer une réduction de la durée d'utilisation de la batterie.
1. Actionnez légarement le bouton de zoom pour obtenir un effet de zoom régulier. A l'inverse, actionnez-le complètement pour bénéficier d'un effet de zoom accéléRED.
-
Vous pouvez contrôler l'effet de zoom à l'écran.
-
Position T (teleobjectif) : le sujet semble se rapprocher.
- Position W (grand angle): le sujet semble s'éloigner.
- Vous pouvez enregistrer un sujet se trouvant à environ 10mm de l'objet en position grand angle.
La fonction Téle/Macro peut être activée en mode Camera
La facale réelle en mode Téle/Macro est de 50 100~cm
- Appuyez sur le bouton MACRO.
L'icône Téle/Macro ( ) apparait. - Pour désactiver la fonction Télé/Macro, appuyez à nouveau sur le bouton MACRO.
[Remarques]
Lorsque vous enregistrez en mode Téle Macro, la mise au point peut être lente.
Lorsque vous utilisez la fonction Zoom en mode Téle/Macro, le sujet de l'enregistrement peutARAItre flou.
En mode Téle/Macro, utilisez un trédied pour évrier que votre main ne tremble.
Evitez les ombres lorsque vous enregistrez en mode Téle/Macro.
Lorsque la distance entre vous et le sujet enregistré diminue, la zone de mise au point se réduit.
Lorsque vous n'arrivez pas à Brokerir une mise au point correcte, actionnez le bouton de zoom.
![SAMSUNG VP-D352 - [Remarques] - 1](/content/2024/11/24152/images/85ea4c4d7a2fc4af7f9940f472afbf68aeaf4bce1acfeec525e01a89d4f17c87.jpg)
![SAMSUNG VP-D352 - [Remarques] - 2](/content/2024/11/24152/images/eb3b92d17d7b7614da21682337d09a96d55a7e341475d9e58f2203795503de76.jpg)
Uso di Tele Macro
Enregistrement simple
Ouverture et fermetre en fondu
La fonction FADE ne fonctionne qu'en mode Camera
+ Vous pouvez donner à votre enregistrement un aspect professionnel en utilisant des effets spéciaux comme l'ouverture ou la fermeture en fondu au début ou à la fin d'une série.
Lancement d'un enregistrement
- Placez l'interrupteur Power sur CAMERA.
- Placez l'interrupteur Mode sur TAPE. (modèles VP-D353(i)/D354(i)/D355(i) uniquement)
- Avant d'enregistrer, maintenez le bouton FADE enforcé.
L'imaget le son disparaisent progressivement (fermeture en fondu).
- Appuyez sur le bouton Start/Stop et relâchéz le bouton FADE en même temps.
L'enregistrement démarre et l'image et le son apparaissent progressivement (ouverture en fondu).
Arrêt d'un enregistrement (ouverture/fermeture en fondu)
- Lorsque vous souhaitez arrêté l'enregistrement, maintenez le bouton FADE enforcé.
L'imagé et le son disparaisent progressivement (fermeture en fondu).
- Lorsque l'image a totalement disparu, appuyez sur le bouton Start/Stop pour arreter l'enregistrement.








a. Fermetre en fondu (envoron 4 secondes)
b. Ouverture en fondu (environ 4 secondes)
Enregistrement simple
Mode Compensation de contre-jour (BLC)
Le mode BLC fonctionne en mode Camera
+ Un contre-jour se produit lorsque le sujet est plus souvent que l'arrière-plan. C'est le cas lorsque:
- Le sobjet est placé devant une fenêtre
- Le sujet à être enregistré porte des vêtements blancs ou brillants et est placé
devant un arrêtre-plan éclairé, le visage de la personne étant trop nombre on ne peut pas désigner ses traits.
- Le sujet est à l'extérieur et l'arrière-plan est recouvert.
- La source de lumière est trop brillante.
- Le sujet est encore dans un arrêt-plan blanchâtre.


- Pour quitter le mode BLC, appuyez à nouveau sur le bouton BLC.
A chaque pression sur le bouton BLC, une option apparait selon cet ordre: Normal BLC Normal.
[Remarques]
Lorsque le bouton NITE pix est sur ON, la fonction BLC (Contre-jour) n'est pas opérationnel.
La fonction BLC (Contre-jour) ne peut etre activée en mode EASY.Q.
![SAMSUNG VP-D352 - [Remarques] - 1](/content/2024/11/24152/images/4e5f447fe65219afb7ef3c2288b520867ff3cdf37bccd2b1f8b1399569a4ddf0.jpg)
![SAMSUNG VP-D352 - [Remarques] - 2](/content/2024/11/24152/images/3159e4bb33eebb12803c427ffb5bcd8639bbd9d6016dd645c5712f705eb6c870.jpg)
Enregistrement simple
La fonction COLOR NITE SHUTTER ne fonctionne qu'en mode Camera
La vitesse de l'obturator peut etre controllee de façon a permettre
l'enregistrement de sujets se déplaçant lentement.
La fonction COLOR NITE SHUTTER peut donner une image plus lumineuse.
- Placez l'interrupteur Power sur CAMERA.
-
Placez l'interrupteur Mode sur TAPE. (modèles VP-D353(i)/D354(i)/D355(i) uniquement)
-
Appuyez sur le bouton COLOR NITE SHUTTER.
- Chaque fois que vous appuyez sur le bouton COLOR NITE SHUTTER, la vitesse de l'obturateur change, l'ordre étant le suivant;
▶ Color N. 1/25, Color N. 1/13 et off
La fonction COLOR NITE SHUTTER ne peut etre ON ou OFF en cours d'enregistrement.
Lorsque you utilisez la fonction COLOR NITE SHUTTER, la sequence est dotée d'un effet de ralenti.
Lorsque vous utilisez la fonction COLOR NITE 4 SHUTTER, la mise au point se fait lentement et des points blancs apparaisent parfois sur I'ecran. Ce phénomene est toutfois normal.
La fonction COLOR NITE SHUTTER n'est pas disponible lorsque les modes DIS, Prise de photo ou EASY.Q sont activés.
- Les fonctions Digital Zoom
En mode DIS ou EASY.Q, le mode COLOR NITE SHUTTER n'est pas actif.

4
STBY
SP
0:00:10

Color N.1/25
Enregistrement simple
Utilisation de la fonction Color Nite Shutter avec éclairage (VP-D353(i)/D354(i)/D355(i) uniquement)
La fonction COLOR NITE SHUTTER ne fonctionne qu'en mode Camera
- Une diode lumineuse vous permet d'enregistrer un sujet dans le noir sans altération de la couleur.
Cette diode ne peut etre utilise qu'vec la fonction COLOR NITE SHUTTER.
- Placez l'interrupteur Power sur CAMERA.
- Placez l'interrupteur Mode sur TAPE.
- Appuyez sur le bouton COLOR NITE/LED LIGHT jusqu'à ce que l'indication Color N. 1/13 ( ) apparaisse à l'écran.
[Remarques]
La fonction COLOR NITE/LED LIGHT ne peut etre ON ou OFF en cours d'enregistrement.
La portée de la diode est limitée (2 m maximum).
Danger
La diode lumineuse peut devenir très chaude.
Ne la touchez pas pendant l'enregistrement ou juste après extinction : des blessures graves pourrait en résultat.
- Ne remettez pas le caméoscope dans son étui tout de suite après utilisation de la diode car cette-ci demeure extrément chaudierpendant un certain temps.
- Ne l'utilise pas à proximé de matières inflammables ou explosives.



Enregistrement simple
Bouton Nite Pix (prise de vue dans le noir)
La fonction Nite Pix peut être activée en mode Camera
La fonction Nite Pix vous permet d'enregistrer un sujet dans le noir.
- Placez l'interrupteur Power sur CAMERA.
- Placez l'interrupteur Mode sur TAPE ou MEMORY CARD. (modetes VP-D353(i)/D354(i)/D355(i) uniquement)
- Faites glisser l'interrupteur NITE pix sur ON.
Le témoin Nite Pix ( ) apparait sur l'écran ACL.
L'éclairage infrarouge s'allume automatiquement.
- Pour désactiver la fonction Nite Pix, faites glisser l'interrupteur NITE_PIX sur OFF.

La distance maximale d'enregistrement avec utilisation de l'éclairage infrarouge est d'environ 3 m.
Si vous utilise la fonction Nite Pix dans des conditions d'enregistrement normales (par exemple en extérieur et de jour), l'image enregistrée peut afficher une teinte verte.
Le mode Nite Pix n'est pas disponible lorsque vous prenez des photos.
- Certaines fonctions ne sont pas disponibles en mode Nite Ptx, comme par exemple Exposure
Si la mise au point est difficile en mode Auto Focus
Ne placez pas votre main devant la lampe infrarouge.
Ne place pas le bouton NITE pix sur ON en cas de lumière vivie. Cela pourrait endommager la mémoire à transfert de charge.


[Notas]
Enregistrement simple
La fonction Power Nite Pix ne s'utilise qu'en mode Camera
La fonction Power Nite Pix peut detenregister un sujet dans le noir avec davantage de luminosità que ne le permet la seule fonction Nite Pix.
Lorsquevous travaillenzemodePowerNitePix,I'icone correspondante restesteaffichae en continu sur I'ecran ACL.
Le mode Power Nite Pix n'est pas disponible lorsque vous prenez des photos ou lorsque le mode EASY.Q est activé.
Power Nite Pix
- Placez l'interrupteur Power sur CAMERA.
- Placez l'interrupteur Mode sur TAPE. (modèles VP-D353(i)/D354(i)/D355(i) uniquely)
- Actionne le bouton NITE FIGuis appuyez sur COLOR NITE SHUTTER.
- Appuyez sur le bouton COLOR NITE SHUTTER pour régler la vitesse de l'obturator.
Lorsque you utilisez la fonction Power Nite Pix, l'image semble etree dotede un effet de ralenti.
La fonction d'obturator lent vous permet d'enregistrer un sujet avec davantage de luminosité.
- Chaque fois que vous appuyez sur le bouton COLOR NITE SHUTTER, la vitesse de l'obturateur est modifiée, l'ordre est le suivant: Color N. 1/25, Color N. 1/13, Color N. 1/13 (24) et déactivation de la fonction.
- Pour désactiver la fonction Power Nite Pix, appuyez sur le bouton COLOR NITE SHUTTER puis faites glisser l'interrupteur NITE pix en position OFF.


[Remarques]
- La fonction Power Nite Pix ne peut être ON ou OFF en cours d'enregistrement.
La distance maximale d'enregistrement avec utilisation de l'éclairage infrarouge est d'environ 3 m.
Si vous utilise la fonction Power Nite Pix dans des conditions d'enregistrement normales (par exemple en extérieur et de jour), les couleurs des images enregistrées peuvent parfaître artificielles.
Certaines fonctions ne sont pas disponibles en mode Power Nite Pix, comme par exemple Exposure, White Balance , Program AE , Digital Effect , BLC (Compensation de contre-jour), Digital Zoom et Manual Focus .
![SAMSUNG VP-D352 - [Remarques] - 1](/content/2024/11/24152/images/21576148ae9efe7158cb5aa5319ee3eeb88f1c2127e4a79437829154da93bcbe.jpg)
Enregistrement avancé
Utilisation des différentes fonctions
Réglages
| Menu principal | Menu seconde | Functions | Mode disponible | Page | |||
| Camera | Player | M.Cam ⑤ | M Player ⑥ | ||||
| Camera | Program AE <Prog. AE> | Sélection de la fonction d'exposition automatique programmable | ✓ | 63, 64 | |||
| White Balance <Bal. Blancs> | Réglage de la balance des blancs | ✓ | ✓ | 59 | |||
| Digital Effect <Effet Digital> | Clos des effets spécaux numériques | ✓ | 65, 66 | ||||
| DIS | Sélection du stabilisateur d'image numérique | ✓ | 61 | ||||
| Digital Zoom <Zoom Num.> | Sélection du zoom numérique | ✓ | 67 | ||||
| Tape | Photo Search <Rech. Photo> | Recherche d'images enregistrées sur une cassette | ✓ | 68 | |||
| Photo Copy <Copie Photo> | Copie d'images figées d'une cassette vers la carte+mémoire | ✓ | 105 | ||||
| Audio Select <Select. Audio> | Sélection du canal de lecture audio | ✓ | 78 | ||||
| Record | Mode Rec <Mode Enr> | Sélection de la vittée d'enregistrement | ✓ | ✓ ③ | 54 | ||
| Mode Audio <Mode Audio> | Sélection de la qualité du son de l'enregistrement | ✓ | ✓ | 55 | |||
| Wind Cut <Coupe Vent> | Réduction du bruit du vent | ✓ | ✓ | 56 | |||
| AV InOut <Ent/Sor AV> ⑧ | Choix de l'entree/sorlie AV | ✓ | 76 | ||||
| Memory | Memory Type <Type Mémoire> ③ | Sélection du type de mémoire | ✓ | ✓ | ✓ | 90 | |
| Photo Quality <Qualité Photo> | Sélection de la quality d'imagerie | ✓ | ✓ | 91, 92 | |||
| M Play Select <Séral Mémoire> | Sélection du support (Photo, Movie -Film-) de lecture/Deleteing Fles | ✓ | 103, 104 | ||||
| Delete <Supprimer> | Suppression de fichiers | ✓ | 99, 100 | ||||
| Delete All <Tout Supprimer> | Suppression de tous les fichiers | ✓ | 99 | ||||
| Protect <Protégier> | Présvention des suppressions accidentelles | ✓ | 97, 98 | ||||
| Print Mark <Voyant D'lap> | Impression d'images enregistrées sur une carte+mémoire | ✓ | 108, 109 | ||||
| Copy To <Copier vers> ③ | Copie d'une image de la carte+mémoire vers la mèmoire int. | ✓ | 107 | ||||
| Format | Formatte de la carte+mémoire | ✓ | 101 | ||||
| File No. <Numéro Fichier> | Options de désignation des fichiers | ✓ | 93 | ||||
(1): VP-D353(i)/D354(i)/D355(i) uniquement
(2): VP-D351i/D352i/D353i/D354i/D355i uniquement
(3): VP-D354(i)/D355(i) uniqueness
Enregistrement avancé
| Menu principal | Menu secondaire | Fonctions | Mode disponible | Page | |||
| Camera | Player | M Cam ① | M Player ① | ||||
| Display<Affiche> | LCD Bright<.Lum. LCD> | Réglage de la luminosité de l'écran ACL | ✓ | ✓ | ✓ | ✓ | 32 |
| LCD Colour<.Coulor LCD> | Réglage des couleurs de l'écran ACL | ✓ | ✓ | ✓ | ✓ | 32 | |
| Date/Time<.Date/Heure> | Réglage de la date et de l'Heure | ✓ | ✓ | ✓ | ✓ | 33 | |
| TV Display<.Affiche TV> | Activation/Désactivation de l'affichage des menus sur écapan de télévision | ✓ | ✓ | ✓ | ✓ | 34 | |
| System<sys> | Clock Set<Param. Horloge> | Réglage de l'Heure | ✓ | ✓ | ✓ | ✓ | 27 |
| Remote ①<.Télécommande> | Utilisation de la télécommande | ✓ | ✓ | ✓ | ✓ | 28 | |
| Beep Sound<Sign Sonore> | Réglage du signal sonore | ✓ | ✓ | ✓ | ✓ | 29 | |
| Shutter Sound ①<.Son Obtraturer> | Réglage du bruit de l'obtraturer | ✓ | ✓ | 30 | |||
| USB Version ①<version USB> | Choix de la version du transfert USB | ✓ | ✓ | 83 | |||
| USB Connect ①<.Connexion USB> | Activation du transfert USB | ✓ | 82 | ||||
| Language | Choix de la langue d'affichage à l'écran | ✓ | ✓ | ✓ | ✓ | 26 | |
| Demonstration<.Demonstration> | Démonstration | ✓ | 31 | ||||
(1): VP-D353(i)/D354(i)/D355(i) uniquement
(4): VP-D352(i)/D353(i)/D354(i)/D355(i) uniquement
Enregistrement avancé
Disponibilité des fonctions dans chaque mode
| Mode requis Mode de fonctionnement | Fonctions numériques | Effets spéciaux numériques | Nite Pix | ||||||
| DIS | Digital Zoom <Zoom Num.> | PHOTO (TAPE <Cassette>) | Color Nite Shutter | 16:9 Wide <16:9> | Emboss2 <Relief2>, Paste2 Mirr -<Mirr>, Mosaic -<Mosaic> | Autres effects spéciaux numériques | |||
| DIS | × | ☆ | × | × | × | O | O | ||
| Digital Zoom <Zoom Num.> | Δ | ☆ | ☆ | ☆ | ☆ | O | O | ||
| PHOTO (TAPE <Cassette>) | × | × | × | × | × | × | × | ||
| Color Nite Shutter | Δ | × | × | × | × | O | O | ||
| Digital Effect <Effect Digital> | 16:9 WIDE <16:9> | Δ | × | × | Δ | Δ | |||
| Emboss2<Relief2> Paste2 Mirr <Mirr> Mosaic <Mosaic> | Δ | × | O | Δ | Δ | ||||
| Autres effects spéciaux numériques | O | O | O | O | Δ | ||||
| Nite Pix | O | O | O | O | × | × | × | ||
O: Le mode requis et le mode de fonctionnement sont compatibles.
X : Vous ne pouvez pas modifier le mode requis.
: Le mode de fonctionnement est désactifé et le mode requis acté.
☆: Le mode de fonctionnement est désactifé et le mode requis actifé (les données du mode de fonctionnement sont sauvégardées).
[Remarque]
Lorsque you selectionnez un élément qui ne peut être modifié, un message d'erreur apparait.
Enregistrement avancé
Le mode Record est usable en modes Camera
+ Ce caméscope enregistrre et lit en modes SP (vitesse normale) et LP (vitesse lente).
- SP (vitesse normale): ce mode permet de bénéficier d'une durée d'enregistrement de 60 minutes avec une cassette de type DVM60.
LP (vitesse lente): ce mode permet de bénéficier d'une durée d'enregistrement de 90 minutes avec une cassette de type DVM60.
La liste des menus apparait.
- Déplacez le bouton Menu selector vers la gauche ou vers la droite pour sélectionn Record
fais appuyez sur Menu selector. - Déplacez le bouton Menu selector vers la croite ou vers la gauche pour selectionner Rec Mode
puis appuyez sur Menu selector. - Déplacez le bouton Menu selector vers la croite ou vers la gauche pour selectionner le mode d'enregistrement souhaité (SP ou LP) puis appuyez sur Menu selector.
- Pour quitter le menu, appuyez sur le bouton MENU.
L'icone correspondante s'affiche.
[Remarques]
- Nous vous recommendons d'utiliser votre caméoscope pour la lecture des cassettes que vous aurez enregistrées avec lui.
La lecture d'une cassette enregistrée sur d'autres apparèels peut entraîner une déformation de l'image, cette-ci apparaissant sous forme de mosaique.
Lorsque you enregistrez une cassette à la fois en modes SP et LP ou uniquement en mode LP, il se peut que l'image soit déformée à la lecture ou que le code temps n'apparaissé pas correctement entre les scènes.
Enregistrez en mode SP pour obtenir la(Meilleure qualite d'image et de son.
![SAMSUNG VP-D352 - [Remarques] - 1](/content/2024/11/24152/images/0e5c65887a7f311860a3c53e14d9a8134ff67fe8b326d7ddf35805e3deca16db.jpg)
4
![SAMSUNG VP-D352 - [Remarques] - 2](/content/2024/11/24152/images/7348cbcd89a6617355d10259c982a4457b4656159330ad49bc2eb79d71c341ab.jpg)
(6)
![SAMSUNG VP-D352 - [Remarques] - 3](/content/2024/11/24152/images/1509b96f673a10176e20a614b4ecdc2e331045aa95df02826c0204c980b06896.jpg)
7
Enregistrement avancé
Le mode Audio peut être activé en mode Camera
Ce caméscope enregistre lessons sous deux formats (12Bit, 16Bit).
-
12Bit : vous pouvez enregistrer deux pistes 12 Bits en son stéreo.
Le son stéreo original peut être enregistré sur la piste principale (Sound1).
Le son stéreo complémentaire peut être post-sonorisé sur la piste secondaire (Sound2). -
16Bit : vous pouvez enregistrer un son stéroide haute définition grâce au mode d'enregistrement 16 Bits.
La post-sonorisation n'est pas possible lorsque vous utilise ce mode.
- Placez l'interrupteur Power sur CAMERA ou PLAYER.
- Placez l'interrupteur Mode sur TAPE. (modèles VP-D353(i)/D354(i)/D355(i) uniquement)
- Appuyez sur le bouton MENU.
La liste des menus apparait.
- Déplacez le bouton Menu selector vers la gauche ou vers la droite pour sélectionnner Record
puis appuyez sur Menu selector. - Déplacez le bouton Menu selector vers la croite ou vers la gauche pour selectionner Audio Mode
puis appuyez sur Menu selector. - Déplacez le bouton Menu selector vers la croite ou vers la gauche pour sélectionner le mode audio souhaite (12Bit ou 16Bit) puis appuyez sur Menu selector.
- Pour quitter le menu, appuyez sur le bouton MENU.
[Remarque]
Lorsque le mode 12Bit est sélectionné, le témoin 12Bit ne s'affiche pas à l'écran.
Enregistrement avancé
Fonction Suppression du bruit du vent (Wind Cut)
La fonction Wind Cut
La fonction Wind Cut
- Lorsque la fonction Suppression du bruit du vent est activée, certains bruits très faibles sont éliminés en même temps que le bruit du vent.
- Placez l'interrupteur Power sur CAMERA ou PLAYER.
- Placez l'interrupteur Mode sur TAPE. (modèles VP-D353(i)/D354(i)/D355(i) uniquement)
- Appuyez sur le bouton MENU.
La liste des menus apparait.
- Déplacez le bouton Menu selector vers la gauche ou vers la droite pour sélectionnner Record
puis appuyez sur Menu selector. - Déplacez le bouton Menu selector vers la droite ou vers la gauche pour sélectionner Wind Cut
puis appuyez sur Menu selector. - Pour activer la fonction Wind Cut
, déplacez le bouton Menu selector vers la droite ou la gauche pour selectionner On . Appuyez ensuite sur Menu selector. - Pour quitter le menu, appuyez sur le bouton MENU.
L'icone Wind Cut
[Remarque]
Assurez-vous que la fonction Wind Cut
![SAMSUNG VP-D352 - [Remarque] - 1](/content/2024/11/24152/images/594b1d1c01b2d387ab4278064d09a0fa0f19f71b3286da366da3e3f1d675df40.jpg)
![SAMSUNG VP-D352 - [Remarque] - 2](/content/2024/11/24152/images/8ba5acdefc7203aeace4639faf3ec142167bb6636600d1beae3fb827948a1232.jpg)
![SAMSUNG VP-D352 - [Remarque] - 3](/content/2024/11/24152/images/fc3117cdac3473c6cdbc618d4556b4c7f6deb8c3ab8113bf80d9f00a49c104a5.jpg)
Enregistrement avancé
Réglage de la vitesse de l'obturator et de l'exposition
Vous pouvez regier la fonction Shutter Speed
La fonction Exposure
Le menu rapide sert a acceder aux fonctions du camescope gracé à une simple manipulation du bouton Menu selector.
- Placez l'interrupteur Power sur CAMERA.
- Placeze I interrupteur Mode sur TAPE. (modes VP-D353(i)/D354(i)/D355(i) unquielement)
- Appuyez sur Menu selector.
La liste des menus rapide apparait.
- Déplacez le bouton Menu selector vers la droite ou vers la gauche pour scélectionner Shutter
ou Exposure puis appuyez sur Menu selector. - Déplacez le bouton Menu selector vers la droite ou vers la gauche pour sélectionner Manual
puis appuyez sur Menu selector. - Déplacez le bouton Menu selector vers la droite ou vers la gauche pour sélectionner la vitesse de l'obturator ou l'exposition désirable puis appuyez sur Menu selector.
La vitesse de l'obturator peut être réglée sur 1/50, 1/120, 1/250, 1/500, 1/1000, 1/2000, 1/4000 ou 1/10000.
La valeur d'exposition peut etre reglee entre 00 et 29.
- Pour quitter le menu, appuyez sur le bouton MENU.
- Les réglages sélectionnés s'affichent à l'écran.
Choix de la vitesse d'obturateur en fonction du type d'enregistrement
Sports de plein air comme le golf ou le tennis : 1/2000 ou 1/4000
+ Trains ou voitures en mouvement ou tout autre vehicule se déplacant rapidement (wagonnet de montagnes russes, par exemple): 1/1000, 1/500 ou 1/250
Sports en salle comme le basketball : 1/120
[Remarques]
Si vous modifie manuellement les valeurs Shutter Speed
L'imagpe peut parafirme moins lissé lorsquel vitesse de I'obturateur est elevée.
Le caméoscope repasse en réglage automatique de la vités d'obtraturé et de l'exposition lorsqu'on regèze NITE PIX sur ON ou lorsque vous revenrez aux modes EASY.Q.
En enregistant avec une vitesse d'obtraturer de 1/1000 ou plus, assurez-vous que l'objet n'est pas en plein soleil.
L'imagpe peut paraftre moins lissé lorsque la vitesse de l'obturateur est elevée.
- Le caméoscope repasse en réglage automatique de la vités d'obtraturé et de l'exposition lorsqu'on doivent rédigrez NITE PIX sur ON ou lorsque vous revènze aux modes EASY.Q.
En enregistrant avec une vitesse d'obtraturé de 1/1000 ou plus, assurez-vous que l'objet n'est pas en plein soleil.
![SAMSUNG VP-D352 - [Remarques] - 1](/content/2024/11/24152/images/a5a963043e365603aa5990c0c988638527c276a1409a19cf95e4bdf51df89d37.jpg)
3
![SAMSUNG VP-D352 - [Remarques] - 2](/content/2024/11/24152/images/aebaf94f5e8eb3ff6e6bc06168694d78aaad525aa2c26e779d4632f409c94736.jpg)
(5)
![SAMSUNG VP-D352 - [Remarques] - 3](/content/2024/11/24152/images/cbb1a29971382b9c993ce0cb9c1e401c3e61049750a4a22ae64e087ff318502d.jpg)
(6)
Enregistrement avancé
Fonction Auto Focus/Manual Focus (mise au point automatique/manuelle)
La fonction Auto Focus/Manual Focus
Il est préféroyable, dans la plupart des cas, d'utiliser la mise au point automatique car elle vous permet de vous concentrer sur la partie créative de votre enregistrement.
La mise au point manuelle peut s'avérer nécessaire dans certains cas où la mise au point automatique est difficile ou peuifiable. La fonction Manual Focus
Mise au point automatique
Si vous n'étés pas familiarisé(e) avec les caméscopes, nous vous conseillons d'utiliser la mise au point automatique.
Mise au point manuelle
-
Dans les situations suivantes, il est possible que vous obtienez deGXmeilleurs rclutats en faisant la mise au point manuellement :
a. image comptant plusieurs objets, certains proches du camescope, d'autres plus élogénés ;
b. sujet enveloppè par le brouillard ou se détachant sur un fond enneige ;
c. surfaces brillantes ou luisantes comme une carroserie de voiture ;
d. sujet ou objet se déplacant de manière constante et rapide, tel un sportif ou une foule. -
Placez l'interrupteur Power sur CAMERA.
- Placez l'interrupteur Mode sur TAPE ou MEMORY CARD. (modetes VP-D353(i)/D354(i)/D355(i) unquivalent)
- Appuyez sur Menu selector.
- Déplacez le bouton Menu selector vers la droite ou vers la gauche pour sélectionner Manual Focus
puis appuyez sur Menu selector. - Déplacez le bouton Menu selector vers la croîte ou vers la gauche pour sélectionner On
puis appuyez sur Menu selector.
Le témoin de mise au point manuelle (_E^T) clignote.
- Déplacez le bouton Menu selector vers la gauche ou la droite jusqu'à ce que l'objet soit net.
[Remarque]
La mise au point manuelle n'est pas disponible en mode EASY.Q.






Enregistrement avancé
Réglage de la balance des blancs
La fonction White Balance
La fonction White Balance
Vous pouvez selectionner le mode Balance des blancs approprié pour obtenir une couleur d'image de bonne qualité.
-
Auto () : ce mode est généralement utilisé pour contrôler automatique la balance des blancs.
Hold():ce mode permé de mémoriser la valeur de la balance des blancs actuelle.
Indoor( ) : ce mode permet d'adapter la balance des blancs aux conditions d'enregistrement en interieur : -
Sous une lampe halogène ou un éclairage studio/vidéo ;
- Présence d'une couleur dominante sur le sujet ;
-
Gros plan.
-
Outdoor
(S) : ce mode permet d'adapter la balance des blancs aux conditions d'enregistrement en extérieur : -
De jour, notamment pour les gros plans et les cas où le sujet est d'une couleur dominante.
-
Placez l'interrupteur Power sur CAMERA.
- Placez l interrupteur Mode sur TAPE ou MEMORY CARD. (modetes VP-D353(i)/D354(i)/D355(i) uniquely)
- Appuyez sur le bouton MENU.
La liste des menus apparait.
- Déplacez le bouton Menu selector vers la gauche ou vers la droite pour selectionner Camera
puis appuyez sur Menu selector. - Déplacez le bouton Menu selector vers la droite ou vers la gauche pour sélectionner White Balance
puis appuyez sur Menu selector. - Déplacez le bouton Menu selector vers la droite ou vers la gauche pour sélectionner le mode souhaïte (Auto, Hold
, Indoor ou Outdoor ) puis appuyez sur Menu selector. - Pour quitter le menu, appuyez sur le bouton MENU.
Aucune icone ne s'affiche à l'écran lorsque le mode Auto est sélectionné.
4

6

7
Enregistrement avancé
Menu rapide : Balance des blancs
Le menu rapide sert à acceder aux fonctions de votre caméoscope grâce à une simple manipulation du bouton Menu selector.
Le menu rapide offre une plus grande facilité d'accès aux menus fréquement utilisés sans avoir à se servir du bouton MENU.
- Appuyez sur Menu selector.
- Déplacez le bouton Menu selector vers la croite ou vers la gauche pour selectionner White Balance
puis appuyez sur Menu selector. - Déplacez le bouton Menu selector vers la croite ou vers la gauche pour selectionner le mode souhaïte (Auto, Hold
, Indoor ou Outdoor ) puis appuyez sur Menu selector. - Pour quitter le menu, appuyez sur le bouton MENU.
[Remarques]
Lorsque le bouton NITE PIN est sur ON, la fonction White Balance
La fonction White Balance
- Désactive si nécessaire la fonction Digital Zoom
- Modifie le réglage de la balance des blancs si les conditions d'éclairage changent.
Lors d'un enregistrement en extérieur dans des conditions normales, le basclement vers le mode Auto peut permettre d'obtenir de更好地 résultats.
![SAMSUNG VP-D352 - [Remarques] - 1](/content/2024/11/24152/images/a04889137a6ad06e76914e5e730853be06ae6f9656611077b893cd4a0afb3a7b.jpg)
![SAMSUNG VP-D352 - [Remarques] - 2](/content/2024/11/24152/images/b75f88217e24aa860c135994715d068e5d8892d89ffae4b91d644b5701b110cf.jpg)
![SAMSUNG VP-D352 - [Remarques] - 3](/content/2024/11/24152/images/d8e1780d4974aa1aea29bca4ab9c9e759992bc2706f8c0bf01cb18501147344b.jpg)
Enregistrement avancé
Réglage du stabilisateur d'image numérique (DIS)
Le stabilisateur d'image numérique (DIS) ne fonctionne qu'en mode Camera
Le DIS permet de compenser, dans des limites raisonnables, les tremblements ou les mouvements de vos mains lorsque vous tenez le camoscope.
Il permet d'obtenir des images plus stables lors d'un :
- enregistrement à l'aide du zoom ; (La fonction DIS n'est pas disponible en mode Digital Zoom
.) - enregistrement d'un petit objet en gros plan ;
- enregistrement tout en marchant ;
-
enregistrement par la fenetre d'un vehicule.
-
Placez l'interrupteur Power sur CAMERA.
- Placez l'interrupteur Mode sur TAPE. (modèles VP-D353(i)/D354(i)/D355(i) uniquement)
- Appuyez sur le bouton MENU.
- Déplacez le bouton Menu selector vers la gauche ou vers la droite pour sélectionner Camera
puis appuyez sur Menu selector. - Déplacez le bouton Menu selector vers la gauche ou vers la droite pour sélectionner DIS puis appuyez sur Menu selector.
- Pour activer le DIS, déplacez le bouton Menu selector vers la droite ou la gauche pour sélectionner On
. Appuyez ensuite sur Menu selector.
Si vous ne souhaitez pas utiliser le DIS, sélectionnez Off
- Pour quitter le menu, appuyez sur le bouton MENU.
L'icône DIS (♀) s'affiche sur l'écran ACL.
[Remarques]
- Les modes Digital Zoom
., COLOR NITE SHUTTER, 16:9 Wide <16:9>, Emboss2 , Pastel2, Mirror et Mosaic ne sont pas disponibles en mode DIS.
Si vous appuyez sur le bouton PHOTO lorsqu la fonction DIS est active, cette dernière se désactive brievement avant d'être réactivée automatiquement une fois la photo prise.
Enregistrement avancé
Menu rapide: Stabilisateur d'image numérique (DIS)
Le menu rapide sert à acceder aux fonctions de votre caméscope grâce à une simple manipulation du bouton Menu selector.
Le menu rapide offre une plus grande facilité d'accès aux menus féquèment utilisés sans avoir à se servir du bouton MENU.
- Appuyez sur Menu selector.
- Déplacez le bouton Menu selector vers la croite ou vers la gauche pour sélectionner DIS puis appuyez sur Menu selector.
- Déplacez le bouton Menu selector vers la droite ou vers la gauche pour sélectionner On
ou Off puis appuyez sur Menu selector. - Pour quitter le menu, appuyez sur le bouton MENU.



Enregistrement avancé
Modes d'exposition automatique programmable (Program AE)
La fonction Program AE ne peut etre activée qu'en mode Camera
Le mode Program AE
Il vous permet de laisser libre cours à vos envies quant à la profondeur de champ.
Mode Auto(A)
- Equilibrage automatique entre le sujet et l'arrière-plan.
- A utiliser dans des conditions normales.
- La vitesse de l'obturator varie automatiquement de 1/50 à 1/250 de seconde en fonction de la scène.
Mode Sports (
Permet d'enregistrer des personnes ou des objets se déplacant rapidement.
Mode Portrait (
- Sert à vendre l'arrière-plan du sujet net lorsqu'il est flou.
- Le mode Portrait est plus efficace en extérieur.
- La vitesse de l'obturator varie automatiquement de 1/50 à 1/1000 de seconde.
Mode Projecteur
Sert à enregistrer correctement lorsque celui le sujet est éclairé, le reste de la scène étant dans l'objet.
Mode Sable/Neige
Sert à enregistrer des personnes ou des objets plussons que l'arrière-plan en raison de la réflexion de la lumière sur le sable ou la neige.
Mode Vitesse elevée (Vitesse d'obturateur élevé) (
Sert à enregistrer des sujets se déplaçant rapidement tels que des joueurs de golf ou de tennis.
[Remarques]
Lorsque le bouton NITE pix est regle sur ON, la fonction Program AE ne marche pas.
La fonction Program AE ne peut pas etre activée en mode EASY.Q.

Enregistrement avancé
Réglage de la fonction d'exposition automatique programmable (Program AE)
- Placez l'interrupteur Power sur CAMERA.
- Placez l'interrupteur Mode sur TAPE. (modèles VP-D353(i)/D354(i)/D355(i) uniquement)
- Appuyez sur le bouton MENU.
La liste des menus apparait.
- Déplacez le bouton Menu selector vers la gauche ou vers la droite pour selectionner Camera
puis appuyez sur Menu selector. - Déplacez le bouton Menu selector vers la gauche ou vers la droite pour sélectionner Program AE
puis appuyez sur Menu selector.
La liste des options disponibles s'affiche.
- Déplacez le bouton Menu selector vers la gauche ou vers la droite pour selectionner l'option Program AE
de votre choix puis appuyez sur Menu selector. - Pour quitter le menu, appuyez sur le bouton MENU.
L'icone du mode sélectionné apparait sur l'écran ACL.
Aucune icone ne s'affiche a I'ecran lorsque le mode Auto est selectionné.
Menu rapide : Exposition automatiqueprogrammable (Program AE)
- Appuyez sur Menu selector.
- Déplacez le bouton Menu selector vers la gauche ou vers la droite pour sélectionner Program AE
puis appuyez sur Menu selector. - Déplacez le bouton Menu selector vers la gauche ou vers la droite pour selectionner l'option Program AE
de votre choix puis appuyez sur Menu selector. - Pour quitter le menu, appuyez sur le bouton MENU.
(4)

(6)

①

(3)

Enregistrement avancé
Effets spéciaux numériques
La fonction Digital Effect
La fonction Digital Effects
Sélectionnez l'effet numérique correspondant au type d'image que vous souhaitez enregistrer et à l'effet que vous souhaitez créé.
+ II y a 11 modes Digital Effect
- Mode Art
Ce mode donne aux images un aspect d'ébauche.
- Mode Mosaic
Ce mode découpe les images en mosaïque.
- Mode Sepia
Ce mode donne aux images une coloration brun- rougeâtre.
- Mode Negative
Ce mode inverse les couleurs, créé une image en négatif.
5.Mode Mirror
Ce mode scinde l'image en deux par un effet miroir.
- Mode BLK&WHT
Ce mode transforme les images couleur en images noir et blanc.
7.Mode Emboss1
Ce mode cree un effet 3D (relief).
8.Mode Emboss2
Ce mode cree un effet 3D (relief) sur le contour de l'image.
- Mode Pastel1
Ce mode applique un effet de pastel à l'image.
- Mode Pastel2
Ce mode applique un effet de pastel au contour de l'image.
11.Mode 16:9 Wide < 16:9>
Permet d'enregistrer une image qui sera lue sur un écran de télévision au format 16:9.






Enregistrement avancé
Choix des effets spéciaux numériques
- Placez l'interrupteur Power sur CAMERA.
- Placez l'interrupteur Mode sur TAPE. (modèles VP-D353(i)/D354(i)/D355(i) uniquement)
- Appuyez sur le bouton MENU.
La liste des menus apparait.
- Déplacez le bouton Menu selector vers la gauche ou vers la droite pour sélectionner Camera
puis appuyez sur Menu selector. - Déplacez le bouton Menu selector vers la droite ou vers la gauche pour selectionner Digital Effect
puis appuyez sur Menu selector. - Déplacez le bouton Menu selector vers la droite ou vers la gauche pour seLECTIONner l'effet numérique de votrechioix puis appuyez sur Menu selector.
L'affichage bascule vers le mode sélectionné.
- Pour quitter le menu, appuyez sur le bouton MENU.
[Remarques]
- Les modes Pastel2, Emboss2
, 16:9 Wide <16:9>, Mirror et Mosaic ne sont pas disponibles lorsque les fonctions DIS et Color Nite sont activées. - Le mode Digital Effect
n'est pas disponible lorsque le mode EASY.Q ou le mode NITE_PIX est activé.
Lorsque les modes DIS, EASY.Q ou COLOR NITE SHUTTERT sont activés, les modes 16:9 Wide < 16:9> ,Emboss2 < Relief2> Pastel2, Mirror < Miroir et Mosaic < Mosaicique > se desactivent.
La fonction Digital Zoomn'est pas disponible en modes 16:9 Wide <16:9>, Emboss2 , Pastel2, Mirror et Mosaic . - Les modes Digital Effects
autres que 16:9 Wide <16:9>, Emboss2 , Pastel2, Mirror et Mosaic sont disponibles lorsque vous prenez des photos, le mode DIS étant actif.
L'activation du mode NITE_PIX lorsque la fonction Digital Effectest en cours d'utilisation désactive cette dernière. La désactivation du mode NITE_PIX fait basculer la fonction Digital Effect sur Off .
La prise de photos n'est pas disponible en mode 16:9 Wide <16:9>.
![SAMSUNG VP-D352 - [Remarques] - 1](/content/2024/11/24152/images/52e78a2992dfd5a8d21638f16b097c600fda2669e8cee51ac78bf81d962646db.jpg)
4

6

Enregistrement avancé
Zoom avant et arrêté à l'aide du zoom numérique
Le zoom ne fonctionne qu'en mode Camera
Activation du zoom numérique
Le zoom numérique permet de grossir au-delà de 20x, et même jusqu'à 900x lorsqu'il est combiné avec le zoom optique.
La qualite de l'imagpe peut s'alterer selon le coefficient de zoom applique au sujet.
Pour la stabilité de l'image, nous vous recommendons d'utiliser le stabilisateur d'image numérique (DIS) avec le zoom numérique. (voir page 61)
- Placez l'interrupteur Power sur CAMERA.
- Placez l'interrupteur Mode sur TAPE. (modetes VP-D353(i)/D354(i)/D355(i) uniquement)
- Appuyez sur le bouton MENU.
La liste des menus apparait.
- Déplacez le bouton Menu selector vers la gauche ou vers la droite pour selectionner Camera
puis appuyez sur Menu selector. - Déplacez le bouton Menu selector vers la droite ou vers la gauche pour sélectionner Digital Zoom
puis appuyez sur Menu selector. - Déplacez le bouton Menu selector vers la droite ou la gauche afin de sélectionnner l'options de zoom souhaitee (Off
, 100x, 200x, 400x ou 900x) puis appuyez sur Menu selector. - Pour quitter le menu, appuyez sur le bouton MENU.
[Remarques]
- Pousse au maximum, le zoom peut donner une image de moindre qualité.
Le mode Digital Zoomn'est pas disponible lorsqu'you utilisez les modes DIS, EASYQ, COLOR NITE SHUTTER, 16:9 Wide <16:9>, Emboss2 , Pastel2, Mirror et Mosaic ou lorsque vous prenez des photos. - Lorsque vous prenez une photo, les fonctions COLOR NITE SHUTTER, 16:9 Wide <16:9>, Emboss2
ou Pastel2, Mirror et Mosaic s'activent tandis que le mode Digital Zoom se désactive (les réglages du mode Digital Zoom sont sauvégardés).
Lorsque DIS et EASY.Q sont activés, le mode Digital Zoomse désactive.
![SAMSUNG VP-D352 - [Remarques] - 1](/content/2024/11/24152/images/79f765eecf4fb99ed897f720923e0341a87c636caacf0625589e4cc61e1f4439.jpg)
![SAMSUNG VP-D352 - [Remarques] - 2](/content/2024/11/24152/images/99b1113141da618c267c9f0a638aae05fb4a4751cf674ced36892f46ee6e2080.jpg)
4
![SAMSUNG VP-D352 - [Remarques] - 3](/content/2024/11/24152/images/b27b2cfc2d058989dd202d1308b02855620d2a78778fe2cfbdd6894238f64bae.jpg)
6
Enregistrement avancé
Utilisation en tant qu'appareil photo
La prise de photos n'est possible qu'en mode Camera
1. Placez l'interrupteur Power sur CAMERA.
2. Placez I interrupteur Mode sur TAPE. (modules VP-D353(i)/D354(i)/D355(i) unquielement)
3. Appuyez sur le bouton PHOTO.
L'enregistrement de l'imagé figée dure 6 à 7 secondes.
- Àproul l'enregistrement de la photo, le caméoscopeeturne au mode precedent.
Recherche d'une photo
La recherche de photo fonctionne uniquement en mode Player
1. Placez l'interrupteur Power sur PLAYER.
2. Placez I interrupteur Mode sur TAPE (modules VP-D353(i)/D354(i)/D355(i) unquivalent)
3. Appuyez sur le bouton MENU.
La liste des menus apparait.
- Déplacez le bouton Menu selector vers la gauche ou vers la droite pour selectionner Tape
puis appuyez sur Menu selector. - Déplacez le bouton Menu selector vers la croite ou vers la gauche pour selectionner Photo Search
puis appuyez sur Menu selector. - Appuyez sur les boutons (Ret.Rapide/Av.Rapide) pour désignerner la photo.
La progression apparait sur I'ecran ACL en cours de recherche.
A la fin de la recherche, le caméscope affiche la photo.
- Pour quitter, appuyez sur le bouton (ARRET) ou MENU.
[Remarques]
- « You ne pouce pas prendre de photo lorsque vous utilisez l'enregistrement video. »
- Vous pouve appuyer sur le bouton PHOTO de la télécommande pour prendre une photo. En appuyant sur le bouton PHOTO de toute télécommande, vous enregistrez l'image figée instantanément, la mise au point se faisant de façon automatique. (modèle VP-D353(i)/D354(i)/D355(i) unquivalent)
Lorsqu'aucune image figee n'est enregistrree sur la cassette, la bande defile entierement jusqu'a début ou jusqu'a fin. - Vous ne pouv pas prendre de photo lorsque vous utilisez la fonction COLOR NITE SHUTTERTO 16:9 Wide <16>:
DIS, Digital Zoom, COLOR NITE SHUTTER, Digital Effet et Nite Pix ne sont pas disponibles lorsque vous prenez une photo. - Preindre une photo alors que le mode EASY.Q, DIS ou Digital Zoom < Zoom Num.> est utilisé désactive le mode actif (les réglages du mode automatquement rétablis une fois la photo prise).
![SAMSUNG VP-D352 - [Remarques] - 1](/content/2024/11/24152/images/beffb2fc3df7ed108b5c6a664ba60bca494295ecb8b1d65fd81b239bda882641.jpg)
![SAMSUNG VP-D352 - [Remarques] - 2](/content/2024/11/24152/images/260de62867b5b4934305a871387713f4e9298751e5427896d88c0dd4511970d9.jpg)
4
6
![SAMSUNG VP-D352 - [Remarques] - 3](/content/2024/11/24152/images/a303af63c2f76e80acd4d4ccdc62e582fb78fa3eb3860736f70e434064e700e5.jpg)
![SAMSUNG VP-D352 - [Remarques] - 4](/content/2024/11/24152/images/7d8596f04d393d7ba325e17ae1a1967613142b37b46c387de8da62858d89fc46.jpg)
Visualisation d'un enregistrement sur cassette au moyen de l'écran ACL
La fonction de lecture ne fonctionne qu'en mode Player
You pouvez contrôler des images enregistrées sur l'écran ACL.
- Placez l'interrupteur Power sur PLAYER.
- Placez l'interrupteur Mode sur TAPE. (modèles VP-D353(i)/D354(i)/D355(i) uniquement)
- Insérez la cassette que vous souhaitez visionner. (voir page 36).
- Déployez l'écran ACL.
Régliez l'angle de l'écran ACL ainsi que la luminosité ou la couleur si nécessaire.
- Appuyez sur le bouton (Ret.Rapide) pour rembobiner la cassette jusqu'au point de départ.
Pour interrompre le rembobinage, appuyez sur le bouton (ARRET).
Le caméscope s'arrête automatiquement une fois le remboinage terminé.
-
Appuyez sur le bouton (LECTURE/PAUSE) pour lancer la lecture.
-
Vous pouvez visualiser les images de l'enregistrement sur l'écran ACL.
Pour interrompre la lecture, appuyez sur le bouton (ARRET).
Réglage des paramètres LCD Bright /Colour en cours de lecture
Vous pouvez régler les paramètres LCD Bright
La méthode de réglage est identique à celle utilisée en mode Camera



- Vous pouvez également visualiser l'image sur un écran de télévision en raccordant votre caméoscope à un téléviseur ou à un magnétoscope. (voir pages 71-72)
Diverses fonctions sont disponibles en mode Player. (voir page 73) - Permit de rechercher et de regarder des images figées enregistrées sur une cassette. (voir page 68)
[Notas]
Réglage du volume sonore du haut-parleur
Le haut-parleur fonctionne uniquement en mode Player
Lorsque les images sont lues sur l'écran ACL, vous pouvez entendre le son enregistré grâce au haut-parleur intégré.
- Procedez comme suit pour diminuer le volume sonore ou désactiver le son lors de la lecture d'une casette sur le caméoscope.
-
Per ridurre o azzerare l'audio durante la riproduzione di una cassetta sulla videocamera, seguire le istruzioni riportate di seguito.
-
Placez l interrupteur Power sur PLAYER.
- Placez l'interrupteur Mode sur TAPE. (modèles VP-D353(i)/D354(i)/D355(i) uniquement)
- Appuyez sur le bouton (LECTURE/PAUSE) pour dire la cassette.
- Lorsqu'un son est émis et qu'une cassette est en cours de lecture, utilisez le bouton Menu Selector pour régler le volume.
L'affichage du volume sonore apparait sur I'ecran ACL. Le volume varie entre 00 et 19. Aucun son n'est émis lorsque le volume est regle sur 00.
Si vous rabattez l'écran ACL en cours de lecture, vous n'entendrez plus aucun son en provenance du haut-parleur.
[Remarques]
Lorsque le cable AV est raccordé au caméoscope, aucun son n'est émis par le haut-parleur intégré et le volume ne peut pas être régèle.
Pour rétablit le son, il vous suffit de débrancher le cable AV de la prise du caméoscope.
![SAMSUNG VP-D352 - [Remarques] - 1](/content/2024/11/24152/images/8af1810b9cf3e603b05cf43fcf77b0fbeb6da0ac27c33f4726329fd4277b8b8f.jpg)
![SAMSUNG VP-D352 - [Remarques] - 2](/content/2024/11/24152/images/b96cca1459e0e98b943cc85b47a34efae487b03dbf2d82909a55fda5139d572d.jpg)
![SAMSUNG VP-D352 - [Remarques] - 3](/content/2024/11/24152/images/c35e0d42e1ec1b05c0cffafff8f5fcd3a0ae61c85ece18e8360dd13bc6000b22.jpg)
Lecture d'une cassette
La fonction de lecture ne peut etre activee qu'en mode Player
Lecture sur I'ecran ACL
Il est pratique de pouvoir visionner une cassette grâce à l'écran ACL en voiture ou à l'extérieur.
Lecture sur un écran TV
Pour qu'une cassette puisse etre lue, le téléviseur doit etre conforme a la norme PAL. (voir page 114)
Nous vous recommendons d'utiliser l'adaptateur CA afin de pouvoir brancher votre caméoscope sur le secteur.
Raccordement à un télévisuer disposant de prises d'entrée Audio/Viséo
- Reliez le caméoscope à la télévision à l'aide du cable Audio/Video.
Prise jaune : video
- Prise blanche : audio (G) - mono
- Prise rouge : audio (D)
Si vous reliéz le caméscope à un téléviseur monophonique, branchez la prise jaune (video) sur l'entrée video du téléviseur et la prise blanche (audio G) sur l'entrée audio de celui-ci.
- Vou pouve utiliser l'adaptateur péritel (en option).
- Placez l'interrupteur Power sur PLAYER.
- Placez l'interrupteur Mode sur TAPE. (modèles VP-D353(i)/D354(i)/D355(i) uniquement)
- Allumez le téléviseur et reglez le/selecteur TV/VIDEO du téléviseur sur Video. Reportez-vous au manuel d'utilisation du téléviseur.
- Lancez la lecture de la cassette.
[Remarques]
- Vous obtiennent des images de toute qualité en utilisant un cable S-Video (en option) si vous ne veigués est équipe d'une prise S-Video.
- Meme si vous utilisez un cable S-Video (en option), vous devez employer un cable audio en parallèle.
Si vous connectez le cable à la prise Audio/Video, vous n'entendrez plusaucun son en provenance du haut-parleur du camoscope.
Si seulement l'entrée audio mono est disponible sur votre téléviseur, utilisez la prise blanche du cable audio. (Audio G)
![SAMSUNG VP-D352 - [Remarques] - 1](/content/2024/11/24152/images/5fe98206ef128b4a4dc5705c728c46d1962c8fb29c4b044ecee0d839a92007dd.jpg)
- Riproduire la cassetta.
[Notas]
Raccordement à un téléviseur ne disposant pas de prises d'entree Audio/Video
Vou pouve connecter votre caméoscope à un télévisueur via un magnétoscope.
- Reliez le caméoscope au magnétoscope à l'aide du cable Audio/Video.
Prise jaune : video
- Prise blanche : audio (G) - mono
Prise rouge : audio (D)
- Raccordez un télévisuer au magnétoscope.
- Placez l'interrupteur Power sur PLAYER.
- Placez l'interrupteur Mode sur TAPE. (modèles VP-D353(i)/D354(i)/D355(i) uniquement)
- Allumez le téléviseur et le magnétoscope.
Réglez le/selecteur d'entrée du magnétoscope sur Ligne.
Selectionnez le canal réservé aux magnétoscopes sur le téléviseur.
- Lancez la lecture de la cassette.
Lecture
Vous pouvez dire la cassette enregistrée en mode Player
1. Branchez l'appareil sur une source d'alimentation et place l'interrupteur Power sur PLAYER.
2. Placez l'interrupteur Mode sur TAPE. (modèles VP-D353(i)/D354(i)/D355(i) uniquement)
3. Insérez la cassette que vous souhaitez dire.
4. A l'aide des boutons «/» (Ret.Rapide/Av.Rapide), recherche la première sérieque vous souhaitez dire.
5. Appuyez sur le bouton (LECTURE/PAUSE).
- Les images que vous avec enregistrées apparaissent sur l'écran de votre télévisseur au bout de quelques secondes.
Lorsqu'une cassette arrive en fin de bande pendant la lecture, elle se rembobine automatiquement.
[Remarques]
Le mode de lecture (SP/LP) est selectionné automatiquement.
Si le magnétoscope possède une prise d'entrée S-Viséo, vous obtiennent une meilleure qualité en utilisant une connexion S-Viséo.
Seules des données video peuvent transiter par la prise S-Video. Connectez les cables Audio pour le son.
Si seule l'entrée audio mono est disponible sur votre téléviseur, utilisez la prise blanche du cable audio (Audio G).
![SAMSUNG VP-D352 - [Remarques] - 1](/content/2024/11/24152/images/f60451f43a5c77ae425cbf848c24f956baaab8e29759a5f58238f9ac5af02502.jpg)
- Riproduire la cassetta.
![SAMSUNG VP-D352 - [Remarques] - 2](/content/2024/11/24152/images/c35c2fa806e6cfc58b034e2a23dc921eefe7814485d8f6a3c74390275a05cb59.jpg)
Riproduzione
Fonctions disponibles en mode Player
Cette fonction ne peut etre activee qu'en mode Player
Les boutons LECTURE, PAUSE, ARRET, Av.Rapide et Ret.Rapide sont situés sur le caméoscope et sur la télécommande (modèles VP-D353(i)/D354(i)/D355(i) uniquement).
Les boutons F.ADV (Avance image par image), X2 et SLOW ne se trouvent que sur la télécommande (modèle VP-D353(i)/D354(i)/D355(i) uniquement).
念 Afin d'éviter l'usure de la cassette et de la tête video, votre caméoscope s'arrête automatique s'il reste en mode pause ou ralenti pendant plus de 3 minutes. (modèles VP-D353(i)/D354(i)/D355(i) unquielement)
Appuyez sur le bouton (LECTURE/PAUSE) pendant la lecture.
Pour reprendre la lecture, rappuyez sur le bouton / / (LECTURE/PAUSE).

Recherche d'une image (Forward /Reverse )
- Appuyez sur le bouton / (Ret.Rapide/Av.Rapide) en mode lecture ou pause.
Pour reprendre la lecture normale, appuyez sur le bouton (LECTURE/PAUSE). - Maintenze la pression sur le bouton (Ret.Rapide/ Av.Rapide) en mode lecture ou pause. Pour reprendre la lecture normale, relâchez le bouton.
- Appuyez sur le bouton SLOW de votre télécommande pendant la lecture.
- Pour reprendre la lecture normale, appuyez sur le bouton / (LECTURE/PAUSE).
Retour au ralenti
- Appuyez sur le bouton (-) pendant l'avance au ralenti.
- Pour reprendre l'avance au ralenti, appuyez sur le bouton (+) .
Pour reprendre la lecture normale, appuyez sur le bouton / (LECTURE/PAUSE)

Avance image par image (VP-D353(i)/D354(i)/D355(i) uniqueness)
- La série video avance image par image chaque fois que vous appuyez sur le bouton F.ADV.
-
La fonction F.ADV n'est accessible qu'en mode pause.
-
Appuyez sur le bouton F.ADV de votre télécommande en mode pause.
Pour reprendre la lecture normale, appuyez sur le bouton / (LECTURE/PAUSE). - Avance image par image
Appuyez sur le bouton F.ADV de votre télécommande en mode pause. - Retour image par image
Appuyez sur le bouton (-) de votre télécommande pour changer de direction en mode F.ADV.
Appuyez sur le bouton F.ADV de votre télécommande.
Avance accélérée (X2)
- Appuyez sur le bouton X2 de votre télécommande pendant la lecture.
- Pour replenrecre la lecture normale, appuyez sur le bouton /I (LECTURE/PAUSE)
Retour accéléRED (X2)
- Appuyez sur le bouton (-) pendant l'avance accéléée (X2).
Pour reprendre la lecture normale, appuyez sur le bouton (LECTURE/PAUSE)
Lecture arriré (VP-D353(i)/D354(i)/D355(i) uniquement)
Pour une lecture arrirée à vitesse normale, appuyez sur le bouton pendant la lecture normale vers l'avant.
- Appuyez sur le bouton (LECTURE/PAUSE) ou (+) pour revenir à la lecture normale vers l'avant.
[Remarques]
- Dans certains modes parmi les nombreux modes de lecture, une déformation de l'image peut se produit, cette-ci apparaissant à l'écran sous forme de mosaïque. Une déformation de l'image sous forme de mosaïque peut se produit lorsqu'elles lissez des cassettes enregistrées en mode LP contenant diverses fonctions de lecture.
Le son n'est perceptible que pendant la lecture nomale en mode SP ou LP.
![SAMSUNG VP-D352 - [Remarques] - 1](/content/2024/11/24152/images/26cda4a892f302feb86fa3abb8675bd12986b6f880c064042ce697772e239830.jpg)
La fonction Playback Zoom
Elle vous permet d'agrandir une image figée ou une série en cours de lecture.
- Placez l'interrupteur Power sur PLAYER.
- Placez l'interrupteur Mode sur TAPE. (modèles VP-D353(i)/D354(i)/D355(i) uniquement)
- Appuyez sur le bouton PB ZOOM en mode lecture ou pause.
- L'imagé est agrandie à partir du centre.
- Vous pouvez zoomer de 1,2x à 8,0x en déplaçant le bouton de zoom.
Le coefficient de zoom ne s'affiche pas à l'écran.
- Pour désactiver la fonction Zoom en cours de lecture, appuyez sur le bouton PB ZOOM ou (ARRET).
![SAMSUNG VP-D352 - [Remarques] - 2](/content/2024/11/24152/images/31775b96b4f91533b5a9702531334a3a4e68fddaf72834096a3062e40a318eeb.jpg)
![SAMSUNG VP-D352 - [Remarques] - 3](/content/2024/11/24152/images/8793e2384bc3f8b1ea1071035f25cf9cd2d23879439289adae1c6042bdc7cd3a.jpg)
La fonction PB ZOOM
- Vous ne peuvent pas l'appliquer à des images transmises par une source videoe externe.
L'imagagrandie en cours de lecture ne peut etre importee vers vourer ordinateur par lintermediaire de la prise DV du camescope.
- Les images agrandies en cours de lecture ne peuvent pas etre exportees vers un ordinateur.
L'affichage sur I'ecran ACL n'est pas actif lorsque la fonction PB ZOOM
[Notas]
La fonction Entrée/Sortie AV ne fonctionne qu'en mode Player
- Elle vous permet d'enregistrer un signal à partir d'une source externe et de l'afficher sur l'écran ACL.
De la même façon, vous pouverez rediriger une réserve ou une image vers des périphériques externes à des fins d'enregistrement ou de lecture.
- Reliez le caméoscope au magnétoscope ou au téléviser à l'aide du cable Audio/Video (voir pages 71-72).
- Placeze I interrupteur Mode sur TAPE: (VP-D351/D354i/D355i unquivalent)
- Placez l'interrupteur Power sur PLAYER.
- Allumez le magnétoscope ou le téléviseur.
- Insérez la cassette vierge avec le volet de protection fermé dans le caméoscope.
Si vous voulez enregistrer à partir d'un magnétoscope branché, insérez la cassette VHS enregistrée dans le magnétoscope.
- Appuyez sur le bouton MENU.
La liste des menus apparait.
-
Déplacez le bouton Menu selector vers la gauche ou vers la droite pour selectionner Record
puis appuyez sur Menu selector. -
Déplacez le bouton Menu selector vers la gauche ou vers la droite pour selectionner AV In/Out
puis appuyez sur Menu selector. - Déplacez le bouton Menu selector vers la gauche ou vers la droite pour sélectionner In
puis appuyez sur Menu selector.
Si vous voulez visionner sur votre téléviseur l'image affichée sur l'écran ACL du caméoscope, réglez le menu AV In/Out
- Pour quitter le menu, appuyez sur le bouton MENU.
- Appuyez sur le bouton Start/Stop pour faire basculer le caméoscope en mode REC PAUSE
.
PAUSE apparait sur I'ecran ACL. - Sélectionnéz le programme TV ou lisez la cassette VHS.
- Appuyez sur le bouton Start/Stop pour commencer l'enregistrement.
Si vous souhaïez interrompèl l'enregistrement un moment, appuyez de nouveau sur le bouton Start/Stop. - Pour arreré l'enregistrement, appuyez sur le bouton (ARRET).
![SAMSUNG VP-D352 - [Notas] - 1](/content/2024/11/24152/images/f371569948d9db9a62aa87cbdccc2fe72b5684f8fad2a3af34275cd3f3ac4597.jpg)
⑦

9

[Remarque]
Lorsque you enregistrez des images lues sur un magnétoscope analogique, si elles ne sont pas lues en vitesse normale (par exemple en acceléré ou au ralenti), seule une image grise apparait sur l'écran du caméoscope.
La fonction Audio Dubbing
Vous ne pouvez pas ajouter de bande son sur une cassette pré-enregistrée en mode LP ou en mode 16 Bit.
Vous pouvez ajouter une bande son à la bande son originale d'une cassette pré-enregistrée en mode SP avec du son 12 Bit.
Utilisez le microphone interne, un microphone externe (non fourni) ou tout autre appeareil audio.
La bande son originale ne sera pas effacée.
Ajout d'une bande son
- Placez l'interrupteur Power sur PLAYER.
- Si vous voulez utiliser un microphone exter, reliez ce microphone à la prise d'entrée pour micro exter du caméoscope.
- Placez l'interrupteur Mode sur TAPE.
- Appuyez sur le bouton / (LECTURE/PAUSE) pour trouver les codes temps de la scène que vous souhaitez post-sonoriser.
- Appuyez sur le bouton (LECTURE/PAUSE) pour suspendre la lecture de la scène.
- Appuyez sur le bouton A.DUB de la télécommande.
L'icone de post-sonorisation (U) s'affiche sur l'écran ACL.
Le caméscope est prét pour la postsonorisation.
- Appuyez sur le bouton (LECTURE/PAUSE) pour lancer la post-sonorisation. Appuyez sur le bouton (ARRET) pour interrompree la post-sonorisation.
[Remarques]
- Vous ne pouvez pas utiliser la fonction Audio Dubbing
lors de la lecture d'une cassette video protégée en écrite.
Pour travailler avec un microphone exter, branchez celui-ci sur la prise MIC. Pour travailler avec une autre source sonore, utilisez le cable AV.
Pour ajouter une bande son provenant d'une source externe, reglez la fonction AV In/Outsur In (modèle VP-D353i/D354i/D355i uniquement) (voir page 76)
Lecture avec post-sonorisation
- Placez l'interrupteur Power sur PLAYER.
- Placez l'interrupteur Mode sur TAPE. (modèles VP-D353(i)/D354(i)/D355(i) uniquement)
- Insérez la cassette post-sonorisé et appuyez sur le bouton MENU.
- Déplacez le bouton Menu selector vers la gauche ou vers la droite pour selectionner Tape
puis appuyez sur Menu selector. - Déplacez le bouton Menu selector vers la gauche ou vers la croite pour selectionner Audio Select
- Déplacez le bouton Menu selector vers la gauche ou vers la droite pour sélectionner le canal de lecture audio puis appuyez sur Menu selector.
Sound[1]
Sound[2]
■ MIX[1+2]
- Pour quitter le menu, appuyez sur le bouton MENU.
- Appuyez sur le bouton (LECTURE/PAUSE) pour dire la cassette postsonorisé.
[Remarque]
Lorsque you liquez la bande son ajoutée (mode MIX
Transfert de données IEEE1394
Transfert de données DV Standard Conformes à la norme IEEE1394 (i.LINK)
Connexion à un périhérique DV (enregistreur DVD, caméscope, etc.)
Raccordement à d'autres produits DV standards.
Une connexion DV standard est assez simple.
Si un produit possède un port DV, vous pouvez transférer des données en
vous connectant à ce port au moyen d'un cable approprié.
!!! Veuillez noter qu'il existe deux types de ports DV (quatre et six broches).
Ce caméscope possède une borne à quatre broches.
Avec une connexion numérique, les signaux video et audio sont transmis au
format numérique, ce qui permet de transférer des images de grande qualité.
Raccordement à un ordinateur
Si vous souhaitez transmettre des données à un ordinateur, vous doivent installer une carte IEEE1394 sur toute ordinateur (non fournie).
Le nombre de séquences enregistrées pendant l'acquisition video dépend de la capacité de l'ordinateur.
[Remarques]
Lorsque you transférez des données du caméoscope vers un autre apparéil DV, certaines fonctions peuvent ne pas être disponibles.
Lorsque cela se produit, veuillez rebrancher le cable DV ou eteindre puis rallumer le camoscope.
Lorsque you transferez des données du camescape vers un ordinateur, le bouton de fonction PC n'est pas disponible en mode M PLAYER.
N'utilisez pas le camescape et la carte IEEE1394 ensemble car cela entrainera la fermeture de cette derniere.
- Ne branchez pas votre caméoscope sur un ordinateur en utilisant à la fois des câbles DV et USB. Il risquerait de ne pas fonctionner correctement.
Le fonctionnement n'est pas garantie pour toutes les configurations système recommendées ci-dessus.
Le cable IEEE1394 (cable DV) est vendu séparation.
Le logiciel d'acquisition video est disponible en magasin.
La plupart des ordinateurs compatibles DV sont équipés d'une prise à six broches. Dans ce cas, un cable 6-4 est indispensable pour se connecter.
- La plupart des ordinateurs de poche et ordinateurs portables compatibles DV sont équipés d'une prise à quatre broches. Utilisez alors un cable 4-4 pour la connexion.
- Les fonctions DIS et COLOR NITE SHUTTER ne sont pas disponibles en mode DV (IEEE1394).
Si le mode DV (IEEE1394) est actif, les modes DIS et COLOR NITE SHUTTER se désactivement.
Transfert de données IEEE1394
Configuration système
- Proesseur: Intel® Pentium III™ à 450 MHz minimum ou processeur similaire.
- Systeme d'exploitation: Windows® 98SE, ME, XP, Mac OS (9.1-10.2)
Mémoire principale : plus de 64 Mo de RAM
Carte additionnelle IEEE1394 ou carte intégrée IEEE1394
Enregistrement à l'aide d'un cable de connexion DV (VP-D351i/D352i/D353i/D354i/D355i uniquement)
- Placez l'interrupteur Power sur PLAYER.
- Placez l'interrupteur Mode sur TAPE. (modeles VP-D353i/D354i/D355i uniquement)
- Branchez le cable DV (non fourni) de la prise DV du camoscope sur la prise DV de l'autre apparéil DV.
Assurez-vous que l'icone D's'affiche sur Iecran ACL.
- Appuyez sur le bouton Start/Stop pour passer en mode REC PAUSE
.
L'indication PAUSE s'affiche sur I'écran ACL.
- Lancez la lecture sur l'autre apparéel DV pendant que l'image est affichée.
- Appuyez sur le bouton Start/Stop pour commencer l'enregistrement.
Si vous souhaitez interrompre momentanément l'enregistrement, appuyez de nouveau sur le bouton Start/Stop.
- Pour arreter l'enregistrement, appuyez sur le bouton (ARRET).
[Remarques]
Lorsque you utilisez ce camescope en tant qu'enregistreur, les images apparaisant a I'ecran peuvent sembler de qualite inegale meme si les images enregistrées ne sont pas endommagees.
Le fonctionnement n'est pas garantie pour l'ensemble des configurations syste me recommendees ci-dessus.
Lorsque vous transmettez des données du caméoscope vers l'ordinateur dans un champ électrique ou magnétique puissant, les signaux audio et video transmis peuvent être perturbés.
![SAMSUNG VP-D352 - [Remarques] - 1](/content/2024/11/24152/images/834c31c32704ea71cc3d3df697d54b6de02b77f95f7fb9fdeb9f585109f4346c.jpg)
Transfert d'une image numérique via une connexion USB
Le camescope prend en charge les normes USB 1.1 et 2.0 (en fonction des specifications de l'ordinaire).
Vous pouvez transférer aisément une image d'une carte méroaire vers un ordinateur via une connexion USB sans carte additionnelle.
You pouze transférer une image vers un ordinaire via une connexion USB.(modules VP-D353/(i)/D354/(i)/D355(i) uniquement
Si sousVFtransfes des donnees vers un ordinateur, vous devez installer les logiciels (DV Driver, Video Codec, DirectX 9.0) fourmis avec le camescope.
Débit de la connexion USB en fonction du système
La connexion USB à haut début est prise en charge par les pilotes de périphérique Microsoft (Windows) uniquement.
Windows 98SE/ME - Connexion USB
Windows 2000 - Connexion USB sur un ordinateur équipé de Service Pack 4 ou d'une version plus récente.
Windows XP - Connexion USB sur un ordinateur équipé de Service Pack 1 ou d'une version plus récente.
Configuration système
| Système Windows | ||
| Minimum | Recommendé | |
| Processeur | Intel® Pentium III™ à 600 MHz | Intel® Pentium 4TM à 2 GHz |
| Système d'exploitation | Windows® 98SE/ME | Windows® 2000/XP |
| Mémoire | 128 Mo | 512 Mo |
| Capacité du disque dur. | 1 Go ou plus | 2 Go ou plus |
| Résolution | 1024 x 768 pointsCouleur 24 bits | 1024 x 768 pointsCouleur 24 bits |
| Port USB | USB 1.1 | USB 2.0 haut débit |
Non disponible sur les ordinateurs Macintosh.
[Remarques]
La version USB 2.0 ne peut etre utilise qu'avec les fonctions de disque amovible.
Sur un ordinateur plus lent que ce qui est recommandé, la lecture de film risque de ne pas etre fluide ou l'edition de video de prende beaucoup bequoce des temps.
Sur un ordinateur plus lent que ce qui est recommendé, la lecture de film risque de sauter des images et de fonctionner de façon improuve.
Intel® Pentium III™ ou Pentium 4™ sont des marques déposées d'Intel Corporation.
Windows est une marque déposée de Microsoft Corporation.
Toutes les autres appellations et marques apparitennent à leurs propriétaires respectifs.
Le fonctionnement n'est pas garantie pour toutes les configurations syste me recommandees ci-dessus.
- Ne branché pas Your caméoscope sur un ordinaire en utilisant à la fois des cables DV et USB. Il risquerait de ne pas fonctionner correctement.
- En mode M.Cam
S aucune carte memoire n'est inscérée ou si une carte memoire non formative est inscrétee,或者 ordinaire ne reconnaîtra pas sua camoscope comme disque amabile (modles: VP-D353(i)/D354(i)/D355(i) unquintile).
La fonction Lecture en continu USB nécessite l'installation d'un pilote et des logiciels DV Driver, Video Codec et DirectX 9.0.
- Si vous déconnecté cie l cable USB de I ordinaire ou du camescope pendant le transfert de données, ce dernier s'interront et les données risquent d'être endomagages.
Si vous connectez le cable USB à un ordinateur en utilisant un hub USB ou d'autres péripériques en même temps, cette risque de provoquer un conflit et de ne pas fonctionner correctement. Si tel est le cas, refièz tous les autres péripériques USB et réessayez de vous connecter.
![SAMSUNG VP-D352 - [Remarques] - 1](/content/2024/11/24152/images/cfa66d20aeed97912cecabe3db26b1d6bf4c52ff652b8c71bf7c4eea02df1228.jpg)
Selection du périphérique USB (VP-D353(i)/D354(i)/D355(i) uniquement)
La fonction USB Select est activée uniquement en mode MPLAYER
A l'aide du cable USB, vous pouvez relier votre caméoscope à un ordinateur pour copier vos films et vos images depuis la carte mémoire (ou depuis la mémoire interne ; modèles VP-D354(i)/D355(i)) ou à une imprimante pour imprimer vos images.
- Placez l'interrupteur Power sur PLAYER.
- Placez linterrupteur Mode sur MEMORY CARD.
- Appuyez sur le bouton MENU.
La liste des menus apparait.
- Déplacez le bouton Menu selector vers la gauche ou vers la droite pour sélectionner System
puis appuyez sur Menu selector. - Déplacez le bouton Menu selector vers la gauche ou vers la droite pour selectionner USB Connect
puis appuyez sur Menu selector. -
Déplacez le bouton Menu selector vers la droite ou vers la gauche pour sélectionnier Computer
ou Printer puis appuyez sur Menu selector. -
Sélectionnez Computer
pour utiliser la Web cam, la fonction de lecture en continu USB ou le disque amovible. -
Sélectionnez Printer
pour utiliser la fonction PictBridge. (voir page 110) -
Pour quitter, appuyez sur le bouton MENU.



Réglage du début de la connexion USB (VP-D353(i)/D354(i)/D355(i) uniquement)
Pour que le caméoscope et l'ordinateur puisent communiquer correctement, veuillez désoir la version du transfert USB avant de brancher le caméoscope sur l'ordinateur.
Cette fonction n'est disponible qu'en modes M.Cam
La liste des menus apparait.
- Déplacez le bouton Menu selector vers la gauche ou vers la droite pour sélectionner System
puis appuyez sur Menu selector. - Déplacez le bouton Menu selector vers la gauche ou vers la droite pour Sélectionner USB Version
puis appuyez sur Menu selector.
Réglez la version du transfert USB sur USB 2.0 lorsque cette-ci est prise en charge à la fois par l'ordinateur et par son système d'exploitation.
Si cen'est pas le cas pour l'un d'entre eux,reglez la version sur USB 1.1.
- Pour quitter le menu, appuyez sur le bouton MENU.

(4)


(5)
[Remarques]
Lorsque la version USB n'est pas regliée correctement, la connexion USB risque de ne pas s'établier.
Il est possible que la version USB 2.0 ne puisse etre pris en charge par certains Ordinateurs, selon leurs specifications.
Dans ce cas,CHOISSEZ la version USB 1.1 pour toute connexion USB.
Lorsque la version USB 2.0 est selectionnée mais n'est pas prise en charge par toute ordinateur, la connexion USB est automatiquement une connexion USB 1.1.
Installation du logiciel DV Media Pro 1.0
Pour tire des films MPEG enregistrées sur le caméoscope ou diffuser en continu des données transférées par connexion USB vers un ordinateur, le programme Video Codec doit être installé.
Ne branchez pas votre caméoscope sur un ordinateur avant d'avoir installé ce programme.
Si une autreamera ou un scanner est branché, débranchez-le avant toute chose.
Ces explications se basent sur le système d'exploitation Windows® 98SE.
Le manuel d'utilisation de DV Media Pro est inclus dans le CD joint (D:\help\ au format de document Adobe PDF. Il peut etre visionne a l'aide du logiciel Acrobat Reader inclus dans ce CD.
(D:\Support\AcrobatReader\AcroReader51ENU_full.exe).
(Acrobat Reader est un logiciel gratuite distribué par AdobeSystems. Inc.)
Le manuel d'utilisation de DV Media Pro est en angeais.
Installation du programme
- Insérez le CD d'installation desologiés dans le lecteur de CD-ROM de votre ordinateur.
L'écran de sélection d'installation apparait à l'écran.
- Si l'écran d'installation ne s'affiche pas après avoir inséré le CD, cliquez sur Executer dans le menu Démarrer de Windows puis ouvrez le fichier Autorun.exe pour démarrer l'installation.
Si votre lecteur CD-ROM est reconnu comme lecteur "D:\", tapez "D:\autorun.exe" et appuyez sur Entre.
- Cliquez sur les icônes figurant dans la liste ci-dessous pour installer les logiciels souhaïés.
DV Driver
- Pilote du disque amovible USB (Windows® 98SE uniquement)
- Pilote LECTURE EN CONTINU & WEB CAM USB (PILOT PRISE D'IMAGE)
- Connectez un caméoscope à votre ordinateur pour terminer l'installation du pilote DV.
1) Placez l'interrupteur Power du caméscope sur CAMERA.
2) Placez l interrupteur Mode du camscope sur TAPE. (VP-D353(i)/D354(i)/D355(i) uniquely)
3) Raccordez le caméscope à l'ordinateur à l'aide du cable USB.
4) L'installation du pilote prise d'image SAMSUNG A/V démarre sur votre ordinaireur.
- DirectX 9.0
Video Codec
Le codec video doit être installé pour pouvoir dire les films au format MPEG4 (stocksés dans la carte mémoire) sur un ordinateur ou pour utiliser les fonctions lecture en continu USB/Web cam.


Utilisation de la fonction Web cam
Pour utiliser la fonction Web cam, les logiciels DV Driver, Video Codec et DirectX 9.0 doivent être installés sur votre ordinateur.
Vous pouvez utiliser ce caméoscope comme Web cam.
Lorsque vous vous connectez à un site Web qui propose du clavardage video, vous pouvez utiliser votre caméoscope à cette fin.
Lorsque vous utilisez le camescape à des fins de visioconférence (via NetMeeting, par exemple), la transmission de la voix peut, en fonction du logiciel utilisé, ne pas être prise en charge. Dans ce cas, branchez un microphone externe sur la carte son de toute ordinateur pour permettre la transmission de la voix.
En utilisant le caméoscope avec un programme de réunion sur Internet installé sur votre ordinateur, vous pouvez mener une videoconférence.
+ Taille de l'écran en cas d'utilisation de la Web cam (le début de transfert video à partir de la Web cam est de 15 images par seconde).
320X240 pixels (QVGA) pour une connexion USB 1.1.
Si l'ordinaire est relié au caméoscope par une connexion USB, les boutons du caméoscope autres que l'interrupteur Power, l'interrupteur Mode, le bouton Zoom et le bouton NITE PIN ne fonctionnent pas.
- Placez l'interrupteur Power sur CAMERA.
- Placez l'interrupteur Mode sur TAPE. (modèles VP-D353(i)/D354(i)/D355(i) uniquement)
- Branchez une extrémité du cable USB sur la prise USB du caméoscope et l'autre extrémité sur le port USB de votre ordinateur.
Utilisation de la fonction Lecture en continu USB
- Pour utiliser la lecture en continu USB, les logiciels DV Driver, Video Codec et DirectX 9.0 doivent être installés sur leur ordinateur.
You pouze visionner la video du camescope sur voite ordinateur grace la lecture en continu USB.
VousspequeglementIenregistersurvoireordinaireimmulafarmatdefichier"avi"ou commeunimagefigeau formatdefichier”jpg”。 - Placez l interrupteur Mode sur TAPE (modelles VP-D353(i)/D354(i)/D355(i) uniquement) puis placez l interrupteur Power sur CAMERA ou PLAYER.
- Branchez une extremité du cable USB sur la prise USB du camscope et l'autre extremité sur le port USB de votre ordinateur.
-
Installé et lancez le logiciel de creation de films Windows Movie Maker ou le logiciel de montage video Ulead VIDEO Studio fournir sur le CD.
-
Pour plus de détails concernant l'utilisation du logiciel de montage video Ulead VIDEO Studio, veuillez consultuer la rubrique Aide du programme.
- Le géçilé de création de films Windows Movie Maker fonctionné avec les versions WINDOWS ME et WINDOWS XP. (C:program files\Movie maker\moviemk.exe)
Utilisation de la fonction de disque amovible (VP-D353(i)/D354(i)/D355(i) uniquement)
Vous pouze transférer aisé une image d'une carte mémoire vers un ordinateur via une connexion USB sans carte additionelle.
1. Placez l'interrupteur Mode sur MEMORY CARD qui place l'interrupteur Power sur CAMERA ou PLAYER.
2. Branchez une extrémitée du cable USB sur la prise USB du camscope et l'autre extrémité sur le port USB de votre ordinateur.
3. Pour vérifier que le disque amovible a bien ete reconnu, ouvrez l'explorateur Windows afin de le localiser.
Raccordement à un ordinateur
- Branchez le cable USB à la prise USB de votre PC.
Rien ne s'affiche sur l'ecran de votre téléviseur si un cable USB est relié au port USB du caméoscope. - Branchez l'autre extrémité du cable USB sur la borne correspondante du caméoscope (prise USB).
- Si yo orodineur es branché sur le caméscope avec un cable USB uniquement, l'interrupteur Zoom et l'interrupteur NITE PINX fonctionnel.
Débranchement du cable USB
Aprevoaravenotemirielteftandedeonnées,vasdevezdebrancherlecablede lafaconsuivante:
1. sélectionné l'odore de disque amovile et ciglezque sur le bouton droit de la souris pour sélectionner [Eject];
2. sélection (Confirm) et déconnectez le cable USB lorsque le bureau Windows apparait.
[Remarques]
- Si vous déconnectez le cable USB de l'ordinateur ou du caméoscopependant le transfert de données, ce dernier s'interrêt et les données risquènt d'être endomagées.
- Si vous branchez le cable USB sur un ordinateur par l'intermédiaire d'un hub USB ou si vous branchez simultanément le cable USB avec d'autres apparueils USB, le camscope pourrait ne pas fonctionner correctement.
Si cela se produit, retirez tous les appareils USB de l'ordinateur et reconnectez le caméoscope.
Lorsque you transmettez des données du camescope vers Iordinateur dans un champ électrique ou magnétique puissant, les signaux audio et video transmis peuvent être perturbés.
![SAMSUNG VP-D352 - [Remarques] - 1](/content/2024/11/24152/images/9d487ee3dd8c6238c38be3a7ba591d3b92c75bad5fe62f14594a7efef90b065a.jpg)
- Le Memory Stick enregistré et classe les images enregistrées par laamera en mode Appareil photo numérique.
Fonctions du Memory Stick
Enregistrement d'images figées et de films MPEG4
Visionnement d'images figées et de films MPEG4
Simple
- Diaporama (images figées uniquement)
- Affichage multiple (images figées uniquement)
Protection des images contre un effacement accidentel
Suppression des images enregistrées sur le Memory Stick
- Ajout de texte sur les images figées
- Formatage d'un Memory Stick
[Remarques]
- Vous pouvez utiliser la plupart des fonctions de laamera lorsque vous enregistrez sur le Memory Stick.
apparait à l'écran lors de l'enregistrement sur le Memory Stick. - Pendant l'enregistrement ou le chargement d'une image, n'éjectez ni n'insérez pas le Memory Stick. L'insertion ou l'éjection d'un Memory Stick en cours d'enregistrement ou de chargement d'une image risque d'endommager les données.
Pour sauvegarder toutes les images du Memory Stick, réglez le volet de protection du Memory Stick sur LOCK.
![SAMSUNG VP-D352 - [Remarques] - 1](/content/2024/11/24152/images/1477bb7ca12f90c7b3e69292b801b1b6072cdbd3c221abecae27ffb0bf5358e6.jpg)
MEMORY STICK TM

- "Memory Stick" et _Molecular Stixx sont des marques déposées de Sony Corporation.
- Tous les autres nôms de produit mentionnés dans leprésent document sont susceptibles d'être des marques déposées et appellations commerciales apparentant à leurs propriétaires respectifs.
En outre, les symboles "TM" et ^串 n'apparaissent pas systématique dans le manuel.

Terminal Protection tab
Insertion et éjection de la carte mémoire
Insertion de la carte mémoire
- Placez l'interrupteur Power sur Off.
- Ouvrez le compartment à carte mémoire.
- Insérez la carte mémoire dans son logement, situé sur la face inférieure du caméscope, en suivant le sens de la flèche.
Ejection de la carte mémoire
- Placez l'interrupteur Power sur Off.
- Ouvrez le compartment à carte mémoire.
- Poussez la carte mémoire : elle sort automatiquement du caméoscope.
- Retireze la carte mémoire. N'essayez pas de retarder la carte mémoire sans l'avoir poussee aparavant.
[Remarques]
Le type Memory Stick Duo ou RS-MMC (modèle VP-D354(i)/D355(i) uniquement) doit être inséré à l'aide d'un adaptateur (non fournir).
Si vous reglez le camoscope sur le mode M PLAYER, la derniere image figée enregistree apparait. S'il n'y a pas d'images enregistrées sur la carte mémoire, No image!
- Pendant l'enregistrement, le chargement, l'effacement ou le formatage, ne coupez pas l'alimentation ou ne changez pas de mode.
- Coupe l'alimentation avant d'insérer ou d'éjecter la carte mémoire.
- Vous risquè de perdre des données sur la carte mémoire.
Evitez tout contact entre des pieces métalliques et les broches de la carte mémoire.
- Ne plez pas la carte mémoire, ne la jetez pas ou ne lui appliquez pas de chic violent.
- Conservez les cartes mémoire sorties du caméoscope dans un étui de protection afin d'éviter les décharges statiques.
- Une mauvaise utilisation, l'électricité statique, un bruit électric ou une réparation peut entrainer la perte ou la modification des informations stockées sur la carte. Sauvegardez les photos importantes sur des supports distincts.
Samsung ne saurait en aucun cas etre tenu responsable de la perte de donnéeses resultant d'une mauvaise manipulation.
![SAMSUNG VP-D352 - [Remarques] - 1](/content/2024/11/24152/images/1ed47bc2f8c7aaddb97baeab770c19aedff46f9ce5dc0211c9d8d6a34d9fbd66.jpg)
Organisation des dossiers et fichiers de la carte mémoire
Les photos que vous prenez sont enregistrées au format JPEG sur la carte mémoire.
Les films que vous enregistrez sont stockés au format MPEG4 sur la carte méléore.
+ Chaque fichier a un numero de fichier et tous les fichiers sont regroupés dans un dossier.
- Un numéro de fischier est attribué de façon séquentière à chaque image enregistrée, la première portant le numéro DCAM0001.
- De même, chaque dossier est numérotré de façon séquencelle à partir du numéro 100SSDVC puis stocké sur la carte mémoire.
Format d'image
Photos
- Les images sont compressées au format JPEG (Joint Photographic Experts Group).
- Le nombre de pixels est de 800 × 600 (capture réalisée à partir d'une cassette: 640 × 480 ) dans chaque mode.
Films
- Les images sont compressées au format MPEG4 (Moving Picture Experts Group).
- Le nombre de pixels est de 720x576 dans chaque mode.
Sélection du mode Caméscope
Vous pouvez utiliser ce caméoscope commeamera d'images figées numériques (DSC).
Vous doivent placer l'interrupteur Mode sur Memory Card pour utiliser ce caméoscope commeamera d/images figées numériques.
- Placez l'interrupteur Power sur CAMERA.
- Placez l'interrupteur Mode sur MEMORY CARD.
Mode MPlayer (mode Lecture memoire)
- Placez l'interrupteur Power sur PLAYER.
- Placez l'interrupteur Mode sur MEMORY CARD.



Le réglage de mémoire interne est disponible en mode Player
Les images peuvent être enregistrées et lues à l'aide de la mémoire interne. Par conséquent, réglez le type de mémoire avant d'enregistrer et de dire les images.
- Placez l'interrupteur Power sur CAMERA ou PLAYER.
- Placez l'interrupteur Mode sur TAPE ou MEMORY CARD.
- Appuyez sur le bouton MENU. La liste des menus apparait
- Déplacez le bouton Menu selector vers la gauche ou vers la droite pour selectionner Memory
, puis appuyez sur Menu selector. - Déplacez le bouton Menu selector vers la gauche ou vers la droite pour sélectionner Memory Type
puis appuyez sur Menu selector. - Déplacez le bouton Menu selector vers la gauche ou vers la droite pour sélectionner Int. Memory
ou Memory Card , puis appuyez sur Menu selector. - Pour quitter, appuyez sur le bouton MENU.
Menu rapide : Memory Type
- Appuyez sur Menu selector.
- Déplacez le bouton Menu selector vers la gauche ou vers la droite pour sélectionner Memory Type
puis appuyez sur Menu selector. - Déplacez le bouton Menu selector vers la gauche ou vers la droite pour sélectionner Int. Memory
ou Memory Card , puis appuyez sur Menu selector. - Pour quitter, appuyez sur le bouton MENU.
(4)
Choix de la qualité d'image
La fonction Photo Quality n'est disponible qu'en mode Player/M.Cam.
Vous pouvez désirar qualite des images figees a enregistrer.
Choisir la qualite de l'image
- Reglez l'interrupteur Power sur CAMERA ou PLAYER.
- Si l'interrupteur Alim. est reglé sur CAMERA, placez l'interrupteur MODE sur MEMORY CARD. Si l'interrupteur Alim. est reglé sur PLAYER, placez l'interrupteur MODE sur TAPE.
- Appuyez sur le bouton MENU.
La liste des menus apparait.
- Déplacez le bouton Menu selector vers la gauche ou vers la droite pour selectionner Memory
, puis appuyez sur Menu selector. - Déplacez le bouton Menu selector vers la gauche ou vers la gauche pour selectionner Photo Quality
, puis appuyez sur Menu selector. - Déplacez le bouton Menu selector vers la gauche ou vers la droite pour sélectionner la qualité d'image souhaitée (Super Fine
, Fine , Normal), puis appuyez sur Menu selector. - Pour quitter, appuyez sur le bouton MENU.
L'icone correspondante s'affiche.
Nombre d'images sur la carte mémoire
| QUALITE | 8Mo | 16Mo |
| Super Fine <Super Fin> | Environ 34 | Environ 68 |
| Fine <Fin> | Environ 45 | Environ 90 |
| Normal | Environ 74 | Environ 148 |
Le nombre réel d'images que vous pouvez enregistrer dépend de la taille de l'image.
[Remarques]
L'approximation ci-dessus se base sur un Memory Stick de 8 Mo en conditions d'enregistrement normales.
- Le nombre d'images qu'il est possible d'enregistrer sur une carte méroaire dépend de plusieurs conditions.
![SAMSUNG VP-D352 - [Remarques] - 1](/content/2024/11/24152/images/46d6c9274615e581a86f226433ee235e60615561cf8167e72b7aabcbb99db041.jpg)
![SAMSUNG VP-D352 - [Remarques] - 2](/content/2024/11/24152/images/79141fa3ea12fb178aa6b7971bf5d073bdb556fe8b8de9a5a040c3a15f26a2f6.jpg)
Menu rapiè : Qualité de la photo
Le menu rapide sert à acceder aux fonctions du caméscope en utilisant simplement le bouton Menu selector.
Le menu rapide facilité l'accès aux menus utilisés fréquement sans passer par le bouton MENU.
Uso del menu rapido: Photo Quality
- Appuyez sur Menu selector.
- Déplacez le bouton Menu selector vers la gauche ou vers la droite pour sélectionner Photo Quality
, puis appuyez sur Menu selector. - Déplacez le bouton Menu selector vers la gauche ou vers la croite pour sélectionner la qualité d'image souhaïée (Super Fine
, Fine , Normal), puis appuyez sur Menu selector. - Pour quitter, appuyez sur le bouton MENU.


Numéro de fichier en mémoire
Lechioxdu numero de fichier n'est possible qu'en mode M.Cam
+ images dans l'ordre d'enregistrement lorsque les images figées sont enregistrées sur la carte mémoire.
Les nombres de fichier mémoire peuvent être définis comme suit :
- Series
: Lorsque des fichiers existent déjà, la nouvelle image prendra le numéro qui suit le dernier fichier. -
Reset
: Lorsqu'il n'y a peu fichier enregistré sur la carte mémoire, la numération des fichiers démarre à 0001. -
Placez l'interrupteur Power sur CAMERA.
- Placez l'interrupteur Mode sur MEMORY CARD.
- Appuyez sur le bouton MENU.
La liste des menus apparait.
- Déplacez le bouton Menu selector vers la gauche ou vers la droite pour sélectionner Memory
, puis appuyez sur Menu selector. - Déplacez le bouton Menu selector vers la gauche ou vers la droite pour Sélectionner File No.
, puis appuyez sur Menu selector. - Déplacez le bouton Menu selector vers la gauche ou vers la droite pour selectionner l'option souhaitee (Series
ou Reset ) puis appuyez sur Menu selector. - Pour quitter, appuyez sur le bouton MENU.
4

6

Vous pouvez prendre des photos en mode M.Cam
Cette fonction est utile lorsque vous voulez prendre un instantané d'un sujet alors que vous utilisez le caméscope.
Vous pouvez prendre des photos à l'aide de la télécommande. (VP-D353(i)/D354(i)/D355(i) uniquement)
Il n'est pas possible d'enregistrer du son avec une image fisée sur la carte mémoire.
- Placez l'interrupteur Power sur CAMERA.
- Placez l'interrupteur Mode sur MEMORY CARD.
- Àpès avoir cadré l'objet que vous souhaitez enregistrer, appuyez complètement sur le bouton PHOTO pour prendre l'image.
L'imagestrise et enregistree sur la cartemémoire enquelques secondes.
- Vous ne pouvez pas prendre une autre image pendant ce laps de temps.
Levoyant s'affiche sur l'ecran ACL pendant le laps de temps nécessaire pour sauvegarder l'image.
[Remarques]
- Les images figées sont sauvégardées sur la carte mémoire en format 800x600.
- Le nombre d'images figées qu'il est possible d'enregistrer dépend de la qualité de l'image.
![SAMSUNG VP-D352 - [Remarques] - 1](/content/2024/11/24152/images/7ece953bb9c61226029522344e592583ea877b176f9bd5509055d117e200f022.jpg)
Visualisation d/images figées
-
Cette fonction ne peut etre activée qu'en mode M PLAYER
. Vous pouvez faire defier et visualiser les images figées enregistrées sur la carte memoire.
Assurez-vous que M.Play Selectest régisé sur Photo dans le MENU.
Il y a 3 manières de visualiser des images enregistrées. -
Single (Une seule image) : pour visualiser image par image.
- Slide Show (Diaporama): pour visualiser toutes les images automatiquement et consecutivement.
- Multi display (Affichage multiple) : pour visualiser simultanément 6 images.
Pour visualiser une seule image
- Placez l'interrupteur Power sur PLAYER.
- Placez l'interrupteur Mode sur MEMORY CARD.
La derniere image enregistrée apparait.
- S'il n'y a pas d'imagines enregistrées sur la carte mémoire, No image !
-
Recherche l'image figée de votre choix à l'aide des boutons («/» (REV/FWD).
-
Pour visualiser l'image suivante: appuyez sur le bouton (FWD).
Pour visualiser l'image precedente: appuyez sur le bouton (REV). - Si vous appuyez sur (FWD) lorsque vous étés sur la première image, vous revenez à la première; de la même façon, si vous appuyez sur (REV) lorsque vous étés sur la première image, vous pass
- Pour rechercher une imagerapidement,maintenez la pression sur les boutons (FWD) et (REV).

Pour visualiser un diaporama
- Placez l'interrupteur Power sur PLAYER.
- Placez l'interrupteur Mode sur MEMORY CARD.
La derniere image enregistrée apparait.
-
Appuyez sur le bouton / (S.SHOW).
-
Toutes les images définit consécutivement par intervalle de 2~3 secondes.
Le "Slide" s'affiche sur I'ecran ACL. -
Pour arrêté le diaporama, appuyez à nouveau sur le bouton II (S.SHOW).

La durée du chargement du diaporama varie en fonction de la taille des images.
Le diaporama commence a partir de l'image actuellément affichée.
- Toute image de grande taille prise par un autre apparéil sera affichée au format vignette.
[Notas]
Pour visualiser l'affichage multiple
- Placez l'interrupteur Power sur PLAYER.
- Placez l'interrupteur Mode sur MEMORY CARD.
La derniere image enregistrée apparait.
-
Pour visualiser six images enregistrées sur le même écran, appuyez sur le bouton (MULTI DISP.).
-
Une marque de selection (« «) apparait sous l'image.
-
Appuyez sur le bouton (REV/FWD) pour sélectionner une image.
-
Pour revenir au mode de lecture image par image, appuyez à nouveau sur le bouton (MULTI DISP.).
L'image selectionnée s'affiche en mode plein écran.
[Remarques]
- Pour afficher les six images précédentes, appuyez sur le bouton (REV) pendant environ 3 secondes.
Pour afficher les six images suivantes, appuyez sur le bouton (FWD) pendant environ 3 secondes. - Pour utiliser les fonctions Delete
, Protect ou Print Mark en mode Multi Display , utilisez Quick Menu
![SAMSUNG VP-D352 - [Remarques] - 1](/content/2024/11/24152/images/0a325c5ab4dac914caa6688306e4a97a95ef959384095e7df4753775c20ce9a0.jpg)
![SAMSUNG VP-D352 - [Remarques] - 2](/content/2024/11/24152/images/ab23cde75bf052c5583897fc22ddbff93dacb404734771bfb6c2bc56b07bd82d.jpg)
Protection contre la suppression accidentelle
La fonction de protection ne peut etre activee qu'en mode M.Play.
Vous pouvez protégger les images importantes contre la suppression accidentelle.
Si vous lancez un formatage, toutes les images y compris les images protégées seront effacées.
- Placez l'interrupteur Power sur PLAYER.
- Placez l'interrupteur Mode sur MEMORY CARD.
La derniere image enregistrée apparait.
S'il n'y a pas d'images enregistrées sur la carte mémoire, No image!
- Recherche l'image figée que vous souhaitez protégé à l'aide des boutons (REV/FWD).
- Appuyez sur le bouton MENU.
La liste des menus apparait.
- Déplacez le bouton Menu selector vers la gauche ou vers la droite pour sélectionner Memory
, puis appuyez sur Menu selector. - Déplacez le bouton Menu selector vers la gauche ou vers la droite pour sélectionnier Protect
, puis appuyez sur Menu selector. - Déplacez le bouton Menu selector vers la droite ou vers la gauche pour selectionner On
puis appuyez sur Menu selector. - Pour quitter, appuyez sur le bouton MENU.
L'icone associée à la fonction de protection (4) s'affiche.
[Remarques]
A l'affichage, les images protégées apparaitront avec l'indicateur (4).
- Si le volet de protection en écriture de la carte mémoire est positionné sur LOCK, vous ne pouvez pas activer la protection de l'image.
(5)


(8)

Menu rapide : Protection
Le menu rapide sert à acceder aux fonctions du caméscope en utilisant simplement le bouton Menu selector.
Le menu rapide facilité l'accès aux menus utilisés fréquement sans passer par le bouton MENU.
- Appuyez sur Menu selector.
- Déplacez le bouton Menu selector vers la gauche ou vers la droite pour sélectionnner Protect
, puis appuyez sur Menu selector. - Déplacez le bouton Menu selector vers la gauche ou vers la croite pour sélectionner On
ou Off puis appuyez sur Menu selector. - Pour quitter, appuyez sur le bouton MENU.



Suppression d/images figées et de films
La fonction Supprimer ne peut etre activee qu'en mode M.Player 一 Mode M.Play>
Vous pouvez effacer les images figées et les films enregistrés sur la carte mémoire.
Si vous désirez supprimer des images protégées, vous doivent tout d'abord désactiver la protection de l'image.
Une image supprimée ne peut pas etre recuperee.
- Placez l'interrupteur Power sur PLAYER.
- Placez l'interrupteur Mode sur MEMORY CARD.
- Recherche z'image figée que vous souhaitez supprimer à l'aide des boutons (REV/FWD).
- Appuyez sur le bouton MENU.
La liste des menus apparait.
- Déplacez le bouton Menu selector vers la gauche ou vers la droite pour sélectionner Memory
, puis appuyez sur Menu selector. - Déplacez le bouton Menu selector vers la gauche ou vers la droite pour selectionner Delete
puis appuyez sur Menu selector. - Le message Do you want to delete?
apparait. - Déplacez le bouton Menu selector vers la gauche ou vers la droite pour sélectionner Yes
ou No puis appuyez sur Menu selector. - Pour quitter, appuyez sur le bouton MENU.
Suppression de toutes les images en une seule fois
Déplacez le bouton Menu selector vers la gauche ou vers la droite pour sélectionner Delete All


Move

Select

ENU Exit
6



Move
Select

ENU Exit
7

100-0002
2/46
800x600
Dc
No
1
Previous
Menu rapide : Suppression
Le menu rapide sert à acceder aux fonctions du caméoscope en utilisant simplement le bouton Menu selector.
Le menu rapide facilité l'accès aux menus utilisés féquèment sans passer par le bouton MENU.
- Appuyez sur Menu selector.
- Déplacez le bouton Menu selector vers la gauche ou vers la droite pour sélectionner Delete
puis appuyez sur Menu selector. - Déplacez le bouton Menu selector vers la gauche ou vers la droite pour sélectionner Cancel
ou Delete puis appuyez sur Menu selector. - Pour quitter, appuyez sur le bouton MENU.
①
2/46 800x600

100-0002
③
2/46 800x600

[Remarques]
- Si aucune image n'est enregistrée sur la carte mémoire, le message No image!
s'affiche. - En cas d'erreur de fichier image sur la carte mémoire, le message Memory Card error!
s'affiche. Ce genre de problème peut survenir lorsque des images ont été copiées à partir d'appareils numériques tiers. - En formantant la carte mémoire, vous supprimez toutes les images enregistrées. (voir page 101)
Pour protégger une image importante contre toute suppression intempéstive, activez la protection de l'image. (voir page 97) - Supprimer tous les fichiers à l'aide du menu Delete All
peut prendre un certain temps. Pour supprimer les fichiers plus rapidement, formatez la carte mémoire après avoir sauvégarde les fichiers sur un autre périhérique de stockage.
Uso del menurado:Delete
Formatage de la carte mémoire
La fonction Formater ne peut etre activee qu'en mode MPlayer
- Vous pouce utiliser les fonctions de formatage de la mémoire pour supperprimer entertrement toutes les images et toutes les options sur la carte mémoire, y compris les images protégées.
La fonction de formatage ramène la carte mémoire à son état initial.
La carte mémoire fournie avec ce caméoscope est déjà formée.
Attention
Si vous exécutez la fonction de formatage de la mémoire, toutes les images seront effacées et ne pourront être récapacées.
1. Placez l'interrupteur Power sur PLAYER.
2. Placez l'interrupteur Mode sur MEMORY CARD.
3. Appuyez sur le bouton MENU.
La liste des menus apparait.
- Déplacez le bouton Menu selector vers la gauche ou vers la droite pour désigner Memory « Mémoire», puis appuyez sur Menu selector.
- Déplacez le bouton Menu selector vers la gauche ou vers la droite pour sélectionner Format Pruitt appuyez sur Menu selector.
- Déplacez le bouton Menu selector vers la gauche ou vers la droite pour seLECTIONner l'options soushaïée (Int. Memory
ou Memory Card ), puis apuyez sur Menu selector. (modeles VP-D354(I)/D355(I) uniquement)
Si vous sélectionné Int. Memory< Mémoire Int.> ou Carte mémoire, le message All files are deleted!
- Déplacez le bottom Menu selector vers la gauche ou vers la droite pour sélectionner Yes
puis appuyez sur Menu selector.
Complete!apparaitlorsquele formatage est terminé. - Pour quitter, appuyez sur le bouton MENU.
[Remarques]
- En utilisant la fonction de formatting, vous supprimez toutes les images figées et toutes les séquences animées définitivement. Il est ensuite impossible de les recuperer.
- Une carte mémoire formée dans un autre appareil posera des problèmes de lecture.
- En formant la carte mémoire, vous effacez la totalité des informations enregistrées sur cette-ci.
N'eteignez pas l'appareil pendant le formatage.
■ Il n'est pas possible de formater un Memory Stick si le voit de protection est en position de sauvageur. (voir page 87)
Ne formatez pas la carte mémoire sur un ordinateur.
Le message Not Formatted
![SAMSUNG VP-D352 - [Remarques] - 1](/content/2024/11/24152/images/b23a858ddadccf78e708b878df9913ed3782094e55ea4b92caa3055be34ec4ff.jpg)
![SAMSUNG VP-D352 - [Remarques] - 2](/content/2024/11/24152/images/1258fc954472bfde48c35f7805a9f4d845ee51b15aeaa617c8df8377c60906bf.jpg)
![SAMSUNG VP-D352 - [Remarques] - 3](/content/2024/11/24152/images/1d87c3306b2f4dcaf53a81a82acdfb5f96efa74e630149903b14df18bf409724.jpg)
![SAMSUNG VP-D352 - [Remarques] - 4](/content/2024/11/24152/images/82491f1787f14cedb64ae100c5317fd771b3a2454a6b0d7342de44c0d51a6f33.jpg)
![SAMSUNG VP-D352 - [Remarques] - 5](/content/2024/11/24152/images/2a7dee0742542101e0dda51f72771fd7658b34312f3c6781e99acc4acc785367.jpg)
![SAMSUNG VP-D352 - [Remarques] - 6](/content/2024/11/24152/images/7ff0d0b0d4fb2bcf6fa0550ff631758770a3c7015f228b1394e0acb0c809ed7a.jpg)
Vous pouvez enregistrer des films avec une bande son sur la carte mémoire.
Le format d'écran pour l'enregistrement d'un film est de 720x576.
Sauvegarde d'images sous la forme d'un film sur la carte mémoire
- Verifiez si la carte memoire est insérée dans le camescope. Si elle n'est pas dans le camescope, insérez-la dans son logement.
- Placez l'interrupteur Power sur CAMERA.
- Placez l'interrupteur Mode sur MEMORY CARD.
- Appuyez sur le bouton Start/Stop et les images sont enregistrées sur la carte méroire en MPEG4. Vous pouvez enregistrer une image fisée de camera sur la carte méroire en appuyant sur le bouton PHOTO au lieu du bouton Start/Stop.
- Appuyez sur le bouton Start/Stop pour arreter l'enregistrement.
[Remarques]
Le bouton MENU et le bouton Menu selector ne sont pas utilisables en cours d'enregistrement MPEG. Pour utiliser le bouton MENU et le bouton Menu selector, arrêtez l'enregistrement. L'enregistrement MPEG n'est pas disponible lorsqu'un menu, menu rapide compris, est affché à l'écran. PourCOMMencer l'enregistrement, appuyez sur le bouton MENU pour le faire disparätre.
- Avant d'utiliser la fonction ENREG. MPEG, vérifie si la carte memoire est inséréte dans le caméoscope.
- Les films enregistrés sont sauvégardés au format *.avi(avi 1.0) sur la carte mérique.
- Les fichiers enregistrés sont sauvégardés dans le dossier suivant. (voir illustration en bas à droite)
- Les images stockées sur carte mémoire sous forme de fichier MPEG ont une taille et une définition inférieures à celles stockées sur cassette.
Le son est enregistré au format mono.
- Les fonctions suivantes ne sont pas autorises en mode M.Cam
Lors de l'enregistrement sur la carte méronaire, n'insérez pas ou n'éjectez pas de cassette car le bruit émis risque d'être enregistré.
Lors de l'enregistrement sur la carte memoire, n'ejctez pas cette-ci car celas risque d'endommager les données sur la carte ou la carte elle-même.
Couper l'alimentation alors que vous étées en train d'acceder à la carte mémoire pourrait endommager les données qui y sont stockées.
![SAMSUNG VP-D352 - [Remarques] - 1](/content/2024/11/24152/images/ab2a607d54ebcfcffe26fe99324de637dd3f2faae279a5e4b61ffe9d3242254e.jpg)
![SAMSUNG VP-D352 - [Remarques] - 2](/content/2024/11/24152/images/8635a4fc1c74f131dcce9abcc3f67d3f4e26afb09ab58db8caa67162638c07b0.jpg)
![SAMSUNG VP-D352 - [Remarques] - 3](/content/2024/11/24152/images/13fbfd7843d56636d426897c0e5a2ab6380a5a01a09c4fe9633a11d210da0532.jpg)
![SAMSUNG VP-D352 - [Remarques] - 4](/content/2024/11/24152/images/03b109bf97b377b8f65e449ad576e8500d78b91229e92f1fa505e03803586a34.jpg)
Registrazione MPEG
La fonction lecture MPEG ne peut etre activée qu'en mode M PLAYER Mode MPLAY>
Vous pouze dire les films sur la carte messoire.
Le son stéreo est lu simultanement.
La lecture sur ordinateur est deILAmeure qualite que sur telleviseur.
1. Placez l'interrupteur Power sur PLAYER.
2. Placez l'interrupteur Mode sur MEMORY CARD.
3. Appuyez sur le bouton MENU.
La liste des menus apparait.
- Déplacez le bouton Menu selector vers la gauche ou vers la droite pour séLECTIONN Memory « Mémoire», puis apuyez sur Menu selector.
- Déplacez le bouton Menu selector vers la gauche ou vers la droite pour sélectionner M.Play Select
puis appuyez sur Menu selector. - Déplacez le bouton Menu selector vers la gauche ou vers la droite pour sélectionner Movie
puis appuyez sur Menu selector. - Pour quitter le menu, appuyez sur le bouton MENU.
- Recherche le film que vous souhaitez dire à l'aide des boutons (REV/FWD).
-
Appuyez sur le bouton (LECTURE/PAUSE).
-
Les films enregistrés sur la carte mémoire sont lus.
Vou pousse dirigir la lecture à l'aide des boutons >/1 (LECTURE/PAUSE) </> /> (REW/FF)/ (ARRET).
[Remarques]
- Le bouton MENU et le bouton Menu selector ne sont pas utilisables en cours de lecture MPEG. Pour utiliser le bouton MENU et le bouton Menu selector, arrêtez la lecture. La lecture MPEG n'est pas disponible lorsqu'un menu ou un menu de navigation est affchéé à l'écran.
Pour commencer l'enregistrement, arrêtez l'affichage à l'écran en appuyant sur le bouton MENU.
- Des images médiocres ou en forme de mosaique pouvant apparaitre en cours de lecture de films MPEG4, mais il ne s'agit pas d'un dysfonctionnement.
- Les images des films enregistrés sur la carte mémoire peuvent ne pas être lues par les caméoscopés d'autres marques.
- A l'inverse, les fichiers MPEG4 enregistrés sur un autre caméoscope neput ne pas été录入 par celui-ci.
-
Pour tire des films MPEG4 sur un ordreur, vous nevez installer Video Codec (préSENT sur le CD fournir avec le caméoscope).
-
Une version 9 ou supérieure de Windows Media Player de Microsoft est nécessaire pour狐 un filcher MPEG4 de la carte memoire sur notre ordinateur.
- Vous pouze télécharger la version Microsoft Windows Media Player dans la langue de votre choix sur le site Web de Microsoft.
"http://www.microsoft.com/windows/windowsmedia/download/default.asp".
- La carte Memory Stick PRO permet d'obtenir des images de toute quality qu'avac la carte Memory Stick.
![SAMSUNG VP-D352 - [Remarques] - 1](/content/2024/11/24152/images/4da46395eba622aa6e64056a27abf9185040673a6f60cbc84bd5c153d9f0f3a9.jpg)
![SAMSUNG VP-D352 - [Remarques] - 2](/content/2024/11/24152/images/9fdb5af3f3e87b48d984a146bd149634d4d4a0012fd75afde04ca339738a54f1.jpg)
![SAMSUNG VP-D352 - [Remarques] - 3](/content/2024/11/24152/images/31d08271a040b36f16b1b8cf5e43e723c16a889dc1fffd0782acd8dc9c3c83ee.jpg)
Riproduzione MPEG
Menu rapide : Sélection M.Play
Le menu rapide sert à acceder aux fonctions du caméscope en utilisant simplement le bouton Menu selector.
Le menu rapide facilité l'accès aux menus utilisés fréquement sans passer par le bouton MENU.
- Appuyez sur Menu selector.
- Déplacez le bouton Menu selector vers la gauche ou vers la droite pour sélectionner M.Play Select
puis appuyez sur Menu selector. - Déplacez le bouton Menu selector vers la gauche ou vers la droite pour sélectionner Photo ou Movie
, puis appuyez sur Menu selector. ( ; - Pour quitter, appuyez sur le bouton MENU.
①

(3)

Enregistrement d'une image issue d'une cassette en tant qu'image figee
-
Cette fonction ne peut être activée qu'en mode Player
.
Vous pouvez enregistrer une image figée d'une cassette vers une carte mémoire.
Si vous pouze déplacer plusieurs images figées enregistrées d'une cassette vers une carte mémoire, utilisez la fonction COPIER. -
Placez I'interrupteur Power sur PLAYER.
- Placez l'interrupteur Mode sur TAPE.
-
Lisez la cassette.
-
Appuyez sur le bouton PHOTO.
L'image fisée est enregistrée sur la carte mémoire.
- Pendant la durée de sauvégarde d'une image, l'écran de lecture bascule en mode Pause et l'affichage est identique à celui visible sur l'illustration en bas à droite.
[Remarques]
- Les images figées copiées de la cassette vers la carte mémoire sont sauvégardées au format 640x480.
- Le nombre d'images que vous pouvez sauvegarder varie en fonction de la résolution de l'image.
![SAMSUNG VP-D352 - [Remarques] - 1](/content/2024/11/24152/images/3aabb953eb67ecd85646481ebd9ab2e4707bafd072ddc275a813aa5128cad243.jpg)
![SAMSUNG VP-D352 - [Remarques] - 2](/content/2024/11/24152/images/92784f7dd324876ca0bf16a9d6e772d84c675b6c1348a897de44b414dc8e98b8.jpg)
![SAMSUNG VP-D352 - [Remarques] - 3](/content/2024/11/24152/images/636ce287f69d399884e5582f1f6f30404b4fe5e833907f5228b31027adb27aa2.jpg)
![SAMSUNG VP-D352 - [Remarques] - 4](/content/2024/11/24152/images/36a6213a93f50d23ed44be7832386ba584c33f8eb66956eaced4e89ef4ee8113.jpg)
Copie d'images figées d'une cassette vers la carte mémoire
La fonctionnementant de copier des photos ne fonctionne qu'en mode Player
Vous pouvez copier des images figées enregistrées avec la fonction PHOTO sur une cassette vers une carte mémoire.
Remboger la cassette jusqu'au point voulu.
- Placez l'interrupteur Power sur PLAYER.
- Placez l'interrupteur Mode sur TAPE.
- Appuyez sur le bouton MENU.
La listedesomenusapparait.
- Déplacez le bouton Menu selector vers la gauche ou vers la droite pour sélectionner Tape
puis appuyez sur Menu selector. -
Déplacez le bouton Menu selector vers la gauche ou vers la droite pour selectionner Photo Copy
puis appuyez sur Menu selector. -
Toutes les images figées enregistrées sur la cassette seront copiees sur la carte mémoire.
-
Le caméscope effectue automatiquement la recherche de photos pour localiser les images figées et la copie démarre.
- Appuyez sur le bouton (STOP) pour arrêter la copie.
- La copie s'arrête lorsque la cassette est finie ou lorsque la carte mémoire est pleine.
[Remarque]
Les images figées copiées de la cassette vers la carte mémoire sont sauvégardées au format 640x480.
(4)

(5)

(6)


Copier dans (Copie les fichiers de la carte mémoire vers la mémoire interne) (modèles VP-D354(i)/D355(i) uniquement)
La fonction Copy to
Vous peuvent copier les images sélectionnées ou toutes les images enregistrées sur la carte mémoire vers la mémoire interne.
- Placez l'interrupteur Power sur PLAYER.
- Placez linterrupteur Mode sur MEMORY CARD.
- Appuyez sur le bouton MENU.
La liste des menus apparait.
-
Déplacez le bouton Menu selector vers la gauche ou vers la droite pour sélectionner Memory
, puis appuyez sur Menu selector. -
Déplacez le bouton Menu selector vers la gauche ou vers la droite pour sélectionner Copy to
puis appuyez sur Menu selector. -
Déplacez le bouton Menu selector vers la gauche ou vers la droite pour selectionner les options (Back
, This File ou All Files ), puis appuyez sur Menu selector.
Pour revenir au mode precedent, selectionnez Back
- Si vous sélectionnez This File
- Pour quitter, appuyez sur le bouton MENU.


4

6
Marquage des images pour impression
Ce caméscope prend en charge le format d'impression DPOF (
Vous pouvez imprimer automatiquement des images enregistrées sur une carte mémoire avec une imprimante compatible avec la fonction DPOF.
+ Il existe 2 manières de poser un Print Mark
- This File
: vous pouvez poser un symbole d'impression sur une photo affichée sur l'écran ACL. Il peut être réglé jusqu'à 999. - All Files
: pour imprimer une copie de toutes les images enregistrées.
La derniere image enregistrée apparait.
- Recherche l'image figée sur laquelle vous souhaitez poser un symbole d'impression à l'aide des boutons (REV/FWD).
- Appuyez sur le bouton MENU.
La liste des menus apparait.
- Déplaceze le bouton Menu selector vers la gauche ou vers la droite pour selectionner Memory
, puis appuyez sur Menu selector. (7) - Déplacez le bouton Menu selector vers la gauche ou vers la droite pour sélectionnner Print Mark
puis appuyez sur Menu selector. - Déplacez le bouton Menu selector vers la gauche ou vers la droite pour selectionner l'option souhaitee (All Off
, This File ou All Files ) , puis appuyez sur Menu selector . - Si vous sélectionné This File
, déplacez le bouton Menu selector vers la gauche ou vers la droite pour sélectionner la quantité puis appuyez sur Menu selector. - Pour quitter, appuyez sur le bouton MENU.
Suppression de l'icone d'impression
Pour supprimer toutes les icônes d'impression, Sélectionnez
All Off
d'impression d'un fichier à la fois, Sélectionnéz le fichier voulu puis réglez This File

Utilisation du menu rapide : Print Mark
Le menu rapide sert à acceder aux fonctions du caméscope en utilisant simplement le bouton Menu selector.
Le menu rapide facilité l'accès aux menus utilisés fréquement sans passer par le bouton MENU.
Cet élément ne peut être régle que dans le fjichier sélectionné.
Uso del menu rapido: Print Mark
- Appuyez sur Menu selector.
- Déplacez le bouton Menu selector vers la droite ou vers la gauche pour sélectionner Print Mark
puis appuyez sur Menu selector. - Déplacez le bouton Menu selector vers la gauche ou vers la droite pour sélectionner la quantité puis appuyez sur Menu selector.
- Pour quitter, appuyez sur le bouton MENU.
[Remarques]
- Si la fonction Print Mark
est reglee sur This File , vous pouvez parameter le nombre de copies de 0 à 999. - Si la fonction Print Mark
est régée sur All Files , vous pouvez paramétre le nombre de copies de 1. - L'option All Files
peut prendre un certain temps en fonction du nombre d'images enregistrées. - Les imprimantes compatibles DPOF sont disponibles sur le marché.
Utilizez le cable USB fourni avec le camoscope.
①

Impression de vos images avec PictBridgeTM
PictBridgeTM fonction ne peut etre activée qu'en mode M PLAYER
+ En connectant laamera à une imprimante compatible PictBridge (vendue séparément), vous pouvez envoyer des images à partir de la carte mémoire directement vers l'imprimante en faisant quelques opérations simples nécessitant l'utilisation des boutons de laamera.
+ Grace à PictBridge, vous pouvez commander l'imprimante directement à partir de votreamera afin d'imprimer les images enregistrées. Pour imprimer directement vos images enregistrées en vous servant de la fonction PictBridge, connectez votreamera à une imprimante PictBridge par l'intermédiaire d'un cable USB.
Connexion à une imprimante
- Mettez votre imprimante hors tension. Allumez votreamera en plaçant l'interrupteur Power sur PLAYER.
- Placez l'interrupteur Mode sur MEMORY CARD.
- Appuyez sur le bouton MENU.
La liste des menus apparait.
-
Déplacez le bouton Menu selector vers la gauche ou vers la droite pour selectionner System
puis appuyez sur Menu selector. -
Déploquee le bouton Menu selector vers la gauche ou vers la droite pour selectionner USB Connect
puis appuyez sur Menu selector. -
Déplacez le bouton Menu selector vers la gauche ou vers la droite pour sélectionn Printer
puis appuyez sur Menu selector.
Computer
- Printer
-
Connectez-vous caméoscope à l'imprimante en utilisant le cable USB foumi.
-
Mettez votre imprimante sous tension.
-
L'écran du menu PictBridge apparait automatiquement après un bref instant.
Le curseur met en surbrillance I'elément Printer.
Selection des images
- Dans le menu des réglages PictBridge, appuyez sur les boutons «/» (REV/FWD) pour selectionner une image à imprimer.
Paramétrage du nombre d'impressions
- Déplacez le bouton Menu selector vers la gauche ou vers la droite pour sélectionner Copies puis appuyez sur Menu selector.
- Déplacez le bouton Menu selector vers la droite ou vers la gauche pour parameter le nombre d'impressions puis appuyez sur Menu selector.


Réglage de l'option d'impression date/heure
- Déplacez le bouton Menu selector vers la gauche ou vers la droite pour sélectionner Date/Time
puis appuyez sur Menu selector. -
Déplacez le bouton Menu selector vers la gauche ou vers la droite pour sélectionner le type d'affichage pour Date/Time
puis appuyez sur Menu selector. -
Type d'affichage pour Date/Time
: Off , Date, Time , Date&Time
Impression des images
Déplacez le bouton Menu selector vers la gauche ou vers la droite pour sélectionner Print




Previous

100-0002
[Remarques]
L'option d'impression de la date et de l'heure peut ne pas etre prise en charge par toutes les imprimantes. Renseignez-vous aupres du fabricant de suaive imprimante. Tout reglage dans le menu Date/Time
- PictBridge™, marque déposée de la CIPA (Camera & Imaging Products Association), est un protocole de transfert d'images développé par Canon, Fuji, HP, Olympus, Seiko Epson et Sony.
- Les imprimitantes compatibles PictBridge sont disponibles sur le marché.
Utilisez le cable USB fourni avec laamera.
Utilisez l'adaptateur CA de votreamera pendant l'impression directe PictBridge. Si vous eteignez votreamera au cours de l'impression, vous risquez d'endommager les données de votre carte mémoire.
- L'impression des images figées est prise en charge. Les films ne peuvent pas'être imprimés.
- Vous pouvez paramétre differentes options d'impression en fonction de l'imprimante.
- Veuillez you reporter au manuel d'utilisation de l'imprimante pour plus de détails.
A la fin d'un enregistrement
- Une fois un enregistrement terminé, vous devez-retirer la source d'alimentation.
-
En cas d'enregistrement avec une batterie lithium-ion, si vous laissez la batterie reliée au caméoscope, cela peut réduire la durée de vie de la batterie. La batterie doit être retiree une fois l'enregistrement terminé.
-
Déplacez le commutateur TAPE EJECT dans la direction de la flèche.
L'ouverture du volet du compartment de la cassette ejecte automatiquement celle-ci.
- Veuillez patienter quelques instantes jusqu'à l'éjection complète de la cassette.
- Une fois la cassette retiree, fermez le volet et stockez le camescope a I'abri de la poussiere. La poussiere ou d'autres corps etrangers peuvent entrainer des images affectees de parasites aux formes carrees ou des images intermittentes.
- Placez l'interrupteur Power sur Off.
- Debranchez la source d'alimentation ou retirez la batterie lithium-ion.
Appuyez sur le bouton BATTERY RELEASE situé sur la face inférieure du caméscope et faites glisser la batterie dans la direction de la flèche.




Nettoyage et entretien du caméscope
Nettoyage des têtes video
Afin de garantir un enregistrement normal et des images nettes, nettoyez les têtes video en cas de déformation de l'image ou de parasites aux formes carées ou d'apparition d'un écran bleu en cours de lecture.
- Placez l'interrupteur Power sur PLAYER.
- Placez l'interrupteur Mode sur TAPE. (VP-D353(i)/D354(i)/D355(i) uniquely)
- Insérez la cassette de nettoyage.
- Appuyez sur le bouton (LECTURE/PAUSE).
- Appuyez sur le bouton (ARRET) pendant 10 secondes.
[Remarques]
- Vérifiez la qualité d'image à l'aide d'une cassette video.
- Si la qualité d'image ne s'est pas améliorée, répétez l'opération.
Nettoyez les têtes video avec une cassette de nettoyage à sec. - Certaines cassettes nettoyantes s'arrêtent automatiquement.
Reportez-vous aux instructions relatives à la cassette nettoyante pour plus d'informations.
Si le problème persististe après le nettoyage, consultez votre revendeur Samsung le plus proche ou un centre de service technique agrée.
Utilisation de votre caméoscope à l'étranger
Chaque pays ou région possède son propre système électrique et son codage couleur.
Avant d'utiliser votre caméoscope à l'étranger, vérifie les points suivants.
Sources d'alimentation
- Vous pouvez utiliser votre caméoscope avec l'adaptateur CA fourni dans n'importequel pays ou n'importequelle zone du globe où l'alimentation est comprise entre 100 V et 240 V, 50/60 Hz.
- Utilisez si nécessaire un adaptateur CA acheté dans le commerce en fonction de la forme des prises murales sur place.
Système de couleurs
Voupeuz visualiserYOUR enregistrement dans le viseur.
Cependant,pourle visualiser sur une television ou le copier sur un magnétoscope,la television ou le magnétoscope doit etre conformes au systeme PAL et etre équipés des ports audio / video appropriés. Danslecas contraire,vousdevezutilisurprogramme de transcodage.
Pays et régions compatibles PAL :
Allemagne, Arabie Saoudite, Australie, Autrique, Belgique, Bulgarie, Chine, Communauté des Etats indépendants, Danemark, Egypte, Espagne, Finlande, France, Grande-Bretagne, Greece, Hong Kong, Hongrie, Inde, Iran, Irak, Koweit, Libye, Malaisie, Mauritanie, Norvège, Pays-Bas, Roumanie, Singapour, République slovaque, République tchèque, Suède, Suisse, Syrie, Thailande, Tunisia, etc.
Pays et régions compatibles NTSC :
Amérique centrale, Bahamas, Canada, Coree, Etats-Unis d'Amérique, Japon, Mexique, Philippines, Taiwan, etc.
[Remarque]
Vou puez enregistrer avec votre camscope et visualiser des images sur l'écran ACL n'importe où dans le monde.
Avant de contacter le centre de service technique agrée Samsung, effectuez les vérifications élémentaires suivantes : Vous pourrez ainsi vous épargner un appel inutil.
Affichage de I'autodiagnostic
| Affichage | Clignotant | donnés les informations suivantes... | Action |
| □ | lent | Le bloc-batterie est presque décharge. | Remplacez-le par un bloc charge. |
| Tape end !<Fin Cassette > | lent | Lorsque le temps restant sur la cassette est inférieur à 2 minutes | Prévoyez une nouvelle cassette. |
| Tape end !<Fin Cassette > | aucun | la cassette est en fin de bande. | Remplacez-la par une nouvelle. |
| No Tape !<Pas de Cassette > | lent | il n'y a pas de cassette dans le caméoscope. | Insérez une cassette. |
| Protection !<Protection > | lent | la cassette est protégée contre l'enregistrement. | Si vous foulez enregistrer, retireze la protection. |
| ▲ ...D L C R | lent | Le caméoscope présente un défaut mécanique. | 1. Ejectez la cassette.2. Eteignez le caméoscope.3. Retirrez la batterie.4. Reconnectez la batterie.5. Contacentez votre centre de service après-ventre SAMSUNG le plus proche si le problème persisté. |
| lent | De la condensation due à l'humidité s'est formée à l'intérieur du caméoscope. | voir ci-dessous. |
Condensation due à l'humidité
Si le caméoscope passée sans transition d'un endroit froid à un endroit chaud, de l'humidité peut se condenser à l'intérieur du caméoscope, sur la surface de la bande ou sur l'objectif. Dans ces conditions, la bande risque d'adhérer à la tête video et d'être endommagée ou l'appareil risque de ne pas fonctionner correctement. Pour éviter d'eventuels dommages dans ces conditions, le caméoscope est équiped d'un détector d'humidité.
En cas d'humidité à l'intérieur du caméoscope, (DEW
| Affichage | Clignotant | donnne les informations suivantes... | Action |
| No Memory Card! <Pas de carte mémoire !> | lent | Il n'y a pas de carte mémoire dans le caméoscope. | Insérez une carte mémoire. |
| Memory Full! <Mémoire Pleine !> | lent | Il n'y a pas suffisamment d'espace mémoire pour enregistrer. | Changez de carte mémoire. Supprimez les images enregistrées. |
| No image! <Pas d'image !> | lent | Il n'y a pas d'images enregistrées sur la carte mémoire. | Enregistrrez de nouvelles images. |
| Write protect! <Protégé En Écriture !> | lent | La carte mémoire est protégée en écriture. | Libérique le voit de protection en écriture sur la carte mémoire. |
| Protect! <Protégier !> | lent | Lorsque vous essayez de supprimer une image protégée. | Annulez la protection de l'image. |
| Read error! <Erreur De Lecture !> | lent | Laamera ne peut pas dire. | Formatez la carte mémoire ou insérez la carte mémoire enregistrée sur ce caméoscope. |
| Write error! <Erreur D'Écriture !> | lent | Laamera ne peut pas enregistrer. | Formatez une carte mémoire ou changez de carte mémoire. |
| Not Formatted! <Non Formaté !> | lent | La carte mémoire doit être formatée. | Formatez la carte mémoire. (voir page 101) |
| Now deleted... <Suppression En Cours...> | lent | Lorsque la suppression de fichiers est en cours. | Attendez la fin de la suppression. |
| Memory Card error! <Erreur carte mémoire !> | lent | Si la carte mémoire insérée n'est pas reconnaue par le caméoscope. | Éjectez-la avant de la réinsérer. essayez une autre carte mémoire. |
Si ces instructions n'apportent aucune solution à votre problème, contactez le centre de service technique agrée Samsung le plus proche.
| Symptôme | Explication/Solution |
| Vous ne pouvez pas allumer le caméscope. | Vérifiez le bloc-batterie ou l'adaptateur CA. |
| Le bouton Start/stop ne fonctionne pas pendant l'enregistrement. | Vérifiez que l'interrupteur Power est place sur CAMERA. Vous avez atteint la fin de la cassette. Vérifiez le volet de protection en écriture sur la cassette. |
| Le caméscope s'éteint automatiquement. | Vous avez laissé le caméscope régisé sur STBYendant plus de 5 minutes sans l'utiliser. Le bloc-batterie est totallement use. |
| La batterie se décharge rapidement. | Le bloc-batterie est rapidement use. La température de l'air est trop basse. Le bloc-batterie n'a pas été rechargé complètement. Le bloc-batterie est totallement épuisé et ne peut être rechargé. Utilisez un autre bloc-battene. |
| Lorsque vous constatEZ un écran bleu en cours de lecture. | Les têtes video sont peut-être sales. Nettoyez les têtes avec une cassette de nettoyage. |
| Une bande verticale apparait à l'écran lors de l'enregistrement d'un arrêt-plan souvent. | Le contraste entre le sujet et l'arrêt-plan est trop important pour que le caméscope puisse fonctionner normalement. Éclairez l'arrêt-plan pour réduire le contraste ou utiliser la fonction BLC tout en enregistrant avec un arrêt-plan plus clair. |
| L'image dans le viseur est floue. | L'objet du viseur n'a pas été réglier. Réglez la molette de commande du viseur jusqu'à ce que les voyants affichés sur le viseur parviennent à une mise au point nette. |
| La mise au point automatique ne fonctionne pas. | Vérifiez le menu de mise au point manuelle. La mise au point automatique ne fonctionne pas en mode Manual Focus.<Mise au point manuelle>. |
| Les boutons Lecture, Av.Rapide ou Ret.Rapide ne fonctionnent pas. | Vérifiez l'interrupteur Power. Placez l'interrupteur Power sur PLAYER. Vous avez atteint le début ou la fin de la cassette. |
| Une image en forme de mosaïque apparait en cours de lecture : | Cela correspond aux fonctionnement normal et il ne s'agit pas d'une panne ou d'un défaut. La bande peut être endommagée; remplacez-la; nettoyez les têtes video. (voir p. 113) |
| Signal videoe | PAL |
| Système d'enregistrement videoe | 2 têtes tourantes, système de balayage hélicoïdal |
| Système d'enregistrement audio | Tétés tourantes, système PCM |
| Cassette utilisable | Cassette videoe numérique (d'une largeur de 6,35 mm) : Cassette mini DV |
| Vitesse de lecture | Vitesse normale : environ 18,83mm/s/Vitesse lente LP : environ 12,57 mm/s |
| Durée d'enregistrement de la cassette | Vitesse normale : 60 minutes (en utilisant une cassette DVM 60),Vitesse lente LP : 90 minutes (en utilisant une cassette DVM 90) |
| Durée d'AVANCE | Environ 150 sec (en utilisant une cassette DVM60) |
| RAPIDE/RETOUR | CCD (Mémoire à transfert de charges) (800k pixels) |
| Dispositif d'image | F1.6 20x (optique), 900x (numérique) Objectif à zoom électronique |
| Objectif | O30 |
| Diamètre du filtre | |
| Ecran ACL/Viseur | |
| Taille/Nombre de points | 2,36 pouces 112K |
| Méthode de l'écran ACL | TFT ACL |
| Viseur | ACL en noir et blanc (modèle VP-D351(i)/D352(i)/D353(i) uniquement),ACL en couleur (modèle VP-D354(i)/D355(i) uniquement) |
| Connecteurs | |
| Sortie videoe | 1 Vp-p (75Ω terminé) |
| Sortie S-Vidéo | Y: 1Vp-p, 75Ω, C: 0.286Vp-p, 75Ω |
| Sortie audio | -7.5décibles (600Ω terminé) |
| Entrez / sortie DV | VP-D351(i)/D352(i)/D353(i)/D354(i)/D355i: Connecteur entrez/sortingué à 4 broches, VP-D351/D352/D353/D354/D355: Sortie uniquement. |
| sortie USB | Connector type mini B |
| Microphone exteme | Ø3.5 stéreo |
Généralités
| Source d'alimentation | 8,4 V CC, bloc batterie lithium-ion 7,4 V |
| Type de source d'alimentation | Bloc batterie lithium-ion, alimentation secteur (100 V-240 V) 50/60 Hz |
| Consommation d'énergie | 4,3 W (écran ACL), 4,0 W (Viseur) |
| (Enregistrement) | |
| Température de fonctionnement | 0~40°C |
| Température de stockage | -20°C ~ 60°C |
| Dimensions externes | Hauteur 92 mm, longueur 117,5 mm, largeur 64 mm |
| Poids | 410 g (hors bloc batterie lithium-ion et cassette) |
| Internal MIC | Microphone à condensateur stéroy multi-directionnel |
| Télécommande (modèles VP-353(i)/D354(i)/D355(i) uniquement) | En intéérieur : supérieur à 15 mètres (en ligne droite),En extérieur : environ 5 mètres (en ligne droite) |
- Cette conception et ces specifications techniques sont susceptibles d'être modifiées sans préavis.
Nome modello: VP-D351(i)/D352(i)/D353(i)/D354(i)/D355(i)
Sistema
Avance image par image 74
-B
Bloc batterie 21
BLC. 46
Boutons de fonctionnement 13
-C-
Cable CC. 20
Carte mémoire. 88
Cassette 36
Clock Set
Connexion 71
-D
Date/Time
Demonstration
Digital Effect
DIS 61
Dragonne 18
DV. 79,80
-E-
EASY.Q Mode
Enregistrement MPEG 102
Exposure
-F-
Fade Fondu> 45
Formatage 101
-H
Haut-parleur 70
-1
IEEE1394 79
Images figées 95
-M-
Memory Stick. 87
-N-
Nettoyage 113
-P-
Photo Copy
Photo Search
Program AE
Protection
Post-sonorisation. 77
Port USB 81~86
-Q-
Qualité de photo 91
-R-
Rec Mode
Recherche Enr. 41
Remote
-S
Son 70
Suppression. 99
-T
Télé/MACRO 44
Télécommande 17,43
TV Display
-V-
Viseur 35
Vitesse d'obturation 57
-W-
White Balance
Wind Cut
-2
ZERO MEMORY
Zoom 44
-A-
Accessor 12
AF/MF 58
Altoparlante 70
Audio mode
Audio 70
Avanzamento di fotogramma 74
-B-
BLC. 46
-C-
Cancellazione 99
Cassetta 36
Cavo CC 20
Pour toute information ou tout renseignement complémentaire sur nos produits, notre service consommateurs est à votre disposition au :
service consommateurs :

N°Indigo 0825 08 65 65
0,15€ TTC/MN
Vous pouvez également vous connecter à notre site Internet:
www.samsung.fr
Cet apparéil est garanti un an pièces et main d'oeuvre pour la France (metropolitaine)
La facture d'achat faisant office de bon de garantie.
FRANCAIS
REMARQUES
NOTA
ITALIANO
Cher Client,
Nous vous remercions d'avoir acheté un produit SAMSUNG.
Au cas où vous auriez besoin de notre service après-vente, nous vous invitons à returner ce produit au revendeur qui en a effectué la vente.
Si vous avez un problème, n'hésitez pas à nous contacter à l'adresse suivante:
SAMSUNG ELECTRONICS FRANCE Service
Paris Nord 2
66, rue des Vanesses
BP 50116 Villepinte
95950 ROISSY CDG CEDEX
FRANCE
Tel: 08 25 08 65 65, Fax: 01 48 63 06 38
http://www.samsungservices.com
GARANTIE
Sans préjudice de la garantie légale du fabricant ou du vendeur conformément à l'article 1641 du Code Civil, la société SAMSUNG applique les garanties suivantes:
Par la présente carte, SAMSUNG ELECTRONICS FRANCE garantit que ce produit est exempt de défaut de matière et de fabrication existant lors de l'acquisition par le client chez un distributeur pour un début d'un an (pièces et main d'oeuvre), pour les appareils audio, video, télévision et micro ondes.
La période de garantie commence le jour de l'achat de l'appareil.
Elle n'est enaucun cas prolongee par I'échange de I'appareil. Si ce produit s'avere defectieux pendant la période de garantie en raison de matière ou de fabrication incorrecte, le distributeur prendra en charge le produit ou a defaut SAMSUNG ELECTRONICS FRANCE dans les conditions exposées ci-après.
Les filiales de SAMSUNG ELECTRONICS CORP. ainsi que ses distributeurs et les stations techniques agrées des autres états membres de la C.E.E. honoreront aussi cette garantie selon les termes et conditions en vigueur dans le pays où est demandé la réparation.
- La garantie sera seulement assurée si la facture d'achat et la carte de garantie remises au consommateur par le distributeur sont presentées et si elles mentionnent:
a) Le nom de l'acheteur,
b) Le nom, l'adresse et le cachet du distributeur,
c) Le nom du modele et le numero de série du produit acquis
d) La date d'acquisition de ce produit.
Eneldom cas, la carte de garantie seule ne fera preuve de garantie.
- SAMSUNG ELECTRONICS FRANCE se réserve le droit de refuser la garantie si tout ou partie de ces mentions a eté
enlevé ou modifié après l'acquisition du produit par le client chez le distributeur.
- Ce produit ne sera jamais considéré comme défectueux en matière ou en fabrication s'il doit être adapté, changé ou régle afin d'être conforme aux standards techniques ou de sécurité nationaux ou locaux en vigueur dans tout autre pays que celui pour lequel il a été fabriqué à l'origine. Cette garantie ne s'aupplique pas:
a) À ces adaptations, changements ou régles qu'ils soient exécutés de façon correcte ou pas,
b) Aux dommages qui en résultataisent.
- Cette garantie ne couvre pas les cas suivants:
A. Les contrôles périodiques, l'entretien, la réparation et le remplacement de pieces par suite d'usure normale;
B. Les frais et les risques de transport directs ou indirects à la mise en œuvre de la garantie de ce produit;
C. Le dommage du produit resultant:
1) D'abus et de mauvais usage, en particulier mais non de façon exclusive à:
a. La néligence ou faute d'utilisateur (utilisation contraire aux instructions ou non prévue, faisse manoeuvre, chute, cassure, férule accidentelle), etc.
b. L'installation ou l'utilisation de ce produit en contradiction avec les standards techniques ou de sécurité en vigueur dans le pays où le produit est utilisé;
2) De réparations faites par les répartateurs non agréés;
3) D'accidents, de cas de force majeure ou de toute autre cause hors du contrôle de SAMSUNG ELECTRONICS FRANCE, en particulier mais non de façon exclusive : la foudre, l'inondation, l'incendie, les troubles publics, des piles qui ont coule, une mauvaise ventilation, etc....
- Cette garantie ne limite aucunement les droits statutaires du client sous les lois nationales en vigueur. Faute de lois nationales en vigueur, cette garantie ou son application dans la C.E.E. sera l'unique et exclusif recours légal du client et ni SAMSUNG ELECTRONICS CORP., ni ses filiales ne seront tenus pour responsables des dommages directs ou indirects résultat d'une infraction aux conditions de garantie ci-dessus.
Notice Facile