EHT601S - Hotte ESSENTIELB - Notice d'utilisation et mode d'emploi gratuit
Retrouvez gratuitement la notice de l'appareil EHT601S ESSENTIELB au format PDF.
| Type de hotte | Hotte trapèze |
| Installation | Murale |
| Matériau | Acier inoxydable |
| Nombre de vitesses | 3 |
| Éclairage | Oui, lampes intégrées |
| Type de filtration | Filtres à graisse métalliques |
| Mode d'évacuation | Évacuation extérieure ou recyclage |
| Niveau sonore | Non précisé |
| Puissance d'aspiration | Non précisé |
| Commande | Manuelle, boutons poussoirs |
| Dimensions approximatives | Non précisé |
| Couleur | Acier inoxydable |
| Accessoires inclus | Non précisé |
| Consommation électrique | Non précisé |
| Garantie | Non précisé |
FOIRE AUX QUESTIONS - EHT601S ESSENTIELB
Questions des utilisateurs sur EHT601S ESSENTIELB
0 question sur cet appareil. Repondez a celles que vous connaissez ou posez la votre.
Poser une nouvelle question sur cet appareil
Téléchargez la notice de votre Hotte au format PDF gratuitement ! Retrouvez votre notice EHT601S - ESSENTIELB et reprennez votre appareil électronique en main. Sur cette page sont publiés tous les documents nécessaires à l'utilisation de votre appareil EHT601S de la marque ESSENTIELB.
MODE D'EMPLOI EHT601S ESSENTIELB
Notice d'utilisation
Pour vous aider à bien vivre votre achat
Vou venez d'acquérir un produit de la marque Essentiel b et nous vous en remercions. Nous apportons un soin tout particulier à la FIABILITÉ, à la FACILITÉ D'USAGE et au DESIGN de nos produits.
Nous espérons que cette hotte vous donnera entière satisfaction.
sommaire
votre produit 6
6
Dimensions de la hotte 7
montage 9
9
Fixation murale de la hotte 9
AVANT D'INSTALLER LA HOTTE 10
POUR FIXER LA HOTTE AU MUR 10
Utilisation en version évacuation 11
Utilisation en version recyclage 12
Schémas de montage 13
utilisation 15
nettoyage et entretien 16
Nettoyage de la hotte 16
Nettoyage des frittes 16
FILTRES ANTI-GRAISSE 16
FILTRE A CHARBON 17
Remplacement des ampôules 18
guide de dépannage 19
replacement du cordon d'alimentation 19
Caractéristiques du cordon d'alimentation 20
Branchement 20
votre produit
aractéristiques techniques
| Modèle EHDT 614i | Modèle EHDT 914i | |
| Puisance moteur | 120 W | 120 W |
| Tension d'alimentation | 220-240 V~ 50-60 Hz | 220-240 V~ 50-60 Hz |
| Type d'éclairage | LED | LED |
| Débit d'air minimum | 185 m³/h | 188 m³/h |
| Débit d'air maximum | 368 m³/h | 368 m³/h |
| Largeur de la hotte | 600 mm | 900 mm |
| Hauteur mini/maxi en version évacuation | 560 mm / 861 mm | 560 mm / 861 mm |
| Hauteur mini/maxi en version recyclage | 694 mm / 861 mm | 694 mm / 861 mm |
| Bloc aspirant (H x L x P) | 197 x 600 x 450 mm | 197 x 900 x 450 mm |
| Cheminée (L x P) | 176 x 162 mm | 176 x 162 mm |
| Volume sonore à puissance minimale | 45 dB | 45 dB |
| Volume sonore à puissance maximale | 61 dB | 61 dB |
| Filtres | - 2 filtrés aluminium - 2 filtrés charbon | - 2 filtrés aluminium - 2 filtrés charbon |
| Accessoires fournis | - Kit de fixation - Cheminée - Déflecteur - Filtre aluminium - Filtre charbon en option | - Kit de fixation - Cheminée - Déflecteur - Filtres aluminium - Filtre charbon en option |

essential
votreetroduit
Vérifiez la nature de la cloison ou du mur sur lequel vous souhaitez fixer la hotte. Assurez-vous que la visserie fournie est compatible.
Autrement, utilisez des vis et chevilles à expansion adéquats au type de cloison ou de mur (spéciales murs creux, plaque de plâtre - type BA13, brique creuse, etc.).

Dimensions de la hotte
(Dimensions exprimées en mm)

(Dimensions exprimées en mm)

montage
Vous pouvez utiliser cette hotte aspirante soit en version ÉVACUATION (figure 1), soit en version RECYCLAGE (figure 2) (configuration d'usine).
Pour les 2 versions, vous doivent vous procurar un conduit d'évacuation adapté. Veuillez vous renseigner auprès de votre magasin revendeur.
Caracteristiques du conduit d'évacuation
- Privilégiez les conduits d'évacuation courts et directs.
- Le conduit d'évacuation doit être d'un diamètre de 150 mm, en matière non inflammable. Vous pouvez également utiliser un conduit de diamètre inférieur avec un réducteur (non fourni). Dans ce cas, placez un réducteur sur le clapet anti-retour de la hotte.
- La longueur totale du conduit jusqu'à l'évacuation ne doit pas excéder 3 mètres avec un coude ou 2 mètres avec deux coudes (angle maximum des coudes : 90^ ).
Pour maintenir le conduit et assurer son étanchéité, utilisez des colliers de serrage (non fournis). - En sortie, reliez le conduit d'évacuation à une grille ou un clapet de façade.
Fixation murale de la hotte

- L'installation de la hotte doit être effectuee par au moins 2 personnes qualifiées. Nous vous conseillons de confier l'installation à des spécialistes.
- Ne branche pas la hotte sur la prise de courant tant que l'installation n'est pas terminée.
Votre hotte Essentiel b est livree avec un kit de visserie.
Avant d'installer la hotte
Avant de procéder à l'installation et afin de manipuler la hotte plus aisément, retirez les filtres métalliques. Pour cela, reportez-vous au paragraph « Nettoyage des filtres anti-graisses »
Pour fixer la hotte au mur
- Déterminéz l'emplacement de la hotte à l'aide du gabarit. Elle doit être centrée par rapport à votre plan de cuisson.
La hotte doit être située proche d'une prise électrique comme indiqué sur le schéma ci-contre. Idéalement, la prise électrique doit se couver derrière un cache-conduit.
max 90 cm
Veuillez respecter les distances minimum suivantes entre le plan de cuisson et la partie la plus BASSE de la hotte :
- 50 cm minimum pour les cuisinières/ tables de cuisson électriques et
- 70 cm minimum pour les cuisinières/ tables de cuisson au gaz ou mixtes.

Cette distance de 70 cm peut être réduite pour :
- Les parties non combustibles de la hotte de cuisine, et
-
Les parties fonctionnement à très basse tension de sécurité, à condition que ces parties ne donnent pas accès aux parties actives lorsqu'elles sont déformées).
-
Debranchez les fusibles correspondant au circuit de la cuisine.
- Coupez le cadre du gabarit afin d'avoir la taille réelle de la hotte.
- Positionnez le gabarit sur le mur support, à l'emplacement exact où vous souhaitez fixer la hotte (le bord inférieur du gabarit correspondant au bas de la hotte). Vérifiez l'horizontalité à l'aide d'un niveau à bulle.
- A l'aide d'un ruban adhésif, fixez le gabarit sur le mur support (faites attention à ce que le ruban n'abîme pas le mur).
- Pointez les trou (schematises d'un cercle et d'une croix) et retirez le gabarit.
- Percez les trouss : attention, vérifie la nature de votre mur support et utilisez des vis et des chevilles adequates (par exemple béton armé, placo-plâtre, etc.).
- Branchez la hotte.
- Mettez les chevilles et vis dans les trous.
- Fixez définitivement la hotte.
Note : si les instructions d'installation pour la table de cuisson au gaz spécifique une distance plus grande, celle-ci doit être prise en compte.
Utilisation en version évacuation (figure 1)
Si vous possédez une sortie vers l'extérieur
- L'air est aspiré et évacué vers l'extérieur à travers un conduit d'évacuation (non fourni).
- Les filtres à charbon sont installés d'origine sur la hotte.
- Pour une utilisation de la hotte en version ÉVACUATION, n'utilisez pas de filtré à charbon.
- Les réglementations concernant l'évacuation de l'air doivent être respectées.
- Reliez la hotte aux tubes et troughs d'évacuation de la paroi d'un diamètre équivalent à la sortie d'air (collier de raccord).
L'utilisation de tubes et trough d'évacuation à paroi avec un diamètre inférieur entrainera une diminution des performances d'aspiration et une augmentation du bruit. - Une ventilation convenable de la pierce doit etre prévue lorsqu'une hotte de cuisine est utilisée simultanément avec des apparéils utilisant du gaz ou un autre combustible.
- L'air ne doit pas être envoyé dans un conduit pour évacuer les fumées d'appareils utilisant du gaz ou un autre combustible.

(Visuel non contractuel)

- La hotte ne peut évacuer que l'équivalent de l'air de remplacement que vous laissez entra dans la piece. C'est la raison pour laquelle il est important que l'air puisse entra dans la cuisine par une grille d'aération haute ou BASSE ou par une porte ou une fenêtre entrouverte lors de l'utilisation de la hotte.
- En cas d'entrée d'air insuffisante, une dépression peut apparaitre dans les conduits de chauffage (par exemple : feu ouvert, chauffage).
- Lorsque vous utilisez simultanément la hotte à évacuation avec d'autres apparèils utilisant une énergie autre que l'électricité (gaz, charbon), la dépression ne peut dépasser les 4 Pa (0,04 mBar).
Utilisation en version recyclage (figure 2)
Si vous ne possédez pas de sortie vers l'extérieur
- Vous doivent utiliser la hotte avec les filtres à charbon. Vous pouvez vous procurer des filtres à charbon en magasin.
- L'air est aspiré, filtré (au travers des filtres à charbon) et recyclé dans la cuisine.

Figure 2
(Visuel non contractuel)
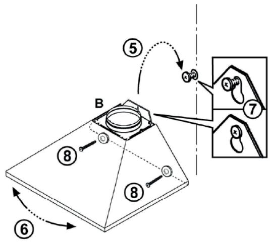
Schémas de montage

ETAPE 1
2 × 8mm
2× 5× 45



ÉTAPE 2
(VERSION ÉVACUATION)


ÉTAPE 2 (VERSION RECYCLAGE)

ÉTAPE 3
utilisation
La hotte est destinée à aspirer les fumées, odeurs et vapeurs de cuisson audressus de la table de cuisson. Pour obtenir de更好地 résultats, allumez la hotter 5 minutes environ avant le début de la cuisson et laissez-la fonctionner pendant 15 minutes après la fin de la cuisson jusqu'à l'élimination totale des odeurs.
Le bandeau de commande vous permet de selectionner la puissance d'aspiration et d'allumer ou eteindre la luziere.
-
Appuyez sur le bouton de selection de la puissance sur la position souhaitee:
-
Position (1): allumer la hotte en vitesse lente / éteindre la hotte.
- Position 2: le moteur tourne à vitesse moyenne.
-
Position 3: le moteur tourne à vitesse rapide.
-
Appuyez sur le bouton de la lampe pour l'allumer, puis appuyez de nouveau pour l'éteindre.
ATTENTION :
- En fin d'utilisation, assurez-vous que les boutons de l'aspiration et de la lampe sont arrêtés.
- Les parties accessibles de cet apparéil peuvent devenir chaudes lorsqu'il est utilisé avec des apparéils de cuisson.
nettoyage et entretien
Débranchez toujours la hotte avant derialçéder à son nettoyage ou à son entretien.
- Afin de prévenir tout risque d'incendie dû à l'accumulation des graisses, respectez la fréquence de nettoyage de la hotte ainsi que le nettoyage et/ou le remplacement des filtres.
- La hotte aspirante ainsi que les filtres anti-graisse doivent être nettoyés de manière réquélière afin de garantir un bon état de fonctionnement.
- N'utilisez jamais d'appareils à vapeur ou à haute pression pour nettoyer la hotte.
Nettoyage de la hotte
- Nettoyez la hotte avec une éponge douce et de l'eau chaude additionné d'un produit détergent doux (type liquide vaisselle) aussi souvent que nécessaire.
- Veuillez ne pas utiliser de détergent abrasif qui pourrait endommager les surfaces.
- Évitez que le moteur et les autres pieces ne soient en contact avec de l'eau car ceci pourrait endommager l'appareil.
Nettoyage des filtrés
Filtres anti-graisse

Les filtres métalliques anti-graisse seront à retenir les graisses.
Un filtrer maintenu propre permet de préserver le bon fonctionnement de l'appareil. En général, vous doivent les nettoyer une fois par mois environ. Veuillez pour cela respecter strictement les indications suivantes :
- Pour-retirer les filtres anti-graisse (A), poussez la languette de chaque filtre vers l'arrière puis, dégagez le filtre en le tirant vers le bas.

- Vous pouvez nettoyer les filtres à la main ou les placer au lave-vaisselle :
Nettoyage des filtres à la main : plongez les filtres dans de l'eau chaude additionné de liquide vaisselle et laissez-les tremper pendant 10 à 15 minutes. Mettez des gants et lavez-les soigneusement avec unerosse souple. Rincez abondamment à l'eau claire et laissez sécher. N'appuyez pas trop fort. Les filtres sont fragiles et pourraient s'abîmer facilement. Laissez sécher les filtres avant de les replacer sur l'appareil.
Nettoyage des filtres au lave-vaisselle : les filtres peuvent etre nettoyés au lavevaisselle (placez-les en position verticale) à 60^ C. Il se peut que les differents lavages alterent la couleur des filtres. Ceci est normal et n'altere pas les performances defiltrage. Il n'est pas nécessaire de changer les filtres dans ce cas.
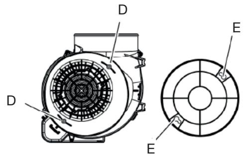
Filtre à charbon (non fourni)

Le filtré à charbon sert à éliminer les odeurs qui se dégagent des alimentés lors de la cuisson.
- Le filtré à charbon actif de votre hotter n'est ni livable, ni régénéerable.
- En usage normal, le filtré à charbon doit être remplaceé environ 3 fois par an. La saturation du charbon actif dépend de l'utilisation plus ou moins prolongée de l'appareil, du type de cuisine effectué et de la régularité avec laquelle le nettoyage des filtres anti-graisse est effectué.


- Retirez les filtrés anti-graisse comme indiqué dans la section précédente.
- En cas de première utilisation et lors du renouvellement du filtré à charbon usage, placez un filtrre neuf (B) à droite du moteur (C).
- Vérifiez que les chevilles (D) présentes sur le support de ventilation se trouvent bien en face des fentes (E), puis tournez dans le sens des aiguilles d'une montre jusqu'au blocage.
- Pour le démontage du filtré à charbon, effectuez la procédure inverse.
- Remontez ensuite les filtres anti-graisse comme indiqué dans la section précédente.
Remplacement des ampoules
La hotte est dotée d'un système d'éclairage basé sur la technologie LED.
Les LEDs garantissant un éclairage optimal, une durée jusqu'à 10 fois supérieures aux ampoules traditionnelles et permettent une épargne de 90% en énergie électrique.
Pour le remplacement, s'adresser au service d'assistance technique.
guide de dépannage
La hotte ne fonctionne pas.
- Vérifiez que la fiche est bien insérée dans la prise de courant.
- Vérifiez que le disjoncteur n'a pas été mis hors service.
- Avez-vous bien sélectionné l'une des 3 vitesses ?
La hotteraspirepasuffisamment.
- Avez-vous besoin une vitesse adaptée ?
Utilisez la vitesse faible pour de faibles concentrations de fumées et d'odeurs, la vitesse rapide pour de fortes concentrations d'odeurs et de vapeurs et la vitesse intermédiaire dans des conditions normales d'utilisation. - Le filtré à charbon (en version recyclage) doit-il être remplaced ?
Remplacez les filtres à charbon 3 fois par an. - Les filtrés anti-graisses doivent-ils être nettoyés?
Nettoyez les filtres anti-graisses tous les mois. - La cuisine est-elle suffisamment aérée?
- Les sorties d'air sont-elles obstruées?
remplacement du cordon d'alimentation
La hotte est fournie d'origine avec un cordon d'alimentation.
Le remplacement du cordon d'alimentation de l'appareil au réseau électrique doit être réalisé par une personne spécialisée, connaissant les normes de sécurité et la législation en vigueur.
Les données techniques et les conditions de branchement électrique sont indiquées sur la plaque signalétique de l'appareil.
N'utilise pas de rallonge, multiprise secteur ni d'adaptateur car cela pourrait donner lieu à une surchauffe des branchements électriques.
Avant d'effectuer le branchement, assurez-vous que votre ligne électrique est équipée d'un disjoncteur omnipolaire ayant une distance d'ouverture entre les contacts d'au moins 3 mm.
Caracteristiques du cordon d'alimentation
| Alimentation monophasée 220 - 240 V~ | ||
| Type d'appareil | Type de cable | Section |
| Hotte trapèze | ||
| - EHDT 614i | H05VVH2-F | 2 x 0,75 mm² |
| - EHDT 914i | ||
Branchement
- Retirez les 2 cache-conduits (cheminée).
- Retirez les 2 vis de la trappe recouvrant le cordon d'alimentation.
- Retirez les 2 vis raccordant le fil neutre et la phase. Retirez le cordon d'alimentation défectueux.

- Dénudez environ 40 mm de gaine du cordon d'alimentation.
-
Dénudez les fils électriques sur une longueur de 10mm .
-
Connectez les fils au bornier en respectant le schéma de raccordement cïddssous.
Monophasé 220 - 240 V~:
Vissez la phase L sur le plot 1 et vissez le neutre N au plot 2.
- Fil noir : neutre « N »
- Fil marron : phase « L »

Veillez à bien engager les fils dans les plots et à bien serrer les vis.
- Replacez le bornier dans son logement.
- Revissez la trappe.
Toutes les informations, dessins, croquis et images dans ce document relèvent de la propriété exclusive de SOURCING & CREATION. SOURCING & CREATION se réserves tous les droits relatifs à ses marques, créations et informations. Tout copie ou reproduction, par quelques moyen que ce soit, sera jugée et considérée comme une contrefaçon.
Protection de l'environnement
Ce symbole appose sur le produit signifie qu'il s'agit d'un apparéil dont le traitement en tant que déchet est soumis à la réglementation relative aux déchets d'équipements électriques et Electroniques (DEEE). Cet apparéil ne peut donc enaucun cas être traité comme un déchet menager, et doit faire l'objet d'une collecte spécifique à ce type de déchets. Des systèmes de reprise et de collecte sont mis à votre disposition par les collectivités locales (déchéterie) et les distributeurs. En orientant votre apparéil en fin de vie vers sa filière de recyclage, vous contribuerez à protégger l'environnement et empêcherez toute conséquence nuisible pour votre santé.
Testé dans nos laboratoires
Garantie valide à partir de la date d'achat (ticket de caisse faisant fj). Cette garantie ne couvre pas les vices ou les dommages résultat d'une mauvaise installation, d'une utilisation incorrecte, ou de l'usure normale du produit.
Notice Facile