L2HM1300 - Cuisinière LACANCHE - Notice d'utilisation et mode d'emploi gratuit
Retrouvez gratuitement la notice de l'appareil L2HM1300 LACANCHE au format PDF.
| Type d'appareil | Hotte aspirante |
| Mode d'extraction | Évacuation ou recyclage |
| Matériau | Acier inoxydable |
| Largeur | Non précisé |
| Hauteur | Non précisé |
| Profondeur | Non précisé |
| Puissance moteur | Non précisé |
| Nombre de vitesses | 3 |
| Niveau sonore | Non précisé |
| Type de filtre | Filtre à graisse métallique |
| Éclairage | Lampe halogène ou LED |
| Commande | Manuelle ou électronique |
| Installation | Murale ou îlot |
| Consommation électrique | Non précisé |
| Dimensions (LxHxP) | Non précisé |
| Poids | Non précisé |
FOIRE AUX QUESTIONS - L2HM1300 LACANCHE
Téléchargez la notice de votre Cuisinière au format PDF gratuitement ! Retrouvez votre notice L2HM1300 - LACANCHE et reprennez votre appareil électronique en main. Sur cette page sont publiés tous les documents nécessaires à l'utilisation de votre appareil L2HM1300 de la marque LACANCHE.
MODE D'EMPLOI L2HM1300 LACANCHE
Note relative à l'élimination des déchets électriques et électroniques 28

| A | B | |
| L2HM 900/900E | 900 | 385 |
| L2HM 1000/1000E | 1000 | 485 |
| L2HM 1100/1100E | 1100 | 585 |
| L2HM 1200/1200E | 1200 | 685 |
| L2HM 1300/1300E | 1300 | 785 |
| L2HM 1500/1500E | 1500 | 985 |
| L2HM 1600/1600E | 1600 | 1085 |
| L2HM 1700/1700E | 1700 | 1185 |
| L2HM 1800/1800E | 1800 | 1285 |
| L2HM 2000/2000E | 2000 | 1485 |
| L2HM 2200/2200E | 2200 | 1685 |
| L2HM 2400/2400E | 2400 | 1885 |

HOTTES lacanche
- Hottes de largeur de 900 à 2200 mm, à fixer au mur.
Attention :
Dans tous les cas, la distance totale entre la hotte et la sortie (mur ou toiture) ne devra pas excéder une longueur de 9 mètres.
Assurez-vous que le support et que les fixations utilisées soient capables de supporter le poids de la hotte.
S'assurer de même avant de percer des trous, que le mur ne comporte (aux endroits concernés) aucun câbles électrique, conduite de gaz ou tout autre gaine, tuyau,...
Il est recommandé dans la mesure du possible de fixer sur un support plein
- Carter acier inoxydable ou en tôle laqué.
- Caisson supérieur cache « conduit » réglable.
- Modèles L2HM : moteur intégré, commande rotative, 3 vitesses, éclairage fluorescent.
- Modèles L2HM-E : moteur intégré dissociable, télécommande, 3 vitesses et fonction «Power», éclairage fluorescent.
- Niveau sonore maximum : 52 dB, mesure à 1 m de l'appareil.
- Évacuation supérieure.
| Type groupe | Nombre de groupes | Ø Evacuation | Rapport débit/ pression | |
| L2HM 900 | 874 | 1 | 125 mm | 327 m³/ 384 Pa |
| L2HM 1000 | 874 | 1 | 125 mm | 327 m³/ 384 Pa |
| L2HM 1100 | 874 | 1 | 125 mm | 327 m³/ 384 Pa |
| L2HM 1200 | 878 | 1 | 150 mm | 627 m³/ 383 Pa |
| L2HM 1300 | 878 | 1 | 150 mm | 627 m³/ 383 Pa |
| L2HM 1500 | 878 | 1 | 150 mm | 627 m³/ 383 Pa |
| L2HM 1600 | 878 | 1 | 150 mm | 627 m³/ 383 Pa |
| L2HM 1700 | 874 | 2 | 2 x 125 mm | 654 m³/ 384 Pa |
| L2HM 1800 | 874 | 2 | 2 x 125 mm | 654 m³/ 384 Pa |
| L2HM 2000 | 874 | 2 | 2 x 125 mm | 654 m³/ 384 Pa |
| L2HM 2100 | 874 | 2 | 2 x 125 mm | 654 m³/ 384 Pa |
| L2HM 2400 | 878 | 2 | 2 x 150 mm | 1254 m³/ 383 Pa |
| L2HM 900 E | 810 | 1 | 150 mm | 576 m³/ 380 Pa |
| L2HM 1000 E | 810 | 1 | 150 mm | 576 m³/ 380 Pa |
| L2HM 1100 E | 810 | 1 | 150 mm | 576 m³/ 380 Pa |
| L2HM 1200 E | 820 | 1 | 150 mm | 655 m³/ 364 Pa |
| L2HM 1300 E | 820 | 1 | 150 mm | 655 m³/ 364 Pa |
| L2HM 1400 E | 820 | 1 | 150 mm | 655 m³/ 364 Pa |
| L2HM 1500 E | 820 | 1 | 150 mm | 655 m³/ 364 Pa |
| L2HM 1600 E | 820 | 1 | 150 mm | 655 m³/ 364 Pa |
| L2HM 1700 E | 820 | 1 | 150 mm | 655 m³/ 364 Pa |
| L2HM 1800 E | 810 | 2 | 2 x 150 mm | 1152 m³/ 380 Pa |
| L2HM 2000 E | 810 | 2 | 2 x 150 mm | 1152 m³/ 380 Pa |
| L2HM 2100 E | 810 | 2 | 2 x 150 mm | 1152 m³/ 380 Pa |
| L2HM 2400 E | 820 | 2 | 2 x 150 mm | 1310 m³/ 364 Pa |
Raccordement d'évacuation
Attention, prévoyez une (des) gaine(s) d'évacuation assez longue(s).
Raccordement électrique
Prévoir une prise 2 fiches + terre 230 V 1~ 50 Hz. Livré avec l'appareil.
Raccorder impérativement l'appareil à la terre.
Consommation :
- L2HM 900 à 1100 : 120 Watt avec éclairage.
- L2HM 1200 à 1600 : 235 Watt avec éclairage.
- L2HM 1700 à 2000 : 240 Watt avec éclairage.
- L2HM 2100 à 2200 : 470 Watt avec éclairage.
Directives
Basse tension : 2006/95/CEE
CEM : 2004/108/CEE
L2HM 900/900E - L2HM 1000/1000E - L2HM 1100/1100E - L2HM 1200/1200E
L2HM 1300/1300E - L2HM 1500/1500E - L2HM 1600/1600E - L2HM 1700/1700E
L2HM 1800/1800E - L2HM 2000/2000E - L2HM 2100/2100E - L2HM 2200/2200E
L2HM 2400/2400E
L'installation doit se faire selon les règles de l'art conformément aux instructions contenues dans cette notice et les règlements en vigueur dans le pays d'installation.
Ce manuel sera remis à l'utilisateur après installation.

Avertissements :
L'acquéreur s'engage à installer ou à faire installer son matériel conformément aux règles de l'art, réglementation et normes en vigueur.
Toute intervention ou dépannage sur un appareil doit être effectués par un intervenant qualifié.
Expédition-colisage :
Emballage bois, bloc turbine en emballage carton sur socle bois.
Déballer, vérifier le bon état de l'appareil. En cas d'a varies, signifier les réserves sur le bordereau de livraison, les confirmer, au plus tard sous 48 heures, par lettre recommandée avec accusé de réception auprès du transporteur.
- Vérifier la hauteur disponible sous plafond.
- Dans le cas d'un groupe intégral et d'une évacuation murale, le coude se trouvera obligatoirement au-dessus de la hotte
- Le raccordement sur une VMC ou un conduit en service n'est pas admis.
- La gaine d'évacuation sera la plus courte et la plus directe possible.
- Par sa puissance, un groupe en service peut mettre le local en dépression et la baisse de rendement peut atteindre 50%. Il est indispensable d'assurer le renouvellement de l'air.
- Pour une évacuation murale, prévoir un clapet de façade adapté.
Les hottes LACANCHE doivent être implantées horizontalement, à une distance minimum de :
- 65 cm au-dessus d'un plan de cuisson électrique.
- 80 cm au-dessus d'un plan de cuisson gaz.
L'eneldom de la hotte ne devra pas piquer du nez et il est important que l'appareil soit horizontal.
Employer un tubage aluminium, tenez l'évacuation la plus courte et la plus directe possible : tout rétrécissement, étranglement, chapeau de couverture, grillage est contre-indiqué.
MAUVAIS
MOYEN
BON

Préparation de la hotte :
1 - Retourner la hotte / figure (1)

2 - Dévisser les vis de maintien de la façade avant
de la hotte (repère A/figure ②)

3 - Remettre la hotte ABOUT 4 - Retirer la façade avant en la soulevant légèrement et en la tirant vers soi / figure ③.

Montage de la hotte :
1 - Tracer et percer les trous de fixation. figure④. 2 - Positionner et fixer les 2 pattes de fixation de hotte (vis type M5).

Attention dans le cas d'habillage arrêté : Monter l'habillage arrêté avant la pose de la hotte ⑤

3 - Accrocher la hotte au profil support de hotter. 4 - Insérer les vis 6532570 et 6535377/ figure ⑥ et ⑦. 5 - Resserrer légèrement les vis 6553377 afin de plaquer la hotte au mur. 6 - Mettre de niveau en serrant ou desserrant les 2 vis B. 7 - Finir de plaquer la hotte au mur en serrerant les vis 6535377.


Montage du/des groupes, figure 8 et 9 :
Ouvrir le verre central
Dévisser les vis ↑ maintenant les caches latéraux noirs.
Dévisser les 8 vis →.
Pousser le / les groupes à fond dans leur découpe (bouton de commande placé à l'avant droit).
Vérifier que les pattes de verrouillage maintiennent bien le / les groupes.
Visser les vis rep. ↓, → puis ↑.

Mise en place dans la hotte / figure 10
Enlever les 4 vis de fixation des supports façades et déposer les supports façades

Préparer et mettre en place le groupe d'aspiration à l'aide des pattes d'accrochage/repère B, figure 11 et 12 (voir chapitre «montage du ou des groupe»)


Fixer le (ou les) groupe(s) à la hotte en serrant les 4 vis de chaque côté du groupe/ fig. ⑬
(voir chapitre «montage du ou des groupes).

Mettre en place la gaine/ figure 14

Ajuster le collier de serrage, figure 15

Reporter la cote de 250 à partir de votre plafond et ajuster les supports cache gaine dans les boutonnières prévues à cet effet et ajuster la hauteur des vérins plastiques en les vissant ou dévissant.
figure 16.

Insérer, alors la réhausse de hotte entre le plafond et les vérins (fig. 17).

Ajuster ensuite les vérins jusqu'au placage de la réhausse de hotte au plafond, figure 18.
Attention: Ne pas forcer lors du serrage des vérins.
Remettre en place le support façade et les fixer.
Remonter la façade de la hotte dans le sens inverse des opérations.

Positionner le cache ← le fixer à l'arrière à l'aide d'une vis inox M5.
Positionner le cache ↑, le fixer à l'arrière à l'aide d'une vis inox M5.
Positionner le cache →, le visser sur le support groupe ↓ à l'aide de 2 vis inox M5. Ajouter la vis manquante sur les caches ← et ↑.




Important
Cet appareil doit être installé conformément aux réglementations et normes en vigueur dans un local suffisamment aéré.
Tout changement de gaz, autre que celui pour lequel il est réglé, doit être réalisé par un installateur qualifié
Tout changement de tension, autre que celui pour lequel il est réglé, doit être réalisé par un installateur qualifié.
Garantie
La garantie est portée sur le contrat de vente. Pour toute intervention de garantie, s'adresser à un revendeur agréé. Cette garantie ne couvre pas les déteriorations provenant d'une mauvaise installation, utilisation ou d'un mauvais entretien.

UTILISATION 25
NETTOYAGE & ENTRETIEN 26
Note relative à l'élimination des déchets électriques et électroniques 28
Cet appareil possède le marquage CE, c'est-à-dire qu'il répond aux exigences essentielles des directives européennes en termes de sécurité auxquelles il est soumis.
Fonctionnement
Les hottes LACANCHE sont dotées soit d'une turbine (L2HM 900) ou de 2 turbines de type 600m³/h (autres modèles) qui absorbent les vapeurs au travers de filtres à graisse.
Le verre central détermine les couloirs d'aspiration à la périphérie de l'appareil.
Pour un fonctionnement normal, il est conseillé de prendre en considération les notions suivantes :
- placez les casseroles de façon que les buées ne sortent pas du plan inférieur de votre hotte.
- évitez les courants d'air au-dessus du plan de cuisson.
- prévoyez une entrée d'air équivalente au début de votre hotspot. Si cette condition n'est pas satisfaite, celle-ci n'aura pas le rendement attendu.
Mise en service
Le bandeau de commande de chaque groupe d'aspiration comporte un interrupteur rotatif à 5 positions : 0 (arrêt), © (l'éclairage), I, II, III (les vitesses).
- Sélectionnez la vitesse désirée.

Attention!
IL EST FORMELLEMENT INTERDIT DE FLAMBER SOUS LA HOTTE.
Attention
Il est formellement déconseillé de nettoyer cet appareil à l'aide de produits chlorés.
Lisez attentivement les précautions et recommandations d'utilisation des produits que vous employez pour le nettoyage et l'entretien de l'appareil. Conformez-vous à leurs prescriptions d'utilisation.

Ne pas utiliser de générateur vapeur pour le nettoyage de l'appareil
Le dégraissage périodique des filtres devra être effectué au moins une fois par mois, plus souvent en cas d'utilisation intensive.
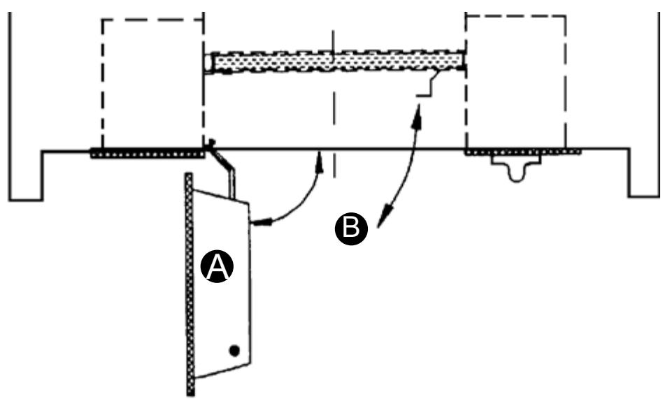
Déclipser le carter inférieur A, puis tirer sur la languette B de chaque filtre.
Préparer une solution d'eau chaude additionnée d'un détergent ammoniaqué ou de soude, puis laisser tremper le filtre quelques minutes.
Tapoter le filtre dans la solution, en le tenant par l'ergot, pour en chasser les particules.
Rincer et contrôler la propriété par mirage en contre-jour.
Reposer et sécher, en mettant les turbines en fonction.
Carrosserie inox, vous pouvez utiliser des produits spécifiques à l'inox (par exemple ZIP INOX®, JONSHON INOX®, PPZ INOX®), jamais de produits abrasifs.
Carrosserie époxy, utiliser une éponge additionnée d'eau savonneuse.

Remplacement d'un éclairage
Tirer le plafond en verre de ses clips de maintien, procéder à l'échange du tube, reposer dans le sens inverse.
Nota : lampes fluorescentes compactes PL 15W (L2HM 1200 à 1600), PL 11 W (L2HM 900, LHM 1700 à 2200).

Carrosserie
Vous pouvez utiliser des produits spécifiques à acier inoxydable (par exemple ZIP INOXYDABLE®, JOHNSON INOXYDABLE®, PPZ INOXYDABLE®), jamais de produits abrasifs.
Dessus en acier inoxydable :
La table est entièrement emboutie ou munie de cuvettes embouties pour un bon nettoyage et une meilleure hygiène (pas de zone de détention). L'entretien doit se faire avec des produits liquides non chlorés afin de ne pas rayer l'acier.
Si la table est tachée, utiliser une pâte à base de pierre d'argile et de savon disponibles en grandes surfaces.
Parure acier inoxydable :
La parure inox se nettoie avec des produits aérosols vendus en grandes surfaces. Néanmoins, choisissez un produit contenant peu de silicone afin d’éviter des traces blanches survenant après le séchage du produit.
Parure laiton :
À l'aide d'un chiffon doux imbibé d'un produit spécial laiton (ex : MIROR®). ATTENTION si le produit venait à couler sur l'émail, ne frottez surtout pas (ces produits contiennent des abrasifs) mais rincez à l'eau claire sans frotter.
Une autre solution consiste à utiliser un savon solide (Pierre d'argent, Pierre d'argile) que l'on peut appliquer à l'aide d'une éponge mouillée sur les zones à nettoyer.
Cette solution est aussi très efficace pour nettoyer et redonner le brillant aux surfaces en laiton ou chromées.
Note relative à l'élimination des déchets électriques et électroniques
Décret n° 2005-829 du 20 juillet 2005 relatif à la composition des équipements électriques et électroniques et à l'élimination des déchets issus de ces équipements transposant les directives européennes 2002/95/CE et 2002/96/CE.
Les équipements électriques et électroniques (EEE) et les déchets d'équipements électriques et électroniques (DEEE) sont réglementés sur le plan européen par deux directives dont l'objectif est d'une part, de limiter l'utilisation de substances dangereuses dans les EEE et, d'autre part, de favoriser la réutilisation, le recyclage et les autres formes de valorisation des DEEE afin de réduire la quantité de déchets à éliminer.

Chaque équipement électrique et électronique mis sur le marché après le 13 août 2005 doit être revêtu de ce marquage.
Le pictogramme signifie que l'équipement ne peut être jeté avec les autres déchets, qu'il fait l'objet d'une collecte sélective en vue de sa valorisation, réutilisation ou recyclage.
Les utilisateurs d’équipements électriques et électroniques ont l’obligation de ne pas se débarrasser des DEEE avec les déchets municipaux non triés. - Des systèmes de collecte appropriés sont mis à disposition des utilisateurs. Pour être en conformité avec la réglementation, la Société Industrielle de Lacanche en tant que producteur d’équipements électriques est adhérente à l’éco-organisme ECO-SYSTEME - FRANCE.
C'est en respectant ces décrets que les utilisateurs d'équipements électriques et électroniques évitent des effets potentiellément néfastes sur l'environnement et la santé humaine. Ils contribuent également à la préservation des ressources naturelles.
Notice Facile