14SH754 - Machine à coudre overlock SINGER - Notice d'utilisation et mode d'emploi gratuit
Retrouvez gratuitement la notice de l'appareil 14SH754 SINGER au format PDF.
| Type de produit | Surjeteuse |
| Caractéristiques techniques principales | 4 fils, 2 aiguilles, 1 crochet, 1 boucleur supérieur, 1 boucleur inférieur |
| Alimentation électrique | 220-240 V |
| Dimensions approximatives | 30 x 28 x 27 cm |
| Poids | 6 kg |
| Compatibilités | Tissus légers à épais, y compris jersey, coton, et tissus extensibles |
| Fonctions principales | Surjet, ourlet roulotté, couture de sécurité |
| Entretien et nettoyage | Nettoyage régulier de la machine, lubrification des pièces mobiles, vérification des fils |
| Pièces détachées et réparabilité | Disponibilité de pièces détachées, manuel d'utilisation disponible pour la réparation |
| Sécurité | Utiliser uniquement avec le câble d'alimentation fourni, débrancher lors du nettoyage |
| Informations générales utiles | Garantie de 2 ans, support client disponible, conseils d'utilisation en ligne |
FOIRE AUX QUESTIONS - 14SH754 SINGER
Questions des utilisateurs sur 14SH754 SINGER
0 question sur cet appareil. Repondez a celles que vous connaissez ou posez la votre.
Poser une nouvelle question sur cet appareil
Téléchargez la notice de votre Machine à coudre overlock au format PDF gratuitement ! Retrouvez votre notice 14SH754 - SINGER et reprennez votre appareil électronique en main. Sur cette page sont publiés tous les documents nécessaires à l'utilisation de votre appareil 14SH754 de la marque SINGER.
MODE D'EMPLOI 14SH754 SINGER
En faisant l'acquisition de cette machine à coudre à usage domestique, vous venez de vous assurer d'excellents résultats pour votre couture, des tissus des plus légers (batiste) aux plus écais (denim). Pour obtenir entière satisfaction de votre machine à coudre et pour en augmenter la longévite, lisz attentivement les conseils d'utilisation contenus dans ce manuel avant de l'utiliser. Familiarisez-ous ensuite avec la machine en suivant le mode d'emploi page par page.
Afin de vous faire toujours bénéficier des possibilités les plus modernes en matière de couture, le fabricant se reserve le droit de modifier l'aspect, la conception ou les accessoires de cette machine à coudre, lorsqu'il le juge utile, sans aucun autre préavis.
Pour les Territoires Européens:
Cette machine a coudre Singer a ete testee conformement aux normes européennes et repond aux directives de securite electrique,dinterfere radio et dimmunite electromagnetique.
La conformité aux normes est confirmée par l'identification CE
CONSIGNES DE SECURITE IMPORTANETS

- Si le cable d'alimentation est endommagé, il doit être remplace par le constructeur, par un agent du service après-vente ou par une personne qualifiée de façon similaire afin d'éviter tout danger.
- La machine n'est pas destinée à être utilisée sans surveillance par des enfants in par des personnes handicapées.
- Surveillance les jeunes enfants pour vous assurer qu'ils ne jouent pas avec la machine.
- Éteignez la machine ou débranchez-la quand elle n'est pas utilisé.
- Avant de proceder à l'entretien, débrancher l'appareil.
- Si levoyant lumineux est endommagé, il doit être remplace par un technicien/agree.
II est important d'observer des précautions de sécurité élémentaires lors de l'utilisation de la machine et notamment celles qui suivent.
Veuillez litre l'ensemble de la notice avant l'utilisation.
CONSIGNES DE SECURITE

DANGER- pour réduire le risque de décharge électrique:
- Ne laissiez pas la machine sans surveillance lorsqu'elle est branchée. Débranche la machine immédiatement après l'utilisation et avant le nettoyage.

AVERTISSEMENT -pour réduire le risque de brûlure, de feu, de décharge électrique ou de blessure aux personnes.
-
Assurez-vous que le voltage du moteur correspond bien à celui de votre installation électrique.
-
Cette machine est concue pour un usage familial et ne doit pas être utilisée pour un usage professionnel. Utilisez exclusively les accessoires conseillés dans cette brochure.
-
Pour débrancher la machine, positionné l'interrupteur sur 0 puis retireur la prise de courant.
-
Débranchez la machine ou positionnez l'interrupteur sur 0 lorsque vous effectuez des opérations telles que changement d'aiguille, enfilage des aiguilles ou des boucleurs, changement de plaque à aiguille ou de pied presseur, etc.
-
Débranchez la machine lorsque vous tirez des caches, lubrifiez le mécanisme ou lors de toutes les opérations d'entretien décrites dans cette brochure.
-
N'essayez pas de régler vous-même la courroie du moteur. Si un réglage s'avère nécessaire, contactez le service après vente.
-
Pour débrancher la machine ne tirez pas le fil électrique, tirez la prise.
-
Manipulez le rhéostat avec attention et évitez de le faire tomber. Assurez-vous que rien n'est posé dessus.
-
Utilisez la plaque à aiguille correspondante au travail à effectuer. Une plaque non conforme peut occasionner la casse de l'aiguille.
-
N'utilisez pas d'aiguille tordue.
-
Lors de la couture, éloignez vos doigs de toute piece en mouvement, et plus particulièrement de l'iguille.
-
Ne tirez ni ne poussez le tissu lors de la couture: cela peut entraîner la casse de l'aiguille.
-
Utilisez exclusivement la poignée pour soulever ou déplacer la machine.
-
N'utilisez pas la machine si le cordon ou la prise électrique est endommagé, si la machine ne fonctionne pas correctement, si elle est tombée ou endommagée, si elle a été exposée à l'eau ou a été immergee. Contactez le service après vente pour tout examen, réglage ou réparation électrique ou mécanique.
-
Gardez les ventilateurs d'airation de la machine et du rhéostat libres de toute obstruction par de la poussière, bourre ou tissu.
-
N'insérez ni ne faites tomber d'objets dans les ouvertures de la machine.
-
N' utilisez pas la machine à l'extérieur.
-
Ne pas utiliser lorsque dans la même piece on utilise en même temps un aérosol ou l'on administré de l'oxygène.
-
Cette machine n'est pas un jouet. Une attention particulière est nécessaire lorsqu'elle est utilisée par des enfants ou en présence de ceux-ci.
-
N'exposez pas la machine directement au soleil. Ne I'entreposez pas dans un endroit très chaud ou humide.
-
Ne pas toucher la machine le rhéostat ou cordon d'alimentation avec des mains ou des chiffons mouillés.
-
Ne pas contacter le cordon d'alimentation sur une rallonge avec d'autres rallonges branchées avec un adaptateur sur la même prise de courant.
-
Utilisez la machine sur une surface stable et plate.
-
Assurez-vous que les carters sont à leur place avant d'utiliser la machine.
-
Gardez le pied presseur et les aiguilles hors de la portée des enfants.
-
Ne démontez ni ne modifiez la machine vous-même.
-
Assurez-vous que la machine est hors tension et débranchée avant d'entreprenevre les opérations d'entretien décrites dans le modèr'emploi.
GARDEZ CES INSTRUCTIONS
Le service après vente doit être fait par des représentants de service après vente autorisés. Ce produit n'est pas destiné à un usage industriel
Pour l'Europe et les territoires similaires:
Les machines pour la Grande Bretagne ou les autres pays ont une norme de fil similaire sans une prise. Pour connecter 1'electricite, les fils sont colorés selon les codes suivants :
Bleu:neutre (N)Marron:electrifié(L)
Si les couleurs des fils ne correspondent pas à leurs du terminal de votre prise, suivre les codes ci-dessous:
Le fil coloré de bleu doit être connecté avec le terminal marquee de N ou coloré de noir. Le fil coloré de marron doit être connecté avec le terminal marquee de L ou coloré de rouge. Si une prise de 13 Amp est utilisée, utiliser un plomb de 3 Amp. Si les autres types de prises sont utilisées, utiliser un plomb de 5 Amp dans la prise ou l'adaptateur ou sur le distributeur.
Aucun fil est connecté avec le terminal terrestre de la prise triphasée.
SOMMAIRE
PAGE
- Tableau des points 5
- Tableau de réglage des points 6
- Accessoires 7
4.Aiguilles 7 - Parties principales 8
- Comment ouvr le cache-boucleurs 9
- Parties principales derrière le cache-boucleurs 9
- Préparation avant de coudre 9
- Préparation pour l'enfilage 10
Installation du guide-fil 10 - Comment restirer et metre en place une aiguille 11
Comment retirer l'aiguille 11
Comment metre en place une Aiguille 11 - Comment enfilier la machine 12
- Schemad'enfilage 12
Code couleur 12
Enfilage correct 12
1) Boucleur en haut(orange) 12
2) Boucleur en bas(jaune) 14
3) Aiguille droite(verte) 16
(4) Aiguille gauche(blue) 183
Conseils importants pour I'enfilage 19
12. Comment changer de fil : Méthode à noeuds 20
13. Comment régler la longueur du point 21
14. Comment régler la largeur du point 21
- Changement de la position d'iguille 21
Molette de réglage de la largeur du point 21
15. Comment régler la pression du pied presseur 22
16. Entrainement différentiel 23
Surjet reisseré 23
Surjet etire 24
17. Comment débrayer le couteau mobile 25
18. Convertir le boucleur supérieur au convertisseur 26
19.Bras libre 27
PAGE
20 Surjet standard et ourlet roulotte 28
Couture d'un surjet standard 28
Couture d'un oulet roulotted 28
- Dégagement de la chaînette et test de couture 29
- Réglage de la Tension 30
1)Surjet enveloppant deux fils. 30
2Ourlet roulottedeux fils 31
3) Surjet 3 fils 32
4) Surjet 3 fils plat 33
5) Surjet 3 fils bordé 34
6) Point de faux-safety ultra extensible à 4 fils 35
- Comment réaliser un ourlet roulotte 36
1) Surjet enveloppant deux fils 37
Ourlet roulotte deux fils 37
2)Ourlet roulotte 3 fils standard 38
Ourlet roulotte 3 fils brode 38
24.Conseils de couture 40
Réalisation d'un surjet decoratif 40
Réalisation d'un ourlet invisible 42
Réalisation de nervures 42
Lescoins a angle droit 43
Comment placer les epinges 44
Comment arrer les fils 44
Comment renforcer la couture 45
Réalisation de ganges 45
- Entretien de la machine 46
Nettoyage de la machine 46
Lubrification de la machine 46
Comment remplacer le couteau fixe 47
- Que faire si 48
- Relation entre le tissu, le fil et I'aiguille 49
- Caracteristiques techniques 50
1. TABLEAU DE POINTS
Cette machine peut réaliser différents types de points en combinant les différentes possibités de positions d'aiguille, de méthodes d'enfilage, de réglages de la tension du fil.
| Type de point | Page de référence | ||
| 1. Surjet enveloppant deux fils | (502) | Point 1-aiguille, 2-fils, est utilisé pour les tricots et tissus délicats. Régler la largeur de point à 3.5mm ou 5.7 mm en changeant la position de l'aiguille.* | 30 |
| 2. Ourlet roulotté deux fils. | (503) | Point 1-aiguille, 2-fils est utilisé pour la finition des lièires, et les ourlets. Régler la largeur de point à 3.5mm ou 5.7 mm en changeant la position de l'aiguille.* | 31 |
| 3.surjet 3 fils | (504) | Ce point à 3 fils et 1 aiguille est utilisé pour surjeter et coudre des tissus courants. Selon la position d'aiguille可以选择, on obtient une largueur de surjet de 3.5mm ou de 5.7mm.* | 32 |
| 4.surjet 3 fils plat | (505) | Ce point à 3 fils et 1 aiguille est utilisé pour les coutures d'assemblage bord à bord et pour les coutures avec fils décoratifs. Selon la position d'aiguille可以选择, on obtient une largeur de surjet de 3.5mm ou 5.7mm.* | 33 |
| 5.surjet 3 fils bordé | (506) | Ce point à 3 fils et 1 aiguille est utilisé pour les oulets roulottés étroits ou les bords décoratifs. Selon la position d'aiguille可以选择, on obtient une largeur de surjet de 3.5mm ou 5.7mm.* | 34 |
| 6.point de faux-safety Ultra extensible à 4 fil | (514) | Ce point à 4 fils et 2 aiguilles est idéal pour les tissus extensibles moyens et lourds, tels que le jersey double et les matières pour les maillots de bain. | 35 |
*Selon la position d'aiguille可以选择 cette machine peut réaliser un surjet 2 ou 3 fils standard d'une largeur de 3.5 mm ou de 5.7 mm .
Pour la couture de tissus lourds vous pouvez encore augmenter la largeur du surjet à l'aide de la molette de réglage de la largeur du point.(voir page 21)
| Largeur du surjet | 3.5mm | 5.7mm |
| Aiguille utilisée | Aiguille de surjet droite | Aiguille de surjet gauche |
| Molette de tension du fil | Verte | Bleue |
2. TABLEAU DE REGLAGE DE POINTS
| Type de point | Position d'aiguille | Les molettes de réglage Les chiffres indiqués ci-dessous correspondant à des reglages moyens pour tissu moyen, avec un fil polyester No.80 | Page | |||||
| Blue | Green | Orange | Yellow | Convertisseur/ Boucleur supérieur | ||||
| 1 | Surjet enveloppant deux fils (502) | 3.5mm | 3.0 | 2.0 | Convertisseur | 30 | ||
| 5.7mm | 3.0 | 1.0 | Convertisseur | |||||
| 2 | Ourlet roulotté deux fils (503) | 3.5mm | 0.5 | 6.0 | Convertisseur | 31 | ||
| 5.7mm | 0.5 | 5.0 | Convertisseur | |||||
| 3 | Surjet 3 fils (504) | 3.5mm | 3.0 | 3.0 | 3.0 | Boucleur supérieur | 32 | |
| 5.7mm | 3.0 | 3.0 | 3.0 | Boucleur supérieur | ||||
| 4 | Surjet 3 fils plat (505) | 3.5mm | 0.5 | 5.0 | 7.0 | Boucleur supérieur | 33 | |
| 5.7mm | 0.5 | 5.0 | 7.0 | Boucleur supérieur | ||||
| 5 | Surjet 3 fils bordé | 3.5mm | 3.0 | 1.0 | 7.0 | Boucleur supérieur | 34 | |
| 5.7mm | 3.0 | 1.0 | 7.0 | Boucleur supérieur | ||||
| 6 | Faux-safety à 4fils ultra extensible (514) | 3.0 | 3.0 | 3.0 | 3.0 | Boucleur supérieur | 35 | |
La tension du fil augmente lorsque la molette est tournée vers les chiffres les plus élevés. Les tensions sur cette page ainsi que dans tout le mode d'emploi, sont données à titre indicatif. Ajuster la tension du fil en fonction du tissu et de l'épaisseur du fil utilisé. Pour obtenir les membresurs résultats, ne pas modifier le réglage de plus de 0.5 à la fois.
3.ACCESSOIRES
les accessoires sont ranges dans la boite d'accessoires sous le plateau arrêté de la machine.
| 744/754 | |
| 1. Jeu d'aiguille | 1 |
| 2. Tournevis (petit) | 1 |
| 3. Prince | 1 |
| 4. Convertisseur | 1 |



4.INFORMATION SUR LES AIGUILLES
- Les aiguilles SINGER #2022 sont fournies avec la machine.
- En cas d'urgence, les aiguilles SINGER #2020 peuvent être utilisées.
Mais si la tension proposée n'est pas réajustée, cela peut cause des manques de points
| Aiguille Singer N° 2022 | |
| Tailles disponibles | 80/11 |
| 90/14 |
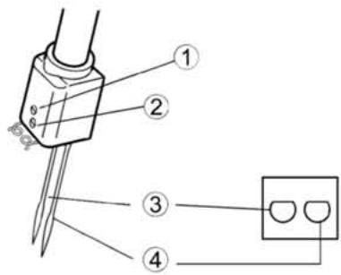
5.PARTIES PRINCIPALES
- Guide-fil
- Poignée
- Molette de tension du fil de l'iguille de gauche (bleuc)
- Molette de tension du fil de l'aiguille de droite (verte)
- Molette de tension du fil du boucleur en haut (orange)
- Molette de tension du fil du boucleur en bas (jaune)
- Plaque à aiguille
- Plateau avant
- Cache-boucleurs
- Interrupteur marche-arrêt /lumière
- Molette réglage de la longueur du point
- Volant
- Support de cône
- Adaptateur de cône
- Portecone
- Releveur du presse-étoffe
- Levier de réglage de l'entrainment différentiel
- Plaque de support


6.COMMENT OUVRIR LE CACHEDBOUCLEURS

Attention!
Positionnez l'interrupteur marche-arrêt sur"0".
Poussez le cache vers la droite le plus loin possible (1).
Tirez le cache vers vous (2).

Attention!
Vérifiez que le cache-boucleurs est bien féme lorsque vous cousez.
7.PARTIES PRINCIPALES DERRIERE LE Cache-BOUCLEURS
- Boucleur supérieur
- Couteau mobile
- Pied presseur
- Couteau fixe
- Boucleur inférieur
- Selecteur de largeur du doigt mailleur
- Molette de réglage de la largeur du point


8.PREPARATION AVANT DE COUDRE
correspondante sur la machine (2).
- branchez le cable (3) dans une prise de courant (4).
L'interrupteur Marche/Arrêt :
"-" Marche
"0" Arret
Pour faire fonctionner la machine et pour contrcler la vitesse, appuyez sur le rheostat.
- Plus vous appuyez, plus la vitesse augmente.
Pour arreter la machine, relâchez le rhéostat complètement.

Avertissement :
Utiliser exclusivement le rheostat fourni avec cette machine.(Le moeleYC-482 est utilisable seulement pour les Etats Unis et le Canada). Suivez les instructions de la page suivante.
INFORMATION SUR LA PRESE POLARISEE (SEULEMENT POUR LES ETATS-UNIS ET LE CANADA)
Cet apparéil a une prise polarisée (une lame plus large que l'autre) Pour éviter le risque du chocolélectrique, cette prise est destinée à la prise de courant polarisée. Si la fiche ne correspond pas à la prise de courant, l'inverser, si elle n'entre toujours pas, contactez un électricien qualifié pour installer une prise de courant convenable. Ne pas modifier la fiche.

AVERTISSEMENT:
- Assurez-vous que le voltage indiqué sur la plaque signalétique de votre machine correspond à celui de votre installation électrique.
- Manipulez le rhéostat avec attention et évitez de le faire tomber. Assurez-vous que rien n'est posé dessus.
- Débranche la machine de la prise de courant lorsque vous changez d'aiguille, de pied presseur ou de plaque à aiguille, ou lorsque vous laissez la machine sans surveillance. Ceci évitera que la machine se mette en route, si vous appuyez accidentellement sur le rhéostat.
9.PREPARATION POUR L'ENFILAGE
Installation du guide-fil téléscopique rentré
- Cette machine est livrée le guide-fil téléscopique rentré.
- Allongez le support du guide-fil au maximum.
-
Un déclic se fait entendre lorsque les deux articulations du téléscope sont bien positionnées.
-
Centrez les guides-fils au-dessus des porte-cones.
- Placez le fil sur les porte-cones munis d'adaptateur.
Note: Si la machine est déjà enfilée, demêlez les fils avant de coudre.


10.COMMENT RETIRER ET INSERER LES AIGUILLES
Pour retirer les aiguilles

Attention!
Vérifiez que la prise de courant soit bien débranchée avant de.xxirrer les aiguilles.
- Tournez le volant vers vous jusqu'à ce que les aiguilles soient en position haute.
A l'aide du petit tourne-vis, deserrez, mais ne retirez pas la vis de serrage de I'iguille.
- vis de serrage de l'aiguille gauche
- vis de serrage de l'aiguille droite
- emplacement de I'iguille gauche
- emplacement de I'iguille droite
Retirer la ou les aiguille(s).
Comment inseder les aiguilles

Attention!
Vérifiez que la prise de courant soit bien débranchée avant de remettre en place les aiguilles.
Tenez l'aiguille talon plat vers I'arriere.
- Insérer l'aiguille dans le support-aiguille aussi loin que possible.
- Serrer fort la vis de serrage de l'aiguille.
Note: *Cette machine utilise des aiguilles Singer No2022. Reportez-vous à la page 7 pour les informations complémentaires sur les aiguilles.
*Pour facilitier le changement d'aiguille, rétirer le plateau avant.




11. ENFILAGE DE LAMACHINE
Scheme d'enfilage
- Un schéma d'enfilage avec des repères couleurs se trouve sur le cache-boucleurs pour un enfilage rapide.
Enfilez la machine en suivant les étapes de 1 à 4 comme illustré ci-contre.
Explication des codes couleurs
1 fil du boucleur supérieur............orange
2 fil du boucleur inférieur.....jaune
3 fil de I'aiguille droite.....vert
4 fil de I'aiguille gauche..bleu
Enfilage correct de la machine

Attention!
Vérifiez que l'interrupteur marche-arrêt soit sur la position arrêt "0".
1) Enfilage du boucleur supérieur (orange)
Enfilez le boucleur supérieur en suivant les étapes de 1 à 8.
- Passez le fil d'arrière en avant à travers le guide-fils 1.



Enfilez le guide-fil sur le dessus de la machine en tirant le fil vers le basjusqu'ace qu'il glisse sous le guide 2.

Tenez le fil entre les doigs et le faire glisser entre les disques de tension, puis le tirer vers le bas pour qu'il se place correctement entre les disques de tension 3.

Suivez les repres oranges et enfilez les guides-fils (4a7).
Enfilez le chas du boucleur supérieur de l'avant vers l'arrière 8.
Note:Utilisez la pince fournie en accessoire pour faciliter 1'enfilage du boucleur.
- Tirez environ 10cm du fil à travers le chas du boucleur et posez le fil vers l'arrête sur la plaque.

2) Enfilage du boucleur inférieur
Enfilez le boucleur inférieur en suivant les étapes de 1 à 9.
- Passez le fil d'arrière en avant à travers le guide-fils 1.


Enfilez le guide-fil sur le dessus de la machine en tirant le fil vers le bas jusqu'à ce qu'il glisse sous le guide2.

Tenez le fil entre les doigs et le faire glisser entre les disques de tension, puis le tirer vers le bas pour qu'il se place correctement entre les disques de tension 3

- Tournez le volant vers vous afin de positionner le boucleur inférieur le plus à droite possible.
Suivez les repères jaunes et enfilez les guides-fils correctement de 4 à 7.
Note:Utilisez la pince fournie en accessoire pour facilititer I'enfilage du boucleur.
Saisissez le fil à 4 cm du guide-fil 7, avec les pincettes.
- Avec la pointe des pincettes, placez le fil légerement en-dessous et à la gauche du guide-fil 8.
Tirez le fil vers le haut puis dans le guide -fil 8.
- Passez le fil derrière et par-dessus 1'extremité du boucleur inférieur 9-A.
Tirez le fil doucement vers le bas pour qu'il glisse dans l'encochrome du boucleur 9-B.
Enfilez le chas du boucleur 10
Note: Utilisez la pince fournie en accessoire pour facilititer l'enfilage du boucleur.
Le fil doit passer dans la rainure du boucleur inférieur.
Tirez environ 10cm fil à travers le chas du boucleur, passez le fil par-dessus le boucleur de croite puis le placer vers l'arrête sur la plaque.





3) Enfilage de l'iguille droite (Verte)
Enfilez l'aiguille droite en suivant les étapes de 1 à 8.
- Passez le fil d'arrière en avant à travers le guide-fils 1.

Enfilez le guide-fil sur le dessus de la machinc en tirant le fil vers le bas jusqu'ac qu'il glisse sous le guide 2.

Tenez le fil entre les doigts et le faire glisser entre les disques de tension, puis le tirer vers le bas pour qu'il se place correctement entre les disques de tension 3.

- Continuez en suivant les étapes de 4 à 7.
Note: Assurez-vous que vous avez bien passé le fil dans le passage de fil supérieur du guide-fil 6.
Enfilez le chas de I'aiguille droite 8.
Note: Utilisez la pince fournie en accessoire pour faciliter l'enfilage du chas de l'aiguille.
Tirez environ 10cm de fil a travers le chas de I'aiguille.
- Passez le fil sous le pied presseur et le tirer vers l'arrière.


4) Enfilage de I'aiguille gauche (bleue)
Enfilez l'aiguille gauche en suivant les étapes de 1 à 7.
- Passez le fil d'arrière en avant à travers le guide-fils (1)

Enfilez le guide-fil sur le dessus de la machine en tirant le fil vers le bas jusqu'à ce qu'il glisse sous le guide 2.

Tenez le fil entre les doigs et le faire glisser entre les disques de tension, puis le tirer vers le bas pour qu'il se place correctement entre les disques de tension 3.

- Continuer en suivant les étapes de 4 à 6.
Note: Vérifiez que vous avez bien passé le fil dans le passage de fil inférieur. Ju guide-fil 5.
Enfilez le chas de I'iguille gauche 7.
Note: Utilisez la pince fournie en accessoire pour facilititer l'enfilage du chas de l'aiguille.
Tirez environ 10cm de fil à travers le chas de l'aiguille.
- Passez le fil sous le pied presseur et le tirer vers l'arrière.
Indications Importantes pour I'enfilage
Enfilez les aiguilles en dernier pour eviter le désenfilage du boucleur inférieur.
Si le boucleur inférieur se désenfile:
1) Desenfilez les aiguilles
2) Rénéfilez le boucleur inférieur
3) Rénéfiz les aiguilles




12.COMMENT CHANGER DE FILS EN LES NOUANT
Pour changer de fil, foupez les fils pres des cônes.
- Placez les nouveaux fils sur le support.
- Nouez les bouts des ancients et des nouveaux fils ensemble.
Laissez des bouts de 2 à 3cm (1 inch), pour éviter que les fils se dénouent.
- Verifiez que les fils sont solidement{noues en tirant sur les deux fils.
- Notez les réglages de tension de fil.
- Tournez les molettes de tension vers le bas jusqu'au blocage.
Tirez tous les fils à travers l'enfilage jusqu'à ce que les noeuds dépassent le pied presseur.
Si le fil ne vient pas facilement, vérifierz qu'il n'y a pas de noeuds formes autour des guide-fils ou des boucles de fil coinceces sous le support de cônes.
Loreque you tirez sur le fil de l'iguille, arretez-vous lorsqu'elle neeud arrivève devant l'iguille.
Coupez le fil et enfilez l'aiguille.
- Reglez la tension du fil en vous basant sur les réglages précédents.






13.COMMENT REGLER LA LONGUEUR DE POINT
Le réglage moyen qui convient pour la plupart des travaux de couture est de 3mm
Lorsque you coussez des tissus lourds, reglez la longueur sur 4mm.
Lorsque vous cousez des tissus légers, réglez la longueur du point sur 2mm, pour éviter de faire gondoler les coutures.
14.COMMENT REGLER LA LARGEUR DU SURJET
La largeur du surjet peut etre modifie en changeant la position de 1aiguille, mais egalement a l'aide du bouton de reglage de la largeur du surjet.
Réglage de la largeur du point en changeant la position d'iguille
La largeur du surjet peut etre ajustee en changeant la position d'iguille.
a) L'aiguille gauche seule en travail.....5.7mm (7/32inch)
b) L'aiguille droite seule en travail. 3.5mm (9/64inch)
Réglage de la largeur à l'aide du bouton de réglage
L'utilisation du bouton de réglage permet l'ajustement de la largeur du point dans les limites indiquées ci-dessous.
a) L'aiguille gauche seule en travail...5.2-6.7mm (13/64-17/64inch)
b) L'aiguille droite seule en travail...3.0-4.5mm (8/1-11/64inch)








Attention :
Avant de procesder a des reglages verrifiez que Iinterrupteur marche-arrêt soit sur "0"
Pour facilitier les réglages, ouvre le cache-boucleurs.
Poussez le couteau supérieur à la droite et en même temps tourner le bouton vers l'arrière pour régler la largeur de la couture. Utiliser les marques sur la plaque à aiguille comme guide.

Attention :
Refermez toujours le cache-boucleurs avant de faire fonctionner la machine
15.COMMENT REGLER LA PRESSION DU PIED PRESSEUR
La pression du pied presseur a ete preréglée à l'usine pour correspondre à la couture de tissus moyens.
- La plupart des matériaux ne nécessitant pas de réglage de la pression du pied. Le réglage est toute fois nécessasre lors de la couture de tissus très légers ou très lourds.
Pour régler, placer le tournevis par le trou (A) du couvercle supérieur dans la rainure de la vis de réglage (B) et tourner la vis selon le besoin.
Note: Pour retrouver le réglage standard, tournier la vis dans le sens contraire des aiguilles d'une montre jusqu'à ce qu'elle bute sur le couvercle, puis faites 6 tours dans le sens des aiguilles d'une montre.
Pour les tissus légers....diminuez la pression
Pour les tissus lourds....augmentez la pression




16.ENTRAINEMENT DIFFERENTIEL
Le système d'entrainment différentiel permet d'étirer le tissu ou de résorber l'embu lorsque la vitesse de rotation de la griffe avant par rapport à la griffe arrêté est modifiée.
Le rapport d'entrainment différentiel varie de 1 à 0.7et del à 2.0.Le réglage se fait a l'aide du levier de réglage d'entrainment différentiel illustré ci-dessous.
L'entrainment différentiel est particulièrement utile pour surjeter des tissus extensibles ou coupés dans le biais.
Le réglage "1.0" correspond à un rapport d'entraînement de 1 :1.
Surjet resseré
Le surjet resseré convient particulièrement pour surfiler avant l'assemblage les pieces de vêtements (manches, empiècements, épaules, dos et devant des corsages ourlets de jupe, etc.) coupés dans des matières extensibles comme le tricot ou le jersey.
Réglage
- Positionnez le levier de réglage d'entrainment différentiel en-dessous de la graduation 1.0. Le réglage dépend de la qualité du tissu, ainsi que de l'importance de l'embu à résorber. Tester le réglage avant de surjeter votre ouvrage.
Si une longueur du point supérieur a" 3" est selectionnée lors du reglage de l'entrainment diffrentiel sur "2.0"(resserage maximal), la longueur du point descend automatiquement sur "3".
Note: Pour coudre un surjet normal, ne pas oublier de repositionner le levier du différentiel sur "1".



Surjet etiré
Le surjet etire est idéal pour réaliser des finitions decoratives sur des cols, manches, ourlets de jupe,etc. Coupés dans des tissus ordinaires coupés daus le biais ou a mailles à structure lâche.
Réglage
Positionnez le levier d'entrainment différentiel au-dessus de la graduation "1.0".
Tendez légerement le tissu en le tenant devant et derrière le pied presseur.
Note: *Si l'étirage est mal régle par rapport à la nature du tissu, celui-ci a tendance à glisser et à faire un surjet irrégulier. Dans ce cas, positionnez le levier d'entrainment différentiel plus pres de la marque centrale.
- Pour coudre un surjet normal, ne pas oublier de repositionner le levier du différentiel sur 1.

17.COMMENT UTILISER LE COUTEAU MOBILE

Attention!
Verifiez que l'interrupteur marche arrêt soit sur "0"
Le placement du couteau mobile en position de repos
- Tournez le volant vers vous et positionnez le couteau mobile dans sa position la plus haute.
Ouvrez le cache-bouleurs (voir page 9) - Poussez le support du couteau mobile vers la droite le plus loin possible.
- Tournez le bouton jusqu'à ce que le couteau s'enclenche en position horizontale.
Note: Si le couteau se bloque contre le couvercle supérieur :
Tournez le volant jusqu'à ce que le couteau s'abaisse
Continuez à tourner le bouton pour enclencher le couteau en position horizontale.
Placement du couteau mobile en position de travail
- Ouvrez le cache-boucleurs et poussez le support du couteau mobile le plus loin possible vers la droite.
- Tournez le bouton vers vous jusqu'à ce que le couteau se replace en position de travail.

Attention!
N'oubliez pas de fermer le cache-boucieurs avant de faire fonctinner la machine.



18.CONVERTIR LE BOUCLEUR SUPÉRIÉUR AU CONVERTISSEUR.

Avertissement: Eteindre la machine avant l'installation du convertisseur.
Installation du convertisseur.
-
Insérer broche (A) du convertisseur dans le trous (B)du boucleur supérieur.
-
Placer l'extension (C) en contact avec la surface du boucleur.
-
Insérer le point (D) dans le troux (E) du boucleur supérieur.
Enlever le convertisseur
- Enlever le point (D) du trough (E) du boucleur supérieur et enlever le convertisseur de boucleur.
Note: Ranger le convertisseur avec les accessoires.

19.LE BRAS LIBRE(TRAVAIL TUBULAIRE)
Cette machine se transforme en machine à bras libre simplement en retardant le plateau avant.
Comment retirer le plateau (avant)
Glissez le plateau vers la gauche, et le retirer en appuyant sur le bouton (A) sous le plateau.
L'utilisation du bras-libre convient particulièrement pour la couture d'endroit difficilement accessibles comme les emmanchures, les poignets, les bas de pantalon.
- Placez le tissu sur le bras-libre et cousez.
Comment remetre le plateau devant
- Alignez la partie arrêté du plateau dans la rainure. Glisser le plateau vers la droite jusqu'à ce que la patte du plateau avant s'enclenché dans la fente du plateau arrêté.




20.SURJET STANDARD ET OURLET ROULOTTE
Surjet standard
- Poussez le sélecteur du doigt mailleur en position (S) pour sortir le doigt mailleur.
Note: Assurez-Vous que le sélecteur du doigt mailleur est pousse le plus loin possible vers S.
I'ourlet roulotted
- Poussez le sélection du doigtAILleur en position (R) pour retraiter le doigtailleur.
Note: Verifiez que le sélecteur du doigt mailleur est poussé le plus loin possible vers R.

21.DEGAGEMENT DE LA CHAINETTE ET TEST DE COUTURE
Lorsque la machine est entiement enfilée, placez tous les fils sur la plaque a gauche du pied presseur.
Tenez les fils et les tendre légèrement.
- Tournez le volant vers vous 2 ou 3 tours complets pour démarrer la chaînette.
- Abaisser le pied presseur.
- En tenant la chaînette, appuyer sur le rhéostat jusqu'à l'obtention de 5-7.5cm (2-3 inches)de chaînette.
- Placez un morceau de tissu sous le pied presseur et faire un échantillon.
Note: Ne pas tirer le tissu en cousins, vous risquerez de faire devier l'aiguille et de la casser.

22. RÉGLAGE DE LA TENSION
1) Surjet enveloppant deux fils.
Note: * Ce sont des exemples généraux.
-La tension est affecté par :
Type et epaisseur du tissu.
Taille de l'iguille.
-Type et grosseur du fil.
Voir page 26 pour convertir le convertisseur.
Balancement du Point
- Régler chaque cadran de tension comme indiquer à la droite et pratiquer sur un morceau de tissu.
Comment Calibrer la Tension
-
Quand la tension du boucleur inférieur est trop serré, ou la tension de l'aiguille est trop lâche :
-
Tourner le cadran (jaune) vers un numero plus bas.
- Ou tournier le cadran (bleu ou vert) vers un nombre plus haut.
-Quand la tension du boucleur inférieurest trop lache: -Tourner le cadran (jaune) vers unnuméro plus haut.
| POSITION D'AIGUILLE | ||
| Doigt de largeur de couture | S | |
| Longueur de point | 2~4 | |
| Convertisseur | Utiliser | |

| Tissu | Cadran de Tension | |||
| Bleu | Vert | Orange | Jaune | |
| Fil léger | 2.5 | Convertisseur | 1.0 | |
| Fil moyen | 3.0 | Convertisseur | 1.0 | |
| Fil épais | 4.5 | Convertisseur | 1.0 | |
| Tissu | Cadran de Tension | |||
| Bleu | Vert | Orange | Jaune | |
| Fil léger | 2.5 | Convertisseur | 2.0 | |
| Fil moyen | 3.0 | Convertisseur | 2.0 | |
| Fil épais | 4.5 | Convertisseur | 2.0 | |


2)Ourlet roulotted deux fils
Note: * Ce sont des exemples généraux.
La tension est affecté par:
1) Type et épaisseur du tissu.
2) Taille de l'iguille.
3) Type et grosseur du fil.
Voir page 26 pour convertir le convertisseur.
Balancement du Point
- Régler chaque cadran de tension comme indiquer à la droite et pratiquer sur un morceau de tissu.
Comment Calibrer la Tension
- Quand le fil du boucleur inférieur parait sur l'envers du tissu seulement:
- Tourner le cadran (jaune) vers un numéro plus haut.
- Ou tourner le cadran de l'aiguille (bleu ou vert) vers un numero plus bas.
- Quand la tension de l'aiguilleest trop lache: Tourner le cadran de l'aiguille(bleu ou vert) vers un numero plus haut.
- Ou tourner le cadran du boucleur (jaune) vers un numero plus bas.
| POSITION D'AIGUILLE | ||
| Doigt de largeur de couture | S | |
| Longueur de point | 2 ~ 4 | |
| Convertisseur | Utiliser | |

| Tissu | Cadran de Tension | |||
| Bleu | Vert | Orange | Jaune | |
| Fil léger | 0 | Convertisseur | 5.0 | |
| Fil moyen | 0.5 | Convertisseur | 5.0 | |
| Fil épais | 1.0 | Convertisseur | 5.0 | |
| Tissu | Cadran de Tension | |||
| Bleu | Vert | Orange | Jaune | |
| Fil léger | 0 | Convertisseur | 5.0 | |
| Fil moyen | 0.5 | Convertisseur | 6.0 | |
| Fil écais | 1.0 | Convertisseur | 6.5 | |


3) Surjet 3 fils
Note: *Les tensions sont données seulement à titre indicatif.
*Le réglage de tension dépend de :
1) la nature et I'epaisseur du tissu
2) la grosseur de I'iguille
3) la grosseur, le type et la nature du fil
Equilibrage correct des tension
- Régler chaque molette de tension comme indiquédans le tableau ci-contre,et faites un échantillon sur votre tissu.
Comment équilibrer les tensions
Lorsque le fil du boucleur supérieur se voit sur l'envers du tissu :
-Tournez la molette du boucleur supérieur (orange) vers un chiffre plus élevé.
-Ou, tournez la molette du boucleur inférieur (jaune) vers un chiffre plus bas.
Lorsque le fil du boucleur inférieur se voit sur l'endetroit du tissu :
-Tournez la molette du boucleur inférieur (jaune) vers un chiffre plus élevé.
-Ou, tournez la molette du boucleur supérieur (orange) vers un chiffre plus bas.
Lorsque la tension du fil d'aiguille est trop faible:
-Tournez la molette du fil de l'aiguille (bleue ou verte) vers un chiffre plus élevé.
| POSITION D'AIGUILLE | ||
| SELECTEUR DE LALARGEUR DU DOIGT MAILLEUR | S | |
| LONGUEUR DU POINT | 2~4 | |

Fil de boucleur supérieur
| Tissu | Molette de tension | |||
| Bleue | Verte | Orange | Jaune | |
| Leger | 2.5 | 3.0 | 3.0 | |
| Moyen | 3.0 | 3.0 | 3.0 | |
| Lourd | 3.5 | 3.0 | 3.0 | |
| Tissu | Molette de tension | |||
| Bleue | Verte | Orange | Jaune | |
| Leger | 2.5 | 3.0 | 3.0 | |
| Moyen | 3.0 | 3.0 | 3.0 | |
| Lourd | 3.5 | 3.0 | 3.0 | |

Fil de boucleur supérieur
4) Surjet 3 fils plat
Note: *Les tensions sont données seulement à titre indicatif.
*Le réglage de tension dépend de :
1) la nature et l'épaisseur du tissu
2) la grosseur de I'auguille
(3) la grosseur, le type et la nature du fil
Equilibrage correct des tensions
- Reglez chaque molette de tension comme indiquedans le tableau ci-contre,et faire un échantillon sur votre tissu.
Comment équilibrer les tensions
Lorsque le fil du boucleur inférieur est trop l'ache:
-Tournez la molette du boucleur inférieur (jaune) vers un chiffre plus elevé.
-Ou, tournez la molette du fil d'aiguille (bleue ou verte) vers un chiffre plus bas.
Lorsque le fil du boucleur supérieur est trop l'ache :
-Tournez la molette du boucleur supérieur (orange) vers un chiffre plus élevé.
-Ou, tournez la molette du fil d'aiguille (bleuc ou verte) vers un chiffre plus bas.
Lorsque la tension du fil d'aiguille est trop faible:
-Tournez la molette du fil d'iguille (bleue ou verte) vers un chiffre plus élevé.
-Ou, tournez la molette du boucleur supérieur (orange) vers un chiffre plus bas
| POSITION D'AIGUILLE | ||
| SELECTEUR DE LALARGEUR DU DOIGT MAILLEUR | S | |
| LONGUEUR DU POINT | 2~4 | |

| Tissu | Molette de tension | |||
| Bleue | Verte | Orange | Jaune | |
| Leger | 0.5 | 5.0 | 7.0 | |
| Moyen | 0.5 | 5.0 | 7.0 | |
| Lourd | 0.5 | 5.0 | 7.0 | |
| Tissu | Molette de tension | |||
| Bleue | Verte | Orange | Jaune | |
| Leger | 0.5 | 5.0 | 7.0 | |
| Moyen | 0.5 | 5.0 | 7.0 | |
| Lourd | 0.5 | 5.0 | 7.0 | |

5) Surjet 3 fils bordé
Note :*Les tensions sont données seulement à titre indicatif.
*Lc réglage de tension dépend de :
1) la nature et l'épaissur du tissu
2) la grosseur de l'iguille
3) la grosseur, le type et la nature du fil
Enquilibrage correct des tensions
- Réglez chaque molette de tension comme indiquédans le tableau ci-contre, et faire un échantillon sur votre tissu.
Comment équilibrer les tensions
- lorsque le fil du boucleur supérieur est trop l'âche :
-Tourner la molette du boucleur supérieur (orange) vers un chiffre plus élevé.
Lorsque le fil du boucleur supérieur est trop l'ache :
-Tournez la molette du boucleur inférieur (jaune) vers un chiffre plus élevé.
-Ou, tournez la molette du boucleur supérieur (orange) vers un chiffre plus bas.
Lorsque la tension du fil d'aiguille est trop faible:
-Tournez la molette du fil d'iguille (bleue ou verte) vers un chiffre plus elevé.
-Ou, tournez la molette du boucleur supérieur (orange) vers un chiffre plus bas.
| POSITION D'AIGUILLE | ||
| SELECTEUR DE LALARGEUR DU DOIGT MAILLEUR | S | |
| LONGUEUR DU POINT | 2~4 | |

| Tissu | Molette de tension | |||
| Bleue | Verte | Orange | Jaune | |
| Leger | 2.5 | 1.0 | 7.0 | |
| Moyen | 3.0 | 1.0 | 7.0 | |
| Lourd | 3.5 | 1.0 | 7.0 | |
| Tissu | Molette de tension | |||
| Bleue | Verte | Orange | Jaune | |
| Leger | 2.5 | 1.0 | 7.0 | |
| Moyen | 3.0 | 1.0 | 7.0 | |
| Lourd | 3.5 | 1.0 | 7.0 | |



6) Faux safety ultra extensible à 4 fils
Note :*Les tensions sont données seulement à titre indicatif.
*Le réglage de tension dépend de :
1) la nature et l'épaisseur du tissu
2) la grosseur de I'iguille
3) la grosseur, le type et la nature du fil
Enquilibrage correct des tensions
- Régler chaque molette de tension comme indiquédans le tableau ci-contre,et faites un échantillon sur votre tissu.
Comment équilibrer les tensions
Lorsque le fil du boucleur supérieur se voit sur l'envers du tissu :
-Tournez la molette du boucleur supérieur (orange) vers un chiffre plus élevé
-Ou, tournez la molette du boucleur inférieur (jaune) vers un chiffre plus bas.
Lorsque le fil du boucleur inférieur se voit sur l'endetroit du tissu :
-Tourncr la molette du boucleur infericur (jaunc) vers un chiffre plus elevé.
-Ou, tournez la molette du boucleur supérieur (orange) vers un chiffre plus bas.
Lorsque la tension du fil d'aiguille gauche est trop l'âche :
-Tournez la molette du fil de l'aiguille gauche (bleue) vers un chiffre plus élevé.
Lorsque le fil de l'aiguille droite est trop lache:
-Tournez la molette de l'iguille de droite (verte) vers un chiffre plus élevé.
| POSITION D'AIGUILLE | |
| SELECTEUR DE LALARGEUR DU DOIGT MAILLEUR | S |
| LONGUEUR DU POINT | 2~4 |

| Tissu | Molette de tension | |||
| Bleue | Verte | Orange | Jaune | |
| Leger | 2.5 | 2.5 | 3.0 | 3.0 |
| Moyen | 3.0 | 3.0 | 3.0 | 3.0 |
| Lourd | 3.5 | 3.5 | 3.0 | 3.0 |


23.COMMENT REALISER UN OURLET ROULOTTE
- Cette machine peut réaliser quatre types d'ourlets roulottés.
L'ourlet roulotte est réalisé en roulant et en surjetant le bord du tissu. - Cet ourlet roulotted est idéal pour les tissus légers tels que la batiste, le voile, l'organdi, le crépe, etc...
L'ourlet roulotted ne convient pas aux tissus épais ou rigides.


Réglage de la machine
Retirez l'aiguille gauche.
- Positionnez le sélection de la largeur du doigt mailleur sur (R), (voir page 28).
- Alignez le côte gauche du support du doigt mailleur avec le repere (R) sur la plaque en tournant la molette de la largeur du point.
- Sélectionnez une longueur du point entre F et 2.
Aiguille: Singer Cat. No #2022 type de 80/11 ou 90/14.
- Fil : Une variété de combinaisons de fils peut être utilisé pour un oulet roulotted.

Note: Pour un ourlet roulotte réussi, enfilé le boucleur supérieur avec un fil « Wooly Nylon ».
1)Surjet enveloppant deux fils
Balancement du Point
- Régler chaque cadran de tension comme indiquer à la droite et atiquer sur un morceau de tissu.
Ourlet roulottedeux fils
Balancement du Point
- Régler chaque cadran de tension comme indiquer à la droite et pratiquer sur un morceau de tissu.
| POSITION D'AIGUILLE | |
| Doigt de largeur de couture | S |
| Longueur de point | F ~ 2 |
| Convertisseur | Utiliser |

(502)
| Fil boucleur Supérieur | Cadran Tension | |||
| Bleu | Vert | Orange | Jaune | |
| Polyester | 3.0 | 3.0 | ||
| Wooly Nylon | 2.0 | 3.0 | ||

(503)
| Fil boucleur Supérieur | Cadran Tension | |||
| Bleu | Vert | Orange | Jaune | |
| Wooly Nylon | 0.8 | 5.5 | ||
Note: Pour réaliser un bel ourlet roulotted, enfilez le boucleur supérieur avec un fil mousse et l'aiguille et le boucleur inférieur avec un fil standard pour les tissus légers.
2) Ourlet roulotte 3 folds standard
Equilibrage correct des tensions
- Reglez chaque molette de tension comme indiquedans le tableau ci-contre,et faire un échantillon sur votre tissu.
Ourlet roulotte 3 fils brodé
Equilibrage correct des tensions
- Reglez chaque molette de tension comme indiquedans le tableau ci-contre,et faire un échantillon sur votre tissu.
| POSITION D'AIGULLE | |
| SELECTEUR DELALARGEUR DU DOIGT MAILLEUR | R |
| LONGUEUR DU POINT | F~2 |

| Fir du boucleur de gauche | Molette de tension | |||
| Bleue | verte | orange | jaune | |
| Polyester | 2.0 | 7.0 | 2.5 | |
| Fil mousse nylon | 2.0 | 3.5 | 2.5 | |

| Fir du boucleur de gauche | Molette de tension | |||
| Bleue | verte | orange | jaune | |
| Polyester | 2.0 | 5.0 | 7.0 | |
| Fil mousse nylon | 2.0 | 2.0 | 5.0 | |
Au moment du démarrage, tenez les fils de la chaînette pour éviter qu'ils ne s'emmelent dans l'ourlet.
Pour obtenir une meilleure finition de l'ourlet, tendez légèrement le travail dans le sens de la couture.
La marge de coupe minimale etant de 3.5mm 9/ 64inch),la largeur de I'ourlet roulotted minimale est environ de 1.5mm (1/16inch).
Pour arrêté les fils de la chaînette de l'ourlet roulotted
- Appliquez une petite goutte de colle liquide pour couture. Laissez secher puis coupe les fils pres des points de piqure.
Note: Testez la colle liquide pour la tenue des couleurs avant de l'utiliser sur votre ouvrage.


24.AUTRES POINTS ET CONSEILS COUTURE
Comment réalisier un ourlet décoratif plat
Le surjet plat est obtenu en ajustant la tension du fil du surjet 3 fils. Une fois la couture terminée, on écarte la couture pour l'aplaitir en tirant sur le tissu.
Le surjet decoratif plat peut etre utilise comme un point d'assemblage decoratif ou uniquement comme un point decoratif.
1).Réglage de la machine
Retirez l'aiguille droite ou gauche.
- Commencez à partir du réglage de tension du fil pour un surjet 3 fils (voir page 30)
- Desserrez largement la tension du fil de l'aiguille (bleue ou verte).
- Desserrez légrement la tension du fil du boucleur supérieur (orange).
- Serrez largement la tension du fil du boucleur en inférieur (jaune).
2)Réalisation d'une couture d'assemblage décoratif
- Placer le tissu envers contre envers et réaliser la couture decorative sur l'endetroit du tissu.
- Faites le surjet en rasant le bord du tissu.
Le fil de I'aiguille (bleue ou verte) formera un V sur I'envers du travail.
Le fil du boucleur inférieur est tendu sur le bord du tissu.





- Ecarter la couture en tirant sur le tissu pour rendre le surjet plat.
3)Réalisation d'un surjet décoratif
- Placez le couteau mobile en position de repos (voir page 25). Cette couture ne coupe pas le bord du tissu.
- Pliez le tissu envers contre envers.
Posez le travail de manière de faire dépasser le surjet de la pliure du tissu. - Ecartez la couture en tirant sur le tissu pour rendre le surjet plat.
(4) Informations complémentaires sur le surjet à plat. - Les tensions doivent être correctement régles pour que le surjet s'aplaitse.
Le fil visible à l'endetroit du travail est le fil du boucleur supérieur. Enfilez le boucleur supérieur avec un fil décoratif et le boucleur inférieur et l'aiguille avec un fil ton sur ton.
Pour obtenir une couture échelle, plier votre travail endroit contre endroit. Le fil qui formera l'échelle à l'endroit est le fil de l'aiguille (A).





Comment réalisier un ourlet invisible
La finition et la couture de l'ourlet sont faites en une opération (le surplus du tissu coupé et le bord à vif surjeté).
- Ce point est particulièrement adapté à la couture des oulet dans le jersey et le tricot. Il offre une finition solide, presque invisible.
- Retirez l'aiguille de gauche et reglez la machine pour un surjet 3 fils étroit.
Note : Vous pouvez également utiliser le surjet 3 fils . plat
- Reglez la longueur du point sur 4.
- Pliez l'ourlet sur l'envers du tissu, puis sur l'endroit en laissant le bord dépasser de 6mm (1/4inch) de la piure du tissu.
- Condre sur le bord du tissu en laissant l'aiguille prendre juste le bord du pli.
Note: Un pied presseur spécial ourlet invisible est disponible en option(voir page 46)
Comment réalisier des nervures
- Faites les nervvures sur le tissu avant de couper votre ouvrage.
- Retirez l'aiguille gauche et réglez la machine pour un surjet 3 fils.
Note: Vous pouvez également utiliser l'oulet roulotte.
- Mettre le couteau mobile en position de repos (voir page 25).
- Marquez le nombre de nervvres sur votre tissu en utilisant un marqueur effacable à l'eau.

- Pliez le tissu envers contre envers et cousez.
- Repassez les nervues dans le même sens.
Comment tourner à angle droit
1) Angle extérieur
- Découpez environ 2 cm (51/64inch) de tissu autour du coin, en ligne avec le bord du surjet.
- Cousez un point au-delà du point (A) et arrêtez.
Relevez l'aiguille et le pied presseur.
Tirez le travail vers l'arriere de la machine juste assez pour degager la chaînette du doigtAILleur de la plaque a aiguille.
Note: Le pied presseur ne figure pas sur le dessin pour mistroux montré les détails.
- Tournez le tissu et alignez le bord coupé avec le couteau, puis baiser le pied presseur.
- Retendre les fils, puis continuez à coudre.
2) Angle interieur
Coupez le tissu au bord de la ligne de piqure.






- Placez le couteau mobile en position de repos. (voir page 25)
- Cousez sur le bord du tissu coupé.
- Arrêtez la couture avant d'arriver au coin et faire un pli vers la gauche afin de retrouver une ligne de piqué droite.
- Continue à coudre en'avantant doucement. Tenez le bord en ligne droite et déplacez le plie au fur et à mesure de la couture.
Placement des épingles
- Placez les épingle s'a gauche du pied presseur.
Vous les retirerez facilement et elles ne risquent pas d'être en contact avec les couteaux.

Attention!
si vous cousez sur les épinges vous risquez d'abimer ou de détruire les lames des couteaux
Comment arreter les fils
- Prenez une aiguille à coudre à la main, à gros chas (typé tapisserie) et l'enfilez avec la chaînette.
- Passez la chaînette dans le surjet à l'aide de l'iguille pour arrêter les fils.
Note: Pour arrêter la chaînette de l'ourlet, roulotto (voir page 39).



Comment renforcer la couture
L'insertion d'un ruban dans le surjet permet l'obtention d'une couture plus solide.
- Passez le ruban sous le pied presseur par l'ouverture sur le devant du pied et le tirer vers l'arrière de la machine.
Commencez a coudre.
Le ruban est fixé sur votre ouvrage au fur et à mesure de la couture.
Réalisation d'une tresse decorative à partir de la chaînette de surjet
- Placez le couteau mobile en position de repos.
- Passez un cordonnet, un lacet ou un ruban par l'ouverture à l'avant du pied presseur.
- Placez le ruban sous le pied presseur et sortir une longueur de chaînette de surjet souhaitée.
- Vous pouvez utiliser la chaînette seule ou tresser 3 ou 4 chaînettes ensemble.

25.ENTRETIEN DE LA MACHINE
Une surjeteuse nécessite plus d'entretien qu'une machine à coudre traditionnelle principalement pour deux raisons :
1) L'action du couteau produit beaucoup de bourre.
2) La surjeteuse fonctionne à une vitesse élevée et nécessite aussi un graissage liéquent pour lubrifier les pieces du mécanisme.
Nettoyage de la machine

Attention!
Avant de nettoyer la machine débranchez la prise du courant.
Retirez frequentlyment la bourre à l'aide d'une Brosse seche vers les boucleurs et les couteaux.
Note: La Brosse est en option.
Lubrification de la machine

Attention!
Avant de lubrifier votre machine debranchez la prise du courant.
- Les points indiqués sur le schéma doivent être lubrifiés périodiquement.
Note: Utilisez de l'huile de machine à coudre. L'utilisation d'une toute autre huile peut cause des dommages.


Comment remplacer le couteau fixe

Attention!
Avant de changer le couteau fixe débranchez la prise du courant.
Le couteau fixe doit être changé lorsque la lame est émoussée.
- Vous pouvez remplaner le couteau fixe vous même en suivant les instructions, toutefois en cas de difficultés, consultez notre service après vente pour les réglages.
Vérifiez que la prise de courant est débranchée.
- Ouvrez le cache-boucleurs et mettez le couteau mobile (1) en position de repos (voir page 25).
- Desserrez la vis de fixation du couteau fixe (2)et retarder le couteau (3).
- Placez le nouveau couteau dans la rainure du support du couteau fixe.
Resserrez la vis de fixation du couteau fixe (2).
- Remettez le couteau mobile en position de travail.

| PROBLEME | SOLUTION | PAGE |
| Le tissu est mal entrainé | -Allonger la longueur du point | 21 |
| -Augmenter la pression du pied presseur pour les tissus lourds | 22 | |
| -Diminuer la pression pour les tissus légers | 22 | |
| L'aiguille se casse | -Insérer l'aiguille correctement | 11 |
| -Ne pas tirer sur le travail lors de la couture | 29 | |
| -Resserrer la vis du pince-aiguille | 11 | |
| -Utiliser une aiguille plus grosse pour les tissus lourds | 7 | |
| Le fil se casse | -Vérifier l'enfilage | 12~19 |
| -Déméler les fils | 20 | |
| -Insérer l'aiguille correctement | 11 | |
| -Changer l'aiguille si elle est endommagée ou épointée | 7 | |
| -Utiliser des fils de bonne qualitée | 49 | |
| -Diminuer la tension du fil | 30~38 | |
| La machine fait des manques de points | -Changer l'aiguille, elle est peut-être tordue ou épointée | 7 |
| -Resserrer la vis du pince-aiguille | 11 | |
| -Insérer l'aiguille correctement | 11 | |
| -Changer de type ou de grosse diaiguille | 7 | |
| -Vérifier l'enfilage | 12~19 | |
| -Augmenter la pression du pied presseur | 22 | |
| -Utiliser du fil de bonne qualité | 49 | |
| Le point est irrégulier | -Régler la tension des fils | 30~38 |
| -Déméler les fils | 20 | |
| -Enfilier la machine correctement | 12~19 | |
| Le tissu fronce | -Desserrer la tension des fils | 30~38 |
| -Déméler les fils | 20 | |
| -Utiliser un fil pour les tissus légers | 49 | |
| -Diminuer la longueur du point | 21 | |
| -Diminuer la pression du pied presseur pour les tissus légers | 22 | |
| Le bord du tissu est mal coupé | -Vérifier l'alignement des couteaux | 47 |
| -Remplacer le ou les couteaux | 47 | |
| Le tissu n'avance plus | -Fermer le cache-boucleurs avant de coudre | 9 |
| -Déméler les fils | 20 | |
| -Compresser les grosses épaisseurs de tissu avec une machine traditionnelle avant de surjeter | ||
| La machine ne fonctionne pas | -Brancher la prise de courant | 9 |
| Type de tissu | Type de fil | Aiguille Singer Cat.No2022 |
| TISSUS FINSbatiste, organdi,voile, crépe,etc | Coton: #100Soie: #100Fils tors: #80-#90Tetron: #80-#100 | # 11 |
| TISSUS MOYENSmousseline, satingabardine,drap fin etc | Coton: #60-#80Soie: #50Fils tors: #60-#80Tetron: #60-#80 | #11, #14 |
| TISSUS LOURSDoxford, jeantweed velours côteleserge | Coton: #40-#60Soie: #40-#60Fils tors: #60-#80Tetron: #50-#80 | # 14 |
| TISSUS A MAILLESTricot | Fils tors: #80-#90Tetron: #60-#80 | # 11 |
| Jersey | Fils tors: #60-#80Tetron: #60-#180Coton: #60-#80 | #11, #14 |
| Laine | Fils tors: #60-#80Tetron: #50-#60Fil mousse nylonFil mousse tetron | #11, #14 |
La machine est livree avec une aiguille Singer Cat. No 2022.
Il est recommandé de seLECTIONner l'iguille en fonction de la matière de votre ouvrage.
| Caracteristique | Spécification |
| Vitesse de picôureLongueur du pointRapport d'entrainment differentielLargeur du surjetCourse de la barre à aiguilleÉlévation du pied presseurAiguilleModèleNombre de filsDimensions de la machine(mm)LargeurProfondeurHauteurPoids (Kg) | 1,300 points /minute maximum1-4mm(ourlet roulotté F-2, surjet ordinaire3,0)1 :0.7-1.2 (sur les modèles à entrainment différentiel)Ourlet roulotté 1,5mm, surjet normal 3.0-7.7mm(standard :3.5mm)27mm4.5mmOurlet roulotté : Singer Cat.No2022#11Surjet ordinaire : Singer Cat.No2022#11,#1414SH744/14CG744 14SH754/14CG7542,3,42,3,43382802656.06.0 |
NOTES

Notice Facile