LEAF 2 - Voiture électrique NISSAN - Notice d'utilisation et mode d'emploi gratuit
Retrouvez gratuitement la notice de l'appareil LEAF 2 NISSAN au format PDF.
| Intitulé | Description |
|---|---|
| Type de produit | Véhicule électrique compact |
| Caractéristiques techniques principales | 2ème génération de Nissan Leaf, design aérodynamique, espace intérieur optimisé |
| Alimentation électrique | Batterie lithium-ion de 40 kWh ou 62 kWh (selon la version) |
| Dimensions approximatives | Longueur : 4 490 mm, Largeur : 1 790 mm, Hauteur : 1 540 mm |
| Poids | Environ 1 500 kg (selon la version) |
| Compatibilités | Charge rapide CHAdeMO, prise de charge Type 2 pour charge domestique |
| Type de batterie | Batterie lithium-ion |
| Tension | 350 V (pour la batterie de 40 kWh) |
| Puissance | 150 ch (110 kW) pour la version de 40 kWh |
| Fonctions principales | Conduite autonome partielle, système de navigation, connectivité smartphone |
| Entretien et nettoyage | Entretien régulier recommandé tous les 20 000 km, vérification des niveaux de liquide |
| Pièces détachées et réparabilité | Disponibilité des pièces détachées via le réseau Nissan, réparabilité facilitée |
| Sécurité | Équipements de sécurité avancés, y compris l'alerte de collision et le freinage d'urgence |
| Informations générales utiles | Autonomie jusqu'à 385 km (selon le cycle WLTP), garantie de la batterie de 8 ans ou 160 000 km |
FOIRE AUX QUESTIONS - LEAF 2 NISSAN
Téléchargez la notice de votre Voiture électrique au format PDF gratuitement ! Retrouvez votre notice LEAF 2 - NISSAN et reprennez votre appareil électronique en main. Sur cette page sont publiés tous les documents nécessaires à l'utilisation de votre appareil LEAF 2 de la marque NISSAN.
MODE D'EMPLOI LEAF 2 NISSAN
Le present manuel a pour objet de vous aider à comprendre le fonctionnement et l'entretien de votre vehicule afin que vous puissiez profiter longtemps d'une conduite/agréable. Veuillez tire attentivement ce manuel avant de conduire votre vehicule pour la première fois.
Les détails relatifs aux garanties de votre vehicule sont stipulés dans un livre explicitatif sur la garantie distinct. Le guide du service et de l'entretien NISSAN explique en détaill les programmes d'entretien et de réparation de votre vehicule. Aux États-Unis, un livre distinct, intituled « Customer Care/Lemon Law», explique la manière de résoudre tout problème pouvant se produit avec le vehicule et informé le propriétaire de ses droits en vertu de la loi sur les vehicules défectueux en vigueur dans son État.
En plus des options installées à l'usine, notre vehicule peut aussi être équipé d'accessoires supplémentaires installés avant la livraison. Nous vous recommendons de consulter un concessionnaire NISSAN LEAF certifié pour obtenir de plus amples renseignements relatifs aux accessoires particulu
liers dont votre vehicule est équipé. Il est important que vous vous familiarisiez avec toutes les communications, les averissements, les mises en garde et les instructions concernant l'utilisation ajustée de tels accessoires avant d'utiliser le vehicule ou l'accessoire. Nous vous recommendons de consulter un concessionnaire NISSAN LEAF certifié pour obtenir de plus amples renseignements relatifs aux accessoires particuliers dont votre vehicule est équipé.
Un concessionnaire NISSAN LEAF certifié est celui qui connait le mistrux votre vehicule. Nous nous ferons un prise de répondre à toutes vos questions et à tous vos besoin d'entretien en mettant à votre service les ressources considérables dont nous disposons.
À LIRE EN PREMIER, POUR CONDUIRE EN TOUTE SECURITÉ
Veuillez lore attentivement votre manuel du conducteur avant de prendre la route pour la première fois au volant de votre vehicule. Cette lecture vous permettra de vous familiariser avec les commandes et exigences d'entretien de votre vehicule et vous aidera à profiter de ce dernier en toute sécurité.

AVERTISSEMENT
RENSEIGNEMENTS ET RAPPELS IMPOR TANTS EN MATIÈRE DE SECURITÉ!
Respectez ces règles élémentaires de conduite afin d'assurer la sécurité et le comport de tous!
- Ne conduizez JAMAIS lorsque vous estes sous l'influence de I'alcool ou de la drogue.
- Respectez TOUJOURS les limites de vitesse indiquées et ne roulez jamais plusrapidementque ne le permettentlesconditionsdeconduite.
- Concentrez-vous TOUJOURS entière sur la conduite et évitez d'utiliser des fonctions du vehicule ou d'accompil d'autres tâches qui pourrait vous distraire.
Utilisez TOUJOURS les ceintures de sécurité et les ensembles appropriés de retenue d'enfant. Les enfants de moins de 12 ans devraient prendre place sur le siège arrêté.
- Indiquez TOUJOURS aux occupants du vehicule la façon correcte d'utiliser les différents dispositifs de sécurité.
- Lisez TOUJOURS les consignes de sécurité données dans le present Manuel du Conducteur.
MODIFICATION DE VOTRE VEHICULE
Ce vehicule ne doit pas etre modifie. Toute modification peut comprometre ses performances, sa securite ou sa durabilité, voire enfreindre les reglementations governementales. De plus, les dommages et les problemes de rendement resultant d'une telle modification risquent de ne pas etre couverts par les garanties NISSAN.

AVERTISSEMENT
La pose d'un apparéil enchachieble d'autodiagnostic embarqué (OBD) provenant du marché secondaire qui utilise le port durant la conduite normale, par exemple, la surveillance à distance de la compagnie d'assurances, les diagnostics à distance du vehicule, les systèmes télématiques ou la reprogrammation du moteur, peuvent nuire au fonctionnement des systèmes du vehicule ou les endommager. Nous ne recommend pas et ne cautionnons pas l'utilisation d'appareils enchachiebles d'autodiagnostic embarqué (OBD) provenant du marché secondaire, à moins qu'ils soient spécifique approuviés par NISSAN. La garantie du vehicule peut ne pas couvrir les dommages causés par les apparéils enchachiebles provenant du marché des pieces de rechange.
À NE PAS OUBLIER PENDANT LA LECTURE DU PRÉSENT MANUEL
Ce manuel contient des renseignements relatifs à toutes les fonctions et à tous les équipements disponibles pour ce modele. Les fonctions et les équipements de votre vehicule peuvent varier selon le modele, la version, les options selectionnées, la commande, la date de production, la région ou la disponibilité. Par conséquent, ce manuel pourrait containir des renseignements concernant des fonctions ou des équipements qui ne sont pas compris ou installés sur toutevehicule.
Toute l'information, toutes les caractéristiques et toutes les illustrations données dans leprésent manuel étaient exactes au moment de l'impression. NISSAN se réserves le droit de modifier les specifications, les performances ou la conception ainsi que de changer de fournisseurs de composants, sans préavis ni obligation de sa part. De temps à autre, NISSAN peutmettre à jour ou apporter des révisions à ce manuel afin de fournir aux propriétaires les renseignements les plus précis en vigueur. Lisez attentivement toutes les mises à jour de révision qui vous sont envoyées par NISSAN et
conséverez-les avec ce manuel pour vous assurer que tous les renseignements concernant votre vehicule sont exacts et récents. Les versions courantes des manuels du conducteur et toutes les mises à jour sont également disponibles dans la section Propriétaire du site Web de NISSAN à l'adresse https://owners.nissanusa.com/owners/navigation/manualsGuide. Pour toute question concernant les renseignements contenus dans votre manuel du conducteur, communiquez avec le Service de la protection du consommateur de NISSAN. Consultez la page PROGRAMME D'ASSISTANCE À LA CLIENTÉLE NISSAN dans ce manuel du conducteur pour obtenir les coordonnées.
Ce manuel contient divers symboles. Ces symboles ont les significations suivantes :

AVERTISSEMENT
Ce symbole indique un risque de mort ou de blessures graves. Pour éviter ou diminuer ce risque, vous doivent suivir à la lecture des instructions fournies.

MISE EN GARDE
Ce symbole indique un risque de blessures légères ou moyennes, ou de dommages au vehicule. Pour éviter ou diminuer ce risque, vous doivent suivre attentivement les instructions fournies.

Le symbole ci-dessus signifie « Ne faites pas ceci » ou « Ne laissez pas ceci se produit »

Si une illustration présente l'une de ces flèches ci-dessus, cette flèche indique l'avant du vehicule.




Les flèches d'une illustration similaires à celles qui se trouvent ci-dessus indiquent un mouvement ou une action.




Les flèches d'une illustration similaires à celles qui se trouvent ci-dessus seront à attirer votre attention sur un élément de l'illustration.
[ ]: Indique une touche ou une option affichaee à l'écran.
AVIS DE L'ÉTAT DE LA CALIFORNIE: PRÉSENCE DE PERCHLORATE
Certsains composants du vehicule, tels que les piles au lithium, pourraientContaining du perchlorate. L'avis se lit comme suit: « Présence de perchlorate - La manipulation pourrait exiger des précautions particulières. Pour obtenir de plus amples renseignements, consultez le site Web www.dtsc.ca.gov/hazardouswaste/ perchlorate».

Bluetooth

BluetoothMD est une marque déposée de Bluetooth SIG, Inc. et utilisée sous licence par Visteon.
Les services SiriusXMMD nécessitent un abonnement après une période d'essay et sont vendus séparément ou comme un ensemble. Le service par satellite est disponible seulement dans les 48 États contigus des États-Unis et le district fédéral de Columbia. Le service par satellite SiriusXMMD est également disponible au Canada. Visitez le site www.siriusxm.ca.
© NISSAN NORTH AMERICA, INC., 2018.
Tous droits réservés. Aucune partie de ce manuel du propriété ne peut être reproduite ou mise en mémoire dans un système de saisie de données, ou transmise sousquelque forme ou parquelque moyen que ce soit, électronique, mécanique, photocopie, enregistrement ou autre, sans l'autorisation écrite préalable de Nissan North America, Inc.
PROGRAMME D'ASSISTANCE À LA CLIENTÉLE NISSAN
NISSAN S'EN SOUCIE...
NISSAN et saure concessionaire NISSAN LEAF certifié se sont engagés à vous servir et à vous assister, quels que soient vos besoin en matière d'automobile. Notre principale préoccupation est la satisfaction que vous tirerez de votre vehicule et de votre concessionnaire NISSAN LEAF certifié. Your concessionaire NISSAN LEAF certifié est always dispondible pour vous aider, aussi bien pendant la vente que lors des services d'entretien.
Toutefois, si votre concessionnaire NISSAN LEAF certifié ne peut répondre à vos questions ou si vous souhaitez adresser vos commentaires ou vos questions directement à NISSAN, n'hésitez pas à appeler, sans frais, notre Service de la protection du consommateur (NISSAN) aux numérios de téléphone suivants:
Pour les clients américain
1877 NOGASEV
(1877664-2738)
Pour les clients canadiens
1800387-0122
Le Service de la protection du consommateur vous demandera les renseignements suivants :
- Voitre nom, adresse et numéro de téléphone
Le numero d'identification du vehicule (inquié sur le dessus du tableau de bord du côté conducteur)
-La dated'achat
Le relevé du compteur kilométrique - Le nom de votre concessionnaire NISSAN LEAF certifié
- Vos commentaires ou questions OU
Vou pouve écrire à NISSAN en incluant ces renseignements à :
Pour les clients américain
Pour les clients canadiens
Nissan Canada Inc.
5290 Orbitor Drive
Mississauga (Ontario) L4W 4Z5
Ou par courriel à :
informationcentre@nissanca Canada.com
Si vous préférez, visitez notre site à l'adresse:
www.nissanusa.com (pour les clients américain) ou
www.nissan.ca (pour les clients canadiens)
Table des matières
Table des matieres illustrée
Aperçu du vehicule électrique
Chargement
Sécurité - sièges, ceintures de sécurité et système de retenue supplémentaire
Instruments et commandes
Vérifications et réglages avant le démarrage
Systèmes de surveillance, de climatisation, audio, téléphonique et de reconnaissance vocale
Démarrage et conduite
En cas d'urgence
Aspect et entretien
Entretien et interventions du propriétaire
Données techniques et information au consommateur
Index
0
EV
CH
1
2
3
4
5
6
7
8
9
10
0 Table des matières illustrée
Sièges, ceintures de sécurité et système de retenue
supplémentaire. 0-2
Exterieur avant 0-3
Extérieur arrêté. 0-5
Habitacle 0-6
Postede conduite .0-7
Tableau de bord . 0-5
Instruments et jauges 0-6
Compartment moteur 0-11
Témoins 0-12
SIÉGES, CEINTURES DE SECURITÉ ET SYSTème DE RETENUE SUPPLEMENTaire

- Appuie-tête arrêté (p. 1-9)
- Points d'ancrage pour ensembles de retenue d'enfant (pour ensembles de retenue d'enfant avec courroie d'atta-che supérieure) (p. 1-25)
- Rideaux gonflables lateraux et sacs gonflables en cas de renversement montés dans le toit (p. 1-49)
- Appuie-tête avant (p. 1-9)
- Ceinture de sécurité avant avec préten-deur et réglage de hauteur du baudrier (p. 1-12, 1-49)
- Sièges avant (p. 1-3)
- Sachs gonflables avant (p. 1-49)
- Capteur de classification du passager (capteur de poids) (p. 1-49)
- Sachs gonflables latéraux montés dans les sièges avant (p. 1-49)
- Système LATCH (points d'ancrage inférieurs et sangles d'ancrage pour siège d'enfant) (p. 1-25)
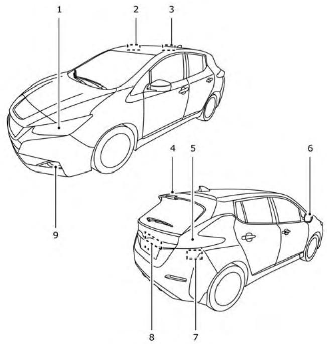
EXTÉRIEUR AVANT

- Couvercle du port de charge
- Commutateur du couvercle de charge
ment (p. 3-22) - Capot (p. 3-19)
- Commutateur d'essuie-glace et de lave-glace
-Fonctionnement de la commande (p.2-55) - Remplacement des balais (p. 8-16)
Liquide de lave-glace (p. 8-13) - Rétroviseurs extérieurs
-Fonctionnement de la commande (p.3-26) - Caméra latérale (selon l'équipement)
(p. 4-14) - Glaces à commande électrique (p. 2-76)
- Verrou de sécurité infant de portière arrrière (p. 3-5)
7 Portières - Clés (p. 3-2)
- Serrures de portière (p. 3-5)
- Système de clé intelligente NISSAN
Intelligent Key ^MD (p. 3-8) -
Système de sécurité (p. 2-52)
-
Pneus
-Roues et pneus (p. 8-30, 9-6)
Pneu creve (p. 6-3)
- Système de surveillance de la pression des pneus (p. 2-21, 5-5)
-
Phare et clignotants
-
Fonctionnement du commutateur
(p. 2-58) - Remplacement des ampôules(p. 8-26)
-
Phares de jour à DEL (selon l'équipe-ment) (p. 2-58)
-
Phares antibrouillard (selon l'équipe-ment)
-
Fonctionnement du commutateur
(p. 2-58) -
Remplacement des ampoules (p. 8-26)
-
Installation de la plaque d'immatriculation (p. 9-9)
- Caméra avant (selon l'équipement) (p. 4-14)
EXTÉRIEUR ARRIÈRE

- Commande d'essuie-glace arrêté et de lave-glace
-Fonctionnement de la commande (p.2-55)
Liquide de lave-glace (p. 8-13) - Feu d'arrêt central
- Remplacement des ampoules (p. 8-26)
- Dégivreur de lunette arrête (p. 2-58)
- Feux arrêté combinés
- Remplacement des ampoules (p. 8-26)
- Hayon arrête (p. 3-20)
- Caméra de marche arrêté (p. 4-4, 4-14)
HABITACLE

- Trousse de secours pour crevaisons (p. 6-3)
- Lampes de lecture
-Fonctionnement de la commande (p.2-79)
- Microphone du système téléphonique mains libres Bluetooth™ (sans navigation) (p. 4-75)
- Microphone du système téléphonique mains libres Bluetooth ^MD (avec dispositif d'aide à la navigation) (consultez le manuel du système NissanConnect ^MD (pour Leaf))
Range-lunettes (p. 2-70)
- Pare-soleil (p. 3-25)
-
Rétroviseur
-
Rétroviseur interieur (p. 3-26)
-
Télokomande HomeLink ^MD (selon l'opération) (p. 2-81)
-
Porte-gobelets avant (p. 2-70)
-
Compartiment de rangement de la console (p. 2-70)
-
Aire de chargement
-Couvre-bagages (selon I'equipement) (p.2-70)
- Câble EVSE (accessoire pour vehicule électrique) (p. CH-6)
POSTE DE CONDUITE

- Commutateur TRIP RESET (réinitialisation du compteur) pour compteur journalier double (p. 2-6)
- Commutateur de commande de luminosité du tableau de bord (p. 2-64)
- Interrupteur des phares, des phares antibrouillard (selon l'équipement) et des clignotants
- Phare (p. 2-58)
- Clignotants (p. 2-58)
- Phares antibrouillard (selon l'équipe-ment) (p. 2-58)
- Commandes du volant (côté gauche)
Commande audio(p. 4-52) - Commandes de l'affichage multifonction (p. 2-30)
- Volant
- Système de direction assistée (p. 5-148)
- Avertisseur sonore (p. 2-65)
- Sac gonflable du conducteur (p. 1-49)
-
Commutateur d'essuie-glace et de lave-glace (p. 2-55)
-
Commandes du volant (côté droit)
-Commandes du régulateur de vitesse (selon l'equipement) (p.5-61) - Commandes du régulateur de vitesse adaptatif (ICC) (selon l'equipement) (p. 5-64)
- Commutateur ProPILOT Assist (selon l'equipement) (p. 5-89)
-Commande du système téléphonique mains libres BluetoothMD (sans dispositif d'aide à la navigation) (p. 4-52) - Commande du système téléphonique mains libres Bluetooth ^MD (avec dispositif d'aide à la navigation) (consultez le manuel du système NissanConnect ^MD (pour Leaf))
- Levier sélecteur (p. 5-18)
- Commutateur ECO (économie)
(p. 2-65) - Commutateur système e-Pedal
(p. 5-27) - Compartiment de rangement de la console (p. 2-70)
- Frein de stationnement (type de commutateur) (selon l'équipement) (p. 5-23)
- Levier du volant inclinable (p. 3-25)
- Commutateur du couvercle du port de charge (p. 3-22)
- Commutateur de charge immédiate (p. 2-69)
- Commutateur du volant chauffant (selon l'équipement) (p. 2-67)
- Commutateur de direction assistée (selon l'equipement) (p. 5-89)
- Couvercle du boitier à fusibles (p. 8-20)

TABLEAU DE BORD
- Bouches d'air latérales (p. 4-32)
- Instruments et jauges (p. 2-6)
-
Panneau de commande multifonction central
-
Dispositif d'aide à la navigation (consultez le manuel du système NissanConnect™ (pour Leaf))
-
Sans dispositif d'aide à la navigation (p. 4-52)
-
Interrupteur de feuix de détresse (p. 6-2)
- Interrupteur du dégivre de lunette arrrière (p. 2-58)
- Sac gonflable du passager avant (p. 1-49)
- Boîte à gants (p. 2-70)
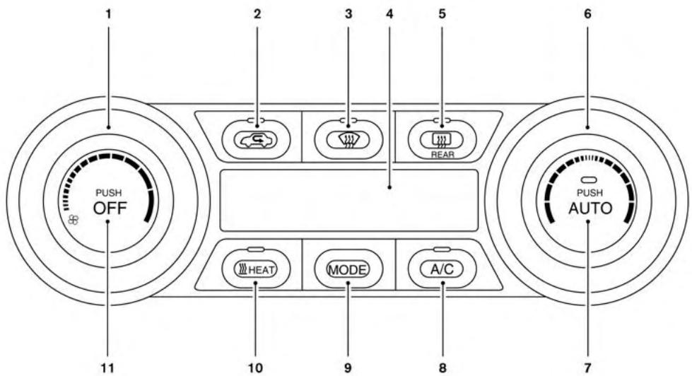
- Commande du système de chauffage-climatisation (p. 4-33)
- Prise de courant (p. 2-70)
- Commutateurs de siège chauffant (selon l'opération) (p. 2-66)
- Prise d'entrée auxiliaire (p. 4-72) - Connecteur du iPod et connecteur du dispositif USB (p. 4-52)
- Commutateur principal à boutonpoucevoir (p. 5-12)
- Témoin de neutralisation du sac gonflable du passager avant (p. 1-49)
- Poignée de déverrouillage du capot (p. 3-19)
INSTRUMENTS ET JAUGES

-
Affichage multifonction (p. 2-30)
-
Horloge (p. 2-12)
- Température extérieure (p. 2-12)
- Indicateur de charge disponible de la batterie au lithium-ion (p. 2-11)
Autonomie (p. EV-23) - Compteur kilométrique et compteur journalier double (p. 2-7)
-
Indicateur pour minutesie (p. CH-41)
-Mesureur de puissance (p. 2-9) -
Témoins (p. 2-14)
Témoins des clignotants et des feu de détresse (p. 2-58)
-Témoin PRÉT à démarrer (p. 2-27)
- Témoin de mode ECO (p. 2-13)
- Indicateur de vitesse (p. 2-7)
COMPARTIMENT MOTEUR

- Boîte à fusibles et fil fusible (p. 8-20)
- Réservoir de liquide de frein (p. 8-12)
- Batterie de 12 V (p. 8-14)
- Boîte à fusibles (p. 8-20)
- Boîte à fusibles et fil fusible (p. 8-20)
- Bouchon de réservoir de liquide de refroidissement (p. 8-10)
- Réservoir de liquide de lave-glace (p. 8-13)
TÉMOINS
| Témoin | Nom | Page |
| Témoin de charge de la batterie de 12 V | 2-16 | |
| Témoin d'avertissement du circuit de freinage antiblocage (ABS) | 2-17 | |
| Témoin de DÉS-ACTIVATION du système d'alerte sonore de vehicule en ap-proche pour piétons | 2-18 | |
| Témoin d'avertissement du système de freinage d'urgence automatique (selon l'équipement) | 2-18 | |
| Témoin d'avertissement du système de freinage d'urgence automatique avec dispositif de détention de piétons (se-lon l'équipement) | 2-18 |
| Témoin | Nom | Page |
| ① | Témoin du circuit de freinage (jaune) | 2-19 |
| BRAKE | Témoin des freins (rouge) | 2-19 |
| ① | Témoin d'vertissement du frein de stationnement élec-trique (jaune) | 2-20 |
| ① | Témoin du système de commande de changement de vi-tesse électrique | 2-21 |
| Témoin du système de vehicule electri-que | 2-21 | |
| Témoin d'vertissement de basse pres-sion des pneus | 2-21 |
| Témoin | Nom | Page |
| ! | Témoin multi-fonction (rouge et jaune) | 2-23 |
| ®! | Témoin de la direc-tion assistée | 2-24 |
| # | Témoin des ceintu-res de sécurité | 2-24 |
| Témoin du sac gon-flable | 2-24 | |
| PARK | Témoin du frein de stationnement élec-tronique | 2-25 |
| EPAE | Témoin de l'éclai-rage extérieur | 2-25 |
| FID | Témoin des phares antibrouillard avant (selon l'equipement) | 2-25 |
| OFF | Témoin de neutralisation du sac gon-flable du passager avant | 2-26 |
| A | Témoin d'assistance des feu des route (selon l'equipement) | 2-26 |
| D | Témoin des fais-ceaux route (bleu) | 2-26 |
| E | Témoin de branche-ment | 2-26 |
| Témoin | Nom | Page |
| Témoin de limitation de puissance | 2-26 | |
| Témoin PRÊT À DÉ-MARRER | 2-27 | |
| Témoin de sécurité | 2-27 | |
| Témoin de dérapage | 2-28 | |
| Témoins des cligno-tants et des yeux de détresse | 2-28 | |
| Témoin de NEUTRA-LISATION du sys-tème de contrôle dynamique du vehi-cule | 2-28 |
REMARQUES
Aperçu du vehicule électrique
Système de vehicule électricité . . . . . . . . . . . . . . . . . . . . . . . . . . . . . . . . . . . . . . . . . . . . . . . . . . . . . . . . . . . . . . . . . . . .
Batterie au lithium-ion . . . . . . . . . . . . . . . . . . . . . . . . . . . . . . . . . . . . . . . . . . . . . . . . . . . . . . . . . . . . . . . . . . . . .
Conduite avec une batterie au lithium-ion
décharge . EV-3
Chargement de la batterie de 12 V . . . . . . .EV-5
Réchauffeur de batterie au lithium-ion
(selon l'equipement). . . . . . . . . . . . . . . . . . . . . . . . . . . . . . . . . . . . . . . . . . . . . . . . . . . . . . . . . . . . . . . . . . . . . . . . . . . . . . . . . . . . . .
Précautions relatives à la haute tension. . . . . .EV-8
Composants haute tension.. .EV-8
Précautions en cas d'accident . . . . . . . . . . . . . . . . . . . . . . . . . . . . . . . . . . . . . . . . . . . . . . . . . . . . . . . . . . . . . . .
Système d'arrêt d'urgence . . . . . . . . . . . . . . . . . . . . . . . . . . . . . . . . . . . . . . . . . . . . . . . . . . . . . . . . . . . . . . . . . . . . . . . . . . . . . . .
Caracteristiques du vehicule electrique . . . . . .EV-11
Bruits et vibrations . . . . . . . . . . . . . . . . . . . . . . . . . . . . . . . . . . . . . . . . . . . . . . . . . . . . . . . . . . . . . . .
La vie avec un vehicule électrique
(guide imagé). . . . . . . . . . . . . . . . . . . . . . . . . . . . . . . . . . . . . . . . . . . . . . . . . . . . . . . . . . . . . . . . . . . . . . . . . . . . . . . . . .
Chargement de la batterie au lithium-ion . .EV- 12
Avant de conduire votre vehicule (modèles
avecdispositifdaidea navigation). . . . .EV-14
Vérification de l'etat de chargement de la
battery au lithium-ion . . . . . . . . . . . . . . . . . . . . . . . . . . . . . . . . . . . . . . . . . . . . . . . . . . . . . . . . . . . . . . . . . . . . . . . . . . . .
Fonctionnement du système de
chauffage-climatisation avant la conduite. .EV-16
Démarrage de votre vehicule . . . . . . . . . . . . . . . . . . . . . . . . . . . . . . . . . . . . . . . . . . . . . . . . . . . . . . . . . . . . . . . . . . .
Conduite du vehicule. . . . . . . . . . . . . . . . . . . . . . . . . . . . . . . . . . . . . . . . . . . . . . . . . . . . . . . . . . . . . . . . . . . . . . . . . . . . . . . . . . . . . .
Chargement après la conduite . . . . . . . . . . . . . . . . . . . . . . . . . . . . . . . . . . . . . . . . . . . . . . . . . . . . . . . . . . . . . . . . . . . . . . .
Utilisation optimale de votre vehicule. . . . . . . .EV-23
Portee . . .EV-23
Optimisation de l'autonomie . . . . . . . . . . . . . . . . . . . . . . . . . . . . . . . . . . . . . . . . . . . . . . . . . . . . . . . . . . . . . . . . . . . . . . . . . .
Durée de vie de la batterie au lithium-ion . .EV-24
Entretien de la batterie au lithium-ion . . . .EV-25
Renseignements particuliers relatifs au vehicule
électrique . . . . . . . . . . . . . . . . . . . . . . . . . . . . . . . . . . . . . . . . . . . . . . . . . . . . . . . . . . . . . . . . . . . . . . . . . . . . . . . . . . . .
Instruments et indicateurs. . . . . . . . . . . . . . . . . . . . . . . . . . . . . . . . . . . . . . . . . . . . . . . . . . . . . . . . . . . . . . . . . . . . . . . . . . . . . . . . . . .
Système d'alerte sonore de vehicule en
approche pour piétons . . . . . . . . . . . . . . . . . . . . . . . . . . . . . . . . . . . . . . . . . . . . . . . . . . . . . . . . . . . . . . . . . . . . . . . . . . . . . . . . . . . .
Système de commande de changement de
vitesse electrique . . . . . . . . . . . . . . . . . . . . . . . . . . . . . . . . . . . . . . . . . . . . . . . . . . . . . . . . . . . . . . . . . . . . . . . . . . . . . . . . . . . . . .
Phare à DEL (feu de croisement)
(selon l'equipement). . . . . . . . . . . . . . . . . . . . . . . . . . . . . . . . . . . . . . . . . . . . . . . . . . . . . . . . . . . . . . . . . . . . . . . . . . . . . . . . . . . . . . . . . . . . . .. EV-30
Autonomie (selon l'équipement). . . . . . . . . . . . . . . . . . . . . . . . . . . . . . . . . . . . . . . . . . . . . . . . . . . . . . . . . . . . . . . . . . . . . . . . . . . . . . . . . . . . . . . EV-30
SYSTEME DE VÉHICULE ÉLECTRIQUE
La LEAF est un vehicule electrique. Certains systèmes du vehicule fonctionnent différemment et ont des caractéristiques de fonctionnement différentes des vehicules équipés d'un moteur à combustion interne. Pour cette raison, il est important de dire attentivement tout le manuel du conducteur. La principale différence est que la LEAF est alimentée par l'électricité. La LEAF ne nécessite pas d'essence et ne fonctionne pas comme un vehicule alimenté par un moteur à combustion interne traditionnel. La LEAF utilise l'électricité stockée dans la batterie au lithium-ion. La batterie au lithium-ion doit être chargee avec de l'électricité avant de pouvoir conduire le vehicule. La batterie au lithium-ion se décharge progressivement lors du fonctionnement du vehicule. Si la batterie au lithium-ion est complètement déchargee, le vehicule ne fonctionne pas jusqu'à ce que la batterie soit rechargée.
Ce vehicule utilise deux types de batteries. La batterie de 12 V, qui est la meme que celle des vehicules alimentetes par des moteurs à essence, puis la batterie au lithium-ion (haute tension).
La batterie de 12 V fournit de l'énergie aux systèmes et aux fonctions du vehicule tels que le système audio, les systèmes de retenue supplémentaire, les phares et les essuie-glaces de pare-brise.
La batterie au lithium-ion fournit de l'énergie au moteur électrique (moteur de traction) qui fait fonctionner le vehicule.
La batterie au lithium-ion charge également la batterie de 12 V.
Le vehicule doit'être branché pour charger la batterie au lithium-ion. De plus, le système du vehicule peut prolonger l'autonomie en convertissant la force de conduite en électricité, qui est stockée dans la batterie au lithium-ion pendant la décelération du vehicule ou la conduite sur une pente descendante. Il s'agit du freinage régénératif. Ce vehicule est considéré comme étant ecologique, car il n'émet pas de gaz d'échéppement, tels que du dioxyde de carbone et de l'oxyde d'azote.
BATTERIE AU LITHIUM-ION

AVERTISSEMENT
Votre vehicule contient une batterie à haute tension au lithium-ion fermée hermetiquement. La mise au rebut incorpore de la batterie Li-ion peut provoquer des brûlures importantes et des chocs électriques pouvant cause des blessures graves ou mortelles ainsi qu'un risque pour l'environnement.

MISE EN GARDE
Pour éviter d'endommager la batterie au lithium-ion:
- N'exposez pas le vehicule à des températures ambiantes extrêmes pendant des périodes prolongées.
- N'entreposez pas le vehicule à une température inférieure à -25 °C (-13 °F) pendant plus de sept jours.
- Ne laisses pas le vehicule pendant plus de 14 jours avec l'indicateur de charge disponible de la batterie au lithium-ion à zéro ou pres de zéro.
- N'utilise pas la batterie au lithium-ion pour tout autre but.
REMARQUE:
Si la température extérieure est égale ou inférieure à -25^ (-13^) , la batterie au lithium-ion peut geler et ne peut pas être chargée ou fournir de l'énergie pour démarrer le vehicule. Déplacez le vehicule dans un endroit chaud.
La capacité de la batterie au lithium-ion de votre vehicule de maintainir une charge diminue avec le temps et l'usage, comme pour toutes les batteries de même type. Alors que la batterie vieillit et que la capacité baisse, cela causera une baisse de la distance de kilométrage initial du vehicule. Ceci est normal, prévu et n'indique pas que la batterie au lithium-ion est défectueuse.
La batterie au lithium-ion a une durée de vie utile limite, et lorsque la capacité de chargement devient inférieure à un niveau particulier, le témoin du système de vehicule electrique s'allume. Les propriétaires doivent Emmener leur vehicule pour le faire inspecter et, au besoin, faire replacer la batterie.
- Nous vous recommendons de vous rendre chez un concessionnaire NISSAN
LEAF certifié pour obtenir des renseignements supplémentaires sur le recyclage ou la mise au rebut de la batterie au lithium-ion. Net tentez pas de recycler ou demettre au rebut une batterie au lithium-ion par vous-même.
CONDUITE AVEC UNE BATTERIE AU LITHIUM-ION DÉCHARGÉE
Lorsque vous définissez une destination dans le dispositif d'aide à la navigation (selon l'équipement) qui dépasse l'autonomie du vehicule disponible, le dispositif d'aide à la navigation recherche automatiquement l'emplacement de postes de chargement à proximé. Lorsque les emplacements de postes de chargement à proximé s'affichent, chargez la batterie au lithium-ion dés que possible.
Les témoins s'allument au tableau de bord et les messages apparaissent sur l'affiche multifonction pour vous informer que la charge de la batterie au lithium-ion est faible. Des directives s'affichent également à l'écran du dispositif d'aide à la navigation (selon l'équipement) pour vous diriger vers des postes de chargement à proximité.
L'autonomie du vehicule est très limitée lorsque ces témoins s'allument et que ces messages s'affichent. Suivez les directives indiquées à l'écran du dispositif d'aide à la navigation (selon l'équipement) et chargez immédiatement le vehicule au poste de chargement le plus proche.
L'écran affiche trois niveaux d'information lorsque la batterie au lithium-ion est dé-chargee:

- Les témoins suivants s'allument au tableau de bord et des messages apparaissent sur l'affichage multifonction en même temps pour indiquer une charge faible de la batterie au lithium-ion:
Le témoin de charge faible de la batterie.
- Le témoin multifonction.

- Le message d'advertissement « Battery charge is low, Charge now » (Charge de batterie faible, charger maintainant) s'affiche à l'écran multifonction.
- Des messages apparaissent sur l'affchage du dispositif d'aide à la navigation (selon l'équipement).
Pour obtenir des renseignements supplémentaires, consultez la section « Témoin de charge faible de la batterie » dans le chapitre « Commandes et instruments » du présent manuel.

-L'autonomie du vehicule clignote ①.
REMARQUE:
En raison des conditions de circulation, il peut etre dificile d'arriver au poste de chargement suggeré par le dispositif d'aide à la navigation (selon l'équipement).Si la batterie au lithium-ion est presque complètement déchargee,allez directement au poste de chargement le plus proche.

- Si vous conduisiez le vehicule et que la batterie au lithium-ion continue à se décharger, l'autonomie du vehicule sur le tableau de bord passé à « — — » ②.
Des messages apparaissent sur l'affchage du dispositif d'aide à la navigation (selon l'équipement). Pour obtenir des renseignements supplémentaires, consultez la section « Indicateur de charge disponible de la batterie au lithium-ion » du chapitre « Commandes et instruments » duprésent manuel.
- Lorsque le témoin de limitation de puissance s'allume, la puissance du moteur de traction est limitée, ce qui réduit la vitesse du vehicule. Arrêtez le vehicule dans un endroit sur avant que la batterie au lithium-ion ne soit complètement décharge et qu'il n'y ait aucune puissance pour conduire le vehicule. Communiquez avec l'assistance routière tel qu'indiqué dans votre Livret de renseignements sur la garantie NiSSAN. Pour obtenir des renseignements supplémentaires, consultez la section « Si la batterie au lithium-ion se décharge complètement » du chapitre « En cas d'urgence » duprésent manuel.
CHARGEMENT DE LA BATTERIE DE 12 V
La batterie de 12 V est chargée automatiquement en utilisant l'électricité stockée dans la batterie au lithium-ion.
Lorsque la batterie de 12 V est en cours de chargement, le témoin d'etat de charge-ment clignote au tableau de bord (sauf lors du chargement de la batterie au lithium-ion ou lorsque le commutateur principal est à la position PRÉT À DEMARRER). Consultez la section « Témoin d'etat de chargement » du chapitre « Chargement » dans ce manuel pour obtenir des renseignements supplémentaires.
Pendant la conduite du vehicule
La batterie au lithium-ion charge la batterie de 12 V dés que nécessaire lorsque le commutateur principal est à la position PRÉT À DEMARRER ou ON (marche).
La batterie de 12 V n'est pas chargée dans les conditions suivantes.
Lorsque le commutateur principal est à la position ACC (accessoires).
Lorsque le commutateur principal est à la position ON (marche) et que le levier de vitesses est à la position N (point mort).
Lorsque vous n'utilisez pas le vehicule
Lorsque le système de vehicule electrique est hors fonction pour une période prolongée, la batterie de 12V peut etre automatiquement chargée pendant une courte période de temps regulierement.
RéCHAUFFEUR DE BATTERIE AU LITHIUM-ION (SELON L'ÉQUIPEMENT)

MISE EN GARDE
Le rechauffeur de batterie au lithium-ion ne fonctionne pas si la charge disponible de la batterie au lithium-ion est inférieure à environ 15% et si le chargeur n'est pas branché sur le vehicule. Pour empêcher le gel de la batterie au lithium-ion, ne laissiez pas le vehicule dans un endroit où la temperature peut baisser à -17^ (-1^) à moins que le vehicule ne soit branché sur un chargeur.
Le rechauffeur de batterie au lithium-ion aide à empêcher la batterie au lithium-ion de geler et à prévenir des réductions de rendement considérables de la batterie au lithium-ion lorsque la température est)basse. Le rechauffeur de batterie au lithium-ion s'allume automatiquement lorsque la température de la batterie au lithium-ion est égale ou inférieure à -17 ^ C (-1^) environ. Le rechauffeur de batterie au lithium-ion s'eteint automatiquement lorsque la température de la batterie au lithium-ion est égale ou supérieure à-10 ^ C (14^) environ.
Le rechauffeur de batterie au lithium-ion utilise de l'énergie électrique d'une source extérieure lorsqu'un chargeur est branché sur le vehicule. Le rechauffeur de batterie au lithium-ion utilise de l'énergie électrique de la batterie au lithium-ion lorsque le chargeur n'est pas branché sur le vehicule.
REMARQUE:
-
Branchez le chargeur sur le vehicule et placez le commutateur principal à la position OFF (hors fonction) lorsque vous stationnez votre vehicule si la température risque de baisser endessous de -17^ (-1^) . Cela fournit de l'énergie extérieure au rechauffeur de batterie au lithium-ion lorsqu'il est en fonction et ne décharge pas la batterie au lithium-ion.
-
Les témoins d'etat de chargement s'allument dans un ordre spécifique lorsque le rechauffeur de batterie au lithium-ion est en fonction. Les témoins d'etat de chargement utilisent le même ordre pour indiquer le chargement de la batterie de 12V , le fonctionnement de la minuterie de climatisation ou le fonctionnement du système de chauffage-climatisation à distance (modèles avec dispositif d'aide à la navigation). Les témoins d'etat de chargement ne changent pas si le rechauffeur de batterie au lithium-ion fonctionne en même temps que les systèmes ci-dessus. Consultez
la section « Témoin d'etat de charge-ment » du chapitre « Chargement » dans ce manuel pour obtenir des renseignements supplémentaires.
Le rechauffeur de batterie au lithium-ion utilise l'alimentation de la batterie au lithium-ion pour fonctionner, même si le vehicule est branché sur un chargeur lorsque:
- le commutateur principal du vehicule est à la position ON (marche);
- il n'y a pas d'énergie électrique fournie à l'équipement de chargement.
Lorsque le rechauffeur de batterie au lithium-ion est deja en fonction et utilise une source d'énergie extérieure, il continua à utiliser la source d'énergie extérieure même si le commutateur principal est placé à la position ON (marche).
L'autonomie du vehicule est réduite sile réchauffeur de batterie au lithium-ion est en fonction (la température de la batterie au lithium-ion est égale ou inférieure à -17 °C [-1 °F]) environpendant la conduite. Il se peut que vous deviez charger la batterie au lithium-ion plus tout que vous ne le fieriez par temps chaud.
La batterie au lithium-ion nécessite plus de temps pour charger lorsque le rechauffeur de batterie au lithium-ion est en fonction.
Le temps de chargement prevu affiché au compteur et à l'écran du dispositif d'aide à la navigation (selon l'équipement) augmente lors du fonctionnement du rechauffeur de batterie au lithium-ion.
- Les performances du système de chauffage-climatisation sont réduites lors de l'utilisation de la minuterie de chauffage-climatisation ou du système de chauffage-climatisation à distance (modèles avec dispositif d'aide à la navigation) pendant que le rechauffeur de batterie au lithium-ion est en fonction.
- La batterie au lithium-ion peut ne pas se charger au niveau voulu au moyen de la minutes de chargement pendant le fonctionnement du rechauffeur de batterie au lithium-ion.
PRECAUTIONS RELATIVES À LA HAUTE TENSION
COMPOSANTS HAUTE TENSION

AVERTISSEMENT
- Le système de vehicule electrique utilise une haute tension pouvant atteindre 400 V c.c. environ. Le système peut être chaud pendant et après le démarrage et lorsque le vehicule est hors fonction. Soyez vigilant et conscient de la haute tension et de la température élevée engendries par le système. Observe les instructions des étiquettes d'avertissement apposées au vehicule.
- Vous ne devez jamais démonter, restorer ou replacer les pieces et les câbles haute tension ainsi que leurs connecteurs, car ils peuvent provoquer des brûlures graves ou un choc électrique qui pourrait entraîner des blessures graves ou mortelles. Les câbles haute tension sont de couleur orange. Le système haute tension du vehicule ne comprend aucune piece qui peut être replacée par l'utilisateur. Nous vous recommendons de confier votre vehicule au concessionnaire NISSAN LEAF certifié pour tout entretien nécessaire.

- Moteur de traction et engrenage de réduction
- Convertisseur de moteur de traction
-
Module de puissance débitée (chargeur, convertisseur continu-continu, boîte de raccordement)
-
Faisceaux de câbles haute tension (de couleur orange)
- Batterie au lithium-ion
- Fiche d'entretien
PRECAUTIONS EN CAS D'ACCIDENT

AVERTISSEMENT
En cas d'une collision :
- Si vous pouvez conduire le vehicule, rangez-le en cordure de la route, appuyez sur le commutateur de position P (stationnement) du levier sélecteur, serrez le frein de stationnement, puis mettez le système de vehicule électrique hors fonction.
-
Vérifiez la présence de pièces ou de câbles haute tension exposés sur votre vehicule. Pour connaître leurs emplacements, reportez-vous à la section « Composants haute tension » dans ce chapitre. Pour éviter de vous blesser, ne touchez jamais le câblage haute tension, les connecteurs et d'autres pièces haute tension, telles que l'inverseur et la batterie au lithium-ion. Un choc électrique peut se produit si des câbles électriques exposés sont visibles lorsque vous regardez de l'intérieur ou de l'extérieur de votre vehicule. Ne touchez donc jamais aux câbles électriques exposés.
-
Si le vehicule subit un fort impact au plancher pendant la conduite, arrêtez le vehicule dans un endroit sur et vérifie le plancher.
-
Un incendie pourrait se produit si la batterie Li-ion est endommagée ou si elle présente des fuites. En cas de dommages ou de fuites, communique immédiatement avec les services d'urgence. Étant donné que le liquide qui fuit peut être du manganate de lithium provenant de la batterie au lithium-ion, ne touche jamais le liquide qui fuit à l'intérieur ou à l'extérieur du vehicule. Si le liquide entre en contact avec la peau ou les yeux, rincez-les immédiatement avec une grande quantité d'eau et consultez sans tarder un médecin pour empêcher de graves blessures.
Lorsqu'un vehicule electrique prend feu, éloignez-vous du vehicule des que possible. Utilisez uniquement un extincteur de type ABC, BC ou C, prévu pour les deux electriques. L'utilisation d'une petite quantité d'eau ou d'un extincteur inapproprié peut provoquer de graves blessures ou la mort par chic electrique. -
Si le vehicule doit être remorqué, assurez-vous que les roues avant ne touchent pas le sol. Si le vehicule est remorqué avec les roues avant au sol, le moteur de traction pourrait générer de l'électricité. Cela peut endommager les composants du système de vehicule electrique et provoquer un incendie.
-
Si vous ne pouvez pas vérifier votre vehicule en toute sécurité à cause des dommages au vehicule, ne touche pas le vehicule. Quittez le vehicule et communiquez avec les services d'urgence. Informez les premiers répondants qu'il s'agit d'un vehicule électrique.
-
En cas d'accident qui nécessite la réparation et la peinture de la carrosserie, le bloc-batterie au lithium-ion et les pieces haute tension telles que l'inverseur, y compris le faisceau de câblage, devraient être enlevés avant de repeindre. Nous vous recommandons de vous rendre chez un concessionnaire NiSSAN LEAF certifié pour ce service. Les blocsbatteries au lithium-ion exposés à la chaleur dans la cabine de peinture subiront une perte de capacité. Les blocsbatteries au lithium-ion endommages peuvent égalementposer des risques de sécurité à des mécaniciens ou des réparateurs non formés.
SYSTEME D'ARRÉT D'URGENCE
Le système d'arrêt d'urgence est activé et le système haute tension s'éteint automatiquement dans les conditions suivantes :
- collisions frontales et laterales dans lesquelles les sacs gonflables sont déployés;
- certaines collisions arrêté;
-certaines pannes du système de vehicule électrique.
Lors des collisions indiquées ci-dessus et de certaines autres anomalies du système de vehicule électrique, le témoin PRÉT À DEMARRER s'éteint. Pour obtenir des renseignements supplémentaires, consultez la section « Témoins et rappels sonores » du chapitre « Commandes et instruments » du réseau manuel.
Le système d'arrêt d'urgence s'active lors des collisions indiquées ci-dessus pour minimiser le risque d'un événement pouvant provoquer des blessures ou un accident. Si le système d'arrêt d'urgence s'active, le système de vehicule électrique peut ne pas être placé à la position PRET À DEMARRER; nous vous recommendons de visiter un concessionnaire NISSAN LEAF certifié. Mème si le commutateur principal passée à la position PRET À DEMARRER, le système peut s'arrêter soudainement. Par conséquent, conduisez prudèment jusqu'àu centre de réparation certifié le plus proche; nous vous recommendons de vous rendre chez un concessionnaire NISSAN LEAF certifié à des fins d'entretien.
CHARACTERISTIQUES DU VEHICULE ELECTRIQUE

AVERTISSEMENT
-
Portez une attention particulière aux piétons. Étant donné que le moteur ne produit pas de bruit, les piétons peuvent ne pas se rendre compte que le vehicule approche, se déplace ou est sur le point de démarrer, et ils peuvent entraîr dans la trajectory du vehicule.
Lorsque you quittez le vehicule, assurez-vous de mettre hors fonction le système de vehicule electrique.
Assurez-vous d'appuyer sur le commutateur de position P (stationnement) du levier selecteur, puis serrez le frein de stationnement lors du stationnement, car le vehicule peut se déplacer lorsque le témoin PRÉT à démarrer est ALLUMÉ. Lorsque le témoin PRÉT à démarrer est ALLUMÉ, ne quittez pas votre vehicule si le levier selecteur n'est pas à la position P (stationnement). -
Maintenez la pédale de frein enfoncé jusqu'à ce que vous soyez prét à démarrer. Lorsque le vehicule est en position D (marche avant), B ou R (marche arrière), le vehicule avancera lentement et pourra démarrer soudainement si vous relâchez la pédale de frein et que vous n'enforcez pas la pédale d'accéléateur. Le déplacement accidentel du vehicule pourrait cause des blessures graves ou mortelles.
REMARQUE:
-
Vous ne pouvez pas conduire le vehicule si la batterie au lithium-ion est décharge. L'accelération repétée consomme plus d'énergie de la batterie au lithium-ion que la conduite à vitesse de croisière.
-
Ce vehicule est muni d'un circuit de freinage regeneratif. Le but principal du circuit de freinage regeneratif est de fournir de l'énergie pour recharger la batterie au lithium-ion et pour augmenter l'autonomie. Le « frein moteur » qui fonctionne selon les conditions de la batterie au lithium-ion est un avantage secondaire.
-
En position D (marche avant), le circuit de freinage régénératif fournit un peu de décelération lorsque la pedale de frein est reliachée.
Lorsque you appuyez sur le levier sélecteur en mode B et que you relâchez la pédale d'accéléateur, le freinage régénératif est plus serré qu'en position D (marche avant).
Le circuit de freinage regénératif fournit moins de décelération lorsque la batterie au lithium-ion est complètement chargée. Le freinage regénératif est automatiquement réduit lorsque la batterie au lithium-ion est complètement chargée pour empêcher une surcharge de la batterie au lithium-ion. Lefrinage régénératif est également réduit automatiquement lorsque la température de la batterie est élevé ou BASSE (ce qui est indiqué par les zones rouges ou bleues de l'indicateur de température de la batterie au lithium-ion) afin d'éviter d'endommager la batterie au lithium-ion.
La pedale de frein doit etre utiliser pour ralentir ou arreter le vehicule selon les conditions de circulation ou de route. Les freins du vehicule ne sont pas affectes par le fonctionnement du circuit de freinage regeneratif.
BRUITS ET VIBRATIONS
Les bruits et les vibrations ci-après, qui sont des caractéristiques de ce vehicule, peuvent se faire dessentir :
- Bruit de moteur de traction provenant du compartmentement moteur.
- Bruit de la pompe à eau et du ventilateur de radiateur lors du chargement.
-
Bruit du compresseur et du ventilateur de radiateur lors de l'utilisation de la minuterie de climatisation ou du système de chauffage-climatisation à distance (modèle avec dispositif d'aide à la navigation).
-
Bruit de fonctionnement par relais et vibration au démarrage ou à l'arrêt du système de vehicule électrique (commutateur principal place à la position ON [marche] et OFF [hors fonction]).
- Alerte sonore de vehicule en approche pour piétons.
LA VIE AVEC UN VÉHICULE ÉLECTRIQUE (GUIDE IMAGE)
Ce chapitre fournit une brève explication des fonctions les plus importantes de la LEAF. Pour obtenir des renseignements supplémentaires, consultez les chapitres spécifiques de ce manuel pour des explications détaillées des fonctions et du fonctionnement du vehicule.
CHARGEMENT DE LA BATTERIE AU LITHIUM-ION

AVERTISSEMENT
Le système de vehicule electrique utilise un courant haute tension. Si vous n'observe pas correctement les directives de manipulation, vous risquez de subir des blessures graves ou mortelles. Assurez-vous de dire et de suivre les directives et les procédures indiquées dans le chapitre « Chargement »
| Port de charge | Connecteur de charge | Boîtier de commande | Réglage électrique | Chargement | |
| CHARGE NORMALE (AC 220-240 V) | Connecteur de charge normale | Utilisez le dispositif de chargement (AC 220-240 V) installé chez vous. | |||
| Connecteur de charge normale | Utilisez le cable EVSE (accessoire pour vehicule électrique) L1 et L2. Utiliserez seulement une prise de 220-240 V, 50 A, installée par un électricien qualifié. | ||||
| CHARGE D'ENTRETIEN (AC 110-120 V) | Connecteur de charge normale | Utilisez le cable EVSE (accessoire pour vehicule électrique) L1 et L2. Utiliserez seulement une prise de 110-120 V, 15 A, installée par un électricien qualifié. | |||
| Connecteur de charge normale | Utilisez le cable EVSE (accessoire pour vehicule électrique) L1 Utiliserez seulement une prise de 110-120 V, 15 A, installée par un électricien qualifié. | ||||
| CHARGE RAPIDE (selon l'équipement) Consultez la partie « CH. Comment effectuer une charge rapide « dans la section « CH. Changement » | Connecteur de charge normale | Postes de charge publics | |||
AVANT DE CONDUIRE VOTRE VÉHICULE (MODELES AVEC DISPOSITIF D'AIDE À LA NAVIGATION)
Vous pouvez vérifier l'etat de chargement de la batterie au lithium-ion et le fonctionnement du réchauffeur de batterie au lithium-ion (selon l'équipement) à l'aide d'un téléphone intelligent ayant accès à internet ou d'un ordinateur personnel à la maison. Vous pouze également désirir de vous faire envoyer des messages/textes sur votre téléphone cellulaire. De plus, le chauffage et le climatisationur végicule peuvent être régles pour fonctionner en utilisant la fonction de minutesier de climatisation ou la fonction de chauffage-climatisation à distance, au besoin. Pour obtenir de plus amples renseignements, consultez la section « Système de chauffage-climatisation à distance » du chapitre « Systèmes de surveillance, de climatisation, audio, téléphonique et de reconnaisance vocale » duprésent manuel.
REMARQUE:
Pour vérifier I'etat de chargement de la batterie au lithium-ion ou pour utiliser le chauffage et le climatiseur a distance à l'aide d'un téléphone intelligent ayant accès à internet ou d'un ordinateur personnel, les conditions suivantes doivent être presents :
- Le vehicule doit être situé dans une zone de couverture du réseau téléphonique de votre téléphone cellulaire ou de votre téléphone intelligent.
- Le téléphone cellulaire ou le téléphone intelligent doit être situé dans une zone de couverture du réseau téléphonique de votre téléphone cellulaire ou de votre téléphone intelligent.
-L'ordinateur doit etre connecte a Internet. -
Un téléphone cellulaire doit être utilisé pour communiquer avec le vehicule.
-
Un téléphone cellulaire capable de messagerie texte doit être utilisé pour receivevoir des messages/textes concernant l'état de chargement du vehicule.
-
Le rechauffeur et le refroidisseur à distance peuvent régler la température de l'habitacle.
Lorsque le connecteur de charge est débranché du vehicule, le chauffage et le climatiseur fonctionnent en utilisant la puissance electrique de la batterie au lithium-ion.
Si la fonction de chauffage et de climatisation à distance et le chargement de la batterie au lithium-ion sont utilisés en même temps, le chargement de la batterie au lithium-ion prendra plus de temps que d'habitude à cause de l'énergie utilisée pour réchauffer ou refroidir le vehicule.

Si la batterie au lithium-ion n'est pas suffisamment chargée, vous pouvez commencer à la charger à l'aide de la fonction de chargement à distance. Pour obtenir des renseignements supplémentaires, consultez la section « Fonction à distance relative au changement » du chapitre « Chargement » duprésent manuel.
VÉRIFICATION DE L'ÉTAT DE CHARGEMENT DE LA BATTERIE AU LITHIUM-ION
Vou puez vérifier l'etat de chargement de la batterie au lithium-ion sur le site Web du Centre de données NISSAN au moyen d'un téléphone intelligent ayant accès à Internet ou d'un ordinateur personnel.



FONCTIONNEMENT DU SYSTEME DE CHAUFFAGE-CLIMATISATION AVANT LA CONDUITE
Vous pouvez activer à distance le système de chauffage-climatisation du vehicule à l'aide d'un téléphone intelligent ayant accès à internet ou d'un ordinateur personnel.
Cette activation à distance permet de réchauffer ou de refroidir l'intérieur du vehicule pendant le chargement du vehicule. Cela réduit la charge sur la batterie au lithium-ion pendant la conduite du vehicule et contribue à augmenter l'autonomie du vehicule. Pour obtenir de plus amples renseignements, consultez la section « Système de chauffage-climatisation à distance » du chapitre « Systèmes de surveillance, de climatisation, audio, téléphonique et de reconnaissance vocale » du pré sent manuel.
Avis de fonctionnement du réchauffeur de batterie au lithium-ion (selon l'équipement)
Vous pouvez receivevoir un avis sur l'état de fonctionnement du réchauffeur de batterie au lithium-ion sur le site Web du Centre de données NiSSAN au moyen d'un téléphone intelligent ayant accès à Internet ou d'un ordinateur personnel.
Lorsque le commutateur principal est à la position OFF (hors fonction) et que le connecteur de charge n'est pas branché, il vous avise de brancher le chargeur sur le vehicule si le rechauffeur de batterie au lithium-ion démarre ou s'arrête.
Pour obtenir des renseignements supplémentaires, consultez le manuel du contrôle du dispositif d'aide à la navigation LEAF.


DÉMARRAGE DE VOTRE VÉHICULE
- Appuyez sur la pédale de frein.
- Appuyez sur le commutateur principal.
- Assurez-vous que le témoin PRÉT À DEMARRER s'allume. Pour obtenir des renseignements supplémentaires, consultez la section « Témoin PRÉT À DEMARRER » dans le chapitre « Commandes et instruments » du réseau manuel.
- Pour les modèles avec dispositif d'aide à la navigation : si le guidage d'itinéraire est nécessaire, entrez la destination dans le dispositif d'aide à la navigation.
Pour obtenir des renseignements supplémentaires, consultez le manuel d'utilisation du dispositif d'aide à la navigation LEAF.
5. Vérifiez le niveau de la batterie au lithium-ion et l'autonomie estimée affichés au compteur. Pour obtenir des renseignements supplémentaires, consultez la section « Autonomie » du chapitre « Commandes et instruments » du pré sent manuel.
REMARQUE:
- Avant la conduite, comparez l'autonomie jusqu'à la destination apparaisant sur l'affichage du dispositif d'aide à la navigation (selon l'équipement) avec l'autonomie estimée affichée au compteur. Détérminez s'il sera nécessaire de charger la batterie au lithium-ion avant ou pendant la conduite jusqu'à votre destination planifiée.
S'il est nécessaire de charger la batterie au lithium-ion, utilisez le dispositif d'aide à la navigation (selon l'équipment) pour rechercher des postes de chargement disponibles sur votre itinétaire planifié.


CONDUITE DU VEHICULE
- Appuyez sur la pédale de frein.
- Desserrez le frein de stationnement.
-
Déplacez le levier sélecteur à la position D (marche avant). Lorsque vous relâchéz le levier sélecteur, il revient dans sa position d'origine centrale.
-
Assurez-vous que le vehicule est en position D (marche avant). Le témoin pres du « D » (marche avant) du levier sélecteur s'allume et « D » s'affiche au compteur.
- Relâchez la pédale de frein.
- Enforcez la pédale d'accéléateur et démarrez.

Les positions de rapport suivantes sont utilisées pour conduire le vehicule en marche avant:
Utilise la position D (marche avant) pour une performance de conduite optimale.
- Utilisez le mode B pour la conduite sur une pente descendante. Lorsque vous utilisez le mode B, le freinage regeneratif est appliquedavantage quand la pedale d'accéléateur est relachée par rapport à la position D (marche avant).
Consultez la section « Conduite du vehicule » du chapitre « Démarrage et conduite » duprésent manuel pour obtenir des renseignements supplémentaires.
REMARQUE:
Le freinage régénératif convertit le mouvement vers l'avant du vehicule en puissance électrique pour facilititer le ralentissement du vehicule.
Utilisez le mode ECO (economie) pour obtenir une autonomie maximale du vehicule et pour la conduite en ville. Le mode ECO (economie) aide à réduire la consommation d'énergie en diminuant l'accelération par rapport à la même position de pédale d'accelérateur en position D (marche avant).

Si le témoin de charge faible de la batterie s'allume en jaune, la charge de batterie au lithium-ion est trop faible pour effectuer un trajet. Pour obtenir des renseignements supplémentaires, consultez la section « Indicateur de charge disponible de la batterie au lithium-ion » du chapitre « Commandes et instruments » du précédent manuel. Chargez la batterie au lithium-ion dés que possible.


Stationnement du vehicule
-
Lorsque vous immobilisez le vehicule, enforcez la pédale de frein et appuyez sur le commutateur de position P (stationnement) du levier selecteur. Assurez-vous que le vehicule est en position P (stationnement) en vérifier le tímoin de changement de vitesse,itué pres du levier selecteur ou affché sur l'affichage multifonction.
-
Serrez le frein de stationnement. Pour les modèles du type pédale, enforcez fermement le frein de stationnement. Pour les modèles du type commutateur, le frein de stationnement est serré automatiquement (ou pour le fonctionnement manuel, tirez vers le haut sur le commutateur du frein de stationnement électrique).
-
Appuyez sur le commutateur principal à la position OFF (hors fonction).
- Si un parc de stationnement est équipé d'installations de chargement, chargez la batterie au lithium-ion au besoin. Pour obtenir des renseignements supplémentaires, consultez le chapitre « Chargement » du précédent manuel.

CHARGEMENT APRÉS LA CONDUITE Chargement de la batterie au lithium-ion
Quand vous rentrez chez vous, branchez le vehicule sur le dispositif de chargement installé chez vous ou sur le dispositif de chargement EVSE branché à une prise électrique au moyen du connecteur de charge normale.
Chargez le vehicule ou reglez la fonction de diminuterie de chargement pour que le vehicule se charge à une heures spécifique. Pour obtenir des renseignements supplémentaires, les personnes ne sont pas obligées à accepter l'obligation.
taires, consultez la section « Minuterie de chargement » du chapitre « Chargement » duprésent manuel.
-
Lorsque le commutateur principal est à la position OFF (hors fonction), les réglages de la minuterie de chargement et les fonctions de minuterie de climatisation et de verrouillage du connecteur de charge apparaissent sur l'affichage multifonction. Pour obtenir des renseignements supplémentaires, consultez la section « Affichage multifonction » du chapitre « Commandes et instruments » duprésent manuel.
-
Ouvrez le couvercle et le bouchon du port de charge. Pour obtenir des renseignements supplémentaires, consultez la section « Couvercle du port de charge » dans le chapitre « Vérifications et réglages avant le démarrage » de ce manuel.
- Branchez le connecteur de charge sur le vehicule.
- Lorsque la minuterie de chargement est activée, le chargement démarre à l'heure réglée. Lorsque la minuterie de chargement n'est pas activée, le chargement démarre immédiatement.
REMARQUE :
- Vous pouvez démarrer à distance le changement, même si la minuterie de changement est réglée.
Lorsque vous avez oublie de brancher le connecteur de charge chez vous, une fonction est disponible pour vous prévenir au moyen d'un téléphone cellulaire capable de messagerie texte, d'un téléphone intelligent ayant accès à internet ou d'un ordinateur personnel. Pour obtenir des renseignements supplémentaires, consultez la section
« Fonction à distance relative au chargement » du chapitre « Chargement » duprésent manuel (modèles avec dispositif d'aide à la navigation).
- NISSAN you recommend de branchier le cable de charge normale lorsque vous quittez le vehicule, même s'il n'est pas utilisé. Ceci you permittra d'obtenir le maximum des fonctions du système de chauffage-climatisation à distance (modèles avec dispositif d'aide à la navigation) et de la minuterie de climatisation la prochaine fois que vous utilisez le vehicule.
UTILISATION OPTIMALE DE VOTRE VEHICULE
PORTEE
La distance que peut parcourir le vehicule (autonomie) varie considérablement selon la charge disponible, la météo, la température, l'utilisation, l'âge de la batterie, la topographie et le style de conduite.
Consultez l'étiquette Monroney (autocollant apposé sur le pare-brise) pour obtenir la plage de valeurs officielles de l'EPA. Voitre autonomie réelle peut varier, soit au départ, soit lorsque la batterie vieillit avec le temps. Pour obtenir des renseignements supplémentaires, consultez la section « Optimisation de l'autonomie du vehicule » dans ce chapitre pour Broker des renseignements sur les facteurs qui affectent l'autonomie du vehicule et sur la façon d'utiliser le vehicule pour optimiser l'autonomie.
OPTIMISATION DE L'AUTONOMIE
L'autonomie du vehicule dépend de plusieurs facteurs.
L'autonomie réelle du vehicule varie selon :
-la vitesse;
-la charge du vehicule;
- la charge électrique des accessoires du vehicule;
- les conditions de circulation et de route.
NISSAN recommende d'adopter les habits de conduite suivantes pour optimiser l'autonomie du vehicule :
Avant la conduite :
- Suivez le programme d'entretien périodique recommendé.
Assurez-vous que les pneus sont gonflés à la pression appropriée.
Assurez-vous que le réglage de la géométrie des roues est ajust. - Préchauffez ou refroidissez en avance l'habitacle pendant la recharge du vehicule.
- Retirez le chargement non nécessaire du vehicule.
Pendant la conduite :
- Utilisez le mode ECO (economie).
-Le mode ECO (economie) aide a réduire la consommation d'énergie en diminuant l'accelération par rapport à la même position de pédale d'accélérateur en position D (marche avant).
- Conduisez à une vitesse constante. Maintenez votre vitesse de croisière en conservant une position de pédale d'accéléateur constante ou en utilisant le régulateur de vitesse au besoin.
- Accélèrez progressivement et sans à-coup. Appuyez légèrement et brievement sur la pédale d'accéléateur pour accélérer et décalérer.
-Conduisez a des vitesses moderées sur l'autoroute. - Évitez les arrêts et les freinages féuents.
Conservez une distance sécuritaire entre vous et les autres vehicules.
-Mettez hors fonction le système de chauffage-climatisation lorsqu'il n'est pas nécessaire. - Sélectionnez un réglage de température modéré pour le chauffage ou le refroidissement pour aider à réduire la consommation d'énergie.
- Utilisez le chauffage ou le climatiseur et fermez les glaces pour diminuer la résistance lorsque vous conduisez à des vitesses élevées.
L'autonomie du vehicule peut etre considération réduite par temps très froid, (par exemple à -20°C [-4°F]).
L'utilisation du système de chauffage-climatisation pour rechauffer l'habitatcle lorsque la température extérieure est inférieure à 0^ (32^) consomme plus d'électricité et affecte davantage l'autonomie du vehicule que lorsque la température est supérieure à 0^ (32^) .
- Par temps froid, utilisez le dispositif de chauffage du volant en remplacement du dispositif de chauffage ou du climatiseur. Le dispositif de chauffage du volant consomme moins d'énergie que le dispositif de chauffage ou le climatiseur.
- Relâchéz la pédale d'accélérateur pour ralentir et ne serrez pas les freins si les conditions de circulation et de route le permettent.
- Ce vehicule est muni d'un circuit de freinage regeneratif. Le but principal du circuit de freinage regeneratif est de fournir de l'énergie pour recharger la batterie au lithium-ion et pour augmenter l'autonomie. Le « frein moteur » qui fonctionne selon les conditions de la batterie au lithium-ion est un avan
tage secondaire. En position D (marche avant), le circuit de freinage régénératif fournit un peu de décelération et un peu d'énergie à la batterie au lithium-ion lorsque vous relâchez la pedale d'accéléateur.
DURÉE DE VIE DE LA BATTERIE AU LITHIUM-ION
La capacité de la batterie au lithium-ion à十年er neuf. Ceci est normal et prévu, et n'indique pas une anomalie du vehicule ou de la batterie au lithium-ion.
La capacité de la batterie au lithium-ion à maintenir une charge peut varier selon la façon dont vous conduisez et entreprises le vehicule, la façon dont vous chargez la batterie au lithium-ion ainsi que la temporature de la batterie au lithium-ion pendant l'utilisation et le chargement du vehicule.
Pour optimiser la durée de vie de la batterie, utilisez les habitudes de conduite et de chargement suivantes si possible :
- Évitez d'exposer le vehicule à des températures ambiantes extrêmes pendant des périodes prolongées.
- Évitez d'entreposer un vehicule dans un lieu où la température est inférieure à -25^ (-13°F) pendant plus de sept jours.
- Évitez de laisser votre vehicule pendant plus de 14 jours avec l'indicateur de charge disponible de la batterie au lithium-ion à zéro ou pres de zéro (état de charge).
- Avant le chargement, laissez le vehicule et la batterie au lithium-ion refroidir après l'utilisation.
- Stationnez ou entreposez votre vehicule dans des endroits frais et à l'écart des rayons directs du soleil et des sources de chaleur.
- Évitez les températures élevées constantes de la batterie (causes, par exemple, par l'exposition à des températures ambiantes très élevées ou une conduite soutenue à haute vitesse avec des charges rapides multiples (selon l'équipement)).
Utilisez les méthodes de charge normale ou d'entretien pour charger la batterie au lithium-ion et minimiser l'utilisation de la charge rapide publique ou du chargeur rapide.
Conduite moderée.
- Utilisation du mode ECO (economie).
- Ne faites pas fonctionner la minuterie de chargement de façon repétée lorsque le connecteur de charge est branché sur le vehicule après que le chargement de la batterie au lithium-ion est terminé. Vous risqueriez de décharger la batterie de 12 V.
- Vous pouvez vérifier le niveau d'énergie de la batterie au lithium-ion sur l'indicateur de charge disponible de la batterie au lithium-ion. Pour obtenir des renseignements supplémentaires, consultez la section « Indicateur de charge disponible de la batterie au lithium-ion » du chapitre « Commandes et instruments » du pré-sent manuel.
ENTRETIEN DE LA BATTERIE AU LITHIUM-ION
En plus de l'entretien régulier recommanded par NiSSAN, la LEAF nécessite des vérifications spéciales de la batterie au lithium-ion.
- Pour obtenir des renseignements supplémentaires, consultez le livre de renseignements sur la garantie NISSAN pour connaître les limitations principales, les exclusions et l'annulation possible de votre garantie si vous n'effectuez pas les vérifications, les réparations et les réglages nécessaires.
- Pour obtenir des renseignements supplémentaires, consultez le guide du service et de l'entretien NISSAN pour Broker une explication détaillée de la vérification et des intervalles relatives à la batterie au lithium-ion.
RENSEIGNEMENTS PARTICULIERSELATIFS AU VEHICULE ELECTRIQUE
INSTRUMENTS ET INDICATEURS
Divers Instruments et jauges liés aux fonctions du vehicule électrique s'affichent à l'écran multifonction.


Compteur
Témoin multifonction :
Le témoin multifonction (rouge ou jaune) s'allume lorsque des témoins ou des indicateurs s'allument à l'affichage ou lorsque des messages s'affichent sur l'affichage multifonction.
Pour obtenir des renseignements supplémentaires, consultez la section « Témoin multifonction (rouge et jaune) » dans le chapitre « Commandes et instruments » duprésent manuel.
Indicateur de température de la batterie au lithium-ion :
Cet indicateur ① affiche la température de la batterie au lithium-ion.
Pour obtenir des renseignements supplémentaires, consultez la section « Indicateur de température de la batterie au lithium-ion » du chapitre « Commandes et instruments » du réseau manuel.



Mesureur de puissance :
Ce mesureur de puissance affiche la consommation de puissance réelle du moteur de traction et la puissance de freinage régénératif fournie à la batterie au lithium-ion.
Pour obtenir des renseignements supplémentaires, consultez la section « Mesureur de puissance » du chapitre « Commandes et instruments » du réseau manuel.
Autonomie :
Cet indicateur affiche l'autonomie estimée (calculée en fonction d'un programme qui prend en compte le style de conduite réel et les conditions de fonctionnement) qui peut être parcourue avant qu'une re-charge ne soit nécessaire.
Pour obtenir des renseignements supplémentaires, consultez la section « Autonomie » du chapitre « Commandes et instruments » du réseau manuel.
Indicateur de charge disponible de la batterie au lithium-ion :
Cet indicateur affiche la capacité disponible restante de la batterie au lithium-ion pour conduire le vehicule.
Pour obtenir des renseignements supplémentaires, consultez la section « Indicateur de charge disponible de la batterie au lithium-ion » du chapitre « Commandes et instruments » du présence manuel.
Les renseignements particuliers relatifs au vehicule electrique s'affichent à l'affichage multifonction. Pour obtenir des renseignements supplémentaires, consultez la section « Affichage multifonction » du chapitre « Commandes et instruments » du précédent manuel.

- Témoin de charge de la batterie de 12 V
- Témoin de branchement
- Témoin PRÉT À DEMARRER
- Témoin de limitation de puissance
- Témoin du système de vehicule électrique
- Témoin du système de commande de changement de vitesse électrique
- Témoin du circuit de freinage régénératif (jaune)
- Témoin de DESACTIVATION du système d'alerte sonore de vehicule en approche pour piétons
Pour obtenir des renseignements supplémentaires, consultez la section « Témoins et rappels sonores » du chapitre « Commandes et instruments » du présent manuel.
Témoins
Le système de vehicule electrique utilise les témoins et les indicateurs spécifiques de vehicule electrique suivants :
- Témoin multifonction (rouge)
- Témoin multifonction (jaune)

SYTÉME D'ALERTE SONORE DE VÉHICULE EN APPROCHE POUR PIÉTONS
Le système d'alerte sonore de vehicule en approche pour piétons est une fonction qui utilise le son pour prévenir les piétons de la présence du vehicule lorsque la vitesse du vehicule est basse.
Lorsque le vehicule commence à déplacer, un son est émis.
Le son s'arrête lorsque la vitesse du vehicule est supérieure à 30 km/h (19 mi/h) pendant l'accelération.
Le son commence lorsque la vitesse du vehicule est inférieure à 25 km/h (16 mi/h) pendant la décelération.
Le son s'arrête lorsque le vehicule s'immobilise.
Le son ne s'arrête pas lorsque le vehicule est en position R (marche arrrière) même si le vehicule s'immobilise.

AVERTISSEMENT
Si le son n'est pas audible, les pié-tons peuvent ne pas remarquer que le vehicule approche, ce qui peut provoquer un accident et entraîner des blessures graves ou mortelles. Nous vous recommendons de vous rendre immédiatement chez un concessionnaire NISSAN LEAF certifié pour l'inspection du système VSP.
Si le témoin de DÉSACTIVATION du système d'alerte sonore de vehicule en approche pour piétons s'allume lorsque le commutateur principal est à la position ON (marche) ou PRÊT À DEMARRER, il se peut que le système d'alerte sonore de vehicule en approche pour piétons ne fonctionne pas correctement. Faites vérifier le système d'alerte sonore de vehicule en approche pour piétons. Nous vous recommendons de vous rendre chez un concessionnaire NISSAN LEAF certifié pour procéder cet entretien. Pour obtenir de plus amples renseignements, consultez la section « Témoin de DÉSACTIVATION du système d'alerte sonore de vehicule en approche pour piétons (VSP) » dans le chapitre « Commandes et instruments » duprésent manuel.
Si vous voulez augmenter le volume du système VSP, nous vous recommendons de vous rendre chez un concessionnaire NISSAN LEAF certifié pour cet entretien. Vous ne pouvez pas réduire le son.

SYSTEME DE COMMANDE DE CHANGEMENT DE VITESSE ÉLECTRIQUE
Ce vehicule est équipé d'un système de commande de changement de vitesse électrique. Ce système de commande comporte trois fonctions :
- Fonctionnement en douceur et aisé du levier sélecteur.
- Pour placer le vehicule en position P (stationnement), appuyez sur le commutateur de position P (stationnement) du levier selecteur.
Le vehicule applique automatiquement la position P (stationnement) lorsque le commutateur principal est place a la position OFF (hors fonction).
Consultez la section « Conduite du vehicule » du chapitre « Démarrage et conduite » duprésent manuel pour obtenir des renseignements supplémentaires.
PHARE À DEL (FEU DE CROISEMENT) (SELON L'ÉQUIPEMENT)
Ce vehicule utilise un phare à DEL pour le feu de croissement. Le phare à DEL comporte les caractéristiques suivantes :
-La consommation d'énergie estasse.
-La forme est très compacte.
Nous you recommendons de visitor un concessionnaire NISSAN LEAF certifié pour remplaçer le phare.
AUTONOMIE (SELON L'ÉQUIPEMENT)
Sur l'écran du système de navigation, vous pouvez vérifier la distance estimée que le vehicule peut parcourir avec la charge disponible de la batterie au lithium-ion. Pour obtenir des renseignements supplémentaires, consultez le manuel d'utilisation du système de navigation LEAF.
Chargement
Précautions relatives au chargement . . . . . . CH-2
Types de charge et comment charger la
battery au lithium-ion . .CH-6
Comment effectuer une charge normale
(220 à 240 V c.a.) au moyen du dispositif de
charge .CH-9
Comment effectuer une charge d'entretien
(110 à 120 V c.a.) au moyen du cable
EVSE L1 .CH-11
Comment effectuer une charge d'entretien
(110 à 120 V c.a.) au moyen du cable
EVSE L1 et L2 .CH-19
Comment effectuer une charge normale
(220 à 240 V c.a.) au moyen du cable
EVSE L1 et L2. .CH-27
Comment effectuer une charge rapide
(selon l'equipement). .CH-35
Système de verrouillage du connecteur de
charge. .CH-38
Méthodes de chargement . . . . . . . . . . . . . . . . . . . . . . . . . . . . . CH-41
Minuterie de chargement .CH-41
Affichage de l'heure . . .CH-45
Charge immediate. .CH-47
Fonction à distance relative au chargement
(modèles avec dispositif d'aide à
la navigation) .CH-48
Témoins connexes de chargement. . . . . . . .CH-49
Témoins d'etat de chargement . . . . . . .CH-49
Témoin de la boîte de commande EVSE
(accesoire pour vehicule electrique). . . . .CH-53
Guide de dépannage relatif au chargement . .CH-56
-
Si vous utilisez un dispositif electrique Médicale, tel qu'un stimulator cardiaque implantable ou un défibrillateur cardio-vasculaire implantable, communiquez avec le fabriquant du dispositif electrique Médicale pour connaître les effets que peuvent avoir le chargement sur des dispositifs implantés avant de commencer le chargement. Le chargement peut affecter le fonctionnement.
Assurez-vous qu'il n'y ait pas d'eau ou de corps étrangers dans le port de charge, le connecteur de charge ou la fiche électrique, et qu'ils ne sont pas endommages, rouillés ou corrodés. Si vous observez une de ces conditions, ne chargez pas la batterie au lithium-ion. Cela peut provoquer un court-circuit ou un choc électrique, ce qui risquerait de causeur un incendie pouvant entraîner des blessures graves ou mortelles. -
Pour éviter des blessures graves ou mortelles lors du chargement de la batterie au lithium-ion, suivez les précautions suivantes.
- Ne touchez pas les contacts metalliques du port de charge, du connecteur de charge, de la fiche électrique ou de l'adaptateur NiSSAN d'origine.
- Ne touchez pas le vehicule et le dispositif de chargement EVSE par temps orageux.
-
Ne tirez pas le cable, ne le tordez pas, ne le pliez pas, ne marchez pas dessus ou ne le trainez pas.
Assurez-vous que le connecteur de charge est retire du port de charge avant de demarrer le vehicule. Si le connecteur de charge n'est enclenché que partiellement et que le loquet du connecteur est déverrouillé, il est possible de placer le vehicule electrique en position PRÉT À DEMARRER. -
Ne touchez pas la fiche ou l'adaptateur NiSSAN d'origine s'ils sont mouillés ou avec les mains mouillées. Ne place pas la fiche ou l'adaptateur NiSSAN d'origine dans de l'eau, du liquide ou de la neige. Cela peut provoquer un chic electrique, ce qui risquerait d'entrainer des blessures graves ou mortelles.
- Ne démontez pas ou ne modifies pas le port de charge, le dispositif de chargement EVSE ou l'adaptateur NiSSAN d'origine. Cela peut provoquer un choc électrique ou un incendie, ce qui risquerait d'entrainer des blessures graves ou mortelles.
- Si vous observez une odeur, une fumée ou des bruits inhabituels provenant du vehicule, cessez immédiatement le chargement.
-
Faites attention de ne pasapprocher les mains,les cheveux,les bijing ou les vetements du ventilateur de refroidissement du moteur de traction.Le ventilateur de refroidissement peut semettre en fonction a n'importequel moment pendant le chargement.
-
N'utilisez pas de rallonges ou d'adaptateurs de fiche à moins qu'ils passent partie des pieces NiSSAN d'origine.
- N'utilisez l'adaptateur NISSAN d'origine avec chaque dispositif sauf le cable EVSE.
- Ne laïsez pas un enfant sans surveillance manipuler ou utiliser ce produit.
Utilisez le dispositif de chargement EVSE ou le câblage installés conformément aux règlements et normes. - Faites passer la courroie latérale inférieure du boîtier EVSE fermement par la pièce de fixation au bas de la planche à bagages. Si le boîtier se desserre soudainement, il peut provoquer des blessures graves ou mortelles.


MISE EN GARDE
Pour éviter d'endommager l'équipement de chargement :
- Ne fermez pas le couvercle du port de charge sans fermer le bouchon du port de charge.
- N'exposez pas l'équipement de chargement à des impacts.
- Ne rangez pas l'équipement de chargement et ne l'utilisez pas dans des endroits ou la température dépasse 85 °C (185 °F)
Assurez-vous que le bouchon du port de charge est fermé sur le port de charge lorsque le chargement est terminé. Si le couvercle du port de charge est fermé lorsque le bouchon du port de charge est ouvert, de l'eau ou des corps étrangers peuvent pénétrer dans le port de charge.
- Ne chargez pas lorsque vous utilisez une housse de protection de vehicule. Vous risqueriez d'endomma-ger le connecteur de charge.
- Ne tentez pas d'exécuter un démarriage d'appoint sur la batterie de 12 V en même temps que la batterie au lithium-ion est en cours de chargement. Autrement, vous risqués d'endommager le vehicule ou l'équipment de charge, ce qui pourrait provoquer des blessures. Pour obtenir des renseignements supplémentaires, consultez la section la section « Démarriage-secours » du chapitre « En cas d'urgence » de ce manuel.
- En chargement normal (220 à 240 V c.a.) et chargement d'entretien (110 à 120 V c.a.) au moyen du dispositif de chargement (accessoire pour vehicule electrique) fourni avec le vehicule, NISSAN recommende d'utiliser un circuit electrique et une prise dédiés de 220 à 240 V c.a., 50 A. et de 110 à 120 V c.a., 15 A. Le circuit dédié est utilisé pour empêcher d'endommager le circuit, ou pour empêcher le déclenchement du disjoncteur en raison du fort courant utilisé pour charger la batterie au lithium-ion. Si le circuit dédié n'est pas utilisé, le circuit peut provoquer des interférences nuisibles sur le circuit imprimé moulé et sur des apparciels electriques tels que les télévisions et les systèmes audio. Si le circuit est partagé et qu'un autre apparil electrique est utilisé en même temps que le vehicule est en cours de chargement, le disjoncteur peut se déclencher. Un électricien qualifié doit installer un circuit dédié si vous n'en ave pas à disposition.
REMARQUE:
-
Lorsque vous chargez la batterie au lithium-ion, placez le commutateur principal à la position OFF (hors fonction). Lorsque le commutateur principal est à la position ON (marche), la batterie au lithium-ion ne commence pas le chargement.
Pour toute sécurité, si le connecteur de charge est branché sur le vehicule alors que le commutateur principal est à la position PRETÀ DEMARRER, le vehicule passée automatiquement en position ON (marche). Étant donné que le chargement ne commence pas lorsque le commutateur principal est dans cette position, assurez-vous de placer le commutateur principal à la position OFF (hors fonction).
Lorsque la température ambiente est égale ou inférieure à 0 °C (32 °F), le temps de chargement peut être plus long que d'habitude et le niveau auquel la batterie au lithium-ion peut être chargee peut être inférieur à celui à température elevée. -
Ne faites pas fonctionner la minuterie de chargement de façon repétée lorsque le connecteur de charge est branché sur le vehicule après que le chargement de la batterie au lithium-ion est terminé. Vous risqueriez de décharger la batterie de 12 V. Pour obtenir des renseignements supplémentaires, consultez la section « Minuterie de chargement » dans ce chapitre. Si la batterie au lithium-ion est déchargée, chargez-la immédiatement.
Le commutateur principal peut être réglé en position ON (marche) et le système de chauffage-climatisation et le dispositif d'aide à la navigation (selon l'équipement) peuvent être utilisés pendant le chargement de la batterie au lithium-ion. Étant donné, toute fois, que le fonctionnement de ces systèmes consomme de l'alimentation de la batterie au lithium-ion, le temps de chargement complet de la batterie au lithium-ion sera plus long. Placez le commutateur principal à la position OFF (hors fonction) pour réduire le temps de chargement de la batterie au lithium-ion. -
Si le courant électrique est coupé lors du chargement, le chargement redémarre automatiquement lorsque le courant revient.
- Il est recommandé de laisser le cable de charge branche pour economiser de l'alimentation de la batterie au lithium-ion lorsque le système de chauffage-climatisation fonctionne à distance (modèles avec dispositif d'aide à la navigation).
-
Si le port de charge est gelé, faites fondre la glace en utilisant un séchecheveux. ÀpRES que la glace ait fondue, chargez la batterie au lithium-ion. Vourisqueriez de provoquer une anomalie si vous branchez le connecteur de charge avec force.
-
Sides corps étrangers ont pénétré dans le connecteur de charge ainsi que dans le port de charge et qu'il n'est pas possible de le brancher, n'essayez pas de forcer le branchement. Nous vous recommandons de visiter un concessionnaire NiSSAN LEAF certifié. Vous risquériez d'endommager l'équipment de chargement et le vehicule si vous tentez de brancher le connecteur de charge avec force.
Le port de charge est muni d'un trou pour l'écoulement d'eau. Si le trou d'écoulement d'eau est obstrué, ou si de l'eau se trouve à l'intérieur du port de charge, n'effectuez pas le charge-.ment. Nous vous recommendons de visiter un concessionnaire NISSAN LEAF certifié.
TYPES DE CHARGE ET COMMENT CHARGER LA BATTERIE AU LITHIUM-ION
| Port de charge | Connecteur de charge | Boîter de commande | Réglage électrique | Chargement | |
| CHARGE NORMALE (AC 220-240 V) | Connecteur de charge normale | Utilissez le dispositif de chargement (AC 220-240 V) installé chez vous. | |||
| Connecteur de charge normale | Utilissez le cable EVSE (accessoire pour vehicule électrique) L1 et L2. Utilisez seulement une prise de 220-240 V, 50 A, installée par un électricien qualifié. | ||||
| CHARGE D'ENTRETIEN (AC 110-120 V) | Connecteur de charge normale | Utilissez le cable EVSE (accessoire pour vehicule électrique) L1 et L2. Utilisez seulement une prise de 110-120 V, 15 A, installée par un électricien qualifié. | |||
| Connecteur de charge normale | Utilissez le cable EVSE (accessoire pour vehicule électrique) L1 Utilisé seulement une prise de 110-120 V, 15 A, installée par un électricien qualifié. | ||||
| CHARGE RAPIDE (selon l'équipement) Consultez la partie « CH. Comment effectuer une charge rapide « dans la section « CH. Changement » | Connecteur de charge normale | Postes de charge publics | |||
Ce vehicule est un vehicule electrique qui nécessite de l'électricité pour fonctionner. La batterie au lithium-ion est la seule source d'énergie qui fait fonctionner le vehicule. Il est important de conserver de l'énergie et de planifier vos besoin en chargement lorsque vous conduisez pour éviter de décharger complètement la batterie au lithium-ion et ne pas pouvoir conduire.
Il y a trois méthodes pour charger la batterie au lithium-ion:
- Charge normale
- Charge d'entretien
- Recharge rapide (selon l'équipement)
Le temps nécessaire au chargement complet de la batterie au lithium-ion varie, selon l'etat de charge de la batterie au lithium-ion, de l'etat et de l'âge de la batterie au lithium-ion, de la température ambiente, de la condition de la source d'énergie branche sur le vehicule et de la façon d'utiliser l'équipement électrique (tel qu'un climatiseur qui consomme de l'énergie électrique).
Charge normale
NISSAN recommende d'utiliser le charge-ment normal pour un usage ordinaire du vehicule. L'utilisation de la charge rapide doit être réduite le plus possible pour aider à prolonger la durée de vie utile de la batterie au lithium-ion.
Le chargement normal utilise le dispositif de chargement EVSE L1 et L2 (équipement d'alimentation du vehicule électrique) ou un dispositif de chargement conforme à la norme SAE J1772 raccordé au circuit d'alimentation 220 - 240 V c.a. dédié. Le dispositif de chargement EVSE L1 et L2 est fourni avec le vehicule (selon l'équipement). Le dispositif de chargement est un poste de chargement chez soi installé dans votre domicile par un électricien qualifié. Communiquez avec votre concessionnaire NiSSAN LEAF certifié. Pour obtenir des renseignements supplémentaires, consultez la section « Comment effectuer une charge normale » duprésent chapitre.
Charge d'entretien
Le chargement d'entretien n'est pas recommandé pour un usage régulier puisqu'il prend plus de temps qu'un charge-ment normal. La charge d'entretien peut etre utilisée lorsqu'il est nécessaire d'effectuer une charge d'urgence dans une destination telle que la maison d'un ami.
La charge d'entretien utilise le cable EVSE (accessoire pour vehicule électrique) fourni avec le vehicule ou un cordon amovible conforme à la norme SAE J1772 pour brancher le vehicule sur une prise dédiée de 110 à 120 V,15 A. La prise doit être protégée par un disjoncteur pour éviter une surcharge du circuit ou tout autre danger électrique. Pour obtenir des renseignements supplémentaires, consultez la section « Comment effectuer une charge d'entretien » du pré-sent chapitre.
Recharge rapide (selon l'équipement)
La capacité de charge rapide n'est disponible que sur les vehicules fabriqués avec l'option de charge rapide, qui comprend un port de charge rapide. Si votre vehicule n'est pas équipé d'un tel port, vous ne pouvez pas utiliser le chargement Rapide.
Un vehicule équipé d'un port de charge rapide est compatible avec la plupart des connecteurs CHAdeMO (norme industrielle japonaise) des postes de chargement. Les postes de chargement utilisant cette norme sont certifiés UL et peuvent être utilisés sans problème aux États-Unis. Bien que soutenu par NiSSAN, ce connecteur peut ne pas Devenir la norme SAE aux États-Unis.
Le chargement rapide est possible (meme plusieurs fois par jour). Si la température de la batterie est proche de la zone rouge, l'alimentation du dispositif de chargement rapide est limitee afin de proteger la batterie.
Chargement public :
Ce vehicule est compatible avec tous les postes de chargement publics conforme à la norme SAE J1772. Si vous essayez de charger à partir d'un poste de chargement qui n'est pas conforme à cette norme, vous ne pourrez pas charger complètement, ou vous ne pourrez pas charger du tout à cause des différences de matériel et de logiciel. NiSSAN travaille avec les États, les municipalités, les compagnies d'utilité
municipales et d'autres pour aider dans la préparation de marchés et d'infrastructures. Toutefois, NISSAN ne garantit pas que les postes de chargement publics soient disponibles dans des lieux où vous fouze utiliser le vehicule, et ne peut pas prédire les temps qu'il faut pour que des infrastructures de chargement publiques soient développées dans votre zone. Selon l'endroit où vous habitez ou conduisez, il peut ne pas y avoir suffisamment de postes de charge-ment publics disponibles pour répondre à vos besoin particuliers d'autonomie et pour la recharge loin de chez vous. La planification de trajet est ainsi importante, et il est conseilé de planifier vos trajets en considérant ce fait.
La charge rapide utilise des postes de chargement publics (jusqu'à 50 kW d'énergie).
Le temps nécessaire pour charger une batterie au lithium-ion (fémonin de charge faible de la batterie allumé) à 80% en utilisant un chargeur rapide dépend de plusieurs facteurs, y compris la température de la batterie au lithium-ion et le type de chargeur rapide utilisé.
Il peut falloir plus de temps pour charger la batterie au lithium-ion en utilisant le chargeur rapide si le vehicule est stationné dans un endroit froid pendant une période prolongée.
Il peut falloir plus de temps pour charger la batterie au lithium-ion au moyen du chargeur rapide si la température de la batterie au lithium-ion est élevé ou BASSE. Pour obtenir des renseignements supplémentaires, consultez la section « Indicateur de température de la batterie au lithium-ion » du chapitre « Commandes et instruments » du réseau manuel.
Pour obtenir des renseignements supplémentaires, consultez la section « Comment effectuer une charge rapide » duprésent chapitre.
Mode de limitation de puissance
Ce mode protège l'etat et le fonctionnement de la batterie au lithium-ion du vehicule. Ce mode fonctionne dans certaines conditions extrêmes (chaleur, froid, bas niveau de charge). La puissance fournie aux systèmes du vehicule, y compris le moteur de traction, est limitée, ce qui signifie des
performances, une accélération et une vitesse de pointe limitées. Le chargement peut être terminé automatiquement, sur-tout avec un chargement rapide répété par temps extrémement chaud.
Vérification de la charge de la batterie au lithium-ion
Les trois méthodes pour vérifier la quantité de charge sont indiquées ci-dessous :
- Vérifiez la quantité en utilisant l'indicateur de charge disponible de la batterie au lithium-ion à l'affichage multifonction lorsque le commutateur principal est placé à la position ON (marche). Pour obtenir des renseignements supplémentaires, consultez les sections « Indicateur de charge disponible de la batterie au lithium-ion » et « Avertissement de charge faible de la batterie au lithium-ion » du chapitre « Commandes et instruments » duprésent manuel.
-
Vérifiez la quantité au moyen d'un téléphone intelligent ayant accès à Internet ou d'un ordinateur personnel. Pour obtenir des renseignements supplémentaires, consultez le manuel du propretaire du dispositif d'aide à la navigation LEAF.
-
Vérifiez la quantité en utilisant le témoin d'etat de chargement. Consultez la section « Témoins d'etat de chargement » duprésent chapitre pour obtenir des renseignements supplémentaires.
REMARQUE :
- Lors du chargement, la charge continue lorsque le commutateur principal est placé à la position ON (marche).
- La batterie au lithium-ion ne peut pas être chargée si le connecteur de charge rapide et le connecteur de charge normale sont branchés en même temps. Si un autre connecteur de charge est branché en cours de chargement à mi-chemin, le chargement s'arrête.
Pour des raisons de sécurité, il n'est pas possible de passer en position PRET À DEMARRER lorsqu'un connecteur de charge est branché. - Pendant le chargement, il est possible que la radio soit inaudible à cause du bruit provenant des ondes électromagnétiques.
COMMENT EFFECTUER UNE
CHARGE NORMALE (220 Å 240 V
C.A.) AU MOYEN DU DISPOSITIF DE
CHARGE

AVERTISSEMENT
- Si vous utilisez un dispositif electrique Médicale, tel qu'un stimulator cardiaque implantable ou un défibrillateur cardio-vasculaire implantable, communiquez avec le fabriquant du dispositif electrique Médicale pour connaître les effets que peuvent avoir le chargement sur des dispositifs implantés avant de commencer le chargement. Le chargement peut affecter le fonctionnement.
Assurez-vous de suivre les précautions d'utilisation du dispositif de chargement qui peut etre installe chez vous. Sinon, vous risqueriez de provoquer des blessures graves ou mortelles.

MISE EN GARDE
- N'utilise pas d'équipment de chargement qui n'est pas compatible avec la LEAF. Sinon, la batterie au lithium-ion peut ne pas se charger ou vous risqueriez d'endommager le vehicule ou la batterie au lithium-ion.
- Une charge normale utilise le dispositif de chargement (CA 220 à 240 V, 16 A ou 32 A) qui peut être installé chez vous pour charger la batterie au lithium-ion.
- La charge immédiate, la minuterie de chargement et la charge à distance (modèles avec dispositif d'aide à la navigation) peuvent être effectuees en mode de charge normale. Pour obtenir des renseignements supplémentaires, consultez la section « Méthodes de chargement » dans ce chapitre.
-
L'équipment de chargement communique avec le vehicule avant que la batterie au lithium-ion commence à se charger. Si cette communication n'a pas lieu à cause de l'utilisation d'un autre équipement, la batterie au lithium-ion ne sechargeras pas.
-
NISSAN you recommend de brancher le dispositif de chargement lorsque vous quitterze le vehicule, meme s'il n'est pas utilisé. Ceci vous permettra d'obtenir le maximum des fonctions du système de chauffage-climatisation à distance (modèle avec dispositif d'aide à la navigation) et de la minuterie de climatisation la prochaine fois que vous utilisez le vehicule.
Pour commencer une charge normale :
- Appuyez sur le commutateur de position P (stationnement) pour placer le参加会议 en position P (stationnement) et serrez le frein de stationnement.
- Lorsque you chargez la batterie au lithium-ion, placez le commutateur principal à la position OFF (hors fonction). Lorsque le commutateur principal est à la position ON (marche), la batterie au lithium-ion ne commence pas le chargement.
- Ouvrez le couvercle et le bouchon du port de charge. Pour obtenir des renseignements supplémentaires, consultez les sections « Couvercle du port de charge » et « Bouchon du port de charge » dans le chapitre « Vérifications et réglages avant le démarrage » du pré-sent manuel.

- Branchez le connecteur de charge sur le port de charge. S'il est branché normalement, un bip retentit une fois.
- Si le chargement a commencé ou si la batterie attend la minuterie de chargement, un bip retentit deux fois et l'affchage du témoin d'etat de charge est modifié. Consultez la section « Témoins d'etat de chargement » duprésent chape pour obtenir des renseignements supplémentaires.

Pour arrêté une charge normale :
- Assurez-vous que le verrou du connecteur de charge n'est pas engagé. Pour obtenir des renseignements supplémentaires, consultez la section « Système de verrouillage du connecteur de charge » dans ce chapitre.
- Appuyez sur le bouton du connecteur de charge, librez le verrou, puis retirez le connecteur de charge du port de charge et rangez-le de façon appropriée.
-
Fermez le bouchon du port de charge.
-
ÀpRES avoir fermé le bouchon du port de charge, fermez le couvercle du port de charge.
REMARQUE:
Pour arrêté le chargement à mi-chemin, rétirez le connecteur de charge. Le chargement s'arrête automatiquement.
COMMENT EFFECTUER UNE CHARGE D'ENTRETIEN (110 Å 120 V C.A.) AU MOYEN DU CÂBLE EVSE L1

AVERTISSEMENT
Si vous portez un stimulator cardiaque ou un defibrillateur cardiovasculaire implantable (DCI), éloignez-vous d'au moins 15 cm (6 po) du cable EVSE.
- Si vous portez un stimulator cardio-vasculaire implantable (DCI), communiquez avec le fabriquant du dispositif electrique medical pour connaître les effets que peuvent avoir le chargement sur des dispositifs implantés avant de commencer le chargement. Le chargement peut affecter le fonctionnement.
Pour éviter un choc électrique ou un incendie à cause d'un court-circuit, branchez le disjoncteur de fuite à la terre et utilisez une prise électrique à la terre imperméable. - Interrompez immédiatement l'utilisation du chargeur si la fiche ou la prise devient chaude au toucher ou sivos remarquez une odeur inhabituelle.
- N'utilise jamais de rallonges ou d'adaptateurs de fiche avec le chargeur.
-
Débranchez toujours le chargeur lorsqu'vous ne l'utilisez pas.
-
Le dispositif de chargement EVSE L1 NISSAN d'origine utilise un courant de 12 A en permanence lors du chargement de la batterie au lithium-ion au moyen d'une prise de 110 à 120 V c.a. Ne le branchez suraucun circuit electrique a moins qu'il ne soit inspecté par un electricien qualifié, qui confirmera que le circuit electrique est adapté à un courant de 12 A. Un circuit electrique soumis aux conditions indiquées ci-dessous risque plus vraisemblablement d'être compromis.
-
L'utilisation inadéquate du dispositif de chargement EVSE peut provoquer un incendie, des blessures graves ou la mort.
- N'utilise pas le dispositif de chargement EVSE dans des structures vieilles de plus de 40 ans.
-
N'utilisez pas le dispositif de chargement EVSE dans les structures qui utilisent une protection de circuit par fusibles. Utilisez-le uniquement avec des circuits électriques protégés par des disjoncteurs.
-
N'utilise pas le dispositif de chargement EVSE sur des circuits électriques responsable des prises à deux broches.
- N'utilise pas le dispositif de chargement EVSE si d'autres disposits sont branchés sur le même circuit.
- Lors du débranchement, assurez-vous de tirer la fiche ou le dispositif de branchement EVSE, pas le cordon.
- Ne tirez pas le cable, ne le tordez pas, ne le pliez pas, ne marchez pas dessus et ne le trainez pas.
- Ne branchez ou ne débranchez pas l'adaptateur NISSAN d'origine lorsque celui-ci est inséré dans une prise électrique.
- N'utilisez pas l'adaptateur NISSAN d'origine si la prise electrique n'est pas complètement insérée et n'est pas verrouillée.
-
Si vous utilisez le support du dispositif de chargement EVSE, manipulez-le avec précaution pour éviter des blessures en cas de contact avec ses bords ou d'autres pièces.
-
N'utilisez pas le dispositif de chargement EVSE si le cable ou le cordon est effiloché, si l'isolant est brisé, ou montre d'autres signes de dommages.
- Arrêtez immédiatement d'utiliser le dispositif de chargement EVSE si le chargement s'arrête avant la fin lorsque vous déplacez la fiche ou le cordon.
- N'utilisez pas le dispositif de chargement EVSE si la boîte de commande, la fiche, le dispositif de chargement EVSE ou le connecteur de charge est cassé, fissure, ouvert, corrode ou montre d'autres signes de dommages.
-
N'utilisez pas le dispositif de chargement EVSE si la fiche n'est pas bien raccordée à la prise ou si la prise est endommagée ou rouillée.
-
Avant de brancher le dispositif de chargement EVSE, assurez-vous de vérifier l'intensité nominale indiquée sur le dispositif de chargement EVSE pour vous assurer que la prise et le circuit disposent suffisamment de courant pour charger votre vehicule en toute sécurité. Si le courant de la prise et du circuit n'est pas suffisant, le cablage peut provoquer une surchauffe ou un incendie.
- Si vous avez des doutes sur la capacité de la prise et du circuit, communiquez avec un électricien qualifié.
Le dispositif de chargement EVSE contient des pièces qui peuvent provoquer des étincelles à l'intérieur. Ne l'utilise pas dans des endroits où vous utilisez ou stockez de l'essence, de la peinture ou des combustibles. -
Ne l'utilisez pas si une anomalie se produit ou si le dispositif de chargement EVSE a eté endommagé de chaque manière que ce soit. Nous vous recommendons de visiter un concessionnaire NiSSAN pour le remplacement.
-
Le dispositif de chargement EVSE ne contient aucune piece réparable par l'utilisateur. Ne tentez pas de réparer le dispositif de chargement EVSE, car vous annulerie ainsi votre garantie.
-
Faites passer la couroie latérale inférieure du boitier EVSE fermement par la piece de fixation au bas de la planche à bagages. Si le boitier se desserse soudainement, il peut provoir des blessures graves ou mortelles.


MISE EN GARDE
-
N'effectuez le chargement qu'en utilisant une prise électrique dédiée de 110 à 120 V c.a., 15 A (par exemple, n'utilise pas de générateur électrique). Autrement, cela peut provoquer un échec du chargement et endommager le vehicule ou l'équipment de chargement EVSE à cause de surtensions.
-
NiSSAN recommende d'utiliser un équipement de chargement NISSAN d'origine pour charger le vehicule. L'utilisation d'equipement qui n'est pas d'origine NISSAN peut empêcher la batterie au lithium-ion de se charger correctement et endomgarer le vehicule.
Précautions relatives à l'entreposage
- N'entreposez pas le dispositif de charge-ment EVSE ou l'adaptateur NISSAN d'origine dans un endroit exposé à la lumière directe du soleil.
-
N'entreposez pas le dispositif de charge-ment EVSE ou l'adaptateur NISSAN d'origine dans un endroit exposé au vent ou à la pluie.
Assurez-vous d'entreposer le dispositif de chargement EVSE avec le capuchon de protection installé pour garder la borne du connecteur de charge exemple de saleté et de poussière. -
N'entreposez pas le dispositif de charge-ment EVSE avec le cable ou le cordon enroule autour de la boite de commande.
- N'entreposez pas le dispositif de charge-ment EVSE dans une condition ou le cable et le cordon sont tordus.
- La boîte de commande chauffe lorsqu'elle disposif de chargement EVSE charge. Cette condition est normale.

Pour commencer la charge d'entretien :
REMARQUE:
La minuterie de chargement, la charge à distance (modèles avec dispositif d'aide à la navigation) et la charge immediate peuvent être effectuees en mode de charge d'entretien. Pour obtenir des renseignements supplémentaires, consul- tez la section « Méthodes de charge ment » dans ce chapitre.
-
Appuyez sur le commutateur de position P (stationnement) pour placer le vehicule en position P (stationnement) et serrez le frein de stationnement.
-
Lorsque vous chargez la batterie au lithium-ion, placez le commutateur principal à la position OFF (hors fonction). Lorsque le commutateur principal est à la position ON (marche), la batterie au lithium-ion ne commence pas le chargement.
-
Ouvrez le couvercle du port de charge. Pour obtenir des renseignements supplémentaires, consultez la section « Couvercle du port de charge » dans le chapitre « Vérifications et réglages avant le démarrage » de ce manuel.
-
Retirez le dispositif de chargement du hayon arrêté.
- Branchez la fiche électrique sur la prise électrique dédiée de 110 à 120 V c.a., 15 A. Si elle est branchée normalement, le voyant vert du tímoin de la boîte de commande du dispositif de charge-ment EVSE s'allume.
REMARQUE:
Vous pouvez faire passer une corde à travers les trous © sur la boîte de commande pour la suspendre lors du chargement de la batterie au lithium-ion. Utilisez le dispositif de chargement EVSE avec la prise en position verticale (le cordon doit se déployer vers le bas à partir de la prise).
- Ouvrez le bouchon du port de charge. Pour obtenir des renseignements supplémentaires, consultez la section « Bouchon du port de charge » dans le chapitre « Vérifications et régles avant le démarrage » de ce manuel.


- Retirez le bouchon de sécurité du connecteur de charge.
- Branchez le connecteur de charge sur le port de charge. S'il est branché normalement, un bip retentit une fois.
- Si le chargement a commencé, ou si la batterie au lithium-ion attend la minuteurie de chargement, un bip retentit deux fois et l'affichage du témoin d'état de chargement est modifié. Consultez la section « Témoins d'État de charge-ment » du préSENT chapitre pour obtenir des renseignements supplémentaires.

- Lorsque vous effectuez le chargement à l'extérieur, comme dans votre voie d'accès, utilisez un cadenas en vente dans le commerce fixé en position A pour empêcher le vol.

Pour arrêté une charge d'entretien :
- Assurez-vous que le verrou du connecteur de charge n'est pas engagé. Pour obtenir des renseignements supplémentaires, consultez la section « Système de verrouillage du connecteur de charge » dans ce chapitre.
-
Appuyez sur le bouton du connecteur de charge, libreze le verrou, puis retirez le connecteur de charge du port de charge.
-
Fermez le bouchon du port de charge.
- Fixez le bouchon de sécurité sur le dispositif de chargement EVSE.
- Retirez la fiche électrique de la prise电量 d'éducée de 110 à 120 A CA, 15 A.

- Rangez-la dans son boîtier.
REMARQUE:
Effectuez la procEDURE suivante pour ranger le cable EVSE dans le boitier.
a. Embobinez le cable de charge jusqu'à ce qu'ilatteigne une taille lui permettant d'être rangé dans le boîtier (envi-ron 36 cm [14 po] de diamètre).
b. Placez le dispositif de chargement EVSE dans le boitier.


c. Faites passer la courroie latérale inférieure du boitier dans lapiece de fixation au bas de la planche à bagages.
d. Accrochez le crochet du boitier à l'anneau à partir de la garniture.
e. Fixez la courroie sur le côté du boîtier (au moyen de l'attache adhéève), en tirant l'extrémité de la courroie.


AVERTISSEMENT
Faites passer la courroie laterale inférieure du boitier EVSE fermement par la piece de fixation au bas de la planche à bagages. Si le boitier se desserre soudainement, il peut provoquer des blessures graves ou mortelles.
- ÀpRES avoir fermé le bouchon du port de charge, fermez le couvercle du port de charge.
REMARQUE:
Pour arrêté le chargement à mi-chemin, retirez le connecteur de charge. Le chargement s'arrête automatiquement.
COMMENT EFFECTUER UNE
CHARGE D'ENTRETIEN (110 Å 120 V C.A.) AU MOYEN DU CÂBLE EVSE L1 ET L2

AVERTISSEMENT
Si vous portez un stimulator cardiaque ou un defibrillateur cardiovasculaire implantable (DCI), éloignez-vous d'au moins 15 cm (6 po) du cable EVSE.
- Si vous utilisez un dispositif electrique médical, tel qu'un stimulator cardiaque implantable ou un défibrillateur cardio-vasculaire implantable (DCI), communique avec le fabriquant du dispositif electrique Médical pour connaître les effets que peuvent avoir le chargement sur des dispositifs implantés avant de commencer le chargement. Le chargement peut affecter le fonctionnement.
- Pour éviter un choc électrique ou un incendie à cause d'un court-circuit, branchez le disjoncteur de fuite à la terre et utilisez une prise électrique à la terre imperméable.
- Interrompez immédiatement l'utilisation du chargeur si la fiche ou la prise devient chaude au toucher ou si vous remarquez une odeur inhabituelle.
- N'utilise jamais de rallonges ou d'adaptateurs de fiche avec le chargeur.
- Débranchetzoujourslechargeur lorsquevousne l'utilisez pas.
-
Le dispositif de chargement EVSE L1 et L2 NISSAN d'origine utilise un courant de 12 A en permanence lors du chargement de la batterie au lithium-ion au moyen d'une prise de 110 à 120 V c.a. Ne le branchez suraucun circuit electrique a moins qu'il ne soit inspecté par un electricien qualifie, qui confirmera que le circuit electrique est adapté a un courant de 12 A. Un circuit electrique soumis aux conditions indiquées ci-dessous risque plus vraisemblablement d'être compromis.
-
L'utilisation inadéquate du dispositif de chargement EVSE peut provoquer un incendie, des blessures graves ou la mort.
- N'utilise pas le dispositif de chargement EVSE dans des structures vieilles de plus de 40 ans.
- N'utilisez pas le dispositif de chargement EVSE dans les structures qui utilisent une protection de circuit par fusibles. Utilisez-le uniquement avec des circuits électriques protégés par des disjoncteurs.
- N'utilise pas le dispositif de chargement EVSE sur des circuits électriques responsable des prises à deux broches.
- N'utilisez pas le dispositif de chargement EVSE si d'autres disposits sont branchés sur le même circuit.
- Lors du débranchement, assurez-vous de tirer la fiche ou l'adaptateur NiSSAN d'origine, pas le cordon.
-
Ne tirez pas le cable, ne le tordez pas, ne le pliez pas, ne marchez pas dessus et ne le trainez pas.
-
Ne branchez ou ne débranchez pas l'adaptateur NISSAN d'origine lorsque celui-ci est inséré dans une prise électrique.
- N'utilise pas l'adaptateur NISSAN d'origine si la prise electrique n'est pas complètement insérée et n'est pas verrouillée.
- Si vous utilisez le support du dispositif de chargement EVSE, manipulez-le avec précaution pour éviter des blessures en cas de contact avec ses bords ou d'autres pièces.
- N'utilisez pas le dispositif de chargement EVSE ou l'adaptateur NISSAN d'origine si le cable ou le cordon est effiloché, si l'isolant est brisé, ou montre d'autres signes de dommages.
-
Arrêtez immédiatement d'utiliser le dispositif de chargement EVSE ou l'adaptateur NISSAN d'origine si le chargement s'arrête avant la fin lorsque vous déplacez l'adaptateur NISSAN d'origine, la fiche ou le cordon.
-
N'utilisez pas le dispositif de chargement EVSE ou l'adaptateur NISSAN d'origine, si la boîte de commande, la fiche, l'adaptateur NISSAN d'origine ou le connecteur de charge est cassé, fissure, ouvert, corredé ou montre d'autres signes de dommages.
- N'utilise pas le dispositif de chargement EVSE ou l'adaptateur NISSAN d'origine si la fiche ou l'adaptateur NISSAN d'origine n'est pas bien raccordé à la prise ou si la prise est endommagée ou rouillée.
-
Avant de brancher le dispositif de chargement EVSE, assurez-vous de vérifier l'intensité nominale indiquée sur le dispositif de charge.ment EVSE pour vous assurer que la prise et le circuit disposent suffisamment de courant pour charger votre vehicule en toute sécurité. Si le courant de la prise et du circuit n'est pas suffisant, le câblage peut provoquer une surchauffe ou un incendie.
-
Si vous avez des doutes sur la capacité de la prise et du circuit, communiquez avec un électricien qualifié.
- Le dispositif contient des pieces qui peuvent provoquer des étincelles à l'intérieur. Ne l'utilise pas dans des endroits où vous utilisez ou stockez de l'essence, de la peinture ou des combustibles.
- Ne l'utilisez pas si une anomalie se produit ou si le dispositif de chargement EVSE ou l'adaptateur NISSAN d'origine a ete endomagé de quelque maniere que ce soit. Nous vous recommandons de visiter un concessionnaire NISSAN pour le remplacement.
-
Le dispositif de chargement EVSE ou l'adaptateur NISSAN d'origine ne contient aucune piece réparable par l'utilisateur. Ne tentez pas de réparer le dispositif de charge ment EVSE ou l'adaptateur NISSAN d'origine, car vous annulieriez ainsi votre garantie.
-
Faites passer la courroie latérale inférieure du boîtier EVSE fermement par la pièce de fixation au bas de la planche à bagages. Si le boîtier se desserse soudainement, il peut provoquer des blessures graves ou mortelles.



MISE EN GARDE
-
N'effectuez le chargement qu'en utilisant une prise électrique dédiée de 110 à 120 V c.a., 15 A (par exemple, n'utilise pas de générateur électrique). Autrement, cela peut provoquer un éché du chargement et endommager le vehicule ou le dispositif de chargement EVSE à cause de surtensions.
-
NISSAN commande d'utiliser un équipement de chargement NISSAN d'origine pour charger le vehicule. L'utilisation d'equipement qui n'est pas d'origine NISSAN peut empêcher la batterie au lithium-ion de se charger correctement et endomgar le vehicule.
Précautions relatives à l'entreposage
- N'entreposez pas le dispositif de charge-ment EVSE ou l'adaptateur NISSAN d'origine dans un endroit exposé à la lumière directe du soleil.
- N'entreposez pas le dispositif de charge-ment EVSE ou l'adaptateur NISSAN d'origine dans un endroit exposé au vent ou à la pluie.
Assurez-vous d'entreposer le dispositif de chargement EVSE avec le capuchon de protection installé pour garder la borne du connecteur de charge exemple de saleté et de poussière.
- N'entreposez pas le dispositif de charge-ment EVSE avec le cable ou le cordon enroule autour de la boite de commande.
- N'entreposez pas le dispositif de charge-ment EVSE dans une condition ou le cable et le cordon sont tordus.
- La boîte de commande chauffé lorsqu'elle dispositif de chargement EVSE charge. Cette condition est normale.

Pour commencer la charge d'entretien :
REMARQUE:
La minuterie de chargement, la charge à distance (modèles avec dispositif d'aide à la navigation) et la charge immédiate peuvent être effectuées en mode de charge d'entretien. Pour obtenir des renseignements supplémentaires, consultez la section « Méthodes de chargement » dans ce chapitre.

- Appuyez sur le commutateur de position P (stationnement) pour placer le vehicule en position P (stationnement) et serrez le frein de stationnement.
-
Lorsque you chargez la batterie au lithium-ion, placez le commutateur principal à la position OFF (hors fonction). Lorsque le commutateur principal est à la position ON (marche), la batterie au lithium-ion ne commence pas le chargement.
-
Ouvrez le couvercle du port de charge. Pour obtenir des renseignements supplémentaires, consultez la section « Couvercle du port de charge » dans le chapitre « Vérifications et réglages avant le démarrage » de ce manuel.
- Retirez le dispositif de chargement du hayon arrêté.
- Branchez la fiche electrique sur la prise electrique dédiée de 110 à 120 V, 15 A, au moyen de l'adaptateur NISSAN d'origine. Si elle est branchée normalement, le voyant vert du témoin de la boîte de commande du dispositif de charge-ment EVSE s'allume.
REMARQUE:
Voussoupiez faire passeraune corde a traversletrou 已 sur la boite de commandeverselupportafindelesuspendere lors duchargement delabatterieau lithium-ion.

Utilisez le dispositif de chargement avec la fiche en position verticale. (Le cordon doit se déployer vers le bas à partir de la prise.)

- Ouvrez le bouchon du port de charge. Pour obtenir des renseignements supplémentaires, consultez la section « Bouchon du port de charge » dans le chapitre « Vérifications et réglages avant le démarrage » de ce manuel.

- Retirez le bouchon de sécurité du connecteur de charge.

- Branchez le connecteur de charge sur le port de charge. S'il est branché normalement, un bip retentit une fois.
- Si le chargement a commencé, ou si la batterie au lithium-ion attend la minuteurie de chargement, un bip retentit deux fois et l'affichage du témoin d'etat de chargement est modifié. Consultez la section « Témoins d'etat de charge-ment » duprésent chapitre pour obtenir des renseignements supplémentaires.

- Lorsque vous effectuez le chargement à l'extérieur, comme dans votre voie d'accès, utilisez un cadenas en vente dans le commerce fixé en position (A) pour empêcher le vol.

Pour arrêter une charge d'entretien :
- Assurez-vous que le verrou du connecteur de charge n'est pas engagé. Pour obtenir des renseignements supplémentaires, consultez la section « Système de verrouillage du connecteur de charge » dans ce chapitre.
- Appuyez sur le bouton du connecteur de charge, libreze le verrou, puis retirez le connecteur de charge du port de charge.
- Fixez le bouchon de sécurité sur le dispositif de chargement EVSE.

- Retirez la fiche électrique de la prise électrique dédiée de 110 à 120 A CA, 15 A.
- Rangez-la dans son boitier.
REMARQUE:
Effectuez la procEDURE suivante pour ranger le cable EVSE dans le boitier.
a. Embobinez le cable de charge jusqu'à ce qu'il atteigne une taille lui permettant d'être range dans le boîtier (environ 36 cm [14 po] de diamètre). Enroulez le cable de charge dans le sens indiqué cédessous pour éviter de raccourcir la durée de vie du cable.

b. Placez le dispositif de chargement EVSE dans le boitier.
c. Faites passer la couroie laterale inférieure du boitier dans la piece de fixation au bas de la planche à bagages.
d. Accrochez le crochet du boitier à l'anneau à partir de la garniture.
e. Fixez la courroie sur le boitier (au moyen del'attache adhesive), en la tirant la courroie du boitier.

AVERTISSEMENT
Faites passer la courroie latérale inférieure du boîtier EVSE fermement par la piece de fixation au bas de la planche à bagages. Si le boîtier se desserre soudainement, il peut provoquer des blessures graves ou mortelles.

- ÀpRES avoir fermé le bouchon du port de charge, fermez le couvercle du port de charge.
REMARQUE:
Pour arrêté le chargement à mi-chemin, retirez le connecteur de charge. Le chargement s'arrête automatiquement.

COMMENT EFFECTUER UNE
CHARGE NORMALE (220 À 240 V
C.A.) AU MOYEN DU CÂBLE EVSE
L1 ET L2

AVERTISSEMENT
-
Si vous portez un stimulator cardio-ique ou un defibrillateur cardiovasculaire implantable (DCI), éloignez-vous d'au moins 15 cm (6 po) du cable EVSE.
-
Si vous portez un stimulator cardiaque ou un defibrillateur cardiovasculaire implantable (DCI), communiquez avec le fabriquant du dispositif electrique medical pour connaître les effets que peuvent avoir le chargement sur des dispositions implantés avant de commencer le chargement. Le chargement peut afferter le fonctionnement.
- Pour éviter un choc électrique ou un incendie à cause d'un court-circuit, branchez le disjoncteur de fuite à la terre et utilisez une prise électrique à la terre imperméable.
- Interrompez immédiatement l'utilisation du chargeur si la fiche ou la prise devient chaude au toucher ou si vous remarquez une odeur inhabituelle.
- N'utilise jamais de rallonges ou d'adaptateurs de fiche avec le chargeur.
-
Débranchetzoujourslechargeur lorsquevosunelutilisezpas.
-
Le dispositif de chargement EVSE L1 et L2 NiSSAN d'origine utilise un courant de 30 A en permanence lors du chargement de la batterie au lithium-ion au moyen d'une prise de 220 à.240 V c.a. Ne le branchez suraucun circuit electrique a moins qu'il ne soit inspecté par un electricien qualifié, qui confirmera que le circuit électrique est adapté à un courant de 30 A. Un circuit electrique soumis aux conditions indiquées ci-dessous risque plus vraisemblablement d'être compromis.
-
L'utilisation inadéquate du dispos-sitif de chargement EVSE peut provoquer un incendie, des blessures graves ou la mort.
- N'utilise pas le dispositif de chargement EVSE dans des structures vieilles de plus de 40 ans.
-
N'utilisez pas le dispositif de chargement EVSE dans les structures qui utilisent une protection de circuit par fusibles. Utilisez-le uniquement avec des circuits électriques protégés par des disjoncteurs.
-
N'utilise pas le dispositif de chargement EVSE sur des circuits électriques comptant des prises à deux broches.
- N'utilisez pas le dispositif de chargement EVSE si d'autres dispositifs sont branchés sur le même circuit.
- Lors du débranchement, assurez-vous de tirer la fiche et non le cordon.
- Ne tirez pas le cable, ne le tordez pas, ne le pliez pas, ne marchez pas dessus et ne le trainez pas.
- Si vous utilisez le support du dispositif de chargement EVSE, manipulez-le avec précaution pour éviter des blessures en cas de contact avec ses bords ou d'autres pieces.
- N'utilisez pas le dispositif de chargement EVSE si le cable ou le cordon est effiloché, si l'isolant est brisé, ou montre d'autres signes de dommages.
-
Arrêtez immédiatement d'utiliser le dispositif de chargement EVSE si le chargement s'arrête avant la fin lorsque vous déplacez la fiche ou le cordon.
-
N'utilisez pas le dispositif de chargement EVSE si la boite de commande, la fiche, le dispositif de chargement EVSE ou le connecteur de charge est cassé, fissure, ouvert, corredo ou montre d'autres signes de dommages.
- N'utilise pas le dispositif de chargement EVSE si la fiche n'est pas bien raccordée à la prise ou si la prise est endommagée ou rouillée.
- Avant de brancher le dispositif de chargement EVSE, assurez-vous de vérifier l'intensité nominale indiquée sur le dispositif de charge.ment EVSE pour vous assurer que la prise et le circuit disposent suffisamment de courant pour charger votre vehicule en toute sécurité. Si le courant de la prise et du circuit n'est pas suffisant, le câblage peut provoquer une surchauffe ou un incendie.
-
Si vous avez des doutes sur la capacité de la prise et du circuit, communiquez avec un électricien qualifié.
-
Le dispositif de chargement EVSE contient des pièces qui peuvent provoquer des étincelles à l'intérieur. Ne l'utilise pas dans des endroits où vous utilisez ou stockez de l'essence, de la peinture ou des combustibles.
- Ne l'utilisez pas si une anomalie se produit ou si le dispositif de chargement EVSE a eté endommagé de chaque manière que ce soit. Nous vous recommendons de visiter un concessionnaire NiSSAN pour le remplacement.
-
Le dispositif de chargement EVSE ne contient aucune piece réparable par l'utilisateur. Ne tentez pas de réparer le dispositif de charge-ment EVSE, car vous annuleriez ainsi votre garantie.
-
Faites passer la couroie latérale inférieure du boitant EVSE fermement par la pièce de fixation au bas de la planche à bagages. Si le boitant se desserse soudainement, il peut provoquer des blessures graves ou mortelles.

MISE EN GARDE
- N'effectuez le chargement qu'en utilisant une prise électrique dédiée de 220 à 240 V c.a., 50 A (par exemple, n'utilise pas de généateur électrique). Autrement, cela peut provoquer un échec du chargement et endommager le vehicule ou le dispositif de chargement EVSE à cause de surtensions.
- NiSSAN recommende d'utiliser un équipement de chargement NISSAN d'origine pour charger le vehicule. L'utilisation d'equipement qui n'est pas d'origine NISSAN peut empêcher la batterie au lithium-ion de se charger correctement et endomgar le vehicule ou le dispositif de chargement EVSE.

Précautions relatives à l'entreposage
- N'entreposez pas le dispositif de charge-ment EVSE dans un endroit exposé à la lumière directe du soleil.
-
N'entreposez pas le dispositif de charge-ment EVSE dans un endroit exposé au vent ou à la pluie.
Assurez-vous d'entreposer le dispositif de chargement EVSE avec le capuchon de protection installé pour garder la borne du connecteur de charge exemple de saleté et depuis sièvre. -
N'entrepose pas le dispositif de charge-ment EVSE avec le cable ou le cordon enroule autour de la boite de commande.
- N'entreposez pas le dispositif de charge-ment EVSE dans une condition où le cable et le cordon sont tordus.
- La boîte de commandeCHAUFFÉ lorsquel dispositif de chargement EVSE charge. Cette condition est normale.
- Une charge normale (220 à 240 V c.a.) au moyen d'un dispositif de chargement EVSE L1 et L2 est effectue à l'aide d'une prise dédiée de 220 à 240 V c.a., 50 A, au moyen du dispositif de chargement EVSE L1 et L2 fourni avec le vehicule.



Pour commencer un chargement normal :
REMARQUE:
La minuterie de chargement, la charge à distance (modèles avec dispositif d'aide à la navigation) et la charge immediate peuvent être effectuées en mode de charge d'entretien. Pour obtenir des renseignements supplémentaires, consulçez la section « Méthodes de chargement » dans ce chapitre.
- Appuyez sur le commutateur de position P (stationnement) pour placer le vehicule en position P (stationnement) et serrez le frein de stationnement.
-
Lorsque you chargez la batterie au lithium-ion, placez le commutateur principal à la position OFF (hors fonction). Lorsque le commutateur principal est à la position ON (marche), la batterie au lithium-ion ne commence pas le chargement.
-
Ouvrez le couvercle du port de charge. Pour obtenir des renseignements supplémentaires, consultez la section « Couvercle du port de charge » dans le chapitre « Vérifications et réglages avant le démarrage » de ce manuel.
- Retirez le dispositif de chargement du hayon arrêté.
- Branchez la fiche électrique sur la prise électrique dédiée de 220 à 240 V, 50 A. Si elle est branchée normalement, le voyant vert du moyen de la boîte de commande du dispositif de charge-ment EVSE s'allume.
REMARQUE:
Vous pouvez faire passer une corde à travers le trou ④ sur la boîte de commande ou placer la boîte de commande sur le support afin de le suspendre lors du chargement de la batterie au lithium-ion.

Utilisez le dispositif de chargement avec la fiche en position verticale. (Le cordon doit se déployer vers le bas à partir de la prise.)

- Ouvrez le bouchon du port de charge. Pour obtenir des renseignements supplémentaires, consultez la section « Bouchon du port de charge » dans le chapitre « Vérifications et réglages avant le démarrage » de ce manuel.

7. Retirez le bouchon de sécurité du connecteur de charge.

- Branchez le connecteur de charge sur le port de charge. S'il est branché normalement, un bip retentit une fois.
- Si le chargement a commencé, ou si la batterie au lithium-ion attend la minuteurie de chargement, un bip retentit deux fois et l'affichage du témoin d'etat de chargement est modifié. Consultez la section « Témoins d'etat de charge-ment » duprésent chapitre pour obtenir des renseignements supplémentaires.

- Lorsque vous effectuez le chargement à l'extérieur, comme dans votre voie d'accès, utilisez un cadenas en vente dans le commerce fixé en position A pour empêcher le vol.

Pour arrêter un chargement normal :
- Assurez-vous que le verrou du connecteur de charge n'est pas engagé. Pour obtenir des renseignements supplémentaires, consultez la section « Système de verrouillage du connecteur de charge » dans ce chapitre.
-
Appuyez sur le bouton du connecteur de charge, libreze le verrou, puis retirez le connecteur de charge du port de charge.
-
Fixez le bouchon de sécurité sur le dispositif de chargement EVSE.
- Retirez la fiche électrique de la prise电量 d'éducée de 220 à 240 V c.a., 50 A.

- Rangez-la dans son boitier.
REMARQUE :
Effectuez la procEDURE suivante pour ranger le cable EVSE dans le boitier.
a. Embobinez le cable de charge jusqu'à ce qu'il atteigne une taille lui permettant d'être range dans le boîtier (environ 36 cm [14 po] de diamètre). Enroulez le cable de charge dans le sens indiqué cidesous pour éviter de raccourcir la durée de vie du cable.

b. Placez le dispositif de chargement EVSE dans le boitier.
c. Faites passer l'anneau de courroie latérale inférieure du boitier dans la pierce de fixation au bas de la planche à bagages.

d. Accrochez le crochet du boitier à l'anneau à partir de la garniture.
e. Fixez la courroie sur le boitier (au moyen del'attache adhesive), en la tirant la courroie du boitier.

AVERTISSEMENT
Faites passer la courroie laterale inférieure du boitier EVSE fermement par la piece de fixation au bas de la planche à bagages. Si le boitier se desserre soudainement, il peut provoquer des blessures graves ou mortelles.

- ÀpRES avoir fermé le bouchon du port de charge, fermez le couvercle du port de charge.
REMARQUE:
Pour arrêté le chargement à mi-chemin, retirez le connecteur de charge. Le chargement s'arrête automatiquement.

COMMENT EFFECTUER UNE CHARGE RAPIDE (SELON L'ÉQUIPEMENT)
La charge rapide utilise les postes de chargement publics (jusqu'à 50 kW de puissance) pour charger la batterie rapidement.

AVERTISSEMENT
- Utilisez toujours un chargeur rapide compatible avec la LEAF. L'utilisation d'un chargeur rapide non compatible peut provoquer un incendie ou une anomalie, ce qui peut entraîner des blessures graves ou mortelles.
- Avant de commencer la charge rapide, lisez attentivement les instructions fournies avec le chargeur rapide et assurez-vous que le connecteur de charge rapide est branché et verrouillé correctement. Si vous ne branchez pas correctement le chargeur rapide et ne l'utilise pas de façon appropriée, vous risquez d'endommager le vehicule ou l'équipement de chargement.
REMARQUE :
- Le chargement rapide est possible (meme plusieurs fois par jour) si la température de la batterie n'est pas pres de la zone rouge. Si la température de la batterie atteint la zone rouge, le chargement rapide n'est pas permitted et le mode de limitation de puissance sera déclenché afin de protégger la batterie. Pour obtenir des renseignements supplémentaires, consultez la section « Indicateur de température de la batterie au lithium-ion » des chapitres « Aperçu du vehicule électrique » et « Commandes et instruments » du précédent manuel.
Lorsque la charge disponible et la capacité de la batterie au lithium-ion sont indiquées sur le chargeur rapide, les lectures peuvent différer de celles relatives à la charge disponible et à la capacité de la batterie au lithium-ion indiquées sur l'affichage du vehicule.

- Ouvrez le couvercle et le bouchon du port de charge. Pour obtenir des renseignements supplémentaires, consultez les sections « Couvercle du port de charge » et « Bouchon du port de charge » dans le chapitre « Vérifications et réglages avant le démarrage » du pré-sent manuel.

Pour commencer le chargement :
- Appuyez sur le commutateur de position P (stationnement) pour placer le参加会议 en position P (stationnement) et serrez le frein de stationnement.
-
Lorsque you chargez la batterie au lithium-ion, placez le commutateur principal à la position OFF (hors fonction). Lorsque le commutateur principal est à la position ON (marche), la batterie au lithium-ion ne commence pas le chargement.
-
Alignez ① avec la rainure du port de charge et inserez le connecteur de charge.


MISE EN GARDE
Assurez-vous d'insérer le connecteur de charge directement dans le port de charge rapide jusqu'à la base. Simon, la batterie au lithium-ion pourrait ne pas se charger ou vous risqueriez d'endommager l'équipement de chargement.

- Saisissez le levier de verrouillage et verrouillez le connecteur de charge.
- Suivez les directives inscrites sur l'équipement de charge rapide pour démarrer le chargement. Lorsque l'équipement est installé correctement et est pré à charger, un bip retentit à deux reprises et le témoin d'etat de chargement est modifié. Consultez la section « Témoins d'etat de chargement » duprésent chapitre pour obtenir des renseignements supplémentaires.
Le chargement s'arrête dans les situations suivantes :
- lorsque le chargement est terminé;
- lorsque le temps de charge possible régle pour le chargeur rapide est dépassé.
REMARQUE :
Le chargement peut s'arrêter automatiquement même s'il n'est pas terminé.
- Si le chargement s'arrête à mi-chemin, vous pouvez redémarrer le chargement en appuyant de nouveau sur le bouton de démarrage du chargeur rapide.
Le connecteur de charge est verrouillé sur le port de charge durant le chargement et ne peut être débranché. Suivez les directives inscrites sur l'équipment de charge rapide pour arrêté le changement. Vérifiez si le changement est arrêté en observant les indicateurs au tableau de bord. Le connecteur de charge peut être débranché du vehicule lorsque le changement est arrêté.
Lors d'un chargement rapide, le taux de chargement de la batterie au lithium-ion est plus lent quand le pourcentage de charge disponible de la batterie augmente.


MISE EN GARDE
- Étant donné que le connecteur de charge rapide est plus lourd par rapport aux autres connecteurs de charge, vous risqueriez d'endommager le vehicule ou le connecteur de charge, ainsi que de provoquer des blessures, si vous le faites tomber. Lorsque vous retirez le connecteur, assurez-vous de le tirer bien droit et aussi prudemment que possible.
Pour terminer le chargement :
- Vérifiez si le chargement est arrêté en observant les indicateurs au tableau de bord. Le connecteur de charge peut être débranché du vehicule lorsque le chargement est arrêté.
- Déverrouillez le connecteur de charge, retirez-le du vehicule, puis rangez-le de façon appropriée.
- Fermez le bouchon du port de charge rapide.
- Fermez le couvercle du port de charge.

SYTÉME DE VERROUILLAGE DU CONNECTEUR DE CHARGE
Le connecteur de charge normale ou d'entretien peut etre verrouillé au port de charge normale.
Effectuez les étapes suivantes pour sélectionner le mode de verrouillage du connecteur de charge :
-
Appuyez sur le bouton ▲▼ pour sélectionner l'option « Réglages EV », puis appuyez sur le bouton OK.
-
Appuyez sur le bouton jusqu'à ce que l'options « Ver. connect. de chrg » soit sélectionnée, puis appuyez sur le bouton OK.
- Appuyez sur le bouton jusqu'à ce que le mode foulu (AUTO, BLOQUER ou OUVRIR) soit selectionné, puis appuyez sur le bouton OK.
REMARQUE:
Le mode de verrouillage du connecteur de charge peut être activé lorsqu'le levier sélecteur est à la position P (stationnement) et que le connecteur de charge est branché. Le mode de verrouillage du connecteur de charge ne sera pas activé si le connecteur de charge n'est pas branché correctement.
Mode AUTO (automatique)
Pour sélectionner le mode AUTO (automatique), appuyez le commutateur vers le haut et vers le bas jusqu'à ce que l'options « AUTO » (automatique) soit sélectionnée, puis appuyez sur le bouton OK. Le témoin du mode AUTO (automatique) s'allume.
Lorsque le mode AUTO (automatique) est sélectionné, le connecteur de charge est verrouillé pendant que le chargement est en cours. Le connecteur de charge se déverrouille automatiquement lorsque le chargement se termine.
Mode VERROUILLAGE
Pour selectionner le mode VERROUILAGE, appuyez le commutateur vers le haut et vers le bas jusqu'à ce que l'option « LOCK » (Verrouillage) soit selectionnée, puis appuyez sur le bouton OK. Le tímein de verrouillage s'allume.
Lorsque le mode VERROUILLAGE est selec-tionné, le connecteur de charge reste verrouillé. Le connecteur de charge est déverrouillé lorsque le mode DÉVERROUILLAGE est selectionné ou lorsque l'opération de déverrouillage-temporaire est effectué.
Mode OUVRIR
Pour sélectionner le mode DÉVERROUILAGE, appuyez le commutateur vers le haut et vers le bas jusqu'à ce que l'options « UNLOCK » (déverrouillage) soit sélectionnée, puis appuyez sur le bouton OK. Le moyen de déverrouillage s'allume.
Lorsque le mode DÉVERROUILAGE est sélectionné, le connecteur de charge resté déverrouillé.
Mode déverrouillage temporaire:
Lorsque le système de verrouillage du connecteur de charge est en mode AUTO ou BLOQUER, le verrou du connecteur de charge peut etre déverrouillétemporairement à l'aide de la clé intelligente NISSAN Intelligent Key ^MD ou du commutateur du couvercle du port de charge.

Le verrou du connecteur de charge peut être déverrouillé temporairement pendant 30 secondes en déverrouillant une portière ou le hayon arrêté (dans ce cas, le témoin d'etat de chargement ne fonctionne pas). Si vous faites fonctionner de nouveau le verrou en-deçà de 30 seconde après avoir déverrouillé la portière ou le hayon arrêté, le verrou du connecteur de charge est de nouveau verrouillé.
Déverrouillage au moyen de la clé intelligente
- Maintenez enforcé le bouton d'ouverture du couvercle du port de charge de la clé intelligente pendant plus d'une seconde.
- Le témoin d' état de chargement clignote trois fois et un bip retentit trois fois. Le verrou du connecteur de charge est déverrouillé pendant 30 secondes.
- Àpèrs 30 secondes, le verrou du connecteur de charge est verrouillé.

Déverrouillage au moyen du commutateur du couvercle du port de charge
- Appuyez sur le commutateur du couvercle du port de charge.
- Le témoin d'etat de chargement clignote trois fois et un bip retentit trois fois. Le verrou du connecteur de charge est déverrouillé pendant 30 secondes.
- ÀpRES 30 secondes, le verrou du connecteur de charge est verrouillé.
REMARQUE:
-
Selon le poste de chargement, le mecanisme de verrouillage établi par les normes locales peut ne pas être compatible avec votre vehicule. Il est possible que le connecteur de charge ne puisse être verrouillé sur votre vehicule.
Lorsque la source d'alimentation est coupée lors du chargement en mode AUTO, le connecteur est continulement verrouillé pendant cinq minutes, puis il est déverrouillé.
Lorsque la minuterie de chargement est reglee en mode AUTO,le connecteur ne se verrouillera pas tant que le chargement n'a pas demarrre.
Lorsque les systèmes suivants sont utilisés individuellement ou lorsque la batterie de 12 V est en cours de chargement, le verrou du connecteur de charge ne se verrouillera pas: -
Minuterie climatisat
de
chauffage
- Système de chauffage-climatisation à distance (selon l'équipement)
- Réchauffeur de batterie au lithium-ion (selon l'équipement)

Si le connecteur de charge ne peut pas etre déverrouillé
- Placez le commutateur principal à la position OFF (arrêt).
- Ouvrez le capot.
- Insérez un tournevis plat ou un outilADF quat dans la vis située à l'avant du verrou du capot.
- Tournez-le dans le sens des aiguilles d'une montre pour déverrouiller le verrou du connecteur de charge.
- Retirez le connecteur de charge.
MÉTHODES DE CHARGEMENT
MINUTERIE DE CHARGEMENT
Utilisez la minuterie de chargement pour programmer quand la batterie au lithium-ion se charge. Le vehicule commence à se charger automatiquement aux heures programmées lorsque le connecteur de charge est branché sur le vehicule. Il n'est pas nécessaire de réinitialiser les minutes chaque fois que la batterie au lithium-ion doit être chargée.
La minuterie de chargement peut enregistrer deux réglages de minuterie qui contiennent l'heure de début et l'heure de fin du chargement. Vous pouvez appliquer les réglages de la minuterie de charge-ment pour chaque jour de la semaine. (modèles avec dispositif d'aide à la navigation).
Le vehicule commence à se charger automatiquement aux heures programmes lorsque le connecteur de charge est branché sur le vehicule. Il n'est pas nécessaire de réinitialiser les minutes chez chaque fois que vous doivent charger la batterie au lithium-ion.

- Appuyez sur le bouton ▲▼ pour sélectionner l'option « Réglages EV », puis appuyez sur le bouton OK.
- Appuyez sur le bouton ▲▼ pour sélectionner l'option « Minuteur charge 1 » ou « Minuteur charge 2 », puis appuyez sur le bouton OK.
-
Appuyez sur le bouton ▲▼ pour sélectionner l'option « Minuteur», puis appuyez sur le bouton OK. Le témoin s'allume lorsqué le réglage de la minuteur est en position activée.
-
Appuyez sur le bouton ▲▼ pour sélectionner l'options « Heure de début », puis appuyez sur le bouton OK.
- Appuyez sur le bouton ▲ ▼ pour sélectionner l'option « Heure », puis appuyez sur le bouton OK.
- Appuyez sur le bouton ▲ ▼ pour sélectionner l'option « Minute », puis appuyez sur le bouton OK.
- Appuyez sur le bouton ▲ ▼ pour sélectionner l'option « Heure de fin», puis appuyez sur le bouton OK.
- Appuyez sur le bouton ▲ ▼ pour sélectionner l'option « Heure », puis appuyez sur le bouton OK.
- Appuyez sur le bouton ▲ ▼ pour sélectionner l'option « Minute », puis appuyez sur le bouton OK.
- Modèles avec dispositif d'aide à la navigation : appuyez sur le bouton
▼ pour sélectionner les jours de la semaine pour lesquels vous souhaitez activer la minuterie de chargement, puis appuyez sur le bouton OK. Appuyez sur le bouton Back (retour) pour revenir à l'affichage précédent.
- Une fois le réglage terminé, placez le commutateur principal à la position OFF (hors fonction), puis branchez le connecteur de charge sur le vehicule.
REMARQUE :
- Placez toujours le commutateur principal à la position OFF (hors fonction) après avoir reglé les minuteries de chargement. Lorsque le commutateur principal est à la position ON (marche), la batterie au lithium-ion ne commence pas le chargement.
-
Certains postes de chargement utilisés pour effectuer une charge normale sont équipés de fonctions de minuteurie. Si la fonction de minuteserie de chargement et la minuteserie de vehicule sont toutes les deux régles, et que les deux minuteseries sont régles pour ne pas fonctionner en même temps, il est possible que le chargeur ne démarre pas ou que la batterie ne soit pasChargeé au niveau foulu.
-
La batterie au lithium-ion peut ne pas se charger au niveau voulu au moyen de la minuterie de chargement pendant le fonctionnement du rechauffeur de batterie au lithium-ion (salon l'équipment).
- Le réglage de la minuterie de charge-ment est effectué selon le réglage de temps actuel de l'horloge à l'affichage multifonction. Lorsque vous reglez la fonction de la minuterie de charge-ment, assurez-vous de vérifier que l'heure affichée actuellément est correcte.
Pour désactiver la fonction de minuteurie de chargement, sélectionnez l'option « Minuteur » à l'affichage de la minuterie de charge (affichage multifonction) au moyen du bouton
et appuyez sur le bouton OK pour eteindre le témoin. Les réglages de l'heure de début et de fin ne sont pas effacés, même si la fonction de minuteurie de chargement est désactivée.
- Si vous ne seLECTIONnez pas la semaine sur l'écran de réglage de la minuterie de charge, la minuterie de chargement ne fonctionnera pas ce jour-là. Le système attendra le prochain réglage de l'heure de chargement pour effectuer le changement (modèles avec dispositif d'aide à la navigation).

Écran de réglage de la minuterie de charge

gement est effectué ailleurs qu'a la maison, le chargement commence automatiquement lorsqu'un connecteur de charge normale ou de charge d'entretien est branché sur le vehicule.

Mlnut.chg. seulmt à la maison (modèles avec dispositif d'aide à la navigation):
Si vous inscrivez votre domicile dans le dispos- itif d'aide à la navigation et activez l'option « MInut.chg. seulmt à la maison », la minuterie de chargement s'applique seu-llement lorsque la charge normale ou la charge d'entretien est effectuee à domicile. Pour obtenir des renseignements supplémentaires sur I'enregistrement, consultez le manuel de I'utiliseur du dispositif d'aide à la navigation LEAF. Lorsque le char
Une charg. compl. est priorit.:
Si l'option « Une charg. compl. est priorit. » est activée, la minuterie de début de charge est avancée si vous ne pouvez pas obtenir un chargement complet de la batterie au lithium-ion pendant l'intervalle entre l'heure de début et l'heure de fin. Si vous ne pouvez pas obtenir une batterie complètement chargée, le chargement continue jusqu'à ce que la batterie soit complètement chargée.
REMARQUE:
Sil'option « Une charg. compl. est priorit. » est activée, il est possible que la batterie ne soit pas chargeée complètement à l'heure de fin de charge en raison des conditions de fonctionnement de la minuterie de chauffage-climatisation et de la tolérance relative au temps de chargement, etc. Dans ce cas, le changement continue jusqu'à ce que la batterie au lithium-ion soit complètement chargeé.
AFFICHAGE DE L'HEURE
L'heure s'affiche pendant environ 30 secondes lorsque le commutateur principal est placé à la position OFF (hors fonction).

(1) Temps de chargement
Le temps de chargement estimé de la batterie au lithium-ion (heure de début et heures de fin) s'affiche.
- Lorsque la minuterie de chargement est réglée, le système de charge calculé le temps estimé pour charger la batterie au lithium-ion, sur la base de la puissance électrique fournie au cours de la dernière charge au moyen de la minuterie, puis les heures de début et de fin s'affichent.
- Lorsque la minuterie de chargement est réglée sur OFF (hors fonction), l'heure de fin estimée pour charger complètement
la batterie au lithium-ion en cas de réalisation d'une charge immediate. L'heure de fin est calculée sur la base de la puissance électrique selectionnée à l'écran temps de charge.
Lorsque la batterie au lithium-ion sera complètement chargée, le temps de chargement sera affiché comme « --- »
② État de réglage de la minuteurie de chargement
Lorsque la minuterie de chargement est réglée, l'heure de début et l'heure de fin de la charge à l'aide de la minuterie s'affichent
③ État de réglage de la minuterie de chauffage-climatisation
Lorsque la minuterie de chauffage-climatisation est reglee, l'heure de depart (heure de fin) reglee pour la minuterie de chauffage-climatisation s'affiche.
④ État de réglage du verrouillage du connecteur de charge
Le mode actuel de verrouillage du connecteur de charge (AUTO , BLOQUER ou OUVRIR) s'affiche. Pour connaître le fonctionnement du verrouillage du connecteur de charge, consultez la section « Systeme
de verrouillage du connecteur de charge » du chapitre « Chargement » duprésent manuel.
Lorsque you appuyez sur le bouton OK du volant, l'affichage passes au menu « EV Settings » (Réglages du système électrique du vehicule). Dans le menu des réglages du système électrique du vehicule, vous pouvez modifier le réglage de la minutesie de chargement, de la minutesie de chauffage-climatisation et du mode de verrouillage du connecteur de charge. (Consultez la section « Affichage multifonction » du chapitre « Commandes et instruments » du present manuel pour obtenir des renseignements sur le menu de réglages à l'affichage multifonction.)
Lorsque vous appuyez sur le bouton
du volant pendant que l'affichage de la minuterie s'affiche, l'affichage passe au rapport Eco Drive (si le vehicule se déplace). L'un ou l'autre affichage persiste pendant 30 secondes supplémentaires lorsque vous appuyez sur le bouton. Si vous verruillagez les portières après avoir place le commutateur principal à la position OFF
(hors fonction), l'affichage s'eteint avant le déliai prépréglé.
Pour les modèles avec dispositif d'aide à la navigation, le jour de la semaine s'affiche avec l'heure (heure et minute) dans chaque information ① - ③.
En plus des cas ci-dessus, notez les conditions suivantes pour les données relatives au temps de chargement ①:
-
Le temps de chargement s'affiche pendant 10 minutes. Si le temps de charge-tement estimé est supérieur à 24 h, le message « Over 24h » (plus de 24 h) s'affiche.
-
Lorsque le chargement est régé pour démarrer automatiquement après le branchement du connecteur de charge sur le vehicule, l'heure de début s'affiche sous la forme du message « Charge Now » (charge maintainant).
-
Pendant que le chargement est en cours, l'heure du début effectif du chargement s'affiche en tant que heures de début. L'heure de fin s'affiche conformément au temps de chargement estimé qui a été calculé en fonction de l'énergie électrique fournie.
Pour les modeles avec rechauffeur de batterie au lithium-ion, le système de chargement calcule I'energie electrique utilise par le rechauffeur de batterie lorsque la temperture de la batterie au lithium-ion est basse, et un temps de chargement plus long s'affiche.
-
Lorsque l'options « Minut.chg. seulmt à la maison » est ACTIVÉE (modèles avec disposif d'aide à la navigation) dans les réglages du système électrique du vehicule, l'heure de début s'affiche seulement lorsque vous placez le commutateur principal en position OFF (hors fonction) à domicile. Si vous placez le commutateur principal en position OFF (hors fonction) ailleurs qu'à la maison, le mode de charge immédiate est sélectionné et le message « Charge Now » (charge maintainant) s'affiche en tant que heures de début.
-
Lorsque l'options « Une charg. compl. est priorit. » est ACTIVÉE dans les réglages du système électrique du vehicule et que la batterie au lithium-ion ne peut être charge complètement dans les heures entre
l'heure de début et l'heure de fin programmes de la minuterie de charge-ment, le temps de chargement affiche la durée qui depasse les heures programmes dans la minuterie de charge.
- Si vous doivent confirmer le temps de chargement estimé en fonction de la puissance électrique disponible (fournie au chargeur), reportez-vous à l'affichage Estimated Charge Time (Temps de charge estimé). (Consultez la section « Ordinaireur de bord » du chapitre « Commandes et instruments » duprésent manuel.)
REMARQUE:
L'heure de fin de charge affichée est une estimation. La batterie au lithium-ion peut ne pas etre chargée complètement à l'heure de fin estimée.
- Si la minuterie de chargement et la minuterie de chauffage-climatisation sont régles pour fonctionner simultanément, un temps de chargement plus long s'affiche ou la batterie au lithium-ion peut ne pas être chargée complètement à l'heure de fin programmée.
CHARGE IMMÉDIATE
Lorsqu'une minuterie de chargement n'est pas activée, le chargement commence automatiquement lorsqu'un connecteur de charge normale ou de charge d'entretien est branché sur le vehicule.
Utilisez le mode de charge immédiate chaque fois que vous souhaitez commencer le chargement lorsqu'une minuterie de chargement est activée en effectuant les étapes suivantes :
- Placez le commutateur principal à la position OFF (hors fonction).

- Appuyez sur le commutateur de charge immédiate.
- Branchez le cable de charge normale ou de charge d'entretien lorsque le témoin d'état de chargement passé en mode de charge immédiate. Consultez la section « Témoins d'état de chargement » duprésent chapitre pour obtenir des renseignements supplémentaires.
REMARQUE:
- Vous disposez de 15 minutes pour brancher un connecteur de charge normale ou de charge d'entretien sur le vehicule après avoir appuyé sur le commutateur de charge immédiate. Si un connecteur de charge n'est pas branché sur le vehicule dans un délai de 15 minutes, le vehicule revient automatiquement au réglage précédent.
Pour annuler le mode de charge immediate, appuyez de nouveau sur le commutateur de charge immediate. - Si le cable de charge est débranché, la batterie au lithium-ion passée automatique à la minuterie de chargement. Pour effectuer de nouveau une charge immédiate, appuyez sur le commutateur de charge immédiate et branchez le cable de charge.
- Si le cable de charge est déjà branché, appuyez sur le commutateur de charge immédiate pour effectuer une charge immédiate.
FUNCTIONÀ DISTANCE RELATIVE AU CHARGEMENT (MODELES AVEC DISPOSITIF D'AIDE À LA NAVIGATION)
Ce vehicule est muni d'un dispositif de communication appelé TCU (unité de communication télématique). La communication entre cette unité et le Centre de données NiSSAN permet des services de fonctions à distance variés.
- Vérification de l'etat de la batterie à distance:
VoussoupiezverifierI'etat decharge mentde la batterie au lithium-ion enutilisant I'application NissanConnect MD EV &Services ou le portail des propriétaires meme si vous n'etes pas dans le vehicule.
Démarrage de la charge à distance :
La fonction de démarrage du chargement de la batterie au lithium-ion ou de mise en fonction du système de chauffage-climatisation est disponible en utilisant votre ordinateur personnel ou un téléphone intelligent ayant accès à internet.
Rappel à distance de branchement :
Un avis par courriel vous sera envoyé sur votre ordinateur personnel ou votre téléphone intelligent ayant accès à internet si la fiche n'est pas branchée à l'heure spécifique que vous avez sélectionnée, après avoir placé le commutateur principal en position off (hors fonction).
REMARQUE :
-
Il est nécessaire de s'inscrire au système NissanConnect™ EV & Services avant d'utiliser ce service. Pour obtenir des renseignements supplémentaires, consultez le manuel du contrôle du dispositif d'aide à la navigation LEAF.
Pour vérifier l'etat de chargement de la batterie au lithium-ion en utilisant un téléphone intelligent ayant accès à internet ou un ordinateur personnel, les conditions suivantes doivent être presents: -
Le vehicule doit être situé dans une zone de couverture du réseau téléphonique de téléphone cellulaire.
-
Le téléphone cellularie doit être situé dans une zone de couverture du réseau téléphonique de téléphone cellulaire.
-
Si vous utilisez un ordinateur, ce dernier doit être branché à internet.
-Certains téléphones cellulaires ne sont pas compatibles et ne peuvent pas etre utilisés pour vérifier I'etat de chargement de la batterie au lithium-ion. Assurez-vous de leur compatibilité préalablement. -
Certaines fonctions à distance nécessitent un téléphone intelligent compatible, qui n'est pas compris avec le vehicule.
-
Les caractéristiques du système d'information NissanConnect™ EV & Services sont comprises dans un service d'abonnement qui nécessite le consentement du propriétaire pour être activé. L'abonnement doit être actif pour utiliser ces caractéristiques.
-
Les communications du système NissanConnect™ EV & Services peuvent être reçues à une adresse courriel vérifiée ou par un téléphone cellulaire pouvant receivevoir des messages/textes.
- Les tarifs standard de message texte et d'utilisation de données peuvent être applicables selon votre fournisseur.
TÉMOINS ConnEXES DE CHARGEMENT

TÉMOINS D'ÉTAT DE CHARGEMENT
Les témoins d'etat de chargement (1) à (3) affichent l'etat de chargement et sont visibles de l'intérieur et de l'extérieur du vehicule.

Lorsque le connecteur de charge normale est branché incorrectement
Tous les témoins, (1) à (3), clignotent et re- tentissent trois fois dans un-delai de 30 se- condes lorsque le connecteur de charge est branché incorrectement sur le port de charge normale.

Lorsque le verrou du connecteur de charge normale est déverrouillé
Tous les témoins, (1) à (3), clignotent et retentissent trois fois lorsque vous appuyez sur le commutateur de verrouillage du connecteur de charge normaleitué sur la clé intelligente ou sur le commutateur du couvercle du port de charge.
Prêt pour la minuterie de chargement
Si la miniterie de chargement est reglee, les temoins s'allument, en observant la sequence de (1) à (3). Les temoins s'eteignent après environ cinq minutes.

Prêt pour la charge immédiate
Lorsque le commutateur principal est à la position OFF (hors fonction) et que vous appuyez sur le commutateur de charge immédiate alors que le cable de charge est débranché, le tímoin (2) s'allume.
Ce témoin (2) s'allume lorsque le vehicule est prét pour la charge immédiate. Vous disposez de 15 minutes pour brancher le connecteur de charge sur le vehicule. Si le connecteur de charge n'est pas branché dans un décai de 15 minutes, le témoin (2) s'éteint et vous doivent activer de nouveau le mode de charge immédiate pour charger la batterie au lithium-ion.

Lors du chargement
Lors du chargement de la batterie au lithium-ion, les témoins d'etat de chargement sont modifiés en fonction de la valeur de charge de la batterie au lithium-ion.
*: Cette valeur est également affichée par l'indicateur de charge disponible de la batterie sur l'affichage multifonction.

Lorsque la batterie est complètement chargée
Tous les témoins (1) à (3) s'allument lorsque la batterie au lithium-ion est complètement chargée au niveau du mode de chargement sélectionné.
Les tiemoins s'éteignent après environ cinq minutes ou lorsque le connecteur de charge est retire.

Lorsque le témoin (3) clignote
Le témoin (3) clignote lorsque la batterie de 12 V est en cours de chargement. Pour obtenir des renseignements supplémentaires, reportez-vous à la section « Chargement de la batterie de 12 V » du chapitre « Aperçu du vehicule électrique » de ce manuel.
Le témoin clignote également pendant 5 minutes au maximum si la puissance électrique du dispositif de chargement EVSE ou de l'équipement de charge est interrompue pendant le chargement. Le chargement reprendra automatiquement lorsque la puissance électrique du dispositif de chargement EVSE ou de l'équipement de charge est rétablie si le connecteur de charge normale est branché. Lorsque le chargement redémarre, le bip de démarrage du chargement ne retentit pas.
Le témoin clignote également lorsque les systèmes suivants sont en fonction :
- Minuterie de chauffage-climatisation
- Système de chauffage-climatisation à distance (selon l'équipement)
- Réchauffeur de batterie au lithium-ion (selon l'équipement)

En cas de non-chargement de la batterie
En cas de non-chargement de la batterie au lithium-ion et de la batterie de 12 V, aucun tímein ne s'allume.


TÉMOIN DE LA BOîTE DE COMMANDE EVSE (ACCESSION POUR VÉHICULE ÉLECTRIQUE)
Lorsqu'une charge est effectuée, le témoin situé sur la boîte de commande EVSE affiche l'etat de chargement.
Un témoin indique également la présence d'une anomalie du cable EVSE (accessoire pour vehicule électrique).
| Signifi-cation | Témoin ALLUMÉ | Clignote | Témoin ÉTEINT |
| Symbole | ○ | ◎ | ● |
| PRÉT | CHARGE ou PUIS-SANCE | ANOMALIE | État et mesure à prendre |
| ○ | ○ | ○ | Toutes les lampes à DEL s'allument pendant une demi-seconde, vérifiez lorsque le cable EVSE est d'abord branché à une prise électrique. |
| ○ | ● | ● | Après la fin du processus initial, lorsque le cable EVSE n'est pas branché sur le vehicule, ou lors-què le cable EVSE est branché sur le vehicule mais le chargement n'est pas effectué. Pour obte-nir des renseignements supplémentaires, consultez la section « Guide de dépannage relat au chargement » du précédent chapitre. |
| ○ | ○ | ● | Pendant que la batterie au lithium-ion est en cours de chargement |
| ● | ● | ● | Si le témoin de la boîte de commande EVSE (accessoire pour vehicule électrique) ne s'allume pas après le branchement de la fiche sur la prise, vérifiez le disjoncteur de fuite à la terre et le dis-joncteur de la prise. Si le disjoncteur de fuite à la terre ou le disjoncteur s'est déclenché, le circuit peut être inapproprié pour le cable EVSE. Faites inspecter et réparer le circuit électrique par un électricien qualifié. Si le disjoncteur de fuite à la terre ne s'est pas déclenché, cessez d'utiliser le cable EVSE. Nous vous recommendons de visiter un concessionnaire NiSSAN LEAF certifié. |
| ◎ | ● | ● | Le cable EVSE pourrait ne pas détacter une mise à la terre suffisante au niveau de la prise élec-trique pour un chargement friable du vehicule électrique. Communiquez avec un électricien qua-lifié pour faire vérifier la prise électrique. |
| ◎ | ○ | ◎ | Lorsque la température de la fiche électrique est trop élevé, ou que le cable EVSE ne peut dé-tector la température de la fiche électrique. Le cable EVSE réduit le courant de charge à des fins de sécurité, selon la température de la fiche électrique. |
| ◎ | ◎ | ◎ | État du témoin de PUISSANCE ou de CHARGE :○ = Aucune limitation du courant de charge◎ = courant de charge limité● = charge arrêtée |
| ◎ | ● | ◎ | Ce problème peut être causé par une défaillance au niveau de la prise électrique.Cessez d'utiliser la prise électrique et communiquez avec un électricien qualifié.Si la même indication persististe après la vérification de la prise électrique, nous vous recomman-dons de vous rendre chez un concessionnaire NiSSAN LEAF certifié. |
| ◎ | ◎ | ○ | Câble EVSE L1 et L2 seulement Le circuit de détention de température de la prise du cable EVSE est défectueux. État du témoin de puissance: |
| ◎ | ● | ○ | ◎ = courant de charge réduit ● = charge arrêtée Étant donné que le cable EVSE limite le courant de charge, nous vous recommendons de vous rendre chez un concessionnaire NISSAN LEAF certifié. |
| ○ | ● ou ◎ | ○ | Ce problème est causé par un dysfonctionnement des circuits internes du dispositif de charge-ment EVSE. Cessez immédiatement d'utiliser le dispositif de chargement EVSE. Nous vous recommendons de visiter un concessionnaire NISSAN LEAF certifié. |
| ○ | ● | ◎ | Le dispositif de chargement EVSE détecte un courant de fuite ou une erreur du signal de modu-lation d'impulsions en durée Cessez immédiatement d'utiliser le dispositif de chargement EVSE. Nous vous recommendons de visiter un concessionnaire NISSAN LEAF certifié. |
GUIDE DE DÉPANNAGE RELATIF AU CHARGEMENT
| Symptôme | Cause possible | Solution possible |
| Le chargement ne peut être effectué. | Le commutateur principal du vehicule est à la position ON (marche). | Avant le chargement, placez le commutateur principal du vehicule à la position OFF (hors fonction). |
| Le connecteur de charge normale et le connecteur de charge rapide (selon l'équipement) sont branchés en même temps. | Le connecteur de charge normale et le connecteur de charge rapide ne peuvent pas être branchés en même temps. | |
| La batterie au lithium-ion est déjà complètement chargée. | Confirmez la capacité disponible restante de la batterie au lithium-ion en vérifying l'indicateur de charge disponible de la batterie au lithium-ion. Si l'indicateur de charge de la batterie au lithium-ion atteint 100 %, la batterie au lithium-ion est déjà complètement chargée et ne peut pas être chargée. Le chargement cesse automatiquement si la batterie au lithium-ion est complètement chargée. | |
| La température de la batterie au lithium-ion est trop élevé ou trop BASSE pour effectuer la recharge. | Vérifie la température de la batterie au lithium-ion au moyen de l'indicateur de tempéra-ture de la batterie au lithium-ion. Si l'indicateur de températe indique que la températe de la batterie au lithium-ion est trop élevé (zone rouge) ou trop BASSE (zone bleue), il n'est pas possible de la recharger. Laissez la batterie au lithium-ion se refroidir ou se rechauffer avant de la recharger. Pour obtenir des renseignements supplémentaires, consultez la section « Indicateur de températe de la batterie au lithium-ion » du chapitre « Comman-des et instruments » du précédent manuel. | |
| La batterie de 12 V est déchargée. | Si vous ne poupez pas activer les systèmes électriques du vehicule même lorsque le commutateur principal est activé, la batterie de 12 V peut être décharge. Chargez ou remplacez la batterie de 12 V. | |
| Le vehicule présente une anomalie. | Le vehicule peut):-présenter une anomalie. Vérifie si le témoin au compteur est allumé. Si un averissement s'affiche, cessez le chargement. Nous vous recommendons de visiter un concessionnaire NISSAN LEAF certifié. | |
| La charge normale ou la charge d'entretien ne peut être effectué. | Il n'y a pas de courant électrique provenant de la prise. | Vérifiez si une coupure de courant a eu lieu. Assurez-vous que le disjoncteur est activé. Si vous utilisez une prise dont une minutierie a été installée, le courant sera disponible uniequément lorsque la minuterie atteint le délambda programme. |
| L'équipement de chargement EVSE ou le dispositif de chargement peut partager une anomalie. | Si l'équipement de chargement EVSE NiSSAN d'origine est utilisé, consultez la section « Dépannage relatif au chargement » . | |
| Le connecteur de charge n'est pas branchedé correctement. | Vérifiez si le connecteur de charge est branché correctement. | |
| La fiche électrique peut ne pas être correctement branchée. | Vérifiez si la fiche électrique est branchée correctement. | |
| La charge immédiate ne peut être effectué. | La minuterie de chargement a été réglée. | Désactevez la minuterie de chargement. Pour obtenir des renseignements supplémentaires, consultez la section « Minuterie de chargement » dans ce chapitre. |
| Le réglage de la minuterie de chargement ne peut être effectué. | Le cable de charge n'est pas branché. | Branchez le cable de charge. |
| L'heure indiquée sur la montre est inexacte. | La fonction de la minuterie de chargement ne démarre pas le chargement en fonction de l'horloge située sur l'affchage multifonction. Réglez l'horloge. Pour obtenir de plus amplités renseignements, consultez la section « Horloge » du chapitre « Commanes et instruments » dans ce manuel. Si la batterie de 12 V est déchargeée ou si la batterie au lithium-ion est débranchée, le réglage de l'heure doit être mis à jour. Pour les modèles avec dispositif d'aide à la navigation, un signal provenant du système de repérage par satellites doit être présente pour effectuer le réglage de la montre de minutierie. | |
| Le commutateur de charge immédiate a été enforcé. | La minuterie de chargement ne fonctionne pas lorsque le mode de charge immédiate est sélectionné. | |
| La minuterie de chargement n'a pas été réglée. | Programmez la minuterie de chargement. Pour obtenir des renseignements supplémentaires, consultez la section « Minuterie de chargement » dans ce chapitre. | |
| Le changement ne démarre pas, car l'heure de début et l'heure de fin de la minuterie de chargement sont régées et que l'heure actuelle est avant l'heure de début programmée. | Confirmez l'heure de début de la minuterie de chargement programmée. Modifiez le réglage de minutierie de chargement à l'heure de charge souhaïtée ou appuyez sur le commutateur de charge immédiate. Pour obtenir des renseignements supplémentaires, consultez la section « Minuterie de chargement » dans ce chapitre. | |
| Le cable de charge n'est pas branché. | Branchez le cable de charge préalablement. | |
| La charge normale est interrompue au milieu du chargement. | Il n'y a pas de courant électricque provenant de la prise. | Il se peut qu'une coupure de courant électricque se soit produit ou le disjoncteur peut avoir subi une défaillance. Le chargement reprendra lorsque la source d'alimentation est réinitialisée. |
| Le cable de charge a été débranché. | Vérifiez si le cable de charge a été débranché. | |
| Le connecteur de charge normale et le connecteur de charge rapide ont été branchés en même temps. | Si le connecteur de charge normale et le connecteur de charge rapide sont branchés en même temps, le chargement est interrompu. | |
| L'heure de fin de la miniterie de charge-ment a été atteinte. | Lorsque la miniterie de chargement est régée et que l'heure de fin de charge est at- teinte, le chargement est interrompu, même si la batterie au lithium-ion n'est pas enti- rement chargée. | |
| La température de la batterie au lithium- ion est trop élevé ou trop BASSE pour ef- lectuer la recharge. | Vérifiez la température de la batterie au lithium-ion au moyen de l'indicateur de tempé- rature de la batterie au lithium-ion. Si l'indicateur de tempé- rature indique que la tempé- rature de la batterie au lithium-ion est trop élevé (zone rouge) ou trop BASse (zone bleue), il n'est pas possible de la recharger. Laissez la batterie au lithium-ion se refroidir ou se réchauffer avant de la recharger. Pour obtenir des renseignements supplémentai- res, consultez la section « Indicateur de tempé- rature de la batterie au lithium-ion » du chapitre « Commandes et instruments » du précédent manuel. | |
| La charge rapide ne peut être effectué. | Le racord du connecteur de charge n'est pas approprié, n'est pas inséré complètement ou peut ne pas être verrouillé. | Vérifiez si le connecteur de charge est branché correctement et s'il est verrouillé. |
| La fonction d'autodiagnostic du dispositif de charge rapide présente un résultat né-gatif. | Il se peut que le vehicule présente une anomalie. Arrêtez le chargement. Nous vous recommendons de visiter un concessionnaire NISSAN LEAF certifié. | |
| Le commutateur principal du chargeur rapide est en position OFF (hors fonction). | Vérifiez le commutateur principal du chargeur rapide. | |
| La charge rapide est inter- rompue au milieu du chargement. | Le changement est interrompu par la minu- terie de charge rapide. | Le changement est interrompu selon le réglage de fonction de la minuterie du dispositif de charge rapide. Si vous souhaitez charger davantage la batterie au lithium-ion, effectuez de nouveau la procédure de changement. |
| L'alimentation du chargeur rapide est cou- pée. | Vérifiez si l'alimentation du chargeur rapide est coupée. |
1 Sécurité – sièges, ceintures de sécurité et système de retenue supplémentaire
Sièges 1-3
Réglage des sièges avant à commande
manuelle (siège du passager et, selon
l'équipement, siège du conducteur). 1-4
Réglage du siège à réglage électrique avant
(siège du conducteur, selon l'équipement) 1-6
Sièges arrêté 1-8
Appuie-tete. 1-9
Composants d'appuie-tête régiable. 1-10
Composants d'appuie-tête non régtable. 1-10
Retrait. 1-10
Pose 1-11
Réglage 1-11
Ceintures de sécurité. 1-12
Précautions concernant l'utilisation des
ceintures de sécurité 1-12
Témoin des ceintures de sécurité. 1-15
Femmes enceintes 1-16
Personnes blessées. 1-16
Ceinture de sécurité à trois points d'ancrage
avec enrouleur 1-16
Rallonges de ceinture de sécurité. 1-21
Entretien des ceintures de sécurité. 1-21
Sécurité des enfants 1-22
Bébés 1-23
Jeunes enfants. 1-23
Enfants plus agés 1-23
Dispositifs de retenue pour enfant. 1-25
Précautions concerning les ensembles de retenue d'enfant. 1-25
Children - points d'ancrage inférieurs et sangles d'ancrage pour siege d'enfant) 1-28
Installation d'un ensemble de retenue d'enfant orienté vers l'arrière au moyen du système
LATCH. 1-32
Installation d'un ensemble de retenue d'enfant orienté vers l'arrête à l'aide des ceintures de sécurité. 1-
Installation d'un ensemble de retenue d'enfant orienté vers l'avant au moyen du système
LATCH. 1-37
Installation d'un ensemble de retenue d'enfant orienté vers l'avant à l'aide des ceintures de sécurité. 1-
Rehausseurs 1-46
Système de retenue supplémentaire 1-49
Précautions relatives au système de retenue
supplémentaire (SRS) 1-49
Étiquettes d'avertissement concernant les
sacs gonflables 1-70
Témoin du sac gonflable. 1-71

Asseyez-vous bien droit et au fond du siège.


AVERTISSEMENT
- N'inclinez pas le dossier de votre siège lorsque le vehicule est en mouvement. Ceci peut se reveler très dangereux. Dans cette position, le baudrier de la ceinture de sécurité n'est pas appuyé contre toute corps. En cas d'accident, vous pourriez être projeté contre le baudrier et subir des blessures graves au cou ou à autres parties de toute corps. Vous pourriez également glisser sous la ceinture sous-abdominale et subir des blessures internes graves.
Pour bénéficier de la meilleure protection possible lorsquel vécicule est en mouvement, le dossier de votre siège devrait être en position verticale. Asseyez-vous toujours bien au fond de votre siège et à la verticale, les deux pieds sur le plancher, et réglez le siège correctement. Pour obtenir des renseignements supplémentaires, reportez-vous au chapitre « Précautions concernant l'utilisation des ceintures de sécurité » dans cette section.
-
Àprous le réglage, assurez-vous du bon verrouillage de votre siège en faisant balancer ce dernier doucement vers l'avant et vers l'arrière.
-
Ne laïsez pas d'enfants sans surveillance dans le vehicule. Ils pourraient activer par mégarde les commuteurs ou les commandes ou déplacer le vehicule. Des enfants laissés sans surveillance dans un vehicule poursraient être victimes d'accidents graves.
Pour éviter le risque de blessures ou de décès associé à un fonctionnement accidentel du vehicule ou de ses systèmes, ne laissez pas les enfants, les personnes qui ont besoin de l'aide d'autres personnes ou les animaux sans surveillance dans votre vehicule. De plus, la température à l'intérieur d'un vehicule fermé lors d'une journée chaude peut s'éleverrapidement au point de provoquer un risque important de blessures graves ou mortelles à des personnes ou à des animaux domestiques.
- Ne réglez pas la position de votre siège pendant que vous conduisez, car la conduite d'un vehicule exige toute votre attention. Le siège pourrait se déplacer brusquement et vous pourriez perdre la maitrise du vehicule.
- Le dossier ne devrait pas etre incline plus qu'il n'est necessarily pour assurer le comfort. La ceinture de sécurité est plus efficace lorsque le passager est assis au fond du siège et qu'il se tient bien droit. Si le dossier est incliné,le risque de glisser sous la ceinture sous-abdominale et de subir des blessures est accru.

MISE EN GARDE
Lorsque vous reglez la position d'un siège, assurez-vous de ne pas toucher aux pieces mobiles pour prévenir les blessures et les dommages.
RéGLAGE DES SIÉGES AVANT À COMMANDE MANUELLE (SIÉGE DU PASSAGER ET, SELON L'ÉQUIPEMENT, SIÉGE DU CONDUCTEUR)
Les sièges de votre vehicule peuvent être régés manuelle. Pour obtenir des renseignements supplémentaires sur le réglage des sièges, veuillez vous reférer aux étapes décrites dans cette section.

Réglage longitudinal
Tirez la barre vers le haut et maintenez-la dans cette position tout en glissant le siège vers l'avant ou vers l'arrière à la position voulue. Relâchéz la barre pour verrouiller le siège.

Inclinaison du dossier vers l'arrière
Pour incliner le dossier du siège vers l'arrière, soulevez le levier, puis adossez-vous contre le dossier. Pour redresser le dossier du siège, soulevez le levier, puis penchez-vous vers l'avant. Relâchéz le levier pour verrouiller le dossier du siège.
La fonction d'inclinaison permet le réglage de la position du dossier de façon à améliorer le comport des occupants de tailles différentes et l'obtention d'une meilleure position de la ceinture de sécurité. Pour obtenir des renseignements supplémentaires, reportez-vous au chapitre « Précautions concernant l'utilisation des ceintures de sécurité » dans cette section. De plus, le dossier peut être incliné pour permettre aux occupants de se reposer lorsque le vehicule est immobilisé et que le vehicule est en position P (stationnement).

Commande de réglage de la hauteur du siège (siège du conducteur)
Tirez le levier de réglage vers le haut ou poussez-le vers le bas pour régler la hauteur du siège à la position voulue.


RéGLAGE DU SIÉGE À RÉGLAGE ÉLECTRIQUE AVANT (SIÉGE DU CONDUCTEUR, SELON L'ÉQUIPEMENT)
Conseils d'utilisation
- Le moteur du siège à réglage électrique est équipé d'un circuit de protection contre les surcharges à réinitialisation automatique. Si le moteur s'arrête durant le fonctionnement, attendez 30 secondes, puis activez l'interrupteur de nouveau.
N'actionnez pas l'interrupteur du siège à commande électrique pendant une longue période lorsque le système n'est pas en mode PRÉT À DEMARRER. La batterie pourrait se décharger.
Réglage longitudinal
Déplacez la commande comme illustré pour glisser le siège vers l'avant ou vers l'arrière à la position voulue.
Inclinaison du dossier vers l'arrière
Déplacez la commande d'inclinaison comme illustré jusqu'à l'angle youlu.
La fonction d'inclinaison permet le réglage de la position du dossier de façon à améliorer le comport des occupants de tailles différentes et l'obtention d'une meilleure position de la ceinture de sécurité. Pour obtenir des renseignements supplémentaires, reportez-vous au chapitre « Précautions concernant l'utilisation des ceintures de sécurité » dans cette section. De plus, le dossier peut être incliné pour permettre aux occupants de se reposer lorsque le vehicule est immobilisé et que le levier sélecteur est à la position P (stationnement).

Type A (selon l'équipement)
Commande de réglage de la hauteur du siècle
Déplacez le commutateur, comme indiqué, pour régler l'angle (selon l'équipement) et la hauteur du coussin de siège.

Type B (selon l'équipement)

Support lombaire
Le siège du conducteur est muni d'un support lombaire régliable. Déplacez le commutateur comme indiqué pour régler le support lombaire du siège.

SIÉGES ARRIÈRE Rabattement
Avant de rabattre les sièges arrrière :
Fixez les ceintures de sécurité sur les crochets de ceinture de sécurité situés sur la paroi latérale. Pour obtenir de plus amples renseignements, consultez la section « Crochet de ceinture de sécurité » dans le present chapitre.
Pour rabattre le dossier de siege, tirez le bouton de déverrouillage.
Pour remettre le dossier de siège en position d'origine, relevez le dossier de chaque siège et poussez-le en position verticale jusqu'à ce qu'il s'enclenche.

AVERTISSEMENT
-
Ne rabattez pas les sièges arrêté lorsque des passagers se trouvent à proximé ou si des objets reposent sur ces sièges.
-
Ne laïsez jamais une personne prendre place dans l'espace à bagages ou sur un siège arrêté en position rabattue. Les personnes se trouvant dans ces espaces dépourvus d'ensembles de retenue adéquats risquent de subir des blessures graves ou la mort en cas d'accident ou d'arrêt brusque.
Fixez solidement tous les bagages à l'aide de cordes ou de sangles afin d'eviter qu'ils ne glissent ou se déplacent. N'empirez pas les bagages plus hauts que les dossiers de sièges. En cas d'arrêt brusque ou de collision, les bagages non retenus pourraient entraîner des blessures.
Lorsque you redresse les dossiers des sièges en position verticale, assurez-vous qu'ils sont bien verruillés. S'ils ne sont pas correctement verruillés, les passagers pourrait être blessés en cas d'accident ou d'arrêt brusque.
APPUIE-TÉTE

AVERTISSEMENT
Les appuie-tête sont des dispositifs de sécurité complémentaires aux autres systèmes de sécurité du vehicule. Ils peuvent procurar une protection supplémentaire contre les blessures dans certains types de collision arrière. Les appuie-tête doivent être régles correctement, selon les instructions prescrites dans le present chapitre. Vérifie la position de votre appuie-tête si une autre personne a utilisé le siege avant vous. Ne fixez aucun article aux tiges d'appuie-tête et ne retirez pas les appuie-tête. Ne permette à personne de s'asseoir dans un siege dont l'appuie-tête a été retireé. Si vous avez retirené l'appuie-tête, réinstallé-le et réglez-le correctement avant qu'un passager s'assoie à cette place. Le non-respect de ces directives peut réduire l'efficacité des appuie-tête. et accroître les risques de blessures graves ou mortelles en cas de collision.

L'illustration montre les places assises dotées d'un appuiè-tête.
Indique que le siège est muni d'un appuie-tête.
- Indique que la place assise n'est pas dotée d'un appuie-tête (le cas échéant).
- Voiture vehicule est muni d'un appuie-tete qui peut etre integre, reglable ou non reglable.
-
Les appuiè-tête réglibles sont dotés de plusieurs encoches le long des tiges pour les verrouiller dans la position de réglage désirée.
-
Les appuie-tête non régiables sont munis d'une seule encoche de verrouillage pour les fixer au cadre du siège.
- Réglage correct :
-Pour le type régliable, alignez l'appuiétête de façon que le milieu de votre oreille se trouve approximativement au même niveau que le centre de l'appuie-tête.
-Si la position de votre oreille est toutes plus élevé que l'alignement recommandé, placez l'appuie-tête à la plus haute position.
- Si l'appuie-tête a eté retire, assurez-vous qu'il est réinstallé et verrouillé en place avant de voyager assis à cette place.

COMPOSANTS D'APPUIE-TÉTÉ RÉGLABLE
- Appuie-tête amovible
- Encoches multiples
- Bouton de verrouillage
- Tiges

COMPOSANTS D'APPUIE-TÉTENON RÉGLABLE
- Appuie-tete amovible
- Encoche unique
- Bouton de verrouillage
- Tiges

RETRAIT
Utilisez la procédure suivante pour-retirer l'appuie-tête.
- Tirez l'appuie-tête jusqu'à la plus haute position.
- Maintenez le bouton de verrouillage enforcé.
- Retirez l'appuie-tete du dossier de siège.
- Rangez l'appuie-tete correctement dans un endroit adequat pour qu'il ne se déplace pas dans le vehicule.
- Remettez l'appuie-tête en place et reglez-le correctement avant qu'un occupant ne prenne place sur le siège.

POSE
- Alignez les tiges de l'appuie-tête avec les trous du dossier du siège. Assurez-vous que l'appuie-tête est dans le bon sens. La tige munie d'encoches ① doit être installée dans le trou pourvu du bouton de verrouillage ②.
- Appuyez sur le bouton de verrouillage et maintenez-le enforcé, puis abaissez l'appuie-tête.
- Réglez correctement l'appuie-tête avant qu'un occupant prenne place dans le siège.

RéGLAGE
Pour l'appuie-tête régable
Réglez la hauteur de l'appuie-tête de telle façon que son centre se trouve au même niveau que le milieu de vos oreilles. Si la position de votre oreille est toujours plus élevé que l'alignement recommendé, placez l'appuie-tête à la plus haute position.
Pour l'appuie-tête non régiable

Assurez-vous que l'appuie-tête est placé de façon que le bouton de verrouillage soit engagé dans l'encoche avant de voyager assis à cette place.

Relevance
Pour relever l'appuie-tête, tirez-le vers le haut.
Assurez-vous que l'appuie-tête est placé de façon que le bouton de verrouillage soit engagé dans l'encoche avant de voyager assis à cette place.

Abaisissement
Pour l'abaisser, maintenez le bouton de verrouillage enforcé, puis poussez l'appuie-tête vers le bas.
Assurez-vous que l'appuie-tête est placé de façon que le bouton de verrouillage soit engagé dans l'encoche avant de voyager assis à cette place.
CEINTURES DE SECURITÉ
PRECAUTIONS CONCERNANT L'UTILISATION DES CEINTURES DE SECURITÉ
En cas d'accident, les probabilités de blessures graves ou mortelles peuvent être considérablement réduites si vous étés assist bien au fond de votre siege, les deux pieds sur le plancher, et que vous bouclez correctement votre ceinture de sécurité. NISSAN conseille vivement à tous les occu-pants du vehicule de boucler leur ceinture de sécurité en tout temps pendant la conduite, même si la place qu'ils occupent est munie d'un sac gonflable.
Le port de la ceinture de sécurité pendant la conduite est obligatoire presque partout au Canada et aux États-Unis.

Asseyez-vous bien droit et au fond du siege.



Asseyez-vous bien croit et au fond du siège.



AVERTISSEMENT
- Tous les occupants du vehicule doivent toujours boucler leur ceinture de sécurité. Les enfants doivent être assist dans les sièges arrêté, installés dans un ensemble de retenue approprié.
- La ceinture de sécurité doit être serrée correctement. En cas d'accident, le non-respect de cette consigne peut réduire l'efficacité de tout le système de retenue et accroître les risques de blessures ainsi que la gravité de celles-ci. Le port incorrect d'une ceinture de sécurité peut entraîner des blessures graves, voir mortelles.
-
Faites toujours passer le baudrier sur votre épaulé et en travers de votre poitrine. Ne faites jamais passer le baudrier derrière votre dos, sous votre bras ou sur votre cou. La ceinture de sécurité ne doit reposer ni sur votre visage ni sur votre cou, et elle ne doit pas tomber de leur épaulé.
-
Placez la ceinture sous-abdominale aussi basse et aussi serrée que possible AU NIVEAU DES HANCHES, ET NON AU NIVEAU DE LA TAILLE. En cas d'accident, une ceinture sous-abdominale placé trop haut peut augmenter les risques de blessures internes.
Assurez-vous que la languette de la ceinture de sécurité est solidement attachée à la boucle appropriée. - Ne portez pas une ceinture de sécurité bouclée à l'envers ou dont la sangle est vrillée. Elle ne pourrait plus vous protégger aussi efficacement.
- Ne permettez pas à plus d'une personne de s'attacher avec la même ceinture de sécurité.
-
Le nombre de passagers à bord du vehicule ne doit jamais dépasser le nombre de ceintures de sécurité.
-
Si le témoin des ceintures de sécurité reste allumé alors que le commutateur principal est en position ON (marche), que toutes les portières sont fermées et que toutes les ceintures de sécurité sont bouchées, il est possible que le système soit défectueux. Faites vérifier le système. Nous vous recommandons de vous rendre chez un concessionnaire NISSAN LEAF certifié pour ce service.
- Aucune modification ne doit être apportée aux ceintures de sécurité. Par exemple, ne modifies pas la ceinture de sécurité et n'ajoute pas de garnitures ou de dispositifs qui pourraient modifier le cheminement ou la tension de la ceinture. Ces opérations pourraient compromètre le fonctionnement des ceintures de sécurité. Toute modification des ceintures de sécurité peut entraîner des blessures graves.
Lorsque les prétendeurs de ceinture de sécurité sont déclenchés,ils ne peuvent pas etre réutilisés et il faut les replacer en meme temps que I'enrouleur. Nous vous recomman-dons de vous rendre chez un concessionnaire NISSAN LEAF certifié pour ce service.
- Toutes les ceintures de sécurité, y compris les enrouleurs et le matériel de fixation, doivent être inspectées après une collision. Nous vous recommandons de vous rendre chez un concessionnaire NISSAN LEAF certifié pour ce service. NISSAN recommande le remplacement de toutes les ceintures de sécurité activées pendant une collision, à moins que cette collision n'ait été sans gravité, que les ceintures n'ait subi notamment dommage apparent et qu'elles fonctionnent encore correctement. Les ceintures de sécurité inutilisées à la suite d'une collision doivent aussi être inspectées. Elles doivent être replacées si un mauvais fonctionnement ou des dommages ont été décelés.
- Tous les ensembles de retenue d'enfant et le matériel de fixation doit être inspectés après une collision. Respectez toujours les directives de vérification et les recommandations de remplacement fournies par le fabricant de l'ensemble de retenue d'enfant. L'ensemble de retenue d'enfant doit être remplaced s'il est endommagé.

TEMOIN DES CEINTURES DE SÉCURITÉ
Les sièges du conducteur et du passager avant sont équipés d'un témoin des ceinture de sécurité. Le témoin qui se trouve sur le tableau de bord, indique l'état de la ceinture de sécurité du conducteur et du passager.
REMARQUE:
Le témoin de la ceinture de sécurité du passager avant ne s'allume pas si le siège n'est pas occupé.
Pour obtenir des renseignements supplémentaires, consultez la section « Témoins et rappels sonores » du chapitre « Commandes et instruments » du précédent manuel.
FEMMES ENCEINTES
NISSAN recommende aux femmes enceintes de porter leur ceinture de sécurité. Serez bien la ceinture de sécurité et voirlez à ce que la portion sous-abdominale repose aussi bas que possible sur vos hanches, et non sur votre taille. Placez le baudrier sur votre épaulé et en travers de votre poitrine. Ne placez jamais la ceinture à trois points d'ancrage sur votre abdomen. Consultez votre médecin pour obtenir des renseignements spécifique à votre situation.
PERSONNES BLESSEES
NISSAN recommende que les personnes blessées utilisent les ceintures de sécurité en fonction des blessures. Consultez vous médecin pour obtenir des renseignements spécifique à votre situation.
CEINTURE DE SECURITE À TROIS POINTS D'ANCRAGE AVEC ENROULEUR

AVERTISSEMENT
- Tous les occupants du vehicule doivent toujours boucler leur ceinture de sécurité.
- N'inclinez pas le dossier de votre siège lorsque le vehicule est en mouvement. Ceci peut se révêler très dangereux. Dans cette position, le baudrier de la ceinture de sécurité n'est pas appuyé contre votre corps. En cas d'accident, vous pourriez être projeté contre le baudrier et subir des blessures graves au cou ou à autres parties de votre corps. Vous pourriez également glisser sous la ceinture sous-abdominale et subir des blessures internes graves.
Pour bénéficier de la(Meilleure protection possible lorsquelé vehicule est en mouvement,le dossier de voitrésiege devrait etre en position verticale.Asseyez-vous tousjà la verticale et bien au fond de voitrésiege,les deux pieds sur le plancher,et reglez la ceinture de sécurité correctement.
- Ne laïsez pas les enfants jouer avec les ceintures de sécurité. La plupart des places assises sont munies de ceintures de sécurité avec enrouleur à blocage automatique. Si la ceinture de sécurité s'enroule autour du cou d'un enfant lorsque le mode de blocage automatique est activé, l'enfant peut être gravement blessé ou même tué si la ceinture de sécurité se rétracte et se tend. Cela peut arriver même si le vehicule est stationné. Détachez la ceinture de sécurité pour libérer l'enfant. Si la ceinture de sécurité ne peut pas être détachée ou l'est déjà, libéré z'enfant en coupant la ceinture de sécurité à l'aide d'un outil convenable ( comme un couteau ou des ciseaux) pour libérer la ceinture de sécurité.
Bouclage des ceintures de sécurité
- Reglez la position du siège. Pour obtenir des renseignements supplémentaires, consultez la section « Sièges » dans ce chapitre.

- Tirez lentement la ceinture de sécurité hors de l'enrouleur, puis insérez la languette dans la boucle jusqu'à ce que vous entendiez un déclic et que vous sentiez la languette se verrouiller.
L'enrouleur est concu pour se bloquer en cas de freinage brusque ou de collision. Si elle est tirée lentement, la ceinture de sécurité peut etre déroulée et offrir une certaine liberté de mouvement lorsque vous etes assis sur le siège.
- Si vous ne pouvez pas partager la ceinture de sécurité de l'enrouleur, tirez un coup sec sur la ceinture, puis relâchez-la immédiatement. Tirez ensuite doucement pour l'extraire de l'enrouleur.

- Placez la ceinture sous-abdominale bas sur les hanches et bien serrée, tel qu'illustré.
- Tirez le baudrier vers l'enrouleur pour éliminer le jeu de la ceinture. Assurez-vous que le baudrier passse sur votre épaulé et en travers de votre poitrine.
Les ceintures de sécurité à trois points d'ancrage du siège passager avant et des places arrrière fonctionnent en deux modes :
- Blocage d'urgence de l'enrouleur
- Blocage automatique de l'enrouleur
Le mode de blocage d'urgence permet de dérouler et d'enrouler la ceinture de sécurité pour assurer une certaine liberté de mouvement aux occipants. Le mode de blocage d'urgence bloque la ceinture en cas de décélération soudaine du vehicule ou de collision.
Le mode de blocage automatique de l'enroulleur ou mode de l'ensemble de retenue d'enfant bloque la ceinture de façon àMAINTER un ensemble de retenue d'enfant sur le siège.
Lorsque le mode de blocage automatique est activé, la ceinture de sécurité ne peut plus être déroulée, à moins que la languette de ceinture soit détachée de la boucle et qu'elle soit complètement rétractée. Une fois complètement rétractée, la ceinture de sécurité revient automatiquement au mode de blocage d'urgence. Pour obtenir des renseignements supplémentaires, consultez la section « Ensembles de retenue d'enfant » dans ce chapitre.
Le mode de Blocage Automatique de l'enrouleur ne doit être utilisé qu'aux fins d'installation d'un ensemble de retenue d'enfant. Le mode de blocage automatique ne doit pas être activé lorsqu'un passager utilise normalement la ceinture de sécurité. Si ce mode est activé, la tension dans la ceinture de sécurité pourrait être inconvertible pour le passager qui la porte. L'utilisation de ce mode modifies aussi le fonctionnement du sac gonflable du passager avant. Pour obtenir des renseignements supplémentaires, consultez la section « Sac gonflable du passager avant et tímoin de neutralisation » dans le present chapitre.

AVERTISSEMENT
Lorsque you bouclez les ceintures de sécurité, assurez-vous que les dos-siers de siège sont bien verrouillés. S'ils ne sont pas correctement verrouillés, les passagers pouraient etre blesses en cas d'accident ou d'arrêt brusque.

Débouclage des ceintures de sécurité
Pour déboucler la ceinture de sécurité, appuyez sur le bouton de la boucle. La ceinture de sécurité se rétracte automatique-ment.
Vérification du fonctionnement des ceintures de sécurité
Les enrouleurs des ceintures de sécurité sont conçus pour bloquer le mouvement de la ceinture de sécurité dans les deux cas suivants :
Lorsque la ceinture est tirée soudainement hors de l'enrouleur
Lorsque le vehicule ralentit brusquement
Pour vous assurer du bon fonctionnement des ceintures de sécurité, vérifiez-les de la façon suivante :
Saisissez le baudrier et tirez-le brusquement vers l'avant. L'enrouleur doit se verrouiller et bloquer la ceinture de sécurité.
Si l'enrouleur ne se verrouille pas durant la verification, faites vérifier le système. Il est recommendé de visitor un concessionnaire NiSSAN LEAF certifié pour cet entretien ou pour en apprendre davantage sur le fonctionnement de la ceinture de sécurité.

Centre de la banquette arrête
Bouclage des ceintures dans la bonne boute:
La boucle de la ceinture de sécurité centrale est identifiée par la mention « CEN-TER » (centre) A. La languette de la ceinture de sécurité centrale s'attaché uniquement à la boucle de la ceinture de sécurité centrale.

Réglage de la hauteur du baudrier (sièges avant)
La hauteur de l'ancrage du baudrier doit être réglée à la position qui est la plus comfortable pour vous. Pour obtenir des renseignements supplémentaires, consultez la section « Précautions concernant l'utilisation des ceintures de sécurité » plus loin dans ce chapitre.
Pour procéder au réglage, tirez le bouton de réglage ①, puis déplacez l'ancrage du baudrier jusqu'à la position souhaitation ② de sorte que la ceinture passée au centre de l'épaule. La ceinture de sécurité ne doit reposer ni sur votre visage, ni sur votre cou, et elle ne doit pas tomber de votre épaule. Relâchéz le bouton de réglage pour verruiller l'ancrage du baudrier.

AVERTISSEMENT
- Une fois le réglage terminé, reliâchez le bouton de réglage, puis essayez de déplacer l'ancrage du baudrier vers le haut et vers le bas pour vous assurer qu'il est bien verrouillé.
- La hauteur de l'ancrage du baudrier doit être réglée à la position qui est la plus comfortable pour vous. En cas d'accident, le non-respect de cette consigne peut réduire l'efficacité de tout le système de retenue et accroître les risques de blessures ainsi que la gravité de celles-ci.

Crochet de ceinture de sécurité
Lorsque les ceintures de sécurité ne sont pas utilisées et que vous rabattez les sièges arrrière, placez les ceintures de sécurité extérieures arrrière sur les crochets de ceinture de sécurité.
RALLONGES DE CEINTURE DE SECURITE
Si la corpulence de la personne ou sa position de conduite rendent impossible le port normal de la ceinture de sécurité, une rallonge de ceinture de sécurité peut etre achetee separately. La rallonge de ceinture de sécurité allonge la ceinture d'environ 200 mm (8 po) et peut etre utilisée pour les sièges du conducteur et du passager avant. Si vous souhaitez acheter une rallonge de ceinture de sécurité, nous vous recommendons de vous rendre chez un concessionnaire NISSAN LEAF certifié.

AVERTISSEMENT
- Seules les rallonges de ceintures de sécurité NISSAN, fabriquées par la même entreprise qui a conscience les ceintures de sécurité d'origine, doivent être utilisées sur les ceintures de sécurité NISSAN.
-
Les adultes et les enfants qui peuvent utiliser la ceinture de sécurité d'origine ne doivent pas utiliser la rallonge. L'utilisation inutile d'une rallonge pourrait entrainer des blessures graves en cas d'accident.
-
N'utilisez jamais de rallonge de ceinture de sécurité pour l'installation d'un ensemble de retenue d'enfant. Si l'ensemble de retenue d'enfant n'est pas fixé correctement, l'enfant pourrait être tué ou gravement blessé en cas de collision ou d'arrêt brusque.
ENTRETIEN DES CEINTURES DE SECURITE
Pour nettoyer les sangles des ceintures de sécurité, utilisez une solution de savon doux ou toute solution recommendée pour le nettoyage des revêtements de siege ou des tapis. Essuyez-les ensuite avec un chiffon et laissez-les secher à l'ombre. Ne laisser pas les ceintures de sécurité se rétracter avant qu'elles soient complètement sèches.
- Si de la saleté s'accumule dans le guide du baudrier des ancrages de ceinture de sécurité, les ceintures de sécurité pourraient se rétracter lentement. Essuyez le guide du baudrier avec un chiffon propre et sec.
- Vérifiez régulièrement le bon fonctionnement des ceintures de sécurité et des composants métalliques, tels que les bouches, les languettes, les enrouleurs, les cables flexibles et les ancrages. Si vous constatEZ la présence de pieces desserrées ou de sangles usées, entaillées ou autrement endommagées, vous nevez procéder au remplacement complet de la ceinture de sécurité.
SECURITE DES ENFANTS

AVERTISSEMENT
Ne laisser que les enfants jouer avec les ceintures de sécurité. La plupart des places assises sont munies de ceintures de sécurité avec enrouleur à blocage automatique. Si la ceinture de sécurité s'enroule autour du cou d'un infant lorsque le mode de blocage automatique est activé, l'enfant peut être gravement blessé ou même tué si la ceinture de sécurité se rétracte et se tend. Cela peut arriver même si le vehicule est stationné. Detachez la ceinture de sécurité pour libérer l'enfant. Si la ceinture de sécurité ne peut pas être détachée ou l'est déjà, librez l'enfant en coupant la ceinture de sécurité à l'aide d'un outil convenable ( comme un couteau ou des ciseaux) pour libreter la ceinture de sécurité.
Les enfants ont besoin de l'aide des femmes pour être bien protégés. Ils doivent être retenus ajustement.
En plus des renseignements généraux du present manuel, des renseignements de sécurité au sujet des enfants sont disponibles auprès de nombreuses sources, no-
tament les medecins, les professeurs, les agences gouvernementales de sécurité routière et les organismes communautaires. Chaque enfant est différent. Assurez-vous donc de transporter votre enfant de la façon la plus appropriée pour lui.
Il existe trois types élémentaires d'ensembles de retenue d'enfant :
- Ensemble de retenue d'enfant orienté vers l'arrête
- Ensemble de retenue d'enfant orienté vers l'avant
-Rehausseur
L'ensemble de retenue ajustat varie en fonction de la taille de l'enfant. En général, les bébés âgés d'un an et moins et pesant moins de 9 kg (20 lb) doivent être placés dans un ensemble de retenue d'enfant orienté vers l'arrière. Des ensembles de retenue d'enfant orientés vers l'avant sont disponibles pour les enfants âgés d'au moins un an qui sont trop grands pour les ensembles de retenue d'enfant orientés vers l'arrière. Les sièges d'appoint servent à favoriser le positionnement de la ceinture de sécurité à trois points d'ancrage sur un
enfant qui ne peut plus utiliser un ensemble de retenue d'enfant orienté vers l'avant.

AVERTISSEMENT
Les bébés et les enfants exigent une protection particulière. Les ceintures de sécurité du vehicule peuvent ne pas s'adapter correctement à leur taille. Le baudrier peut passer trop pres de leur visage ou de leur cou. La ceinture sous-abdominale peut ne pas s'adapter à leurs hanches. En cas d'accident, une ceinture de sécurité mal place risque de causeur des blessures graves ou mortelles. Utilisez toujours des ensembles de retenue d'enfant appropriés.
Au Canada et aux États-Unis, l'utilisation d'ensembles de retenue d'enfant homologues est obligatoire pour les bébés et les jeunes enfants. Pour obtenir des renseignements supplémentaires, reportez-vous au chapitre « Ensembles de retenue d'enfant » dans cette section.
Un ensemble de retenue d'enfant peut'être arrimé dans le vehicule au moyen du système LATCH (points d'ancrage inférieurs et sangles d'ancrage pour siège d'enfant) ou
de la ceinture de sécurité de vehicule. Pour obtenir des renseignements supplémentaires, reportez-vous au chapitre « Ensembles de retenue d'enfant » dans cette section.
NISSAN you recommend de faire asseoir les preadolescents et les enfants a l'arriere et de veiller a ce qu'ils soient bien retenus. Selon les statistiques relatives aux accidents, les enfants sont plus en sécurité s'ils sont correctement retenus sur un siège arrêt que sur un siège avant.
Cette statistique est particulièrement importante si l'on considère quevotes vehicule est muni d'un système de retenue supplémentaire (sacs gonflables) pour le siège du passager avant. Pour obtaining des renseignements supplémentaires, reportez-vous au chapitre « Système de retenue supplémentaire (SRS) » dans cette section.
BÉBÉS
Assoyez les bébés d'un an et moins dans un ensemble de retenue d'enfant orienté vers l'arrière. NISSAN recommende d'as-
seoir les bébés dans un ensemble de retenue d'enfant conforme aux normes de sécurité des vehicules automobiles du Canada ou aux normes des Federal Motor Vehicle Safety Standards des États-Unis. Choisissez un ensemble de retenue d'enfant adaptable à votre vehicule et suivez plusieurs les directives du fabricant concernant l'installation et l'utilisation.
JEUNES ENFANTS
Les enfants âgés de plus d'un an et pesant au moins 9 kg (20 lb) doivent être assist dans un ensemble de retenue d'enfant orienté vers l'arrière aussi longtemps que le permet la limite de hauteur ou de poids de l'ensemble de retenue d'enfant. Les enfants dont la taille ou le poids n'est plus conforme à la limite prescrite de l'ensemble de retenue d'enfant orienté vers l'arrière, et qui sont âgés d'au moins un an, doivent être attachés dans un ensemble de retenue d'enfant orienté vers l'avant au moyen d'un harnais. Consultez les instructions du fabricant relatives à la taille et au poids minimaux et maximaux recomman-dés. NISSAN recommende d'asseoir les jeunes enfants dans un ensemble de rete
nue d'enfant conforme aux normes de sécurité des vehicules automobiles du Canada ou aux normes des Federal Motor Vehicle Safety Standards des États-Unis. Choisissez un ensemble de retenue d'enfant ajusté à votre vehicule et suivez plusieurs les instructions du fabricant concernant l'installation et l'utilisation.
ENFANTS PLUS AGÉS
Les enfants doivent être attachés dans un ensemble de retenue d'enfant au moyen d'un harnais jusqu'à ce qu'ilsatteignent la limite de taille ou de poids maximale prescrite par le fabricant de l'ensemble de retenue d'enfant.
Lorsque la taille ou le poids d'un enfant n'est plus conforme à la limite prescrite de l'ensemble de retenue d'enfant orienté vers l'avant muni d'un harnais, NISSAN recommande de placer l'enfant dans un siège d'appoint disponible sur le marché afin de permettre le réglage ajustat de la ceinture de sécurité. Pour permettre le réglage ajustat de la ceinture de sécurité, le siège d'appoint doit élever l'enfant de sorte que le baudrier passé sur la poitrine et la partie centrale supérieure de l'épaule. Le
baudrier ne doit pas passer sur le cou ou le visage et ne doit pas tomber de l'épaule. La ceinture sous-abdominale doit être bien positionné sur la partie inférieure des hanches ou la partie supérieure des cuisses et ne doit pas reposer sur l'abdomen. Utilisez un siège d'appoint seulement aux places munies d'une ceinture de sécurité à trois points d'ancrage. Le siège d'appoint doit être adapté au siège du vehicule et pourvu d'une étiquette certifiant son homologation aux normes de sécurité des vehicules automobiles du Canada ou aux normes des Federal Motor Vehicle Safety Standards des États-Unis.
Voudevezutiliserunsiège d'appoint jusqu'àce queyoupuissiezinstallercorrectementla ceinture de sécurité en respectantlespoints de verification décritescidessous:
- Le dos et les hanches de l'enfant s'appuient-ils contre le dossier du siège?
L'enfant est-il en mesure de s'asseoir s'affaisser? - Les genoux de l'enfant se plient-ils aisément sur le bord avant du siège, les pieds à plat sur le plancher?
L'enfant peut-il porter la ceinture de sécurité en toute sécurité (ceinture sous-abdominale basse et ferme contre les hanches et sangle de baudrier sur le milieu de l'épaule et la poitrine)?
-L'enfant est-il en mesure d'utiliser l'appuie-tete correctement ajusté?
- L'enfant est-il en mesure de rester en positionpendant tout le déplacement?

Si vous avez répondu non à une de ces questions, l'enfant doit rester attaché dans un siège d'appoint à l'aide d'une ceinture de sécurité à trois points d'ancrage.
REMARQUE:
Dans certaines régions, la législation peut imposer des directives différentes. Avant le départ, vérifie les lois et les règlements de l'etat ou de la province pour vous assurer que votre enfant utilise l'ensemble de retenue ajustat.

AVERTISSEMENT
Ne laïssez jamais les enfants voyager debout ou à genoux sur un siège, et ne leur permettez jamais l'accès à l'espace à bagages. En cas d'accident ou d'arrêt brusque, les enfants pouraient subir des blessures graves et même mortelles.
DISPOSITIFS DE RETENUE POUR ENFANT


PRECAUTIONS CONCERNANT LES ENSEMBLES DE RETENUE D'ENFANT

AVERTISSEMENT
-
Le non-respect des avertissements et des directives relatives à l'utilisation et à l'installation correctes des ensembles de retenue d'enfant pourrait entraîner des blessures graves, voir mortelles, aux enfants ou autres passagers, en cas d'accident ou d'arrêt brusque.
-
L'ensemble de retenue d'enfant doit être utilisé et installé correctement. Suivez toujours toutes les directives d'installation et d'utilisation fournies par le fabricant de l'ensemble de retenue d'enfant.
- Les bébés et les enfants ne doivent jamais être assis sur les genoux d'un occupant. Meme l'adulte le plus fort n'est pas en mesure de lutter contre les forces en jeu au cours d'une collision.
-
N'utilisez jamais la même ceinture de sécurité pour un enfant et une autre personne.
-
NISSAN recommende que tous les ensembles de retenue d'enfant soient installés sur le siège arrière. Les études montrent que les enfants sont plus en sécurité s'ils sont correctement retenus sur un siège arrière只不过 que sur un siège avant. Si vousdezest installer un ensemble de retenue d'enfant orienté vers l'avant sur le siège avant, consultez la section « Installation d'un ensemble de retenue d'enfant à l'aide des ceintures de sécurité » dans le present chapitre.
-
Bien que ce vehicule soit muni du dispositif de sac gonflable perfectionné NISSAN, n'installé jamais sur le siège passager avant un ensemble de retenue d'enfant orienté vers l'arrière. Un sac gonflable qui se déploie peut infliger des blessures graves, voire mortelles, à un infant. Un ensemble de retenue d'enfant orienté vers l'arrière doit être installé seulement sur le siège arrière.
-
Au moment d'acheter un tel dispos-itif, assurez-vous qu'il est adapte à l'enfant et au vehicule. Certains ensembles de retenue d'enfant peuvent ne pas s'adpter correctement dans votre vehicule.
-
Les points d'ancrage des ensembles de retenue d'enfant sont concus pour résister uniquement aux charges imposées par des ensembles de retenue d'enfant correctement installés. Les points d'ancrage ne doivent enaucun cas être utilisés pour fixer les ceintures de sécurité pour femmes ou d'autres éléments ou équipements sur le vehicule. Vous pourriez endommager les points d'ancrage des ensembles de retenue d'enfant. Les ensembles de retenue d'enfant ne seront pas correctement installés si vous utilise des points d'ancrage endommagés et un enfant poursrait subir des blessures graves, voire mortelles en cas de collision.
-
N'utilisez jamais les points d'ancrage pour les ceintures de sécurité ou autres éléments.
- Un ensemble de retenue d'enfant muni d'une courroie d'attache supérieure ne doit pas etre installé sur le siège du passager avant.
- Gardez le dossier aussi à la verticale que possible après l'installation de l'ensemble de retenue d'enfant.
- Pendant les trajets en voiture, les bébés et les jeunes enfants doivent toujours être assis dans un ensemble de retenue approprié.
- Lorsque l'ensemble de retenue d'enfant est inutilisé, laissez-le assujetti à l'aide du système LATCH ou d'une ceinture de sécurité. Lors d'un arrêt brusque ou d'une collision, les objets non retenus peuvent blesser les occupants ou endommager le vehicule.

MISE EN GARDE
Un ensemble de retenue d'enfant laissé dans un vehicule fermé peut devenir très chaud. Vérifiez la température des surfaces et des boucles du siège avant d'y déposer un enfant.
Ce vehicule est muni d'un système univers- sel d'ancrages dédié aux ensembles de re- tenue d'enfant appelé système LATCH (points d'ancrage inférieurs et sangles d'ancrage pour siège d'enfant).Certains ensembles de retenue d'enfant sont munis de fixations rigides ou montées sur une sangle qui peuvent être fixées à ces points d'ancrage.
Pour obtenir des renseignements supplémentaires, consultez la section « Système LATCH (Lower Anchors and Tethers for Children - points d'ancrage inférieurs et sangles d'ancrage pour siège d'enfant) » dans ce chapitre.
Si vous ne détenez pas un ensemble de retenue d'enfant compatible avec le système LATCH, vous pouvez utiliser les ceintures de sécurité du vehicule.
Plusieurs fabricants offrent des ensembles de retenue pour bébés et jeunes enfants de différentes tailles. Lorsque vous désisissez un ensemble de retenue d'enfant, il est essentiel de tener compte des points suivants:
- Ne choisissez qu'un ensemble de retenue d'enfant portant une étiquette certifiant son homologation à la norme de sécurité 213 des vehicules automobiles du Canada ou à la norme de sécurité 213 des Federal Motor Vehicle Safety Standards des États-Unis.
Assurez-vous que l'ensemble de retenue d'enfant s'adapte correctement à votre vehicule et qu'il est compatible avec le siège et la ceinture de sécurité du vehicule. -
Si l'ensemble de retenue d'enfant est compatible avec votre vehicule, placez votre enfant dans l'ensemble et vérifie-en les divers réglages pour vous assurer qu'il convient à la taille de votre enfant. Choisissez un ensemble de retenue d'enfant adaptable à la taille et au poids de votre enfant. Respectez toujours toutes les instructions fournies.
-
Si le poids total de l'enfant et de l'ensemble de retenue d'enfant est de moins de 29,5 kg (65 lb), vous pouvez utiliser les ancrages LATCH ou la ceinture de sécurité pour installer l'ensemble de retenue d'enfant (non pas les deux en même temps).
- Si le poids total de l'enfant et de l'ensemble de retenue d'enfant est supérieur à 29,5 kg (65 lb), utilisez la ceinture de sécurité du vehicule (et non les ancrages inférieurs) pour installer l'ensemble de retenue d'enfant.
- Respectez les instructions d'installation de l'ensemble de retenue d'enfant fournies par le fabricant.
Au Canada et aux États-Unis, l'utilisation d'ensembles de retenue d'enfant homologues est obligatoire pour les bébés et les jeunes enfants. La reglementation canadienne exige que la courroie d'attache supérieure d'un ensemble de retenue d'enfant orienté vers l'avant soit fixée au point d'ancrage désigné du vehicule.

SYSTÉME LATCH (LOWER ANCHORS AND TETHERS FOR CHILDREN - POINTS D'ANCRAGE INFÉRIÉURS ET SANGLES D'ANCRAGE POUR SIÉGE D'ENFANT)
Votre vehicule est muni de points d'ancrage speciaux destinés aux ensembles deretenue d'enfant compatibles avec le système LATCH. Il est aussi désigné sous les noms d'ISOFIX ou de système conforme à la norme ISOFIX. Grâce à ce système, il n'est pas nécessaire d'utiliser une ceinture de sécurité du vehicule pour fixer l'ensemble
de retenue d'enfant à moins que le poids total de l'enfant et de l'ensemble de retenue d'enfant dépasse 29,5 kg (65 lb). Si le poids total de l'enfant et de l'ensemble de retenue d'enfant est supérieur à 29,5 kg (65 lb), utilisez la ceinture de sécurité du vehicule (et non les ancrages inférieurs) pour installer l'ensemble de retenue d'enfant. Respectez les instructions d'installation de l'ensemble de retenue d'enfant fournies par le fabricant.
Les points d'ancrage inférieurs du système LATCH permettent d'installer des ensembles de retenue d'enfant aux places d'extrémité arrêté seulement. N'essayez pas d'instructor un ensemble de retenue d'enfant au centre de la banquette à l'aide des points d'ancrage inférieurs du système LATCH.
Point d'ancrage inférieur du système LATCH

AVERTISSEMENT
Le non-respect des avertissements et des directives relatives à l'utilisation et à l'installation correctes des ensembles de retenue d'enfant pourrait entraîner des blessures graves, voire mortelles, aux enfants ou autres passagers, en cas d'accident ou d'arrêt brusque.
- Attaches les ensembles de retenue d'enfant compatibles avec le système LATCH uniquement aux emplacements indiqués.
-
Ne fixez pas un ensemble de retenue d'enfant au centre de la banquette arrêté en utilisant les points d'ancrage inférieurs du système LATCH. L'ensemble de retenue d'enfant n'y serait pas fixé ajustatement.
-
Glissez vos doigts dans les ancrages inférieurs. Assurez-vous qu'ils ne sont pas entravés par une sangle de ceinture de sécurité ou par le tissu du coussin de siège. L'ensemble de retenue d'enfant ne pourrait pas'être fixé solidement si les ancrages inférieurs sont entravés.
- Les points d'ancrage des ensembles de retenue d'enfant sont conçus pour résister uniquement aux charges imposées par des ensembles de retenue d'enfant correctement installés. Les points d'ancrage ne doivent enaucun cas être utilisés pour fixer les ceintures de sécurité pour adultes ou d'autres éléments ou équipements sur le vehicule. Vous pourriez endommager les points d'ancrage des ensembles de retenue d'enfant. Les ensembles de retenue d'enfant ne seront pas correctement installés si vous utilisez des points d'ancrage endommages et un enfant pourrait subir des blessures graves, voire mortelles en cas de collision.

Emplacement des points d'ancrage inférieurs du système LATCH
Emplacement des points d'ancrage inférieurs du système LATCH
Les ancrages inférieurs du système LATCH sont situés derrière le coussin de siège, après du dossier. Une étiquette indiquant la position des ancrages inférieurs du système LATCH est apposée sur le dossier du siège.

Fixation montée sur sangle du système LATCH
Installation des fixations des ancrages inférieurs du système LATCH pour ensemble de retenue d'enfant
Les ensembles de retenue d'enfant compatibles avec le système LATCH comptent deux fixations rigides ou montées sur une sangle qui peuvent être fixées à deux points d'ancrage situés à certaines places dans le vehicule. Grâce à ce système, il n'est pas nécessaire d'utiliser une ceinture de

Fixation rigide du système LATCH
sécurities du vehicule pour fixer l'ensemble de retenue d'enfant. Vérifiez si votre ensemble de retenue d'enfant comporte une étiquette mentionnant la compatibilité avec le système LATCH. Ces renseignements peuvent aussi se trouver dans les directives fournies par le fabricant de l'ensemble de retenue d'enfant.
Lorsque you installez un ensemble de retenue d'enfant, suivez rigoureusement les directives données dans ce manuel ainsi que celles fournies avec l'ensemble de retenue d'enfant.
Ancrage de la courroie supérieure

AVERTISSEMENT
-
Si le couvre-bagages (selon l'équipement) touche à la courroie d'attache supérieure lorsqu'elle est fixeé au point d'ancrage supérieur, retirez le couvre-bagages (selon l'équipement) du vehicule ou fixez-le sur le plancher de l'aire de chargement sous son point de fixation. En cas de collision (selon l'équipement), la courroie d'attache supérieure pourrait être endommagée si le couvre-bagages n'est pas retireé. Si la courroie d'attache supérieure d'un ensemble de retenue d'enfant est endommagée, votre enfant pourrait subir des blessures graves, voir mortelles en cas de collision.
-
Ne laïsez aucun article range dans l'aire de chargement entrer en contact avec la couroie d'attache supérieure d'un ensemble de retenue d'enfant. Arrimez le charge ment de sorte qu'il ne touche pas la couroie d'attache supérieure. Les articles qui ne sont pas correctement arrimés ou qui touchent à la couroie d'attache supérieure peuvent endommager la couroie d'attache supérieure en cas de collision. Si la couroie d'attache supérieure d'un ensemble de retenue d'enfant est endommagée, votre enfant pourrait subir des blessures graves, voir mortelles en cas de collision.
-
Les points d'ancrage des ensembles de retenue d'enfant sont concus pour résister uniquement aux charges imposées par des ensembles de retenue d'enfant correctement installés. Les points d'ancrage ne doivent enaucun cas etre utilisés pour fixer les ceintures de sécurité pour adultes ou d'autres éléments ou équipements sur le vehicule. Vous pourriez endommager les points d'ancrage des ensembles de retenue d'enfant. Les ensembles de retenue d'enfant ne seront pas correctement installés si vous utilisez des points d'ancrage endommages et un enfant pourrait subir des blessures graves,voire mortelles en cas de collision.

Emplacement des points d'ancrage de la sangle supérieure :
Les points d'ancrage sont situés à l'arrière des dossiers de siège.
Voudevezutiliserlacourroied'attachesupérieurede l'ensemble de retenue d'enfantlorsqueyouinstallezunensembled'retenueau moyen desfixationsdesancragesinférieursdu systeme LATCH ou desceinturesdesecurite.Pourobtenirdes renseignements supplémentaires,consultezla section《Installationdelacourroied'attachesupérieure》 danslepresentchapitre.
Si vous avez des questions au sujet de l'installation d'une courroie d'attache supérieure, nous vous recommandons de consulter un concessionnaire NISSAN LEAF certifié pour obtenir de plus amples renseignements.
INSTALLATION D'UN ENSEMBLE DE RETENUE D'ENFANT ORIENTÉ VERS L'ARRÊRE AU MOYEN DU SYSTème LATCH
Pour obtenir des renseignements supplémentaires, consultez les avertissements et les mises en garde contenus dans les sections « Sécurité des enfants » et « Ensembles de retenue d'enfant » duprésent chapitre avant d'installer un ensemble de retenue d'enfant.
N'utilisez pas les ancrages inférieurs si le poids total de l'enfant et de l'ensemble de retenue d'enfant dépasse 29,5 kg (65 lb). Si le poids total de l'enfant et de l'ensemble de retenue d'enfant est supérieur à 29,5 kg (65 lb), utilisez la ceinture de sécurité du vehicule (et non les ancrages inférieurs)
pour installer l'ensemble de retenue d'enfant. Respectez les instructions d'installation de l'ensemble de retenue d'enfant fournies par le fabricant.
Suivez les étapes ci-dessous pour installer un ensemble de retenue d'enfant orienté vers l'arrière à l'aide du système LATCH :
- Placez l'ensemble de retenue d'enfant sur le siège. Respectez toujours les instructions du fabricant de l'ensemble de retenue d'enfant.

Ensemble de retenue d'enfant orienté vers l'arrière, fixations montées sur une sangle - étape 2
- Fixez les fixations de l'ensemble de retenue d'enfant aux points d'ancrage inférieurs du système LATCH. Assurez-vous que la fixation du système LATCH est bien fixée aux ancrages inférieurs.

Ensemble de retenue d'enfant orienté vers l'arrière, fixations rigides - étape 2

Ensemble de retenue d'enfant orienté vers l'arrière - étape 3
- Dans le cas des ensembles de retenue d'enfant dotés de fixations montées sur une sangle, éliminez le jeu additionnel à partir des points d'ancrage. Poussez fermement vers le bas et vers l'arrière au centre de l'ensemble de retenue d'enfant avec la main pour comprimer le coussin et le dossier du siège du vehicule tout en serrant les sangles des points d'ancrage.

Ensemble de retenue d'enfant orienté vers l'arrière - étape 4
- Vérifiez la solidité de la fixation de l'ensemble de retenue avant d'y asseoir un enfant. Poussez-le latérallement en tenant le siège après du point d'ancrage du système LATCH. L'ensemble de retenue d'enfant ne doit pas bouger de plus de 25 mm (1 po) latérallement. Essayez de le tirer vers l'avant et assurez-vous que la fixation du système LATCH le maintain en place correctement. Si l'ensemble de retenue est mal fixé, resserrez davantage la fixation du système LATCH, ou
installez l'ensemble sur un autre siège, puis vérifie de nouveau la solidité de la fixation. Vous devrez peut-être essayer un ensemble de retenue d'enfant différent ou essayer de l'instructor au moyen de la ceinture de sécurité du vehicule (le cas échéant). Les ensembles de retenue d'enfant ne convennent pas à tous les vehicules.
- Assurez-vous que le dispositif est fixé solidement avant chaque utilisation. Si l'ensemble de retenue d'enfant est lâche, repêze les étapes 2 à 4.
INSTALLATION D'UN ENSEMBLE DE RETENUE D'ENFANT ORIENTÉ VERS L'ARRÊRE À L'AIDE DES CEINTURES DE SECURITÉ

AVERTISSEMENT
Voudevezutiliserla ceinturede secu ritea trois points munie d'un enrouleur a mode de blocage automatique pour l'installation d'un ensemble de retenue d'enfant.L'ensemble de retenue d'enfant ne peut pas etre fixe solidement si vous n'utilise pas le mode de blocage automatique de I'enrouleur. L'ensemble de retenue risque de se renverser ou de se detacher en cas d'arrêt brusque ou d'accident,et I'enfant pourrait alors etre blessé.II a egalement une incidence sur le fonctionnement du sac gonflable du passager avant.Pour obtenir des renseignements supplémentaires,consultez la section « Sac gonflable du passager avant et témoin de neutralisation » dans le present chapitre.
Pour obtenir des renseignements supplémentaires, consultez les avertissements et les mises en garde contenus dans les sections « Sécurité des enfants » et « Ensembles de retenue d'enfant » du présent manuel avant d'installer un ensemble de retenue d'enfant. N'utilise pas les ancreges inférieurs si le poids total de l'enfant et de l'ensemble de retenue d'enfant dépasse 29,5 kg (65 lb). Si le poids total de l'enfant et de l'ensemble de retenue d'enfant est supérieur à 29,5 kg (65 lb), utilisez la ceinture de sécurité du vehicule (et non les ancreges inférieurs) pour installer l'ensemble de retenue d'enfant. Respectez les instructions d'installation de l'ensemble de retenue d'enfant fournies par le fabricant.
Suivez les étapes suivantes pour installer un ensemble de retenue d'enfant orienté vers l'arrière à l'aide d'une ceinture de sécurité des sièges arrêté:

Ensemble de retenue d'enfant orienté vers l'arrière - étape 1
- Les ensembles de retenue d'enfant doivent être orientés vers l'arrière; par conséquent, ils ne doivent jamais être installés à l'avant du vehicule. Placez l'ensemble de retenue d'enfant sur le siège. Respectez toujours les instructions du fabricant de l'ensemble de retenue d'enfant.

Ensemble de retenue d'enfant orienté vers l'arrière - étape 2
- Faites passer la languette de la ceinture de sécurité en travers de l'ensemble deretenue d'enfant, puis inserez-la dans la boute jusqu'à ce que vous entendiez un déclic et que vous sentiez la languette se verrouiller. Respectez les instructions d'acheminement de la ceinture de sécurité du fabricant de l'ensemble deretenue d'enfant.

Ensemble de retenue d'enfant orienté vers l'arrière - étape 3
- Tirez sur le baudrier jusqu'à ce que la ceinture soit complètement déployée. L'enrouleur de la ceinture de sécurité passée alors en mode de blocage automatique (mode d'ensemble de retenue d'enfant). Une fois la ceinture de sécurité complètement rétractée, elle revient en mode de blocage d'urgence.

Ensemble de retenue d'enfant orienté vers l'arrière - étape 4
- Laissez la ceinture de sécurité se rétracter. Tirez sur le baudrier pour éliminer tout jeu de la courroie.

Ensemble de retenue d'enfant orienté vers l'arrière - étape 5
- Éliminez tout jeu additionnel de l'ensemble de retenue d'enfant. Appuyez fermement vers le bas et vers l'arrière au centre de l'ensemble de retenue d'enfant avec votre genou pour comprimer le coussin et le dossier du siège du vehicule tout en serrant la ceinture de sécurité.

Ensemble de retenue d'enfant orienté vers l'arrière - étape 6
- Vérifiez la solidité de la fixation de l'ensemble de retenue avant d'y asseoir un enfant. Poussez-le latéralement en tenant l'ensemble de retenue d'enfant près du trajet de la ceinture de sécurité. L'ensemble de retenue d'enfant ne doit pas bouger de plus de 25 mm (1 po) latéralement. Essayez de le tirer vers l'avant et assurez-vous que la ceinture de sécurité le maintain en place correctement. Si l'ensemble de retenue est mal fixé, resserrez davantage la ceinture
de sécurité, ou installez l'ensemble sur un autre siège, puis vérifie de nouveau la solidité de la fixation. Vous devrez peut-être essayer un ensemble de retenue d'enfant différent. Les ensembles de retenue d'enfant ne convennent pas à tous les vehicules.
- Assurez-vous que le dispositif est fixé solidement avant chaque utilisation. Si la ceinture de sécurité n'est pas verrouillée, repêze les étapes 1 à 6.
Une fois l'ensemble de retenue enlevé et la ceinture de sécurité entièrement rétractée, le mode de blocage automatique (mode d'ensemble de retenue d'enfant) est dés-activé.
INSTALLATION D'UN ENSEMBLE DE RETENUE D'ENFANT ORIENTÉ VERS L'AVANT AU MOYEN DU SYSTEME LATCH
Pour obtenir des renseignements supplémentaires, consultez les avertissements et les mises en garde contenus dans les sections « Sécurité des enfants » et « Ensembles de retenue d'enfant » du présent ma
nuel avant d'installer un ensemble de retenue d'enfant.
N'utilisez pas les ancrages inférieurs si le poids total de l'enfant et de l'ensemble de retenue d'enfant dépasse 29,5 kg (65 lb). Si le poids total de l'enfant et de l'ensemble de retenue d'enfant est supérieur à 29,5 kg (65 lb), utilisez la ceinture de sécurité du vehicule (et non les ancrages inférieurs) pour installer l'ensemble de retenue d'enfant. Respectez les instructions d'installation de l'ensemble de retenue d'enfant fournies par le fabricant.
Suivez les étapes ci-dessous pour installer un ensemble de retenue d'enfant orienté vers l'avant à l'aide du système LATCH :
- Placez l'ensemble de retenue d'enfant sur le siège. Respectez toujours les instructions du fabricant de l'ensemble de retenue d'enfant.

Ensemble de retenue d'enfant orienté vers l'avant (fixations montées sur une sangle) - étape 2
- Fixez les fixations de l'ensemble de retenue d'enfant aux points d'ancrage inférieurs du système LATCH. Assurez-vous que la fixation du système LATCH est bien fixée aux ancrages inférieurs.
Si l'ensemble de retenue d'enfant est doté d'une courroie d'attache supérieure, acheminez la courroie d'attache supérieure, puis fixez la courroie d'attache au point d'ancrage de la sangle.
Pour obtenir des renseignements supplémentaires, consultez la section « Installation de la courroie d'attache supérieurie » dans leprésent chapitre.
N'installez pas d'ensembres de retenue d'enfant qui exigent l'utilisation d'une courroie d'attache supérieure à une place qui n'est pas dotée d'un point d'ancrage de courroie supérieure.

Ensemble de retenue d'enfant orienté vers l'avant, fixations rigides - étape 2
- L'arrière de l'ensemble de retenue d'enfant doit être fixé au dossier du siège.
Au besoin, retirez l'appuie-tete pour bien installer l'ensemble de retenue d'enfant. Si vous avez retirel l'appuie-tete, rangez-le en lieu sur. N'oubliez pas de réinstaller l'appuie-tete lorsque vous retirez l'ensemble de retenue d'enfant. Pour obtenir des renseignements supplémentaires, consultez la section « Appuie-tete » dans ce chapitre.
Si l'appuie-tete de la place assise n'est pas reglable ou s'il nuit à l'installation de l'ensemble de retenue d'enfant, essayez une autre place assise ou un autre ensemble de retenue d'enfant.

Ensemble de retenue d'enfant orienté vers l'avant - étape 4
- Dans le cas des ensembles de retenue d'enfant dotés de fixations montées sur une sangle, éliminez le jeu additionnel à partir des points d'ancrage. Poussez fermement vers le bas et vers l'arrière au centre de l'ensemble de retenue d'enfant avec votre genou pour comprimer le coussin et le dossier du siège du vehicule tout en serrant les sangles des points d'ancrage.
- Pour-retirer toutjeu de la courroie,serrez
celle-ci conformement aux instructions
du fabricant.

Ensemble de retenue d'enfant orienté vers l'avant - étape 6
- Vérifiez la solidité de la fixation de l'ensemble de retenue avant d'y asseoir un enfant. Pousseze-le latérallement en tenant l'ensemble de retenue d'enfant pres du point d'ancrage du système LATCH. L'ensemble de retenue d'enfant ne doit pas bouger de plus de 25 mm (1 po) latéralément. Essayez de le tirer vers l'avant et assurez-vous que la fixation du système LATCH le maintain en place correctement. Si l'ensemble de retenue est mal fixé, resserrez davantage
la fixation du système LATCH, ou installez l'ensemble sur un autre siège, puis vérifie de nouveau la solidité de la fixation. Vous devrez peut-être essayer un ensemble de retenue d'enfant différent. Les ensembles de retenue d'enfant ne convennent pas à tous les vehicules.
- Assurez-vous que l'ensemble de retenue d'enfant est bien fixé avant chaque utilisation. Si l'ensemble de retenue d'enfant est l'âche, repêze les étapes 1 à 6.

Installation de la courroie d'attache supérieure
① Courroie d'attache supérieure
② Point d'ancrage de la sangle
Voudevezyousservirde lacourroied'attache supérieured'unensemble de retenue d'enfant lorsquyouinstallez unensemble de retenue au moyen des fixationsdesancragesinférieursdu systèmeLATCH.
Fixez d'abord l'ensemble de retenue d'enfant à l'aide des ancrages inférieurs du système LATCH (places laterales de la banque arrière uniquement).
Banquette arrête
PLACES LATERALES
- Retirez l'appuié-tête et rangez-le en lieu sûr. N'oubliez pas de réinstaller l'appuié-tête lorsque vous retirez l'ensemble de retenue d'enfant. Pour obtenir de plus amples renseignements, consultez la section « Appuié-tête » dans ce chapitre.
- Placez la courroie d'attache supérieure ① par-dessus le dossier de siège.
- Fixez la sangle d'ancrage au point d'ancrage de la sangle ② au bas du dossier de siège derrière l'ensemble de retenue d'enfant.
- Pour-retirer tout feu de la courroie,serrez celle-ci conformement aux instructions du fabricant.
Si vous avez des questions au sujet de l'installation d'une courroie d'attache supérieure, nous vous recommandons de consulter un concessionnaire NISSAN LEAF certifié pour obtenir de plus amples renseignements.

AVERTISSEMENT
Les points d'ancrage des ensembles de retenue d'enfant sont conçus pour résister uniquement aux charges imposées par des ensembles de retenue d'enfant correctement installés. Les points d'ancrage ne doivent enaucun cas être utilisés pour fixer les ceintures de sécurité pour adultes ou d'autres éléments ou équipements sur le vehicule. Vous pourriez endommager les points d'ancrage des ensembles de retenue d'enfant. Les ensembles de retenue d'enfant ne seront pas correctement installés si vous utilisez des points d'ancrage endommages et un enfant pourrait subir des blessures graves, voire mortelles en cas de collision.
INSTALLATION D'UN ENSEMBLE DE RETENUE D'ENFANT ORIENTÉ VERS L'AVANT À L'AIDE DES CEINTURES DE SECURITÉ

AVERTISSEMENT
Voudevezutiliserla ceinturede secu ritea trois points munie d'un enrouleur a mode de blocage automatique pour l'installation d'un ensemble de retenue d'enfant.L'ensemble de retenue d'enfant ne peut pas etre fixe solidement si vous n'utilisez pas le mode de blocage automatique de I'enrouleur. L'ensemble de retenue risque de se renverser ou de se detacher en cas d'arrêt brusque ou d'accident,et I'enfant pourrait alors etre blessé.II a egalement une incidence sur le fonctionnement du sac gonflable du passager avant.Pour obtenir des renseignements supplémentaires,consultez la section « Sac gonflable du passager avant et témoin de neutralisation » dans le present chapitre.

Ensemble de retenue d'enfant orienté vers l'avant (siège du passager avant) - étape 1
Pour obtenir des renseignements supplémentaires, consultez les avertissements et les mises en garde contenus dans les sections « Sécurité des enfants » et « Ensembles de retenue d'enfant » du réseau manuel avant d'installer un ensemble de retenue d'enfant.
N'utilisez pas les ancrages inférieurs si le poids total de I'enfant et de I'ensemble de retenue d'enfant depasse 29,5 kg (65 lb). Si le poids total de I'enfant et de I'ensemble
de retenue d'enfant est supérieur à 29,5 kg (65 lb), utilisez la ceinture de sécurité du vehicule (et non les ancrages inférieurs) pour installer l'ensemble de retenue d'enfant. Respectez les instructions d'installation de l'ensemble de retenue d'enfant fournies par le fabricant.
Respectez ces étapes pour installer un ensemble de retenue d'enfant orienté vers l'avant à l'aide de la ceinture de sécurité du vehicule du siège arrêté ou du siège du passager avant :
- Si vous doivent installer un ensemble de retenue d'enfant sur le siège avant, orientez-le vers l'avant seulement. Reculesz le siège au maximum. Les ensembles de retenue d'enfant doivent être orientés vers l'arrière; par conséquent, ils ne doivent jamais être installés à l'avant du vehicule.
- Placez l'ensemble de retenue d'enfant sur le siège. Respectez toujours les instructions du fabricant de l'ensemble de retenue d'enfant.
L'arrière de l'ensemble de retenue d'enfant doit être fixé au dossier du siège.
Au besoin, réglez l'appuie-tête pour bien installer l'ensemble de retenue d'enfant. Si vous avez retirel l'appuie-tete, rangez-le en lieu sur. N'oubliez pas de réinstaller l'appuie-tete lorsque vous retirez l'ensemble de retenue d'enfant. Pour obtenir de plus amples renseignements, consultez la section « Appuie-tete » dans ce chapitre.
Si l'appuie-tete de la place assise n'est pas reglable ou s'il nuit à l'installation de l'ensemble de retenue d'enfant, essayez une autre place assise ou un autre ensemble de retenue d'enfant.

Ensemble de retenue d'enfant orienté vers l'avant - étape 3
- Faites passer la languette de la ceinture de sécurité en travers de l'ensemble de retenue d'enfant, puis insérez-la dans la boute jusqu'à ce que vous entendiez un déclic et que vous sentiez la languette se verrouiller. Respectez les instructions d'acheminement de la ceinture de sécurité du fabricant de l'ensemble de retenue d'enfant.
Si l'ensemble de retenue d'enfant est doté d'une courroie d'attache supérieurie, acheminez la courroie d'attache supérieurie, puis fixez la courroie d'attache au point d'ancrage de la courroie (installation sur un siège arrêté seulement). Pour obtenir des renseignements supplémentaires, consultez la section « Installation de la courroie d'attache supérieurie » dans leprésent chape.
N'installez pas d'ensembres de retenue d'enfant qui exigent l'utilisation d'une courroie d'attache supérieure à une place qui n'est pas dotée d'un point d'ancrage de courroie supérieure.

Ensemble de retenue d'enfant orienté vers l'avant - étape 4
- Tirez sur le baudrier jusqu'à ce que la ceinture soit complètement déployée. L'enrouleur de la ceinture de sécurité passée alors en mode de blocage automatique (mode d'ensemble de retenue d'enfant). Une fois la ceinture de sécurité complètement rétractée, elle revient en mode de blocage d'urgence.

Ensemble de retenue d'enfant orienté vers l'avant - étape 5
- Laissez la ceinture de sécurité se rétracter. Tirez sur le baudrier pour éliminer tout jeu de la courroie.

Ensemble de retenue d'enfant orienté vers l'avant - étape 6
-
Éliminez tout jeu additionnel de la ceinture de sécurité. Poussez fermement vers le bas et vers l'arrière au centre de l'ensemble de retenue d'enfant avec votre genou pour comprimer le coussin et le dossier du siège du vehicule tout en serrant la ceinture de sécurité.
-
Pour-retirer tout jeu de la courroie, serrez celle-ci conformément aux instructions du fabricant.

Ensemble de retenue d'enfant orienté vers l'avant - étape 8
- Vérifiez la solidité de la fixation de l'ensemble de retenue avant d'y asseoir un enfant. Poussez-le latéralement en tenant l'ensemble de retenue d'enfant près du trajet de la ceinture de sécurité. L'ensemble de retenue d'enfant ne doit pas bouger de plus de 25 mm (1 po) latéralement. Essayez de le tirer vers l'avant et assurez-vous que la ceinture de sécurité le maintain en place correctement. Si l'ensemble de retenue est mal fixé, resserrez davantage la ceinture
de sécurité, ou installez l'ensemble sur un autre siège, puis vérifie de nouveau la solidité de la fixation. Vous devrez peut-être essayer un ensemble de retenue d'enfant différent. Les ensembles de retenue d'enfant ne convennent pas à tous les vehicules.
- Assurez-vous que l'ensemble de retenue d'enfant est bien fixé avant chaque utilisation. Si la ceinture de sécurité n'est pas verrouillée, repêtré les étapes 2 à 8.

- Si l'ensemble de retenue d'enfant est installé sur le siège du passager avant, appuyez sur le commutateur principal à la position ON (marche). Le témoin de neutralisation du sac gonflable du passager avant devrait s'allumer. Si le témoin ne s'allume pas, consultez la section « Sac gonflable du passager avant et témoin de neutralisation » dans le present chapitre. Placez l'ensemble de retenue d'enfant sur un autre siège. Faites vérifier le système. Nous vous recommendons de vous rendre chez un concessionnaire NISSAN LEAF certifié pour procéder cet entretien.
Lorsque la ceinture de sécurité se rétracte complètement dans l'enrouleur après le retrait de l'ensemble de retenue d'enfant, le mode de blocage automatique (mode pour ensemble de retenue d'enfant) est désactivé.

Installation de la courroie d'attache supérieure
① Courroie d'attache supérieure
(2) Point d'ancrage de la sangle
Voudevezutiliserlacourroied'attache supérieure del'ensemble de retenue d'enfant lorsque youinstallez un ensemble de retenue d'enfant au moyen de la ceinture de sécurité.
Fixez d'abord l'ensemble de retenue d'enfant au moyen de la ceinture de sécurité du siège.
Banquette arrête
PLACES LATERALES
- Retirez l'appuie-tête et rangez-le en lieu sûr. N'oubliez pas de réinstaller l'appuie-tête lorsque vous retirez l'ensemble de retenue d'enfant. Pour obtenir de plus amples renseignements, consultez la section « Appuie-tête » dans ce chapitre.
- Placez la courroie d'attache supérieure ① par-dessus le dossier de siège.
- Fixez la sangle d'ancrage au point d'ancrage de la sangle ② au bas du dossier de siege derrière l'ensemble de retenue d'enfant.
- Pour-retirer toutjeu de la courroie,serrez
elle-ci conformement aux instructions
du fabricant.
PLACE CENTRALE
- Placez la courroie d'attache supérieure ① par-dessus le dossier de siège.
-
Fixez la sangle d'ancrage au point d'ancrage de la sangle ② au bas du dossier de siège derrière l'ensemble de retenue d'enfant.
-
Pour-retirer tout jeu de la courroie,serrez celle-ci conformément aux instructions du fabricant.
Si vous avez des questions au sujet de l'installation d'une couroie d'attache supérieure, nous vous recommandons de consulter un concessionnaire NISSAN LEAF certifié pour cet entretien.

AVERTISSEMENT
Les points d'ancrage des ensembles de retenue d'enfant sont conçus pour résister uniquement aux charges imposées par des ensembles de retenue d'enfant correctement installés. Les points d'ancrage ne doivent enaucun cas être utilisés pour fixer les ceintures de sécurité pour adultes ou d'autres éléments ou équipements sur le vehicule. Vous pourriez endommager les points d'ancrage des ensembles de retenue d'enfant. Les ensembles de retenue d'enfant ne seront pas correctement installés si vous utilisez des points d'ancrage endommages et un enfant pourrait subir des blessures graves,voire mortelles en cas de collision.
REHAUSSEURS
Pour obtenir des renseignements supplémentaires sur l'installation d'un siège d'appoint dans votre vehicule, suivez les directives décrites dans cette section.
Précautions concernant les rehausseurs

AVERTISSEMENT
Si le siège d'appoint et la ceinture de sécurité ne sont pas installés correctement, le risque de blessures et de mort de l'enfant augmente grandement en cas de collision ou d'arrêt brusque:
Assurez-vous que le baudrier n'approche pas le visage ou le cou de l'enfant, et que la partie sous-abdominale ne s'appuie pas contre l'abdomen.
Assurez-vous que le baudrier n'est pas place derrière l'enfant ou sous son bras.
- Installez un rehausseur seulement à une place munie d'une ceinture à trois points.

Plusieurs fabricants offrent des rehaus-seurs de diverses tailles. Tenez compte des considérations suivantes au moment de besoin un siège d'appoint :
- Ne choisissez qu'un rehausseur portant une étiquette certifier son homologation à la norme 213 de sécurité des vehicules automobiles du Canada ou à la norme 213 de Federal Motor Vehicle Safety Standard (États-Unis).
- Placez le rehausseur dans votre vehicule et assurez-vous qu'il est compatible avec le siège et la ceinture de sécurité de votre vehicule.

Assurez-vous que la tete de l'enfant est correctement soutenue par le rehausseur ou le siège du vehicule. Le dossier doit se couver au moins au niveau du centre des oreilles de l'enfant. Par exemple, si vous choisissez un rehausseur à dossier bas ① , le dossier du siège du vehicule doit se couver au moins au niveau du centre des oreilles de l'enfant. Si le dossier se trouve sous le centre des oreilles de l'enfant, utilise un rehausseur à dossier haut ②

- Sile rehausseur est compatible avec votre vehicule, assoyez votre enfant dans le rehausseur et vérifie les divers régles pour vous assurer que le rehausseur convient à votre enfant. Respectez toutes toutes les instructions fournies.
Au Canada et aux États-Unis, l'utilisation d'ensembres de retenue homologués est obligatoire pour les bébés et les jeunes enfants.
Les instructions du present chapitre s'appliquent à l'installation d'un rehauser aux places arrêté ou sur le siège du passagér avant.
Installation d'un rehausseur

AVERTISSEMENT
Pour éviter des blessures à l'enfant, ne vous servez pas du mode de blocage automatique de la ceinture à trois points d'ancrage lorsque vous utilisez un rehauser ou avec les ceintures de sécurité.
Pour obtenir des renseignements supplémentaires, consultez les avertissements et mises en garde contenus dans les chapitres « Sécurité des enfants », « Ensembles de retenue d'enfant » et « Sièges d'appoint » duprésent manuel avant d'installer un ensemble de retenue d'enfant.
Suivez ces étapes pour installer un rehausseur sur un siège arrêté ou sur le siège du passager avant :

Siège du passager avant
- Si vous doivent installer un rehauser sur le siège avant, déplacez le siège aussi loin que possible vers l'arrière.
- Placez le rehausseur sur le siège. Orientez-le toujours vers l'avant. Suivez toujours les instructions du fabricant du siège d'appoint.
- Placez le rehausseur sur le siège du vehicule pour qu'il soit stable.

Siège du passager avant
S'il y a lieu, reglez la hauteur de l'appuiétête ou retirez-le de façon à bien installer le rehausseur. Si vous avez retiré l'appuie-tête, rangez-le en lieu sur. N'oubliez pas de réinstaller l'appuiétête lorsque vous retirez le rehausseur. Pour obtenir de plus amples renseignements, consultez la section « Appuie-tête » dans ce chapitre.
Si I'appuie-tete de la place assise n'est pas reglable et s'il nuit à l'installation du rehauteur, essayez une autre place assise ou un autre rehauteur.
- Serrez bien la sangle sous-abdominale de la ceinture de sécurité sur la partie inférieure des hanches de l'enfant. Respectez les instructions d'acheminement de la ceinture de sécurité du fabricant du siège d'appoint.
- Tirez le baudrier de la ceinture vers l'enrouleur pour éliminer le jeu. Assurez-vous de placer le baudrier sur la partie centrale supérieure de l'épaule de l'enfant. Respectez les instructions d'acheminement de la ceinture de sécurité du fabricant du siège d'appoint.
- Respectez les avertissements, les mises en garde et les directives d'installation d'une ceinture de sécurité. Pour obtenir des renseignements supplémentaires, consultez la section « Ceinture de sécurité à trois points d'ancrage avec enrouleur » du present chapitre.

- Si le rehausseur est installé sur le siège du passager avant, appuyez sur le commutateur principal à la position ON (marche). Le témoin de neutralisation du sac gonflable du passager avant peut s'allumer ou non, en fonction de la taille de l'enfant ou du type de rehausseur utilisé. Pour obtenir des renseignements supplémentaires, consultez la section « Sac gonflable du passager avant et témoin de neutralisation » dans leprésent chapitre.
SYTÉME DE RETENUE SUPPLEMENTaire
PRECAUTIONS RELATIVES AU SYSTÉME DE RETENUE SUPPLEMENTaire (SRS)
Ce chapitre sur le système de retenue supplémentaire (SRS) contient des renseignements importants au sujet des systèmes suivants.
- Sacs gonflables avant des côtés conduc-. teur et passager avant (dispositif de sac gonflable perfectionné NiSSAN)
- Sachs gonflables latéraux montés dans les sièges avant
- Rideaux et sacs gonflables latéraux en cas de renversement montés dans le toit
- Ceinture de sécurité avec pretendeurs (sièges avant)
Système de sacs gonflables avant
Le dispositif de sac gonflable perfectionné NiSSAN contribue à amortir le chic transmis à la tête et au thorax du conducteur et du passager avant lors de certaines collisions frontales.
Module supplémentaire du sac gonflable latorial montedans le siège avant
Ce système contribue à amortir le choc transmis au thorax et à la région pelvienne du conducteur et du passager avant dans certains types de collisions laterales. Les sacs gonflables lateraux sont conçus pour se déployer du côté où le vehicule subit la collision.
Système de rideaux et sacs gonflables latéraux en cas de renversement montés dans le toit
Ce système aide à amortir la puissance du choc transmis à la tête des occupants des sièges latéraux avant et arrêté lors de certaines collisions latérales. En cas de collision latérale, les rideaux gonflables latéraux sont concus pour se déployer du côté où le vehicule subit la collision. En cas de rensements, les rideaux gonflables latéraux sont concus pour se déployer et rester gonflés pendant un court moment.
Le système de retenue supplémentaire (SRS) est conçu pour offrir, lors d'une collision, une protection supplémentaire à cette fournie par les ceintures de sécurité
du conducteur et du passager; il n'est cependant pas destiné à les replacer. Les ceintures de sécurité doivent toujours être portées correctement. De plus, l'occupant doit être assis à une distance appropriée du volant, du tableau de bord et des moulures de portière. Pour obtenir des renseignements supplémentaires, consultez la section « Ceintures de sécurité » dans le present chapitre.
Les sacs gonflables ne peuvent se déployer que lorsque le commutateur principal est à la position ON (marche).
Lorsque le commutateur principal est placé à la position ON (marche), le témoin de sac gonflable s'allume. Si le dispositif est fonctionnel, le témoin du sac gonflable s'éteint après environ sept secondes.




Asseyez-vous bien droit et au fond du siège.

AVERTISSEMENT
- En général, les sacs gonflables avant ne se déploient pas en cas de collisionLTRALE ou arrière, de renversement ou de collision frontale mineure. Bouclez toujours votre ceinture de sécurité afin de réduire les risques de blessures et la gravité de celles-ci en cas d'accident.
- De plus, si le témoin de neutralisation du sac gonflable du passager est allumé, le sac ne se déploie pas. Pour obtenir des renseignements supplémentaires, consultez la section « Sac gonflable du passager avant et témoin de neutralisation » dans leprésent chapitre.
- Les ceintures de sécurité et les sacs gonflables avant sont plus efficaces lorsque les occupants du vehicule sont assist bien droit au fond de leur siège, les deux pieds reposant sur le plancher. Les sacs gonflables avant se déploient avec beaucoup de force. Malgré le dispositif de sac gonflable perfectionné NiSSAN, les risques de blessures graves ou mortelles en cas de collision sont plus grands si vous n'étés pas attaché,
êtes penché en avant, assis de côté ou, de façon générale, mal assis. Le sac gonflable avant peut également vous infliger des blessures graves, voire mortelles, si vous étes appuyé contre le module lorsqu'il se déploie. Assurez-vous d'avoir le dos bien appuyé contre le dossier de votre siège et de régler ce dernier aussi loin que possible du volant ou du tableau de bord, sans que cela ne nuise à votre comfort ou à la conduite. Bouclez toujours de façon appropriée votre ceinture de sécurité.
- Les boucles des ceintures de sécurité du conducteur et du passager avant sont munies de capteurs qui déetectent le bouclage des ceintures de sécurité. En cas de collision, le système de sacs gonflables perfectionnés de NiSSAN contrôle la force de la collision ainsi que l'utilisation des ceintures de sécurité et gonfle les sacs en conséquence. En cas d'accident, le port de la ceinture de sécurité peut réduire les risques de blessures ou la gravité de celles-ci.
- Le siège passager avant est muni d'un capteur de classification du passager (capteur de poids) qui permet la DÉSACTION du sac gonflable du côté passager dans certaines circonstances. Seul ce siège est muni d'un tel capteur. En cas d'accident, une bonne posture assise et le port de la ceinture de sécurité peut réduire les risques de blessures ou la gravité de celles-ci. Pour obtenir des renseignements supplémentaires, consultez la section « Sac gonflable du passager avant et t'émein de neutralisation » dans le present chapitre.
- Tenez le volant par son pourtour extérieur. Si vous placez vos mains à l'intérieur du cercle du volant, les risques de blessures peuvent augmenter en cas de déploiement du sac gonifiable avant.







AVERTISSEMENT
Assurez-vous que les enfants sont toujours correctement retenus pendant que le vehicule roule et ne les laissez jamais sorting les mains ou la tete par l'ouverture de la glace. Ne voyagez jamais en tenant un enfant sur vos genoux ou dans vos bras. Les illustrations donnent des exemples de positions dangereuses à ne pas adopter dans un vehicule en mouvement.
- S'ils ne sont pas correctement retenus, les enfants peuvent subir des blessures graves ou mortelles au moment du déploiement des sacs gonflables avant, des sacs gonflables latéraux ou des rideaux gonflables latéraux. Dans la mesure du possible, les enfants de moins de 12 ans doivent être assis et correctement retenus sur le siège arrêté.
- Bien que ce vehicule soit muni du système de sacs gonflables perfectionné NiSSAN, n'installez jamais sur le siège du passager avant un ensemble de retenue d'enfant orienté vers l'arrière. Un sac gonfable avant qui se déploie peut infliger des blessures graves, voire mortelles à votre infant. Pour obtaining des renseignements supplémentaires, reportez-vous au chapitre « Ensembles de retenue d'enfant » dans cette section.

Ne vous appuyez pas contre les portières ou les glaces.





AVERTISSEMENT
Sacs gonflables lateraux montés dans les sièges avant et rideaux gonflables latéraux et sacs gonflables en cas de renversement montés dans le toit :
-
Les sacs gonflables latéraux et les rideaux gonflables latéraux ne se déploient généralement pas lors d'une collision frontale, arrêté ou d'une collision latérale de faible intense. Bouclez toujours votre ceinture de sécurité afin de réduire les risques de blessures et la gravité de celles-ci en cas d'accident.
-
Les ceintures de sécurité, les sacs gonflables latéraux et les rideaux gonflables sont plus efficaces lorsqu'les occupants du vehicule sont assist bien droit au fond de leur siège. Les sacs gonflables latéraux et les rideaux gonflables latéraux se déploient avec beaucoup de force. Ne laisseriez personne placer ses mains, ses jambes ou son visage à proximite d'un sac gonflable latorial, c'est-à-dire sur le côté du dossier du siège avant ou pres des glissières latérales du toit. Ne permettez a peu occidenter essis à l'avant ou aux places latérales arrêté du vehicule de sortir la main par l'ouverture de la glace ni de s'appuyer contre les portieres. Les illustrations precedentes donnent des exemples de positions dangereuses à éviter dans un vehicule en mouvement.
-
Ne tenez pas le dossier du siège avant lorsque vous étés assis sur le siège arrêté. Vous pourriez être blessé gravement en cas de déploiement du sac gonfable létal. Soyez particulièrement prudent lorsque vos passagers sont des enfants. Ceux-ci doivent être retenus correctement en tout temps. Les illustrations donnent des exemples de positions dangereuses à ne pas adopter dans un vehicule en mouvement.
- N'installez pas de housses sur les dossiers des sièges avant. Elles pourraient entraver le déploiement des sacs gonflables latéraux.

- Capteur de zone de collision
- Modules des sacs gonflables avant
- Modules des sacs gonflables latéraux montés dans les sièges avant
- Capteur de classification du passager (capteur de poids)
- Module de commande du système de classification du passager
- Modules de gonflage de rideaux gonflables lateraux et sacs gonflables en cas de renversement montés dans le toit
- Modules de rideaux gonflables latéraux et sacs gonflables en cas de rensevement montés dans le toit
- Capteurs péripériques
- Ceinture de sécurité avec prétendeurs (sièges avant)
- Module de commande des sacs gonflables
- Capteurs de portière
Dispositif de sac gonflable perfectionné NISSAN (sièges avant)

AVERTISSEMENT
Respectez les mesures suivantes pour assurer le bon fonctionnement du système de sac gonfable perfectionné NISSAN du passager avant.
Assurez-vous que les passagers arrriere ne poussent ni ne tirent sur le vide-poche du dossier de siège.
- Ne soumettez pas le dossier de siège, l'appuie-tête ou le vide-poche du dossier de siège à une charge dépassant 4 kg (9,1 lb).
Assurez-vous qu'aucune pression n'est exercée contre l'arrière du dossier de siège, comme par un ensemble de retenue d'enfant installé sur le siège arrière ou un objet placé sur le plancher.
Assurez-vous qu'aucun objet ne soit place sous le siège du passager avant.
Assurez-vous qu'aucun objet n'est place entre le coussin de siège et la console centrale ou entre le coussin de siège et la portière.
Si un ensemble de retenue d'enfant orienté vers l'avant est installé dans le siège du passager avant, ne place pas le siège du passager avant de sorte que l'ensemble de retenue d'enfant entre en contact avec le tableau de bord. Si l'ensemble de retenue d'enfant entre en contact avec le tableau de bord, le système pourrait déterminer que le siège estOccupé et le sac gonflable du passager pourrait se déployer lors d'une collision. En outre, le témoin de neutralisation du sac gonflable du passager avant pourrait ne pas s'allumer. Pour obtenir des renseignements supplémentaires, reportez-vous au chapitre « Ensembles de retenue d'enfant » dans cette section.
- Vérifiez le bon fonctionnement du témoin de neutralisation du sac gonflable du passager avant.
- Si vous remarquez que le témoin de neutralisation du sac gonflable du passager avant ne fonctionne pastel que décrit dans le present chapitre, faites vérifier le système de classification des occupants. Nous vous recommendons de vous rendre chez un concessionnaire NISSAN LEAF certifié pourrialcder cet entretien.
- Entre-temps, jusqu'à ce qu'un concessionnaire vous confirme que le système du capteur de classification du passager (capteur de poids) fonctionne correctement, faites asseoir les occupants à l'arrière.
- Ne placez pas le siège du passager avant de sorte qu'il entre en contact avec le siège arrêté. Si le siège avant entre en contact avec le siège arrêté, il est possible que le système de sac gonflable détermine qu'une anomalie liée au capteur s'est produit et le témoin de neutralisation du sac gonflable du passager avant pourrait s'allumer et le témoin du sac gonflable clignoter.
Ce vehicule est équipé d'un dispositif de sac gonflable perfectionné NISSAN pour les sièges du conducteur et du passager avant. Ce dispositif est concu pour respecter les exigences d'homologation fixées par la réglementation americaine. Il est également autorisé au Canada. Tous les renseignements, les mises en garde et les avertissements stipulés dans ce manuel s'appliquent et doivent être respectés.
Le sac gonflable avant du conducteur est situé au centre du volant. Le sac gonflable avant du passager avant est monté dans le tableau de bord, au-dessus de la boîte à gants. Les sacs gonflables avant sont concus pour se déployer en cas de collision frontale de forte intensité. Ils peuvent aussi se déployer si les forces provoquées par un autre type de collision s'assimilent à celles d'une collision frontale plus grave. Il est possible qu'ils ne se déploient pas pendant certains types de collisions frontales. Les dommages au vehicule (ou l'absence de dommages) ne constituent pas nécessairement un indice du bon fonctionnement des sacs gonflables avant.
Le dispositif de sac gonflable perfectionné NiSSAN contrôle l'information du capteur de zone de collision et le module de commande de sac gonflable (ACU). Du côté du conducteur, l'activation du générateur de gaz dépend de la gravité de la collision et de l'utilisation de la ceinture de sécurité. Du côté passager avant, le capteur de poids du passager est également contrôle. Selon l'information reçue par les capteurs, il est possible qu'un seul sac gonflable avant se déploie en cas de collision, selon la gravité de cette dernière. De plus, il est possible que le sac gonflable du passager avant soit à la position OFF (hors fonction) automatiquement dans certaines situations, selon l'importance du poids détecté sur le siège du passager et la façon dont la ceinture est utilisée. Le tímoin de neutralisation du sac gonflable du passager avant s'allume si le sac gonflable du passager avant est DÉS-ACTIVÉ. Pour obtenir des renseignements supplémentaires, consultez la section « Sac gonflable du passager avant et tímoin de neutralisation » dans leprésent chapitre. Le déploiement d'un seul sac gonflable avant n'indique pas un mauvais fonctionnement du dispositif.
Si vous avez des questions concernant le système de sacs gonflables, nous vous recommandons de vous rendre chez un concessionnaire NISSAN LEAF certifié pour obtenir de plus amples renseignements sur le système. Si, en raison d'un handicap physique, vous souhaitez faire modifier votre vehicule, veuillez communiquer avec NISSAN. Les renseignements sur les personnes-ressources sont fournis au début duprésent manuel du conducteur.
Le déploiement d'un sac gonfable avant est accompagné d'un bruit fort, suivi d'une émission de fumée. Cette fumée n'est pas nocive et n'indique pas la présence d'un incendie. Il est cependant recommendé d'éviter de l'inhaler, car elle peut causeur une irritation de la gorge ainsi qu'une sensation d'étouffement. Les personnes qui souffrent de problèmes respiratoires doivent respirer de l'air frais dus que possible.
Les sacs gonflables avant, lorsqu'ils sont combinés au port des ceintures de sécurité, aident à amortir le choc transmis à la tête et au thorax des occupants des sièges avant. Ils peuvent contribuer à sauver des vies et à réduire les risques de blessures
graves. Cependant, le déploiement d'un sac gonflable avant peut cause des éraflures au visage ou autres blessures. Les sacs gonflables avant n'offrent aucune protection à la partie inférieure du corps.
Meme si votre vehicule est équipé du dispositif de sacs gonflables perfectionnés NISSAN, les ceintures de sécurité doivent toujours être portées correctement. Le conducteur et le passager avant doivent être assis le dos bien droit et aussi loin que possible du volant et du tableau de bord. Les sacs gonflables avant se déploientrapidement pour protégier les occupants dessièges avant. L'occupant qui se trouve trop pres du module du sac gonfable avant, ou encore qui est appuyé contre ce module, court de plus grands risques de blessures en raison de la force du déploiement.
Une fois déployés, les sacs gonflables avant se dégonfrent rapidement.
Les sacs gonflables avant ne peuvent se déployer que lorsque le commutateur principal est à la position ON (marche).
Lorsque le commutateur principal est placé à la position ON (marche), le témoin de sac gonflable s'allume. Si le dispositif est fonctionnel, le témoin du sac gonflable s'éteint après environ sept secondes.

Sac gonflable du passager avant et témoin de neutralisation:

AVERTISSEMENT
Le sac gonflable du passager avant est concu pour se DÉSACTIVER automatique dans certaines circonstances. Lisez attentivement leprésent chapitre pour comprendre le fonctionnement de ce dispositif. L'utilisation ajuste du siège, de la ceinture de sécurité et des ensembles de retenue d'enfant assure une protection plus
efficace. En cas d'accident, le non-respect des consignes d'utilisation des sièges, des ceintures de sécurité et des ensembles de retenue d'enfant données dans ce manuel fait augmenter les risques de blessures ou la gravité de celles-ci.
Témoin de neutralisation :
Le siège du passager avant est muni d'un capteur de classification du passager (capteur de poids) qui active ou désactive le sac gonflable du passager avant en fonction du poids déetecté sur le siège du passager avant. L'etat du sac gonflable du passager avant (ACTIVE ou DÉSACTIVÉ) est indiqué par un témoin de neutralisation du sac gonflable du passager avant qui est situé sur le tableau de bord.
Lorsque le commutateur principal est placé à la position ON (marche), le témoin de neutralisation du sac gonflable du passager avant s'allume au tableau de bord pendant 7 secondes environ, puis s'éteint ou resté allumé selon l'état occupé du siège passager avant. Le témoin fonctionne comme suit :
| CONDITION | DESCRIPTION | TÉMOIN DE NEUTRALISATION DU SAC GONFLABLE DU PASSA-GER ( ) RÉSULTAT | NEUTRALISATION DU SAC GONFLABLE DU PASSAGER AVANT |
| Vide | Siège du passager avant vide | ON (marche) (allumé) | NEUTRALISÉ |
| Aucune personne / une personne | Sac ou enfant ou ensemble de retenue d'enfant ouadulte de petite taille dans le siège du passager avant | ON (marche) (allumé) | NEUTRALISÉ |
| Adulte | Adulte dans le siège du passag-ger avant | OFF (hors fonction) (étéint) | ACTIVÉ |
En plus des cas ci-dessus, certains objets placés sur le siècle du passager avant peut-vent également provoquer le fonctionnement du témoin, comme décrit ci-dessus, selon leur poids.
Pour obtenir des renseignements supplémentaires, consultez le paragraphe « Fonctionnement normal » et « Dépannage » dans cette section.
Sac gonflable du passager avant :
Le sac gonflable du passager avant est consu pour se DEsACTIVER automatiquelement lorsque le vehicule est utilise dans les conditions decrites ci-apres, conformement à la reglementation en vigueur aux Etats-Unis. Si le sac gonflable du passager avant est DEsACTIVE, il ne se deploiera pas en cas d'accident. Le sac gonflable du conducteur et les autres sacs gonflables du vehicule ne font pas partie de ce dispositif.
La réglementation sur la DÉSACTIVATION du sac gonflable a pour objet la réduction des blessures et des décès associés au déploiemment de ces sacs lorsqu'un type de passager particulier occupe ce siège, par exemple un enfant. Certains capteurs sont
conçus spécifique en réponse à cette réglementation.
Le capteur de classification du passager dans ce vehicule est un capteur de poids. Il permet de détecter la présence d'un occuptant ou d'un objet qualconque selon le signal de poids reçu. Par exemple, si un enfant est assis sur le siège passager avant, le dispositif de sac gonflable perfectionné NiSSAN est concu pour DÉSACTIVER le sac gonflable du passager avant, conformément à la reglementation en vigueur. De plus, si le siège du passager accueille un ensemble de retenue d'enfant conforme à la reglementation, le capteur détecte le poids de cet ensemble ainsi que celui de l'enfant, ce qui provoque la DÉSACTIVATION du sac gonflable.
Les adults qui s'assoient sur le siège du passager avant et qui utilisent leur ceinture de la façon indiquée dans ce manuel ne devraient pas provoquer la NEUTRALISATION automatique du sac gonflable du passager avant. Il peut être mis à la position OFF (hors fonction) pour les adults de petite talle; toute fois, si l'occupant réussit à soustraire son poids du coussin de siège,
en adoptant par exemple une position déviant de la verticale, en s'assoyant sur le rebord du siège ou dans une autre position inadéquate, les capteurs peuventmettre le sac gonflable à la position OFF (hors fonction).Assurez-vous toujours d'être bien assis et de porter la ceinture de sécurité de façon adéquate afin de bénéficier de toute la protection offerte par la ceinture de sécurité et le sac gonflable.
NISSAN you recommend de faire asseoir les enfants de moins de 12 ans à l'arrière et de veiller à ce qu'ils soient bien retenus. NISSAN recommende également l'utilisation d'un ensemble de retenue d'enfant ou d'un siège d'appoint ajustats et correctement installés sur un siège arrière. Sinon, le capteur de poids du passager DÉSACTI-VERA le sac gonfable du passager avant, comme il est indiqué précédemment, pour certains ensembles de retenue d'enfant conformément aux réglementations. Si des ensembles de retenue d'enfant sont incorrectement fixés ou si le mode de blocage automatique de l'enrouleur n'est pas utilisé, l'ensemble de retenue d'enfant pourrait se renverter ou se déplacer en cas de collision ou d'arrêt brusque. Une telle
utilisation pourrait également provoquer le déploiement NON PROGRAMMÉ du sac gonflable du passager avant. Pour obtenir des renseignements supplémentaires, reportez-vous au chapitre « Ensembles de retenue d'enfant » dans cette section.
Si le siège du passager avant est inoccupé, le sac gonflable du passager avant est unconçu pour ne pas se déployer en cas de collision. Toutefois, si des objets assez lourds se trouvent sur le siège, le sac gonflable peut se déployer en cas de collision, puisque le capteur de classification du passager (capteur de poids) détecte le poids des objets. D'autres éléments pourraient également déclencher le déploiement du sac gonflable, tels qu'un infant se tenantABOUT sur le siège, ou deux enfants occuptant ce même siège, ce qui serait contraire aux instructions figurant dans ce manuel. Assurez-vous que tous les occupants du vehicule sont correctement assis et que leurs ceintures de sécurité sont bien bouclées.
Le témoin de neutralisation du sac gonfable du passager avant vous permet de vérifier si le sac gonfable du passager avant est DÉSACTIVÉ automatiquement.
Si un adulte occupe le siège du passager avant et que le témoin de neutralisation du sac gonflable du passager avant est allumé (ce qui indique que le sac gonflable est DÉSACTIVÉ), il s'agit probablement d'unadulte de petite taille, ou d'un adulte n'était pas correctement assis ou ne portant pas ajustement sa ceinture de sécurité.
Si un ensemble de retenue d'enfant doit être utilisé sur le siège avant, le témoin de neutralisation du sac gonflable du passagger avant peut s'allumer ou non en fonction de la taille de l'enfant et du type d'ensemble de retenue d'enfant utilisé. Si le témoin de neutralisation du sac gonflable du passager avant est étéeint (ce qui indique que le sac gonflable peut se déployer en cas de collision), l'ensemble de retenue d'enfant ou la ceinture de sécurité est peut-être incorrectement utilisé. Assurez-vous que l'ensemble de retenue d'enfant est bien installé, que la ceinture de sécurité est correctement placée et que l'enfant est bien assis. Si le témoin de neutralisation du sac gonflable du passager avant est toujours étéeint, installez l'enfant ou l'ensemble de retenue d'enfant sur le siège arrêté.
Si le témoin de neutralisation du sac gonflable du passager avant ne s'allume pas alors que l'ensemble de retenue d'enfant, la ceinture de sécurité et l'occupant semblent correctement positionnés, il est recommandé de confier votre vehicule à un concessionnaire NISSAN LEAF certifié. Un concessionnaire NISSAN LEAF certifié peut vérifier l'état du système au moyen d'un outil spécial. Toutefois, jusqu'à ce qu'un concessionnaire vous confirme que le sac gonflable fonctionne correctement, installez l'enfant ou l'ensemble de retenue d'enfant sur le siège arrière.
Le dispositif de sac gonflable perfectionné NiSSAN et le témoin de neutralisation du sac gonflable du passager avant exigent quelques secondes pour enregistrer un changement de l'état du siège du passager avant. Il s'agit d'une situation normale qui ne révèle pas une anomalie.
Si le système de sacs gonflables du passagger avant presente une anomalie, le témoin de sac gonflable , situé dans le groupe d'instruments du tableau de bord, s'allume (clignotement ou lumière ferme).
Faites vérifier le système. Nous vous recommandons de vous rendre chez un concessionnaire NISSAN LEAF certifié pour procédér cet entretien.
Fonctionnement normal :
Afin que le capteur de classification du passager puisse évaluer le passager avant en fonction du poids, veuillez suivre les précautions et les étapes décrites ci-dessous :
Précautions :
Assurez-vous qu'aucun object pesant plus de 4 kg (9,1 lb) n'est suspendu au siège ou place dans la pochette du dossier de siège.
Assurez-vous qu'aucun ensemble de retenue d'enfant ou qu'aucun autre object ne soit appuyé contre l'arrière du dossier.
Assurez-vous qu'un passager arrirere ne pousse pas ou netire pas l'arriere du siege du passager avant.
Assurez-vous que le siège ou le dossier de siège du passager avant n'est pas appuyé contre un objet sur le siège ou le plancher derrière celui-ci.
Assurez-vous qu'aucun objet ne soit placé sous le siège du passager avant.
Étapes :
- Reglez le siège comme il est décrit dans le chapitre « Sièges » duprésent manuel. Assoyez-vous bien droit, appuyé contre le dossier et centré sur le coussin de siège, avec les pieds reposants combustiblement sur le plancher.
- Assurez-vous qu'aucun objet ne se trouve sur vos cuisses.
- Bouclez la ceinture de sécurité comme décrit dans la section « Ceintures de sécurité » duprésent manuel. L'état de la boucle de ceinture de sécurité du passager avant est surveilé par le système de classification du passager et est utilisé comme donnée pour déterminer l'occupation du siège. Il est donc fortement recommendé que le passager avant boucle sa ceinture de sécurité.
- Restez dans cette position pendant 30 secondes afin de permettre au système d'effectuer la classification du passager avant que le vehicule ne se déplace.
- Vérifiez le témoin de neutralisation du sac gonflable du passager avant pour vous assurer que la classification est appropriée.
REMARQUE:
Le capteur du système de classification du passager de ce vehicule bloque la classification durant la conduite; il est donc important de vous assurer que la classification du passager avant est appropriée avant la conduite. Le capteur de classification du passager peut cependant recalculator le poids du passager sous certaines conditions (pendant la conduite ou à l'arrêt). Le passager avant doit donc rester assis comme décrit ci-dessus.
Dépannage :
Si vous croyez que le témoin de neutralisation du sac gonflable du passager avant présente un état incorrect :
- Si le témoin est ALLUMÉ en présence d'un adulte assis sur le siège du passagger avant:
Le passager est un adulte de petite taille - le témoin de sac gonflable fonctionne comme prévu. Le sac gonflable du passager avant est désactivé.
Toutefois, si le passager n'est pas unadulte de petite talle, cet etat peut etredû aux conditions suivantes qui peuventperturber les capteurs de poids :
- Le passager n'est pas assis bien droit, appuyé contre le dossier et centré sur le coussin de siège, avec les pieds reposantcomfortablement sur le plancher.
- Un ensemble de retenue d'enfant ou un autre objet s'appuyant contre l'arrière du dossier de siège.
- Un passager arrrière poussant ou tirant sur l'arrière du siège du passager avant.
Le siège ou le dossier de siège du passager avant appuyé contre un objet sur le siège ou le plancher derrière celui-ci. - Un objet placé sous le siège du passagger avant.
- Un objet place entre le coussin de siège et la console centrale ou entre le coussin de siège et la portière.
Si le vehicule est en mouvement, arrêtez le vehicule lorsqu'il est prudent de le faire. Vérifiez et corrigez les conditions décrites ci-dessus. Redémarrez le moteur et attendeze une minute.
REMARQUE :
Une vérification du système sera effectuee pendant laquelle le témoin de neutralisation du sac gonflable du passager avant reste allumé pendant environ sept secondes initialement.
Si le témoin reste ALLUMÉ après ce décai, il est conseillé que cette personne ne prenne pas place dans le siège du passager avant. Le vehicule doit également être vérifiéès que possible. Nous vous recommendons de vous rendre chez un concessionnaire NISSAN LEAF certifié pour procéder cet entretien.
- Si le témoin est ÉTEINT en présence d'un adulte de petite taille, d'un enfant ou d'un ensemble de retenue d'enfant installé dans le siège du passager avant.
Cet état peut être dû aux conditions suivantes qui peuvent perturber les capteurs de poids :
- Un adulte de petite taille, ou un enfant n'est pas assis bien droit, appuyé contre le dossier et centré sur le coussin de siège, avec les pieds reposant comfortsblement sur le plancher.
L'ensemble de retenue d'enfant n'est pas correctement installé, comme il est décrit dans le chapitre « Ensembles de retenue d'enfant » duprésent manuel.
- Un objet pesant plus de 4 kg (9,1 lb) suspendu sur le siège ou place dans la pochette du dossier de siège.
- Un ensemble de retenue d'enfant ou un autre objet s'appuyant contre l'arrière du dossier de siege.
- Un passager arrirée poussant ou tirant sur l'arrière du siège du passager avant.
Un passager arrirée poussant ou tirant sur le dossier de siège du siège du passager avant.
Le siège ou le dossier de siège du passager avant appuyé contre un objet sur le siège ou le plancher derrière celui-ci.
- Un objet placé sous le siège du passagier avant.
- Un objet place entre le coussin de siège et la console centrale.
Si le vehicule est en mouvement, arrêtez le vehicule lorsqu'il est prudent de le faire. Vérifiez et corrigez les conditions décrites ci-dessus. Redémarrez le moteur et attendez une minute.
REMARQUE :
Une vérification du système sera effectuee pendant laquelle le témoin de neutralisation du sac gonflable du passager avant reste allumé pendant environ sept secondes initialement.
Si le témoin reste ÉTEINT après ce décai, l'adulte de petite talle, l'enfant ou l'ensemble de retenue d'enfant doit être repositionné dans le siège arrêté et le vehicule doit être vérifié des que possible. Nous vous recommendons de vous rendre chez un concessionnaire NISSAN LEAF certifié pour procéder cet entretien.
- Si le témoin est ÉTEINT avecaucun passager etaucun objet sur le siège du passager avant,le vehicule doit être vérifiédes que possible.Nous you'recommendons de vous rendre chez un concessionnaire NISSAN LEAF certifié pour procédér cet entretien.
Autres précautions concernant les sacs gonflables avant:

AVERTISSEMENT
- Ne déposez pas d'objets sur le rembourse du volant ou sur le tableau de bord. Ne placez pas également d'objets entre les occupants et le volant ou le tableau de bord. De tels objets pouraient se transformer en dangereux projectiles et provoquer des blessures en cas de déploiement des sacs gonflables avant.
-
Ne placez pas d'objets à angles vifs sur le siège. Également, n'y placez pas des objets lourds qui pouraient laisser une empréinte permanente sur le siège. Detels objets pouraient endommager le siège ou le capteur de poids du passager (capteur de poids). Ceci pourrait nuire au fonctionnement du système de sacs gonflables et entraîner des blessures graves.
-
N'utilise pas d'eau ou de produits acides (nettoyeurs à vapeur) sur le siège. Vous pourriez endommager le siège ou le capteur de classification du passager (capteur de poids). Ceci pourrait également nuire au fonctionnement du système de sacs gonflables et entraîner des blessures graves.
- Plusieurs éléments des sacs gonflibles avant seront chauds tout de suite après le déploiement des sacs. N'y touche pas; vous pourriez vous inflige des brûlures graves.
- Aucune modification non approuvée ne doit être apportée aux composants ou au câblage des sacs gonflables. Ceci visse à empêcher que les sacs gonflables ne se déploient de façon inopinée ou que le système de sacs gonflables ne soit endommagé.
-
N'apportez aucune modification non autorisée au circuit électrique, à la suspension ou à la structure avant de votre vehicule. Vous pourriez compromètre le fonctionnement du système de sacs gonflables avant.
-
Toute modification des sacs gonflables avant peut entrainer de graves blessures. Ces alterations comprehènnt les modifications apportées au volant et au tableau de bord, notamment l'installation d'équipement ou d'accessoires sur le rembourse du volant et sur le tableau de bord, ou encore l'ajout de garnitures supplémentaires autour du système de sacs gonflables.
- Le retrait ou la modification du siège du passager avant pourrait nuir au fonctionnement du sac gonflable et entrainer des blessures graves.
- La modification ou l'alteration du siège du passager avant peut entrainer des blessures graves. Par exemple, ne modifies pas les sièges avant en ajoutant du tissu ou des garnitures sur le coussin de siège, telles que des housses de siège, si ces éléments n'ont pas été conçus spécialément pour permettre le bon fonctionnement du sac gonflable. De plus, ne place aucun objet sous le siège du passager avant ou entre le coussin de siège et le dossier. Ces objets pouraient nuire au bon fonc
tienne du capteur de classifica tion du passager (capteur depoids).
- Aucune modification non approuvée ne doit être apportée aux composants ou au câblage des ceintures de sécurité. De telles modifications pourraient nuire au fonctionnement du système de sacs gonflables avant. L'alteration des ceintures de sécurité peut entraîner des blessures graves.
-
Nous vous recommendons de vous rendre chez un concessionnaire NISSAN LEAF certifié pour une réparation des sacs gonflables avant ou à proximé de ceux-ci. Nous vous recommandons également de vous rendre chez un concessionnaire NISSAN LEAF certifié pour la pose d'appareils électriques. Le câblage du système de retenue supplémentaire* (SRS) ne doit être ni modifié, ni débranché. Le système de sacs gonflables ne doit pas être examé au moyen de sondes ou d'équipement d'essayélectricquen autorisés.
-
Un pare-brise fissuré doit être remplatzé dans les plus brefs déliés dans un atelier de réparation qualifié. Un pare-brise fissuré peut nuir au fonctionnement des sacs gonflables.
*Les connecteurs de faisceau de cablage du système de retenue supplémentaire (SRS) sont facilement identifiables par leurs couleurs jaune et orange.
Si vous revendez votre vehicule, nous vous demandons d'informer l'acheteur de la presence des sacs gonflables avant et de lui indiquer les sections appropriées dans le present manuel du conducteur.

Sacs gonflables lateraux montés dans les sièges avant et rideaux gonflables latéraux et sacs gonflables en cas de renversement montés dans le toit
Les sacs gonflables latéraux sont situés dans la partie latérale externe du dossier des sièges avant. Les rideaux gonflables sont situés dans les longerons de toit. Tous les renseignements, les mises en garde et les avertissements stipulés dans ce manuel s'appliquent et doivent être respectés. Les sacs gonflables latéraux et les
rideaux gonflables latéraux sont concus pour se déployer en cas de collision latérale de forté intensité; ils peuvent aussi se déployer si les forces provoquées par un autre type de collision s'assimilant à celles d'une collision latérale plus grave. Ils sont concus pour se déployer du côté où le vehicule subit la collision. Ils peuvent ne pas se déployer dans certaines collisions latérales du côté où le vehicule subit la collision.
Selon l'équipement, les rideaux gonflables lateraux sont également consus pour se déployer lors de certains types de collisions avec capotage ou de capotage imminent. À cet effet, certains mouvements du vehicule (par exemple, en conduite toutterrain extréme), poursaient entraîner le déplolement des rideaux gonflables lateraux.
Les dommages au vehicule (ou l'absence de dommages) ne constituent pas nécessairement un indice du bon fonctionnement des sacs et des rideaux gonflables lateraux.
Lorsque les sacs gonflables lateraux et les rideaux gonflables se déploient, un bruit fort retentit suivi de l'émission de fumée.
Cette fumée n'est pas nocive et n'indique pas la présence d'un incendie. Il est cependant recommendé d'éviter de l'inhaler, car elle peut cause une irritation de la gorge ainsi qu'une sensation d'étouffement. Les personnes qui souffrent de problèmes respiratoires doivent respirer de l'air frais des que possible.
Les sacs gonflables latéraux, combinés au port des ceintures de sécurité, aident à amortir la puissance du chic transmis au thorax et à la région pelvienne des occupants des sièges avant. Les rideaux gonflables latéraux aident à amortir la puissance du chic transmis à la tête des occupants des sièges latéraux avant et arrêté. Ils peuvent contributor à sauvier des vies et à réduire les risques de blessures graves. Cependant, les sacs gonflables latéraux et les rideaux gonflables peuvent cause des éraflures ou d'autres blessures. Les sacs gonflables latéraux et les rideaux gonflables ne protégent pas la partie inférieure du corps.
Les ceintures de sécurité doivent être portées correctement. De plus, le conducteur et le passager avant doivent être assis bien
droit et aussi loin que possible des sacs gonflables latéraux. Les passagers des sièges arrrière doivent être assis aussi loin que possible des moulures des portières et des longerons de toit. Les sacs gonflables latéraux et les rideaux gonflables latéraux se déploient rapidement pour protéger les occupants assis dans les sièges d'extrémité. L'occupant qui se trouve trop pres d'un module de sac gonflable lésral ou de ridesau gonflable lésral, ou encore qui est appuyé contre ce module, court de plus grands risques de blessures en raison de la force du déploiement. Une fois déployés, les sacs gonflables latéraux et les rideaux gonflables se dégonflict rapidement.
Les sacs gonflables lateraux et les rideaux gonflables ne peuvent se déployer que si le commutateur principal est à la position ON (marche).
Le témoin de sac gonflable s'allume lorsqu vous tournez le commutateur principal à la position ON (marche). Si les systèmes sont fonctionnels, le témoin de sac gonflable s'eteint après environ sept secondes.

AVERTISSEMENT
- Ne déposezaucun objetpresdesdossiersdessiègesavant.Neplacepas égalément d'objets(parapluié,sac,etc.)entre la garniturede la portiere avant et le siège avant.Detelsobjets pourraient devenir de dangereux projectiles et causer des blessures en cas de déploement du sac gonifiablelateral.
- Plusieurs éléments des sacs gonflables latéraux et des rideaux gonflables latéraux sont très chauds tout de suite après le déploiement. N'y touche pas; vous pourriez vous inférer des brûlures graves.
-
Aucune modification non approuvée ne doit être apportée aux composants ou au cablage des systèmes de sacs gonflables latéraux et de rideaux gonflables latéraux. Cette précaution a pour but de prévenir les dommages ou le déploiement accidentel des sacs gonflables latéraux et rideaux gonflables.
-
N'apportez aucune modification non autorisée au circuit électrique, à la suspension ou au panneau lésral de votre vehicule. Cela pourrait nuir au bon fonctionnement du système de sacs gonflables latéraux et de rideaux gonflables.
-
Toute altiération du système de sacs gonflables lateraux peut entrainer des blessures graves. Par exemple, n'installez pas d'accessoires à proximate du dossier des sièges avant ou des garnitures supplémentaires, telles que des housées de sièges, autour des sacs gonflables lateraux.
-
Nous vous recommendons de vous rendre chez un concessionnaire NISSAN LEAF certifié pour les réparations sur les sacs gonflables latéraux et les rideaux gonflables latéraux ainsi que sur la zone autour. Nous vous recommendons également de vous rendre chez un concessionnaire NISSAN LEAF certifié pour la pose d'appareils électriques. Le câblage du système de retenue supplémentaire* (SRS) ne doit être ni modifié, ni débranché. Les sacs gonflables latéraux et les rideaux gonflables ne doivent pas être exposés à des sondes ou à des équipements d'essayé electrique non approvés.
-
Les connecteurs de faisceau électrique du système de retenue supplémentaire (SRS) sont facilement identifiables par leurs couleurs jaune et orange.
Si vous revendevez leur vehicule, nous vous demandons d'informer I'acheteur de la presence des sacs gonflables lateraux et des rideaux gonflables, et de lui indiquer les sections s'y rapportant dans le present manuel du conducteur.
Ceinture de sécurité avec pretendeurs (sièges avant)

AVERTISSEMENT
- Les pretendeurs ne peuvent être réutilisés après leur déclenchement. La ceinture doit être remplacee au complet, y compris l'enrouleur et la boute.
- Si le vehicule est impliqué dans une collision et les prétendeurs ne sont pas actifs, faites vérifier le système de prétendeurs et, au besoin, faites-le replacer. Nous vous recommendons de vous rendre chez un concessionnaire NISSAN LEAF certifié pour ce service.
-
Aucune modification non approuvée ne doit être apportée aux composants ou au câblage du système de prétendeurs. Cela visse à prévenir les dommages aux prétendeurs ou un déclenchement accidentel. La modification du système de prétendeurs peut entraîner des blessures graves.
-
Nous vous recommendons de vous rendre chez un concessionnaire NISSAN LEAF certifié pour une réparation du système de prétendeurs ou à proximité de celui-ci. Nous vous recommandons également de vous rendre chez un concessionnaire NISSAN LEAF certifié pour la pose d'appareils électriques. N'utilise pas de sondes ni d'équipement d'essayélectrique non autorisés sur le système de prétendeurs.
- Si vous doivent acceder un pretendeur ou envoyer le vehicule à la ferraille, nous vous recommendons de vous rendre chez un concessionnaire NiSSAN LEAF certifié pour ce service. L'application d'une méthode incorrecte de mise au rebut peut cause des blessures.
Le système de prétendeur peut s'activer avec le système de sacs gonflables dans certains types de collisions. Utilisés conjointement avec l'enrouleur de la ceinture de sécurité, les prétendeurs aident à serrer la ceinture de sécurité lorsque le vehicule subit certains types de collisions et permet ainsi de retenir les occupants des sièges avant.
Les pretendeurs sont logés dans l'enrouleur de la ceinture de sécurité et sur l'ancrage de la ceinture de sécurité qui se trouve sur le plancher du vehicule. Cesceintures de sécurité s'utilisent de la même façon que les ceintures classiques.
Lorsque des pretendeurs se déclenchent, de la fumée se dégage et un bruit puissant peut se faire entendre. Cette fumée n'est pas nocive et n'indique pas la présence d'un incendie. Il est cependant recommandé d'éviter de l'inhaler, car elle peut cause une irritation de la gorge ainsi qu'une sensation d'étouffement. Les personnes qui souffrent de problèmes respiratoires doivent respirer de l'air frais dés que possible.
À la suite du déclenchement des prétendeurs, les limiteurs de force libérént la sangle de ceinture de sécurité, s'il y a lieu, afin de réduire la pression exercée sur le thorax.
Le témoin de sac gonflable indique la presence d'anomalies dans le système de pretendeur. Pour obtenir des renseignements supplémentaires, consultez le paragraphe « Témoin d'ajretissement de sac gonflable » dans ce chapitre. Si le témoin d'ajretissement de sac gonflable indique une anomalie, faites vérifier le système. Nous vous recommendons de vous rendre chez un concessionnaire NISSAN LEAF certifié pour ce service.
Si vous revendez votre vehicule, nous vous demandons d'informer l'acheteur de la presence du système de prétendeurs et de lui indiquer les sections appropriées dans le present manuel du conducteur.

ÉTIQUETTES D'AVERTISSEMENT CONCERNANT LES SACS GONFLABLES
A. Étiquettes d'avertissement du système de sacs gonflables avant
Les étiquettes d'avertissement sont appo-sées sur les pare-soileil.

TÉMOIN DU SAC GONFLABLE
Le témoin de sac gonflable , qui s'affiche au tableau de bord, contrôle les cir-cuits du module de commande des sacs gonflables, des capteurs péripériques, du capteur de zone de collision, du capteur de classification du passager, des systèmes de sacs gonflables avant, des sacs gonflables latéraux montés dans les sièges avant, des rideaux gonflables latéraux montés dans le toit et des ceintures de sécurité avec prétendeurs. Les cir-cuits contrôlés comprendnent les systèmes de
sacs gonflables, les pretendeurs et tout le câblage connexe.
Lorsque le commutateur principal est placé à la position ON (marche), le témoin de sac gonflable s'allume pendant environ sept secondes, puis s'éteint. Ceci indique que le dispositif est fonctionnel.
Si une des conditions suivantes survient, les sacs gonflables avant, les sacs gonflables lateraux, les rideaux gonflables lateraux et les pretendeurs doivent faire l'objet d'un entretien:
- Le témoin du sac gonflable reste allumé après la période initiale d'environ sept secondes.
- Le témoin du sac gonflable clignote par intermittence.
- Le témoin du sac gonflable ne s'allume pas du tout.
Dans ces conditions, les systèmes de sacs gonflables avant, de sacs gonflables latéraux, de rideaux gonflables et de prétendeurs pourraient ne pas fonctionner correctement. Les ceintures doivent être vérifiées et réparées. Nous vous recom-mandons de vous rendre chez le concessionnaire NISSAN LEAF certifié le plus proche pour ce service.

AVERTISSEMENT
L'allumage du témoin des sacs gonflables peut indiquer que les systèmes de sacs gonflables avant, de sacs gonflables latéraux, de rideaux gonflables latéraux et de pretendeurs des ceintures de sécurité ne fonctionneront pas en cas d'accident. Pour prévenir les blessures potentielles aux occupants, faites vérifier votre vehicule dés que possible. Nous vous recommendons de vous rendre chez un concessionnaire NISSAN LEAF certifié pour ce service.
Méthode de réparation et de remplacement
Les sacs gonflables avant, les sacs gonflables latéraux, les rideaux gonflables latéraux et les pretendeurs sont conçus pour se déployer une seule fois. En guise de rappel, à moins qu'il ne soit endommagé, le témoin de sac gonflable reste allumé après le déploiement. En cas de panne, ces systèmes doivent être réparés ou replacés aussitôt que possible. Nous vous recom-mandons de vous rendre chez un concessionnaire NISSAN LEAF certifié pour procédér cet entretien.
Assurez-vous que la personne chargeé d'effectuer un entretien sur le vehicule est informée de la présence de sacs gonflables avant, de sacs gonflables lateraux, de rideaux gonflables lateraux, de pretendeurs et de pieces connexes. Le commutateur principal doit toujours etre à la position LOCK (antivol-verrouille) lors de travaux effectués sous le capot ou à l'intérieur du vehicule.

AVERTISSEMENT
- Lorsqu'un sac gonflable avant, un sac gonflable létal ou un rideau gonflable s'est déployé, le module du sac gonflable ne fonctionne plus et il doit être remplaced. De plus, les pretendeurs déclenchés doivent aussi être remplacés. Le module du sac gonflable et les pretendeurs doivent être remplacés. Nous vous recommandons de vous rendre chez un concessionnaire NISSAN LEAF certifié pour procéder cet entretien. Les modules de sac gonflable et le système de pretendeurs ne peuvent pas'être réparés.
-
En cas de dommages à la partie avant ou latorale du vehicule, les systèmes de sacs gonflables avant, de sacs gonflables latraux, de rideaux gonflables latraux et le système de pretendeurs doivent faire l'objet d'une inspection. Nous vous recommendons de vous rendre chez un concessionnaire NISSAN LEAF certifié pour procéder cet entretien.
-
Si vous devezmettre au rebut un sac gonflable ou un pretendeur ou envoyer le vehicule à la ferraille, nous vous recommendons de communiquer avec un concessionnaire NISSAN LEAF certifié pour ce service. Les méthodes approuvées de mise au rebut d'un sac gonflable ou d'un pretendeur de ceinture de sécurité sont indiquées dans le manuel de réparation NISSAN approprié. L'application d'une méthode incorrecte de mise au rebut peut cause des blessures.
- Si vous véchicule subit un impact, qu'elle que soit la provenance de l'impact sur le vehicule, faites contrôleur vos OCS (capteur de classification de l'occupant). Nous vous recommendons de visiter un concessionnaire NiSSAN LEAF certifié pour vous assurer qu'il fonctionne toujours correctement. Faites contrôleur l'OCS même si:aucun sac gonflable ne s'est déployé sous le chic de l'impact. Si vous ne faites pas contrôleur l'OCS,le sac pourrait mal se déployer en cas d'accident,ce qui pourrait entraîner des blessures ou la mort.
2 Instruments et commandes
Postede conduite 2-7
Tableau de bord 2-5
Instruments et jauges 2-6
Indicateur de vitesse et compteur
kilométrique 2-7
Indicateur de température de la batterie au
lithium-ion 2-8
Mesureur de puissance. 2-9
Autonomie 2-10
Indicateur de charge disponible de la batterie
au lithium-ion. 2-11
Température extérieure 2-12
Clock (horloge) 2-12
Témoin de mode ECO 2-13
Témoin du système e-Pedal 2-13
Témoins d'advertissement, tímoins et rappels
sonores 2-14
Vérification des feu . 2-16
Témoins 2-16
Témoins 2-25
Rappels sonores 2-28
Affichage multifonction 2-30
Utilisation de l'écran multifonction. 2-30
Affichage au démarrage 2-31
Settings (réglages) 2-31
Avertissements et tímoins de l'affichage
multifonction. 2-40
Affichages d'information d'avertissement
(modèles avec dispositif d'aide à la
navigation) 2-50
Systèmes de sécurité 2-52
Système de sécurité du vehicule. 2-52
Système antidémarrage du vehicule
NISSAN. 2-53
Commutateur d'essuie-glace et de
lave-glace. 2-55
Fonctionnement du lave-glace. 2-56
Fonctionnement de l'essuie-glace arrêté. . .2-57
Interrupteur du dégivre de lunette et de
rétrouviseur extérieur (selon l'equipement). 2-58
Interrupteur des phares et des clignotants. 2-58
Interrupteur des phares 2-58
Commande de luminosité de l'éclairage du
tableau de bord. 2-64
Interrupteur des clignotants. 2-64
Interrupteur des phares antibrouillard
(selon l'equipement) 2-65
Avertisseur sonore 2-65
Commutateur ECO (economie). 2-65
Commutateurs de siège chauffant (selon
l'equipement) 2-66
Interrupteur de volant de direction chauffant (selon l'equipement) 2-67
Commutateur d'appléd'urgence (SOS) (selon l'équipement). 2-68
Commutateur du couvercle du port de charge. 2-69
Commutateur de charge immédiate. 2-69
Commutateur de direction assistée (selon l'equipement) 2-69
Prise d'alimentation 2-70
Rangement. 2-70
Vide-poche du dossier de siège (selon l'équipement) 2-70
Bac derangement 2-71
Boite à gants 2-71
Compartment de rangement de la console . .2- 72
Range-lunettes au pavillon. 2-72
Portegobelets. 2-73
Couvre-bagages (selon l'equipement) 2-74
Rangement de sacs de golf 2-75
Glaces 2-76
Glaces électriques 2-76
Éclairage interieur. 2-79
Lampe de la console (selon l'équipement) . .2-79
Lampes de lecture 2-80
Éclairage ambient 2-80
Eclairage de l'aire de chargement 2-81
Télécommande universelle HomeLink ^MD Universal
Transceiver (selon l'equipement) 2-81
Programmation de la telecommande HomeLinkMD 2-82
Programmation de la télécommande
HomeLinkMD pour le Canada et les
ouvre-portails 2-84
Utilisation de la télécommande universelle HomeLink ^MD 2-85
Diagnostic des problèmes de programmation. 2-85
Suppression de la programmation 2-85
Reprogrammation d'une seule touche de la télécommande HomeLink ^MD 2-86
En cas de vol du vehicule. 2-86
POSTE DE CONDUITE

- Commutateur TRIP RESET (réinitialisation du compteur) pour compteur journalier double (p. 2-6)
- Commutateur de commande de luminosité du tableau de bord (p. 2-64)
- Interrupteur des phares, des phares antibrouillard (selon l'équipement) et des clignotants
- Phare (p. 2-58)
- Clignotants (p. 2-58)
- Phares antibrouillard (selon l'équipe-ment) (p. 2-58)
- Commandes du volant (côté gauche)
Commande audio(p. 4-52) - Commandes de l'affichage multifonction (p. 2-30)
- Volant
- Système de direction assistée (p. 5-148)
- Avertisseur sonore (p. 2-65)
- Sac gonflable du conducteur (p. 1-49)
-
Commutateur d'essuie-glace et de lave-glace (p. 2-55)
-
Commandes du volant (côté droit)
-Commandes du régulateur de vitesse (selon l'equipement) (p.5-61)
- Commandes du régulateur de vitesse adaptatif (ICC) (selon l'équipement) (p. 5-64)
- Commutateur ProPILOT Assist (selon l'equipement) (p. 5-89)
-Commande du système téléphonique mains libres BluetoothMD (sans dispositif d'aide à la navigation) (p. 4-52)
-Commande du système téléphonique mains libres Bluetooth MD (avec dispositif d'aide à la navigation) (consultez le manuel du système NissanConnect MD (pour Leaf))
7. Levier sélecteur (p. 5-18)
- Commutateur ECO (économie) (p. 2-65)
- Commutateur système e-Pedal (p. 5-27)
8. Compartiment de rangement de la console (p. 2-70)
9. Frein de stationnement (type de commutateur) (selon l'équipement) (p. 5-23)
- Levier du volant inclinable (p. 3-25)
- Commutateur du couvercle du port de charge (p. 3-22)
- Commutateur de charge immédiate (p. 2-69)
- Commutateur du volant chauffant (selon l'équipement) (p. 2-67)
- Commutateur de direction assistée (selon l'equipement) (p. 5-89)
- Couvercle du boitier à fusibles (p. 8-20)

TABLEAU DE BORD
- Bouches d'air latérales (p. 4-32)
- Instruments et jauges (p. 2-6)
-
Panneau de commande multifonction central
-
Dispositif d'aide à la navigation (consultez le manuel du système NissanConnect™ (pour Leaf))
- Sans dispositif d'aide à la navigation (p. 4-52)
- Interrupteur de faux de détresse (p. 6-2)
- Interrupteur du dégivre de lunette arrrière (p. 2-58)
- Sac gonflable du passager avant (p. 1-49)
- Boîte à gants (p. 2-70)
- Commande du système de chauffage-climatisation (p. 4-33)
- Prise de courant (p. 2-70)
- Commutateurs de siège chauffant (selon l'équipement) (p. 2-66)
- Prise d'entrée auxiliaire (p. 4-72) - Connecteur du iPod et connecteur du dispositif USB (p. 4-52)
- Commutateur principal à boutonpoucevoir (p. 5-12)
- Témoin de neutralisation du sac gonflable du passager avant (p. 1-49)
- Poignée de déverrouillage du capot (p. 3-19)
INSTRUMENTS ET JAUGES

-
Affichage multifonction (p. 2-30)
-
Horloge (p. 2-12)
- Température extérieure (p. 2-12)
- Indicateur de charge disponible de la batterie au lithium-ion (p. 2-11)
Autonomie (p. EV-23) - Compteur kilométrique et compteur journalier double (p. 2-7)
- Indicateur pour minutesie (p. CH-41)
-
Mesureur de puissance (p. 2-9)
-
Témoins (p. 2-14)
Témoins des clignotants et des feu de détresse (p. 2-58)
-Témoin PRÉT à démarrer (p. 2-27)
- Témoin de mode ECO (p. 2-13)
- Indicateur de vitesse (p. 2-7)
Le vehicule est doté d'un indicateur de vitesse et d'un compteur kilométrique. L'in-cateeur de vitesse se trouve sur le côté droit de l'écran multifonction. Le compteur kilométrique se trouve dans l'écran multifonction.

Indicateur devitesse
L'indicateur de vitesse indique la vitesse du vehicule.

Compteur kilométrique et compteur journalier double
Le compteur kilométrique et le compteur journalier double ② s'affichent sur l'affiche multifonction lorsque le commutateur principal est à la position ON (marche) ou PRÉT À DEMARRER.
Le compteur kilométrique indique la distance totale parcours par le vehicule.
Le compteur journalier double indique la distance parcourue au cours de trajets disponibles.
Modification de l'affichage :
Lorsque you appuyez sur le commutateur TRIP RESET (réinitialisation du compteur)
① situé du côté gauche du panneau de l'appareil de mesure combiné, l'affichage est modifié comme suit :
Odometer (compteur kilométrique) TRIP A (trajet A) TRIP B (trajet B) Odometer (compteur kilométrique)
Pour obtenir des renseignements supplémentaires sur l'affichage multifonction, consultez la section « Affichage multifonction » dans ce chapitre.
Remise à zéro du compteur journalier :
Pour remettre à zéro le compteur journalier, appuyez sur le bouton TRIP RESET (réinitialisation du compteur) ① pendant environ 1 seconde.

INDICATEUR DE TEMPERATURE DE LA BATTERIE AU LITHIUM-ION
L'indicateur affiche la température de la batterie au lithium-ion.
La température de la batterie au lithium-ion est dans la plage normale lorsque l'affichage se trouve dans la zone ① indiquée dans l'illustration.
La température de la batterie au lithium-ion varie en fonction de la température extérieure et des conditions de conduite.
REMARQUE :
Si I'affichage indique que la tempéra-ture de la batterie au lithium-ion est près de l'extrémité de la zone rouge de la plage normale, réduisez la vitesse du vehicule pour diminuer la températe. Si I'indicateur est au-dessus de la plage normale, la puissance fournie au moteur de traction est réduite lorsque le témoin de limitation de puissance est allumé. Par conséquent, la reaction du vehicule est réduite lorsque vous appuyez sur la pédale d'accéléateur alors que le témoin de limitation de puissance est allumé. Pour obtenir des renseignements supplémentaires, consul-tes la section « Témoin de limitation de puissance » dans leprésent chapitre.
Si la température extérieure est extrémenment BASSE, l'indicateur de température de la batterie au lithium-ion peut ne pas afficher une température. Le vehicule peut ne pas être placé en mode READY (prétsa conduire).Faites vérifier le système.Nous vous recommendons de vous rendre chez un concessionnaire NISSAN LEAF certifié pour procéder cet entretien.

MESUREUR DE PUISSANCE
Ce compteur affiche la consommation de puissance actuelle du moteur de traction A et la puissance du circuit de freinage regeneratif fournie à la batterie au lithium-ion B .
Le mesureur de puissance est dans un etat neutre ③.
La section qui apparait en blanc ① dans l'affichage se déplace vers la droite ou vers la gauche en fonction de la demande.
La section qui apparaît en blanc ① se déplace vers la droite lorsque la puissance

est fournie au moteur de traction (décharge de la batterie au lithium-ion).
La section qui apparait en blanc ① se déplace vers la gauche lorsque la puissance est généree et fournie à la batterie au lithium-ion par le circuit de freinage régénératif (chargement de la batterie au lithium-ion).
Le mesueur de puissance indique également si la puissance fournie au moteur est limitee ou si le freinage regeneratif est limite. Lorsque la puissance ou le freinage regeneratif est limite, les segments eclairés sur l'affichage sont retrécis ②
Le freinage régénératif est automatiquement réduit lorsque la batterie au lithium-ion est complètement chargée afin de prévenir la surcharge de la batterie au lithium-ion. Le freinage régénératif est aussi automatiquement réduit lorsque la température de la batterie au lithium-ion est élevé ou basse (ce qui est indiqué par les zones rouges ou bleues de l'indicateur de température de la batterie au lithium-ion) afin d'éviter d'endommager la batterie au lithium-ion.
Plus le freinage régénératif est réduit, plus les segments éclairés sur l'affichage sont rétrécis ②.
Si la charge de la batterie au lithium-ion est basse, la puissance fournie au moteur de traction est réduite. La puissance du moteur est également limitée si la température de la batterie au lithium-ion est élevé ou BASSE (ce qui est indiqué par les zones rouges ou bleues de l'indicateur de température de la batterie au lithium-ion) ou si le niveau de charge de la batterie au lithium-ion est bas.
Plus la puissance fournie au moteur de traction est réduite, plus les segments éclairés sur l'affichage sont rétrécis ②.
REMARQUE:
Si vous seLECTIONnez le mesureur de puissance sur l'ordinateur de bord, le mesureur ne s'affiche pas.

AUTONOMIE
L'autonomie ① présente une évaluation de la distance qui peut être parcourue avant qu'une recharge ne soit nécessaire. L'autonomie est calculée en permanence en fonction de la quantité de charge disponible de la batterie au lithium-ion et de la consommation moyenne d'énergie actuelle.
REMARQUE :
L'affichage de l'autonomie clignote lorsque le témoin de charge faible de la batterie s'allume. De plus, si vous poursuivez la conduite du vehicule dans cet état et que la batterie au lithium-ion est presque complètement déchargée, des tirets « --- » s'afficheront à l'écran. Chargez la batterie au lithium-ion dés que possible. Lorsque la batterie au lithium-ion est chargée, l'affichage normal est rétabli.
- Àprous la recharge, l'autonomie affichée est calculée en fonction de la consommation moyenne d'énergie actuelle de la conduite précédente. L'autonomie affichée varie chaque fois que le vehicule fait l'objet d'une recharge complète.
L'autonomie augmente ou diminue lorsque le climatiseur, le chauffage ou le rechauffeur de batterie au lithium-ion (selon l'équipement) est activé ou désactivié, lorsque le mode ECO (economie) est sélectionné ou lorsqu'un autre accessoire est activé ou désactivé en fonction de la conduite.

INDICATEUR DE CHARGE DISPLAYABLE DE LA BATTERIE AU LITHIUM-ION
① Cet indicateur affiche la charge de la batterie au lithium-ion disponible approximative pour conduire le vehicule.
② Cette figure illustré l'etat actuel de charge (%) du vehicule.
③ Indicateur de charge faible de la batterie : cet indicateur s'allume en jaune lorsque la charge de la batterie au lithium-ion disponible est faible.
Chargez la batterie au lithium-ion avant que la barre bleue de l'indicateur ① disparaisse.
L'indicateur de charge faible de la batterie ③ s'allume en jaune lorsque la charge de la batterie au lithium-ion disponible est faible. Chargez des que possible et, de préférence avant que la barre bleue de l'indicateur ① disparaisse. Lorsque la barre bleue de l'indicateur ① disparait et le témoin de charge ③ s'allume, il ne reste qu'une très petite quantité de charge de batterie au lithium-ion.
REMARQUE:
-
La longueur de la barre bleue de l'indicateur ① est déterminée par la charge disponible et la quantité de charge que la batterie au lithium-ion peut stocker à la température actuelle.
-
La température affecte la quantité de charge que la batterie au lithium-ion peut stocker. La batterie au lithium-ion peut stocker moins d'énergie lorsque la température de la batterie au lithium-ion est BASSE. La batterie au lithium-ion peut stocker plus d'énergie lorsque la température de la batterie au lithium-ion est ELEVÉE. La longueur de la barre bleue de l'indicateur ① peut changer en fonction de la quantité d'énergie que la batterie au lithium-ion peut stocker. Par exemple, lorsque la température de la batterie au lithium-ion est BASSE, une barre bleue plus longue de l'indicateur ① s'allume, car le pourcentage de charge disponible est plus élevé que la capacité de stockage d'énergie de la batterie au lithium-ion. Lorsque la température de la batterie au lithium-ion est élevée, une barre bleue plus courte de l'indicateur ① s'allume, car le pourcentage d'énergie restante est moins élevé que la capacité de stockage d'énergie de la batterie au lithium-ion.


Pour les modèles avec dispositif d'aide à la navigation :
Cette montre est synchronisée avec la montre affichée à l'écran du dispositif d'aide à la navigation. Pour obtenir des renseignements supplémentaires, consultez le manuel du système NissanConnect™ (pour Leaf).
TEMPÉRATURE EXTERIEURE
La température extérieure est indiquée en °C ou en °F.
L'affichage peut indiquer une températe différente de la tempéature extérieure réelle affichée sur divers panneaux.
CLOCK (HORLOGE)
Pour les modèles sans dispositif d'aide à la navigation :
Régléz la montre affichée à l'écran de réglage sur l'écran multifonction. Pour obtenir des renseignements supplémentaires, consultez la section « Réglages » duprésent chapitre. Si l'alimentation (batterie de 12 V) est coupée, l'heure indiquée par la montre ne sera pas exacte. Vous doivent alors la régler.


TÉMOIN DE MODE ECO
Ce témoin indique l'etat du système e-Pedal à l'écran multifonction. Lorsque le système e-Pedal est désactivé, le témoin affiche le message « e-Pedal OFF » (sys- tème e-Pedal désactivé). Pour obtenir de plus amples renseignements, consultez la section « Système e-Pedal » dans le chap- itre « Démarrage et conduite » du présence manuel.
TÉMOIN DU SYSTÉME E-PEDAL
Ce témoin « e-Pedal » s'allume dans l'écran multifonction lorsque le système e-Pedal a été activé. Le témoin de DÉSACTIVATION du système e-Pedal s'allume lorsque le système est hors fonction.
TÉMOINS D'AVERTISSEMENT, TÉMOINS ET RAPPELS SONORES
| Témoin de charge de la batterie de 12 V | Témoin d'ajretissement de basse pression des pneus | Témoin d'assistance des feu de route (selon l'équipement) |
| Témoin d'avertissement du cir-cuit de freinage antiblocage (ABS) | Témoin multifonction (rouge et jaune) | Témoin de branchement |
| Témoin de DÉSACTIVATION du système d'alerte sonore de véhicule en approche pour pié-tons | Témoin de la direction assistée | Témoin de limitation de puis-sance |
| Témoin d'avertissement du sys-tème de freinage d'urgence au-tomatique (selon l'équipement) | Témoin des ceintures de sécu-rité | Témoin PRÊT À DEMARRER |
| Témoin d'avertissement du sys-tème de freinage d'urgence au-tomatique avec dispositif de détention de piétons (selon l'équipement) | Témoin du sac gonflable | Témoin de sécurité |
| ① | Témoin du circuit de freinage (jaune) | PARK OU | Témoin du frein de stationnement électronique | Témoin de dérapage | |
| BRAKE | Témoin des freins (rouge) | ② | Témoin de l'éclairage extérieur | Témoins des clignotants et des yeux de détresse | |
| ou | |||||
| ① | Témoin d'advertissement du frein de stationnement électrique (jaune) | #D | Témoin des phares anti-brouillard avant (selon l'équipe-ment) | OFF | Témoin de NEUTRALISATION du système de contrôle dynamique du vehicule |
| Témoin du système de commande de changement de vis- tesse électrique | OFF | Témoin de neutralisation du sac gonflable du passager avant | |||
| Témoin du système de vehicule électrique | Témoin des faisceaux route (bleu) |
VÉRIFICATION DES FEUX
Lorsque toutes les portières sont fermées, serrez le frein de stationnement, bouclez les ceintures de sécurité et poussez le commutateur principal de LEAF à la position ON (marche) sans démarrer le système hybride. Les témoins suivants (selon l'équipement) s'allument :

Les témoins suivants (selon l'équipment) s'allument brièvement, puis s'éteignent :

Si un témoin quelconque ne s'allume pas ou fonctionne d'une maniere autre que celle décrite, il se peut qu'une ampoule soit grillée ou que le système présente une anomalie. Faites vérifier le système. Nous vous recommendons de vous rendre chez un concessionnaire NISSAN LEAF certifi pour procéder cet entretien.
Certains témoins et averissements s'aff-chent également à l'écran multifonction. Pour obtaining des renseignements supplémentaires, reportez-vous au chapitre « Écran multifonction » dans cette section.
TEMOINS
Pour obtenir des renseignements supplémentaires, reportez-vous au chapitre « Écran multifonction » dans cette section.

Témoin de charge de la batterie de 12 V
Le convertisseur continu-continu convertit la tension de la batterie au lithium-ion de 400 V pour charger la batterie de 12 V.
Ce témoin s'allume en permanence après la vérification du fonctionnement de l'ampoule lorsque le commutateur principal est à la position ON (marche), puis s'éteint lorsque le commutateur principal est placé à la position READY (préts à démarrer).
Lorsque ce témoin s'allume, un carillon re-tentit et les avertissements suivants s'aff-chent également.
- Avertissement principal (rouge)
- Témoin du système de vehicule électricque Les messages suivants clignotent également sur l'écran multifonction.
Si le vehicule est en mouvement: « Arrêteur le vehicule » et si le vehicule est arrêté: « Une fois garé, serrer le frein de stationnement ». Lorsque ces messages clignotent, arrêtez immédiatement le vehicule dans un endroit sécuritaire, tirez sur le commutateur de frein de stationnement et appuyez sur le commutateur de position P (stationnement) du levier sélection pour placer le vehicule en position P (stationnement). L'advertissement sur le compteur disparaît et le carillon cesse de détentir lorsqu'le frein de stationnement est actionné ou que le vehicule est en position P (stationnement). Faites vérifier le système. Nous vous recommendons de vous rendre chez un concessionnaire NISSAN LEAF certifié pour procéder cet entretien.

MISE EN GARDE
Le système de convertisseur continu-continu peut ne pas fonctionner correctement si le témoin de charge de la batterie de 12V s'allume en permanence lorsque le commutateur principal est à la position READY (préts demarrer). Arrêtez le vehicule immédiatement dans un endroit sur et faites vérifier le système. Nous vous recommendons de vous rendre chez un concessionnaire NiSSAN LEAF certifié pour procédérer cet entretien.
Le système de convertisseur continu-continu peut ne pas fonctionner correctement si le témoin de 12 V s'allume en permanence lorsque le commutateur principal est à la position READY (pré à démarrer). ne chargez pas la batterie de 12 V pendant que ce témoin est allumé. Il peut provoquer une anomalie du système de convertisseur continu-continu. Faites vérifier le système. Nous vous recommendons de vous rendre chez un concessionnaire NISSAN LEAF certifié pour procéder cet entretien.
REMARQUE:
Si le vehicule ne passe pas à la position READY (préts à démarrer) (lorsque vous appuyez sur le commutateur principal et que vous enforcez la pédale de frein), effectuez un démarrage d'appoint pour placer le commutateur principal à la position READY (préts à démarrer). Pour obtenir des renseignements supplémentaires, consultez la section la section « Démarrage-secours » du chapitre « En cas d'urgence » de ce manuel.
N'effectuez pas un démarrage d'appoint si les conditions ci-dessous sont réunies. Faites vérifier le système. Nous vous recommendons de vous rendre chez un concessionnaire NISSAN LEAF certifié pour cet entretien:
- Si le témoin de charge de la batterie de 12 V s'éteint lorsque le vehicule est en mode READY (préts à démarrer), la batterie de 12 V peut être décharge ou le système connexe de la batterie de 12 V peut partager une anomalie.
-Si le témoin de charge de 12 V reste allumé lorsque le vehicule est en mode READY (préts à démarrer), le convertisseur continu-continu peut désenter une anomalie. Faites vérifier le système. Nous vous recom-mandons de vous rendre chez un concessionnaire NISSAN LEAF certifié pour procéder cet entretien.
ABS

Témoin des freins antiblocage
Lorsque le commutateur principal est à la position ON (marche) ou PRÉT À DEMAR- RER, le témoin du système de freinage antiblocage s'allume, puis il s'éteint. Cela indique que le circuit de freinage antiblocage (ABS) est fonctionnel.
Si le témoin de freinage antiblocage s'allume lorsque le commutateur principal est à la position PRÉTÀ DEMARRER ou durant la conduite, il est possible que le système de freinage antiblocage ne fonctionne pas correctement. Faites vérifier le système. Nous vous recommendons de vous rendre chez un concessionnaire NISSAN LEAF certifié pour ce service.
Lorsqu'une anomalie se produit dans le circuit de freinage antiblocage (ABS), la fonction antiblocage est désactivée. Le fonctionnement du dispositif antiblocage est alors neutralisé et votre vehicule utilise le système de freinage standard. Pour obtenir des renseignements supplémentaires, consultez la section « Circuit de freinage » dans le chapitre « Démarriage et conduite » duprésent manuel.

Témoin de DÉSACTION du système d'alerte sonore de vehicule en approche pour piétons
Le témoin du système d'alerte sonore de vehicule en approche pour piétons est si-tué sur le tableau de bord.
Ce témoin s'allume en cas d'anomalie du système d'alerte sonore de vehicule en approche pour piétons.
Si le témoin du système d'alerte sonore de vehicule en approche pour piétons s'allume lorsque le commutateur principal est à la position ON (marche) ou READY (préts demarrer), il se peut que le système d'alerte sonore de vehicule en approche
pour piétons ne fonctionne pas correctement. Faites vérifier le système. Nous vous recommendons de vous rendre chez un concessionnaire NISSAN LEAF certifié pour procéder cet entretien.
Pour obtenir des renseignements supplémentaires, consultez la section « Système d'alerte sonore de vehicule en approche pour piétons » dans le chapitre « Aperçu du vehicule électrique » duprésent manuel.

Témoin d'rapidissement du système de freinage d'urgence automatique (selon l'équipement)
Ce témoin s'allume lorsque vous tournez le commutateur principal à la position ON (marche). Il s'éteint après que le système hybride ait démarre.
Ce témoin s'allume lorsque le système de freinage d'urgence automatique est DÉS-ACTIVÉ à l'affichage du compteur.
Si le témoin s'allume lorsque le système de freinage d'urgence automatique est allumé, cela peut indiquer que le système n'est pas disponible. Pour obtenir de plus amples renseignements, consultez la sec
tion « Système de freinage d'urgence automatique » dans le chapitre « Démarriage et conduite » duprésent manuel.

Témoin d'ajretissement du système de freinage d'urgence automatique avec dispositif de détction de piétons (selon l'équipement)
Cétémoin s'allume lorsque vous tournez le commutateur principal à la position ON (marche). Il s'éteint après que le système hybride ait démarré.
Ce témoin s'allume lorsque le système de freinage d'urgence automatique avec détction de piétons est DÉSACTIVE à l'écran multifonction.
Si le témoin s'allume lorsque le système de freinage d'urgence automatique avec détction de piétons est allumé, cela peut indiquer que le système n'est pas disponible. Pour obtenir de plus amples renseignements, consultez la section « Système de freinage d'urgence automatique avec dispositif de détction de piétons » du chapitre « Démarriage et conduite » du présent manuel.

Témoin du circuit de freinage (jaune)
Le circuit de freinage régénératif coopératif et le circuit de freinage intelligent entrainélectroniquement partagent les fonctions de ce témoin.
Lorsque le commutateur principal est placé à la position ON (marche) ou à la position READY (préts à démarrer), le témoin reste allumé pendant deux à trois secondes. Si le témoin s'allume à un autre moment, il se peut que le circuit de freinage régénératif coopératif ou le circuit de freinage intelligent entrainélectroniquement ne fonctionne pas correctement. Faites vérifier le système. Nous vous recommendons de vous rendre chez un concessionnaire NISSAN LEAF certifié pour procéder cet entretien.
Sile témoin des freins (rouge) s'allume également, immobilisez immédiatement le véchicule et faites vérifier le système. Nous vous recommendons de vous rendre chez un concessionnaire NISSAN LEAF certifié pour procéder cet entretien. Pour obtenir des renseignements supplémentaires, consultez la section « Circuit de freinage » dans le chapitre « Démarrage et conduite » duprésent manuel.

AVERTISSEMENT
- Lorsque vous appuyez sur la pédale de frein alors que le commutateur principal n'est pas à la position ON (marche) ou READY (préts à démarrer) ou que le niveau de liquide de frein est bas, vous risquez de prolonger la distance de finage et la course de la pédale ainsi que l'effort requis pour freiner.
- Si le niveau du liquide de frein se situe sous le repère minimum ou MIN du réservoir de liquide de frein, ne conduisez pas le vehicule tant que le circuit de freinage n'a pas eté vérifié. Nous vous recommendons de vous rendre chez un concessionnaire NISSAN LEAF certifié pourrialcder cet entretien.
Le circuit de freinage regénératif coopératif peut ne pas fonctionner correctement si le témoin du circuit de freinage s'allume lorsque le témoin PRÉT à démarrer est ALLUMÉ. Si vous jugez que vous pouvez poursuivre toute route sans danger, conduisez prudemment jusqu'à la station-service la plus proche pour y faire effectuer les réparations nécessaires. Sinon, faites remorquer votre vehicule car la conduite du vehicule pourrait alors être dangereuse.
BRAKE

Témoin des freins (rouge)
Lorsque le commutateur principal est placé à la position ON (marche) ou à la position READY (préts à démarrer), le témoin reste allumé pendant quelques secondes. Si le témoin s'allume à un autre moment, il se peut que le circuit de freinage hydraulique ne fonctionne pas correctement. Si le témoin des FREINS s'allume, immobilisez immédiatement le vehicule et faites vérifier le système. Nous vous recommendons de vous rendre chez un concessionnaire NISSAN LEAF certifié pour procéder cet entretien.
Témoin de frein de stationnement :
Lorsque le commutateur principal est à la position ON (marche), le témoin s'allume lorsque le frein de stationnement est serré.
Témoin de bas niveau de liquide de frein :
Lorsque le commutateur principal est à la position ON (marche), le témoin indique que le niveau de liquide de frein est bas. Si ce témoin s'allume, le témoin du système de contrôle dynamique du vehicule et le témoin du circuit de freinage (jaune) s'allument également.
Si le témoin s'allume lorsque le commutateur principal est à la position READY (préts à démarrer) et que le frein de stationnement est desserré, immobilisez le vehicule et effectuez les étapes suivantes.
- Vérifiez le niveau de liquide de frein. Si le niveau de liquide de frein est bas, ajoutez du liquide et faites vérifier le système. Nous vous recommendons de vous rendre chez un concessionnaire NISSAN LEAF certifié pour procéder cet entretien. Pour obtenir des renseignements supplémentaires, reportez-vous à la section « Liquide de frein » du chapitre « Entretien
et interventions du propriété » de ce manuel.
- Si le niveau du liquide de frein est ajustat, faites vérifier le système d'advertisement. Nous vous recommendons de vous rendre chez un concessionnaire NiSSAN LEAF certifié pourrialcder cet entretien.

AVERTISSEMENT
-
Si le témoin des freins est allumé, cela peut indiquer une défaillance du circuit de freinage. La conduite du vehicule peut alors être dangereuse. Si vous jugez que le circuit de freinage ne présente aucun danger, conduizez prudemment jusqu'à la station-service la plus proche pour y faire effectuer les réparations nécessaires. Sinon, faites remorquer votre vehicule.
-
Lorsque vous appuyez sur la pédale de frein alors que le commutateur principal n'est pas à la position ON (marche) ou READY (préts à démarrer) ou que le niveau de liquide de frein est bas, vous risquez de prolonger la distance de freinage et la course de la pédale ainsi que l'effort requis pour freiner.
- Si le niveau du liquide de frein se situe sous le repère minimum ou MIN du réservoir de liquide de frein, ne conduisez pas le vehicule tant que le circuit de freinage n'a pas eté vérifié. Nous vous recommendans de vous rendre chez un concessionnaire NiSSAN LEAF certifié pourrialcder cet entretien.

Témoin du circuit de freinage électronique (jaune)
Le témoin du système de freinage de stationnement électronique fonctionne pour le système de freinage de stationnement électronique. Lorsque le commutateur principal est à la position ON (marche), le témoin s'allume pendant deux secondes. Si le témoin s'allume à un autre moment, il
se peut que le système de freinage de stationnement électronique ne fonctionne pas correctement. Faites vérifier le système immédiatement. Nous vous recommandons de vous rendre chez un concessionnaire NiSSAN LEAF certifié pour procéder cet entretien.

Témoin du système de commande de changement de vitesse électrique
Ce témoin s'allume pour averir le conducteur lorsqu'une anomalie se produit dans le système de commande de changement de vitesse électrique. Lorsque le témoin multifonction s'allume, le carillon retentit et le message « Une fois garé, serrer le frein de stationnement » s'affiche sur l'écran multifonction.
Lorsque le commutateur principal est à la position OFF (hors fonction), le carillon retentit continulement. Assurez-vous que le frein de stationnement est serré.
Faites vérifier le système. Nous vous recommandons de vous rendre chez un concessionnaire NISSAN LEAF certifié pour ce service.

Témoin du système de vehicule électrique
Ce témoin s'allume en cas d'anomalie des systèmes suivants. Faites vérifier le système. Nous vous recommendons de vous rendre chez un concessionnaire NISSAN LEAF certifié pour ce service.
Moteur de traction et système d'inverseur
- Port de charge ou chargeur situé dans l'habitacle
- Système de batterie au lithium-ion
- Circuit de refroidissement
- Système de commande de changement de vitesse
Le système d'arrêt d'urgence est activé. Pour obtenir des renseignements supplémentaires, consultez la section « Système d'arrêt d'urgence » dans le chapitre « Aperçu du vehicule électrique » du réseau manuel.

Témoin d'avertissement de basse pression des pneus
Votre vehicule est muni d'un système de surveillance de la pression des pneus qui surveille la pression de gonflage de tous les pneus.
Le témoin de bassé pression des pneus signale une bassé pression des pneus ou indique que le système de surveillance de la pression des pneus ne fonctionne pas correctement.
Après avoir place le commutateur principal à la position ON (marche), ce témoin s'allume pendant environ une seconde, puis s'éteint.
Témoin d'ajretissement de basse pression des pneus
Le témoin s'allume pendant la conduite si uneasse pression des pneus est détectée.L'avertissement « Low Tire Pressure - Add Air » (pression des pneus basse-gonfler les pneus) s'affiche également à l'écran multifonction.
Lorsque le témoin d'advertissement de bassé pression des pneus s'allume, vous devriez vous arrêté et régler la pression des pneus en fonction de la valeur À FROID indiquée sur l'étiquette d'information sur les pneus et la charge. Meme si vous avez régle la pression des pneus, le témoin d'advertissement de bassé pression des pneus ne s'éteint pas automatiquement. Une fois la pression des pneus réglee à la pression recommencée, il faudra rouler à plus de 25 km/h (16 mi/h) pour activer le système de surveillance de la pression des pneus et désactiver le témoin d'advertissement de bassé pression des pneus. Utilisez un manomètre pour pneus pour vérifier la pression des pneus.
Le message d'advertissement « Low Tire Pressure - Add Air » (pression des pneus basse - gonfler les pneus) s'affiche chaque fois que le commutateur principal se trouve à la position ON (marche) tant que le témoin d'advertissement de basse pression des pneus demeure allumé.
Pour obtenir des renseignements supplémentaires, consultez la section « Écran multifonction » duprésent chapitre et la section « Système de surveillance de la pression des pneus » des chapitres « Démarriage et conduite » et « En cas d'urveillance » duprésent manuel.
Anomalie du système de surveillance de la pression des pneus
Si le système de surveillance de la pression des pneus ne fonctionne pas correctement, le témoin d'ajretissement de basse pression des pneus clignote pendant environ une minute lorsque le commutateur principal est place à la position ON (marche). Le témoin demeure allumé après une minute. Faites vérifier le système. Nous vous recommendons de vous rendre chez un concessionnaire NiSSAN LEAF certifié pour procéder cet entretien. L'avertissement « Low Tire Press – Add Air » (pression des pneus bassse – Gonfler les pneus) ne s'affiche pas si le témoin d'ajretissement de basse pression des pneus s'allume pour indiquer une anomalie du système de surveillance de la pression des pneus.
Pour obtenir des renseignements supplémentaires, consultez les sections « Écran multifonction » duprésent chapitre et « Système de surveillance de la pression des pneus » du chapitre « Démarrage et conduite » duprésent manuel.

AVERTISSEMENT
- Les ondes radioélectriques peuvent nuir au fonctionnement des apparêls Médicaux électriques. Les personnes qui portent un stimulator cardiaque doivent communiquer avec le fabricant de l'appareil Médicinal électrique pour connaître les interférences possibles avant l'utilisation.
Si le témoin ne s'allume pas lorsque le commutateur principal est à la position ON (marche), faites vérifier votre vehicule. Nous vous recommandons de consulter un concessionnaire NiSSAN LEAF certifié dés que possible pour cet entretien.
Si le témoin s'allume pendant la conduite, évitez les manoeuvres de braquage et les freinages brusques, ralentissez, rangez-vous en un endroit sécuritaire, puis immobilisez le
Véhicule des que possible. La conduite avec un pneu insuffisamment gonflé peut cause des dommages permanents au pneu et augmente la probabilité de défaillance du pneu. Voiture vehicule pourrait subir des dommages importants et vous pourriez avoir un accident entrainant des blessures graves, voire la mort. Vérifiez la pression de tous les pneus. Effectuez un réglage de pression À FROID, tel que spécifique sur l'étiquette de renseignements relatifs aux pneus et à la charge, pour ainsi DÉSACTIVER le témoin d'advertissement de basse pression des pneus. Si le témoin s'allume encore pendant la conduite après le réglage de pression des pneus, il se peut qu'un des pneus soit creve ou que le système de surveillance de la pression des pneus soit défectueux. Si vous avez un pneu creve, montez la roue de secours lors que possible. Si aucun pneu n'est à plat et tous les pneus sont correctement gonfés, faites vérifier le vehicule. Nous vous recommendons de vous rendre chez un concessionnaire NISSAN LEAF certifié pour procéder cet entretien.
Lors du remplacement d'une roue qui n'est pas equipée d'un système de surveillance de la pression des pneus, comme une roue de secours, le système de surveillance de la pression des pneus ne sera plus fonctionnel et le témoin de basse pression des pneus clignoterapendant environ une minute. Le témoin demeure allumé après une minute. Faites vérifier le système. Nous vous recommendons de vous rendre chez un concessionnaire NISSAN LEAF certifiéddsque possible pour procédér au remplacement des pneus ou à la réinitialisation du système.
- L'utilisation de pneus de remplacement autres que ceux précisés par NiSSAN peut nuir au fonctionnement du système de surveillance de la pression des pneus.

MISE EN GARDE
- Le système de surveillance de la pression des pneus ne remplace aucunement la vérification régulière de la pression des pneus. Vérifiez régulièrement la pression des pneus de votre vehicule.
- Si le vehicule roule à moins de 25km / h (16 mi/h), le système de surveillance de la pression des pneus peut ne pas fonctionner correctement.
Assurez-vous que des pneus de la taille spécifiée sont installés correctement aux quatre roues de votre vehicule.

Témoin multifonction (rouge et jaune)
Le vehicule est muni de deux types de t'émoins multifonctions : jaune et rouge. Les t'émoins multifonctions s'allument si les t'émoins ou les indicateurs sont allumés ou si divers averissements concernant les données du vehicule s'affichent sur l'écran multifonction.
Témoin multifonction jaune
Cetémoin s'allume lorsqu'un tímoin jaune situé à l'écran multifonction s'allume ou lorsqu'un message s'affiche sur l'écran multifonction.
Témoin multifonction rouge
Ce témoin s'allume lorsqu'un témoin rouge situé à l'écran multifonction s'allume ou lorsqu'un averissement s'affiche sur l'écran multifonction.

Témoin de la direction assistée
Lorsque le commutateur principal est à la position ON (marche), le témoin de la direction assistée électriche s'allume et s'éteint quand vous placez le commutateur principal à la position READY (préts à démarrer). Cela indique que le système de direction assistée électriche est fonctionnel.
Si le témoin de la direction assistée électrique s'allume pendant que le témoin PRÉT à démarrer est ALLUMÉ, il se peut que le système de direction assistée électrique ne fonctionne pas correctement et qu'il doive être réparé. Faites vérifier le système de direction assistée électrique. Nous vous re
commandons de vous rendre chez un concessionnaire NISSAN LEAF certifié pour procéder cet entretien.
Lorsque le témoin de la direction assistée électrique s'allume pendant que le témoin PRÉT à démarrer est ALLUMÉ, la direction n'est plus assistée mais vous conservez toutes la maîtrise du vehicule. À ce moment, un effort de direction supérieur est nécessaire pour manœuvrer le volant, surtout dans les virages brusques et à basse vitesse.
Pour obtenir des renseignements supplémentaires, consultez la section « Système de direction assistée » dans le chapitre « Démarriage et conduite » du réseau manuel.

Témoin des ceintures de sécurité
Ce témoin et ce carillon s'activent pour rappeler aux occupants du vehicule de boucler leur ceinture. Le témoin s'allume chaque fois que le commutateur principal est placé à la position ON (marche) et reste allumé tant que la ceinture de sécurité du conducteur est débouclée. Le carillon retentit en même temps pendant six secondes environ à moins que la ceinture de sé
curité du conducteur ne soit bouclée correctement.
Le témoin des ceintures de sécurité pour le passager avant s'allume si la ceinture de sécurité n'est pas bouclée lorsque le siege du passager avant est occupé. Le témoin des ceintures de sécurité du passager avant ne s'active qu'après cinq secondes après avoir place le commutateur principal à la position ON (marche).
Pour obtenir des renseignements supplémentaires et connaître les précautions concernant l'utilisation des ceintures de sécurité, consultez la section « Ceintures de sécurité » du chapitre « Sécurité - Sièges, ceintures de sécurité et système de retenue supplémentaire » duprésent manuel.

Témoin du sac gonflable
Le témoin de sac gonflable s'allume lorsque vous placez le commutateur principal à la position ON (marche). Le témoin de sac gonflable s'éteint après sept secondes environ si les systèmes de sacs gonflables avant, de sacs gonflables lateraux, de rideaux gonflables lateraux et de ceintures de sécurité avec prétendeurs sont fonctionnels.
Si l'une des conditions suivantes survient, les systèmes de sacs gonflables avant, de sacs gonflables lateraux, de rideaux gonflables lateraux et de ceintures de sécurité avec pretendeurs doivent faire l'objet d'un entretien auprès de votre concessionnaire NISSAN LEAF certifié.
- Le témoin du sac gonflable reste allumé après la période initiale d'environ sept secondes.
- Le témoin du sac gonflable clignote par intermittence.
- Le témoin de sac gonflable ne s'allume pas.
À moins qu'ils ne soient vérifiés et réparés, les systèmes de retenue supplémentaire et les prétendeurs risquent de ne pas fonctionner correctement.
Pour obtenir des renseignements supplémentaires, consultez la section « Système de retenue supplémentaire (SRS) » du chapitre « Sécurité - Sièges, ceintures de sécurité et système de retenue supplémentaire » du réseau manuel.

AVERTISSEMENT
L'allumage du témoin des sacs gonflables peut indiquer que les systèmes de sacs gonflables avant, de sacs gonflables lateraux, de rideaux gonflables latéraux et de prétendeurs des ceintures de sécurité ne fonctionneront pas en cas d'accident. Pour prévenir les blessures potentielles aux occupants, faites vérifier votre vehicule. Nous vous recommendans de consulter un concessionnaire NISSAN LEAF certifié des que possible pour cet entretien.
TEMOINS
Pour obtenir des renseignements supplémentaires, reportez-vous au chapitre « Écran multifonction » dans cette section.
PARK ou le (P) témoin du frein de stationnement électronique
Lorsque le commutateur principal est à la position ON (marche), le témoin s'allume lorsque le frein de stationnement est serré.
E0D3
Témoin de l'éclairage extérieur
Ce témoin s'allume lorsque l'interrupteur des phares est tourné à la position AUTO (automatique), éda ou et que les deux de stationnement avant, les deux de position, les deux arrêté et l'éclairage de la plaque d'immatriculation sont actifs. Le témoin s'éteint lorsque ces deux sont dé-sactivés.
#
Témoin des phares antibrouillard avant (selon l'équipement)
Le témoin des phares antibrouillard avant s'allume lorsque ceux-ci sont activés. Pour obtenir des renseignements supplémentaires, reportez-vous au chapitre « Interrupteur des phares antibrouillard » dans cette section.

Témoin de neutralisation du sac gonflable du passager avant
Le témoin de neutralisation du sac gonflable du passager avant (situé au centre du tableau de bord) s'allume et le sac gonflable avant du passager est désactivé en fonction de l'utilisation du siège du passager avant.
Pour obtenir des renseignements supplémentaires sur le témoin de neutralisation du sac gonflable du passager avant, consultez la section « Système de sacs gonflables perfectionnés NISSAN (sièges avant) » dans le chapitre « Sécurité - sièges, ceintures de sécurité et système de retenue supplémentaire » du préSENT manuel.

Témoin d'assistance des yeux de route (selon l'équipement)
Le témoin s'allume lorsque les phares s'allument alors que l'interrupteur des phares se trouve à la position AUTO (automatique) avec l'option feuels de route selectionnée. Cela indique que le système d'assistance des feuels de route est fonctionnel.
Pour obtenir des renseignements supplémentaires, consultez la section « Sélection des feuux » dans ce chapitre.

Témoin des feu de route (bleu)
Ce témoin s'allume lorsque les feu des route sont allumés et s'éteint lorsque les feu des croisement sont sélectionnés.

Témoin de branchement
Ce témoin s'allume lorsque le connecteur de charge est branché sur le vehicule et clignote durant le chargement.
REMARQUE:
Si le connecteur de charge est branché sur le vehicule, le commutateur principal ne peut pas etre place a la position PRET A DEMARRER.

Témoin de limitation de puissance
Lorsque le témoin de limitation de puissance est allumé, la puissance fournie au moteur de traction est réduite. Par conséquent, la réaction du vehicule est réduite lorsque vous appuyez sur la pédale d'accé
l'érateur alors que le témoin de limitation de puissance est allumé.
Lorsque ce témoin s'allume, l'affichage d'avertissement apparait à l'écran multifonction. Suivez les directives fournies à l'écran multifonction.
Ce témoin s'allume dans les conditions suivantes.
-La charge disponible de la batterie au lithium-ion est extrémement faible.
- La température de la batterie au lithium-ion est très BASSE (environ -20^ [-4°F]).
- La température du système de vehicule électrique est élevé (moteur, inverseur, système de liquide de refroidissement, batterie au lithium-ion, etc.)
- Le système de vehicule électrique presente une anomalie.
Si le témoin de charge faible de la batterie est allumé, chargez la batterie au lithium-ion dés que possible.
Si ce témoin s'allume en raison de la température froide de la batterie au lithium-ion causée par une température extérieure bassé, déplacez le vehicule à un endroit plus chaud. Le chargement de la batterie
au lithium-ion peut augmenter la tempé-rature de la batterie au lithium-ion.
Si le témoin s'allume lorsque le système de vehicule électrique est chaud en raison de la conduite continue sur une pente ascendante, poursuivez la conduite à une vitesse sécuritaire inférieure ou immobilisez le vehicule dans un endroit sur. Si le témoin ne s'éteint pas, faites vérifier le système. Nous vous recommendons de vous rendre chez un concessionnaire NISSAN LEAF certifié pour procéder cet entretien.
Le témoin s'allume lorsqu'une pièce du système de vehicule électrique est déféc-tueuse ou si le témoin s'allume dans une situation autre que celles décrites cïdessus, ou encore s'il ne s'éteint pas, le système pourrait partager une anomalie. Faites vérifier le système. Nous vous re-commandons de vous rendre chez un concessionnaire NISSAN LEAF certifié pour procéder cet entretien.

AVERTISSEMENT
Le mode de limitation de puissance peut entrainer une puissance réduite et une diminution de vitesse du vehicule. Une vitesse inférieure à celle de la circulation fait augmenter les risques de collision. Soyez particulièrement prudent pendant la conduite. S'il n'est pas possible de maintainir une vitesse sécuritaire, rangez-vous en cordure de la route dans un endroit sur. Chargez la batterie au lithium-ion si la charge est faible ou laissez la batterie au lithium-ion se refroidir.
REMARQUE:
Voussoupérez réduire le temps dechargement et gardez la température de labattery au lithium-ion basse si vous :
Chargez de plus petites quantités plus souvent, et
-si vous maintenez la batterie à un niveau plus élevé de charge.

Témoin PRÉTÀ DEMARRER
Le témoin PRÉT À DEMARRER s'allume lorsque le système de vehicule électrique est alimenté et que le vehicule peut être utilisé.
Le témoin PRÉT à démarrer s'éteint dans les conditions suivantes.
- Certaines pannes du système de vehicule électrique.
- Le témoin PRÉT à démarrer s'éteint immédiatement avant que la batterie au lithium-ion soit complètement décharge. Si la batterie au lithium-ion est complètement décharge, vous devez recharger la batterie avant de pouvoir conduire le vehicule. Pour obtenir des renseignements supplémentaires, consultez le paragraphe « Témoin de charge faible de la batterie » dans ce chapitre.

Témoin de sécurité
Ce témoin clignote lorsque le commutateur principal est à la position ACC (accessoires), OFF (arrêt) ou LOCK (antivol-verrouillé). Ce témoin indique que le dispositif de sécurité du vehicule est fonctionnel.
Si le système de sécurité est défectueux, ce témoin reste allumé lorsque le commutateur principal est à la position ON (marche). Pour obtenir des renseignements supplémentaires, consultez la section « Systèmes de sécurité » dans ce chapitre.

Témoin de dérapage
Cet indicateur clignotera quand le système de Contrôle Dynamique du Véhicule ou l'antipatinage fonctionne, pour indiquer au conducteur que les roues du vehicule perdront bientôt leur adhérence. La route peut être glissante.
Il est possible que le fonctionnement du système entraine une légere vibration ou des bruits, mais ceci est normal. Le témoin clignote pendant quelques secondes après que le dispositif de contrôle dynamique du vehicule cesse de limiter le patinage des roues.
Le témoin s'allume également lorsque vous tournez le commutateur principal à la position ON (marche).
Il s'éteint après 2 secondes environ si le système est fonctionnel. Si le témoin ne s'allume pas, faites vérifier le système.
Nous vous recommendons de vous rendre chez un concessionnaire NISSAN LEAF certifié pour ce service.

Témoin d'ajretissement des clignotants et des feu des détresse
Ces tímoins clignotent lorsque le levier des clignotants ou le commutateur des feuux de détresse est en position d'activation.

Témoin de neutralisation du système de contrôle dynamique du vehicule
Ce témoin s'allume lorsque le commutateur du système de contrôle dynamique du vehicule est enforcé à la position OFF (hors fonction). Ceci indique que le système de contrôle dynamique du vehicule n'est pas en fonction. Pour obtenir des renseignements supplémentaires, consultez la section « Système de contrôle dynamique du vehicule » dans le chapitre « Démarriage et conduite » duprésent manuel.
RAPPELS SONORES
Signal d'avertissement des indicateurs d'usure de plaquettes de frein
Les indicateurs d'usure de plaquettes de frein peuvent émettre un signal d'advertisement. Lorsqu'une plaquette de frein doit être remplaçée, l'indicateur d'usure émet un bruit de raclage aigu lorsque le vehicule est en mouvement. Ce bruit de raclage ne se produit initialement que lorsque la pédale de frein est enforcée. Àpres une usure additionnelle de la plaquette de frein, le bruit se produit constamment même si la pédale de frein n'est pas enforcée. Faites vérifier les freins de votre vehicule dés que possible si les indicateurs d'usure des freins émettent un tel bruit.
Carillon de rappel du système de commande de changement de vitesse électrique
Si vous effectuez un changement de vitesse inapproprié, un carillon retentit par mesure de sécurité et, selon les conditions, l'opération est également annulée ou la position du levier de vitesses passera à la position N (point mort).
Consultez la section « Conduite du vehicule » du chapitre « Demarrage et conduite » du present manuel pour obtenir des renseignements supplémentaires.
Carillon de rappel de clé dans le commutateur d'allumage
Un carillon retentit si la portiere du conducteur est ouverte lorsque le commutateur principal est à la position ON (marche) ou ACC (accessoires).
Assurez-vous que le commutateur principal est enforcé à la position OFF (arrêt) et n'oubliez pas d'avoir en votre possession la clé intelligente lorsque vous quitterze le vehicule.
Carillon de rappel des phares allumés
Le carillon de rappel des phares allumés retentit lorsque la portière du conducteur est ouverte et que l'interrupteur des phares est à la position 00 ou 0 et que le commutateur principal est à la position ACC (accessoires), OFF (arrêt) ou LOCK (antivol-verrouillé).
Placez l'interrupteur des phares à la position OFF (hors fonction) lorsque vous quittez le vehicule.
Carillon de rappel de frein de stationnement
Un averisseur sonore retentit si le frein de stationnement est serré et que le vehicule roule. L'avertisseur sonore s'interrrompt si le frein de stationnement est desseré ou si le vehicule s'immobilise.
Carillon de rappel du commutateur principal
Le carillon de rappel du commutateur principal retentit lorsque la portiere du conducteur est ouverte et que le commutateur principal est à la position ON (marche) ou READY (préts à démarrer). Appuyez sur le commutateur principal à la position OFF (hors fonction).
Carillon d'ajretissement de ceinture de sécurité
Le carillon d'avertissement de ceinture de sécurité retentit pendant six secondes environ a moins que la ceinture de sécurité du conducteur ne soit bouclée correctement.
Carillon d'avertissement de charge de la batterie de 12 V
Si le témoin de charge de la batterie de 12 V s'allume, le carillon retentit lorsqu'un message d'advertissement s'affiche sur l'écran multifonction.
Lorsque le carillon retentit, immobilisez immédiatement le vehicule dans un endroit sécuritaire, appuyez sur le commutateur de position P (stationnement) du levier sélecteur, puis serrez le frein de stationnement. Le témoin de charge de la batterie de 12 V s'éteint et le carillon)cesse de retentir lorsque vous serrez le frein de stationnement ou que vous placez le levier sélecteur à la position P (stationnement). Faites vérifier le système. Nous vous recommendons de vous rendre chez un concessionnaire NiSSAN LEAF certifié pour procéder cet entretien. Pour obtenir des renseignements supplémentaires, consultez la section « Témoin de charge de la batterie de 12V » dans ce chapitre.
AFFICHAGE MULTIFONCTION

L'affichage multifonction se trouve à la gauche de l'indicateur de vitesse. Il affiche des options telles que
- Renseignements sur la batterie
- Économie d'énergie
Vitesse moyenne du vehicule
Distance parcourue
Temps de conduite - Renseignements sur le régulateur devitesse
- Renseignements sur la clé intelligente
Témoins et averissements

UTILISATION DE L'ÉCRAN MULTIFONCTION
Vouspouvez modifier I'ecran multifonction à l'aide de boutons
et OK du volant.
Utilise ce commutateur pour OK modifier ou selectionner des options.
Utilisez ces commutateurs pour naviguer dans l'écran multifonction.
Utilise ce commutateur pour revenir au menu précédent.
4
Utilisez ces commutateurs pour naviguer dans l'écran multifonction.
Les boutons OK et commandent également les fonctions audio et du bloc de commande dans certains cas. La plupart des écrans et menus offrent des messages-guides d'instructions sur les commandes au volant pour indiquer comment controller l'écran multifonction. Des points blancs s'affichent sur le côté gauche de l'écran multifonction lorsqu'il y a plus d'une page d'options du menu. Les boutons OK, and changent la source audio et commandent également le mode manuel du système de reconnaissance vocale. Pour obtenir des renseignements supplémentaires, consultez le manuel du système NissanConnect (pour Leaf).
AFFICHAGE AU DEMARRAGE
Lorsque le vehicule est à la position ON (marche), l'écran multifonction peut afficher les écrans suivants :
- Renseignements sur la batterie
Audio
Navigation - Économie d'énergie
- Safety Shield (écran protecteur)
-Warnings (avertissements) - Settings (réglages)
Les avertissements s'affichent uniquement s'ils sont presents. Pour obtenir de plus amples renseignements, consultez la
section « Avertissements et témoins de l'écran multifonction » du présent chapitre.
Pour contrôler les options qui s'affichent à l'écran d'information, reportez-vous au chapitre « Réglages du compteur » dans cette section.
SETTINGS (RéGLAGES)
Le mode réglages permet de modifier les renseignements affichés à l'écran multifonction, ainsi que d'activer et de désactiver plusieurs fonctions et systèmes du vehicule. Les réglages sont les suivants :
-
Réglage du système de contrôle dynamique du vehicule
-
Driver Assistance (aide au conducteur)
- Affichage personalisé
- Vehicle Settings (réglages de vehicule)
- Réglages du système électrique du vehicule
- TPMS Settings (réglages du système de surveillance de la pression des pneus TPMS)
- Maintenance (entretien)
Clock (horloge) - Unité et langue
- Factory Reset (réinitialisation des réglages d'usine)
Réglage du système de contrôle dynamique du vehicule
Le menu de réglage du système de contrôle dynamique du vehicule permet à l'utilisateur de régler le système de contrôle dynamique du vehicule.
| Option de menu | Résultat |
| Réglage du système de contrôle dynamique du vehicule | Permet à l'utiliser d'activer ou de désactiver le système de contrôle dynamique du vehicule. |
Driver Assistance (aide au conducteur)
Le menu Driver Assistance (aide au conducteur) permet à l'utiliser de modifier les réglages relatifs à l'aide à la conduite, au stationnement et au freinage.
| Option de menu | Résultat | |
| Steering Assist (direction assistée) (selon l'équipment) | Permet à l'usage d'activer ou de désactiver la direction assistée. Pour obtenir des renseignements supplémentaires, consultez la section « Pro-PILOT Assist » dans le chapitre « Démarrage et conduite » du présent manuel. | |
| Lane (voie) | Affiche les options de voie offertes. | |
| Témoin du système de prévention des écarts | Permet à l'utiliser d'activer ou de désactiver le système d'avertisse-ment du déport de couloir. Pour obtenir de plus amples renseignements, consultez la section « Système d'avertissement du déport de couloir (LDW) » dans le chapitre « Démarrage et conduite » du présent manuel. | |
| Prévention du déport de couloir | Permet à l'utiliser d'activer ou de désactiver le système d'avertisse-ment du déport de couloir. Pour obtenir de plus amples renseignements, consultez la section « Système d'intervention de changement de voie in-telligent » dans le chapitre « Démarrage et conduite » du présent manuel. | |
| Blind Spot (angle mort) | Affiche les options disponibles pour les angles morts. | |
| Système d'avertissement d'angle mort | Permet à l'utiliser d'activer ou de désactiver le système d'avertisse-ment d'angle mort. Pour obtenir des renseignements supplémentaires, se reporter à la section « Système d'avertissement d'angle mort » dans le chapitre « Démarrage et conduite » du présent manuel. | |
| Luminosité du témoin latéral | Permet à l'utiliser de régler la luminosité du témoin latéral. | |
| Emergency Brake (freinage d'urgence) | Affiche les options disponibles de freinage d'urgence. | |
| Système | Permet à l'usager d'activer ou de désactiver le système de freinage d'ur-gence. Pour obtenir de plus amples renseignements, consultez la section « Système de freinage d'urgence automatique » dans le chapitre « Dé-marrage et conduite » du présent manuel. | |
| Parking Aids (aides au stationnement) | Affiche les aides au stationnement disponibles. | |
| Objets mobiles | Permet à l'utiliser d'activer ou de désactiver le système de détction d'objets mobiles. Pour obtenir de plus amples renseignements, consultez la section « Système de détction d'objets mobiles » du chapitre « Systèmes de surveillance, de climatisation, audio, téléphonique et de reconnaissance vocale » de ce manuel. | |
| Cross Traffic (circulation transversale) | Permet à l'utiliser d'activer ou de désactiver le système d'alerte de circulation transversale. Pour obtenir des renseignements supplémentaires, se reporter à la section « Système d'alerte de circulation transversale arrière (RCTA) » du chapitre « Démarrage et conduite » du présent manuel. | |
| Alerte d'attention du con-ducteur (selon l'équipe-ment) | Permet à l'utiliser d'activer ou de désactiver le système d'alerte d'attention du conducteur. Pour obtenir de plus amples renseignements, consultez la section « Système d'alerte vigilance conducteur intelligent (I-DA) » dans le chapitre « Démarrage et conduite » du présent manuel. | |
| Timer Alert (alerte de minuterie) | Permet à l'utiliser de régler et de réinitialiser une alerte pour un inter-valle de symponisation spécifique. | |
| Low Temperature Alert (alerte de température basse) | Permet à l'utiliser d'activer ou de désactiver le système d'alerte de température basse. | |
| Contrôle du châssis (selon l'équipement) | Affiche les contrôlles du châssis disponibles. | |
| Active Trace Control (contrôle de trijectoire actif) | Permet à l'utiliser d'activer ou de désactiver le système d'alerte d'attention du conducteur. Pour obtenir de plus amples renseignements, consultez la section « Système de contrôle en virage intelligent » dans le chapitre « Démarrage et conduite » du présent manuel. | |
| e-Pedal | Affiche les options du système e-Pedal disponibles. | |
| Mode maintainien | Permet à l'usager d'activer ou de désactiver le mode maintainien. Pour obte-nir de plus amples renseignements, consultez la section « Système e-Pedal » dans le chapitre « Démarrage et conduite » du présent manuel. | |
Affichage personnelé
Le menu d'affichage personnelisé permet à l'utilisateur de modifier les réglages de l'écran multifonction.
| Option de menu | Résultat | |
| Main Menu Selection (sélection du menu principal) | Affiche les options de sélection du menu principal disponible. | |
| Cruise (régulator du vitesse) (selon l'équipement) | Permet à l'utilisateur d'activer ou de désactiver l'écran Cruise (régulator du vitesse) à l'écran multi-fonction. | |
| Driving Aids (aides à la conduite) | Permet à l'utilisateur d'activer ou de désactiver l'écran protecteur à l'écran multifonction. | |
| Status (état) | Permet à l'utilisateur d'activer ou de désactiver l'écran d'état à l'écran multifonction. | |
| Tire Pressures (pression des pneus) | Permet à l'utilisateur d'activer ou de désactiver l'écran de pression de gonflage des pneus à l'écran multi-fonction. | |
| Ordinateur de trajet | Permet à l'utilisateur d'activer ou de désactiver l'écran Drive Computer (ordinateur de trajet) à l'écran multifonction. | |
| Chassis Control (contrôle du chàssis) | Permet à l'utilisateur d'activer ou de désactiver l'écran Chassis Control (contrôle du chàssis) à l'écran multifonction. | |
| ECO Info Settings (réglages des données de consom-mation de carburant) | Affiche les réglages des données de consommation de carburant disponibles. | |
| ECO Drive Report (rapport de conduite écoénergétique) | Permet à l'utilisateur d'activer ou de désactiver l'option ECO Drive Report (rapport de conduite écoéner-gétique). | |
| View History (afficher l'historique) | Permet à l'utilisateur d'afficher et de réinitialiser l'historique du rapport de conduite écoénergétique. | |
| Navigation Settings (réglages de navigation) | Affiche les réglages du dispositif d'aide à la navigation disponibles. | |
| Alerts (alertes) | Permet à l'utilisateur d'activer ou de désactiver les alertes de navigation. | |
| Cruise Screen Transition (passage à l'écran de régulateur de vitesse) (selon l'équipement) | Permet à l'utilisateur d'activer ou de désactiver le passage à l'écran « Cruise » (régulateur de vitesse). | |
| Welcome Effect (effet de l'écran d'accueil) | Affiche les effets disponibles de l'écran d'accueil. | |
| Gauges (indicateurs) | Permet à l'utilisateur d'activer ou de désactiver les effets des indicateurs. | |
| Animation | Permet à l'utilisateur d'activer ou de désactiver les effets d'animation. | |
Vehicle Settings (réglages de vehicule)
Le menu de réglages du vehicule permet à l'utilisateur modifier les réglages pour les feuels, les serrures et les essuie-glaces.
| Option de menu | Résultat | |
| Lighting (éclairage) | Affiche les options d'éclairage offertes. | |
| Auto Room Lamp (éclairage interieur automatique) | Permet à l'utilisateur d'allumer ou d'éteindre l'éclairage interieur automatique | |
| Light Sensitivity (sensibilité à la lumière) | Permet à l'utilisateur de changer le moment où l'éclairage s'allume en fonction de la luminosité à l'extérieur du vehicule. | |
| Light Off Delay (décai d'extinction des phares) | Permet à l'utilisateur de modifier la durée pendant laquelle les phares automatiques restent allumés après la coupure du contact. | |
| Locking (verrouillage) | Affiche les options de verrouillage offertes. | |
| Ext. Door Switch (commutateur extérieur de portière) | Permet à l'utilisateur d'activer ou de désactiver le commutateur extérieur de portière. Lorsque cette option est activée, le commutateur de demande sur la portière est activé. | |
| Selective Unlock (déverrouillage sélectif) | Permet à l'utilisateur d'activer ou de désactiver le déverrouillage sélectif. Lorsque cette option est activée, seule la portière actuelle se déverrouille en réponse à une commande de déverrouillage. Si vous appuyez sur le com-mutateur de demande de poignée de la portière du conducteur ou du pas-sager avant, seule la portière correspondante se déverrouille initialement. Pour déverrouiller toutes les portières, appuyez de nouveau sur le commuta-tein dans les cinq secondes. Lorsque cette option est désactiviée, toutes les portières se déverrouillent en appuyant une seule fois sur le commutateur. | |
| Wipers (essuie-glaces) | Affiche les réglages des essuie-glaces disponibles. Pour obtenir des rensei-gnements supplémentaires, consultez la section « Commutateur d'essuie-glace et de lave-glace » dans ce chapitre. | |
| Speed Dependent (asserissement à la vitesse) | Permet à l'utilisateur d'activer ou de désactiver la fonction d'asserissement à la vitesse. | |
Réglages du système électrique du vehicule
Le menu EV settings (réglages du système électrique du vehicule) permet à l'utiliser de modifier les réglages à des fins de changement de vehicule.
| Option de menu | Résultat |
| Ver. connect. de charge | Permet à l'utilisateur de verrouiller ou de déverrouiller la connexion relative au chargement. |
| Minuteur charge 1 | Permet à l'utilisateur de régler la minuterie de charge 1. |
| Minuteur charge 2 | Permet à l'utilisateur de régler la minuterie de charge 2. |
| Minut. chg. seulmt à la maison (selon l'équipement) | Permet à l'utilisateur de régler la minuterie de chargement seulement à domicile. |
| Écran temps de charge | Permet à l'utilisateur de sélectionner l'écran de durée d'affchage en fonction de la méthode de charge. |
| Ctrl. climat minuteur 1 | Permet à l'utilisateur de régler la minuterie de chauffage-climatisation 1. |
| Ctrl. climat minuteur 2 | Permet à l'utilisateur de régler la minuterie de chauffage-climatisation 2. |
TPMS Settings (réglages du système de surveillance de la pression des pneus TPMS)
Le menu de réglage du système de surveillance de la pression des pneus (TPMS) permet à l'utilisateur de modifier les unités de pression de gonflage des pneus à l'écran multifonction.
| Option de menu | Résultat |
| TPMS Settings (réglages du système de surveillance de la pression des pneus TPMS) | Permet à l'utilisateur de sélectionner les unités de pression de gonflage des pneus qui s'afficient à l'écran multifonction. |
Maintenance (entretien)
Le menu d'entretien permet à l'utilisateur de programmer des rapprocks pour divers éléments d'entretien du vehicule.
| Option de menu | Résultat | |
| Maintenance (entretien) | Affiche les options de rappel d'entretien disponibles. | |
| Tire (pneu) | Permet à l'utilisateur de régler un rappel à un intervalle spécifique ou de réinitialiser le rappel existant. | |
| Other (autre) | Permet à l'utilisateur de régler un rappel à un intervalle spécifique ou de réinitialiser le rappel existant. | |
Clock (horloge)
| Option de menu | Résultat |
| Clock (horloge) | Lorsque cette fonction est sélectionnée, le message suivant s'affiche : « Go to the settings menu on the center display to set clock » (Allez au menu de réglages à l'affichage central pour régler l'horloge). Pour obtenir des renseignements supplémentaires, consultez le manuel du système NissanConnect™ (pour Leaf). |
Unité et langue
Le menu Unit/Language (unité-lingue) permet à l'utilisateur de modifier les unités affichées à l'écran multifonction.
| Option de menu | Résultat |
| Mileage/Energy (kilométrage et énergie) | Permet à l'utilisateur de sélectionner l'unité de mesure voulue de kilométrage ou d'énergie à afficher. |
| Tire Pressures (pression des pneus) | Permet à l'utilisateur de-selectionner l'unité de mesure voulue de pression des pneus à afficher. |
| Temperature (température) | Permet à l'utilisateur de-selectionner l'unité de mesure voulue de température à afficher. |
| Language (langue) | Permet à l'utilisateur de-selectionner la langue voulue à afficher. |
Factory Reset (réinitialisation des réglages d'usine)
Le menu Factory Reset (réinitialisation des réglages d'usine) permet à l'utiliser de restaurer les réglages de l'écran multifonction pourmaintenirles paramètres d'usine.
| Option de menu | Résultat |
| Factory Reset (réinitialisation des régliages d'usine) | Le menu Factory Reset (réinitialisation des régliages d'usine) permet à l'utilisateur de faire passer les régliages de l'écran multifonction aux valeurs d'usine. Une fois les valeurs séLECTIONnées, l'usage peut confirmer ou refuser la réinitialisation. |

AVERTISSEMENTS ET TÉMOINS DE L'AFFICHAGE MULTIFONCTION
- Enforcer le frein et appuyer sur le commutateur principal pour démarrer
- No Key Detected (Pas de clé détectée)
- Key Battery Low (Batterie de la clé faible)
- Témoin du système de clé intelligente déchargée pour le fonctionnement du système de vehicule électrique
- Portière ouverte
- Témoin de charge faible de la batterie
- Alerte conducteur
- Température extérieure basse
- Niveau lave-glace bas (selon l'equipement)
- Reminder Turn OFF Headlights (rappel, éteindre les phares)
- Tire Pressure Low - Add Air (Basse pression des pneus - Gonfler les pneus)
- Témoin du régulateur de vitesse (selon l'équipment)
- Témoins du régulateur de vitesse adaptatif (ICC) (selon l'équipement)
-
Shift to Park (Passer en position P [stationnement])
-
Erreur syst. Clé Voir manuel du propriétaire
- Release Parking Brake (Desserer frein a main)
- Témoin du système ProPILOT Assist (se-lon l'équipement)
- Not Available Seat Belt Not Fastened (non disponible, ceinture de sécurité non bouclée) (selon l'équipement)
- Anomalie : Voir manuel du propriétaire
- Indicateurs relatifs à l'entretien
- Témoin de direction assistée (selon l'équipment)
- Avertissement relatif à la direction assistée (selon l'équipement)
- Non disponible, obstruction du radar avant (selon l'equipement)
- Not Available Parking Brake On (non disponible, visibilité imprecise) (selon l'équipement)
- Alerte d'attention du conducteur - Prendre une pause? (selon l'équipement)
-
Anomalie du système d'alerte d'attention du conducteur (salon l'équipement)
-
Unavailable High Cabin Temperature (Non disponible, température élevé de la cabine)(selon l'équipement)
- Not Available Parking Brake On (non disposable, frein de stationnement serré) (selon l'équipement)
- Not Available Poor Road Conditions (non disponible, mauvaises conditions routières) (selon l'equipement)
- Currently not available (non disponible actuellesment) (selon l'equipement)
- Press Brake Pedal (Enconcer la pedale de frein) (selon l'equipement)
- Témoin du système d'avertissement du déport de couloir (LDW) et du système d'intervention de changement de voie intelligent (I-LI) (selon l'équipement)
- Système de freinage d'urgence automatique et système de freinage d'urgence automatique avec dispositif de détention de piétons (selon l'équipement)
-
Shipping Mode On Push Storage Fuse (Sur mode de transport Pousser pin c-circuit)
-
Témoin du système d'avertissement d'angle mort (BSW)/système d'alerte de circulation transversale arrêté (RCTA) (selon l'équipement)
- Headlight System Error: See Owner's Manual (erreur syst. phares. Voir manuel du propriétaire) (selon l'équipement)
- Serrer le frein de stationnement lorsque le vehicule est stationné
- Anomalie du système de transmission. Voir concessionnaire
- Vérifier la position de levier sélecteur
- Chassis Control System Error: See Owner's Manual (erreur du système de contrôle du chassis : voir le manuel du propretaire)
Enconcer le frein et appuyer sur le commutateur principal pour démarrer
Cet indicateur s'affiche lorsque le levier de vitesses est à la position P (stationnement). Il indique que le système de vehicule électriche demarrera lorsque vous appuyez sur le commutateur principal et que vous enforcez la pédale de frein.
No Key Detected (Pas de clé détectée)
Cet averissement s'affiche dans l'une des deux conditions suivantes :
Aucune clé à l'intérieur du vehicule :
Cet averissement s'affiche lorsque la portiere est fermée et que la clé intelligente se trouve à l'extérieur du vehicule et que le commutateur principal est à la position ACC (accessoires) ou ON (marche). Assurez-vous que la clé intelligente se trouve à l'intérieur du vehicule.
Clé intelligente non programme :
Cet averissement s'affiche lorsque le commutateur principal est place à la position ON (marche), ACC (accessoires) ou READY (préts à démarrer) et que la clé intelligente n'est pas détectée par le système. Vous ne pouvez pas placer le commutateur principal à la position READY (préts à démarrer) si la clé n'est pas programmée. Utilisez une clé intelligente qui a été programmée.
Pour obtenir des renseignements supplémentaires, consultez la section « Systeme de clé intelligente NISSAN Intelligent KeyMD »
Dans le chapitre « Vérifications et réglages avant le démarrage » de ce manuel.
Key Battery Low (Batterie de la clé faible)
Ce témoin s'affiche lorsque la pile de la clé intelligente est presque épuisée.
Si ce témoin s'affiche, remplacez la pile de la clé intelligente. Pour obtenir des renseignements supplémentaires, consultez la section « Remplacement de la pile de la clé intelligente NISSAN Intelligent KeyMD » du chapitre « Entretien et interventions du propriétaire » de ce manuel.
Témoin du système de clé intelligente décharge pour le fonctionnement du système de vehicule electrique
Ce témoin s'affiche lorsque la pile de la clé intelligente est déchargée et que le système de clé intelligente ne communique pas normalement avec le vehicule.
Si ce témoin s'affiche, touchez le commutateur principal avec la clé intelligente tout en appuyant sur la pédale de frein. Pour
obtenir des renseignements supplémentaires, consultez la section « Décharge de la pile de la clé intelligente NISSAN Intelligent KeyMD » dans le chapitre « Demarrage et conduite » duprésent manuel.
Portière ouverte
Cet avertissement s'affiche si une des portières ou le hayon arrêté est ouvert ou n'est pas bien fermé. L'icone de vehicule affiche à l'écran la portière pertinente ouverte ou le hayon arrêté ouvert. Assurez-vous que toutes les portières et le hayon arrêté sont fermés.
Cet avertissement s'affiche également en alternant avec l'avertissement « Passer en position P (stationnement) » lorsque la portière du conducteur est ouverte et que le levier de vitesses n'est pas à la position P (stationnement). Pour obtenir de plus amples renseignements, consultez la section « Passer en position P (stationnement) » dans ce chapitre.
Témoin de charge faible de la batterie
Ce tímein s'allume lorsque la charge disponible de la batterie au lithium-ion est
faible. Chargez la batterie aussitot que possible, préférendement avant que l'indicateur de charge disponible de la batterie au lithium-ion n'atteigne 0% .
REMARQUE:
Le témoin de charge faible de la batterie s'éteint immédiatement avant que la batterie au lithium-ion ne soit complètement décharge et le vehicule s'arrête. Si la batterie au lithium-ion est complètement décharge, vous doivent recharger la batterie avant de pouvoir conduire le vehicule.
Alerte conducteur
Cet averissement s'affiche lorsque le temps régle précédemment pour une pause est atteint. Vous pouvez régler la durée jusqu'à une période de six heures dans le menu de réglage. Pour obtenir des renseignements supplémentaires, reportez-vous au chapitre « Écran multifonction » dans cette section.
Température extérieure BASSE
La température extérieure est affichée en °C ou en °F dans la plage de -30 °C à 60 °C (-20 °F à 140 °F).
Le mode de température extérieure comprend une fonction d'advertissement de basse température. Si la température extérieure est inférieure à 3^ (37^) , l'advertissement s'affiche à l'écran.
Le capteur de température extérieure est situé dans la partie avant du vehicule. L'etat de la route, la direction du vent et d'autres conditions de conduite peuvent nuire au fonctionnement du capteur. Celui-ci peut donc indiquer une température différente de la température extérieure réelle ou de cette affichée sur divers panneaux.
Niveau lave-glace bas (selon l'équipement)
Cet avertissement s'affiche lorsque le niveau de liquide du réservoir de lave-glace est bas. Ajoutez du liquide lave-glace, au besoin. Pour obtenir des renseignements
supplémentaires, reportez-vous à la section « Liquide lave-glace » du chapitre « Entreitien et interventions du propriétaire »
Reminder Turn OFF Headlights (rappel, éteindre les phares)
Cet averissement s'affiche lorsque le commutateur principal est tourné à la position OFF (hors fonction) mais que l'interrupteur des phares est encore à la position ON (en fonction). Mettez l'interrupteur des phares à la position OFF (hors fonction).
Tire Pressure Low - Add Air (basse pression des pneus - gonfler les pneus)
Cet averissement s'affiche lorsque le t émein d'avertissement de basse pression des pneus s'allume sur le tableau de bord et qu'une basse pression des pneus est détectée. Le message d'avertissement s'affiche chaque fois que le commutateur principal se trouve sur ON (marche) tant que le t émein d'avertissement de basse pression des pneus demeure allumé.
Si cét averissement s'affiche, immobilisez le vehicule et réglez la pression des pneus à
la pression À FROID indiquée sur l'étiquette de renseignements relatifs aux pneus et à la charge. Pour obtenir des renseignements supplémentaires, consultez la section « Témoin d'avertissement de basse pression des pneus » de ce chapitre et la section « Système de surveillance de la pression des pneus » du chapitre « Démarriage et conduite » duprésent manuel.
Témoin du régulateur de vitesse (selon l'équipement)
Ce témoin indique l'etat du système du régulateur de vitesse.
Lorsque le régulateur de vitesse est activé, un cercle vert s'allume pour indiquer que le système est régèle. L'écran multifonction affiche également la vitesse à laquelle a été régèle le régulateur de vitesse. Si vous accélèrez au-delà de la vitesse programmée, la vitesse clignote jusqu'à ce que vous annuliez le régulateur de vitesse ou returniez à la vitesse programmée. Si le régulateur de vitesse est en fonction et annulé, la vitesse s'affiche pour indiquer la vitesse à laquelle le vehicule returne si le bouton resume (reprenevre) est activé.
Pour obtenir des renseignements supplémentaires, consultez la section « Régulator de vitesse » dans le chapitre « Démarriage et conduite » duprésent manuel.
Témoins du régulateur de vitesse adaptatif (ICC) (selon l'équipement)
Ce témoin indique l'objet du régulateur de vitesse adaptatif (ICC). L'objet est affchéé par la couleur. Pour obtenir de plus amples renseignements, consultez la section « Régulateur de vitesse adaptatif (ICC) » dans le chapitre « Démarriage et conduite » du pré-sent manuel.
Shift to Park (Passer en position P [stationnement])
Cet averissement s'affiche par alternance avec l'ajvement de portiere ou de hayon ouvert lorsque la portiere du conducteur est ouverte et que le levier de vices ne se trouve pas à la position P (stationnement). Si cet averissement s'affiche, appuyez sur le commutateur de position P (stationnement) et placez-le à la position P (stationnement).
Pour obtenir des renseignements supplémentaires, consultez la section « Portières ouvertes » dans le present chapitre.
Erreur syst. Clé Voir Manuel cond.
Lorsque le commutateur principal est en foncé à la position ON (marche), ce témoin s'allume pendant environ deux secondes puis s'éteint.
Le message d'erreur du système de clé avertit le conducteur de la présence d'une anomalie dans le système de clé intelligente. Si le témoin s'allume lorsque le moteur ne tourne pas, il pourrait être impossibly de démarrer le moteur.
Si le témoin s'allume lorsque le moteur tourne, vous pouvez poursuivre votre route. Toutefois, faites-le réparerès que possible. Nous vous recommendons de vous rendre chez un concessionnaire NISSAN LEAF certifié pour procéder cet entretien.
Release Parking Brake (Desserrer frein à main)
Cet averissement s'affiche quand la vitesse du vehicule est supérieure à 7 km/h
(4 mi/h) et que le frein de stationnement est appliqué.
Témoin du système ProPILOT Assist (selon l'équipement)
Ce témoin s'allume lorsque le système ProPILOT Assist est engagé. Pour obtenir des renseignements supplémentaires, consultez la section « ProPILOT Assist » dans le chapitre « Démarriage et conduite » duprésent manuel.
Not Available Seat Belt Not Fastened (non disponible, ceinture de sécurité non bouclée)
Cetémoin s'affiche lorsqué le système ProPILOT Assist ne s'engage pas, car la ceinture de sécurité du conducteur n'est pas bouclée. Pour obtenir des renseignements supplémentaires, consultez la section « ProPILOT Assist » dans le chapitre « Dé-marrage et conduite » duprésent manuel.
Anomalie : Voir manuel du propriétaire
Cet averissement s'affiche lorsqu'un ou plusieurs des systèmes suivants (selon
l'équipement) ne fonctionnent pas correctement :
- Systèmes d'rapidissement du déport de couloir (LDW)
- Système d'intervention de changement de voie intelligent
- Système d'ajretissement d'angle mort (BSW)
- Alerte de circulation transversale arrêté (RCTA)
ProPILOTAssist
Si un ou plusieurs de ces avertissements s'affichent, faites vérifier le système. Nous vous recommendons de vous rendre chez un concessionnaire NISSAN LEAF certifié pour procéder cet entretien.
Indicateurs relatifs à l'entretien
Ces indicateurs s'affichent lorsque la distance programmée par le client est atteinte pour replacer les pneus ou d'autres éléments d'entretien. Vous pouvez programmermer ou réinitialiser la distance pour replacer les pneus ou d'autres éléments d'entretien.

AVERTISSEMENT
L'indicateur de remplacement des pneus ne remplace pas la vérification régulière des pneus, y compris la vérification de la pression des pneus. Pour obtenir des renseignements supplémentaires, consultez la section « Remplacement des roues et des pneus » dans le chapitre « Entretien et interventions du propriétaire » duprésent manuel. De nombreux facteurs y compris le gonflage des pneus, le réglage de la géométrie des roues, les habituées de conduite et les conditions routières ont une incidence sur l'usure des pneus ainsi que sur les intervalles de remplacement des pneus. Le réglage de l'indicateur de remplacement des pneus programmes pour une certaine distance ne déterminé pas la durée de vie utile des pneus. Utilisez l'indicateur de remplacement des pneus à titre de guide uniquement et vérifie toujours régulièrement vos pneus. Une défaillation des pneus pourrait se produit si vous n'effectuez pas la vérification régulière des pneus, y compris celle de la pression des pneus. Notre vehicule pourrait subir des dommages
importants et vous pourriez avoir un accident entrainant des blessures graves ou mortelles.
Pour les éléments et les intervalles d'entretien périodique, consultez le « Guide du service et de l'entretien NISSAN »
Témoin de direction assistée (selon l'équipement)
Ce témoin s'allume lorsque le système de direction assistée est engagé. Pour obtenir des renseignements supplémentaires, consultez la section « ProPilot Assist » dans le chapitre « Démarrage et conduite » duprésent manuel.
Avertissement relatif à la direction assistée (selon l'équipement)
Ce message peut s'afficher lorsque le système de direction assistée est engagé.
Il sera affché dans le cas suivant :
Lorsque you ne tenez pas le volant ou lorsqu'il n'est pas manoeuvré.
Veuillez tenir immédiatement le volant.
Lorsque le volant est manoeuvré, l'advertissement disparaît et la fonction de direction assistée est rétablie automatiquement.
Non disponible, obstruction du radar avant (selon l'équipement)
Ce message s'affiche lorsqu'un ou plusieurs des systèmes suivants ne sont pas disponibles en raison d'une obstruction du radar avant.
- Régulateur de vitesse adaptatif (ICC)
- Système de freinage d'urgence automatique
- Système de freinage d'urgence automatique avec dispositif de détction de piétons
Pour obtenir de plus amples renseignements, consultez la section « Régulateur de vitesse adaptatif (ICC)», « Système de freinage d'urgence automatique » ou « Système de freinage d'urgence automatique avec dispositif de détction de piétons » du chapitre « Démarriage et conduite » du pré sent manuel.
Not Available Parking Brake On (non disponible, visibilité impréciée) (selon l'équipment)
Ce message peut s'afficher lorsque le régulateur de vitesse adaptatif avec ProPILOT Assist est engagé.
Dans les conditions suivantes, le régulateurde vitesse adaptatif avec ProPILOT Assistest automatiquement mis hors fonction :
Zone de camera du pare-brise embuée ou recouverte de saleté, d'eau, de glace, de neige, etc.
-Pénetration d'une lumière intense (par exemple, la luzière du soleil ou les yeux de route des vehicules venant en sens inverse) dans laamera avant
Lorsque les essuie-glaces fonctionnent a haute vitesse
Le système sera disponible lorsque les conditions ci-dessus ne seront plus premises.
Sile message d'advertissement continue de s'afficher, arrêtez le vehicule dans un endroit sécuritaire, coupez le système hybride et nettoyez le pare-brise.
Alerte d'attention du conducteur - Prendre une pause? (selon l'équipement)
Cette alerte s'affiche lorsque le système a détesté que le conducteur montre des signes de fatigue ou un manque d'attention.
Anomalie du système d'alerte d'attention du conducteur (selon l'équipement)
Cet averissement s'affiche lorsque le système d'alerte vigilance conducteur intelligent est defectueux.
Pour obtenir de plus amples renseignements, consultez la section « Système d'alerte vigilance conducteur intelligent (I-DA) » dans le chapitre « Démarrage et conduite » du préSENT manuel.
Unavailable High Cabin Temperature (Non disponible, température élevé de la cabine)(selon l'équipement)
Ce message s'affiche lorsque la camera détecte une température interieure supérieure à environ 40^ (104°F).
Pour obtenir de plus amples renseignements, consultez la section « Système d'rapidissement du déport de couloir (LDW) » dans le chapitre « Démarrage et conduite » du réseau manuel.
Not Available Parking Brake On (non disponible, frein de stationnement serré) (selon l'équipement)
Ce message peut s'afficher lorsque le régulateur de vitesse adaptatif avec ProPILOT Assist est engagé.
Dans les conditions suivantes, le régulateur de vitesse adaptatif avec ProPILOT Assist est automatiquement mis hors fonction :
- Le frein de stationnement électronique est serré.
Le système ci-dessus ne peut pas etre utilise lorsque le frein de stationnement electronique est activé.
Not Available Poor Road Conditions (non disponible, mauvaises conditions routières) (selon l'equipement)
Ce message peut s'afficher lorsque le régulateur de vitesse adaptatif (avec ProPILOT Assist) ou le régulateur de vitesse adaptatif est engagé.
Dans les conditions suivantes, le régulateur de vitesse adaptatif (avec ProPILOT Assist) ou le régulateur de vitesse adaptatif est automatiquement mis hors fonction :
Lorsque le système de contrôle dynamique du vehicule est en fonction.
Lorsqu'une roue patine.
Le système ci-dessus ne peut pas etre utiliser dans certaines situations (lorsque le système de contrôle dynamique du vehicule est en fonction et lorsqu'une roue patine).
Currently not available (non disponible actuellement) (selon l'equipement)
Ce message peut s'afficher lorsque le régulateur de vitesse adaptatif (avec
ProPILOT Assist) ou le régulateur de vitesse adaptatif est engagé.
Dans les conditions suivantes, le régulateur de vitesse adaptatif (avec ProPILOT Assist) ou le régulateur de vitesse adaptatif est automatiquement mis hors fonction :
Lorsque le système de contrôle dynamique du vehicule est en fonction.
Lorsqu'une roue patine.
Lorsque le système de contrôle dynamique du vehicule est désactivé.
Le système ci-dessus ne peut pas etre utilise dans certaines situations (lorsque le système de contrôle dynamique du vehicule est en fonction, lorsqu'une roue patine et lorsque le système de contrôle dynamique du vehicule est désactive).
Press Brake Pedal (Enfoncer la pedale de frein) (selon l'équipement)
Ce message peut s'afficher dans les situations suivantes :
- le conducteur tente de desserrer manuellement le frein de stationnementlectronique sans enforcer la pédale de frein.
Le vehicule est immobilisé sur une pente abrupte; et il y a risque de déplacement en marche arrière, même si le frein de stationnement électronique est serré.
- Le vehicule se déplace alors que la fonction de retenue automatique du frein est activée.
Pour obtenir de plus amples renseignements, consultez la section « Frein de stationnementlectronique » dans le chapitre « Demarrage et conduite » du present manuel.
Témoin du système d'avertissement du déport de couloir (LDW) et du système d'intervention de changement de voie intelligent (I-LI) (selon l'équipement)
Ce témoin s'affiche lorsque les systèmes LDW et I-LI sont activés.
Pour obtenir de plus amples renseignements, consultez les sections « Commutateur des systèmes d'ajretissement » dans ce chapitre, et « Systeme d'ajretissement
du déport de couoir » et « Système d'intervention de changement de voie intelligent » dans le chapitre « Démarriage et conduite » du préSENT manuel.
Système de freinage d'urgence automatique et système de freinage d'urgence automatique avec dispositif de détction de piétons (selon l'équipement)
Ce témoin indique que le système AEB ou le système AEB avec dispositif de détction de piétons est engagé.
Pour obtenir de plus amples renseignements, consultez la section « Système de freinage d'urgence automatique » ou « Système de freinage d'urgence automatique avec dispositif de détention de piétons » du chapitre « Démarriage et conduite » du pré sent manuel.
Shipping Mode On Push Storage Fuse (Sur mode de transport Pousser pin c-circuit)
Cet averissement peut s'afficher si le commutateur d'entreposage prolongé n'est pas enforcé. Lorsque cet averissse
ment s'affiche, appuyez sur le commutateur d'entreposage prolongé pour désactiver l'avertissement.
Pour obtenir des renseignements supplémentaires, consultez la section « Commutateur d'entreposage prolongé » du chapitre « Entretien et interventions du propriétaire » duprésent manuel.
Témoin du système d'avertissement d'angle mort (BSW)/système d'alerte de circulation transversale arrêté (RCTA) (selon l'équipement)
Ce témoin s'affiche lorsque les systèmes BSW et RCTA sont actifs.
Pour obtenir de plus amples renseignements, consultez les paragraphs « Système d'ajretissement d'angle mort » et « Système d'alerte de circulation transversale arrêté (RCTA) » dans le chapitre « Démarriage et conduite » duprésent manuel.
Headlight System Error: See Owner's Manual (erreur syst. phares. Voir manuel cond.) (selon l'équipement)
Cet averissement s'affiche lorsque les phares à DEL ne fonctionnent pas correctement.
Si cet avertissement s'affiche, faites vérifierVote système. Nous vous recommendons de vous rendre chez un concessionnaire NISSAN LEAF certifié pourrialcder cet entretien.
Serrer le frein de stationnement lorsque le vehicule est stationné
Ce message d'advertissement s'affiche en cas d'anomalie du système de commande de changement de vitesse électrique. Ce message d'advertissement s'affiche lorsque le frein de stationnement est desserré, même après avoir stationné le vehicule. Le témoin multifonction (rouge) s'allume également et le carillon retentit.
Si vous ne pouvez pas placer le commutateur principal à la position OFF (hors fonction), serrez le frein de stationnement et
placez le commutateur principal à la position OFF (hors fonction). Le message d'advertissement disparaît et le carillon cessée de retentir.
Si cet averissement s'affiche, faites vérifierVote système. Nous vous recommendons de vous rendre chez un concessionnaire NISSAN LEAF certifié pour proce décer cet entretien.
Anomalie du système de transmission. Voir concessionnaire
Cet averissement s'affiche en cas d'anovaie du système de commande de changement de vitesse electrique même s'il est possible d'utiliser la commande de changement de vitesse electrique. Le témoin multifonction (jaune) s'allume également et le carillon retentit. Lorsque cela se produit, assurez-vous que le changement de vitesse s'est effectué correctement en vérifier l'indicateur de position de changement de vitesse du levier sélecteur ou l'écran multifonction. Nous vous recommandons de communiquer avec un concessionnaire NISSAN LEAF certifiéès que possible.
Vérifier la position de levier sélecteur
Cet avertissement s'affiche si le systeme ne peut pas détecter la position du levier de vitesses. Assurez-vous que le vehicule est placé dans une position correctement.
Le témoin multifonction (jaune) s'allume également et le carillon retentit. Vérifiez la position du levier de vitesses du vehicule.
Chassis Control System Error: See Owner's Manual (erreur du système de contrôle du chassis : voir le manuel du propriétaire)
Cet averissement s'affiche si le module de contrôle dynamique intégre déetecte une erreur dans les systèmes de contrôle en virage intelligent, de frein moteur intelligent ou de contrôle de caisse actif. Faites vérifier le système. Nous vous recommendons de vous rendre chez un concessionnaire NISSAN LEAF certifié pour partager cet entretien. Pour obtenir des renseignements supplémentaires, consultez la section « Contrôle du chassis » dans le chapitre « Démarriage et conduite » du précédent manuel.
AFFICHAGES D'INFORMATION D'AVERTISSEMENT (MODELES AVEC DISPOSITIF D'AIDE À LA NAVIGATION)
Avertissement de batterie faible
Lorsque le témoin de charge faible de la batterie et le témoin multifonction (jaune) s'allument, le système affiche un message à l'écran du dispositif d'aide à la navigation qui avertit le conducteur que le niveau d'alimentation de la batterie au lithium-ion est bas.

- L'avis s'affiche dans le coin supérieur gauche de l'écran d'etat. Appuyez sur la touche [Aff.] pour afficher l'écran indiquant les renseignements supplémentaires.

-
Le système affiche un écran de message etannounce le contenu du message pour avertir le conducteur que le niveau d'alimentation de la batterie au Lithium-ion est bas. Vérifiez le message affché à l'écran. Appuyez sur la touche [Poste de chrgemt à prox.] pour rechercher tous les postes de chargement qui se trouvent à proximite de l'emplacement actuel du vehicule.
-
Appuyez sur la touche [Ret.] ou sur le bouton MAP (carte) pour revenir à l'écran d'emplacement du vehicule.
REMARQUE :
L'ajretissement de batterie faible peut etre désactiver.Consultez le manuel d'utilisation du systeme d'information du vehicule electrique LEAF.
Lorsque le niveau d'alimentation de la batterie est bas, le système obtient automatiquement des renseignements relatifs aux postes de chargement.
SYSTÉMES DE SÉCURITÉ

Votre vehicule est muni des deux types de systèmes de sécurité suivants :
- Système de sécurité du vehicule
- Système antidémarrage du vehicule NISSAN
L'etat de sécurité est indiqué par le témoin de sécurité.
SYTÉME DE SÉCURITE DU VÉHICULE
Le système de sécurité du vehicule émet des signaux d'alarme visuels et sonores si quelqu'un ouvre les portières ou le hayon arrêté alors que le système de sécurité est armé. Il ne s'agit toute fois pas d'un dispositif à détction de mouvement s'activant en cas de déplacement du vehicule ou en présence de vibration.
Le dispositif sert à décourager les voleurs, mais il ne saurait empêcher le vol du vehicule ni interdire dans tous les cas le vol d'éléments interieurs ou extérieurs. Verrouillez toujours votre vehicule, même si vous le garez pour un instant. Ne laissez jamais vos clés dans le vehicule et verrouillez-le toujours si vous le laissez sans surveillance. Pour votre sécurité, garez-vous dans des zones aussi sûres et bien éclairées que possible.
De nombreux dispositifs proposés dans les boutiques d'accessoires automobiles et magasins spécialisés offrent une protection supplémentaire, comme des verrous d'accessoire, des éléments d'identification ou des dispositifs de repération. Un conces-
sionnaire NiSSAN LEAF certifié peut égale-ment vous offrir de tels dispositifs. Vérifiez auprès de votre société d'assurance si vous pouze bénéficier de réductions liées à l'installation de ces différents dispositifs antivol.
Méthode d'activation du système de sécurité du vehicule
- Fermez toutes les glaces de votre vehicule.
Le système peut être activé même si les glaces sont ouvertes.
- Placez le commutateur principal à la position LOCK (antivol-verrouillé) ou OFF (arrêt), puis retirez la clé intelligente du vehicule.
-
Fermez toutes les portières. Verrouillez toutes les portières. Les portières peuvent être verrouillées au moyen de :
-
du bouton de VERROUILAGE la clé intelligente;

·d'un commutateur de demande;
·du commutateur de verrouillage physique des portieres;
de la clé mécanique.
- Assurez-vous que le témoin de sécurité s'allume. Ce témoin demeure allumé pendant environ 30 secondes. Cela indique que le système de sécurité du vehicule est préactivé. Le système est automatiquement activé après environ 30 secondes. Le témoin de sécurité commence à clignoter une fois à toutes les trois secondes. Si, pendant la période de préactivation de 30 secondes, la portiere du conducteur est déverrouillée ou le commutateur principal est placé à la position ACC (accessoires) ou ON (marche), le système ne s'activera pas.
Même lorsque le conducteur et des passagers se trouvent dans le vehicule, le système s'active si toutes les portières sont verrouillées, et si le commutateur principal est place à la position OFF (arrêt). Le système se désactive lorsque vous placez le commutateur principal à la position ACC (accessoires) ou ON (marche).
Activation du système de sécurité du vehicule
L'alarme déclenchée par le système de sécurité du vehicule implique les éléments suivants:
- Les phares clignotent et l'avertisseur sonore retentit par intermittence.
L'alarme s'eteint automatiquement après environ 50 secondes. Par contre, en cas d'une nouvelle effraction, elle s'active de nouveau.
L'alarme s'active si :
- la portière est déverrouillée sans utiliser la clé intelligente, le commutateur de demande ou la clé. (Meme si la portière est ouverte à l'aide du bouton de verrouillage interieur de portière, l'alarme s'activera.)
- le capot est ouvert.
Neutralisation de l'alarme
L'alarme s'arrête lorsqu'une portiere est déverrouillée au moyen du bouton de DÉVERROUILAGE de la clé intelligente, du commutateur de demande de la poignée de portiere ou de la clé mécani
que, ou lorsque vous appuyez sur le commutateur principal à la position ACC (accessoires) ou ON (marche).
Si le fonctionnement du système ne correspond pas à la description fournie cédessus, faites-le vérifier. Nous vous recommandons de vous rendre chez un concessionnaire NISSAN LEAF certifié pour ce service.
SYTÉME ANTIDÉMARRAGE DU VÉHICULE NISSAN
Le système antidémarrage du vehicule NISSAN ne permet pas de placer le commutateur principal à la position PRÉT À DÉ-MARRER sans utiliser la clé programmee.
S'il est impossible de placer le commutateur principal à la position PRET À DEMARRER à l'aide de la clé programmee, il se peut que des interférences, causees par une autre clé programmee, un dispositif de péage de route automatisé ou un autre dispositif de paiement automatique fixé au porte-clés, soientprésentent. Redémarrez le système de vehicule électrique en effectuant les étapes suivantes :
- Laissez le commutateur principal à la position ON (marche) pendant environ cinq secondes.
- Placez le commutateur principal à la position OFF (hors fonction) et attendez pendant environ 10 secondes.
- Recommencez les étapes 1 et 2.
- Placez le commutateur principal à la position PRET À DEMARRER tout en maintainant le dispositif (qui peut être la cause d'interférences) éloigné de la clé programmee.
Si cette procédure permet demettre le commutateur principal en mode PRETÀ DEMARRER, NISSAN recommande de placer la clé programme sur un autre porteclés pour éviter les interférences causées par d'autres dispositifs.
Avertissement de la FCC :
Aux États-Unis :
Ce dispositif est conforme à l'article 15 des règlements de la FCC. Son utilisation est soumise aux deux conditions suivantes : (1) ce dispositif ne doit causeer aucune interférence nuisible, et (2) ce dispositif doit accepter toutes les interférences, y compris celles qui pouraient l'activer de façon inopinée.
REMARQUE:
Toute modification non approuvée par la partie responsable de la conformité peut annuler le droit d'utiliser ce dispositif.
Au Canada :
Ce dispositif est conforme aux normes d'Industrie Canada applicables aux apparciels RSS exempts de licence. Son utilisation est soumise aux deux conditions suivantes : (1) ce dispositif ne doit causeer aucune interfERENCE nuisible et (2) ce dispositif doit pouvoir accepter toutes les interférences, y compris celles qui pourraient l'activer de façon inopinée.

Témoin de sécurité
Le témoin de sécurité est situé sur le panneau du compteur. Il indique l'etat du système antidémarrage du vehicule NISSAN.
Le témoin clignote après avoir placé le commutateur principal à la position ACC (accessoires) ou OFF (arrêt). Il indique que les systèmes de sécurité du vehicule sont fonctionnels.
Si le système antidémarrage du vehicule NiSSAN est défectueux, ce témoin reste allumé lorsqu'le commutateur principal est à la position ON (marche).
Si le témoin continue de rester allumé ou si le commutateur principal ne peut pas être place à la position PRÉT À DEMARRER, faites vérifier le système. Nous vous recommendons de vous rendre chez un concessionnaire NISSAN LEAF certifié pour ce service dés que possible. Veuillez appporter toutes vos clés programmes lorsque vous vousprésentez chez un concessionnaire NISSAN LEAF certifié pour faire réparer ce système.
COMMUTATEUR D'ESSUIE-GLACE ET DE LAVE-GLACE

AVERTISSEMENT
Lorsque la température est inférieure au point de congestion, le liquide lave-glace risque de geler sur le pare-brise et de vous obstruer la vue, ce qui peut entrainer un accident. Faites fonctionner le dégivreur pour réchauffer le pare-brise avant de le nettoyer.

MISE EN GARDE
- N'actionnez pas le lave-glacependant plus de 30 secondes.
- N'actionnez pas le lave-glace si le réservoir de liquide lave-glace est vide.
-
Ne replissiez pas le réservoir de liquide lave-glace avec des concentrates non dilués. Les éclaboussures de certains concentrates de liquide lave-glace au methanol peuvent tacher la calandre de façon permanente pendant le replissage du réservoir de liquide lave-glace.
-
Mélangez le concentré de liquide lave-glace avec de l'eau conformément aux recommandations du fabricant avant de verser le mélange dans le réservoir de liquide lave-glace. N'effectuez pas ce mélange dans le réservoir même.
REMARQUE:
Si la neige ou la glace interrupt le ballayage des essuie-glaces de pare-brise, l'essuie-glace peut s'arreter afin de protégger son moteur. Dans un tel cas, tournez la commande d'essuie-glace à la position OFF (hors fonction), puis enlevez la neige ou la glace qui se trouve sur les bras d'essuie-glace ou autour de ceuxci. Dans une minute environ, replacez la commande en position de marche pour actionner l'essuie-glace.

Les essuie-glaces et le lave-glace de pare-brise fonctionnent lorsque le commutateur principal est à la position ON (marche).
Poussez le levier vers le bas pour actionner les essuie-glaces aux réglages suivants :
1 INT (intermittent) — pour obtenir un balayage intermittent des essuie-glaces, tournez le bouton vers A (cycles plus longs) ou B (cycles plus courts). Les cycles d'interrmittence sont également fonction de la vitesse du vehicule. (Par exemple, si la vitesse du vehicule est élevée, les cycles d'interrmittence seront plus courts.)
② LO (basse vitesse) - balayage en continu des essuie-glaces à basse vitesse.
③ HI (haute vitesse) - balayage en continu des essuie-glaces à haute vitesse.
MIST (bruine) – un seul cycle de balayage des essuie-glaces.
La fonction d'asservissement à la vitesse peut être désactivée. Pour obtenir des renseignements supplémentaires, reportez-vous au chapitre « Écran multifonction » dans cette section.
FONCTIONNEMENT DU LAVE-GLACE
Pour utiliser le lave-glace, tirez le levier vers l'arrière du vehicule ⑤ jusqu'à ce que la quantité voulue de liquide lave-glace soit vaporisée sur le pare-brise. L'essuie-glace effectuera automatiquement plusieurs cycles de balayage.
Sechage d'infiltration d'eau
Un bref instant après l'utilisation du liquide lave-glace, l'essuie-glace effectue automatiquement un seul cycle de balayage pour éliminer tout liquide lave-glace restant du pare-brise.

FONCTIONNEMENT DE L'ESSUIE-GLACE ARRIÈRE

AVERTISSEMENT
Lorsque la température est inférieure à 0^ (32^) ,le liquide lave-glace risque de geler sur la lunette arriere et de vous obstruer la vue. Faites fonctionner le dégivreur pour rechauffer la lunette arriere avant d'utiliser le lave-glace arriere.

MISE EN GARDE
- N'actionnez pas le lave-glacependant plus de 30 secondes.
- N'actionnez pas le lave-glace si le réservoir de liquide lave-glace est vide.
- Ne replissez pas le réservoir de liquide lave-glace avec des concentrates non dilués. Les éclaboussures de certains concentrates de liquide lave-glace au méthanol peuvent tacher la calandre de façon permanente pendant le replissage du réservoir de liquide lave-glace.
- Mélangez le concentré de liquide lave-glace avec de l'eau conformément aux recommandations du fabricant avant de verser le mélange dans le réservoir de liquide lave-glace. N'effectuez pas ce mélange dans le réservoir même.
REMARQUE:
Si le fonctionnement de l'essuie-glace de lunette arrêté est interrompu par la neige etc., l'essuie-glace peut s'arrêter afin de protégger son moteur. Dans un tel cas, tournez la commande d'essuie-glace à la position OFF (hors fonction) et enlevez la neige etc. sur les bras d'essuie-glace ou autour de ceux-ci. Àpres environ une minute, remettez en fonction le commutateur pour actionner l'essuie-glace.
L'essuie-glace et le lave-glace de lunette arrêté fonctionnent lorsque le commutateur principal est à la position ON (marche).
Tournez la commande dans le sens des aiguilles d'une montre, à partir de la position OFF (hors fonction), pour actionner l'essuie-glace.
① INT (intermittent) - balayage intermittent (non régable)
② Low (ON) (basse vitesse, en fonction) — balayage en continu de l'essuie-glace à basse vitesse
Appuyez sur la commande vers l'avant ③ pour actionner le lave-glace. L'essuie-glace executera également plusieurs cycles de balayage.
INTERRUPTEUR DU DÉGIVREUR DE LUNETTE ET DE RÉTROVISEUR EXTÉRIEUR (SELON L'ÉQUIPEMENT)


Type A (selon l'équipment)
Type B (selon l'équipement)
Pour dégivrer la lunette arrête et les rétroviseurs extérieurs, placez le commutateur principal à la position ON (marche) et appuyez sur l'interrupteur ① pourmettre le dégivreur en fonction. Le témoin s'allume. Appuyez de nouveau sur l'interrupteur pourmettre le dégivueur hors fonction.
Il se mettra automatiquement hors fonction dans un-delai de 15 minutes environ.

MISE EN GARDE
Au moment du nettoyage de la paroi interieure de la lunette, prenez soit de ne pas égratigner ou d'endommager le dégivreur.
INTERRUPTEUR DES PHARES ET DES CLIGNOTANTS

INTERRUPTEUR DES PHARES
Lighting (éclairage)
① Tournez l'interrupteur à la position éddes, les feuels de stationnement avant, les feuels arrêté, l'éclairage de la plaque d'immatriculation et l'éclairage du tableau de bord s'allument.
② Tournez l'interrupteur à la position D, les phares s'allument et les autres feuels demeurent allumés.

Système des phares automatiques (selon l'équipement)
Le système de phares automatiques permet l'activation et la désactivation automatiques des phares et des deux arrière.
Pour régler le système de phares automatiques:
- Assurez-vous que l'interrupteur des phares est à la position AUTO (automatique) ①.
-
Placez le commutateur principal à la position ON (marche).
-
Le système de phares automatiques allume et eteint automatiquement les phares et les deux arriere.
Pour désactiver le système de phares automatiques, tournez l'interrupteur à la position OFF (hors fonction), équé ou D.
Le système de phares automatiques peut allumer automatiquement les phares et les deux arriere lorsqu'il fait nombre et les teéindre lorsqu'il fait jour.
Modèles pour les États-Unis : Les phares et les feuux arrêté s'allument aussi automatiquement lorsque la luminosité baisse ou par temps pluvieux (lorsque les essuie-glaces de pare-brise fonctionnent en continu).
Si le commutateur principal est placé à la position OFF (hors fonction) et qu'une des portières reste ouverte, les phares restent allumés pendant 45 secondes.
Délai d'extinction des phares automatiques :
Les phares peuvent rester allumés jusqu'à 180 secondes après avoir appuyé sur le commutateur principal à la position OFF (hors fonction), ouvert une portière, puis fermé toutes les portières.
Vou puez regler le délambda d'extinction des phares automatiques de 0 seconde (position OFF [hors fonction]) à 180 secondes. Le réglage d'usine par défaut est de 45 secondes.
REMARQUE:
Pour obtenir des renseignements supplémentaires sur le réglage du délié d'extinction des phares automatiques, consultez la section « Écran multifonction » dans ce chapitre.


Veillez à ne pas placer aucun objet sur le dessus du capteur optique ①itué sur la partie supérieure du tableau de bord. Le capteur optique contrôle le système de phares automatiques; s'il est couvert, le capteur réagira comme s'il faisait noir et les phares s'allumeront.
Sélection des feuix
1 Pour selectionner les yeux de croissement, placez le levier au point mort comme illustré et tournez l'interrupeur à la position voulue. Pour obtenir des renseignements supplémentaires, consultez la section « Interrupteur des phares » dans ce chapitre.
(2) Pour sélectionner les feuels de route, poussez le levier vers l'avant lorsque l'interrupteur est à la position ①. Les feuels de route s'allument et le témoin de feuels de route (bleu) ② s'alume. Pour returner aux feuels de croissement, tirez-le vers vous.
③ Les feuels de route clignotent lorsqu'youtirezlelevierversous,meme lorsque linterrupteur des phares est à la position OFF (hors fonction).
Assistance du faisceau de route (selon l'équipement)
Le système d'assistance du faisceau de route ne fonctionne que lorsque la vitesse du vehicule est supérieure à 30 km/h (19 mi/h) environ. Si un vehicule circulant en sens inverse ou à l'avant de votre vehicule est détecté lorsque le faisceau de route est allumé, l'éclairage passera automatiquement aux yeux de croissement.
Précautions relatives à l'assistance du faisceau de route:

AVERTISSEMENT
-
Le système d'assistance du faisceau de route est pratique, mais ne remplace aucunement une conduite sure. Le conducteur doit rester vigilant en tout temps, s'assurer de respecter les pratiques de conduite sécuritaires et activer manuellement les frais de route et les frais de croissement lorsque nécessaire.
-
Les frais de route ne passent pas automatiquement aux frais de croissement, et vice-versa, dans les conditions indiquées ci-dessous. Vous nevezisser manuelle des frais de route aux frais de croissement, et vice-versa.
-
Par mauvais temps (pluie, brouillard, neige, vent, etc.).
-
Lorsqu'une source d'éclairage similaire à des phares ou aux yeux arrêté se trouve à proximité du vehicule.
-
Lorsque les phares d'un vehicule circulant en sens inverse ou d'un vehicule circulant à l'avant sont mis hors fonction, lorsque la couleur de l'éclairage est affectée en raison de la présence de matières étrangères sur les feuels et les phares, ou lorsque le faisceau lumineux se trouve hors de sa position.
- Lorsqu'un changement brusque et continu de luminosité se produit.
- Lorsque vous conduisiez sur une route qui passé par-dessus un terrain valonné, ou sur une route qui présente des écarts de niveau.
- Lorsque vous conduisez sur une route qui présente plusieurs virages.
- Lorsqu'une affiche ou autre surface refléchit une lumière intense vers l'avant du vehicule.
- Lorsqu'un conteneur, etc., cours de remorquage par un vehicule situé à l'avant, reflèchit une lumière intense.
-
Lorsqu'un des phares de votre vehicule est endommagé ou sale.
-
Lorsque le vehicule est incliné en raison d'un pneu creve, d'un remorquage en cours, etc.
-
L'action des feuels de croissement et des feuels de route peut changer suivant les situations suivantes.
-
La luminosité des phares d'un vehicule circulant en sens inverse ou circulant à l'avant de votre vehicule.
- Le mouvement et le sens de circulation du vehicule circulant en sens inverse ou circulant à l'avant de votre vehicule.
- Un seul phare est allumé sur le vehicule circulant en sens inverse ou circulant à l'avant de votre vehicule.
- Le vehicule circulant en sens inverse ou circulant à l'avant de votre vehicule est un vehicule à deux roues.
- L'etat de la route (pente, virage, surface de la route, etc.).
- Le nombre de passagers et la quantité de bagages.

Fonctionnement du système d'assistance du faisceau de route:
Pour activer le système d'assistance du faisceau de route, tournez le commutateur la position AUTO (automatique) ① et poussez le levier vers l'avant ② (position deux de route). Le témoin du système d'assistance du faisceau de route du compteur s'allume pendant que les phares sont allumés.
Si le témoin système d'assistance du faisceau de route ne s'allume pas dans la condition mentionnée ci-dessus, cela peut indiquer que le système ne fonctionne pas correctement. Nous vous recommendons de vous rendre chez un concessionnaire NISSAN LEAF certifié pour procéder cet entretien.
Lorsque la vitesse du vehicule est inférieure à 20 km/h (12 mi/h), l'éclairage demeure en mode de deux de croisement.
Pour désactiver le système d'assistance du faisceau de route, tournez l'interrupteur des phares à la position où seLECTIONnez la position de deux de croisement en plaçant le levier à la position neutre.

Entretien du capteur d'image ambiente:
Le capteur d'image ambiente du système d'assistance du faisceau de route est situé au-dessus du rétroviseur interieur ①. Pour le bon fonctionnement système d'assistance du faisceau de route et la prévention d'une anomalie de système, assurez-vous d'observer les consignes suivantes:
- Gardez toujours le pare-brise propre.
-
Ne posez pas d'autocollant (opaque ou transparent) sur le capteur et n'installez pas d'accessoire à proximité.
-
Évitez de frapper ou d'endommager les zones autour du capteur d'image ambiente.
Si le capteur d'image ambiente est endommagé à la suite d'un accident, nous vous recommendons de vous rendre chez un concessionnaire NISSAN LEAF certifié pour cet entretien.
Protection antidécharge
Lorsque l'interrupteur des phares est à la position ébae ou d et que le commutateur principal se trouve à la position ON (marche), les phares s'éteignent automatiquement 45 secondes après avoir placé le commutateur principal à la position OFF (arrêt).
Lorsque l'interrupteur des phares restedans la position ou apresl'extinction automatique des phares,ils se rallumeront lorsque vous placez le commutateur principal à la position ON (marche).

MISE EN GARDE
- Lorsque vous remettez l'interrupeur des phares à la position d'activation après l'extinction automatique des phares, ces derniers ne s'éteignent pas automatiquement. Assurez-vous de tourner l'interrupeur des phares à la position OFF (hors fonction) lorsque vous quittez le vehicule pour une période prolongée, sinon la batterie se décharger.
- Ne laïsez jamais l'interrupteur des phares à la position d'activation lorsque le commutateur principal est à la position OFF (arrêt), ACC (accessoires) ou ON (marche) pendant des périodes prolongées même si les phares s'éteignent automatiquement.
Phares de jour à DEL (selon l'équipement)
Les DEL des phares s'allument automatiquement à 100 % de l'intensité lorsque le commutateur principal est à la position PRÉT À DEMARRER et que le frein de stationnement est desserré. Le système des phares de jour à DEL fonctionne lorsque
l'interrupteur des phares est à la position OFF (hors fonction). Tournez l'interru-.
teur des phares à la position pour
obtenir une intensité d'éclairage maximale
destinée à la conduite de nuit.
Si vous serrez le frein de stationnement avant que le commutateur principal soit à la position PRÉT À DEMARRER, le système des phares de jour à DEL ne fonctionne pas. Le système des phares de jour à DEL s'allume une fois que vous desserrez le frein de stationnement. Le système des phares de jour à DEL reste allumé jusqu'à ce que vous appuyez sur le commutateur principal à la position OFF (hors fonction).

AVERTISSEMENT
Les feuux arrirée de votre vehicule sont éteints lorsque les DEL des phares de jour sont allumés. Vous devez allumer les phares de votre vehicule à la brunnante. Le non-respect de cette directive risque de causeur un accident et des blessures à vous-même et à autreui.

COMMANDE DE LUMINOSITE DE L'ÉCLAIRAGE DU TABLEAU DE BORD
Appuyez sur le bouton « + » pour augmenter l'intensité d'éclairage du tableau de bord.
Appuyez sur le bouton « - » pour réduire l'intensité d'éclairage du tableau de bord.

INTERRUPTEUR DES CLIGNOTANTS Clignotants
① Déplacez le levier des clignotants vers le haut ou vers le bas jusqu'à ce qu'il s'enclenche pour indiquer la direction du virage. Les clignotants s'arrêtent automatiquement lorsque le virage est terminé.
Signal de changement de voie
② Déplacez le levier vers le haut ou vers le bas jusqu'à ce que le clignotant commence à clignoter, mais sans enclencher le levier, pour signaler un changement de voie. Maintenez le levier jusqu'à ce que le changement de voie soit terminé.
Déplacez le levier vers le haut ou vers le bas jusqu'à ce que le clignotant commence à clignoter, mais sans enclencher le levier, puis relâchéz le levier. Le clignotant clignotera automatiquement trois fois.
Choisissez la méthode appropriée pour signaler un changement de voie en vous basant sur l'etat de la route et les conditions de circulation.
INTERRUPTEUR DES PHARES ANTIBROULLARD (SELON L'ÉQUIPEMENT)

Pour allumer les phares antibrouillard, tournez l'interrupteur des phares à la position D, puis tournez l'interrupteur à la position D. Tournez l'interrupteur à la position OFF pour les éteindre.
Le contact doit être mis pour assurer le fonctionnement des phares antibrouillard.
AVERTISSEUR SONORE

Pour actionner l'avertisseur sonore de vo-. tre vehicule, appuyez sur le rembourse central du volant.

AVERTISSEMENT
Ne tentez pas de démonter l'avertisseur sonore. Une telle action pourrait compromètre le fonctionnement du système de sacs gonflables avant. Toute altiération des sacs gonflables avant peut entraîner des blessures graves.
COMMUTATEUR ECO (ÉCONOMIE)

Pour activer le mode ECO, appuyez sur le commutateur ECO (economie). Le témoin de mode ECO s'affiche sur le compteur.
Pour désactiver le mode ECO, appuyez de nouveau sur le commutateur ECO (economie). Le témoin de mode ECO s'éteint.
Pour obtenir des renseignements supplémentaires, consultez la section « Système de commande de changement de vitesse électrique » dans le chapitre « Démarriage et conduite » duprésent manuel
COMMUTATEURS DE SIÈGE CHAUFFANT (SELON L'ÉQUIPEMENT)

Avant

Arrière
Les sièges avant et les sièges d'extrémité arrrière (selon l'équipement) peuvent être chauffés par des dispositifs de chauffage intégrés. Les commutateurs situés sur la console centrale et sur le côte du dossier de siège du passager avant peuvent être actionnés indépendamment l'un de l'autre.
- Placez le commutateur principal à la position ON (marche).
-
Appuyez sur la partie LO (faible chaleur) ou Hl (chaleur elevée) du commutateur pour régler la température au niveau désiré. Le tímoin du commutateur actifé s'allume.
-
Pour éteindre le dispositif de chauffage, replacez le commutateur à la position neutr. Assurez-vous que le témoin s'éteint.
Le dispositif de chauffage est commandé par un thermostat qui active ou désactive automatiquement le dispositif de chauffage. Le témoin reste allumé tant que le commutateur se trouve à la position de marche.
Assurez-vous de placer le commutateur à la position d'arrêt lorsque le siège est suffisamment chaud ou lorsque vous quittez le vehicule.
REMARQUE:
Les sièges chauffants consomment moins d'énergie que le dispositif de chauffage et peuvent être utilisés pour prolonger l'autonomie du vehicule en réduisant l'utilisation du chauffage ou pour optimier le comport en complément du chauffage.
INTERRUPTEUR DE VOLANT DE DIRECTION CHAUFFANT (SELON L'ÉQUIPEMENT)

AVERTISSEMENT
Le dispositif de chauffage du siège ne doit pas etre utiliser par des personnes qui ne peuvent pas controller la température elevée du siège ou, en raison d'une incapacité physique, ne peuvent pas dessentir la douleur dans les parties du corps qui entrent en contact avec le siège. L'utilisation du dispositif de chauffage du siège par ces personnes peut provoquer de graves blessures.

MISE EN GARDE
- N'utilise pas le dispositif de chauffage du siècle pendant de longues périodes ou lorsque personne n'y a pris place.
-
Ne posez rien sur le siège qui puisse isoler la chaleur (couverture, cousin, housse de siège, etc.) et cause la surchauffe du siège.
-
Ne déposez pas d'objets durs ou lourds sur le siège et ne perf freeze pas celui-ci avec une broche ou un autre objet similaire. Ceci pourrait endom-mager le dispositif de chauffage du siège.
- Tout liquide renversé sur le siège chauffant doit être nettoyé immidiatement avec un chiffon sec.
- N'utilise jamais d'essence, de solvant ou de produit similaire pour nettoyer les sièges.
- En cas d'anomalie ou si le siège chauffant ne fonctionne pas, mettez le commutateur en position d'arrêt et faites vérifier le système. Nous vous recommendons de vous rendre chez un concessionnaire NiSSAN LEAF certifié pour procéder cet entretien.

Le système de volant de direction chauffant ne peut etre actionne que lorsque la tempereature de surface du volant est inférieure a 20^ (68^) environ.
Appuyez sur le commutateur du volant de direction chauffant pour rechauffer le volant de direction lorsque le commutateur principal est à la position ACC (accessoires) ou ON (marche). Le témoin ① du commutateur s'allume.
Si la température de la surface du volant de direction est inférieure à 20^ ( 68^ ) environ, le système réchauffe le volant, puis s'active et se désactive pour maintainir une température au-dessus de 20^ ( 68^ ). Le témoin reste allumé tant que le système de chauffage du volant est en fonction.
Appuyez de nouveau sur le commutateur pour eteindre manuellement le systeme de chauffage du volant de direction. Le temein s'eteint.
REMARQUE:
- Si la température de surface du volant est supérieure à environ 20^ (68 °F) lorsque le commutateur est enforcé, le système de réchauffement du volant ne s'activera pas. Cette condition est normal.
Si la température extérieure est BASSE (environ 10^ [50 F] ou moins) et la minuterie du système de chauffage-climatisation ou le système de chauffage-climatisation à distance est utilisé, le dispositif de chauffage du volant s'active automatiquement dans les conditions suivantes.
Lors de l'utilisation de la minuterie du système de chauffage-climatisation : fonctionne pendant environ 15 minutes avant et jusqu'au temps de départ régle.
Lors de l'utilisation du système de chauffage-climatisation à distance : fonctionne pendant 15 minutes après le démarrage du système de chauffage-climatisation à distance.
Le volant de direction chauffant consomme moins d'énergie que le dispositif de chauffage et peut être utilisé pour prolonger l'autonomie du vehicule en réduisant l'utilisation du chauffage pour optimier le comport en complément du chauffage.
COMMUTATEUR D'APPEL D'URGENCE (SOS) (SELON L'ÉQUIPEMENT)

Le commutateur du système d'applé d'urgence est utilisé en combinaison avec un abonnement aux services Nissan-Connect™ (pour Leaf) pour demander de l'aide en cas d'urgence.
Appuyez sur le commutateur (avec un abonnement payé) pour obtenir la réponse d'un spécialiste qui fournit de l'aide en fonction de la situation précrite par l'occupant du vehicule. Pour obtenir de plus amples renseignements ou pour inscrite votre vehicule, consultez le site Web www.NissanUSA.com/connect ou appelez au 1-855-426-6628.
COMMUTATEUR DU COUVERCLE DU PORT DE CHARGE

COMMUTATEUR DE CHARGE IMMÉDIATE

COMMUTATEUR DE DIRECTION ASSISTÉE (SELON L'ÉQUIPEMENT)

Pour ouvrir le couvercle du port de charge, appuyez sur le commutateur du couvercle du port de charge. Pour obtenir des renseignements supplémentaires, consultez la section « Couvercle du port de charge » dans le chapitre « Vérifications et réglages avant le démarrage » de ce manuel.
Pour désactiver la minuterie de chargement, appuyez sur le commutateur de charge immédiate. Pour obtenir des renseignements supplémentaires, consultez la section « Minuterie de chargement » du chapitre « Chargement » duprésent manuel.
Le commutateur de direction assistée permet d'activer et de désactiver le système de direction assistée et le régulateur de vitesse adaptatif (ICC) lorsqu'il est activé à l'aide du menu de réglages à l'affichage multifonction.
La direction assistée contrôle le système de direction, ce qui permet de garder votre vehicule pres du centre de la voie lors de la conduite. La direction assistée est combinée au régulateur de vitesse adaptatif (ICC). Pour obtenir de plus amples renseignements, consultez la section « Régulateur de vitesse adaptatif (ICC) avec ProPILOT Assist » dans le chapitre « Démarriage et conduite » du pré sent manuel.
PRISE D'ALIMENTATION


MISE EN GARDE
- La prise et la fiche peuvent devenir chaudes pendant ou immédiatement après l'utilisation.
- N'utilise pas d'accessoires dont la consommation est supérieure à 12 V, 120 W (10 A).
-
N'utilise pas d'adaptateurs doubles et ne branchez pas plus d'un accessoire électrique dans la même prise.
-
Utilisez la prise de courant lorsque le commutateur principal est à la position ON (marche) ou Ready (préts à démarrer), pour éviter de décharger la batterie de 12 V.
- Évitez d'utiliser la prise de courant lorsque le climatiseur, les phares ou le dégivreur de lunette arrière sont en fonction.
- Cette prise de courant n'a pas eté concue pour recevoir un allume-cigare.
- Enforcez la fiche le plus loin possible. Si le contact n'est pas établi ajustement, la fiche peut surchauffer ou le fusible de température interne peut griller.
- Avant d'insérer ou de débrancher une fiche, assurez-vous que l'accessoire électrique qui est utilisé est HORS TENSION.
Assurez-vous que le capuchon est fermé lorsque vous n'utilise pas la prise. Évitez demettre la prise en contact avec de l'eau.
RANGEMENT

VIDE-POCHE DU DOSSIER DE SIÈGE (SELEN L'ÉQUIPEMENT)
Les vide-poches peuvent se couver sur les sièges du conducteur et du passager. Des cartes routières peuvent y'être rangiées.

AVERTISSEMENT
Respectez les mesures suivantes pour assurer le bon fonctionnement du système de sac gonfable perfectionné NiSSAN du passager:
Assurez-vous que les passagers arrirè ne poussent ni ne tirent sur le vide-poche du dossier ou de l'appuie-tête.
- Ne soumettez pas le dossier de siège, l'appuie-tête ou le vide-poche du dossier de siège à une charge dépassant 4 kg (9,1 lb).

Tableau de bord
BAC DE RANGEMENT

AVERTISSEMENT
Afin de prévenir les blessures en cas d'accident ou d'arrêt brusque, ne déposez pas d'objets acérés dans les plateaux.

BOITEÀ GANTS
Pour ouvrir la boîte à gants, tirez la poignée. Pour la fermer, appuyez sur le couvercle jusqu'à ce qu'il s'enclença.

AVERTISSEMENT
Pour prévenir les blessures en cas d'accident ou d'arrêt brusque, gardez la boîte à gants fermée lors de la conduite.

COMPARTIMENT DE RANGEMENT DE LA CONSOLE
Pour ouvrir le compartment de rangement de la console, tirez le levier A vers le haut et tirez le couvercle vers le haut. Pour le fermer, appuyez sur le couvercle vers le bas jusqu'à ce qu'il s'enclenche.

RANGE-LUNETTES AU PAVILLON
Pour ouvrir le range-lunettes, appuyez brievement sur son couvercle. Le range-lunettes est donc pour ranger une seule paire de lunettes.

AVERTISSEMENT
Laissez le range-lunettes fermé pendant la conduite pour éviter d'obstruer la vision du conducteur et contribuer à prévenir un accident.

MISE EN GARDE
- N'y déposez rien d'autre que des lunettes de soleil.
- Ne laissiez pas de lunettes de soleil dans le range-lunettes si vous stationnez votre vehicule au soleil. La chaleur pourrait endommager les lunettes.


Avant
Support à bouteille couple (avant)
PORTE-GOBELETS

Support à bouteilleouple (arrière)

AVERTISSEMENT
Évitez de démarrer ou de freiner brusquement lorsque le porte-gobelets est utilisé, car le liquide pourrait se renverser. Si le liquide est chaud, votre passagér et vous pourriez être brûlés.

MISE EN GARDE
Ne déposez que des tasses faites de matérieliaux couples dans le portegobelets. Des objets durs pourraient vous infliger des blessures en cas d'accident.

MISE EN GARDE
- N'utilise pas le porte-bouteilles pour retenir d'autres types d'objets qui pourrait etre projetés dans le vehicule et inflige des blessures aux occupants en cas de freinage brusque ou d'accident.
- N'utilise pas le porte-bouteilles pour retenir des bouteilles de liquide ouvertes.
COUVRE-BAGAGES (SELON L'ÉQUIPEMENT)

AVERTISSEMENT
- Ne déposez jamais d'objet, si petit soit-il, sur le couvre-bagages. Tout objet déposé sur le couvre-bagages pourrait entraîner des blessures en cas d'accident ou d'arrêt brusque.
-
Ne laisses pas le couvre-bagages sur le vehicule s'il est dégagé de son support.
Fixez solidement tous les bagages à l'aide de cordes ou de sangles afin d'eviter qu'ils ne glissent ou se déplacent. N'empilez pas les bagages plus hauts que les dossiers de sieges. En cas d'arrêt brusque ou de collision, les bagages non retenus pourraient entraîner des blessures. -
Arrimez le chargement de façon adéquate et ne laissezaucun élémentrangédans l'aire de charge-ment enter en contact avec la courroie d'attache supérieure d'un ensemble de retenue d'enfant. Les éléments qui ne sont pas correctement arrimés ou qui touchent à la courroie d'attache supérieure peuvent endommager la courroie d'attache supérieure en cas de collision. Si le couvre-bagages touche à la courroie d'attache supérieure lorsqu'elle est fixeé au point d'ancrage supérieur, retirez le couvre-bagages du vehicule ou fixez-le sur le plancher de l'aire de chargement sous son point de fixation. En cas de collision, la courroie d'attache supérieure pourrait être endommagée si le couvre-bagages n'est pas retireé. Si la courroie d'attache supérieure d'un ensemble de retenue d'enfant est endommagée, votre enfant pourrait subir des blessures graves, voire mortelles en cas de collision.
Le couvre-bagages recouvre et dissimule le contenu de l'aire de chargement.

- Retirez les sangles du hayon.
- Soulevez le couvre-bagages.
- Retirez les supports du couvre-bagages du montant arrête.

- Faites glisser le couvre-bagages vers le bas le long du dossier de siège arrière.
- Retirez le couvre-bagages en tirant soit le côté gauche soit le côté droit vers l'arrière en l'éloignant du montant.

RANGEMENT DE SACS DE GOLF
Vous pouvez généralement ranger deux sacs de golf standard dans l'espace à bagages. Insérez la partie supérieure du sac de golf dans le côté droit de l'espace à bagages ①, puis faites tourner le sac vers l'arrière ②. Insérez la partie supérieure du deuxième sac de golf dans le côté droit de l'espace à bagages ③, puis rangez la partie inférieure du sac de golf complètement vers l'avant ④.
Dans certains cas, vous ne pourrez pas ranger deux sacs de golf dans votre vehicule, selon leurs tailles et types.
GLACES
GLACES ÉLECTRIQUES

AVERTISSEMENT
Assurez-vous que tous vos passagers ont les mains, les bras, etc. à l'intérieur du vehicule lorsque ce dernier est en mouvement et avant de relever les glaces. Servez-vous du commutateur de verrouillage des glaces pour empêcher l'utilisation imprévue des lève-glaces à commande électrique.
Pour éviter le risque de blessures ou de décès associé à un fonctionnement accidentel du vehicule ou de ses systèmes, comme le coincement par les glaces ou l'activation accidentelle du verrouillage des portières, ne laissez pas les enfants, les personnes qui ont besoin de l'aide d'autres personnes ou les animaux sans surveillance dans votre vehicule. De plus, la température à l'intérieur d'un vehicule fermé lors d'une journée chaude peut s'éleverrapidement au point de provoquer un risque important de blessures graves ou mortelles à des personnes ou à des animaux domestiques.
Les glaces à commande électricque peuvent être activées lorsqu'elle commutateur principal est à la position ACC (accessoires) ou ON (marche) ou jusqu'à 45 secondes après que le commutateur principal est place à la position OFF (hors fonction). L'alimentation des glaces à commande électricque est neutralisée si la portière du conducteur ou du passager avant est ouverte pendant cette période d'environ 45 secondes.

Commandé électrique principale des glaces (côté conducteur)
- Glace du côté conducteur
- Glace du côté passager avant
- Glace du côté passager arrêtè gauche
- Glace du côté passager arrêté droite
- Bouton de verrouillage des glaces
Pour ouvrir ou fermer la glace, appuyez sur la commande correspondante vers le bas A ou tirez-la vers le haut B, puis maintenez-la dans cette position. Les commandes principales du cote conduc-. teur, permettent d'ouvrir et de fermer toutes les glaces.
Verrouillage des glaces des passagers
Lorsque le bouton de verrouillage © est enforcé, seule la glace du conducteur peut être ouverte ou fermée. Pour annuler la fonction de verrouillage, appuyez de nouveau sur le bouton.

Commande de glace électrique du côté passager
La commande de glace électrique du côte passager permet d'ouvrir ou de fermer seulement la glace correspondante. Pour ouvrir ou fermer la glace, appuyez sur la commande vers le bas ou tirez-la vers le haut, puis maintenez-la dans cette position.
Commandes des glaces électriques arrêté
Les commandes des glaces électriques arrêtépermettent d'ouvrir ou de fermer la glace électrique du passager correspondante. Pour ouvrir la glace, appuyez sur l'interrupteur et maintenez-le enforcé.Soulevez la commande pour refermer la glace.

Fonctionnement automatique
Le fonctionnement automatique est disponible pour la commande qui est munie d'une marque sur sa surface.
Pour ouvrir ou fermer entièrement la glace, appuyez complètement vers le bas sur la commande ou tirez-la vers le haut, puis relâchéz-la; il n'est pas nécessaire de maintainir la commande en position. La glace s'ouvrira ou se fermera automatiquement. Pour arrêter la glace, appuyez simplement sur la commande, ou relevez-la, dans le sens opposé.
Si vous appuyez sur la commande ou la tirez, légèrement, la glace s'ouvre ou se ferme jusqu'à ce que vous relâchiez la commande.
Fonction d'inversion automatique

AVERTISSEMENT
Certaines zones très limitées et très rapprochées de la position de fermeture complète ne bénéficient pas de la fonction de détction. Assurez-vous donc que rien ne se trouve dans l'ouverture des glaces (par exemple, les mains des passagers, etc.) avant de les fermer.
Si le module de commande decèle la présence d'un object coince dans l'ouverture de la glace pendant que celle-ci remonte, la glace s'abaisse immEDIatement.
La fonction d'inversion automatique peut etre activée quand la glace est fermée automatiquement, lorsque le commutateur principal est à la position ON (marche), ou pendant 45 secondes après que le commutateur principal est placé à la position OFF (arrêt).
Selon l'environnement ou les conditions de conduite, la fonction d'inversion automatique peut également être activée par un impact ou une charge ayant le même effet qu'un objet coincide dans l'ouverture de la glace.
Si les glaces ne se ferment pas automatiquement
Si le fonctionnement automatique de la glace à commande électrique (sens fermeture seulement) ne s'actionne pas, procédez comme suit pour réinitialiser le système des glaces à commande électrique.
- Placez le commutateur principal à la position ON (marche).
- Fermez la portiere.
- Ouvrez complètement la glace au moyen de la commande de glace électrique.
-
Tirez sur la commande de glace électrique pour fermer la glace, puis maintenez la commande dans cette position pendant plus de trois secondes après la fermetre de la glace.
-
Relâchéz le commutateur de glace à commande électrique. Utilisez le fonctionnement automatique de la glace pour confirmer le résultat de la procédure d'initialisation.
Si le fonctionnement automatique de la glace ne s'actionne pas après que vous ayez effectué les étapes ci-dessus, faites vérifier votre vehicule. Nous vous recom-mandons de vous rendre chez un concessionnaire NISSAN LEAF certifié pour ce service.
ÉCLAIRAGE INTÉRIEUR

L'éclairage interieur peut être activé ① sans égard à la position de la portière. Les lampes s'eteindront après un certain temps à moins que le commutateur principal ne soit tourné en position ON (marche) quand une portière est ouverte.
Les lampes interieures peuvent etre regles pour fonctionner quand les portieres sont ouvertes ② . Pour eteindre les lampes interieures quand une portiere est ouverte, enonceze le commutateur; les lampes interieures demeureront eteintes, peu importe la position des portieres.
Ces lampes s'éteignent lorsque le commutateur principal est à la position ON (marche), ou que la portière du conducteur est fermée et verrouillée. Les lampes s'éteindront aussi après un certain délai quand les portières sont ouvertes.

MISE EN GARDE
N'utilisez pas l'éclairage interieur pendant une période prolongée lorsque le commutateur principal est à la position OFF (hors fonction). Vous risquieriez de décharger la batterie de 12 V.
LAMPE DE LA CONSOLE (SELEN L'ÉQUIPEMENT)
La lampe de la console s'allume chaque fois que les feuels de stationnement ou les phares sont allumés.
La luminosité de la lampe de la console peut être réglée à l'aide de la commande de luminosité à l'écran multifonction.

LAMPES DE LECTURE
Appuyez sur le bouton pour allumer les lampes de lecture. Enforcez de nouveau le bouton pour les eteindre.

ÉCLAIRAGE AMBIANT
L'interrupteur d'éclairage ambient comparétrois positions : ON (en fonction),DOOR (portière) et OFF (hors fonction).
Position ON (en fonction)
Lorsque l'interrupteur est à la position ON (en fonction) ①, l'éclairage de plafond s'allume.
Position DOOR (portière)
Lorsque l'interrupteur se trouve à la position DOOR (portière) ②, l'éclairage de plafond s'allume dans les conditions suivantes:
-
le commutateur principal est à la position LOCK (antivol-verrouillé);
-
il reste allumé pendant environ 15 se
condes; -
les portières sont déverrouillées en appuyant sur le bouton de DÉVERROUILAGE
ou le commutateur de demande lorsque le commutateur principal est à la position LOCK (antivol-verrouillé);
-
il reste allumé pendant environ 15 se
condes; -
une portière est ouverte puis fermée lorsque le commutateur principal est à la position LOCK (antivol-verrouillé)
-
il reste allumé pendant environ 15 se
condes; -
une portière est ouverte lorsque le commutateur principal est à la position ACC (accessoires) ou ON (marche)
-
il reste allumé pendant que la portière est ouverte. Lorsque la portière est fermée, l'éclairage s'eteint.
Pour prévenir la décharge de la batterie, l'éclairage s'eteint automatiquement après 10 minutes lorsque l'éclairage reste allumé.
Position OFF (hors fonction)
Lorsque l'interrupteur est à la position OFF (hors fonction) ③, l'éclairage de plafond ne s'allume pas, quelles que soient les conditions.
ÉCLAIRAGE DE L'AIRE DE CHARGEMENT
L'éclairage de l'aire de chargement s'allume lorsque le hayon est ouvert. L'éclairage s'eteint une fois le hayon arrêté refermé. Pour obtenir des renseignements supplémentaires, consultez la section « Éclairage extérieur et interieur » du chapitre « Entretien et interventions du propriétaire » duprésent manuel.
TELECOMMANDE UNIVERSELLE HOMLINKDUNIVERSAL TRANSCEIVER (SELON L'ÉQUIPEMENT)
La télécommande universelle HomeLinkMD Universal Transceiver est un dispositif pratique qui combine jusqu'à trois télémandes en une seule.
La télécommande universelle HomeLinkMD Universal Transceiver :
- peut activer la plupart des dispositifs à Fréquence Radio tels que les portes de garage, les portails, l'éclairage de la maison et du bureau, les serrures de port d'entrée et les systèmes de sécurité;
- est alimentée par la batterie de 12 V du vehicule; et n'exige pas de piles individuelles. La programmation de la télécommande HomeLinkMD n'est pas effacée si la batterie de 12 V du vehicule est déchargée ou débranchée.
Une fois que votre télécommande universelle HomeLink ^MD est programmée, conservez la télécommande d'origine aux fins de programmation ultérieure (par exemple, lors de l'achat d'un nouveau vehicule). Si vous vendez votre vehicule, la programmation de votre télécommande universelle HomeLink ^MD Universal Transceiver doit être effacée
pour des raisons de sécurité. Pour obtenir des renseignements supplémentaires, consultez la section « Programmation de la télécommande HomeLink MD » dans ce chapitre.

AVERTISSEMENT
-
N'utilise pas la télécommande universelle HomeLink™ Universal Transceiver avec un ouvre-porte de garage qui ne compte pas de fonctions d'arrêt d'urgence et de marche arrrière telles qu'exigées par les normes de sécurité fédérales. (Ces normes sont applicables aux modèles de dispositifs d'ouverture fabriqués après le 1er avril 1982.) Un ouvre-porte de garage qui ne peut détecter un obstacle lors de la fermeture de la porte et d'inverser son mouvement ne satisfait pas aux normes fédérales de sécurité en vigueur actuellement. L'utilisation d'un tel ouvre-porte de garage accroît les risques de blessures graves ou mortelles.
-
Pendant la procédure de programmation, la porte de votre garage ou la barrière de sécurité s'ouvre et se ferme (si vous utilisez la télécommande dans les limites de son champ d'action). Assurez-vous que rien ni personne ne se trouve dans le champ de la porte de garage, de la barrière de sécurité, etc. que vous actionnez en programmant la télécommande.
- Placez le commutateur principal à la position ACC (accessoires) ou ON (marche) pendant la programmation de la télécommande universelle HomeLink ^MD .
PROGRAMMATION DE LA TÉLECOMMANDE HOMELINK
Si vous avez des questions concernant la programmation des touches de votre télécommande HomeLink ^MD , ou si vous éprouvez des difficultés au cours de la programmation, consultez le site web de HomeLink ^MD à l'adresse suivante: www.homelink.com, ou composez le 1-800-355-3515.
REMARQUE:
Placez le commutateur principal à la position ACC (accessoires) lors de la programmation de la télécommande HomeLink ^MD . Il est aussi recommando d'installer une nouvelle pile dans la télécommande portative du dispositif à programme sur le système HomeLink ^MD pour partager à une programmation plus rapide et à la transmission plus précise des signaux.
- Placez l'extrémité de la télécommande portative à une distance de 2 à 8 cm (1 à 3 po) de la surface de la télécommande HomeLink™ tout en observant le tímoin de la télécommande HomeLink™.

- À l'aide de vos deux mains, maintenez simultanément enforcée la touche vou- lue de la télécommande HomeLink ^MD et la touche de la télécommande porta- tive. Ne relâchez PAS les touches jusqu'à ce que le témoin de la télécommande HomeLink ^MD ① clignote lentement puis rapidement. Lorsque le témoin clignote rapidement, relâchez les deux touches. (Le clignotement rapide indique que la programmation a réussi.)
REMARQUE :
Dans le cas de certains dispositifs, vous devrez replacer l' étape 2 avec la procédure de cyclage indiquée dans la section « Programmation de la télécommande HomeLinkMD pour le Canada et pour les ouvre-portails »

-
Maintenez enfoncée la touche programmee de la télécommande HomeLink MD et observe le témoin.
-
Si le témoin ① demeure allumé en continu, la programmation est terminée et le dispositif devrait s'activer lorsque vous appuyez brivement sur la touche de la télécommande HomeLinkMD.
-
Si le témoin ① clignote rapidement pendant deux secondes, puis de-meure allumé en continu, effectuez les étapes 4 à 6 pour programmer un dispositif à code tournant. L'assistance d'une autre personne peut faciliter
l'exécution des étapes suivantes. Utilisez une échelle ou un équipement similaire. Ne vous tenez pasABOUT sur votre vehicule pour exécuter les prochaines étapes.
-
Sur le récepteur du moteur d'ouvre-porte de garage dans le garage, localisez le bouton « learn » (apprentissage) ou « smart » (intelligent) (le nom et la couleur du bouton peuvent varier selon le fabricant, mais il est habituellement situé pres de l'endroit où est fixé le fil d'antenne sur l'unité). S'il vous est difficile de repérer le bouton, consultez le manuel de l'ouvre-porte de garage.
-
Enoncez brievement le bouton « learn » (apprentissage) ou « smart » (intelligent).
-
Revenez au vehicule et maintenez fermement enfoncée la touche de la télécommande HomeLink ^MD programmée pendant deux secondes, puis relâchéz-la. Répétez la série « dévelopir enfoncée, puis relâcher » jusqu'à trois fois pour terminer la procédure d'apprentissage. La télécommande HomeLink ^MD devrait maintainant commander votre dispositif avec fonction de code tournant.
-
Sivous avez des questions concernant la programmation des touches de votre télécommande HomeLinkMD, ou si vous éprouvez des difficultés au cours de la programmation, consultez le site web de HomeLinkMD à l'adresse suivante: www.homelink.com, ou composez le 1-800-355-3515.
PROGRAMMATION DE LA TELECOMMANDE HOMELINKMD POUR LE CANADA ET LES OUVRE-PORTAILS
La réglementation canadienne de radiofrequence exige que les signaux de transmission cessent après plusieurs secondes de transmission, ce qui peut ne pas être suffisant pour la télécommande HomeLinkMD de capter le signal durant l'apprentissage. De façon similaire à la réglementation canadienne, certains ouvreportils fabriqués aux États-Unis sont conçus de façon à « cesser » la transmission de la même manière.
Si vous habitez au Canada ou si vous éprouvez des difficultés lors de l'apprentissage d'un ouvre-portail ou d'un ouvre-
porte de garage à l'aide des procédures d'apprentissage, remplacez l'étape 2 de la section « Programmation de la télécommande HomeLink™ » par les étapes suivantes:
REMARQUE:
Durant la programmation d'un ouvrometer de garage, etc., débranchez le dispositif pendant le processus de « cyclage » afin d'éviter d'endommager ses composants.
-
Consultez l' étape 1 de la section « Programmation de la télécommande HomeLink MD » dans ce chapitre.
-
À l'aide de vos deux mains, maintenez simultanément enforcée la touche voulue de la télécommande HomeLinkMD voulue et la touche de la télécommande portative. Pendant l'apprentissage, votre télécommande portative peut cesser automatiquement la transmission. Continuez deMAININER enforcée la touche voulue de la télécommande HomeLinkMD pendant que vous appuyez toutes les deux secondes (« un cycle ») sur votre télécommande portative jusqu'à l'apprentissage du signal de
fréquence. Le témoin de la télécommande HomeLink MD clignotera lentement puis rapidement après plusieurs secondes lors de la réussite de l'apprentissage. Ne relâchéz PAS les touches jusqu'à ce que le témoin de la télécommande HomeLink MD clignote lentement puis rapidement. Lorsque le témoin clignote rapidement, relâchéz les deux touches. Le clignotement rapide indique que l'apprentissage a réussi.
Procedez à l'étape 3 de la section « Programmaction de la télécommande HomeLinkMD » pour terminer la procédure.
Si le dispositif a ete debranché pendant la procEDURE de programmation, n'oubliez pas de le rebrancher lorsque la programmation est terminée.
UTILISATION DE LA TÉLECOMMANDE UNIVERSELLE HOMELINK
Après la programmation de la télécommande universelle HomeLink ^MD , vous pouvez l'utiliser pour activer le dispositifprogrammé. Pour l'utiliser, appuyez brievement sur la touche programmée appropriée de la télécommande universelleHomeLink ^MD .Le tímein amber s'allumependant la transmission du signal.
Pour plus de commodité, la télécommande portative du dispositif peut aussi être utilisée.
DIAGNOSTIC DES PROBLEMES DE PROGRAMMATION
Si la télécommande HomeLink MD n'effectue pas l'apprentissage rapide des données de la télécommande portative, effectuez les étapes suivantes.
-
Remplacez les piles de la télécommande portative.
-
Positionnez la télécommande portative en orientant la surface de la pile à l'écart de la surface de la télécommande HomeLinkMD.
- Maintenez enforcées les touches de la télécommande HomeLink ^MD et de la télécommande portative, sans les relâcher.
- Placez la télécommande portative à une distance de 2 à 8 cm (1 à 3 po) de la surface de la télécommande HomeLink ^MD . Maintenez la télécommande dans cette position pendant 15 secondes. Si ce délambda n'est pas suffisant pour programmer la télécommande HomeLink ^MD , essayez de tener la télécommande dans une autre position en gardant le tímoin en vue en tout temps.
Si les problèmes de programmation persistent, veuillez communiquer avec le Service de la protection du consommateur de NISSAN. Les numeros de téléphone pour joindre ce service sont inscrits dans l'avant-propos de ce manuel du conducteur.
SUPPRESSION DE LA PROGRAMMATION
La procédure suivante efface la programmation des deux boutons. Il n'est pas possible d'effacer la programmation d'une touche individuelle. Cependant, les touches individuelles peuvent être reprogrammées. Pour obtenir des renseignements supplémentaires, consultez la section « Reprogrammation d'une seule touche de la télécommande HomeLink MD » du present chapitre.
Pour effacer toute la programmation :
- Maintenez enfoncées les deux touches extérieures de la télécommande HomeLink™ jusqu'à ce que le tímoin commence à clignoter, après environ 10 secondes. Ne maintenez pas les touches enfoncées pendant plus de 20 secondes.
- Relâchéz les deux touches.
La télécommande HomeLinkMD est maintainant en mode de programmation et peut etreprogrammee en tout temps en commençant à l'etape1 de la section «Programmation de la telecommande universelleHomeLinkMD
REPROGRAMMATION D'UNE SEULE TOUCHE DE LA TÉLÉCOMMANDE HOMELINK
Pour reprogrammer une touche de la télécommande universelle HomeLink ^MD , procédez comme suit:
- Maintenez enfoncée la touche de la télécommande HomeLinkMD voulue. NE relâchez PAS la touche.
- Le témoin commence à clignoter après 20 secondes. Sans relâcher la touche de la télécommande HomeLink ^MD , procédez avec l'étape 1 de la section « Programmation de la télécommande HomeLink ^MD »
Pour toute question ou commentaire, communique avec HomeLink à l'adresse www.homelink.com ou au 1800 355-3515.
La touche de la télécommande universelle HomeLink ^MD est maintainant reprogrammée. Le nouveau dispositif peut être activé en appuyant sur la touche de la télécommande HomeLink ^MD qui vient tout juste d'être programmée. Cette procédure n'affecte pas les autres touches programmes de la télécommande HomeLink ^MD .
EN CAS DE VOL DU VÉHICULE
En cas de vol du vehicule, vous devez Change les codes de tout dispositif a code non tournant déjàprogramme dans la telecommande HomeLinkMD.Consultez le mode d'emploi de chaque dispositif ou communiquez avec le fabricant ou le détaillant de ces dispositifs pour obtenir de plus amples renseignements.
Vous devrez reprogrammer ces nouveaux renseignements dans la télécommande universelle HomeLinkMD lorsque votre vehicule est retrouvé.
Avis de la FCC :
Aux États-Unis :
Ce dispositif est conforme à l'article 15 des règlements de la FCC. Son utilisation est soumise aux deux conditions suivantes : (1) ce dispositif ne doit causeer aucune interférence nuisible, et (2) ce dispositif doit accepter toutes les interférences, y compris celles qui pouraient l'activer de façon inopinée.
REMARQUE:
Toute modification non approuvée par la partie responsable de la conformité peut annuler le droit d'utiliser ce dispositif.
Au Canada :
Ce dispositif est conforme aux normes d'Industrie Canada applicables aux apparciels RSS exempts de licence. Son utilisation est soumise aux deux conditions suivantes : (1) ce dispositif ne doit causeer aucune interfERENCE nuisible et (2) ce dispositif doit pouvoir accepter toutes les interférences, y compris celles qui pourraient l'activer de façon inopinée.
3 Vérifications et réglages avant le démarrage
Clés. 3-2
Clé intelligente NISSAN Intelligent Key ^MD 3-2
Clés du Système antidémarrage du vehicule NISSAN. 3-4
Portieres 3-5
Verrouillage au moyen de la clé (côté conducteur seulement). 3-5
Verrouillage au moyen de la commande de verrouillage interieure. 3-6
Verrouillage au moyen de l'interrupteur de verrouillage électrique des portières 3-6
Verrouillage automatique des portières. 3-7
Verrouillage des portières arrêté au moyen du dispositif de sécurité pour enfant 3-7
Système de clé intelligente NISSAN Intelligent Key ^MD 3-8
Portée de la clé intelligente NiSSAN Intelligent Key ^MD de la fonction de verrouillage ou de déverrouillage des portières 3-10
Précautions au sujet du verrouillage et du déverrouillage des portières 3-10
Fonctionnement de la clé intelligente NiSSAN Intelligent Key ^MD 3-11
Protection antidécharge de la batterie de 12 V .3-13
Signaux d'avertissement 3-13
Guide de dépannage. 3-13
Utilisation de la fonction de
telédéverrouillage. 3-16
Capot. 3-19
Hayon arrirée. 3-20
Levier d'ouverture du hayon arrêté auxiliaire. 3-21
Couvercle du port de charge 3-22 Ouverture du couvercle du port de charge .3-22 Bouchon du port de charge. 3-24
Volant 3-25 Fonctionnement du volant inclinable. 3-25
Pare-soleil. 3-25
Miroir de courtoisie. 3-26
Rétroviseurs 3-26
Rétroviseur interieur 3-26
Rétroviseur interieur manuel antiéblouissement (selon l'opération) 3-27
Type antiéblouissement automatique (selon l'opération) 3-27
Rétroviseurs extérieurs 3-28
CLÉS
Une plaque du numéro de clé est fournie avec les clés de votre vehicule. Prenez en note ce numéro de clé et conservez-le dans un endroit sur ( comme votre portefeuille), mais pas dans votre vehicule. Si vous perdez vos clés, nous vous recommandons de visiter un concessionnaire NISSAN LEAF certifié avec le numéro de clé pour obtenir des copies. Il est très importante que vous preniez en note le numéro de clé qui apparait sur la plaque, car NISSAN ne conserve pas de registres de ces numéro de clés.
Vous n'aurez besoin de ce numero que si vous perdez toutes les clés du vehicule et qu'il n'est pas possible d'utiliser une autre clé pour en tirer des copies. Si vous aze toujours une clé, celle-ci peut être dupliquée sans connaître la numero de la clé.
REMARQUE:
Ne laïsez pas les clés dans le vehicule lorsqu'vous le quittez.

CLÉ INTELLIGENTE NISSAN INTELLIGENT KEYMD
- Clé intelligente (deux yeux)
- Clé mécanique (à l'intérieur de la clé intelligente)
- Plaque du numero de clé (une plaque)
Seules les clés intelligentes programmes dans la mémoire des composants du système de clé intelligente de votre vehicule et des composants du système antidémarrage du vehicule NISSAN permettent d'utiliser votre vehicule.
Vous pouvez programmerer et utiliser jusqu'à quatre clés intelligentes sur un vehicule. Les nouvelles clés doivent être programmées par un concessionnaire NISSAN LEAF certifié avant de les utilisers avec le système de clé intelligente et le système antidémarrage du vehicule NISSAN de votre vehicule. Étant donné qu'il est nécessaire d'effacer toute la mémoire des composants des clés intelligentes pendant la programmation, apportez toutes les clés intelligentes que vous possédez chez votre concessionnaire NISSAN LEAF certifié.

MISE EN GARDE
Assurez-vous de toujours avoir en votre possession la clé intelligente lors de la conduite. La clé intelligente est un dispositif de précision muni d'un émetteur intégré. Pour éviter de l'endommager, tenez compte des points suivants.
-
La clé intelligente est résistance à l'eau; toutefois, l'humidité peut l'endommager. Si la clé intelligente est exposée à un liquide, essuyez-la immédiatement jusqu'à ce qu'elle soit complètement seche.
-
Ne faites pas tomber, ni ne pliez ou frappez la clé intelligente contre un autre objet.
- Sila température extérieure est inférieure à -10^ ( 14^ ), il se peut que la pile de la clé intelligente ne fonctionne pas correctement.
- Ne laïsez pas la clé intelligente pendant une période prolongée dans un endroit où la température est supérieure à 60^ (140°F).
- Ne modifies pas la clé intelligente.
- N'utilisez pas un porte-clés magnétique.
- Ne placez pas la clé intelligente pres d'un apparéil électrique comme un télévisueur, un ordinateur personnel ou un téléphone cellulaire.
- Ne laissiez pas la clé intelligente entre en contact avec de l'eau ou de l'eau salée, et ne la mettez pas à la machine à laver, cela pourrait nuire au fonctionnement du système.
En cas de perte ou de vol d'une clé intellectige, NISSAN vous recommende d'effacer le code d'identification de cette clé intellectige. Vous empêchez ainsi toute personne non autorisée d'utiliser la clé intellectige pour déverrouiller le vehicule. Pour obtenir de plus amples renseignements sur la procédure d'effacement, nous vous recommandons de visiter un concessionnaire NISSAN LEAF certifié.

Clé mécanique
Pour-retirer la clé mécanique, dégagez le bouton de verrouillage à l'arrière de la clé intelligente.
Pour installer la clé mécanique, insérez-la fermement dans la clé intelligente jusqu'à ce que le bouton de verrouillage revienne en position de verrouillage.
Utilisez la clé mécanique pour verrouiller ou déverrouiller les portières. Pour obtenir des renseignements supplémentaires, consultez la section « Portières » dans leprésent chapitre.

MISE EN GARDE
Ayez toujours en votre possession la clémécanique insérée dans la clé intelligente.
CLÉS DU SYSTÉME
ANTIDÉMARRAGE DU VÉHICULE NISSAN
Seules les clés principales programmes dans la mémoire des composants du système antidémarrage du vehicule NISSAN permettent d'utiliser votre vehicule. Ces clés contiennent une puce de transpôdeur.
La clé principale permet de verrouiller et de déverrouiller toutes les serrures du vehicule.
Si vous doivent confier une de vos clés à une personne, laisseriez-lui uniquement la clé intelligente et conservez la clé mécanique afin d'assurer la protection de vos effets personnels.
Ne laissez jamais ces clés dans le vehicule.
Clés supplémentaires ou de remplacement:
Si vous avez encore une clé en votre possession, le numéro de clé n'est pas nécessaire si vous désirez vous procurer une autre clé associée au Systeme antidémarrage du vehicule NISSAN. Un concessionnaire NISSAN LEAF certifié peut tirer une copie de votre clé. Vous pouvez utiliser jusqu'à quatre clés associées au Systeme antidémarrage du vehicule NISSAN. Vous dévriez apporter toutes les clés du système antidémarrage du vehicule NISSAN lorsque vous给您 presentez chez le concessionnaire NISSAN LEAF certifié pour les faire programmer. En effet, le procédé d'enregistrement efface tous les codes de clés enregistrrés antérieurement dans la mémoire du Systeme antidémarrage du vehicule NISSAN de votre vehicule. Une fois la programmation achevée, les composants du système ne reconnaissent que les clés
mises en mémoire du Systeme antidémarrage du vehicule NISSAN au cours de la procédure de programmation. Les clés que vous n'aurez pas remises au concessionnaire aux fins d'enregistrement ne pourront plus faire démarrer votre vehicule.

MISE EN GARDE
Ne laïsez pas de l'eau ou de l'eau salée entre en contact avec une clé d'antidémarrage, qui contient un transpondeur électrique. Cela pourrait nuir au fonctionnement du dispositif.
PORTIERES

AVERTISSEMENT
- Conduisez toujours avec les portières verrouillées. Utilisé en combinaison avec les ceintures de sécurité, le verrouillage des portières offre une plus grande sécurité en cas d'accident puisqu'il empêche l'éjection des passagers du vehicule. Cette précaution empêche aussi l'ouverture accidentelle des portières par des enfants ou d'autres personnes et toute intrusion dans le vehicule.
- Avant d'ouvrir une portière, assurez-vous de pouvoir éviter les vehicules venant en sens inverse.
Pour éviter le risque de blessures ou de décès associé à un fonctionnement accidentel du vehicule ou de ses systèmes, comme par exemple le coincement par les glaces ou l'activation accidentelle du verrouillage des portières, ne laissez pas les enfants, les personnes qui ont besoin de l'aide d'autres personnes ou les animaux sans surveillance dans voitre vehicule. De plus, la température à l'intérieur d'un vehicule fermé lors d'une journée chaude peut s'éleverrapidement au point de provoquer un risque important de blessures graves ou mortelles à des personnes ou à des animaux domestiques.
Lorsque les portières sont verrouillées à l'aide d'une des méthodes suivantes, elles ne peuvent pas être ouvertes au moyen des poignées interieures ou extérieures de portière. Les portières doivent être déverrouillées avant de pouvoir être ouvertes.

VERROUILLAGE AU MOYEN DE LA CLE (CÔTE CONDUCTEUR SEULEMENT)
Pour verrouiller ou déverrouiller le vehicule, tournez la clé, comme illustré.
Verrouillage manuel
Pour verrouiller une portiere, tournez la clé vers l'avant du vehicule ①. Pour la déverrouiller, tournez la clé vers l'arrière du vehicule ②.

VERROUILLAGE AU MOYEN DE LA COMMANDE DE VERROUILLAGE INTÉRIÉURE
Pour verrouiller la portiere sans utiliser la clé, déplacez le bouton de verrouillage interieur à la position de verrouillage ①, puis fermez la portiere.
Pour déverrouiller la portière, déplacez le bouton de verrouillage interieur à la position de déverrouillage ②.
Lorsque vous verrouillez la portiere sans une clé, assurez-vous de ne pas laisser la clé à l'intérieur du vehicule.

VERROUILLAGE AU MOYEN DE L'INTERRUPTEUR DE VERROUILLAGE ÉLECTRIQUE DES PORTIÈRES
Le commutateur de verrouillage électrique des portières permet de verrouiller ou de déverrouiller toutes les portières. Les commutateurs sont situés sur les accoudoirs des portières du conducteur et du passagger avant.
Pour verrouiller les portières, appuyez sur le commutateur de verrouillage électrique des portières à la position de verrouillage ① lorsque la portière du conducteur ou du passager avant est ouverte, puis fermez la portière.
Assurez-vous de ne pas laisser la clé dans le vehicule si vous utilisez cette méthode pour verrouiller les portières.
Pour déverrouiller les portières, appuyez sur le commutateur de verrouillage électrique des portières à la position de déverrouillage ②.
Protection de verrouillage
Lorsque vous placez l'interrupteur de verrouillage electrique des portières à la position de verrouillage alors qu'une portière est ouverte, toutes les portières se déverrouillent automatiquement et un carillon retentit après la fermeture de la portière.
Cette fonction permet d'éviter de laisser involontairement la clé intelligente dans un vehicule verrouillé.
VERROUILLAGE AUTOMATIQUE DES PORTIÈRES
- Toutes les portières se verrouillent automatiquement lorsque la vitesse du vehicule atteint 24 km/h (15 mi/h).
REMARQUE:
La fonction de déverrouillage automatique des portières peut être modifiée à l'aide des réglages du vehicule à l'écran multifonction. Pour obtenir des renseignements supplémentaires, consultez la section « Affichage multifonction » du chapitre « Commandes et instruments » duprésent manuel.

Pour désactiver le verrou de sécurité infant, déplacez les leviers à la position de déverrouillage ②.
VERROUILLAGE DES PORTIERES
ARRÊRE AU MOYEN DU DISPOSITIF
DE SECURITÉ POUR ENFANT
Les verrous de sécurité infant de portiere arrriere empêchent l'ouverture accidentelle des portières arrriere, plus particulièrement lorsque de jeunes enfants ont pris place dans le vehicule.
Lorsque les leviers sont à la position de verrouillage ①, les portières arrêtè ne peuvent être ouvertes que del'extérieur.
SYSTEME DE CLE INTELLIGENTE NISSAN INTELLIGENT KEYMD

AVERTISSEMENT
- Les ondes radioélectriques peuvent nuiré au fonctionnement des apparreils médicaux électriques. Les personnes qui portent un stimulator cardiaque doivent communiquer avec le fabricant de l'appareil Médicinal électrique pour connaître les interférences possibles avant l'utilisation.
- La clé intelligente émet des ondes radioélectriques lorsque les boutons sont enforcés. La FAA (Federal Aviation Administration des États-Unis) signale que les ondes radioélectriques peuvent nuir à la navigation aérienne et aux systèmes de communication. N'utilise pas la clé intelligente à bord d'un avion. Assurez-vous que les boutons ne sont pas accidentellement enforcés lorsque la télécommande est rangée durant un vol.
Le système de clé intelligente permet d'actionner toutes les serrures de portière et du hayon arrêté au moyen de la télécommande ou en appuyant sur le commutateur de demande du vehicule sans retarder la clé de sa poche ou de son sac à main. L'environnement et les conditions d'utilisation peuvent nuir au fonctionnement du système de clé intelligente.
Assurez-vous de dire ce qui suit avant d'utiliser le système de clé intelligente.

MISE EN GARDE
Assurez-vous d'avoir en votre possession la clé intelligente lorsque vous conduisez le vehicule.
- Ne laisses jamais la clé intelligente dans le vehicule lorsque vous quittez le vehicule.
La clé intelligente communique toujours avec le vehicule en recevant des ondes radio. Le système de clé intelligente transmet des ondes radioélectriques faibles. Les conditions environnementales peuvent nuir au fonctionnement du système de clé intelligente dans les conditions d'utilisation suivantes.
Lors de l'utilisation à proximé de puissantes ondes radioélectriques, telles qu'une tour de transmission télévisuelle, une centrale électrique ou une station de radiodiffusion.
- Lorsque vous âtes en possession d'appareils sans fil, tels qu'un téléphone cellulaire, un émetteur-recepteur ou un poste de bande publique.
Lorsque la clé intelligente entre en contact avec des matériaux métalliques ou est recouverte par ces matériaux.
Lorsqu'une télécommande à ondes radioélectriques est utilisé à proximité.
Lorsque la clé intelligente est placée pres d'un appeareil électrique tel qu'un ordinaireur personnel.
Lorsque le vehicule est stationné pres d'un parcomètre.
Dans ces cas, corrigez les conditions de fonctionnement avant d'utiliser la clé intellecte ou utilisez la clé mécanique.
La durée de vie utile de la pile est d'environ deux ans, bien qu'elle puisse varier selon les conditions de fonctionnement. Si la pile est déchargée, remplacez-la par une nouvelle.
Lorsque la pile de la clé intelligente est presque décharge, enforcez fermement la pédale de frein et touchez le commutateur principal avec la clé intelligente. Appuyez ensuite sur le commutateur principal tout en,enfantant la pédale de frein dans les dix secondes suivant le détentissement du carillon.
Étant donné que la clé intelligente recoit continuèlement des ondes radioélectriques, la durée de vie utile de la pile peut être réduite si vous laissez la clé pres des apparreils qui transmettent de puissantes ondes radioélectriques, telles que les signaux provenant d'une télévision ou d'un ordinateur personnel.
Pour obtenir des renseignements supplémentaires, consultez la section « Remplacement de la pile de la clé intelligente NISSAN Intelligent KeyMD » du chapitre « Entretien et interventions du propriétaire » de ce manuel.
Prenoz garde de ne pas laisser la batterie du vehicule se décharger complètement.
Vou pouvez programme et utiliser jusqu'à quatre clés intelligentes sur un vehicule. Pour obtaining des renseignements relatifs à l'achat et à l'utilisation de clés intelligentes supplémentaires, nous vous recommendons de visiter un concessionnaire NISSAN LEAF certifié.

MISE EN GARDE
- Ne laïsez pas la clé intelligente, qui contient des composants électriques, entraer en contact avec de l'eau ou de l'eau salée, car cela pourrait nuir au fonctionnement du système.
- N'échappez pas la clé intelligente.
- Ne frappez pas la clé intelligente brusquement contre un autre objet.
- Ne modifiez pas la clé intelligente.
- L'humiédité peut endommager la clé intelligente. Si la clé intelligente est exposée à un liquide, essuyez-la immediatement jusqu'à ce qu'elle soit complètement sèche.
-
Sila température extérieure est inférieure à -10^ (14°F), il se peut que la pile de la clé intelligente ne fonctionne pas correctement.
-
Ne laïsez pas la clé intelligente pendant une période prolongée dans un endroit où la température est supérieure à 60^ (140°F).
- Ne placez pas la clé intelligente sur un porte-clés qui est muni d'un aimant.
- Ne placez pas la clé intelligente pres des apparêls qui produit un champ magnétique, tels qu'une télévision, un apparèil audio, un ordinateur personnel ou un téléphone cellulaire.
En cas de perte ou de vol d'une clé intelligente, NiSSAN vous recommend d'effacer le code d'identification de cette clé intelligente du vehicule. Cela pourrait prévenir l'utilisation non autorisée de la clé intelligente pour manœuvrer le vehicule. Nous vous recommend des visiter un concessionnaire NiSSAN LEAF certifié pour obtenir de plus amples renseignements.
La fonction de clé intelligente peut être désactivée. Nous vous recommendons de visiter un concessionnaire NiSSAN LEAF certifié pour obtenir de plus amples renseignements.

PORTÉE DE LA CLÉ INTELLIGENTE
NISSAN INTELLIGENT KEYMD DE LA
FONCTION DE VERROUILLAGE OU
DE DÉVERROUILLAGE DES
PORTIÈRES
La clé intelligente est fonctionnelle seulement lorsqu'elle se trouve à la portée précisé du commutateur de demande ①.
Lorsque la pile de la clé intelligente est déchargeée ou que de puissantes ondes radioélectriques sont transmises à proximité, la portée du système de clé intelligente est réduite et la clé intelligente peut ne pas fonctionner correctement.
La portée est de 80 cm (31,5 po) à partir de chaque commutateur de demande ①.
Si la clé intelligente est trop pres de la glace de portière, de la poignée ou du parechocs arrêté, les commutateurs de demande peuvent ne pas fonctionner.
Lorsque la clé intelligente se trouve à la portée appropriée, même une personne qui n'a pas en sa possession la clé peut appuyer sur le commutateur de demande pour verrouiller ou déverrouiller les portières, y compris le hayon arrêté.

PRECAUTIONS AU SUJET DU
VERROUILAGE ET DU
DéVERROUILAGE DES PORTIÈRES
- N'appuyez pas sur le commutateur de démande de poignée de portière en tenant la clé intelligente dans votre main comme il est illustré. En raison de la faible distance avec la poignée de la portière, le système de clé intelligente éprouvera des difficultés à déterminer que la clé intelligente se trouve à l'extérieur du vehicule.
Assurez-vous que les portières sont bien verrouillées après les avoir verrouillées au moyen du commutateur de demande de poignée de portière.
- Pour éviter de laisser la clé intelligente à l'intérieur du vehicule, assurez-vous d'avoir la clé en votre possession, puis verrouillez les portières.
- Ne tirez pas sur la poignée de la portière avant d'enfincer le commutateur de commande de poignée de portière. La portière est déverrouillée, mais elle ne s'ouvre pas. Relâchez une fois la poignée de la portière, puis tirez-la de nouveau pour ouvrir la portière.

FONCTIONNEMENT DE LA CLÉ INTELLIGENTE NISSAN INTELLIGENT KEYMD


Voussoupiezverrouiller ou déverrouiller les portières sansretirerlaclédevourpoche ou de vourssacàmain.
Lorsque you avez la clé intelligente en votre possession et que la clé se trouve à la portée appropriée, vous pouvez verrouiller ou déverrouiller toutes les portières en enfontant le commutateur de demande de la poignée de portière (du conducteur ou du passager avant) A ou le commutateur de demande du hayon arrêté B.
Lorsque vous verrouillez ou déverrouillez les portières ou le hayon arrêté, le témoin des feuels de détresse peuvent clignoter et l'avertisseur sonore (ou le carillon extérieur) peut retentir en guise de confirmation. Pour obtenir des renseignements supplémentaires, consultez la section « Interrupteur de feuels de détresse » du chapitre « En cas d'urgence » et la section « Avertisseur sonore » du chapitre « Commandes et instruments » duprésent manuel.
Verrouillage des portières
- Appuyez sur le commutateur principal à la position OFF (hors fonction) et assurez-vous d'avoir la clé intelligente en votre possession.
- Fermez la portiere du conducteur (d'autres portieres peuvent etre ouvertes).
- Appuyez sur le commutateur de commande de poignée de portière sur la portière du conducteur (A) lorsque vous avec la clé intelligente en votre possession. Les commutateurs de commande de la portière du passager et du hayon verrouillent seulement les portières si elles sont toutes fermées. *1
- Toutes les portières et le hayon arrêté se verrouillent.
- Le témoin des feuels de détresse peut clignoter deux fois et le carillon extérieur peut retentir deux fois.
*1: Les portières ne se verrouillent pas au moyen du commutateur de demande de poignée de portière lorsque la clé intelligente se trouve à l'intérieur du vehicule. Un carillon retentit pour avertir que la clé intelligente est laissée dans le vehicule. Toute-
fois, lorsqu'une clé intelligente se trouve à l'intérieur du vehicule, les portières peuvent être verrouillées au moyen d'une autre clé intelligente.

MISE EN GARDE
- Àprouvaiter les portières au moyen du commutateur de commande, assurez-vous qu'elles ont été correctement verrouillées en actionnant les poignées de portière.
Lorsque you verrouillez les portieres au moyen du commutateur de demande, assurez-vous d'avoir la clé intelligente en votre possession avant de manoeuvrer le commutateur de demande pour éviter de laisser la clé dans le vehicule. - Le commutateur de demande n'est fonctionnel que lorsque la clé intelligente a été détectée par le système de clé intelligente.
Déverrouillage des portières
-
Appuyez une fois sur le commutateur de commande de poignée de portière A ou le commutateur de commande de hayon arrrière B tout en ayant en votre possession la clé intelligente.
-
Les témoins des yeux de détresse peuvent clignoter une fois et le carillon extérieur peut retentir une fois. La portière correspondante ou le hayon arrêté se déverrouille.
- Appuyez de nouveau sur le commutateur de demande de poignée de portière ou le hayon arrêté dans un déali d'une minute.
- Les témoins des yeux de détresse peuvent clignoter une fois et le carillon extérieur peut retentir de nouveau. Toutes les portières et le hayon arrêté se déverrouillent.
Toutes les portières se verrouillent automatiquement à moins que l'une des opérations suivantes ne soit executée dans la minute qui suit après avoir appuyé sur le commutateur de demande lorsque les portières sont verrouillées.
- Ouverture d'une portière.
- Enfoncement du commutateur principal.
Pendant ce délambda d'une minute, si vous appuyez sur le bouton de la clé intelligente, toutes les portières se verrouilleront automatiquement après un nouveau délambda d'une minute.
REMARQUE:
Sile « Déverrouillage sélectif » est dés-activated dans les « Régliages du vehicule», toutes les portières se déverrouillent à la première pression sur le commutateur de demande.
Ouverture du hayon arrête
- Ayez en votre possession la clé intelligente.
- Appuyez sur le commutateur d'ouverture du hayon arrêté ©
- Le hayon arrête se déverrouillera et s'ouvrira.
PROTECTION ANTIDÉCHARGE DE LA BATTERIE DE 12 V
Lorsque toutes les conditions suivantes sont presents pendant un certain temps, la protection antidécharge de la batterie coupera l'alimentation électrique pour empêcher que la batterie de 12 V ne se décharge.
- Le commutateur principal est à la position ACC (accessoires) ou ON (marche).
Toutes les portières sont fermées. - Le levier de vitesses est à la position P (stationnement).
SIGNAUX D'AVERTISSEMENT
Pour empêcher le vehicule de se déplacer de façon inattendue à cause d'une utilisation erronée de la clé intelligente indiquée dans le tableau suivant ou pour empêcher le vol du vehicule, un carillon ou un bip retentit à l'intérieur et à l'extérieur du vehicule et un avertissement s'affiche sur l'écran multifonction.
Lorsqu'un carillon ou un bip retentit ou que l'avertissement s'affiche, assurez-vous de vérifier le vehicule et la clé intelligente.
Pour obtenir des renseignements supplémentaires, consultez la section « Guide de dépannage » duprésent chapitre et « Écran multifonction » du chapitre « Commandes et instruments » duprésent manuel.
GUIDE DE DÉPANNAGE
Vérifiez où se trouvent toutes les clés intelligentes programmeses pour votre vehicule. Si une autre clé intelligente se trouve dans la portée du vehicule ou dans l'habitacle, le système risque de fonctionner différemment que prévu.
| Symptôme | Cause possible | Mesures à prendre | |
| Lorsque vous ouvrez la portière du conducteur pour descendre du vehicule | Le carillon interieur retentit sans cesse. | Le commutateur principal est placé à la position OFF (hors fonction) pendant que la portière du conducteur est ouverte. | Fermez la portière du conducteur. |
| Le commutateur principal est à la position ACC (accessoires). | Appuyez sur le commutateur principal à la position OFF (hors fonction), puis fermez la portière du conducteur. | ||
| Lorsque vous fermez la portière du conducteur une fois des-cendu du vehicule | L'advertissement de clé non détectée s'aff- fiche à l'écran, le carillon extérieur retentit trois fois et le carillon interieur retentit pen-dant quelques secondes. | Le commutateur principal est à la posi- tion ACC (accessoires) ou ON (marche). | Appuyez sur le commutateur principal à la position OFF (hors fonction). |
| Le carillon extérieur retentit sans cesse. | Le commutateur principal est à la posi- tion ACC (accessoires) ou OFF (hors fonction), le système de commande de changement de vitesse électrique est défectueuse et le vehicule ne peut pas être placé à la position P (stationne- ment) lorsque le frein de stationnement est desserré. | Assurez-vous que le frein de stationne- ment est serré. | |
| Lorsque la portière du conduc- teur est fermée alors que le bou-ton de verrouillage interieur est à la position de VERROUILAGE | Le carillon extérieur retentit pendantquel- ques secondes et toutes les portières se déverrouillent. | La clé intelligente se trouve à l'intérieur du vehicule ou de l'espace à bagages. | Ayez en votre possession la clé intelligente. |
| Lorsque vous appuyez sur le commutateur de demande ou sur le bouton à de la clé intelligente pour verrouiller la portière | Le carillon extérieur retentit pendant quelques secondes environ. | La clé intelligente se trouve à l'intérieur du vehicule ou l'espace à bagages. | Ayez en votre possession la clé intelligente. |
| Lorsque vous appuyez sur le commutateur principal à la position READY (préts à démarrer) | Le témoin de décharge de la pile de la clé intelligente s'affiche à l'écran. | La charge de la pile de la clé intelligente est BASSE. | Remplacez la pile par une pile neue. Pour obtenir des renseignements supplémentaires, consultez la section « Remplacement de la pile de la clé intelligente NISSAN Intelligent Key™ » du chapitre « Entretien et interventions du propriétaire » de ce ma-nuel. |
| L'advertissement de clé non détectée s'affiche à l'écran et le carillon interieur retentit pendant quelques secondes. | La clé intelligente n'est pas dans le véhicule. | Ayez en votre possession la clé intelligente. | |
| Lorsque vous appuyez sur le commutateur principal | Le témoin du système de clé intelligente s'affiche à l'écran. | Il avertit le conducteur de la présence d'une anomalie dans le système de clé intelligente. | Nous vous recommendons de visiter un concessionnaire NISSAN LEAF certifié. |
UTILISATION DE LA FONCTION DE TÉLEDEVERROUILAGE

AVERTISSEMENT
- Les ondes radioélectriques peuvent nuiré au fonctionnement des apparreils médicaux électriques. Les personnes qui portent un stimulator cardiaque doivent communiquer avec le fabricant de l'appareil Médicinal électrique pour connaître les interférences possibles avant l'utilisation.
- La clé intelligente émet des ondes radioélectriques lorsque les boutons sont enforcés. La FAA (Federal Aviation Administration des États-Unis) signale que les ondes radioélectriques peuvent nuir à la navigation aérienne et aux systèmes de communication. N'utilise pas la clé intelligente à bord d'un avion. Assurez-vous que les boutons ne sont pas accidentellement enforcés lorsque la télécommande est rangée durant un vol.

MISE EN GARDE
- Ne laïsez pas la clé intelligente, qui contient des composants électriques, entraer en contact avec de l'eau ou de l'eau salée, car cela pourrait nuir au fonctionnement du système.
- N'échappez pas la clé intelligente.
- Ne frappez pas la clé intelligente brusquement contre un autre object.
- Ne modifiez pas la clé intelligente.
- Toute exposition à un liquide peut endommager la clé intelligente. Si la clé intelligente est exposée à un liquide, essuyez-la immédiatement jusqu'à ce qu'elle soit complètement sèche.
- Ne laïsez pas la clé intelligente pendant une période prolongée dans un endroit où la température est supérieure à 60^ (140°F).
- Ne placez pas la clé intelligente sur un porte-clés muni d'un aimant.
- Ne placez pas la clé intelligente pres des apparêls qui produit un champ magnétique, tels qu'une télévision, un apparéil audio, des ordinateurs personnels ou un téléphone cellulaire.
La fonction de télédeverrouillage permet d'actionner toutes les serrures de portiere à l'aide de la fonction de télédeverrouillage de la clé intelligente. La fonction de télédeverrouillage permet d'actionner les serrures à une distance d'environ 10 m (33 pi) du vehicule. La portée peut toutefois varier en fonction des conditions environnantes du vehicule.
La fonction de télédeverrouillage ne peut être utilisé dans les cas suivants :
Lorsque la clé intelligente est hors de la portée.
Lorsque les portieres sont ouvertes ou ne sont pas bien fermées.
Lorsque la pile de la clé intelligente est déchargée.

MISE EN GARDE
Lorsque les portières sont verrouillées au moyen de la clé intelligente, assurez-vous de ne pas laisser la clé dans le vehicule.

Verrouillage des portières
① Bouton
② Bouton
③ Bouton



de verrouillage
de déverrouillage
de déverrouillage du
port de charge
④ Bouton

de détresse
Lorsque vous verrouillez ou déverrouillez les portières, le témoin des feuels de détresse peut clignoter et l'avertisseur sonore peut retentir en guise de confirmation. Pour obtenir des renseignements supplémentaires, consultez la section « Interrupteur de feuels de détresse » du chapitre « En cas d'urgence » et la section
« Avertisseur sonore » du chapitre « Commandes et instruments » duprésent manuel.
- Appuyez sur le commutateur principal à la position OFF (hors fonction) et assurez-vous que vous ayez la clé intelligente en votre possession.
- Ayez en votre possession la clé intelligente.
- Fermez toutes les portières.
- Appuyez sur le bouton ① sur la clé intelligente.
- Toutes les portières et le hayon arrêté se verrouillent.
- Le témoin des yeux de détresse peut clignoter deux fois et l'avertisseur sonore peut retentir une fois.
Actionnez les poignées de portière pour vous assurer que les portières sont bien verrouillées.
Déverrouillage des portières
- Appuyez une fois sur le bouton de la clé intelligente.

-
Les témoins des yeux de détresse peuvent clignoter une fois. La portière du conducteur se déverrouille.
-
Appuyez de nouveau sur le bouton de la clé intelligente dans un décai d'une minute.
- Le témoin des yeux de détresse peut clignoter une fois de nouveau. Toutes les portières et le hayon arrêté se déverrouillent.
Toutes les portières se déverrouillent automatiquement à moins qu'une des opérations suivantes ne soit exécutée dans la minute qui suit après avoir appuyé sur le bouton 3 lorsque les portières sont verrouillées.
- Ouverture d'une des portières (y compris le hayon arrêté).
- Enfoncement du commutateur principal.
Pendant ce délambda d'une minute, si vous appuyez sur le bouton à de la clé intelligente, toutes les portières se verrouilleront automatiquement après un nouveau délambda d'une minute.
Ouverture du couvercle du port de charge
Vouspouvez ouvrile couvercle du port de charge en maintainant enforcé le bouton ③
Pour obtenir des renseignements supplémentaires, consultez la section « Ouverture du couvercle du port de charge » dans ce chapitre.
Utilisation de l'alarme de détresse
Si vous vous trouvez àproximé de votrecyvicule et si vous croyez être en danger,vous pouvez activer l'alarme de détresse comme suit :
- Appuyez sur le bouton 4 de la clé intelligente pendant plus d'une seconde.
- L'alarme de détresse et les phares resteront activés pendant un certain décai.
- L'alarme de détresse est neutralisée :
Lorsqu'elle a ete activee pendant un certain delai, ou
- lorsqu'un des boutons de la clé intelligente est enforcé. (Remarque: le bouton
doit etre enforcé pendant plus d'une seconde.)
Réglage du mode de témoin des feuels de détresse et d'avertisseur sonore
À son acquisition, ce vehicule est réglé en mode de témoin des feuks de détresse et d'avertisseur sonore.
En mode de témoin des yeux de détresse et d'avertisseur sonore, le témoin des yeux de détresse clignote deux fois et l'avertisseur
sonore retentit une fois lorsque vous appuyez sur le bouton ①. Lorsque vous appuyez sur le bouton ②, le témoin des feuels de détresse clignote une fois.
Si les avertisseurs sonores ne sont pas nécessaires, le système peut passer en mode de témoin des feuels de détresse.
En mode de témoin des feués de détresse, lorsque vous appuyez sur le bouton 3, le témoin des feués de détresse clignote deux fois. Lorsque vous appuyez sur le bouton 3, ni le témoin des feués de détresse ni l'avertisseur sonore ne fonctionnement.
Mode de témoin des feuels de détresse et d'vertisseur sonore :
| Fonctionnement | VERROUILLAGE DE PORTIÈRE | DéVERROUILLAGE DE PORTIÈRE |
| Enfoncement du commutateur de demande de poignée de portière ou du commutateur de demande de hayon arrêté | FEUX DE DÉTRESSE - deux fois CARILLON EXTÉRIEUR - deux fois | FEUX DE DÉTRESSE - une fois CARILLON EXTÉRIEUR - une fois |
| Enfoncement du bouton ① ou ② | FEUX DE DÉTRESSE - deux fois AVERTISSEUR SONORE - une fois | FEUX DE DÉTRESSE - une fois AVERTISSEUR SONORE - aucun |
Mode de témoin des yeux de détresse :
| Fonctionnement | VERROUILLAGE DE PORTIQUE | DéVERROUILLAGE DE PORTIQUE |
| Enfoncement du commutateur de demande de poignée de portière ou du commutateur de demande de hayon arrêté | FEUX DE DÉTRESSE - deux fois CARILLON EXTÉRIEUR - aucun | FEUX DE DÉTRESSE - aucun CARILLON EXTÉRIEUR -arov |
| Enfoncement du bouton ① ou ② | FEUX DE DÉTRESSE - deux fois AVERTISSEUR SONORE -arov | FEUX DE DÉTRESSE -arov AVERTISSEUR SONORE -arov |
Comment changer de mode :
Pour changer le mode de témoin des feuves de détresse et d'avertisseur sonore (carillon), appuyez simultanément sur les boutons ① et ② de la clé intelligente pendant plus de deux secondes.
Lorsque le mode de témoin des yeux de détresse est régle, le témoin des yeux de détresse clignote trois fois.
Lorsque le mode de témoin des feués de détresse et d'avertisseur sonore est régle, le témoin des feués de détresse clignote une fois et l'avertisseur sonore retentit une fois.

CAPOT

AVERTISSEMENT
Assurez-vous que le capot est bien fermé et correctement verrouillé avant de prendre la route. Dans le cas contraire, le capot pourrait s'ouvrir pendant la conduite et cause un accident.
- Si vous observez de la vapeur ou de la fumée s'échépondant du compartment moteur, n'ouvre pas le capot. Dans le cas contraire, vous risquez de vous blesser.

Lors de l'ouverture du capot :
- Fermez solidement le volet du port de charge.
- Tirez la poignée de déverrouillage de la serrure du capot ① située sous le tableau de bord. Le capot se relèvera légèrement.
- Localisez le levier ② entre le capot et le couvercle du port de charge, puis poussez le levier vers le haut avec le bout des doigts.
- Soulevez le capot ③.
- Retirez la tige de support 4 du capot et insérez-la dans la fente 5
Tenez la partie revêtement (A) lorsque vous retirez ou replacez la tige de support. Évitez de toucher directement aux pièces métalliques, car elles pouraient être chaudes immédiatement après l'arrêt du système de vehicule électrique.
Lors de la fermetre du capot :
- Remettez la tige de support à sa place d'origine.
- Abaissez lentement le capot pour engager le verrou.
- Poussez le capot vers le bas pour le verrouiller fermement en place.
HAYON ARRIÈRE

AVERTISSEMENT
Assurez-vous toujours que le hayon arrirée est bien fermé pour éviter qu'il ne s'ouvre pendant la conduite.
- Ne roulez pas lorsque le hayon arrêté est ouvert.
Assurez-vous que les mains des passagers, etc. se trouvent à l'intérieur du vehicule avant de fermer le hayon arrêté.

Pour ouvrir le hayon arrêté, déverrouillez-le et appuyez sur le commutateur d'ouverture du hayon arrêté (A). Tirez le hayon arrêté vers le haut pour l'ouvrir.
Le hayon arrêté peut être déverrouillé :
-
En appuyant sur le commutateur de commande de hayon arrêté. Pour obtenir des renseignements supplémentaires, consultez la section « Système de clé intelligente NISSAN Intelligent Key™ » dans ce chapitre.
-
En appuyant sur le bouton de la clé intelligente. Pour obtenir des renseignements supplémentaires, consultez la section « Système de clé intelligente NISSAN Intelligent Key™ » dans ce chapitre.
- En appuyant sur le bouton 3 de la télécommande. Pour obtenir des renseignements supplémentaires, consultez la section « Système de clé intelligente NISSAN Intelligent KeyMD » dans ce chapitre.
- En appuyant sur l'interrupteur de verrouillage électrique des portières à la position de déverrouillage.

LEVIER D'OUVERTURE DU HAYON ARRÊRE AUXILIAIRE
Suivez les étapes suivantes pour déverrouiller le hayon lorsque la batterie est décharge.
REMARQUE:
Nous you recommendons de consulter un concessionnaire NISSAN LEAF certifiéès que possible pour procédér à l'inspection.


COUVERCLE DU PORT DE CHARGE OUVERTURE DU COUVERCLE DU PORT DE CHARGE

MISE EN GARDE
Assurez-vous que le couvercle du port de charge est complètement fermé et verrouillé avant la conduite. Dans le cas contraire, le couvercle risque de s'ouvrir soudainement durant la conduite.
Déverrouillage du hayon arrêté :
-
Déplacez le couvercle à l'aide d'un tournevis ou d'un outil similaire disponible sous la main.
-
Déplacez ensuite le levier interieur à l'aide d'un tournevis ou d'un outil similaire disponible sous la main. Le hayon arrêté s'ouvre.

Interrupteur

Bouton
Lorsque vous ouvrez le couvercle du port de charge, effectuez une des opérations suivantes :
Appuyez sur le commutateur du couvercle du port de charge sur le tableau debord; ou
- Maintenez enforcé le bouton de la clé intelligente pendant plus d'une seconde.
Lors de l'ouverture du couvercle du port de charge :
- Les témoins d'etat de chargement clignotent, un carillon retentit trois fois et le couvercle du port de charge se soulove légèrement.

- Mettez votre main dans la partie convexe du couvercle et ouvre-le jusqu'à ce qu'il soit complètement ouvert.
Lors de la fermeture du couvercle du port de charge:
- Abaissez lentement le couvercle vers le bas.
- Verrouillez-le fermement en place.

Si le couvercle du port de charge ne peut pas etre déverrouillé
- Ouvrez le capot.
- Déplacez le levier derrière le couvercle du port de charge dans le sens de la flèche à l'aide d'un tournevis à tête plate ou d'un outil approprié, et le port se déverrouille.


: CHARGE NORMALE

: CHARGE RAPIDE (selon l'équipement)
BOUCHON DU PORT DE CHARGE
Lors de l'ouverture du bouchon du port de charge, appuyez sur l'onglet vers l'intérieur pour ouvrir le bouchon.
Lorsque le bouchon du port de charge est fermé en position initiale, il se verrouillera automatiquement.

MISE EN GARDE
- Lorsque le chargement est terminé, assurez-vous de fermer le bouchon du port de charge. Si l'eau ou la poussière pénétre dans le port de charge, une anomalie pourrait se produit.
- Portez une attention particulière lorsque vous utilisez le port de charge normale, car le couvercle du port de charge peut etre fermé même lorsque le bouchon du port de charge normale est ouvert.
- Fermez le bouchon du port de charge rapide (selon l'équipment) avant de fermer le couvercle de chargement. Vous risquez d'endommager le bouchon du port de charge rapide s'il est ouvert lorsque vous fermez le couvercle du port de charge.
VOLANT

AVERTISSEMENT
- Ne règlez pas le volant pendant que vous conduisiez. Vous pourriez perdre la maitrise de votre vehicule et causer un accident.
- Ne reglez pas le volant trop pres du corps car ceci pourrait nuire au fonctionnement de la direction et à votre comfort. Le sac gonflable du conducteur se déploie avec beaucoup de puissance. Si vous n'êtes pas correctement retenu, si vous âtes penché vers l'avant, tourné de côté ou assis dans toute autre position inadéquate, vous faites augmenter les risques de blessures graves ou mortelles en cas d'accident. Le sac gonflable peut également vous cause des blessures graves ou mortelles si vous âtes appuyé contre le module au moment de son déploiement. Assurez-vous d'avoir le dos bien appuyé contre le dossier de votre siège et d'être aussi aussi loin que possible du volant sans que cela neNUise à VOteur comfort. Bouclez toujours VOteur ceinture de sécurité.

FONCTIONNEMENT DU VOLANT INCLINABLE
Appuyez sur le levier de verrouillage vers le bas ① et reglez le volant de direction vers le haut ou vers le bas ② à la position voulue.
Tirez le levier de verrouillage vers le haut ③ pour verrouiller le volant de direction en place.
PARE-SOLEIL

- Abaissez le pare-soleil pour éliminer l'éblouissement frontal ①.
-
Pour éliminer l'éblouissement létalral, rétirez le pare-soileil du support central et faites-le pivoter sur le côté ②.
-
Faites glisser la rallonge du pare-soileil vers l'intérieur ou vers l'extérieur au besoin ③.

MISE EN GARDE
- Ne tentez pas de ranger le pare-soleil principal avant d'avoir d'abord rangé la ballonge du pare-soleil.
- Net tirez pas la rallonge de pare-soileil avec force vers le bas.
RETROVISEURS


MIROIR DE COURTOISIE
Pour utiliser le miroir de courtoisie avant, tirez le pare-soleil vers le bas et relevez le couvercle.
RETROVISEUR INTÉRIEUR
Réglez l'angle du rétroviseur interieur à la position voulue.


RÉTROVISEUR INTÉRIEUR MANUEL ANTIÉBLOUISSEMENT (SELON L'ÉQUIPEMENT)
La position de nuit ① permet de réduire l'éblouissement provoqué par les phares des vehicules qui vous suivent lorsque vous conduisez la nuit.
Pour la conduite de jour, utilisez la position de jour ②.

AVERTISSEMENT
N'utilise la position nuit qu'en cas de besoin, car elle reduit la visibilité arrêté.
TYPE ANTIÉBLOUISSEMENT
AUTOMATIQUE (SELON L'ÉQUIPEMENT)
L'angle de la surface refléchissante du rétroviseur interieur se modifie automatiquement en fonction de l'intensité lumineuse des phares du vehicule qui vous suit.
Lorsque le système est activé, le témoin A s'allume et l'éblouissement excessif provoqué par les phares du vehicule qui se trouve derrière vous sera réduit.
Appuyez sur le commutateur « O » (C) pour permettre le fonctionnement normal du rétroviseur interieur. Le témoin s'éteint. Appuyez sur le commutateur « I » (D) pour activer le système.
Ne placez pas des objets devant les capteurs ⑧ pour éviter de les obstruer et n'utilise pas un produit nettoyant pour vitres. Vous risqueriez de réduire la sensibilité du capteur et de nuir à son fonctionnement.

AVERTISSEMENT
N'utilise la position nuit qu'en cas de besoin, car elle réduit la visibilité arrrière.

RÉTROVISEURS EXTERIEURS
Réglage des rétroviseurs extérieurs

AVERTISSEMENT
Les objets réfléchis par le rétroviseur extérieur du côté passager sont plus pres qu'ils ne semble l'être. Soyez prudent lorsque vous vous déplacez vers la droite. L'utilisation exclusive de ce rétroviseur pourrait cause un accident. Servez-vous du rétroviseur interieur ou
jetez un coup d'oeil par-dessus votre épaulafin d'évaluercorrectement la distance qui vous sépare des objets.
Le commutateur de commande des rétroviseurs extérieurs estitué sur l'accoudoir. Le rétroviseur extérieur ne peut être régle que lorsque le commutateur principal est à la position ACC (accessoires) ou ON (marche).
Tournez le commutateur vers la droite ou vers la gauche pour selectionner le rétroviseur du côte croit ou du côte gauche ①, puis réglez le rétroviseur à l'aide du commutateur de commande ②.
Déplacez le commutateur à la position centrale (position neutre) afin d'éviter de déplacer accidentellement le rétroviseur.
Dégivrage des rétroviseurs extérieurs (selon l'équipement)
Les rétroviseurs extérieurs sont chauffés lorsqu l'interrupteur du dégivre de lunette arrêté est actionné. Pour obtenir des renseignements supplémentaires, consultez la section « Interrupteur du dégivre de lunette et de rétroviseurs extérieurs (selon l'équipement) » du chapitre « Commandes et instruments » duprésent manuel.

Rétroviseurs extérieurs rabattables
Rabattez le rétroviseur extérieur en le poussant vers l'arrière du vehicule.
4 Systèmes de surveillance, de climatisation, audio, téléphonique et de reconnaissance vocale
Manuel du système NissanConnect ^MD
(pour Leaf) 4-3
Caméra de marche arrière
(selon l'equipement). 4-4
Fonctionnement du système deamera
arriere 4-6
Interpretation des lignes affichées à l'écran. .4-6
Différence entre la distance prévue et la
distance réelle 4-7
Comment stationner le vehicule à l'aide des
lignes de trajectorie prévue (modèles avec
dispositif d'aide à la navigation) 4-9
Réglage de l'écran. 4-11
Comment activer et désactiver les lignes de
trajectoire prévue (modèles avec système de
navigation) 4-12
Limites du système deamera de marche
arrière. 4-12
Entretien du système 4-13
Écran de visualisation du périmètre intelligent
(selon l'equipement) 4-14
Fonctionnement du système d'écran de
visualisation du périmètre intelligent 4-16
Différence entre la distance prévue et la
distance réelle 4-19
Comment se stationner en utilisant les
lignes de trajectorie prévue 4-21
Modification de l'affichage 4-22
Réglage de l'écran 4-23
Limitations du système d'écran de visualisation
du périmètre intelligent. 4-24
Entretien du système 4-26
Système de détéction d'objets mobiles
(selon l'equipement) 4-27
Fonctionnement du système de détention
d'objects mobiles 4-28
DETCTION D'OBJECTS MOBILES ACTIVEE et
DÉSACTIVÉE 4-30
Limites du système de détention d'objets
mobiles 4-30
Entretien du système 4-31
Bouches d'air 4-32
Appareil de chauffage et climatisationur
(à commande automatique) 4-33
Conseils d'utilisation 4-36
Microfiltr de I'habitacle. 4-37
Système de chauffage-climatisation automatique (modèles sans dispositif d'aide à la navigation). 4-37
Système de chauffage-climatisation automatique (modèles avec dispositif d'aide à la navigation) 4-42
Minuterie de chauffage-climatisation 4-46
Système audio (modèles sans système de navigation) 4-52
Radio. 4-52
Réception radio FM. 4-52
Réception radio AM. 4-53
Réception radio par satellite. 4-53
Précautions concernant l'utilisation du système audio. 4-54
Radio FM-AM-SAT avec lecteur de disques compacts 4-61
Port de connexion USB (bus série universal) 4-67
Fonctionnement du lecteur iPodMD 4-69
Diffusion audio Bluetooth MD 4-71
Fonctionnement du lecteur de l'appareil auxiliaire 4-72
Entretien et nettoyage des CD 4-72
Commandes du système audio sur le volant. 4-73
Antenne 4-74
Téléphone de voiture ou radio BP 4-74
Système téléphonique mains libres BluetoothMD sans dispositif d'aide à la navigation (selon l'equipement) 4-75
Information sur la reglementation. 4-77
Utilisation du dispositif 4-78
Boutons de commande 4-79
Effectuer un appel 4-83
Réception d'un appel 4-83
Pendant un appel. 4-83
Mettrefa un appel. .4-84
Messagerie texte (selon l'equipement). . . . .4-84
Guide de dépannage 4-88
MANUEL DU SYSTÉME NISSANCONNECTMD (POUR LEAF)
Consultez le manuel NissanConnectMD (pour Leaf) qui comprend les renseignements suivants.
- Fonctions spécifiques du vehicule électrique
Audio - Telefonemains libres
- NissanConnect™ EV & Services
-Apple CarPlayMC
Android AutoMC - Navigation
- Reconnaissance vocale
- Informations et réglages visibles sur le système
CAMÉRA DE MARCHE ARRIÈRE (SELON L'ÉQUIPEMENT)

1. Bouton CAMERA (caméra) (selon l'équipement)
4-4 Systèmes de surveillance, de climatisation, audio, téléphonique et de reconnaissance vocale

AVERTISSEMENT
Le non-respect des avertissements et des instructions relatives à l'utilisation du système deamera de marche arrêté pourrait entraîner des blessures graves, voire mortelles.
- Bien que pratique, laamera de marche arrête ne remplace pas la façon appropriée et sécurité de faire marche arrête. Regardez toujours par les glaces et vérifie dans les rétroviseurs que vous pouvez vous déplacer sans danger avant de le faire réellement. Reculez toujours lentement.
- Ce système aide le conducteur à détecter la présence d'objets immobiliès de grande taille derrière le vehicule pour éviter tout dommage sur ce dernier.
- Servez-vous des lignes guides de distance et de largeur du vehicule comme referece uniquement lorsque le vehicule se touve sur une surface plane et pavee. La distance affichee a l'ecran n'est qu'a titre de referece et peut différer de la distance reelle entre le vehicule et les objets affichés.

MISE EN GARDE
Évitez de rayer la lentille deamera lorsque vous enlevez la saleté ou la neige qui se trouve sur l'avant de laamera.

Laamera de marche arrriere affiche ensuite automatiquement une vue de l'arriere du vehicule lorsque le levier selecteur est placé à la position R (marche arrière). La radio peut encore être écoutee, pendant que laamera est active.
Pour afficher la vue arriere, le système de camera arriere utilise une camera située juste au-dessus de la plaque d'immatriculation du vehicule ①.
FONCTIONNEMENT DU SYSTEME DE CAMÉRA ARRIÈRE
Lorsque le système de vehicule electrique est activé et « Pré à démarrer», déplacez le levier sélecteur à la position R (marche arrière) pour utiliser laamera arrière.

INTERPRETATION DES LIGNES AFFICHEES À L'ÉCRAN
L'écran affiche des lignes guides qui indiquent la largeur du vehicule et la distance aux obstacles par rapport à la ligne de la carrosserie du vehicule (A).
Lignes guides de distance
Indique les distances à partir de la carrosserie de votre vehicule.
Ligne rouge ① : environ 0,5 m (1,5 pi)
Ligne jaune ② : environ 1 m (3 pi)
Ligne verte ③ : environ 2 m (7 pi)
Ligne verte ④ : environ 3 m (10 pi) (selon l'equipement)
Lignes guides de largeur du vehicule ⑤
Indiquent la largeur du vehicule pendant que vous recULEZ.
Lignes de trajectorie prévue (modèles avec dispositif d'aide à la navigation) ⑥
Indiquent la trajectorie prévue pendant que vous recULEZ. Les lignes de trajectorie prévue s'affichent à l'écran lorsque le levier sélecteur est à la position R (marche arrière) et que vous tournez le volant. Les lignes de trajectorie prévue se déplacent en fonction du degré de braquage du volant et ne s'affichent pas lorsque le volant est en position droit devant.
Les lignes guides de largeur du vehicule et la largeur des lignes de trajectorie prevue sont plus larges que la largeur et la trajectorie réelles.
DIFFÉRENCE ENTRE LA DISTANCE PRÉVUE ET LA DISTANCE RÉELLE
Les lignes de guidage affichées et leurs emplacements au sol sont fournis pour référence approximative seulement. Les objets situés sur une pente ascendante ou descendante et les objets saillant se trouvent en réalisité à des distances différentes de celles affichées à l'écran des lignes de guidage (consulter les illustrations). En cas de doute, faire demi-tour et regarder les objets pendant que vous faites marche arrière, ou stationnez et quittez le vehicule pour voir la position des objets derrière le vehicule.

objets qui apparaissent à l'écran sont en réalité plus éloignés sur la pente.

Reculer en montant dans une pente abrupte
Lorsque le vehicule recule en montant dans une pente, les lignes guides de distance et de largeur du vehicule paraissant plus proches qu'en réalité. Notez que les

Notez que les objets qui apparaissent à l'écran sont en réalité plus pres sur la pente.



Reculer en descendant dans une pente abrupte
Lorsque le vehicule recule en descendant dans une pente, les lignes guides de distance et de largeur du vehicule paraissent plus eoignees qu'elles le sont en realite.
Reculer après d'un objet saillant
Les lignes de trajectorie prévue (modèle avec dispositif d'aide à la navigation) ne touchent pas l'objet à l'écran. Cependant, le vehicule peut frapper l'objet si celui-ci fait saillie au-dessus de la trajectorie réelle de recul.


l'objet fait saillie au-dessus de la trayectoire réelle de recul.
COMMENT STATIONNER LE VEHICULE À L'AIDE DES LIGNES DE TRAJECTOIRE PRÉVUE (MODELES AVEC DISPOSITIF D'AIDE À LA NAVIGATION)

AVERTISSEMENT
- Si vous remplacez les pneus par des pneus de taille différente, les lignes de trajectory prévue pourraient ne pas s'afficher correctement.
- Sur une route enneigée ou très glissante, il peut y avoir une différence entre la ligne de trajectorie prévue et la ligne de la trajectorie réelle.
Si la batterie de la voiture est débranchée ou décharge, les lignes de trajectorie prévue pourrait ne pas s'afficher correctement. Dans une telle situation, procédez comme suit:
Tournez le volant d'une butée à l'autre alors que le système de vehicule électrique est en fonction.
-
Conduisez le vehicule sur une route droite pendant plus de 5 minutes.
-
Si vous tournez le volant alors que le commutateur principal est à la position ACC (accessoires), les lignes detrajectoire prévue pourraient ne pas s'afficher correctement.
Reculer derrière un objet saillant
La position C parait plus éloignée que la position B à l'écran. La position C est toutefois à la même distance que la position A. Le vehicule peut frapper l'objet lorsque vous reculez à la position A si




- Tout en vous servant des lignes de trajectory prévue comme reférence, tournez le volant pour que les lignes guides de largeur du vehicule © soit parallètes à l'espace de stationnement ©
-
Une fois que le vehicule est complètement stationné dans l'espace, placez le levier sélecteur à la position P (stationnement) et serrez le frein de stationnement.
-
Assurez-vous visuèlement que l'espace de stationnement est sécuritaire avant de stationner votre vehicule.
-
La vue de l'arrière du vehicule est affichaee a I'ecran A) lorsque le levier selecteur est placé à la position R (marche arrriere).
-
Reculez lentement en tournant le volant de façon à ce que les lignes de trajectoire prévue (B) pénétrent dans l'espace de stationnement (C).

Modèles sans dispositif d'aide à la navigation
RéGLAGE DE L'ÉCRAN
- Lorsque l'écran de laamera de marche arrrière est affiché, appuyez sur le bouton ENTER/SETTING (entrer-réglage) jusqu'à ce que la barre de réglage de luminosité ou de contraste s'affiche à l'écran de laamera de marche arrrière.
-
Tournez le bouton TUNE/SCROLL (syntonisation-defillement) pour régler le niveau.
-
Pour terminer le réglage, appuyez sur le bouton ENTER/SETTING (entrer-réglage) jusqu'à ce que la barre de réglage de luminosité ou de contraste disparaisse de l'écran de laamera de marche arrêté.
REMARQUE:
Ne faites aucun ajustement des réglages de l'affichage de l'écran RearView Monitor quand le vehicule roule. Assurez-vous que le frein de stationnement est serré fermement

Modèles avec dispositif d'aide à la navigation
- Lorsque l'écran de laamera de marche arrrière est affché, appuyez sur l'affchage à écran tactile. Appuyez sur la touche « Régl. affichage » pour afficher l'écran Affichage des réglages.
- Appuyez sur la touche « Luminosité », « Contraste», « Teinte», « Couleur » ou « Niveau de noir».
- Reglez la fonction en appuyant sur la touche + ou - sur l'affichage à écran tactile.
COMMENT ACTIVER ET DÉSACTIVER LES LIGNES DE TRAJECTOIRE PRÉVUE (MODELES AVEC SYSTÉME DE NAVIGATION)
Pour basculer entre l'activation et la dés-activation des lignes de trajectorytre prévue lorsque le vehicule est à la position P (stationnement):
- Appuyez sur la touche Settings (réglages).
- Appuyez sur la touche Camera (Caméra).
- Appuyez sur la touche « Predicted Course Lines » (lignes de trajectorie prévue) pour activer ou désactiver la fonction.
Pour basculer entre l'activation et la dés-activation des lignes de trajectorytre prévue lorsque le vehicule est à la position R (marche arrière):
- Appuyez sur l'affichage à écran tactile.
- Appuyez sur la touche « Predicted Course Lines » (lignes de trajectorie prévue) pour activer ou désactiver la fonction.
LIMITES DU SYSTÉME DE CAMÉRA DE MARCHE ARRIÈRE

AVERTISSEMENT
Les limites du système deamera de marche arrrière sont répertoriées cédssous. Le fait de ne pas conduire le vehicule conformément à ces limites du système peut entraîner des blessures graves ou mortelles.
- Ce système est soumis à des angles morts et peut ne pas montré tous les objets prênts.
- En raison des limites de la portée de laamera de marche arrêté, les zones du dessous et des coins extérieurs du pare-chocs ne peuvent pas être affichée à l'écran de laamera. Le système n'affichera pas les petits objets qui se trouvent sous le pare-chocs et des objets qui se trouvent très pres du pare-chocs ou au sol.
-
La distance des objets qui s'affichent à l'écran ne reflète pas la réalité, car laamera utilise une lentille grand angle.
-
La position des objets dans une caméra de marche arrêté apparait inversedée par rapport à leur position dans les rétroviseurs interieurs et extérieurs.
- Servez-vous des lignes affichées comme reférence. Des facteurs tels que le nombre d'occupants, le niveau de carburant, la position du vehicule, les conditions routières et l'inclinaison de la route influent sur les lignes.
- Avant de reculer, vérifie si le hayon arrêté est bien fermé.
- Ne placez rien sur laamera. Laamera de marche arrête est installée au-dessus de la plaque d'immatri-culation.
- Lorsque vous lavez le vehicule avec un jet d'eau à haute pression, évitez d'arroser laamera. L'eau peut pénétrer dans le boîtier de laamera et provoquer de la condensation sur la lentille, une anomalie, un feu ou un choc électrique.
- Évitez de frapper laamera. Il s'agit d'un instrument de précision. Le frapper peut cause une anomalie ou des dommages pouvant résulter en un feu ou un choc électrique.
Les données suivantes sont des limites fonctionnelles et n'indiquent pas un dysfonctionnement du système :
- Sila température ambiente est très élevé ou très BASSE, l'affichage des objets pourrait semble flou.
Lorsqu'une lumière intense frappe directement laamera, il se peut que les objets ne s'affichent pas clairvement. - Des lignes verticales pourraient se superposer aux objets affichés à l'écran. Ces lignes sont causées par une lumière trop intense réfléchie par le pare-chocs.
L'écran pourrait papilloter s'il est soumis à un éclairage fluorescent.
-La couleur des objets affichés par la camera de marche arrêté peut différer quelque peu de la couleur réelle. -
Les objets peuvent s'afficher à l'écran de manière imprecise lorsqu'ils se trouvent dans une zone obscure.
-
Il peut y avoir un début lorsque vous passez entre les vues.
- Si laamera est obstruée par la saleté, la pluie ou la neige, il se peut que laamera de marche arrrière n'affiche pas les objets clairment. Nettoyez laamera.
- N'appliquez pas de cire sur la lentille de laamera. Éliminez toute trace de cire à l'aide d'un chiffon propre humecté d'une solution d'eau et de produit de nettoyage doux, puis essuyez avec un chiffon sec.

ENTRETIEN DU SYSTEME

MISE EN GARDE
- N'utilisez pas d'alcool, de benzène ou de diluant pour nettoyer laamera. Vous pourriez decolorer la lentille.
- N'endommagez pas laamera, car l'affichage pourrait être alteré.
Si laamera ① est obstruée par la saleté, la pluie ou la neige, il se peut que laamera de marche arrrière n'affiche pas les objets clairment. Nettoyez laamera à l'aide d'un chiffon humecté d'une solution d'eau et de produit de nettoyage doux, puis essuyez-la avec un chiffon sec.

- Bouton CAMERA (caméra)

AVERTISSEMENT
Le non-respect des avertissements et des directives relatives à l'utilisation du système d'écran de visualisation du périmètre intelligent pourrait entraîner des blessures graves, voire mortelles.
L'écran de visualisation du périmètre intelligent est une caractéristi
que pratique, mais il ne remplace pas la façon adequate de conduire le vehicule, car il comporte des zones dans lesquilles les objets ne peuvent s'afficher. Les quatre coins du vehicule en particulier sont des zones ou les objets n'apparaissent pas dans des plans plongeants, avant ou
4-14 Systèmes de surveillance, de climatisation, audio, téléphonique et de reconnaissance vocale
arrière. Avant de conduire le vehicule, vérifiez toujours les environns immédiats pour vous assurer qu'il est prudent de vous déplacer. Faites toujours fonctionner le vehicule lentement.
- Le conducteur est toujours responsable de la sécurité pendant le stationnement ou d'autres manœuvres.

MISE EN GARDE
Évitez de rayer la lentille deamera lorsque vous enlevez la saleté ou la neige qui se trouve sur l'avant de laamera.
Le système d'écran de visualisation du périmètre intelligent est créé pour aider le conducteur dans les situations telles que le stationnement dans un espace ou le stationnement en parallèle. Le moniteur affiche diverses images de la position du vehicule dans un format d'écran partagé. Les vues ne sont pas toutes disponibles en tout temps.
Vues disponibles :
-Vue avant
Une vue d'environ 150 degrés de l'avant du vehicule.
·Vue arrête
Une vue d'environ 150 degrés de l'arrière du vehicule.
-Vue plongeante
La vue environnante du vehicule à vol d'oiseau.
-Vue latérale avant
Vue autour et au-devant de la roue du côté passager avant.
-Vue arrirée plein écran
Vue de l'arrière du vehicule (qui est un peu plus large que la vue arriere standard).

Pour afficher plusieurs vues, le système d'écran de visualisation du périmètre intelligent utilise les caméras situées dans la calandre avant, sur les rétroviseurs extérieurs du vehicule, en plus d'une caméra située juste au-dessus des plaques d'immatriculation du vehicule ①.
FONCTIONNEMENT DU SYSTEMÉ D'ÉCRAN DE VISUALISATION DU PÉRIMÊTRÉ INTELLIGENT
Lorsque le système de vehicule electrique est activé, déplacez le levier sélecteur à la position R (marche arrière) ou appuyez sur le bouton CAMERA (caméra) pour utiliser l'écran de visualisation du périmètre intelligent. La vue affichée à l'écran de visualisation du périmètre intelligent returne automatiquement à la vue précédente 3 minutes après que le bouton CAMERA (caméra) a été enforcé, si le levier sélecteur ne se trouve pas à la position R (marche arrière).
Vues disponibles

AVERTISSEMENT
- Servez-vous des lignes guides de distance et des lignes de largeur du vehicule comme reference uniquement lorsque le vehicule se trouve sur une surface pavée et plane. La distance apparente affichée à l'écran peut être différente de la distance réelle entre le vehicule et les objets affichés.
Utilisez les lignes affichées et la vue plongeante comme reférence. Des facteurs tels que le nombre d'occupants, le chargement, le niveau de carburant, la position du vehicule, les conditions routières et l'inclinaison de la route influent grandement sur les lignes et la vue plongeante. -
Si vous remplacez les pneus par des pneus de taille différente, les lignes de trajectorie prévue et la vue plongeante pourraient ne pas s'afficher correctement.
-
Lors de la conduite sur une pente ascendante, les objets affichés à l'écran sont plus éloignés qu'ils ne paraissent. Lors de la conduite sur une pente descendante, les objets affichés à l'écran sont plus rapprochés qu'ils ne paraissent.
- La position des objets dans la vue arrêté apparait inversée par rapport à leur position dans les rétroviseurs interieurs et extérieurs.
Utilisez les rétroviseurs ou regardez en fait afin d'évaluer correctement la distance qui vous sépare des objets. - Sur une route enneigée ou glissante, il peut y avoir une différence entre les lignes de trajectorie prévue et la ligne de trajectorie réelle.
- Les lignes de largeur du vehicule et de trajectorie prevue sont plus larges que la largeur et la trajectorie réelles.
- Les lignes affichées apparaissent légèrement orientées vers la droite, car laamera de marche arrêté n'est pas installée dans la partie centrale arrêté du vehicule.

Vue avant
Vue avant et arrêté:
L'écran affiche des lignes guides qui indiquent la largeur approximative du vehicule et la distance aux obstacles par rapport aux lignes de la carrosserie du vehicule (A).
Lignes guides de distance
Indiquent les distances à partir de la carrosserie du vehicule :
Ligne rouge ① : environ 0,5 m (1,5 pi)
Lignes jaunes ② : environ 1 m (3 pi)
-Lignes vertes ③ : environ 2 m (7 pi)
Lignes vertes ④ : environ 3 m (10 pi) (selon l'equipement)

Vue arrière
Lignes guides de largeur du vehicule ⑤
Indiquent la largeur approximative du vehicule pendant que vous reculez.
Lignes de trajectory prévue ⑥
Indiquent la trajectory prévue lorsque vous conduisiez le vehicule. Les lignes de trajectory prévue s'affichent à l'écran lorsque vous tournez le volant. Les lignes de trajectory prévue se déplacent en fonction du degré de braquage du volant et peuvent ne pas s'afficher lorsque le volant est en
position droit devant. La vue avant ne s'affiche pas quand la vitesse du vehicule est supérieure à 10 km/h (6 mi/h).
REMARQUE:
Lorsque I'écran affiche la vue avant et que le volant tourne d'environ 90 degrés ou moins de la position droit devant, les lignes de trajectorie prévue droite et gauche ⑥ s'affichent. Lorsque le volant tourne d'environ 90 degrés ou plus, une ligne s'affiche uniquement sur le côté opposé du virage.

Vue plongeante:
La vue plongeante affiche la vue du pavillon du vehicule, qui permet de confirmer la position du vehicule et la projectione prevue vers un espace de stationnement. L'icone de vehicule ① indique la position du vehicule.À noter que la distance apparente entre les objets observés en vue plongeante peut différer quelque peu de la distance reelle jusqu'au vehicule.
Les zones qui ne sont pas couvertes par les caméras ② sont indiquées en noir.
Après que le système de vehicule électricque soit place à la position ON (marche), les zones non visibles ② sont mises en évidence en jaune pendant plusieurs secondes après l'affichage en vue plongeante. Elle n'est affichée qu'une fois après que le commutateur principal soit place en position ON (marche).

AVERTISSEMENT
- Les objets dans la vue plongeante apparaisent plus éloignés que la distance réelle.
- Les objets de dimension élevé, tels qu'un trottoir ou un vehicule, peuvent être désalignés ou ne pas s'afficher sur le bord des affichages.
- Les objets qui se trouvent au-dessus de laamera ne peuvent etre affichés.
- La vue de la vue plongeante peut être désalignée lorsque la position de laamera est modifiée.
- Une ligne au sol peut être désalignée et sembler ne pas être droite sur le bord des affichages. Le désalignement augmente à mesure que la ligne s'éloigne du vehicule.

Vue latérale avant:
Lignes guides
Des lignes guides indiquant la largeur approximative et l'avant du vehicule s'affichent à l'écran.
La ligne de l'avant du vehicule ① indique la partie avant du vehicule.
La ligne du côté du vehicule ② indique la largeur approximative du vehicule, incluant les rétroviseurs extérieurs.
Les rallonges ③ des lignes avant ① et du côté ② sont indiquées avec une ligne pointillée verte.
DIFFÉRENCE ENTRE LA DISTANCE PRÉVUE ET LA DISTANCE RÉELLE
Les lignes de guidage affichées et leurs emplacements au sol sont fournis pour référence approximative seulement. Les objets situés sur une pente ascendante ou descendante et les objets saillant se trouvent en réalisité à des distances différentes de celles affichées à l'écran des lignes de guidage (consulter les illustrations). En cas de doute, faire demi-tour et regarder les objets pendant que vous faites marche arrière, ou stationnez et quittez le vehicule pour voir la position des objets derrière le vehicule.

plus proches qu'en réalité. Notez que les objets qui apparaissent à l'écran sont en réalité plus éloignés sur la pente.

Reculer en montant dans une pente abrupte
Lorsque le vehicule recule en montant dans une pente, les lignes guides de distance et de largeur du vehicule paraissent

Notez que les objets qui apparaissent à l'écran sont en réalité plus préc sur la pente.



Reculer en descendant dans une pente abrupte
Lorsque le vehicule recule en descendant dans une pente, les lignes guides de distance et de largeur du vehicule paraissent plus eoignees qu'elles le sont en realite.
Reculer pres d'un objet saillant
Les lignes de trajectorie prévue (A) ne touchent pas l'objet à l'écran. Cependant, le vehicule peut frapper l'objet si celui-ci fait saillie au-dessus de la trajectorie réelle de recul.


Reculer derrière un objet saillant
La position parait plus éloignée que la position B à l'écran. La position C est toutfois à la même distance que la position A. Le vehicule peut frapper l'objet lorsque vous reculez à la position A si
l'objet fait saillie au-dessus de la trayectoire réelle de recul.
COMMENT SE STATIONNER EN UTILISANT LES LIGNES DE TRAJECTOIRE PRÉVUE

AVERTISSEMENT
- Si vous remplacez les pneus par des pneus de taille différente, les lignes de trajectorytre prevue pourraient ne pas s'afficher correctement.
-
Sur une route enneigée ou très glissante, il peut y avoir une différence entre la ligne de trajectorie prévue et la ligne de la trajectorie réelle.
Si la batterie de la voiture est débranchée ou décharge, les lignes de trajectorie prévue pourrait ne pas s'afficher correctement. Dans une telle situation, procédez comme suit: -
Tournez le volant d'une butée à l'autre alors que le système de vehicule électrique est en marche.
-
Conduisez le vehicule sur une route droite pendant plus de 5 minutes.
-
Si vous tournez le volant alors que le commutateur principal est à la position ACC (accessoires), les lignes detrajectoire prévue pourraient ne pas s'afficher correctement.




- Tout en vous servant des lignes de trajectorytre prévue comme reference, tournez le volant pour que les lignes guides de largeur du vehicule ⑥ soient parallles à l'espace de stationnement C
- Une fois que le vehicule est complètement stationné dans l'espace, placez le levier sélecteur à la position P (stationnement) et serrez le frein de stationnement.
MODIFICATION DE L'AFFICHAGE
Lorsque le commutateur principal est à la position ON (marche), appuyez sur le bouton CAMERA (caméra) ou déplacez le levier sélecteur à la position R (marche arrière) pour utiliser l'écran de visualisation du périmètre intelligent.
L'écran de visualisation du périmètre intelligent affiche des vues d'écran divisées différentes selon la position du levier selecteur. Appuyez sur le bouton CAMERA (caméra) pour commuter entre les vues disponibles.
- Assurez-vous visuèlement que l'espace de stationnement est sécuritaire avant de stationner votre vehicule.
-
La vue de l'arrière du vehicule est affichaee a I'ecran A) lorsque le levier selecteur est placé à la position R (marche arrriere).
-
Reculez lentement en tournant le volant de façon à ce que les lignes de trajectorie prévue (B) pénétrent dans l'espace de stationnement (C).
Si le levier sélecteur est à la position R (marche arrière), les vues disponibles sont les suivantes :
- Écran divisé de vue arrêté/vue plongeante
Écran divisé de vue arrêtée/vue latérale avant
-Vue arrrière plein écran
Si le levier sélecteur est à la position P (stationnement), les vues disponibles sont :
Écran divisé de vue avant/vue plongeante
Écran divisé de vue avant et de vue latérale avant
Si le levier sélecteur est à la position D (marche avant), les vues disponibles sont :
- Écran divisé de vue avant/vue plongeante avant
Écran divisé de vue avant et de vue latérale avant
L'affichage bascule de l'écran de visualisation du périmètre intelligent lorsque :
Le levier selecteur est à la position D (marche avant) et la vitesse du vehicule augmente au-delà de 10 km/h (6 mi/h) environ.
- Un écran différent est besoin.

RéGLAGE DE L'ÉCRAN
- Appuyez sur l'affichage à écran tactile lorsque l'écran de visualisation du périmètre intelligent est en fonction.
- Appuyez sur la touche « Luminosité », « Contraste », « Teinte », « Couleur » ou « Niveau de noir »
- Reglez la fonction en appuyant sur la touche « + » ou « - » sur l'affichage à écran tactile.
REMARQUE:
Ne faites aucun ajustement des réglages de l'affichage de l'écran de visuaillisation du périmètre intelligent quand le vehicule roule. Assurez-vous que le frein de stationnement est serré fermement.


LIMITATIONS DU SYSTEMÉ
D'ÉCRAN DE VISUALISATION DU
PERIMÊTRE INTELLIGENT

AVERTISSEMENT
Les limites du système d'écran de visualisation du périmètre intelligent sont répertoriées ci-dessous. Le fait de ne pas conduire le vehicule conformément à ces limites du système peut entraîner des blessures graves ou mortelles.
- N'utilise pas l'écran de visualisation du périmètre intelligent lorsque le rétroviseur extérieur est en position de rangement et assurez-vous que le hayon arrêté est bien fermé lorsque vous conduisez et utilisez l'écran de visualisation du périmètre intelligent.
- La distance apparente entre les objets affichés à l'écran de visualisation du périmètre intelligent ne correspond pas à la distance réelle.
-
Les caméras sont installées sur la calandre avant, sur les rétroviseurs extérieurs et au-dessus de la plaque d'immatriculation arrière. Ne placez sur le vehicule aucun objet qui couvre les caméras.
-
Lorsque vous lavez le vehicule avec un jet d'eau à haute pression, évitez d'arroser les caméras. L'eau peut pénétre dans le boîtier de laamera et provoquer de la condensation sur la lentille, une anomalie, un feu ou un choc électrique.
- Les caméras sont des instruments de précision. Évitezdoncde les frapper pour ne pas provoquer une anomalie ou causer des dommages entrainant un incendie ou un chocolélectrique.
Dans certaines zones, le système n'affiche pas les objets et ne prévient pas de la présence d'objets en mouvement. En mode d'affichage de vue avant ou arrrière, un objet sous le pare-chocs ou sur le sol peut ne pas s'afficher ①. En mode de vue plongeante, un objet de grande taille situé pres du bord ② des zones d'affichage de la camera ne s'affiche pas à l'écran.
Les données suivantes sont des limites fonctionnelles et n'indiquent pas un dysfonctionnement du système:
- Il peut y avoir un début lorsque vous passez entre les vues.
Lorsque la température ambiente est très élevé ou très BASSE, les objets peuvent ne pas s'afficher clairement.
Lorsqu'une lumière intense frappe directement laamera, il se peut que les objets ne s'affient pas clairvement.
L'écran pourrait papilloter s'il est soumis à un éclairage fluorescent.
- La couleur des objets sur l'écran de visualisation du périmètre intelligent peut être différente de la couleur réelle des objets.
- Les objets à l'écran de visualisation du périmètre intelligent peuvent ne pas s'afficher clairément et la couleur de l'objet peut être différente dans une zone obscure.
- Il peut y avoir des différences dans la définition entre chaque vue deamera de la vue plongeante.
- N'appliquez pas de cire sur la lentille de la camera. Éliminez toute trace de cire à l'aide d'un chiffon propre humecté d'une solution d'eau et de produit de nettoyage doux, puis essuyez à l'aide d'un chiffon sec.

Système temporairement indisponible
Quand l'icone « ! » s'affiche à l'écran, des anomalies sont presents dans l'écran Around View ^MD Monitor. Ceci ne compte pas la conduite normale du vehicule mais le système doit être vérifié. Nous vous recommendons de vous rendre chez un concessionnaire NISSAN LEAF certifié pour ce service.

Lorsque l'icone « [X] » s'affiche à l'écran, il est possible que des perturbations électroniques temporaires soient transmises à l'image de laamera provenant d'appareils à proximité. Ceci ne compromet pas la conduite normale du vehicule mais le système doit être vérifié si cela se produit fraisment. Nous vous recommandons de vous rendre chez un concessionnaire NISSAN LEAF certifié pour ce service.

Si l'une des caméras ① est obstruée par la saleté, la pluie ou la neige, il se peut que l'écran de visualisation du périmètre intelligent n'affiche pas les objets clairement. Nettoyez laamera à l'aide d'un chiffon humecté d'une solution d'eau et de produit de nettoyage doux, puis essuyez à l'aide d'un chiffon sec.
ENTRETIEN DU SYSTEME

MISE EN GARDE
- N'utilisez pas d'alcool, de benzène ou de diluant pour nettoyer laamera. Vous pourriez decolorer la lentille.
- N'endommagez pas les caméras, car l'affichage pourrait être alteré.
SYSTEME DE DETECTION D'OBJECTS MOBILES (SELEN L'ÉQUIPEMENT)

- Bouton CAMERA (caméra)

AVERTISSEMENT
- Le non-respect des avertissements et des directives relatives à l'utilisation du système de détction d'objets mobiles pourrait entraîner des blessures graves, voir mortelles.
- Le système de détction d'objets mobiles ne remplace pas la façon appropriée de conduire le vehicule et n'est pas conscience pour empêcher le contact avec les objets qui se trouvent autour du vehicule. Lors des manoeuvres de conduite, utilisez toujours les rétroviseurs extérieurs ainsi que le rétroviseur interieur, puis tournez-vous pour vérifier la zone autour du vehicule pour vous assurer qu'il est prudent de vous déplacer.
- Le système est désactivé si la vitesse est supérieure à 8 km/h (5 mi/h). Il est réactivé si la vitesse est inférieure.
- Le système de détction d'objets mobiles n'est pas conçu pour détector les objets immobiles à proximité du vehicule.
Le système de détction d'objets mobiles peut avertir le conducteur de la présence d'objets mobiles près du vehicule à la sortie d'un garage en marche arrière, lors de manoeuvres dans les parcs de stationnement et dans d'autres cas de ce genre.
Le système de détction d'objects mobiles déetecte les objets mobiles au moyen d'une technologie de traitement d'images sur l'image affichée à l'écran.
FONCTIONNEMENT DU SYSTÉME DE DETECTION D'OBJETS MOBILES
Le système de détction d'objects mobiles s'active automatiquement dans les conditions suivantes :
Lorsque le levier selecteur est à la position R (marche arrière).
Lorsque la vitesse du vehicule est inférieure à environ 8 km/h (5 mi/h) et que l'écran de laamera s'affiche.


Vue avant et vue plongeante
Vue arrriere et vue plongeante


Vue arrête et vue latérale avant
Vue arrière à grand angle
Le système de détction d'objets mobiles fonctionne dans les conditions suivantes lorsque la vue deamera est affichée :
Lorsque le levier selecteur est à la position P (stationnement) ou N (point mort) et que le vehicule est arrêté, le système de détction d'objets mobiles détecte les objets mobiles dans la vue plongeante. Le système de détction d'objets mobiles peut ne pas fonctionner si les rétroviseurs extérieurs sont déployés ou repliés, en position rangée ou si une portière avant est ouverte.
Lorsque le levier selecteur est à la position D (marche avant) et que la vitesse du vehicule est inférieure à 8 km/h (5 mi/h) environ, le système de détction d'objects mobiles détecte les objets mobiles dans la vue avant.
Lorsque le levier selecteur est à la position R (marche arrière) et que la vitesse du vehicule est inférieure à 8 km/h (5 mi/h) environ, le système de détction d'objects mobiles détecte les objets mobiles dans la vue arrête. Le système de détction d'objects mobiles ne fonctionne pas si le hayon arrête est ouvert.
Le système de détction d'objets mobiles ne détece pas les objets mobiles dans la vue laterale avant. L'icone du système de détction d'objets mobiles ne s'affiche pas à l'écran lorsque cette vue est sélectionnée.
Lorsque le système de détction d'objets mobiles détecte des objets mobiles à proximé du vehicule, un carillon se fait entendre et un cadre jaune s'affiche sur la vue dans laquelle les objets sont détectés. Pendant que le système de détction d'objets mobi-les continue la détction des objets mobiles, le cadre jaune continue de s'afficher.
REMARQUE:
Pendant que le carillon du système d'alerte de circulation transversale arrriere ( selon l'équipment) retentit, le système de détction d'objets mobiles n'émet aucun carillon.
Dans la vue plongeante, le cadre jaune ① s'affiche sur chaque image de laamera (avant, arrêté, droite et gauche) en fonction de l'emplacement de détention des objets mobiles.
Le cadre jaune ② s'affiche sur chaque vue en mode vue avant et vue arrêté.
Une icône bleue du système de détction d'objets mobiles ③ s'affiche dans la vue dans laquelle le système de détction d'objets mobiles est activé. Une icône grise du système de détction d'objets mobiles s'affiche dans la vue dans laquelle le système de détction d'objets mobiles n'est pas activé.
Si le système de détction d'objets mobiles est désactivé, l'icone MOD (système de détction d'objets mobiles) ③ ne s'affiche pas.
DÉTCTION D'OBJECTS MOBILES ACTIVÉE ET DÉSACTIVÉE
Certains vehicules complrennt l'option qui permet d'activer ou de désactiver le système de DETECTION D'OBJECTS MOBILES à l'affichage multifonction.
Pour activer ou désactiver le système de détéction d'objets mobiles :
- Au moyen de l'une des touches de commande de menu ou du volant, Sélectionnez « Settings » (réglages).
-
Sélectionnez « Driver Assistance » (aide au conducteur), puis appuyez sur le bouton OK.
-
Sélectionnez l'options « Parking Aids » (aides au stationnement), puis appuyez sur le bouton OK.
- Basculez entre l'ACTIVATION ou la DÉS- ACTIVATION de l'options « Moving Object » (système de détention d'objets mobiles) à l'aide du bouton OK.
LIMITES DU SYSTEME DE DETECTION D'OBJECTS MOBILES

AVERTISSEMENT
Les limites du système de détction d'objets mobiles sont répertoriées cédssous. Le fait de ne pas conduire le vehicule conformément à ces limites du système peut entrainer des blessures graves ou mortelles.
-
N'utilise pas le système de détction d'objets mobiles lors de la traction d'une remorque. Le système pourrait ne pas fonctionner correctement.
Le bruit excessif (par exemple, le volume de la chaine stéreo ou une glace de vehicule ouverte) a une incidence sur le timbre du carillon et il se peut qu'il ne soit pas entendu. -
Le rendement du système de détction des objets mobiles est réduit par les objets à proximé et les conditions environnementales, notamment:
-
Lorsque le contraste entre l'arrière-plan et les objets mobiles est bas.
- Lorsqu'une lumière clignotante est presente.
- Lorsqu'une lumière éblouissante est présente, par exemple les phares d'un autre vehicule ou les rayons du soleil.
- Lorsque l'orientation de la camera n'est pas dans sa position habituelle, par exemple lorsqu'un rétroviseur est replié.
Lorsqu'il y a de la saleté, des gouttes d'eau ou de la neige sur la lentille de laamera. - Lorsque la position des objets mobiles à l'écran n'est pas modifiée.
-
Le système de détction d'objets mobiles peut être des gouttes d'eau en mouvement sur la lentille de laamera, de la fumée blanche provenant du silencieux, des ombres en mouvement, etc.
-
Le système de détention d'objets mobiles peut ne pas fonctionner correctement selon la vitesse, la direction, la distance ou la forme des objets mobiles.
- Si les pieces ou laamera est installée sont endommagées, toute déformation ou gauchissement peut modifier la zone de détction et le système de détction d'objets mobiles peut ne pas fonctionner correctement.
- Lorsque la température ambiente est très élevé ou très BASSE, les objets peuvent ne pas s'afficher clairément. Cette condition est normale.
REMARQUE:
L'icone bleue du systeme de detection d'objets mobiles passa à la couleur orange si l'une des situations suivantes s'est produit:
Lorsque le système ne fonctionne pas correctement.
Lorsque la température du composant atteint un niveau élevé (l'icone clignotera). Si le témoin de l'icone continue de s'allumer en orange, faites vérifier le système de détction d'objets mobiles. Nous vous recommendons de vous rendre chez un concessionnaire NISSAN LEAF certifié pour procéder cet entretien.

ENTRETIEN DU SYSTEME

MISE EN GARDE
- N'utilise pas d'alcool, de benzène ou de diluant pour nettoyer laamera. Vous pourriez decolorer la lentille.
- N'endommagez pas les caméras, car l'affichage pourrait être alteré.
Si l'une des caméras ① est obstruée par la saleté, la pluie ou la neige, il se peut que l'écran de visualisation du périmètre intelligent n'affiche pas les objets clairement. Nettoyez laamera à l'aide d'un chiffon humecté d'une solution d'eau et de produit de nettoyage doux, puis essuyez à l'aide d'un chiffon sec.
BOUCHES D'AIR

Bouches d'air laterales
Pour ouvrir ou fermer les bouches d'air, déplacez le curseur des bouches d'air dans le sens approprié.
:Ce symbole indique que les bouches d'air sont fermées.
:Ce symbole indique que les bouches d'air sont ouvertes.
Pour régler le sens du début d'air des bouches d'air, déplacez le curseur des bouches d'air (vers le haut) jusqu'à ce que la position voulue soit atteinte.

Bouches d'air centrales
APPAREIL DE CHAUFFAGE ET CLIMATISEUR (À COMMANDE AUTOMATIQUE)

AVERTISSEMENT
La fonction de refroidissement du climatiseur ne fonctionne que lorsque le commutateur principal est à la position ON (marche) ou lorsque le témoin PRÉT à démarrer est allumé.
- Ne laïsez pas seuls dans votre vehicule des enfants ou des personnes qui ont habituèlement besoin de l'aide d'autres personnes. Ne laïsez pas non plus les animaux de compagnie sans surveillance. Ils pourraient se blesser ou blesser quelqu'un accidentellement en mettant le vehicule en marche par inadvertance. De plus, par temps chaud et ensaleillé, la température de l'habitacle peutrapidement s'élever au point de provoquer des léssions graves, voire mortelles, à une personne ou à un animal enfermé dans le vehicule.
- N'utilise pas le mode de recirculation d'air pendant de longues périodes puisque l'air de l'habitacle pourrait doivent vicié et les glaces poursraient s'embauer.
REMARQUE:
- Les odeurs de l'intérieur vers l'extérieur du vehicule peuvent s'accumuler dans l'unité de climatisationur. L'odeur peut s'infiltrer dans l'habitacle par le biais des bouches d'air.
Lorsque vous stationnez votre vehicule, reglez les commandes de chauffage ou du climatiseur pour arreter la recirculation de l'air et permettre à l'air frais de penetreer dans l'habitacle. Ceci doit aider a réduire les odeurs dans le vehicule.
Le système de chauffage-climatisation (fonctions de climatisation et de chauffage) peut être utilisé lorsque le témoin PRÉT à démarrer est allumé. Toutefois, pendant le chargement, le système de chauffage-climatisation peut être utilisé lorsque le commutateur principal est à la position ON (marche).
Le ventilateur, le chauffage et la climatisation peuvent être activés manuelsment à l'aide de la fonction de minutes et de la fonction de réglage du système de chauffage-climatisation à distance.
Ces fonctions peuvent etre utilisées dans les conditions suivantes.
| Position du commutateur principal | LOCK/OFF (antivol- verrouillé et hors fonction) | ACC (accessoires) | ON (marche) | READY (pré à démarrer) |
| Ventilateur | - | - | Disponible | Disponible |
| Chauffage et climatisationur | - | - | Disponible*1 | Disponible |
| Minuterie (minuterie de climatisation) | Disponible | Disponible | - | - |
| Télécommande*2 | Disponible | Disponible | - | - |
| *1: Le système de chauffage-climatisation démarrera seulement lorsque le chargement est en cours. Lorsque le chargement est terminé, le système continues à fonctionner si le cable EVSE (accessoire pour vehicule électrique) est branché.*2: modèle avec dispositif d'aide à la navigation. | ||||
REMARQUE :
- Vous pouvez entendre immédiatement une série desons après l'ACTIVATION ou la DÉSACTIVATION du système de chauffage-climatisation. Cette condition est normale.
Le ventilateur du compresseur et du moteur peut semettre soudainement en marchedurant le chargement. Cette condition estnormale.
La condensation se forme dans l'unité de climatisation lorsque le climatiseur est en marche et est evacuée en toute sécurité sous le vehicule. Les traces d'eau sur le sol sont donc normales. L'eau peut s'écouler sous le vehicule lorsque le système de chauffage-climatisation est en fonction.

AFFICHAGE DE L'ÉCRAN D'ÉTAT DU SYSTème DE CHAUFFAGE-CLIMATISATION (MODELES AVEC DISPOSITIF D'AIDE À LA NAVIGATION)
Appuyez sur la touche Info (information) de l'écran d'affichage, puis appuyez sur la touche « Climate Control and Audio » (système de chauffage-climatisation et audio) pour afficher l'état du système de chauffage-climatisation sur l'écran d'affichage. Pour obtenir de plus amples renseignements, consultez le manuel du contrôle du dispositif d'aide à la navigation LEAF.
REMARQUE:
- Si le témoin PRÉT à démarrer s'allume et que le cable EVSE (accessoire pour vehicule électrique) est branché sur le vehicule, le commutateur principal passera à la position ON (marche). En même temps, le système de chauffage-climatisation s'arrête. Toutefois, le ventilateur continue de fonctionner. Si vous souhaitez réactiver le système de chauffage-climatisation, placez le commutateur principal à la position OFF (hors fonction), puis replacez-le à la position ON (marche) après avoir confirmé le démarrage du chargement.
Lorsque le commutateur principal est à la position ON (marche), le système fonctionne de la manière suivante si l'alimentation électrique du cable EVSE (accessoire pour vehicule electrique) est interrompue en raison d'une coupure de courant etc.
- Si cette interruption se produit durant l'exécution du chargement :
Le système de chauffage-climatisation s'arrête une fois. Si l'alimentation électrique est restaurée dans les cinq minutes environ, le système de chauffage-climatisation redémarrera. Toutefois, si plus de cinq minutes se sont écoulés, le système de chauffage-climatisation ne démarrera pas. - Si cela se produit après que le chargement ait terminé :
Le système de chiffage-climatisation s'arrête.

CONSEILS D'UTILISATION
- Le système de chauffage-climatisation automatique est muni de capteurs comme illustré. Les capteurs et aient à maintainir une température constante. Ne placez aucun objet sur ces capteurs ou à proximé de ces derniers.
La consommation d'énergie du système de chauffage-climatisation varie selon la température extérieure et la température régée pour le système de chauffage-climatisation. La consommation d'énergie augmente si la température de l'habi

table est reglee regulierement a un niveau tres bas pendant I'ete ou a un niveau tres elevée pendant l'hiver. Cela entraine une réduction de l'autonomie.
-
Utilisez le mode AUTO (automatique) pour réduire la consommation d'énergie du système de chauffage-climatisation.
Lorsque you appuyez sur le bouton AUTO, le témoin AUTO s'allume. Le témoin du bouton HEAT (chauffage) ou du bouton A/C (climatisation) s'allume selon le fonctionnement du système de chauffage-climatisation. -
Si vous appuyez sur le bouton MODE ou sur le bouton de climatisation, à de chauffage, à de commande de vitesse du ventilateur ou du dégivreur avant à lorsque le témoin AUTO s'allume, celui-ci s'éteint.
- Si le connecteur de charge est branché sur le vehicule lorsqu'il est en mode prét à conduire et que le climatisation ou le chauffage est en fonction, le commutateur principal passée automatiquement à la position ON (marche). Placez le commutateur principal à la position OFF (hors fonction) pour commencer le chargement. Activez la fonction de chauffage-climatisation de votrechoix.
- Pour une charge normale, le système de chauffage-climatisation est opérationnel lorsque le chargement se termine. Toutefois, pour une charge rapide, le système de chauffage-climatisation s'arrête lorsque le chargement se termine.
- La minuterie de chauffage-climatisation ou le système de chauffage-climatisation à distance (pour les modèles avec dispositif d'aide à la navigation) peut embuer les glaces en fonction de la température régée (pour les modèles avec dispositif d'aide à la navigation) ou de la température extérieure.
Lorsque vous activez le commutateur de siège chauffant avant le fonctionnement de la minuterie de chauffage-climatisation ou du système de chauffage-climatisation à distance (pour les modèles avec dispositif d'aide à la navigation), le dispositif de chauffage du siècle s'active également automatiquement lorsque la température extérieure est BASSE.
MICROFILTRE DE L'HABITACLE
Le système de chauffage-climatisation est muni d'un microfiltre à l'intérieur de la cabine qui recueille la poussière, les saletés etc. Pour assurer une climatisation, un chauffage, un désembuage et une ventilation efficaces, remplacez le filtré régulièrement. Pour replacer le filtré, nous vous recommendons de vous rendre chez un concessionnaire NISSAN LEAF certifié.
Voudevez remplacer le filtren en cas de diminution considérable du débit d'air ou si les glaces s'embuent facilement lors du fonctionnement du système de chauffage-climatisation.

SYSTÉME DE CHAUFFAGE-CLIMATISATION AUTOMATIQUE (MODELES SANS DISPOSITIF D'AIDE À LA NAVIGATION)
-
commande de vitesse du ventilateur
-
bouton de commande d'entrée d'air
- touche de dégivrage avant
-
Indicateur de minuterie de de chauffage-climatisation
-
Interrupteur du dégivre de lunnette et de rétroviseur extérieur (selon l'équipement)
- Commande de température
- Bouton AUTO (automatique) du système de chauffage-climatisation EN FONCTION
- Bouton A/C (climatiseur)
- Bouton MODE (commande manuelle de direction de l'air)
- Bouton HEAT (chauffage)
- Bouton OFF (hors fonction) du système de chauffage-climatisation
Fonctionnement automatique (AUTO)
Le mode AUTO (automatique) peut être utilisé toute l'année étant donné que le système contrôle automatiquement une température constante, la répartition du débit d'air et la vitesse du ventilateur.
- Appuyez sur le bouton AUTO (automatique). Le témoin AUTO (automatique) s'allumera.
- Tournez le bouton de commande de température à la position voulue.
Lorsqu'une des fonctions suivantes est activée, le témoin AUTO (automatique) s'éteint.
Le bouton (HEAT (chauffage)) ou A/C (climatisation) est enforcé.
- La commande de vitesse ou de débit d'air du ventilateur est actionné.
Toutefois, les fonctions qui n'ont pas ete utilisées continuente de fonctionner en mode AUTO (automatique).
REMARQUE:
·Si la commande de vitesse du ventilateur , le bouton MODE ou le bouton de commande d'entrée d'air est activé lorsque le mode AUTO (automatique) est utilisé, tous les autres boutons fonctionnent en mode AUTO (automatique).
Lorsque le témoin AUTO (automatique) s'allume, la consommation d'énergie du climatiseur peut être réduite par rapport à la même consommation lorsque le témoin AUTO (automatique) est étéint.
Le témoin HEAT (chauffage) et le témoin A/C (climatisation) s'allument en fonction des modes de fonctionnement du système de chauffage-climatisation.
| Mode de fonctionnement | Témoin A/C (climatisation) | Témoin HEAT (chauffage) |
| Refroidissement (chauffage hors fonction) | ON (en fonction) | OFF (hors fonction) |
| Chauffage (climatisation hors fonction) | OFF (hors fonction) | ON (en fonction) |
Fonctionnement manuel
Le mode manuel permet de régler le chauffage et le climatiseur à la température voulue.
Le témoin HEAT (chauffage) et le témoin A/C (climatisation) s'allument en fonction des modes de fonctionnement.
| Mode de fonctionnement | Témoin A/C (climatisation) | Témoin HEAT (chauffage) |
| Refroidissement (chauffage hors fonction) | ON (en fonction) | OFF (hors fonction) |
| Chauffage déshumidié | ON (en fonction) | ON (en fonction) |
| Chauffage (climatisation hors fonction) | OFF (hors fonction) | ON (en fonction) |
| Ventilation | OFF (hors fonction) | OFF (hors fonction) |
Refroidissement :
- Appuyez sur le bouton A/C (climatisation) pour allumer le témoin A/C (climatisation).
- Appuyez sur le bouton HEAT (chauffage) pour eteindre le témoin HEAT (chauffage).
-La température régée ne doit pas être supérieure à la température extérieure. Cela pourrait empêcher la température d'être contrôle correctement. - Une brume visible peut s'échapper des bouches d'air par temps chaud et humide, car l'air est très rapidement refroidi. Il ne s'agit pas d'une anomalie.
Chauffage déshumidifié :
- Appuyez sur le bouton A/C (climatisation) pour allumer le témoin A/C (climatisation).
- Appuyez sur le bouton HEAT (chauffage) pour allumer le témoin HEAT (chauffage)
REMARQUE:
La consommation d'énergie électricquedusystèmedechauffage-climatisationaugmente lorsque le témoin du boutonA/C(climatisation) et le témoin du boutonHEAT(chauffage)sallumentsimultanément.Par conséquent,l'auto-nomie peut être réduite.
Chauffage (climatisation hors fonction) :
- Appuyez sur le bouton HEAT(chauffage) pour allumer le témoin HEAT (chauffage).
-
Appuyez sur le bouton A/C (climatisation) pour eteindre le témoin A/C (climatisation).
-
La température régée ne doit pas être inférieure à la température extérieure. Cela pourrait empêcher la température d'être contrôleé correctement.
- En cas d'embuage des glaces, utilisez le chauffage déshumidifié au lieu du chauffage avec la climatisation hors fonction.
Ventilation :
Appuyez sur le bouton HEAT (chauffage) et le bouton A/C (climatisation) pour eteindre les temoins correspondants.
REMARQUE:
Le mode de ventilation nécessite une consommation de puissance inférieure, ce qui augmente la distance de croisière.
- En mode de ventilation, la température n'est pas indiquée sur l'affichage du climateur.
Dégivrage ou désembuage déshumidifié :
Appuyez sur le bouton de dégivrage avant (le témoin s'allume).
Pour éliminerrapidement l'humidité ou la buée sur la glace avant,reglez la températe à une position elevée et la vitesse du ventilateur à un niveau maximal.
- Appuyez de nouveau sur le bouton de dégivrage avant une fois le pare-brise dégagé (le témoin s'éteint).
Lorsque you appuyez sur le bouton de dégivrage avant ,le climatiseur s'active automatiquement pour désembuer le pare-brise. Le mode de recirculation d'air extérieur est sélectionné pour optimiser les performances de désembuage.
Commande de vitesse du ventilateur :
Tournez la commande de vitesse du ventilateur pour régler manuellement cette-ci.
Appuyez sur le bouton AUTO (AUTOMATIQUE) pour passer en mode automatique de la vitesse du ventilateur.
Commande de début d'air :
Appuyez sur le bouton MODE pour modifier le mode de débit d'air.
L'air circule par les bouches d'air - centrales et laterales.
L'air circule par les bouches d'air centrales et laterales ainsi que par les bouches d'air du plancher.
L'air circule principalement par les bouches d'air du plancher.
L'air circule par les bouches d'air du dégivre et du plancher.
L'air circule par les bouches d'air du dégivreur.
Commande de la température :
Tournez le bouton de commande de température à la position voulue.
Recirculation :
Appuyez sur le bouton de commande d'entrée d'air pour modifier le mode de circulation d'air. Lorsque le témoin s'allume, l'air qui circule est recyclé dans le vehicule.
Lorsque la température extérieure dépasse 21 C (70 F), le système de climatisation peut passer par défaut en mode de recirculation de l'air automatiquement pour réduire la consommation électrique globale. Pour quitter le mode de recirculation d'air, annulez la sélection de la commande de recirculation de l'air (le témoin s'éteint) pour acceder au mode air frais.
Air frais :
Appuyez sur le bouton de commande d'entrée d'air pour modifier le mode de circulation d'air. Lorsque le témoin ne s'allume pas, l'air qui circule est aspiré de l'extérieur du vehicule.
Commandedadmissiond'air automatique:
L'entrée d'air est contrôle automatique en mode AUTO (automatique). Lorsque la température extérieure dépasse 21 C (70 F), le système de climatisation peut passer par défaut en mode de recirculation de l'air automatiquement pour réduire la consommation électrique globale.
Pour régler le mode de commande automatique, maintenez enforcé le bouton de commande d'entrée d'air Le témoin clignotera deux fois et la circulation d'air interieur et extérieur sera alors contrôle automatiquement. En mode automatique, le témoin s'allume lorsque la fonction de recirculation d'air interieur est activée.
Interrupteur du dégivre de lunette et de rétroviseur extérieur (selon l'équipement):
Pour obtenir des renseignements supplémentaires, consultez la section « Interrupteur du dégivreur de lunette et de rétroviseurs extérieurs (selon l'équipment) » dans le chapitre « Commandes et instruments » du réseau manuel
Pour désactiver le système
Pourmettre horsfonctionle systeme de chauffage-climatisation,appuyez sur le bouton OFF (hors fonction) du systeme de chauffage-climatisation.Lememe mode de fonctionnement (chauffage ou climatisation) qui etait activé au moment ou le systeme a eté mis hors fonction est activé lorsquele systemeestremis en fonction.

SYSTÉME DE CHAUFFAGE-CLIMATISATION AUTOMATIQUE (MODELES AVEC DISPOSITIF D'AIDE À LA NAVIGATION)
-
Bouton de commande de la températe
-
Bouton HEAT (chauffage)
- Indicateur de minuterie de chauffage-climatisation
- touche de dégivrage avant
-
bouton de commande de la vitesse du ventilateur
-
Interrupteur du dégivre de lunette arrêté et de rétroviseurs extérieurs
- bouton de commande d'entrée d'air
- Bouton ON-OFF (en fonction-hors fonction) du système de chauffage-climatisation
- Bouton AUTO (automatique) du système de chauffage-climatisation EN FONCTION
- Bouton MODE (commande manuelle de direction de l'air)
- Bouton A/C (climatisation EN FONCTION-HORS FONCTION)
Fonctionnement automatique (AUTO)
Le mode AUTO (automatique) peut être utilisé toute l'année étant donné que le système contrôle automatiquement une température constante, la répartition du débit d'air et la vitesse du ventilateur.
- Appuyez sur le bouton AUTO (automatique). Le témoin AUTO (automatique) s'allumera.
- Appuyez sur la touche de commande de température pour régler la température voulue.
Lorsqu'une des fonctions suivantes est activée, le témoin AUTO (automatique) s'éteint.
-Le bouton (HEAT (chauffage)) ou A/C (climatisation) est enforcé.
- La commande de vitesse ou de débit d'air du ventilateur est actionné.
Toutefois, les fonctions qui n'ont pas eteutilisées continuentefonctionner enmode AUTO (automatique).
REMARQUE :
- Si le bouton de commande de vitesse du ventilateur, le bouton MODE ou le bouton de commande d'entrée d'air est activé lorsque le mode AUTO (automatique) est utilisé, tous les autres boutons fonctionnent en mode AUTO (automatique).
Lorsque le témoin AUTO (automatique) s'allume, la consommation d'énergie du climatiseur peut être réduite par rapport à la même consommation lorsque le témoin AUTO (automatique) est étéint.
Le témoin HEAT (chauffage) et le témoin A/C (climatisation) s/allument en fonction des modes de fonctionnement du système de chauffage-climatisation.
| Mode de fonctionnement | Témoin A/C (climatisation) | Témoin HEAT (chauffage) |
| Refroidissement (chauffage hors fonction) | ON (en fonction) | OFF (hors fonction) |
| Chauffage (climatisation hors fonction) | OFF (hors fonction) | ON (en fonction) |
Fonctionnement manuel
Le mode manuel permet de régler le chauffage et le climatiseur à la température voulue.
Le témoin HEAT (chauffage) et le témoin A/C (climatisation) s'allument en fonction des modes de fonctionnement.
| Mode de fonctionnement | Témoin A/C (climatisation) | Témoin HEAT (chauffage) |
| Refroidissement (chauffage hors fonction) | ON (marche) | OFF (hors fonction) |
| Chauffage déshumidié | ON (marche) | ON (marche) |
| Chauffage (climatisation hors fonction) | OFF (hors fonction) | ON (marche) |
| Ventilation | OFF (hors fonction) | OFF (hors fonction) |
Refroidissement :
- Appuyez sur le bouton A/C (climatisation) pour allumer le témoin A/C (climatisation).
- Appuyez sur le bouton HEAT (chauffage) pour eteindre le témoin HEAT (chauffage).
-La température régée ne doit pas être supérieure à la température extérieure. Cela pourrait empêcher la température d'être contrôle correctement.
- Une brume visible peut s'échapper des bouches d'air par temps chaud et humide, car l'air est très rapidement refroidi. Il ne s'agit pas d'une anomalie.
Chauffage déshumidifié :
- Appuyez sur le bouton A/C (climatisation) pour allumer le témoin A/C (climatisation).
- Appuyez sur le bouton HEAT (chauffage) pour allumer le témoin HEAT (chauffage)
REMARQUE:
La consommation d'énergie électrique du système de chauffage-climatisation augmente lorsque le témoin du bouton A/C (climatisation) et le témoin du bouton HEAT (chauffage) s'allument simultanément. Par consequent, l'autonomie peut être réduite.
Chauffage (climatisation hors fonction) :
- Appuyez sur le bouton HEAT (chauffage) pour allumer le témoin HEAT (chauffage).
- Appuyez sur le bouton A/C (climatisation) pour eteindre le témoin A/C (climatisation).
-La température régée ne doit pas être inférieure à la température extérieure. Cela pourrait empêcher la température d'être contrôle correctement. - En cas d'embuage des glaces, utilisez le chauffage déshumidifié au lieu du chauffage avec la climatisation hors fonction.
Ventilation :
Appuyez sur le bouton HEAT (chauffage) et le bouton A/C (climatisation) pour eteindre les temoins correspondants.
REMARQUE:
Le mode de ventilation nécessite une consommation de puissance inférieure, ce qui augmente la distance de croisière.
- En mode de ventilation, la température n'est pas indiquée sur l'écran de navigation ou sur l'affichage du climatiseur.
Dégivrage ou désembuage déshumidifié :
Appuyez sur le bouton de dégivrage avant (le tímein s'allume).
- Pour éliminerrapidement l'humidité ou la buée sur la glace avant, réglez la températe à une position élevée et la vitesse du ventilateur à un niveau maximal.
- Appuyez de nouveau sur le bouton de dégivrage avant une fois le pare-brise dégagé (le témoin s'éteint).
Lorsque you appuyez sur le bouton de dégivrage avant, le climatiseur et le réchauffeur s'activent automatiquement pour désembuer le pare-brise. Le mode de recirculation d'air extérieur est sélectionné pour optimiser les performances de désembuage.
Commande de vitesse du ventilateur :
Appuyez sur le bouton de commande de vitesse du ventilateur pour commander manuellement la vitesse de ventilateur.
Appuyez sur le bouton AUTO pour passer en mode automatique de la vitesse du ventilateur.
Commande de début d'air :
Appuyez sur le bouton MODE pour modifier le mode de début d'air.

L'air circule par les bouches d'air centrales et laterales.

L'air circule par les bouches d'air centrales et laterales ainsi que par les bouches d'air du plancher.

L'air circule principalement par les bouches d'air du plancher.

L'air circule par les bouches d'air du dégivre et du plancher.

L'air circule par les bouches d'air du dégivreur.
Commande de la température :
Appuyez sur le bouton de commande de température pour régler la température voulue.
Recirculation de l'air :
Appuyez sur le bouton de commande d'entrée d'air pour modifier le mode de circulation d'air. Lorsque le témoin s'alume, l'air qui circule est recyclé dans le vehicule.
Lorsque la température extérieure dépasse 21 C (70 F), le système de climatisation peut passer par défaut en mode de recirculation de l'air automatiquement pour réduire la consommation électrique globale. Pour quitter le mode de recirculation d'air, annulez la sélection de la commande de recirculation de l'air (le témoin s'éteint) pour acceder au mode air frais.
Circulation de l'air extérieur :
Appuyez sur le bouton de commande d'entrée d'air pour modifier le mode de circulation d'air. Lorsque le témoin ne s'allume pas, l'air qui circule est aspiré de l'extérieur du vehicule.
Commandedadmissiond'air automatique:
L'entrée d'air est contrôle automatique en mode AUTO. Lorsque la température extérieure dépasse 21 C (70 F), le système de climatisation peut passer par défaut en mode de recirculation de l'air automatiquement pour réduire la consommation électrique globale.
Pour régler le mode de commande automatique, maintenez enforcé le bouton de
commande d'entrée d'air . Le témoin clignotera deux fois et la circulation d'air interieur et extérieur sera alors contrôle automatique. En mode automatique, le témoin s'allume lorsque la fonction de recirculation d'air interieur est activée.
Interrupteur du dégivre de lunette et de rétroviseur extérieur (selon l'équipement):
Pour obtenir des renseignements supplémentaires, consultez la section « Interrupteur du dégivre de lunette et de rétroviseurs extérieurs (selon l'équipement) » dans le chapitre « Commandes et instruments » duprésent manuel
Pour désactiver le système
Pourmettre horsfonctionle systèmede chauffage-climatisation,appuyez sur le boutonON-OFF(enfonction-horsfonction) du système de chauffage-climatisation.Lememe mode de fonctionnement (chauffage ou climatisation) qui était activé au moment ou le système a été mis hors hors fonction est activé lorsquel systemé est remis en fonction.
MINUTERIE DE CHAUFFAGE-CLIMATISATION
Cette fonction préchauffe ou refroidit d'avance l'habitacle à une température avant la conduite. ce qui aide à réduire la consommation d'énergie de la batterie au lithium-ion.
La minuterie de climatisation actionne le climatiseur au moyen de l'énergie du chargeur ou de la batterie au lithium-ion. Lorsque le connecteur de chargement est raccordé au vehicule, l'énergie électrique provenant de la batterie au lithium-ion n'est pas utilisé.
La minuterie de climatisation peut enregistrer deux réglages.
Une fois la minuterie de climatisation reglee, la climatisation se déclenchera pendant cette durée définie. Il n'est pas nécessaire de régler la minuterie de chauffage-climatisation tous les jours.
*modetes avec dispositif d'aide a la navigatio

AVERTISSEMENT
Meme si la minuterie de climatisation est reglee, la temperture dans l'habitacle peut devenir elevée ou basse si le système s'arrête automatiquement. Ne laissez pas seuls dans votre vehicule des enfants ou des personnes qui ont habituèlement besoin de l'aide d'autres personnes. Les animaux domestiques également ne doivent pas être laissés sans surveillance dans le vehicule. Par temps chaud et ensoileillé, la temperture de l'habitacle peut rapidement s'élever au point de provoquer des léSIONs graves voire mortelles à une personne ou à un animal enfermé dans le vehicule. De plus, par temps froid, la temperture dans le vehicule peut baiser au point de provoquer des blessures graves ou mortelles à des personnes ou à des animaux.

Comment régler la minuterie de chauffage-climatisation :
- Bouton OK
- ▲▼Bouton
- Bouton de return
- Bouton


Type A (modèles avec dispositif d'aide à la navigation)
- Appuyez sur le bouton ↓ ▷ pour sélectionner l'option « Settings » (réglages) à l'affichage multifonction.
- Appuyez sur le bouton ▲▼ pour sélectionner l'option « EV Settings » (réglages du système de vehicule électrique), puis appuyez sur le bouton OK.
- Appuyez sur le bouton ▲▼ pour sélectionner l'option « Ctrl. climat Minuteur1 » ou « Ctrl. climat Minuteur2 », puis appuyez sur le bouton OK.
Type B (modèles sans dispositif d'aide à la navigation)
- Appuyez sur le bouton ▲▼ pour sélectionner l'option « Minuteur», puis appuyez sur le bouton OK et activez le réglage. Le tímoin s'allume lorsque le réglage de la minuterie est en position activée.
- Appuyez sur le bouton ▲▼ pour sélectionner l'option « Heure de départ», puis appuyez sur le bouton OK.
-
Appuyez sur le bouton ▲ ↓ pour sélectionner l'option « Heure», puis appuyez sur le bouton OK.
-
Appuyez sur le bouton ▲▼ pour sélectionner l'option « Minute», puis appuyez sur le bouton OK. Vous pouvez modifier le réglage par incréements de 10 minutes.
- Appuyez sur le bouton ▲ ▼ pour sélectionner l'option « Température climat», puis appuyez sur le bouton OK.
- Appuyez sur le bouton ▲▼ pour régler la température de chauffage-climatisation, puis appuyez sur le bouton OK.
-
- Appuyez sur le bouton ▲ ▼ pour sélectionner l'option « Jours », puis appuyez sur le bouton OK. Le jour courant de la période s'affiche en surbrillance.
Appuyez sur le bouton ▲ ▼ pour sélectionner les jours de la semaine pour lesquels vous souhaitez activer le système de chauffage-climatisation, puis appuyez sur le bouton OK. Le moyen du bouton sélectionné s'allume.
-
- Une fois le jour de la période régé, appuyez sur le bouton Back (retour) et returnez à l'écran précédent.
Le jour régle de la semaine s'allume en blanc.
-
Une fois le réglage terminé, placez le commutateur principal à la position OFF (hors fonction), puis branchez le connecteur de charge sur le vehicule.
-
modèles avec dispositif d'aide à la navigation
INFORMATION :
La minuterie de climatisation La minuterie ne s'active pas si le connecteur de charge n'est pas raccordé au vehicule. Lorsque l'options « Fonctionnmt. Batter. OK » est activée et le connecteur de chargement n'est pas connecté au vehicule, la minuterie de chauffage-climatisation s'active pendant 15 minutes.
Lorsque la température extérieure est élevée, la température interieure peut ne pas atteindre la température définie en moins de 15 minutes.
DÉSACTIVEZ l'options « Fonctionnmt. Batter. OK » lorsqu'il n'est pas nécessaire de faire fonctionner la minuterie de climatisation afin d'éviter que la batterie au lithium-ion se décharge.
Pour les modeles sans dispositif d'aide à la navigation, la minuterie de chauffage-
climatisation fonctionne de façon répétée tous les jours une fois qu'elle est activée.
Conseils d'utilisation de la minuterie de chauffage climatisation chauffage-climatisation
- La minuterie de climatisation ne démarre que lorsque le commutateur principal est à la position LOCK (antivol-verrouillé)/OFF (hors fonction) ou ACC (accessoires).
Pour désactiver la fonction de minuterie de chauffage-climatisation, désactivez les réglages « Climate Ctrl. Timer1 » (Minuterie de chauffage-climatisation 1) et « Climate Ctrl. Timer2 » (Minuterie de chauffage-climatisation 2) à l'écran du système d'information video au moyen du bouton
du volant. Les réglages de l'heure de début et de fin ne sont pas effacés même si la fonction de minutesie de chauffage-climatisation est désactivée.
- Pendant l'utilisation de la minuterie de chauffage-climatisation, l'indicateur de minuterie de chauffage-climatisation et les témoins d'état de chargement clignotent. Si la minuterie de chauffage-climatisation est réglée pour s'activer, l'in
dicateur de minuterie de chauffage-climatisation s'allume.*
- Si la minuterie de chauffage-climatisation commence à fonctionner lorsque le vehicule est en cours de chargement, la durée requise pour le chargement est plus longue.
L'utilisation de la minuterie de chauffage-climatisation ou du système de chauffage-climatisation à distance dans un environnement où la température est BASSE peut réduire le débit de charge-ment de la batterie. -
Vous pouvez également modifier le réglage de la minuterie lors de l'utilisation de la minuterie de chauffage-climatisation. Lorsque vous placez le commutateur principal à la position OFF (hors fonction), le climatiseur démarre ou entre en mode d'attente en fonction des nouveaux rég吕es de la minuterie.
Lorsque la différence de température entre la température de réglage du climatiseur et la température à l'extérieur du vehicule est grande, la température dans l'habitacle ne peut être maintainue à la température de réglage. -
Les témoins d'etat de chargement s'allument dans un ordre spécifique lorsque le réchauffeur de batterie au lithium-ion est en fonction. Les témoins d'etat de charge-moment utilisent le même ordre pour indiquer le chargement de la batterie de 12 V, le fonctionnement de la minuterie de chauffage-climatisation ou le fonctionnement du système de chauffage-climatisation à distance. Les témoins d'etat de chargement ne changent pas si le réchauffeur de batterie au lithium-ion fonctionne en même temps que les systèmes ci-dessus.
-La température dans l'habitacle peut ne pas êtrecomfortable si vous entrez dans le vehicule trop tôt avant l'heure programmée de départ ou trop longtemps après cette heures.
La climatisation est limitée à la capacité en puissance électrique lorsque le connecteur de charge est branché. La température peut donc ne pas atteindre la température régée en raison des limitations des performances de la climatisation, si la température ambiente est excessively élevé ou BASSE, ou si le
connecteur de charge est branché sur une prise de fiche de 120V
-La minuterie de climatisation active la fonction de chauffage-climatisation afin de fournir une température comfortable dans l'habitacle à l'heure programmée de départ. Le système de chauffage-climatisation est reglé pour s'arrêté à l'heure programmée de départ.
- Selon les installations du poste de charge-ment, celui-ci peut être par moment indisponible pour les opérations de charge-ment. Confirmez la disponibilité de l'installation de chargement avant de régler la minutesie de chauffage-climatisation. Assurez-vous que le commutateur principal du chargeur est activé lorsque vous reglez la minutesie de chauffage-climatisation.
Lorsque le commutateur principal est DÉSACTIVÉ après la modification du réglage, le nouveau réglage s'applique.
*modèles avec dispositif d'aide à la navigation
Système de chauffage-climatisation à distance
Ce vehicule est muni d'un dispositif de communication appelé TCU (module de commande de la télématique). La communication entre cette unité et le Centre de données Nissan permet des services de fonctions à distance variés.
Mème en étant éloigné du vehicule, vous pouvez démarrer le système de chauffage-climatisation en accédant au site Web du centre de données Nissan au moyen d'un téléphone cellulaire ou d'un ordinateur personnel.
Lors de la mise en fonction, ou à l'heure de départ réglee, le centre de données Nissan accede au vehicule. Lorsque le vehicule recoit une commande à distance, le système de chauffage-climatisation s'ACTIVE immédiatement et fonctionne aussi longtemps que spécifique. Vous pouvez confirmer que le fonctionnement du système de chauffage-climatisation est ACTIVÉ ou DÉSACTIVÉ en accédant au site internet ou par courriel.
Vou devez terminer voire inscription au systeme NissanConnect ^MD EV & Services avant d'utiliser ce service. Pour obtenir de plus amples renseignements, consultez le manuel d'utilisation du dispositif d'aide à la navigation LEAF.

AVERTISSEMENT
- Les ondes radioélectriques peuvent nuir au fonctionnement des appareils médicaux électriques. Avant d'utiliser le système de chauffage-climatisation à distance, communique avec le fabricant de l'appareil Médicale électrique pour obtenir des renseignements supplémentaires et pour connaître les effets possibles pour les personnes qui portent un stimulator cardiaque.
- Mème si le réglage du système de chauffage-climatisation à distance est effectué, la température dans l'habitacle peut devenir élevé si le système s'arrête automatiquement. Ne laissez pas seuls dans votre vehicule des enfants ou des personnes qui ont habituèlement besoin de l'aide d'autres personnes. Les animaux domestiques également ne
doivent pas etre laisses sans surveillance dans le vehicule.Par temps chaud et ensoleille, la temperature de l'habitacle peut rapidement s'élever au point de provoquer des léasons graves voire mortelles à une personne ou à un animal enfermé dans le vehicule.
REMARQUE :
Pour vérifier I'etat de chargement de la batterie au lithium-ion à l'aide d'un téléphone intelligent ayant accès à internet ou d'un ordinateur personnel, les conditions suivantes doivent être presents.
- Le vehicule doit être situé dans une zone de couverture du réseau téléphonique de téléphone cellulaire.
- Le téléphone cellulaire doit être situé dans une zone de couverture du réseau téléphonique de téléphone cellulaire.
-
L'ordinaire doit être connecté à Internet.
-
Certains téléphones cellulaires ne sont pas compatibles avec ce système et ne peuvent pas etre utilisés pour vérifier l'etat de chargement de la batterie au lithium-ion. Vérifie la compatibilité préalablement.
Conseils d'utilisation
Lorsque le connecteur de charge est branché, le système de chauffage-climatisation fonctionne en utilisant la puissance electrique. Lorsque le connecteur de charge est débranché du vehicule, le système de chauffage-climatisation fonctionne en utilisant la puissance électriche de la batterie du vehicule.
Le système de chauffage-climatisation peut etre mis en fonction pendant deux heures au maximum lorsque le connecteur de charge est branché sur le vehicule, ou pendant 15 minutes au maximum lorsque le connecteur de charge est débranché.
Le système de chauffage-climatisation à distance ne commence à fonctionner que lorsque le commutateur principal est à la position LOCK (antivol-verrouillé)/OFF (hors fonction) ou ACC (accessoires).
Le fonctionnement du système de chauffage-climatisation à distance n'est pas disponible lorsque le vehicule est dans une zone hors de portée de communication cellulaire.
- La communication n'est pas disponible lorsque le vehicule n'est pas utilisé pendant au moins deux semaines. Lorsque le commutateur principal est placé à la position ON (marche), vous pouvez rétablier la communication avec le centre de données Nissan.
- La climatisation est limitée à la capacité en puissance électrique lorsque le connecteur de charge est branché sur le vehicule. Ainsi, la température peut ne pas atteindre un niveau comfortable à cause des limitations des performances de la climatisation, si la température extérieure est excessively élevé ou BASSE, ou si le connecteur de charge est branché sur une prise de 110 à 120 V.
- Si le commutateur principal est à la position ON (marche) ou si le connecteur de charge est débranché alors que le système de chauffage-climatisation est activé, le fonctionnement du système de chauffage-climatisation à distance est automatiquement arrêté.
- Si le fonctionnement du système de chauffage-climatisation à distance démarre alors que le vehicule est en mode de charge normale, le système de chauffage-climatisation fonctionne en mode de priorité de chauffage-climatisation et le chargement se poursuit.
- Si le fonctionnement du système de chauffage-climatisation à distance démarre et que le chargement est arrêté alors que le vehicule est en mode de charge rapide, le fonctionnement du système de chauffage-climatisation s'arrête également.
- Si le connecteur de charge rapide est branché et que le chargement n'est pas effectué, le fonctionnement du système de chauffage-climatisation à distance démarre en utilisant l'énergie électrique de la batterie du vehicule.
Entretien du système de chauffage-climatisation
Le système de chauffage-climatisation de votre vehicule NISSAN contient un fluide frigorigène mis au point en tenant compte de l'environnement. Ce fluide frigorigène n'a pas d'effet nuisible sur la couche d'ozone. L'entretien de votre système de chauffage-climatisation NISSAN nécessite l'utilisation d'équipements de chargement et de lubri-fiants spéciaux. L'utilisation de fluids frigorigènes ou de lubrifiants inappropriés risque d'endommager gravement libre le système de chauffage-climatisation. Pour obtaining des renseignements supplémentaires, consultez la section « Contenances, liquides et lubrifiants recommends » du chapitre « Données techniques et information au consommateur »
Nous vous recommendons de visiter un concessionnaire NISSAN LEAF certifié pour effectuer l'entretien du système de chauffage-climatisation écologique de votre vehicule.
SYSTEME AUDIO (MODELES SANS SYSTEME DE NAVIGATION)
RADIO
Placez le commutateur principal à la position ACC (accessoires) ou ON (marche), puis appuyez sur le bouton (en fonction) pourmettre la radio en fonction. Si vous ecoutez la radio pendant que le témoin PRÉT à démarrer est éteint,le commutateur principal doit être place à la position ACC (accessoires).
La qualité de la réception radio varie selon la force du signal émis, la distance de l'émetteur radio, la présence d'immeubles, de points, de montagnes ou de tout autre facteur externe. Les variations occasionnelles de la qualité de réception sont en général causées par de tels facteurs.
L'utilisation d'un téléphone cellulaire dans ou à proximé d'un vehicule peut promo- mettre la qualité de la réception radio.
Réception radio
La radio de votre vehicule NISSAN compte de circuits électroniques d'avant-garde qui améliorent la qualité de la réception radio. Ces circuits sont concus pour accroître la plage de réception de même que la qualité de cette-ci.
Cependant, certaines caractéristiques générales propres aux fréquences radio AM et FM peuvent compromètre la qualité de la réception radio dans un vehicule qui roule, et ce, peu importe la qualité de l'équipèment utilisé. Ces caractéristiques sont normales dans une zone de réception donnée et n'indiquent pas une anomalie de la radio de votre vehicule NISSAN.
Les conditions de réception radio changent constamment du fait que votre vehicule se déplace. Les immeubles, les montagnes, la distance de la source du signal et l'interférence causée par les autres vehicules peuvent compromètre la qualité de la réception. Vous trouvez ci-après une description des facteurs qui peuvent compromètre la réception radio dans votre vehicule.
Certains téléphones cellulaires ou d'autres dispositifs peuvent cause de l'interfERENCE ou produit un bourdonnement dans les haut-parleurs du système audio. Rangez le dispositif en un autre endroit pour tenter de réduire ou d'éliminer le bruit.

RéCEPTION RADIO FM
Portée : en mode FM mono (un seul canal), la portée de la bande FM se situe généralement entre 40 et 48 kilomètres (25 et 30 milles) et est légèrement supérieur à la portée offerte par le mode FM stéreo. Des facteurs externes peuvent par-fois nuir à la réception du signal émis par une station FM même si cette station se trouve à moins de 40 kilomètres (25 milles). La puissance du signal FM est inversement
proportionnelle à la distance entre l'émetteur et le récepteur. Les signaux FM voyage gent en ligne droite etprésent des caractéristiquessemblables à celles de la lumière.Par exemple,ils sont réfléchis par les objets.
Affaiblissement et dérive : lorsque la distance qui sépare votre vehicule de l'émetteur de la station s'accroit, les signaux ont tendance à s'affaïblir ou à dériver.
Parasites et fluctuations : lorsqu'il y a interférence du signal causée par des immeubles, des montagnes ou par la position de l'antenne (cette situation se produit généralement à une plus grande distance de l'émetteur de la station), des parasites ou des fluctuations peuvent se produit. Vous pouvez atténuer ces bruits en réduisant l'intensité des tonalités aigués.
Réception par trajets multiples : en raison des caractéristiques de réflexion des signaux FM, des signaux directs et réfléchis atteignent le récepteur en même temps. Les signaux peuvent se neutraliser mutuellement et cause un battement ou une perte momentanée du son.
RéCEPTION RADIO AM
Les signaux AM, du fait de leurasse fréquence, peuvent contourner des objets et rebondir sur le sol. De plus, les signaux re-bondissent sur l'ionosphere et reviennent vers la terre. Ces caractéristiques font que les signaux AM sont aussi sujets à des interférences au cours de leur trajet de l'émetteur au récepteur.
Baisse d'intensité : ce phénomène se produit lorsque le vehicule passée sous un viaduc ou dans des zones compteant beaucoup d'immeubles élevés. Il peut également se produit pendant plusieurs secondes en cas de turbulences ionosphériques, et ce, même dans des endroits dépourvus d'obstacles.
Parasites :ils sont causés par les orages,les lignes d'alimentation électrique,les enseignes électriques et même les frais de circulation.
RéCEPTION RADIO PAR SATELLITE
La radio satellite peut ne pas fonctionner adequatelyment lorsqu'elle est installée pour la première fois ou si la batterie a eté remplacée. Cette condition est normale.
Assurez-vous que votre vehicule est à l'écart de tout édifice métallique ou de grande taille et attendez au moins 10 minutes, avec la radio satellite ACTIVÉE, pour recevoir toutes les données nécessaires.
Si la radio satellite en option et son antennen n'ont pas ete Installees ou si l'abonnement au service par radio satellite SiriusXM MD n'est pas en vigueur, aucune reception radio satellite ne sera possible et « NO SAT » (pas de reception satellite) s'affichera. La radio satellite n'est pas offerte en Alaska, a Hawai et a Guam.
Le rendement de la radio satellite peut être compromis si vous transportez des bagages qui bloquent le signal de la radio sur le porte-bagages de toit.
Évitez autant que possible de déposer des bagages sur l'antenne de réception satellite.
Une accumulation de glace sur l'antenne de la radio par satellite peut nuir au rendement de la radio par satellite. Enlevez la glace pour rétabrir la réception de la radio par satellite.

PRECAUTIONS CONCERNANT L'UTILISATION DU SYSTEME AUDIO
Lecteur de CD

MISE EN GARDE
- N'insérez pas de force un CD dans la fente du lecteur ou du chargeur de CD. Vous pourriez endommager le disque et/ou le chargeur ou le lecteur CD.
- Ne tentez pas d'insérer un CD lorsque le volet de chargement est fermé, car vous pourriez endomgar le disque ou le chargeur de CD.
- Vous ne pouvez charger qu'un seul CD à la fois dans le lecteur.
N'utilisez que des CD ronds de haute qualite, d'un diametre de 12 cm (4,7 po) et identifiés par le logo « COMPACT disc DIGITAL AUDIO » sur le disque ou l'emballage.
- Par temps froid ou pluvieux, le lecteur peut mal fonctionner en raison de l'humidité ambiente. Si tel est le cas, retirez le CD du lecteur et déshumidifiez ou aéréz ce dernier.
- Le lecteur peut sauter des pistes lorsque vous conduisez sur une route cahoteuse.
Le lecteur de CD peut ne pas fonctionner lorsque la température de l'habitatcle est très élevée ou très BASSE. Laissez l'habitatcle se refroidir ou se rechauffer avant d'utiliser le lecteur.
- N'exposez pas le CD directement aux rayons du soleil.
- Les CD en mauvais état, sales, rayés ou couverts de traces de doigts peuvent ne pas fonctionner correctement.
- Les CD suivants peuvent ne pas fonctionner ajustement.
- CD de contrôle par duplication (CCCD)
- CD inscriptibles (CD-R)
- CD réinscriptibles (CD-RW)
N'utilisez pas les CD suivants, car ils peuvent provoquer un mauvais fonctionnement du lecteur de CD:
- CD de 8 cm (3,1 po) avec un adaptorteur
- CD qui ne sont pas ronds
- CD portant une étiquette en papier
-
CD déformés, rayés ou dont les rebords ne sont pas réguliers
-
Ce système audio est créé uniquely pour la lecture de CD préenregistrés. Elle n'est pas conscience pour graver des CD.
- Sile CD ne peut être lu, un des messages suivants s'affiche.
CHECK DISC (verifiez le disque):
Assurez-vous que le CD est correctement inséré (l'étiquette est orientée vers le haut, etc.).
Assurez-vous que le CD n'est pas pié, déformé ou rayé.
PRESS EJECT (éjectez le disque):
Il s'agit d'une erreur qui relève d'une température excessive dans le lecteur. Retirez le CD en appuyant sur le bouton d'éjection. Réinsérez le CD après un bref moment. Le CD peut être lu lorsque la température revient à la normale.
Cette chaine stéreo ne permet pas la lecture de ce type de fichier (CD en format MP3 ou WMA seulement [selon l'équipment]).
Fichiers audio comprimés (MP3 ou WMA)
Terminologie
- MP3 - MP3 est la forme abrégée de Moving Pictures Experts Group Audio Layer 3. MP3 est le format de fichier audionumerique compré le plus connu. Ce format offre une qualité pres de celle du CD, mais à une fraction du volume des fichiers audio normaux. La conversion MP3 d'une piste audio à partir d'un CD-ROM peut réduire le volume du fichier d'un rapport d'environ 10:1 sans perte perceptible de la qualité. La compression MP3 supprime les segments redondants et inutiles d'un signal sonore que l'humain ne peut entendre.
WMA - Windows Media Audio (WMA)* est un format audio compré créé par Microsoft comme solution de rechange au format MP3. Le codec WMA offre uneCOMMUE compression de fichiers que le codec MP3, permettant de stocker plus de pistes audionumeriques dans un volume identique aux MP3 à la même qualité.
Débit binaire - Le débit binaire dénote le nombre de bits par seconde utilisé par un
fichier musical numérique. Le volume et la qualité d'un fichier audionumérique comprime sont déterminés par le débit binaire de codage du fichier.
- Fréquence d'échantillonnage - La fréquence d'échantillonnage est la fréquence de conversion des échantillons d'un signal de l'analygique au numérique (conversion A-N) par seconde.
- Multisession - C'est l'une des méthodes utilisées pour enregistrer des données sur un support. Un disque simple session est écrit en une seule fois, tandis qu'un disque multisession est écrit en plusieurs fois.
- Étiquette ID3 ou WMA - L'étiquette ID3 ou WMA fait partie du fichier MP3 ou WMA code qui contient des données au sujet du fichier musical numérique, comme le titre de la piece musicale, le nom de l'artiste, le débit binaire de codage, la durée des pistes, etc. Les données de l'étiquette ID3 sont affichées dans la ligne Nom de l'artiste et titre de la piece musicale de l'écran.
*Windows MD et Windows Media MD sont des marques déposées ou des marques de commerce de Microsoft Corporation aux États-Unis et dans d'autres pays.

Tableau de I'ordre de lecture
Ordre de lecture
L'ordre de lecture d'un CD comportant des fichiers MP3 ou WMA est tel qu'illustré.
- Le nom des dossiers qui ne contiennent pas de fichiers MP3 ou WMA n'apparait pas à l'écran.
- S'il y a un fichier au niveau supérieur du disque, « Dossier source » s'affiche.
L'ordre de lecture est l'ordre d'écriture des fichiers par le logiciel de lecture. De ce fait, les fichiers peuvent ne pas etre lus dans l'ordre youlu.
Tableau des caractéristiques
| Disques acceptés | CD, CD-R, CD-RW | ||
| Systèmes de fichiers acceptés | ISO 9660 NIVEAU 1, ISO 9660 NIVEAU 2, Apple ISO, Romeo, Joliet * ISO 9660 niveau 3 (écriture par pa-quets) n'est pas accepté. | ||
| Versions prises en charge*1 | MP3 | Version | MPEG1, MPEG2, MPEG2.5 |
| Fréquence d'échantillonnage | 8 kHz à 48 kHz | ||
| Débit binaire | 32 kbps à 320 kbps, VBR | ||
| WMA | Version | WMA7, WMA8, WMA9 | |
| Fréquence d'échantillonnage | 32 kHz à 48 kHz | ||
| Débit binaire | 32 kbps à 320 kbps, VBR | ||
| Données d'étiquette | Étiquette ID3 VER1.0, VER1.1, VER2.2, VER2.3 (MP3 seulement), VER2.4 | ||
| Niveaux de dossiers | Niveaux de dossiers : 8, nombre maximal de dossiers : 255 (y compris le dossier source), fichiers : 999 (maximum de 255 fichiers par dossier) | ||
| Codes de caractères affichables*2 | 01 : ASCII, 02 : ISO-8859-1, 03 : UNICODE (UTF-16 BOM Big Endian), 04 : UNICODE (UTF-16 Non-BOM Big Endian), 05 : UNICODE (UTF-8) | ||
1 Les fichiers créés avec une combinaison de fréquence d'échantillonnage de 48 kHz et un débit binaire de 64 kbps ne peuvent être lus.
2 Les codes disponibles dépendent du média, des versions et de l'information qui doit s'afficher.
Guide de dépannage
| Symptôme | Cause et mesure corrective |
| Lecture impossibly | Vérifiez si le disque a été correctement inséré. |
| Vérifiez si le disque est rayé ou sale. | |
| Vérifiez s'il y a de la condensation dans le lecteur. Le cas échéant, attendez que la condensation soit éliminée (environ 1 heures) avant d'utiliser le lecteur. | |
| S'il y a une erreur causée par l'augmentation de température, le lecteur de CD fonctionnera correctement lors le retard à la température normale. | |
| Si le CD compte à la fois des fichiers CD musicaux (données CD-DA) et des fichiers MP3 ou WMA, seules les fi-chiers CD musicaux (données CD-DA) sont lus. | |
| Les fichiers avec des extensions autres que « .MP3», « .WMA», « .mp3 » ou « .wma » ne peuvent pas être lus. De plus, les codes de caractère et le nombre de caractères par nom de dossier et nom de fichier doivent être conformes aux normes. | |
| Vérifiez si l'étape de finalisation du disque ou la session de fermeture a bien été effectué. | |
| Vérifiez si le disque est protégé par des droits d'auteur. | |
| Mauvaise qualité sonore | Vérifiez si le disque est rayé ou sale. |
| Le débit binaire peut être trop faible. | |
| Le temps est relativement long avant que la musique commence. | S'il y a de nombreux dossiers ou niveaux de fichiers sur le disque MP3/WMA, ou s'il s'agit d'un disque multises-sion, la lecture peut demander un certain temps avant de commencer. |
| La musique est interrompue ou des passages sont ignorés | La combinaison logiciel et matériel d'écriture ne correspond pas ou la vitesse d'écriture, la profondeur d'écriture, la durée d'écriture, etc. peuvent ne pas correspondre aux caractéristiques. Tentez d'utiliser la vitesse d'écriture la plus vite. |
| Des passages sont ignorés lorsque le débit binaire est élevé | Des passages peuvent êtreIgnorés en présence de grandes quantités de données, comme dans le cas de don-nées à débit binaire élevé. |
| Passage immédiat à la pièceusicale sui-vante au moment de la lecture | Lorsqu'un fichier autre que MP3 ou WMA reçoit une extension autre que « .MP3», « .WMA», « .mp3 » ou « .wma», ou lorsque la lecture est interdite en vertu des droits d'auteur, il s'écoule cinq secondes sans son et, ensuite, le lecteur passée à la piste suivante. |
| Les pièces musicales ne sont pas lues dans l'ordre youlu | L'ordre de lecture est l'ordre d'écriture des fichiers par le logiciel de lecture. De ce fait, les fichiers peuvent ne pas être lus dans l'ordre youlu. |
Port de connexion USB (bus série universal)

AVERTISSEMENT
Ne branchez pas le dispositif USB, ne le débranchez pas ou ne l'utilisez pas pendant que vous conduisiez. Une telle manoeuvre peut être une source de distraction. Si vous étés distrustait, vous pourriez perdre la maitrise de votre vehicule et causer un accident ou des blessures graves.

MISE EN GARDE
- N'exercez aucune pression sur le dispositif USB pour l'insérer dans le port USB. Si vous insérez le dispositif USB de travers ou à l'envers dans le port, vous risquez d'endommager le port. Assurez-vous que le dispositif USB est branché correctement dans le port USB.
-
N'empoignez pas le couvercle du port USB ( selon l'équipement) lorsque vous tirez le dispositif USB hors du port. Vous pourriez endommager le port et le couvercle.
-
Ne laissez pas le cable USB dans un endroit où il pourrait etre tiré par inadvertance. Si vous tirez sur le cable, vous risquez d'endommager le port.
Le vehicule n'est pas muni d'un dispositif USB. Les dispositifs USB doivent etre achetés séparément au besoin. Ce système ne peut pas etre utilisé pour formater les dispositifs USB. Pour formater un dispositif USB,utilisez un ordinateur personnel. Pour des raisons reglementaires,dans certains états ou certaines régions,le dispositif USB pour les sièges avant n'effectue la lecture que du son sans afficher les images,meme lorsque le vehicule est stationné.
Ce système est compatible avec différents dispositifs de mémoire USB, de disques durs USB et de lecteurs iPodMD. Certains dispositifs USB pourrait ne pas être pris en charge par ce système.
Les dispositifs USB compteant plusieurs partitions pourraient ne pas etre lus correctement.
Certains caractères utilisés dans d'autres langues (le chinois ou le japonais, par exemple) pouraient ne pas s'afficher correctement sur l'écran. Il est recommendé d'utiliser les caractères de l'anglais avec les dispositifs USB.
Notes générales concernant l'utilisation de dispositifs USB :
Pour obtenir des renseignements supplémentaires, consultez le guide du contrôle du fabricant de l'appareil quant à l'usage et à l'entretien appropriés de l'applaireil.
Notes concerning l'utilisation du iPodMD:
iPod MD est une marque de commerce d'Apple Inc., déposée aux États-Unis et dans d'autres pays.
-Si vous branchez incorrectement le iPodMD, une coche se met a clignoter. Assurez-vous toujours que le iPodMD est branché correctement.
Le iPod Nano ^MD (1 ^re génération) peut rester en mode d'avance ou de return rapide s'il est branché pendant qu'il est en mode de recherche. Si cela se produit, réinitialissez le iPod ^MD manuellement.
Le iPod Nano ^MD (2 ^e génération) se met en mode d'avance ou de retardur rapide s'il est débranché pendant qu'il est en mode de recherche.
-Si le mode de lecture de l'iPod NanoMD (2^e generation) est modifie, il se peut qu'un titre de piece musicale erroné s'affiche.
- Les livres audio peuvent ne pas etre lus dans le meme ordre que celui qui est affiche sur le iPodMD.
- Les gros fichiers video ralentissent le iPodMD. Par conséquent, l'écran d'affchage central du vehicule peut s'obscürir momentanément, mais cela est de courte durée.
- Si un iPodMD sélectionne automatiquement de gros fichiers video alors qu'il est en mode de lecture aléatoire, l'écran d'affichage central du vehicule peut s'obscürcir momentanément, mais cela est de courte durée.
Diffusion audio Bluetooth
- Certains appeareils audio Bluetooth™ pourraient ne pas être reconnus par le système audio du vehicule.
- Il est nécessaire de configurer la connexion sans fil entre l'appareil audio Bluetooth™ compatible et le module Bluetooth™ du vehicule avant d'utiliser la fonction audio Bluetooth™.
- Le fonctionnement de l'appareil audio BluetoothMD varie selon les modèles d'appareil. Assurez-vous de connaître le fonctionnement de votre apparéil audio avant de l'utiliser avec ce système.
-
L'appareil audio BluetoothMD peut s'arrêt dans les conditions suivantes :
-
Réception d'un appel au moyen du système téléphonique mains libres.
-
Vérification de la connexion au téléphone mains libres.
-
Ne placez pas l'appareil audio Bluetooth™ dans un endroit entoure de métal ou loin du module Bluetooth™ du vehicule pour préserver la qualité de la tonalité et prévenir les interruptions de la connexion sans fil.
-
Lorsqu'un apparéil audio est connecté au moyen de la technologie sans fil Bluetooth ^MD , l'alimentation de batterie de l'apparéil peut se décharger plusrapidement que d'habitude.
- Ce système prend en charge le profil Bluetooth de diffusion audio avancée (A2DP, AVRCP).
Bluetooth® BLUETOOTH™ est une marque déposée de Bluetooth SIG, Inc. et utilise sous licence par Visteon.

RADIO FM-AM-SAT AVEC LECTEUR DE DISQUES COMPACTS
- Bouton d'éjection de CD
- Bouton RPT (répartition)
- Bouton RDM (lecture aléatoire)
-
Écran d'affichage
-
Bouton SCAN (balayage)
- Bouton SEEK/CAT (recherche)
- Bouton MENU iPod
-
Bouton BACK (retour)
-
Bouton ENTER/SETTING (enterréglage) et TUNE/SCROLL (syntonisation-)défilement
-
Boutons de seLECTION des stations (1 à 6)
- Bouton d'alimentation et de commande VOL (volume)
- Bouton DISP (affichage)
- Bouton MEDIA (multimédia)
- Bouton XM*
- Bouton FM·AM
*Si vous appuyez sur le bouton SiriusXM, la réception radio satellite ne sera pas disponible si le récepteur et l'antenne satellite optionnels ne sont pas installés ou si vous n'avez pas d'abonnement actif au service de radio satellite SiriusXMMD. La radio satellite n'est pas offerte en Alaska, à Hawaii et à Guam.
Pour obtenir de plus amples renseignements sur les précautions à prendre lors de l'utilisation, consultez la section « Précautions concernant l'utilisation du système audio » dans leprésent chapitre.
Fonctionnement principal de la chaine stéréo
Bouton d'alimentation et bouton de commande VOL (volume)
Placez le commutateur principal à la position ACC (accessoires) ou ON (marche), puis appuyez sur le bouton ① lorsque le système audio est hors fonction pour activer la dernière source audio en vigueur lors de la mise hors fonction de la chaine. Pendant que le système est activé, une pression sur le bouton ② a pour effet demettre le système hors fonction.
Tournez le bouton VOL (volume) pour régler le volume.
Votre vehicule peut etre doted'un système audio à commande de volume asservi à la vitesse. Lorsque cette caractéristique est active, le volume audio change en même temps que la vitesse de conduite.
Bouton ENTER/SETTING (entrer-réglage)
Lorsque l'écran audio s'affiche, appuyez sur le bouton ENTER/SETTING (enterréglage) pour afficher les réglages sur l'écran. Tournez le bouton TUNE/SCROLL (syntonisation-defillement) pour naviguer entre les options, puis appuyez sur le bouton ENTER/SETTING (entrerRéglage) pour faire une sélection.
| Audio | ||
| Graves | Règle les graves au niveau désiré. | |
| Aigus | Règle les aiguus au niveau désiré. | |
| Équilibre | Règle l'équilibre gauche-droit au niveau désiré. La fonction Équilibre règle le niveau sonore entre les haut-parleurs.gauche et droit. | |
| Fondu | Règle l'équilibre avant/arrête au niveau désiré. La fonction Fondu règle le niveau sonore entre les haut-parleurs avant et arrête. | |
| Luminosité | Réglez la luminosité pour ajuster l'apparace de l'écran de visualisation. | |
| Contraste | Réglez le contraste pour ajuster l'apparace de l'écran de visualisation. | |
| Réglage horloge | Permet à l'utilisateur de régler manuellement l'houre. Pour régler l'horloge :1. Appuyez sur le bouton ENTER/SETTING (entrer-réglage).2. Tournez le bouton TUNE/SCROLL (syntonisation-) pour selectionner l'options « Clock adjust » (Réglage horloge).3. Appuyez sur le bouton ENTER/SETTING (entrer-réglage).4. Tournez le bouton TUNE/SCROLL (syntonisation-) pour régler les heures.5. Appuyez sur le bouton ENTER/SETTING (entrer-réglage).6. Tournez le bouton TUNE/SCROLL (syntonisation-) pour régler les minutes.7. Appuyez sur le bouton ENTER/SETTING (entrer-réglage). | |
| On-Screen Clock (horloge à l'écran) | Cette fonction permet D'ACTIVER ou de DÉSACTIVER l'affichage de l'horloge dans le coin supérieur droit de l'écran d'affichage. | |
| RDS Display (affichage RDS) | Cette fonction permet D'ACTIVER ou de DÉSACTIVER l'information RDS affichée à l'écran pendant que la radio est en marche. | |
| Correction volume (volume asservi à la vitesse) | Règle la fonction de volume asservi à la vitesse, qui augmente le volume du système audio lorsque la vitesse du vehicule augmente. Réglez à « OFF » (hors fonction) pour désactiver la fonction. Plus le réglage est élevé, plus le volume augmente par rapport à la vitesse du vehicule. | |
| AUX Vol. (volume auxiliaire) | Choisissez un réglage de 0 à +3 pour contrôler l'augmentation du volume du son entrant d'un péri-phérique auxiliaire. Un réglage de 0 ne fournit aucune augmentation de volume supplémentaire. Un réglage de +3 fournit l'augmentation de volume la plus importante. | |
| Language select (s'élection de la langue) | Sélectionnez la langue d'affichage voulue du système à partir des options disponibles. | |
Les graves, les aigus, l'équilibre et le fondu peuvent également être ajustés en appuyant sur le bouton ENTER/SETTING (entrer-réglage) et en tournant le bouton de commande TUNE/SCROLL (syntonisation-defillement) jusqu'au réglage de votrechoix.
Pour annuler l'affichage à l'écran, appuyez sur le bouton DISP (AFFICHAGE). Vous pouvez ensuite écouter de la musique en cours de lecture. Si vous souhaitez afficher de nouveau l'écran, appuyez soit sur le bouton DISP (affichage) de nouveau ou appuyez sur le bouton FM·AM, ou le bouton de la radio satellite SiriusXM.
Bouton MEDIA (multimédia)
Lorsque vous appuyez sur le bouton MEDIA (multimédia), les affichages sont modifiés comme suit :
iPod^MD/USB→Audio
Bluetooth ^MD →AUX→CD→iPod ^MD /USB
Bouton BACK (retour)
Lorsque you appuyez sur le bouton BACK (RETOUR), l'écran précédent s'affiche à nouveau.
Bouton MENU iPod
Appuyez sur le bouton MENU de votre iPodMD pendant qu'il est connecté pour afficher le menu de fonctionnement du iPodMD à l'écran audio. Faites défilier la liste du menu au moyen du bouton TUNE/ SCROLL (syntonisationdéfilement). Appuyez sur le bouton ENTER/SETTING (entrez-réglage) pour selectionner une option de menu.
Pour obtenir des renseignements supplémentaires, consultez le manuel du propre taire de l'iPod MD.
Fonctionnement de la radio AM/FM/SAT
Sélection des bandes de fréquences FM-AM
La bande de fréquences est modifiée comme suit lorsque vous appuyez sur le bouton de sélection des bandes de fréquences:
AM FM1 FM2 AM
Sélection des bandes de fréquences XM
La bande de fréquences est modifiée comme suit lorsque vous appuyez sur le bouton de sélection des bandes de fréquences XM:
XM1→XM2→XM3→XM1
Lorsque you appuyez sur le bouton de sélection des bandes de fréquences XM alors que le commutateur principal est à la position ACC (accessoires) ou ON (marche), la radio s'allume à la première chaîne syntonisée.
La derniere station est également syntonise lorsque vous appuyez sur le bouton pour allumer la radio.
*Si vous appuyez sur le bouton XM, la réception radio satellite ne sera pas disponible à moins qu'un abonnement au service de radio satellite SiriusXM™ soit en vigueur. La radio satellite n'est pas offerte en Alaska, à Hawaï et à Guam.
Si vous appuyez sur le bouton XM pendant la lecture d'un CD, le lecteur s'arrête automatiquement et la radio symponise la derniere station écoutee.
Bouton TUNE/SCROLL (syntonisation-defillement)
Tournez le bouton TUNE/SCROLL (syntonisation-defilement)vers la gauche ou la droite pour proceder au réglage manuel.

Syntonisation par RECHERCHE
Appuyez sur le bouton SEEK/CAT (recherche-catégorie) ou pour symponiser des fréquences de bas en haut ou de haut en bas et pour arrêté à la station radio suivante.
Syntonisation par BALAYAGE
Appuyez sur le bouton SCAN (balayage) pour arreter à chaque station pendant cinq secondes. Le message SCAN (balayage) apparaitra à l'écran pendant que la radio tente de symponiser une station par balayage.
Si vous appuyez de nouveau sur le bouton pendant cette période de cinq secondes, le BALAYAGE est interrompu et la radio demeure syntonisée à cette station. Si le bouton SCAN (balayage) n'est pas enforcé en moins de cinq secondes, la fonction de syntonisation par BALAYAGE passée à la station suivante.
Fonctionnement des boutons de mise en mémoire des stations (1 à 6)
Vous pouvez régler 6 stations pour la bande AM. Vous pouvez régler 12 stations pour la bande FM (6 pour FM1, 6 pour FM2). Vous pouvez mettre en mémoire 18 chaînes de radio satellite (6 pour XM1, 6 pour XM2, 6 pour XM3).
- Sélectionnez la bande AM, FM1 ou FM2 à l'aide du bouton de selection FM-AM, ou sélectionnez la bande satellite XM1, XM2 ou XM3 à l'aide du bouton XM.
- Sélectionnez la station désirée à l'aide de la symponisation manuelle, par RE-CHERCHE ou par BALAYAGE. Maintenez un des boutons de mise en mémoire des stations (1 à 6) jusqu'à ce que le nombre de station préselectionnée soit actualisé à l'écran et que le son soit brievement interrompu.
- L'indicateur de bande s'allume ensuite et le son est rétabli. La programmation est terminée.
- D'autres stations peuvent être mises en mémoire (été assignées à d'autres boutons de préselection) en procédant de la même manière.
Si la batterie est débranchée ou si le fusible de la radio grille, la mémoire de la radio est désactivée. Si tel est le cas, répétez les étapes de mise en mémoire des stations désiées.
Fonctionnement du lecteur de CD
Placez le commutateur principal à la position ACC (accessoires) ou ON (marche), puis insérez le CD dans la fente en orientant l'étiquette vers le haut. Le CD est introduit automatiquement dans le lecteur et la lecture commence.
Après avoir chargé le CD, le nombre de pistes sur le CD et le temps de lecture s'affiche à l'écran.
Si la radio est déjà en fonction, elle s'interrrompt automatiquement pour permettre la lecture du CD.
Si le système audio est mis hors fonction pendant la lecture d'un CD, la lecture reprend des que vous appuyez sur le boutone e 0 .
N'utilisez pas de CD d'un diametre de 8 cm (3,1 po).
Boutons SEEK/CAT (recherche-catégorie)
Lorsque vous appuyez sur le bouton d'avance rapide ou de return pendant plus de 1,5 seconde durant la lecture du CD, la lecture de ce dernier est effectueeendant le return ou l'avance rapide. Lorsque vous relachez le bouton, la lecture du CD reprend a la vitesse normale.
Lorsque vous appuyez sur le bouton d'avance rapide ou de return pendant moins de 1,5 seconde durant la lecture du CD, la piste suivante ou le début de la piste en cours du CD est lu.
Bouton RPT (répetition)
Lorsque you appuyez sur le bouton RPT (RéPÉTIATION) pendant la lecture du CD, le modèle de lecture peut être modifié comme suit :
(CD)
Normal Régier chanson
(CD avec fichiers audio comprimés)
Normal Régéter dossier Régéter chanson Normal
Bouton RDM (lecture aléatoire)
Lorsque you appuyez sur le bouton RDM (LECTURE ALÉATOIRE) pendant la lecture d'un CD, le modèle de lecture peut être modifié comme suit :
(CD)
Normal Disque aléatoire
(CD avec fichiers audio comprimés)
Normal Disque aléatoire Dossier aléatoire Normal
Touché déjection du disque
Lorsque you appuyez sur le bouton d'éjection de CD et qu'un disque compact est charge, le CD est ejecté.
Lorsque you appuyez sur ce bouton pendant la lecture d'un CD, le CD est ejecté.
Si le CD est éjecté et qu'il n'est pas retire de la fente, il est rechargé dans le lecteur pour assurer sa protection.
Prise AUX IN (entree auxiliaire)
La prise AUX IN (entreeauxiliaire) se trouvesous les commandes de chauffage et declimatisation. La prise audio AUX IN (entreeuxiliaire) accepte toute entree audio ana
logique standard comme un lecteur de cassettes, un lecteur de CD, un lecteur MP3 ou un ordinateur portatifs.
MEDIA (multimédia)
Après avoir chargeé un CD, appuyez sur le bouton MEDIA (multimédia) jusqu'à ce que le mode CD s'affiche à l'écran. Appuyez sur le bouton MEDIA (multimédia) à plusieurs reprises pour passer en revue les modes CD, USB, audio Bluetooth et AUX.
Mode d'affichage CD ou MP3
Lorsque vous écoutez un disque au format MP3 ou WMA, du texte pourrait s'afficher à l'écran si le disque a été encodé avec de l'information textuelle. Selon l'encodage de l'enregistrement MP3/WMA, il pourrait s'afficher des renseignements sur l'artiste, le titre de la piece musicale et le dossier.
Le nombre de piste et le nombre total de pistes dans le dossier courant ou sur le disque courant sont aussi affichés à l'écran.
Bouton TUNE/SCROLL (syntonisationdéfilement) (disques en format MP3 ouWMA seulement)
Si un disque MP3/WMA avec des dossiers multiples est en cours de lecture, tournez le bouton TUNE/SCROLL (syntonisationdéfilement) pour changer de dossier. Tournez le bouton vers la gauche pour reculer d'un dossier. Tourner le bouton vers la droite pour sauter d'un dossier vers l'avant.
Caracteristiques supplémentaires Pour obtenir de plus amples renseignements au sujet du lecteur iPod compatible avec cette chaine, consultez la section « Fonctionnement du lecteur iPod MD* » dans ce chapitre.
Pour obtenir de plus amples renseignements sur le port de connexion USB (bus série universel) offert avec ce système, consultez la section « Fonctionnement du port de connexion USB (bus série universel) » dans le précédent chapitre.
Pour obtenir de plus amples renseignements au sujet de l'interface audio Bluetooth™ disponible avec ce système, consultez la section « Diffusion audio Bluetooth™ » dans ce chapitre.

PORT DE ConnexION USB (BUS SERIE UNIVERSEL)
Connexion d'un dispositif au port de connexion USB (bus série universal)

AVERTISSEMENT
Ne branchez pas le dispositif USB, ne le débranchez pas ou ne l'utilisez pas pendant que vous conduisez. Une telle manoeuvre peut être une source de distraction. Si vous âtes distrustait, vous pourriez perdre la maïtrise de votre
vécicule et causeur un accident ou des blessures graves.

MISE EN GARDE
- N'exerce aucune pression sur le dispositif USB pour l'insérer dans le port USB. Si vous insérez le dispositif USB de travers ou à l'envers dans le port, vous risquez d'endommager le port. Assurez-vous que le dispositif USB est branché correctement dans le port USB.
- N'empoignez pas le couvercle du port USB ( selon l'équipement) lorsque vous tirez le dispositif USB hors du port. Vous pourriez endommager le port et le couvercle.
- Ne laïsez pas le cable USB dans un endroit où il pourrait être tiré par inadvertance. Si vous tirez sur le cable, vous risquez d'endommager le port.
Pour obtenir des renseignements supplémentaires, consultez le guide du propretaire du fabricant de l'appareil quant à l'usage et à l'entretien appropriés de l'appareil.
Le port de connexion USB se trouve sous les commandes de chauffage et de climatisation. Insérez le dispositif USB dans le port.
Lorsqu'un dispositif de stockage compatible est branché dans le port, les fichiers audio compatibles stockés sur le dispositif peuvent être lus au moyen du système audio du vehicule.
Fonctionnement (fichier audio)
Bouton MEDIA (multimédia)
Placez le commutateur principal à la position ON (marche) ou ACC (accessoires), puis appuyez sur le bouton MEDIA (multimédia) pour passer au mode d'entrée USB. Si un CD est en cours de lecture ou qu'une autre source audio est branchée sur la prise d'entrée AUX (auxiliaire), le bouton MEDIA (multimédia) alterne entre quatre sources.
Boutons SEEK/CAT (recherche-catégorie)
Lorsque you appuyez sur le bouton ou pendant plus de 1,5 seconde durant la lecture de la clé de mémoire USB, la lecture de cette dernière est effectuependant le retour ou l'avance rapide. Lorsque
vous relâchéz le bouton, la lecture de la clé de mémoire USB reprend à la vitesse normale.
Lorsque you appuyez sur le bouton ou pendant moins de 1,5 seconde durant la lecture de la clé de mémoire USB, la piste suivante ou le début de la piste en cours de la clé de mémoire USB est lu.
Répétition (RPT)
Lorsque vous appuyez sur le bouton RPT (Répétition) pendant la lecture d'une clé de mémoire USB, le modèle de lecture peut être modifié comme suit :
Pour modifier le mode de lecture, appuyez sur le bouton RPT (RéPÉTITION) à plusieurs reprises et le mode sera modifié comme suit :
Normal→Répéter dossier→Répéter chanson→Normal
LECTURE ALEATOIRE (RDM)
Lorsque vous appuyez sur le bouton RDM (LECTURE ALÉATOIRE) pendant la lecture d'une clé de mémoire USB, le modèle de lecture peut être modifié comme suit :
Pour modifier le mode de lecture, appuyez sur le bouton RDM (LECTURE ALÉATOIRE) à plusieurs reprises et le mode sera modifié comme suit :
Normal Lecture aléatoire de tous les dossiers Dossier aléatoire Normal
Bouton TUNE/SCROLL (syntonisationdéfilement)
S'il y a plusieurs dossiers avec fichiers audio dans l'appareil USB, tournez le bouton TUNE/SCROLL (syntonisationdéfilement) pour changer de dossier. Tournez le bouton vers la gauche pour reculer d'un dossier. Tourner le bouton vers la droite pour sauter d'un dossier vers l'avant. S'il y a un seul dossier de fichiers audio dans l'appareil USB, tournez le bouton TUNE/SCROLL (syntonisationdéfilement) dans une direction ou l'autre pour returner à la première piste sur l'appareil USB.
Bouton BACK (retour)
Lorsque you appuyez sur le bouton BACK (retour), l'écran précédent s'affiche à nouveau.

FONCTIONNEMENT DU LECTEUR IPODM
Raccordement de l'iPodMD

AVERTISSEMENT
Ne branchez pas le dispositif USB, ne le débranchez pas ou ne l'utilisez pas pendant que vous conduisiez. Une telle manoeuvre peut être une source de distraction. Si vous étés distrustait, vous pourriez perdre la maîtrise de votre vehicule et causer un accident ou des blessures graves.

MISE EN GARDE
- N'exerce aucune pression sur le dispositif USB pour l'insérer dans le port USB. Si vous insérez le dispositif USB de travers ou à l'envers dans le port, vous risquez d'endommager le port. Assurez-vous que le dispositif USB est branché correctement dans le port USB.
- N'empoignez pas le couvercle du port USB ( selon l'équipement) lorsque vous tirez le dispositif USB hors du port. Vous pourriez endommager le port et le couvercle.
- Ne laissez pas le cable USB dans un endroit où il pourrait etre tiré par inadvertance. Si vous tirez sur le cable, vous risquez d'endommager le port.
Pour obtenir des renseignements supplémentaires, consultez le guide du contrôle du fabricant de l'appareil quant à l'utilisation et à l'entretien appropriés de l'applaireil.
Pour connecter un iPod™ au vehicule afin que vous puissiez le contrôle à l'aide des commandes de la chaîne audio et de
l'écran de visualisation, utilisez le port de connexion USB situé sous les commandes de chauffage et du climatiseur. Branchez l'extrémité spécifique du cable de l'iPod MD sur ce dernier et l'autre extrémité USB du cable sur le port de connexion USB du vehicule. Si votre iPod MD peut être rechargé par connexion USB, sa batterie se charge pendant que l'appareil est connecté au vehicule avec le commutateur principal à la position ACC (accessoires) ou ON (marche).
Pour débrancher le iPodMD du vehicule, rétirez l'extrémité USB du cable du port de connexion USB du vehicule, puis retirez le cable de l'iPodMD.
- iPod MD est une marque de commerce de Apple Inc. et est déposée aux États-Unis et dans d'autres pays.
Compatibilité
Les modèles suivants sont disponibles :
- iPhone ^MD de troisisième génération (micrologiciel version iOS 2.1 - 4.2.1)
- iPhone ^MD de quatrième génération (micrologiciel version iOS 4.0 - 6.1.3)
-
iPhone ^MD de cinquième génération (micrologiciel version iOS 6/6.0)
-
iPod MD de cinquième génération (micrologiciel version iOS 6.0.0 - 61.4)
- iPod Classic ^MD de première génération (micrologiciel version 1.1.1 ou 2.0.1)
- iPod Classic ^MD de deuxieme génération (micrologiciel version 2.0.1)
- iPod touch ^MD de première génération (micrologiciel version 1.1 - 2.2.1)
- iPod touch ^MD de deuxieme génération (micrologiciel version iOS 2.1.1 - 2.2.1)
- iPod touch ^MD de troisième génération (micrologiciel version iOS 3.1 - 3.1.3)
- iPod touch ^MD de quatrième génération (micrologiciel version iOS 4.1 - 6.1.3)
- iPod touch ^MD de cinquième génération (micrologiciel version iOS 6.0.0 - 6.1.3)
- iPod nano ^MD de première génération (micrologiciel version 1.3.1)
- iPod nano ^MD de deuxieme génération (micrologiciel version 1.1.3)
- iPod nano ^MD de troisième génération (micrologiciel version 1.0.0 - 1.1.3)
- iPod nano ^MD de quatrième génération (micrologiciel version 1.0.2 - 1.0.4)
-
iPod nano ^MD de cinquième génération (micrologiciel version 1.0.1 - 1.0.2)
-
iPod nano ^MD de sixième génération (micrologiciel version 1.0 - 1.2)
- iPod nano ^MD de septieme generation (micrologiciel version 1.0.0 - 1.0.1)
Il se peut que le iPod TouchMD ne réagisse pasrapidement avecle système dans certains cas.
Assurez-vous que le micrologiciel du iPod MD est à jour.
Fonctionnement principal de la chaine stéreo
Placez le commutateur principal à la position ACC (accessoires) ou ON (marche). Appuyez ensuite sur le bouton MEDIA (multimédia) à plusieurs reprises pour passer au mode iPodMD.
Si le système est eteint pendant la lecture du iPodMD, la lecture reprend lorsque vous appuyez sur le bouton (marche/ arrêt).
Bouton MENU iPod
Appuyez sur le bouton MENU de votre iPod pendant que le menu de fonctionnement du iPodMD apparait à l'écran d'affichage audio. Faites défilier la liste du menu au
moyen du bouton TUNE/SCROLL (syntonisation-defilement). Appuyez sur le bouton ENTER (entrer) pour selectionner une option de menu. Les éléments du menu du iPodMD apparaiscent à l'écran dans l'ordre suivant:
- Lecture en cours
- Listes d'écoute
- Artistes
-Albums
Chansons - Podcasts
- Genres
- Composites
Livres Audio - Lecture aléatoire
Pour obtenir de plus amples renseignements sur chaque option, consultez le manuel du professionnel de l'iPod ^MD .
Bouton MEDIA (multimédia)
Placez le commutateur principal à la position ACC (accessoires) ou ON (marche). Appuyez ensuite sur le bouton MEDIA (multimédia) pour passer en mode iPodMD.
Lorsqu'une autre source audio est en cours de lecture et que votre iPodMD est branché, appuyez sur le bouton MEDIA (multimédia) pour passer en mode iPodMD.
Si le système est eteint pendant la lecture du iPodMD, la lecture reprend lorsque vous appuyez sur le bouton (marche/ arrêt).
Pour obtenir des renseignements supplémentaires, consultez le manuel du propre-taire de l'iPodMD.
Boutons SEEK/CAT (recherche-catégorie)
Lorsque you appuyez sur le bouton ou pendant plus de 1,5 seconde durant la lecture du iPodMD, la lecture de ce dernier est effectuee pendant le retour ou l'avance rapide. Lorsque you relachez le bouton, la lecture du iPod MD reprend a la vitesse normale.
Lorsque you appuyez sur le bouton ou pendant moins de 1,5 seconde durant la lecture du iPodMD, la piste suivante ou le début de la piste en cours du iPodMD est lu.
Répétition (RPT)
Lorsque le bouton RPT (RéPÉTIATION) est enforcé pendant la lecture d'une piste, le modèle de lecture peut être modifié comme suit:
Répétition désactivée Répéter chanson Répétition de toutes les pistes Répéti-tion désactivée
LECTURE ALEATOIRE (RDM)
Lorsque le bouton RDM (LECTURE ALEATOIRE) est enforcé pendant la lecture d'une piste, le modele de lecture peut etre modifie comme suit :
Lecture aléatoire désactivée Lecture aléatoire des pistes Lecture aléatoire d'un album Lecture aléatoire désactivée
Bouton BACK (retour)
Lorsque you appuyez sur le bouton BACK (retour), l'écran précédent s'affiche à nouveau.
DIFFUSION AUDIO BLUETOOTH
Si vous possédez un apparéil audio Bluetooth® compatible qui peut dire des fichiers audio, l' apparéil peut être raccordé
au système audio du vehicule pour que les fichiers audio qui se trouvent sur l'appareil soient entendus par les haut-parleurs du vehicule. Pour obtenir des renseignements supplémentaires, consultez la section « Radio FM-AM-SAT avec lecteur de disques compacts » du present chapitre.
REMARQUE:
Pour des renseignements supplémentaires au sujet de la diffusion audio Bluetooth ^MD , consultez le guide de l'utilisateur du téléphone cellulaire.
Raccordement d'un apparéil BluetoothMD
Pour raccorder votre appareil audio Bluetooth ^MD au vehicule, procédez comme suit:
- Appuyez sur le bouton ENTER/SETTING (entrer-réglage).
- Sélectionnez « Bluetooth »
-
Sélectionnez « Add Phone » (ajouter téléphone). Ce même écran permet de supprimer, replacer ou selectionner un dispositif BluetoothMD différent.
-
Le système accuse réception de la commande et vous demande d'amorcer le jumelage du téléphone. Le processus de jumelage varie en fonction du modèle de téléphone. Pour obtenir des renseignements supplémentaires, consultez le guide de l'utilisateur du téléphone cellular. Vous pouvez aussi vous rendre sur le site www.nissanusa.com/bluetooth ou www.nissan.ca/bluetooth où vous trouvez les instructions de jumelage des téléphones recommendés par NISSAN.
Fonctionnement principal de la chaine stéreo:
Pour passer au mode audio Bluetooth ^MD , appuyez sur le bouton MEDIA (multimédia) à plusieurs reprises jusqu'à ce que le mode audio Bluetooth ^MD s'affiche à l'écran. Utilisez les commandes audio du vehicule ou de l'appareil de Bluetooth ^MD pour生存, arrêté la lecture, sauter des pistes ou revenir en arrêté.
FONCTIONNEMENT DU LECTEUR DE L'APPAREIL AUXILIAIRE
La prise d'entrée AUX (auxiliaire) se trouve sous les commandes de chauffage et de climatisation. La prise d'entrée AUX (auxiliaire) accepte toute entrée audio analogue standard comme un lecteur de cassettes, un lecteur de CD, un lecteur MP3 ou un ordinateur portatifs.
NISSAN recommende fortement d'utiliser une fiche miniature stéreo lors du branchement de votre dispositif de musique au système audio. La musique n'est pas lue correctement lorsqu'un cable monaural est utilisé.
Pour passer au mode AUX (auxiliaire), appuyez sur le bouton MEDIA (multimédia) jusqu'à ce que le mode AUX (auxiliaire) soit sélectionné, lorsque le commutateur principal est à la position « ON » (marche) ou « ACC » (accessoires).

ENTRETIEN ET NETTOYAGE DESC CD
Tenez un CD par ses rebords. Ne pliez pas le disque. Ne touche jamais la surface du disque.
Lorsquils ne sont pas utilisés, gardez tous jours les CD dans leur boitier de rangement.
- Pour nettoyer un CD, essuyez sa surface avec un chiffon propre et doux, en allant du centre vers le rebord extérieur du disque. N'essuyez pas le CD avec un mouvement circulaire.
- N'utilise pas de nettoyeur à disque conventionnel ou d'alcool destiné à une utilisation industrielle.
- Un CD neuf peut partager des rebords interieur et extérieur irréguliers. Attenuez ces irrégularités en passant le bord d'un stylo ou d'un crayon sur les rebords interieur et extérieur du CD, comme illustré.
COMMANDES DU SYSTÉME AUDIO SUR LE VOLANT
La chaine stéreo peut être activée à l'aide des commandes sur le volant.

- Touche de commande du volume
- Commutateurs Seek/Track (recherche-piste)
- Bouton OK
Bouton de commande du volume
Enforcez ce bouton pour augmenter ou pour réduire le volume.
Bouton OK
Appuyez sur le bouton OK pour faire défiler les options audio à l'écran multifonction et à l'écran d'affichage.
Commutateurs Seek/Track (recherche-piste)
AM et FM :
- Appuyez sur la touche ou maintenez-la enfoncée pendant moins d'une seconde et demie pour augmenter ou réduire la station préselectionnée.
- Appuyez sur la touche ou maintenez-la enfoncée pendant plus d'une seconde et demie pour rechercher la station suivant vers le haut ou le bas de la bande.
XM:
- Appuyez sur la touche ou maintenez-la enforcée pendant moins d'une seconde et demie pour augmenter ou réduire la station préselectionnée.
- Appuyez sur la touche ou maintenez-la enforcée pendant plus d'une seconde et demie pour passer à la catégorie suivant ou précédente.
iPodMD:
-
Appuyez sur la touche ou maintenez-la enfoncée pendant moins d'une seconde et demie pour augmenter ou réduire le numéro de piste.
-
Appuyez sur la touche ou maintenez-la enforcée pendant plus d'une seconde et demie pour augmenter ou réduire le numéro de dossier.
CD:
- Appuyez sur la touche ou maintenez-la enfoncée pendant moins d'une seconde et demie pour augmenter ou réduire le numéro de piste.
- Appuyez sur la touche ou maintenez-la enfoncée pendant plus d'une seconde et demie pour avoir un numero de dossier supérieur ou inférieur (lors de la lecture de fichiers audio comprimés).
USB:
- Appuyez sur la touche ou maintenez-la enfoncée pendant moins d'une seconde et demie pour augmenter ou réduire le numéro de piste.
- Appuyez sur la touche ou maintenez-la enforcée pendant plus d'une seconde et demie pour augmenter ou réduire le numéro de dossier.
ANTENNE
Le vehicule est équipé d'une antennesous forme d'aileron de requin et le circuit de l'antenne est imprimé dans la lunette arriere.

MISE EN GARDE
- Ne placez pas de pellicule métallisée après de la lunette arrêté et n'y attachez pas de pieces métalliques. Ces articles pourraient nuir à la réception radio ou être une source de bruit.
- Pendant le nettoyage de la paroi intérieure de la lunette arrête, prenez soit de ne pas égratigner ni endommager l'antenne. Essuyez légèrement avec un chiffon doux et humide le long de l'antenne.
TELEPHONE DE VOITURE OU RADIO BP
Si vous installez un poste de bande publique, un radio-amateur ou un téléphone pour voiture dans votre vehicule, respectez les précautions suivantes pour prévenir toute interférence avec le circuit de commande du vehicule électrique et les autres composants électroniques.

AVERTISSEMENT
- La conduite d'un vehicule exige toute l'attention du conducteur. Ce dernier ne devrait donc pas utiliser son téléphone cellulaire lorsqu'il est au volant. Les lois de certaines régions interdisent l'utilisation d'un téléphone cellulaire en conduisant.
- Si vous devez téléphoner en conduitsant, il est vivement recommancedutiliser le mode « mains libres » de leur téléphone cellulaire. Faites preuve d'une grande prudence en tout temps et concentrez-vous sur la conduite du vehicule.
- Si vous ne pouvez pas consacrer toute votre attention à la conduite du vehicule en parlant au téléphone, rangez le vehicule en lieu sur et immobilisez-le.

MISE EN GARDE
- L'antenne doit être placee aussi loin que possible des modules de commande du moteur.
Assurez-vous qu'il y a au moins 20 cm (8 po) entre le fil de l'antenne et les faisceaux du dispositif de commande électronique. Faites passer le fil de l'antenne loin de tout faisceau. - Procedez au réglage du rapport d'onde stationnaire de l'antenne conformément aux instructions du fabricant.
- Branchez le fil de masse du chassin de radio BP à la carrosserie.
- Nous vous recommendons de vous rendre chez un concessionnaire NISSAN LEAF certifié pour obtenir de plus amples renseignements.
SYTÉME TÉLEPHONIQUE MAINS LIBRES BLUETOOTHMD SANS DISPOSITIF D'AIDE À LA NAVIGATION (SELON L'ÉQUIPEMENT)

AVERTISSEMENT
- Immobilisez votre vehicule en un endroit sur avant d'utiliser un téléphone. Si vous utilisez un téléphone en conduisant, exercez en tout temps une grande prudence pour consacrer toute votre attention à la conduite du vehicule.
- Si vous ne pouvez pas consacrer toute votre attention à la conduite du vehicule en parlant au téléphone, rangez le vehicule en lieu sur et immobilisez-le.

MISE EN GARDE
Pour éviter de décharger la batterie du vehicule, utilisez un téléphone après l'allumage du témoin PRÉT à démarrer.

Votre vehicule NISSAN est doté du système téléphonique mains libres BluetoothMD. Si vous possédez un téléphone cellulaire compatible avec BluetoothMD, vous pouvez étabir une connexion sans fil entre votre téléphone cellulaire et le module téléphonique du vehicule. Gráce à la technologie sans fil BluetoothMD, vous pouvez étabir ou receivevoir des appeals téléphoniques mains libres dans le vehicule au moyen de votre téléphone cellulaire.
Une fois que vous téléphone cellulaire est connecté au module téléphonique du vehicule, aucune autre connexion n'est nécessaire. Voitre téléphone est automatiquement connecté au module téléphonique du vehicule lorsque vous place le commutateur principal à la position ON (marche) alors que le téléphone cellulaire qui était déjà connecté est sous tension et qu'il se trouve dans le vehicule.
REMARQUE:
Certsains apparéils exigent que l'utilisateur accepte des connexions spécifiques pour certaines fonctions (telles que le téléchargement du réseau). Si vous téléphone ne se connecte pas automatiquement au système, consultez le manuel d'utilisation du téléphone pour obtenir tous les détails sur le fonctionnement de l'appareil.
Vous pouvez connecter jusqu'à cinq diffé- rents téléphones cellulaires compatibles Bluetooth dans le module téléphonique du vehicule. Vos ne pouvez toutefois parler que sur un seul téléphone cellulaire à la fois.
Avant d'utiliser le Bluetooth™ Hands-Free Phone System, lisez les notes ci-après :
- Configurez la connexion sans fil entre un téléphone cellularaire compatible et le module téléphonique du vehicule avant d'utiliser le système téléphonique mains libres.
-
Certains téléphones cellulaires Bluetooth™ peuvent ne pas être reconnus ou fonctionner correctement. Consultez le site www.nissanusa.com/bluetooth ou www.nissan.ca/bluetooth pour obtenir la liste des téléphones recommendés et les instructions de connexion.
-
Vous ne pourrez pas utiliser un téléphone mains libres dans les conditions suivantes :
-Votre vehicule se trouve hors de la zone de service de votre téléphone cellulaire.
-Votre vehicule se trouve dans une région ou la réception des signaux du réseau cellulaire est difficile, telle qu'un tunnel, un stationnement souterrain, pres d'un grand immeuble ou dans une région montagneuse.
-Votre téléphone cellulaire est verrouillé pour en prévenir l'utilisation non autorisé.
Lorsque I'etat des ondes radioelectriques n'est pas idéal ou lorsque le bruit ambient est trop élevé, il peut etre dificile d'entendre la voix de I'autre personne pendant un appel.
- Ne placez pas le téléphone cellulaire dans une région entourée de métal ou loin du module téléphonique du vehicule pour préserver la qualité de la tonalité et prévenir les interruptions de la connexion sans fil.
Lorsqu'un téléphone cellulaire est relié au moyen de la connexion sans fil Bluetooth ^MD , l'alimentation de la batterie du téléphone cellulaire peut se décharger plusrapidement que d'habitude. Le système téléphonique mains libres Bluetooth ^MD de votre vehicule n'est pas consq pour recharger les téléphones cellulaires.
-
Pour obtenir des renseignements supplémentaires, consultez la section « Guide de dépannage » du present chapitre. Vous pouvez aussi vous rendre sur le site www.nissanusa.com/bluetooth ou www.nissan.ca/bluetooth pour obtenir des renseignements relatifs au dépannage si le système mains libres semble ne pas fonctionner correctement.
-
Certains téléphones cellulaires ou d'autres dispositifs peuvent cause der interference ou produit un bourdonnement dans les haut-parleurs de la chaîne stéreo. Rangez le dispositif en un autre endroit pour tenter de réduire ou d'éliminer le bruit.
-
Pour obtenir de plus amples renseignements, consultez le guide d'utilisateur du téléphone cellularaire au sujet des frais, de l'antenne et du boîtier du téléphone cellularaire, etc.
INFORMATION SUR LA RÉGLEMENTATION
Information sur la réglementation de la FCC
MISE EN GARDE: Afin de respecter la conformité relative à l'exposition aux radioféquences de la FCC, utilisez uniquement l'antenne fournie avec le dispositif. Une antenne non autorisée, modifiée, ou l'ajout d'accessoires pourraient endommager l'émetteur et enfreindre les règlements de la FCC.
Son utilisation est soumise aux deux conditions suivantes :
- Ce dispositif ne doit cause aucune interférence nuisible.
- Ce dispositif doit pouvoir accepter toutes les interférences, y compris celles qui pourrait l'activer de façon inopinée.
Information sur la réglementation IC
-
Son utilisation est soumise aux deux conditions suivantes : (1) ce dispositif ne doit causer aucune interférence nuisible et (2) ce dispositif doit pouvoir accepter toutes les interférences, y compris celles qui pourrait l'activer de façon inopinée.
-
Ce dispositif numérique de classe B est conforme à toutes les exigences de la réglementation canadienne sur le matériel brouilleur visant les apparciels numériques.
Bluetooth® BLUETOOTH™ est une mar-que déposée de Bluetooth SIG, Inc. et utilise-sse sous licence par Visteon.
UTILISATION DU DISPOSITIF
Le système de reconnaissance vocale NISSAN permet d'utiliser le système téléphonique mains libres Bluetooth ^MD en mode mains libres.
Si le vehicule se déplace, certaines commandes ne sont pas accessibles pour que le conducteur se concentre sur la conduite du vehicule.
Initialisation
Lorsque you appuyez sur le commutateur principal à la position ON (marche), le système de reconnaissance vocale NiSSAN est initia! sé en quelques secondes. Si vous appuyez sur le bouton « avant la fin de l'initialisation, le système annonce « Le système téléphonique mains libres n'est pas prêt » et ne réagit pas aux commandes vocales.
Conseils d'utilisation
Respectez les mesures suivantes pour optimiser le rendement du système de reconnaissance vocale NISSAN :
- Maintenez autant que possible le silence dans l'habitacle. Orientez toutes les bouches d'air loin du microphone et fermez les glaces pour éliminer les bruits ambiants (bruits de traffic, vibrations, etc.) qui peuvent empêcher le système de reconnaître correctement les commandes vocales.
- Attendez que la tonalité retentisse avant d'énoncer une commande. Autrement, la commande ne sera pas correctement reçue.
- Commencez à énoncer une commande dans les 5 secondes après la tonalité.
- Parlez naturellement sans marquer une pause entre les mots.
Émission de commandes vocales
Appuyez brievement sur le bouton du volant pour utiliser le système de reconnaissance vocale NISSAN. Énonze une commande après la tonalité.
La commande énoncée est captée par le microphone et une réponse vocale est émise lorsqu'la commande est acceptée.
·Si yous voulez de nouveau entendre les commandes du menu actuel, dites «Aide » et le système les repete.
- Si une commande n'est pas reconnaue, le système annonce « Commande non reconnaue. Veuillez essayer de nouveau ». Assurez-vous que la commande est donnée exactement de la façon requise par le système et repetez la commande d'une voix claire.
- Pour revenir à la commande précédente, vous pouze dire « Préceptent » ou « Correction » en tout temps lorsque le système attende une réponse.
- Vous pouvez annuler une commande lorsqu'le système attender une réponse enedisant « Annuler » ou « Sortir ». Le systèmeannounce « Annuler » ou « Sortir » et termine la session de reconnaissance vocale. Vous pouvez aussi appuyer en tout temps sur le bouton du volant et le maintainir enforcé pendant cinq secondes pourmettre fin à la session de reconnaissance vocale. Lorsque la session de reconnaissance vocale est annulée, un double bipertentit pour indiquer que vous avez quitté le système.
- Pour régler le volume des messages du système, appuyez sur les boutons de commande de volume (+ ou -) du volant lorsque le système émet un compte. Vous pouvez aussi utiliser le bouton de réglage du volume de la radio.
Interruption des messages vocaux
Dans la plupart des cas, vous pouvez interrormé le guidage vocal pour énoncer la commande suivante en appuyant sur le bouton du volant. ÀpRES avoir interrompu le système, attendez un signal sonore avant d'énoncer votre commande.
Appel direct
Voussoupiez acceder au système plusrapidement enutilisant les commandes dedeuxieme niveau au moyen de la commande de menu principal du menu principal.Par exemple,appuyez sur le bouton et après la tonalité,dites «CallRedial» (recompositiond'appeI).
BOUTONS DE COMMANDE
Les boutons de commande du système téléphonique mains libres Bluetooth se trouvent sur le volant.

Activation du téléphone
Appuyez sur le bouton pour amocrer une session de reconnaissance vocale ou repondre à un appel.
Vou pousse aussi utiliser le bouton pour interrompre les commentaires du système et entrer des commandes immédiatement. Pour obtenir des renseignements supplémentaires, consultez les sections « Commandes vocales » et « Pendant un appel » dans leprésent chapitre.
Désactivation du téléphone
Voussouspoucezquitterlesystèmede reconnaissancevocaleen tout temps enmaintenantlebouton enfoncépendant5 secondes.
Touche de syntonisation (côté gauche)
Lorsque you utilisez le système de reconnaissance vocale, appuyez sur le commutateur à ou du volant pour commandeur manuellement le système téléphonique.

PROCEDURE DE JUMELAGE
REMARQUE:
Effectuez le jumelage lorsque le vehicule est immobile. Le processus est annulé si le vehicule commence à se déplacer pendant le processus.
- Appuyez sur le bouton ENTER/SETTING (entrez-réglage).
- Utilisez le bouton TUNE/SCROLL (syntonisation-) pour selectionner « Bluetooth » et appuyez sur le bouton ENTER/SETTING (entrer-réglage).
| Option de menu | Résultat | |
| Bluetooth EN FONCTION/HORS FONCTION | Permet à l'utiliser de dévelopme le système Bluetooth™ en fonction ou hors fonction. Le système Bluetooth™ doit être en fonction pour connecter l'appareil. | |
| On (marche) | Active la fonction Bluetooth™. | |
| Off (hors fonction) | Désactive la fonction Bluetooth™. | |
| Ajouter téléphone ou dispositif | Lorsque vous appuyez sur cette touche, un message accompagné d'un code NIP s'affiche à l'écran. Acti-vez le téléphone Bluetooth™ pour entrer le code NIP et terminéz le processus de connexion. | |
| Remplacer téléphone | Remplacer le téléphone actuellément connecté au système. Cette option permet à l'utiliser de garder les étiquettes vocales qui ont été enregistrées à l'aide du téléphone précédent si le vehicule est muni du système de reconnaissance vocale. | |
La procédure de connexion varie selon chaque téléphone. Pour obtenir des renseignements supplémentaires, consultez le manuel d'utilisation du téléphone. Vous pouvez aussi vous rendre sur le site www.nissanusa.com/bluetooth ou www.nissan.ca/bluetooth ou appeler le Service consommateur NISSAN pour obtenir les instructions sur le jumelage des téléphones recommends.
COMMANDES VOCALES
Les commandes vocales peuvent etre utilisées pour faire fonctionner le systemé téléphonique mains libres Bluetooth. Appuyez sur le bouton pour afficher le menu de commande du téléphone. Les options disponibles sont :
- Call (appeler)
Phonebook (répertoire) - Recent Calls (appels récents)
- Messaging (messagerie) (selon l'équipment)
Show Applications (afficher les applications) (selon l'equipement) - Sélectionner téléphone ou dispositif « Appeler »
Pour obtenir des renseignements supplémentaires, consultez la section « Effectuer un appel » dans ce chapitre.
« Phonebook » (Répertoire)
Les commandes suivantes sont disponibles sous « Phonebook » (répertoire):
(Un nom)
Dites un nom inscrit dans le repertoire pour afficher une liste d'options pour cette entrée du repertoire. Le système dira le nom qu'il a interprété selon la commande vocale fournie. Si le nom est incorrect, dites « Correction » pour entendre un autre nom.
Une fois que l'entrée appropriée du repertoire est identifiée, dites « Composer » pour composer le numéro ou « Envoyer le texte » envoyer un message texte à ce numéro. Dites « Enregistrer le nom » pour enregistrer un nom dans le repertoire. Dites « Effacer l'enregistrement » pour effacer un nombre enregistré dans le repertoire.
-Énumérer les noms
ÉnoncEZ cette commande pour que le système énuméré les noms inscrits dans le repertoire, un à la fois, par ordre alphabetique. Dites « Composer » pour composer le numéro du nom courant ou « Envoyer le texte » pour envoyer un message texte à ce numéro. Dites « Entrée suivante » ou « Entrée précédente » ou « Aide » pour vous déplacer dans la liste par ordre alphabetique. Dites « Enregistrer le nom » pour enregistrer un nom à l'entrée courante du repertoire. Dites « Effacer l'enregistrement » pour effacer un nom enregistré à l'entrée courante du repertoire.
« Recent Calls » (appels récents)
Les commandes suivantes sont disponibles sous « Appels récents » :
Appels entrants
Dites cette commande pour obtenir la liste des cinq derniers appeals entrants Parlent à cet ordre pour énumérer le dernier cinq appeals entrants reçus dans le vehicule. Si l'appel provient d'une entree du repertoire, le nom sera affiché. Sinon,le numero de téléphone de l'applen entrant sera affiché.
Dites « Composer » pour composer le nombre ou « Envoyer le texte » envoyer un message texte à ce nombre. Dites « Entrée suivante», « Entrée précédente » ou « Aide » pour vous déplacer dans la liste des appeals entrants.
Appel manqué
Dites cette commande pour obtenir la liste des cinq derniers appels manqués reçus dans le vehicule. Si l'appoint provient d'une entrée du réseau, le nom sera affchéé. Sinon, le numéro de téléphone de l'appoint manqué sera affchéé.
Dites « Composer » pour composer le nombre ou « Envoyer le texte » envoyer un message texte à ce nombre. Dites « Entreée suivante», « Entreée précédente » ou « Aide » pour vous déplacer dans la liste desAAPels manqués.
- Appel sortant
Dites cette commande pour obtenir la liste des cinq derniers appeals sortants effectués à partir du vehicule. Si l'appeil était destiné à une entrée du repertoire, le nom sera affchéé. Sinon, le numéro de téléphone de l'appeil sortant sera affchéé.
Dites « Composer » pour composer le nombre ou « Envoyer le texte » envoyer un message texte à ce nombre. Dites « Entrée suivante», « Entrée précédente » ou « Aide » pour vous déplacer dans la liste desAAPels sortants.
- Redial (recomposer)
Dites cette commande pour appeler le dernier numéro composé.
- Call back (rappeler)
Dites cette commande pour appeler le numéro du dernier appel entrant reçu dans le vehicule.
« Messaging » (messagerie) (selon l'équipement)
Énonce cette commande pour acceder aux fonctions de messagerie texte. Pour obtenir des renseignements supplémentaires, consultez la section « Messagerie texte » du précédent chapitre.
« Show Applications » (afficher les applications) (selon l'équipement)
Énonce cette commande pour afficher une liste des applications de téléphone intelligent disponibles.
« Sélectionner téléphone ou dispositif »
Dites cette commande pour sélectionn un téléphone à utiliser à partir d'une liste des téléphones connectés à ce vehicule.
EFFECTUER UN APPEL
Pour effectuer un appel à partir d'un téléphone connecté au système téléphonique mains libres Bluetooth™ du vehicule :
- Appuyez sur le bouton
- Le système attendra une commande de votre part. Dites « Appeler »
-
Sélectionnez une des commandes vocales valides pour poursuivre :
-
« (Un nom) » - Dites le nom d'une entrée du repertoire pour appeler cette entrée. Le système réagira avec le nom qu'il a interprêté à partir de votre commande et vous demandera de confirmer la validité du nom. Dites « Oui » pour étabir la communication ou « Non » pour entendre un autre nom du repertoire.
- «Numero » - Dites cette commande pour effectuer un appel en entrant le numéro de téléphone.
Pour les nombres de téléphone à 7 et 10 chiffres, dites les chiffres. Quand vous avez terminé, dites « Composer » pour étabir la communication. Dites « Correction » à tout moment au cours du processus pour corriger un chiffre mal prononcé ou mal interprétré.
Pour les numéroes de téléphone compteant plus de chiffres ou des caractères spéciaux, dites « Numéro spécial», puis énonze les chiffres. Jusqu'à 24 chiffres peuvent être entrés. Les caractères spéciaux valides sont les symboles « étoile», « livre», « plus » et « pause». Quand vous avez terminé, dites « Composer » pour établier la communication. Dites « Correction » à tout moment au cours du processus pour corriger un chiffre ou un caractère mal prononcé ou mal interprétré.
- « Recomposer » - Dites cette commande pour composer le numéro du dernier appelSORT. Le système affichera « Recomposition
« Rappeler » - Énoncez cette commande pour composer le numéro du dernier appel entrant. Le système affichera « Rappel
Quand un appel est reçu par le téléphone connecté au système téléphonique mains libres BluetoothMD du vehicule, l'information sur l'appel est affichée sur l'écran du panneau de commande.
Appuyez sur le bouton / pour accepter l'appeal. Appuyez sur le bouton pour refuser l'appeal.
PENDANT UN APPEL
Pendant un appel en cours, appuyez sur le bouton pour acceder à des options supplémentaires. Dites une des commandes suivantes.
· « Envoyer » - Énonce cette commande, accompagnée des chiffres, pour saisir les chiffres durant l'appeel téléphonique.
« Muet » - Dites cette commande pour activer ou désactiver la sourdine.
« Transfert de l'appoint » - Dites cette commande pour transférer l'appoint vers le combiné. Pour retransférer l'appoint du combiné vers le système téléphonique mains libres Bluetooth ^MD , appuyez sur le bouton et confirmez le transfert lorsqu'le système vous invite à le faire.
S'il est pris en charge par le téléphone, le système téléphonique mains libres Bluetooth⁵⁰ offre la capacité de mise en attente des appel. Si un appel est reçupendant qu'un autre appel est déjà en cours, un message sera affiché à l'écran. Appuyez sur le bouton pourmettre l'appelen cours en attente et répondre au deuxième appel. Appuyez sur le bouton pour refuser le第二种 appel.
Pendant que le deuxième appel est en cours, appuyez sur le bouton pour avoir accès aux mêmes commandes que pendant n'importe que autre appel ainsi qu'à deux commandes supplémentaires :
-
« Commuter l'appoint » - Dites cette commande pourmettrele deuxieme appel en attente et revenir à l'appoint initial.
-
« Terminer l'autre appel » - Dites cette commande pour demeurer avec le deuxième appel etmettre fin à l'appel initial.
Appuyez sur le bouton pour accepter l'appeal. Appuyez sur le bouton pour refuser l'appeal.
METTRE FINÀ UN APPEL
Pour terminer un appel en cours, appuyez sur le bouton
MESSAGE TEXT (SELEN L'ÉQUIPEMENT)

AVERTISSEMENT
-
Les bois dans certaines juridictions peuvent limiter l'utilisation de la fonction « synthèse de la parole à partir du texte ». Consultez les règlements en vigueur avant d'utiliser cette fonction.
-
Les lois dans certaines juridictions peuvent limiter l'utilisation de certaines applications et fonctions, telles que le reseauage social et les messages/texte. Consultez les règlements en vigueur pour connaître les exigences.
Utilisez la fonction de messagerie texte après avoir arrêté votre vehicule dans un endroit sécuritaire. Si vous devez utiliser cette fonction en conduisant, faites preuve d'une extrème prudence en tout temps afin de consacrer toute votre attention à la conduite du vehicule. - Si vous étes incapable de consacrer toute votre attention à la conduite du vehicule en utilisant la fonction de messagerie texte, quitterze la route à un endroit sécuritaire et arrêtez votre vehicule.
REMARQUE:
Certain types de téléphones peuvent exiger une autorisation spéciale pour l'activation de la messagerie texte. Verifiez I'écran du téléphone lors de l'appariement du BluetoothMD. Pour certains téléphones, vous devrez peut être activier l'options « Notifications » (Notifications) dans le menu BluetoothMD du téléphone pour que les messages/texte s'affichent sur le module principal. Consultez le guide de l'utilisateur de votre téléphone. L'intégration des messages/texte exige que le téléphone prenne en charge la fonction MAP (profil d'accès aux messages) pour la réception et l'envoi de messages/texte. Certains types de téléphones peuvent ne pas être compatible avec toutes les des fonctions de messagerie texte. Pour obtenir de plus amples renseignements sur la compatibilité, consultez le site www.nissanusa.com/bluetooth ou www.nissan.ca/bluetooth, ainsi que votre guide de l'utilisateur de l'apparil.
Le système permet l'envoi et la réception de messages texte par l'interface du vehicule.
Envoi d'un message texte :
- Appuyez sur le bouton 164 situated sur le volant.
- Dites « Téléphone » après la tonalité.
- Dites « Envoyer le texte » après la tonalité.
-
Le système vous presenta sera une liste des commandes valides pour déterminer le destinataire du message texte. Choisissez un des éléments suivants:
-
(Un nom)
Appels manqués
Appels entrants
Appels sortants
Pour obtenir des renseignements supplémentaires, consultez la section « Commandes vocales » dans leprésent chapitre.
- Une fois le destinataireChoisi,le système vous demande quel est le message a envoyer.Cinq messages prédéfinis sont disponibles de même que trois messages personalisés.Pour selectionner un des messages prédéfinis,dites une des phrases suivantes après la tonalité:
· « Au volant, impossible de communiqueur »
« Appelez-moi »
·《En route》
·《Enretard》
« Message personnelise »
Pour envoyer un des messages personalisés, dites « Messages personalisés ». Si plus d'un message personalisé est enregistré, le système vous demandera le numéro du message personalisé désiré. Pour obtenir des renseignements supplémentaires sur la configuration et la gestion des messages texte personalisé, consultez la section « Réglages Bluetooth™ » dans ce chapitre.
Lecture d'un message texte reçu :
- Appuyez sur le bouton ⑤ situated sur le volant.
- Dites « Messagingerie » après la tonalité.
- Dites « Lire le message texte » après la tonalité.
Le message texte, le nom de l'expéditeur et l'heure d'envoi s'affichent à l'écran. Utilisez le bouton de syntonisation pour faire défiler tous les messages texte si plus d'un message est disponible. Appuyez sur le bouton pour quitter l'écran des messages texte. Appuyez sur le bouton pour acceder aux options suivantes pour répondre au message texte :
- Call Back (Rappeler)
Dites cette commande pour appeler l'expéditeur du message texte au moyen du système téléphonique mains libres Bluetooth ^MD .
- Send Text (envoyer le texte)
Dites cette commande pour envoyer une réponse par message texte à l'expéditeur du message texte.
- Read Text (lire le message-texte)
Dites cette commande pour dire le message此文 de nouveau. - Previous Text (Message texte précédent)
Dites cette commande pour atteindre le message texte précédent. - Next Text (Message texte suivant)
Dites cette commande pour atteindre le message texte suivant.
REMARQUE:
Les messages/texte ne s'affichent que si la vitesse du vehicule est inférieure à 8 km/h (5 mi/h).

RéGLAGES BLUETOOTHMD
Pour acceder aux réglages du système téléphonique mains libres Bluetooth ^MD :
- Appuyez sur le bouton ENTER/SETTING (entrer-réglage).
- Utilisez le bouton TUNE/SCROLL (syntonisation-defilement) pour selectionner « Bluetooth » et appuyez sur le bouton ENTER/SETTING (entrer-réglage):
-
Bluetooth Sélectionnez « On » (marche) ou « Off » (hors fonction) pour activer ou désactiver le système de BluetoothMD du vehicule.
-
Ajouter téléphone
Pour obtenir des renseignements supplémentaires, reportez-vous au chapitre « ProcEDURE de jumelage » dans cette section.
- Supprimer téléphone
Selectionnez cette option pour supprimer un téléphone de la liste affichée. Le système demandera une confirmation avant de supprimer le téléphone.
- Remplacer téléphone
Sélectionnez cette option pour rempla cer un téléphone de la liste affichée. Avec une sélection, le système demandera une confirmation avant de procédér. Le réseau enregistré du téléphone en cours de suppression sera conservé en autant que le réseau du nouveau téléphone est le même que le réseau de l'ancien téléphone.
- Sélectionner téléphone
Sélectionnez cette option pour connecter un téléphone précédemment connecté à partir de la liste affichée.
-
Téléchargement du repertoire téléphonique Sélectionnez cette option pour activer ou désactiver le téléchargement automatique du réseau d'un téléphone connecté.
-
Show Incoming Calls (afficher les appelents)
Sélectionnez « Conducteur seulement » pour afficher l'information sur les appels entrants à l'affichage multifonction seul. Sélectionnez « Both » (Les deux) pour afficher l'information sur les appels entrants à l'affichage multifonction et à l'écran d'affichage central.
- Message texte (selon l'équipement)
Sélectionnez cette option pour activer ou désactiver la fonction de message texte du vehicule.
- Carillon nouveau message texte (selon l'équipment)
Selectionnez cette option pour régler le volume du carillon qui se fait entendre quand un nouveau message texte est reçu par un téléphone connecté au système téléphonique mains libres Bluetooth ^MD . Un réglage à l'extreme gauche mettra le carillon en sourdine.
- Afficher le texte des messages entrants (selon l'equipement)
Selectionnez « Conducteur seulement » pour afficher les messages/texte entrants sur les appelents entrants à l'affichage multifonction seulement. Selectionnez « Les deux » pour afficher les messages/texte entrants à l'affichage multifonction et à l'écran d'affichage central. Selectionnez « Aucun » pour ne pas afficher les messages/texte entrants.
- Modifier les messages personnalisés (selon l'équipement)
Sélectionnez cette option pour configurer un message personnalisé doté des options standard pour l'envoi d'un message texte. Pour configurer un message personnalisé, envoyez un message texte à votre propre numéro de téléphone pendant que le téléphone est connecté au système. Trois messages personalisés peuvent être configurés. Les messages personalisés peuvent être configurés uniquement lorsque le vehicule est à l'arrêt.
- Réponse automatique (selon l'équipment) Sélectionnez cette option pour activer ou désactiver la fonction de réponse automatique. Quand elle est activée, le vehicule enverra automatiquement un message texte prédéfini à l'expéditeur quand un message texte est reçu pendant la conduite du vehicule.
- Message de réponse automatique Sélectionnez cette option pourCHOISIR le message à envoyer quand la fonction de réponse automatique est activée. Sélectionnez « Je conduit » ou un des trois messages personnalisés enregistrés dans le système.
- Activation/désactivation de la signature du vehicule
Déterminez si vous souhaitez que la signature du vehicule soit ajoutée ou non aux messages de texte sortants. Ce message ne peut pas etre modifie ou personnelisé.
COMMANDES MANUELLES
Lors de l'utilisation du système de reconnaissance vocale, il est possible de selectionner les options du menu en utilisant les commandes du volant plutôt que d'énoncer les commandes vocalement. Cette fonction est particulièrement utile lorsque le bruit géné répendant la conduite rend difficile l'interprétation précise des commandes par le système de reconnaissance vocale. Le mode manuel de commande ne permet pas de composer un numéro de téléphone à l'aide de chiffres. L'utilisateur peut désirier une entrée à partir du repertoire ou des listes d'appels récents. Pour réactiver la reconnaissance vocale, quitterze le mode de commande manuelle en maintainant le bouton de DÉSACTION DU TÉLEPHONE enforcé. Il suffit ensuite d'appuyer sur le bouton d'ACTIVATION DU TÉLEPHONE pour activer le système téléphonique mains libres.
GUIDE DE DEPANNAGE
Le système doit répondre correctement aux commandes sans difficulté. Si des problèmes survient, essayez les solutions suivantes.
Lorsque les solutions sont énumérées par nombre, commencez par le nombre 1 jusqu'à ce que le problème soit résolu.
| Symptôme | Solution |
| Le système n'interrompt pas correctement la commande. | 1. Assurez-vous que la commande est valide. Pour obtenir des renseignements supplémentaires, consultez la section « Commandes vocales » dans le précédent chapitre. |
| 2. Assurez-vous d'énoncer la commande après la tonalité. | |
| 3. Parlez clairment sans marquer de pause entre les mots et à un niveau appropié en fonction du bruit ambiant dans le vehicule. | |
| 4. Assurez-vous que le niveau de bruit ambiant n'est pas excessif (par exemple, glaces ouvertes ou dégivreur en fonction). REMARQUE : si le bruit est trop impor-tant pour utiliser le téléphone, les commandes vocales ne seront probablement pas reconnues. | |
| 5. Si plus d'une commande est énoncée à la fois, tentez d'énoncer les commandes séparément. | |
| 6. Si le système ne réussit jamais à reconnaître les commandes, exécutez la procédure de programmation de la voix pour améliorer l'efficacité de la reconnaissance pour le locuteur. | |
| Le système sélectionne toujours la mauvaise entrée dans le réseau. | 1. Assurez-vous que le nom de l'entrée du réseau correspond au nom enregistré à l'origine. Vous pouvez le confirmer en utilisant la commande « List Na-mes » (Énumérer les noms). Pour obtenir des renseignements supplémentaires, consultez la section « Répertoire téléphonique » du précédent chapitre. |
| 2. Remplacez un des noms mal interprétés par un nouveau nom. | |
| 3. Dites le prénom et le nom de famille de la personne voulue pour améliorer la reconnaissance. |
REMARQUES
5 Demarrage et conduite
Précautions pour le démarrage et la conduite. . .5-5
Système de surveillance de la pression des pneus 5-5
Pour éviter les collisions et les renversements. .5-10
Récupération d'un vehicule hors route . . . . .5-10
Perte rapide de pression d'air 5-11
Conduite et consommation d'alcool ou de drogues . .5-12
Commutateur principal à bouton-poussoir. . . .5-12
Système de clé intelligente NISSAN Intelligent Key ^MD .5-12
Portée de la clé pour la fonction de démarrage du vehicule électrique 5-13
Fonctionnement du commutateur principal 5-14
Positions du commutateur principal 5-15
Arrêt d'urgence du vehicule électrique 5-15
Décharge de la pile de la clé intelligente
NISSAN Intelligent Key ^MD 5-16
Système antidémarrage du vehicule
NISSAN .5-17
Avant le démarrage du système de vehicule électrique . .5-17
Démarriage du système de vehicule électrique .5-18
Conduite du vehicule. .5-18
Système de commande de changement de vitesse électrique . .5-18
Frein de stationnement 5-23
Type de pédale 5-24
Type de commutateur (modèles avec système de freinage de stationnement électronique). 5-24
Système e-Pedal 5-27
Fonctionnement du système e-Pedal 5-27
Limit du système e-Pedal. 5-29
Anomaliedusysteme. .5-30
Systèmes d'rapidissement du déport de couloir (LDW) (selon l'équipement). 5-31
Fonctionnement du système d'advertissement du déport de couloir 5-32
Activation et désactivation du système d'advertissement du déport de couloir . . . . . .5-33
Limitations du système d'avertissement du déport de couloir 5-34
Système temporairement indisponible . . . .5-35
Anomaliedusystème. .5-35
Entretien du système 5-36
Système d'intervention de changement de voie intelligent (selon l'équipement) 5-36
Fonctionnement du système d'intervention de changement de voie intelligent. 5-38
Activation et désactivation du système d'intervention de changement de voie intelligent 5-39
Limits du système d'intervention de changement de voie intelligent 5-40
Système temporairement indisponible. 5-41
Anomalie du système 5-42
Entretien du système 5-43
Système d'avertissement d'angle mort (BSW) (selon l'équipement). 5-44
Fonctionnement du système d'advertissement d'angle mort 5-45
Activation et désactivation du système d'advertissement d'angle mort. 5-47
Limites du système d'avertissement d'angle mort 5-48
Situations de conduite du système d'avertissement d'angle mort 5-49
Système temporairement indisponible 5-52
Entretien du système 5-53
Système d'alerte de circulation transversale arrêté (RCTA) (selon l'équipement) 5-54
Fonctionnement du système d'alerte de circulation transversale arrête 5-55
Activation et désactivation du système d'alerte de circulation transversale arrêté . . . . . . .5-57
Limites du système d'alerte de circulation transversale arrêté 5-58
Système temporairement indisponible . . . .5-60
Entretien du système 5-60
Régulateur de vitesse (selon l'équipment) . . . .5-61
Précautions relatives à l'utilisation du régulateur de vitesse 5-61
Fonctionnement du régulateur de vitesse . .5- 62
Régulateur de vitesse adaptatif (pour les vehicules qui ne sont pas dotés de ProPILOT Assist) (selon l'équipement). 5-64
Comment selectionner le mode du régulateur de vitesse 5-66
Mode de contrôle d'intervalle 5-66
Utilisation du mode contrôle d'intervalle. . . .5-67
Commutateurs du mode contrôle d'intervalle 5-69
Limites du mode contrôle d'intervalle 5-76
Système temporairement indisponible . . . .5-80
Entretien du système 5-82
Mode classique (vitesse stable) du régulateur de vitesse 5-83
ProPILOT Assist (selon l'équipment) . . . . . . . .5-89
Fonctionnement du système ProPILOT
Assist . .5-91
Activation du mode classique (vitesse stable) du régulateur de vitesse 5-95
Fonctionnement de ProPILOT Assist . . . . . .5-95
Activation et désactivation de la direction assistée 5-99
Régulateur de vitesse adaptatif (ICC) (pour les vehicules dotés de ProPILOT Assist). . . . . . .5-100
Direction assistée 5-112
Mode classique (vitesse stable) du régulateur de vitesse 5-120
Système de freinage d'urgence automatique (selon l'équipement) .5-124
Fonctionnement du système de freinage d'urgence automatique 5-125
Activation ou déactivation du système de freinage d'urgence automatique . . . . . . . .5-127
Limites du système de freinage d'urgence automatique . .5-128
Système temporairement indisponible. . . .5-129
Anomaliedusysteme. 5-130
Entretien du système. 5-130
Système de freinage d'urgence automatique avec dispositif de détction de piétons (selon l'équipement) 5-132
Fonctionnement du système de freinage d'urgence automatique avec dispositif de détéction de piétons . . . . . . . . . . . . . . . . . . . . . . . . . . . . . . . . . . . . . . . . . . . . . . . . . . . . . . . . . . . . . . . . . . . . . . . . . . . . . . . . . . . . . . . . .
Activation et désactivation du système de freinage d'urgence automatique avec dispositif de détction de piétons . . . . . . . . . . . . . . . . . . . . . . . . . . . . . . . . . . . . . . . . . . . . . . . . . . . . . . . . . . . . . . . . . . . . . . . . . . . . . .
Limitations du système de freinage d'urgence automatique avec dispositif de détction de piétons .5-136
Système temporairement indisponible. . . .5-138
Anomaliedusysteme .5-139
Entretien du système. 5-140
Système d'alerte vigilance conducteur intelligent (selon l'équipement). 5-141
Fonctionnement du système d'alerte vigilance conducteur intelligent 5-142
Activation et désactivation du système
d'alerte vigilance conducteur intelligent . . .5-143
Limites du système d'alerte vigilance
conducteur intelligent 5-144
Augmentation de l'économie d'énergie. 5-145
Rapport ECO Drive 5-146
Techniques de stationnement dans les côtes. .5-147
Direction assistée . 5-148
Circuit de freinage. 5-149
Précautions relatives au freinage 5-149
Système de freinage antiblocage (ABS) . . . .5-151
Dispositif de contrôle dynamique du vehicule. .5-153
Contrôle du chàssis. .5-156
Système de contrôle en virage intelligent . .5- 156
Système d'assistance au départ en pente. . . .5-157
Conduite par temps froid 5-158
Déblocage d'une serrure de portière
gelée 5-159
Antigel 5-159
Batteriede 12V. .5-159
Vidange du système de refroidissement. . .5-160
Pneus .5-160
Équipment hivernal 5-160
Conduite sur la neige ou sur la glace. . . . . .5-161
Ouverture d'un couvercle de port de charge
gelé 5-161
Frein de stationnement 5-161
PRECAUTIONS POUR LE DEMARRAGE ET LA CONDUITE

AVERTISSEMENT
- Ne laïsez pas seuls dans votre vehicule des enfants ou des personnes qui ont habituèlement besoin de l'aide d'autres personnes. Les animaux domestiques également ne doivent pas être laissés sans surveillance dans le vehicule. Ils pourraient se blesser ou blesser quelqu'un accidentellement en mettant le vehicule en marche par inadvertance. De plus, par temps chaud et ensoleillé, la température de l'habitacle peutrapidement s'élever au point de provoquer des léasons graves, voire mortelles, à une personne ou à un animal enfermé dans le vehicule.
Fixez solidement tous les bagages à l'aide de cordes ou de sangles afin d'eviter qu'ils ne glissent ou se déplacent. N'empilez pas les bagages plus hauts que les dossiers de sièges. En cas d'arrêt brusque ou de collision, les bagages non retenus pourraient entraîner des blessures.
SYTÉME DE SURVEILLANCE DE LA PRESSION DES PNEUS
Vérifiez la pression de tous les pneus, y compris le pneu de secours (selon l'équipement) une fois par mois, à froid, puis gonflez-les à la pression recommendée par le constructeur du vehicule sur l'étiquette du vehicule ou l'étiquette de pression de gonflage des pneus. (Si votre vehicule est doté de pneus de taille différente que celle indiquée sur l'étiquette du vehicule ou l'étiquette de pression de gonflage des pneus, vous devriez déterminer la pression de gonflage appropriée pour ces pneus.)
Par mesure de sécurité additionnelle, votre vehicule est doté d'un système de surveillance de la pression des pneus qui allume un témoin d'avertissement de basse pression des pneus lorsqu'un ou plusieurs pneus sont considérablement sousgonflés. Pour cette raison, si le témoin d'avertissement de basse pression des pneus s'allume, vous devriez immobiliser le vehicule et vérifier vos pneus dés que possible, puis les gonfler à la pression appropriée. La conduite sur un pneu considéra
blement dégonfle fait surchauffer le pau, ce qui peut entrainer une défaillance du pau. De plus, un pau sous-gonflé augmente la consommation d'énergie, réduit la durée de vie utile de la bande de roulement et peut compromètre le comportement routier et la capacité de freinage du vehicule.
Veuillez noter que le système de surveillance de la pression des pneus ne remplace pas l'entretien adequat des pneus, et qu'il incombe toujours au conducteur de maintainir les pneus correctement gonflés, même si I'etat de sous-gonflage n'allume pas le témoin de basse pression du système de surveillance de la pression des pneus.
Votre vehicule est aussi doté d'un Témoin d'Anomalie du système de surveillance de la pression des pneus pour indiquer que le système ne fonctionne pas normalement. Le témoin d'anomalie du système de surveillance de la pression des pneus est combiné au témoin d'advertissement de basse pression des pneus. Lorsque le système détecte une anomalie, le témoin clignotependant environ une minute,puis il
demeure allumé. Cette séquence se poursuit lors des démarrages subséquents du vehicule tant que l'anomalie persiste. Lorsque le témoin d'anomalie est allumé, le système peut ne pas détecter ni signaler de basses pressions. Les anomalies du système de surveillance de la pression des pneus surviennent pour diverses raisons, y compris l'installation de pneus ou de roues de remplacement ou de rechange qui empêchent le système de surveillance de la pression des pneus de fonctionner correctement. Vérifiez toujours le témoin d'anomalie du système de surveillance de la pression des pneus après avoir remplaced un pneu ou une roue pour vous assurer que les pneus de remplacement ou de rechange permettent au système de surveillance de la pression des pneus de fonctionner correctement.
Renseignements additionnels
Lors du remplacement d'une roue qui n'est pas equipée d'un système de surveillance de la pression des pneus, comme la roue de secours, le système de surveillance de la pression des pneus ne surveille pas la pression de la roue de secours.
-
Le système de surveillance de la pression des pneus n'est actif que lorsque le vehicule roule à plus de 25 km/h (16 mi/h). De plus, ce système peut ne pas détecter la chute soudaine de la pression d'un pneu (par exemple, la crevaison d'un pneu pendant la conduite).
-
Mème si vous avons régé la pression des pneus, le témoin d'advertissement de baisse pression des pneus ne s'éteint pas automatiquement. Une fois la pression des pneus régée à la pression recommendée, il faudra rouler à plus de 25 km/h (16 mi/h) pour activer le système de surveillance de la pression des pneus et désactiver le témoin d'advertissement de baisse pression des pneus. Utilisez un manomètre pour pneus pour vérifier la pression des pneus.
L'ajretissement « Tire Pressure Low - Add Air » (basse pression des pneus - gonfler les pneus) s'affiche également à l'affichage multifonction lorsque le témoin d'ajretissement de basse pression des pneus s'allume et qu'une BASSE PRESSION des pneus est détectée. L'ajretissement « Tire Pressure Low - Add Air » (basse pression des pneus - gonfler les pneus) dispa
raît lorsque le témoin d'advertissement de basse pression des pneus s'éteint.
- Le message d'advertissement « Tire Pressure Low - Add Air » (basse pression des pneus - gonfler les pneus) s'affiche chaque fois que le commutateur principal se trouve à la position ON (marche) tant que le témoin d'advertissement de basse pression des pneus demeure allumé.
L'avertissement « Tire Pressure Low - Add Air » (basse pression des pneus - gonfler les pneus) ne s'affiche pas si le témoin d'avertissement de bassé pression des pneus s'allume pour indiquer une anomalie du système de surveillance de la pression des pneus.
La pression des pneus augmente ou diminuè en fonction de la chaleur engendrée par les conditions de fonctionnement du vehicule et par la température extérieure. Ne réduisez pas la pression des pneus après avoir conduit le vehicule, car la pression des pneus augmente après la conduite. Une température extérieureasse peut refroidir l'air à l'intérieur du pneu, ce qui peut cause une diminution de la pression de gonflage du pneu. Cela
peut causeur l'activation du témoin d'avertissement de basse pression des pneus. Si le témoin s'allume lorsque la température ambiente est basse, vérifie la pression des quatre pneus.
- Vous pouvez également vérifier la pression de tous les pneus sur l'écran d'affchage. L'ordre d'affichage de pression des pneus ne correspond pas à l'ordre réel de position des pneus.
Pour obtenir des renseignements supplémentaires, consultez la section « Témoin d'rapidissement de basse pression des pneus » du chapitre « Commandes et instruments » et la section « Système de surveillance de la pression des pneus » du chapitre « En cas d'urgence » du présent manuel.

AVERTISSEMENT
- Les ondes radioélectriques peuvent nuir au fonctionnement des apparils médicaux électriques. Les personnes qui portent un stimulator cardiaque doivent communiquer avec le fabricant de l'appareil Médicale électrique pour connaître les interférences possibles avant l'utilisation.
Si le témoin d'advertisement de basse pression des pneus s'allume pendant la conduite, évitez tout braquage ou freinage brusque, ralentissez, dirigez-vous vers un endroit sécuritaire et immobilisez le vehicule dés que possible. La conduite avec un pneu insuffisamment gonflé peut causeer des dommages permanents au pneu et augmente la probabilité de défaillance du pneu. Voitre vehicule pourrait subir des dommages importants et vous pourriez avoir un accident entraînant des blessures graves. Vérifiez la pression de tous les pneus. Effectuez un réglage de pression À FROID, tel que spécifique sur l'étiquette de renseignements relatifs aux pneus et à la charge, pour ainsi désactiver
le témoin d'ajretissement de basse pression des pneus. Si le pneu est à plat, faites-le répacker le plus tout possible. Pour obtenir des renseignements supplémentaires, consultez la section « Pneu creve » du chapitre « En cas d'urgence » de ce manuel.
Lors du remplacement d'une roue qui n'est pas equipée d'un système de surveillance de la pression des pneus, comme la roue de secours, le système de surveillance de la pression des pneus ne sera plus fonctionnel et le témoin de basse pression des pneus clignotera pendant environ une minute. Le témoin demeure allumé après une minute. Faites replacer vos pneus ou réinitialiser le système de surveillance de la pression des pneus dés que possible. Nous vous recommendons de vous rendre chez un concessionnaire NISSAN LEAF certifié pour procéder cet entretien.
- L'utilisation de pneus de remplacement autres que ceux précisés par NiSSAN peut nuir au fonctionnement du système de surveillance de la pression des pneus.
- N'injectez aucun produit d'étanchéité pour pneu, liquide ou en aérosol, dans les pneus. Le fonctionnement des capteurs de pression des pneus pourrait s'en才知道er compromis.

MISE EN GARDE
- Le système de surveillance de la pression des pneus peut ne pas fonctionner correctement lorsque les roues sont munies de chaînes antidérapantes ou lorsque la neige les recouvre complètement.
- N'installez pas de pellicule métallisée ou d'autre piece en métal (antenne, etc.) sur les glaces. Cela peut nuir à la réception des signaux des capteurs de pression des pneus, et le système de surveillance de la pression des pneus ne fonctionnera pas correctement.
Certains dispositifs et émetteurs pourraient entraver temporairement le fonctionnement du système de surveillance de la pression des pneus et provoquer l'allu
mage du témoin d'avertissement de basse pression des pneus. Exemples :
- Des équipements ou des dispositifs électriques situés à proximé du vehicule qui utilisent des fréquences radio proches de celles du système.
- Un émetteur utilisant des fréquences radio proches de celles du système qui se trouve dans l'habitacle ou à proximé du vehicule.
- Un ordinateur (ou un autre équipement similaire) ou un convertisseur continu-alternatif est utilisé dans l'habitacle ou à proximé du vehicule.
Le témoin d'ajretissement de basse pression des pneus peut s'allumer dans les cas suivants :
·Si le vehicule est équipé d'une roue ou d'un pneu depourvu du système de surveillance de la pression des pneus.
- Si le système de surveillance de la pression des pneus a ete remplaced et le code d'identification n'a pas ete enregistré.
-Si la roue n'est pas recommandee par NISSAN.
Avis de la FCC:
Aux États-Unis :
Ce dispositif est conforme à l'article 15 des règlements de la FCC. Sonutilisation est soumise aux deux conditionssuivantes : (1) ce dispositif ne doit causeraucune interference nuisible, et (2) cedispositif doit accepter toutes lesinterférences, y compris celles qui pouraientl'activer de façon inopinée.
REMARQUE :
Toute modification non approuvée par la partie responsable de la conformité peut annuler le droit d'utiliser ce dispositif.
Au Canada :
Ce dispositif est conforme aux normes d'Industrie Canada applicables aux apparciels RSS exempts de licence. Son utilisation est soumise aux deux conditions suivantes : (1) ce dispositif ne doit causeer aucune interfERENCE nuisible et (2) ce dispositif doit pouvoir accepter toutes les interférences, y compris celles qui pourraient l'activer de façon inopinée.
Système de surveillance de la pression des pneus avec fonction d'alerte de gonflage facilité
Lorsque la pression des pneus est BASSE, le témoin d'avertissement de basse pression des pneus s'allume.
Ce vehicule transmet des signaux visuels et sonores pour vous aider a gonfler les pneus à la pression À FROID recommandede.
Configuration du vehicule :
- Stationnez le vehicule dans un endroit sur et de niveau.
- Serrez le frein de stationnement et appuyez sur le commutateur de position P (stationnement) du levier sélecteur.
- Placez le commutateur principal à la position ON (marche). Ne le placez pas en mode READY (préts à démarrer).
Fonctionnement :
- Gonflez le pneu.
-
ÀpRES quelsques secondes, les feu de détrresse commencent à clignoter.
-
Lorsque la pression désignée est atteinte, l'avertisseur sonore retentit une fois et les deux de détresse cèssent de clignoter.
- Effectuez les étapes ci-dessus pour chaque pneu.
- Si le pneu est trop gonflé d'environ 30 kPa (4 lb/ po^2 ), l'avertisseur sonore retentit et les feu des détresse clignotent trois fois. Pour corriger la pression, appuyez brievement sur le pointeau de la tige de soupape du pneu pour relâcher la pression. Lorsque la pression atteint la pression désignée, l'avertisseur sonore retentit une fois.
- Si les feuels de détresse ne clignotent pas dans les 15 secondes environ après le début du gonflage, la fonction d'alerte de gonflage facilité n'est pas fonctionnelle.
- Le système de surveillance de la pression des pneus n'active pas la fonction d'alerte de gonflage facilité dans les conditions suivantes:
-Dans le cas d'interférences provenant d'un dispositif externe ou d'un émetteur.
- En cas de pression d'air de l'appareil de gonflage insuffisante pour gonfler le pneu, comme ceux utilisant une prise d'alimentation.
- Si de l'équipement électrique est utilisé dans le vehicule ou pres de celui-ci.
- Une anomalie est presente dans le système de surveillance de la pression des pneus.
-L'avertisseur sonore ou lesfeux de dé tresse sont defectueux.
-Si la fonction d'alerte de gonflage fac-. lité n'est pas fonctionnelle en raison d'interférences au système de surveillance de la pression des pneus, avancez ou reculez le vehicule d'environ 1 m (3 pi) et essayez de nouveau.
Si la fonction d'alerte de gonflage facilité n'est toujours pas fonctionnelle, utilisez alors un manomètre pour pneus.
POUR ÉVITER LES COLLISIONS ET LES RENVERSEMENTS

AVERTISSEMENT
Si ce vehicule n'est pas conduit de facon prudente et securitaire, une perte de maitrise du vehicule ou un accident peut survenir.
Faites preuve de vigilance et conduisez prudemment en tout temps. Respectez le code de la sécurité routière. Evitez la vitesse excessive, les virages à haute vitesse et les coups de volant parce que ces comportements peuvent vous faire perdre la maîtrise du vehicule. Comme c'est le cas pour tout autre vehicule, une perte de maîtrise peut vous faire entrer en collision avec d'autres vehicules ou des objets. Le vehicule peut également se renverser, particulièrement si la perte de maîtrise entraîne un dérapage létal. Evitez de conduire lorsque vous étés fatigué et restez attentif en tout temps. Ne conduisez jamais si vous étés sous l'influence de l'alcool ou de la drogue (y compris les médicaments avec ou sans ordnance qui causent de la somnolence).
Bouclez toujours votre ceinture de sécurité, conformément aux instructions indiquées dans le chapitre « Sécurité - sièges, ceintures de sécurité et système de retenue supplémentaire » duprésent manuel, et exigez que les autres passagers de votre vehicule fassent de même.
Les ceintures de sécurité contribuent à réduire les risques de blessures en cas de collision ou de renversement. En cas de renversement, les risques de blessures ou de mort sont accrus pour les personnes n'ayant pas bouclé leur ceinture ou l'avant bouclée incorrectement.
RECUPÉRATION D'UN VÉHICULE HORS ROUTE
Pendant la conduite, les roues du côte croit ou du côte gauche peuvent involontairement quitter la chaussée. En pareil cas, conservez la maitrise du vehicule conformément à la procédure ci-dessous. Notez que cette procédure ne sert que de guide général. Le vehicule doit être conduit en fonction de l'état du vehicule, de la route et de la circulation.
-
Demeurez calme et ne réagissez pas de façon excessive.
-
Ne serrez pas les freins.
- Tenez fermement le volant des deux mains et tentez de maintainir une trajec-toire directe.
- Au moment opportun, relâchéz lente-ment la pedale d'accélérateur pour graduallement ralentir le vehicule.
- Si aucun obstacle ne se trouve dans votre trajectorie, dirigez le vehicule pour qu'il suive la route pendant que le vehicule ralentit. Ne tentez pas de revenir sur la chaussée avant que la vitesse du vehicule soit réduite.
-
Lorsque vous pouvez le faire en toute sécurité, tournez graduèlement le volant jusqu'à ce que les deux pneus reviennent sur la chaussée. Lorsque tous les pneus se trouvent sur la chaussée, dirigez le vehicule pour qu'il demeure dans la voie appropriée.
-
Si vous decide qu'il est impossible de revenir sur la chaussée en toute sécurité en raison de l'etat du vehicule, de la route ou de la circulation, ralentissez graduelflement le vehicule pour l'immobiliser en lieu sur hors route.
PERTE RAPIDE DE PRESSION D'AIR
Une perte rapide de pression d'air ou un éclatement peut survenir si le pneu est creve ou s'il a été endommagé enheitant un trottoir ou un nid de poule. Une perte rapide de pression d'air peut aussi être provoquée par la conduite sur des pneus insuffisamment gonflés.
Une perte rapide de pression d'air peut nuire à la tenue de route et à la stabilité du vehicule, particulièrement à des vitesses élevées.
Contribuez à prévenir toute perte rapide de pression d'air en conservant la pression d'air appropriée et en inspectant visuellement les pneus pour vous assurer de l'absence d'usure et de dommages. Pour obtenir des renseignements supplémentaires, consultez la section « Roues et pneus » du chapitre « Entretien et interventions du propriétaire » duprésent manuel.
Si un pneu perd rapidement de l'air ou éclate pendant la conduite, conservez la maitrise du vehicule en suivant la procédure ci-dessous. Notez que cette procédure ne sert que de guide général. Le vehicule doit être conduit en fonction de l'état du vehicule, de la route et de la circulation.

AVERTISSEMENT
Les actions suivantes peuvent accroître le risque de perdre la maitrise du vehicule en cas de perte soudaine de pression d'air d'un pneu. La perte de maitrise du vehicule peut provoquer une collision et cause des blessures.
Le vehicule se déplace généralement dans la direction du pneu creve.
- Ne serrez pas rapidement les freins.
- Ne relâchéz pas rapidement la pé-dale d'accéléateur.
- Ne tournez pas rapidement le volant.
- Demeurez calme et ne réagissez pas de façon excessive.
- Tenez fermement le volant des deux mains et tentez de maintainir une trajec-toire directe.
- Au moment opportun, relâchez lente-ment la pedale d'accélérateur pour graduèlement ralentir le vehicule.
- Dirigez graduelflement le vehicule en lieu sur hors de la route et à l'écart de la circulation dans la mesure du possible.
- Serrez légèrement la pédale de frein pour graduèlement immobiliser le vehicule.
- Allumez les feuels de détresse et communiquez avec un service d'assistance routière pour faire changer le pneu. Pour obtenir des renseignements supplémentaires, consultez la section « Pneu creve » du chapitre « En cas d'urgence » de ce manuel.
CONDUITE ET CONSOMMATION D'ALCOOL OU DE DROGUES

AVERTISSEMENT
Ne conduisiez jamais lorsque vous estes sous I'influence de I'alcool ou de la drogue. La presence d'alcool dans le sang reduit la coordination des mouvements, augmente le temps de reaction et fausse le jugement. Si vous conduisez après avoir consommé de I'alcool, vous augmentez vos risques d'être impliqué dans un accident avec blessures. De plus, I'alcool pourrait accroître la gravité de vos blessures en cas d'accident.
NISSAN s'engage à construire des vehicules sécuritaires. Toutefois, même le vehicule le plus sécuritaire peut représenter un danger si son conducteur a consommé de l'alcool avant de prendre la route. Chaque année, des milliers de personnes sont blessées ou tuées dans des accidents impliquant des conducteurs qui ont consommé de l'alcool. Meme si les lois relatives aux
quantités d'alcool pouvant être consommées différent selon les territoires, il est évident que l'alcool a des effets différents d'une personne à l'autre, effets sous-estimés par la plupart desgens.
N'oubliez pas que l'alcool et la conduite ne font pas bon menage! Cela s'applique également aux drogues (médicaments avec ou sans ordonnance et drogues illégales). Ne prenez jamais le volant si vos capacités de conduite sont compromises par l'alcool, les drogues ou par toute condition physique susceptible de modifier votre comportement au volant.
COMMUTATEUR PRINCIPAL À BOUTON-POUSSOIR

AVERTISSEMENT
N'actionnez pas le commutateur principal lorsque vous conduisez sauf en cas d'urgence. (Le système de vehicule électrique s'arrête lorsque vous appuyez trois fois consécutives sur le commutateur principal ou que vous le maintenez enforcé pendant plus de 2 secondes.) Si le système de vehicule électrique s'arrête pendant la conduite, cela pourrait entraîner un accident ainsi que des blessures graves.
Avant d'utiliser le commutateur principal, assurez-vous que le vehicule est en position P (stationnement).
SYTÉME DE CLE INTELLIGENTE NISSAN INTELLIGENT KEYMD
Le système de clé intelligente permet au conducteur de démarrer le système de vehicule électrique sans retarder la clé de sa poche ou de son sac à main. L'environnement et les conditions d'utilisation peuvent nuire au fonctionnement du système de clé intelligente.
Certains témoins et averissements s'afficheront à l'écran multifonction. Pour obtenir des renseignements supplémentaires, consultez la section « Affichage multifonction » du chapitre « Commandes et instruments » duprésent manuel.

MISE EN GARDE
Assurez-vous d'avoir en votre possession la clé intelligente lorsque vous conduisiez le vehicule.
- Ne laissiez jamais la clé intelligente à l'intérieur du vehicule lorsque vous quittez le vehicule.

PORTÉE DE LA CLÉ POUR LA FONCTION DE DEMARRAGE DU VÉHICULE ÉLECTRIQUE
La fonction de la clé intelligente ne peut être utilisé pour démarrer le système de vehicule électrique que lorsque la clé intelligente se trouve dans la portée précisé ①.
Lorsque la pile de la clé intelligente est presque déchargée ou que de puissantes ondes radioélectriques sont transmises à proximé, la portée du système de clé intelligente est réduite et la clé intelligente peut ne pas fonctionner correctement.
Si la clé intelligente se trouve dans la portée, il est possible même pour une personne n'ayant pas sur soi la clé intelligente d'appuyer sur le commutateur principal pour démarrer le système de vehicule électrique.
L'espace à bagages n'est pas compris dans la portée, mais la clé intelligente peut tout de même fonctionner.
-La clé intelligente peut ne pas fonctionner si vous la placez sur le tableau de bord, dans la boîte à gants ou dans un videpoche de portière.
-La clé intelligente peut ne pas fonctionner si elle est placée pres de la portiere ou de la glace à l'extérieur du vehicule.

Lorsque vous appuyez sur le commutateurprincipal sans enforcer la pédale de frein,la position du commutateur principalchange comme suit :
- Appuyez une fois pour passer à la position ACC (accessoires).
- Appuyez deux fois pour passer à la position ON (marche).
- Appuyez trois fois pour passer à la position OFF (hors fonction).
- Appuyez quatre fois pour revenir à la position ACC (accessoires).
- Ouvrez ou fermez une des portières pour returner à la position LOCK (antivolverrouillé) lorsque le commutateur principal est à la position OFF (hors fonction).
Le commutateur principal s'allume lorsqu'il est en position ACC (accessoires) ou ON (marche).
Le verrouillage du commutateur principal est prévu pour empêcher le passage du commutateur principal à la position LOCK (antivol-verrouillé) jusqu'à ce que le vehicule soit placé à la position P (stationnement).
Lorsque vous ne pouvez pas placer le commutateur principal à la position OFF (hors fonction), procédez comme suit :
- Appuyez sur le commutateur de position P (stationnement) du levier selecteur pour placer le vehicule en position P (stationnement).
- Appuyez sur le commutateur principal à la position OFF (hors fonction). Le commutateur principal ne s'allume pas.
- Ouvrez la portière. Le commutateur principal passera à la position LOCK (antivol-verrouillé).
POSITIONS DU COMMUTATEUR PRINCIPAL
LOCK (antivol-verrouillé) (position de stationnement normale)
Le commutateur principal ne peut être verrouillé qu'en position LOCK (antivolverrouillé).
Le commutateur principal se déverrouille s'il est enforcé à la position ACC (accessoires) lorsque vous étés en possession de la clé intelligente.
ACC (accessories)
Dans cette position, les accessoires électriques, tels que la radio, peuvent être utilisés même si le système de vehicule électrique ne fonctionne pas.
ON (marche)
Dans cette position, le système de vehicule électrique et les accessoires électriques sont mis en fonction.
READY (préts à démarrer) (position de fonctionnement normale)
Cette position permet demettre en fonction le système de vehicule electrique ainsi que les accessoires electriques; dans cette position,le vehicule est pret a demarrer.
HORS FONCTION
Cette position arrête le système de vehicule electrique.
Le commutateur principal ne peut etre place a la position LOCK (antivol-verrouille) que lorsque le vehicule est en position P (stationnement).

MISE EN GARDE
Ne quitterz pas le vehicule lorsque le commutateur principal est à la position ACC (accessoires) pendant une période prolongée. Cela peut décharger la batterie de 12 V.
REMARQUE :
Si vous appuyez rapidement sur le commutateur principal ou si vous appuyez rapidement à deux reprises, le commutateur peut ne pas fonctionner même si un carillon retentit. Appuyez de nouveau sur le commutateur, plus lentement.
ARRET D'URGENCE DU VEHICULE ELECTRIQUE
Pour arrêté le système de vehicule électrique en cas d'urgence lors de la conduite, exécutez la procédure suivante :
Appuyez rapidement sur le commutateur principal trois fois consécutives en moins d'une seconde et demie; ou
·maintenez le commutateur principal en foncé pendant plus de deux secondes.

DéCHARGE DE LA PILÉ DE LA CLÉ INTELLIGENTE NISSAN INTELLIGENT KEYMD
Si la pile de la clé intelligente est déchargée ou si les conditions environnementales nuisent au fonctionnement de la clé intelligente, faites démarrer le système de vehicule électrique en mode PRÉT À DEMARRER en effectuant les étapes suivantes :
- Appuyez sur le commutateur de position P (stationnement) du levier sélecteur.
-
Appuyez fermement sur la pédale de frein.
-
Touchez le commutateur principal avec la clé intelligente comme illustré. (Un carillon retentit.)
- Appuyez sur le commutateur principal tout en,enfantant la pédale de frein dans les dix secondes suivant le reten-tissement du carillon. La position du commutateur principal passée au mode READY (pré à démarrer).
Après l'exécution de l'étape 3, le commutateur principal passée à la position ACC (accessoires) si vous appuyez sur le commutateur principal sans enforcer la pédale de frein.
REMARQUE :
Lorsque vous appuyez sur le commutateur principal à la position ACC (accessoires) ou ON (marche) ou en mode PRÉT À DEMARRER en suivant les étapes ci-dessus, le témoin de décharge de la pile de la clé intelligente relatif au fonctionnement du système de vehicule électrique s'affiche sur l'écran multifonction même si la clé intelligente se trouve à l'intérieur du vehicule. Cette condition est normale. Pour empêcher le clignotement du témoin, touchez de nouveau le commutateur principal avec la clé intelligente.
· Si le témoin de décharge de la pile de la clé intelligente s'affiche sur l'écran multifonction, remplacez la pile dés que possible. Pour obtenir des renseignements supplémentaires, consultez la section « Remplacement de la pile de la clé intelligente NISSAN Intelligent KeyMD » du chapitre « Entretien et interventions du propriétaire » de ce manuel.
SYTÉME ANTIDÉMARRAGE DU VÉHICULE NISSAN
Le système antidémarrage du vehicule NiSSAN ne permet pas de placer le commutateur principal à la position PRÉT À DÉ-MARRER sans utiliser la clé programmee.
S'il est impossible de placer le commutateur principal à la position PRÉT À DÉMARRER à l'aide de la clé programmee, il se peut que des interférences, causées par une autre clé programmee, un dispositif de péage de route automatisé ou un autre dispositif de paiement automatique fixé au porte-clés, soientprésentent. Redémarrez le système de vehicule électrique en effetuant les étapes suivantes :
- Laissez le commutateur principal à la position ON (marche) pendant environ cinq secondes.
- Placez le commutateur principal à la position OFF (hors fonction) et attendez pendant environ 10 secondes.
-
Recommencez les étapes 1 et 2.
-
Placez le commutateur principal à la position PRÉT À DEMARRER tout en maintainant le dispositif (qui peut être la cause d'interférences) éloigné de la clé programmee.
Si cette procédure permet demettre le commutateur principal en mode PRÉTÀ DEMARRER, NISSAN recommande de placer la clé programme sur un autre porteclés pour éviter les interférences causées par d'autres dispositifs.
AVANT LE DEMARRAGE DU SYSTEME DE VEHICULE ELECTRIQUE
Assurez-vous que la zone autour du vehicule est dégagée.
- Vérifiez le niveau des liquides, tels que le liquide de refroidissement, le liquide de frein et le liquide lave-glace aussi fréquement que possible.
- Vérifiez la propriété de toutes les glaces et de tous les phares.
- Vérifiez l'aspect et la condition des pneus en procédant à une inspection visuelle. Assurez-vous également que la pression de gonflage est ajustée.
- Vérifiez que toutes les portières sont fermées.
- Réglez les sièges et les appuie-tête.
- Réglez les rétroviseurs intérieur et extérieurs.
- Bouclez votre ceinture de sécurité et demandez à tous les autres occupants du vehicule de faire de même.
- Vérifiez le fonctionnement des témoins lorsque le commutateur principal est placé à la position ON (marche). Pour obtenir des renseignements supplémentaires, consultez la section « Témoins et rappels sonores » du chapitre « Commandes et instruments » duprésent manuel.
DÉMARRAGE DU SYSTEMÉ DE VÉHICULE ÉLECTRIQUE
- Assurez-vous que le frein de stationnement est serré.
- Assurez-vous que le vehicule est à la position P (stationnement).
Lorsque le commutateur principal est à la position ON (marche), le système de vehicule électrique est concu pour ne fonctionner que lorsque le levier sélecteur est à la position P (stationnement) ou N (point mort).
Voudevezavoirenvotrecpossession lacléintelligente lorsquevousutilizez le commutateur principal.
- Enforcez la pédale de frein et appuyez sur le commutateur principal pour placer le système de vehicule électrique à la position PRÉT À DÉMARRER.
Pour placer le vehicule à la position READY (préts demarrer), appuyez brie-vement sur le commutateur principal tout en,enfantant la pedale de frein lorsque le commutateur principal se trouve à n'importe qu'elle position. Le témoin PRET A DEMARRER du compteur s'allume.
- Pour arrêté le système de vehicule électrique, appuyez sur le commutateur de position P (stationnement) du levier sélecteur, puis placez le commutateur principal à la position OFF (hors fonction).
REMARQUE:
Évitez le plus possible les situations qui risquent de provoquer la décharge potentielle de la batterie et les conditions de non-demarrage telles que :
- L'installation ou l'utilisation prolongée d'accessoires électroniques qui consomment l'alimentation de batterie lorsque le système de vehicule electrique est arrêté (chargeurs de téléphone, GPS, lecteurs de DVD, etc.).
- Le vehicule n'est pas utilisé régulièrement ou il est utilisé lors de courtes distances seulement.
Dans ces cas, la batterie doit possiblement etre rechargée afin de preserver sa durée de vie utile.
CONDUITE DU VEHICULE
SYTÉME DE COMMANDE DE CHANGEMENT DE VITESSE ÉLECTRIQUE
Ce vehicule est contrôle electroniquement pour produit le plus d'énergie disponible possible et pour un fonctionnement en douceur.
Les procédures de fonctionnement recommandées pour ce vehicule sont indiquées dans les pages suivantes.
Démarrage du vehicule
- ÀpRES avoir mis le vehicule en position READY (pré à démarrer), enforcez complètement la pedale de frein avant de déplacer le levier sélecteur à la position D (marche avant).
Le levier selector de ce vehicule est concu de telle façon que la pedale de frein doit etre enforcée avant de passer de la position P (stationnement) a toute autre position de marche avant lorsque le commutateur principal est à la position ON (marche).
Le levier sélecteur ne peut pas être déplace de la position P (stationnement) à une autre position tant que le commutateur principal est place à la position LOCK (antivol-verrouillé), OFF (arrêt) ou ACC (accessoires), ou si la clé est retiree.
- Maintenez la pédale de frein enforcée, puis déplacez le levier sélecteur à la position D (marche avant).
- Desserrez le frein de stationnement et relâchez la pédale de frein, puis laissez le vehicule entamer graduèlement son déplacement.

AVERTISSEMENT
-
N'enforcez pas la pédale d'accélérateur lorsque vous passez des positions P (stationnement) ou N (point mort) aux positions R (marche arrière) ou D (marche avant). Ne reliçchez la pédale de frein qu'une fois le levier sélecteur en position. Vous risqueriescz autrement de perdre la maitrise du vehicule, ce qui pourrait entrainer un accident.
-
Ne déplacez jamais le levier en position P (stationnement) ou R (marche arrrière) lorsque le vehicule se déplace en marche avant et en position P (stationnement) ou D (marche avant) lorsqu'il se déplace en marche arrrière. Cela pourrait entraîner une perte de maitrise du vehicule et causer un accident.
- Ne passes pas brusquement en position B sur des routes glissantes. Vous pourriez alors perdre la maitrise de votre vehicule.

MISE EN GARDE
Pour éviter un dommage évientuel à votre vehicule, lorsque vous arrêtez le vehicule dans une côte ascendante, ne retenez pas le vehicule en position en,enfantant la pedale d'accéléateur. Utilisez只不过 la pedale de frein.
- Ne suspendez pas d'objets sur le levier sélecteur. Cela peut provoquer un accident en raison d'un démarriage soudain.

Changement des vitesses
Pour déplacer le levier sélecteur,
: Faites-le glisser le long de la coulisse lorsque vous enforcez la pédale de frein.
:AprèsI'avoir fait glissé,maintenez-le dans la meme position jusqu'à ce que le vehicule soit mis en position N (point mort).
: Lorsque le vehicule est en position D (marche avant), faites glisser le levier le long de la coulisse.
REMARQUE:
Assurez-vous que le vehicule est en position de changement de vitesse voulue en vérifier le témoin de changement de vitesse ① situé pres du levier sélecteur ou l'affichage multifonction du compteur.
Pour placer le vehicule en position D (marche avant) a partir du mode B, déplacez le levier sélecteur à la position D (marche avant).
Après avoir mis le vehicule en position READY(prêt à démarrer), enforcez complètement la pédale de frein, puis déplacez le levier sélecteur à la position de changement de vitesse-vous.
Si vous place le commutateur principal à la position OFF (hors fonction) ou ACC (accessoires) pour quelques raison que ce soit, alors que le levier sélecteur ne se trouve pas à la position P (stationnement), vous ne pouvez pas placer le commutateur principal à la position LOCK (antivol-verrouillé).
Si vous ne pouvez pas placer le commutateur principal à la position LOCK (antivolverrouillé), effectuez les étapes suivantes :
- Serrez le frein de stationnement lorsque le vehicule est arrêté.
- Placez le commutateur principal à la position ON (marche) lorsque vous enforcez la pédale de frein.
- Appuyez sur le commutateur de position P (stationnement) et confirmez que le vehicule est en position P (stationnement).
- Placez le commutateur principal à la position OFF (hors fonction).
REMARQUE:
Le vehicule passe automatiquement à la position P (stationnement) lorsque le commutateur principal est à la position OFF (hors fonction).

AVERTISSEMENT
- Le levier sélecteur est toujours dans la position centrale lorsque vous le relâchez. Lorsque vous placez le commutateur principal à la position READY (préts à démarrer), assurez-vous que le vehicule est en position P (stationnement). L'indicateur pres du « P » (stationnement) du levier sélecteur s'allume et le « P » (stationnement) s'affiche au compteur. Si le vehicule est en position D (marche avant) ou R (marche arrière) lorsque le commutateur principal est placé à la position READY (préts à démarrer), cela peut provoquer un démarrage soudain, ce qui risquérait d'entrainer un accident.
- Sur une route montagneuse, ne laisser pas le vehicule recycler lorsqu'il se trouve en position D (marche avant) ou en mode B, ou avancer lorsqu'il est en position R (marche arrière). Cela peut cause un accident.

MISE EN GARDE
- Ne faites pas glisser le levier sélecteurpendant que vous appuyez sur le commutateur de position P (stationnement).Vous risqueriez d'endommager le moteur électrique.
Lorsque you passez à la position voulue en actionnant le levier selecteur, assurez-vous que ce dernier revient à la position centrale en relichant le levier. Si vous maintainez le levier selecteur dans une position à mi-chemin, vous risquez également d'endommager le système de commande de changement de vitesse. - N'actionnez pas le levier sélection lorsque la pédale d'accéléateur est enforcée, sauf lorsque vous passez au mode B. Cela peut provoquer un démarrage soudain, ce qui risque d'entrainer un accident.
-
Les opérations suivantes ne sont pas permises en raison d'une force excessive qui serait exercée au moteur de traction, ce qui risquerait d'endommager le vehicule:
-
le déplacement du levier sélecteur à la position R (marche arrrière) lors de la conduite en marche avant;
- le déplacement du levier sélecteur à la position D (marche avant) lors de la conduite en marche arrêté.
Si vous tentez d'effectuer ces opérations, un carillon retentit et le vehicule passé à la position N (point mort).

P (stationnement) :
Utilisez cette position du levier selecteur lorsque le vehicule est stationné ou lorsque vous placez le vehicule en position READY (pré à démarrer). Assurez-vous que le vehicule est complètement arrêté. Pour passer à la position P (stationnement), appuyez sur le commutateur de position P (stationnement) comme indiqué dans l'illustration ci-dessus dés que le vehicule s'est arrêté complètement. Si vous appuyez sur le commutateur de position P (stationnement) alors que le vehicule est en mouvement, un carillon retentit et la position du levier selecteur
actuelle est maintainue. Apre s le passage à la position P (stationnement), serrez le frein de stationnement. Lorsque vous stationnez sur une pente, serrez d'abord le frein de stationnement tout en maintainant la pedale de frein enforcée, puis appuyez sur le commutateur de position P (stationnement) et placez le vehicule en position P (stationnement). Pour obtenir des renseignements supplémentaires, consultez la section « Frein de stationnement » dans ce chapitre.
REMARQUE:
Lorsque le vehicule est immobilise, il passage automatiquement à la position P (stationnement) si le levier selecteur n'est pas place à la position P (stationnement) lorsque le commutateur principal est reglé à la position OFF (hors fonction).
- Si vous appuyez sur le commutateur de position P (stationnement) lorsque vous faites glisser le levier sélecteur, le levier ne passera pas à la position P (stationnement). Lorsque vous appuyez sur le commutateur de position P (stationnement), assurez-vous d'abord de laisser le levier sélecteur revenir en position centrale.
R (marche arrrière) :
Cette position est utilisé pour recycler. Assurez-vous que le vehicule est complètement immobilisé avant de selectionner la position R (marche arrière). Si le vehicule est placé à la position D (marche avant) pendant la marche arrière, le carillon re-tentit et le vehicule passée en position N (point mort).
N (point mort) :
Il ne s'agit pas d'une position de marche avant ou de marche arrière. Le vehicule peut etre place en position PRET A DEMAR- RER dans cette position.
Ne passez pas au point mort en cours de route. Le circuit de freinage regeneratif ne fonctionne pas en position N (point mort). Toutefois, le vehicule pourra tout de meme etre immobilise a l'aide des freins.
D (marche avant) :
Cette position est utilisé pour la conduite normale en marche avant. Si le vehicule est placé à la position D (marche avant) pendant la marche arrière, le carillon retentit et le vehicule passé en position N (point mort).

Mode B:
Le mode B engage le circuit de freinage régénératif de façon plus dynamique sur les pentes descendantes et aide à réduire l'usage des freins. Il est activé en déplaçant le levier sélecteur vers la gauche et vers le bas. Le levier de vitesses revient ensuite en position centrale. Pour obtenir de plus amples renseignements, consultez le paragraphe « Circuit de freinage » dans ce chapitre.
Mode ECO (economie) :
Utilisez le mode ECO (economie) pour augmenter l'autonomie.
Par rapport à la position D (marche avant), le mode ECO (économie) consomme moins d'énergie pour faire fonctionner le moteur de traction et permet d'augmenter l'autonomie du vehicule. Pour activer le mode ECO (économie), appuyez sur le commutateur ECO (économie) près du levier sélecteur. Pour obtenir des renseignements supplémentaires, consultez la section « Commutateur ECO (économie) » du chapitre « Commandes et instruments » duprésent manuel.
FREIN DE STATIONNEMENT

AVERTISSEMENT
Assurez-vous que le frein de stationnement est desserré avant la conduite. Si tel n'est pas le cas, une défaillance des freins pourrait se produit et entraîner un accident.
- Ne desserrez pas le frein de stationnement de l'extérieur du vehicule.
Pour éviter le risque de blessures ou de décès associé à un fonctionnement accidentel du vehicule ou de ses systèmes, ne laissez pas les enfants, les personnes qui ont besoin de l'aide d'autres personnes ou les animaux sans surveillance dans votre vehicule. De plus, la température à l'intérieur d'un vehicule fermé lors d'une journée chaude peut s'éleverrapidement au point de provoquer un risque important de blessures graves ou mortelles à des personnes ou à des animaux domestiques.
- Lorsque you quittez le vehicule, serrez le frein de stationnement et appuyez sur le commutateur de position P (stationnement) du levier sélecteur.



TYPE DE PÉDALE
Pour le serrer : enforcez fermement le frein de stationnement.
Pour le relâcher :
- Appuyez fermement sur la pedale de frein.
- Déplacez le levier sélecteur à la position P (stationnement).
- Appuyez fermement sur la pédale du frein de stationnement pour le desserrer.
- Assurez-vous que le témoin des freins est étéeint avant de prendre la route.
TYPE DE COMMUTATEUR (MODELES AVEC SYSTÉME DE FREINAGE DE STATIONNEMENT ÉLECTRONIQUE)
Le frein de stationnement électronique peut être appliqué ou dégagé automatiquement ou au moyen du commutateur de frein de stationnement électronique.
Fonctionnement automatique
Le frein de stationnement électronique se dégage automatiquementès que le moteur démarre et que la pédale d'accéléateur est enforcée.
Pour que le frein de stationnementlectronique se desserre lorsque le conducteur appuie sur la pedale d'accélérateur, la ceinture de sécurité du conducteur doit être bouclée.

AVERTISSEMENT
- Le frein de stationnement électronique n'est pas appliqué automatiquement lorsque le système de vehicule électrique est arrêté sans utiliser le commutateur principal (par exemple, en cas de calage du système de vehicule électrique).
- Avant de quitter le vehicule, placez le levier selecteur à la position P (stationnement) et vérifie si le témoin du frein de stationnement électronique (ou STATIONNEMENT) s'allume pour confirmer que le frein de stationnement électronique est serré. Le témoin du frein de stationnement électronique (ou STATIONNEMENT) reste allumé pendant un laps de temps une fois la portière du conducteur verrouillée.

MISE EN GARDE
Lorsque you stationnez le vehicule dans un endroit ou la temperture exterieure est inférieure a 0 C (32 F), ne serrez pas le frein de stationnement pour eviter son gel.
Pour stationner votre vehicule en toute sécurité, placez le levier selecteur en position P (stationnement) et bloquez les roues.
REMARQUE:
Si une anomalie survient dans le système de freinage de stationnement électronique (par exemple, en raison de la décharge de la pile), il est recommédoné de vous rendre chez un concessionnaire NISSAN LEAF certifié.
Si le levier selector est déplace à la position P (stationnement) lorsque la force de freinage est maintainue par la fonction de retenue automatique du frein, le frein de stationnement électronique est appliqué automatiquement.
Si la ceinture de sécurité du conducteur est débouclée lorsque la force de freinage est maintainue par la fonction de
retenue automatique du frein, le frein de stationnement électronique est appliqué automatiquement.
-
Si le régulateur de vitesse adaptatif (selon l'equipement) est désactivé dans les conditions suivantes lorsque le vehicule est à l'arrêt, le frein de stationnement électronique est activé automatiquement:
-
Si l'une des portières est ouverte.
-La ceinture de sécurité du conducteur n'est pas bouclée. - Notre vehicule a ete arrete par le regulateur de vitesse adaptatif pendant environ 3 minutes ou plus.
- Le levier sélecteur n'est pas à la position D (marche avant) ou en mode B.
- Le système de contrôle dynamique du vehicule est désactivé.
Lorsque la distance mesurée est imprecise en raison de l'adhésion de saleté ou d'obstruction sur le captein. - Lorsque le signal du radar est interrompu temporairement.
Fonctionnement manuel
Le frein de stationnement électronique n'est pas appliqué automatiquement si le système de vehicule électrique est arrêté sans utiliser le commutateur principal (par exemple, en cas de calage du système de vehicule électrique). Dans un tel cas, vous nevez appliquer manuellement le frein de stationnement.
Pour appliquer: tirez le commutateur vers le haut ①. Le témoin ④ s'allume.
Pour relâcher : lorsque le commutateur d'allumage est à la position ON (marche), enforcez la pédale de frein et appuyez sur le commutateur ②. Le tímein A s'éteint.
Avant de prendre la route, assurez-vous que le témoin du frein de stationnement électronique ( P ou STATIONNEMENT) s'éteint. Pour obtenir des renseignements supplémentaires, consultez la section « Témoins et rappels sonores » du chapitre « Commandes et instruments » du précédent manuel.
REMARQUE:
- Un avertisseur sonore retentit si le vehicule roule sans que le frein de stationnement soit desserré. Pour obtaining des renseignements supplémentaires, consultez la section « Témoins et rappels sonores » du chapitre « Commandes et instruments » duprésent manuel.
- Pendant que le frein de stationnement électronique est serré ou desseré, un son de fonctionnement se fait entendre de la partie inférieure du siège arrière. Il s'agit d'une situation normale qui ne révèle pas une anomalie.
-
Si le frein de stationnementlectronique est serré et desserré fréquement pendant une courte période, le frein de stationnement peut ne pas fonctionner afin d'empêcher la surchauffe du système de freinage de stationnement. Si cela se produit, actionnez à nouveau le commutateur de frein de stationnementlectronique après avoir attendu environ une minute.
-
Si le frein de stationnement électronique doit être appliqué pendant la conduite en cas d'urgence, tirez sur le commutateur de frein de stationnement électronique et maintenez-le tiré. Lorsque vous relâchez le commutateur de frein de stationnement électronique, le frein de stationnement se desserre.
Si you tirez sur le commutateur du frein de stationnement electronique pendant la conduite, le frein de stationnement est serré et un carillon retentit. Le témoin du frein de stationnement electronique (P or STATIONNEMENT) s'allume dans le compteur et sur le commutateur de frein de stationnement electronique. Il ne s'agit pas d'une anomalie. Le témoin du frein de stationnement electronique (P ou STATIONNEMENT) s'éteint dans le compteur et sur le commutateur de frein de stationnement electronique lorsque le frein de stationnement est desserré.
Si vous tirez sur le commutateur du frein de stationnement électronique lorsque le commutateur principal est placé à la position OFF (hors fonction) ou ACC (accessoires), le témoin du commutateur de frein de stationnement électronique reste allumé pendant une courte période.
SYSTEME E-PEDAL

AVERTISSEMENT
Ne vous fiez jamais uniquement au système e-Pedal, puisqu'une limite est imposée au rendement du système. Conduisez toujours prudemment et avec toute l'attention possible. La pédale de frein doit être actionnée pour ralentir ou arrêté le vehicule selon les conditions de circulation ou de route.
Le système e-Pedal permet au conducteur de ralentir le vehicule, de l'immobiliser ou de le maintainir à l'arrêt en actionnant seulement la pedale d'accéléateur. Ce système aide le conducteur à ne pas déplacer le pied entre la pedale d'accéléateur et la pedale de frein.


FONCTIONNEMENT DU SYSTEME E-PEDAL
- Acceleration
- Decélération (au lieu de la pédale de frein)
- Arrêt (au lieu de la pédale de frein)
Lorsque le système e-Pedal est activé, le freinage regénératif est amélioré et le conducteur peut régler la vitesse du vehicule uniquement en,enfantant la pedale d'accéléateur ou en remettant celle-ci à sa position d'origine. Lorsque vous relâchez (enlevez votre pied) la pedale d'accéléateur, le vehicule ralentit et s'immobilise sans à-coup, sans que vous enfonciez la pedale de frein. ÀpRES un arrêt, le vehicule reste immobilisé automatiquement.

Pour activer ou désactiver le système e-Pedal, placez le commutateur principal à la position ON (marche) et tirez le commutateur du système e-Pedal qui se trouve sur la console centrale. Le système e-Pedal s'active ou se désactive chaque fois que vous tirez le commutateur du système e-Pedal. (Le tímoin du système e-Pedal (à l'affichage multifonction) indique l'état du système e-Pedal.)
Pour désactiver le système e-Pedal pendant que le vehicule est immobilisé au moyen du système e-Pedal, appuyez sur la pédale de frein, puis tirez le commutateur du système e-Pedal.
REMARQUE :
Lorsque le système e-Pedal est activé ou désactivé, le degré de décelération du vehicule change.
Le système e-Pedal se désactive automatiquement lorsque le système de vehicule electrique se remet en marche.
Pour maintainir le système e-Pedal activé même après que le système de vehicule électrique se soit remis en marche, activez l'option « Retain Mode » (mode Maintien) dans le menu « Driver Assistance » (aide au conducteur) à l'affichage multifonction. Pour obtenir des renseignements supplémentaires, consultez la section « Affichage multifonction » du chapitre « Commandes et instruments » du pré-sent manuel.
Le réglage de l'option « Retain Mode » (mode maintainen) ne se réinitialise pas après que vous ayez sélectionné l'option « Factory Reset » (réinitialisation des réglages d'usine) dans le menu « Settings » (réglages) à l'affichage multifonction. Pour obtenir des renseignements supplémentaires, consultez la section « Affichage multifonction » du chapitre « Commandes et instruments » du précédent manuel.
Lorsque le système e-Pedal est activé, les caractéristiques de la pédale d'accéléateur changent considérablement et la pédale d'accéléateur fonctionne d'une façon différente par rapport à une pédale d'accéléateur classique. Assurez-vous de confirmer l'état du système e-Pedal à l'affichage multifonction avant de prendre la route.
Le système e-Pedal fournit les caractéristiques de conduite suivantes :
Lors de la conduite ou de l'arrêt du vehicule:
-
Le fait d'enforcer la pédale d'accélérateur ou de remettre celle-ci à sa position d'origine modifie le degré d'accélération et de décélation en conséquence.
-
Le fait de remettre la pedale d'accéléateur à sa position d'origine génére une décelération supérieure à la normale. (La décelération maximale change en fonction de la vitesse du vehicule.)
- Relâchéz (enlevez le pied) la pédale d'accélérateur pour réduire la vitesse du vehicule jusqu'à ce que celui-ci s'immobilise.
- Les feu d'arrêt du vehicule s'allument lorsque le niveau de décelération correspond à un freinage normal.
Si la décelération n'est pas suffisante lorsque la pedale d'accéléateur est remise à sa position d'origine ou relachée, enforcez la pedale de frein. Vous pouvez enforcer la pedale de frein pour réduire la vitesse du vehicule, comme d'habitude, même lorsque le système e-Pedal est activé.
Lors du redémarrage du vehicule :
- Une fois le vehicule immobilisé au moyen de la fonction du système e-Pedal, il reste à l'arrêt tant que la pédale d'accéléateur est relihartée.
-
Les feu d'arrêt du vehicule restent allumés lorsque celui-ci est immobilisé au moyen du système e-Pedal.
-
Enforcez la pedale d'accélérateur pour redémarrer le vehicule à partir d'une position d'arrêt.
Lorsque vous devez immobiliser le vehicule pendant un certain temps, placez-le en position P (stationnement) et serrez le frein de stationnement.

MISE EN GARDE
Lorsque le système e-Pedal est désactivé, n'oubliez pas d'enforcer fermement la pedale de frein pour empêcher le vehicule de se déplacer lorsque le levier sélecteur est dans une position autre que P (stationnement).
Lorsque le vehicule recule :
Lorsque le levier selecteur est à la position R (marche arrrière), actionnez la pédale d'accélérateur pour régler la vitesse du vehicule, (accelération, déceleration, ou arrêt) dans le même sens que le position D (marche avant).
Autres conseils sur la conduite relatifs au système e-Pedal :
Pour une décelération en douceur lorsque le système e-Pedal est activé, nous vous recommendons de régler la pédale d'ac
celerateur en l'enfant ou en la remettant en position d'origine, mais pas en la relachant.
- Le déplacement du levier sélecteur de la position D (marche avant) au mode B ou du mode B à la position D (marche avant) n' affecte pas le fonctionnalité du système e-Pedal.
- Le système e-Pedal ne fonctionne pas dans les conditions suivantes:
-Lorsque le vehicule est place à la position P (stationnement) ou N (point mort)
-Lorsque le régulateur de vitesse (selon l'équipement), le système ProPILOT Assist (selon l'équipement), ou le système de freinage d'urgence automatique (selon l'équipement) fonctionne
LIMITE DU SYSTEME E-PEDAL

AVERTISSEMENT
Les limites du e-Pedal sont répertorées ci-dessous. Le fait de ne pas conduire le vehicule conformément à ces limites du système peut entraîner des blessures graves ou mortelles.
- Si le message d'advertissement « Press brake pedal to prevent rolling » (Enforcer la pedale de frein pour éviter le roulement) s'affiche à l'écran multifonction, enforcez la pedale de frein. Le vehicule risque de se déplacer.
- Si la force de décelération fournie par le système e-Pedal ne suffit pas, enforcez la pédale de frein.
- Si le vehicule commence à déplacer pendant qu'il est immobilisé au moyen du système e-Pedal, enforcez immédiatement la pédale de frein.
- Dans les conditions suivantes, mettez le vehicule en position P (stationnement) et assurez-vous que le frein de stationnement est correctement serré. Le vehicule risque de se déplacer soudainement.
- Lorsque vous montez dans le vehicule ou en descendez
Lorsque you chargez ou dechargez le vehicule -
Lorsque vous arrêtez le vehiculependant une longue période
-
Dans les conditions suivantes, le système e-Pedal peut ne pas ralentir ou arreter le vehicule suffisamment. Enforcez la pedale de frein au besoin.
- Lorsque des bagages trop lourdes sont chargées dans le vehicule
- Lorsque vous conduisez sur des pentes descendantes abruptes
- Lorsque vous conduisez sur une chaussée glacée
- Sur une pente, le système e-Pedal peut ne pas immobiliser complètement le vehicule ou peut ne pas le maintainir à l'arrêt. Enforcez la pé-dale de frein au besoin.

MISE EN GARDE
- Désactivez le système e-Pedal et placez le vehicule en position N (point mort) dans les conditions suivantes:
- Lorsque le vehicule entre dans un lave-auto automatique.
- Lorsque le vehicule est remarqué
- Veillez à ne pas actionner le commutateur du système e-Pedal par erreur ou par inadvertance.
ANOMALIE DU SYSTÉME
Si le système e-Pedal est defectueux, le message d'advertissement « e-Pedal system failure! Press brake pedal to slow or stop » (système e-Pedal defectueux! Appuyez sur la pedale de frein pour ralentir ou arrêté) s'affiche à l'écran multifonction. Lorsque le message d'advertissement s'affiche, le système e-Pedal se désactive automatiquement. Faites inspecter le système de votre vehicule dés que possible. Nous vous recommendons de vous rendre chez un concessionnaire NISSAN LEAF certifié pour procéder cet entretien.
SYSTEMES D'AVERTISSEMENT DU DEPORT DE COULOIR (LDW) (SELON L'ÉQUIPEMENT)


AVERTISSEMENT
Le non-respect des avertissements et des instructions relatives à l'utilisation appropriée du système d'avoitissement du déport de couloir pourrait entrainer des blessures graves, voire mortelles.
- Ce système n'est qu'un dispositif d'avertissement pour averir le conducteur d'un départ de voie involontaire potentiel. Il n'assure pas la direction du vehicule et ne prévient pas la perte de maïtrise du vehicule. Il incombe au conducteur de rester vigilant, de conduire prudèment, de maintainir son vehicule dans la voie empruntée et de maïtriser son vehicule en tout temps.
Le système d'advertissement du déport de couloir fonctionne lorsque le vehicule est conduit à une vitesse d'environ 60 km/h (37 mi/h) et plus, et seulement lorsque les marquages au sol sont clairment visibles sur la route.
Le système d'rapidissement du déport de couloir (LDW) contrôle les marquages au sol de la voie empruntée à l'aide d'une caméra © située au-dessus du rétroviseur interieur.
Le système d'avertissement du déport de couloir (LDW) avertit le conducteur au moyen d'un témoin à l'écran multifonction et d'une vibration du volant que le vehicule est sur le point de quitter entièrement la voie de conduite. Pour obtenir des renseignements supplémentaires, se reporter à la section « Fonctionnement du système d'avertissement du déport de couloir » dans ce chapitre.

FONCTIONNEMENT DU SYSTÉME D'AVERTISSEMENT DU DÉPORT DE COULOIR
Le système d'ajretissement du déport de couloir fournit une fonction d'ajretissement du déport de couloir, lorsque le vehicule est conduit à une vitesse d'environ 60km / h (37 mi/h) et que les marquages au sol sont bien visibles. Lorsque le vehicule s'approche de la voie de gauche ou de droite, le volant vibre et le témoin du système d'ajretissement du déport de couloir clignote à l'écran multifonction pour alerter le conducteur.
La fonction d'rapidissement se désactive lorsqué le vehicule returne à l'intérieur des marquages au sol.

ACTIVATION ET DÉSACTIVATION DU SYSTEME D'AVERTISSEMENT DU DEPORT DE COULOIR
Effectuez les étapes suivantes pour activer ou désactiver le système d'advertisement du déport de couoir :
- Appuyez sur le bouton ↓ jusqu'à ce que l'option « Settings » (réglages) s'affiche à l'écran multifonction. Utilisez le bouton ↓ pour selectionner l'option « Driver Assistance » (aide au conducteur), puis appuyez sur le bouton OK.
- Sélectionnez « Lane » (voie), puis appuyez sur le bouton OK.
- Sélectionnez l'option « Lane Departure Warning » (Système d'avertissement du déport de couloir) et appuyez sur le bouton OK pour activer ou désactiver le système.
LIMITATIONS DU SYSTème
D'AVERTISSEMENT DU DÉPORT DE COULOIR

AVERTISSEMENT
Les limites du système d'ajretissement du déport de couloir sont répertoriées ci-dessous. Le non-respect des avertissements et des instructions relatives à l'utilisation appropriée du système d'ajretissement du déport de couloir pourrait entraîner des blessures graves, voir mortelles.
Le système ne fonctionne pas à des vitesses inférieures à 60 km/h (37 mi/h) ou s'il ne peut détecter les marquages au sol.
- N'utilise pas le système d'advertisement du départ de couloir dans les conditions suivantes, car il pourrait fonctionner de manière incorrecte:
- Par mauvais temps (pluie, brouillard, neige, etc.).
-
Lors de la conduite sur des routes glissantes, comme sur la glace ou la neige.
-
Lors de la conduite sur des routes sinueuses ou irrégulières.
- Lors d'une fermetre de voie en raison de réparations de route.
- Lors de la conduite sur une route de fortune ou sur une voie-temporaire.
- Lors de la conduite sur des routes dont la largeur de voie est trop etroite.
- Lors de la conduite dans des conditions anormales des pneus (par exemple, usure des pneus,asse pression des pneus,installation d'une roue de secours,dechaines antidérapantes, de roues differentes de celles de série).
- Lorsque le vehicule est muni de pieces de frein ou de suspension qui ne sont pas d'origine.
-
Lorsque vous tractez une remorque ou un autre vehicule.
-
Le système peut ne pas fonctionner correctement dans les conditions suivantes:
-
Sur les routes où se trouvent de multiples marquages au sol de voie parallèle, de marquages décolorés ou peints de façon imprecise, de marquages peints en jaune, de marquages irréguliers ou de marquages recouverts d'eau, de saleté, de neige, etc.
- Sur les routes ou les marquages au sol discontinués sont encore décelables.
- Sur les routes sinueuses.
- Sur les routes comptant des objets de contraste important, tels que les ombres, la neige, l'eau, les ornières de roue, les traces ou les lignes qui restent après les réparations sur la route. (Le système d'rapidissement du départ de couloir pourrait détecter ces articles comme des marquages au sol.)
- Sur les routes où la voie utilisée fusionne ou se sépare.
-
Lorsque la direction empruntée du vehicule ne s'aligne pas avec le marquage.
-
Lorsque le vehicule s'approche de celui qui le precede, ce qui obstrue la portée de détction deamera de voie.
- Quand la pluie, la neige, la saleté ou un objet adhérent au pare-brise devant laamera de voie.
- Lorsque les phares sont ternes en raison d'une accumulation de salétés sur la lentille ou si l'orientation n'est pas régée correctement.
- Lorsqu'une lumière intense pénétre dans laamera de voie (par exemple, la luzière est réfléchieidirectement à l'avant du vehicule au lever ou au coucher du soleil).
- Lorsqu'un changement soudain d'intensité survient (par exemple, lorsque le vehicule penètre dans un tunnel ou en sort ou passée sous un pont).
Si le vehicule est stationné au soleil lorsque la température est très élevé (au-dessus de 40^ [104°F]), puis il est ensuite démarré, le système d'ajretissement du deport de
couloir peut être désactivement automatiquement et le message suivant s'affichera à l'écran multifonction : « Unavailable : High Cabin Temp. » (non disponible : température élevé de la cabine)
Lorsque la température interieure est réduite, le système d'advertissement du déport de couloir repend automatiquement le fonctionnement
Le système d'advertissement du déport de couloir n'est pas consq pour alerter dans les conditions ci-dessous :
Lorsque vous actionnez le signal de changement de voie et changez la voie empruntee dans la direction du signal. (Le système d'advertissement du deport de couloir est de nouveau fonctionnel environ deux secondes après la désactivation du signal de changement de voie.)
Lorsque la vitesse du vehicule est inférieure à 60 km/h (37 mi/h).
Lorsque les conditions mentionnées ci-dessus ne sont plus générées et que les conditions de fonctionnement nécessaires sont remplies, les fonctions du système d'ajtestement du déport de couloir sont réactivées.
ANOMALIE DU SYSTEME
Si le système d'advertissement du déport de couvoir ne fonctionne pas correctement, il s'annule automatiquement et le message « Malfunction: See Owner's Manual » (Anomalie : Voir manuel cond.) s'affiche à l'écran multifonction. Si le message « Malfunction: See Owner's Manual » (Anomalie : Voir manuel cond.) s'affiche à l'écran multifonction, quittez la route et immobilisez votre vehicule dans un endroit sécuritaire. Placez le levier sélecteur à la position P (stationnement) et le commutateur principal à la position OFF (hors fonction), puis redémarrez le système de vehicule électricque. Si le message « Malfunction: See Owner's Manual » (Anomalie : Voir manuel cond.) continue de s'afficher à l'écran multifonction, faites vérifier le système. Nous vous recommendons de vous rendre chez un concessionnaire NISSAN LEAF certifié pour procéder cet entretien.

ENTRETIEN DU SYSTÉME
Laamera de voie ① du système d'avoitissement du déport de couloir se trouve au-dessus du rétroviseur intérieur. Afin d'assurer le fonctionnement approprié du système d'avoitissement du déport de couloir et de prévenir une anomalie de système, observez les consignes suivantes:
- Gardez toujours le pare-brise propre.
-
N'apposez pas un autocollant (opaque ou transparent) sur le capteur et n'installez pas d'accessoire à proximé.
-
Ne placez pas de matériel refléchissant, comme du papier blanc ou un miroir, sur le tableau de bord. Le reflet des rayons du soleil peut nuire à la capacité de détction de laamera et l'empêcher de détecter les marquages au sol.
- Évitez de frapper ou d'endommager les zones autour de laamera. Ne touche pas à la lentille de laamera et ne retirez pas la vis situation sur laamera. Si laamera est endommagée à la suite d'un accident, nous vous recommendons de visiter un concessionnaire NISSAN LEAF certifié.
SYSTÉME D'INTERVENTION DE CHANGEMENT DE VOIE INTELLIGENT (SELON L'ÉQUIPEMENT)


AVERTISSEMENT
Le non-respect des avertissements et des directives relatives à l'utilisation du système d'intervention de changement de voie intelligent pourrait entrainer des blessures graves, voir mortelles.
Le système d'intervention de changement de voie intelligent n'assure pas la direction du vehicule et ne prévient pas la perte de maîtrise du vehicule. Il incombe au conducteur de rester vigilant, de conduire prudiment, de maintainir son vehicule dans la voie empruntée et de maîtriser son vehicule en tout temps.
Le système d'intervention de changement de voir intelligent est unconqu Principalement pour l'utilisation sur les autoroutes bien développées. Il peut ne pas détecter les marquages au sol dans certaines conditions de la chaussée, climatiques ou routières.
Activez le système d'intervention de changement de voie intelligent à l'aide de la commande du système ProPILOT Assist au volant chaque fois que vous placez le commutateur principal à la position ON (marche).
Le système d'intervention de changement de voie intelligent fonctionne lorsque le vehicule est conduit à une vitesse d'environ 60 km/h (37 mi/h) et plus, et seulement lorsque les marquages au sol sont clairement visibles sur la route.
Le système d'intervention de changement de voie intelligent avertit le conducteur lorsque le vehicule quitte le centre de la voie empruntée au moyen d'un témoin à l'affichage multifonction et d'une vibration du volant. Le système aide le conducteur à remettre le vehicule au centre de la voie en appliquant les freins sur la roue gauche et la roue droite individuellement (pendant une courte période).
Le système d'intervention de changement de voie intelligent contrôle les marquages au sol de la voie empruntée à l'aide d'uneamera (A) située au-dessus du rétroviseur interieur.

FONCTIONNEMENT DU SYSTEME
D'INTERVENTION DE
CHANGEMENT DE VOIE
INTELLIGENT
Le système d'intervention de changement de voie intelligent fonctionne lorsque la vitesse du vehicule est supérieure à 60 km/h (37 mi/h) environ. Lorsque le vehicule s'approche de la voie de gauche ou de droite, le volant vibre et le témoin du système d'intervention de changement de voie intelligent (I-LI) (orange) clignote à l'affichage multifonction pour alerter le conducteur. Ensuite, le système d'intervention de changement de voie intelligent applique automatiquement les freins pendant une brève période pour aider le conducteur à returner le vehicule au centre de la voie empruntée.
Pour activer le système d'intervention de changement de voie intelligent, appuyez sur le commutateur du système ProPILOT Assist sur le volant. Appuyez de nouveau sur le commutateur du système ProPILOT Assist pour désactiver le système d'intervention de changement de voie intelligent.

ACTIVATION ET DÉSACTIVATION DU SYSTème D'INTERVENTION DE CHANGEMENT DE VOIE INTELLIGENT
Effectuez les étapes suivantes pour activer ou désactiver le système d'intervention de changement de voie intelligent :
- Appuyez sur le bouton ↓▶ jusqu'à ce que l'options « Settings » (réglages) s'affiche à l'affichage multifonction. Utilisez le bouton ↑ pour sélectionner l'options « Driver Assistance » (aide au conducteur), puis appuyez sur le bouton OK.
- Sélectionnez « Lane » (voie), puis appuyez sur le bouton OK.
- Sélectionnez l'options « Lane Departure Prevention » (prévention du déport de couloir) et appuyez sur le bouton OK pour activer ou désactiver le système.
REMARQUE:
Si vous activez le système ProPILOT Assist (selon l'équipement) le système d'intervention de changement de voie intelligent s'active en même temps. Pour obtenir de plus amples renseignements, consultez le paragraphe « ProPILOT Assist » dans ce chapitre.
LIMITES DU SYSTEMÉM D'INTERVENTION DE CHANGEMENT DE VOIE INTELLIGENT

AVERTISSEMENT
Les limites du système d'intervention de changement de voie intelligent sont repertoriées ci-dessous. Le non-respect des averissements et des directives relatives à l'utilisation du système d'intervention de changement de voie intelligent pourrait entraîner des blessures graves, voir mortelles.
-
Le système d'intervention de changement de voie intelligent peut s'activer si vous changez de voie sans d'abord activer votre clignotant ou, par exemple, si une zone de construction oblige les vehicules à traverser un marquage au sol existant. Si cela se produit, vous devrez peut-être corriger la direction pour terminer votre changement de voie.
-
En raison du fait que le système d'intervention de changement de voie intelligent ne pas s'activer dans les conditions de route, de climat et de marquage décrites dans cette section, il peut ne pas s'activer chaque fois que vousVehicle commence à changer de voie et vousdezvez alors corriger la direction.
Lorsque le système d'intervention de changement de voie intelligent est activé, évitez les manoeuvres de direction excessives ou soudaines afin d'éviter de perdre la maîtrise du vehicule.
Le systeme d'intervention de changement de voie intelligent ne fonctionne pas à des vitesses inférieures à 60 km/h (37 mi/h) ou s'il ne peut détecter les marquages au sol. - N'utilise pas le système d'intervention de changement de voie intelligent dans les conditions suivantes, car il pourrait fonctionner de maniere incorrecte:
- Par mauvais temps (pluie, brouillard, neige, etc.).
-
Lors de la conduite sur des routes glissantes, comme sur la glace ou la neige.
-
Lors de la conduite sur des routes sinueuses ou irrégulières.
- Lors d'une fermeture de voie en raison de réparations de route.
- Lors de la conduite sur une route de fortune ou sur une voie-temporaire.
- Lors de la conduite sur des routes dont la largeur de voie est trop etroite.
- Lors de la conduite dans des conditions anormales des pneus (par exemple, usure des pneus, basse pression des pneus, installation d'une roue de secours, de chaînes antidérapantes, de roues différentes de celles de série).
- Lorsque le vehicule est muni de pieces de frein ou de suspension qui ne sont pas d'origine.
- Lorsque vous tractez une remorque ou un autre vehicule.
-
Sur les routes où se trouvent de multiples marquages au sol de voie parallèle, de marquages décolorés ou points de façon imprecise, de marquages points en jaune, de marquages irréguliers ou de marquages recouverts d'eau, de saleté, de neige, etc.
-
Sur les routes où les marquages au sol discontinués sont encore décelables.
- Sur les routes sinueuses.
- Sur les routes comptant des objets de contraste important, tels que les ombres, la neige, l'eau, les ornières de roue, les traces ou les lignes qui restent après les réparations sur la route. (Le système d'intervention de changement de voie intelligent pourrait détecter ces articles comme des marquages au sol.)
- Sur les routes ou la voie utilisée fusionne ou se sépare.
- Lorsque la direction empruntée du vehicule ne s'aligne pas avec le marquage.
- Lorsque le vehicule s'approche de celui qui le precede, ce qui obstrue la portée de détction deamera de voie.
-
Lorsque la pluie, la neige ou la salleté adhére au pare-brise à l'avant de laamera de voie.
-
Lorsque les phares sont ternes en raison d'une accumulation de saletés sur la lentille ou si l'orientation n'est pas régée correctement.
- Lorsqu'une lumière intense pénétre dans laamera de voie (par exemple, la luzière est réfléchiedirectement à l'avant du vehicule au lever ou au coucher du soleil).
- Lorsqu'un changement soudain d'intensité survient (par exemple, lorsque le vehicule penètre dans un tunnel ou en sort ou passée sous un pont).
Pendant que le système d'intervention de changement de voie intelligent est en fonction, vous pourriez entendre un bruit provenant du fonctionnement des freins. Ceci est normal et indique que le système d'intervention de changement de voie intelligent fonctionne correctement.
SYSTEME TEMPORAIREMENT INAVAILABLE
Condition A:
Les fonctions d'rapidissement et d'assistance du système d'intervention de changement de voie intelligent ne sont pas conçues pour fonctionner dans les conditions suivantes:
Lorsque vous actionnez le signal de changement de voie et changez la voie empruntee dans la direction du signal. (Le système d'intervention de changement de voie intelligent est désactivé pendant 2 secondes après la déactivation du signal de changement de voie.)
Lorsque la vitesse du vehicule est inférieure à 60 km/h (37 mi/h).
Lorsque les conditions mentionnées ci-dessus ne sont plus générées et que les conditions de fonctionnement nécessaires sont remplies, les fonctions d'ajretissement et d'assistance sont reactivées.
Condition B:
La fonction d'assistance du système d'intervention de changement de voie intelligent n'est pas conscience pour fonctionner dans les conditions suivantes (l'avertissement est tout de même fonctionnel):
Lorsque la pédale de frein est enforcée.
Lorsque le volant est tourné aussi loin que nécessaire pour effectuer le changement de voie.
Lorsque le vehicule accelere pendant le fonctionnement du système d'intervention de changement de voie intelligent.
Lorsque l'avertissement d'approche du régulateur de vitesse adaptatif survient.
Lorsque les yeux de détresse sont actionnés.
Lors de la conduite dans un virage a haute vitesse.
Lorsque les conditions mentionnées ci-dessus ne sont plus générées et que les conditions de fonctionnement nécessaires sont remplies, l'application des freins par le système d'intervention de changement de voie intelligent est reactivée.
Condition C:
Si les messages suivants s'affichent à l'affchage multifonction, un carillon retentit et le système d'intervention de changement de voie intelligent est désactisé automatiquement.
- « Not Available – Poor Road » (non disponible, mauvaises conditions routières): lorsque le système de contrôle dynamique du vehicule (à l'exception du système d'anti-patinage à l'accélération) ou le système de freinage antiblocage fonctionne.
- « Currently not available » (non disponible actuellement) : lorsque le système de contrôle dynamique du vehicule est désactivé.
Mesures à prendre :
Lorsque les conditions mentionnées ci-dessus ne sont plus presents, désactiver le système d'intervention de changement de voie intelligent. Appuyez sur le commutateur du système ProPILOT Assist pour réactiver le système d'intervention de changement de voie intelligent.
État désactivement temporairement à haute température:
Si le vehicule est stationné au soleil partemps très chaud (la température est supérieure à 40 °C [104 °F] environ), puis le système d'intervention de changement de voie intelligent est activé, le système d'intervention de changement de voie intelligent pourrait se désactiver automatique et le message suivant s'affichera à l'affichage multifonction : « Unavailable High Cabin Temp. » (non disponible, température élevée de la cabine). Lorsque la température interieure est réduite, le système reprend automatiquement le fonctionnement.
ANOMALIE DU SYSTEME
En cas d'une anomalie du système d'intervention de changement de voie intelligent, la fonction est désactivée automatique. Le témoin du système d'intervention de changement de voie intelligent (orange) s'allume à l'écran.
Si le témoin du système d'intervention de changement de voie intelligent (orange) s'allume à l'écran, quitterze la route et immobilisez votre vehicule dans un endroit sécuritaire. Arrêtez le système de vehicule électronique et faites-le redémarrer. Si le témoin du système d'intervention de changement de voie intelligent (orange) continue de s'allumer, faites vérifier le système d'intervention de changement de voie intelligent. Nous vous recommendons de vous rendre chez un concessionnaire NISSAN LEAF certifié pour procéder cet entretien.

ENTRETIEN DU SYSTÉME
Laamera de voie ① du système d'intervention de changement de voie intelligent se trouve au-dessus du rétroviseur interieur. Afin d'assurer le fonctionnement approprié du système d'intervention de changement de voie intelligent et de prévenir une anomalie de système, observer les consignes suivantes:
- Gardez toujours le pare-brise propre.
-
N'apposez pas un autocollant (opaque ou transparent) sur le capteur et n'installez pas d'accessoire à proximité.
-
Ne placez pas de matériel réfléchissant, comme du papier blanc ou un miroir, sur le tableau de bord. Le reflet des rayons du soleil peut nuire à la capacité de détction de laamera et l'empêcher de détecter les marquages au sol.
- Évitez de frapper ou d'endommager les zones autour de laamera. Ne touche pas à la lentille de laamera et ne retirez pas la vis situation sur laamera. Si laamera est endommagée à la suite d'un accident, nous vous recommendons de visiter un concessionnaire NISSAN LEAF certifié.
SYSTEME D'AVERTISSEMENT D'ANGLE MORT (BSW) (SELON L'ÉQUIPEMENT)

AVERTISSEMENT
Le non-respect des avertissements et des directives relatives à l'utilisation du système d'advertissement d'angle mort pourrait entrainer des blessures graves, voire mortelles.
- Le système d'advertissement d'angle mort ne remplace pas la façon appropriée de conduire le vehicule et n'est pas conscience pour empêcher le contact avec les vehicules ou les objets. Lors d'un changement de voie, utilisez toujours les rétroviseurs extréieurs et interieurs et tournez-vous en regardant dans la direction où vous déplacez le vehicule pour vous assurer qu'il est prudent de changer de voie. Ne vous fiez pas uniquement au système d'advertissement d'angle mort.
Le système d'alertissement d'angle mort permet d'alerter le conducteur de la présence d'autres vehicules dans les voies adjacentes lors d'un changement de voie.

Le système d'advertissement d'angle mort utilise des capteurs de radar ① installés près du pare-chocs arrêté pour détecter d'autres vehicules qui se trouvent dans une voie adjacente.

Zone de détction
Les capteurs de radar peuvent détecter des vehicules sur les deux côtés de votre vehicule dans la zone de détction comme illustré. Cette zone de détction commences à partir du rétroviseur extérieur de votre vehicule et s'étend jusqu'à environ 3,0 m (10 pi) derrière le pare-chocs arrière, et à environ 3,0 m (10 pi) létairelement.

FONCTIONNEMENT DU SYSTEMÉ D'AVERTISSEMENT D'ANGLE MORT
- Témoin du système d'advertissement d'angle mort et du système d'alerte de circulation transversale arrête
- Indicateur du système d'alertissement d'angle mort et du système d'alerte de circulation transversale arrête
Le système d'advertissement d'angle mort fonctionne lorsque la vitesse est supérieure à 32 km/h (20 mi/h) environ.
Si les capteurs de radar detectent des vehicules dans la zone de détction, le témoin du système d'avertissement d'angle mort et du système d'alerte de circulation transversale arrrière (1) s'allume. Si le clignotant est ensuite activé, le système émet un carillon (à deux reprises) et le témoin du système d'avertissement d'angle mort et du système d'alerte de circulation transversale arrrière clignote et le témoin du système d'avertissement d'angle mort et du système d'alerte de circulation transversale arrrière ② (jaune) s'allume à l'écran multifonction. Le témoin du système d'avertissement d'angle mort et du système d'alerte de circulation transversale arrrière continue de clignoter jusqu'à ce que les vehicules détectés quittent la zone de détction.
Le témoin du système d'advertissement d'angle mort et du système d'alerte de circulation transversale arrêté s'allume pendant quelques secondes lorsque le commutateur principal se trouve à la position ON (marche).
La luminosité du témoin du système d'avertissement d'angle mort et du système d'alerte de circulation transversale arrêté est réglée automatiquement en fonction de la luminosité de l'éclairage ambiant.
Si un vehicule pénétre dans la zone de détction après l'activation du clignotant par le conducteur, seul le témoin du système d'avertissement d'angle mort ou du système d'alerte de circulation transversale arrêté clignote et aucun carillon ne retentit. Pour obtenir de plus amples renseignements, consultez la section « Situations de conduite du système d'avertissement d'angle mort » dans ce chapitre
Le système d'advertissement d'angle mort s'active automatiquement chaque fois que vous faites démarrer le système de vehicule électrique, à condition qu'il soit activé au moyen du menu des réglages à l'écran multifonction.

ACTIVATION ET DÉSACTIVATION DU SYSTEMÉ D'AVERTISSEMENT D'ANGLE MORT
Effectuez les étapes suivantes pour activer ou désactiver le système d'advertissement d'angle mort :
- Appuyez sur le bouton ↓▶ jusqu'à ce que l'options « Settings » (réglages) s'affiche à l'affichage multifonction. Utilisez le bouton ↑ pour sélectionner l'options « Driver Assistance » (aide au conducteur), puis appuyez sur le bouton OK.
- Sélectionnez « Blind Spot » (angle mort) et appuyez sur le bouton OK (entrer).
- Sélectionnez « Blind Spot Warning » (système d'advertissement d'angle mort) et utiliser le bouton OK pour activer ou dé-sactiver le système.
REMARQUE:
Lors de l'activation/désactivation du système, le système retient les réglages actuels, même si le système de vehicule électrique redémarre.
LIMITES DU SYSTÉME D'AVERTISSEMENT D'ANGLE MORT

AVERTISSEMENT
Les limites du système d'avoitissement d'angle mort sont répertoriées ci-dessous. Le fait de ne pas conduire le vehicule conformément à ces limites du système peut entraîner des blessures graves ou mortelles.
-
Le système d'avertissement d'angle mort ne peut détecter tous les vehicules dans toutes les conditions.
-
Les capteurs de radar peuvent ne pas détecter les objets et activer le système d'advertissement d'angle mort lorsque certains objets sont presentnels que:
-
Les piétons, les vélos, les animaux.
- Les vehicules tels que les motocyclettes, les vehicules de hauteurasse ou les vehicules dotés de grande garde au sol.
- Les vehicules venant en sens inverse.
-
Les vehicules qui restent dans la zone de détction lorsque vous accélèrez à partir d'un arrêt.
-
Un vehicule qui penètre dans la voie adjacente à une vitesse approximative à celle de votre vehicule.
- Les vehicules qui s'approchantrapidement depuis l'arrière.
- Les vehicules que vous VOITURE dépasse rapidement.
- Un vehicule qui traverse rapidement la zone de détention.
- Lorsque vous dépassez plusieurs vehicules dans une rangée, les vehicules après le premier vehicule peuvent ne pas être détectés s'il se déplacent proches l'un de l'autre.
-
La zone de détction des capteurs de radar est concise en fonction d'une largeur de voie standard. Lorsque vous conduisez dans une voie plus large, les capteurs de radar peuvent ne pas détecter les vehicules qui se trouvent dans une voie adjacente. Lorsque vous conduisez dans une voie etroite, les capteurs de radar peuvent détecter les vehicules qui se trouvent de deux voies éloignées.
-
Les capteurs de radar sont conçus pour ignorer la plupart des objets fixes; toute fois, les objets tels que les barrières de sécurité, les murs, le feuillage et les vehicules stationnés pourraient parfois être détectés. Il s'agit d'un fonctionnement normal.
- Les conditions suivantes peuvent réduire la capacité du radar à détector d'autres vehicules:
Temps violent
- Projections de la route
Accumulation de glace, de gel, de saleté ou de neige sur le vehicule
- N'apposez pas des autocollants (y compris le matériel transparent), n'installez pas des accessoires ou appliquez une peinture additionnelle à proximate des capteurs de radar. Ces conditions peuvent réduire la capacité du radar à détecter d'autres vehicules.
Le bruit excessif (par exemple, le volume de la chaine stéreo ou une glace de vehicule ouverte) a une incidence sur le timbre du carillon et il se peut qu'il ne soit pas entendu.

Illustration 1 - approche de derrière SITUATIONS DE CONDUITE DU SYSTEME D'AVERTISSEMENT D'ANGLE MORT
| Témoin activé | ● |
| Témoin désactivé | ○ |
| Témoin clignotant | ◎ |

Illustration 2 - approche de derrière Un autre vehicule qui s'approche de derrière
Illustration 1: Le témoin du clignotant s'allume si un vehicule pénétre dans la zone de détéction de derrière dans une voie adjacente.
Illustration 2: si le conducteur active le clignotant lorsqu'un autre vehicule se trouve dans la zone de détction, alors le système émet un carillon (à deux reprises) et le témoin du clignotant clignote.
REMARQUE:
- Les capteurs de radar peuvent ne pas détecter les vehicules qui s'approchantrapidement par l'arrière.
- Si le conducteur active le clignotant avant qu'un vehicule pénétre dans la zone de détction, le témoin de clignotant lésral clignote, mais aucun carillon ne retentit lorsque l'autre vehicule est détecté.

Illustration 3 - dépassement d'un autre vehicule
Dépassement d'un autre vehicule
Illustration 3: le témoin létal résultat s'allume si vous dépassez un vehicule et que ce vehicule reste dans la zone de détention pendant environ 2 secondes.

Illustration 4 - dépassement d'un autre vehicule
Illustration 4: si le conducteur active le clignant lorsqu'un autre vehicule se trouve dans la zone de détction, alors le système émet un carillon (à deux reprises) et le témoin du clignotant clignote.
REMARQUE :
Lorsque you depassez plusieurs vehicules dans une rangée, les vehicules après le premier vehicule peuvent ne pas etre detectes s'ils se déplacent proches l'un de I'autre.
- Les capteurs de radar peuvent ne pas détaquer les vehicules qui se déplacent lentement si votre vehicule les dépasse rapidement.
·Si le conducteur active le clignotant avant qu'un vehicule pénétre dans la zone de détction, le témoin de clignotant létral clignote, maisaucun carillon ne retentit lorsqu'el'autre vehicule est détecté.

Illustration 5 - entrée du côté
Entrée du côte
Illustration 5: le témoin lésimal s'allume si un vehicule pénétre dans la zone de détéction d'un côté ou de l'autre.

Illustration 6 - entrée du côté
Illustration 6: si le conducteur active le clignotant lorsqu'un autre vehicule se trouve dans la zone de détction, alors le système émet un carillon (à deux reprises) et le témoin du clignotant clignote.
REMARQUE:
-Si le conducteur active le clignotant avant qu'un vehicule pénétre dans la zone de détction, le témoin de clignotant lésral clignote, mais aucun carillon ne retentit lorsque I'autre vehicule est détecté.
- Les capteurs de radar peuvent ne pas détaquer un vehicule qui se déplace à environ la même vitesse que votre vehicule lorsqu'il entre dans la zone de détction.
Lorsqu'une obstruction du radar est détectée, le système est automatiquement désactivé. Le tímoin du système d'advertissement d'angle mort et du système d'alerte de circulation transversale arrière ① clignote (jaune) à l'affichage multifonction. Le tímoin situé en regard du bouton « Angle mort » dans le menu section « Driving Aids » (aide à la conduite) ② clignote également (jaune).
Le système n'est pas disponible jusqu'à ce que les conditions ne soient plus générées.
Les capteurs de radar pourraient etre bloqués par les conditions ambantes temporaires comme la projection d'eau, la buée ou le brouillard. Le blocage pourrait aussi etre causé par les objets comme la glace, le gel ou la saleté qui obstruent les capteurs de radar.
REMARQUE:
Si le système d'advertissement d'angle mort est défectueux, le système d'alerte de circulation transversale arrêté (selon l'équipement) sera également défectueux.
Mesures à prendre :
Lorsque les conditions indiquées ci-dessus ne sont plus générées, le système se réactive automatiquement.
Anomalie
Lorsque le système ne fonctionne pas correctement, il se désactive automatique. Le tímoin du système d'avertissement d'angle mort et du système d'alerte de circulation transversale arrêté clignote (jaune) à l'écran multifonction. Le tímoin situé en regard du bouton « Blind Spot » (angle mort) dans le menu section « Driving Aids » (aide à la conduite) clignote égallement (jaune).
REMARQUE:
Si le système d'ajretissement d'angle mort est défectueux, le système d'alerte de circulation transversale arrêté (selon l'équipement) sera également défectueux.
Mesures à prendre :
Arrêtez le vehicule dans un endroit sécuritaire, placez le vehicule en position P (stationnement), coupez le système de vehicule électrique, puis redémarrez-le. Si les témoins continuant de s'afficher, faites vérifier le système. Nous vous recommendons de vous rendre chez un concessionnaire NiSSAN LEAF certifié pour procéder cet entretien.

ENTRETIEN DU SYSTÉME
Les deux capteurs de radar ① du système d'ajretissement d'angle mort et du système d'alerte de circulation transversale arrêtè sont situés pres du pare-chocs arrêtè. Gardez toujours la zone à proximé des capteurs de radar propre.
Les capteurs de radar pourraient etre bloqués par les conditions ambantes temporaires comme la projection d'eau, la buée ou le brouillard.
Le blocage pourrait aussi être causé par les objets comme la glace, le gel ou la saleté qui obstruient les capteurs de radar.
Vérifiez la présence d'objects qui obstruient la zone autour des capteurs de radar et retirez-les.
N'apposez pas des autocollants (y compris le matériel transparent), n'installez pas des accessoires ou appliquez une peinture additionnelle à proximate des capteurs de radar.
Évitez de frapper ou d'endommager la zone à proximé des capteurs de radar. Nous vous recommendons de visiter un concessionnaire NISSAN LEAF certifié si la zone autour des capteurs de radar est endommagée en raison d'une collision.
Déclaration de fréquence radio
Aux États-Unis
FCC:OAYSRR3B
Ce dispositif est conforme à l'article 15 des règlements de la FCC. Sonutilisation est soumise aux deux conditions suivantes:
(1) Ce dispositif ne doit causeur aucune interference nuisible et (2) il doit accepter toutes les interférences, y compris celles qui peuvent l'activer de façon inopinée.
Avertissement de la FCC
Toute modification non approuvée par la partie responsable de la conformité peut annuler le droit d'utiliser ce dispositif.
Au Canada
Ce dispositif est conforme aux normes d'Industrie Canada applicables aux apparciels RSS exempts de licence. Son utilisation est soumise aux deux conditions suivantes : (1) ce dispositif ne doit causeer aucune interfERENCE nuisible et (2) ce dispositif doit pouvoir accepter toutes les interférences, y compris celles qui pouraient l'activer de façon inopinée.
Bande de fréquences 24,05 - 24,25 GHz
Puisance de sortie : moins de 20 milliwatts
SYSTEME D'ALERTE DE CIRCULATION TRANSVERSALE ARRÈRE (RCTA) (SELON L'ÉQUIPEMENT)

AVERTISSEMENT
Le non-respect des avertissements et des directives relatives à l'utilisation du système d'alerte de circulation transversale arrêté pourrait entraîner des blessures graves, voir mortelles.
Le système d'alerte de circulation transversale arrirée (RCTA) ne remplace pas la façon appropriée de conduire le vehicule et n'est pas conscience pour empêcher le contact avec les vehicules ou les objets. Lorsque vous reculez d'un espace de stationnement, utilisez toujours les rétroviseurs extérieurs et interieur et tournez-vous en regardant dans la direction où vous alze déplacer le vehicule. Ne vous fiez pas uniquement au système d'alerte de circulation transversale arrirée.
Le système d'alerte de circulation transversale arrêté vous aide à recycler pour sortir d'un espace de stationnement. Lorsque le vehicule est en marche arrêté, le système est conçu pour détecter les vehicules qui s'approchent de la droite ou de la gauche du vehicule. Si le système détecte une circulation transversale, il vous alerte.

FONCTIONNEMENT DU SYSTEME D'ALERTE DE CIRCULATION TRANVERSALE ARRIERE
-
Témoin du système d'alertissement d'angle mort et du système d'alerte de circulation transversale arrêté
-
Indicateur du système d'advertissement d'angle mort et du système d'alerte de circulation transversale arrête
Le système d'alerte de circulation transversale arrêté peut aider à alerter le conducteur lorsqu'il s'approche d'un vehicule quand il effectue une marche arrêté en sortant d'un espace de stationnement.
Le système d'alerte de circulation transversale arrêté fonctionne lorsque le levier sélecteur est à la position R (marche arrêté) et que la vitesse du vehicule est inférieure à 8 km/h (5 mi/h) environ.
Si le radar detecte un vehicule qui s'approche par le cote, le carillon du système retentit (un seul bip), le témoin du système d'avertissement d'angle mort et du système d'alerte de circulation transversale arrêté ① du cote vers lequel le vehicule s'approche clignote.

Le système d'alerte de circulation transversale arrêté utilise des capteurs de radar ① installés sur les deux côtés près dupare-chocs arrêté pour détecter un vehicule qui s'approche.
Les capteurs de radar ① peuvent détecter un vehicule qui s'approche jusqu'à une distance maximale de 20 m (66 pi) environ.


ACTIVATION ET DÉSACTIVATION DU SYSTème D'ALERTE DE CIRCULATION TRANVERSALE ARRIÈRE
Effectuez les étapes suivantes pour activer ou désactiver le système d'alerte de circulation transversale arrêté.
- Appuyez sur le bouton ↓ jusqu'à ce que l'option « Settings » (réglages) s'affiche à l'écran multifonction. Utilisez le bouton ↓ pour sélectionner l'option « Driver Assistance » (aide au conduc-. theur), puis appuyez sur le bouton OK.
- Sélectionnez l'option « Parking Aids » (aides au stationnement), puis appuyez sur le bouton OK.
- Sélectionnez l'option « Cross Traffic » (circulation transversale) et appuyez sur le bouton OK pour activer ou désactiver le système.
REMARQUE:
Lors de l'activation/désactivation du système, son réglage est retenu même si le système de vehicule électrique est redémarré.

LIMITES DU SYSTEME D'ALERTE DE CIRCULATION TRANSVERSALE ARRIÈRE

AVERTISSEMENT
Les limites du système d'alerte de circulation transversale arriere sont répertoriées ci-dessous. Le fait de ne pas conduire le vehicule conformément à
ces limites du système peut entrainer des blessures graves ou mortelles.
- Vérifiez votre environnement et returnnez-vous toujours pour vérifier ce qui est derrière vous avant d'effectuer la marche arrière. Les capteurs de radar détectent les vehicules (en mouvement) qui s'approchant. Les capteurs de radar ne peuvent pas détecter les objets tels que:
- Les piétons, les vélos, les motocyclettes, les animaux ou les enfants manipulant les vehicules-jouets
- Un vehicule qui vous dépasse à une vitesse supérieure à environ 30 km/h (19 mi/h)
- Un vehicule qui vous dépasse à une vitesse inférieure à environ 8 km/h (5 mi/h)
- Les capteurs de radar peuvent ne pas détecter les vehicules qui s'approchent dans certaines situations :
Illustration a : lorsqu'un vehicule stationné à côté de vous obstrue le faisceau du capteur de radar. -
Illustration b : lorsque le vehicule est stationné à un angle dans un espace de stationnement.
-
Illustration c : lorsque le vehicule est stationné sur un sol incliné.
- Illustration d : lorsqu'un vehicule qui s'approche tourne dans l'allée de l'aire de stationnement de votre vehicule.
- Illustration e : lorsque l'angle formé par votre vehicule et le vehicule qui s'approche est minime.
- Les conditions suivantes peuvent réduire la capacité du radar à détector d'autres vehicules:
Temps violent - Projections de la route
- Accumulation de glace, de gel, de saleté ou de neige sur le vehicule
- N'apposez pas des autocollants (y compris le matériel transparent), n'installez pas des accessoires ou appliquez une peinture additionnelle à proximate des capteurs de radar. Ces conditions peuvent réduire la capacité du radar à détecter d'autres vehicules.
- Le bruit excessif (par exemple, le volume de la chaine stéreo ou une glace de vehicule ouverte) a une incidence sur le timbre du carillon et il se peut qu'il ne soit pas entendu.

Illustration 1

Illustration 2
REMARQUE:
Dans le cas de plusieurs vehicules qui approached en rang (illustration 1) ou dans le sens contraire (illustration 2), le carillon émis par le système d'alerte de circulation transversale arrêté pourrait ne pas retentir après le passage du premier vehicule devant les capteurs.
Lorsqu'une obstruction du radar est détectée, le système est automatiquement désactivé.
Les systèmes ne sont pas disponibles jusqu'à ce que les conditions ne soient plus générées.
Les capteurs de radar pourrait être bloqués par les conditions ambiantes temporaires comme la projection d'eau, la buée ou le brouillard.
Le blocage pourrait aussi être causé par les objets comme la glace, le gel ou la saleté qui obstruient les capteurs de radar.
REMARQUE:
Si le système d'ajretissement d'angle mort est défectueux, le système d'alerte de circulation transversale arrêté (selon l'équipement) sera également défectueux.
Mesures à prendre
Lorsque les conditions indiquées ci-dessus ne sont plus générées, le système se réactive automatiquement.
Anomalie
Lorsque le système ne fonctionne pas correctement, il se désactive automatique.
REMARQUE:
Si le système d'advertissement d'angle mort est défectueux, le système d'alerte de circulation transversale arrière (selon l'équipement) sera également défectueux.
Mesures à prendre
Arrêtez le vehicule dans un endroit sécuritaire, placez le vehicule en position P (stationnement), coupez le système de vehicule électrique, puis redémarrez-le. Si le système ne se remet pas en marche automatiquement, faites vérifier le système. Nous vous recommendons de vous rendre chez un concessionnaire NISSAN LEAF certifié pour procéder cet entretien.

ENTRETIEN DU SYSTEME
Les deux capteurs de radar ① du système d'ajretissement d'angle mort et du système d'alerte de circulation transversale arrêtè sont situés pres du pare-chocs arrêtè. Gardez toujours la zone à proximé des capteurs de radar propre.
Les capteurs de radar pourraient etre bloqués par les conditions ambantes temporaires comme la projection d'eau, la buée ou le brouillard.
Le blocage pourrait aussi être causé par les objets comme la glace, le gel ou la saleté qui obstruient les capteurs de radar.
Vérifiez la présence d'objets qui obstruient la zone autour des capteurs de radar et retirez-les.
N'apposez pas des autocollants (y compris le matériel transparent), n'installez pas des accessoires ou appliquez une peinture additionnelle à proximé des capteurs de radar.
Évitez de frapper ou d'endommager la zone à proximé des capteurs de radar. Nous vous recommendons de visiter un concessionnaire NiSSAN LEAF certifié si la zone autour des capteurs de radar est endommagée en raison d'une collision.
Déclaration de fréquence radio
Aux États-Unis
FCC:OAYSRR3B
Ce dispositif est conforme à l'article 15 des règlements de la FCC. Son'utilisation est soumise aux deux conditions suivantes:
(1) Ce dispositif ne doit causeur aucune interference nuisible et (2) il doit accepter toutes les interfrences, y compris celles qui peuvent l'activer de façon inopinée.
Avertissement de la FCC
Toute modification non approuvée par la partie responsable de la conformité peut annuler le droit d'utiliser ce dispositif.
Au Canada
Ce dispositif est conforme aux normes d'Industrie Canada applicables aux apparciels RSS exempts de licence. Son utilisation est soumise aux deux conditions suivantes : (1) ce dispositif ne doit causeer aucune interfERENCE nuisible et (2) ce dispositif doit pouvoir accepter toutes les interférences, y compris celles qui pouraient l'activer de façon inopinée.
Bande de fréquences 24,05 - 24,25 GHz
Puisance de sortie : moins de 20 miliawatts
RÉGULATEUR DE VITESSE (SELON L'ÉQUIPEMENT)

- Commutateur RES+ (reprise+)
- Commutateur CANCEL (annulation)
- Commutateur SET-(réglage-)
-
Commutateur du régulateur de vitesse PRECAUTIONS RELATIVES À L'UTILISATION DU RÉGULATEUR DE VITESSE
-
Le système du régulateur de vitesse cesse de fonctionner automatiquement s'il est défectueux. Le témoin du régulateur de vitesse s'affiche à l'écran multifonction, puis clignote pour signaler l'anovaie au conducteur.
-
Si le témoin du régulateur de vitesse clignote, mettez le commutateur du régulateur de vitesse à la position off (hors fonction) et faites vérifier le système. Nous vous recommendons de vous rendre chez un concessionnaire NISSAN LEAF certifié pour procéder cet entretien.
Le témoin du régulateur de vitesse peut clignoter lorsque le régulateur de vitesse est activé en appuyant sur les commutateurs RES/+ (reprise/+), SET/(réglage/-) ou CANCEL (annulation). Suivez les procédures décrites ci-après pour régler le système du régulateur de vitesse ajustement.

AVERTISSEMENT
N'utilise pas le régulateur de vitesse dans les conditions suivantes :
- lorsqu'il est impossible de maintainir la vitesse programmée;
- lorsque la circulation est dense ou que la vitesse varie;
- sur les routes montagneuses ou si-nueuses;
- sur les routes glissantes (pluie, neige, glace, etc.);
- dans des endroits très venteux.
Vous pourriez ainsi perdre la maitrise de votre vehicule et avoir un accident.
FONCTIONNEMENT DU RÉGULATEUR DE VITESSE
Le régulateur de vitesse permet de maintainir une vitesse entre 40km / h et 144km / h (25 mi/h à 90 mi/h) sans appuyer sur la pédale d'accéléateur.
Pourmettrelerégulaturedvitesseenfonction,appuyez surle commutateururderegulateurdevitesse.Le témoin durégulatéurdvitesse s'affiche sur l'écranmultifonction.
Pour programmer la vitesse de croisière, acceléréz à la vitesse voulue, enforcez brievement le commutateur SET- (réglage-). Relâchez la pedale d'accéléateur. Le vehicule maintain la vitesse programmée.
·Si you nevez depasser un autre vehicule, appuyez sur la pedale d'accelerateur. Lorsque la pedale est relachée, le vehicule returne à la vitesse programmée.
Le vehicule peut ne pas maintainir la vitesse programmée sur des routes sinueuses ou montagneuses. Ne mettez pas le régulateur de vitesse en fonction si vous doivent conduire dans une telle situation.
Pour annuler la vitesse programmée, utilisez l'une des méthodes suivantes :
- Appuyez sur le commutateur CANCEL (annulation).
- Appuyez légèrement sur la pédale de frein.
- Désactive le commutateur du régulator de vitesse. Le témoin du régulateur de vitesse s'éteint à l'écran multifonction.
- Si vous appuyez sur la pédale de frein tout en appuyant sur le commutateur RES+ (réprise+) ou SET- (réglage-) et programmez de nouveau la vitesse de croisière, le régulateur de vitesse se désactive. Mettez le commutateur du régulateur de vitesse en position OFF (hors fonction), puis remettez-le en position ON (en fonction).
- Le régulateur de vitesse est annulé automatiquement si la vitesse du vehicule est réduite de plus de 13 km/h (8 mi/h) par rapport à la vitesse programmée.
-Si vous déplacez le levier sélecteur à la position N (point mort), le régulateur de vitesse est annulé.
Pour programmer une vitesse de croisière plus élevé, utilisez une des méthodes suivantes:
- Appuyez sur l'accéléateur. Enforcez le commutateur SET-(réglage-) et relâchez-le une fois que le vehicule atteint la vitesse désirée.
- Maintenez enforcé le commutateur RES+ (reprise+). Relâchéz le commutateur lorsque le vehicule atteint la vitesse voulue.
- Appuyez sur l'interrupteur RES+ (reprise+), puis relâchéz-le rapidement. La vitesse programmée de votre vehicule augmente d'environ 1,6 km/h (1 mi/h) chaque fois que vous appuyez sur cet interrupteur.
Pour programmer une vitesse de croisière plus lente, utilisez une des méthodes suivantes:
- Appuyez légèrement sur la pedale de frein. Enforcez le commutateur SET-(réglage-) et relâchez-le une fois que le vehicule atteint la vitesse désirée.
-
Appuyez longuement sur l'interrupteur SET-(réglage-). Relâchéz le commutateur lorsque le vehicule ralentit jusqu'à la vitesse voulue.
-
Appuyez brievement sur le commutateur SET-(réglage-). La vitesse programmée de votre vehicule diminue d'environ 1 km/h (1 mi/h) chaque fois que vous appuyez sur cet interrupteur.
Pour reprendre la vitesse antérieurement programmée, appuyez brièvement sur le commutateur RES+ (reprise+). Dés que la vitesse du vehicule dépasse 40 km/h (25 mi/h), la dernière vitesse de croisière programmée est rétable.


AVERTISSEMENT
Le non-respect des avertissements et des directives relatives à l'utilisation du régulateur de vitesse adaptatif pourrait entrainer des blessures graves, voir mortelles.
- Le régulateur de vitesse adaptatif est destiné uniquement à aider le conducteur. Il ne s'agit pas d'un dispositif de prévention des collisions. Le conducteur doit en tout temps se montrer vigilant, conduire prudiment et maîtriser son vehicule.
-
Respectez toujours les limites de vitesse indiquées sur les panneaux routiers et ne dépassez pas ces limites lorsque vous programmez la vitesse.
-
Conduisez toujours prudemment et soyez vigilant lorsque vous utilisez le régulateur de vitesse adaptatif. Vous doivent l'etre manuel du propriétaire et bien le comprendre avant d'utiliser le régulateur de vitesse adaptatif. Pour prévenir les blessures graves ou mortelles, ne vous fiez pas uniquement au régulateur de vitesse pour éviter les accidents ou pour regler la vitesse du vehicule en situation d'urgence. Le régulateur de vitesse adaptatif doit être utilisé uniquement lorsque les conditions de la route et de la circulation le permettent.
Lorsque le mode de régulateur de vitesse classique (vitesse stable) est sélectionné, le carillon ne retentit pas pour vous enviser que la distance entre votre vehicule et celui qui vous précédé est insuffisante. Vous évitezrez les accidents en portant une attention particulière à la distance qui sépare votre vehicule de celui qui se trouve devant vous
Le régulateur de vitesse adaptatif maintain la distance programmée entre votre vehicule qui vous précéde, dans la plage de 0 à 144 km/h (0 à 90 mi/h) jusqu'à la vitesse programmée. La vitesse programmée peut être selectionnée par le conducteur entre 32 à 144 km/h (20 à 90 mi/h).
Le vehicule se déplace à une vitesse programmée lorsque la route est dégagée.
Le régulateur de vitesse adaptatif peut êtreprogrammé pour un de deux modes defonctionnement :
Mode de contrôle d'intervalle : pourmaintenir une distance selectionneeentre votre vehicule et le vehicule qui vousprecede jusqu'à la vitesse programmée
- le mode classique (vitesse stable) du régulateur de vitesse, qui permet de maintainir votre vitesse de croisière programmée
Appuyez sur le commutateur du régulateur de vitesse adaptatif (A pour sélectionner le mode de contrôle d'intervalle et le mode classique (vitesse stable) du régulateur de vitesse.
Lorsqu'un mode de régulation de vitesse est activé, il est impossible de passer à l'autre mode. Pour modifier le mode, appuyez une fois sur le commutateur du régulateur de vitesse adaptatif (A) afin de désactiver le régulateur. Appuyez ensuite de nouveau sur le commutateur du régulateur de vitesse adaptatif (A) pour reactiver le régulateur et Sélectionnez le mode de régulateur de vitesse souhaïte.
Confirmez toujours le réglage à l'écran du régulateur de vitesse adaptatif.
Pour obtenir des détails au sujet du mode contrôle d'intervalle, reportez-vous au chapitre « Mode de contrôle d'intervalle » dans cette section.
Pour le mode de régulateur de vitesse classique (vitesse stable), reportez-vous au chapitre « Régulateur de vitesse classique (vitesse stable) » dans cette section.



COMMENT SELECTIONNER LE MODE DU RÉGULATEUR DE VITESSE
Selection du mode de contrôle d'intervalle : pour désir le mode de contrôle d'intervalle ① appuyez brièvement sur le commutateur du régulateur de vitesse adaptatif A.
Selection du mode classique (vitesse stable) du régulateur de vitesse : pourCHOISIR le mode classique (vitesse stable) du régulateur de vitesse ② ,appuyez sur lecommutateur du régulateur de vitesse Apendant plus de 1,5 secondes environ. Pourobtenir des renseignements supplémentaires, reportez-vous au chapitre « Modeclassique (vitesse stable) du régulateur de vitesse » dans cette section.
MODE DE CONTROLLE D'INTERVALLE
En mode Contrôle d'intervalle, le régulateur de vitesse adaptatif maintain automatiquement la distance programmée entre votre vehicule et celui qui vous precede en fonction de sa vitesse (jusqu'à votre vitesse programmée), ou Maintainer cette vitesse programmée lorsque la route est dégagée.
Ce système permet d'optimiser votre conduite lorsque vous suivez un autre vehicule qui circule dans la même voie et dans la même direction que vous.
Si le capteur de radar (B) détecte un vehicule en mouvement plus lent en avant, le système réduira la vitesse du vehicule pour que votre vehicule suive le vehicule devant à la distance可以选择.
Le système commande automatiquement l'accelérer et applique les freins (jusqu'à environ 40% de la puissance de freinage) s'il y a lieu.
La portée avant du capteur est d'environ 200 m (650 pi).

UTILISATION DU MODE CONTROLE D'INTERVALLE
Le mode contrôle d'intervalle est concu pourmaintenir une distanceprogrammée par rapport au le vehicule qui vous precede
et peut réduire la vitesse par rapport à un vignicule plus lent qui vous précède. Le système ralentit le vignicule, au besoin, et si le vignicule qui le précède s'arrête, le vignicule décelère jusqu'à l'immobilisation complète. Toutefois, le régulateur de vitesse adaptatif ne peut appliquer que 40 % de la puissance totale de freinage du vignicule.
Le régulateur de vitesse adaptatif ne doit être utilisé que lorsque les conditions de la circulation permettent de conserver une vitesse à peu pres constante, ou qu'elles nécessitant des corrections de vitesse progressives. Lorsqu'un vehicule se déplace soudainement dans votre voie, ou s'il freine brusquement, la distance entre les vehicules pourrait diminuer, car le système ne pourrait pas vous ralentir assezrapidement. Dans ce cas, le régulateur de vitesse adaptatif fait retentir un carillon et clignoter l'affichage pour signaler au conducteur de prendre les mesures nécessaires.
Le système se désactive et un carillon retentit si la vitesse est inférieure à 24 km/h (15 mi/h) environ et qu'un vehicule n'est pas détecté à l'avant. Le système se désactive
également lorsque la vitesse du vehicule dépasse la vitesse programmée maxi-male.
Pour obtenir de plus amples renseignements, consultez la section « Avertissement d'approche » dans ce chapitre.
Les articles suivants sont contrôlés dans le mode de contrôle d'intervalle :
-
Si vous ne suivez aucun vehicule, le mode Contrôle d'intervalle du système maintain la vitesse programmée par le conducteur. Le conducteur peut programmermer une vitesse comprise entre 32 km/h et 144 km/h (20 mi/h et 90 mi/h).
-
Si vous suivez un vehicule, le mode de contrôle d'intervalle adapte votre vitesse à celle du vehicule qui vous précède afin de conserver l'intervalle programme entre les vehicules. Si le vehicule s'arrête, il décé-lère jusqu'à l'immobilisation complète dans les limites du régulateur. Le système se désactive une fois qu'il détermine une immobilisation avec un carillon d'avertissement.
Lorsque le vehicule suivi quitte votre voie, le mode de contrôle d'intervalle laissevoi tre vehicule accelerer pour ensuite maintainir sa vitesse programmée.
Le régulateur de vitesse adaptatif ne gère pas la vitesse du vehicule et ne vous avise pas à l'approche d'un vehicule immobile ou qui roule lentement. Vous devez préter toute l'attention nécessaire à la conduite de votre vehicule afin de conserver une distance de sécurité lorsqu'vous approchez d'un poste de péage ou d'une zone d'embauteillage.

Si vous roulez à vitesse programmée sur l'autoroute et si vous approchez d'un vehicule plus lent, le régulateur de vitesse adaptatif tentera de régler votre vitesse par rapport à l'autre vehicule et de maintenir la distance programmée. Si le vehicule suivi change de voie ou quitte l'autoroute, le régulateur de vitesse adaptatif sera accélérer votre vehicule jusqu'à ce qu'il attigne sa vitesse programmée. Concentrez-vous sur la conduite pour conserver la maitrise du vehicule pendant l'accélération jusqu'à la vitesse programmée.
Le vehicule peut ne pas maintainir la vitesse programmée sur des routes sinueuses ou montagneuses. Si ceci se produit, vous dévrez contrôle manuellement la vitesse du vehicule.
En règle générale, le système règle la distance qui vous sépare du vehicule devant vous en accélérant ou en décélérant automatiquement, en fonction de la vitesse à laquelle roule ce vehicule. Appuyez sur l'accélérateur pour fournir la puissance nécessaire lorsque vous empruntez une autre voie. Appuyez sur la pédale de frein lorsque vous doivent conserver une distance sécuritaire en cas de ralentissement soudain ou de changement de voie d'un vehicule qui précède. Soyez toujours vigilant lorsque vous utilisez le régulateur de vitesse adaptatif.

COMMUTATEURS DU MODE CONTROLE D'INTERVALLE
Le commutateur du régulateur de vitesse adaptatif et quatre commutateurs regroupés sur le volant servent à commander le système.
1. Commutateur CANCEL (annulation):
Ce commutateur permet de désactiver le système sans effacer la vitesse programmée.
- Commutateur RES+ (reprise+):
Ce commutateur permet de rappeler la vitesse programmée ou d'augmenter progressivement la vitesse.
- Commutateur SET-(réglage-):
Ce commutateur programme la vitesse de croisière souhaitation ou réduit la vitesse progressivement.
- Interrupteur DISTANCE :
Ce commutateur regle la distance :
-
Longue
Moyenne
Courte -
Commutateur du régulateur de vitesse adaptatif:
Ce commutateur principal permet d'activer le régulateur de vitesse.

Affichage et tímoins du mode de contrôle d'intervalle
Cet affichage apparait à l'écran multifonction.
- Témoin de vitesse programmée :
Ce témoin indique la vitesse programmée du vehicule.
Pour les modèles canadiens, la vitesse est affichée en km/h.
- Ce témoin indique l'objet du régulateur de vitesse adaptatif en fonction d'une couleur:
Témoin d'ACTIVATION du régulateur de vitesse adaptatif (gris):indique que le commutateur du régulateur de vitesse est activé.
Témoin SET (réglage) du régulateur de vitesse adaptatif (vert): indique que la vitesse de croisière est réglée.
Témoin d'ajretissement du régula-teur de vitesse adaptatif (jaune): indi-que une anomalie dans le régulateur de vitesse adaptatif.
- Témoin de détention du vehicule suivi :
Ce témoin indique si le système détecte un vehicule qui vous précédé.
- Témoin de distance programme:
Ce témoin affiche la distance sélectionnée entre les vehicules,programmée au moyen de l'interrupteur de distance.

Utilisation du mode Contrôle d'intervalle
Pourmettreleregulatordevitesseen fonction,appuyezbrièvement sur commutateur du régulateur de vitesse adaptatif A.Le témoin D'ACTIVATION du régulateur de vitesse adaptatif(gris),le témoin de distanceprogrammée et le témoin de vitesseprogrammée B s'allument et sont en mode d'attente de réglage.

Pour régler la vitesse de croisière: faites accélérer votre vehicule jusqu'à la vitesse souhaïette, appuyez sur le commutateur SET-(réglage-) ©, puis relâchéz-le. Le témoin de réglage du régulateur de vitesse adaptatif (vert), le témoin de détéction du vehicule suivi et les témoins de distance et de vitesse programmesées ® s'allument. Relâchéz la pédale d'accélérateur. Voitre vehicule roulera à la vitesse programmée.


Lorsque l'interrupteur SET- (réglage-) est enforcé dans les conditions suivantes, le système ne peut pas être régèle et les indicateurs du régulateur de vitesse adaptatif clignotent pendant environ 2 secondes :
Lorsque la vitesse du vehicule est inférieure à 32 km/h (20 mi/h) et qu'un vehicule qui vous precede ne peut etre détecte
Lorsque le levier selecteur n'est pas à la position D (marche avant) ou en mode B
Lorsque le frein de stationnement est serré.
Lorsque les freins sont actionnés par le conducteur.
Lorsque vous appuyez sur le commutateur SET (réglage) dans les conditions suivantes, le système ne peut être réglié.
Un carillon retentit et un message s'affiche:
Lorsque le système de contrôle dynamique du vehicule est désacté (Pour utiliser le régulateur de vitesse adaptatif, activement le système de contrôle dynamique du vehicule. Appuyez sur le commutateur du régulateur de vitesse adaptatif pourmettre le régulateur de vitesse adaptatif hors fonction et réinitialisez le commutateur du régulateur de vitesse adaptatif en appuyant de nouveau sur le commutateur du régulateur de vitesse adaptatif)
Pour obtenir des renseignements supplémentaires sur le dispositif de contrôle dynamique du vehicule, consultez la section « Dispositif de contrôle dynamique du vehicule » du present chapitre.
Lorsque le système de freinage antiblocage ou le système de contrôle dynamique du vehicule fonctionne.
Lorsqu'une roue patine. (Pour utiliser le régulateur de vitesse adaptatif, assurez-vous que les roues ne patinent plus.)

- Affichage du système lorsqu'un vehicule vous precede
- Affichage du système lorsqu'aucun vehicule ne vous precede
Le conducteur programme la vitesse souhaïée en fonction des conditions de la route. Le régulateur de vitesse adaptatif maintient la vitesse programmée, comme un régulateur de vitesse standard, tant qu'il ne détecte pas d'autres vehicules dans la même voie. Le régulateur de vitesse adap-tatif affiche la vitesse programmée par le conducteur.
Détection d'un vehicule à l'avant
Lorsqu'un vehicule est detecté dans votre voie de circulation, le régulateur de vitesse adaptatif ralentit votre vehicule en agissant sur la commande d'accélérateur et sur les freins, pour régler votre vitesse à celle du vehicule qui circule devant vous à une vitesse inférieure à la yourselves. Le système adapte ensuite la vitesse de votre vehicule à celle du vehicule qui vous précéde de manière à conserver la distance programmée entre les vehicules.
REMARQUE:
- Les feuels d'arrêt du vehicule s'allument lorsque le régulateur de vitesse adaptatif actionne les freins.
Lorsque les freins sont actionnés, un bruit peut se faire entendre. Cette condition est normale.
Lorsque le système détecte un vehicule devant le vêtre, le témoin de détction de vehicule s'allume. Le régulateur de vitesse adaptatif affiche également la vitesse programmée et la distance sélectionnée.
Véhicule précédent non détecté
Lorsqu'aucun vehicule n'est detecté à l'avant, le régulateur de vitesse adaptatif fait graduèlement accélérer votre vehicule pour repreneure la vitesse programmée précédemment. Le régulateur de vitesse adaptatif maintain en-suite la vitesse programmée.
Lorsqu'aucun vehicule n'est detecté à l'avant, l'indicateur de vehicule precedent s'eteint.
Si un vehicule se presente à l'avant pendant l'accelération jusqu'à la vitesse programmée ou en tout temps pendant le fonctionnement du régulateur de vitesse adaptatif, ce dernier contrôle la distance qui vous sépare de ce vehicule.
Lorsqu'un vehicule n'est plus détecté en dessous d'environ 24 km/h (15 mi/h), le système est désactivé.

Si vous doublez un vehicule, l'indicateur de vitesse programmée (B) clignote lorsque le vehicule dépasse la vitesse programmée. L'indicateur de détention de vehicule s'éteint lorsque la zone se trouvant devant votre vehicule est libre. Lorsque la pédale est reliachée, le vehicule returne à la vitesse déjà programmée.
Bien que la vitesse du vehicule soit programmée dans le régulateur de vitesse adaptatif, vous pouvez enforcer la pédale d'accelérer s'il est nécessaire d'augmenterrapidementla vitessedevotrevehicule.
Changement de la vitesse programmee
Pour annuler la vitesse programmée, utilisez l'une des méthodes suivantes :
- Appuyez sur le commutateur CANCEL (annulation). Le témoin de vitesse programme s'éteint.
- Appuyez légèrement sur la pedale de frein. Le témoin de vitesse programme s'éteint.
- Mettez le commutateur du régulateur de vitesse adaptatif en position d'arrêt. Les témoins du régulateur de vitesse adaptatif s'éteignent.
Pour programmer une vitesse de croisière plus élevé, utilisez une des méthodes suivantes :
- Appuyez sur l'accéléateur. Enforcez le commutateur SET-(réglage-) et relâchez-le une fois que le vehicule a atteint la vitesse désirée.
-
Maintenez enforcé le commutateur RES+ (reprise+). La vitesse programmée augmente d'environ 5 km/h (5 mi/h).
-
Appuyez sur l'interrupteur RES+ (reprise+), puis relâchéz-le rapidement. La vitesse programmée de votre vehicule augmente d'environ 1 km/h (1 mi/h) chaque fois que vous appuyez sur ce commutateur.
Pour programmer une vitesse de croisière plus lente, utilisez une des méthodes suivantes:
- Appuyez légèrement sur la pédale de frein. Enforcez le commutateur SET(réglage-) et relâchéz-le une fois que le vehicule a atteint la vitesse désirée.
- Appuyez longuement sur l'interrupteur SET-(réglage-). La vitesse programmée diminue d'environ 5 km/h (5 mi/h).
- Appuyez sur l'interrupteur SET-(réglage-), puis relâchéz-le rapidement. La vitesse programmée de votre vehicule diminuè d'environ 1 km/h (1 mi/h) chaque fois que vous appuyez sur ce commutateur.
Pour reprendre la vitesse antérieurement programmée, appuyez brièvement sur le commutateur RES+ (reprise+). Dès que la vitesse du vehicule dépasse 32 km/h (20 mi/h), la dernière vitesse de croisière programmée est rétablie.

Comment changer la distance programmea a maintainir avec le vehicule qui precede
La distance par rapport au vehicule qui precede peut etre changee en tout temps lorsque les conditions de circulation le permettent.
Chaque fais que vous appuyez sur l'interrupteur de DISTANCE (A), la distance programmée est modifiée en boucle : longue, moyenne et courte.

Distance Distance approximative à 100 km/h (60 mi/h) - m (pi)
- Longue 60 (200)
- Moyenne 45 (150)
-
Courte 30 (90)
-
La distance de suivi change selon la vitesse du vehicule. Plus la vitesse du vehicule est elevée, plus la distance de suivi est longue.
-
Dès l'arrêt du système de vehicule electrique, la distance de suivi passée automatiquement au réglage de distance longue. (Chaque fois que vous faites demarrer le système de vehicule electrique, le réglage initial passée automatiquement au réglage de distance longue.)
Avertissement d'approche
Si vous véchicule s'approche de celui qui vous précède parce qu'il décelère rapidement, ou qu'un autre vehicule surgitt en face du yourselves, le système met en garde le conducteur à l'aide du carillon et de l'écran du régulateur de vitesse adaptatif. Ralentissez en appuyant sur la pédale de frein pour maintainir une distance sécuritaire entre les vehicules si:
- Le carillon retentit.
- Le témoin de détction du vehicule suivi clignote.
Le carillon peut ne pas retentir dans certains cas ou les vehicules se trouvent à une courte distance l'un de l'autre. Exemples :
Lorsque les vehicules se déplacent à la même vitesse et que la distance qui les sépare reste la même.
Lorsque le vehicule qui precede se déplace à une vitesse supérieure et que la distance qui sépare les vehicules augmente.
Lorsqu'un vehicule surgit devant le votre.
Le carillon ne retentit pas lorsque :
- le vehicule approche d'autres vehicules qui sont stationnés ou se déplacent lentement;
- la pédale d'accélérateur est enforcée, ce qui neutralise le système.
REMARQUE:
Le carillon d'advertissement d'approche peut retentir et l'écran du système peut clignoter lorsque le capteur du régulateur de vitesse adaptatif detecté des objets sur le côte du vehicule ou sur le côte de la route. Le régulateur de vitesse adaptatif peut alors faire ralentir ou accélérer le vehicule. Le capteur du régulateur de vitesse adaptatif peut détector ces objets lorsque le vehicule roule sur des routes sinueuses, étroites ou montagneuses, ou à l'entrée et à la sortie d'une courbe. Le cas échéant, vous devrez contrôler manuellement la distance appropriée devant votre vehicule.
De plus, la sensibilité du capteur peut être modifiée par l'utilisation du vehicule (manoeuvre de direction ou position dans la voie) ou par les conditions routières ou l'etat du vehicule (par exemple, lors de l'utilisation d'un vehicule ayant subi des dommages).
Annulation automatique
Le carillon retentit dans les conditions suivantes et lorsque le régulateur de vitesse fait l'objet d'une annulation automatique :
Lorsque le vehicule qui vous precede n'est pas detecté et que la vitesse de votre vehicule est inférieure à 24 km/h (15 mi/h)
Lorsque le système déterminé que le vehicule est immobilisé
Lorsque le levier selecteur n'est pas à la position D (marche avant) ou en mode B
Lorsque le frein de stationnement est serré
Lorsque le système de contrôle dynamique du vehicule est désactisé
Lorsque le système de freinage antiblocage ou le système de contrôle dynamique du vehicule fonctionne
Lorsque la distance mesurée est imprecise en raison de l'adhésion de saleté ou d'obstruction sur le capteur
Lorsqu'une roue patine
Lorsque le signal du radar est interrormpu temporairement
LIMITES DU MODE CONTROLE D'INTERVALLE

AVERTISSEMENT
Les limites du régulateur de vitesse adaptatif sont répertoriées cédssous. Le fait de ne pas conduire le vehicule conformément à ces limites du système peut entraîner des blessures graves ou mortelles.
- Ce système est destiné principalement à une utilisation sur des routes droites, séches, à circulation libre et faible. L'utilisation de ce système n'est pas recommandée pour la conduite urbaine ou dans les zones de traffic intense.
-
Ce système ne s'adapte pas automatiquement aux conditions de la route. Il doit être utilisé quand la circulation est fluide. N'utilise pas le système si les routes sont sinueuses, si la chaussée est glacée, sous une pluie intense ou dans le brouillard.
-
Comme une limite est imposée au rendement de la fonction de contrôle de la distance, vous ne devez jamais vous fier uniquement au régulateur de vitesse adaptatif. Ce système ne peut pallier une conduite imprudente, le manque de vigilance ou d'attention, pas plus qu'il ne peut atténuer les inconvenients causés par la pluie, le brouillard et le mauvais temps. Appuyez sur la pédale de frein pour réduire la vitesse de votre vehicule de manière à conserver une distance sécuritaire, en tenant compte de la distance entre votre vehicule et celui qui vous précédé, et des conditions environnantes.
-
Si le vehicule s'arrête, il decelere jusqu'à l'immobilisation complète dans les limites du régulateur. Le système se désactive lorsqu'il détermine qu'un vehicule est complètement immobilisé et il fait retentir un carillon. Pour empêcher le vehicule de se déplacer, le conducteur doit enforcer la pédale de frein.
-
Soyez toujours attentif à la conduite de votre vehicule et préta intervenir afin de conserver une distance de sécurité appropriée. Dans certains cas, le régulateur de vitesse adaptatif peut ne pas être en mesure deMAINTER la distance programmée entre les vehicules (distance de suivi) ou la vitesse de croisière choisisie.
-
Certaines conditions de route ou climatiques pourraient empêcher le système de détecter un vehicule devant vous. Pour éviter les accidents, n'utilise jamais le régulateur de vitesse adaptatif dans les conditions suivantes:
-
Sur des routes à circulation dense ou sur les routes sinueuses
- Sur des chaussées glissantes comme sur la glace, la neige, etc.
- Par mauvais temps (pluie, brouillard, neige, etc.)
-
Quand la pluie, la neige ou le gravier adhère au pare-chocs autour du capteur de distance
-
Dans les pentes descendantes abruptes (le vehicule pourrait dépasser la vitesse établie et un freinage liéquent pourrait faire surchauffer les freins)
- Sur les routes en terrain valonné
- Lorsque les conditions de circulation forcent des escalations et des decélations fréquentes qui nuisent au maintain d'une distance appropriée entre les vehicules
- Interférences par d'autres sources de radar.
- N'utilise pas le régulateur de vitesse adaptatif si vous tractez une remorque. Le système pourrait ne pas détecter un vehicule qui roule devant vous.
- Dans certaines conditions de route ou de circulation, un vehicule ou un objet peut enterer inopinement dans la zone de détention du capteur et causer l'activation automatique des freins. Soyez toujours attentif et évitez d'utiliser le régulateur de vitesse adaptatif dans des situations non recommaneadées dans la presente section d'ajretissement.
Le capteur du radar ne détecte pas les objets suivants :
- les vehicules immobilisés ou qui se déplacent très lentement;
- les piétons et les obstacles sur la route;
- les vehicules venant en sens inverse dans la même voie;
- les motocyclettes circulant à l'écart sur la même voie.
Le capteur détecte généralement les signaux réfléchis du vehicule suivi. À cet effet, si le capteur ne peut détecter le vehicule suivi, le régulateur de vitesse adaptatif pourrait ne pas maintainir la distance programmée entre les vehicules.
Le capteur ne peut pas détecter un vehicule qui roule devant vous et le système peut ne pas fonctionner correctement dans les conditions suivantes :
Lorsque de la neige ou des projections de la route provenant des vehicules en déplacement nuisent à la détction du capteur
Lorsque vous vehicule tracte une remorque,etc.
- Dans le cas de bagages trop lourds se trouvant sur la banquette arrête ou dans le hayon de votre vehicule.
Le régulateur de vitesse adaptatif contrôle automatiquement le bon fonctionnement du capteur dans les limites du système.
Lorsque la zone du capteur est sale ou obstruée, le fonctionnement du système se désactive automatiquement. Le régulator de vitesse peut ne pas détaquer un capteur recouvert de glace, d'un sac en vinyle transparent, etc. Dans ce cas, le mode Contrôle d'intervalle pourrait ne pas se désactiver et le système ne serait pas en mesure de maintainir la distance programmée. Assurez-vous de vérifier et de nettoyer le capteur régulièrement.
La zone de détction du capteur du radar est limitée. Le vehicule suivi doit se couver dans la zone de détction du régulateur de vitesse adaptatif afin que ce dernier puisse maintainir la distance programmée et régler la vitesse en fonction de cette du vehicule suivi.
Le vehicule suivi pourrait se couver hors de la zone de détction en raison de sa position dans votre propre voie. Les motocyclettes pourraient ne pas etre détectees dans cette meme voie sils circulent trop loin du centre de la voie. Le vehicule qui precede et qui emprunte votre voie poursait se couver hors de la zone de détction jusqu'à ce qu'ilatteigne le milieu de la voie.
Dans ce cas, le régulateur de vitesse adaptatif peut vous averrir en faisant cli-gnoter le témoin du système et retentir le carillon. Le conducteur devra peut-être intervenir afin de conserver la distance appropriée avec le vehicule qui précède.

Lorsque you empruntez certains types de routes, par exemple un parcours sinueux ou montagneux, à l'entrée ou à la sortie d'un virage, sur une route étroite ou dans une zone de travaux, le capteur du régulateur de vitesse adaptatif pourrait détector un vehicule sur une voie adjacente, ou ne pas détector temporairement un vehicule qui vous précédé sur la même voie. Le régulateur de vitesse adaptatif peut alors faire ralentir ou accéléérer le vehicule.
La détction des vehicules peut être également modifiée par la conduite (changements de direction ou emplacement dans la voie) ou l'etat du vehicule.
Dans ce cas, le régulateur de vitesse adaptatif peut vous averrir en faisant cli-gnoter le témoin du système et retentir le carillon. Le conducteur devra peut-être intervenir afin de conserver la distance appropriée.
Le régulateur de vitesse adaptatif peut ne pas être disponible temporairement dans les conditions citées ci-après. Dans ce cas, le régulateur de vitesse adaptatif pourrait se désactiver et le système ne serait pas en mesure deMAINTER la distance programmee.
Condition A
Dans les conditions suivantes, le régulateur de vitesse adaptatif est automatiquement annulé. Un carillon retentit et le régulateur ne pourrait être programmé:
Lorsque le système de contrôle dynamique du vehicule est désactivé
Lorsque le système de freinage antiblocage ou le système de contrôle dynamique du vehicule fonctionne.
Lorsqu'un vehicule qui vous precede n'est pas detecté et que la vitesse de votre vehicule est inférieure à 24 km/h (15 mi/h)
Lorsque le système déterminé que le vehicule est immobilisé
Lorsque le levier selecteur n'est pas à la position D (marche avant) ou en mode B
Lorsque le frein de stationnement est serré
Lorsqu'une roue patine
Lorsque le signal du radar est interrompu temporairement
Mesures à prendre
Lorsque les conditions décrites ci-dessus ne sont plus générées, désactive le système au moyen du commutateur du régulateur de vitesse adaptatif. Réactivé le régulateur de vitesse adaptatif si vous souhaitez de nouveau utiliser le système.
Condition B
Lorsque le capteur radar du pare-chocs avant est obstrué ou recouvert de souillure, le régulateur de vitesse adaptatif est automatiquement désactivé.
Le carillon retentit et le message d'avertissement « Not Available : Front Radar Blocked » (Non disponible : blocage du radar avant) s'affiche à l'écran multifonction du vehicule.
Lorsque you conducisez sur des routes avec des structures routieres ou des Ponts limités (par exemple, des Ponts longs, les champs de neige, la conduite pres de long murs), le système peut allumer le témoin d'anomalie et afficher le message « Not available : Front Radar Blocked » (Non disponible : blocage du radar avant).

Mesures à prendre
Si le message d'advertissement (orange) s'affiche, arrêtez le vehicule dans un endroit sur, placez le levier selecteur à la position P (stationnement) et coupez le système de vehicule électrique. Lorsque le signal du radar est interrompu temporairement, nettoyez la zone du capteur du parechocs avant et redémarrez le système de vehicule électrique. Si le message d'advertissement « Not Available : Front Radar Blocked » (Non disponible : blocage
du radar avant) continue de s'afficher, faites vérifier le système. Nous vous recommandons de vous rendre chez un concessionnaire NISSAN LEAF certifié pour procéder cet entretien.
Condition C
Si le régulateur de vitesse adaptatif ne fonctionne pas correctement, le carillon retentit et le témoin d'anomalie du régateur (orange) s'allume.


Mesures à prendre
Si le témoin d'advertissement s'allume, garez-vous à un endroit sécuritaire. Coupez le système de vehicule electrique, redémarrez-le, repreneze la conduite, puis réglez de nouveau le régulateur de vitesse adaptatif.
S'il est impossible de régler le système ou si l'indicateur reste allumé, cela peut indiquer une anomalie du système. Bien que vous puissiez toujours conduire le vehicule dans des conditions normales, faites-le vérifier. Nous vous recommendons de vous rendre chez un concessionnaire NISSAN LEAF certifié pour procéder cet entretien.
ENTRETIEN DU SYSTEME
Le capteur du régulateur de vitesse adaptatif () se trouve à l'avant du vehicule.
Pour que le régulateur de vitesse adaptatif fonctionne correctement, veillez à :
- Gardez toujours la zone du capteur propre.
- Évitez de frapper ou d'endommager les zones entourant le capteur.
-
Ne posez pas d'autocollant (opaque ou transparent) sur le capteur ou installer d'accessoire à proximé. Ceci pourrait entraîner la panne ou une défectuosité du capteur.
-
Ne fixez pas des objets métalliques à proximé de la zone du capteur (grille de protection, etc.). Ceci pourrait entraîner la panne ou une défectuosité du capteur.
- Ne tentez de modifier, de-retirer ou de peindre le pare-chocs avant. Avant de personneliser ou de restaurer le parechocs avant, nous vous recommendons de visiter un concessionnaire NISSAN LEAF certifié.
Déclaration de fréquence radio
Aux États-Unis
FCC ID OAYARS4B
Ce dispositif est conforme à l'article 15 des règlements de la FCC. Son utilisation est soumise aux deux conditions suivantes :
- Ce dispositif ne doit causeur aucune interference nuisible, et
- Ce dispositif doit pouvoir accepter toutes les interférences, y compris celles qui peuvent l'activer de façon inopinée.
Avertissement de la FCC
Toute modification non approuvée par la partie responsable de la conformité peut annuler le droit d'utiliser ce dispositif.
Au Canada
Modèle : ARS4-B
IC:4135A-ARS4B
FCC ID : OAYARS4B
Ce dispositif est conforme aux normes de la section 15 des règles de la FCC des États-Unis et aux normes d'Industrie Canada applicables aux apparèils RSS exempts de licence. Son'utilisation est soumise aux deux conditions suivantes :
- Ce dispositif ne doit causeur aucune interference nuisible.
- Ce dispositif doit pouvoir accepter toutes les interférences, y compris celles qui pouraient l'activer de façon inopinée.
Le present appeareil est conforme aux CNR d'Industrie Canada applicables aux apparreils radio exempts de licence. L'exploitation est autorisée aux deux conditions suivantes:
- L'appareil ne doit pas produit de brouillage, et
- l'utilisateur de l'appareil doit accepter tout brouillage radioélectrique subi, même si le brouillage est susceptible d'en compromètement le fonctionnement.
Renseignements sur l'exposition aux émissions de radiofréquences :
Ce dispositif est conforme aux limites d'exposition au rayonnement de la FCC énoncées pour un environnement non contrôle.
Ce dispositif doit être installé et utilisé en maintainant une distance minimale de 30 cm entre la source d'émission et votre corps.
L'émetteur ne doit pas être placé au même endroit qu'une autre antennée ou un autre émetteur ni fonctionner de concert avec ces apparèils.
Cet équipement est conforme aux limites d'exposition aux rayonnements IC établies pour un environnement non contrôle. Cet équipement doit être installé et utilisé avec un minimum de 30 cm de distance entre la source de rayonnement et votre corps.
Avis de la FCC
Toute modification non approuvée par la partie responsable de la conformité peut annuler le droit d'utiliser ce dispositif.
MODE CLASSIQUE (VITESSE STABLE) DU RÉGULATEUR DE VITESSE
Le régulateur de vitesse de votre vehicule vous permet de conduire à des vitesses se situant entre 40 et 144 km/h (25 et 90 mi/h) sans devoir garder le pied sur la pédale d'accéléateur.

AVERTISSEMENT
- Lorsque le mode de régulateur de vitesse classique (vitesse stable) est sélectionné, le carillon ne retentit pas pour vous aviser que la distance entre votre vehicule et celui qui vous précédé est insuffisante. Ce mode ne détecte pas la présence d'un vehicule à l'avant et ne peut donc détenir la distance entre les deux vehicules.
- Vous éviterez les accidents en portant une attention particulière à la distance qui sépare votre vehicule de celui qui se trouve devant vous.
-
Confirmez toujours le réglage à l'écran du régulateur de vitesse adaptatif.
-
N'utilise pas le régulateur de vitesse classique (vitesse stable) si vous conduisez en présence des conditions suivantes:
-
lorsqu'il est impossible de maintainir la vitesse programmée;
- lorsque la circulation est dense ou que la vitesse varie;
- sur les routes montagneuses ou sinueuses;
- sur les routes glissantes (pluie, neige, glace, etc.);
- dans des endroits très venteux.
- Vous pourriez ainsi perdre la maitrise de votre vehicule et avoir un accident.

Commutateurs du mode classique (vitesse stable) du régulateur de vitesse
Ce commutateur permet de désactiver le système sans effacer la vitesse programmée.
- Commutateur RES+ (reprise+):
Ce commutateur permet de rappeler la vitesse programmée ou d'augmenter progressivement la vitesse.
- Commutateur SET-(réglage-):
Ce commutateur programme la vitesse de croisière souhaitation ou réduit la vitesse progressivement.
- Commutateur du régulateur de vitesse adaptatif:
Ce commutateur principal permet d'activer le régulateur de vitesse.

Affichage et tímoins du mode classique (vitesse stable) du régulateur de vitesse
Cet affichage se trouve dans l'écran multifonction.
- Témoin du régulateur de vitesse : ce témoin indique l'etat du régulateur de vitesse adaptatif en fonction d'une couleur :
Témoin d'ACTIVATION du régulateur de vitesse (gris): indique que le commutateur du régulateur de vitesse adaptatif est activé.
Témoin SET (réglage) du régulateur de vitesse (vert): indique que la vitesse de croisière est régée.
Témoin d'ajretissement du régula-teur de vitesse (jaune) : indique une anomalie dans le régulateur de vitesse adaptatif.
- Témoin de vitesse programmée : ce t'émoin indique la vitesse programmée du vehicule. Pour les modèles canadiens, la vitesse est affichée en km/h.

Conduite en mode de régulateur de vitesse classique (vitesse stable) Pour mesure en fonction le mode de régulateur de vitesse classique (vitesse stable), maintenez enforcé le commutateur du régulateur de vitesse adaptatif A pendant plus de 1,5 seconde.
Lorsque le commutateur du régulateur de vitesse adaptatif est régèle en position de marche, l'affichage et les témoins du mode de régulateur de vitesse classique (vitesse stable) 8 s'affichent à l'écran multifonction. ÀpRES que vous avez maintenu
enforcé le commutateur du régulateur de vitesse adaptatif pendant plus de 1,5 seconde, l'affichage du régulateur de vitesse adaptatif s'eteint. Le témoin de régulateur de vitesse s'affiche. Vous pouvezmaintenant régler la vitesse de croisière. En appuyant de nouveau sur le commutateur du régulateur de vitesse adaptatif, vous mettez hors fonction le système. Lorsque vous placez le commutateur principal en position OFF (hors fonction), le système est également mis hors fonction automatiquement.
Pour recommencer à utiliser le régulateur de vitesse adaptatif, appuyez sur le commutateur du régulateur de vitesse adaptatif (mode de contrôle d'intervalle) ou maintenez-le,enforcé (mode de régulator de vitesse classique) pourmettre le système en fonction.

MISE EN GARDE
Pour éviter que le système ne s'enclenche par inadvertance, placetz toujours à l'arrêt le commutateur du régulateur de vitesse adaptatif lorsque vous n'utilise pas le régulateur.

Pour régler la vitesse de croisière, faites accélérer votre vehicule jusqu'à la vitesse souhaitée, appuyez sur le commutateur SET- (réglage-) ©, puis relâchéz-le. (La couleur du témoin de régulateur de vitesse passer au vert et le témoin de vitesse programmée s'allume); relâchéz la pédale de l'accélérateur. Notre vehicule roulera à la vitesse programmée.
- Pour doubler un autre vehicule, appuyez sur l'accéléateur. Lorsque la pedale est relachée, le vehicule returne à la vitesse programmée.
Lorsque you montez ou descendez une pente raide, it est possible que le vehicule ne puisse pas maintainir la vitesse reglee. Dans un tel cas, maintenez manuellement la vitesse du vehicule.
Pour annuler la vitesse programmée, utilisez une des méthodes suivantes :
- Appuyez sur le commutateur CANCEL (annulation). Le témoin de vitesse s'éteint.
- Appuyez légèrement sur la pédale de frein. Le tímoin de vitesse s'éteint.
- Mettez le commutateur du régulateur de vitesse adaptatif en position d'arrêt. Le témoin de régulateur de vitesse et le témoin de vitesse du vehicule s'éteignent.
Pour étabir une vitesse de croisière plus rapide, utilisez l'une des trois méthodes suivantes:
- Appuyez sur l'accelerateur. Enforcez le commutateur SET- (réglage-) et relâchez-le une fois que le vehicule a atteint la vitesse désirée.
- Maintenez enforcé le commutateur RES+ (reprise+). Relâchéz le commuta- teur lorsque le vehiculeatteint la vitesse voulue.
- Appuyez sur l'interrupteur RES+ (reprise+), puis relâchéz-le rapidement. La vitesse programmée de votre vehicule augmente d'environ 1,6 km/h (1 mi/h) chaque fois que vous appuyez sur ce commutateur.
Pour étabir une vitesse de croisière plus lente, utilisez l'une des trois méthodes suivantes:
- Appuyez légèrement sur la pedale de frein. Enforcez le commutateur SET-(réglage-) et relâchez-le une fois que le vehicule a atteint la vitesse désirée.
- Appuyez longuement sur l'interrupteur SET- (réglage-). Relâchez le commutateur lorsquè le vehicule ralentit jusqu'à la vitesse désirée.
- Appuyez brièvement sur le commutateur SET-(réglage-). La vitesse programmée de votre vehicule diminue d'environ 1,6 km/h (1 mi/h) chaque fois que vous appuyez sur ce commutateur.
Pour reprendre la vitesse antérieurement programmée, appuyez brièvement sur le commutateur RES+ (reprise+). Dès que la vitesse du vehicule dépasse 40 km/h (25 mi/h), la dernière vitesse de croisière programmée est rétablie.

Système temporairement indisponible
Le carillon retentit dans les conditions suivantes et lorsque le régulateur de vitesse fait l'objet d'une annulation automatique :
Lorsque la vitesse du vehicule est réduite de plus de 13 km/h (8 mi/h) par rapport à la vitesse programmée
Lorsque le levier selecteur n'est pas à la position D (marche avant) ou en mode B
Lorsque le frein de stationnement est serré
Lorsque le système de contrôle dynamique du vehicule est en fonction (dispositif antipatinage inclus)
Lorsqu'une roue patine
Lorsque le système ne fonctionne pas correctement, le carillon retentit et le témoin de régulateur de vitesse passé à la couleur orange.
Mesures à prendre
Si la couleur du témoin de régulateur de vitesse passé à la couleur orange, immobilisez le vehicule dans un endroit sur et déplacez le levier sélecteur à la position P (stationnement). Coupez le système de vehicule électrique, redémarrez-le, reprenez la conduite, puis effectuez de nouveau le réglage.
S'il est impossible de régler le système ou si l'indicateur reste allumé, cela peut indiquer une anomalie du système. Bien que vous puissiez toujours conduire le vehicule dans des conditions normales, faites-le vérifier. Nous vous recommandons de vous rendre chez un concessionnaire NISSAN LEAF certifié pour procédér cet entretien.
PROPILOT ASSIST (SELON L'ÉQUIPEMENT)

AVERTISSEMENT
Le non-respect des avertissements et des directives relatives à l'utilisation du système ProPILOT Assist pourrait entrainer des blessures graves, voire mortelles.
- ProPILOT Assist n'est pas un système de conduite autonome. Dans les limites de ses capacities, comme décrit dans ce manuel, il aide le conducteur avec certaines activités de conduite.
-
Le système ProPILOT Assist ne remplace pas la façon appropriée de conduire le vehicule et n'est pas concu pour une conduite imprudente, le manque de vigilance ou d'attention. Le système ProPILOT Assist n'assure pas la direction du vehicule pour le maintainir dans la voie. Le système ProPILOT Assist n'est pas concu pour prévenir la perte de maïtrise du vehicule. Il incombe au conducteur de rester vigilant, de conduire prudemment, de maintainir son vehicule dans la voie empruntée et de maîtriser son vehicule en tout temps.
-
Les capacités du système ProPILOT Assist sont limitées. Le système ProPILOT Assist ne fonctionne pas dans toutes les conditions de conduite, de circulation, de température et de la route. Il incombe au conducteur de rester vigilant, de conduire prudiment, de maintainir son vehicule dans la voie empruntée et de maîtriser son vehicule en tout temps.
- Le système ProPILOT Assist est destiné uniquement à aider le conducteur. Il ne s'agit pas d'un dispositif de prévention des collisions.
- Le système ProPILOT Assist est concu pour l'utilisation sur l'autoroute seulement et non pour la conduite urbaine. L'éché c'd'application de frein ou de direction du vehicule lorsqu'il est nécessaire peut provoquer un accident grave.
- Respectez toujours les limites de vitesse indiquées sur les panneaux routiers et ne dépassez pas ces limites lorsque vous programmesz la vitesse.
-
Ne relâchéz jamais le volant lors de la conduite. Gardez toujours vos mains sur le volant et conduizez votre vehicule en toute sécurité.
-
Ne détachez jamais votre ceinture de sécurité lorsqu'ellesutilisez ProPILOT Assist. Cela désactive automatiquement le système ProPILOT Assist.
- Le système ProPILOT Assist ne réagit pas aux vehicules immobiles ou qui roulent lentement.
- Conduisez toujours prudèment et attentivement lorsque vous utilisez le système ProPILOT Assist. Vous dévez dire le manuel du propriétaire et bien le comprendre avant d'utiliser le système ProPILOT Assist. Pour prévenir les blessures graves ou mortelles, ne vous fiez pas uniquement au régulateur de vitesse pour éviter les accidents ou pour régler la vitesse du vehicule en situation d'urgence. Le système ProPILOT Assist doit être utilisé uniquement lorsque les conditions de la route et de la circulation le permettent.

Le système ProPILOT Assist permet d'optimiser votre conduite lorsque vous suivez un autre vehicule qui circule dans la même voie et dans la même direction que vous.
Le système ProPILOT Assist utilise une camera avant a détction multiple A installed derrière le pare-brise et un capteur radar situé à l'avant du vehicule B pour mesurer la distance du vehicule qui vous précède dans la même voie et pour contrôler les marquages au sol. Si le vehicule détecte un vehicule en mouvement plus lent en avant, le système réduira la vitesse du vehicule pour que votre vehicule
suive le vehicule devant à la distance choisisie. Le système aide également à maintenir le vehicule centré dans la voie empruntée lorsque marquages au sol sont détectés.

FONCTIONNEMENT DU SYSTEME PROPILOT ASSIST
- Commandes montées sur le volant (côté gauche)
- Affichage multifonction
- Commandes montées sur le volant (côté droit)
- Commutateur ProPILOT Assist
Le système ProPILOT Assist offre les deux fonctions suivantes :
1. Régulateur de vitesse adaptatif (ICC)
Le régulateur de vitesse adaptatif peut êtreprogrammé pour un de deux modes de fonctionnement:
- le mode classique (vitesse stable) du régulateur de vitesse, qui permet de maintainir votre vitesse de croisière programmée
REMARQUE:
La direction assistée n'est pas disponible dans le mode de régulateur de vitesse classique (vitesse stable).
Mode de contrôle d'intervalle: le régulateur de vitesse adaptatif maintainé la distance programmée entre votre vehicule qui vous précède, dans la plage de 0 à 144 km/h (0 à 90 mi/h) jusqu'à la vitesse programmée. La vitesse programmée peut être selectionnée par le conducteur entre 32 à 144 km/h (20 à 90 mi/h). Lorsque le vehicule qui vous précède ralentit pour arrêter,votre vehicule décelère graduallement jusqu'à l'immobilisation complète. Lorsque le vehicule est arrêté, le régulateur de vitesse adaptatif maintainé une force de freinage pour garder votre vehicule immobilisé.
REMARQUE:
Lorsque votre vehicule est arrêté pendant moins de 3 secondes et que le vehicule qui vous précède commence à se déplacer, votre vehicule commence à se déplacer à nouveau automatiquement.
-Si votre vehicule est à l'arrêt pendant plus de 3 secondes et que le vehicule qui vous précède commence à accéléérer, appuyez sur le commutateur RES+ (reprise+) ou appuyez légèrement sur la pédale d'accéléateur. Le régulateur de vitesse adaptatif commence à suivre le vehicule qui vous précède.
-Lorsqu'aucun vehicule n'est detecté à l'avant à l'intérieur de la distance seLECTIONnée par le conducteur, le vehicule se déplace à la vitesse programmée par le conducteur. La vitesse doit être supérieure à 32 km/h (20 mi/h) pour pouvoir utiliser cette fonction.
REMARQUE:
Meme si le réglage de freinage d'ur-gence automatique est désactivé par le conducteur à l'aide du menu « Réglages » à l'affichage multifonction, le système de freinage d'urgence automatique est activé automatiquement lorsque le régulateur de vitesse adaptatif n'est pas utilisé.
2. Direction assistée
La fonction de direction assistée contrôle le système de direction, ce qui permet de garder votre vehicule dans la voie empruntée.
Lorsqu'il n'y aaucun vehicule à l'avant,la direction assistee n'est pas disponible à une vitesse inférieure à 60 km/h (37 mi/h).


Commutateurs ProPILOT Assist
1. Interrupteur DISTANCE:
- Longue
Moyenne
Courte
2. Commutateur RES+ (reprise+):
Ce commutateur permet de rappeler la vitesse programmée ou d'augmenter progressivement la vitesse.
3. Commutateur CANCEL (annulation):
Ce commutateur désactive le système ProPILOT Assist.
4. Commutateur ProPILOT Assist :
Active ou désactive le système ProPILOT Assist.
5. Commutateur SET-(réglage-):
Ce commutateur programme la vitesse de croisière souhaitée ou réduit la vitesse progressivement.
6. Commutateur de direction assistée :
Active ou désactive la fonction de direction assistée.

L'affichage et les témoins du système ProPILOT Assist
1. Témoin de direction assistée
Ce témoin indique l'état de la fonction de direction assistée par sa couleur.
Témoin de direction assistée (gris) : direction assistée en attente
- Témoin de direction assistée (vert) : direction assistée active
Témoin de direction assistée (orange): anomalie de la direction assistée
- Activation de ProPILOT Assist
S'affiche lorsque le système ProPILOT Assist est activé.
- Témoin de détction du vehicule suivi
Cetémoin indique si le système détecte un vehicule qui vous précède.
- Indicateur d'etat de ProPILOT Assist
Ce témoin indique l'etat du système ProPILOT Assist par sa couleur.
-
Indicateur d'etat du système ProPILOT Assist (blanc): système ProPILOT Assist actif mais en attente
-
Indicateur d'etat du système ProPILOT Assist (bleu) : système ProPILOT Assist actif
-
Témoin de marquage au sol
Indique si le système detecte les marquages au sol.
Aucun marquage au sol affiché : direction assistée désactivée
Témoin de marquage au sol (gris) :aucun marquage au sol détecté
Témoin de marquage au sol (vert): marquages au sol déteCTS
Témoin de marquage au sol (jaune) : déport de couloir détecté
- Témoin de distance programme
Ce témoin affiche la distance sélectionné.
- Indicateur d'etat ou d'avertissement de direction assistée
Affiche l'etat de la direction assistee par sa couleur.
Aucun indicateur d'etat de la direction assistee affiche: direction assistee des-activée
-
Témoin de direction assistée (gris) : direction assistée en attente
-
Témoin de direction assistée (vert) : direction assistée active
Témoin de direction assistée (jaune) : anomalie de la direction assistée
- Indicateur d'etat ou d'avertissement du régulateur de vitesse
Affiche I'etat du regulateur de vitesse par sa couleur et sa forme.
-
Indicateur d'etat ou d'avertissement du régulateur de vitesse (gris) : régulateur de vitesse adaptatif en attente
-
Indicateur d'etat ou d'avertissement du régulateur de vitesse (vert en continu
regulateur de vitesse adaptatif (mode de commande de distance) actif (vehicule detecté à l'avant). La vitesse de votre vehicule correspond à la vitesse du vehicule suivi.
- Indicateur d'etat ou d'avertissement du régulateur de vitesse (contour vert
regulateur de vitesse adaptatif (mode de maintainen du regulateur de vitesse) actif (aucun vehicule detecte a l'avant).Le vehicule continue a rouler a la vitesse programmée par le conduc-. teur.
-
Indicateur d'etat ou d'avertissement du régulateur de vitesse (orange): indique une anomalie du régulateur de vitesse adaptatif
-
Témoin de vitesse programmée
Ce témoin indique la vitesse programme du vehicule.
ACTIVATION DU MODE CLASSIQUE (VITESSE STABLE) DU RÉGULATEUR DE VITESSE
REMARQUE:
Le système ProPILOT Assist n'offre aucune fonction d'advertisement d'approche, de freinage automatique ou de direction assistee dans le mode classique (vitesse stable) du régulator de vitesse.
Pour désir le mode classique (vitesse stable) du régulateur de vitesse, appuyez sur le commutateur ProPILOT Assist pendant plus de 1,5 seconde. Pour obtenir des renseignements supplémentaires, reportez-vous au chapitre « Mode classique (vitesse stable) du régulateur de vitesse » dans cette section.


FONCTIONNEMENT DE PROPILOT ASSIST
- Appuyez sur le commutateur ProPILOT Assist A. Cela permet demettre en fonction le systeme ProPILOT Assist et d'afficher I'etat du systeme sur I'affiche multifonction B.
- Accélérez ou ralentissez votre vehicule à la vitesse souhaïée.
- Appuyez sur la touche SET-(réglage-) ©. Le système ProPILOT Assist commence àMAINER automatiquement la vitesse programmée. Le témoin d'activation du système ProPILOT Assist et l'indicateur d'etat du système ProPILOT Assist s'allument (bleu). Lorsqu'un vehicule qui vous précède se déplace à une vitesse de 32 km/h (20 mi/h) ou moins et que le commutateur SET-(réglage-) est enforcé, la vitesse programmée de votre vehicule est de 32 km/h (20 mi/h).
REMARQUE:
Si vous activez le système ProPILOT Assist, le système d'intervention de changement de voie intelligent s'active en même temps. Pour obtenir des renseignements supplémentaires, consultez la section « Système d'intervention de changement de voie intelligent » dans ce chapitre.

Lorsque le commutateur SET- (réglage-) est enforcé dans les conditions suivantes, le système ProPILOT Assist ne peut pas être régèle et l'indicateur de vitesse programmee ① clignote pendant environ 2 secondes:
Lorsque la vitesse du vehicule est inférieure à 32 km/h (20 mi/h) et que le vehicule qui vous precede ne peut être détecté.
Lorsque le levier selecteur n'est pas à la position D (marche avant) ou en mode B
Lorsque le frein de stationnement est serré.
Lorsque les freins sont actionnés par le conducteur.
Lorsque le système de contrôle dynamique du vehicule est désactivé. Pour obtenir des renseignements supplémentaires, consultez la section « Dispositif de contrôle dynamique du vehicule » du present chapitre.
Lorsque le système de contrôle dynamique du vehicule (y compris le système d'antipatinage à l'accelération) est en fonction
Lorsqu'une roue patine.
-Si I'une des portieres est ouverte.
Lorsque la ceinture de sécurité du conducteur n'est pas bouclée.

Changement de la vitesse programmée
La vitesse programmée peut être modifiée.
Pour passer à une vitesse de croisière plus rapide :
- Maintenez enforcé le commutateur RES+ (reprise+). La vitesse programmée augmente d'environ 5 km/h (5 mi/h).
- Appuyez sur l'interrupteur RES+ (reprise+), puis relâchéz-le rapidement. La vitesse programmée de votre vehicule augmente d'environ 1 km/h (1 mi/h) chaque fois que vous appuyez sur ce commutateur.
Pour passer à une vitesse de croisière plus lente :
- Appuyez longuement sur l'interrupteur SET-(réglage-). La vitesse programmée diminue d'environ 5 km/h (5 mi/h).
- Appuyez brievement sur le commutateur SET-(réglage-). La vitesse programmée de votre vehicule diminue d'environ 1 km/h (1 mi/h) chaque fois que vous appuyez sur ce commutateur.
Comment accélérer ou ralentir momentanément
- Appuyez sur la pédale d'accéléateur si l'accélération est nécessaire. Relâchez la pédale d'accéléateur pour re:prouve la vitesse réglée précédemment.
- Appuyez sur la pédale de frein si la dépréciation est nécessaire. Le contrôle par le système ProPILOT Assist est désactivié. Appuyez sur le commutateur RES+ (reprise+) pour reprendre la vitesse régée précédendum.

AVERTISSEMENT
Lorsque la pedale d'accélérateur est enforcée et que vous approchez le vehicule qui vous précède, le régulateur de vitesse adaptatif ne prendra pas le contrôle du frein et n'avertira pas le conducteur à l'aide du carillon et de l'affichage. Le conducteur doit contrôler manuellement la vitesse du vehicule pour conserver une distance sécuritaire par rapport au vehicule suivi. Autrement, cela pourrait entraîner des blessures graves ou mortelles.
REMARQUE:
Lorsque you accélérez en appuyant sur la pédale d'accéléateur ou ralentissez en appuyant sur le commutateur SET- (réglage-) et que le vehicule circule plus vite que la vitesse programmée par le conducteur, l'indicateur de vitesse programmée clignote.

Comment changer la distance programmea a maintainir avec le vehicule qui precede
La distance par rapport au vehicule qui precede peut etre changée en tout temps.
Chaque fois que vous appuyez sur l'interrupteur de DISTANCE (A), la distance programme est modifiée en boucle : longue, moyenne et courte.



Distance Distance approximative à 100 km/h (60 mi/h) - m (pi)
- Longue 60 (200)
- Moyenne 45 (150)
-
Courte 30 (90)
-
La distance de suivi change automatiquement selon la vitesse du vehicule. Plus la vitesse du vehicule est élevée, plus la distance de suivi est longue.
- Dès l'arrêt du système de vehicule electrique, la distance de suivi passée automatiquement au réglage de distance longue. (Chaque fois que vous faites demarrer le système de vehicule electrique, le réglage initial passée automatiquement au réglage de distance longue.)

ACTIVATION ET DÉSACTIVATION DE LA DIRECTION ASSISTÉE
- Commandes montées sur le volant (côté droit)
- Affichage multifonction
- Commutateur de direction assistée
Utilisez les méthodes suivantes pour activer ou désactiver la direction assistée.
Commutateur de direction assistée :
Pour activer ou désactiver la direction assistée, appuyez sur le commutateur de direction assistée (3) sur le tableau de bord.
REMARQUE:
Lorsque le commutateur de direction assistée est utilisé pourmettre les systeme en fonction ou hors fonction,le systeme memorise les réglages,meme si le contact est coupé puis rétabli.Le commutateur doit être enforcé de nouveau pour activer ou désactiver le réglage.
Le commutateur de direction assistée change l'etat de l'options « Steering Assist » (direction assistée) désies à l'écran « Settings » (réglages) de l'affchage multifonction.
Réglage à l'affichage multifonction :
- Appuyez sur le bouton situé sur le volant (1) jusqu'à ce que l'options « Settings » (réglages) s'affiche à l'affichage multifonction (2), puis appuyez sur le bouton OK (1).
- Utilisez le bouton (1) pour selectionner l'option « Driver Assistance » (aide au conducteur), puis appuyez sur le bouton OK (1).
- Sélectionnez « Steering Assistant » (direction assistée) et appuyez sur le bouton OK (1).
REMARQUE:
Lorsque I'écran Cruise (croisière) s'affiche sur l'affichage multifonction, appuyez sur le bouton OK situé sur le volant pour ouvrir l'options « Driver Assistance » (aide au conducteur).
Lorsque you activez ou désactivez le système à l'aide de l'affichage multifonction ou lorsque you appuyez sur le commutateur de direction assistée, le système conserve les paramètres actuels même si le système de vehicule électrique redémarre.
Désactivation du système ProPILOT Assist
Pour désactiver le système ProPILOT Assist, utilisez l'une des méthodes suivantes :
- Appuyez sur le commutateur CANCEL (annulation).
- Appuyez légèrement sur la pédale de frein (sauf si le vehicule est à l'arrêt).
- Appuyez sur le commutateur ProPILOT Assist désactiver le système. L'indicateur d'état de ProPILOT Assist s'éteint.
Si le système ProPILOT Assist est désactivé lorsqu'le vehicule est immobile, le frein de stationnement électronique est activé automatiquement.

AVERTISSEMENT
Pour empêcher le vehicule de se déplacer ou de rouler de façon inopinée, ce qui pourrait entrainer de graves blessures ou des dommages matériels importants, avant de quitter le vehicule, assurez-vous d'appuyer sur le commutateur du système ProPILOT Assist pour désactiver le système, de placer le levier sélecteur à la position P (stationnement) et de couper le moteur.
RÉGULATEUR DE VITESSE
ADAPTATIF (ICC) (POUR LES
VEHICULES DÔTÉS DE PROPILOT
ASSIST)

AVERTISSEMENT
Le non-respect des avertissements et des directives relatives à l'utilisation du régulateur de vitesse adaptatif pourrait entrainer des blessures graves, voir mortelles.
-
Le régulateur de vitesse adaptatif est destiné uniquement à aider le conducteur. Il ne s'agit pas d'un dispositif de prévention des collisions. Il est recommendé pour l'utilisation sur l'autoroute seulement et non pour la conduite urbaine. Le conducteur doit en tout temps se montré vigilant, conduire prudemment et maitriser son vehicule.
-
Les capacités du régulateur de vitesse adaptatif sont limitées. Le régulateur de vitesse adaptatif ne fonctionne pas dans toutes les conditions de conduite, de circulation, de température et de la route. Il incombe au conducteur de rester vigilant, de conduire prudèment, de maintainir son vehicule dans la voie empruntée et de maîtriser son vehicule en tout temps.
- Respectez toujours les limites de vitesse indiquées sur les panneaux routiers et ne dépassez pas ces limites lorsque vous programmez la vitesse.
-
Le régulateur de vitesse adaptatif ne réagit pas aux vehicules immobiles ou qui roulent lentement.
-
Conduisez toujours prudemment et soyez vigilant lorsque vous utilisez le régulateur de vitesse adaptatif. Vous doivent l'au manuel du propriétaire et bien le comprendre avant d'utiliser le régulateur de vitesse adaptatif. Pour prévenir les blessures graves ou mortelles, ne vous fiez pas uniquement au régulateur de vitesse pour éviter les accidents ou pour régler la vitesse du vehicule en situation d'urgence. Le régulateur de vitesse adaptatif doit être utilisé uniquement lorsque les conditions de la route et de la circulation le permettent.
Fonctionnement du régulateur de vitesse adaptatif
Le régulateur de vitesse adaptatif est concu pour maintenir une distance programmée par rapport au vehicule qui vous precede et peut réduire la vitesse par rapport à un vehicule plus lent qui vous precedé. Le système ralentit le vehicule, au besoin, et si le vehicule qui le precede s'arrête, le vehicule décelère jusqu'à l'immobilisation complète. Toutefois, le régulateur de vitesse adaptatif ne peut appliquer que 40% de la puissance totale de
freinage du vehicule. Le régulateur de vitesse adaptatif ne doit être utilisé que lorsque les conditions de la circulation permettent de conserver une vitesse à peu près constante, ou qu'elles nécessitent des corrections de vitesse progressives. Lorsqu'un vehicule se déplace soudainement dans votre voie, ou s'il Freine brusquement, la distance entre les vehicules pourrait diminuer, car le système ne pourrait pas vous ralentir assez rapidement. Dans ce cas, le régulateur de vitesse adaptatif fait retentir un carillon et clignoter l'affichage pour signaler au conducteur de prendre les mesures nécessaires.
Le régulateur de vitesse adaptatif se dé-sactive et un carillon retentit si la vitesse est inférieure à 24 km/h (15 mi/h) environ et qu'un vehicule n'est pas détecté à l'avant.
Le régulateur de vitesse adaptatif fonctionne comme suit:
-
Si vous ne suivez aucun vehicule, le regulaeur de vitesse adaptatif maintain la vitesse programmée par le conducteur. Le conducteur peut programmermer une vitesse comprise entre 32km / h et 144km / h (20 mi/h et 90 mi/h).
-
Si vous suivez un vehicule, le régulateur de vitesse adaptatif adapte votre vitesse à celle du vehicule qui vous précède afin de conserver l'intervalle programme entre les vehicules. Si le vehicule qui vous précède ralentit pour arrêter, votre vehicule décelère jusqu'à l'immobilisation complète. Une fois que votre vehicule s'immobilise, le régulateur de vitesse adaptatif Maintain le vehicule à l'arrêt.
Lorsque vous vehicule est arrêté pendant moins de 3 secondes et que le vehicule qui vous précède commence à se déplacer, votre vehicule commence à se déplacer à nouveau automatiquement. - Si vous vehicule est à l'arrêt pendant plus de 3 secondes et que le vehicule qui vous précède commence à accélérer, appuyez sur le commutateur RES+ (reprise+) ou appuyez légèrement sur la pédale d'accélérateur. Le régulateur de vitesse adaptatif commence à suivre le vehicule qui vous précède.
Lorsque le vehicule qui vous precede quitte votre voie, le régulateur de vitesse adaptatif laissez votre vehicule accélérer pour ensuite maintainir sa vitesse programmée.
Le régulateur de vitesse adaptatif ne gère pas la vitesse du vehicule et ne vous avise pas à l'approche d'un vehicule immobile ou qui roule lentement. Vous devez préter toute l'attention nécessaire à la conduite de votre vehicule afin de conserver une distance de sécurité lorsqu'vous approchez d'un poste de péage ou d'une zone d'embouteillage.

Si vous roulez à vitesse programmée sur l'autoroute et si vous approchez d'un vehicule plus lent, le régulateur de vitesse adaptatif tente de régler votre vitesse par rapport à l'autre vehicule et de maintainir la distance programmée. Si le vehicule suivi change de voie ou quitte l'autoroute, le régulateur de vitesse adaptatif fait accélérer votre vehicule jusqu'à ce qu'il attigne sa vitesse programmée. Concentrez-vous sur la conduite pour conserver la maitrise du vehicule pendant l'accelération jusqu'à la vitesse programmée.
Le vehicule peut ne pas maintainir la vitesse programmée sur des routes sinueuses ou montagneuses. Si ceci se produit, vous devrez contrôler manuellement la vitesse du vehicule.
En règle générale, le système règle la distance qui vous sépare du vehicule devant vous en accélérant ou en decélierant automatiquement, en fonction de la vitesse à laquelle roule ce vehicule.
Appuyez sur l'accelerateur pour fournir la puissance nécessaire lorsque vous empruntez une autre voie. Appuyez sur la pé-dale de frein lorsque vous doivent conserver une distance sécuritaire en cas de ralentissement soudain ou de changement de voie d'un vehicule qui précède. Soyez jusqu'às vigilant lorsque vous utilisez le régulateur de vitesse adaptatif.
Affichage du système lorsqu'aucun vehicule n'est detecté à l'avant

Aucun vehicule detecté à l'avant
Le conducteur programme la vitesse souhaïée en fonction des conditions de la route. Le régulateur de vitesse adaptatif maintient la vitesse programmée, comme un régulateur de vitesse standard, tant qu'il ne détecte pas d'autres vehicules dans la même voie. Le régulateur de vitesse adaptatif affiche la vitesse programmée par le conducteur.
Affichage du système lorsqu'un vehicule vous precede

Détection d'un vehicule à l'avant
Lorsqu'un vehicule est detecté dans votre voie de circulation, le régulateur de vitesse adaptatif ralentit votre vehicule en agissant sur la commande d'accéléateur et sur les freins, pour régler votre vitesse à celle du vehicule qui circule devant vous à une vitesse inférieure à la yourselves. Le régulateur de vitesse adaptatif adapte ensuite la vitesse de votre vehicule à celle du vehicule qui vous précédé de manière à conserver la distance programmée entre les vehicules.
REMARQUE:
- Les feuels d'arrêt du vehicule s'allument lorsque le régulateur de vitesse adaptatif actionne les freins.
Lorsque les freins sont actionnés par le régulateur de vitesse adaptatif, un bruit peut se faire entendre. Cette condition est normale.
Sile régulateur de vitesse adaptatif détecte un vehicule qui vous précédé, le témoin de détction du vehicule suivi et l'indicateur d'état du régulateur de vitesse (mode de contrôle d'intervalle) s'allument (vert en continu).
Le vehicule qui vous precede s'arrête.
Lorsque le vehicule qui precede ralentit pour arreter, votre vehicule decelere jusqu'à l'immobilisation complete. Une fois que votre vehicule s'immobilise, le régulator de vitesse adaptatif applique automatiquement les freins pour maintainir le vehicule immobilisé. Lorsque votre vehicule est à l'arrêt, le message « (RES+) Press to start » ([reprise+] appuyer pour démarrer) s'affiche à l'affichage multifonction.
REMARQUE:
Si vous vécicule s'arrête pendant moins de 3 secondes, votre vehicule suivra automatiquement le vehicule qui accélère depuis la position d'arrêt.
Le vehicule qui vous precede accelere.
Si vous véchicule est immobilisé et que le vehicule qui vous précède commence à accéléérer, appuyez sur le commutateur RES+ (reprise+) ou appuyez légèrement sur la pédale d'accéléateur. Le régulateur de vitesse adaptatif commence à suivre le vehicule qui vous précède.
Véhicule précédent non détecté
Lorsqu'aucun vehicule n'est detecté à l'avant, le régulateur de vitesse adaptatif fait graduèlement accélérer votre vehicule pour repreneure la vitesse programmée précédemment. Le régulateur de vitesse adaptatif maintain en-suite la vitesse programmée.
Lorsqu'un vehicule n'est plus détecté, le témoin de détction du vehicule suivi s'éteint et l'indicateur d'état du régulateur de vitesse (mode de maintainien de la vitesse) s'alume (contour vert ).
Le régulateur de vitesse adaptatif fait accélérer graduallement votre vehicule jusqu'à la vitesse programmée, mais vous pouvez enforcer la pédale d'accéléateur pour accélérer rapidement. Lorsqu'un vehicule n'est plus détecté et que votre vehicule roule sous environ 24 km/h (15 mi/h), le régulateur de vitesse adaptatif est désactivé automatiquement.

Si vous doublez un vehicule, le témoin de vitesse programmée (B) clignote lorsque le vehicule dépasse la vitesse programmée. Le témoin de détction du vehicule suivi s'éteint lorsque la zone se trouvant devant votre vehicule est libre. Lorsque la pedale est reliée, le vehicule retourne à la vitesse déjà programmée. Bien que la vitesse du vehicule soit programmée dans le régulateur de vitesse adaptatif, vous pouvez enforcer la pedale d'accéléateur s'il est nécessaire d'augmenter rapidement la vitesse de votre vehicule.
Avertissement d'approche
Si vous véchicule s'approche de celui qui vous précède parce qu'il décelère rapidement, ou qu'un autre vehicule surgitt en face du yourselves, le système met en garde le conducteur à l'aide du carillon et de l'écran du régulateur de vitesse adaptatif. Ralentissez en appuyant sur la pédale de frein pourmaintenir une distance sécuritaire entre les vehicules si:
- Le carillon retentit.
- Le témoin de détction de vehicule précédent et le témoin de distance programmée clignotent.
- Vous jugez qu'il est nécessaire de maintenir une distance sécuritaire.
Le carillon peut ne pas retenter dans certains cas ou les vehicules se trouvent à une courte distance l'un de l'autre. Exemples :
Lorsque les vehicules se déplacent à la même vitesse et que la distance qui les sépare reste la même.
Lorsque le vehicule qui precede se déplace à une vitesse supérieure et que la distance qui sépare les vehicules augmente.
Lorsqu'un vehicule surgit devant le votre.
Le carillon ne retentit pas lorsque :
- Voiture vehicule approche d'autres vehicules qui sont stationnés ou se déplacent lentement.
-la pedale d'accelerateur est enfoncée, ce qui neutralise le système.
REMARQUE:
Le carillon d'advertissement d'approche peut retentir et l'écran du système peut clignoter lorsque le capteur de radar détekte des objets sur le côte du vehicule ou sur le côte de la route. Le régulateur de vitesse adaptatif peut alors faire ralentir ou accélérer le vehicule. Le capteur de radar peut détecter ces objets lorsque le vehicule roule sur des routes sinueuses, étroites ou montagneuses, ou à l'entrée et à la sortie d'une courbe. Le cas échéant, vous devrez contrôler manuellement la distance appropriée devant votre vehicule.
De plus, la sensibilité du capteur peut être modifiée par l'utilisation du vehicule (manoeuvre de direction ou position dans la voie) ou par les conditions routières ou l'etat du vehicule (par exemple, lors de l'utilisation d'un vehicule ayant subi des dommages).
Limites du régulateur de vitesse adaptatif

AVERTISSEMENT
Les limites du régulateur de vitesse adaptatif sont répertoriées cédssous. Le fait de ne pas conduire le vehicule conformément à ces limites du système peut entrainer des blessures graves ou mortelles:
- Ce système est destiné principalement à une utilisation sur des routes droites, sèches, à circulation libre et faible. L'utilisation de ce système n'est pas recommendée pour la conduite urbaine ou dans les zones de traffic intense.
-
Ce système ne s'adapte pas automatiquement aux conditions de la route. Il doit être utilisé quand la circulation est fluide. N'utilise pas le système si les routes sont sinueuses, si la chaussée est glacée, sous une pluie intense ou dans le brouillard.
-
Comme une limite est imposée au rendement de la fonction de contrôle de la distance, vous ne devez jamais vous fier uniquement au régulateur de vitesse adaptatif. Ce système ne peut pallier une conduite imprudente, le manque de vigilance ou d'attention, pas plus qu'il ne peut atténuer les inconvenients causés par la pluie, le brouillard et le mauvais temps. Appuyez sur la pédale de frein pour réduire la vitesse de votre vehicule de manière à conserver une distance sécuritaire, en tenant compte de la distance entre votre vehicule et celui qui vous précédé, et des conditions environnantes.
Lorsque le régulateur de vitesse adaptatif arrêté automatiquement la voiture, votre vehicule peut accélérer automatiquement si le vehicule est arrêté pendant moins de 3 secondes environ. Soyez prét à arrêter votre vehicule si nécessaire. -
Soyez toujours attentif à la conduite de votre vehicule et prét à intervenir afin de conserver une distance de sécurité appropriée. Dans certains cas, le régulateur de vitesse adaptatif peut ne pas être en mesure deMAINTER la distance programmee entre les vehicules (distance de suivi) ou la vitesse de croisière choisisie.
-
Certaines conditions de route ou climatiques pourraient empêcher le système de détecter un vehicule devant vous. Pour éviter les accidents, n'utilise jamais le régulateur de vitesses adaptatif dans les conditions suivantes:
-
Sur les routes à circulation lourde et rapide ou sinueuses
- Sur des chaussées glissantes comme sur la glace, la neige, etc.
- Par mauvais temps (pluie, brouillard, neige, etc.)
-
Quand la pluie, la neige ou le gravier adhère au pare-chocs autour du capteur de distance
-
Dans les pentes descendantes abruptes (le vehicule pourrait dé-passer la vitesse établie et un freinage liéquent pourrait faire surchauffer les freins)
- Sur les routes en terrain valonné
- Lorsque les conditions de circulation forcent des escalations et des décalérations fréquentes qui nuisent au maintain d'une distance appropriée entre les vehicules
-
Interférences par d'autres sources de radar
-
N'utilise pas le régulateur de vitesses adaptatif si vous tractez une remorque. Le système pourrait ne pas détecter un vehicule qui roule devant vous.
- Dans certaines conditions de route ou de circulation, un vehicule ou un objet peut enterinopinement dans la zone de détction du capteur et causer l'activation automatique des freins. Soyez toujours attentif et évitez d'utiliser le régulateur de vitesse adaptatif dans des situations non recommandées dans la presente section d'ajretissement.
Le régulateur de vitesse adaptatif ne déteche pas les objets suivants :
- les vehicules immobilisés ou qui se déplacent très lentement;
- Les piétons et les obstacles sur la route
- Les vehicules venant en sens inverse dans la même voie
- Les motocyclettes circulant à l'écart sur la même voie
Le capteur de radar ne peut pas détecter un vehicule qui roule devant vous et le système peut ne pas fonctionner correctement dans les conditions suivantes :
Lorsque la fonction de détention par capteur est réduite (conditions météorologiques telles que la pluie, la neige, le brouillard, les tempêtes de poussière, les tempêtes de sable et les projections de la route provenant d'autres vehicules)
Conduite sur une pente descendante abrupte ou sur des routes sinueuses
Conduite sur une route cahoteuse, comme par ex. une route de terre irreguliere
- Saleté, glace, neige ou autres matériaux qui recouvent la zone du capteur du radar
- Véhicule pres du vehicule suivi, dont la forme est compliquée, comme une remorque ou un camion à plateau/remorque
- Interférences par d'autres sources de radar
Lorsquevoirevichiculetracteune remo-que,etc.
Lorsque des bagages trop lourds se trouvent sur la banquette arrête ou dans l'aire de chargement de votre vehicule
Le régulateur de vitesse adaptatif contrôle automatiquement le bon fonctionnement du capteur de radar dans les limites du système.
La zone de détention du capteur du radar est limitée. Le vehicule suivi doit se couver dans la zone de détention du régulateur de vitesse adaptatif afin que ce dernier puisse maintainir la distance programmée et régler la vitesse en fonction de celle du vehicule suivi. Le vehicule suivi pourrait se couver hors de la zone de détention en raison de sa position dans votre propre voie. Les motocyclettes pourraient ne pas être détectées dans cette même voie s'ils circu-lent trop loin du centre de la voie. Le vehicule qui précède et qui emprunte votre voie pourrait se couver hors de la zone de détention jusqu'à ce qu'ilatteigne le milieu de la voie.
Dans ce cas, le régulateur de vitesse adaptatif peut vous avertir en faisant clignoter le témoin du système et retentir le carillon. Le conducteur devra peut-être intervenir afin de conserver la distance appropriée avec le vehicule qui précède.
Le régulateur de vitesse adaptatif (avec ProPILOT Assist) utilise une camera avant à détction multiple. Laamera peut ne pas détector correctement un vehicule et la détction du vehicule quiprecede être retardée dans les conditions suivantes:
- Visibilité faible (conditions météorologiques telles que la pluie, la neige, le brouillard, les tempêtes de poussière, les tempêtes de sable et les projections de la route provenant d'autres vehicules)
- Zone de camera du pare-brise embuée ou recouverte de saleté, de gouttes d'eau, de glace, de neige, etc.
Pénetration d'une lumière intense (par exemple, la luzière du soleil ou les feu des route des vehicules venant en sens inverse) dans laamera avant - Changement soudain d'intensité (par exemple, lorsqu'un vehicule penètre dans un tunnel ou en sort, passer dans un endroit ombragé ou lorsque l'éclairage clignote)

Lorsque vous empruntez certains types de routes, par exemple un parcours sinueux ou montagneux, à l'entrée ou à la sortie d'un virage, sur une route étroite ou dans une zone de travaux, le capteur du radar pourrait détector un vehicule sur une voie adjacent, ou ne pas détector temporairement un vehicule qui vous précède sur la même voie. Ceci peut alors faire ralentir ou accélérer le vehicule.
La détction des vehicules peut être également modifiée par la conduite (changements de direction ou emplacement dans la voie) ou l'etat du vehicule.
Dans ce cas, le régulateur de vitesse adaptatif peut vous avertir en faisant clignoter le témoin du système et retentir le carillon. Le conducteur devra peut-être intervenir afin de conserver la distance appropriée.
Annulation automatique
Le régulateur de vitesse adaptatif peut ne pas être disponible temporairement dans les conditions citées ci-après. Dans ce cas, le régulateur de vitesse adaptatif pourrait ne pas se désactiver et le système ne serait pas en mesure de soutenir la distance programmée.
Condition A
Dans les conditions suivantes, le régulateur de vitesse adaptatif est automatiquement annulé. Un carillon retentit et le régulateur ne pourrait être programmé:
-Si l'une des portieres est ouverte.
-La ceinture de sécurité du conducteur n'est pas bouclée.
- Le vehicule qui vous precede n'est pas détecté et que la vitesse de votre vehicule est inférieure à 24 km/h (15 mi/h).
- Voiture vehicule a ete arrete par le regula-. teur de vitesse adaptatif pendant environ 3 minutes ou plus.
- Le levier sélecteur n'est pas à la position D (marche avant) ou en mode B.
Le frein de stationnement électronique est serré.
- Le système de contrôle dynamique du vehicule est désactisé.
- Le système de freinage d'urgence automatique applique un freinage brusque.
- Le système de contrôle dynamique du vehicule (y compris le système d'antipatignage à l'accélération) est en fonction.
- Une roue patine.
Lorsque la distance mesurée est imprecise en raison de l'adhésion de saleté ou d'obstruction sur le capteur.
- Lorsque le signal du radar est intercompu temporairement.
Mesures à prendre :
Lorsque les conditions décrites ci-dessus ne sont plus générées, désactiver le système au moyen du commutateur ProPILOT Assist. Réactivé le système ProPILOT Assist si vous souhaitez utiliser le système.
REMARQUE:
Si le régulateur de vitesse adaptatif est désactivé dans les conditions suivantes lorsque le vehicule est à l'arrêt, le frein de stationnementlectronique est activé automatiquement :
-Si I'une des portieres est ouverte.
- La ceinture de sécurité du conducteur n'est pas bouclée.
- Voiture vehicule a ete arrete par le regula-. teur de vitesse adaptatif pendant environ 3 minutes ou plus.
- Le levier sélecteur n'est pas à la position D (marche avant) ou en mode B.
- Le système de contrôle dynamique du vehicule est désactivé.
Lorsque la distance mesurée est imprecise en raison de l'adhésion de saleté ou d'obstruction sur le capteur.
Lorsque le signal du radar est interrompu temporairement.
Condition B
Lorsque le capteur radar du pare-chocs avant est obstrué ou recouvert de souillure, le régulateur de vitesse adaptatif est automatiquement désactivé.
Le carillon retentit et le message d'advertisement « Not Available : Front Radar Blocked » (Non disponible : blocage du radar avant) s'affiche à l'affichage multifonction du vehicule.
Mesures à prendre :
Si le message d'advertisement (orange) s'affiche, arrêtez le vehicule dans un endroit sur, placez le levier selecteur à la position P (stationnement) et coupez le système de vehicule électrique. Lorsque le signal du radar est interrompu temporairement, nettoyez la zone du capteur du parechocs avant et redémarrez le système de
vécicule électrique. Si le message d'avertissement « Not Available : Front Radar Blocked » (Non disponible : blocage du radar avant) continue de s'afficher, faites vérifier le système. Nous vous recommandons de vous rendre chez un concessionnaire NiSSAN LEAF certifié pour procédercet entretien.
Condition C
Lorsque vous conduisez sur des routes avec des structures routières ou desBATiments limités (par exemple, des ponts longs, les champs de neige, la conduite pres de long murs),le systeme peut allumer le témoin d'anomalie et afficher le message « Not available:Front Radar Blocked》(Non disponible: blocage du radar avant).
Mesures à prendre :
Lorsque les conditions de conduite mentionnées ci-dessus ne sont plusopsis, réactive le système.
Anomalie du régulateur de vitesse adaptatif
Si le régulateur de vitesse adaptatif ne fonctionne pas correctement, il se dé-sactive automatiquement, un carillon retentit et l'avertissement d'etat du régulateur de vitesse (orange) s'allume.
Mesures à prendre :
Si le témoin d'ajretissement s'allume, arrêtez le vehicule dans un endroit sécuritaire. Mettez le système de vehicule électrique hors fonction, redémarrez le système de vehicule électrique puis réglez de nouveau le régulateur de vitesse adaptatif. S'il est impossible de régler le régulateur de vitesse adaptatif ou si l'indicateur reste allumé, cela peut indiquer une anomalie du système. Bien que vous puissiez reprene la conduite normale, le régulateur de vitesse adaptatif devrait être inspecté. Nous vous recommendons de vous rendre chez un concessionnaire NISSAN LEAF certifié pour procéder cet entretien.
Entretien du capteur du régulateur de vitesse adaptatif
Le capteur de radar se trouve à l'avant du vehicule.
Pour que le régulateur de vitesse adaptatif fonctionne correctement, veillez à :
- Gardez toujours la zone du capteur propre.
- Évitez de frapper ou d'endommager les zones entourant le capteur.
- Ne posez pas d'autocollant (opaque ou transparent) sur le capteur ou installer d'accessoire à proximé. Ceci pourrait entraîner la panne ou une défectuosité du capteur.
- Ne fixez pas des objets métalliques à proximé de la zone du capteur (grille de protection, etc.). Ceci pourrait entraîner la panne ou une défectuosité du capteur.
- Ne tentez de modifier, dePTRER ou de peindre le pare-chocs avant.
Avant de personneliser ou de restaurer le pare-chocs avant, nous vous recommendons de visitor un concessionnaire NISSAN LEAF certifié.
Le capteur de laamera est situé audessus du rétroviseur interieur.
Afin d'assurer le fonctionnement approprié des systèmes et de prévenir une anomalie de système, observer les consignes suivantes:
- Gardez toujours le pare-brise propre.
- N'apposez pas un autocollant (opaque ou transparent) sur le capteur et n'installez pas d'accessoire à proximité.
- Ne placez pas de matériel réfléchissant, comme du papier blanc ou un miroir, sur le tableau de bord. Le reflet des rayons du soleil peut nuire à la capacité de détction de laamera et l'empêcher de détecter les marquages au sol.
- Évitez de frapper ou d'endommager les zones autour de laamera. Ne touche pas à la lentille de laamera et ne retirez pas la vis située sur laamera.
Si laamera est endommagée à la suite d'un accident, nous vous recommendons de visiter un concessionnaire NISSAN LEAF certifié.
DIRECTION ASSISTEE

AVERTISSEMENT
Le non-respect des avertissements et des directives relatives à l'utilisation du système de direction assistée pourrait entraîner des blessures graves, voire mortelles.
-
Le système de direction assistée ne remplace pas la façon appropriée de conduire le vehicule et n'est pas unconçu pour une conduite imprudente, le manque de vigilance ou d'attention. La direction assistée n'assure pas la direction du vehicule pour le maintainir dans la voie. Il n'est pas unconçu pour prévenir la perte de maitrise du vehicule. Il incombe au conducteur de rester vigilant, de conduire prudemment, de maintainir son vehicule dans la voie empruntée et de maitriser son vehicule en tout temps.
-
Comme une limite est imposée au rendement de la fonction de direction assistée, vous ne devez jamais vous fier uniquement à ce système. Le système de direction assistée ne fonctionne pas dans toutes les conditions de conduite, de circulation, de température et de la route. Conduisez toujours prudemment, soyez attentif à la conduite de votre vehicule et contrôlez manuellement votre vehicule de manière appropriée.
- La direction assistée est conçue pour l'utilisation sur les autoroutes bien développées avec des courbes légères (modérées). Afin d'eviter les risques d'accident, n'utilise pas ce système sur des routes locales ou hors des autoroutes.
-
La direction assistée ne dirige le vehicule que pour maintainir sa position dans le centre d'une voie. Le vehicule n'évite pas les obstacles sur la route à l'avant du vehicule ou les vehicules qui se déplacent dans votre voie.
-
Il incombe au conducteur de rester vigilant, de conduire prudemment, deMAINTERNSONVehicule dans la voie empruntee et de maitriser son vehicule en tout temps. Ne relachez jamais le volant lors de la conduite. Gardez toujours vos mains sur le volant et conducisez votre vehicule en toute sécurité.
- Conduisez toujours prudemment et attentivement lorsque vous utilisez le système de direction assistée. Vous doivent dire le manuel du propriétaire et bien le comprendre avant d'utiliser la direction assistée. Pour prévenir les blessures graves ou mortelles, ne vous fiez pas uniquement au régulateur de vitesse pour éviter les accidents ou pour régler la vitesse du vehicule en situation d'urgence. La direction assistée doit être utilisée uniquement lorsque les conditions de la route et de la circulation le permettent.
Fonctionnement de la direction assistée
La direction assistée contrôle le système de direction, ce qui permet de garder votre vehicule pres du centre de la voie lors de la conduite. La direction assistée est combinée au régulateur de vitesse adaptatif. Pour obtenir de plus amples renseignements, consultez la section « Régulateur de vitesse adaptatif (avec ProPILOT Assist) » dans ce chapitre.
La direction assistée peut être activée lorsqu'les conditions suivantes sont réunies :
Le régulateur de vitesse adaptatif est activé.
- Les marquages au sol sur les deux côtés sont clairment détectés.
- Un vehicule qui vous precede est détecté (lorsque le vehicule roule à moins de 60 km/h [37 mi/h]).
- Le conducteur tient le volant.
Le vehicule roule au centre de la voie. - Les clignotants ne sont pas allumés.
- Les essuie-glaces de pare-brise ne fonctionnent pas à basse vitesse (position LO) ou à haute vitesse (position HI) (la fonction de direction assistée est désactivée après le fonctionnement de l'essuie-glace pendant 10 secondes environ).

Affichage et tímoins de la direction assistée
1. Témoin de direction assistée
Ce témoin indique l'objet de la direction assistée par sa couleur.
- Témoin de direction assistée (gris) : direction assistée en attente
- Témoin de direction assistée (vert) : direction assistée active
2. Indicateur d'etat ou d'avertissement de direction assistée
Affiche I'etat de la direction assistee par sa couleur.
- Témoin de direction assistée (gris) : direction assistée en attente
- Témoin de direction assistée (vert) : direction assistée active
Témoin de direction assistée (jaune) : anomalie de la direction assistée
3. Témoin de marquage au sol
Indique si le système détecte les marquages au sol.
Témoin de marquage au sol (gris): marquages au sol non détectés
Témoin de marquage au sol (vert): marquages au sol déteCTS
Témoin de marquage au sol (jaune) : déport de couloir détecté
Lorsque la direction assistee est en fonction, l'indicateur d'etat de la direction assistée ① ,le témoin de direction assistée ② et le témoin de marquage au sol ③ passent au vert sur l'affichage multifonction. Un carillon retentit lorsque la direction assistée est activée initialement.
Lorsque la direction assistee est désactivée, l'indicateur d'etat de la direction assistée ①, le témoin de direction assistée ② et le témoin de marquage au sol ③ passent au gris sur l'affichage multifonction et un carillon retentit deux fois.
Système d'intervention de changement de voie intelligent
Lorsque les capacités de la direction assistée sont dépassees à cause d'une courbe ou d'un fort vent de travers et que le vehicule s'approche de la voie de gauche ou de droite, un carillon retentit et le témoin du système d'intervention de changement de voie intelligent (orange) clignote sur le tableau de bord pour alerter le conducteur. Ensuite, le système d'intervention de changement de voie intelligent applique automatiquement les freins pendant une brève période pour aider le conducteur à returner le vehicule au centre de la voie empruntée. Cette action s'ajoute aux actions de la direction assistée.

Détection de la tenue du volant
Lorsque le système de direction assistée est actif, il surveille les mouvements du volant.
Si le volant n'est pas actionné ou que le conducteur retire ses mains du volant pendant un certain temps, l'advertissement ① s'affiche à l'affichage multifonction.
Si le conducteur n'actionne pas le volant après l'affichage de l'advertissement, une alarme sonore retentit et l'advertissement clignote à l'affichage multifonction, ensuite de quoi le frein est actionné pour demander au conducteur de reprendre le contrôle du vehicule.
Si le conducteur ne réagit toujours pas, le système ProPILOT Assist active les feu des détresse et ralentit le vehicule jusqu'à l'arrêt.
Le conducteur peut annuler la décelération en tout temps en changeant de direction, en,enfantant le frein, en accélérant ou en actionnant le commutateur ProPILOT Assist.

AVERTISSEMENT
Le système de direction assistée n'est pas conscience pour une conduite mains libres. Gardez toujours vos mains sur le volant et conduisez votre vehicule en toute sécurité. Autrement, cela pourrait provoquer une collision et entraîner des blessures graves ou mortelles.
REMARQUE:
Si le conducteur touche légèrement le volant (au lieu de le tener fermement), le capteur du couple de direction peut ne pas détecter la main du conducteur sur le volant, et une série de mises en garde peut s'afficher. Lorsque le conducteur maintain et fait fonctionner le volant, les avertissements s'éteignent.
Limitations de la direction assistée

AVERTISSEMENT
-
Dans les situations suivantes, la caméra peut ne pas détecter correctement les marquages au sol ou peut les détecter incorrectly et la direction assistée peut ne pas fonctionner correctement:
-
Lorsque vous conduisiez sur des routes où se trouvent de multiples marquages au sol de voir parallèle, de marquages décolorés ou peints de façon imprecise, de marquages irréguliers ou de marquages recouverts d'eau, de saleté, de neige, etc.
- Lorsque vous conduisiez sur des routes où les marquages au sol sont discontinués
- Lorsque vous conduisiez sur des routes où la largeur de voie varie
-
Lorsque vous conduisiez sur des routes ou se trouvent de plusieurs voies ou les marquages au sol sont imprécis en raison des constructions routières
-
Lorsque vous conduisiez sur des routes comptant des objets de contraste important, tels que les ombres, la neige, l'eau, les ornières de roue, les traces ou les lignes qui restent après les réparations sur la route (la direction assistée pourrait détecter ces objets comme des marquages au sol)
-
Lorsque vous conduisiez sur des routes ou la voie utilisée fusionne ou se sépare
-
N'utilise pas la direction assistée dans les conditions suivantes, car le système peut ne pas détecter correctement les marquages au sol. Vous pourriez ainsi perdre la maitrise de votre vehicule et avoir un accident.
-
Par mauvais temps (pluie, brouillard, neige, poussière, etc.)
- Lorsque la pluie, la neige, le sable, etc. sont projetés par les roues des autres vehicules
Lorsque la saleté, l'huile, la glace, la neige, l'eau ou un autre object adhé à laamera -
Lorsque la lentille de laamera est sale
-
Lorsqu'une lumière vivie (par exemple, la luzière du soleil ou les feuels de route des vehicules venant en sens inverse) est orientée directement sur laamera
- Lorsque les phares sont ternes en raison d'une accumulation de salétés sur la lentille ou que les phares sont éteints dans un tunnel ou dans une zoneASF
- Lorsqu'un changement soudain d'intensité survient (par exemple, lorsque le vehicule penètre dans un tunnel ou en sort ou passés sous un pont)
- Lorsque vous conduisiez sur des routes où la voie utilise fusonne ou se sépare ou il existe des marquages au sol temporaires en raison des constructions routières
- Lors d'une fermeture de voie en raison de réparations de route
- Lorsque vous conduisez sur une route cahoteuse, comme une route de terre irrégulière
- Lorsque vous conduisez sur des routes sinueuses
-
Lorsque vous conduisez sur des routes en terrain valonné
-
N'utilisez pas la direction assistée dans les conditions suivantes, car le système ne fonctionne pas correctement:
Lors de la conduite dans des conditions anormales des pneus (par exemple, l'usage du pneu, la pression anormale du pneu, l'in-. stallation d'une roue de secours, les chaines antidérapantes, les roues différentes de celles de série)
- Lorsque le vehicule est muni de pieces de frein ou de suspension qui ne sont pas d'origine
- Lorsqu'un objet comme un autocollant ou un bagage obstrue laamera
Lorsque des bagages trop lourds se trouvent sur la banquette arrriere ou dans l'aire de chargement de votre vehicule
- Lorsque la capacité de charge du vehicule est dépassée
- Lorsque le vehicule tracte une remorque ou un autre vehicule
- Le bruit excessif a une incidence sur le timbre du carillon et il se peut qu'il ne soit pas entendu.
Pour que ProPILOT Assist fonctionne correctement, le pare-brise a I'avant de la camera doit etre propre. Remplacez les balais d'essuie-glace uses.La bonne taille des balais d essuie-glace doit etre utilisée pour vous assurer que le pare-brise est propre.Usesez unquiemetdes balais d essuie-glace NISSAN d'origine ou des balais d essuie-glace équivalents,concus en particulier pour voitre modele de vehicule et son année.Nous you recommendans de vous rendre chez un concessionnaire NISSAN LEAF certifié pour obtenir les bonnes pieces de rechange.
Direction assistée en attente temporaire
Mise en attente automatique en raison de la conduite:
Lorsque le conducteur active le clignotant, la direction assistée passé temporairement en mode d'attente. (La direction assistée est reactivée automatiquement lorsque les conditions de fonctionnement sont à nouveau réunies.)
Mise en attente automatique :
Dans les cas suivants, un message d'avertissement est affiché à l'écran, un carillon retentit et la direction assistée passetemporairement en mode d'attente.(La direction assistee est reactivee automatiquement lorsque les conditions de fonctionnement sont a nouveau réunies.)
Lorsque les marquages au sol sur les deux cotsés ne sont plus clairment détectés
Lorsqu'un vehicule qui vous precede n'est plus détecté en dessous d'environ 60 km/h (37 mi/h)
Annulation de la direction assistée
Dans les conditions suivantes, la direction assistée est annulée et l'indicateur d'etat et le témoin de direction assistée s'éteignent:
Lorsque des marquages au sol irreguliers apparaissent dans la voie empruntée ou lorsque le marquage au sol ne peut pas etre correctement detecte pendant un certain temps en raison de certaines conditions (par exemple, une orniere dans la neige,le reflet des rayons du soleil lors d'un jour plouvieux ou la presence de plusieurs marquages au sol imprecis)
Lorsque les essuie-glaces de pare-brise fonctionnent à basse vitesse (position LO) ou à haute vitesse (position HI) (la direction assistée est désactivée après le fonctionnement de l'essuie-glace pendant 10 secondes environ)
Mesures à prendre :
Désactivez le régulateur de vitesse adaptat à l'aide du commutateur CANCEL (annulation). Lorsque les conditions décrites cédessus ne sont plus générées, réactivez le régulateur de vitesse adaptatif.
Anomalie de la direction assistée
Lorsque le système ne fonctionne pas correctement, il se désactive automatiquement. L'advertissement d'etat de la direction assistée s'allume (orange). Un carillon peut retentir en fonction de la situation.
Mesures à prendre :
Arrêtez le vehicule dans un endroit sécuritaire, placez le vehicule en position P (stationnement), coupez le système de vehicule électrique, redémarrez-le, repreneze la conduite et programmez à nouveau le régulateur de vitesse adaptatif. Si l'avertisse
ment (orange) continue de s'allumer, la direction assistee est defectueuse. Bien que vous puissiez toujours conduire le vehicule dans des conditions normales, faites vérifier le système. Nous vous recommendons de vous rendre chez un concessionnaire NISSAN LEAF certifié pour procéder cet entretien.
Entretien de la direction assistée
Le capteur de laamera est situé audressus du rétroviseur interieur.
Afin d'assurer le fonctionnement approprié du système et de prévenir une anomalie de système, observer les consignes suivantes:
- Gardez toujours le pare-brise propre.
- N'apposez pas un autocollant (opaque ou transparent) sur le capteur et n'installez pas d'accessoire à proximité.
-
Ne placez pas de matériel refléchissant, comme du papier blanc ou un miroir, sur le tableau de bord. Le reflet des rayons du soleil peut nuire à la capacité de détction de laamera et l'empêcher de détecter les marquages au sol.
-
Évitez de frapper ou d'endommager les zones autour de laamera. Ne touche pas à la lentille de laamera et ne retirez pas la vis située sur laamera.
Si laamera est endommagée à la suite d'un accident, nous vous recommendons de visiter un concessionnaire NISSAN LEAF certifié.
Déclaration de fréquence radio
Aux États-Unis
FCC ID OAYARS4B
Ce dispositif est conforme à l'article 15 desrèglements de la FCC. Son utilisation estsoumise aux deux conditions suivantes :
- Ce dispositif ne doit causeur aucune interference nuisible, et
- Ce dispositif doit pouvoir accepter toutes les interférences, y compris celles qui peuvent l'activer de façon inopinée.
Avertissement de la FCC
Toute modification non approuvée par la partie responsable de la conformité peut annuler le droit d'utiliser ce dispositif.
Au Canada
Modèle : ARS4-B
IC:4135A-ARS4B
FCC ID : OAYARS4B
Ce dispositif est conforme aux normes de la section 15 des règles de la FCC des États-Unis et aux normes d'Industrie Canada applicables aux apparèils RSS exempts de licence. Son utilisation est soumise aux deux conditions suivantes :
- Ce dispositif ne doit causeur aucune interference nuisible, et
- Ce dispositif doit pouvoir accepter toutes les interférences, y compris celles qui peuvent l'activer de façon inopinée.
Leprésent apparéil est conforme aux CNR d'Industrie Canada applicables aux apparéils radio exempts de licence. L'exploitation est autorisée aux deux conditions suivantes:
- L'appareil ne doit pas produit de brouillage, et
- L'utilisateur de l'appareil doit accepter tout brouillage radioélectrique subi, même si le brouillage est susceptible d'en compromètement le fonctionnement.
Renseignements sur l'exposition aux émissions de radioféquences :
Ce dispositif est conforme aux limites d'exposition au rayonnement de la FCC énoncées pour un environnement non contrôle.
Ce dispositif doit être installé et utilisé en maintainant une distance minimale de 30 cm entre la source d'émission et votre corps.
L'émetteur ne doit pas être place au même endroit qu'une autre antennée ou un autre émetteur ni fonctionner de concert avec ces apparèils.
Cet équipement est conforme aux limites d'exposition aux rayonnements IC établies pour un environnement non contrôle. Cet équipement doit être installé et utilisé avec un minimum de 30 cm de distance entre la source de rayonnement et votre corps.
Avis de la FCC
Toute modification non approuvée par la partie responsable de la conformité peut annuler le droit d'utiliser ce dispositif.
MODE CLASSIQUE (VITESSE STABLE) DU RÉGULATEUR DE VITESSE
REMARQUE:
Le système ProPILOT Assist n'offre aucune fonction d'advertisement d'approche, de freinage automatique ou de direction assistee dans le mode classique (vitesse stable) du régulator de vitesse.
Le régulateur de vitesse de votre vehicule vous permet de conduire à des vittesses se situant entre 40 et 144 km/h (25 et 90 mi/h) sans devoir garder le pied sur la pédale d'accéléateur.

AVERTISSEMENT
Lorsque le mode de régulateur de vitesse classique (vitesse stable) est sélectionné, le carillon ne retentit pas pour vous aviser que la distance entre votre vehicule et celui qui vous précédé est insuffisante. Ce mode ne détecte pas la présence d'un vehicule à l'avant et ne peut donc détecter la distance entre les deux vehicules.
- Vous éviterez les accidents en portant une attention particulière à la distance qui sépare votre vehicule de celui qui se trouve devant vous.
- Confirmez toujours le réglage à l'écran du régulateur de vitesse adaptatif.
- N'utilise pas le régulateur de vitesse classique (vitesse stable) si vous conduisez en présence des conditions suivantes:
- lorsqu'il est impossible de maintainir la vitesse programmée;
- lorsque la circulation est dense ou que la vitesse varie;
- sur les routes montagneuses ou sinueuses;
- sur les routes glissantes (pluie, neige, glace, etc.);
- dans des endroits très venteux.
- Vous pourriez ainsi perdre la maitrise de votre vehicule et avoir un accident.

Commutateurs du mode classique (vitesse stable) du régulateur de vitesse
-
Interrupteur DISTANCE :
-
Longue
Moyenne
Courte -
Commutateur RES+ (reprise+):
Ce commutateur permet de rappeler la vitesse programmée ou d'augmenter progressivement la vitesse.
Ce commutateur permet de désactiver le système sans effacer la vitesse programmée.
- Commutateur ProPILOT Assist :
Cet interrupteur principal permet d'activer le régulateur de vitesse adaptatif.
- Commutateur SET-(réglage-):
Ce commutateur programme la vitesse de croisière souhaitation ou réduit la vitesse progressivement.

Affichage et témoins du mode classique (vitesse stable) du régulateur de vitesse
Cet affichage se trouve dans l'affichage multifonction.
- Témoin du régulateur de vitesse :
Ce témoin indique l'Etat du régulateur de vitesse adaptatif en fonction d'une couleur.
Témoin d'ACTIVATION du régulateur de vitesse (gris): indique que le commutateur du système ProPILOT Assist est activé.
Témoin SET (réglage) du régulateur de vitesse (vert): indique que la vitesse de croisière est réglée.
Témoin d'avertissement du régulateur de vitesse (jaune): indique une anomalie dans le régulateur de vitesse adaptatif.
2. Témoin de vitesse programmée :
Ce témoin indique la vitesse programmée du vehicule. Pour les modèles canadiens, la vitesse est affichée en km/h.

Conduite en mode de régulateur de vitesse classique (vitesse stable)
Pourmettre enfonctionle mode de regulauteur de vitesse classique (vitesse stable),maintenezenforcéle commutateur dusystemeProPILOTAssist A pendant plusde1,5 seconde.
Lorsque le commutateur du système ProPILOT Assist est regle en position de marche, l'affichage et les temoins du mode de régulateur de vitesse classique (vitesse stable) ⑧ apparaissent à l'affichage multifonction. ÀpRES que vous avez maintenu
enforcé le commutateur du système ProPILOT Assist pendant plus de 1,5 seconde, l'affichage du régulateur de vitesse adaptatif s'eteint. Le témoin de régulateur de vitesse s'affiche. Vous pouvez maintainant régler la vitesse de croisière. En appuyant de nouveau sur le commutateur du système ProPILOT Assist, vous mettez hors fonction le système. Lorsque vous placez le commutateur principal en position OFF (hors fonction), le système est également mis hors fonction automatiquement.
Pour recommencer à utiliser le régulateur de vitesse adaptatif, appuyez brièvement sur le commutateur du système ProPILOT Assist (mode de contrôle d'intervalle) ou maintenez-le enforcé (mode de régulateur de vitesse classique) pourmettre le système en fonction.

MISE EN GARDE
Pour éviter que le système ne s'enclenché par inadvertance, placez:tousjà l'arrêt le commutateur du système ProPILOT Assist lorsque vous n'utilise pas le régulateur de vitesse adaptatif.

Pour régler la vitesse de croisière, faites accélérer votre vehicule jusqu'à la vitesse souhaitée, appuyez sur le commutateur SET-(réglage-) ©, puis relâchéz-le. (La couleur du témoin de régulateur de vitesse passer au vert et le témoin de vitesse programmée s'allume); relâchéz la pedale de l'accéléateur. Notre vehicule roulera à la vitesse programmée.
- Si vous devez dépasser un autre vehicule, appuyez sur la pédale d'accélérateur. Lorsque la pédale est relachée, le vehicule returne à la vitesse programmee.
Lorsque you montez ou descendez une pente raide, it est possible que le vehicule ne puisse pas maintainir la vitesse reglee. Dans un tel cas, maintenez manuellement la vitesse du vehicule.
Pour annuler la vitesse programmée, utilisez une des méthodes suivantes :
- Appuyez sur le commutateur CANCEL (annulation). Le témoin de vitesse s'éteint.
- Appuyez légèrement sur la pédale de frein. Le témoin de vitesses s'éteint.
- Désactivez le commutateur du système ProPILOT Assist. Le témoin de régulateur de vitesse et le témoin de vitesse du vehicule s'éteignent.
Pour étabrir une vitesse de croisière plus rapide, utilisez l'une des trois méthodes suivantes:
- Appuyez sur l'accelerateur. Enforcez le commutateur SET- (réglage-) et relâchez-le une fois que le vehicule a atteint la vitesse désirée.
-
Maintenez enforcé le commutateur RES+ (reprise+). Relâchéz le commutateur lorsquè le vehicule atteint la vitesse voulue.
-
Appuyez sur l'interrupteur RES+ (reprise+), puis relâchéz-le rapidement. La vitesse programmée de votre vehicule augmente d'environ 1,6 km/h (1 mi/h) chaque fois que vous appuyez sur ce commutateur.
Pour étabir une vitesse de croisière plus lente, utilisez l'une des trois méthodes suivantes :
- Appuyez légèrement sur la pédale de frein. Enforcez le commutateur SET(réglage-) et relâchéz-le une fois que le vehicule a atteint la vitesse désirée.
- Appuyez longuement sur l'interrupteur SET- (réglage-). Relâchez le commutateur lorsqu'elle vehicule ralentit jusqu'à la vitesse désirée.
- Appuyez brievement sur le commutateur SET- (réglage-). La vitesse programmée de votre vehicule diminue d'environ 1,6 km/h (1 mi/h) chaque fois que vous appuyez sur ce commutateur.
Pour reprendre la vitesse antérieurement programmée, appuyez brièvement sur le commutateur RES+ (reprise+). Dès que la vitesse du vehicule dépasse 40 km/h (25 mi/h), la dernière vitesse de croisière programmée est rétablie.
SYSTÉME DE FREINAGE D'URGENCE AUTOMATIQUE (SELON L'ÉQUIPEMENT)

AVERTISSEMENT
Le non-respect des avertissements et des instructions relatives à l'utilisation appropriée du système de freinage d'urgence automatique pourrait entraîner des blessures graves, voire mortelles.
- Le système de freinage d'urgence automatique représentée une aide supplémentaire pour le conducteur. Il ne remplace pas la vigilance du conducteur relative aux conditions de circulation ou à la responsabilité de conduire prudèment. Il ne peut pas éviter des accidents décaulant d'une conduite imprudente ou dangereuse.
Le système de freinage d'urgence automatique ne fonctionne pas dans toutes les conditions de conduite, de circulation, de temperature et de la route.

Le système de freinage d'urgence automatique peut aider le conducteur lorsqu'il y a risque d'une collision frontale avec le vehicule qui leprecede dans la voie empruntée.
Le système de freinage d'urgence automatique utilise un capteur du radar (A) situé à l'avant du vehicule pour mesurer la distance par rapport au vehicule qui le precede dans la même voie.

FONCTIONNEMENT DU SYSTEME DE FREINAGE D'URGENCE AUTOMATIQUE
- Témoin de détction du vehicule suivi
- Témoin d'avertissement du système de freinage d'urgence automatique
- Témoin d'avertissement du système de freinage d'urgence automatique
Le système de freinage d'urgence automatique fonctionne lorsque la vitesse du vehicule est supérieure à 5 km/h (3 mi/h) environ.
Si un risque d'une collision frontale est détecté, le système de freinage d'urgence automatique fournit le premier averissement au conducteur en allumant un témoin et en faisant retentir un averissement sonore.
Si le conducteur freine rapidement et avec force après l'advertissement, et si le système de freinage d'urgence automatique détecte qu'une collision frontale peut tous jours se produit, le système augmente automatiquement la force de freinage. Si le conducteur ne réagit pas, le système de freinage d'urgence automatique envoie un deuxième avertissement visuel (rouge) et sonore et applique également un freinage partiel.
Si le risque de collision devient imminent, le système de freinage d'urgence automatique s'applique plus difficilement de façon automatique.
REMARQUE:
Les feu d'arrêt du vehicule s'allument lorsque le freinage est effectué au moyen du système de freinage d'urgence automatique.
En fonction de la vitesse du vehicule et de la distance par rapport au vehicule qui precede, ainsi que des conditions de conduite et de la route, le système peut aider le conducteur à éviter une collision frontale ou peut aider à atténuer les conséquences si la collision ne peut être évitée. Si le conducteur manoeuvre le volant, accélère ou freine, le système de freinage d'urgence automatique fonctionne ultérieurement ou ne fonctionne pas.
Le freinage automatique est interrompudans les conditions suivantes.
- lorsque le volant est tourné aussi loin que nécessaire pour éviter une collision;
- lorsque vous appuyez sur la pédale d'accéléateur,
- lorsqu'il n'y a aucun vehicule qui precede.
Si le système de freinage d'urgence automatique a immobilisé le vehicule, il demeure à l'arrêt pendant environ 2 secondes avant que les freins soient reliachés.

ACTIVATION OU DÉSACTIVATION
DU SYSTÉME DE FREINAGE
D'URGENCE AUTOMATIQUE
Effectuez les étapes suivantes pour ACTIVER ou DÉSACTIVER le système de freinage d'urgence automatique :
- Appuyez sur le bouton ↓ jusqu'à ce que l'option « Settings » (réglages) s'affiche à l'écran multifonction. Utilisez le bouton ↓ pour selectionner l'option « Driver Assistance » (aide au conducteur), puis appuyez sur le bouton OK.
- Sélectionnez « Emergency Brake » (frei-nage d'urgence), puis appuyez sur le bouton OK.
- Sélectionnez l'option « System » (système) et appuyez sur le bouton OK pour activer ou désactiver le système.
Lorsque youdsesactivele système de freinage d'urgence automatique,le témoin d'avertissement du système de freinage d'urgence automatique s'allume.
REMARQUE:
Le système de freinage d'urgence automatique s'active automatiquement lorsque le système de vehicule electrique redémarre.
LIMITES DU SYSTÉME DE FREINAGE D'URGENCE AUTOMATIQUE

AVERTISSEMENT
Les limites du système de freinage d'urgence automatique sont repertoires ci-dessous. Le fait de ne pas conduire le vehicule conformément à ces limites du système peut entraîner des blessures graves ou mortelles.
- Le système de freinage d'urgence automatique ne peut détecter tous les vehicules dans toutes les conditions.
-
Le capteur du radar ne détecte pas les objets suivants:
-
Les piétons, les animaux ou les obstacles se trouvant sur la chaussée.
- Les vehicules venant en sens inverse.
- Les vehicules qui traversent une intersection.
Le capteur du radar presente certaines limites de rendement. Si un vehicule immobile est dans la轨道交通e du vehicule, le systeme de freinage d'urgence automatique ne fonctionne pas lorsque le vehicule se déplace a des vitesses supérieures a environ 80 km/h (50 mi/h).
- Le capteur du radar peut ne pas détaquer un vehicule qui leprecede dans les conditions suivantes:
- Saleté, glace, neige ou autres matériaux qui recouvent le capteur du radar.
- Interférences par d'autres sources de radar.
- Projections de neige ou de la route provenant des autres vehicules.
- Sile vehicule qui precede est etroit (par exemple une motocyclette)
-
Lorsque vous conduisez sur une pente descendante abrupte ou sur des routes sinueuses.
-
Dans certaines conditions de route ou de circulation, le système de freinage d'urgence automatique peut inopinement appliquer un freinage partiel. Lorsque l'accelération est nécessaire, continuez d'enforcer la pedale d'accelérer pour neutraliser le système.
- Les distances de freinage augmentent sur des surfaces glissantes.
Le système contrôle automatiquement le fonctionnement du capteur, dans certaines limites. Le système peut ne pas détecter certaines formes d'obstruction de la zone du capteur, telles que de la glace, de la neige, des autocollants, par exemple. Dans ces cas, le système peut etre dans l'impossibilite d'avertir le conducteur de façon adequate. Assurez-vous de vérifier, de nettoyer et de dégager régulierement la zone du capteur. - Le bruit excessif a une incidence sur le timbre du carillon et il se peut qu'il ne soit pas entendu.

Lorsque le capteur du radar capte les interférences provenant d'une autre source radar, rendant impossible la détéction du vehicule qui précède, le système de freinage d'urgence automatique se désactive automatiquement.
Le témoin d'avertissement du système de freinage d'urgence automatique (orange) s'allume.
Mesures à prendre
Lorsque les conditions indiquées ci-dessus ne sont plus générées, le système de freinage d'urgence automatique se réactive automatiquement.
Condition B
Lorsque la zone du capteur du pare-chocs avant est recouverte de saleté ou est obstruée, rendant impossible la détction du vehicule qui précède, le système de freinage d'urgence automatique se désactive automatiquement.
Le témoin d'ajretissement du système de freinage d'urgence automatique (orange) s'allume et le message d'ajretissement
« Not Available : Front Radar Blocked » (Non disponible : blocage du radar avant) s'affiche à l'écran multifonction du vehicule.
Lorsque you conducisez sur des routes avec des structures routieres ou des bâtiements limités (par exemple, des Ponts longs, les champs de neige, la conduite près de long murs), le système peut allumer le témoin d'anomalie (orange) et afficher le message « Not Available: Front Radar Obstruction » (Non disponible : blocage du radar avant).
Mesures à prendre
Si le témoin d'advertissement (orange) s'allume, arrêtez le vehicule dans un endroit sur, placez le levier selecteur à la position P (stationnement) et coupez le système de vehicule électrique. Nettoyez le couvercle du radar sur la calandre inférieure à l'aide d'un chiffon doux et redémarrez le système de vehicule électrique. Si le témoin d'advertissement continue de s'allumer, faites vérifier le système de freinage d'urgence automatique. Nous vous recommendons de vous rendre chez un concessionnaire NISSAN LEAF certifié pour procéder cet entretien.
ANOMALIE DU SYSTEME
Lorsque le système de freinage d'urgence automatique ne fonctionne pas correctement, il se désactive automatiquement, un carillon retentit, le témoin d'avertissement du système de freinage d'urgence automatique (orange) s'allume et le message d'avertissement [Malfunction] (anomalie) s'affiche à l'écran multifonction.
Mesures à prendre :
Si le témoin d'avertissement (orange) s'allume, arrêtez le vehicule dans un endroit sur, coupez le système de vehicule électrique et redémarrez-le. Si le témoin d'avertissement continue de s'allumer, faites vérifier le système de freinage d'urgence automatique. Nous vous recommendons de vous rendre chez un concessionnaire NISSAN LEAF certifié pour cet entretien

ENTRETIEN DU SYSTEME
Le capteur A se trouve à l'avant du vehicule.
Pour que le système fonctionne correctement, faites ce qui suit:
- Gardez toujours la zone du capteur du pare-chocs avant propre.
- Évitez de frapper ou d'endommager les zones entourant le capteur.
-
Ne couvre pas et n'apposez pas des autocollants ou des objets similaires sur le pare-chocs avant à proximé de la zone du capteur. Ceci pourrait entraîner la panne ou une défectuosité du capteur.
-
Ne fixez pas des objets métalliques à proximé de la zone du capteur (grille de protection, etc.). Ceci pourrait entraîner la panne ou une défectuosité du capteur.
- Ne tentez de modifier, de-retirer ou de peindre le pare-chocs avant. Avant de personneliser ou de restaurer le parechocs avant, nous vous recommendons de visiter un concessionnaire NISSAN LEAF certifié.
Déclaration de fréquence radio
Aux États-Unis
FCC ID OAYARS4B
Ce dispositif est conforme à l'article 15 des règlements de la FCC. Son utilisation est soumise aux deux conditions suivantes:
- Ce dispositif ne doit causeur aucune interference nuisible, et
- Ce dispositif doit pouvoir accepter toutes les interférences, y compris celles qui peuvent l'activer de façon inopinée.
Avertissement de la FCC
Toute modification non approuvée par la partie responsable de la conformité peut annuler le droit d'utiliser ce dispositif.
Au Canada
Modèle : ARS4-B
IC:4135A-ARS4B
FCC ID : OAYARS4B
Ce dispositif est conforme aux normes de la section 15 des règles de la FCC des États-Unis et aux normes d'Industrie Canada applicables aux apparéils RSS exempts de licence. Son utilisation est soumise aux deux conditions suivantes:
- Ce dispositif ne doit causeur aucune interference nuisible, et
- Ce dispositif doit pouvoir accepter toutes les interférences, y compris celles qui peuvent l'activer de façon inopinée.
Le present apparéil est conforme aux CNR d'Industrie Canada applicables aux apparéils radio exempts de licence. L'exploitation est autorisée aux deux conditions suivantes:
- L'appareil ne doit pas produit de brouillage, et
- L'utilisateur de l'appareil doit accepter tout brouillage radioélectrique subi, même si le brouillage est susceptible d'en compromètre le fonctionnement.
Renseignements sur l'exposition aux émissions de radiofréquences:
Ce dispositif est conforme aux limites d'exposition au rayonnement de la FCC et d'Industrie Canada énoncées pour un environnement non contrôle.
Ce dispositif doit être installé et utilisé en maintainant une distance minimale de 30 cm entre la source d'émission et votre corps.
Cet émetteur ne doit pas être place au même endroit qu'une autre antennée ou un autre émetteur ni fonctionner de concert avec ces apparéils.
Cet équipement est conforme aux limites d'exposition aux rayonnements IC établies pour un environnement non contrôle.
Cet équipement doit être installé et utilisé avec un minimum de 30 cm de distance entre la source de rayonnement et votre corps.
Avis de la FCC
Toute modification non approuvée par la partie responsable de la conformité peut annuler le droit d'utiliser ce dispositif.
SYTÉME DE FREINAGE D'URGENCE AUTOMATIQUE AVEC DISPOSITIF DE DETECTION DE PIÉTONS (SELON L'ÉQUIPEMENT)

AVERTISSEMENT
Le non-respect des avertissements et des directives relatives à l'utilisation appropriée du système de freinage d'urgence automatique avec dispositif de détction de piétons pourrait entraîner des blessures graves, voire mortelles.
Le système de freinage d'urgence automatique avec dispositif de détction de piétons représentée une aide supplémentaire pour le conducteur. Il ne remplace pas la vigilance du conducteur relative aux conditions de circulation ou à la responsabilité de conduire prudement. Il ne peut pas éviter des accidents décaulant d'une conduite imprudente ou dangereuse.
Le système de freinage d'urgence automatique avec dispositif de détction de piétons ne fonctionne pas dans toutes les conditions de conduite, de circulation, de température et de la route.

Le système de freinage d'urgence automatique avec dispositif de détction de piétons peut aider le conducteur lorsqu'il y a un risque de collision frontale avec le vehicule ou le piéton qui leprecede dans la voie empruntée.
Le système de freinage d'urgence automatique avec dispositif de détction de piétons utilise un capteur de radar situé à l'avant du vehicule (B) pour mesurer la distance par rapport au vehicule qui le précède dans la même voie. Pour les piétons, le système de freinage d'urgence automatique avec dispositif de détction de piétons utilise une camera installée derrière le pare-brise (A) en plus du capteur de radar.

FONCTIONNEMENT DU SYSTÉME DE FREINAGE D'URGENCE AUTOMATIQUE AVEC DISPOSITIF DE DETECTION DE PIÉTONS
- Témoin de détction du vehicule suivi
-
Témoin d'avertissement du système de freinage d'urgence automatique
-
Témoin d'avertissement du système de freinage d'urgence automatique
Le système de freinage d'urgence automatique avec dispositif de détction de piétons fonctionne à une vitesse supérieure à environ 5 km/h (3 mi/h). Pour la fonction de détction de piétons, le système de freinage d'urgence automatique avec dispositif de détction de piétons fonctionne lorsque le vehicule roule entre 10 à 60 km/h (6 à 37 mi/h).
Si un risque de collision frontale avec un vehicule est detecté, le système de freinage d'urgence automatique avec dispositif de détction de piétons avertit d'abord le conducteur en faisant clignoter le témoin de détction du vehicule suivi et en émettant une alerte sonore. En outre, le système de freinage d'urgence automatique avec système de détction de piétons applique un freinage partiel. Si le conducteur freine rapidement et avec force mais que le système de freinage d'urgence automatique avec dispositif de détction de piétons detecte qu'une collision frontale peut toujours se produit, le système augmente automatiquement la force de freinage.
Si le risque de collision devient imminent et que le conducteur ne réagit pas, le système de freinage d'urgence automatique avec dispositif de détction de piétons envoie un deuxième averissement au conducteur en faisant clignoter le témoin d'avertissement d'urgence du système de freinage d'urgence automatique avec dispositif de détction de piétons (rouge) et en faisant retentir un averissement sonore, puis applique de façon automatique un freinage brusque.
Si un risque de collision frontale avec un piéton est détecté, le système de freinage d'urgence automatique avec dispositif de détction de piétons avertit le conducteur en faisant clignoter le témoin d'advertissement d'urgence du système de freinage d'urgence automatique avec dispositif de détction de piétons (rouge), émet une alerte sonore et le système applique un freinage partiel. Si le conducteur Freine rapidement et avec force, mais le système de freinage d'urgence automatique avec dispositif de détction de piétons détecte qu'une collision frontale avec un piéton peut toujours se produit, le système aug-
mente automatiquement la force de freinage. Si le risque de collision devient imminent et que le conducteur ne réagit pas, le système de freinage d'urgence automatique avec dispositif de détction de piétons applique de façon automatique un freinage brusque.
REMARQUE:
Les feu d'arrêt du vehicule s'allument lorsque le freinage est effectué au moyen du système de freinage d'ur-gence automatique avec dispositif de détction de piétons.
En fonction de la vitesse du vehicule et de la distance par rapport au vehicule ou au piéton qui précède, ainsi que des conditions de conduite et de la route, le système peut aider le conducteur à éviter une collision frontale ou à en atténuer les conséquences si une collision ne peut être évitée. Si le conducteur manoeuvre le volant, accélère ou freine, le système de freinage d'urgence automatique avec dispositif de détction de piétons fonctionne ultérieurement ou ne fonctionne pas.
Le freinage automatique est interrompu dans les conditions suivantes :
- lorsque vous tournez le volant pour éviter une collision;
- lorsque vous appuyez sur la pédale d'accélérateur;
- lorsqu'il n'y aaucun vehicule qui precede ou piéton.
Si le système de freinage d'urgence automatique avec dispositif de détction de piétons a immobilisé le vehicule, il demeure à l'arrêt pendant environ 2 secondes avant que les freins soient relâchés.

ACTIVATION ET DÉSACTIVATION
DU SYSTEMÉ DE FREINAGE
D'URGENCE AUTOMATIQUE AVEC
DISPOSITIF DE DETECTION DE
PIÉTONS
Effectuez les étapes suivantes pour activer ou désactiver le système de freinage d'urgence automatique avec dispositif de détction de piétons:
- Appuyez sur le bouton « jusqu'à ce que l'options « Settings » (réglages) s'af-
fiche à l'écran multifonction. Utilisez le bouton ↓ pour sélectionner l'option « Driver Assistance » (aide au conductor), puis appuyez sur le bouton OK.
- Sélectionnez « Emergency Brake » (frei-nage d'urgence), puis appuyez sur le bouton OK.
- Sélectionnez l'options « System » (système) et appuyez sur le bouton OK pour activer ou désactiver le système.
Lorsque youdsesactivezle système de freinage d'urgence automatique avec dispositif de détction de piétons, le témoin d'avertissement du système de freinage d'urgence automatique avec dispositif de détction de piétons s'allume.
REMARQUE:
Le système de freinage d'urgence automatique avec dispositif de détction de piétons est activé automatiquement lorsque le système de vehicule électrique redémarre.
LIMITATIONS DU SYSTÉME DE FREINAGE D'URGENCE AUTOMATIQUE AVEC DISPOSITIF DE DETECTION DE PIÉTONS

AVERTISSEMENT
Les limites du système de freinage d'urgence automatique avec dispositif de détction de piétons sont répertorées ci-dessous. Le fait de ne pas conduire le vehicule conformément à ces limites du système peut entraîner des blessures graves ou mortelles.
Le système de freinage d'urgence automatique avec dispositif de détction de piétons ne peut pas détecher tous les vehicules et piétons dans toutes les conditions.
- Le système de freinage d'urgence automatique avec dispositif de détction de piétons ne détecte pas les objets suivants:
- Les piétons (y compris les jeunes enfants), les animaux et les cyclistes de petite taille.
- Les piétons en fauteuils roulants ou qui utilisent un moyen de transport mobile tels que les scooters, les jouets manipulés par des enfants et les planches à roulettes.
- Les piétons qui sont assis ou ne sont pas complètement en position début ou en position de marche.
- Les vehicules qui viennent en sens inverse
- Les vehicules qui traversent une intersection
- Les obstacles sur la route
Le système de freinage d'urgence automatique avec dispositif de détction de piétons présente quelques limites de rendement.
Si un vehicule immobile se trouve dans la trajectorie du vehicule, le système de freinage d'urgence automatique avec dispositif de détction de piétons ne fonctionne pas lorsque le vehicule se déplace à des vitesses supérieures à environ 80 km/h (50 mi/h).
- Pour la détction de piétons, le système de freinage d'urgence automatique avec dispositif de détction de piétons ne fonctionne pas lorsque le vehicule se déplace à des vitesses supérieures à environ 60 km/h (37 mi/h) ou inférieures à environ 10 km/h (6 mi/h).
Le système de freinage d'urgence automatique avec dispositif de détction de piétons ne fonctionne pas dans les endroits sombres et dans les tunnels, même si la zone est dotée d'un éclairage des rues.
- Le système de freinage d'urgence automatique avec dispositif de détction de piétons peut ne pas fonctionner si le vehicule qui le precede est étroit (par exemple, une motocyclette).
- Le système de freinage d'urgence automatique avec dispositif de détction de piétons peut ne pas fonctionner si la différence de vitesse entre les deux vehicules est trop petite.
- Le capteur du radar du système de freinage d'urgence automatique avec dispositif de détction de piétons peut ne pas fonctionner correctement ou détecter un vehicule qui leprecede dans les conditions suivantes:
- Visibilité faible (conditions météorologiques telles que la pluie, la neige, le brouillard, les tempêtes de poussière, les tempêtes de sable et les projections de la route provenant d'autres vehicules)
- Conduite sur une pente descendante abrupte ou sur des routes sinueuses.
- Conduite sur une route cahoteuse, comme par ex. une route de terre irrégulière.
- Saleté, glace, neige ou autres matériaux qui recouvent la zone du capteur du radar.
-
Interférences par d'autres sources de radar.
Zone deamera du pare-brise embuée ou recouverte de saleté, de gouttes d'eau, de glace, de neige, etc. -
Pénetration d'une lumière intense (par exemple, la luzière du soleil ou les feuels de route des vehicules venant en sens inverse) dans laamera avant. Lumière intense qui create une zone ombragée autour du piéton, ce qui empêche de le voir.
- Changement soudain d'intensité (par exemple, lorsqu'un vehicule pénétre dans un tunnel ou en sort, passer dans un endroit ombragé ou lorsque l'éclairage clignote).
- Mauvais contraste d'une personne sur l'arrière-plan, comme lorsque la couleur ou le modele de vêtements est similaire à l'arrière-plan.
- Profil du piéton partiellement masqué ou non identifiable, lorsque celui-ci transporte des bagages, portes des vêtements ou accessoires encombrants ou très amples.
- Le rendement du système peut se dégrader dans les conditions suivantes:
-
Le vehicule roule sur une chaussee glissante.
Le vehicule roule sur une pente. -
Des bagages trop lourds se trouvent sur la banquette arrêté ou dans le coffre de votre vehicule.
-
Le système contrôle automatiquement le fonctionnement du capteur (radar etamera), dans certaines limites. Le système peut ne pas détaquer l'obstruction des zones du capteur couvertes par dela glace, de la neige ou des autocollants, par exemple. Dans ces cas, le système peut etre dans l'impossibilité d'avertir le conducteur de façon adequate. Assurez-vous de vérifier, nettoyer et dégager régulierement les zones des capteurs.
- Dans certaines conditions de route et de circulation, le système de freinage d'urgence automatique avec dispositif de détction de piétons peut inopinément appliquer un freinage partiel. Lorsqu'une accélération est nécessaire, enforcez la pé-dale d'accéléateur pour neutraliser le système.
- Le bruit excessif a une incidence sur le timbre du carillon et il se peut qu'il ne soit pas entendu.

Condition A
Dans les conditions suivantes, le témoin d'rapidissement du système de freinage d'urgence automatique avec dispositif de détction de piétons clignote et le système se désactiver de façon automatique :
- Le capteur du radar capte les interférences provenant d'une autre source radar.
-La zone de laamera du pare-brise est embuée ou gelée. - Une lumière intense est reflèchie à l'avant.
-La température de l'habitacle est supérieure à environ 40^ [104 F] sous la lumière directe du soleil.
-La zone de laamera du pare-brise est recouverte en permanence de saleté,etc.
Mesures à prendre
Lorsque les conditions indiquées ci-dessus ne sont plus générées, le système de freinage d'urgence automatique avec dispos-sitif de détction de piétons se réACTIVE de façon automatique.
Lorsque l'intérieur du pare-brise sur la zone de laamera est embué ou gelé, un certain décali est nécessaire pour le nettoyer ou le dégeler après l'activation de la climatisation. Si de la saleté se trouve sur cette zone, nous vous recommandons de vous rendre chez un concessionnaire NISSAN LEAF certifié.
Condition B
Dans les conditions suivantes, le système de freinage d'urgence automatique avec tepoin d'avertissement du dispositif de détction de piétons s'allume, le système se désactive automatiquement et le message d'avertissement « Not Available : Front radar Blocked » (Non disponible : blocage du radar avant) s'affiche à l'écran multifonction du vehicule.
-La zone du capteur du pare-chocs avant est couverte de saletés ou est obstruée.
Mesures à prendre
Si le témoin d'advertissement (orange) s'allume, arrêtez le vehicule dans un endroit sur, placez le levier selecteur à la position P (stationnement) et coupez le système de vehicule electrique. Nettoyez la zone du capteur du radar du pare-chocs avant ou la zone de laamera du pare-brise à l'aide d'un chiffon doux, puis redémarrez le système de vehicule electrique. Si le témoin d'advertissement continue de s'allumer, faites vérifier le système de freinage d'urgence automatique avec dispositif de détction de piétons. Nous vous recommendons de vous rendre chez un concessionnaire NISSAN LEAF certifi pour procéder cet entretien.
ANOMALIE DU SYSTEME
Lorsque le système de freinage d'urgence automatique avec dispositif de détction de piétons ne fonctionne pas correctement, il se désactive automatiquement, un carillon retentit, le tímoin d'advertissement du système de freinage d'urgence automatique avec dispositif de détction de piétons (orange) s'allume et le message d'advertissement [Malfunction] (anomalie) s'affiche à l'écran multifonction.
Mesures à prendre
Si le témoin d'avertissement (orange) s'allume, arrêtez le vehicule dans un endroit sur, coupe z le système de vehicule électrique et redémarrez-le. Si le témoin d'avertissement continue de s'allumer, faites vérifier le système de freinage d'urgence automatique avec dispositif de détction de piétons. Nous vous recommendons de vous rendre chez un concessionnaire NISSAN LEAF certifié pour procéder cet entretien.

ENTRETIEN DU SYSTEME
Le capteur de radar se trouve à l'avant du vehicule B. Laamera se trouve sur la partie supérieure du pare-brise A.
Pour que le système de freinage d'urgence automatique avec dispositif de détction de piétons fonctionne correctement, observerz les précautions suivantes :
-
Gardez toujours les zones du capteur du pare-chocs avant et du pare-brise propres.
-
Évitez de frapper ou d'endommager les zones autour des capteurs (p. ex., parechocs, pare-brise).
- Ne couvrez pas, n'apposez pas d'autocollants et n'installez pas d'accessoires à proximé des capteurs. Cela pourrait bloquer les signaux du capteur ou entraîner une panne ou une défectuosité du capteur.
- Ne fixez pas d'objets métalliques à proximé du capteur du radar (grille de protection, etc.). Ceci pourrait entraîner la panne ou une défectuosité du capteur.
- Ne placez pas de matériel reflchéissant, comme du papier blanc ou un miroir, sur le tableau de bord. Le reflet des rayons du soleil peut nuire à la capacité de détention de laamera.
- Ne tentez de modifier, de retarder ou de peindre le pare-chocs avant. Avant de personneliser ou de restaurer le parechocs avant, nous vous recommendons de visitor un concessionnaire NISSAN LEAF certifié.
Déclaration de fréquence radio
Aux États-Unis
FCC ID OAYARS4B
Ce dispositif est conforme à l'article 15 des règlements de la FCC. Son'utilisation est soumise aux deux conditions suivantes:
- Ce dispositif ne doit causeur aucune interference nuisible, et
- Ce dispositif doit pouvoir accepter toutes les interférences, y compris celles qui peuvent l'activer de façon inopinée.
Avertissement de la FCC
Toute modification non approuvée par la partie responsable de la conformité peut annuler le droit d'utiliser ce dispositif.
Au Canada
Modèle : ARS4-B
IC:4135A-ARS4B
FCC ID : OAYARS4B
Ce dispositif est conforme aux normes de la section 15 des règles de la FCC des États-Unis et aux normes d'Industrie Canada applicables aux apparciels RSS exempts de licence. Son utilisation est soumise aux deux conditions suivantes:
- Ce dispositif ne doit causeur aucune interference nuisible; et
- Ce dispositif doit pouvoir accepter toutes les interférences, y compris celles qui pouraient l'activer de façon inopinée.
Le present apparéil est conforme aux CNR d'Industrie Canada applicables aux apparéils radio exempres de licence. L'exploitation est autorisée aux deux conditions suivantes:
- L'appareil ne doit pas produit de brouillage, et
- l'utilisateur de l'appareil doit accepter tout brouillage radioélectrique subi, même si le brouillage est susceptible d'en compromètre le fonctionnement.
Renseignements sur l'exposition aux émissions de radiofréquences :
Ce dispositif est conforme aux limites d'exposition au rayonnement de la FCC et d'Industrie Canada énoncées pour un environnement non contrôle.
Ce dispositif doit être installé et utilisé en maintainant une distance minimale de 30 cm entre la source d'émission et votre corps.
Cet émetteur ne doit pas être place au même endroit qu'une autre antennée ou un autre émetteur ni fonctionner de concert avec ces apparéils.
Cet équipement est conforme aux limites d'exposition aux rayonnements IC établies pour un environnement non contrôle.
Cet équipement doit être installé et utilisé avec un minimum de 30 cm de distance entre la source de rayonnement et votre corps.
Avis de la FCC
Toute modification non approuvée par la partie responsable de la conformité peut annuler le droit d'utiliser ce dispositif.
SYSTÉME D'ALERTE VIGILANCE CONDUCTEUR INTELLIGENT (SELON L'ÉQUIPEMENT)

AVERTISSEMENT
Le non-respect des avertissements et des directives relatives à l'utilisation du système d'alerte vigilance conducteur intelligent pourrait entraîner des blessures graves, voir mortelles.
Le système d'alerte vigilance conducteur intelligent n'est qu'un dispositif d'avertissement pour alerter le conducteur sur son manque potentiel d'attention ou sa somnolence. Il n'assure pas la direction du vehicule et ne prévient pas la perte de maîtrise du vehicule.
- Le système d'alerte vigilance conducteur intelligent ne détecte pas et n'alerte pas le conducteur en cas de manque d'attention ou de fatigue dans toutes les situations.
- Il incombe au conducteur de:
- rester vigilant;
- conduire prudemment;
- notamment son vehicule dans la voie empruntée;
- maitriser son vehicule en tout temps;
- ne pas conduire lorsqu'il est fatigué;
- réduire au minimum les distractions (messages/texte, etc.).
Le système d'alerte vigilance conducteur intelligent permet d'alerter le conducteur si le système detecte un manque d'attention ou une fatigue liée à la conduite.
Le système surveille le style de conduite et le comportement de la direction après une certaine période de temps et detecte des différences par rapport au modele normal. Si le système detecte que l'attention du conducteur diminue, le système utilise des avertissements sonores et visuels pour suggérer au conducteur de prendre une pause.

Le système se réinitialise et commence à réévaluer le style de conduite et le com portement de la direction lorsque vous COUPEZ et REMETTEZ LE CONTACT.
FONCTIONNEMENT DU SYSTEME D'ALERTE VIGILANCE CONDUCTEUR INTELLIGENT
Si le système detecte que le conducteur est fatigué ou que son attention diminue, le message « Une pause? » s'affiche à l'écran multifonction et un carillon retentit lorsque la vitesse du vehicule est supérieure à 60 km/h (37 mi/h).
Le système surveille en permanence l'attention du conducteur et peut fournir plusieurs averissements par trajet.

ACTIVATION ET DÉSACTIVATION DU SYSTEME D'ALERTE VIGILANCE CONDUCTEUR INTELLIGENT
Effectuez les étapes suivantes pour activer ou désactiver le système d'alerte vigilance conducteur intelligent.
- Appuyez sur le bouton ↓ jusqu'à ce que l'option « Settings » (réglages) s'affiche à l'écran multifonction. Utilisez le bouton ↓ pour selectionner l'option « Driver Assistance » (aide au conductor), puis appuyez sur le bouton OK.
- Sélectionnez l'option « Driver Attention Alert » (Alerte d'attention du conducteur) et utilisez le bouton OK pour activer ou désactiver le système.
REMARQUE:
Le réglage reste en mémoire même si vous redémarrez le système de vehicule électrique.
LIMITES DU SYSTEME D'ALERTE VIGILANCE CONDUCTEUR INTELLIGENT

AVERTISSEMENT
Les limites du système d'alerte vigilance conducteur intelligent sont répertoriées ci-dessous. Le fait de ne pas conduire le vehicule conformément à ces limites du système peut entraîner des blessures graves ou mortelles.
-
Le système d'alerte vigilance conducteur intelligent peut ne pas fonctionner correctement et peut ne pas fournir une alerte dans les conditions suivantes:
-
Mauvaises conditions routières telles qu'une route irrégulière ou des nids de poule.
Fort vent de travers. - Si vous avez adopté un style de conduite sportif avec des virages à haute vitesse ou des fortes accélérations.
- Changements fréquents de voie ou changements de la vitesse du vehicule.
Le système d'alerte vigilance conducteur intelligent peut ne pas fournir une alerte dans les conditions suivantes:
- vitesses du vehicule inférieures à 60 km/h (37 mi/h);
- bref manque d'attention;
- distractions spontanées telles que le fait de laisser tomber un objet.

Défaut syst.
Anomalie du système
Si le système d'alerte vigilance conducteur intelligent ne fonctionne pas correctement, le message d'avertissement du système s'affiche à l'écran multifonction du vehicule et la fonction s'arrête automatiquement.
Mesures à prendre
Arrétez le vehicule dans un endroit sécuritaire, placez le vehicule en position P (stationnement), coupez le système de vehicule électrique, puis redémarrez-le. Si le message d'advertissement du système continue de s'afficher, faites vérifier le système. Nous vous recommendons de vous rendre chez un concessionnaire NISSAN LEAF certifié pour procéder cet entretien.
AUGMENTATION DE L'ÉCONOMIE D'ENERGIE
L'autonomie du vehicule varie en fonction des facteurs suivants:
Vitesse
- Charge du vehicule
- Charge électric des accessoires du vehicule
- Conditions de circulation et de route
NISSAN recommende d'adopter les habits de conduite suivantes pour optimiser l'autonomie du vehicule :
Avant la conduite :
- Suivez l'entretien périodique recommandé.
Assurez-vous que les pneus sont gonflés à la pression appropriée.
Assurez-vous que le réglage de la géométrie des roues est ajusté. - Préchauffez ou refroidissez en avance l'habitaclependant la recharge du vehicule.
- Retirez le chargement non nécessaire du vehicule.
Pendant la conduite :
- Utilisez le mode ECO (economie).
- Le mode ECO (économie) aide à réduire la consommation d'énergie en diminuant l'accelération par rapport à la même position de pédale d'accélérateur en position D (marche avant).
- Conduisez à une vitesse constante. Maintenez votre vitesse de croisière en conservant une position de pédale d'accéléateur constante ou en utilisant le régulateur de vitesse au besoin.
- Accélérez progressivement et sans à-coup. Appuyez légèrement et brievement sur la pédale d'accéléateur pour accélérer et décelérer.
-Conduisez a des vitesses moderées sur l'autoroute. -
Évitez les arrêts et les freinages féquents.
Conservez une distance sécuritaire entre vous et les autres vehicules.
-Mettez hors fonction le système de chauffage-climatisation lorsqu'il n'est pas nécessaire. -
Sélectionnez un réglage de température modéré pour le chauffage ou le refroidissement pour aider à réduire la consommation d'énergie.
Utilisez le chauffage ou le climatiseur et fermez les glaces pour diminuer la résistance lorsque vous conduisez à des vitesses élevées. -
Relâchéz la pédale d'accélérateur pour ralentir et ne serrez pas les freins si les conditions de circulation et de route le permettent.
-
Ce vehicule est muni d'un circuit de freinage regeneratif. Le but principal du circuit de freinage regeneratif est de fournir de I'energie pour recharger la batterie au lithium-ion et pour augmenter I'autonomie. Le « frein moteur » qui fonctionne selon les conditions de la batterie au lithium-ion est un avantage secondaire. En position D (marche avant), le circuit de freinage regeneratif fournit un peu de deceleration et un peu d'énergie à la batterie au lithium-ion lorsque vous relâchez la pedale d'accéléateur.
RAPPORT ECO DRIVE
Le rapport ECO Drive s'affiche pendant environ 30 secondes lorsque vous placez le commutateur principal à la position OFF (hors fonction), que vous conduisez le vehicule à plus de 500 m (0,3 mi) et que vous appuyez sur le bouton du volant.

- 5 fois précédentes (historique)
Affiche l'économie d'énergie moyenne des 5 fois précédent. - Économie réelle d'énergie Affiche l'économie d'énergie moyenne la plus réçente
- Meilleure economie d'énergie
Affiche la(Meilleure)économie de carburant de l'histoire précédent. - Niveau d'énergie régéné (kilométrage)
Affiche la quantité d'énergie régénéée et stockée dans la batterie au lithium-ion pendant un trajet en termes de distance parcourue.
Si vous conduisiez le vehicule principalement sur des pentes descendantes, une plus grande quantité d'énergie est régénée. Cela peut amener un niveau d'énergie régénéralé (kilométrage) ④ correspondant à une distance plus longue que celle parcoursue par le vehicule ou une économie réelle d'énergie ② de « 99,9 mi/kWh »
Lorsque you appuyez sur le bouton pendant que le rapport Eco Drive s'affiche, l'affichage passé à l'affichage de minuterie. L'un ou l'autre affichage persiste pendant 30 secondes supplémentaires après que vous ayez appuyé sur le bouton. Si vous verrouillez les portières après avoir COUPE le contact, l'affichage s'eteint avant le début préréglé.
Dans le menu « Settings » (Réglages), vous pouvez programmermer le non affichage du rapport Eco Drive lorsque vous COUPEZ le contact. Pour obtenir des renseignements supplémentaires, consultez la section « Affichage multifonction » du chapitre « Commandes et instruments » du précédent manuel.
TECHNIQUES DE STATIONNEMENT DANS LES CÔTES

AVERTISSEMENT
- N'immobilisez pas et ne stationnez pas votre vehicule sur une surface recouverte de matieres inflammables comme du gazon sec, deieux papiers ou des chiffons. Ces matieres pourraient s'enflammer et provoquer un incendie.
- Ne laïsez jamais le vehicule en mode READY (préts à démarrer) lorsque vous n'utilise pas le vehicule.
- Ne laïsez pas d'enfants sans surveillance dans le vehicule. Ils pourraient actionner les commutateurs ou les commandes par mégarde. Des enfants laissés sans surveillance dans un vehicule poursraient être victimes d'accidents graves.
Pour stationner votre vehicule de façon sécuritéaire, serrez toujours le frein de stationnement et placez le vehicule en position P (stationnement). Le fait de ne pas respecter ces instructions peut causeur un déplacement inopiné du vehicule et entrainer un accident.
Pour éviter le risque de blessures ou de décès associé à un fonctionnement accidentel du vehicule ou de ses systèmes, ne laissez pas les enfants, les personnes qui ont besoin de l'aide d'autres personnes ou les animaux sans surveillance dans votre vehicule. De plus, la température à l'intérieur d'un vehicule fermé lors d'une journée chaude peut s'éleverrapidement au point de provoquer un risque important de blessures graves ou mortelles à des personnes ou à des animaux domestiques.
①

②
□□□


(3)
□

- Serrez fermement le frein de stationnement.
- Appuyez sur le commutateur de position P (stationnement) du levier sélecteur.
- Pour éviter le déplacement inopiné du vehicule stationné sur une pente, les roues doivent être tournées comme ilustré.
PENTE DESCENDANTE AVEC TROTTOIR ①:
Tournez les roues vers le trottoir et déplacez le vehicule vers l'avant jusqu'à ce que la roue se trouvant du côté du trottoir effleure celui-ci.
PENTE ASCENDANTE AVEC TROTTOIR ② :
Tournez les roues dans le sens contraire du trottoir et déplacez le vehicule vers l'arrière jusqu'à ce que la roue se trouvant du côté du trottooi effleure celui-ci.
PENTE ASCENDANTE OU DESCENDANTE SANS TROTTOIR 3
Tournez les roues vers le bord de la route de manière à ce que le vehicule s'éloigné du centre de la route s'il se déplace.
- Placez le commutateur principal à la position OFF (hors fonction).
DIRECTION ASSISTÉE

AVERTISSEMENT
Si le témoin PRÉT À DEMARRER est éteint pendant la conduite, l'assistance à la direction ne fonctionnera pas. Le volant est donc beaucoup plus difficile à manœuvrer.
Lorsque le témoin de la direction assistée s'allume pendant que le témoin PRÉT À DEMARRER est allumé, la direction n'est plus assistée. Vous conservez toujours la maitrise de votre vehicule, mais le volant est plus difficile à manœuvrer.
La direction assistée est donc pour assurer une assistance pendant la conduite et manœuvrer le volant en exerçant moins d'effort.
L'assistance est réduite lorsque le volant est féquement ou continuèlement utilisé pour des manoeuvres de stationnement ou de conduite à basse vitesse. Cela visse à prévenir la surchauffe de la direction assistée et à en prévenir les dommages. Lorsque l'assistance est réduite, il est beaucoup plus difficile de manœuvrer le volant. Lorsque la température de la direction assistée diminue, l'assistance revient à
la normale. Évitez de répéter des manoeuvres de direction qui pouraient faire surchauffer le système de direction assistée.
Un bruit peut se faire entendre lorsque vous manqueezrapidement le volant. Cela ne constitue pas une anomalie.
Si le témoin de la direction assistée s'allume lorsque le témoin PRÉT À DEMARRER est allumé, il est possible que la direction assistée ne fonctionne pas correctement et qu'elle doit être réparée. Faites vérifier la direction assistée. Nous vous recommandons de vous rendre chez un concessionnaire NISSAN LEAF certifié pour procéder cet entretien. Pour obtenir des renseignements supplémentaires, consultez la section « Témoin de la direction assistée » dans le chapitre « Commandes et instruments » duprésent manuel.
La direction assistée arrête de fonctionner lorsqu'elle témoin de la direction assistée et le témoin READY (préts à démarrer) sont allumés. Vous conservez toujours la maitrise de votre vehicule. Toutefois, le volant sera beaucoup plus difficile à manœuvrer, rundout dans les virages brusques et à bassé vitesse.
CIRCUIT DE FREINAGE
Ce vehicule est équipé de deux circuits de freinage :
- Circuit de freinage hydraulique
- Circuit de freinage régénératif
Circuit de freinage hydraulique
Le circuit de freinage hydraulique est similaire aux freins utilisés sur les vehicules conventionnels.
Le circuit de freinage de votre vehicule comporte deux circuits hydrauliques distincts. En cas de defaillance d'un des cir
cuits, deux des roues conservent leur capacité de freinage.
Circuit de freinage régénératif
Le but principal du circuit de freinage régénératif est de fournir de l'énergie pour recharger la batterie au lithium-ion et pour augmenter l'autonomie. Le « frein moteur » qui fonctionne selon les conditions de la batterie est un avantage secondaire.
En position D (marche avant), le circuit de freinage régénératif fournit un peu de dé
celération et génére un peu d'énergie pour la batterie au lithium-ion. L'énergie est également généraee lorsque vous enforcez la pédale de frein.
Lorsque you appuyez sur le levier selec-. theur en mode B et que you relachez la pedale d'accelerateur, le freinage regeneratif est plus sere qu'en position D (marche avant). Toutefois, lors de la conduite a haute vitesse, you pouvez ressentir que le freinage regeneratif fournit moins de decel-. leration que le frein moteur d'un vehicule traditionnel. Ceci est normal.
Le circuit de freinage régénératif fournit moins de décelération lorsque la batterie au lithium-ion est complètement chargée. Le freinage régénératif est automatiquement réduit lorsque la batterie au lithium-ion est complètement chargée pour empêcher une surcharge de la batterie au lithium-ion. Le freinage régénératif est également réduit automatiquement lorsque la température de la batterie est élevé ou BASSE (ce qui est indiqué par les zones rouges ou bleues de l'indicateur de température de la batterie) afin d'éviter d'endommager la batterie au lithium-ion.
La pédale de frein doit être utilisée pour ralentir ou arrêté le vehicule selon les conditions de circulation ou de route. Les freins du vehicule ne sont pas affectés par le fonctionnement du circuit de freinage régénératif.
REMARQUE:
Lorsque you serrez les freins regeneratifs, il se peut qu'un bruit se produit, provenant du circuit de freinage regeneratif. Il s'agit d'une caractéristique de fonctionnement normal d'un vehicule electrique.
- Si le commutateur principal n'est pas à la position ON (marche) ou READY (préts à démarrer), vous pouvez arrêté le vehicule en appuyant sur la pédale de frein. Toutfois, la distance de freinage sera plus longue et vous devrez exercer une pression plus importante sur la pédale de frein.
Lorsque you appuyez sur la pédale de frein, la sensation de la pédale de frein ne sera pas fluide ou peut changer quand le circuit de freinage régénératif est activé. Toutefois, le circuit de freinage contrôle électroniquement fonctionne normalement et cela n'indique pas la présence d'une anomalie.
Utilisation des freins
Ne laissiez pas votre pied reposer sur la pedale de frein en conduisant. Une telle pratique provoquerait la surchauffe des freins, l'usure prematurée des plaquettes et des segments de frein ainsi qu'une réduction de l'autonomie.
Afin de réduire l'usure des freins et d'empêcher leur surchauffe, réduisez votre vitesse et scélectionnez le mode B avant de conduire sur une pente descendante ou une longue pente. Le rendement des freins pourrait être compromis s'ilts surchauffent et vous pourriez ainsi perdre la maitrise de votre vehicule.

AVERTISSEMENT
-
Lors de la conduite sur une chaussée glissante, soyez vigilant lorsque vous freine ou accéléré. Un freinage brusque ou une accélération soudaine peut causeur un patinage des roues, ce qui risque d'entrainer un accident.
-
Si vous enforcez la pédale de frein lorsque le système de vehicule électrique est HORS FONCTION, un plus grand effort pourrait être nécessaire pour freiner et la course de la pédale pourrait être réduite. Si le témoin des freins ne s'allume pas et que la pédale de frein semble être revenue à son état normal après le démarriage du système de vehicule électrique, cela indique l'absence d'une anomalie et le vehicule peut être utilisé normalement.
Freins mouillés
Les freins peuvent etre mouillés lorsque le vehicule est lavé ou lorsque vous roulez dans l'eau. La distance de freinage sera plus longue et il est possible que le vehicule tire d'un cotoé de la route au moment du serrage des freins.
Conduisez le vehicule à une vitesse sécuritaire tout en,enfonçant légèrement la pé-dale de frein pour faire sécher les freins. Continuez jusqu'à ce que les freins fonctionnent normalement. Evitez de conduire le vehicule à des vittesses élevées tant que les freins ne soient pas séchés.
Rodage du frein destationnement
Les segments du frein de stationnement doivent être « rods » lorsque l'efficacité du freinage diminue ou lors de leur remplacement ou de celui du tambour ou des disques, et ce, afin d'assurer une performance de freinage optimale.
Cette intervention est décrite dans le manuel de réparation NISSAN d'origine et peut être effectue par un centre de réparation certifié. Nous vous recommendons de visiter un concessionnaire NISSAN LEAF certifié.
-
Le circuit de freinage antiblocage (ABS) est un dispositif perfectionné, mais il ne peut pas prévenir les accidents découlant d'une conduite imprudente ou dangereuse. Il peut vous aider à conserver la maitrise du vehicule lors d'un freinage sur une chaussée glissante. Vous ne devez pas outlier que la distance d'arrêt est plus longue sur une chaussée glissante que sur une chaussée normale, même avec un circuit de freinage antiblocage (ABS). Les distances d'arrêt peuvent également être plus longues sur des routes cahoteuses, recouvertes de gravier ou enneigées, ou encore, lorsque vous utilisez des chaines antidérapantes. Conservez toujours une distance sécuritaire entre votre vehicule et celui qui le précède. Avec ou sans circuit de freinage antiblocage, le conducteur demeure responsable de la sécurité de conduite de son vehicule.
-
Le type et l'etat des pneus de votre vehicule peuvent également nuire à l'efficacité du freinage.
-
Lorsque vous remplacez vos pneus, installez des pneus de la taille spécifique aux quatre roues.
- Pour obtenir des renseignements supplémentaires, consultez la section « Roues et pneus » du chapitre « Entretien et interventions du propriétaire » duprésent manuel.
Le circuit de freinage antiblocage (ABS) commande les freins pour prévenir le blocage des roues en cas de freinage brusque ou sur une chaussée glissante. Le dispositif fait varier la pression du liquide de frein selon la vitesse de rotation de chaque roue décelée afin d'eviter leur blocage et leur dérapage. En empêchant chaque roue de se bloquer, le dispositif aide le conducteur à conserver la maîtrise de son vehicule et contribue à réduire au minimum les risques de dérapage et de patinage sur chaussée glissante.
Utilisation du dispositif
Enoncez la pédale de frein et maintenez-la enforcée. Appuyez fermement sur la pédale de frein en gardant une pression constante, sans pomper les freins. Le circuit de freinage antiblocage (ABS) entraera en action pour éviter le blocage des roues. Dirigez le vehicule de manière à éviter les obstacles.

AVERTISSEMENT
Ne pompez pas la pédale de frein.
Cette manoeuvre pourrait avoir pour résultat d'accroître les distances de freinage.
Fonction d'autodiagnostic
Le circuit de freinage antiblocage (ABS) comporte des capteurs électroniques, des pompes électriques, des électrovannes hydrauliques et un ordinateur. Une fonction de diagnostic intégrée à l'ordinateur met le système à l'essayé chaque fois que vous appuyez sur le commutateur principal en position READY (préts à démarrer) et que le vehicule avance ou recule à basse vitesse.
Lorsque l'autodiagnostic est en cours d'exécution, un bruit sourd peut être entendu ou une pulsation peut être dessentie dans la pédale de frein. Il s'agit d'une situation normale qui ne revêle pas une anomalie. L'ordinateur met le système antiblocage hors fonction et allume le témoin du circuit de freinage antiblocage (ABS) sur le tableau de bord lorsqu'il détecte une anomalie. Le fonctionnement du dispositif antiblocage est alors neutralisé et votre vehicule utilise le système de freinage standard.
Si le témoin du circuit de freinage antiblocage (ABS) s'allume pendant l'autodiagnostic ou la conduite, faites vérifier le vehicule. Nous vous recommendons de vous rendre chez un concessionnaire NISSAN LEAF certifié pour procéder cet entretien.
Fonctionnement normal
Le circuit de freinage antiblocage (ABS) fonctionne lorsque vous roulez à plus de 5 à 10 km/h (3 à 6 mi/h). La vitesse varie selon l'état de la route.
Lorsque le dispositif antiblocage detecté que le blocage d'une ou de plusieurs roues est imminent, l'actionneur applique et relate che la pression hydraulique. Cette action s'apparente à un pompage très rapide des freins. Lorsque le dispositif antiblocage entre en action, une pulsation peut être dessentie dans la pédale de frein et le fonctionnement de l'actionneur peut être perçu comme une vibration ou un bruit provenant du comportement moteur. Tout ici est normal et indique que le dispositif antiblocage travaillée comme il se doit. Toutefois, une sensation de pulsation peut indiquer que les conditions routières sont dangereuses et que la conduite exige une attention particulière.
DISPOSITIF DE CONTROLLE DYNAMIQUE DU VEHICULE
Le système de contrôle dynamique du vehicule surveille au moyen de divers capteurs les manoeuvres du conducteur et les mouvements du vehicule. Dans certaines conditions de conduite, le système de contrôle dynamique du vehicule facile l'exécution des fonctions suivantes.
- Il contrôle la pression de freinage pour réduire le patinage des roues sur une roue motrice qui patine afin de transférer la puissance sur une roue motrice du même essieu qui ne patine pas.
- Il contrôle la pression de freinage et la puissance du moteur de traction pour réduire le patinage des roues motrices en fonction de la vitesse du vehicule (fonction de commande de traction).
- Il contrôle la pression de freinage au niveau de chaque roue et la puissance du moteur de traction afin de permettre au conducteur de garder la maitrise du vehicule dans les conditions suivantes :
Sous-virage (le vehicule ne tourne pas autant qu'il ne le devrait). - Survirage (le vehicule attendance à patiner sur certaines routes ou dans certaines conditions de conduite).
Le système de contrôle dynamique du vehicule peut aider le conducteur à garder la maitrise de son vehicule, mais il ne peut pas empêcher la perte de contrôle du vehicule dans toutes les situations de conduite.
Lorsque le système de contrôle dynamique du vehicule fonctionne, le témoin clignote au tableau de bord. Lorsque le témoin clignote, notez les points suivants :
- Il se peut que la route soit glissante ou que le système a déterminé qu'une intervention est nécessaire pour permettre au vignicule de garder la trajectorye voulue.
- Il se peut que vous ressentiez une pulsation au niveau de la pédale de frein et que vous entendiez un bruit ou une vibration venant du compartment moteur. Ceci est normal et indique que le système de contrôle dynamique du vehicule fonctionne correctement.
- Adaptez votre vitesse et votre conduite aux conditions de la route.
Pour obtenir des renseignements supplémentaires, consultez les sections « Témoin de dérapage » et « Témoin de NEUTRALISATION du système de contrôle dynamique du vehicule » du chapitre « Commandes et instruments » duprésent manuel.
En cas d'une anomalie du système, le témoin s'allume dans l'affichage multifonction. Le système de contrôle dynamique du vehicule se désactive automatiquement lorsque ce témoin s'allume.
L'affichage multifonction est utilisé pour désactiver le système de contrôle dynamique du vehicule. Le témoin de DÉS- ACTIVATION DU SYSTème DE CONTROLLE DYNAMIQUE DU VÉHICULE s'allume pour indiquer que le SYSTème DE CONTROLLE DYNAMIQUE DU VÉHICULE est désactivié. Lorsqu'on utilise l'affichage multifonction pour désactiver le système de contrôle dynamique du vehicule, ce dernier continue tout de même à empêcher le patinage d'une roue individuelle en translérant la puissance du moteur à une roue qui ne patine pas. Le témoin clignote si cela se produit. Toutes les autres fonctions du système de contrôle dynamique
du vehicule sont désactivées et le témoin ne clignote pas. Le système de contrôle dynamique du vehicule est réactifé automatiquement lorsque le commutateur principal est place à la position OFF (hors fonction), puis replaced à la position ON (marche). Pour obtenir des renseignements supplémentaires, consultez la section « Affichage multifonction » du chapitre « Commandes et instruments » duprésent manuel.
Une fonction de diagnostic intégrée à l'ordinaireur met le système à l'essayé chaque fois que vous démarrez le vehicule électrique et que vous roulez à basse vitesse en marche avant ou en marche arrière. Lorsque l'autodiagnostic est en cours d'exécution, un bruit sourd peut être entendu ou une pulsation peut être dessentie dans la pédale de frein. Ceci est normal et n'est pas un signe d'anomalie.

AVERTISSEMENT
Le système de contrôle dynamique du vehicule aide le conducteur a garder la maitrise du vehicule, mais ne peut pas empêcher les accidents causés par des manoeuvres brusques du volant à haute vitesse ou par un style de conduite inattentif ou dangereux. Réduisez votre vitesse et soyez particulièrement prudent lorsque vous conduisez ou virez sur chaussée glissante. Conduisez prudemment en tout temps.
-
Ne modifies pas la suspension du vehicule. Si des composants de la suspension tels que les amortisseurs, les jambes de force, les ressorts, les barres stabilisatrices, les coussinets ou les roues ne sont pas recommendés par NiSSAN pour votre vehicule, ou s'ils sont extrément déteriorés, il se peut que le système de contrôle dynamique du vehicule ne fonctionne pas correctement. La tenue de route du vehicule risque d'être compromisesé et le témoin pourrait clignoter ou le témoin pourrait s'allumer. OFF
-
Si les pièces associées aux freins, telles que les plaquettes de frein, les disques et les étriers, ne sont pas des modèles recommends par NiSSAN ou si elles sont extrément déteriorées, le système de contrôle dynamique du vehicule pourrait ne pas fonctionner de façon ajustée et le témoin pourrait s'allumer.
Si les pieces de commande du moteur connexes ne sont pas des pieces recommandees par NISSAN ou si elles sont extrément déteriorées, le témoin peut s'allumer.
Le système de contrôle dynamique du vehicule peut ne pas fonctionner adequately ou le témoin peut s'allumer lorsque vous conduisez sur une surface très inclinée, par exemple, dans un virage reliéve. Ne conduisez pas sur ce type de route.
- Sur une surface instable, telle qu'une plaque tournante, le pont d'un traversier, un monte-charge ou une rampe, le témoin, peut s'allumer. Cette condition est normale. Faites redémarrer le système de vehicule électrique après avoir roulé sur une surface stable.
- Si vous montez des roues ou des pneus autres que ceux recommendés par NISSAN, il se peut que le système de contrôle dynamique du vehicule ne fonctionne pas correctement et le
témoin 3 peut s'allumer.
Le système de contrôle dynamique du vehicule ne remplace pas l'utilisation de pneus d'hiver ou de chaînes antidérapantes sur des routes enneigées.

OFF
CONTRÔLE DU CHÂSSIS
Le contrôle du châssis est un module de commande électrique qui inclut les fonctions suivantes :
- Système de contrôle en virage intelligent

Contrôle dynamique

Contrôle dynamique

Contrôle dynamique
SYTÉME DE CONTROLE EN VIRAGE INTELLIGENT
Ce système déetecte la conduite en fonction des manoeuvres de direction et d'accelération ou de freinage du conducteur et commande la pression de freinage aux roues individuelles pour faciliter le maintainien de la trajectory dans les virages et la réaction en douceur du vehicule.
Le système de contrôle en virage intelligent peut être activé ou désactivé à partir de la page « Réglages » de l'écran multifonction. Pour obtenir des renseignements supplémentaires, consultez la section « Affichage
multifonction » du chapitre « Commandes et instruments » duprésent manuel.
Le système de contrôle en virage intelligent est désactivé lorsque l'interrupteur de NEUTRALISATION du système de contrôle dynamique du vehicule est utilisé pour dé-sactiver le système de contrôle dynamique du vehicule.
Si vous utilisez le système de contrôle en virage intelligent et que le mode de contrôle du chassis est selectionné dans l'ordinateur de bord, les illustrations du système de contrôle en virage intelligent s'affichent à l'écran multifonction. Pour obtenir
des renseignements supplémentaires, consultez la section « Affichage multifonction » du chapitre « Commandes et instruments » duprésent manuel.
Si le message d'advertissement « Chassis Control System Error : See Owner's Manual » (erreur du système de contrôle du chassis : consultez le manuel de l'utilisteur) s'affiche à l'écran multifonction, le contrôle intelligent de trajectory (I-TC) ne fonctionne peut-être pas correctement. Faites inspector le système de votre vehicule dés que possible. Nous vous recommandons de vous rendre chez un concessionnaire NiSSAN LEAF certifié pour procéder cet entretien.

AVERTISSEMENT
L'efficacité du système de contrôle en virage intelligent dépend de la condition de conduite. Conduisez toujours prudèment et avec toute l'attention possible.
Lorsque le système de contrôle en virage intelligent fonctionne, il se peut que vous dessentiez une pulsation au niveau de la pédale de frein et que vous entendiez un bruit. Tout ceci est normal et indique que le système de contrôle en virage intelligent fonctionne comme il se doit.
Meme si le système de contrôle en virage intelligent est désacté, quelques fonctions restent actives pour aider le conducteur (par exemple : les scènes d'évitement d'accidents).
SYTÉME D'ASSISTANCE AU DÉPART EN PENTE

AVERTISSEMENT
-
Ne vous fiez jamais uniquement au dispositif d'assistance au départ en pente pour empêcher le vehicule de reculer dans une pente. Conduisez toujours prudemment et avec toute l'attention possible. Appuyez sur la pédale de frein lorsque vous immobilisez le vehicule sur une forte pente. Soyez particulièrement vigilant lorsque le terrain en pente est gelé et boueux. Si vous ne pouvez plus empêcher votre vehicule de reculer, vous pourriez en perdre la maitrise et risquer des blessures sériuses, voir mortelles.
-
Le dispositif d'assistance au départ en pente n'est pas concu pour immobiliser le vehicule dans une pente. Appuyez sur la pédale de frein lorsque vous immobilisez le vehicule sur une forte pente. Sinon, le vehicule pourrait reculer et vous risqueriez une collision ou de graves blessures.
-
Le dispositif d'assistance au départ en pente pourrait ne pas empêcher le vehicule de reculer dans certaines conditions de charge ou d'état du terrain. Gardez toujours le pied pres de la pédale de frein pour éviter de reculer. Sinon, vous risqueriez une collision ou de graves blessures.
Le dispositif d'assistance au départ en pente utilise automatiquement les freins pour éviter que le vehicule ne se mette à reculer dans une pente au moment où le conducteur relâche la pédale de frein et appuie sur l'accéléateur.
Le dispositif d'assistance au départ en pente entre automatiquement en fonction dans les conditions suivantes :
- Le levier sélecteur est place en position D (marche avant), en mode B ou en position R (marche arrière).
- Le vehicule est immobilisé dans une pente en appliquant les freins.
Le temps de fonctionnement maximal du dispositif est de deux secondes. Passé ce délambda, le vehicule se mettra à reculer et le dispositif d'assistance au départ en pente se désactivera complètement.
Le dispositif d'assistance au départ en pente ne fonctionne pas si le levier selecteur est place à la position N (point mort) ou P (stationnement) ou si le terrain n'est pas en pente.
Pour éviter d'endommager la batterie au lithium-ion: n'entreposez pas le vehicule dans un endroit où la temperature est inférieure à -25 °C (-13 °F) pendant plus de sept jours. Si la temperature extérieure est égale ou inférieure à -25 °C (-13 °F), la batterie au lithium-ion peut geler et ne peut pas être chargée ou fournir de l'énergie pour démarrer le vehicule. Déplacez le vehicule dans un endroit chaud.
REMARQUE :
- Branchez le chargeur sur le vehicule et placez le commutateur principal à la position OFF (hors fonction) lorsque vous stationnez votre vehicule si la température risque de baisser endossous de -20^(-4^) . Cela fournit de l'énergie extérieure au rechauffeur de batterie au lithium-ion (selon l'opération) lorsqu'il est en fonction et ne décharge pas la batterie au lithium-ion. L'autonomie du vehicule est réduite si le rechauffeur de batterie au lithium-ion (selon l'opération) est en fonction (la
température de la batterie au lithium-ion est égale ou inférieure à environ -20^[-4^]) pendant la conduite. Il se peut que vous deviez charger la batterie au lithium-ion plus tout que vous ne le feriez par temps chaud.
-La batterie au lithium-ion necessite plus de temps pour charger lorsque le rechauffeur de batterie au lithium-ion (selon l'equipement) est en fonction.
Le temps de chargement prévu affché au compteur et à l'écran du système de navigation augmente lors du fonctionnement du rechauffeur de batterie au lithium-ion (selon l'équipement).
L'autonomie du vehicule peut etre considérablement reduite par temps tres froid, par exemple sous -20^ (-4^)
L'utilisation du système de chauffage-climatisation pour rechauffer l'habitacle lorsque la température extérieure est inférieure à 0^ (32°F) consomme plus d'électricité et affecte davantage l'autonomie du vehicule que lorsque la temperature est supérieure à 0^ (32°F).
- Les performances du système de chauffage-climatisation sont réduites lors de l'utilisation de la minuterie de climatisation ou du système de chauffage-climatisation à distance lorsque le rechauffeur de batterie au lithium-ion (salon l'équipement) est en fonction. Ne reglez la minuterie de chargement [Heure de fin] que lors d'un changement par temps froid. Le vehicule déterminé automatiquement le moment auquel il doit commencer le changement pour recharger complètement la batterie au lithium-ion, même si le rechauffeur de batterie au lithium-ion est en fonction. Le changement s'arrête avant l'heure de fin reglee si la batterie au lithium-ion est complètementChargee.
DÉBLOCAGE D'UNE SERRURE DE PORTIÈRE GELée
Appliquez un produit dégivrant dans les trous de serrure des portières pour éviter le gel des serrures. Si la serrure gèle, chauffez la clé avant de l'insérer dans le trou de la serrure ou utilisez la télécommande de verrouillage et déverrouillage sans clé.
ANTIGEL
En hiver, lorsqu'une température extérieure inférieure à 0^ (32°F) est prévue, vérifie l'antigel pour vous assurer d'une protection hivernale appropriée. Pour obtenir des renseignements supplémentaires, reportez-vous à la section « Système de refroidissement » du chapitre « Entretien et interventions du propriétaire » de ce manuel.
BATTERIE DE 12 V
Si la batterie de 12 V n'est pas complètement chargée, le liquide qu'elle contient peut geler par temps extrémement froid et endommager la batterie de 12 V. Verifiez régulièrement la batterie de 12 V pour obtenir un rendement maximal. Pour obtenir des renseignements supplémentaires, reportez-vous à la section « Batterie de 12 V » du chapitre « Entretien et interventions du professionnel » de ce manuel.
VIDANGE DU SYSTÉME DE REFROIDISSEMENT
Si le vehicule doit etre laissé à l'extérieur sans antigel,le système de refroidissement doit etre vidangé. Remplissez le vase d'expansion avant de reprendre la route. Pour obtenir des renseignements supplémentaires, reportez-vous à la section « Système de refroidissement » du chapitre « Entretien et interventions du propriétaire » de ce manuel.
PNEUS
Les bandes de roulement des pneus d'ETÉ sont conçues pour offrir un rendement supérieur sur les chaussées sèches. La neige et la glace nuisent donc considérablement à leur rendement. Si vous utilisez votre vehicule sur des routes enneigées ou glacées, NISSAN vous recommende d'utiliser des pneus BOUE ET NEIGE ou des pneus TOUTES SAISONS sur les quatre roues. Vous pouvez onionsir des renseignements relatifs aux types, aux tailles, aux cotes de vitesse et à la disponibilité des pneus auprès d'un concessionnaire NISSAN LEAF certifié.
Des pneus à clous peuvent être utilisés pour bénéficier d'une adherence accrue sur chaussée glacée. Toutefois, l'utilisation de tels pneus est prohibée dans certains États américain de même que dans certaines provinces du Canada. Consultez les règlements en vigueur dans votre localité, dans l'État ou la province où vous résidez avant d'installer ce type de pneu sur votre vehicule.
Sur les chaussées sèches ou mouillées, les capacités de patinage et d'adhérence d'un pau d'hiver à clous peuvent être inférieures à celles d'un pau d'hiver sans clous.
Vou puez également utiliser des chaînes antidérapantes. Pour obtenir des renseignements supplémentaires, reportez-vous à la section « Chaînes antidérapantes » du chapitre « Entretien et interventions du propretaire » de ce manuel.
ÉQUIPEMENT HIVERNAL
Nous vous recommendons de placer les articles suivants dans votre vehicule en hi- ver.
- Un grattoir et une brosse à poils raides pour-retirrer la glace et la neige se trouvant sur les glaces et les essuie-glaces de votre vehicule.
- Une pelle pour dégager votre vehicule d'un banc de neige.
- Un contenant de liquide lave-glace de pare-brise supplémentaire.
CONDUITE SUR LA NEIGE OU SUR LA GLACE

AVERTISSEMENT
- La glace mouillée (0^[32^] et pluie verglaçante), la neige très froide ou la glace peut donc rée la route glissante et la conduite difficile. Dans ces conditions, l'adherence des pneus du vehicule est considérablement réduite. Évitez de rouler sur une route verglacée avant que du sable ou du sel d'épandage n'ait été repandu.
- Peu imports the conditions, conduisez prudemment. Accélérez et ralentissez en douceur. Si vous accélérez trop rapidement, l'adherence des roues motrices sera réduite davantage.
- Dans ces conditions, prévoyez une distance d'arrêt plus longue et commencez à freiner plus tout que sur une chaussée seche.
-
Sur des chaussées glissantes, maintenance une plus grande distance entre votre vehicule et celui qui leprecede.
-
Faites preuve de vigilance lorsque vous conduisiez sur une route couverte de plaques de glace. Meme les routes qui semble dégagées peuvent être parsemées de plaques de glace aux endroits ombragés. Si tel est le cas, freinez avant de rouler sur la plaque. Ne freinez pas sur la glace et évitez les coupes de volant.
- N'utilise pas le régulateur de vitesses lorsque le vehicule roule sur une chaussée glissante.
OUVERTURE D'UN COUVERCLE DE PORT DE CHARGE GELÉ
Lorsque le port de charge est gelé, faites fondre la glace en utilisant un séchecheveux.
FREIN DE STATIONNEMENT

MISE EN GARDE
Lorsque you stationnez le vehicule dans un endroit ou la temperture exterieure est inférieure a 0 C (32 F), ne serrez pas le frein de stationnement pour éviter son gel.
Pour stationner votre vehicule en toute sécurité, placez le levier selecteur en position P (stationnement) et bloquez les roues.
REMARQUES
6 En cas d'urgence
Interrupteur des feu de détresse. 6-2
Programme d'assistance routière. 6-2
Arrêt d'urgence du vehicule électrique. 6-3
Pneu à plat. 6-3
Système de surveillance de la pression des
pneus .6-3
Réparation d'un pneu creve. 6-5
Demarrage d'appoint 6-12
Si la batterie au lithium-ion se décharge
completement. 6-14
Demarrage en poussant 6-15
Remorquage de votre vehicule . . . . . . . . . . . . . . . . . . . . . . . . . . . . . . . . . . . . . . . . . . . . . . . . . . . . . . . . . . . . . . . . . . . . . . . . . . . . . . . . . . . .
Méthodes de remorquage recommendées par
NISSAN 6-17
Dégagement d'un vehicule immobilisé
(dégagement d'un vehicule enlisé). 6-18
INTERRUPTEUR DES FEUX DE DÉTRESSE

Appuyez sur cet interrupteur pour signaler aux conducteurs des autres vehicules votre intention d'immobiliser ou de stationner d'urgenceYOURVehicule.Tous les cliqnants clignotent.

AVERTISSEMENT
- Si vous doivent arrêter en cas d'urgence, stationnez le vehicule aussi loin que possible de la route.
- N'actionnez pas les feuels de détresse lorsque vous roulez sur l'autoroute, à moins que des circonstances inhabituelles ne vous forcent à conduirer toute vehicule à une vitesse très basse qui pourrait se révêler dangereuse pour les autres automobilistes.
- Les clignotants ne fonctionnent pas lorsqu'les feu des dettes sont activés.
Vous pouvez actionner les yeux de détrresse au moyen du commutateur principal, peu importe la position.
Les bois de certaines régions interdisent l'utilisation des最好的 détresse lorsque le vehicule est en mouvement.
PROGRAMME D'ASSISTANCE ROUTIQUE
En cas d'urgence, le service de dépannage est disponible. Pour obtenir des renseignements supplémentaires, consultez le Livret de renseignements sur la garantie (États-Unis) ou le Livret de renseignements sur la garantie et le service de dépannage (Canada).
ARRÉT D'URGENCE DU VÉHICULE ÉLECTRIQUE
Pour arrêté le système de vehicule electrique en cas d'urgence lors de la conduite, exécutez la procédure suivante.
Appuyez rapidement sur le commutateur principal trois fois consécutives en moins d'une seconde et demie; ou
- maintenez le commutateur principal en foncé pendant plus de deux secondes.
PNEUÀPLAT
SYSTEME DE SURVEILLANCE DE LA PRESSION DES PNEUS
Ce vehicule est muni du système de surveillance de la pression des pneus. Il surveille la pression de gonflage de tous les pneus. Lorsque le témoin d'ajretissement de basse pression des pneus est allumé et l'ajretissement « Pression de pneu. Ajouter air » s'affiche à l'affichage multifonction, un ou plusieurs de vos pneus sont insuffisamment gonflés. Si la pression d'un pneu est basse lorsque le vehicule roule, le système de surveillance de la pression des pneus entre en fonction et vous signale cet état au moyen du témoin d'ajretissement de basse pression des pneus. Ce système ne s'active que si la vitesse du vehicule dépasse 25 km/h (16 mi/h). Pour obtenir des renseignements supplémentaires à ce su-jet, consultez la section « Témoins et rappels sonores » du chapitre « Commandes et instruments » et la section « Système de surveillance de la pression des pneus » du chapitre « Démarriage et conduite » du pré-sent manuel.

AVERTISSEMENT
- Les ondes radioélectriques peuvent nuiré au fonctionnement des apparreils médicaux électriques. Les personnes qui portent un stimulator cardiaque doivent communiquer avec le fabricant de l'appareil Médicinal électrique pour connaître les interférences possibles avant l'utilisation.
Si le témoin d'advertisement de basse pression des pneus s'allume pendant la conduite, évitez tout braquage ou freinage brusque, ralentissez, dirigez-vous vers un endroit sécuritaire et immobilisez le vehicule dés que possible. La conduite avec un pneu insuffisamment gonflé peut causeer des dommages permanents au pneu et augmente la probabilité de défaillance du pneu. Notre vehicule pourrait subir des dommages importants et vous pourriez avoir un accident entraînant des blessures graves. Vérifiez la pression de tous les pneus. Effectuez un réglage de pression À FROID, tel que spécifique sur l'étiquette des pneus, pour désactiver le témoin d'advertisement de basse pression. Si, après avoir régèle la pression des pneus, le témoin demeure allumépendant la conduite, il se peut qu'un des pneus soit creve. Si l'un de vos pneus est creve, réparez-le dés que possible.
Lors du remplacement d'une roue qui n'est pas equipée d'un système de surveillance de la pression des pneus, comme la roue de secours, le système de surveillance de la pression des pneus ne sera plus fonctionnel et le témoin de basse pression des pneus clignotera pendant environ une minute. Le témoin demeure allumé après une minute. Faites replacer vos pneus ou réinitialiser le système de surveillance de la pression des pneus dés que possible. Nous vous recommendons de vous rendre chez un concessionnaire NISSAN LEAF certifié pour ces entretiens.
L'utilisation de pneus de remplacement autres que ceux précisés par NiSSAN peut nuir au fonctionnement du système de surveillance de la pression des pneus.
-
Le produit d'obturation de secours pour pneus NISSAN d'origine ou son équivalent peut être utilisé pour réparer temporairement un pneu. N'injectezaucunautreproduitt'étanchéitépourpneu,liquideou en aérosol,danslespneus.Le fonctionnement des capteurs de pression des pneus pourrait s'en trouver compromis.
-
NISSAN recommende l'utilisation exclusive du produit d'obturation de secours pour pneus NISSAN d'origine fourni avec votre vehicule. Les autres produits d'obturation pour pneus peuvent endommager le joint de la tige de soupape qui pourrait provoquer une perte de pression du pneu. Nous vous recommendons de vous rendre chez un concessionnaire NISSAN LEAF certifié le plus tout possible après avoir utilisé le produit d'obturation de secours pour pneus (pour les modèles équipés de la trousse de secours pour crevaisons).
RéPARATION D'UN PNEU CREVÉ

AVERTISSEMENT
- Àprous l'utilisation du produit d'obturation de secours pour pneus pour réparer une crevaison mineure, ne conduisiez pas le vehicule à une vitesse supérieure à 80 km/h (50 mi/h).
-
Immediatement après avoir utilisé le produit d'obturation de secours pour pneus pour réparer une crevaison mineure, nous vous recommendons de vous rendre chez un concessionnaire NISSAN LEAF certifié. Le produit d'obturation de secours pour pneus ne peut sceller en permanence un pneu creve. La conduite continue du vehicule sans une réparation permanente du pneu peut entraîner une collision.
-
Si vous avez utilisé le produit d'obturation de secours pour pneus pour réparer une crevaison mineure, nous vous recommendons de vous rendre chez un concessionnaire NISSAN LEAF certifié pour remplacer le captein du système de surveillance de la pression des pneus en plus de réparer ou de remplacer le pneu.
- NISSAN recommende l'utilisation exclusive du produit d'obturation de secours pour pneus d'origine NISSAN fourni avec votre vehicule. Les autres produits d'obturation pour pneus peuvent endommager le joint de la tige de soupape qui pourrait provoquer une perte de pression du pneu.
Ce vehicule n'est pas muni d'un pneu de secours. La trousse de secours pour crevaisons (produit d'obturation de secours pour pneus) est fournie avec le vehicule à la place d'une roue de secours. Elle peut être utilisée pour les réparations temporaires de crevaisons mineures.
Si possible, faites remorquer le vehicule jusqu'à un établissement qui peut réparer ou replacer le pneu creve. L'utilisation de la trousse de secours pour crevaisons peut causer une anomalie des capteurs de pression des pneus et entraîner l'allumage du témoin d'avertissement de basse pression des pneus.

MISE EN GARDE
Pour éviter d'endommager la trousse de secours pour crevaisons durant l'entreposage ou l'utilisation:
- Utilisez uniquement la trousse de secours pour crevaisons sur votre vehicule. Ne l'utilisez pas sur les autres vehicules.
- Utilisez uniquement la trousse pour gonfler les pneus de votre vehicule et pour vérifier la pression des pneus du vehicule.
- Branchez le compresseur uniquement dans une prise de courant de 12 V c.c. du vehicule.
-
Maintenez la trousse propre et au sec.
-
Ne démontez pas la trousse et ne tentez pas de la modifier.
-
Ne laissez pas tomber la trousse sur le sol et évite de l'exposer aux chocs directs.
-
N'utilise pas la trousse de secours pour crevaisons dans les conditions suivantes. Nous vous recommendons de vous rendre chez un concessionnaire certifié NISSAN LEAF ou un service de dépannage professionnel :
-
Lorsque la date de péremption du produit d'obturation est dépasse (affichée sur l'étiquette apposse sur la bouteille);
- lorsque la fissure ou la crevaison est d'au moins 6 mm (0,25 po) environ;
- Lorsque le flanc du pneu est endommagé;
- Lorsque le vehicule a ete conduit avec la pression des pneus extratementasse;
-
lorsque le pneu se détache de l'intérieur ou de l'extérieur de la roue;
-
Lorsque la roue de pneu est endommagée;
- Lorsqu'au moins deux pneus sont à plat.
Si l'un de vos pneus est creve,procédez aux étapes décrites ci-après.
Immobilisation du vehicule
- Déplacez votre vehicule en cordure de la route lorsqu'il est prudent de le faire et immobilisez-le aussi loin que possible de la circulation.
- Allumez les frais de détresse de votre vehicule.
- Stationnez votre vehicule sur une surface plane et serrez le frein de stationnement.
- Appuyez sur le commutateur de position P (stationnement) du levier selec-teur à la position P (stationnement).
-
Mettez hors fonction le système de vehicule electrique.
-
Ouvrez le capot pour signaler votre présence aux autres conducteurs et indiquer au service de dépannage que vous avoir besoin d'aide.
- Demandez à tous les occupants de descendre du vehicule et de se tener dans un endroit sur, à l'écart de la circulation et du vehicule.

AVERTISSEMENT
Assurez-vous que le frein de stationnement est bien serré et que le vehicule est placé en position P (stationnement).
- Ne réparedez jamais de pneus lorsqué le vehicule se trouve sur une pente, une surface recouverte de glace ou une chaussée glissante. Ceci est dangereux.
- Ne répAREz jamais de pneus si vous vehicule se trouve à proximé de la circulation. Attendez qu'on viennent vous dépanner.

Retrait de la trousse de secours pour crevaisons
Retirez la trousse de secours pour crevaïsons située dans l'aire de chargement. La trousse contient les articles suivants :
① Bouteille de produit d'obturation pour pneus
(2) Compresseur d'air*
③ Autocollant de limitation de vitesse
- La forme du compresseur dépend des modèles.
Avant l'utilisation de la trousse de secours pour crevaisons
- Si un objet étranger (par exemple, une vis ou un clou) est enforcé dans le pneu, ne le retirez pas.
- Verifiez la date de péremption du produit d'obturation (indiquée sur l'étiquette apposée sur la bouteille). N'utilise jamais un produit d'obturation dont la date de péremption est dépassée.
Réparation du pneu :

AVERTISSEMENT
Observe les précautions suivantes lorsqu vous utilisez le composé de réparation de pneu.
- Avaler le compose est dangereux. Buvez immédiatement autant d'eau que possible et consultez sans tarder un médecin.
-
Si le compose entre en contact avec la peau ou les yeux, rincez abondament la partie touchée à l'eau. Sil l'irritation persiste, consultez sans tarder un médecin.
-
Gardez le compose à réparation hors de la portée des enfants.
- Le compose de réparation de sé-cours peut cause une anomalie des capteurs de pression des pneus et entrainer l'allumage du témoin d'avertissement de basse pression des pneus. Faites replacer le cap-teur de pression des pneus aussitôt que possible.

- Retirez l'autocollant de limitation de vitesse sur le compresseur d'air et apposez-le à un emplacement visible pour le conducteur.

MISE EN GARDE
Ne mettez pas l'étiquette de limitation de vitesse sur le rembourse du volant, l'indicateur de vitesse ou les mémoins.


-
Retirez le flexible ① et la fiche d'alimentation ② du compréseur d'air. Retirez le capuchon du porte-bouteille du compréseur d'air.
-
Retirez le bouchon de la bouteille du produit d'obturation pour pneus. Gardez le joint d'étanchéité de la bouteille intact. Vissez la bouteille dans le sens horsaire sur le porte-bouteille pour transpercer le joint d'étanchéité de la bouteille.

- Retirez le capuchon de la soupape de pneu sur le pneu creve.
- Retirez le capuchon protecteur A du flexible et vissez le flexible solidement sur la soupape de pneu. Assurez-vous que le clapet de décharge E est bien serré. Assurez-vous que le commutateur du compresseur d'air est à la position O (HORS FONCTION), puis insérez la fiche d'alimentation dans la prise de courant du vehicule.

- Appuyez sur le commutateur principal à la position ACC (accessoires). Tournez ensuite le commutateur du compréseur à la position ON (marche) (-), puis gonflez le pneu jusqu'à la pression indiquée sur l'étiquette de renseignements relatifs aux pneus et à la charge appossee sur le pied milieu du côte conduc-teur, si possible, ou jusqu'à la valeur minimale de 180 kPa (26 lb/po²). Mettez brièvement le compréseur d'air hors fonction pour vérifier la pression du pneu au moyen du manomètre.

Si le pneu est gonfle à une pression plus elevée que celle prescrite, réduisez la pression en expulsant l'air au moyen du clapet de décharge.
REMARQUE :
Le manomètre de compresseur peut afficher une pression de 600 kPa (87lb / po^2) pendant environ 30 secondes lors du gonflage du pneu. Le manomètre indique la pression à l'intérieur de la bouteille du produit d'obturation. Lorsque le produit d'obturation a eté injecté dans le pneu, la valeur indiquée sur le manomètre diminue et la valeur de la pression des pneus actuelle s'affiche.

AVERTISSEMENT
Pour éviter de graves blessures lors de l'utilisation de la trousse de secours pour crevaisons:
- Serrez solidement le flexible de compréseur à la soupape de pneu. Autrement, le produit d'obturation pourrait s'éclabousser dans l'air et entraîr en contact avec vos yeux ou votre peau.
- Ne vous tenez pasABOUT directement à côté du pneu endommagé lorsqu'vous le gonflez,car il risque d'éclater. Si des fissures ou des bosses sont presents, mettez immédiatement le compresseur hors fonction.
Si la pression des pneus n'augmente pas jusqu'à 180 kPa (26 lb/po²) dans les dix minutes, le pneu pourrait être gravement endommagé et il ne peut pas être réparé au moyen de cette trousse de secours pour crevaisons. Nous vous recommendons de visiter un concessionnaire NISSAN LEAF certifié.
- Lorsque la pression des pneus est à la valeur prescrite, mettez le compresseur hors fonction. Si le pneu ne peut pas être gonfle à la valeur prescrite, le comprisseur d'air peut être mis hors fonction à la valeur minimale de 180 kPa (26 lb/po²). Retirez la fiche d'alimentation de la prise de courant et enlevez rapidement le flexible de la soupape de pneu. Installez le capuchon protecteur et le capuchon
de soupape. Rangez de façon appropriée la trousse de secours pour crevaïsons dans l'espace à bagages.

MISE EN GARDE
Pour éviter des blessures graves lors que vous rangez la trousse de secours pour crevaisons:
-
Gardez la bouteille du produit d'obturation vissee dans le compresseur. Autrement, le produit d'obturation pourrait s'élabousser dans l'air et entraire en contact avec vos yeux ou votre peau.
-
Conduisez immédiatement le vehicule pendant 10 minutes ou 3 km (2 mi) à une vitesse inférieure à 80 km/h (50 mi/h).
- ÀpRES la conduite, assurez-vous que le commutateur du compresseur d'air est à la position O (HORS FONCTION), puis vissez solidement le flexible sur la soupape de pneu. Vérifiez la pression des pneus au moyen du manomètre. La réparation-temporaire est terminée si la pression des pneus ne baisse pas.
Assurez-vous que la pression est reglee à la pression prescrite sur l'etiquette de renseignements relatifs aux pneus et à la charge avant la conduite.
- Si la pression des pneus baisse, repétez les étapes de 5 à 9. Si la pression baisse de nouveau ou baisse sous 130 kPa (19 lb/po²), le pneu ne peut pas être réparé au moyen de la trousse de secours pour crevaisons. Si le conducteur ne peut pas réparer le pneu, il doit cesser immédiatement de rouler à l'aide de ce pneu. Le vehicule doit être remorqué chez le concessionnaire le plus proche.
La bouteille du produit d'obturation et le flexible ne peuvent pas etre réutilisés pour réparer un autre pneu creve. Nous vous recommendons de visiter un concessionnaire NISSAN LEAF certifié pour vous procurer des pieces de rechange.
Après la réparation du pneu :
Nous vous recommendons de vous rendre chez un concessionnaire NISSAN LEAF certifié pour réparer ou remplacer le pau dés que possible.

AVERTISSEMENT
- Àprous l'utilisation du produit d'obturation de secours pour pneus pour réparer une crevaison mineure, ne conduisiez pas le vehicule à une vitesse supérieure à 80 km/h (50 mi/h).
- Immediatement après avoir utilisé le produit d'obturation de secours pour pneus pour réparer une crevaison mineure, nous vous recommendons de vous rendre chez un concessionnaire NiSSAN LEAF certifié. Le produit d'obturation de secours pour pneus ne peut sceller en permanence un pneu creve. La conduite continue du vehicule sans une réparation permanente du pneu peut entraîner une collision.
-
N'injectez aucun produit d'étanchéité pour pneu, liquide ou en aérosol, dans les pneus. Le fonctionnement des capteurs de pression des pneus pourrait s'entrouver compromis.
-
Si vous avez utilisé le produit d'obturation de secours pour pneus pour réparer une crevaison mineure, nous vous recommendons de vous rendre chez un concessionnaire NiSSAN LEAF certifié pour replacer le captein du système de surveillance de la pression des pneus en plus de réparer ou de replacer le pneu.
- NISSAN recommende l'utilisation exclusive du produit d'obturation de secours pour pneus d'origine NISSAN fourni avec votre vehicule. Les autres produits d'obturation pour pneus peuvent endommager le joint de la tige de soupape qui pourrait provoquer une perte de pression du pneu.
DÉMARRAGE D'APPOINT
Les directives et les précautions ci-dessous doivent être observées pour faire démarrer le système de vehicule électrique au moyen d'une batterie d'appoint.
Le démarrage d'appoint fournit l'alimentation au circuit de 12 V pour permettre le fonctionnement des circuits électriques. Les circuits électriques doivent fonctionner pour permettre la recharge de la batterie Li-ion. La batterie Li-ion n'est pas rechargée par un démarrage d'appoint. La batterie au lithium-ion doit être chargée avant de pouvoir conduire le vehicule.

AVERTISSEMENT
- Un démarrage d'appoint qui n'est pas effectué correctement peut faire exposer la batterie de 12 V et causer des blessures graves ou mortelles. Voitre vehicule pourrait également être endommagé.
-
La batterie de 12 V dégage en permanence de l'hydrogène, qui est un gaz explosif. N'approche pas d'étincelles ni de flammes de la batterie de 12 V.
-
Évitez tout contact d'électrolyte avec les yeux, la peau, les vêtements ou les surfaces peintes. L'électrolyte est une solution d'acide sulfurique corrosive qui peut cause de graves brûlures. Si de l'électrolyte entre en contact avec un des éléments mentionnés précédemment, rincez immédiatement à l'eau la zone touche.
- Gardez la batterie de 12 V hors de la portée des enfants.
- La tension nominale de la batterie d'appoint doit être de 12 V. L'utilisation d'une batterie de voltage différent peut endomager votre vehicule.
-
Portez toujours des lunettes de sécurité (par exemple, des lunettes étanches ou des lunettes de protection industrielles) et enlevez vos bagues, bracelets métalliques et autres bijoux lorsque vous effectuez une intervention sur la batterie de 12 V ou à proximé de celle-ci. Ne vous penchez pas au-dessus de la batterie de 12 V lors d'un démarrage à l'aide d'une batterie d'appoint.
-
Net tentez pas d'effectuer un démarriage d'appoint lorsque votre batterie est gelée. Celle-ci pourrait explposer et causer des blessures graves.
- Voiture vehicule est équipé d'un ventilateur de refroidissement automatique. Celui-ci peut entraer en fonction en tout temps. Eloignez-en vos mains ainsi que tout autre objet.

AVERTISSEMENT
- Suivez toujours les instructions cédessous. Autrement, vous risquez d'endommager le convertisseur continu-continu et de provoquer des blessures.
- Ne tentez pas d'executer un démarriage d'appoint sur la batterie de 12 V en même temps que la batterie au lithium-ion est en cours de chargement. Autrement, vous risquez d'endommager le vehicule ou l'équipment de charge, ce qui pourrait provoquer des blessures.

MISE EN GARDE
La LEAF ne peut pas etre utiliser comme un vehicule d'appoint, car elle ne peut pas fournir suffisamment d'énergie pour demarrer un vehicule muni d'un moteur à essence. Toutefois, vous pouvez utiliser un vehicule muni d'un moteur à essence pour effector un demarrage d'appoint de la batterie de 12 V de la LEAF.

- Si la batterie d'appoint se trouve dans un autre vehicule B, placez les deux vehicules A et B de façon a ce que les batteries de 12 V soient a proximite l'une de I'autre.
Veillez toutefois à ce que les vehicules ne se touchent pas.
- Serrez le frein de stationnement.
Si la batterie de 12 V est décharge, le commutateur principal ne peut pas être déplace de la position OFF (hors fonction). Branchez les cables volants sur le vehicule d'appoint ⑧ avant d'appuyer sur le commutateur principal.
- Appuyez sur le commutateur de position P (stationnement) pour placer le vehicule en position P (stationnement).
- Mettez hors tension tous les dispositifs électriques non essentiels (phares, dispositif de chauffage, climatisationur, etc.).
- Placez le commutateur principal à la position OFF (hors fonction).
- Assurez-vous que les bouchons d'aération soient de niveau et bien serrés.
- Branchez les câbles volants dans la série illustrée (① → ② → ③ → ④).

MISE EN GARDE
-
Branchez toujours la borne positive (+) sur la borne positive (+) et la borne négative (-) sur la masse de la carrosserie (par exemple, comme illustré), et non pas sur la batterie de 12 V.
Assurez-vous que les câbles volants n'entrent pas en contact avec les pièces mobiles du compartment moteur et que les cosses des câbles ne touchent aucune autre pièce métallique. -
Demarrez le moteur du vehicule d'appoint ⑧.
- Pendant que le moteur du vehicule d'appoint ⑧ est en marche, placez le système de vehicule electrique dans la position PRET À DEMARRER.

MISE EN GARDE
Si le système ne démarre pas tout de suite, enforcez le commutateur principal à la position OFF et attendez dix secondes avant d'essayer de nouveau.
- ÀpRES le démarrage du système de vehicule électrique, débranchez prudement le cable négatif, puis le cable positif ( 4 → 3 → 2 → 1) et restez en position PRÉT À DEMARRER pendant plus de 20 minutes pour charger la batterie de 12 V.
- Au besoin, branchez le vehicule sur un poste de chargement ou sur un cable EVSE (accessoire pour vehicule électrique) pour charger la batterie Li-ion. Pour obtenir des renseignements supplémentaires, consultez le chapitre « Chargement ». Vous ne pouvez pas conduire le vehicule jusqu'à ce que la batterie au lithium-ion soit chargee.
REMARQUE:
S'il n'est pas possible demettre le systeme SOUS TENSION en executant cette procedure, nous vous recommandons de visiter immédiatement un concessionnaire certifié NISSAN LEAF.
SI LA BATTERIE AU LITHIUM-ION SE DÉCHARGE COMPLÉTEMENT
Si le témoin de limitation de puissance s'allume, la puissance du moteur de traction est limitée, ce qui réduit la vitesse du vehicule. Arrêtez le vehicule dans un endroit sécuritaire avant que la batterie au lithium-ion ne soit complètement décharge et qu'il n'y ait aucune énergie pour conduire le vehicule. Communique avec l'assistance routière; consultez votre Livret de renseignements sur la garantie NISSAN.
Si possible, placez le commutateur principal à la position OFF (hors fonction) lorsque vous attendez l'assistance pour éviter la décharge de la batterie de 12 V.
REMARQUE:
Si la batterie au lithium-ion se décharge complètement :
Le vehicule est automatiquement placé en position ON (marche) et il ne sera pas possible de passer à la position READY (préts demarrer).
Le vehiculeonne automatique la position N (point mort) et il ne sera pas possible de conduire le vehicule.

AVERTISSEMENT
Si le vehicule est en position N (point mort) et que la batterie au lithium-ion ainsi que la batterie de 12 V sont complètement déchargées, le vehicule ne peut pas être place en position P (stationnement). Dans ce cas, place des cales appropriées à l'avant et à l'arrière d'une roue pour empêcher le vehicule de se déplacer. Si des cales ne sont pas installées, le vehicule risque de se déplacer inopinement, ce qui pourrait entraîner des blessures graves ou mortelles.
PourmettrelevehiculeenpositionREADY (pretademarrer)afindepuvoir le conduire,chargezla batterieau lithium-ion jusqu'acce que l'autonomieau tableau debordpasse de 一 - 一 »aune distance numérique.
REMARQUE:
- Certaines vibrations peuvent se produit lorsque le vehicule s'immobilise au cas où la batterie au lithium-ion se décharge complètement. Il nés 'agit pas d'un mauvais fonctionnement du système.
Si la batterie au lithium-ion est complètement déchargée, il est nécessaire de la charger jusqu'à ce que le témoin de charge faible de la batterie passé du jaune (allumé) au blanc (étéint).
DÉMARRAGE EN POUSSANT
Ne tentez pas de démarrer le système en poussant le vehicule.

MISE EN GARDE
Un vehicule electrique ne peut pas etre demarré en le poussant ou en le tirant. Cela pourrait endommager le moteur de traction.
REMORQUAGE DE VOTRE VEHICULE
Lors du remorquage de votre vehicule, veillez à ce que toutes les reglementations en vigueur dans la province (ou l'Etat, aux États-Unis) soient respectées. L'utilisation d'équipmentment de remorquage inadéquat pourrait endommager votre vehicule. Vous pouvez obtenir des directives relatives au remorquage auprès d'un concessionnaire NISSAN LEAF certifié. Le personnel des services de remorquage locaux connait bien les lois et les procédures relatives au remorquage. NISSAN vous recommende de faire appel à un service de remorquage pour vous assurer que le remorquage est effectué ajustement et pour éviter d'endommager votre vehicule. Il est conseilé de demander au responsable du service de remorquage de dire attentivement les précautions suivantes.

AVERTISSEMENT
- Ne voyagez jamais dans un vehicule qui est remorqué.
- Ne vous glissez jamais sous un vehicule soulevé par une dépanneuse.

MISE EN GARDE
- Au moment du remorquage, assurez-vous que les essieux, la direction et le groupe motopropulseur sont en bon état de fonctionnement. Si une de ces unités est endommagée, vous nevez utiliser des chariots de remorquage.
- Installez toujours des chaînes de sécurité avant le remorquage.
Pour obtenir des renseignements supplémentaires concernant le remorquage de votre vehicule derrière un vehicule récréatif, consultez la section « Remorquage à plat » du chapitre « Données techniques et information au consommateur » du présent manuel.






MÉTHODES DE REMORQUAGE RECOMMANDÉES PAR NISSAN
NISSAN recommende de faire remorquer.
votre vehicule avec les roues motrices (avant) soulevees du sol ou sur un camionplateau, tel qu'illustré.

MISE EN GARDE
- Ne remorquez jamais le vehicule avec les roues avant au sol ou les quatre roues au sol (que le vehicule soit remorqué par l'avant ou par l'arrière), car vous risqueriez d'endom-mager gravement le moteur, ce qui occasionnerait des réparations cou-teuses.
- Pendant le remorquage du vehicule avec les roues arrêté au sol (si vous n'utilise pas de chariot de remorquage): desserrez toujours le frein de stationnement.
REMARQUE:
Si vous ne pouvez pas déplacer le vehicule car ce dernier ne peut pas passer en position N (point mort), consultez le guide d'assistance routière LEAF situé à l'adresse www.NISSANUSA.com. Si vous ne pouvez pas déplacer le vehicule car le frein de stationnement ne peut pas être desserré, consultez la section « Frein de stationnement » dans le chapitre « Démarriage et conduite » duprésent manuel.
DEGAGEMENT D'UN VÉHICULE
IMMOBILISE (DEGAGEMENT D'UN VÉHICULE ENLISE)

AVERTISSEMENT
Pour éviter d'endommager le vehicule et de provoquer des blessures graves ou mortelles en dégageant un vehicule enlisé :
- Adressez-vous à un service de dépannage professionnel pour dégérer le vehicule si vous avez le moins doute quant à la marche à suivre.
- Vous pouvez installer des chaînes ou des cables de remorquage seulement sur les éléments de la structure principale de votre vehicule.
- N'utilise pas les crochets d'arrimage du vehicule pour le dégager ou le remorquer.
Utilisez uniquement des dispositifs spécifique conçus pour le Dégagement d'un vehicule immobilisé et suivez les instructions du fabricant. -
Tirez toujours sur le dispositif de dégagement droit vers l'extérieur à l'avant du vehicule. Ne le tirez jamais en diagonale.
-
DisPOSEz le dispositif de dégagement de manière à ce qu'il ne touche aucune partie du vehicule autre que le point de fixation.
Si vous véchicule est enlisé dans le sable, la neige, la boue, etc., utilisez une sangle de remorquage ou un autre dispositif précisément concu pour le dégagement d'un vignicule immobilisé. Suivez toujours les instructions du fabricant du dispositif de dégagement.
Manoeuvre de va-et-vient pour dégager un vehicule enlisé
Si le vehicule est enlisé dans le sable, la neige, la boue, etc., essayez de le dégager en effectuant les étapes suivantes.
- Désactive le système de contrôle dynamique du vehicule.
- Assurez-vous que rien ni personne ne se trouve devant ou derrière votre vehicule.
-
Tournez le volant vers la gauche et vers la droite pour dégager la zone entourant les pneus avant.
-
Procedez à une manoeuvre de va-ét-vient avec votre vehicule.
-
Alternnez entre les positions R (marche arrière) et D (marche avant).
- Appuyez sur l'accelerateur juste assez pour maintainir le mouvement de va-et-vient.
- Relâchéz l'accélérateur avant d'alternier entre les positions R (marche arrêté) et D (marche avant).
-
Ne faites pas patiner les roues à plus de 55 km/h (35 mi/h).
-
Si, après quelques tentatives, vous n'arrivez pas à dégager votre vehicule, faites appel à un service de dépannage professionnel.
7 Aspect et entretien
Nettoyage des surfaces extérieures du vehicule .7-2
Lavage. 7-2
Cirage 7-3
Pour faire disparaitre les taches 7-3
Soubassement 7-3
Vitres. 7-3
Roues 7-3
Pièces chromées 7-4
Lubrifiant pour pneus 7-4
Nettoyage des surfaces interieures du vehicule . . .7-5
Désodorisants (assainisseur d'air). 7-5
Tapis .7-6
Ceintures de sécurité 7-7
Protection anticorrosion 7-8
Facteurs les plus courants contribuant à la corrosion d'un vehicule. .7-8
Facteurs environnementaux influencant la corrosion 7-8
Pour protégéurème vehicule contre la corrosion 7-8
NETTOYAGE DES SURFACESEXTÉRIÉURES DU VÉHICULE
Pour conserver l'aspect neuf de votre vehicule, vous devez en assurer l'entretien de façon appropriée.
Pour protégger les surfaces peintes, lavez votre vehicule dés que possible:
- après une averse, pour éviter des dommages potentiels causés par les pluies acides;
- après avoir conduit le long de la mer;
- lorsque des substances comme de la suie, des fuentes d'oiseau, de la sève d'arbre, des particules métalliques ou des insectes se déposent sur les surfaces peintes;
- lorsque de la poussière ou de la boue s'accumulent sur la carrosserie.
Dans la mesure du possible, stationnez-vous vehicule dans un garage ou un endroit couvert.
Si le vehicule doit etre stationné à l'extérieur, laissez-le à l'ombre ou recouvre-lesd'une housse pour le proteger.
Prenez soit de ne pas rayer les surfaces peintes en installerant ou en retardant la housse.
LAVAGE
Lavez le vehicule à grande eau avec une éponge humide. Lavez le vehicule soigneusement avec une solution d'eau propre et tiège (ja mais chaude) et de savon doux, de savon spécial pour automobile ou de détergent liquide pour la vaisse à usage domestique.

MISE EN GARDE
-
Ne désisissez pas un lave-auto qui utilise un détermgent contenant de l'acid. Certains lave-autos, surtout ceux qui sont dépourvus de brosses (sans contact), utilisent un détermgent contenant de l'acid. Les acides peuvent réagir au contact de certains composants en plastique du vehicule et provoquer des fissures. Ces fissures peuvent alterer l'aspect des composants et entraver leur fonctionnement. Demandez toujours au responsable du lave-auto si un détermgent contenant de l'acid est utilisé.
-
Ne lavez pas votre vehicule avec des produits d'entretien menager puisants, des déterments chimiques forts, de l'essence ou des solvants.
- Ne lavez pas votre vehicule en plein soleil ou lorsque la carrosserie est chaude, car en sechant, l'eau pourrait en tacher la surface.
- Évitez d'utiliser des chiffons doux ou rugueux, tels que les gants de la vage. Enlevez avec soin les plaques de boue ou autres corps étrangers pour éviter de rayer ou d'abimer les surfaces peintes du vehicule.
Rincez abondament le vehicule avec de l'eau propre.
Le sel d'epandage affecte particulièrement les rebords interieurs, les joints et les replis des portières, les charnières et le capot. Par conséquent, ces endroits doivent être lavés régulièrement. Assurez-vous que les orifices d'écoulement du bord inférieur des portières ne sont pas obstrués. Lavez au jet d'eau le dessous de la carrosserie et les passages de roue pour détacher les accumulations de boue et éliminer toute trace de sel d'epandage.
Évitez de laisser des taches d'eau sur la surface de peinture en utilisant un chamois humide pour secher le vehicule.
CIRAGE
Un cirage régulier protège les surfaces peintes et conserve l'aspect neuf du vehicule. Avant de réappliquer une cire, il est recommendé de polir les surfaces afin d'éliminer toute accumulation résiduelle de cire et pour donner un aspect lustré à la carrosserie.
Un concessionnaire NISSAN LEAF certifié peut vous aider àCHOISIR le produit approprié.
- Ne cirez votre vehicule qu'après l'avoir bien lavé. Suivez les directives fournies sur le contenant de cire.
- N'utilise pas de cire contenant des substances et composés abrasifs ou des agents nettoyants qui risquent d'endommager le fini de votre vehicule.
Un polissage à la machine ou un polissage trop prolongé sur un fini de peinture transparent peut ternir le fini ou y laisser des marques spiralées.
POUR FAIRE DISPARAÎTRE LES TACHES
Nettoyez les taches de goudron et d'huile, la poussière industrielle, les insectes et la sève d'arbreès que possible pour éviter des dommages irréversibles sur les surfaces peintes ou des traces indélébiles. Des produits de nettoyage spéciaux sont disponibles auprès d'un concessionnaire NISSAN LEAF certifié ou dans tout magasin d'accessoires automobiles.
SOUBASSEMENT
Dans les régions où du sel d'épandage est utilisé pendant l'hiver, le soubassage doit être lavé régulièrement pour empêcher l'accumulation de saletés et de Sel qui causerait la corrosion du soubassement et de la suspension. Avant le début de l'hiver et au printemps, vérifie la couche de protection inférieure et, au besoin, appliquez-en de nouveau.
VITRES
Utilisez du nettoie-vitres pour enlever la pellicule de saleté et de poussière qui s'est formée sur les vitres. Il est normal qu'une pellicule se forme lorsque le vehicule est stationné directement au soleil. L'utilisation de nettoie-vitres avec un chiffon doux éliminera rapidement cette pellicule.

MISE EN GARDE
N'utilise jamais d'outils acérés, de nettoyants abrasifs ou de désinfectants à base de chlore pour nettoyer la paroi interieure des glaces. Ils pourraient endommager les conducteurs électriques, les éléments de l'antenne radio ou ceux du dégivreur de lunette.
ROUES
Pour que les roues conservent un bel aspect, lavez-les lorsque vous lavez votre vehicule.
-
Nettoyez la face intérieure des roues lorsqu'elles sont retirees ou lorsque vous nettoyez le soubassement du vehicule.
-
Inspectez régulierement les jantes des roues à la recherche de bosses ou de traces de corrosion. De telles conditions pourraient entraîner une perte de pression ou une mauvaise étanchéité au niveau des talons de pneu.
- Si vous conduisiez dans des régions où du sel est repandu sur les routes durant l'îver, NISSAN vous recommende de cirer les roues de votre vehicule.

MISE EN GARDE
Ne lavez pas les roues avec des nettoyants abrasifs.
Roues en alliage d'aluminium (selon l'équipement)
Lavez les roues régulierrement à l'aide d'une éponge humectée dans une solution de savon doux, particulièrement en hiver, si vous habitez dans une région où du sel d'epandage est utilisé. S'ilns ne sont pas enlevés, les dépôts de sel d'épandage peuvent décolorer les roues.

MISE EN GARDE
Respectez les consignes suivantes pour éviter de tacher ou de décolorer les roues:
- Ne nettoyez pas les roues avec un produit de nettoyage à base d'acide fort ou d'alcali.
- N'applique pas de produit nettoyant sur les roues lorsqu'elles sont chaudes. Les roues doivent etre a la temperture ambiente.
- Rincez les roues à fond pour éliminer le produit nettoyant dans les 15 minutes suivant son application.
PIÉCES CHROMÉES
Nettoyez régulierement les pièces chromées avec un produit à polir pour chrome non abrasif pour préserver leur fini lustré.
LUBRIFIANT POUR PNEUS
NISSAN ne vous recommende pas d'utiliser des lubrifiants pour pneus. Les fabricants de pneus appliquent un enduit sur les pneus qui permet de réduire la décoloration du caoutchouc. Au cas où les pneus seraient lubrifiés, le lubricant pourrait réagir au contact de l'endet et former un com
posé chimique. Ce compose pourrait se décoller des pneus en cours de route et tacher le vehicule.
Si vous decide de lubrifier les pneus, prenez les précautions suivantes :
- Utilisez un lubrifiant pour pneus à base d'eau. L'endetuit des pneus se dissout plus facilement au contact d'un lubrifiant pour pneus à base d'eau.
- Appliquez une légere couche de lubrifiant pour pneus de façon à l'empêcher de péne trer dans la bande de roulement et les rainures des pneus (ou il serait difficile à enlever).
- Essuyez l'excess de lubrifiant à l'aide d'une serviette sèche. Assurez-vous d'enlever complètement le lubrifiant de la bande de roulement et des rainures des pneus.
Laissez le lubrifiant secher tel qu'indiqué par son fabricant.
NETTOYAGE DES SURFACES INTÉRIÉURES DU VÉHICULE
Utilisez occasionnellement un aspirateur ou une Brosse à soies douces pour dépoussierer les garnitures interieures, les pièces en plastique et les sièges. Essuyez les surfaces en vinyle et en cuir (selon l'équipement) avec un chiffon propre et préalablement humecté dans une solution de savon doux, puis essuyez-les avec un chiffon doux et sec.
Un entretien et un nettoyage réguliers pré-servent l'apparance du cuir (selon l'équipment).
Avant d'utiliser un produit protecteur pour tissus, liquez les recommendations du fabricant. Certains protecteurs pour tissus contiennent des produits chimiques qui peuvent tacher ou décolorer le tissu des sièges.
Utilisez un chiffon humecté uniquement d'eau pour nettoyer la vitre de protection des indicateurs de bord.

AVERTISSEMENT
N'utilise pas d'eau ou de produits acides (nettoyeurs à vapeur) sur le siège. Vous pourriez endommager le siège ou le capteur de classification du passager (capteur de poids). Ceci pourrait également nuir au fonctionnement du système de sacs gonflables et entrainer des blessures graves.

MISE EN GARDE
- N'utilisez jamais de benzène, de solvant ni aucun produit semblable.
- Les petites particules de saleté peuvent être abrasives et endommager les surfaces en cuir (selon l'équipment). Elles doivent donc être retiréesrapidement. N'utilise pas de savon pour le cuir, de cièr pour automobile, de produit à polir, d'huile, de nettoyant liquide, de solvant, de détermagent ou de nettoyant à base d'ammoniaque, car ils peuvent endommager le fini naturel du cuir.
-
N'utilisez jamais de produits destinés à protéger les tissus, à moins que leur utilisation ne soit recommandée par le fabricant.
-
N'utilisez pas de produits nettoyants pour le verre ou le plastique sur le verre protecteur des indicateurs et instruments de bord. Ces produits pouraient endommager le verre protecteur.
DÉSODORISANTS (ASSAINISSEUR D'AIR)
La plupart des désodorisants utilisent un dissolvant qui pourrait affecter l'intérieur de vehicule. Si vous utilisez un désodorisant, prenez les précautions suivantes:
- Les désodorisants suspendus peuvent cause une décoloration permanente s'ils entrent en contact avec les tissus ou autres surfaces du vehicule. Placez le désodorisant suspendu dans un endroit libre et sans contact avec les surfaces intérieures.
- Les désodorisants liquides adherènt d'habitude aux bouches d'aération. Ces produits peuvent endommager les surfaces et causer une décoloration immédiate en cas de déversement.
Suivez rigoureusement les directives du fabricant avant d'utiliser des désodorants.

TAPIS

AVERTISSEMENT
Pour éviter d'obstruer le mouvement de la pédale qui pourrait provoquer une collision et des blessures graves ou mortelles:
- Ne placez JAMAIS un tapis pardessus un autre tapis dans la position avant du conducteur ou ne les installez JAMAIS à l'envers ou du mauvais côté.
Utilisez seulement des tapis NISSAN d'origine ou des tapis équivalents, concus en particulier pour votre modèle de vehicule et son année.
- Placez correctement les tapis dans l'espace pour les jambes à l'aide du crochet de positionnement de tapis. Pour obtenir des renseignements supplémentaires, consultez la section « Installation du tapis » dans ce chapitre.
Assurez-vous que le tapis n'entrave pas le fonctionnement de la pédale.
- Vérifiez régulièrement les tapis pour vous assurer qu'ils sont correctement posés.
- Àprous le nettoyage de l'intérieur du vehicule, vérifiez les tapis pour vous assurer qu'ils sont correctement possés.
L'utilisation de tapis NISSAN d'origine peut contributor à dévelopir la moquette de votre vehicule en bon état et à facilititer le nettoyage de l'habitacle. Les tapis doivent être nettoyés régulièrement et replacés en cas d'usure excessive.
Pose de tapis
Votre vehicule est equipope de crochets de positionnement de tapis. Le nombre et la forme des crochets de positionnement de carbette pour chaque place varient selon le vehicule.
Lorsque you posez les tapis NISSAN d'origine, suivez les instructions d'installation fournies avec le tapis et les éléments suivants:
- Placez le tapis dans l'espace pour les jambes de sorte que les trous de I'eellet du tapis soient alignés avec les crochets.
- Fixez les trous de l'oeillet dans les crochets et assurez-vous que le tapis est bien placé.
- Assurez-vous que le tapis n'entrave pas le fonctionnement de la pédale. Lorsque le contact est COUPE, que le levier selecteur est à la position P (stationnement), offensez les pédales à fond, puis relâchéz-les. La carbette ne doit pas entraver le fonctionnement de la pédale ou empêcher que celle-ci revienne à sa position normale.
Nous vous recommendons de vous rendre chez un concessionnaire NISSAN LEAF certifié pour obtenir des détails relatifs à la pose des tapis dans votre vehicule.

Crochets de positionnement
L'illustration montre l'emplacement des crochets de positionnement de carbette.
CEINTURES DE SECURITE
Les ceintures de sécurité peuvent être nettoyées en les essuyant avec une éponge préalablement humectée dans une solution de savon doux. Laissez les ceintures de sécurité secher complètement à l'ombre avant de les utiliser.
Pour obtenir des renseignements supplémentaires, reportez-vous à la section « Ceintures de sécurité » du chapitre « Sécurité - Sièges, ceintures de sécurité et système de retenue supplémentaire » du pré-sent manuel.

AVERTISSEMENT
Ne laïsez pas les ceintures de sécurité se rétractor dans l'enrouleur si elles sont mouillées. N'applique JAMAIS d'agent de blanchiment, de teinture ou de solvant chimique pour nettoyer les ceintures de sécurité, car ces produits pourraient affaibir considérablement les sangles.
PROTECTION ANTICORROSION
FACTEURS LES PLUS COURANTS CONTRIBUANTÀ LA CORROSION D'UN VEHICULE
Accumulation de boue et de débris humides sur des sections des panneaux de la carrosserie, dans des cavités ainsi qu'à autres endroits du vehicule.
- Dommages à la peinture et aux autres enduits protecteurs causés par du gravier et des éclats de caillou ou des dommages consécutifs à des accrochages mineurs.
FACTEURS ENVIRONNEMENTAUX INFLUENÇANT LA CORROSION
Humidité
L'accumulation de sable, de boue et d'eau sur le soubassement du vehicule peut accelerer le processus de corrosion. Les revêtements de plancher humides ne sechorent pas complètement sils sont laissés dans le vehicule. Ils doivent donc être reliés pour facilitier leur séchage et éviter la formation de corrosion sur le plancher.
Humidité relative
La corrosion est accélérée dans les régions où l'humidité relative est élevée, surtout lorsque la température demeure audressus du point de congélation, en présence de pollution atmosphérique et où du sel d'épandage est utilisé.
Température
L'élevation de la température augmente la rapidité de la corrosion des pieces qui ne sont pas bien aérées.
Pollution atmosphérique
La pollution industrielle, la présence de sel dans l'air dans des régions côtières et l'utilisation massive de sel d'épandage accélérent le processus de corrosion. Le sel d'épandage accélére aussi la désagregation des surfaces peintes.
POUR PROTEGER VOTRE VÉHICULE CONTRE LA CORROSION
- Lavez et cirez fréquèment votre vehî-cule pour le garder propre.
- Examinez toujours le vehicule pour déceler tout dommage mineur à la peinture et effectuez les réparations nécessaires dés que possible.
- Évitez toute accumulation d'eau dans les portières en vous assurant que les trou s d'écoulement du bord inférieur des portières ne sont pas obstrués.
- Vérifiez le soubassement du vehicule pour y déceler toute accumulation de sable, de boue ou de sel. Le cas échéant, lavez-le à l'eau dés que possible.

MISE EN GARDE
- Ne vous servez JAMAIS d'un boyau d'arrosage pour enlever la poussière, le sable ou d'autres résidus de l'habitacle. Utilisez un aspirateur pour enlever la saleté.
- Ne laïsez pas les composants électroniques situés à l'intérieur du vehicule entre en contact avec de l'eau ou d'autres liquides risquant de les endommager.
Les produits chimiques utilisés pour déglacer les routes sont extrémement corrosifs. Ils accélèrent la corrosion et la déterminération des composants du soubassement, tels que les canalisations de frein, les câbles de frein, le plancher et les ailes.
En hiver, le soubassement doit etre laveregulierement.
Pour obtenir une protection supplémentaire contre la rouille et la corrosion, qui peut être nécessaire dans certaines régions, nous vous recommendons de communiquer avec un concessionnaire NISSAN LEAF certifié.
REMARQUES
8 Entretien et interventions du propriétaire
Exigences d'entretien 8-2
Entretien periodique. 8-2
Entretien general. 8-2
Ou aller lorsque des réparations sont nécessaires 8-2
Entretien général. 8-3
Explication des points d'intervention relatifs à l'entretien. 8-3
Précautions d'entretien. 8-6
Points de vérification dans le compartment
moteur 8-9
Circuit de refroidissement 8-10
Vérification du niveau de liquide de refroidissement 8-11
Vidange du liquide de refroidissement . . . . .8-11
Liquide d'engrenage de réduction 8-12
Liquide de frein. .8-12
Batterie de 12 V .8-14 Demarrage d'appoint .8-16
Balais d'essuie-glace. .8-16 Nettoyage. .8-16 Remplacement .8-16
Balai d'essuie-glace de lunette arrriere 8-19
Freins. 8-19
Signal d'avertissement des indicateurs d'usure de plaquettes de frein. .8-19
Fusibles 8-20
Phares antibrouillard (selon l'equipement) .8-27
Éclairage extérieur et interieur .8-28
Roues et pneus . 8-30
Pression des pneus . .8-30
Marquage des pneus . 8-35
Types de pneus 8-37
Chaines antidérapantes 8-38
Remplacement des roues et des pneus. . . .8-39
Trousse de secours pour crevaisons . . . . . .8-43
EXIGENCES D'ENTRETIEN
De par sa conception, votre nouveau vehicule NISSAN n'exige qu'un entretien minimal à des intervalles éloignés, ce qui vous permet de gagner du temps et d'économiser de l'argent. Toutefois, certaines vérifications quotidiennes et régulières sont nécessaires pour maintainir votre vehicule NISSAN en bon état mécanique et assurer un rendement optimal du système de vehicule électrique.
Vous ave la responsabilité, à titre de propriété du vehicule, de vous assurer que l'entretien général et l'entretien périodique de votre vehicule sont effectués.
En tant que propriété, vous étes la seule personne en mesure de vous assurer qu'un entretien ajustat de votre vehicule est effectué. Vous jouez donc un role crucial dans le processus d'entretien.
ENTRETIEN PÉRIODIQUE
Vous trouvrez une liste pratique des éléments d'entretien périodique facultatifs et obligatoires ainsi qu'une description de l'opération d'entretien correspondante dans votre exemplaire du « Guide du service et de l'entretien NISSAN » . Vous devez
consulter ce guide pour vous assurer que l'entretien nécessaire au bon fonctionnement de votre vehicule NISSAN est effectué à intervalles réguliers.
ENTRETIEN GÉNÉRAL
L'entretien général comprend les points d'intervention relatifs à l'utilisation courante. Ils sont essentiels au bon fonctionnement du vehicule. Vousdezestffectuer ces procedures d'entretien régulierement, tel que prescrit.
Des connaissances sommaires en mécanique et l'utilisation de quelques outils de mécanique automobile suffisent pour effctuer les vérifications d'entretien général.
Vous pouvez effectuer ces vérifications ou inspections vous-même, consulter un technicien qualifié ou vous rendre chez un concessionnaire NISSAN LEAF certifié.
OU ALLER LORSQUE DES RÉPARATIONS SONT NÉCESSAIRES
Si vous véchicule requiert un entretien ou s'il fonctionne mal, faites vérifier et réparer les systèmes concernés. Nous vous recom-mandons de vous rendre chez un concessionnaire NISSAN LEAF certifié pour ce service.
Les techniciens NISSAN sont des spécialistes qui recoivent une formation solide. Ils bénéficient en plus d'une formation continue au moyen de bulletins techniques, de conseils et de programmes de perfectionnement offerts par les concessionnaires. Ils sont pleinement formés pour procéder à des interventions sur les vehicules NISSAN avant de commencer les travaux.
Le service après-vente des concessionnaires NiSSAN LEAF certifié accomplit le meilleur travail possible pour satisfaire aux exigences d'entretien de votre vehicule - economiement et en toute fiabilité.
ENTRETIERGÉNÉRAL
Tel que prescrit dans le present chapitre, un entretien général de votre vehicule doit être effectué régulièrement lorsque vous l'utilise normalement. Si vous détecez des odeurs, des vibrations ou des bruits inhabituels, recherchez la source du problème ou rendez-vous chez un concessionnaire NISSAN LEAF certifié pour y faire vérifier votre vehicule dans les plus brefs déliés. En outre, nous vous recommendons de vous rendre chez un concessionnaire NISSAN LEAF certifié si vous croyez qu'une réparation est nécessaire.
Lorsque you nevez effectuer des vérifications ou des interventions sur votre vehicule, consultez la section « Précautions d'entretien » dans le present chapitre.
EXPLICATION DES POINTS D'INTERVENTION RELATIFS À L'ENTRETIEN
Des détails supplémentaires sur les points d'intervention marqués d'un astérisque sont fournis dans le present chapitre.
À l'extérieur du vehicule
Les points d'interventionénémerés ici doivent être vérifiés de temps à autre, à moins d'indication contraire.
Portières et capot moteur: Assurez-vous que toutes les portières et le capot moteur fonctionnent correctement. Assurez-vous également que toutes les serrures se verruillonient correctement. Lubrifiez les charrières, les loquets, les goupilles de verrouillage, les rouleaux et les biellettes au besoin. Assurez-vous que le loquet secondaire Maintain le capot fermé lorsque le loquet principal est dégagé.
Vérifiez frequentlyment la lubrication de ces éléments si vous conduisez sur des routes sur lesquelles du sel et d'autres matières corrosives ont été repandus.
Phares*: Nettoyez les phares régulièrement. Assurez-vous que les phares, les feu d'arrêt, les feuux arrêt, les clignotants et les autres feuux fonctionnement correctement et qu'ils sont fixés solidement. Vérifiez la convergence des phares.
Écrous de roue*: Assurez-vous que tous les écrous de roue sont en place et qu'ils sont bien serrés lors de la verification des pneus. Serrez-les au besoin.
Permutation des pneus*: Une permutation des pneus doit être effectue tous les 8 000 km (5 000 mi).
Pneus*: Vérifiéz souvent la pression des pneus de votre vehicule au moyen d'un manomètre et vérifiez-la toujours avant un long trajet. Au besoin, réglez la pression de tous les pneus à la pression de gonflage prescrite. Vérifiéz les pneus avec soin pour y déceler toute trace de dommages, de coupures ou d'usure excessive.
Composants des émetteurs du système de surveillance de la pression des pneus:
Remplacez la bague d'étanchéité, l'obus de valve et le capuchon des émetteurs du système de surveillance de la pression des pneus lorsque vous remplacez les pneus en raison de l'usure ou de l'âge des pneus.
Réglage de la géométrie et équilibrage
des roues : Si vous avez l'impression que votre vehicule tend à dériver lorsque vous conduissez sur une route droite et sans reliéf, ou si vous notez une usure inégale ou excessive des pneus de votre vehicule, un réglage de la géométrie des roues peut être nécessaire.
Si vous sentez des vibrations au niveau du volant ou du siège de votre vehicule lorsque vous conduissez à vitesse normale sur l'autoroute, un équilibrage des roues peut se révêler nécessaire.
Pour obtenir des renseignements supplémentaires au sujet des pneus, consultez la section « Renseignements importants concernant la sécurité des pneus (É.-U.) » ou « Renseignements concernant la sécurité des pneus (Canada) » du Livret de renseignements sur la garantie.
Pare-brise:Nettoyez le pare-brise reguIerement. Vérifiez au moins tous les six mois s'il y a des fissures ou d'autres dommages. Si le pare-brise est endommagé, faites-le réparer dans un atelier de réparation qualifié.
Balais d'essuie-glace*: Si vous constatiez que les balais d'essuie-glace ne fonctionnent pas correctement, vérifie s'ils sont fissures ou usés.
À l'intérieur du vehicule
Les points d'intervention énumérés ci-après doivent faire l'objet de vérifications régulières, par exemple, au moment des
opérations d'entretien périodique, du nettoyage du vehicule, etc.
Pédale d'accéléateur : Assurez-vous que la pédale d'accéléateur s'enforce en douceur, librement et sans effort. Gardez le tapis de plancher loin de la pédale.
Pédale de frein : Assurez-vous que la pédale de frein s'enforce en douceur. Si la pédale de frein s'abaisse soudainement plus loin que la normale, si la pédale semble spongieuse ou si la distance de freinage semble plus longue, nous vous recommandons de vous rendre immédiatement chez un concessionnaire NISSAN LEAF certifié. Gardez le tapis de plancher loin de la pédale.
Freins : Assurez-vous que le vehicule ne dérive pas lorsque vous serrez les freins.
Mécanisme électrique de changement de vitesse de la position P (stationnement): Si le vehicule se trouve sur une pente abrupte, assurez-vous que le vehicule est fermement immobilisé lorsqu'il est en position P (stationnement), sans serrer les freins.
Frein de stationnement : Vérifiez régulierement le fonctionnement du frein de stationnement. Le vehicule devrait demeurer immobile sur une pente abrupte lorsque seul le frein de stationnement est serré. Si le frein de stationnement ne peut pas maintainir une position de vehicule, nous vous recommendons de vous rendre chez un concessionnaire NISSAN LEAF certifié pour ce service.
Siège: Vérifiez les commandes de position des sièges, comme les dispositifs de réglage des sièges et d'inclinaison des dossiers, etc., pour vous assurer qu'ils fonctionnent bien et qu'ils se verrouillent correctement dans toutes les positions. Assurez-vous que les appuie-tête se déplacent librement vers le haut et vers le bas et que les verrous (salon l'équipement) se bloquent solidement dans toutes les positions de verrouillage.
Ceintures de sécurité : Assurez-vous que toutes les pieces des ceintures de sécurité (par exemple, les bouches, les ancrages, les régleurs et les enrouleurs) fonctionnent correctement et librement et qu'elles sont bien installées. Vérifiez les sangles des
ceintures de sécurité pour vous assurer qu'elles ne sont pas coupées, effilochées, usées ou endommagées.
Volant: Prenez note de tout changement dans le fonctionnement de la direction, par exemple, un jeu excessif du volant, une direction dure ou des bruits inusités.
Témoins et carillons : Assurez-vous que tous les témoins et les carillons fonctionnement correctement.
Dégivreur de pare-brise : Assurez-vous que l'air circule librement par les bouches de dégivrage et que le début d'air estADFéquat lorsque lechauffage ou le climatisationur est en fonction.
Essuie-glaces et lave-glace de pare-brise*: Assurez-vous que les essuie-glaces et le lave-glace fonctionnent correctement et que les essuie-glaces ne laissent pas de traces sur le pare-brise.
Sous le capot et sous le vehicule Les points d'intervention enumeratedes ci-apres doivent faire l'objet de vérifications régulières.
Batterie de 12 volts (pour les batteries avec entretien)*:
Vérifiez le niveau de liquide dans chacun des éléments de la batterie. Le niveau de liquide doit se trouver au bas de l'orifice de replissage. Vérifiez frequentlyment le niveau d'électrolyte de la batterie de 12 volts si vous conduisez votre vehicule par temps très chaud ou dans des conditions difficilles.
REMARQUE:
Évitez le plus possible les situations qui risquent de provoquer la décharge potentielle de la batterie et les conditions de non-demarrage telles que:
- L'installation ou l'utilisation prolongée d'accessoires électroniques qui consomment l'alimentation de batterie lorsque le système de vehicule électrique est arrêté (chargeurs de téléphone, GPS, lecteurs de DVD, etc.).
- Le vehicule n'est pas utilisé régulièrement ou il est utilisé lors de courtes distances seulement.
Dans ces cas, la batterie doit possiblement etre rechargée afin de preserver sa durée de vie utile.
Niveau de liquide de frein*: Assurez-vous que le niveau de liquide de frein se trouve entre les repères « MAX » (maximum) et « MIN » (minimum) du réservoir.
Niveau de liquide de refroidissement*: Vérifiez le niveau de liquide de refroidissement lorsque le compartment moteur est froid.
Fuites de liquide : Immobilisez votre vehicule et, après un certain temps, vérifie la presence de fuites d'eau ou d'autres liquides. Il est normal que de l'eau s'égoutte du climatiseur après son utilisation. Si vous observez des fuites, recherchez la source du problème et faites réparer immédiatement votre vehicule.
Radiateur et flexibles : Vérifiez l'avant du radiateur et enlevez les accumulations de saleté, d'insectes, de feuilles, etc. Assurez-vous que les flexibles du radiateur ne sont pas fissurés, déformés, déteriorés ou desserrés.
Soubassement: Le soubassement entre fréquemment en contact avec des substances corrosives comme celles qui sont répandues sur une chaussée recouverte de glace ou utilisées pour contrôler la poussière. Il est très important d'éliminer ces substances pour empêcher la formation de rouille sur le plancher et le chassinis. À la fin de l'hiver, rincez abondamment le soubassement avec de l'eau, en particulier, les zones qui doivent une accumulation de boue et de saleté. Pour obtenir des renseignements supplémentaires, consul-tes la section « Nettoyage des surfaces extérieures du vehicule » du chapitre « Aspect et entretien » duprésent manuel.
Liquide lave-glace*: Assurez-vous que le réservoir de liquide lave-glace est suffisamment rempli.
PRECAUTIONS D'ENTRETIEN
Faites toujours preuve de prudence lorsque vous procédez à une inspection ou à un entretien de votre vehicule afin d'éviter de subir de graves blessures ou d'endommager votre vehicule. Les précautions générales suivantes doivent être respectées à la dette.

AVERTISSEMENT
Le système de vehicule electrique utilise une haute tension pouvant atteindre 400 V c.c. environ. Le système peut etre chaud pendant et apres le demarrage et lorsque le vehicule est hors fonction. Soyez vigilant et conscient de la haute tension et de la temperture elevatede engendrees par le système.Suivez les instructions des etiquettes apposoees sur le vehicule.
- Vous ne doivent jamais démonter, restirer ou replacer les pièces et les cables haute tension ainsi que leur connecteurs. Les cables haute tension sont de couleur orange.
- Le démontage, le retrait ou le remplacement de ces pieces ou de ces cables peuvent provoquer des brûlures importantes ou des chocs électriques pouvant cause des blessures graves ou mortelles. Le système haute tension du vehicule ne comprend aucune piece qui peut être remplaçée par l'utilisateur. Nous vous recommendons de vous rendre chez un concessionnaire NISSAN LEAF certifié pour tout entretien requis.
- Stationnez le vehicule sur une surface plane, serrez fermement le frein de stationnement et bloquez les roues pour empêcher le vehicule de se déplacer. Appuyez sur le commutateur de position P (stationnement) du levier selecteur ou placez le vehicule en position N (point mort).
- Si les travaux que vous doivent effectuer exigent la mise en fonction du système de vehicule électrique, gardez les mains, les vêtements, les cheveux et les outils éloignés des ventilateurs et des autres pieces mobiles.
Assurez-vous que le commutateur principal est à la position OFF (hors fonction) ou LOCK (antivolverrouillé) lorsque vous effectuez le remplacement ou la réparation d'une piece.
- Il est recommendé d'enlever ou de fixer en place tout vêtement ample avant de travailler sur votre vehicule. Retirez aussi votre montre, vos bagues et vos autres bijoux.
Lorsque you travailliez sur voitre vehicule, portez toujours des lunettes de protection.
- Ne vous glissez jamais sous un vehicule si ce dernier n'est soutenu que par un cric. Si une intervention sous le vehicule est nécessaire, utilisez des trêteaux pour le soutenir.
- Gardez les cigarettes allumées, les flammes et les étincelles éloignées de la batterie de 12 V.

MISE EN GARDE
- N'effectuez pas des travaux sous le capot lorsque le compartment me-teur est chaud. Appuyez sur le commutateur principal à la position OFF (hors fonction) et attendez qu'il se refroidisse.
- Évitez de toucher le liquide de refroidissement usage. La mise au rebut inadéquate du liquide de refroidissement ou de tout autre liquide du vehicule peut nuire à l'environnement. Respectez toutes la réglementation municipale en ce qui concerne la mise au rebut de liquides utilisés dans un vehicule.
-
Vous ne devez jamais brancher ni débrancher la batterie ou un autre composant transistorisé lorsque le commutateur principal est à la position ON (marche).
-
Voiture vehicule est équipé d'un ventilateur de refroidissement automatique. Il peut s'allumer à n'importe quel moment sans prévenir, même si le commutateur principal est à la position ACC (accessoires), ON (marche) ou READY (pré à démarrer). Pour éviter des blessures, débranchez toujours le cable négatif de la batterie de 12 V avant d'effectuer des travaux à proximité du ventilateur.
-
Avant d'exécuter des travaux d'entretien électriques sur le vehicule comme le remplacement de la batterie, des fusibles ou des ampoules, vérifiez les points suivants:
-
Le connecteur de charge est relié du vehicule.
-
La minuterie de climatisation n'est pas active ou en fonction. Pour obtenir des renseignements supplémentaires, reportez-vous à la section « Minuterie de chauffage-climatisation » du chapitre « Systèmes de surveillance, de climatisation, audio, téléphonique et de reconnaissance vocale » dans ce manuel.
-
La batterie de 12 V n'est pas chargée par la batterie au lithium-ion et tous les témoins d'état de chargement sont éteints. Pour obtenir des renseignements supplémentaires, reportez-vous à la section « Chargement de la batterie de 12 V » du chapitre « Aperçu du vehicule électrique » et à la section « Témoins d' état de chargement » du chapitre « Chargement » de ce manuel.
-
Le commutateur principal est à la position OFF (hors fonction). Placez le commutateur principal à la position ON (marche), puis à la position OFF (hors fonction) pour éviter que la batterie de 12 V ne soit automatiquement chargeé par la batterie au lithium-ion. Pour obtenir des renseignements supplémentaires, reportez-vous à la section « Chargement de la batterie de 12V » du chapitre « Aperçu du vehicule électrique » de ce manuel.
Le chapitre « « Entretien et interventions du propriétaire » fournit des directives relatives aux interventions qui peuvent être aisément effectuées par le propriétaire.
Voussouvez également vous procurer un manuel de réparation NiSSAN d'origine. Pour obtenir des renseignements supplémentaires, consultez la section « Pour commander le manuel du conducteur ou le manuel de réparation » dans le chapitre « Données techniques et information au consommateur » duprésent manuel.
N'oubliez pas qu'un entretien incomplet ou inadéquat peut entraîner des problèmes de fonctionnement et promètement la couverture de garantie de votre vehicule. En cas de doute concernant toute procédure d'entretien, il est recommendé de vous rendre chez un concessionnaire NISSAN LEAF certifié.
POINTS DE VERIFICATION DANS LE COMPARTIMENT MOTEUR

- Boîte à fusibles et fil fusible
- Réservoir de liquide de frein
- Batterie de 12 V
- Porte-fusible
- Boîte à fusibles et fil fusible
- Bouchon du réservoir de liquide de refroidissement
- Réservoir de liquide lave-glace de pare-brise
CIRCUIT DE REFROIDISSEMENT
Le système de refroidissement a eté rempli à l'usine d'un mélange prédilué de 50 % d'antigel longue durée NiSSAN d'origine (de couleur bleue) et de 50 % d'eau pour assuerrer une protection contre le gel tout au long de l'année. La solution d'antigel contient des inhibiteurs de rouille et de corrosion. Il n'est pas nécessaire d'ajouter d'additifs dans le système de refroidissement du convertisseur.

AVERTISSEMENT
- Ne retirez jamais le bouchon du réseauoir de liquide de refroidissement lorsque le compartment moteur est chaud. Attendez que le compartment moteur refroidisse.
- Le réservoir de liquide de refroidissement est muni d'un bouchon de réservoir de liquide de refroidissement de type spécifique. Pour éviter d'endommager le compartment moteur, utilisez uniquement un bouchon de réservoir de liquide de refroidissement NISSAN d'origine.

MISE EN GARDE
- N'utilise jamais d'additifs dans le liquide de refroidissement tels que l'endet d'étanchéité de radiateur. Vous pourriez ainsi cause des dommages à l'équipement électrique comme le moteur et l'inverseur.
Lorsque you ajoutez de l'antigel ou que you le remplacez, assurez-vous d'utiliser uniquement l'antigel longue durée NISSAN d'origine (de couleur bleue) ou un produit équivalent. L'antigel longue durée NISSAN d'origine (de couleur bleue) est prédilué pour assurer une protection contre le gel à -37 °C (-34 °F). Si une protection supplémentaire contre le gel est nécessaire en raison des températures extrêmes ou le vehicule est utilisé, ajoutez de l'antigel concentré longue durée NISSAN d'origine (de couleur bleue) en suivant les directives individues sur le contenant. Si vous utilisez un produit équivalent à l'antigel longue durée NISSAN d'origine (de couleur bleue), suivez les directives du fabricant de l'antigel pourmaintenir une protection antigel minimale à -37 °C
(-34^) . L'utilisation de types de li-quide de refroidissement autres que l'antigel longue durée NISSAN d'origine (de couleur bleue) ou un produit équivalent peut endommager le système de refroidissement.
La durée de vie utile du liquide de refroidissement d'origine est de 200 000 km (125 000 mi) ou 15 ans. Si vous mélangez un type de liquide de refroidissement autre que l'antigel longue durée NISSAN d'origine (de couleur bleue), y compris l'antigel longue durée d'origine NISSAN (de couleur verte), ou si vous utilisez de I'eau non distillée, la durée de vie utile du liquide de refroidissement d'origine sera réduite. Pour obtenir de plus amples renseignements, consultez le Guide d'entretien et de réparation NISSAN.

VÉRIFICATION DU NIVEAU DE LIQUIDE DE REFROIDISSEMENT
Vérifiez le niveau de liquide de refroidissement dans le réservoir lorsque les pièces haute tension sont froides. Si le niveau de liquide de refroidissement est au-dessous du repère MIN (minimum) B, ouvre le bouchon du réservoir et ajoutez du liquide de refroidissement jusqu'au repère MAX (maximum) A. Si le réservoir est vide, vérifiez le niveau de liquide de refroidissement dans le réservoir de liquide de refroidissement lorsque les pièces haute tension sont froides. Si la quantité de liquide de
refroidissement dans le réservoir de liquide de refroidissement est insuffisante, remplisse ce dernier jusqu'à l'orifice du bouchon du réservoir et ajoutez-en également dans le réservoir jusqu'à au repère MAX (maximum) A .
Serrez bien le bouchon après avoir ajouté le liquide de refroidissement.
Pour obtenir des renseignements supplémentaires sur l'emplacement du réservoir de liquide de refroidissement, consultez la section « Points de vérification dans le compartmentement moteur » du present chapitre.
Si le système de refroidissement nécessite fréquement l'ajout de liquide, nous vous recommendons de visiter un concessionnaire NISSAN LEAF certifié.
VIDANGE DU LIQUIDE DE REFROIDISSEMENT
Nous vous recommendons d'effectuer les réparations majores du système de refroidissement chez un concessionnaire NISSAN LEAF certifié. Les procédures d'entretien sont décrites dans le manuel de réparation NISSAN approprié.
Des procédures d'entretien inadéquates peuvent compromètre le rendement du dispositif de chauffage.

AVERTISSEMENT
Pour éviter de vous brûler, ne vidangez jamais le liquide de refroidissement lorsqu'le compartment motéur est chaud.
- Ne retirez jamais le bouchon du réseauoir de liquide de refroidissement lorsque le compartment moteur est chaud. Des brûlures graves peuvent être causés par le liquide à haute pression s'échéant du radiateur.
- Évitez tout contact direct du liquide de refroidissement usé sur la peau. Le cas échéant, lavez soigneusement la zone touchée avec du savon ou avec un détergent pour les mains aussitôt que possible.
- Gardez le liquide de refroidissement hors de la portée des enfants et des animaux domestiques.
Le liquide de refroidissement doit être mis au rebut de façon ajusté. Consultez les règlements en vigueur dans votre municipality.
LIQUIDE D'ENGRENAGE DE RÉDUCTION
Si le remplacement est nécessaire, il est recommandé de vous rendre chez un concessionnaire NISSAN LEAF certifié pour ce service.

MISE EN GARDE
Utilisez seulement de l'huile pour boite de vitesses automatique NiSSAN Matic S d'origine. N'y mélangez pas d'autres liquides.
L'utilisation d'une huile pour boite de vitesses automatique autre que I'huile NISSAN Matic S d'origine affecte le fonctionnement et la vie utile de I'engrenage de réduction, et peut l'endommager; ces dommages ne sont pas couverts par la garantie limite de vehicule neuf NISSAN.
LIQUIDE DE FREIN
Pour obtenir des renseignements supplémentaires sur le liquide de frein, consultez la section « Contenances, liquides et lubri-fiants recommends » du chapitre « Données techniques et information au consommateur » duprésent manuel.

AVERTISSEMENT
- N'utilisez que du liquide frais provenant d'un contenant scelle. L'utilisation de liquide usage, de qualite inférieure ou contaminé pourrait endommager le circuit de freinage. L'utilisation de liquides inadéquats peut endommager le circuit de freinage et comprometter la capacité de freinage du vehicule.
- Nettoyez le bouchon de remplissage avant de le retirer.
- Le liquide de frein est toxique et il doit être conservé avec précaution dans un contenant bien identifié, hors de la portée des enfants.

MISE EN GARDE
Ne renversez pas ce liquide sur les surfaces peintes. Il endommagera la peinture. Si du liquide est renversé, nettoyez immidiatement la surface avec de l'eau.

Vérifiez le niveau du liquide dans le réservoir. Si le niveau de liquide est inférieur au repère MIN (minimum) ⑧ ou si le témoin des freins s'allume, ajoutez du liquide de frein de très haute tenue NISSAN d'origine ou un liquide DOT 3 équivalent jusqu'àu repère MAX (maximum) ④. Si vousdezvez ajouter féquements du liquide, le système doit être vérifié. Nous vous recom-mandons de vous rendre chez un concessionnaire NISSAN LEAF certifié pour procéder cet entretien.
LIQUIDE LAVE-GLACE

Sauf au Canada
Pour vérifier le niveau de liquide, bouchez le trou central ① de l'ensemble de bouchon et tube avec un doigt, puis retirez l'ensemble du réservoir. Ajoutez du liquide s'il n'y a pas de liquide dans le tube.
Au Canada
Remplissez le réservoir de liquide lave-glace périodiquement. Ajoutez du liquide lave-glace lorsque le message « Low Washer Fluid » (niveau de liquide lave-glace bas) s'affiche à l'écran multifonction. Pour obtenir de plus amples renseignements, consultez la section « Avertissements et
témoins de l'écran multifonction » du chapitre « Commandes et instruments » duprésent manuel.
Pour remplir le réservoir de liquide laveglace, retirez le bouchon ① et versez le liquide lav-e glace dans l'orifice du réservoir.
Ajoutez un solvant pour lave-glace dans le réservoir pour obtenir de plusieurs résultats de nettoyage. En hiver, ajoutez un antigel pour lave-glace. Suivez les directives du fabricant concernant les proportions du mélange.
Remplissez le réservoir plus souvent lorsque les conditions de conduite exigent d'utiliser une grande quantité de liquide lave-glace.
Liquide recommende:
Liquide lave-glace concentré nettoyant NiSSAN d'origine avec antigel ou l'équivalent.

MISE EN GARDE
- N'utilise pas de liquide de refroidissement dans le réservoir de solution lave-glace. Ceci pourrait endomgar les surfaces peintes du vehicule.
- Ne remplissez pas le réservoir de liquide lave-glace avec des concentrates non dilués. Les éclaboussures de certains concentrates de liquide lave-glace au methanol peuvent tacher la calandre de façon permanente pendant le replissage du réservoir de liquide lave-glace.
- Mélangez le concentré de liquide lave-glace avec de l'eau conformément aux recommandations du fabricant avant de verser le mélange dans le réservoir de liquide lave-glace. N'effectuez pas ce mélange dans le réservoir même.
BATTERIE DE 12 V
Assurez-vous que la surface de la batterie de 12 V est propre et sèche en tout temps. Nettoyez la batterie de 12 V avec une solution de bicarbonate de sodium et d'eau.
Assurez-vous que les raccordements des bornes sont propres et bien serrés.
REMARQUE:
Évitez le plus possible les situations qui risquent de provoquer la décharge potentielle de la batterie et les conditions de non-demarrage telles que:
- L'installation ou l'utilisation prolongée d'accessoires électroniques qui consomment l'alimentation de batterie lorsque le système de vehicule électrique est arrêté (chargeurs de téléphone, GPS, lecteurs de DVD, etc.).
- Le vehicule n'est pas utilisé régulièrement ou il est utilisé lors de courtes distances seulement.
Dans ces cas, la batterie doit possiblement etre rechargée afin de preserver sa durée de vie utile

AVERTISSEMENT
- N'exposez pas la batterie de 12 V à des flammes ou à des étincelles. L'hydrogène qui se dégage de la batterie de 12 V est un gaz explosif. Évitez tout contact de l'électrolyte de la batterie de 12V avec les yeux, la peau, les vêtements ou les surfaces peintes. Évitez de vous frottier les yeux si vous avez manipulé une batterie de 12 V ou un bouchon de batterie de 12 V. Lavez-vous soignement les mains. En cas de contact de l'électrolyte avec vos yeux, votre peau ou vos vêtements, rincez immédiatement à l'eau la zone touchependant au moins 15 minutes et consultez un médecin.
-
Ne conduizee pas le vehicule si le niveau d'electrolyte de la batterie de 12V est bas. Un bas niveau d'electrolyte de la batterie de 12 V peut augmenter la charge exercée sur la batterie de 12 V et ainsi générer de la chaleur, réduire la durée de vie utile de la batterie et, dans certains cas, provoquer une Explosion.
-
Portez toujours des lunettes de sécurité et enlevez tous vos bijoux lorsque vous effectuez des travaux sur la batterie de 12 V ou à proximité de cette-ci.
- Les cosses et les bornes de la batterie de 12V, ainsi que les accessoires connexes, contiennent du plomb et des composés de plomb. Lavez-vous les mains après les avoir manipulés.
- Gardez la batterie de 12 V hors de la portée des enfants.

1. Retirez les bouchons d'aération au moyen d'un tournevis, tel qu'illustré. Servez-vous d'un chiffon pour protégger le boîtier de la batterie.

2. Vérifiez le niveau de liquide dans chacun des éléments de la batterie. Si vous dévez ajouter du liquide, ne verse que de l'eau distilled pour rétabir le niveau jusqu'au bas de l'orifice de replissage. Ne remplisse pas le réservoir au-delà de sa capacité. Remettez les bouchons d'aération en place.
Vérifiez fréquement le niveau d'électrolyte de la batterie de 12 V si vous conduisez votre vehicule par temps très chaud ou dans des conditions difficilles.
DÉMARRAGE D'APPOINT
Le démarrage d'appoint fournit l'alimentation au circuit de 12 V pour permettre le fonctionnement des circuits électriques. Les circuits électriques doivent fonctionner pour permettre la recharge de la batterie Li-ion. La batterie Li-ion n'est pas rechargée par un démarrage d'appoint. La batterie au lithium-ion doit être chargée avant de pouvoir conduire le vehicule.
Pour obtenir des renseignements supplémentaires, consultez la section la section « Démarrage-secours » du chapitre « En cas d'urgence » de ce manuel. Si le commutateur principal ne passé pas à la position PRÉT À DEMARRER après avoir utilisé la méthode de démarrage d'appoint, il peut être nécessaire de replacer la batterie de 12 V. Nous vous recommendons de vous rendre chez un concessionnaire NISSAN LEAF certifié pour ce service.
BALAIS D'ESSUIE-GLACE
NETTOYAGE
Si le lave-glace ne réussit pas à nettoyer le pare-brise de votre vehicule ou si un des balais d'essuie-glace fonctionne mal, des dépôts de cire ou d'autres matières se sont peut-être accumulés sur le balai d'essuie-glace ou sur le pare-brise.
Nettoyez l'extérieur du pare-brise avec une solution de lave-glace ou du détergent doux. Le pare-brise est propre si l'eau n'y-perle pas lorsque vous le rincez à l'eau claire.
Nettoyez chaque balai d'essuie-glace avec un chiffon trempe dans une solution de lave-glace ou dans du détergent doux. Rincez ensuite le balai avec de l'eau propre. Si la propriété de votre pare-brise n'est toujours pas satisfaisante après avoir nettoyé les balais et utilisé les essuie-glaces, remplacez les balais.

MISE EN GARDE
Des balais d'essuie-glace usés peuvent endommager le pare-brise et nuire à la visibilité du conducteur.
REplacement
Remplacez les balais d'essuie-glace lorsqu'ils sont usés.
Relevement du bras d'essuie-glace
Lorsque vous remplacez l'essuie-glace, le bras d'essuie-glace doit etre en position relevée.
Tirez manuellement le bras d'essuie-glace vers le haut ou utilisez la fonction de relèvement d'essuie-glace (salon l'équipe-ment).


MISE EN GARDE
N'utilisez pas l'essuie-glace lorsque le bras est relevé. Vous risqueriez d'en-dommager le bras d'essuie-glace ou le capot.
Fonction de relèvement d'essuie-glace (selon l'équipement):
Pour tirer le bras d'essuie-glace vers le haut, tirez le levier ① dans un décal d'une minute après avoir place le commutateur principal à la position OFF (hors fonction). Le fonctionnement de l'essuie-glace s'arrête à mi-chemin et le bras d'essuie-glace peut être tiré vers le haut.
Pour abaisser le bras d'essuie-glace, placez le bras d'essuie-glace dans la position abaissee, puis appuyez une fois sur le levier ② vers le haut après avoir place le commutateur principal à la position ON (marche).

Replacement
- Appuyez sur la languette de déverrouillage , puis déplacez le balai d'essuie-glace le long du bras d'essuie-glace tout en appuyant sur la languette de déverrouillage pour l'enlever.
- Insérez un nouveau balai d'essuie-glace sur le bras d'essuie-glace jusqu'à ce que vous entendiez un déclic.
- Tournez le balai d'essuie-glace de sorte que le petit creux soit dans la cannelure.

MISE EN GARDE
- Àprouès avoir remplace les balais, remettez les bras d'essuie-glace à leur position d'origine. Sinon, vous pourriez les endommager en ouvrant le capot.
Assurez-vous que les balais d'essuie-glace sont en contact avec le pare-brise; dans le cas contraire, le bras risque d'être endommagé par la pression du vent.

Faites attention à ne pas boucher le giclure de lave-glace A. Cela risque d'empêcher le bon fonctionnement du lave-glace. Si le giclure est bouché, retirez les objets à l'aide d'une aiguille ou d'une petite épingle B. Veiliez à ne pas endommager le giclur.
BALAI D'ESSUIE-GLACE DE LUNETTE ARRIÈRE
Nous vous recommendons de visiter un concessionnaire NISSAN LEAF certifié si une vérification ou un remplacement est nécessaire.
FREINS
Si les freins ne fonctionnent pas correctement, faites-les vérifier. Nous vous recom-mandons de vous rendre chez un concessionnaire NISSAN LEAF certifié pour ce service.

AVERTISSEMENT
Ne réglez pas la hauteur de la pédale de frein. Vous risqueriez de promètomme l'efficacité des freins, ce qui pourrait provoquer un accident grave et des blessures. Si un réglage est nécessaire, nous vous recommendons de vous rendre chez un concessionnaire NISSAN LEAF certifié pour ce service.
SIGNAL D'AVERTISSEMENT DES INDICATEURS D'USURE DE PLAQUETTES DE FREIN
Les indicateurs d'usure de plaquettes de frein peuvent émettre un signal d'advertissement. Lorsqu'une plaquette de frein doit être remplaçée, l'indicateur d'usure émet un bruit de grattement aigu lorsque le vehicule est en mouvement. Ce bruit de grattement ne se produit initialement que lorsque la pédale de frein est enforcée. ÀpRES une usure additionnelle de la pla
quette de frein, le bruit se produit constamment même si la pédale de frein n'est pas enforcée. Si les indicateurs d'usure des freins émettent un son, faites vérifier les freins le plus+tôt possible.
Des crissements, des sifflements ou d'autres bruits occasionnels provenant des freins peuvent se faire entendre dans certaines conditions de conduite ou climatiques. Il est normal d'entendre à l'occasion des bruits de frein au cours de freinages légers ou modérés et cette condition ne compromet en rien le fonctionnement ou le rendement du circuit de freinage de votre vehicule.
Une inspection adequate des freins doit etre effectuee aux intervalles prescrits.
Pour obtenir des renseignements supplémentaires, consultez la section du programme d'entretien de votre guide du service et de l'entretien NISSAN.
FUSIBLES

COMPARTIMENT MOTEUR

AVERTISSEMENT
-
Vous ne doivent jamais toucher, démonter, restorer ou replacer les pièces et les cables haute tension ainsi que leurs connecteurs. Les cables haute tension sont de couleur orange. Le contact, le démontage, le retrait ou le remplacement de ces éléments et de ces cables pouraient provoquer des brûlures importantes ou des chocs électriques pouvant causer des blessures graves ou mortelles.
-
N'utilise jamais un fusible d'une intensité nominale supérieure ou inférieure à cette spécifiée sur le couvercle de la boîte à fusibles. Ceci pourrait endommager le circuit électrique ou les commandes Electroniques ou encore causer un incendie.
Lorsqu'un des accessoires électriques de votre vehicule ne fonctionne pas, vérifie si le fusible correspondant est grillé.
- Assurez-vous que le commutateur principal et l'interrupteur des phares sont à la position OFF (hors fonction).
- Ouvrez le capot.
- Retirez le couvercle de la boîte à fusibles et fil fusible en appuyant sur la languette et en soulevant le couvercle du côté croit, puis du côté gauche.
- Localisez le fusible à remplacer.
- Retirez le fusible à l'aide de l'extracteur de fusible situé dans la boîte à fusibles de l'habitacle.


- Si le fusible est grillé (A), remplacez-le par un fusible neuf (B).
- Si un fusible neuf grille également, faites vérifier le circuit électrique et répared-le au besoin. Nous vous recommendons de vous rendre chez un concessionnaire NISSAN LEAF certifié pour procéder cet entretien.

Fils fusibles
Si un composant électrique ne fonctionne pas et que les fusibles sont en bon état, vérifie les fils fusibles dans les portes-fusibles ①,② et ③ . Si un des fil fusible a fondu, remplacez-le par un fil fusible NISSAN d'origine.
Pour vérifier et replacer les fils fusibles dans les portes-fusibles ①, ② et ③, nous vous recommendons de vous rendre chez un concessionnaire NISSAN LEAF certifié pour cet entretien.

HABITACLE

AVERTISSEMENT
N'utilisez jamais un fusible d'une intensité nominale supérieure ou inférieure à cette spécifiée sur le couvercle de la boîte à fusibles. Ceci pourrait endommager le circuit électrique ou les commandes électroniques ou encore causer un incendie.
Lorsqu'un des accessoires électriques de votre vehicule ne fonctionne pas, vérifie si le fusible correspondant est grillé.
- Assurez-vous que l'interrupteur principal et l'interrupteur des phares sont à la position OFF (hors fonction).
- Insérez un tournevis recouvert du chiffon © dans la fente ①.
Utilisez un chiffon © pour protégé le couvercle de la boîte à fusibles.
- Tirez ensuite pour enlever le couvercle de la boite à fusibles ②.
- Retirez le fusible à l'aide de l'extracteur de fusible ③.


- Si le fusible est grillé (A), remplacez-le par un fusible neuf (B).
- Si un fusible neuf grille également, faites vérifier le circuit électrique et réperez-le au besoin. Nous vous recommendons de vous rendre chez un concessionnaire NiSSAN LEAF certifié pourrialcder cet entretien.


Commutateur d'entreposage prolongé
Si un des accessoires électriques ne fonctionne pas, retirez le commutateur d'entreposage prolongé et vérifie si le fusible est grillé.
REMARQUE:
Le commutateur d'entreposage prolongé est utilisé pour l'entreposage à long terme du vehicule. Meme si le commutateur d'entreposage prolongé est brisé, il n'est pas nécessaire de le replacer. Remplacez seulement le fusible grillé dans le commutateur par un fusible neuf.
Remplacement du commutateur d'entreposage prolongé:
- Pour-retirer le commutateur d'entreposage prolongé,assurez-vous que le commutateur d'allumage se trouve à la position OFF (hors fonction).
- Assurez-vous aussi que l'interrupteur des phares est à la position OFF (hors fonction).
- Retirez le couvercle de la boite à fusibles.
- Pincez les pattes de blocage ① et ② qui se trouvent de chaque côté du commutateur d'entreposage prolongé.
- Tirez le commutateur d'entreposage prolongé directement hors de la boîte à fusibles ③.
REEMPLACEMENT DE LA PILE DE LA CLÉ INTELLIGENTE NISSAN INTELLIGENT KEYMD

MISE EN GARDE
- Prenez garde à ce que les enfants n'avent pas la pile et les pièces rétiées.
- Les piles mises au rebut de façon inadéquate peuvent nuire à l'environnement. Consultez toujours les règlements en vigueur dans votre municipalité concernant l'élimination des piles.
- Lors du remplacement des piles, n'expose pas les composants à la poussière ou à l'huile.
- Il y a un danger d'explosion si la pile au lithium n'est pas remplaçaee correctement. Remplacez-la seulement par la meme batterie ou l'équivalent.

Pour remplacer la pile de la clé intelligente, procédez comme suit :
-
Retirez la clé mécanique de la clé intelligente.
-
Insérez un petit tournevis dans la fente du coin et tournez-le pour séparer la partie supérieure de la partie inférieure. Servez-vous d'un chiffon pour protégger le boîtier.
- Remplacez la pile par une pile neuve.
Pile recommende:
CR2025 ou équivalent
- Ne touchez pas aux circuits internes et aux bornes électriques pour ne pas l'endommager.
Tenez la pile par les rebords. Ne tenez pas la pile par les points de contact, car la puissance de la pile diminuera grandement.
Assurez-vous que l'extrémité ⊕ est orientée vers le bas du boitier.

- Alignez les extrémités des parties supérieures et inférieures ①, puis poussezzles ensemble ② jusqu'à ce que le tout soit bien fermé.
- Actionnez les boutons pour vérifier si tout fonctionne correctement.
Nous vous recommendons de vous rendre chez un concessionnaire NISSAN LEAF certifié pour procéder cet entretien.
Avis de la FCC:
Aux États-Unis :
Ce dispositif est conforme à l'article 15 des règlements de la FCC. Son utilisation est soumise aux deux conditions suivantes : (1) ce dispositif ne doit causeer aucune interférence nuisible, et (2) ce dispositif doit accepter toutes les interférences, y compris celles qui pouraient l'activer de façon inopinée.
REMARQUE:
Toute modification non approuvée par la partie responsable de la conformité peut annuler le droit d'utiliser ce dispositif.
Au Canada:
Ce dispositif est conforme aux normes d'Industrie Canada applicables aux apparciels RSS exempts de licence. Son utilisation est soumise aux deux conditions suivantes : (1) ce dispositif ne doit causeer aucune interfERENCE nuisible et (2) ce dispositif doit pouvoir accepter toutes les interférences, y compris celles qui pourraient l'activer de façon inopinée.
ÉCLAIRAGE

- Phare
- Lampe de lecture
-
Éclairage ambient
-
Feu d'arrêt central
- Feu combiné arrière
-
Clignotant du rétroviseur de portière
-
Éclairage de l'aire de chargement
- Éclairage de la plaque d'immatriculation
- Phares antibrouillard (selon l'equipe-ment)
De la buée pourrait se former provisoirement à l'intérieur de la lentille des feuextérieurs par temps de pluie ou après un passage au lave-auto. La buée est causée par l'écart de température qui se produit entre les faces interieure et extérieure de la lentille. Cette condition est normale. Si vous constazez une accumulation d'eau à l'intérieur de la lentille, nous vous recommandons de visiter un concessionnaire NISSAN LEAF certifié pour cet entretien.
PHARES
Si le remplacement de l'ampoule du phare est nécessaire, nous vous recommendons de visiter un concessionnaire NISSAN LEAF certifié pour cet entretien.
Replacement
Phare à halogène (feu de route):
Le feu de route est de type partiellement scellé et utilise une ampoule de phare remplaçable (à halogène).

MISE EN GARDE
- Ne laïsez pas un reflecteur de phare sans ampoule pendant une longue période. La poussière, l'humidité, la fumée pourrait pénétrer dans le bloc optique et ALTERER le rendement du phare.
L'ampoule à halogène contient un gaz halogène sous haute pression. L'ampoule risque de se briser si vous la laissez tomber par terre ou si vous rayez son enveloppe de verre. -
Ne touchez qu'à la base lorsque vous manipuez l'ampoule. Ne touchez jamais l'enveloppe de verre. En touchant l'enveloppe de verre, vous pourriez comprométtre de façon importante la durée de vie utile de l'ampoule ou le rendement du phare.
-
Il n'est pas nécessaire de régler la convergence des phares après avoir remplaced l'ampoule. Lorsque le réglage de la convergence des phares est nécessaire, nous vous recommandons de vous rendre chez un concessionnaire NISSAN LEAF certifié pour cet entretien.
- De la buée pourrait se former provisoirement à l'intérieur de la lentille des feuux extérieurs par temps de pluie ou après un passage au laveauto. La buée est causée par l'écart de température qui se produit entre les faces interieure et extérieure de la lentille. Cette condition est normale. Si vous constazé une accumulation d'eau à l'intérieur de la lentille, nous vous recommendons de visiter un concessionnaire NISSAN LEAF certifié pour cet entretien.
Utilisez les mêmes numéro et puissance que ceux d'origine, comme l'illustrre le tableau.
PHARES ANTIBROUILLARD (selon l'équipement)
Si le remplacement de l'ampoule du phare antibrouillard est nécessaire, nous vous recommandons de visiter un concessionnaire NISSAN LEAF certifié pour cet entretien.
ÉCLAIRAGE EXTERIEUR ET INTÉRIEUR
| Éléments | Puisance (W) | N° d'ampoule |
| Phares (type A) (selon l'équipement)* | ||
| Feu de route* | 60 | HB3 |
| Feux de croisement* | 55 | H11 |
| Stationnement/engloutant* | 28/8 | 7444NA |
| Feux de position latéral* | - | - |
| Phares (type B) (selon l'équipement)* | ||
| Feu de route* | - | - |
| Feux de croisement* | - | - |
| Feux de jour (selon l'équipe-ment)* | - | - |
| Stationnement/engloutant* | 28/8 | 7444NA |
| Feux de position latéral* | - | - |
| Phare antibrouillard avant (selon l'équipement)* | 35 | H8 |
| Feux du couvercle du port de charge* | - | - |
| Feu combiné arrêté | ||
| Clingnotants | 21 | WY21W |
| Feux d'accêt et feuux arrêté* | - | - |
| Phare de recul | 16 | W16W |
| Feux de position latéral* | - | - |
| Éclairage de la plaque d'immatriculation* | 5 | W5W |
| Lampe de lecture* | - | - |
| Clignotant du rétroviseur de portière | - | - |
| (selon l'équipement)* | ||
| Feu d'accêt central* | - | - |
| Éclairage de miroir de courtoisie* | 1,4 | - |
| Éclairage de la boîte à gants* | 1,4 | - |
| Éclairage ambient* | 8 | - |
| Éclairage de l'aire de chargement | 5 | W5W |
- Nous vous recommendons de visiter un concessionnaire NISSAN pour le remplacement.
REMARQUE:
Communiquez toujours avec un concessionnaire NISSAN LEAF certifié pour obtenir les renseignements les plus récents sur les pieces.
Procedures de remplacement
Tous les autres feu, phares ou lampes sont de type A, B, C, D ou E. Lorsque vous devez remplacer une ampoule, retirez d'abord la lentille ou le couvercle.


Éclairage de l'aire de chargement



Feu combiné arrière
- Retirez les boulons de fixation du feu combiné arrêté ①.
-
Tirez l'ensemble du feu combiné arrêté comme illustré ②.
-
Tournez la douille de l'ampoule, puis retirez l'ampoule ③.
ROUES ET PNEUS
En cas de crevaison, consultez la section « Pneu creve » du chapitre « En cas d'ur-gence »
PRESSION DES PNEUS
Système de surveillance de la pression des pneus

AVERTISSEMENT
Les ondes radioélectriques peuvent nuir au fonctionnement des apparêils Médicaux électriques. Les personnes qui portent un stimulator cardiaque doivent communiquer avec le fabricant de l'appareil Médical électrique pour connaître les interférences possibles avant l'utilisation.
Ce vehicule est doté d'un système de surveillance de la pression des pneus. Il surveille la pression de gonflage de tous les pneus. Lorsque le témoin d'advertissement de basse pression des pneus est allumé et que l'advertissement CHECK TIRE PRESSURE (verifier la pression des
pneus) s'affiche à l'écran multifonction, au moins un de vos pneus est considérablement sous-gonflé.
Le système de surveillance de la pression des pneus n'est actif que lorsque le vehicule roule à plus de 25 km/h (16 mi/h). De plus, ce dispositif peut ne pas détecter la chute soudaine de la pression d'un pneu (par exemple, un pneu crevependant la conduite).
Pour obtenir des renseignements supplémentaires, consultez les sections « Témoin d'advertissement de basse pression des pneus » du chapitre « Commandes et instruments », « Système de surveillance de la pression des pneus » du chapitre « Démarrage et conduite » et « Système de surveillance de la pression des pneus » du chapitre « En cas d'urgence » de ce manuel.
Pression de gonflage des pneus
Vérifiez souvent la pression des pneus et vérifiez-la toujours avant un long trajet. La pression de gonflage des pneus recommendée est induquée sur l'étiquette d'homologation FMVSS/NSVAC ou l'étiquette de renseignements relatifs aux pneus et à la charge sous la section « Pression de gonflage à froid ». L'étiquette de renseignements relatifs aux pneus et à la charge est apposée sur le pied milieu du côte conducteur. Les pressions de gonflage des pneus doivent être vérifiées régulièrement, car :
- la plupart des pneus perdent naturellement un peu d'air avec le temps;
- les pneus peuvent perdre de l'air soudainement s'ils passent sur des nids-de-poule ou d'autres objets, ou si le vehicule heurte une cordure de trottoir pendant le stationnement.
Les pressions de gonflage des pneus doivent etre vérifiees quand les pneus sont froids. Les pneus sont considérés comme FROIDS si vous vehicule est stationné depuis trois heures ou plus ou s'il a parcouru moins de 1,6 kilomètre (1 mille) à vitesses moderée.
Le système de surveillance de la pression des pneus avec fonction d'alerte de gonflage facilité fournit des signaux visuels et audibles à l'extérieur du vehicule pour le gonflage des pneus à la pression À FROID recommandaee. Pour obtenir des renseignements supplémentaires, consultez la section « Système de surveillance de la pression des pneus avec fonction d'alerte de gonflage facilité » dans le chapitre « Démarriage et conduite » du précédent manuel.
Une pression inadéquate des pneus, incluant un sous-gonflage, peut réduire leur durée de vie et nuir à la tenue de route de votre vehicule.

AVERTISSEMENT
- Des pneus mal gonflés peuvent éclater et cause un accident.
Le poids nominal brut du vehicule (PNBV) est indiqué sur l'étiquette d'homologation FMVSS/NSVAC. L'indice de charge du vehicule est indiqué sur l'étiquette de renseignements relatifs aux pneus et à la charge. Ne chargez pas votre vehicule au-delà de sa capacité. La surcharge de votre vehicule peut réduire la durée de vie des pneus, comprométtre le fonctionnement sur du vehicule par une défaillance
prémature des pneus ou par un comportement routier défavorable et provoquer des accidents graves. Une charge dépassant la capacité spécifiée peut également entraîner la défaillance d'autres composants du vehicule.
- Avant d'entrepreneure un long trajet ou chaque fois que le vehicule est lourdement charge, vérifie la pression de gonflage des pneus au moyen d'un manomètre pour vous assurer qu'elle correspond à la pression préconisée.
Pour obtenir de plus amples renseignements au sujet des pneus, consultez la section « Renseignements importants concernant la sécurité des pneus (E.-U.) » ou « Renseignements concernant la sécurité des pneus (Canada) » du Livret de renseignements sur la garantie.

Étiquette de renseignements relatifs aux pneus et à la charge
1 Nombre de places : nombre maximal d'occupants qui peuvent prendre place dans le vehicule.
② Dimensions des pneus d'origine: les dimensions des pneus installés à l'origine sur le vehicule, à l'usine.
3 Pression des pneus à froid : gonflez les pneus à cette pression lorsqu'ils sont froids. Les pneus sont considérés comme FROIDS si votre vehicule est stationné depuis trois heures ou plus ou s'il a parcouru moins de 1,6 kilomètre (1 mille) à vitesse modérée. Le gonflage à froid recommendé des pneus est établi par le constructeur de façon à fournir le meilleur équilibre sur les plans de l'usure des
pneus, de la maitrise du vehicule, de la qualite de conduite, du bruit de roulement, etc. selon le PNBV du vehicule.
4 Taille des pneus - Consultez la section « Marquage des pneus » dans leprésent chapitre.
5 Dimensions de la roue de secours ou dimensions de la roue de secours compacte (selon l'équipement)
6 Limité de capacité de charge du vehicule : pour obtenir des renseignements supplémentaires, consultez la section « Information concernant le chargement du vehicule » dans le chapitre « Données techniques et information au consommateur » du précédent manuel.

Vérification de la pression des pneus
- Retirez le capuchon de la tige de soupape du pneu.
- Appuyez le manomètre directement sur la tige de soupape. N'appuyez pas trop fort et ne poussez pas la tige de soupape vers le côté, sinon de l'air s'échappera. Si vous entendez un sifflement d'air qui s'échappe lorsque
vous vérifie la pression, replacez le manomètre de façon à eliminer la fuite.
- Retirez le manomètre.
- Lisez la pression du pneau sur la tige du manomètre et comparez-la à la Specification indiquée sur l'étiquette de renseignements relatifs aux pneau et à la charge.
- Gonflez le pau au besoin. Si le pau est trop gonflé, appuyez brièvement sur le pointeau du corps de valve à l'aide de l'extrémité de la tige du manomètre pour relâcher la pression. Vérifiez de nouveau la pression et ajoutez ou relâchez de l'air au besoin.
- Installez le capuchon de la tige de soupape.
- Vérifiez la pression de tous les pneus.
| TAILLE | PRESSION DE GON-FLAGE À FROID | |
| PNEU ARRIÈRE D'ORIGINE | P205/55R16 89H | 250 kPa, (36 lb/ \( {po}^{2} \)) |
| PNEU ARRIÈRE D'ORIGINE | P215/50R17 90V | 250 kPa, (36 lb/ \( {po}^{2} \)) |
| PNEU ARRIÈRE D'ORIGINE | P205/55R16 89H | 250 kPa, (36 lb/ \( {po}^{2} \)) |
| PNEU ARRIÈRE D'ORIGINE | P215/50R17 90V | 250 kPa, (36 lb/ \( {po}^{2}\rbrack \) |

Example
MARQUAGE DES PNEUS
La loi fédérale aux États-Unis exige que les fabricants de pneus affi-chent des renseignements normalisés sur le flanc de tous les pneus. Ces renseignements identifient et décrivent les caractéristiques principales du pneu et fournissant égale-ment le numéro d'identification du pneu (TIN) pour l'homologation des normes de sécurité. Le numéro

Example
d'identification du pau ne peut etre utilise pour identifier le pau en cas de rappel.
(1) Dimensions du pneu (exemple : P215/60R16 94H)
- P: Le « P » signifie que le pneu est conçu pour les vehicules de tourisme. (Ces renseignements ne figurent pas sur tous les pneus.)
- Numéro à trois chiffres (215): Ce numéro indique la largeur du
pneu en millimètres à partir du bord des flancs.
- Numéro à deux chiffres (60) : ce nombre, connu sous le nom de rapport d'aspect, indique le rapport entre la hauteur et la largeur du pneu.
- R: Le « R » identifie un pneur radial.
- Numéro à deux chiffres (16): ce numéro est le diamètre de la roue ou de la jante en pôues.
- Numéro à deux ou à trois chiffres (94): ce numéro représenté l'indice de charge du pneu. Ceci est une indication du poids que chaque pneu peut supporter. Cette information peut ne pas être presente sur tous les pneus, car elle n'est pas requise par la loi.
- H : Cote de vitesse nominale du pneu. Vous ne devriez pas conduire le vehicule à une vitesse supérieure à la cote de vitesse du pneu.

② Numéro d'identification du pau (TIN) pour un pau neuf (exemplé : DOT XX XX XXX XXXX)
1. DOT: « Département of Transportation » (ministère du Transport des États-Unis). Le symbole peut être placé au-dessus, au-dessous ou à la gauche ou à la croite du numéro d'identification du pneu.
2. Code à deux chiffres : identificaiton du fabricant.
- Code à deux chiffres : Taille dupneu
- Code à trois chiffres : Code du type de pneu (optionnel)
- Quatre chiffres représentant la se-. maine et l'année de fabrication du pau. Par exemple, les chiffres 3103 representent la 31^e semaine de I'année 2003. Si vous n'apercevez pas ces nombres, rechercheles sur I'autre flanc du pau.
③ Composition et matériel du pris du pineu
Le nombre de pris ou de couches de tissu enduit de caoutchouc dans le pneu.
Les fabricants de pneus doivent aussi indiquer les matériaux du pneu, incluant l'acier, le nylon, le polyester et autres.
(4) Pression de gonflage maximale admissible
Ce chiffre indique la pression d'air maximale pouvant etre appliquee au pneu. Ne dépassez jamais la pression de gonflage maximale permise.
Charge nominale maximale Ce chiffre indique la charge maximaie en kilogrammes et en livres pouvant etre transportee par le pneu. Lorsque vous remplacez les pneus du vehicule, utilisez always un pneu ayant la meme charge nominale maximale que les pneus installés à l'usine.
(6) Le terme « tubeless » (sans chambre à air) ou « tube type » (avec chambre à air) Indique si le pneu exige une chambre à air (« tube type ») ou non (« tubeless »).
⑦ Le mot « radial »
Le mot « radial » est créé si la structure du pneau est radiale.
(8) Nom du fabricant ou de la marque
Le nom de fabricant ou la marque est indiqué(e).
Autre terminologie concernant les pneus :
En plus des nombreux termes définis dans le present chapitre,le « flancextérieur prevu » est (1) le flanc blanc,quelui qui porte un lettrage blanc ouqui indique le nom du fabricant, de lamarque ou du modèle moulé en relief par rapport à la même indication sur l'autre flanc du pneu, ou (2) leflanc extérieur d'un pneu asymétri
que dont un côté en particulier doit toujours faire face vers l'extérieur lorsquemontésurunvehicule.
TYPES DE PNEUS

AVERTISSEMENT
Lorsque vous changez ou remplacez les pneus de votre vehicule, assurez-vous que les quatre pneus sont du même type (par exemple, pneus d'eté, pneus toutes saisons ou pneus d'hiver) et de la même construction. Un concessionnaire NISSAN LEAF certifié pourra vous donner des renseignements relatifs au type, à la taille, à l'indice de vitesse et à la disponibilité des différents pneus.
Utilisez toujours des pneus des mêmes type, taille, marque, construction et dessin de bande de roulement sur les quatre roues. Le non-respect de cette directive peut entrainer une différence de circonférence entre les pneus aux essieux avant et arrière, ce qui peut cause une anomalie du système de
contrôle dynamique du vehicule entrainant des blessures graves, voire mortelles, une usure excessive des pneus et endommager la transmission et les engrenages pour différentiel.
- Les pneus de rechange peuvent avoir une cote de vitesse inférieure à celui des pneus installés en usine et, par conséquent, ne pas pouvoir s'adapter à la vitesse maximale de votre vehicule. Ne dépassez jamais la vitesse de la cote de vitesse maximaule d'un pneu.
- L'utilisation de pneus de remplacement autres que ceux précisés par NiSSAN peut nuir au fonctionnement du système de surveillance de la pression des pneus.
Pour obltenir de plus amples renseignements au sujet des pneus, consultez la section « Renseignements importants concernant la sécurité des pneus (É.-U.) » ou « Renseignements concernant la sécurité des pneus (Canada) » du Livret de renseignements sur la garantie.
Pneus toutes saisons
Certains modèles de vehicules NISSAN sont munis de pneus toutes saisons. Ces pneus offrent un bon rendement tout au long de l'année, même sur une chaussée enneigée ou glacée. Les mots ALL SEASON (toutes saisons) ou les lettres « MS » (boue et neige) indiqués sur le flanc des pneus identifient ce type de pneu. Les pneus d'hiver offrent une(Meilleure adhérence dans la neige que les pneus ALL SEASON(toutes saisons) et ils peuvent être mieux adaptations au climat de certaines régions.
Pneus d'été
Certains modèles de vehicules NiSSAN sont munis de pneus d'été. Ceux-ci offrent un rendement supérieur sur chaussée sèche. La neige et la glace nuisent considérablement au rendement des pneus d'été. L'indice d'adhérence identifié par les lettres « MS » (boue et neige) n'apparaît pas sur le flanc des pneus d'été.
Si vous possédez un vehicule à quatre roues motrices, NISSAN vous recommend d'utiliser des pneus SNOW (à neige) ou des pneus identifiés ALL SEASON (toutes sai
sons) si vous doivent sur une chaussée enneigée ou glacée.
Pneus d'hiver
Si vous installez des pneus d'hiver sur votre vehicule, assurez-vous que leur dimension et la charge maximale qu'ils peuvent porter sont les mêmes que celles des pneus d'origine. Sinon, les caractéristiques de sécurité et la tenue de route de votre vehicule pourraient'être compromises.
Les pneus d'hiver ont généralement une cote de vitesse inférieure à celle des pneus installés en usine et ils risquent de ne pas s'adapter à la vitesse maximale que peut atteindre votre vehicule. Ne dépassez jamais la vitesse de l'indice de vitesse maxi-male d'un pneu.
Si vous installez des pneus d'hiver sur votre vehicule, la dimension, la marque, la construction et la sculpture de la bande de roulement doivent être identiques sur les quatre pneus.
Des pneus à clous peuvent être utilisés pour bénéficier d'une adherence accrue sur chaussée glacée. Toutefois, l'utilisation de tels pneus est prohibée dans certains
États américain de même que dans certaines provinces du Canada. Consultez les règlements en vigueur dans votre localité, dans l'État ou la province où vous résiduez avant d'instructor ce type de pau et sur toute vehicule. Sur les chaussées sèches ou mouillées, les capacités de patinage et d'adhérence d'un pau d'hiver à clous peuvent être inférieures à celles d'un pau d'hiver sans clous.
CHÂINES ANTIDÉRAPANTES
L'utilisation de chaînes antidérapantes peut être prohibée dans certaines localités. Consultez les règlements en vigueur dans votre localité avant d'installer des chaînes antidérapantes sur les pneus de votre vehicule. Si vous installez des chaînes antidérapantes, assurez-vous qu'elles convennent à vos pneus et suivez les directives d'installation fournies par leur fabricant.
N'utilisez que des chaînes SAE de catégorie « S ». Les chaînes de catégorie « S » sont destinées aux vehicules dont l'espace des passages de roue est limité. Les vehicules sur lesquels les chaînes de catégorie « S » peuvent être installées répondant au dégagement minimal requis entre le pneu
et l'élement de suspension ou de caisse du vehicule le plus proche pour permettre l'installation d'un dispositif antidérapant pour l'hiver (châines antidérapantes ou câbles). Le débattement minimal requis est déterminé en fonction des pneus d'origine posés à l'usine. L'utilisation de chânes d'une autre catégorie peut endommager votre vehicule.
Lorsque recommandé par le fabricant, utilisez des tendeurs de chaînes pour vous assurer que les chaînes tiennent bien en place. Les maillons inutilisés de la chaîne doivent être solidement fixés ou rétérés afin d'éviter qu'ils ne heurtent les ailes ou le soubassement et ne les endommagent. Si possible, évitez de charger votre vehicule à sa capacité maximale lorsque vous utilisez des chaînes antidérapantes et conduisez plus lentement. Sinon, les chaînes peuvent endommager leur vehicule et compromètre sa tenue de route et son rendissement.
N'installez des chaînes antidérapantes que sur les roues avant; de telles chaînes ne doivent jamais être installées sur les roues arrêté.
Les chaînes antidérapantes ne doivent pas être utilisées sur une chaussée sèche. Les contraintes excessives engendrées par la conduite d'un vehicule dans de telles conditions peuvent cause des dommages à certains éléments mécaniques du vehicule.

REEMPLACEMENT DES ROUES ET DES PNEUS
Permutation des pneus
NISSAN recommende de permuter les pneus tous les 8 000 km (5 000 mi).
Au moyen d'une clé dynamométrie, serrez les écrous de roue au couple spécifiqueès que possible.
Couple de serrage des écrous de roues :
112 N·m (83 Ib-pi)
Les écrous de roue doivent être serrés au couple spécifique en tout temps. Il est recommendé de serrer les écrous de roue au couple spécifique à chaque permutation des pneus.

AVERTISSEMENT
- Àprous avoir procédé à la permutation des pneus, vérifiez et réglez la pression des pneus.
- Resserrez les écrous des roues du vehicule après avoir parcours une distance de 1000 km (600 mi), ou après un pneu creve, etc.
Pour obtenir des renseignements supplémentaires au sujet des pneus, consultez la section « Renseignements importants concernant la sécurité des pneus (É.-U.) » ou « Renseignements concernant la sécurité des pneus (Canada) » du Livret de renseignements sur la garantie.

Usure et endommagement des pneus
- Indicateur d'usure
- Marque d'emplacement de l'indicateur d'usure

AVERTISSEMENT
- Les pneus de votre vehicule doivent être vérifiés périodiquement pour y déceler la présence d'usure, de fissures, de gonflement ou d'objects coincés entre les sculptures. En présence d'une usure importante, de fissures, de gonflement ou de coupures profondes, le ou les pneus doivent être replacés.
-
Les pneus d'origine sont munis d'indicateurs d'usure incorpores dans les bandes de roulement. Lorsque les indicateurs d'usure sont visibles, les pneus doivent etre remplacés.
-
Les pneus se détiennent au fil du temps. Faites vérifier les pneus de plus de six ans par un technicien qualifié, car certains dommages peuvent ne pas être évidents. Remplacez les pneus au besoin pour prévenir les défaillances du pneu et les blessures qui peuvent en découler.
Pour obtenir des renseignements supplémentaires au sujet des pneus, consultez la section « Renseignements importants concernant la sécurité des pneus (E.-U.) » ou « Renseignements concernant la sécurité des pneus (Canada) » du Livret de renseignements sur la garantie.
Remplacement des roues et des pneus
Lorsque you remplacez un pneu, utilisez un pneu dont la dimension, la sculpture de bande de roulement, la cote de vitesse et la capacité de charge sont similaires à ceux du pneu d'origine. Pour obtenir des renseignements supplémentaires, consultez la section « Spécifications » du chapitre « Données techniques et information au consommateur » duprésentant manuel pour connaître les types et les dimensions recommandés de pneus et de roues.

AVERTISSEMENT
- L'utilisation de pneus autres que ceux qui sont commandés ou l'utilisation mixte de pneus de marque ou de construction (diagonale, ceinturée, radiale) diverses, ou dont les sculptures de bandes de roulement différent, peut nuir à la conduite, au freinage, à la tenue de route, au système de contrôle dynamique du vehicule (VDC), à la garde au sol, au jeu entre la carroserie et les pneus, au jeu des chaînes antidérapantes, à l'étalonnage de l'indicateur de vitesse, à la convergence des phares ainsi qu'à la hauteur du pare-chocs. Certains de ces effets peuvent cause des accidents et entraîner des blessures graves.
- Si votre vehicule était initialement équipé de quatre pneus qui étaient de la même taille et si vous remplacecz seulement deux des quatre pneus, posez les pneus neufs sur l'essieu arrière. Le fait de placer les pneus neufs sur l'essieu avant peut causeer la perte de la maitrise du vé
hicule dans certaines conditions de conduite et entrainer un accident et de graves blessures.
Si les roues doivent etre changées pourquelque raison que ce soit, remplacez-les toujours par des roues au deport identique.Des roues au deport different peuvent entrainer une usure prematurée des pneus,comprometre les caractéristiques du comportement routier, nuire au fonctionnement du systeme de contrôle dynamique du vehicule ou entraver le fonctionnement des disques et des tambours de frein.Cette interfeere peut réduire l'efficacité du freinage ou entrainer une usure prematurée des plaquettes et segments de frein. Pour obtenir des renseignements supplémentaires, consultez la section « Roues et pneus » du chapitre «Données techniques et information au consommateur » du present manuel pour connaître les dimensions de deport des roues.
- Lors du remplacement d'une roue qui n'est pas équipée d'un système de surveillance de la pression des pneus telle que la roue de secours, le système de surveillance de la pression des pneus ne sera plus fonctionnel et le tímoin d'advertissement de basse pression des pneus clignotera pendant environ une minute. Le tímoin demeure allumé après une minute. Nous vous recommendons de vous rendre chez un concessionnaire NISSAN LEAF certifié pour procédér cêt entretien.
- L'utilisation de pneus de remplacement autres que ceux précisés par NiSSAN peut nuire au fonctionnement du système de surveillance de la pression des pneus.
- Vous pouvez endommager le capteur du système de surveillance de la pression des pneus si vous ne le manipulez pas correctement. Soyez prudent lorsqu'vous manipulez le capteur du système de surveillance de la pression des pneus.
Lorsque vous remplacez le capteur du système de surveillance de la pression des pneus, l'ID d'enregistrement peut etre nécessaire. Nous vous recommendons de vous rendre chez un concessionnaire NISSAN LEAF certifie pour I'enregistrement du code d'identification.
- N'utilisez pas un capuchon de corps de valve qui n'est pas recommandé par NiSSAN. Le capuchon de corps de valve peut s'obstruer.
Assurez-vous que les capuchons de corps de valve sont correctement installés. Sinon, la soupape peut être obstruée par de la saleté, ce qui provoque une anomalie ou une baisse de pression.
- N'installez pas de roues ou de pneus endommages ou déformés sur votre vehicule, même s'ils ont eté répârés. Ceux-ci peuvent partager des dommages structurels et entraîner une défaillance soudaine.
L'utilisation de pneus rechapés est déconseillée.
Pourodenirdeplusamples renseignementsau sujetdes pneus, consultezla section «Renseignementsimportantscoccurite des pneus (E.-U.) » ou « Renseignements concernant la sécuritédes pneus (Canada) » du Livret derenseignements surla garantie.
Équilibrage des roues
Des roues mal équilibrées peuvent nuire à la tenue de route du vehicule et réduire la durée de vie des pneus. Mème si le vehicule est utilisé régulièrement, les roues peuvent devenir dé-sequilibrées. C'est pourquoit les roues doivent être équilibrées tel que recommends.
Les roues doivent etre retirees du vehicule pour effectuer I'equilibrage. Sinon, le vehicule pourrait subir des dommages mecaniques.
Pour obtenir de plus amples renseignements au sujet des pneus, consultez la section « Renseignements importants concernant la sécurité des pneus (É.-U.) » ou « Renseignements concernant la sécurité des pneus (Canada) » du Livret de renseignements sur la garantie.
Soin des roues
Pour obtenir des renseignements supplémentaires, consultez la section « Nettoyage des surfaces extérieures du vehicule » du chapitre « Aspect et entretien » du present manuel.
TROUSSE DE SECOURS POUR CREVAISONS
La trousse de secours pour crevaisons (produit d'obturation de secours pour pneus) est fournie avec le vehicule à la place d'une roue de secours. Elle peut être utilisée pour les réparations temporaires de crevaisons mineures.
Si possible, faites remorquer le vehicule jusqu'à un établissement qui peut réparer ou replacer le pneu creve. L'utilisation de la trousse de secours pour crevaisons peut causer une anomalie des capteurs de pression des pneus et entraîner l'allumage du témoin d'avertissement de basse pression des pneus.
Pour obtenir des renseignements supplémentaires, consultez la section « Pneu creve » du chapitre « En cas d'urgence » de ce manuel.
REMARQUES
9 Données techniques et information au consommateur
Contenances, liquides et lubricifants
recommendés 9-3
Recommendations relatives au fluide frigorigène
et au lubrifiant du système de climatisation . .9- 4
Spécifications 9-5
Système de chargement. 9-5
Moteur. 9-6
Roues et pneus. 9-6
Dimensions et poids. 9-6
Voyages ou immatriculation du vehicule à
l'étranger 9-7
Identification du vehicule. 9-7
Plaque de numero d'identification du vehicule
(NIV). 9-7
Numéro d'identification du vehicule
(numéro du chassis). 9-7
Numéro de série du moteur de traction. . . . .9-8
Étiquette d'homologation FMVSS/NSVAC. . . .9-8
Étiquette de contrôle des émissions . 9-8
Étiquette de renseignements relatifs aux
pneus et à la charge. 9-9
Étiquette des caractéristiques du
climatiseur 9-9
Installation de la plaque d'immatriculation
avant. 9-9
Information concernant le chargement du
vehicule 9-10
Terminologie 9-10
Capacité de charge du vehicule. .9-11
Conseils pour le chargement 9-13
Mesure des poids 9-14
Traction d'une remorque 9-14
Remorquage à plat. 9-14
Classification uniforme de qualite de pneus ..9-15
Usure de la bande de roulement 9-15
TractionssAA,A,BetC .9-15
Température A, B et C 9-15
Défauts compromettant la sécurité. 9-16
Aperçu du système télématique
(modèles avec dispositif d'aide à la navigation). .9-17
Module de commande de la
telématique Gen2K. 9-20
Enregistreurs de données d'événement 9-21
Enregistrement des données supplémentaires
(sur les vehicules équipés du système optionnel
Pour commander le manuel du conducteur ou le manuel de réparation 9-23
Renseignements relatifs au chargement 9-24 Pressions des pneus a froid .9-25
CONTENANCES, LIQUIDES ET LUBRIFIANTS RECOMMANDÉS
Les contenances indiquées ci-après sont approximatives. Les contenances de replissage réelles peuvent varier légèrement. Au moment du replissage, suivez la méthode décrite dans le chapitre « Entretien et interventions du propriétaire » afin de déterminer les contenances adéquates.
| Type de liquide | Contenances (approximatives) | Liquides/Lubrifiants recommends | |||
| Métrique Mesure | ÉTATS-UNIS Mesure | Impérieale Mesure | |||
| Liquide de refroidissement du circuit de refroidissement | Avec un réservoir | 5,3 L | 5 5/8 pin-tes | 4 5/8 pin-tes | Antigel / liquide de refroidissement prédilué lon-gue durée NISSAN d'origine (de couleur bleue) ou un produit équivalent. |
| Réserveir | 0,5 L | 1/2 pinte | 1/2 pinte | ||
| Liquide d'engrenage de réduction | 1,4 L | 11/2 pinte | 11/4 pinte | Huile pour boîte de vitesses automatique NISSAN Matic S d'origine.L'utilisation d'une huile pour boîte de vitesses au-tomatique autre que l'huile NISSAN Matic S d'ori-gine affecte le fonctionnement et la vie utile de l'engrenage de réduction, et peut l'endommager; ces dommages ne sont pas couverts par la garantie limitée de vehicule neuf NISSAN. | |
| Liquide de frein | Remplissez jusqu'àu niveau adé-quat selon les instructions du cha-pitre « Entretien et interventions du propriétaire » . | Liquide de frein de très haute tenue NISSAN d'ori-gine (disponible dans la zone continentale des États-Unis, auprès d'un concessionnaire NISSAN LEAF certifié) ou un produit équivalent DOT 3 | |||
| Graissse universelle | - | - | - | NLGI n° 2 (à base de savon de lithium) | |
| Fluide frigorigène du système de climati-sation | - | - | - | HFC-134a (R-134a).Pour obtenir de plus amples renseignements, consultez la section « Étiquette des caractéristi-ques du climatiseur » du précédent chapitre. | |
| Type de liquide | Contenances (approximatives) | Liquides/Lubrifiants recommendés | ||
| Métrique Mesure | ÉTATS-UNIS Mesure | Impérieale Mesure | ||
| Lubrifiants du système de climatisation | - | - | - | Avec pompe thermique, utilisez l'huile pour sys-tème de climatisation NISSAN ND-OIL11 ou un pro-duit équivalent.Sans pompe thermique, utilisez l'huile pour sys-tème de climatisation NISSAN AE10 ou un produit équivalent. |
| Liquide lave-glace (É.-U.) | 2,5 L | 5/8 gal | 1/2 gal | Liquide lave-glace concentré nettoyant NISSAN d'origine avec antigel ou l'équivalent. |
| Liquide lave-glace (Canada) | 4,5 L | 1 1/4 gal | 1 gal | Liquide lave-glace concentré nettoyant NISSAN d'origine avec antigel ou l'équivalent. |
RECOMMANDATIONS RELATIVES AU FLUIDE FRIGORIGÉNÉ ET AU LUBRIFIANT DU SYSTÉME DE CLIMATISATION
Le système de climatisation de votre vehicule NISSAN doit être rempli de fluide frigorigène HFC-134a (R-134a) et d'huile pour comprésseur de type ND-OIL11 (avec pompe thermique), AE10 (sans pompe thermique) ou d'un produit équivalent.

MISE EN GARDE
L'utilisation de tout autre frigorigène ou lubrifiant causera des dommages graves au système de climatisation. Tous les composants de ce dernier devront alors'être remplacés.
Le fluide frigorigène HFC-134a (R-134a) de votre vehicule NISSAN ne nuit pas à la couche d'zone. Bien que ce fluide frigorigène n'ait pas d'impact sur l'atmosphère, la récuppération et le recyclage du fluide frigori
gène au moment de l'entretien d'un système de climatisation automobile sont obligatoires en vertu de certains règlements gouvernementaux. Un concessionnaire NiSSAN LEAF certifié dispose des techniciens formés et de l'équipement nécessaire pour récapuerer et recycler le fluide frigorigène de votre système de climatisation.
Nous vous recommendons de visiter un concessionnaire NISSAN LEAF certifié pour procéder à l'entretien de votre système de climatisation.
SPECIFICATIONS
SYSTEME DE CHARGEMENT
| Tension de l'entrée nominale | CA 120 V, 220 V (monophasé) |
| Fréquence de l'entrée nominale | 60 Hz |
| Courant nominal maximal | 30 A |
| Mode 2/Boîtier B (EVSE) | |
| Modes de chargement et types de raccordement | Mode 3/ Boîtier B/C (dispositif de chargement, support de chargement public) |
| Mode 4/Boîtier C (charge rapide) | |
| Installation requise (protection de surintensité) | Les méthodes de protection contre la surintensité et la surtension doivent être conformes avec les codes nationaux. Il est conseilé d'installer des dispositifs de protection contre la surintensité appropriés pour le câblage des maisons ou des bâtiments. |
| Indice de protection | IP44 : lorsque le dispositif de chargement EVSE NISSAN d'origine est raccordé au port de chargement |
| Température de fonctionnement | Identique à la température de fonctionnement du vehicule |
| Température d'entreposeage | Identique à la température d'entreposage du vehicule |
| Normes en vigueur | SAE J1772 : 2010 EN61851-1 : 2011 EN61851-21 : 2002 IEC61851-1 : 2010 IEC61851-21 : 2001 |
| Adaptateurs | N'utilise pas un cable d'extension ou un adaptateur électrique à l'exception de l'adaptateur NISSAN d'origine. |
MOTEUR
| Modèle | EM57 |
ROUES ET PNEUS
Roue
| Type | Taille | Déport mm (po) |
| Acier | 16 × 6 1/2JJ | 40 (1,57) |
| Aluminium | 17 × 6 1/2J | 45 (1,77) |
Pneu
| Pneu | Taille |
| Toutes saisons | P205/55R16 89H |
| Toutes saisons | P215/50R17 90V |
DIMENSIONS ET POIDS
| Longueur hors tout | mm (po) | 4 478 (176,3) |
| Longueur hors-tout avec plaque d'immatriculation | mm (po) | 4 490 (176,8) |
| Largeur hors tout | mm (po) | 1 789 (70,4) |
| Largeur hors tout sans rétroviseurs extérieurs | mm (po) | 2 029 (79,9) |
| Hauteur hors tout (toit) | ||
| Roues de 16 pouces | mm (po) | 1 539 (60,6) |
| Roues de 17 pouces | mm (po) | 1 545 (60,8) |
| Hauteur hors tout (antenne) | ||
| Roues de 16 pouces | mm (po) | 1 561 (61,5) |
| Roues de 17 pouces | mm (po) | 1 567 (61,7) |
| Voie avant | ||
| Roues de 16 pouces | mm (po) | 1 540 (60,6) |
| Roues de 17 pouces | mm (po) | 1 530 (60,2) |
| Voie arrêté | ||
| Roues de 16 pouces | mm (po) | 1 555 (61,2) |
| Roues de 17 pouces | mm (po) | 1 545 (60,8) |
| Empâttement | mm (po) | 2 700 (106,3) |
| Poids nominal brut du vehicule (PNBV) | kg (lb) | Consultez l'étiquette d'homologation FMVSS ou NSVAC sur le montant central du côte conducteur. |
| Poids nominal brut sur l'essieu (PNBE) | ||
| Avant | kg (lb) | |
| Arrière | kg (lb) |
VOYAGES OU IMMATICULATION DU VEHICULE À L'ETRANGER
Lorsque vous prévoyez de vous déplacer à l'étranger, assurez-vous que l'équipe-ment de chargement est compatible avec le circuit électrique du pays.
Lors du transfert de l'immatriculation du vehicule dans un autre pays, Etat, province ou district, il peut etre nécessaire de modifier le vehicule afin qu'il soit conforme aux lois et reglementations locales.
Les lois et les réglementations régissant les normes de sécurité des vehicules varient selon le pays, la province, l'Etat ou le district. Par conséquent, les specifications requises pour un vehicule peuvent être différentes.
Lorsqu'un vehicule doit'être immatriculé dans un autre pays, province, État ou district, les frais de modification, de transport et d'immatriculation sont à la charge du propriétaire. NISSAN décline toute responsabilité à cet égard.

IDENTIFICATION DU VEHICULE
PLAQUE DE NUMERO D'IDENTIFICATION DU VEHICULE (NIV)
La plaque de numero d'identification du vehicule est fixe a l'endroit illustré. Ce numero identifie votre vehicule et il est requis au moment de l'immatriculation du vehicule.

NUMÉRO D'IDENTIFICATION DU VÉHICULE (NUMÉRO DU CHÂSSIS)
Le numero d'identification du vehicule (NIV) est situé à l'endetroit illustré.
Soulevez le capot pour acceder au numero.

NUMERO DE SÉRIE DU MOTEUR DE TRACTION
Le nombre de série du moteur de traction est gravé sur le moteur de traction, tel qu'ilustré.

ÉTIQUETTE D'HOMOLOGATION FMVSS/NSVAC
L'étiquette d'homologation des normes féderales de sécurité des vehicules automobiles du Canada (FMVSS/NSVAC) est apposée tel qu'indiqué. Cette étiquette présente des renseignements importants relatifs au vehicule, tels que: le poids nominal brut du vehicule (PNBV), le poids nominal brut sur l'essieu (PNBE), le mois et l'année de fabrication, le numéro d'identification du vehicule (NIV), etc. Lisez attentivement cette étiquette.

ÉTIQUETTE DE CONTROLE DES ÉMISSIONS
L'étiquette de contrôle des émissions est apposée sous le capot, à l'endetroit illustré.

ÉTIQUETTE DE RENSEIGNEMENTS RELATIFS AUX PNEUS ET À LA CHARGE
La pression des pneus à froid est indiquée sur l'étiquette de renseignements relatifs aux pneus et à la charge apposée sur le pied milieu du conducteur, tel qu'illustré.

ÉTIQUETTE DES CARACTERISTIQUES DU CLIMATISEUR
L'étiquette des caractéristiques du climatiseur est apposée sous le capot, à l'endroit illustré.
INSTALLATION DE LA PLAQUE D'IMMATRICULATION AVANT

Effectuez les étapes suivantes pour installer la plaque d'immatriculation.
Assurez-vous que les pieces suivantes se trouvent dans le sac de plastique avant d'installer la plaque d'immatriculation.
- Support de plaque d'immatriculation ①
-Vis x 2
- Placez le support de plaque d'immatri-culation ① sur les marques indiquées (petites cavités).
INFORMATION CONCERNANT LE CHARGEMENT DU VÉHICULE
- Marquez tout au long des deux côtés des trous de fixation et des trous de vis de la plaque d'immatriculation à l'aide d'un feuitre.
- Retirez le support de plaque d'immatri-culation ① et branchez les arcs à partir des ovales. Marquez le point au centre de chaque ovale. Ces repères sont les emplacements pour la pose de vis.
- Installez la plaque d'immatriculation à l'aide de deux vis de 10 mm (0,39 po).

AVERTISSEMENT
- Il est très dangereux de prendre place dans l'espace à bagages d'un vehicule en mouvement. Les personnes s'y trouvant sont beaucoup plus susceptibles de subir des blessures graves, voir mortelles, en cas de collision.
- Ne permette jamais à un passager de s'asseoir ailleurs que dans un siège muni d'une ceinture de sécurité.
Assurez-vous que tous les passagers de votre vehicule ont pris place sur un siège et qu'ils ont bien bouclé leur ceinture de sécurité.
TERMINOLOGIE
Avant de charger votre vehicule, il estimportant de vous familiariser avecla terminologie suivante :
- Poids à vide (poids réel du vehicule) – Poids du vehicule comprenant l'équipment de série et celui offert en option, les liquides et les outils de secours. Ce poids ne comprend pas les passagers et les bagages.
- PTAC (poids total autorisé en charge) - Poids à vide du vehicule plus le poids combiné des passagers et des bagages.
- PNBV (poids nominal brut du vehicule) - Poids total maximal du vehicule non charge, des passagers, des bagages, de l'attelage, de la charge sur la languette de remorque et de tout autre équipement offert en option. Ces renseignements sont inscrits sur l'étiquette d'homologation FMVSS/NSVAC
PNBE (poids nominal brut sur l'essieu) - Poids maximal (vehicule charge) spécifique pour l'essieu avant ou arrêté.
- Ces renseignements sont inscrits sur l'étiquette d'homologation FMVSS/NSVAC
- PTMC (poids technique maximal combiné) - Poids nominal total maximal du vehicule, des passagers, de la charge et de la remorque.
- Capacité du vehicule, limite de charge, capacité de charge totale - Poids total maximal spécifique pour la charge (passagers et charge) du vehicule. Il s'agit du poids total maximal des occupants et de la charge que le vehicule peut accueillir. Si le vehicule est utilisé pour tirer une remorque, le poids au ti-mon de la remorque doit être com
pris dans le calcul du poids de la charge. Cette information se trouve sur l'étiquette à propos des pneus et de la charge du vehicule.
- Capacité de charge - Poids admissible de la charge résultat de la soustraction du poids des occupants de la limite de charge.
CAPACITÉ DE CHARGE DU VEHICULE
Ne dépassez pas la limite de capacité de charge de votre vehicule, identifiée par le « Poids combiné des passagers et des bagages » sur l'étiquette d'information sur les pneus et la charge. Ne dépassez pas le nombre d'occupants précisé à la mention « Nombre de passagers » sur l'étiquette des pneus et d'information sur la charge.
Pour obtenir le « poids combiné des passagers et des bagages », additionnez le poids de tous les occupants, puis ajoutez le poids total des bagages. L'illustration suivante présente des exemples.


Étapes pour déterminer la limite de charge correcte
-
Recherche la mention « Le poids total des passagers et des bagages ne doit jamais dépasser XXX kg ou XXX lb » sur l'étiquette de renseignements relatifs aux pneus et à la charge du vehicule.
-
Déterminez le poids total du conducteur et des passagers qui prendront place dans votre vehicule.
- Faites la soustraction du poids total du conducteur et des passagers de XXX kg ou XXX lb.
- Le résultat est égal à la capacité de charge disponible pour la charge et les bagages. Par exemple, si XXX égale 1 400 lb et qu'il yaura cinq passagers de 150 lb dans votre vehicule, la capacité de charge de l'espace utilisé et du portebagages sera de 650 lb (1 400 - 750 [5 × 150] = 650 lb) ou (640 - 340 [5 × 70] = 300 kg).
- Déterminez le poids total de la charge et des bagages charges dans le vehicule. Pour votre sécurité, ce poids ne peut pas dépasser la capacité de charge disponible pour la charge et les bagages calculée à l'étape 4.
Avant de démarrer avec un vehicule charge, assurez-vous que votre vehicule ne dépasse pas le Poids Nominal Brut (PNBV) ou le Poids Technique Maximal sous Essieu (PTME) spécifiés. Pour obtenir des renseignements supplémentaires, consultez la section « Mesure des poids » dans leprésent chapitre.
Assurez-vous également que la pression de gonflage des pneus est ajustate. Pour obtenir des renseignements supplémentaires, consultez la section « Étiquette de renseignements relatifs aux pneus et à la charge » duprésent chapitre.
CONSEILS POUR LE CHARGEMENT
Le PBV ne doit pas dépasser le PNBV ou le PNBE précisés sur l'étiquette d'homologation FMVSS/NSVAC.
- Ne chargez pas l'essieu avant et arrrière jusqu'à la limite du PTME. Le PNBV serait alors dépasse.

AVERTISSEMENT
Fixez solidement tous les bagages à l'aide de cordes ou de sangles afin d'eviter qu'ils ne glissant ou se déplacent. N'empirez pas les bagages plus hauts que les dossiers de sièges. En cas d'arrêt brusque ou de collision, les bagages non retenus pourraient entraîner des blessures.
Veiliez à ne pas dépasser le PNBV (Poids Nominal Brut du Véhicule) ou le PTME (Poids Technique Maximal sous Essieu) avant et arrêté lorsque vous chargez votre vehicule. Si vous dépassez ces spécifications, des pieces peuvent se briser, les pneus peuvent s'user prématurément et la tenue de route peut être compromise au point de vous faire
perdre la maitrise de votre vehicule et de causeur des blessures.
- La surcharge peut non seulement diminuer la durée de vie utile du vehicule et des pneus, mais elle peut aussi provoquer un comportement routier non sécuritaire et entraîner de plus longues distances de freinage. Ceci pourrait cause une défaillance prématurée des pneus, ce qui risquerait de provoquer un accident grave et des blessures. Les défaillances causées par les surcharges ne sont pas couvertes par la garantie de votre vehicule.
MESURE DES POIDS
Fixez solidement les articles susceptibles de se déplacer afin d'eviter des changements de poids qui pourraient nuire à l'équilibre de votre vehicule. Arrêtez-vous dans un endroit qui possède une balance lorsque votre vehicule est charge et faites-y peser les roues avant et arrrière séparément afin de déterminer la charge sur les essieux. La charge sur les essieux avant ou arrière ne doit pas dépasser le poids nominal brut sur l'essieu (PNBE). La charge totale sur les essieux ne doit pas dépasser le poids nominal brut du vehicule (PNBV). Ces mesures de poids sont indiquées sur l'étiquette d'homologation de votre vehicule. Si les charges de votre vehicule dépassent ces mesures, déplacez ou retirez des bagages pour que leur poids se situe en dette des limites de charge préconisées.
TRACTION D'UNE REMORQUE
Ne tractez pas une remorque avec votre vehicule.
REMORQUAGEÀPLAT
Le remorquage de votre vehicule avec les quatre roues au sol est parfois appelé « remorquage à plat ». Cette méthode est généralement utilisée pour remorquer un vehicule derrière un vehicule de loisir, comme une autocaravane.

MISE EN GARDE
- Si vous ne respectez pas ces directives, vous risquez d'endommager gravement l'engrenage de réduction.
- NE remorquez PAS ce vehicule avec les quatre roues au sol (remorquage à plat).
Pour obtenir des renseignements relatifs aux procédures de remorquage d'urgence, consultez la section « Remorquage de votre vehicule » dans le chapitre « En cas d'urgence » duprésent manuel.
CLASSIFICATION UNIFORME DE QUALITE DE PNEUS
Indices de qualité du DOT (ministère du Transport des États-Unis): en plus des classifications énumérées ci-après, tous les pneus des voitures de tourisme doivent se conformer aux exigences fédérales en matière de sécurité.
Selon le cas, l'indice de qualité est indiquésur le flanc du pneu, entre l'épaulement dela bande de roulement et la largeur de section maximale du pneu. Par exemple :
Treadwear 200 Traction AA Temperature A (usure de la bande de roulement 200, traction AA, température A)
USURE DE LA BANDE DE ROULEMENT
L'indice d'usure de la bande de roulement est une estimation comparative basée sur le taux d'usure du pneu testé dans des conditions contrôlées sur une piste d'essai conforme aux normes gouvernementsales. Par exemple, un pneu d'indice 150 aura une résistance à l'usure une fois et demi (1 1/2) supérieure, sur la piste d'essai gouvernementale, à celle d'un pneu d'indice 100. La performance relative des pneus dépend toutefois des conditions réelles d'utilisa
tion et peut dévier grandement de la norme à cause des différentes habitudes de conduite, des pratiques d'entretien et des différences de la chaussée et du climat.
Les indices d'adherence, du plus élevé au plus bas, sont AA, A, B et C. Ces indices représentent la capacité du pneu à freiner le vehicule sur une chaussée mouillée dans des conditions contrôlées sur des surfaces d'essai d'asphalte et de béton. Un peu important l'indice C peut avoir une mauvaise adhérence.

AVERTISSEMENT
L'indice d'adherence de ce pneu a eté établi à partir d'essais d'adherence durant un freinage en ligne droite; il ne prend pas en compte les caractéristiques d'accélération, de virage, d'aquaplanage ou d'adherence de pointe.
Les indices de température sont A (le plus élevé), B et C. Ils représentent la résistance d'un pneu à la chaleur et sa capacité à
dissiper la chaleur lorsqu'ils sont testés dans des conditions précises en laboratoire. Des températures élevées constantes peuvent cause une dégradation du matériel du pneu et réduire la durée utile du pneu; une température excessive peut cause une défaillance soudaine du pneu. L'indice C correspond au niveau de rendement minimal de tous les pneus de voitures de tourisme en vertu de la norme federale americaine, Federal Motor Vehicle Safety Standard 109. Les indices B et A représentent un rendement plus élevé que le minimum exigé par la loi lors d'essais réalisés en laboratoire.

AVERTISSEMENT
L'indice de température pour ce type de pneus est établi en fonction d'un pneu correctement gonfle et sans surcharge. Des conditions extrêmes telles que des vitesses excessives du vehicule, un sous-gonflage des pneus ou une charge excessive, prises séparément ou combinées, peuvent provoquer l'échauffement et la défaillance des pneus.
Défauts COMPROMETTANT LA SÉCURITÉ
Aux États-Unis
Si vous craignez qu'une défectuosité de votre vehicule puisse entraîner un accident, des blessures ou la mort, informez-en immédiatement la National Highway Traffic Safety Administration (NHTSA) et NISSAN.
Si la NHTSA recoit des plaintes similaires, elle peut ouvrir une enquête, au terme de laquelle elle peut ordonner le lancement d'une campagne de rappel et de service, si elle détermine qu'un défaut compromettant la sécurité touche un groupe de vehicules. Toutefois, la NHTSA ne peut pas intervenir dans le cas d'un différend entre le client et son concessionnaire ou NiSSAN.
Pour communiquer avec la NHTSA, composez sans frais le numero de la ligne directe au 1 888 327-4236 (ATS:1800424-9153),visitez le site Webhttp://www.safercar.gov ou écrire à : Administrator,NHTSA,
400 Seventh Street, SW., Washington, D.C. 20590. Le site Web http://www.safercar.gov permet également d'obtenir d'autres renseignements relatifs à la sécurité automobile.
Vou pouve avertir NiSSAN de tout problème concernant votre vehicule en communiquant avec le Service de la protection du consommateur, sans frais, au 1 800 NiSSAN-1.
Au Canada
Si vous croyez que votre vehicule presente une defectuosité qui pourrait causeur un accident,des blessures graves ou mortelles,informez immédiatement Transports Canada et NISSAN.
Si Transports Canada recoit des plaintes, il peut ouvrir une enquête, au terme de laquelle il peut ordonner le lancement d'une campagne de rappel par NiSSAN, s'il déterminé
qu'un défaut compromettant la sécurité touche un groupe de vehicules. Toutefois, Transports Canada ne peut pas intervenir dans le cas d'un différend entre le client et son concessionnaire ou NISSAN.
Pour communiquer avec Transports Canada, Enquêtes sur les défauts et rappels des vehicules, composez sans frais le numéro 1 800 333-0510. Vous pouvez également faire rapport sur un défaut lié à la sécurité sur un vehicule, en ligne à l'adresse suivante: https://wwwapps.tc.gc.ca/Saf-Sec-Sur/7/PCDB-BDPP/ fc-cp.aspx?lang=eng (anglais) ou https://wwwapps.tc.gc.ca/Saf-Sec-Sur/7/PCDB-BDPP/ fc-cp.aspx?lang=fra (français).
Vous pouvez obtenir d'autres renseignements relatifs à la sécurité automobile en communiquant avec Transports Canada, Sécurité des routes et des vehicules automobiles,
au numero 1800 333-0371 ou en ligne à l'adresse www.tc.gc.ca/roadsafety (anglais) ou à l'adresse www.tc.gc.ca/securiteroutiere (français).
Si vous souhaitez informer NISSAN d'un problème lié à la sécurité du vehicule, veuilles communiquer avec notre Centre d'information aux consommateurs en composant le numéro sans frais 1800 387-0122.
APERÇU DU SYSTÈME TÉLEMATIQUE (MODELES AVEC DISPOSITIF D'AIDE À LA NAVIGATION)
En plus des enregistrateurs de données d'évenement mentionnés dans le present manuel du conducteur, ce vehicule est équipé de modules électroniques qui surveillent, contrôle et enregistrrent les données relatives à divers systèmes du vehicule, y compris le moteur, les batteries, le circuit de freinage et le circuit électrique. D'autres modules électroniques enregistrrent les informations relatives aux conditions de conduite, y compris le ralenti, le freinage, l'accelération, les parcours et autres données connexes, les informations relatives à votre'utilisation du vehicule et à ses caractéristiques telles que l'utilisation du climatiseur ou des phares, les codes d'anomalie, la recharge du vehicule, sa vitesse, sa direction et son emplacement.
Certaines de ces données sont enregistrées par le vehicule pour l'utilisation lors des opérations d'entretien. D'autres données relatives au fonctionnement et aux performances de votre vehicule sont transmises à NiSSAN au moyen d'une connexion cellulaire sans fil par le système télématique embarqué, au démarrage du vehicule ou à d'autres intervalles. NiSSAN peut utiliser ces données pour diverses rai
sons, y compris : pour vous offrir des renseignements sur les vehicules électriques et services NissanConnect™ (consultez le manuel du système NissanConnect™ [pour Leaf]) pour obtenir de plus amples renseignements); pour le dépannage; pour l'évaluation de la qualité, la fonctionnalité et les performances de votre vehicule; pour l'analyse et la recherche par NiSSAN, destinées à, entre autres, optimiser les performances des vehicules électriques futurs (y compris l'allongement de la durée de vie utile de la batterie); pour vous proposer des produits et des services nouveaux ou supplémentaires; et pour toute autre utilisation requise par la loi. Ces données peuvent être transmises aux sociétés mères, filiales, sociétés associées, succesieurs ou cessionnaires de NiSSAN; aux concessionnaires NiSSAN LEAF certifiés; aux partenaires marketing de NiSSAN; à la société de gestion de parc s'il s'agit d'un vehicule de parc; à votre société de location s'il s'agit d'un vehicule de location; et aux fournisseurs de services tiers tels que les fournisseurs cellulaires, de systèmes d'information et de gestion de données.
Les lois en vigueur dans l'Etat ou la province autorisent l'accès et l'utilisation des données enregistrées par les dispositifs de vehicule, avec le consentement du contrôle du vehicule ou au titre du contrat d'inscription. Vous n'êtes pas dans l'obligation d'autoriser un tel accès et une telle utilisation. Toutefois, NISSAN pourrait alors se trouver dans l'impossibilité, au titre de la loi en vigueur, d'activer le système télématique de votre vehicule, et un certain nombre de fonctions de votre vehicule, qui dépendant du système télématique, ne fonctionneraient pas comme prévu. Celles-ci peuvent comprendre les fonctions telles que la mise à jour automatique de carte de postes de chargement, la verification à distance de l'état de chargement de la batterie, l'avais de chargement terminé, le rappel à distance de branchement, l'activation de chargement à distance, l'activation du système de chauffage-climatisation à distance, la planification d'itinéraire de conduite, les conseils de conduite pour améliorer l'autonomie, l'historique de conduite, la simulation de dépense, la classification ECO, l'indicateur ECO forêt, les rappels d'entretien, etc. D'au
tres fonctions susceptibles d'être développées et proposées par NiSSAN dans le futur risquent de ne pas fonctionner non plus sans la transmission des données telématiques.
Les services télématiques relatifs à la plateforme NissanConnect™ EV & Services sont proposés par NISSAN au titre d'un contrat d'inscription au service couvrant votre vehicule. Ce contrat est nécessaire à tous les propriétaires de vehicule. Ce contrat, ainsi qu'une explication de ses modalités et conditions, est disponible sur le portail web des propriétaires NISSAN. De plus, le conducteur du vehicule doit également appuyer sur la touche [OK] à l'écran du dispositif d'aide à la navigation pour indiquer son approbation à chaque fois qu'il démarre le vehicule. Si, à tout moment, vous decide que vous ne souhaitez pas que votre vehicule transmetteles données à NISSAN, vous pouvez désactiver le compte télématique associé à ce vehicule ou annulier votre inscription aux services en vous rendant sur le portail web des propriétaires NISSAN ou en composant le numéro 1 877 NOGASEV (1 877 664-2738). Vous pouvez réactiver le service sur demande si
you le souhaitez. Il vous suffit pour cela de vous rendre sur le même site web ou d'appler le numero indiqué ci-dessus. Vous pouvez également désactiver la transmission de certaines catégories de données au moyen des réglages du dispositif d'aide à la navigation, sous le menu NissanConnect EV & Services, (système NissanConnect™ EV & Services), Vehicle Information Sharing with NISSAN (partage d'information de vehicule avec NISSAN). Notez que la désactivation de l'option « Vehicle Information Sharing with NISSAN » (partage d'information de vehicule avec NISSAN) désactive uniquement le partage automatique d'informations au démarriage du vehicule. Il est possible que certaines catégories de données soient toujours transmises en cas d'accès aux fonctions télématiques du vehicule depuis ce dernier ou à distance.
Yououpouvezdonneryourcaccorda la transmission età l'utilisationde données parNISSAN dedifferentemanières.Le vehicule estéquipéd'un écran « rétractable » du dispositif d'aide àla navigation quiyou
demande votre autorisation pour ce transfert de données. Un message du type suivant s'affiche : « Au titre du contrat d'inscription, votre vehicule transmet sans fil des données enregistrées le concernant à NiSSAN à un certain nombre de fins, y compris les services NissanConnect™ EV & Services, l'évaluation du produit, la recherche et le développement. En appuyant sur la touche [OK], vous autorisez la transmission et l'utilisation des données relatives à votre vehicule. Consultez le manuel du conducteur ou le portail web des propriétaires NiSSAN pour obtenir les modalités et de plus amples renseignements. » Si vous appuyez sur la touche [OK], votre vehicule transmet les données comme précisé par connexion avec le système télématique du vehicule. Si vous appuyez sur la touche [Decline] (décliner), votre vehicule ne transmet pas les données. Toutefois, les fonctions télématiques indiquées ci-dessus, et évientuellement d'autres, ne seront pas disponibles. Le dispositif d'aide à la navigation statique du vehicule resté fonctionnel et vous pourrez acceder aux commandes de la radio et du système de chauffage-climatisation.
Les fonctions télématiques dépendant de la transmission de données cellulaire. Il est possible que la connectivité cellulaire soit limitée, voire inexistante dans certaines zones, entrainant une perte ou l'interruption de la transmission de données. Par conséquent, certaines fonctions peuvent ne pas être disponibles temporairement. Meme dans les zones offrant une bonne réception de signal, la connectivité cellulaire peut se trouver affectée par la présence de bâtiments de grande taille, d'appartements, de tunnels, de stationnements souterrains, de zones montagneuses, etc. Meme si la barre de signal du module de communication de données du vehicule indique une bonne réception, la connectivité peut être interrompue. Il ne s'agit pas d'une anomalie. Utilisez à nouveau le système au bout de quelques minutes pour rétablier la connectivité. Les fonctions télématiques relatives au système NissanConnect™ EV & Services sont proposées comme un outil de comport au conducteur du vehicule. NISSAN décline toute responsabilité, et le propriétaire accepte tout risque lié à l'interruption du service ou aux erreurs provoquées par des données incomplètes ou
erronees. Les communications du système NissanConnect™ EV & Services peuvent être reçues à une adresse courriel vérifiée ou par un téléphone cellulaire pouvant receivevoir des messages/textes. Les tarifs standard de message texte et d'utilisation de données peuvent être applicables selon votre fournisseur.
Si le compte télématique de votre vehicule est actif et que vous n'en ents pas le propretaire d'origine, communiquez avec NISSAN sur le site web ouappelez le numero indiqué ci-dessus dans les plus brefs délais, afin demettre à jour les informations d'inscription télématique. En cas de revente du vehicule, communiquez avec NISSAN sur le site web ouappelez le numero indiqué ci-dessus afin demettre à jour les informations de NISSAN. Voitréscription au système NissanConnect ^MD EV& Services sera automatiquement résilieee au terme de la période de gratuite initiale si vous ne souhaitez pas la renouveler au tarif en vigueur.
MODULE DE COMMANDE DE LA TÉLÉMATIQUE GEN2K
A. INTRODUCTION
Ce module de commande de la télématique Gen2K comprend les logiciels suivants :
- le logiciel développé par, ou développé pour, Ficosa International, S.A. (« Ficosa »);
- le logiciel appartenant à un tiers et utilisé sous licence par Ficosa;
- le logiciel utilise sous LICENCE PUBLIQUE GÉNÉRALE GNU, version 2, (« GPL »);
- le logiciel utilisé sous LICENCE PUBLIQUE GÉNÉRALE POUR BIBLIOTHÉQUES GNU, version 2.0 ou sous LICENCE PUBLIQUE GÉNÉRALE GNU LIMITÉE, version 2.1 (collectivement désignées sous le nom de « LGPL »), la licence publique Mozilla v2 « MPL »), la licence GPL-2.0 avec exception OpensSL « GPLOpenSSL ») et la LICENCE PUBLIQUE GÉNÉRALE GNU version 3 avec exception GCC (avec le logiciel GPL, conjointement désignés sous le nom de [« logiciel libre de droit »]); et/ou
- le logiciel ouvert fourni sous licence sous des conditions generales autres que celles des logiciels libres de droit.
Pour les logiciels de type (3) ou (4) indiqués ci-dessus, une copie du texte de licence est fournie avec le code source à l'URL indiquée ci-dessous; reportez-vous également aux conditions générales des licences de logiciels libres de droit aux sites Internet indiqués ci-dessous:
GPL : http://www.gnu.org/licenses/ old-licenses/gpl-2.0.html et https://www.gnu.org/licenses/ gpl-3.0.en.html
LGPL: http://www.gnu.org/licenses/ old-licenses/lGPL-2.1.html et http://www.gnu.org/licenses/ old-licenses/lGPL-2.0.html
MPL:
https://www.mozilla.org/en-US/MPL/2.0/
GPL-2.0 avec exception OpensSL:
https://gitlab.com/cryptsetup/
cryptsetup/blob/master/COPYING
GPLv3 avec exception GCC : https://www.gnu.org/licenses/gcc-exception-3.1.en.html
Les logiciels de type (3) et (4) indiqués cédessus sont soumis aux droits d'auteurs de plusieurs personnes.
Veuillez you reporter aux sites Web cidesous au sujet des avis de droits d'auteur de ces personnes.
Le logiciel fourni sous les licences indiquées dans les sections (3) et (4) ci-dessus «logiciel libre de droit » est fourni dans l'espoir qu'il sera utile, mais sans aucune garantie, pas même la garantie implicite de QUALITE MARCHANDE ou d'ADAPTABILITÉ À UN BUT PARTICULIER.
Pendant au moins trois (3) ans à partir de la date de livraison d'un dispositif compteant le produit ci-dessus, Ficosa fournira à tout tiers qui communiquera avec nous les renseignements de contact indiqués cédessous, pour des frais non supérieurs à notre coût de distribution physique du code source, un exemplaire complet lisible par ordinateur du code source correspondant au logiciel libre de droit indiqué cédessus. Lorsque vous demandez ce code source, spécifiez le produit : module de commande de la télématique Gen2K et version Cx9.
De plus, le code source et les licences correspondant au calculi libre de droit ci-dessus sont offerts gratuitement à vous et à toute personne, sur le site Web indiqué ci-dessous :
Pour obtenir de FICOSA des renseignements au sujet du logiciel source ouverte, veuillez communiquer par courriel avec l'agent de conformité de Ficosa à l'adresse suivante : FOSS@ficosa.com
Veuillez noter que nous sommes dans l'impossibilité de répondre aux questions relatives aux détails du code source, etc.
En outre, les utilisateurs finaux doivent avoir leur propre connexion Internet.
L'utilisateur final est responsable de tous les frais de connexion ou de réseau encourus pour la navigation ou pour des télé-chargements sur le Web.
B. RENSEIGNEMENTS RELATIFS À L'OBTENTION DE LICENCE ET AUX DROITS D'AUTEUR
Le logiciel classé dans la catégorie (5) cédessus contient divers logiciels ouverts «logiciels ouverts » énumérés dans le site Web ci-dessous. Consultez le site Web indiqué ci-après pour connaître les conditions générales des licences (Licences de logiciels ouverts) et les autres renseignements relatifs au logiciel ouvert compris dans ce produit :
Ce vehicule est équipé d'un enregistrur de données d'évenement. L'objectif principal d'un enregistrur de données d'évenement consiste à enregistrer, lors de certaines collisions ou de quasi-collisions, telles que le déploiment d'un sac gonflable ou le contact avec des obstacles sur la route, des données qui contribuent à comprendre le rendement des systèmes d'un vehicule. L'enregistrur de données d'évenement est concu pour enregistrer des données sur la dynamique et les systèmes de sécurité du vehicule pendant une brève période, généralement 30 secondes ou moins. L'enregistrur de données d'évenement de ce vehicule est concu pour enregistrer des données telles que:
- le fonctionnement des divers systèmes de votre vehicule;
- le bouclage des ceintures de sécurité du conducteur et des passagers;
- le niveau d'enforcement de l'accéléateur ou de la pédale de frein;
-la vitesse du vehicule; - lessonsne sontpasenregistrés.
Ces données permettent de mistrux comprehètre les circonstances dans lesquelles les collisions et les blessures se produit.
REMARQUE:
Les données sont mémorisées dans l'enregistre de données d'évenement de votre vehicule seulement en cas de situation de collision non négligeable; l'enregistre ne mémorise aucune donnée en conditions normales de conduite et aucune donnée personnelle (par exemple, nom, sexe, âge, lieu de la collision) n'est mémorisée. Toutefois des tiers, tels que les corps policiiers, peuvent combiner les données de l'enregistre aux données d'identification personelles généralement recueillies lors d'une enquête sur une collision.
Pour lire les données mémorisées par l'enregistreur de données d'évenement, de l'équipment spécial est nécessaire et il faut avoir accès au vehicule ou à l'enregistreur. En plus du constructeur du vehicule et du concessionnaire NISSAN LEAF certifié, des tiers, tels que les corps policiers, qui possèdent l'équipment spécial, peuvent lire les données s'ils ont accès au vehicule ou à l'enregistreur de données d'évenement. Les données mémorisées par l'enregistreur seront uniquement consultées
avec le consentement du propriétaire ou du locataire, ou dans la mesure où l'exige ou l'autorise la loi.
ENREGISTREMENT DES DONNÉES SUPPLEMENTaires (SUR LES VEHICULES ÉQUIPÉS DU SYSTème OPTIONNEL PROPILOT ASSIST)
Si vous vécique est équipé du système optionnel ProPILOT Assist, il sera également muni de la fonction d'enregistrement des données supplémentaires où pour aider à comprendre le rendement de ProPILOT Assist en cas de situation de collision ou de quasi-collision non négligeables. Plus particulièrement, l'enregistrement supplémentaire est élevé pour recueiller les données suivantes:
- État de fonctionnement de l'accéléateur, des freins, de la direction, etc.
- État de détction du vehicule suivi et des marquages au sol
-
Information sur le vehicule y compris la distance jusqu'au vehicule suivi et la positionlaterale
-
Renseignements sur le fonctionnement du système ProPILOT Assist et autres fonctions d'évitement d'accidents
- Renseignements de diagnostic en cas de dysfonctionnement du système ProPILOT Assist
- Images externes provenant de laamera avant à détction multiple (uniquement disponibles lorsque les sacs gonflables du système de retenue supplémentaire ou le système de frein moteur intelligent sont actifs)
ProPILOT Assist n'enregistre pas des conversations, dessons ou des images à l'intérieur du vehicule.
Pour dire ces données supplémentaires, de l'équipement spécial est nécessaire et il faut avoir accès au vehicule ou à l'unité d'enregistrement. Ces données supplémentaires seront uniquement consultées avec le consentement du propriétaire ou du locataire, ou dans la mesure ou l'exige ou l'autorise la loi. NISSAN et les tiers charges par NISSAN
peuvent utiliser les données enregistrées dans le but d'améliorer les performances de sécurité du vehicule NISSAN.
NISSAN et les tiers charges par NISSAN ne divulgueront pas et ne fourniront pas les données enregistrées à une pierce partie, sauf dans les circonstances suivantes :
- avec le consentement du propriétaire du vehicule ou avec le consentement du locateur
- à la suite d'une demande officielle d'une autorité policière, d'une ordonnance du tribunal, d'une agence gouvernentale ou d'autres demandes ayant force exécutoiré
- à des fins de recherche après la modification des données de telle sorte qu'elles ne soient plus liées à un vehicule ou à un propreaire de vehicule en particulier (données anonymises)
POUR COMMANDER LE MANUEL DU CONDUCTEUR OU LE MANUEL DE RÉPARATION
Les manuels de réparation NISSAN d'origine pour cette année-modele et les années antérieures peuvent être achetés. Un manuel de réparation NISSAN d'origine est la meilleure source d'information pour l'entretien et la réparation de votre vehicule. Ce manuel est également utilisé par les techniciens formés en usine qui travaillent chez un concessionnaire NISSAN LEAF certifié. Les manuels du conducteur NISSAN d'origine peuvent également être achetés.
Aux États-Unis :
Pour connaître les prix courants et la disponibilité des manuels de réparation NISSAN d'origine, visitez :
www.nissan-techinfo.com
Pour connaître les prix courants et la disponibilité des manuels du conducteur NISSAN d'origine, composez le numéro :
1800247-5321
Au Canada :
Pour acheter une copie d'un manuel de réparation NiSSAN d'origine ou d'un manuel du conducteur pour cette année modèle et les années antérieures, communique avec un concessionnaire NISSAN LEAF certifié. Pour connaître le numéro de téléphone et l'adresse d'un concessionnaire NISSAN LEAF certifié dans votre région, appeleez le Centre d'information NISSAN au 1800 387-0122. Un représentant NISSAN bilingue pourrait vous renseigner.
RENSEIGNEMENTS RELATIFS AU CHARGEMENT
| Port de charge | Connecteur de charge | Boîter de commande | Réglage électrique | Chargement | |
| CHARGE NORMALE (AC 220-240 V) | Connecteur de charge normale | Utilisez le dispositif de chargement (AC 220-240 V) installé chez vous. | |||
| Connecteur de charge normale | Utilisez le cable EVSE (accessoire pour vehicule électrique) L1 et L2. Utilisez seulement une prise de 220-240 V, 50 A, installée par un électricien qualifié. | ||||
| CHARGE D'ENTRETIEN (AC 110-120 V) | Connecteur de charge normale | Utilisez le cable EVSE (accessoire pour vehicule électrique) L1 et L2. Utilisez seulement une prise de 110-120 V, 15 A, installée par un électricien qualifié. | |||
| Connecteur de charge normale | Utilisez le cable EVSE (accessoire pour vehicule électrique) L1 Utiliserez seulement une prise de 110-120 V, 15 A, installée par un électricien qualifié. | ||||
| CHARGE RAPIDE (selon l'équipement) Consultez la partie « CH. Comment effectuer une charge rapide « dans la section « CH. Changement » | Connecteur de charge normale | Postes de charge publics | |||
PRESSIONS DES PNEUS À FROID
L'étiquette est généralement apposée sur le pied milieu du côte conducteur ou sur la portière du conducteur. Pour obtenir des renseignements supplémentaires, consultez la section « Roues et pneus » du chapitre « Entretien et interventions du propretaire » duprésent manuel.
REMARQUES
10 Index
A
A l'extérieur du vehicule . 8-3
A l'intérieur du vehicule . 8-4
Àtroispointsd'ancrage 1-16
ABS (Système de freinage antiblocage) . .5-151
Affichage multifonction 2-30
Affichage,multifonction. 2-30
Alarmede détresse. 3-18
Alarme, neutralisation de l'alarme
(reports you au système de sécurité
du vehicule) 2-53
Alcool, drogues et conduite 5-12
Alerte de circulation transversale arriere
(RCTA). 5-54
Antenne. 4-74
Antigel .5-159
Antivol (Système antidémarrage du vehicule
NISSAN), démarrage du moteur de
Aperçu du système télématique 9-17
Arrêt d'urgence du vehicule
electrique .5-15,6-3
Aspect et entretien .7-2, 7-5
Aspect et entretien des surfaces
extérieures. 7-2
Aspect et entretien des surfaces
intérieures 7-5
Automatique 3-7
Autonomie 2-10
Avant de conduire votre vehicule (modèles
avec dispositif d'aide à la navigation) . .EV-14
Avant de démarrer le système 5-17
Avec système de clé intelligente (Reportez-
you au système de clé intelligente) . . . 3-16
Avertissement . . .2-14, 2-16, 2-40, 5-5, 6-2, 6-3
Avertisseur sonore 2-65
B
Balai d'essuie-glace de lunette arrête .8-19
Balais d'essuie-glace. 8-16, 8-18
Batterie. . . . . . . . . . . . . . . . . . . . . . . . . . . . . . . . . . . . . . . . . . . . . . . . . . . . . . . . . . . . . . . . . . . . . . . . . . . . . . . . . . . . . . . . . . . . . . . . . . . . . . Ev-2, 2-8, 2-63, 8-14
Batterie au lithium-ion. . . . . . . . . . . . . . . . . . . . . . . . . . . . . . . . . . . . . . . . . . . . . . . . . . . . . . . . . . . . . . . . . . . . . . . . . . . . . . . . . . . .
Batteriede 12V .8-14
Bébés 1-23
Boite a gants 2-71
Bouches d'air 4-32
C
Câble EVSE (accessoire pour vehicule
électrique) .CH-11, CH-19, CH-27
Camera de marche arriere 4-4
\section*{Caracteristiques du vehicule}
électrique . . . . . . . . . . . . . . . . . . . . . . . . . . . . . . . . . . . . . . . . . . . . . . . . . . . . . . . . . . . . . . . . . . . . . . . . . . . .
Ceinture de sécurité centrale arrêté. . . .1-19
Ceinture(s) de
sécurité 1-12, 1-16, 1-19, 1-20, 1-21, 1-22, 1-23
1-69,2-24,7-7
Ceintures de sécurité 1-12, 1-21
Ceintures de sécurité avec
pretendeurs 1-69
Ceintures de sécurité pour enfant . . . . .1-22
Chaines antidérapantes. 8-38
Changement de vitesse 5-18
Charge 2-69
Charge à distance . . . . . . . . . . . . . . . . . . . . . . . . . . . CH-48
Charge chez soi .CH-9
Charge d'entretien . . . . . CH-11, CH-19, CH-27
Charge d'urgence. . . . . .CH-11, CH-19, CH-27
Charge immediate. .CH-47
Charge normale .CH-9
Charge occasionnelle. .CH-9
Charge publique . . . . . . . . . . . . . . . . . . . . . . . . . . . . . . . . . . . . . . . . . . . . . CH-9
Charge rapide. .CH-35
Chargement. . . . . . CH-2, CH-9, CH-11, CH-19,
CH-27, CH-35, CH-49, 3-22, 9-5
Chargement de la batterie au
lithium-ion . . . . . . . . . . . . . . . . . . . . . . . . . . . . . . . . . . . . . . . . . . . . . . . . . . . . . . . . . . . . . . . . . . . . . . . . . . . . . . . . . . . . . .
Chez soi après la conduite. . . . . . . . . . . . . . . . . . . . . . . . . . . . . . . . . . . . . . . . . . . . . . . . . . . . . . . . . . . . . . . . . . . . . . . . .
Cirage. 7-3
Circuit de freinage 5-149
Classification uniforme de qualite depneus. 9-15
Clé mécanique (système de clé intelligente) 3-3
Clés 3-2, 3-8
Climatiseur 4-33,9-4,9-9
Clock (horloge) 2-12
Colonne de direction inclinable 3-25
Commande d'essuie-glace et de lave-glaced Lunette arrriere. .2-57
Commande d'essuie-glace et de lave-glaced Lunette arrriere 2-57
Commandedave-glace.2-55,2-57
Commande de lave-glace et d'essuie-glacedepare-brise. .2-55
Commande de luminosité de l'éclairage du tableau de bord 2-64
Commandes du système audio sur le volant. 4-73
Comment effectuer une charge d'entretien (selon l'équipement). . . .CH-11, CH-19, CH-27
Comment effectuer une charge normale. .CH-9
Comment effectuer une charge rapide . .CH-35
Commutateur. 2-65, 2-69, 3-6
Commutateur de charge immédiate 2-69
Commutateur de siège chauffant 2-66
Commutateur du couvercle du port de charge 2-69
Commutateur du volant de direction chauffant 2-67
Commutateur ECO (economie) 2-65
Compteur kilométrique. 2-7
Conduite 5-5, 5-18, 5-158
Conduite du vehicule. . . . . . . . . . . . . . . . . . . . . . . . . . . . . . . . . . . . . . . . . . . . . . . . . . . . . . . . . . . . . . . . . . . . . . . . . . . . . . . . . . . . . .
Conduite par temps froid 5-158
Contrôle du châssis 5-156
Courroie d'attache supérieure 1-30
Couvercle du port de charge. 3-22
Couvre-bagages 2-74
Crochet de ceinture de sécurité. 1-20
de sac gonfable perfectionné 1-57
D
Défauts prompressant la sécurité 9-16
Demarrage d'appoint .6-12
Démarrage de votre vehicule. . . . . . . . . . . . . . . . . . . . . . . . . . . . . . . . . . . . . . . . . . . . . . . . . . . . . . . . . . . . . . . . . . . . . . . . . . . . . . . .
Demarrage en poussant .6-15
Départ en pente. 5-157
Déverrouillage du capot. 3-19
Diffusion audio BluetoothMD 4-71
Dimensions des roues et des pneus. . . . .9-6
Dimensions et poids 9-6
Direction assistée. .5-148
Disjoncteur, fil fusible. .8-21
Dispositifs de retenue pour enfant 1-25
E
E-Pedal. 2-13
Eclairage 2-79,2-80,8-26
Eclairage de plafond. 2-80
Éclairage interieur 2-79
Éclairage, remplacement de l'éclairage extérieur et interieur. 8-28
ECO. 2-65
Economie d'energie .5-145
Écran Around View Monitor intelligent . . .4- 14
Écran multifonction 2-30
Electrique. 2-76, 3-5, 5-148
Enfants plus agés. 1-23
ENREGISTREMENT DES DONNÉES SUPPLÉ
MENTAIREs (sur les vehicules équipés du système optionnel ProPILOT Assist) . . . .9-22
Enregistreur de données d'evénement .9-21
Ensemble de retenue d'enfant ISOFIX . . .1-28
Ensembles de retenue d'enfant 1-25, 1-30, 1-46
Ensembles de retenue d'enfant avec courroie d'attache 1-30
Entrée sans clé 3-16
Entretien 1-21, 2-45, 8-2, 8-3, 8-4, 8-6, 8-14
Entretien des ceintures de sécurité 1-21
Entretien du système de
chauffage-climatisation. 4-51
Entretien general. 8-2, 8-3
Essuie-glace 2-57,8-16,8-18,8-19
Essuie-glaces. 2-55
État débranché .CH-48
Étiquette d'homologation FMVSS/NSVAC. .9-8
Étiquette de contrôle des émissions. 9-8
Étiquette de renseignements relatifs aux
pneus et à la charge . 8-33, 9-9
Étiquette des caractéristiques du
climatiseur 9-9
Étiquettes 1-70, 8-33, 9-7, 9-8, 9-9
Étiquettes d'avertissement concernant
les sacs gonflables. 1-70
Étiquettes d'advertissement, étiquettes
d'advertissement concernant les sacs
gonflables 1-70
Exigences d'entretien. 8-2
F
Femmes enceintes. 1-16
Feux de détresse (Reportez-vous à
l'interrupteur des feuels de détresse) 6-2
Fils fusibles 8-21
FMVSS/NSVAC. 9-8
Fonction à distance relative au
chargement .CH-48
Fonction de télédeverrouillage, pour système
Fonctionnement de la clé 3-11
Fonctionnement du lecteur iPodMD 4-69
Fonctionnement du télédeverrouillage. .3-16
Frein de stationnement. 5-23
Frein de stationnement electronique 5-24
Freins. 8-19
Fusibles 8-20
G
Glace(s) 7-3
Glaces 2-76
Glaces à commande électrique. 2-76
Guide de dépannage relatif au
chargement .CH-56
Guide imagé . . . . . . . . . . . . . . . . . . . . . . . . . . . . . . . . . . . . . . . . . . . . . . . . . . . . . . . . . . . . . . . . . . . . . . . . . . . . . . . . . . .
EV-21, EV-22
H
Hayon arrriere 3-20
Huile 9-3
1
Immobilisation du vehicule 6-6
Indicateur 2-7, 2-8, 2-9, 2-10, 2-11
Indicateur de charge disponible de la
Indicateur de température de la batterie
au lithium-ion 2-8
Indicateur de vitesse 2-7
Indicateurs relatifs à l'entretien 2-45
Information concernant le chargement . .9- 10
Information concernant le chargement
(Consultez l'information relative au charge
ment du vehicule) 9-10
Interrupteur 2-58, 2-59, 2-64, 2-65, 6-2
Interrupteur de verrouillage électrique des
portieres 3-6
Interrupteur des clignotants. 2-64
Interrupteur des feu de détresse 6-2
Interrupteur des phares 2-58
Interrupteur des phares antibrouillard . . .2- 65
Interrupteur du dégivre de lunette
arrière et de rétroviseurs extérieurs 2-58
Interrupteur du dégivre, interrupteur
du dégivre de lunette arrête et de
rétrouviseurs extérieurs 2-58
J
Jeunes enfants 1-23
L
Lampe. 2-80
Liquide d'engrenage de réduction 8-12
Liquide de frein . 8-12
Liquide de refroidissement . . . .8-10, 8-11, 9-3
Liquide de refroidissement 8-11
Liquide lave-glace 8-13
Liquides/lubrifiants et capacités recommendées 9-3
Lors du démarrage et de la conduite . . . .5-5
Lubrifiant pour pneus. 7-4
M
Manuel du système NissanConnectMD (pour Leaf) 4-3
Mesureur de puissance. 2-9
Méthodes de chargement . . . . . . . . . . . . . . . . . . . . . . . . . . . . . . . . . . . . . . . . . . . . . . . . . . . . . . . . . . . . . . . . . . . . . . . . .
Minuterie de chauffage-climatisation 4-46
Miroir 3-26
Miroir de courtoisie 3-26
Mode ECO (economie). 2-13
Module de commande de la
telématique Gen2K .9-20
Moteur. 5-17, 5-18, 9-6
Moteur de traction 9-8
N
Nettoyage. 7-3
Nettoyage de tapis .7-6
Nettoyage des ceintures de sécurité. . . . .7-7
Nettoyage des roues en alliage d'aluminium . 7-4
Nettoyage des surfaces extérieures et interieures .7-2, 7-5
Nettoyage du soubassement .7-3
Numero d'identification (NIV) 9-7
Numero d'identification du vehicule (NIV) .9-7
Numéro de série du moteur. 9-8
Numéro de série du moteur de traction . .9-8
0
Ouverture du hayon arrêté. 3-13
Ouvre-porte de garage, telecommande universelle HomeLinkMD 2-81
P
Pare-soleil 3-25
Permutation des pneus. 8-39
Personnes blessées 1-16
Perte rapide de pression d'air. 5-11
Phare 2-58, 2-65
phares. 2-59
Phares. 2-58, 8-26
Pile 8-24
Pile de la clé intelligente. 8-24
Plaque d'immatriculation, installation de la plaque d'immatriculation avant . . . . . . .9- 9
Pneu 2-21
Pneu a plat . 6-3
Pneus .5-5,6-3,7-4,8-30,8-33,8-34 8-37,8-38,8-39,9-6,9-9,9-15
Poids (Consultez la section Dimensions et poids) 9-6
Port de connexion USB (bus série universal) 4-67
Porte-gobelets 2-73
Portée de la clé de la fonction de verrouillage ou de déverrouillage des portières . . . . .3-10
Portieres. 3-5
Pour commander le manuel du conducteur ou le manuel de réparation 9-23
Pour éviter les collisions et les renversements 5-10
Pour système de clé intelligente 3-8
Précautions. . .EV-8, EV-9, CH-2, 1-12, 1-25, 1-49, 5-5, 5-61, 5-149, 8-6
Précautions concernant l'utilisation des ceintures de sécurité. 1-12
Précautions concernant le système de retenue supplémentaire 1-49
Précautions concernant les ensembles de retenue d'enfant 1-25
Précautions en cas d'accident . . . . . . .EV-9
Précautions pour le démarriage et la conduite. 5-5
Précautions relatives à l'entretien 8-6
Précautions relatives à la haute tension. .EV-8
Précautions relatives au chargement . . .CH- 2
Précautions relatives au freinage 5-149
Pression des pneus . 8-34
Pressions des pneus à froid 9-25
Prise d'alimentation 2-70
Programme d'assistance routière . . . . . .6-2
ProPILOTAssist .5-89
Protection anticorrosion 7-8
Protection antidécharge 2-63
R
Radio FM-AM-SAT avec lecteur de disques compacts 4-61
Rallonges de ceinture de sécurité 1-21
Rangement 2-70
Rangement de sacs de golf 2-75
Rappels sonores 2-28
Rapport ECO Drive 5-146
Réchauffeur 4-33
Réchauffeur de batterie au lithium-ion . .EV-6
Recommendations relatives au fluide frigorigène et au lubrifiant du système de chauffage-climatisation. 4-51
Recommendations relatives au fluide frigorigène et au lubrifiant du système de climatisation .9-4
Récapération d'un vehicule hors route. . .5-10
Réglage de l'horloge (modèles sans dispositif d'aide à la navigation). 4-62
Réglage de la hauteur du baudrier 1-20
Réglage de la hauteur du baudrier, pour les sièges avant. 1-20
Regulateur de vitesse 5-61
Régulateur de vitesse adaptatif (ICC) (pour les vehicules qui ne sont pas dotés de ProPILOT Assist) .5-64
Rehausseurs 1-46
Relèvement du bras d'essuie-glace. . . . 8-16 Remorquage . . . . . . . . . . . . . . . . . . . . . . . . . . . . . . . . . . . . . . . . . . . . . . . . . . . . . . . . . . . . . . . . . . . . . . . . . . . . . . . . . . . . . . . . . 6-16, 9-14
Remorquage à plat 9-14 Remorquage par dépanneuse. .6-16
Remplacement. .8-26
Remplacement de l'éclairage interieur .8-28
Remplacement des ampôules 8-26
Remplacement des ampôules de phares 8-26
Renseignements particuliers relatifs au vehicule electrique . . . . . . . . . . . . . . . . . . . . . . . . . . . . . . . . . . . . . . . . . . . . . . . . . . . . . . . . . . . . . . . . . . . . . . . . . . .
Renseignements relatifs au chargement. .9-24
Renversement 5-10
Réparation d'un pneu creve 6-5
Réparation du pneu 6-7
Retroviseur 3-26, 3-27, 3-28
Rétroviseur interieur. 3-26, 3-27
Rétroviseurs extérieurs 3-28
Rodage du frein de stationnement. 5-151
Roues et pneus. 7-3, 7-4, 8-30
s
Sac gonflable du passager avant et témoin de neutralisation 1-59
Sécurité 1-22, 9-16
Sécurité des enfants. 1-22
Serrures de portiere. 3-5
Si la batterie au lithium-ion se décharge complètement .6-14
Siège(s), sièges 1-3, 2-66
Sièges arrêté. 1-8
Sièges chauffants 2-66
Soin des roues 7-3
Spécifications 9-5
Stationnement . 5-23, 5-24, 5-147
Stationnement dans les pentes 5-147
Stationnement du vehicule . . . . . . . . . . . . . . . . . . . . . . . . . . . . . . . . . . . . . . . . . . . . . . . . . . . . . . . . . . . . .
Supérieure. 1-30
Système antidémarrage 2-53, 5-17
Système antidémarrage du vehicule
NISSAN . 2-53, 5-17
Système audio (modèles sans système dénavigation) 4-52
Système d'arrêt d'urgence . . . . . . . . . . . . . . . . . . . . . . . . . . . . . . . . . . . . . . . . . . . . . . . . . . . . . . . . . . . . . . . . . . . . . . . . . .
Système d'assistance au département en pente 5-157
Système d'avertissement d'angle mort (BSW). 5-44
Système d'ajretissement de masse pression des pneus. .5-5
Système d'ajretissement de la pression des pneus .6-3
Système d'intervention de changement de voie intelligent 5-36
Système de chauffage-climatisation 4-33, 4-51
Système de chauffage-climatisation à distance 4-49
Système de chauffage-climatisation automatique (modèles avec dispositif d'aide à la navigation). 4-42
Système de chauffage-climatisation automatique (modeles sans dispositif d'aide à la navigation) 4-37
Système de clé intelligente 3-16
Système de clé intelligente NISSAN
Intelligent Key ^MD 3-8, 3-10, 3-11, 5-12
Système de commande de changement de vitesse électric. .5-18
Système de contrôle dynamique du vehicule. 5-153
Système de détéction d'objets mobiles . 4-27
Système de freinage antiblocage (ABS) . .5-151
Système de freinage d'urgence automatique. 5-124
Système de freinage d'urgence automatique avec dispositif de détction de piétons . .5-132
Système de phares automatiques 2-59
Système de refroidissement 8-10
Système de retenue supplémentaire. 1-49
Système de rideaux gonflables latéraux montés dans le toit 1-67
Système de sac gonflable. 1-57
Système de sac gonflable perfectionné . .1-57
Système de sacs gonflables 1-59, 1-67
Système de sacs gonflables latéraux montés dans les sièges avant 1-67
Système de sécurité. 2-52
Système de sécurité (système antidémarrage du vehicule NISSAN), démarrage du système de vehicule électrique 2-53, 5-17
Système de sécurité du vehicule 2-52
Système de surveillance de la pression des pneus. .5-5,6-3
Système de surveillance de la pression des pneus (Reportez-vous au système de surveillance de la pression des pneus) 5-5
Système de vehicule électrique . . . . . . .EV-2
Système e-Pedal 5-27
Système LATCH. 1-28
Système téléphonique mains libres
BluetoothMD sans dispositif d'aide à la navigation 4-75
Systèmes d'avertissement du déport de couoir (LDW). 5-31
T
Télécommande. 2-81
Télécommande universelle
HomeLinkMD 2-81
Télécommande, avec système de clé intelligente (Reportez-vous au système de clé intelligente) 3-16
Telephone de voiture ou radio BP . . . . . .4- 74
Témoin connexe de chargement. . . . .CH-49
Témoin d'avertissement de basse pression des pneus 2-21
Témoin d'etat de chargement . . . . . . CH-49
Témoin de neutralisation, sac gonflable du passager avant. 1-59
Témoin de sac gonflable 1-71, 2-24
Témoin des ceintures de sécurité. 2-24
Témoin des freins (rouge). 2-19
Témoin du circuit de freinage (jaune). 2-19
Témoin du système de freinage antiblocage 2-17
Témoins . 0-12, 2-16, 2-25
Témoins d'advertissement, tímoins et rappels
sonores 2-14
Témoins de fonctionnement 2-40
Température 2-8
Température extérieure 2-12
Traction d'une remorque 9-14
Type de charge et comment charger la
batterie au lithium-ion .CH-6
Types de pneus. 8-37
U
Utilisation des ceintures de sécurité. . . .1-12 Utilisation optimale de votre vehicule . .EV-23
V
Véhicule 2-52, 5-153, 9-6, 9-7, 9-10
Vérification de l' état de la batterie au lithium-ion . . .CH-48
Vérification des ampôules 2-16
Vérification du niveau de liquide de refroidissement . 8-11
Verrou de portière arrêté, Verrou de sécurité infant de portière arrêté 3-7
Verrou de sécurité infant de portiere arrière 3-7
Verrouillage 3-5, 3-7, 3-20
Verrouillage automatique des portières. .3-7
Verrouillage des portières 3-7
Verrouillage du hayon arrête 3-20
Verrouillage electrique des portieres. 3-5
Vidange du liquide de refroidissement . . .8-11
Vigilance du conducteur intelligente (I-DA). 5-141 Volant de direction chauffant .2-67 Voyages ou immatriculation du vehicule à l'étranger .9-7
REMARQUES
REMARQUES
REMARQUES

Imprimé en : Mai 2018
Publication no.: OM18FA 0ZE1C1
Imprimé aux E.-U.
Notice Facile