BSE577121M - Four encastrable AEG-ELECTROLUX - Notice d'utilisation et mode d'emploi gratuit
Retrouvez gratuitement la notice de l'appareil BSE577121M AEG-ELECTROLUX au format PDF.
| Type de produit | Four encastrable multifonction |
| Capacité | 70 litres |
| Alimentation électrique | 230 V |
| Dimensions approximatives | H 59,4 cm x L 59,5 cm x P 56,7 cm |
| Poids | 36 kg |
| Puissance | 3 650 W |
| Fonctions principales | Chaleur tournante, Grill, Cuisson traditionnelle, Décongélation |
| Classe énergétique | A+ |
| Matériau de la porte | Verre triple vitrage |
| Entretien et nettoyage | Nettoyage par catalyse |
| Pièces détachées et réparabilité | Disponibilité des pièces détachées sur demande |
| Sécurité | Verrouillage de sécurité, Système de refroidissement |
| Compatibilités | Compatible avec les cuisines encastrées standard |
| Accessoires inclus | Grille, Plat à rôtir |
FOIRE AUX QUESTIONS - BSE577121M AEG-ELECTROLUX
Questions des utilisateurs sur BSE577121M AEG-ELECTROLUX
0 question sur cet appareil. Repondez a celles que vous connaissez ou posez la votre.
Poser une nouvelle question sur cet appareil
Téléchargez la notice de votre Four encastrable au format PDF gratuitement ! Retrouvez votre notice BSE577121M - AEG-ELECTROLUX et reprennez votre appareil électronique en main. Sur cette page sont publiés tous les documents nécessaires à l'utilisation de votre appareil BSE577121M de la marque AEG-ELECTROLUX.
MODE D'EMPLOI BSE577121M AEG-ELECTROLUX
Merci d'avoircisione produit AEG.Nous l'avons congu pour qu'il vous offre des performances irreprochables pour longtemps, en intégrant des technologies innovantes qui vous simplifient la vie grâce à des caractéristiques que vous ne trouvrez pasforcément sur des appareils ordinaires.Veuillez prendre quelques instantspour direcette notice afin d'utiliser au moins votre apparéil.
Visitez notre site Internet pour :

Obtenir des conseils d'utilisation, des brochures, de l'aide, des informations : www.aeg.com/webselfservice

Enregistrez votre produit pour obtenir un meilleur service : www.registeraeg.com

Acheter des accessoires, consommables et pièces de rechange d'origine pour votre apparéil :
www.aeg.com/shop
SERVICE APRÈS-VENTE
Utilisez toujours des pieces d'origine.
Avant de contacter le service après-vente, assurez-vous de dispose des informations suivantes : Modèle, PNC, numéro de série.
Youtrouvrezcesinformationsurla plaque signaletique.
Avertissement/Consignes de sécurité
已 Informations generales et conseils
Informations en matière de protection de l'environnement
Sous réserve de modifications.
1. INFORMATIONS DE SECURITÉ
Avant d'installer et d'utiliser cet apparéil, lisez soigneusement les instructions fournies. Le fabricant ne pourra être tenu pour responsable des blessures et dégâtés resultant d'une mauvaise installation ouutilisation. Conservez toujours les instructions dans un lieu sur et accessible pour vous y référer ultérieurement.
1.1 Sécurité des enfants et des personnes vulnérables
- Cet apparéil peut être utilisé par des enfants de plus de 8 ans, ainsi que des personnes dont les capacities physiques, sensorielles et mentales sont réduites ou dont les connaissances et l'expérience sont insuffisantes, à condition d'être surveillés ou d'avoir reçu des instructions concernant l'utilisation sécurisée de l' apparéil et de comprendre les risques encourus.
- Les enfants entre 3 et 8 ans et les personnes ayant un handicap très important et complexe doivent être tenus à l'écart, à moins d'être surveillés en permanence.
- Les enfants de moins de 3 ans doivent être tenus à l'écart, à moins d'être surveillés en permanence.
- Ne laissez pas les enfants jouer avec l'appareil.
- Ne laissez pas les emballages à la portée des enfants et jetez-les convenablement.
- Tenez les enfants et les animaux éloignés de l'appareil lorsqu'il est en cours de fonctionnement ou lorsqu'il refroidit. Les parties accessibles sont chaudes.
- Si l'appareil est équipé d'un dispositif de sécurité enfants, nous vous recommendons de l'activer.
- Les enfants ne doivent pas nettoyer ni entreprises une opération de maintenance sur l'appareil sans surveillance.
1.2 Sécurité générale
- L'appareil doit être installé et le cable remplace uniquement par un professionnel qualifié.
- AVERTISSEMENT: L'appareil et ses parties accessibles deviennent chauds pendant son fonctionnement. Veillez à ne pas toucher les éléments chauffants.
- Utilisez toujours des gants de cuisine pour retarder ou enfourner des accessoires ou des plats allant au four.
- Avant d'effectuer une opération de maintenance, débranchez l'appareil de la prise secteur.
Assurez-vous que l'appareil est eteint et debranché avant de remplacer l'éclairage afin d'eviter tout risque de chic electrique. - N'utilisez pas de nettoyeur vapeur pour nettoyer l'appareil.
- N'utilise pas de produits abrasifs ni de racloirs pointus en métal pour nettoyer la porte en verre car ils peuvent rayer sa surface, ce qui peut briser le verre.
- Si le cable d'alimentation est endommagé, il doit être remplace par le fabricant, un service de maintenance agrée ou un technicien qualifié afin d'eviter tout danger lié à l'électricité.
- Retirez le plus gros des salissures avant le nettoyage par pyrolyse. Retirez tous les accessoires du four.
- Pour-retirer les supports de grille, tirez d'abord sur l'avant de ceux-ci, puis sur l'arrière, pour les écarter des parois laterales. Réinstallez les supports de grille en repétant cette procédure dans l'ordre inverse.
- Utilisez uniquement la sonde à viande recommandée pour cet apparéil.
2. CONSIGNES DE SECURITÉ
2.1 Installation

AVERTISSEMENT!
L'appareil doit être installé uniquement par un professionnel qualifié.
- Retirez l'intégralité de l'emballage.
- N'installez pas et ne branchez pas un apparéil endommagé.
- Suivez scrupuleusement les instructions d'installation fournies avec l'appareil.
- Soyez toujours vigilants lorsque vous déplacez l'appareil car il est lourd. Utilisez toujours des gants de sécurité et des chaussures fermées.
- Ne tirez jamais l'appareil par la poignée.
- Respectez l'espacement minimal requis par rapport aux autres apparèils et éléments.
- Vérifiez que l'appareil est installé sous et à proximité de structures sûres.
- Les côtés de l'appareil doivent rester à côté d'appareils ou d'éléments ayant la même hauteur.
- Cet apparéil est équipé d'un système de refroidissement électrique. Il doit être utilisé lorsque l' apparéil est raccordé à une prise secteur.
2.2 Branchement électrique

AVERTISSEMENT!
Risque d'incendie ou d'électrocution.
L'ensemble des branchements électriques doit être effectué par un technicien qualifié.
L'appareil doit être relié à la terre.
- Vérifiez que les paramètres figurant sur la plaque signalétique correspondent aux données électriques de votre réseau.
Utilisez toujours une prise de courant de sécurité correctement installée.
- N'utilisez pas d'adaptateurs multiprises ni de rallonges.
Veillez a ne pas endommager la fiche secteur ni le cable d'alimentation. Le remplacement du cable d'alimentation de l'appareil doit etre
effectué par notre service après-vente agreé.
- Ne laissiez pas les câbles d'alimentation entre en contact avec la porte de l'appareil, particulièrement lorsque la porte est chaude.
- La protection contre les chocs des parties sous tension et isolées doit être fixée de telle manière qu'elle ne peut pas être enlevée sans outils.
- Ne branche la fiche d'alimentation à la prise de courant qu'à la fin de l'installation. Assurez-vous que la prise de courant est accessible une fois l'appareil installé.
- Si la prise de courant est l'âche, ne branchez pas la fiche d'alimentation secteur.
- Ne tirez jamais sur le cable d'alimentation pour débrancher l'appareil. Tirez toujours sur la fiche.
- N'utilisez que des systèmes d'iso1ation appropriés : des coupecircuits, des fusibles (les fusibles àvisser doivent être reliirs du support), un disjoncteur différentiel et descontacteurs.
L'installation électrique doit être équipée d'un dispositif d'isolement à coupure omnipolaire. Le dispositif d'isolement doit partager une distance d'ouverture des contacts d'au moins 3 mm. - Fermez bien la porte de l'appareil avant de brancher la fiche à la prise secteur.
- Cet apparéil est conforme aux directives CEE.
2.3 Utilisation

AVERTISSEMENT!
Risque de blessures, de brûlures, d'électrocution ou d'explosion.
- Cet apparéil est exclusivement destiné à une utilisation domestique.
-
Ne modifies pas les caractéristiques de cet apparéil.
Assurez-vous que les orifices de ventilation ne sont pas bouchés. -
Ne laisses jamais l'appareil sans surveillance pendant son fonctionnement.
- Éteignez l'appareil après chaque utilisation.
- Soyez prudent lors de l'ouverture de la porte de l'appareil lorsque celui-ci est en fonctionnement. De l'air brûlant peut s'en échapper.
- N'utilisez jamais cet apparéil avec les mains mouillées ou lorsqu'il est en contact avec de l'eau.
- N'exercez jamais de pression sur la porte ouverte.
- N'utilisez jamais l'appareil comme plan de travail ou comme plan de stockage.
- Ouvrez prudemment la porte de l'appareil. Si vous utilisez des ingrédients contenant de l'alcool, un mélange d'alcool et d'air facilement inflammable peut eventuèlement se former.
- Ne laïsez pas des étincelles ou des flammes nues entre en contact avec l'appareil lorsque vous ouvrez la porte.
- Ne placez pas de produits inflammables ou d' éléments imbibés de produits inflammables à l'intérieur ou à proximité de l'appareil, ni sur celui-ci.

AVERTISSEMENT!
Risque d'endommagement de l'appareil.
Pour éviter tout endommagement ou décoloration de l'email :
- ne posez pas de plats allant au four ni dernier autre objet directement sur le fond de l'appareil.
- ne placez jamais de feuilles d'aluminium directement sur le fond de la cavité de l'appareil.
- ne versez jamais d'eau directement dans l'appareil lorsqu'il est chaud.
- une fois la cuisson terminée, ne laissez jamais d'aliments ou de plats humides à l'intérieur de l'appareil.
-
faites attention lorsque vous retirez ou remette en place les accessoires.
-
La décoloration de l'émail ou de l'acier inoxydable est sans effet sur les performances de l'appareil.
Utilisez un plat à rôtir pour obtenir des gâteaux moelleux. Les jus de fruits causent des taches qui peuvent être permanentes. - Cet apparéil est exclusivement destiné à un usage culinaire. Ne l'utilise pas pour des usages autres que celui pour lequel il a été créé, à des fins de chauffage par exemple.
- La porte du four doit toujours être fermée pendant la cuisson.
- Si l'appareil est installé derrière la paroi d'un meuble (par ex. une porte), veuillez à ce que la porte ne soit jamais fermée lorsque l'appareil est en marche. La chaleur et l'humidité peuvent s'accumuler derrière la porte fermée du meuble et provoquer d'importants dégats sur l'appareil, le meuble ou le sol. Ne fermez pas la paroi du meuble tant que l'appareil n'a pas complètement refroidi.
2.4 Cuisson à la vapeur

AVERTISSEMENT!
Risque de brûlures et de dommages matériels à l'appareil.
- La vapeur qui s'échappe peut provoquer des brûlures :
Au cours de la cuisson à la vapeur, n'ouvre pas la porte de l'appareil.
- Soyez prudent en ouvrant la porte de l'appareil après une cuisson à la vapeur.
2.5 Entretien et nettoyage

AVERTISSEMENT!
Risque de blessure, d'incendie ou de dommages matériels sur l'appareil.
- Avant toute opération d'entretien, éteignez l'appareil et débranchez la fiche de la prise secteur.
-
Vérifiez que l'appareil est froid. Les panneaux de verre risquent de se briser.
-
Remplacez immédiatement les vitres de la porte si elles sont endommagées. Contactez le service après-vente/agréé.
- Soyez prudent lorsque vous démonze la porte de l'appareil. La porte est lourde!
Nettoyez régulierement l'appareil afin de maintainir le revêtement en bon état. - Nettoyez l'appareil avec un chiffon doux humide. Utilisez uniquement des produits de lavage neutres. N'utilisez pas de produits abrasifs, de tampons à récurer, de solvants ni d'objets métalliques.
- Si vous utilisez un spray pour four, suivez les consignes de sécurité figurant sur l'emballage.
- N'utilisez aucun produit détergent pour nettoyer l'émail catalytique (le cas échéant).
2.6 Nettoyage par pyrolyse

AVERTISSEMENT!
Risque de blessures, d'incendie, d'émissions chimiques (fumées) en mode pyrolyse.
-
Avant d'utiliser la fonction de nettoyage par pyrolyse ou la fonction Première utilise, retirez de la cavité du four :
-
tout résidu excessif de nourriture, tout dépôt ou toute éclaboussure de graisse ou d'huile.
-
tout objet amovible (y compris les grilles, les rails, etc., fournis avec le produit), en particulier les recipients, plateaux, plaques, ustensiles, etc. anti-adhésifs.
-
Lisez attentivement toutes les instructions relatives au nettoyage par pyrolyse.
Tenez les enfants éloignés de l'appareil lorsque le nettoyage par pyrolyse est en cours.
L'appareil devient très chaud et de l'air chaud s'échappe des fentes d'aération avant.
Le nettoyage par pyrolyse est un processus à haute température qui peut dégager de la fumée provenant des résidus alimentaires et des
matériaux dont est fait le four. Par conséquent, nous recommendons à nos clients de suivre les conseils cédessous :
assurez-vous que la ventilation de l'appareil est adequate pendant et après chaque phase de nettoyage par pyrolyse.
assurez-vous que la ventilation de l'appareil est adequate pendant et après la première utilisation a température maximale.
-
Contrairement aux humains, certains oiseaux et reptiles sont extrémement sensibles aux fumées pouvant se dégager lors du processus de nettoyage des jours à pyrolyse.
-
Ne laissiez aucun animal, en particulier aucun oiseau, à proximé de l'appareil pendant et après un nettoyage par pyrolyse; la première fois, utilisez la température de fonctionnement maximaïde dans une piece bien ventilée.
-
Les animaux de petite taille peuvent également être très sensibles aux changements de température survenant à proximé d'un four à pyrolyse lorsque le processus de nettoyage est en cours.
- Les surfaces antiadhésives des ustensiles de cuisine (poêles, casseroles, plaques de cuisson, etc.) peuvent être endommagées par la très haute température nécessaire au nettoyage par pyrolyse et peuvent également dégager, dans une moindre mesure, des fumées nocives.
- Les fumées dégagées par les jours à pyrolyse / les résidus de cuisson sont décrites comme étant non novices pour les étres humains, y compris pour les enfants en bas âgé et les personnes à la santé fragile.
2.7 Éclairage interieur

AVERTISSEMENT!
Risque d'électrocution!
- Les ampoules classiques ou halogènes utilisées dans cet apparéil sont destinées uniquement à un usage avec des apparéils menagers.
Ne les utilisez pas pour éclairer votre logement.
- Avant de changer l'ampoule, débranchez l'appareil de la prise secteur.
- N'utilise que des ampoules ayant les mêmes spécifications.
2.8 Maintenance
- Pour réparer l'appareil, contactez un service après-venture agreé.
Utilisez exclusivement des pieces d'origine.
2.9 Mise au rebut

AVERTISSEMENT!
Risque de blessure ou d'asphyxie.
- Débranche l'appareil de l'alimentation électrique.
- Coupe le cable d'alimentation au ras de l'appareil et metteze-le au rebut.
- Retirez le dispositif de verrouillage du hublot pour empêcher les enfants et les animaux de s'enfermer dans l'appareil.
3. DESCRIPTION DE L'APPAREIL
3.1 Vue d'ensemble

1 Bandeau de commande
2 Manette de selection des modes de cuisson
3 Affichage
4 Thermostat
5 Bac a eau
6 Résistance
7 Prise pour la sonde à vande
8 Éclairage
9 Ventilateur
10 Support de grille amovible
11 Tuyau de vidange
12 Vanne de vidange de I'eau
13 Position des grilles
14 Tuyau d'arrivée de la vapeur
3.2 Accessoires
Grille métallique
Permet de poser des plats a roti, a gratin et des moules a gateau/patisserie.
Plateau de cuisson
Pour la cuisson de gâteaux et de biscuits/gâteaux secs.
- Plat à rôtir
Pour cuire et griller ou à utiliser comme plat pour recueillir laGRAisse.
- Sonde à viande
Pour mesurer le degré de cuisson des alimentés.
- Rails téléscopiques
Pour les grilles et plateaux de cuisson.
4. BANDEAU DE COMMANDE
4.1 Touches
| Touchesensitive | Fonction | Description |
| -3sec | MINUTEUR | Pour régler le MINUTEUR. Maintenez la touche enfoncée pendant plus de 3 se-condes pour activer ou désactiver l'éclai-rage du four. |
| ① | HORLOGE | Pour régler une fonction de l'horloge. |
| °C | TEMPÉRATURE | Pour vérifier la température du four ou la température de la sonde à viande (si pré-sente). Utilisez-la uniquement lorsqu'un mode de cuisson est en cours. |
4.2 Affichage

A. Minuteur / Température
B. Voyant de chauffe et de chaleur résiduelle
C. Bac à eau
D. Sonde à viande (sur certains modèles uniquement)
E. Verrouillage de la porte (sur certains modèles uniquement)
F. Heures/minutes
G. Mode Démo (certains modèles uniquement)
H. Fonctions de l'horloge
5. AVANT LA PREMIÈRE UTILISATION

AVERTISSEMENT!
Reportez-vous aux chapitres concernant la sécurité.

Pour modifier l'heure, reportez-vous au chapitre « Fonctions de l'horloge »
5.1 Premier nettoyage
Retirez les supports de grille amovibles et tous les accessoires du four.

Reportez-vous au chapitre « Entretien et nettoyage »
Nettoyez le four et les accessoires avant de les utiliser pour la première fois.
Remettez les accessoires et les supports de grille en place.
5.2 Préchauffage
Préchauffez l'appareil à vide avant de l'utiliser pour la première fois.
- Sélectionnez la fonction et la température maximale.
- Laissez four en fonctionnement pendant 1 heures.
- Sélectionnez la fonction et réglez la température maximale.
- Laissez le four en fonctionnement pendant 15 minutes.
- Eteignez le four puis laissez-le refroidir.
Les accessoires peuvent chauffer plus que d'habitude. L'appareil peut émettre une oedur et de la fumée. Assurez-vous
que la ventilation dans la pierce est suffisante.
6. UTILISATION QUOTIDIENNE

AVERTISSEMENT!
Reportez-vous aux chapitres concernant la sécurité.
6.1 Manettes rétractables
Pour utiliser l'appareil, appuyez sur la manette de commande. La manette de commande sort de son logement.
6.2 Modes de cuisson
| Fonction du four | Utilisation |
| 0 Position Arrêt | Le four est étant. |
| Préchauffage Rapide | Pour diminuer le temps de préchauffage. |
| Chaleur Tournante | Pour faire cuire sur trois niveaux en même temps et pour déshydra-ter des alimentés.Dimi-nuez les températures de 20 à 40 °C par rapport à la Convection naturelle. |
| Sole Pulsée | Pour cuire des alimentés sur un seul niveau et leur donner un brunissement plus intense et une pâté bien croustillante. Dimi-nuez les températures de 20 à 40 °C par rapport à la Convection naturelle. |
| Convection naturelle (Vou-te) | Pour cuire et rôtir des ali-ments sur un seul niveau. |
| Fonction du four | Utilisation |
| Sole | Pour cuire des gâteaux à fond croustillant et pour stériser des aliments. |
| Décongélation | Voues pouvez utiliser cette fonction pour décongeler des alimentés surgelés comme des légumes et des fruits. Le temps de décongélation dépend de la quantité et de l'épaissur des alimentés surgelés. |
| Chaleur Tournante Humide | Cette fonction est con-çue pour économique de l'énergie en cours de cuisson. Pour plus d'in-formations, reportez-vous au paragraphe « Chaleur tournante humide » du chapitre « Conseils ». Durant cette cuisson, la porte du four doit rester fermé pour éviter d'inter-rompre la fonction, et pour garantir une consommation d'énergie op-timale. Lorsque vous utilisez cette fonction, la température à l'intérieur de la cavité peut différer de la température selec-tionnée. Grâce à l'utilisa-tion de la chaleur résiduelle, le niveau de chaleur peut être réduit. Pour obtenir des recom-mandations générales sur les économies d'énergie, reportez-vous au paragraphe « Économies d'énergie » du chapitre « Efficacité énergéti-que». Cette fonction est utilisée pour définir la classe d'efficacité éner-gétique selon la norme EN 60350-1. |
| Turbo Gril | Pour rôtir de grosses pièces de viande ou de la volaille sur un seul ni-veau. Également pour gratiner et faire dorer. |
| Fonction du four | Utilisation |
| Chaleur tournante + Va-peur | Pour cuire des plats à la vapeur. Utilisez cette fonction pour diminuer la durée de cuisson et préserver les vitamines et nutriments des alimentés. Pour l'utiliser, sélectionnez cette fonction et réglez la température entre 130 °C et 230 °C. |
| Pyrolyse | Pour activer le nettoyage par pyrolyse automatique du four. Cette fonction permet de brûler les salissures résiduelles à l'in-térique du four. |
6.3 Activation et désactivation du four

Si vous ouvrez la portedu four alors que l'appareil est eteint, I'eclairage du four et les voyants s'allument.
- Tournez la manette des fonctions du four pour selectionner une fonction.
- Tournez la manette du thermostat pour selectionner la temperature souhaitee.
- Pour éteindre le four, tournez la manette des fonctions du four et le thermostat sur la position Arrêt. L'éclairage s'allume lorsque l'appareil est en marche.
6.4 Préchauffage Rapide
La fonction Préchauffage rapide diminuè le temps de chauffe.

Ne place pas d'aliments dans le four lorsque la fonction Préchauffage rapide est en cours.
-
Tournez la manette des fonctions du four pour selectionner le préchauffage rapide.
-
Tournez la manette du thermostat pour selectionner la temperature. Lorsque I'appareil atteint la temperature reglee, le signal sonore retentit.
- Reglez une fonction du four.
6.5 Indicateur de chauffe
Lorsque la fonction du four est activée, les barres de l'affichage apparaissent une par une à mesure que la température du four augmente, et disparaisent à mesure que la température diminue.
6.6 Cuisson à la vapeur
i
Utilisez exclusivement de l'eau. N'utilisez pas d'eau filtrée (déminéralisée) ou distilée. N'utilisez pas d'autres liquides. Ne versez pas de liquides inflammables ni d'alcool dans le bac à eau.
- Réglez la fonction
- Appuyez sur le couvercle du bac à eau pour l'ouvrir.
- Versez de l'eau dans le bac à eau jusqu'à ce que levoyant Réservoir plein s'allume. Le réservoir a une contenance maximal de 900 ml. Cette quantité est suffisante pour environ 55 à 60 minutes de cuisson.
- Replacez le bac a eau dans sa position initiale.
- Sélectionnez une température entre 130^ et 230^ . La cuisson à la vapeur donne debons résultats dans cette plage detempératures.
- Videz le réservoir à la fin de la cuisson à la vapeur.
Attendez au moins 60 minutes après chaque utilisation de la fonction vapeur afin d'eviter que de l'eau chaude ne s'écoule de la vanne de vidange de l'eau.

ATTENTION!
L'appareil est chaud. Risque de brûlure! Soyez prudent lorsqu vous videz le bac à eau.
6.7 Affichage de la réserve d'eau
Durant une cuisson à la vapeur,
l'affichage de la réserve d'eau indique le
niveau d'eau dans le réservoir.
- Lorsque le réservoir est plein, l'affichage indique et un signal sonore retentit. Appuyez sur n'importe qu'elle touche pour arrêté le signal sonore.
Lorsque le réserve est a moitié plein, s'affiche.
Lorsque le réservoir est vide, l'affichage indique L et un signal sonore retentit. Remplissez le réservoir.
i
Si vous versez trop d'eau dans le réserveir,le dispositif de sécurité deversera l'excedent d'eau dans le fond du four. Epongez I'excedent d'eau.
6.8 Vidange du réservoir d'eau

ATTENTION!
Assurez-vous que le four a refroidi avant de commencer à vider le réservoir d'eau.
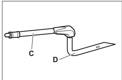
- Préparez le tuyau de vidange (C) fourni dans le sachet du mode d'emploi. Placez l'embout (B) sur l'une des extrémités du tuyau de vidange.
- Placez l'autre extrémité du tuyau de vidange (C) dans un réseau. Placeze le plus bas que la vanne de vidange (A).

3. Ouvrez la porte du four puis insérez l'embout (B) dans la vanne de vidange (A).
- Appuyez à plusieurs reprises sur l'embout lorsque vous videz le réservoir d'eau.

De l'eau peut rester à l'intérieur lorsque l'affichage indique : L'Atendez que l'eau cesse de s'écouler de la vanne de vidange de l'eau.
- Retirez l'embout de la vanne lorsque l'eau cesse de s'écouler.

N'utilisez pas l'eau de vidange pour replir de nouveau le réservoir d'eau.
7. FONCTIONS DE L'HORLOGE
7.1 Tableau des fonctions de l'horloge
| Fonction de l'horloge | Utilisation |
| HEURE | Pour indiquer ou changer l'heure. Vous ne pouvez régler l'heure que lors-que le four est étant. |
| DURÉE | Pour régler la durée de fonctionnement du four. Ne l'utilise que si un mode de cuisson est régé. |
| FIN | Pour régler l'hour d'ar-ret du four. Ne l'utilise que si un mode de cuisson est régé. |
| DéPART DIF-FÉRÉ | Pour combiner les fonctions DURÉE et FIN. |
| MINUTEUR | Utilissez-le pour régler un compte à rebours. Cette fonction est sans effet sur le fonctionnement du four. Vous pouvez utiliser le MINUTEUR à tout moment, même lorsque le four est étant. |
7.2 Réglage et modification de l'heure
Lorsque vous branchez l'appareil pour la première fois à l'alimentation électrique, attendez que hr et « 12:00 » s'affichent. " « 12 » clignote.
- Tournez la manette de température vers la droite ou la gauche pour régler les heures.
- Appuyez sur ① pour confirmer etisser au réglage des minutes. L'affichage indique min et l'heure réglée." « 00 » clignote.
- Appuyez sur ① pour confirmer, ou l'heure régée sera enregistrée automatiquement au bout de 5 secondes.
L'affichage indique la nouvelle heures. Pour changer l'heure, appuyez à plusieurs reprises sur ① jusqu'à ce que l'indicateur de l'heure ④ clignote sur l'affichage.
7.3 Réglage de la fonction DUREE
- Réglez une fonction du four.
-
Appuyez sur ① à plusieurs reprises jusqu'à ce que | | clignote.
-
Tournez le thermostat / manette des micro-ondes vers la droite ou la gauche pour définir les valeurs, puis appuyez sur ① pour confirmer. Tournez le thermostat / manette des micro-ondes vers la droite ou la gauche pour définir les valeurs, puis appuyez sur ① pour confirmer. Lorsque le temps de durée régèle se termine, le signal sonne pendant 2 minutes et le réglage de l'heure clignote à l'écran. Le four s'arrête automatiquement.
- Appuyez sur n'importequelle touche ou ouvre la porte du four pour arrêté l'alarme sonore.
- Tournez la manette des fonctions du four sur la position Arrêt.
7.4 Réglage de la fonction FIN
- Réglez une fonction du four.
- Appuyez sur ① à plusieurs reprises jusqu'à ce que → clignote.
- Tournez le thermostat / manette des micro-ondes vers la droite ou la gauche pour définir les valeurs, puis appuyez sur ① pour confirmer. Tournez le thermostat / manette des micro-ondes vers la droite ou la gauche pour définir les valeurs, puis appuyez sur ① pour confirmer.
À l'heure réglée fin, le signal sonne pendant 2 minutes. →I et le réglage de l'heure clignote à l'écran. Le four s'arrête automatiquement.
- Appuyez sur n'importequelle touche ou ouvre la porte du four pour arreter l'alarme sonore.
- Tournez la manette des fonctions du four sur la position Arrêt.
7.5 Réglage de la fonction DÉPART DIFFÉRÉ
- Réglez une fonction du four.
- Appuyez sur ① à plusieurs reprises jusqu'à ce que | | clignote.
- Tournez le thermostat / manette des micro-ondes vers la droite ou la gauche pour définir les minutes pour la DUREE, puis appuyez sur ① pour
confirmer. Tournez le thermostat / manette des micro-ondes vers la droite ou la gauche pour définir les heures pour la DUREE, puis appuyez sur ① pour confirmer.
|clignote sur l'affichage.
- Tournez le thermostat / manette des micro-ondes vers la droite ou la gauche pour régler les heures pour la FIN puis appuyez sur ① pour confirmer. Tournez le thermostat / manette des micro-ondes vers la droite ou la gauche pour régler les minutes pour la FIN puis appuyez sur ① pour confirmer. Le four s'allume automatiquement plus tard, fonctionne pendant la DUREE réglée, et s'arrête à l'heure de FIN可以选择.
À l'heure régée FIN, le signal sonne pendant 2 minutes → | et le réglage de l'houre clignote à l'écran. Le four s'arrête.
- Appuyez sur n'importequelle touche ou ouvre la porte du four pour arrêté l'alarme sonore.
- Tournez la manette des fonctions du four sur la position Arrêt.
7.6 Réglage du MINUTE MINDER (réglage de minuterie)
Le rappel de minuterie peut être réglée lorsqu'elle four est allumé ou eteint.

- Appuyez sur 3sec.
et « 00 » clignote sur l'écran. - Tournez le bouton de réglage de la température à gauche ou à droite pour régler les secondes puis les minutes. Lorsque la durée définie est supérieure à 60 minutes, hr clignote sur l'affichage.
- Reglez les heures.
- Le MINUTE MINDER démarre automatiquement après 5 secondes. Àpres 90% du temps définit, le signal retentit.
- Lorsque la durée définie se termine, le signal retentit pendant 2 minutes.
« 00:00 » et clignant dans l'écran. Appuyez sur n'importequel bouton pour arrêté le signal.
8. UTILISATION DES ACCESSOIRES

AVERTISSEMENT!
Reportez-vous aux chapitres concernant la sécurité.
8.1 Utilisation de la sonde à viande
La sonde à viande permet de mesurer la température à cœur de la vande. Le four s'éteint lorsque la vande atteint la température réglée.
Voudevezreglerdeuxtempératures:
La température du four. Reportez-vous au tableau de rôttissage.
La température à cœur. Reportez-vous au tableau de la sonde à viande.

ATTENTION!
N'utilise que la sonde à viande fournie avec le four ou des pieces de rechange d'origine.
- Sélectionnez la température et la fonction du four.
- Placez la pointe de la sonde à viande (avec le symbole sur la poignée) au centre de la viande.
- Insérez la pointe de la sonde à viande dans la prise, en haut de la cavité.

Assurez-vous que la sonde à viande est bien insérée dans la viande et que la fiche est bien branchée dans
la prise de l'appareil durant la cuisson.
Lorsque you utilisez la sonde à viande pour la première fois, la température à cœur par défaut est de 60^ . Lorsque clignote, vous pouvez utiliser la manette de température pour modifier la température à cœur par défaut.
L'affichage indique le symbole de la sonde à viande et la température à cœur par défaut.
- Appuyez sur ① pour sauvegarder la nouvelle températe à cœur ou attendez 10 secondes pour que ce réglage soit automatiquement sauvégardié.
La nouvelle température à cœur par défaut s'affiche lors de la prochaine utilisation de la sonde à viande.
Lorsque la viande atteint la température à cœur réglée, le symbole de la sonde à viande et la température à cœur par défaut clignotent. Le signal sonore retentit pendant 2 minutes.
- Appuyez sur n'importequelle touche ou ouvre la porte du four pour arrêté le signal sonore.
- Retirez la fiche de la sonde à viande de la prise. Enlevez la viande du four.
- Mettez le four à l'arrêt.

AVERTISSEMENT!
Soyez prudent lorsque vous
retirez la pointe et la fiche
de la sonde a viande.
Attention, la sonde a viande
est tres chaude. Risque de
brûlure.
À chaque fois que vous branchez la sonde à viande dans la prise, il vous faut de nouveau régler la température à cœur. Vous ne pouvez pas seLECTIONner les fonctions durée et fin.
Lorsque le four calcule pour la première fois la durée provisoire, le symbole —
clignote sur l'affichage. Une fois le calcul effectué, l'affichage indique la durée de la cuisson. Le calcul est effectué en tâche de fond durant la cuisson et la durée est mise à jour sur l'affichage si nécessaire.
Vous pouvez modifier à tout moment la température durant la cuisson :
1. Appuyez sur ^ C
- une fois : la température à cœur régée s'affiche : si nécessaire, elle peut être modifiée dans les 5 secondes.
-
deux fois : l'affichage indique la température actuelle du four.
trois fois : la température régée du four s'affiche : si nécessaire, elle peut être modifiée dans les 5 secondes. Cette info est uniquement disponible durant la phase de préchauffage. -
Tournez la manette de température pour modifier la température.
8.2 Installation des accessoires
Grille métallique :
Poussez la grille entre les barres de guidage des supports de grille et assurez-vous que les pieds sont orientés vers le bas.

Plateau de cuisson/ Plat à rôtir :
Poussez le plateau de cuisson /plat à rôtir entre les rails du support de grille.

Grille métallique et plateau de cuisson / plat à rôtir ensemble :
Poussez le plateau de cuisson /plat à rôtir entre les rails du support de grille et glissez la grille métallique entre les rails se trouvant juste au-dessus.

i
Les petites indentations sur le dessus apportent plus de sécurité. Les indentations sont également des dispositifs anti-bascule. Le rebord elevé de la grille empêche les ustensiles de cuisine de glisser.
8.3 Rails téléscopiques
i
Conservez les instructions d'installation des rails téléscopiques pour une utilisation ultérieure.
Gráce aux rails télécopiques, les grilles du four peuvent être insérées et retirees plus facilement.
!
ATTENTION!
Les rails télécopiques ne passent pas au lavevaisselle. Ne lubrifiez pas les rails télécopiques.
- Tirez sur les rails téléscopiques de droite et de gauche pour lessorting.

- Placez la grille métallique sur les rails téléscopiques et poussez-les dans le four.

Assurez-vous d'avoir pousse complètement les rails téléscopiques dans le four avant de fermer la porte du four.
8.4 Accessoires pour la cuisson à la vapeur

Le kit d'accessoires pour la cuisson à la vapeur n'est pas fourni avec le four. Pour plus d'informations, veuillez contacter votre revendeur local.
Le plat de cuisson diététique pour les fonctions de cuisson à la vapeur.
Le plat est composé d'un récipient en verre, d'un couvercle doté d'un orifice pour le tube de l'injecteur (C) et d'une
grille en acier à placer au fond du plat de cuisson.

Récipient en verre (A)

Couverage (B)

L'injecteur et le tube de l'injecteur
« C » est le tube de l'injecteur pour la cuisson à la vapeur, « D » est l'injecteur pour la cuisson à la vapeur directe.

Tube de I'injecteur (C)
Injecteur pour une cuisson directe à la vapeur (D)


Grille en acier (E)
- Ne posez pas de plat de cuisson chaud sur une surface froide ou mouillée.

- Ne versez pas de liquides froids dans le plat de cuisson lorsqu'il est chaud.

- N'utilisez pas le plat de cuisson sur une table de cuisson chaude.

- Ne nettoyez pas le plat de cuisson avec des produits ou poudres abrasifs, ni avec une éponge métallique.

8.5 Cuisson à la vapeur dans un plat de cuisson diététique
Placez les alimentes sur la grille en acier dans le plat de cuisson puis couvrez-le.
- Insérez le tube de l'injecteur dans l'orifice spécial du couvercle du plat de cuisson diététique.

- Placez le plat de cuisson sur le 2e niveau en partant du bas.
- Insérez l'autre extrémité du tube de l'injecteur dans le tuyau d'arrivée de la vapeur.

Assurez-vous de ne pas écraser le tube de l'injecteur et de ne pas le laisser toucher la voûte du four.
- Reglez le four sur la fonction de cuisson à la vapeur.
8.6 Cuisson à la vapeur directe
Placez les alimentes sur la grille en acier dans le plat de cuisson. Ajoutez de l'eau.

ATTENTION!
N'utilisez pas le couvercle du plat.

AVERTISSEMENT!
Soyez prudent lorsque vous utilisez l'injecteur tandis que le four est en fonctionnement. Utilisez toujours des gants de cuisine pour manipuler l'injecteur lorsque le four est chaud. Démontez toujours l'injecteur du four lorsque vous n'utilise pas la fonction vapeur.

Le tube de l'injecteur est spécialement concu pour la cuisson d'aliments et ne contient pas de substances nocives.
- Insérez l'injecteur (D) dans le tube de l'injecteur (C). Insérez l'autre extrémité dans le tuyau d'arrivée de la vapeur.

- Placez le plat de cuisson sur le 1er ou le 2e niveau en partant du bas.
Assurez-vous de ne pas écraser le tube de l'injecteur et de ne pas le laisser toucher la voûte du four.
- Reglez le four sur la fonction de cuisson à la vapeur.
Pour cuire des alimentes tels que du poulet, du canard, de la dinde, du chevreau ou de gros poissons, inserez l'injecteur (D) directement dans la partie vide de la viande. Veillez a ne pas boucher les troux.

Pour plus d'informations sur la cuisson à la vapeur, reportez-vous aux tableaux de cuisson à la vapeur dans le chapitre « Conseils »
9. FONCTIONS SUPPLEMENTAIRES
9.1 Utilisation de la Sécurité enfants
Lorsque la sécurité enfants du four est activée, le four ne peut etre allumé accidentellement.
- Assurez-vous que la manette de seLECTION des fonctions du four est sur la position Arrêt.
- Maintenez simultanément les touches ① et ^ C enforcées pendant 2 secondes.
Le signal sonore se déclenché. SAFE et s'affichent. La porte reste verrouillée.

Le symbole s'affichent, tout comme lorsque la fonction Pyrolyse est en cours d'utilisation.
Pour désactiver la Sécurité enfants, repêze l' étape 2.
9.2 Utilisation de la fonction Touches Verrouil
Vou ne pouvez activer la fonction Touches Verrouil que lorsque l'appareil est en fonctionnement.
Lorsque la fonction Touches verrouil est activée, la température et la durée de la fonction du four en cours ne peuvent pas'être changées accidentellement.
- Sélectionnez une fonction du four et réglez-la selon vos préférences
- Appuyez simultanément sur les touches ① et 0 C et maintenez-les enforcées pendant au moins 2 secondes.
Le signal sonore se déclenché. Loc s'affiche pendant 5 secondes.

Si la fonction Touches verrouil est activée, Loc s'affiche lorsque vous tournez la manette du thermostat ou que vous appuyez sur une touche.
Lorsque vous tournez la manette de sélection des fonctions du four, le four s'arrête.
Si vous éteignez le four alors que la fonction Touches Verrouil est activée, la fonction Touches Verrouil passa automatiquement à la fonction Sécurité enfants. Reportez-vous à la section « Utilisation de la sécurité enfants »

Si la fonction Pyrolyse est en cours, la porte est verrouillée et s'affiche.
Pour désactiver la fonction Touches verrouil, répétez l' étape 2.
9.3 Voyant de chaleur résiduelle
Lorsque you eteignez le four, I'indicateur de chaleur residuelle s'affiche
si la température du four est supérieure à 40^ . Tournez le thermostat vers la gauche ou la droite pour vérifier la température du four.
9.4 Arrêt automatique
Pour des raisons de sécurité, l'appareil s'éteint automatiquement au bout d'un certain temps si une fonction du four est en cours et que vous ne modifies aucun réglage.
| Température (°C) | Arrêt automatique au bout de (h) |
| 30 - 115 | 12.5 |
| 120 - 195 | 8.5 |
| 200 - 245 | 5.5 |
| 250 - Maximum | 3 |
Après un arrêt automatique, appuyez sur une touche pour faire de nouveau fonctionner l'appareil.

L'arrêt automatique ne fonctionne pas avec les fonctions: Sonde à vande, Éclairage, Durée, Fin.
9.5 Ventilateur de refroidissement
Lorsque le four fonctionne, le ventilateur de refroidissement se met automatiquement en marche pour refroidir les surfaces du four. Si vous eteignez le four, le ventilateur de refroidissement continue à fonctionner jusqu'à ce que le four refroidisse. Le voyant de mise sous tension reste allumé jusqu'à ce que le four refroidisse.
10. CONSEILS

AVERTISSEMENT!
Reportez-vous aux chapitres concernant la sécurité.

La température et les temps de cuisson indiqués sont fournis uniquement à titre indicatif. Ils varient en fonction des recettes ainsi que de la qualité et de la quantité des ingrédents utilisés.
10.1 Conseils de cuisson
Le four dispose de cinq niveaux de grille.
Comptez les niveaux de grille à partir du bas du four.
Votre four peut cuire les alimentes d'une maniere complètement différente de celle de votre ancien four. Les tableaux ci-dessous vous indiquent les réglages standard pour la température, le temps de cuisson et le niveau du four.
Si vous ne trouvez pas les réglages appropriés pour une recette spécifique, recherche-en une qui s'en rapproche.
Le four est doté d'un système spécial qui permet à l'air de circuler et qui recycle perpetuèlement la vapeur. Dans cet environnement, ce système permit de cuisiner des plats tout en maintainant ceux-ci tendres à l'intérieur et croquants à l'estérieur, ce qui permet de réduire à
9.6 Thermostat de sécurité
Un mauvais fonctionnement du four ou des composants défectueux peuvent cause une surchauffe dangereuse. Pour éviter cela, le four dispose d'un thermostat de sécurité interrompant l'alimentation électrique. Le four se remet automatiquement en fonctionnement lorsque la température baisse.
la fois le temps de cuisson et la consommation d'énergie.
Cuisson de gâteaux
N'ouvre la porte du four qu'aux 3/4 du temps de cuisson.
Si vous utilisez deux plateaux multiusages en même temps, laissez un gradin libre entre les deux.
Cuisson de vande et de poisson
Pour les alimentés très gras, utilisez un plat à rôtir pour éviter de salir le four de manière irréversible.
Avant de couper la viande, laissez-la reposer pendant environ 15 minutes afin d'eviter que le jus ne s'écoule.
Pour éviter qu'une trop grande quantité de fumée ne se forme dans le four, ajoutez de l'eau dans le plat à rôtir. Pour éviter que la fumée ne se condense, ajoutez à nouveau de l'eau dans le plat à rôtir à chaque fois qu'il n'en contient plus.
10.2 Intérieur de la porte
Vous trouvrez à l'intérieur de la portedou four :
les numérodes niveaux d'enfournement.
des informations sur les fonctions du four, les niveaux d'enfournement et les températures recommends pour certains plats.
10.3 Tableau de rôttavage et de cuisson des gâteaux
Gâteaux
| Plat | Vôute | Chaleur Tournante | Durée (min) | Remarques | ||
| Température (°C) | Positions des grilles | Température (°C) | Positions des grilles | |||
| Pâtes à gâteaux | 170 | 2 | 160 | 3 (2 et 4) | 45 - 60 | Dans un moule à gâteau |
| Pâtés sa-blée | 170 | 2 | 160 | 3 (2 et 4) | 20 - 30 | Dans un moule à gâteau |
| Gâteau au fromage | 170 | 1 | 165 | 2 | 80 - 100 | Dans un moule à gâteau de 26 cm |
| Tarte aux pommes1) | 170 | 2 | 160 | 2 (gauche et croit) | 80 - 100 | Dans deux moules à gâteau de 20 cm sur une grille métallique |
| Strudel | 175 | 3 | 150 | 2 | 60 - 80 | Sur un plateau de cuisson |
| Tarte à la confiture | 170 | 2 | 165 | 2 (gauche et croit) | 30 - 40 | Dans un moule à gâteau de 26 cm |
| Génoise/Gâteau Sa-voie | 170 | 2 | 150 | 2 | 40 - 50 | Dans un moule à gâteau de 26 cm |
| Gâteau de Noël/Cake aux fruits1) | 160 | 2 | 150 | 2 | 90 - 120 | Dans un moule à gâteau de 20 cm |
| Gâteau aux prunes1) | 175 | 1 | 160 | 2 | 50 - 60 | Dans un moule à pain |
| Petits gâteaux - sur un seul ni-veau1) | 170 | 3 | 150 - 160 | 3 | 20 - 30 | Sur un plateau de cuisson |
| Petits gâteaux - sur deux ni-veaux1) | - | - | 140 - 150 | 2 et 4 | 25 - 35 | Sur un plateau de cuisson |
| Petits gâteaux - sur trois ni-veaux1) | - | - | 140 - 150 | 1, 3 et 5 | 30 - 45 | Sur un plateau de cuisson |
| Biscuits/Gâteaux secs/Tres-ses feuille-tées - sur un seul ni-veau | 140 | 3 | 140 - 150 | 3 | 25 - 45 | Sur un plateau de cuisson |
| Biscuits/Gâteaux secs/Tres-ses feuille-tées - sur deux ni-veaux | - | - | 140 - 150 | 2 et 4 | 35 - 40 | Sur un plateau de cuisson |
| Biscuits/Gâteaux secs/Tres-ses feuille-tées - sur trois ni-veaux | - | - | 140 - 150 | 1, 3 et 5 | 35 - 45 | Sur un plateau de cuisson |
| Meringues - sur un seul niveau | 120 | 3 | 120 | 3 | 80 - 100 | Sur un plateau de cuisson |
| Meringues - sur deux niveaux1) | - | - | 120 | 2 et 4 | 80 - 100 | Sur un plateau de cuisson |
| Petits pains1) | 190 | 3 | 190 | 3 | 12 - 20 | Sur un plateau de cuisson |
| Plat | Voute | Chaleur Tournante | Durée (min) | Remarques | ||
| Tempéra-ture (°C) | Positions des grilles | Tempéra-ture (°C) | Positions des grilles | |||
| Éclairs - sur un seul ni-veau | 190 | 3 | 170 | 3 | 25 - 35 | Sur un pla-teau de cuisson |
| Éclairs - sur deux ni-veaux | - | - | 170 | 2 et 4 | 35 - 45 | Sur un pla-teau de cuisson |
| Tourtes | 180 | 2 | 170 | 2 | 45 - 70 | Dans un moule à gâteau de 20 cm |
| Cake aux fruits | 160 | 1 | 150 | 2 | 110 - 120 | Dans un moule à gâteau de 24 cm |
| Gâteau à étages1) | 170 | 1 | 160 | 2 (gauche et droit) | 30 - 50 | Dans un moule à gâteau de 20 cm |
1) Préchauffez le four pendant 10 minutes.
Pain et pizza
| Plat | Vôute | Chaleur Tournante | Durée (min) | Remarques | ||
| Tempéra-ture (°C) | Positions des grilles | Tempéra-ture (°C) | Positions des grilles | |||
| Pain blanc1) | 190 | 1 | 190 | 1 | 60 - 70 | 1 à 2 piè-ces, 500 g par piece |
| Pain de seigle | 190 | 1 | 180 | 1 | 30 - 45 | Dans un moule à pain |
| Petits pains1) | 190 | 2 | 180 | 2 (2 et 4) | 25 - 40 | 6 à 8 petits pains sur un plateau de cuisson |
| Pizza1) | 230 - 250 | 1 | 230 - 250 | 1 | 10 - 20 | Sur un pla-teau de cuisson ou un plat à rôtir |
| Scones1) | 200 | 3 | 190 | 3 | 10 - 20 | Sur un pla-teau de cuisson |
1) Préchauffez le four pendant 10 minutes.
Préparations à base d'oeufs
| Plat | Voute | Chaleur Tournante | Durée (min) | Remarques | ||
| Tempéra-ture (°C) | Positions des grilles | Tempéra-ture (°C) | Positions des grilles | |||
| Gratin de pâtes | 200 | 2 | 180 | 2 | 40 - 50 | Dans un moule |
| Gratin aux légumes | 200 | 2 | 175 | 2 | 45 - 60 | Dans un moule |
| Quiches1) | 180 | 1 | 180 | 1 | 50 - 60 | Dans un moule |
| Lasagnes1) | 180 - 190 | 2 | 180 - 190 | 2 | 25 - 40 | Dans un moule |
| Cannello-ni1) | 180 - 190 | 2 | 180 - 190 | 2 | 25 - 40 | Dans un moule |
1) Préchauffez le four pendant 10 minutes.
Vande
| Plat | Vôute | Chaleur Tournante | Durée (min) | Remar-ques | ||
| Tempéra-ture (°C) | Positions des grilles | Tempéra-ture (°C) | Positions des grilles | |||
| Boeuf | 200 | 2 | 190 | 2 | 50 - 70 | Sur une grille mé-tallique |
| Porc | 180 | 2 | 180 | 2 | 90 - 120 | Sur une grille mé-tallique |
| Veau | 190 | 2 | 175 | 2 | 90 - 120 | Sur une grille mé-tallique |
| Rôti de boeuf, sai-gnant | 210 | 2 | 200 | 2 | 50 - 60 | Sur une grille mé-tallique |
| Plat | Vôute | Chaleur Tournante | Durée (min) | Remarques | ||
| Tempéra-ture (°C) | Positions des grilles | Tempéra-ture (°C) | Positions des grilles | |||
| Rôti de boeuf, cuit à point | 210 | 2 | 200 | 2 | 60 - 70 | Sur une grille métallique |
| Rôti de boeuf, bien cuit | 210 | 2 | 200 | 2 | 70 - 75 | Sur une grille métallique |
| Épaule de porc | 180 | 2 | 170 | 2 | 120 - 150 | Avec couenne |
| Jarret de porc | 180 | 2 | 160 | 2 | 100 - 120 | 2 mo- ceaux |
| Agneau | 190 | 2 | 175 | 2 | 110 - 130 | Gigot |
| Poulet | 220 | 2 | 200 | 2 | 70 - 85 | Entier |
| Dinde | 180 | 2 | 160 | 2 | 210 - 240 | Entière |
| Canard | 175 | 2 | 220 | 2 | 120 - 150 | Entier |
| Oie | 175 | 2 | 160 | 1 | 150 - 200 | Entière |
| Lapin | 190 | 2 | 175 | 2 | 60 - 80 | En mor- ceaux |
| Lièvre | 190 | 2 | 175 | 2 | 150 - 200 | En mor- ceaux |
| Faisan | 190 | 2 | 175 | 2 | 90 - 120 | Entier |
Poisson
| Plat | Vôute | Chaleur Tournante | Durée (min) | Remarques | ||
| Température (°C) | Positions des grilles | Température (°C) | Positions des grilles | |||
| Truite/daurade | 190 | 2 | 175 | 2 | 40 - 55 | 3 - 4 poissons |
| Thon/saumon | 190 | 2 | 175 | 2 | 35 - 60 | 4 - 6 files |
10.4 Turbo Grill
Utilisez le premier ou le deuxième niveau de la grille.
Bceuf
Prechauffez le four.
Pour calculer le temps de rôtissage, multiplieré le temps indiqué dans le
tableau ci-dessous par l'épaisseur de la viande en cm.
| Plat | Tempéra-ture (°C) | Durée (min) |
| Rôti ou filet de bœuf saï-gnant | 190 - 200 | 5 - 6 |
| Rôti ou filet de bœuf à point | 180 - 190 | 6 - 8 |
| Rôti ou filet de bœuf bien cuit | 170 - 180 | 8 - 10 |
Porc
| Plat | Tempéra-ture (°C) | Durée (min) |
| Épaule, col-let, morceau de jambon,1- 1,5 kg | 160 - 180 | 90 - 120 |
| Côtelette, côte, 1 - 1,5 kg | 170 - 180 | 60 - 90 |
| Pâté à la viande, 0,75 kg - 1 kg | 160 - 170 | 50 - 60 |
| Jarret de porc (pré-cuit), 0,75 kg - 1 kg | 150 - 170 | 90 - 120 |
Veau
| Plat | Tempéra-ture (°C) | Durée (min) |
| Rôti de veau, 1 kg | 160 - 180 | 90 - 120 |
| Jarret de veau,1,5 - 2 kg | 160 - 180 | 120 - 150 |
Agneau
| Plat | Tempéra-ture (°C) | Durée (min) |
| Gigot d'agneau, rôti d'agneau, 1-1,5 kg | 150 - 170 | 100 - 120 |
| Carré d'agneau, 1-1,5 kg | 160 - 180 | 40 - 60 |
Volaille
| Plat | Tempéra-ture (°C) | Durée (min) |
| Morceaux de volaille, 0,2-0,25 kg | 200 - 220 | 30 - 50 |
| Moitié de poulet, 0,4-0,5 chacune | 190 - 210 | 35 - 50 |
| Poulet, pou-larde, 1 kg - 1,5 kg | 190 - 210 | 50 - 70 |
| Canard, 1,5 - 2 kg | 180 - 200 | 80 - 100 |
| Oie, 3,5 kg - 5 kg | 160 - 180 | 120 - 180 |
| Dinde, 2,5 kg - 3,5 kg | 160 - 180 | 120 - 150 |
| Dinde, 4 kg - 6 kg | 140 - 160 | 150 - 240 |
Poisson (à l'étuvette)
| Plat | Tempéra-ture (°C) | Durée (min) |
| Poisson en-tier, 1 - 1,5 kg | 210 - 220 | 40 - 60 |
10.5 Chaleur Tournante Humide

En cours de cuisson, n'ouvre la portede I'appareil que si c'estactually nécessaire.

Pour deromeilleursrésultats, suivez les temps de cuisson indiqués dans le tableau cidesous.
| Plat | Température (°C) | Durée (min) | Positions des grilles |
| Gratin de pâtes | 190 - 200 | 45 - 55 | 2 |
| Gratin de pommes de terre | 160 - 170 | 60 - 75 | 2 |
| Moussaka | 180 - 200 | 75 - 90 | 2 |
| Lasagnes | 160 - 170 | 55 - 70 | 2 |
| Cannelloni | 170 - 190 | 65 - 75 | 2 |
| Pudding | 150 - 160 | 75 - 90 | 2 |
| Riz au lait | 170 - 190 | 45 - 60 | 2 |
| Gâteaux aux pommes | 150 - 160 | 75 - 85 | 2 |
| Pain blanc | 180 - 190 | 50 - 60 | 2 |
10.6 Décongélation
| Plat | Quantité (kg) | Durée de décongénation (min) | Décongénation complémentaire (min) | Remarques |
| Poulet | 1,0 | 100 - 140 | 20 - 30 | Placez le poulet sur une sous-tasse returnée, po-sée sur une grande as-siete. Retournez à mi-cuisson. |
| Vande | 1,0 | 100 - 140 | 20 - 30 | Retournez à mi-cuisson. |
| Vande | 0,5 | 90 - 120 | 20 - 30 | Retournez à mi-cuisson. |
| Truite | 1,50 | 25 - 35 | 10 - 15 | - |
| Fraises | 3,0 | 30 - 40 | 10 - 20 | - |
| Beurre | 2,5 | 30 - 40 | 10 - 15 | - |
| Crème | 2 x 2,0 | 80 - 100 | 10 - 15 | La crème fraîche peut aussi être battue même si elle n'est pas complètement décongelée. |
| Gâteau | 1,4 | 60 | 60 | - |
10.7 Déshydration - Chaleur tournante
Utilisez des plaques recouvertes de papier sulfurisé.
Pour obtenir un meilleur résultat, arrêtez le four à la moitié de la durée
de déshydration, ouvre la porte et laissez refroidir pendant une nuit pour terminer le séchage.
Légumes
| Plat | Température (°C) | Durée (h) | Positions des grilles | |
| 1 position | 2 positions | |||
| Haricots | 60 - 70 | 6 - 8 | 3 | 1 / 4 |
| Poivrons | 60 - 70 | 5 - 6 | 3 | 1 / 4 |
| Légumes pour potage | 60 - 70 | 5 - 6 | 3 | 1 / 4 |
| Champignons | 50 - 60 | 6 - 8 | 3 | 1 / 4 |
| Fines herbes | 40 - 50 | 2 - 3 | 3 | 1 / 4 |
Fruits
| Plat | Température (°C) | Durée (h) | Positions des grilles | |
| 1 position | 2 positions | |||
| Prunes | 60 - 70 | 8 - 10 | 3 | 1 / 4 |
| Abricots | 60 - 70 | 8 - 10 | 3 | 1 / 4 |
| Pommes, tranches | 60 - 70 | 6 - 8 | 3 | 1 / 4 |
| Poire | 60 - 70 | 6 - 9 | 3 | 1 / 4 |
10.8 Chaleur tournante + Vapeur
Gâteaux et pâtisseries
| Plat | Températu- re (℃) | Durée (min) | Positions des grilles | Remarques |
| Gâteau aux pom- mes1) | 160 | 60 - 80 | 2 | Dans un moule à gâteau de 20 cm |
| Tartes | 175 | 30 - 40 | 2 | Dans un moule à gâteau de 26 cm |
| Cake aux fruits | 160 | 80 - 90 | 2 | Dans un moule à gâteau de 26 cm |
| Génoise/Gâteau Savoie | 160 | 35 - 45 | 2 | Dans un moule à gâteau de 26 cm |
| Plat | Températu- re (°C) | Durée (min) | Positions des grilles | Remarques |
| Panettone1) | 150 - 160 | 70 - 100 | 2 | Dans un moule à gâteau de 20 cm |
| Gâteau aux pru- nes1) | 160 | 40 - 50 | 2 | Dans un moule à pain |
| Petits gâteaux | 150 - 160 | 25 - 30 | 3 (2 et 4) | Sur un plateau de cuisson |
| Biscuits/Gâteaux secs | 150 | 20 - 35 | 3 (2 et 4) | Sur un plateau de cuisson |
| Petits pains su- crés1) | 180 - 200 | 12 - 20 | 2 | Sur un plateau de cuisson |
| Brioches1) | 180 | 15 - 20 | 3 (2 et 4) | Sur un plateau de cuisson |
1) Préchauffez le four pendant 10 minutes.
Préparations à base d'œufs
Préparez dans le moule à gâteau.
| Plat | Température (°C) | Durée (min) | Positions des grin-les |
| Légumes farcis | 170 - 180 | 30 - 40 | 1 |
| Lasagnes | 170 - 180 | 40 - 50 | 2 |
| Gratin de pommes de terre | 160 - 170 | 50 - 60 | 1 (2 et 4) |
Viande
Utilisez le deuxième niveau de la grille.
Utilisez la grille métallique.
| Plat | Te mp éra- ture | Du- rée (mi n) |
| Rôti de porc 1 kg | 180 | 90 - 110 |
| Veau, 1 kg | 180 | 90 - 110 |
| Rôti de bœuf - saignant, 1 kg | 210 | 45 - 50 |
| Rôti de bœuf - à point, 1 kg | 200 | 55 - 65 |
| Plat | Te mp éra- ture | Du- rée (mi n) |
| (°C) | ||
| Rôti de bœuf - bien cuit, 1 kg | 190 | 65 - 75 |
Utilisez le deuxième niveau de la grille.
| Plat | Te mp éra tu- re (°C ) | Du- rée (min ) |
| Agneau, gigot, 1 kg | 175 | 110 |
| - | ||
| 130 | ||
| Poulet, entier, 1 kg | 200 | 55 - 65 |
| Dinde, entière, 4 kg | 170 | 180 |
| - | ||
| 240 | ||
| Canard, entier, 2 - 2,5 kg | 170 | 120 |
| - | - | |
| 180 | 150 | |
| Lapin, en morceaux | 170 | 60 - |
| - | 90 | |
| 180 |
Utilisez le premier niveau de la grille.
| Plat | Te mp éra- tu- re (°C) | Du- rée (mi- n) |
| Oie, entière, 3 kg | 160 | 150 |
| - | - | |
| 170 | 200 |
Poisson
Utilisez le deuxième niveau de la grille.
| Plat | Tem- péra-ture (°C) | Du- rée (min) |
| Truite, 3 - 4 poissons, 1,5 kg | 180 | 25 - 35 |
| Plat | Tem- péra- ture (℃) | Du- rée (min) |
| Thon, 4 - 6 files, 1,2 kg | 175 | 35 - 50 |
| Colin | 200 | 20 - 30 |
Réchauffer à la vapeur
Réchauffez votre plat sur l'assiette.
Prechauffez le four pendant 10 minutes.
Utilisez le deuxième niveau de la grille.
| Plat | Temperaturation (°C) | Durree(min) |
| Ragoûts/Gratins | 130 | 15 -25 |
| Pâtes avec sauce | 130 | 10 -15 |
| Garnitures (par ex. riz, pômes de terre, pâtes) | 130 | 10 -15 |
| Plats uniques | 130 | 10 -15 |
| Viande | 130 | 10 -15 |
| Légumes | 130 | 10 -15 |
10.9 Cuisson dans le plat de cuisson diététique
Utilisez la fonction Chaleur tournante + Vapeur.
Légumes
| Plat | Température (°C) | Durée (min) | Positions des grilles |
| Brocoli en bouquets | 130 | 20 - 25 | 2 |
| Aubergines | 130 | 15 - 20 | 2 |
| Chou-fleur en bou-ques | 130 | 25 - 30 | 2 |
| Tomates | 130 | 15 | 2 |
| Asperges blanches | 130 | 25 - 35 | 2 |
| Asperges vertes | 130 | 35 - 45 | 2 |
| Courgette en lamelles | 130 | 20 - 25 | 2 |
| Carottes | 130 | 35 - 40 | 2 |
| Fenouil | 130 | 30 - 35 | 2 |
| Chou-rave | 130 | 25 - 30 | 2 |
| Poivrons en lamelles | 130 | 20 - 25 | 2 |
| Rondelles de céleri | 130 | 30 - 35 | 2 |
Vande
| Plat | Température (°C) | Durée (min) | Positions des grilles |
| Jambon cuit | 130 | 55 - 65 | 2 |
| Escalope de poulet pochée | 130 | 25 - 35 | 2 |
| Kasseler (filet mi-gnon de porc fumé) | 130 | 80 - 100 | 2 |
Poisson
| Plat | Température (°C) | Durée (min) | Positions des grilles |
| Truite | 130 | 25 - 30 | 2 |
| Filet de saumon | 130 | 25 - 30 | 2 |
Garnitures
| Plat | Température (°C) | Durée (min) | Positions des grilles |
| Riz | 130 | 35 - 40 | 2 |
| Pommes de terre en robe des champs,aille moyenne | 130 | 50 - 60 | 2 |
| P.d.t. vapeur en quartiers | 130 | 35 - 45 | 2 |
| Polenta | 130 | 40 - 45 | 2 |
10.10 Tableau de la sonde à viande
| Plat | Température à côte du plat (°C) |
| Rôti de vase | 75 - 80 |
| Jarret de vase | 85 - 90 |
| Rôti de boeuf, saignant | 45 - 50 |
| Rôti de boeuf, cuit à point | 60 - 65 |
| Rôti de boeuf, bien cuit | 70 - 75 |
| Épaule de porc | 80 - 82 |
| Plat | Température à cœur du plat (°C) |
| Jarret de porc | 75 - 80 |
| Agneau | 70 - 75 |
| Poulet | 98 |
| Lièvre | 70 - 75 |
| Truite/daurade | 65 - 70 |
| Thon/saumon | 65 - 70 |
10.11 Informations pour les instituts de test
Tests conformément à la norme IEC 60350-1.
| Plat | Fonction | Accessoires | Posi-tions des grilles | Tem-pératu-re (°C) | Durée (min) | Remarques |
| Petit gâ-teau | Convection naturelle | Plateau de cuis-son | 3 | 170 | 20 - 30 | Déposez 20 petits gâteaux sur un plateau de cuis-son. |
| Petit gâ-teau | Chaleur Tournante / Chaleur tournante | Plateau de cuis-son | 3 | 150 - 160 | 20 - 35 | Déposez 20 petits gâteaux sur un plateau de cuis-son. |
| Petit gâ-teau | Chaleur Tournante / Chaleur tournante | Plateau de cuis-son | 2 et 4 | 150 - 160 | 20 - 35 | Déposez 20 petits gâteaux sur un plateau de cuis-son. |
| Tourte aux pom-mes | Convection naturelle | Grille mé-tallique | 2 | 180 | 70 - 90 | Utilisez 2 moulés (20 cm de diamètre) placés en dia-gonale. |
| Plat | Fonction | Accessoires | Posi-tions des grilles | Tem-pératu-ire (°C) | Durée (min) | Remarques |
| Tourte aux pom-mes | Chaleur Tournante / Chaleur tournante | Grille mé-tallique | 2 | 160 | 70 - 90 | Utilisez 2 moules (20 cm de diamètre) placés en dia-gonale. |
| Génoise sans graissce | Convection naturelle | Grille mé-tallique | 2 | 170 | 40 - 50 | Utilisez un moule à gâteau (26 cm de diamètre). Préchauffez le four pendant 10 minutes. |
| Génoise sans graissce | Chaleur Tournante / Chaleur tournante | Grille mé-tallique | 2 | 160 | 40 - 50 | Utilisez un moule à gâteau (26 cm de diamètre). Préchauffez le four pendant 10 minutes. |
| Génoise sans graissce | Chaleur Tournante / Chaleur tournante | Grille mé-tallique | 2 et 4 | 160 | 40 - 60 | Utilisez un moule à gâteau (26 cm de diamètre). Pla-cés en diagonale. Préchauffez le four pendant 10 minutes. |
| Biscuits sablés | Chaleur Tournante / Chaleur tournante | Plateau de cis-son | 3 | 140 - 150 | 20 - 40 | - |
| Biscuits sablés | Chaleur Tournante / Chaleur tournante | Plateau de cis-son | 2 et 4 | 140 - 150 | 25 - 45 | - |
| Biscuits sablés | Convection naturelle | Plateau de cis-son | 3 | 140 - 150 | 25 - 45 | - |
| Toasts 4 - 6 pièces | Gril | Grille mé-tallique | 4 | max. | 2 à 3 minutes sur la première face ; 2 à 3 min-nutes sur la se-conde face. | Préchauffez le four pendant 3 minutes. |
| Plat | Fonction | Accessoires | Posi-tions des grilles | Tem-pératu-re (°C) | Durée (min) | Remarques |
| Steak ha-ché6 pièces,0,6 kg | Gril | Grille mé-tallique et l'échef-rite | 4 | max. | 20 - 30 | Placez la grille métallique sur lequatrième niveauet la l'échefrite surle troisième ni-veau du four.Tournez les ali-ments à mi-cuis-son.Prechauffez lefour pendant3 minutes. |
11. ENTRETIEN ET NETTOYAGE

AVERTISSEMENT!
Reportez-vous aux chapitres concernant la sécurité.
11.1 Remarques concernant l'entretien
Nettoyez la façade du four à l'aide d'une éponge humide additionnée d'eau savonneuse tiède.
Utilisez un produit courant destiné au nettoyage des surfaces en métal.
Nettoyez l'intérieur du four après chaque utilisation. L'accumulation de graisses ou d'autres résidus alimentaires peut provoquer un incendie. Ce risque est élevé pour la lèchefrite.
Après chaque utilisation, lavez tous les accessoires et séchez-les. Utilisez un chiffon doux additionné d'eau chaude savonneuse. Ne lavez pas les accessoires au lave-vaiselle.
En cas de salissures importantes, nettoyez à l'aide de produits spécifiques pour four.
Si vous avez des accessoires anti-adhérents, ne les nettoyez pas avec des produits agressifs, des objets pointus ni au lave-vaisselle. Cela risque d'endommager le revêtement anti-adhésif.
De l'humidité peut se déposer dans l'enceinte du four ou sur les vitres de la porte. Pour réduire la condensation, faites fonctionner le four pendant 10 minutes avant la cuisson. Éliminez l'humidité dans la cavité après chaque utilisation.
11.2 Fours en acier inoxydable ou en aluminium
Nettoyez la porte uniquement avec une éponge ou un chiffon humides. Séchez-la avec un chiffon doux.
N'utilisez jamais de produits abrasifs ou acides ni d'éponges métalliques car ils peuvent endommager la surface du four. Nettoyez le bandeau de commande du four en observant ces mêmes recommendations.
11.3 Retrait des supports de grille
Pour nettoyer le four, retirez les supports de grille.

ATTENTION!
Soyez prudent lorsque vous retirez les supports de grille.
- Écartez l'avant du support de grille de la paroi laterale.

- Écartez l'arrête du support de grille de la paroi latérale et retirez-le.

Réinstallez les accessoires que vous avez retrirés en repétant cette procédure dans l'ordre inverse.

Les tiges de retenue des rails téléscopiques doivent pointer vers l'avant.
11.4 Pyrolyse

ATTENTION!
Retirez tous les accessoires et les supports de grille amovibles.

Ne lancez pas la Pyrolyse si vous n'avez pas correctement fermé la portedou four. Sur certains modeles, l'affichage indique « C3 » lorsque cette erreurspe produit.

AVERTISSEMENT!
Le four devient très chaud.
Risque de brûlure!

ATTENTION!
Si un autre apparéil est
installé dans le même
meuble, ne l'utilise pas en
mème temps que la fonction
Pyrolyse. Vous risquieriez
d'endommager l'appareil.
-
Essuyez la cavité avec un chiffon doux et humide.
-
Nettoyez la partie interieure de la porte à l'eau chaude afin d'eviter que les résidus qui s'y trouvent ne brûlent lors de la montée en température.
- Reglez la fonction Pyrolyse. Reportez-vous au chapitre « Utilisation quotidienne », paragraphe « Fonctions du four »
- Lorsque clignote, tournez la manette du thermostat pour régler la durée de la pyrolyse:
| Option | Description |
| P1 | Nettoyage léger. Durée : 2 h. |
| P2 | Nettoyage normal. Durée : 2 h 30. |
La pyrolyse demarre au bout de 2 secondes.
Vou pousseutiliser la fonction FIN pour retarder le demarrage du nettoyage. Au cours du nettoyage par pyrolyse, I'clairage du four est eteint.
- Lorsque le four atteint la température régée, la porte se verrouille. Le symbole et les barres indiquant la chaleur apparaissent sur l'affichage jusqu'à ce que la porte se déverrouille. Pour arrêté le nettoyage par pyrolyse avant qu'il ne s'achève, tournez la manette des fonctions du four sur la position Arrêt.
- Lorsque le nettoyage par pyrolyse est terminé, l'heure s'affiche à nouveau. La porte du four reste verrouillée.
- La porte se déverrouille une fois que le four a refroidi.
11.5 Nettoyage conseillé
Pour vous rappeler qu'un nettoyage par pyrolyse est nécessaire, PYR clignote pendant 10 secondes sur l'affichage a chaque fois que vous allumez et eteignez le four.
Le symbole « Nettoyage conseilé » s'éteint :
- après la fin de la pyrolyse.
- si vous appuyez
simultanément sur

et ^ C tandis que PYR clignote sur I'affichage.
11.6 Nettoyage du réservoir d'eau

AVERTISSEMENT!
Ne versez pas d'eau dans le réservoir d'eau durant le processus de nettoyage.

Durant le processus de nettoyage, de I'eau peut s'égoutter du tuyau d'arrivée de la vapeur dans la cavité du four. Placez une l'échérite sur le niveau situé juste en dessous du tuyau d'arrivée de la vapeur pour éviter que I'eau ne coule jusqu'àu fond de la cavity du four.
Au bout d'un certain temps, des dépôts calcaires peuvent apparaître dans le four. Pour éviter cela, nettoyez tous les éléments du four produitant de la vapeur. Videz le réservoir après chaque cuisson à la vapeur.
Types d'eau
- Eau douce contenant peu de calcaire : type recommendé. Elle diminue le nombre de procédures de nettoyage nécessaires.
- Eau du robinet : vous pouvez l'utiliser à condition que votre alimentation domestique soit dotée d'un purificateur ou d'un adoucisseur d'eau.
- Eau dure à haute teneur en calcaire : ce type d'eau n'entrave aucunement le bon fonctionnement du four, mais elle augmente la fréquence des procédures de nettoyage.
TABLEAU DES QUANTITÉS DE CALCIUM RECOMMANDÉES PAR L'OMS. (Organisation Mondiale de la Santé)
| Dépôt de cal-cium | Dureté de l'eau | Classificationde l'eau | Fréquence dedétartrage | |
| (degrés français) | (degrés alle-mands) | |||
| 0 - 60 mg/l | 0 - 6 | 0 - 3 | Douce ou claire | 75 cycles -2,5 mois |
| 60 - 120 mg/l | 6 - 12 | 3 - 7 | Moyennementdure | 50 cycles -2 mois |
| 120 - 180 mg/l | 12 - 18 | 8 - 10 | Dure ou calcaire | 40 cycles -1,5 mois |
| plus de 180 mg/l | plus de 18 | plus de 10 | Très dure | 30 cycles -1 mois |
- Remplissez le réservoir avec 850 ml d'eau en y ajoutant 50 g (soit cinq cuillères à café) d'acide citrique. Éteignez le four et attendez environ 60 minutes.
- Allumez le four et seLECTIONnez la fonction : Chaleur tournante +
Vapeur. Reglez la température sur 230^ . Au bout de 25 minutes, éteignez le four et laissez-le refroidir pendant 15 minutes.
- Allumez le four et selectionnez la fonction : Chaleur tournante + Vapeur. Réglez la température entre
130 et 230^. Eteignez le four au bout de 10 minutes.
Laissez-le refroidir et procédez à la vidange du réservoir. Reportez-vous au paragraphe « Vidange du réservoir d'eau » du chapitre « Utilisation quotidienne »
- Rincez le réservoir d'eau et nettoyez les résidus de calcaire Presents dans le four avec un chiffon.
- Nettoyez le tuyau de vidange à la main avec de l'eau chaude savonneuse. Pour éviter tout endommagement, n'utilise pas d'agents nettoyants acides, de sprays ni de produits similaires.
11.7 Retrait et installation de la porte
La portedou four est dotée de quatre panneaux de verre.Vous pouvez-retirer la portedou four et les panneaux de verre interieurs pour les nettoyer.

Si vous tentez d'extraire les panneaux de verre sans avoir au préalable retire la porte du four, celle-ci peut se refermer brusquement.

ATTENTION!
N'utilisez pas le four sans les panneaux en verre.
- Ouvrez la porte en grand et identifie la charnière située à droite de la porte.
- Poussez le composant de serrage jusqu'à ce qu'il se retire.

- D'une main, maintenance le composant que vous venez de pousser. De l'autre main, servez-vous d'un tournevis pour soulever et faire pivoter le levier de la charnière droite.

- Trouvez la charnière à gauche de la porte.

- Levez et tournez le levier sur la charnière de gauche.

- Fermez la porte du four à la première position d'ouverture (mi-parcours). Tirez la porte vers l'avant et retirez-la de son logement.

- Déposez la porte sur une surface stable recouverte d'un tissu doux.
- Tenez la garniture de porte (B) sur le bord supérieur de la porte des deux côtes et poussez vers l'intérieur pour libreter le joint du clip.

- Tirez la garniture de porte vers l'avant pour la déposer.
- Prenez les panneaux de verre de la porte par leur bord supérieur et sortez-les doucement, un par un.
Commencez par le panneau supérieur. Assurez-vous que la vitre glisse entierement hors de ses supports.

- Nettoyez les panneaux de verre à l'eau savonneuse. Séchez soigneusement les panneaux de verre.
Une fois le nettoyage terminé, remettez les panneaux de verre et la porte du four en place. Suivez les étapes ci-dessus dans l'ordre inverse.
Veiliez à replacer les panneaux de verre (A, B et C) dans le bon ordre. Vérifiez le symbole / l'imprimé sur le côté du panneau de verre. Chaque panneau de verre est différent pour faciliter le démontage et le remontage.

Veiliez à installer correctement le panneau de verre du milieu dans son logement.

11.8 Remplacement de l'éclairage

AVERTISSEMENT!
Risque d'electrocution! L'ampoule peut etre chaude.
- Éteignez le four.
Attendez que le four ait refroidi. - Debranchez le four de l'alimentation secteur.
- Placez un chiffon au fond de la cavité.

ATTENTION!
Prenez toujours l'ampoule
halogène avec un chiffon
pour éviter que des résidus
deGRAISSESURl'ampoule ne
prénnent feu.
Éclairage arrêté
- Retirez le diffuseur en verre de l'ampoule en le tournant.
- Nettoyez le diffuseur en verre.
- Remplacez l'ampoule par une ampoule adequate resistant à une température de 300^ .
- Replacez le diffuseur en verre.

AVERTISSEMENT!
Reportez-vous aux chapitres concernant la sécurité.
12.1 En cas d'anomalie de fonctionnement
| Problème | Cause probable | Solution |
| Vous ne pouvez pas allumer le four ni le faire fonctionner. | Le four n'est pas branché à une source d'alimentation électrique ou le branchement est incorrect. | Vérifiez que le four est correctement branché à une source d'alimentation électrique (reportez-vous au schéma de branchement). |
| Le four ne chauffe pas. | Le four est étant. | Allumez le four. |
| Le four ne chauffe pas. | L'horloge n'est pas réglée. | Réglez l'horloge. |
| Le four ne chauffe pas. | Les réglages nécessaires n'ont pas été effectués. | Vérifiez que les réglages sont corrects. |
| Le four ne chauffe pas. | La fonction d'accêt automatique est activée. | Reportez-vous à « Arrêt automatique » . |
| Le four ne chauffe pas. | La sécurité enfants est acti-vee. | Reportez-vous à la section « Utilisation de la sécurité enfants » . |
| Le four ne chauffe pas. | Le fusible a disjoncté. | Vérifiéz que le fusible est bien la cause de l'anomalie. Si les fusibles disjonctent de manière répétée, faites ap-pel à un électricien qualifié. |
| L'éclairage ne fonctionne pas. | L'éclairage est défectueux. | Remplacez l'ampoule. |
| La sonde à viande ne fon-cionne pas. | La fiche de la sonde à viande n'est pas enforcée correctement dans la prise. | Insérez la fiche de la sonde à viande aussi loin que pos-sible dans la prise. |
| La cuisson des alimentés est trop longue ou trop rapide. | La température est trop bas-se ou trop élevé. | Ajustez la température si né-cessaire. Suivez les conseils du manuel d'utilisation. |
| De la vapeur et de la con-densation se forment sur les alimentés et dans la cavité du four. | Le plat est resté trop long-temps dans le four. | Ne laissez pas les plats dans le four pendant plus de 15 à 20 minutes après la fin de la cuisson. |
| L'affichage indique « C2 ». | Youn vaslez demarrer la fonction Décongélation ou Pyrolyse, mais vous n'avez pasquitré la fiche de la son-de à viande de sa prise. | Retirez la fiche de la sonde à viande de sa prise. |
| L'affichage indique « C3 ». | La fonction de nettoyage ne fonctionne pas. Vous n'avez pas entièrement fermé la portedu four ou le verrouil-lage de la porté est défectueux. | Fermez complètement la porte. |
| L'affichage indique « F102 ». | • Youn n'avez pas entière-ment fermé la porte.• Le verrouillage de la por-te est défectueux. | • Fermez complètement la porte.• Éteignez le four à l'aide du fusible de l'habitation ou du disjoncteur situé dans la boîte à fusibles, puis allumez-le de nouvel-veau.• Si l'affichage indique de nouveau « F102», contactez le service après-vente. |
| Un code d'erreur ne figurant pas dans ce tableau s'affiche. | Une anomalie électrique est survenue. | Éteignez le four à l'aide du fusible de l'habitation ou du disjoncteur situé dans la boîte à fusibles, puis allumez-le de nouveau. Si l'affichage indique de nouveau un code d'erreur, contactez le service après-vente. |
| Il y a de l'eau à l'intérieur du four. | Le réservoir d'eau est trop rempli. | Éteignez le four et essuyez l'eau avec un chiffon ou une éponge. |
| Levoyant « Réservoir plein » est étéeint. | Le réservoir d'eau est vide. | Remplissez le réservoir d'eau jusqu'à ce que le voyant s'al-lume. Si de l'eau commence à s'écouler à l'intérieur du four et que le voyage est tou-jours étéeint, contactez le service après-vente. |
| Levoyant « Réservoir vide » est allumé. | Le réservoir d'eau est vide. | Remplissez le réservoir. Si levoyant reste allumé, prenez contact avec le service après-vente. |
| La cuisson à la vapeur ne fonctionne pas. | Des dépôts de calcaire obs-truent l'orifice. | Vérifiez l'orifice du tuyau d'acciviée de la vapeur. Élimi-nez le calcaire. |
| La cuisson à la vapeur ne fonctionne pas. | Le réservoir d'eau est vide. | Remplissez le réservoir d'eau. |
| Il faut plus de 3 minutes pour vider le réservoir d'eau ou de l'eau s'écoule par l'orifice du tuyau d'acciviée de la vapeur. | Il y a des dépôts calcaires dans le four. | Nettoyez le réservoir d'eau Reportez-vous au chapitre « Nettoyage du réservoir d'eau » . |
| L'appareil est allumé mais il neCHAuffe pas. Le ventilateur ne fonctionne pas. L'affichage indique "Demo". | Le mode démo est activé. | 1. Éteignez le four.2. Appuyez simultanément sur les touches -3sec ①°C et maintenez-les enforcées.3. Le premier chiffre sur l'affichage et levoyant Demo commencent à clignoter.4. Entrez le code 2468 en tournant le thermostat vers la droite ou la gauche pour changer les valeurs, puis appuyez sur ① pour confirmer.5. Le chiffre suivant comme nence à clignoter.6. Le mode Demo se dés- active lorsque vous confirmez le dernier chiffre et si le code est correct. |
12.2 Données de maintenance
Si vous ne trouvez pas de solution au problème, veuillez contacter votre revendeur ou un service après-venture agréé.
Les informations à fournir au service après-venture figurent sur la plaque
signalétique. La plaque signalétique se trouve sur l'encadrement avant de la cavité du four. Ne retirez pas la plaque signalétique de la cavité du four.
| Nous vous recommendons de noter ces informations ici : | |
| Modèle (MOD.) | ...... |
| Référence du produit (PNC) | ...... |
| Numéro de série (S.N.) | ...... |
13. INSTALLATION

AVERTISSEMENT!
Reportez-vous aux chapitres concernant la sécurité.
13.1 Encastrement


13.2 Fixation de l'appareil au meuble

13.3 Installation électrique

Le fabricant ne pourra etreetenu pour responsable siyoune ne respectez pas lesprécautions de sécurité duchapitre « Consignes dessucrété »
Cet apparéil n'est fourni qu'avac un cable d'alimentation.
13.4 Cable
Types de cables compatibles pour l'installation ou le remplacement :
H07 RN-F, H05 RN-F, H05 RRF, H05 VV-F, H05 V2V2-F (T90), H05 BB-F
Pour la section du cable, consultez la puissance totale sur la plaque signalétique. Vous pouvez également consulter le tableau :
| Puisance totale (W) | Section du cable (mm2) |
| maximum 2 300 | 3 x 1 |
| maximum 3 680 | 3 x 1.5 |
| Puisance totale (W) | Section du câble (mm2) |
| maximum 1 380 | 3 x 0.75 |
Le fil de masse (fil jaune/vert) doit faire 2 cm de plus que les fils de phase et neutre (fils bleu et marron).
14. RENDEMENT ÉNERGÉTIQUE
14.1 Fiche du produit et informations conformément à la norme EU 65-66/2014
| Nom du fournisseur | AEG |
| Identification du modèle | BSK577321M |
| Index d'efficacité énergétique | 81.2 |
| Classe d'efficacité énergétique | A+ |
| Consommation d'énergie avec charge standard et mode traditionnel | 0.93 kWh/cycle |
| Consommation d'énergie avec charge standard et mode air pulsé | 0.69 kWh/cycle |
| Nombre de cavités | 1 |
| Source de chaleur | Électricité |
| Volume | 72 l |
| Type de four | Four encasable |
| Masse | 35 kg |
EN 60350-1 - Appareils de cuisson domestiques électriques - Partie 1: Plages, jours, jours à vapeur et grils - Méthodes de mesure des performances.
14.2 Économie d'énergie

Ce four est doté de
caracteristiques qui vous
permèttent d'économiser de
l'énergie lors de votre
cuisine au quotidien.
Conseils généraux
Assurez-vous que la porte du four est correctement fermée lorsque le four est en marche. En cours de cuisson, n'ouvre pas la porte. Nettoyez régulièrement le joint de la porte pour qu'il reste propre et assurez-vous qu'il est toujours bien fixé, dans la bonne position.
Utilisez des plats en métal pour augmenter les économies d'énergie.
Si possible, ne préchauffez pas le four avant d'y introduire vos alimentes.
Si la cuisson doit durer plus de 30 minutes, réduisez la température du
four au minimum 3 à 10 minutes avant la fin de la cuisson, en fonction de la durée de la cuisson. La chaleur résiduelle à l'intérieur du four poursuivra la cuisson.
Utilisez la chaleur résiduelle pour réchauffer d'autres plats.
Lorsque vous cuisez plusieurs plats les uns après les autres, voirlez à ne pas trop espacer les cuissons.
Cuisson avec ventilation
Si possible, utilisez les fonctions de cuisson avec la ventilation pour economiser de I'energie.
Chaleur résiduelle
Pour certaines fonctions du four, si un programme avec selection du temps (Durée ou Fin) est activé et que le temps de cuisson est supérieur à 30 minutes, les éléments chauffants se désactivent automatiquement plus tout.
L'éclairage et le ventilateur continuant de fonctionner.
Maintien des aliments au chaud
Selectionnez la température la plus basse possible pour utiliser la chaleur résiduelle et maintainir le repas au chaud. La température ou le voyant de chaleur résiduelle s'affichent.
Cuisson avec l'éclairage éteint
Éteignez l'éclairage en cours de cuisson.
Allumez-le uniquement en cas de besoin.
Chaleur Tournante Humide
Fonction concue pour economiser de I'energie en cours de cuisson.
Lorsque vous utilisez cette fonction, l'éclairage s'eteint automatiquement au bout de 30 secondes. Vous pouvez réactiver l'éclairage, mais cela réduit les économies d'énergie.
15. EN MATIÈRE DE PROTECTION DE L'ENVIRONNEMENT
Recyclez les matériaux portant le symbole . Déposez les emballage dans les conteneurs prévus à cet effet. Contribuez à la protection de l'environnement et à votre sécurité, recyclez vos produits électriques et
électroniques. Ne jetez pas les apparèils portant le symbole avec les ordures menagères. Emmenez un tel produit dans votre centre local de recyclage ou contactez vos services municipaux.
C E
Notice Facile