FCM54041WA - FCM54041WA - Réfrigérateur congélateur combiné FAURE - Notice d'utilisation et mode d'emploi gratuit
Retrouvez gratuitement la notice de l'appareil FCM54041WA - FCM54041WA FAURE au format PDF.
| Type d'appareil | Cuisinière |
| Type de cuisson | Non précisé |
| Nombre de foyers | Non précisé |
| Type de four | Non précisé |
| Capacité du four | Non précisé |
| Type d'énergie | Non précisé |
| Dimensions (HxLxP) | Non précisé |
| Fonctions spéciales | Non précisé |
| Programmateur | Non précisé |
| Type de commandes | Non précisé |
| Sécurité enfant | Non précisé |
| Matériau de la surface | Non précisé |
| Couleur | Non précisé |
| Consommation énergétique | Non précisé |
| Accessoires inclus | Non précisé |
| Poids | Non précisé |
FOIRE AUX QUESTIONS - FCM54041WA - FCM54041WA FAURE
Questions des utilisateurs sur FCM54041WA - FCM54041WA FAURE
0 question sur cet appareil. Repondez a celles que vous connaissez ou posez la votre.
Poser une nouvelle question sur cet appareil
Téléchargez la notice de votre Réfrigérateur congélateur combiné au format PDF gratuitement ! Retrouvez votre notice FCM54041WA - FCM54041WA - FAURE et reprennez votre appareil électronique en main. Sur cette page sont publiés tous les documents nécessaires à l'utilisation de votre appareil FCM54041WA - FCM54041WA de la marque FAURE.
MODE D'EMPLOI FCM54041WA - FCM54041WA FAURE
FR Notice d'utilisation Cuisinière
FCM54041WA
INFORMATIONS DE SÉCURITÉ
Avant d'instructor et d'utiliser cet apparéil, lisez soigneusement les instructions fournies. Le fabricant ne pourrait être tenu pour responsable des blessures et dégâtés résultats d'une mauvaise installation ou utilisation. Conservez toujours les instructions dans un lieu sur et accessible pour vous y référer ultérieurement.
SECURITE DES ENFANTS ET DES PERSONNES VULNÉRAPLES
- Cet apparéil peut être utilisé par des enfants âgés d'au moins 8 ans et par des personnes ayant des capacités physiques, sensorielles ou mentales réduites ou dénuées d'expérience ou de connaissance, s'ilts sont correctement surveillés ou si des instructions relatives à l'utilisation de l' apparéil en toute sécurité leur ont été données et s'ilts comprendnant les risques encourus. Les enfants de moins de 8 ans et les personnes ayant un handicap très important et complexe doivent être tenus à l'écart de l' apparéil, à moins d'être surveillés en permanence.
Veillez à ce que les enfants ne jouent pas avec l'appareil. - Ne laissez pas les emballages à la portée des enfants et jetez les convenablement.
- AVERTISSEMENT: L'appareil et ses parties accessibles deviennent chauds pendant l'utilisation. Tenez les enfants et les animaux éloignés de l'appareil lorsqu'il est en cours d'utilisation et de refroidissement.
- Le nettoyage et l'entretien par l'usage ne doivent pas etre effectués par des enfants sans surveillance.
SECURITE GÉNÉRALE
- Cet apparéil est exclusivement destiné à un usage culinaire.
-
Cet apparéil est concu pour un usage domestique unique, dans un environnement interieur.
-
Cet apparéil peut être utilisé dans les bureaux, les chambres d'hôtel, les chambres d'hôtes, les maisons d'hôtes de ferme et autres hébergements similaires lorsque cette utilisation ne dépasse pas le niveau (moyen) de l'utilisation domestique.
- L'appareil doit être installé et le cable remplace unquiquement par un professionnel qualifié.
- L'appareil doit être branché sur le secteur à l'aide d'un cable de type H05VV-F pour supporter la température du panneau arrêté.
- Cet apparéil est conçu pour être utilisé à une altitude inférieure à 2000 mètres.
- Cet apparéil n'est pas destiné à être utilisé sur les navires, bateaux ou vaisseaux.
- N'installez pas l'appareil derrière une porte décorative pour éviter tout risque de surchauffe.
- N'installez pas l'appareil sur une plateforme.
- N'utilisez pas l'appareil au moyen d'une minuteurie externe ou d'un système de commande à distance séparé.
- AVERTISSEMENT : Il peut être dangereux de laisser chauffer de laGRAISSÉ ou de l'huile sans surveillance sur une table de cuisson car cela pourrait provoquer un incendie.
- N'utilisez jamais d'eau pour éteindre le feu de cuisson. Éteignez l'appareil et couvrez les flammes avec une couverture anti-feu ou un couvercle, par exemple.
- ATTENTION : Toute cuisson doit être surveillée. Une cuisson courte doit être surveillée en permanence.
- AVERTISSEMENT : Risque d'incendie : N'entreposez rien sur les surfaces de cuisson.
- N'utilisez pas de nettoyeur à vapeur pour nettoyer l'appareil.
- N'utilisez pas de produits abrasifs ni de racloirs pointus en métal pour nettoyer la porte vitrée ou le verre des couvercles à charnière de la table de cuisson car ils peuvent rayer la surface, ce qui peut briser le verre.
-
Les objets métalliques tels que les couteaux, les fourchettes, les cuillères et les couvercles ne doivent pas être placés sur la surface de la table de cuisson car ils peuvent devenir chauds.
-
Retirez tout déversement du couvercle avant de l'ouvrir. Laissez la surface de la table de cuisson refroidir avant de refermer le couvercle.
- AVERTISSEMENT : L'appareil et ses parties accessibles deviennent chauds pendant l'utilisation. Veillez à ne pas toucher les éléments chauffants.
- Utilisez toujours des gants de cuisine pour retarder oumettre des accessoires ou des plats allant au four.
- Avant toute opération de maintenance, déconnectez l'alimentation électrique.
- AVERTISSEMENT : Assurez-vous que l'appareil est eteint avant de replacer l'ampoule pour eviter tout risque d'électrocution.
- Si le cable d'alimentation secteur est endommagé, son remplacement doit être confié exclusivement au fabricant, à son service après-vente ou à toute autre personne qualifiée afin d'éviter tout danger électrique.
- Pour-retirer les supports de grille, tirez d'abord l'avant du support de grille, puis l'arrière à distance des parois laterales. Installez les supports de grille dans l'ordre inverse.
- Un moyen de déconnexion doit être prévu dans le câblage fixe conformément aux règles nationales d'installation.
- AVERTISSEMENT: Utilisez uniquement les dispositifs de protection pour table de cuisson conçus ou indiqués comme adaptés par le fabricant de l'appareil de cuisson dans les instructions d'utilisation, ou les dispositifs de protection pour table de cuisson intégrés à l'appareil. L'utilisation de dispositifs de protection non adaptations peut entraîner des accidents.
CONSIGNES DE SECURITE
Cet apparéil est adapté aux marchés suivants: FR
INSTALLATION

AVERTISSEMENT! L'appareil doit être installé uniquement par un professionnel qualifié.
-
Retirez l'intégralité de l'emballage.
-
N'installez pas et ne branchez pas un apparéil endommagé.
- Suívez scrupuleusement les instructions d'installation fournies avec l'appareil.
- Soyez toujours vigilants lorsque vous déplacez l'appareil car il est lourd. Utilisez toujours des gants de sécurité et des chaussures fermées.
- Ne tirez jamais l'appareil par la poignée.
-
Les dimensions du meuble de cuisine et de la niche d'encastrement doivent être appropriées.
-
Respectez l'espacement minimal requis par rapport aux autres apparèils et éléments.
- Installez l'appareil dans un lieu sûr et adapté répondant aux exigences d'installation.
- Certaines pieces de l'appareil sont électrifiées. Placez l'appareil de façon à éviditer que l'on puisse toucher les pieces dangereuses.
- Les côtés de l'appareil doivent rester à côté d'appareils ou d'éléments ayant la même hauteur.
- N'installez pas l'appareil pres d'une porte ou sous une fenêtre. Les recipients chauds risqueraient de tomber de l'appareil lors de l'ouverture de celles-ci.
- Veillez toujours à installer des stabilisateurs afin d'éviter que l'appareil ne bascule. Reportez-vous au chapitre « Installation »
BRANCHEMENT ÉLECTRIQUE

AVERTISSEMENT! Risque d'incendie ou d'électrocution.
L'ensemble des branchements électriques doit être effectué par un technicien qualifié.
L'appareil doit etre relié à la terre.
Assurez-vous que les paramètres figurant sur la plaque signalétique correspondent aux données électriques nominale de l'alimentation secteur.
Utilisez toujours une prise de courant de sécurité correctement installée.
- N'utilise pas d'adaptateurs multiprise et de rallonges.
- Ne laïsez pas les câbles d'alimentation entre en contact ou s'approcher de la porte de l'appareil ou de la niche d'encastrement sous l'appareil, particulièrement lorsqu'il est en marche ou que la porte est chaude.
- La protection contre les chocs des parties sous tension et isolées doit être fixée de telle manière qu'elle ne puisse pas être enlevée sans outils.
- Ne branche la fiche secteur dans la prise secteur qu'a la fin de l'installation. Assurez-vous que la prise secteur est accessible après l'installation.
- Si la prise secteur est détachée, ne branche pas la fiche secteur.
- Ne tirez pas sur le cable secteur pour débrancher l'appareil. Tirez toujours sur la fiche de la prise secteur.
- N'utilise que des systèmes d'isolement appropriés : des foucle-circuits, des fusibles (les fusibles à visser doivent être retirés du support), un disjoncteur différentiel et des contacteurs.
- L'installation électrique doit composer un dispositif d'iso1ation qui vous permet de déconnecter l'appareil du secteur à tous les
pôles. Le dispositif d'isolement doit avoir une largeur d'ouverture de contact de 3 mm minimum.
- Fermez bien la porte de l'appareil avant de brancher la fiche à la prise secteur.
RACCORDEMENT AU GAZ
- Tous les raccordements au gaz doivent être effectuels par une personne qualifiée.
- Avant l'installation, vérifie que les conditions de distribution locales (nature et pression du gaz) sont compatibles avec le réglage de l'appareil.
Assurez-vous que l'air circule autour de l'appareil. - Les informations concernant l'alimentation en gaz se trouvent sur la plaque signalétique.
- Cet apparéil n'est pas raccordé à un dispositif d'évacuation des produits de combustion. Assurez-vous de brancher l' apparéil selon les réglementations d'installation en vigueur. Respectez les recommendations pour assurer une bonne ventilation.
UTILISATION

AVERTISSEMENT! Risque de blessures et de brûlures. Risque d'électrocution.

ATTENTION! L'utilisation d'un
appareil de cuisson au gaz entraine la
production de chaleur, d'humidité et
de produits de combustion dans la
piece où il est installé. Assurez-vous
que la cuisine est bien ventilée, en
particulier lorsque l'appareil est en
cours d'utilisation.
L'utilisation intensive et prolongee de
l'appareil peut nécessiter une
ventilation supplémentaire, par
exemple l'augmentation de la
ventilation mecanique, le cas échéant,
une ventilation supplémentaire pour
eliminer en toute sécurité les produits
de combustion vers l'air extérieur
(dehors) tout en fournissant des
changements d'air ambient avec une
ventilation supplémentaire.Consultez
une personne qualifiée avant d'instructor
la ventilation supplémentaire.
- Ne modifies pas les specifications de cet apparéil.
Assurez-vous que les orifices d'aération ne sont pas obstrués. -
Ne laïsez pas l'appareil sans surveillance durant son fonctionnement.
-
Éteignez l'appareil après chaque utilisation.
- Soyez prudent lors de l'ouverture de la porte de l'appareil lorsque celui-ci fonctionne. De l'air chaud peut se dégager.
N'utilisez pas l'appareil avec des mains mouillées ou en contact avec de l'eau. - N'utilise pas l'appareil comme plan de travail ou comme espace de rangement.

AVERTISSEMENT! Risque d'incendie et d'explosion.
- Les graisses et les huiles lorsqu'elles sont chauffées peuvent dégager des vapeurs inflammbables. Tenez les flammes ou les objets chaud à distance des graisses et des huiles pendant que vous cuisine.
- Les vapeurs que dégagent l'huile très chaude peuvent provoquer une combustion spontanée.
- Une huile déjà utilisée peut contenir des restes d'aliments et provoquer un incendie à une température plus BASSE qu'avac une huile neuve.
- Ne placez pas de produits inflammables ou d' éléments imbibés de produits inflammables à l'intérieur, à proximé ou au-dessus de l'appareil.
- Ne laïsez pas des étincelles ou des flammes nues entre en contact avec l'appareil lorsque vous ouvre la porte.
- Ouvrez la porte de l'appareil avec précaution. L'utilisation d'ingréductents avec de l'alcool peut provoquer un mélange d'alcool et d'air.

AVERTISSEMENT! Risque d'endommagement de l'appareil.
Pour éviter tout endommagement ou décoloration de l'émail :
- ne posez pas de plats allant au four ou d'autres objets directement dans le fond de l'appareil.
- Ne placez jamais de feuilles d'aluminium sur l'appareil ou directement sur le fond de la cavité.
ne versez pas d'eau directement dans l'appareil chaud.
ne conservez pas de plats et de nourriture humides dans l'appareil après avoir terminé la cuisson. - Installez ou retirez les accessoires avec précautions.
La décoloration de l'email ou de l'acier inoxydable est sans effet sur les performances de l'appareil.
Utilisez un plat a rotir pour des gâteaux moelleux. Les jus de fruits provoquent des taches qui peuvent etre permanentes.
- Ne laïsez pas de recipients chauds sur le bandeau de commande.
- Ne laïsez pas le contenu des recipients s'évaporer entièrement.
- Prenez soit de ne pas laisser tomber d'objets ou de recipients sur l'objet. La surface risque d'être endommagée.
- Ne laïsez jamais un récipient vide posé sur un brûleur allumé, ou un brûleur allumé sans récipient.
- N'activez pas les zones de cuisson avec un récipient vide ou sans récipient.
- Ne faites pas cuire les alimentes directement sur la plaque de cuisson. Vous doivent utiliser un écipient ajusté.
- Les écipients de cuisson en fonte, en aluminium ou dont le fond est endommagé peuvent provoquer des rayures. Soulevez toujours ces objets lorsque vousdez虑 les déplacer sur la surface de cuisson.
- Veillez à assurer une bonne ventilation dans la piece où l'appareil est installé.
- N'utilise que des recipients stables, dont la forme et le diamètre sont supérieurs aux dimensions des brûleurs.
Assurez-vous que la flamme ne s'estint pas lorsque vous tournezrapidementla manette de la position maximalea la position minimale. - N'utilise que les accessoires fournis avec l'appareil.
- N'installez pas de diffuseur de flamme sur le brûleur.
ENTRETIEN ET NETTOYAGE

AVERTISSEMENT! Risque de blessure, d'incendie ou de dommages matériels sur l'appareil.
- Avant d'effectuer toute opération d'entretien, mettez l'appareil hors tension.
Débranche la fiche d'alimentation de la prise secteur. - Vérifiez que l'appareil est froid. Les panneaux de verre risquent de se briser.
- Remplacez immédiatement les vitres de la portes si elles sont endommagées. Contactez cette service après-vente/agréé.
-
DesGRAISSES ou de la nourriture restant dans l'appareil peuvent provoquer un incendie.
Nettoyez régulierement l'appareil afin demaintenir le revêtement en bon état.
Nettoyez l'appareil avec un chiffon doux humide. Utilisez uniquement des produits de lavage neutres. N'utilise pas de produits abrasifs, de tampons à récurer, de solvants ni d'objets metalliques. -
Si vous utilisez un spray pour four, suivez les consignes de sécurité figurant sur l'emballage.
- Ne nettoyez pas l'email catalytique (le cas échéant) avec un détergent.
- Ne lavez pas les brûleurs au lave-vaisselle.
CAPOT
- Ne modifies pas les caractéristiques du couvercle.
Nettoyez le couvercle régulierement.
N'ouvre pas le couvercle en cas d'éclaboussures. - Éteignez tous les brûleurs avant de fermer le couvercle.
- Ne reférermez pas le couvercle tant que la table de cuisson et le four ne sont pas complètement froids.
- Les couvercles en verre peuvent éclater sous l'effet de la chaleur.

ÉCLAIRAGE INTERNE

AVERTISSEMENT! Risque
d'électrocution!
- Concernant la/les lampe(s) à l'intérieur de ce produit et les lampes de rechange vendues séparément : Ces lampes sont conçues pour résister à des conditions physiques extrêmes
INSTALLATION
Dans les apparèils électroménagers, telles que la température, les vibrations, l'humidité, ou sont conçues pour signaler des informations sur le statut opérationnel de l'appareil. Elles ne sont pas destinées à être utilisées dans d'autres applications et ne conviennent pas à l'éclairage des pieces d'un logement.
- Ce produit contient une source lumineuse de classe d'efficacité énergétique G.
Utilisez uniquement des ampoules ayant les mêmes specifications.
SERVICE
Pour réparer l'appareil, contactez le service après-vente/agree.
Utilisez uniquement des pieces de rechange d'origine.
MISE AU REBUT

AVERTISSEMENT! Risque de
blessure ou d'asphyxie.
- Contactez votre service municipal pour Obtir des informations sur la marche à suivre pourmettre l'appareil au rebut.
- Debranchez l'appareil de l'alimentation électrique.
- Coupe le cable d'alimentation au ras de l'appareil et mettez-le au rebut.
- Retirez le dispositif de verrouillage du hublot pour empêcher les enfants et les animaux de s'enfermer dans l'appareil.
Aplatir les tuyaux de gaz externes.

AVERTISSEMENT! Reportez-vous
aux chapités concernant la sécurité.
EMPLACEMENT DE L'APPAREIL
Vou pouve installer votre appareil avec des placards d'un côté, des deux cots ou dans un coin.

Laissez une distance d'environ 1 cm entre l'appareil et le mur arrêté pour pouvoir ouvrir le couvercle.
Pour les distances minimales d'installation, reportez-vous au tableau.

Distances minimales
| Dimensions | mm |
| A | 400 |
| B | 650 |
| C | 150 |
DONNÉES TECHNIQUES
| Tension | 230 V |
| Fréquence | 50 - 60 Hz |
| Classe d'appareil | 1 |
| Dimensions | mm |
| Hauteur | 855 |
| Largeur | 500 |
| Profondeur | 600 |
AUTRES CARACTERISTIQUES TECHNIQUES
| Catégorie de l'appareil : | II2E+3+ |
| Gaz original : | G20/G25 (2E+) 20/25 mbar |
| Remplacement du gaz : | G30 (3+) 28-30 mbar G31 (3+) 37 mbar |
DIAMÉTRES DE DÉRIVATION
| BRULEUR | Ø DÉRIVATION 1/100 mm |
| Auxiliaire | 29 |
| Semi-rapide | 32 |
| Rapide | 42 |
BRULEURS Å GAZ POUR GAZ NATUREL G20 20 mbar
| BRULEUR | PUISSANCE NORMA-LE KW | PUISSANCE RÉDUITE KW | MODELES D'INJEC-TEURS 1/100 mm |
| Rapide | 2.9 | 0.80 | 119 |
| Semi-rapide | 1.85 | 0.43 | 96 |
| Auxiliaire | 0.95 | 0.35 | 70 |
BRULEURS Å GAZ POUR GAZ NATUREL G25 25 mbar
| BRULEUR | PUISSANCE NORMA-LE KW | PUISSANCE RÉDUITE KW | MODELES D'INJEC-TEURS 1/100 mm |
| Rapide | 2.75 | 0.72 | 119 |
| Semi-rapide | 1.75 | 0.43 | 96 |
| Auxiliaire | 0.9 | 0.35 | 70 |
BRULEURS Å GAZ POUR LPG G30 28-30 mbar
| BRULEUR | PUISSANCE NOR-MALE kW | PUISSANCE RÉ-DUITE kW | MODELES D'INJEC-TEURS 1/100 mm | DéBIT DE GAZ NOMI-NAL g/h |
| Rapide | 3.0 | 0.72 | 88 | 218 |
| Semi-rapide | 1.9 | 0.43 | 71 | 138 |
| Auxiliaire | 0.95 | 0.35 | 50 | 69 |
BRULEURS Å GAZ POUR LPG G31 37 mbar
| BRULEUR | PUISSANCE NORMALE kW | PUISSANCE RÉDUITE kW | MODELES D'IN-JECTEURS 1/100 mm | DéBIT DE GAZ NOMINAL G/h |
| Rapide | 2.8 | 0.72 | 88 | 200 |
| Semi-rapide | 1.8 | 0.43 | 71 | 129 |
| Auxiliaire | 0.9 | 0.35 | 50 | 64 |
RACCORDEMENT AU GAZ

AVERTISSEMENT! Avant de
raccorder le gaz, débranchez l'appareil
de l'alimentation electrique ou coupez
le fusible dans la boite a fusibles.
Fermez la vanne principale de I'arrivee
de gaz.
Effectuez un raccordement fixe (« rigide ») ou utilisez un tuyau flexible en acier inoxydable selon les normes en vigueur. Si vous utilisez des tuyaux flexibles métalliques, ils ne doivent pas entraire en contact avec des parties mobiles ni sont comprimés.


AVERTISSEMENT! Le tuyau de raccordement au gaz ne doit pas entraer en contact avec la partie de l'appareil indiquée sur l'illustration.

AVERTISSEMENT! Une fois l'installation terminée, assurez-vous que le joint de chaque raccord de tuyau ne fait pas. Pour vérifier le joint, utilisez une solution savonneuse et non une flamme.
RACCORDEMENT AVEC DES TUYAUX FLEXIBLES NON METALLIQUES
Si vous pouvez acceder facilement au raccordement, vous pouvez utiliser un tuyau flexible. Le tuyau flexible doit être fermement fixé au moyen de colliers de serrage.
Lors de l'installation, utilisez toujours le support de tuyau et le joint. Le tuyau flexible est ajusté lorsque :
- il ne peut pas devenir plus chaud que la température ambiente, à savoir plus de 30^ ;
- il n'est pas plus long que 1500 ~mm ;
- aucune partie n'est plus étroite;
- il n'est ni tordu, ni écrasé ;
- il n'entre pas en contact avec des bords ni des coins tranchants;
- son état peut être facilement vérifié.
Lorsque vous vérifiez l'etat du tuyau flexible, assurez-vous que:
- il ne présente aucune fente, coupure, marque de brûlure sur les deux extrémités et sur toute sa longueur;
-
le matériel n'est pas durci, mais présente une elasticie correcte;
-
les colliers de serrage ne sont pas rouillés;
- la date d'expiration n'est pas dépassee.
Si vous constatéz au moins un de ces défauts, ne répèrez pas le tuyau, mais remplaceze-le.
La rampe d'arrivée de gaz est située à l'arrière du bandeau de commande.
RACCORDEMENT AUX DIFFÉRENTS TYPES DE GAZ

Le raccordement aux différents types de gaz ne doit être effectué que par un professionnel qualifié.

Si l'appareil est configuré pour le gaz naturel, vous pouvez le passer au gaz liquifié avec les injecteurs adaptés. Le débit de gaz est ajusté à l'utilisation.

AVERTISSEMENT! Avant de remplacer les injecteurs, assurez-vous que les manettes du gaz sont en position Arrêt. Débranchez l'appareil de la prise murale. Laissez l'appareil refroidir. Il existe un risque de blessure.

L'appareil est reglé sur le gaz par défaut. Pour modifier le réglage, utilisez toujours le joint d'étanchéité.

A. Point de raccordement au gaz (un seul point valable pour l'appareil)
B. Joint
C. Raccordement régliable
D. Support du tuyau de GPL
REplacement DES INJECTEURS DE LA TABLE DE CUISSON
Remplacez les injecteurs lorsque vous changez le type de gaz.
- Retirez les supports de casserole.
-
Demontez les chapeaux et les couronnés des brûleurs.
-
Demontez les injecteurs à l'aide d'une clé de 7.
- Remplacez les injecteurs par ceux qui sont nécessaires pour le type de gaz que vous utilisez.

- Remplacez la plaque signalétique (située prés du tuyau d'arrivée de gaz) par cette pour le nouveau type d'alimentation en gaz.

Cette plaque se trouve dans le sachet fourni avec l'appareil.
Si la pression de l'arrivée d'eau n'est pas constante ou est différente de la pression nécessaire, installez un système de réglage de la pression sur le tuyau d'arrivée de gaz.
RéGLAGE DU NIVEAU DE GAZ MINIMAL DU BRULEUR DE LA TABLE DE CUISSON
- Debranchez l'appareil de l'alimentation électrique.
- Demontez la manette de la table de cuisson. Si vous n'avez pas accès à la vis de réglage, démontez le bandeau de commande avant de commencer le réglage.
- À l'aide d'un tournevis plat et fin, ajustez la position de la vis de réglage A.
Le modele déterminé la position de la vis de réglage A.

Passage du gaz naturel au gaz liquéfié
- Serrez entiement la vis de réglage.
- Remettez la manette en place
Passage du gaz liquéfié au gaz naturel
-
Dévissez la vis de réglage d'environ un tour A.
-
Remontez la manette de la table de cuisson.
- Branchez l'appareil à l'alimentation électrique.

AVERTISSEMENT! Branchez la fiche dans la prise secteur uniquement après avoir remis en place toutes les pieces dans leurs positions initiales. Risque de blessure!
- Allumez le bruleur.
Reportez-vous au chapitre « Table de cuisson - Utilisation quotidienne » - Tournez la manette de la table de cuisson vers sa position minimale.
- Demontez la manette de la table de cuisson.
- Vissez doucement la vis de réglage jusqu'à ce que la flamme soit au minimum et stable.
- Remontez la manette de la table de cuisson.
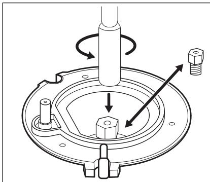
MISE DE NIVEAU DE L'APPAREIL

Utilisez les petits pieds situés sous l'appareil pourmettre la surface supérieure de l'appareil de niveauavec les autres surfaces environnantes.
PROTECTION ANTI-BASCULE
Réglez la hauteur et la zone de l'appareil avant de fixer la protection anti-bascule.

ATTENTION! Assurez-vous d'installer la protection anti-bascule à la bonne hauteur.

Assurez-vous que la surface derrière l'appareil est lisse.
Vousdevezinstallerla protectionanti-bascule.Si vousne l'installezpas,l'appareilpeut basculer.
Votre appeareil indique le symbole affiché sur l'image (le cas échéant) pour vous rappeler qu'il faut installer la protection anti-bascule.


- Installez la protection anti-bascule 305 - 310 mm en dessous de la surface supérieure de l'appareil et de 80 à 85 mm du côté de l'appareil, dans l'orifice circulaire situé sur un support. Vissez-le dans un matériel solide ou utilisez un renfort adapté (mur).

- L'orifice se trouve a gauche, à l'arrière de l'appareil. Soulevez l'avant de l'appareil et placez-le au milieu de l'espace entre les placards. Si l'espace entre les placards est supérieur à la largeur de l'appareil, vous nevez ajuster la mesure latérale pour centrer l'appareil.

Si vous avez modifie les dimensions de la cuisine, vous necez aligner correctement le dispositif a bout arrondi.

ATTENTION! Si l'espace entre les placards est supérieur à la largeur de l'appareil, vous doivent ajuster la mesure latérale pour centrer l'appareil.
INSTALLATION ÉLECTRIQUE

AVERTISSEMENT! Le fabricant ne pourra être tenu pour responsable si vous ne respectez pas les consignes de sécurité des chapitres Sécurité.
Cet apparéil est fourni sans fiche électricne ni câble d'alimentation.

AVERTISSEMENT! Avant de brancher le cable d'alimentation à la borne, mesurez la tension entre les phases du réseau domestique. Reportez-vous ensuite à l'étiquette de connexion située à l'arrière de l'appareil pour utiliser l'installation électrique correcte. Résilier ces étapes dans l'ordre permet d'éviter les erreurs d'installation et d'endommager les composants électriques de l'appareil.
DESCRIPTION DE L'APPAREIL
PRÉSENTATION GÉNÉRALE

Types de cables appropriés pour les différentes phases :
| Phase | Diamètre min. du câble |
| 1 | 3x2.5 mm² |
| 3 with neutral | 5x0.75 mm² |

AVERTISSEMENT! Le cable d'alimentation ne doit pas entraire en contact avec la partie de l'appareil hachurée sur l'illustration.

1 Manettes de la table de cuisson
2 Touche pour le générateur d'etincelle
3 Manette du thermostat
4 Indicateur / symbole de température
5 Voyant / symbole / indicateur de la table de cuisson
6 Manette de selection des fonctions du four
7 Élement chauffant
8 Éclairage
Support de grille, amovible
10 Position des grilles

ACCESSIONS
Grille métallique
Pour les plats à roti, à gratin et les moules à gâteau/pâtisserie.
Plateau de cuisson
Pour les gâteaux et les biscuits.
- Compartiment de rangement
Le compartment de rangement se trouve sous le four. Pour utiliser ce compartment, soulevez
AVANT LA PREMIÈRE UTILISATION

AVERTISSEMENT! Reportez-vous aux chapitres concernant la sécurité.
PREMIER NETTOYAGE
Retirez les supports de grille amovibles et tous les accessoires du four.
Reportez-vous au chapitre « Entretien et nettoyage »
Nettoyez le four et les accessoires avant de les utiliser pour la première fois.
Remettez les accessoires et les supports de grille en place.
PRECHAUFFAGE
Préchauffez le four à vide avant de l'utiliser pour la première fois.
1 Bruleur auxiliaire
2 Sortie vapeur - le nombre et la position varient selon le modele
3 Zone de cuisson 1500 W
4 Bruleur semi-rapide
5 Brûleur rapide
la porte inférieure située à l'avant puis tirez-la vers le bas.

AVERTISSEMENT! Le
compartiment de rangement est susceptible de chauffer lorsque l'appareil est en fonctionnement.
- Réglez la fonction . Réglez la température maximale.
- Laissez le four en fonctionnement pendant 1 heures.
- Réglez la fonction Réglez la température maximale. La température maximale pour cette fonction est de 210^
- Laissez le four en fonctionnement pendant 15 minutes.
- Éteignez le four puis laissez-le refroidir. Les accessoires peuvent chauffer plus que d'habitude. Une odeur et de la fumée peuvent s'échapper du four. Assurez-vous que la ventilation dans la piece est suffisante.

AVERTISSEMENT! Reportez-vous aux chapitres concernant la sécurité.
ALLUMAGE DU BRULEUR DE LA TABLE DE CUISSON

Allumez toujours le brûleur avant de poser un récipient dessus.

AVERTISSEMENT! Faites très attention lorsque vous utilisez une flamine neu dans une cuisine. Le fabricant decline toute responsabilité en cas de mauvaise utilisation de la flamine.
- Appuyez sur le générateur d'étincelles et maintenez-le enforcé.
- Tournez simultanément la manette vers la gauche jusqu'à sa position maximale et appuyez dessus pour allumer le brûleur.
- Relâchez le générateur d'étincelles une fois le brûleur allumé, mais maintenez la manette de commande dans cette positionpendant 10 secondes environ afin de laisser au thermocouple le temps de chauffer. Sinon, l'alimentation en gaz sera interrompue.
- Une fois que la flamme brûle régulièrement, réglez son débit.

AVERTISSEMENT! Ne maintainez pas la manette de commande enforcée plus de 15 secondes. Si le brûleur ne s'allume pas au bout de 15 secondes, relâchez la manette de commande, tournez-la sur la position d'arrêt et attendéze au moins 1 minute avant de réessayer d'allumer le brûleur.

Si, après plusieurs tentatives, le brûleur ne s'allume pas, vérifie que la couronne et son chapeau sont correctement placés.

En cas de coupure d'électricité, vous pouvez allumer le brûleur sans disposifit électric. Dans ce cas,approchez une flamme du brûleur, enforcez la manette correspondante et tournez-la sur la position maximale.Maintenez la manette de commande enfoncée pendant environ 10 secondes pour permettre au thermocouple de chauffer.

Si le brûleur s'eteint accidentellement, tournez la manette de commande sur la position Arrêt et attendez au moins 1 minute avant de réessayer d'allumer le brûleur.

Le générateur d'étincelles peut s'activer automatiquement lorsque vous allumez l'alimentation secteur, après l'installation ou après une coupure de courant. C'est normal.
VUE D'ENSEMBLE DES BRULEURS

A. Chapeau du brûleur
B. Couronne du brûleur
C. Bougie de brûleur
D. Thermocouple
ARRÉT DU BRULEUR
Pour éteindre la flamme, tournez la manette sur la position Arrêt

AVERTISSEMENT! Abaissez ou coupez toujours la flamme avant desteroler les recipients du bruleur.
NIVEAU DE CUISSON POUR LA ZONE DE CUISSON ÉLECTRIQUE
| Symboles | Fonction |
| 0 | Position d'arrêt |
| 1 - 6 | Réglages de la température |

Utilisez la chaleur résiduelle pour diminuer la consommation d'énergie.
Désactevez la zone de cuisson environ 5 à 10 minutes avant la fin de la cuisson.
TABLE DE CUISSON - CONSEILS
Tournez la manette de la zone de cuisson souhaitation sur le niveau de cuisson requis.
Levoyant de contrôle de la table de cuisson s'allume.
Pour terminer la cuisson, tournez la manette sur la position Arrêt.
Lorsque toutes les zones de cuisson sont désactivées, le voyant de contrôle de la table de cuisson s'eteint.
UTILISATION DE LA PLAQUE À CHAUFFAGE RAPIDE
Un point rouge au milieu de la plaque indique qu'il s'agit d'une plaque à chauffage rapide. Une plaque à chauffage rapide chauffe plus vite que les plaques classiques. Les points rouges sont peints sur les plaques. Ils peuvent se déterminer à l'utilisation, voir disparaître complètement au bout d'un certain temps. Cela n'affecte pas le fonctionnement de la table de cuisson.

AVERTISSEMENT! Reportez-vous aux chapitres concernant la sécurité.
RECIPIENTS DE CUISSON
Électrique :

Le fond du écipient de cuisson doit être aussi plat et écais que possible. Assurez-vous que le fond du écipient est propre avant de le placer sur la surface de la table de cuisson.
Gaz :

AVERTISSEMENT! Ne placez pas la même poèle sur deux brûleurs.

AVERTISSEMENT! Ne placez pas de recipient instable ou déformé sur le brûleur, afin d'éviter le déversement et les blessures.

ATTENTION! Assurez-vous que les poignées des recipients ne dépassent pas du bord avant de la table de cuisson.

ATTENTION! Assurez-vous que les recipients sont bien centrés sur le brûleur, afin de garantir leur stabilité et de réduire la consommation de gaz.

AVERTISSEMENT! N'utilise pas de récipient dont le fond possède des rebords ou qui est convexe sur la plaque chauffante, car il existe un risque élevé de débordement.

DIAMÉTRES DES RÉCIPIENTS

AVERTISSEMENT! Utilisez uniquement des recipients dont le diamètre correspond aux dimensions des brûleurs.
| Brûleur | Diamètre du réseau (mm) |
| Auxiliaire | 120 - 180 |
| Semi-rapide | 140 - 220/2401) |
| Brûleur | Diamètre du récipient (mm) |
| Rapide | 160 - 220/2601) |
1) Lorsqu'un seul récipient est posé sur la table de cuisson.
EXAMPLES DE CUISSES AVEC LA ZONE DE CUISSON ELECTRIQUE
| Niveau de cuisson : | Utilisation : |
| 1 | Maintenir au chaud |
| Niveau de cuisson : | Utilisation : |
| 2 | Faire mjoter doucement |
| 3 | Faire mjoter |
| 4 | Faire frire / gratiner |
| 5 | Faire bouillir |
| 6 | Faire bouillir / Saisir / Faire frire |
TABLE DE CUISSON - ENTRETIEN ET NETTOVAGE

AVERTISSEMENT! Reportez-vous aux chapitres concernant la sécurité.
INFORMATIONS GÉNÉRALES
- Nettoyez la table de cuisson après chaque utilisation.
Utilisez toujours un réseau dont le fond est propre. - Les rayures ou les taches sombres sur la surface n'ont aucune incidence sur le fonctionnement de la table de cuisson.
Utilisez un nettoyant spécialement adapté à la surface de la table de cuisson.
Acier inoxydable
Pour les rebords en inox de la table de cuisson, utilisez un nettoyant spécial acier inoxydable.
- Le rebord en inox de la plaque peut changer de couleur à cause de la température elevée.
- Lavez les parties en acier inoxydable à l'eau, puis séchez-les avec un chiffon doux.
NETTOYAGE DE LA TABLE DE CUISSON
- Enlevez immédiatement : le plastique fondu, les feuilles de plastique, le sucre et les alimentés contenant du sucre car la saleté peut endommager la table de cuisson. Veiliez à ne pas vous brûler.
- Une fois que la table de cuisson a suffisamment refroidi, enlevez : traces de calcaire et d'eau, projections de graisse, décolorations métalliques liésantes. Nettoyez la table de cuisson à l'aide d'un chiffon humide et
d'un détergent non abrasif. ÀpRES le nettoyage, séchez la table de cuisson à l'aide d'un chiffon doux.
- Nettoyez les éléments en émail, les chapeaux et les couronnées avec de l'eau chaude savonneuse et séchez-les soignement avant de les remettre en place.
NETTOYAGE DE LA PLAQUE ÉLECTRIQUE
- Utilisez la poudre de nettoyage ou le chiffon de nettoyage.
- Nettoyez la table de cuisson à l'aide d'un chiffon humide et d'un peu de dédTangent.
- Faites chauffer la plaque à basse température et laissez sécher.
- Pour conserver le bon état des plaques chauffantes, frottez-les régulierement avec de l'huile pour machine à coudre. Éliminez le surplus d'huile à l'aide de papier absorbant.
NETTOYAGE DE LA BOUGIE D'ALLUMAGE
Cette fonctionnalité est obtenue grâce à une bougie d'allumage en ceramique dotée d'une electrode en métal. Veillez à maintainir ces composants propres afin de faciliter l'allumage. Assurez-vous également que les orifices des couronnées des brûleurs ne sont pas obstrués.
SUPPORTS DE CASSEROLE

Les supports de casserole ne sont pas adaptés au lavage dans un lavevaisselle. Ils doivent être lavés à la main.
- Retirez les supports de casserole pour nettoyer plus facilement la table de cuisson.

Replacez les supports de casserole avec soin afin de ne pas endommager le dessus de la table de cuisson.
- Lorsque vous lavez les supports de casserole à la main, faites bien attention lorsque vous les essuyez, car le revêtement en émail peut
présenter des bords coupants. Si nécessaire, retirez les taches tenaces à l'aide d'une pâté nettoyante.
- Àprouvá avoir lavé les supports de casserole, voirlez à les remettre correctement en place.
- Assurez-vous que les bras des supports de casserole se trouvent bien au centre du brûleur pour que ce dernier puisse fonctionner correctement.
ENTRETIEN PÉRIODIQUE
Contactez périodiquement votre service après pour contrôler l'etat du tuyau d'arrivée de gaz et du régulateur de pression si votre installation en est équipée.
FOUR - UTILISATION QUOTIDIENNE

AVERTISSEMENT! Reportez-vous aux chapitres concernant la sécurité.
ACTIVATION ET DÉSACTIVATION DU FOUR.
- Tournez la manette des fonctions du four pour selectionner une fonction.
- Tournez la manette du thermostat pour selectionner la temperture.
L'éclairage s'allume lorsque l'appareil est en marche.
3. Pour eteindre le four, tournez la manette des fonctions du four et le thermostat sur la position Arret.
THERMOSTAT DE SECURITE
Un mauvais fonctionnement du four ou des composants défectueux peuvent cause une surchauffe dangereuse. Pour éviter cela, le four dispose d'un thermostat de sécurité interrompant l'alimentation électrique. Le four se remet automatiquement en fonctionnement lorsque la température bises.
FONCTIONS DU FOUR
| Symbole | Fonction du four | Application |
| 0 | Position d'arrêt | Le four est à l'arrêt. |
| Éclairage du four | Pour allumer l'éclairage même si aucune fonction de cuisson n'est sélectionnée. | |
| Chauffage Haut/ Bas | Pour cuire et rôtir des alimentés sur un seul niveau. | |
| Cuisson par convection naturelle | Cette fonction est unconçue pour économique de l'énergie en cours de cuisson. Pour obtenir des instructions de cuisson, reportez-vous au chapitre « Conseils », Cuisson par convection naturelle. Durant cette cuisson, la porte du four doit rester fermée pour éviter d'interrompre la fonction, et pour garantir une consommation d'énergie optimale. Lorsque vous utilisez cette fonction, la température à l'intérieur de la cavité peut différer de la température sélectionnée. La puis-sance peut être réduite. Pour obtenir des reconnan-dations générales sur les économies d'énergie, consultez le chapitre « Efficacité énergétique, « Four - Économie d'énergie ». Cette fonction était utilisée pour se conformer à la classe d'efficacité énergétique selon la norme EN 60350-1. | |
| Cuisson de sole | Pour cuire des gâteaux à fond croustillant et pour sté-riliser des alimentés. | |
| Gril rapide | Pour faire griller des alimentés peu épais en grandes quantités et pour griller du pain. | |
| Chauffage rapide | Pour rôtir de grosses pieces de viande ou des volail-les sur un seul niveau. Pour gratiner et faire dorer. La température maximale pour cette fonction est de 210 °C. | |
| Cuisson BASSE TEMPERATURE | Pour préparer des rôts tendres et juteux. |
FOUR - UTILISATION DES ACCESSOIRES

AVERTISSEMENT! Reportez-vous aux chapitres concernant la sécurité.
INSTALLATION DES ACCESSOIRES
Grille métallique :

Faites glisser la grille entre les rails du support de grille.
Plateau :

Ne poussez pas le plateau jusqu'à la paroi arrirée de la cavité du four. Cela empêchérerait la chaleur de circuler autour de la plaque. Les alimentés pouraient brûler, particulièrement sur la partie arrirée de la plaque.

FOUR - CONSEILS

AVERTISSEMENT! Reportez-vous aux chapitres concernant la sécurité.

La température et les temps de cuisson indiqués sont fournis uniquement à titre indicatif. Ils varient en fonction des recettes ainsi que de la qualité et de la quantité des ingrédents utilisés.
INFORMATIONS GÉNÉRALES
L'appareil dispose de quatre positions de grille.
Comptez les positions de grille à partir du bas de l'appareil.
De l'humidité peut se déposer dans l'enceinte du four ou sur les panneaux en verre de la porte. Ce phénomène est normal. Veillez à recycler un peu lorsque vous ouvrez la porte de l'appareil en fonctionnement. Pour diminuer la condensation, faites fonctionner l'appareil 10 minutes avant d'enfourner vos alimentes.
Essuyez la vapeur après chaque utilisation de l'appareil.
Ne placez jamais d'aluminium ou tout autre ustensile, plat et accessoire directement en contact avec la sole de votre four. Cela entrainerait une dépréciation de l'émail et modifierait les résultats de cuisson.
CUISSON
Pour la première cuisson, utilisez la température inférieure.
Le temps de cuisson peut être prolongé de 10 à 15 minutes, si vous ciusez des gâteaux sur plusieurs niveaux.
Les plateaux insérés dans le four peuvent se déformer en cours de cuisson. Une fois les plateaux refroidis, les déformations disparaisent.
CUISSON DE GATEAUX
N'ouvre la porte du four qu'aux 3/4 du temps de cuisson défini.
La fonction Convection naturelle (cuisson par le haut et par le bas) avec la températe par défaut est idéale pour cuire du pain.
CUISSON DE VIANDE ET DE POISSON
Avant de couper la viande, laissez-la reposer pendant environ 15 minutes afin d'eviter que le jus ne s'écoule.
Pour éviter qu'une trop grande quantité de fumée ne se forme dans le four, ajoutez de l'eau dans le plat à rotir. Pour éviter que la fumée ne se condense, ajoutez à nouveau de l'eau dans le plat à rotir à chaque fois qu'il n'en contient plus.
CUISSON BASSE TEMPERATURE

N'utilise jamais de couvercle lorsque vous utilise cette fonction.
Utilisez cette fonction pour cuire des morceaux de viande tendres et maigres ainsi que pour le poisson. La Cuisson basse température n'est pas applicable à certaines recettes, telles que des morceaux à braiser ou des rotsis de porc gras. Nous recommendons une température de 125^ pour les petits morceaux de viande, comme par exemple les steaks.
TEMPS DE CUISSON
Le temps de cuisson varie selon le type d'aliment, sa consistance et son volume.
Au départ, surveiliez la cuisson lorsque vous cuisine. Ainsi, vous trouvrez les meilleurs réglages (fonction, temps de cuisson, etc.) pour vos ustensiles, vos recettes et les quantités lorsque vous utiliserez l'appareil.
CUISSON HAUT/BAS
| Plat | Température (°C) | Durée (min) | Positions des grilles | Accessoires |
| Cuisson dans des moules | ||||
| Gâteau de Noël | 130 - 150 | 200 - 230 | 1 | 1 moule rond (diamètre 23 cm) |
| Génoise roumaine | 160 - 180 | 40 - 50 | 1 | 2 moules carrrés (longueur 25 cm) |
| Génoise roumaine traditionnelle | 160 - 180 | 40 - 50 | 1 | 2 moules carrrés (longueur 25 cm) |
| Génoise | 160 - 180 | 25 - 35 | 1 | 2 moule rond (diamètre 20 cm) |
| Victoria Sandwich (gé-noise) | 160 - 180 | 25 - 35 | 1 | 2 moules ronds légers (diamètre 20 cm) |
| Quiche lorraine | 210 - 230 | 35 - 45 | 1 | 1 moule rond émaillé (diamètre 27 cm) |
| Gratin de pommes de terre | 190 - 210 | 55 - 65 | 2 | 2 plats en Pyrex rectangulaires, 24 cm x 15 cm x 5 cm |
| Cuisson sur plateau de cuisson ou plat à rôtir | ||||
| Crèpes garnies | 160 - 180 | 40 - 50 | 2 | plateau de cuisson ou gril / plat à rôtir |
| Gâteau peu épais | 150 - 170 | 20 - 30 | 3 | Plateau de cuisson |
| Gâteau à base de levu-reux pommes sans crumble | 170 - 190 | 40 - 60 | 3 | Plateau de cuisson |
| Gâteau au fromage | 170 - 190 | 45 - 65 | 2 | plateau de cuisson |
| Flan suisse aux pommes | 190 - 210 | 40 - 60 | 2 | Plateau de cuisson |
| Crumble | 170 - 190 | 20 - 40 | 3 | Plateau de cuisson |
| Gâteau au beurre | 180 - 200 | 15 - 30 | 3 | Plateau de cuisson |
| Meringue | 110 - 130 | 80 - 100 | 3 | Plateau de cuisson |
| Gâteau Roulé | 150 - 170 | 15 - 30 | 2 | Plateau de cuisson |
| Gâteau farci à base de levure | 160 - 180 | 20 - 35 | 3 | Plateau de cuisson |
| Pizza faite maison | 200 - 220 | 20 - 35 | 2 | Plateau de cuisson |
| Pain | ||||
| Flan pâtissier1) | 280 - 300 | 10 - 15 | 3 | Plateau de cuisson |
| Miche de pain de seigle | 180 - 200 | 40 - 60 | 2 | Plateau de cuisson |
| Petits pains suédois | 180 - 200 | 10 - 20 | 2 | Plateau de cuisson |
Rötir
| Poulet entier | 200 - 220 | 60 - 80 | 2 | Grille métallique au niveau 2 et plat à rôtir au niveau 1 |
| Poulet, moitié | 190 - 210 | 35 à 40 première face ; 15 à 20 seconde face | 3 | Grille métallique au niveau 3 et plat à rôtir au niveau 2 |
| Rôti de porc | 170 - 190 | 90 - 110 | 2 | Plateau de cuisson |
1) Prechauffez le four pendant 10 minutes.
CUISSON PAR CONVECTION NATURELLE
| Plat | Température (°C) | Durée (min) | Positions des grilles | Accessoires |
| Pain et pizza | ||||
| Petits pains | 190 | 20 - 30 | 2 | plateau de cuisson ou grill / plat à rôtir |
| Pizza surgelée, 350 g | 190 | 30 - 40 | 2 | grille métallique |
| Gâteaux sur un plateau de cuisson | ||||
| Gâteau roulé | 180 | 20 - 30 | 2 | plateau de cuisson ou grill / plat à rôtir |
| Brownie | 180 | 25 - 35 | 2 | plateau de cuisson ou grill / plat à rôtir |
| Gâteaux dans des moulés | ||||
| Soufflé | 200 | 30 - 40 | 2 | six ramequins en céramique sur une grille métallique |
| Fond de tarte en génoise | 180 | 20 - 30 | 2 | moule à tarte sur une grille métallique |
| Génoise/Gâteau Savoie | 150 | 30 - 40 | 2 | moule à gâteau sur une grille métallique |
Poisson
| Poisson en sachet 300 g | 180 | 20 - 30 | 2 | plateau de cisson ou grill / plat à rôtir |
| Poisson entier 200 g | 180 | 25 - 35 | 2 | plateau de cisson ou grill / plat à rôtir |
| Filets de cisson 300 g | 180 | 30 - 40 | 2 | plaque à pizza sur la grille métallie- que |
Vande
| Viande en sachet, 250 g | 200 | 25 - 35 | 2 | plateau de cuisson ou grill / plat à rôtir |
| Brochettes de viande, 500 g | 200 | 25 - 35 | 2 | plateau de cuisson ou grill / plat à rôtir |
Petites pâtisseries
| Cookies | 160 | 25 - 35 | 2 | plateau de cuisson ou grill / plat à rôtir |
| Macarons | 170 | 25 - 35 | 2 | plateau de cuisson ou grill / plat à rôtir |
| Madeleines, muffins | 180 | 30 - 40 | 2 | plateau de cuisson ou grill / plat à rôtir |
| Biscuit salé | 160 | 25 - 35 | 2 | plateau de cuisson ou grill / plat à rôtir |
| Biscuits sablés | 140 | 30 - 40 | 2 | plateau de cuisson ou grill / plat à rôtir |
| Tartelettes | 170 | 15 - 25 | 2 | plateau de cuisson ou grill / plat à rôtir |
Végétarien
| Mélange de légumes en sachet, 400 g | 190 | 30 - 40 | 2 | plateau de cuisson ou grill / plat à rôtir |
| Omelettes | 200 | 20 - 30 | 2 | plaque à pizza sur la grille métallie-que |
| Légumes sur une pla-que, 700 g | 190 | 30 - 40 | 2 | plateau de cuisson ou grill / plat à rôtir |
| Plat | Température (°C) | Durée (min) | Positions des grilles | Accessoires |
| Côtelette de porc | 220 - 240 | 15 à 25 première face ; 10 à 20 deuxième face | 3 | grille métallique sur la 3e position et plat à rôtir sur la 2e position. |
| Poulet, demi | 220 - 240 | 30 à 35 première face ; 15 à 20 deuxième face | 3 | grille métallique sur la 3e position et plat à rôtir sur la 2e position. |
| Côtelettes de porc | 220 - 240 | 10 à 20 première face ; 10 à 20 deuxième face | 3 | grille métallique sur la 3e position et plat à rôtir sur la 2e position. |
INFORMATIONS POUR LES ORGANISMES DE CONTROLE
| Aliments | Fonction | Température (°C) | Accessoires | Niveau de la grille | Durée (min) |
| Petits gâteaux (16 par plateau) | Chauffage Haut/ Bas | 150 | plateau de cuisson ou grill / plat à rôtir | 3 | 15 - 25 |
| Tarte aux pommes (2 moulés de 20 cm de diamètre, décalés en diagonale) | Chauffage Haut/ Bas | 200 | 2 moulés ronds légers | 1 | 60 - 70 |
| Généoise allégée | Chauffage Haut/ Bas | 170 | moule à gâteau rond sur une grille métallique | 2 | 20 - 30 |
| Tresses feuilletées | Chauffage Haut/ Bas | 140 | plateau de cuis-son ou grill / plat à rôtir | 3 | 15 - 25 |
| Pain grillé¹) | Gril rapide | 250 | grille métallique | 2 | 2 - 5 |
| Viande de bœuf ha-chée2) | Gril rapide | 250 | grille métallique | 3 | 15 pre-mière face;15 se-conde face |
1) Prechauffez le four pendant 5 minutes.
2) Prechauffez le four pendant 10 minutes.
FONCTIONPIZZA

Lorsque vous souhaitez faire cuire une pizza, placez les manettes du four et du thermostat sur la position Pizza pour une cuisson optimale.
FOUR - ENTRETIEN ET NETTOVAGE

AVERTISSEMENT! Reportez-vous aux chapitres concernant la sécurité.
REMARQUES CONCERNANT LE NETTOYAGE
Nettoyez la façade du four avec un chiffon doux, de l'eau chaude et un produit de nettoyage non agressif.
Pour le nettoyage des surfaces métalliques, utilisez un produit de nettoyage spécifique.
Nettoyez l'intérieur du four après chaque utilisation. L'accumulation degraisse ou d'autres résidus alimentaires peut provoquer un incendie.
Nettoyez tous les accessoires après chaque utilisation et laissez-les secher. Utilisez un chiffon doux avec de l'eau chaude et un produit de nettoyage. Ne lavez pas les accessoires au lavevaisselle.
Nettoyez les taches tenaces avec un nettoyant spécial pour four. N'appliquez pas de nettoyant pour four sur les surfaces catalytiques.
Ne nettoyez pas les accessoires anti-adhésifs et le avec un produit nettoyant abrasif ou des objets tranchants.
FOURS EN ACIER INOXYDABLE OU EN ALUMINIUM
Nettoyez la porte uniquement avec une éponge ou un chiffon humides. Séchez-la avec un chiffon doux. N'utilise jamais de produits abrasifs ou acides ni d'éponges métalliques car ils peuvent endommager
la surface du four. Nettoyez le bandeau de commande du four en observant ces mêmes recommendations.
RETRAIT DES SUPPORTS DE GRILLE
Pour nettoyer le four, retirez les supports de grille.

ATTENTION! Soyez prudent lorsque vous retirez les supports de grille.
- Écartez l'avant du support de grille de la paroi latérale.

- Écartez l'arrière du support de grille de la paroi latérale et retirez le support.

Réinstalléz les accessoires que vous avez retirés en repétant cette procédure dans l'ordre inverse.
NETTOYAGE CATALYTIQUE
La cavité avec revêtement catalytique est autonettoyante. Elle absorbe les graisses Avant d'activer le nettoyage catalytique :
retireezouslesaccessoires.
- nettoyez la sole du four avec de l'eau chaude et un détergent doux.
- nettoyez la vitre interne de la porte du four avec un chiffon doux et de l'eau tiède.
1. Reglez la température maximale et laissez le four fonctionner pendant 1 heures.
2. Eteignez le four.
3. Lorsque le four a refroidi, nettoyez la cavite à l'aide d'un chiffon doux humide.
Les taches ou la décoloration de la surface catalytique sont sans effet sur le nettoyage catalytique.
RETRAIT ET INSTALLATION DES PANNEAUX DE VERRE DU FOUR
Vous pouze retarder les panneaux de verre interieurs pour les nettoyer. Le nombre de panneaux de verre varie selon les modèles.

AVERTISSEMENT! Laissez la portelégèrement ouverte durant le nettoyage. Lorsque vous l'ouvre entièrement, elle peut se refermer accidentellement et endommager l'appareil.

AVERTISSEMENT! N'utilisez pas l'appareil sans les panneaux de verre.
- Ouvrez la porte jusqu'à former un angle d'environ 30^ . La porte tient toute seule lorsqu'elle est légèrement ouverte.

- Saisissez les deux côtés du cache (B) situé sur l'arête supérieure de la porte et pousseze-le vers l'intérieur pour permettre le déverrouillage du système de fermeture.

- Retirez le cache de la porte en le tirant vers l'avant.

AVERTISSEMENT! Lorsque
vous retirez les panneaux de verre,
la porte du four a tendance à se
refermer.
- Maintenez le bord supérieur des panneaux de verre de la porte, et retirez-les un par un.
- Nettoyez le panneau de verre à l'eau savonneuse. Séchez soigneusement le panneau de verre.
Une fois le nettoyage terminé, remettez en place les panneaux de verre et la porte du four. Suivez les étapes ci-dessus dans l'ordre inverse. Installez d'abord le plus petit des panneaux, puis le plus grand.

ATTENTION! Veillez à installer correctement le panneau de verre interieur dans son logement.
REEMPLACEMENT DE L'AMPOULE

AVERTISSEMENT! Risque d'electrocution. L'éclairage peut être chaud.
-
Éteignez le four. Attendez que le four ait refroidi.
-
Debranchez le four de l'alimentation secteur.
- Placez un chiffon au fond de la cavité.
Eclairage arrête
-
Tournez le diffuseur en verre de l'éclairage pour le retarder.
-
Nettoyez le diffuseur en verre.
- Remplacez l'ampoule par une ampoule adequate résistant à une température de 300^
- Installez le diffuseur en verre.
DéPANNAGE

AVERTISSEMENT! Reportez-vous
aux chapités concernant la sécurité.
EN CAS D'ANOMALIE DE FONCTIONNEMENT
| Problème | Cause possible | Remède |
| Vous ne pouvez pas faire fon-cionner l'appareil. | L'appareil n'est pas connecté à une source d'alimentation élec-trique ou le branchement est incorrect. | Vérifié que l'appareil est cor-rectement branché à une sour-ce d'alimentation électrique. |
| Le fusible a disjoncté. | Vérifié que le fusible est bien la cause de l'anomalie. Si les fusibles disjonctent de manière répétée, faites appel à un élec-tricien qualifié. | |
| Vous ne pouvez pas allumer la table de cuisson ni la faire fonctionner. | Le fusible a disjoncté. | Allumez de nouveau la table de cuisson et règlez le niveau de cuisson en moins de 10 se-condes. |
| Aucune étincelle ne se produit lorsque vous tentez d'actionner le générateur d'étincelles. | La table de cuisson n'est pas connectée à une source d'alien-mentation électrique ou le branchement est incorrect. | Vérifié que la table de cuisson est correctement branchée à une source d'alimentation électrique. Consultez le schéma de raccordement. |
| Le fusible a disjoncté. | Vérifié que le fusible est bien la cause de l'anomalie. Si les fusibles disjonctent de manière répétée, faites appel à un élec-tricien qualifié. | |
| Le chapeau et la couronne du brûleur sont mal positionnés. | Positionné correctement le chapeau et la couronne du brûleur. | |
| La flamme s'éteint immédiate-ment après l'allumage. | Le thermocouple n'est pas suf-fisamment chauffé. | Maintenez le générateur d'étin-celle,enforcé pendant 10 se-condes maximum une fois la flamme allumée. |
| La couronne de flamme n'est pas de niveau. | La couronne du brûleur est en-crassée par des résidus ali-mentaires. | Assurez-vous que l'injecteur n'est pas bouché et que la couronne est propre. |
| Les brûleurs ne fonctionnent pas. | Absence d'alimentation en gaz. | Vérifiéz le raccordement au gaz. |
| La couleur de la flamme est orange ou jaune. | La flamme peut être de couleur orange ou jaune à certains en-droits du brûleur. Ce phéno-mène est normal. | |
| Il forno non scalda. | Le four est étient. | Allumez le four. |
| Les réglages nécessaires n'ont pas été effectués. | Vérifiéz que les réglages sont corrects. | |
| L'éclairage ne fonctionne pas. | L'éclairage est défectueux. | Remplacez l'ampoule. |
| De la vapeur et de la condensation se forment sur les ali-ments et dans la cavité du four. | You've laisse le plat au four trop longtemps. | Ne laissez pas les plats dans le four pendant plus de 15 à 20 minutes après la fin de la cuisson. |
| La cuisson des aliments est trop longue ou trop rapide. | La température est trop BASSE ou trop élevé. | Ajustez la température si nécessaire. Suívez les conseils du manuel d'utilisation. |
DONNÉES DE MAINTENANCE
Si vous ne trouvez pas de solution au problème, veuillez contacter votre revendeur ou un service aprèsventa/agree.
Les informations nécessaires au service après-vente figurent sur la plaque signalétique. La plaque signalétique se trouve sur le cadre avant de la cavity du four. Ne retirez pas la plaque signalétique de la cavite du four.
Nous vous recommendons d'ecrir les informations ici :
| Modèle (Mod.) | .................. |
| Récédence produit (PNC) | .................. |
| Numéro de série (S.N.) | .................. |
RENDEMENT ÉNERGÉTIQUE
INFORMATIONS PRODUITS DE LA TABLE DE CUISSON SELON LA NORME EU 66/2014
| Identification du modele | FCM54041WA | |
| Type de table de cisson | Table de cisson sur cisinière | |
| Nombre de zones de cisson | 1 | |
| Technologie de chauffage | Foyer de cisson électricque | |
| Diamètre des zones de cisson circulaires (Ø) | Arrière droite | 14,5 cm |
| Consommation d'énergie selon la zone de cisson (EC elec-tric cooking) | Arrière droite | 192,0 Wh/kg |
| Nombre de brûleurs à gaz | 3 | |
| Efficacité éner-gétique par brûleur à gaz (EE gas burner) | Arrière gauche - Auxiliaire | non applicable |
| Avant droit - Semi-rapide | 55,3 % | |
| Avant gauche - Rapide | 55,5 % | |
| Efficacité énergétique de la table de cisson à gaz (EE gas hob) | 55,4% | |
| Consommation d'énergie de la table de cisson (EC electric hob) | 192,0 Wh/kg | |
EN 60350-2 - Appareils de cuisson domestiques électriques - Partie 2 : Tables de cuisson - Méthodes de mesure des performances.
EN 30-2-1: Appareils de cuisson domestiques à gaz - Partie 2-1: Utilisation rationnelle de l'énergie - Général
TABLE DE CUISSON - ÉCONOMIE D'ENERGIE
Vous pouvez economiser de l'énergie au quotidien en suivant les conseils suivants.
- Si vous faiteschauffer de I'eau, ne faiteschauffer que la quantite dont vous avez réellement besoin.
- Si possible, couvrez toujours les recipients de cuisson avec un couvercle pendant la cuisson.
Zones de cuisson électriques :
-
Activez toujours la zone de cuisson après avoir posé le écipient dessus.
Le fond du recipient doit avoir le même diamètre que la zone de cuisson. -
Placeez les plus petits récipiens sur les plus petites zones de cuisson.
- Posez directement le écipient au centre de la zone de cuisson.
- Vous pouvez utiliser la chaleur résiduelle pour conserver les alimentés au chaud ou pour faire fondre.
Brûleurs à gaz :
- Avant d'utiliser les brûleurs et les supports de casserole, assurez-vous qu'ils sont correctement installés.
Le fond du recipient doit avoir des dimensions adaptées à la taille du brûleur. - Posez directement le recipient sur le brûleur, au centre de celui-ci.
- Dès que le liquide commence à bouillir, baissez la flamme juste assez pour laisser le liquide frémir.
- Si possible, utilisez une cocotte-minute. Consultez sa notice d'utilisation.
| Nom du fournisseur | Faure |
| Identification du modele | FCM54041WA 943005446 |
| Index d'efficacité énergétique | 95.0 |
| Classe d'efficacité énergétique | A |
| Consummation d'énergie avec charge standard et mode traditionnel | 0,76 kWh/cycle |
| Nombre de cavités | 1 |
| Source de chaleur | Électricité |
| Volume | 60 l |
| Type de four | Four dans une cusinière autonome |
| Masse | 41.0 kg |
- Pour l'Union française conformément aux Règlements UE 65/2014 et 66/2014.
Pour la République de Biélorussie conformément à STB 2478-2017, Annexe G ; STB 2477-2017, Annexes A et B.
Pour l'Ukraine conformément à 568/32020.
La classe d'efficacité énergétique n'est pas applicable pour la Russie.
EN 60350-1 - Appareils de cuisson domestiques électriques - Partie 1 : Plages, jours, jours à vapeur et grils - Méthodes de mesure des performances.
FOUR - ÉCONOMIE D'ENÉRGINE

Ce four est doté de caractéristiques qui vous permettent d'économiser de l'énergie lors de votre cuisine au quotidien.
Lorsque le four est en marche, assurez-vous que la portee est bien fermée. Evitez d'ouvrir la portetrop souvent pendant la cuisson. Nettoyez regulierement le joint de porte et assurez-vous qu'il est bien en place.
Utilisez des plats en métal pour accroître les économies d'énergie.
Dans la mesure du possible, ne préchauffez pas le four avant la cuisson.
Lorsque vous préparez plusieurs plats à la fois, faites en sorte que les pauses entre les cuissons soient aussi courtes que possible.
Chaleur résiduelle
Si la cuisson doit durer plus de 30 minutes, réduisez la température du four au minimum 3 à 10 minutes avant la fin de la cuisson. La chaleur résiduelle à l'intérieur du four poursuivira la cuisson. Utilisez la chaleur résiduelle pour rechauffer d'autres plats.
Maintien des aliments au chaud
Sélectionnez la température la plusasse possible pour utiliser la chaleur résiduelle et maintainir le repas au chaud.
Cuisson par convection naturelle
Fonction conçue pour économique de l'énergie en cours de cuisson. Pour plus d'informations, reportez-vous aux fonctions du four au chapitre « Four - Utilisation quotidienne »
EN MATIÈRE DE PROTECTION DE L'ENVIRONNEMENT
Recyclez les matériaux portant le symbole Déposez les emballages dans les conteneurs prévus à cet effet. Contribuez à la protection de l'environnement et à votre sécurité, recyclez vos produits électriques et électroniques. Ne jetez pas les appareils portant le symbole avec les
ordures menagères. Emmenez un tel produit dans voiture centre local de recyclage ou contactez vos services municipaux.
Electrolux Appliances AB - Contact Address: Al. Powstańczy Śląsickich 26, 30-570 Kraków, Poland
FR
Cet apparel, ses accessories et cordons se recyclent
REPRISE
LA LIVRAISON
A DEPOSER EN MAGASIN
A DEPOSER EN DECHETERIE



ou
Points de collecte sur www.quefaideresmedechets.fr Privilegiez la réparation ou le don de cette apparcelle

FR



C E
FAURE
Notice Facile