PAE 26 - Déshumidificateur TROTEC - Notice d'utilisation et mode d'emploi gratuit
Retrouvez gratuitement la notice de l'appareil PAE 26 TROTEC au format PDF.
| Type d'appareil | Refroidisseur d'air |
| Fonctions principales | Refroidissement, ventilation, humidification |
| Capacité de refroidissement | Non précisé |
| Débit d'air | Non précisé |
| Consommation électrique | Non précisé |
| Réservoir d'eau | Oui, capacité moyenne |
| Commandes | Boutons tactiles |
| Modes de fonctionnement | Plusieurs modes (normal, éco, nuit) |
| Minuterie | Oui |
| Mobilité | Roues intégrées |
| Niveau sonore | Faible à moyen |
| Alimentation | Électrique |
| Dimensions | Compact, adapté à usage intérieur |
| Poids | Léger à moyen |
| Filtre | Filtre à air intégré |
| Couleur | Blanc |
FOIRE AUX QUESTIONS - PAE 26 TROTEC
Questions des utilisateurs sur PAE 26 TROTEC
0 question sur cet appareil. Repondez a celles que vous connaissez ou posez la votre.
Poser une nouvelle question sur cet appareil
Téléchargez la notice de votre Déshumidificateur au format PDF gratuitement ! Retrouvez votre notice PAE 26 - TROTEC et reprennez votre appareil électronique en main. Sur cette page sont publiés tous les documents nécessaires à l'utilisation de votre appareil PAE 26 de la marque TROTEC.
MODE D'EMPLOI PAE 26 TROTEC
Indications sur le manuel d'utilisation 1
Normes de sécurité 1
Informations sur l'appareil 3
Transport et stockage 5
Montage et mise en service 5
Utilisation 9
Accessoires disponibles 12
Défauts et pannes 13
Entretien 14
Annexe technique 19
Élimination des déchets 19
Indications sur le manuel d'utilisation
Symboles

Avertissement relat à la tension électrique
Ce symbole indique que la tension électrique cause des risques pour la vie et la santé des personnes.

Avertissement
Cette mention d'ajretissement indique un risque moyen qui peut entraîner des blessures graves ou mortelles s'il n'est pas évité.

Attention
Cette mention d'advertissement indique un risque faible qui peut entraîner des blessures benignes ou moyennes s'il n'est pas évité.
Remarque
Cette mention d'ajretissement indique des informations importantes (par ex. dommages matériels), maisaucun danger.

Info
Les indications représentant ce symbole vous aident à executer vos tâches rapidement et en toute sécurité.

Observer le mode d'emploi
Les indications représentant ce symbole vous indiquent qu'il est nécessaire de respecter le manuel d'utilisation.
Vous pouvez télécharger la dernière version du manuel d'utilisation et la déclaration de conformité UE sous le lien suivant :

Veuillez lire attentivement leprésent manuel avant la mise en service ou l'utilisation de l'appareil et conservez-le à proximé immediate de l'endet d'installation ou de l'appareil même!

Avertissement
Lire toutes les consignes de sécurité et toutes les instructions.
Le non-respect des consignes de sécurité risque de causer une électrocution, de provoquer un incendie et/ ou de causer des blessures graves.
Conservez toutes les consignes de sécurité et toutes les instructions pour pouvoir vous y reporter ultérieurement.
Les enfants de plus de 8 ans et toute personne ayant des capacité physiques, sensorielles ou mentales réduites ou ne possédant pas l'expérience et/ou les connaissances nécessaires peuvent utiliser l'appareil pour autant qu'ils bénéficient d'une supervision ou ont reçu une instruction adequate relative à une utilisation sure de l'appareil et qu'ils ont compris les dangers liés à cette utilisation.
Les enfants ne sont pas autorisés à jouer avec l'appareil. Il est interdit aux enfants d'effectuer le nettoyage et l'entretien de l'appareil sans surveillance.
- N'utilise pas l'appareil dans des locaux représentant un risque d'explosion.
- N'utilisez pas l'appareil dans des atmosphères agressives.
- Installez l'appareil debout et de façon stable.
- Faites sécher l'appareil après un nettoyage à l'eau. Ne le faites pas fonctionner mouillé.
- Ne touchez ou n'utilisez pas l'appareil les mains humides ou mouillées.
- Ne pas exposer l'appareil à un jet d'eau direct.
- Ne pas introduire de corps étrangers ni de membres du corps à l'intérieur de l'appareil.
-
Ne couvrez pas l'appareil et ne le transportez pas pendant le fonctionnement.
-
Éteignez l'appareil et tirez le cable électrique de la prise lorsque l'appareil n'est pas utilisé.
-
N'utilisez jamais l'appareil si vous remarquez des définuts au niveau de la prise ou du cable de raccordement secteur.
-
Ne pas s'asseoir sur l'appareil.
- L'appareil n'est pas un jouet. Tenez les enfants et les animaux à l'écart. Utilisez l'appareil uniquement sous surveillance.
- Avant chaque utilisation, vérifie le bon état de l'appareil, des accessoires et des connecteurs. N'utilise pas l'appareil si celui-ci ou une des pieces qui le composent sont défectueux.
- Protégez tous les câbles électriques en dehors de l'appareil contre les endommagements (par ex. par des animaux). N'utilise jamais l'appareil lorsque le cordon électrique ou la fiche sont déteriorés!
- La prise d'alimentation électrique doit correspondre aux indications données au chapitre Caracteristiques techniques.
- Raccordez la fiche de l'appareil à une prise de courant protégée selon les règles de l'art.
- Choisissez des rallonges de cables electriques conformément à la puissance connectée de l'appareil, la longueur du cable et l'utilisation. Déroulez complètement la rallonge electrique. Évitez toute surcharge electrique.
- Retirez le cable électrique de l'appareil de la prise en tirant sur la fiche avant l'entretien, la maintenance ou les réparations.
Si le cordon secteur de cet apparéil est endommagé, il doit être remplaced par le fabricant, son service après-vente ou par une personne de qualification équivalente afin d'éviter tous risques.
Les câbles électriques défectueux représentent un danger sérieux pour la santé.
- Lors de l'installation, il faut respecter les distances minimales requises par rapport aux murs et aux autres objets ainsi que les conditions d'entroposage et de fonctionnement conformément aux indications figurant dans le chapitre Données techniques.
Assurez-vous que I'entrée et la sortie d'air sont dégagées.
Assurez-vous que le côte aspiration soit toujours exempt de saleté et de corps étrangers. - Ne retirezaucun signede sécurité,autocollantouétiquette de l'appareil.Tous les signes de sécurité,les autocollants et lesétiquettesdoiventetreconservésde manierea resterlisibles.
-
Veuillez transporter l'appareil exclusivement en position verticale et après avoir préalablement vidé le réservoir d'eau.
-
Avant l'entreposage ou le transport, videz le réservoir d'eau. Ne buvez pas l'eau. Risques pour la santé!
- Remplissez le réservoir d'eau exclusivement avec de l'eau potable fraîche, des glaçons faits avec de l'eau potable et/ou des accumulateurs de froid adaptations.
- Les accumulateurs de froid ne sont pas des jouets. Tenez les enfants et les animaux à l'écart.
- N'ouvre jamais les accumulateurs de froid. Le liquide contenu dans les accus de froid peut être nocif pour la santé.
- Ne mangez pas la glace qui peut se former sur les accus de froid. Risques pour la santé!
Utilisation conforme
Veuillez utiliser l'appareil exclusivement pour le refroidissement de l'air des pieces interieures, tout en respectant les données techniques.
L'utilisation conforme comprend le refroidissement de l'air dans
les locaux d'habitation
les musées
les entreprises et les archives
les bibliothèques
les centrales téléphoniques et les salles informatiques
Utilisation non conforme
- Veuillez ne pas installer l'appareil sur un support mouillé ou inondé.
- Veuillez ne déposer aucun objet, comme p.ex. des vêtements, sur l'appareil.
- Veuillez ne pas utiliser l'appareil à l'extérieur.
- Il est interdit de modifier, compléter ou ALTERer l'appareil de chaque manière que ce soit.
- Un autre fonctionnement ou une autre utilisation que ceux décrits dans ce manuel sont non conformes. En cas de non-respect, le fabricant décline toute responsabilité en cas d'endommagement et toutes les demandes de garantie sont annulées.
Qualification du personnel
Toute personne utilisant le present apparéil doit :
- être consciente des risques associés aux apparciels électriques en environnement humide.
- avoir lu et compris le manuel d'utilisation, et notamment le chapitre Normes de sécurité.
savoir que tout travail de maintenance nécessitant l'ouverture du carter est à réaliser par une entreprise d'électricité spécialisée ou par la société Trotec.
Risques résiduels

Avertissement relat à la tension électrique
Toute intervention au niveau des composants électriques est à réaliser exclusivement par une entreprise spécialisée !

Avertissement relat à la tension électrique
Retirez la fiche d'alimentation de la prise secteur avant toute intervention sur l'appareil.
Débranche le cordon d'alimentation de la prise murale en tirant sur la fiche secteur.

Avertissement
Le liquide contenu dans les accus de froid peut être nocif pour la santé !
Consultez immédiatement un médecin en cas d'ingestion du liquide.
En cas de pénétration du liquide dans les yeux, rincez les yeux avec de l'eau et consultez immédiatement un médecin.

Avertissement
L'utilisation de l'appareil peut composer un risque s'il est utilisé par des personnes non compétentes, en cas d'utilisation non conforme ou non conventionnelle!
Veuiliez respecter les exigences relatives à la qualification du personnel !

Avertissement
L'appareil n'était pas un jouet, il n'est pas adapté aux enfants.

Avertissement
Danger de suffocation!
Veuillez ne pas laisser trainer les emballages vides. Ils pourraient etre dangereux pour les enfants.
Remarque
N'utilisez jamais l'appareil sans filtré à air!
Sans filtrer à air, l'intérieur de l'appareil se salit ennormément, ce qui peut réduire la puissance et déterminer l'appareil.
Comportement en cas d'urgence
- Éteignez l'appareil.
- En cas d'urgence, coupez immédiatement l'alimentation électrique de l'appareil. Débranchez le cordon d'alimentation de la prise murale en tirant sur la fiche secteur.
- Ne rebranchez jamais un apparéil endommagé.
Informations sur l'appareil
Description de l'appareil
Le refroidisseur d'air à évaporation rafraîchit les locaux à des températures agréables.
L'appareil est rempli avec de l'eau froide, des glaçons et / ou des blocs réfrigerants afin de refroidir l'air chaud entrant grâce au filtré à évaporation et le restituer, par le biais du ventilateur, en tant qu'air froid.
En plus de sa fonction de refroidissement, l'appareil peut également être utilisé comme purificateur d'air : l'air aspiré est filtré et humidifié grâce au filtré à air intégré et au filtré à evaporation en nid d'abeille.
Il est possible de régler le régime de ventilation à trois niveaux différents.
L'orientation des volets de la sortie d'air froid peut être régée manuellement et le mode swing d'oscillation automatique peut être activé en option.
L'appareil est équipé d'un mode nuit qui permet un fonctionnement silencieux pendant les périodes de sommeil.
L'appareil se commande par l'intérimédiaire de son panneau de commande ou de la télécommande infrarouge.
De plus, grâce à la fonction minuterie, il est possible de faire s'eteindre l'appareil automatiquement au bout d'un certain temps.
Le refroidisseur d'air est équipé d'une protection antisurchauffe qui le met automatiquement hors service en cas d'échauffement excessif.

Représentation de l'appareil



| N° | Désignation |
| 1 | Poinnée de transport |
| 2 | Panneau de commande |
| 3 | Sortie d'air avec volets de ventilation régibles et volets de guidage de l'air pour la fonction d'oscillation (swing) |
| 4 | Indication du niveau de replissage |
| 5 | Roulettes de transport avec blocage |
| 6 | Porte-cordon d'alimentation |
| 7 | Filtre nid d'abeilles |
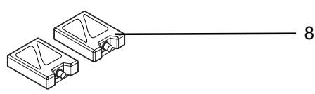
| 8 | Blocs réfrigérants |
| 9 | Télécommande |
| 10 | Filtre à air |
| 11 | Réserveoir d'eau avec indicateur du niveau |
| 12 | Couvercle du réservoir d'eau |
| 13 | Entrée d'air avec filtre à air et filtre nid d'abeille |
| 14 | Compartment pour télécommande |
| 15 | Récepteur télécommande |
Transport et stockage
Remarque
L'appareil peut s'endommager si vous le transportez ou l'entreposer de manière inappropriée.
Observe les informations relatives au transport et à l'entreposage de l'appareil.
Transport
Pour facilitier le transport, l'appareil est pourvu de roulettes de transport.
Pour facilitier le transport, l'appareil est pourvu d'une poignée.
Veuillez observer les consignes suivantes avant chaque transport :
- Éteignez l'appareil.
- Débranche le cordon d'alimentation de la prise murale en tirant sur la fiche secteur.
Videz le réservoir d'eau. - Veuillez ne pas utiliser le cordon électrique pour tirer l'appareil.
- Débloquez les freins des roulettes.
- Ne faites rouler l'appareil que sur des surfaces planes et stables.
Veuillez observer les consignes suivantes après chaque transport :
- Installez l'appareil à la verticale après l'avoir transporte.
Entreposage
Veuillez respecter les consignes suivantes avant chaque entreprises :
- Videz et nettoyez le réservoir d'eau avant de le ranger (voir chapitre Maintenance).
- Faites sécher le filtré nid d'abeille avant d'entreposer l'appareil. Sinon, l'appareil peut répandre une oedur de moins lors de la remise en service.
Observe les conditions de stockage suivantes lorsque vous n'utilise pas l'ordinateil :
au sec et protégé du gel et de la chaleur
- début, dans un endroit protégé de la poussière et de l'exposition directe au soleil
- le cas échéant, protégé de la poussière par une housse
- ne placez aucun autre apparéil ou aucun object sur l' apparéil, afin d'éviter de le déterminer
- Retirer les piles de la télécommande
Montage et mise en service
Contenu de la livraison
1 apparel
1 télécommande
- 1 piles pour la télécommande
1 filtrer nid d'abeille
1 filtré à air
4 roulettes de transport
2 blocs réfrigerants
1 mode d'emploi
Déballer l'appareil
- Ouvrez le carton et sortez l'appareil.
- Retirez entiement l'emballage de I'appareil.
- Déroulez complètement le cable électrique. Assurez-vous que le cable électrique n'est pas endommagé et ne le déterrioz pas en le déroulant.
Mise en service
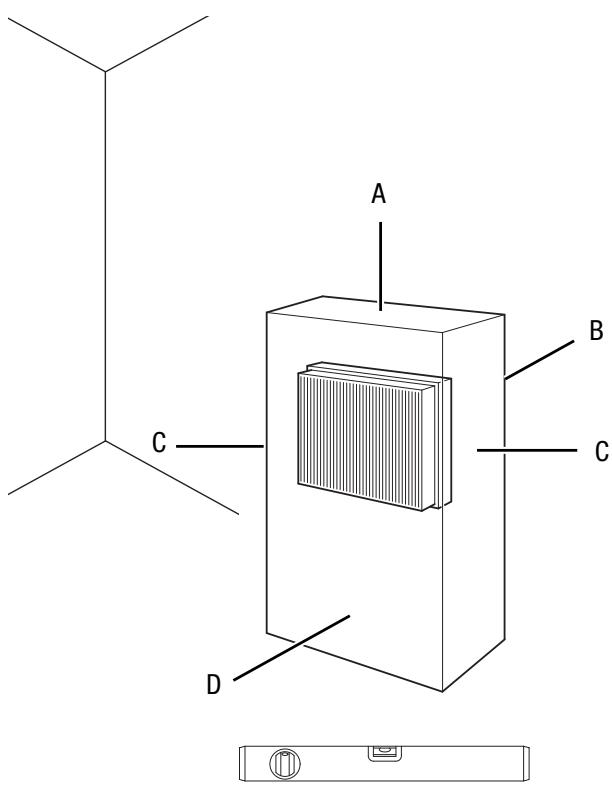
Lors de l'installation de l'appareil, il faut respecter les distances minimales requises par rapport aux murs et aux autres objets conformément aux indications figurant dans le chapitre Données techniques.

- Avant la remise en service de l'appareil, vérifie l'état du cable d'alimentation. En cas de doute relatif à son parfait état, contactez le service après-vente.
-
Installez l'appareil debout et de façon stable.
-
En particulier lorsque l'appareil est placé au centre de la pièce, veillez à ce que le cordon secteur et tout autre cable électrique soit posé de sorte à éviter tout risque de trébuchement. Utilisez des couvre-câbles.
Assurez-vous que les rallonges de cable sont entierement déroulées.
Veillez à ce qu'aucun ridesau ni aucun autre objet ne bloque le flux d'air.
Insérez les piles dans la télécommande avant la première mise en service.
Montage des roulettes de transport
Pour un transport facile et une bonne stabilité, il est nécessaire de monter les roulettes de transport fournies avec l'appareil. À cette fin, procédez de la manière suivante :
Remarque
Pendant le montage des roulettes de transport, veillez à ce que le réservoir d'eau rempli ne se trouve pas dans l'appareil.
- Couchez l'appareil sur le côte et inséréz une roulette dans l'appareil. Répétez cette étape pour les 3 roulettes de transport restantes.
Veillez à ce que les deux roulettes munies de freins se trouvent à l'arrête de l'appareil.

Pour une transport facile, débloquez les freins.

Pour uneonne stabilité,bloquez les freins.

Remplissage du réservoir d'eau
L'appareil nécessite de l'eau potable fraîche pour refroidir l'air.
Remarque
Remplissez l'appareil uniquement avec de l'eau potable fraîche. La température de l'eau ne doit pas dépasser 40 °C.

Info
Si possible, changez l'eau quotidiennement afin d'eviter la prolifération de bacteries.
Observe les indications suivantes lorsque vous utilisez les blocs réfrigérants :
- Placez les blocs réfrigerants pendant au moins 4 heures au concélateur avant l'utilisation.
- Le réserve d'eau (11) doit être rempli d'eau avant la mise en place des blocs réfrigerants.
- Placez les blocs réfrigerants uniquement dans le compartment prévu dans le réservoir d'eau, sinon la pompe ne fonctionne pas correctement.

Info
De la condensation peut se former sur le réservoir d'eau et goutter sur le sol lorsque la température extérieure est élevée et que des blocs réfrigerants sont utilisés.
- Débranchez l'appareil du secteur avant de replir d'eau le réservoir ou d'y placer des blocs réfrigérants.
- Retirez le réservoir d'eau (11) de l'appareil.

- Remplissez le réservoir d'eau uniquement avec de l'eau potable fraîche (11). Vous pouvez également ajouter des glaçons d'eau potable pour augmenter le refroidissement.
Observe le niveau minimum et maximum de l'indicateur. Il est nécessaire de replir le réservoir d'eau au moins jusqu'au niveau minimum afin que la pompe puisse fonctionner.

- Au besoin, placez les blocs réfrigerants dans le compartment du réservoir d'eau afin d'obtenir un effet de refroidissement supplémentaire.

- Insérez à nouveau le réservoir d'eau dans l'appareil.

- Assurez-vous que l'extérieur de l'appareil n'est pas humide ou mouillé. Dans le cas contraire, essuyez l'appareil.
Mise en place du filtrer nid d'abeille et du filtrre à air
Remarque
En mode refroidissement, l'appareil ne doit pas etreutilise sans filtre nid d'abeille, sinon le refroidissement ne fonctionne pas.
Remarque
N'utilisez jamais l'appareil sans filtré à air! Sans filtré à air, l'intérieur de l'appareil se salit enormément, ce qui peut réduire les performances et déterminer l'appareil.
- Avant la mise en marche, assurez-vous que le filtrte nid d'abeille et le filtrte à air sont bien mis en place.


Ouverture des volets de ventilation
- Avant d'allumer l'appareil, réglez les volets de ventilation de la sortie d'air.

Branchement du cable secteur
- Raccordez la fiche de l'appareil à une prise de courant protégée selon les règles de l'art.

Info
Un signal sonore retentit et l'appareil se trouve en mode de veille.
Utilisation
- Évitez de laisser les portes et les fenêtres ouvertes.

Éléments de commande
| N° | Désignation | Signification |
| 16 | LED On / Off | Est allumée pendant le fonctionnement |
| 17 | LED Oscillation | S'allume lorsque la fonction swing est activée |
| 18 | LEDs Heures | Affichage du nombre d'heures de 1 à 7 h lorsque la minuterie est active avec la combinaison des symboles 1h, 2h et/ou 4h La somme des symboles allumés donne le nombre d'heures souhaité |
| 19 | LEDs Speed | Affichage du régime de ventilation : Niveau 1 = faible × Vitesse 2 = moyenne × Niveau 3 = élevé |
| 20 | LEDs Mode | Affichage du mode de fonctionnement choisi : Ventilation ∅ Rafraîchissement de l'air Mode nuit |
| 21 | LED Humidification | S'allume lorsque le mode refroidissement de l'air est activé Clignote lorsque le réservoir d'eau est vide |
| 22 | Touche Humidification | Activation ou désactivation du mode refroidissement |
| N° | Désignation | Signification |
| 23 | Touche Mode | Touche de sélection du mode de fonctionnement ventilation, rafraîchissement ou nuit |
| 24 | Touche Speed | Réglage du régime de ventilation |
| 25 | Voyant Sécurité infant | S'allume lorsque la sécurité infant est activée |
| 26 | Touche Timer | Mise en marche et arrêt de la minutesie 1 h à 7 h |
| 27 | Touche Oscillation | Activation ou désactivation de la fonction swing |
| 28 | Touche On / Off | Mise en marche et arrêt de l'appareil |
Mise en marche de l'appareil
Après avoir installé l'appareil en suivant la description du chapitre Mise en service, vous pouvez lemettre en marche.
- Appuyez sur la touche On/Off (28).
L'appareil démarre en mode refroidissement, ventilation au régime 1. De plus, la fonction swing est activée à la première mise en service.
Les LEDs On / Off (16), Oscillation (17), Humidification (21), Ventilation (20) et Speed 1 (19) sont allumées.
Sélection du mode de fonctionnement
L'appareil dispose des modes de fonctionnement suivants :
- Refroidissement de l'air
- Ventilation
- Rafaîchissement de l'air
Mode nuit
Refroidissement de l'air
Le mode refroidissement de l'air peut être activé depuis tous les autres modes.
En mode refroidissement de l'air, la pompe est mise en marche et l'eau est répartie via le filtre nid d'abeilles, afin de refroidir l'air en circulation. Lorsque le réservoir d'eau est vide, la pompe s'arrête, un signal d'alarme retentit et le voyant LED Humidification (21) clignote.
Procedez de la maniere suivante pour activer le mode refroidissement de l'air:
- Appuyez sur la touche Humidification (22).
La LED Humidification (21) s'allume.
La pompe démarre.
2. Appuyez sur la touche Speed (24) pour régler le régime de ventilation désiré (de 1 à 3).
- Appuyez de nouveau sur la touche Humidification (22), si vous désirez désactiver le refroidissement de l'air.
La LED Humidification (21) s'eteint.
L'appareil continue de fonctionner dans le mode sélectionné précédement.
Remarque
Pendant le mode refroidissement de l'air, il est interdit dePTRer le reservoir d'eau, sinon I'eau goutte a travers le filtr et pénétre à l'intérieur de I'appareil.
Ventilation
En mode ventilation, vous pouvez selectionner à la main le régime de ventilation de votrechoix parmi les 3 niveaux.
Procedez de la maniere suivante pour régler la ventilation :
- Appuyez sur la touche Mode (23) jusqu'à ce que le voyant LED Ventilation (20) s'allume.
- Pour régler le régime de ventilation, appuyez sur la touche Speed (24) jusqu'à ce que la LED correspondant au régime de ventilation souhaïte (19) s'allume.
Rafraîchissement de l'air
En mode rafraîchissement de l'air, le régime de ventilation augmente et diminue afin de générer un flux d'air/agréable et naturel.
Procedez de la maniere suivante pour activer le mode rafraîchissement de l'air:
- Appuyez sur la touche Mode (23) jusqu'à ce que la LED Rafraîchissement (20) s'allume. Le niveau de ventilation change automatiquement.
Mode nuit
Le mode nuit peut être activé en combinaison avec l'un des 3 niveaux de ventilation et le refroidissement d'air.
- Appuyez sur la touche Mode (23) jusqu'à ce que la LED Nuit (20) s'allume. Choisissez en plus le régime de ventilation que vous désirez.
Niveau de ventilation 1: l'appareil fonctionne en mode rafraîchissement de l'air.
Niveau de ventilation 2: l'appareil fonctionne en mode rafraîchissement de l'air et passes au bout de 30 minutes au niveau de ventilation 1.
Niveau de ventilation 3: l'appareil fonctionne en mode rafraîchissement de l'air et passes au bout de 30 minutes au niveau de ventilation 2. Au bout de 30 minutes supplémentaires, l'appareil passée automatiquement au niveau de ventilation 1.

Info
Si vous activez le refroidissement de l'air en mode nuit, un signal d'alarme retentit, même dans ce cas, lorsque le réservoir d'eau est vide.
Réglage de la minuterie
Il est possible d'activer la fonction dans chacun des modes de fonctionnement.
Le nombre d'heures peut être compris entre 1 et 7 et être régé par pas de 1 h.
Arré automatique
√ l'appareil est en marche.
1. Appuyez plusieurs fois sur la touche Timer (26) jusqu'à ce la combinaison des LEDs Heures (18) indique le nombre d'heures désiré.
La minuterie est reglee sur le nombre d'heures Desired.
L'appareil s'esteint automatiquement après écoulement du nombre d'heuresprogrammé.
Remarques concernant I'arrêt automatique :
- Une pression sur la touche On / Off (28) désactive l'arrêt automatique.
Telekomande
Vou pousse régler tous les paramètres de l'appareil à partir de la télécommande fournie.

| N° | Désignation | Signification |
| 22 | Touche Humidification | Activation ou désactivation du mode refroidissement |
| 23 | Touche Mode | Touche de selection du mode de fonctionnement ventilation, rafraîchissement ou nuit |
| 24 | Touche Speed | Réglage du régime de ventilation |
| 26 | Touche Timer | Mise en marche et arrêt de la minuterie 1 h à 7 h |
| 27 | Touche Oscillation | Activation ou désactivation de la fonction swing |
| 28 | Touche On / Off | Mise en marche et arrêt de l'appareil |
Fonction swing
Au besoin, il est possible d'activer la fonction swing dans tous les modes de fonctionnement.
Des volets de guidage verticaux se trouvent derrière les volets de ventilation horizontalaux. Ils oscillent automatiquement avec la fonction swing et assurent ainsi une circulation continue de l'air.
- Appuyez sur la touche Oscillation (27) pour activer ou désactiver la fonction swing.
La LED Oscillation (17) s'allume lorsque la fonction swing est activée.
Fonction mémoire
Lorsque vous ré-allumez l'appareil après la première mise en service, les réglages sélectionnés pour le mode de fonctionnement sont mémorisés. Par contre, une éventuelle programmation de la minuterie n'est pas mémorisée dans l'appareil.
Sécurité infant
La sécurité infant sert à bloquer les éléments de commande et peut être activée dans tous les modes de fonctionnement.
Une fois la sécurité infant activée, l'appareil fonctionne dans le mode sélectionné et les touches n'ont plus aucune fonction, chaque changement n'est donc possible.
- Pour activer ou désactiver la sécurité infant, appuyez simultanément pendant 3 s sur les touches Speed (24) et Timer (26) du panneau de commande.
Lorsque la sécurité enfant est activée, seule la LED On/Off(16) est allumée.
Lorsqu'une touche est pressée, les LEDs du mode de fonctionnement selectionné s'allument pendant 10 s environ.
Remplissage du réservoir d'eau
L'appareil signale que le réservoir d'eau est vide en déclenchant un signal sonore et en faisant clignoter la LED
Humidification (21). Il faut alors replir le réservoir d'eau.
Observe les indications suivantes lorsque vous utilisez les blocs réfrigerants :
- Placez les blocs réfrigerants pendant au moins 4 heures au concélateur avant l'utilisation.
- Le réservoir d'eau (11) doit être rempli d'eau avant demettre les blocs réfrigerants en place.
- Placez les blocs réfrigerants uniquement dans le compartment prévu dans le réservoir d'eau, sinon la pompe ne fonctionne pas correctement.

Info
De la condensation peut se former sur le réservoir d'eau et goutter sur le sol lorsque la température extérieure est élevée et que des blocs réfrigerants sont utilisés.
-
Débranche l'appareil du secteur avant de replir d'eau le réservoir ou d'y placer des blocs réfrigerants.
-
Retirez le réservoir d'eau (11) de l'appareil.

- Remplissez le réservoir d'eau uniquement avec de l'eau potable fraîche (11). Vous pouvez également ajouter des glaçons d'eau potable pour augmenter le refroidissement.
Observe le niveau minimum et maximum de l'indicateur.
Il est nécessaire de replir le réservoir d'eau au moins jusqu'au niveau minimum afin que la pompe puisse fonctionner.

- Au besoin, placez les blocs réfrigerants dans le compartment du réservoir d'eau afin d'obtenir un effet de refroidissement supplémentaire.

- Insérez à nouveau le réservoir d'eau dans l'appareil.

- Assurez-vous que l'extérieur de l'appareil n'est pas humide ou mouillé. Dans le cas contraire, essuyez l'appareil.
Fonction arrêt automatique
L'appareil s'éteint automatiquement lorsqu'il a fonctionné pendant 24 heures de façon continue.
L'appareil est équipé d'une protection contre la surchauffe.
Ainsi, le refroidisseur d'air ne risque pas de chauffer exagérément.
Un filtré encrassé ou un blocage risquent d'entrainer un échauffement excessif de l'appareil. En cas de surchauffe, celui-ci s'arrête automatiquement. Lorsque la protection anti-surchauffe a déclenché, l'appareil ne peut plus être remis en service.
Mise hors service

Avertissement relat à la tension électrique
Ne touchez jamais la fiche d'alimentation avec des mains humides ou mouillées.
- Arrêtez l'appareil.
- Débranche le cordon d'alimentation de la prise murale en tirant sur la fiche secteur.
- Videz et nettoyez le réservoir d'eau (voir chapitre Entretien).
- Nettoyez l'appareil conformément aux indications figurant au chapitre Maintenance.
- Stockez l'appareil conformément aux indications figurant dans le chapitre Stochage.
Accessoires disponibles

Avertissement
Utilisez uniquement les accessoires et les apparils auxiliaires mentionnés dans le manuel d'utilisation. L'utilisation d'autres outils et d'autres accessoires que ceux recommandés dans le manuel d'utilisation peut encourir un risque de blessure.
| Désignation | Numéro d'article |
| Filtre à évaporation PAE 26 | 7.710.000.854 |
Défauts et pannes
Dans le cadre de sa production, le bon fonctionnement de l'appareil a eté controlé à plusieurs reprises. Malgré tout, si l'appareil avaitprésent des dysfonctionnements, contrôle-le en vous conformant à la liste suivante.
L'appareil ne se met pas en marche :
Vérifiez le raccordement au secteur.
- Vérifiez le bon état du cable électrique et de la fiche secteur.
- Vérifiez le fusible ou le disjoncteur secteur.
- Contrôlez un déclenchement évientuel de la protection anti-surchauffe (voir chapitre Utilisation).
- Attendez 10 minutes avant de redémarrer l'appareil. Si l'appareil ne démarre pas, faites réviser l'appareil par une entreprise spécialisée ou par la société Trotec.
L'appareil s'est eteint automatiquement :
- L'entrée d'air doit être libre afin d'éviter une surchauffe du moteur.
- Contrôlez un déclenchement évientuel de la protection anti-surchauffe (voir chapitre Utilisation).
L'appareil fonctionne sans refroidir ou avec des performances réduites :
- Vérifiez la position des volets horizontally de ventilation. Les volets de ventilation doivent être ouverts autant que possible.
- Vérifiez si le filtrte à air est encrassé. Le cas échéant, nettoyez ou remplacez le filtrte à air.
- Vérifiez les distances minima par rapport aux murs et aux autres objets. Le cas échéant, placez l'appareil plus loin dans la pierce.
L'appareil fonctionne, mais le refroidissement de l'air ou la pompe ne fonctionne pas.
- Vérifiez si le mode refroidissement de l'air est activé. La LED Humidification (21) devrait être éclairée.
- Vérifiez le niveau du réservoir d'eau (voir chapitre Remplissage du réservoir d'eau). La LED Humidification (21) ne doit pas clignoter.
- Le cas échéant, vérifie l'absence de tout objet bloquant l'entrée de la pompe. Vérifie que l'entrée de la pompe n'est pas bloquée.
- Si la pompe ne fonctionne pas, bien que le réserve d'eau soit bien rempli, et que le mode refroidissement d'air soit bien activé, elle est peut-être défectueuse. Contactez le service après-vente.
Il y a écoulement d'eau :
- Vérifiez si l'appareil présente des fuites.
- Vérifiez l'installation correcte du réservoir d'eau.
Impossible d'insérer le réservoir d'eau :
- Vérifiez si le mécanisme de l'abaissement de la pompe a déclenché. S'il est possible de voir la pompe dans la partie inférieure, il y a un blocage du réservoir d'eau.
- Poussez la pompe vers le haut jusqu'à ce que le contact d'abaissement de la pompe soit visible.
La fonction swing ne fonctionne pas :
- Le moteur de la fonction swing est éventuellesment défectueux. Contactez le service après-vente.
L'appareil est bruyant ou il vibre :
- Vérifiez si l'appareil est stable et bien installé en position verticale.
L'appareil ne réagit pas à la télécommande infrarouge :
- Vérifiez que la distance entre la télécommande et l'appareil n'est pas trop élevé et diminuez-la si nécessaire.
Assurez-vous qu'aucun d'obstacle ne se trouve entre l'appareil et la télécommande, par ex. des meubles ou des murs. Veillez à assurer un « contact visuel » entre l'appareil et la télécommande. - Vérifiez l'etat de charge des piles et remplacez-les si nécessaire.
- Vérifiez que la polarité des piles est respectée, au cas où les piles viennent d'être remplacées; changez la polarité, si cela est nécessaire.
Remarque
Attendez au moins 3 minutes après toute intervention de maintenance ou de réparation. Vous pouvez alors remettre l'appareil en marche.
Meme après verification, l'appareil ne fonctionne always pas parfaitement ?
Contactez le service après-vente. Le cas échéant, faites réparer l'appareil par une entreprise d'électricité spécialisée ou par la société Trotec.
Entretien
Intervalles de maintenance
| Intervalle de maintenance et d'entretien | avant chaque mise en service | en cas de besoin | au moins toutes les 2 semaines | au moins toutes les 4 semaines | au moins tous les 6 mois | au moins une fois par an |
| Nettoyer le réservoir d'eau | X | X | ||||
| Contrôle les bouches d'aspiration et de sortie pour détecter les encrasements ou les corps étrangers, nettoyer le cas échéant | X | X | ||||
| Nettoyage extérieur | X | X | ||||
| Contrôle visuel de l'intérieur de l'appareil pour détecter des encrasements | X | X | ||||
| Contrôle du filtré à air pour détecter les encrasements ou les corps étrangers, le nettoyer le cas échéant | X | X | ||||
| Remplacement du filtré nid d'abeille | X | |||||
| Contrôle des déterriorations éventuelles | X | |||||
| Contrôle des vis de fixation | X | X | ||||
| Test | X |
Protocole de maintenance et d'entretien
Type d'appareil :
N° d'appareil :
| Intervalle de maintenance et d'entretien | 1 | 2 | 3 | 4 | 5 | 6 | 7 | 8 | 9 | 10 | 11 | 12 | 13 | 14 | 15 | 16 |
| Nettoyer le réservoir d'eau | ||||||||||||||||
| Contrôle les bouches d'aspiration et de sortie pour détecter les encrasements ou les corps étrangers, nettoyer le cas échéant | ||||||||||||||||
| Nettoyage extérieur | ||||||||||||||||
| Contrôle visuel de l'intérieur de l'appareil pour détecter des encrasements | ||||||||||||||||
| Contrôle du filtre à air pour détecter les encrasements ou les corps étrangers, le nettoyer le cas échéant | ||||||||||||||||
| Remplacement du filtre nid d'abeille | ||||||||||||||||
| Contrôle des déterriorations eventuelles | ||||||||||||||||
| Contrôle des vis de fixation | ||||||||||||||||
| Test | ||||||||||||||||
| Remarques : |
| 1. Date : Signature : | 2. Date : Signature : | 3. Date : Signature : | 4. Date : Signature : |
| 5. Date : Signature : | 6. Date : Signature : | 7. Date : Signature : | 8. Date : Signature : |
| 9. Date : Signature : | 10. Date : Signature : | 11. Date : Signature : | 12. Date : Signature : |
| 13. Date : Signature : | 14. Date : Signature : | 15. Date : Signature : | 16. Date : Signature : |
Avant toute opération de maintenance

Avertissement relat à la tension électrique
Ne touchez jamais la fiche d'alimentation avec des mains humides ou mouillées.
- Éteignez l'appareil.
- Débranche le cordon d'alimentation de la prise murale en tirant sur la fiche secteur.

Avertissement relat à la tension électrique
Tout travail nécessitant l'ouverture du boîtier est à réaliser par une entreprise spécialisée homologuée ou par la société Trotec.
Contrôle visuel de l'intérieur de l'appareil pour détecter des encrassements
- Retirez le filtré à air.
- Munissez-vous d'une lampe de poche pour éclairer l'intérieur de l'appareil.
- Examinez l'intérieur de l'appareil pour détecter des encrasements.
- Si vous déetectez une épaissé couche de poussière, faites nettoyer l'intérieur de l'appareil par un électricien ou par la société Trotec.
- Remettez le filtré à air en place.

Nettoyer le carter
Nettoyez l'appareil avec un chiffon humide, doux et sans peluche. Veillez à ce qu'il n'y ait pas d'humidité qui puisse pénétrer dans le carter. Veillez à ce qu'il n'y ait pas d'humidité qui puisse entraîre en contact avec les composants électriques. Évitez l'utilisation de déterments agressifs, comme les arosols de nettoyage, les solvants, les nettoyants à base d'alcool ou les produits abrasifs pour humidifier le chiffon.
Nettoyer le réservoir d'eau
Le réserve d'eau doit être nettoyé toutes les deux semaines.
Le réserve d'eau doit être vidé avant le stockage ou avant une longue période de non-utilisation de l'appareil.
- Retirez le réservoir d'eau de l'appareil.

- Lavez soigneusement le réservoir d'eau dans un évier, par exemple.
- Nettoyez le réservoir avec un détergent doux (pas de produit vaisselle!)
- Éliminez tous les dépôts de calcaire du réservoir d'eau.
- Séchez l'intérieur du réservoir avec un chiffon non pelucheux.
- Si vous désirez continuer à utiliser l'appareil, replisssez le réservoir avec de l'eau potable fraîche (voir chapitre Remplissage du réservoir d'eau).
- Insérez à nouveau le réservoir d'eau dans l'appareil.

- Veillez à placer correctement le réservoir d'eau pour que l'appareil puisse se remetre en marche.
Nettoyer le filtré à air
Il est nécessaire de nettoyer le filtré à air des qu'il est sale. Cela se traduit, par exemple, par une capacité réduite (voir chapitre Défauts et pannes).

Avertissement
Veuillez vous assurer que le filtrte à air ne soit ni use ni endommagé. Les coins et les arêtes du filtrte à air ne doivent être ni déformés ni arrondis. Avant de remettre le filtrte à air en place, veuillez vous assurer que celui-ci est intact et sec !
- Retirez le filtré à air de l'appareil.

- Retirez le filtré nid d'abeille du filtré à air.

- Nettoyez le filtré avec un chiffon doux légarement humide non pelucheux. Si le filtré est très encrassé, nettoyez-le à l'eau chaude à laquelle vous aurez mélange un produit de nettoyage neutre.
-
Laissez le filtré sécher complètement. N'insérez pas de filtrer mouillé dans l'appareil!
-
Replacez le filtrer nid d'abeille dans le filtrre à air.

- Insérez à nouveau le filtrte à air dans l'appareil.

Remplacer le filtrre nid d'abeille
Remarque
En mode refroidissement, l'appareil ne doit pas etre utilisé sans filtre nid d'abeille, sinon le refroidissement ne fonctionne pas.
Remarque
N'utilisez jamais l'appareil sans filtré à air! Sans filtré à air, l'intérieur de l'appareil se salit enormément, ce qui peut réduire les performances et déterminer l'appareil.
Le filtré nid d'abeille doit être remplaced s'il est fortement encrassé.
Le filtré nid d'abeille se remplace environ 1 fois par an en fonctionnement standard.
Laissez secher le filtrer nid d'abeille dans l'appareil avant de le retirer.
- Retirez le filtré à air et le filtré nid d'abeille de l'appareil.

- Retirez le filtré nid d'abeille du filtré à air.

- Éliminez le filtré nid d'abeille usage conformément à la législation nationale en vigueur.
- Replacez le filtrer nid d'abeille dans le filtrre à air.

- Insérez à nouveau le filtré à air dans l'appareil.

Activités après la maintenance
Si vous désirez continuer d'utiliser l'appareil :
- rebranche l'appareil en mettant la fiche dans la prise secteur.
Si vous n'utilisez pas l'appareil pendant une longue durée :
- Stockez l'appareil conformément aux indications figurant au chapitre Stockage.
Annexe technique
Caracteristiques techniques
| Paramètre | Valeur |
| Modèle | PAE 26 |
| Puisance d'évaporation | 750 ml/h |
| Débit d'air | 300 m³/h |
| Raccordement secteur | 220-240 V / 50 Hz |
| Courant nominal absorbé | 0,2 A |
| Puisance absorbée | 55 W |
| Niveau de pression sonore (1 m de distance) | 65 dB(A) |
| Capacité du réservoir d'eau | 4 l |
| Poids | 7 kg |
| Dimensions (longueur x largeur x hauteur) | 270 x 250 x 720 mm |
| Distances minimales par rapport aux murs et aux objets : vers le haut (A) : vers l'arrière (B) : vers les côtés (C) : vers l'avant (D) : | 20 cm 20 cm 20 cm 20 cm |
Élimination des déchets

Le pictogramme représentant une poubelle barrée, apposé à un apparéil électrique ou électronique, signifie que celui-ci doit pas être eliminé avec les ordures menagères. Des points collecte Gratis pour les apparéils électriques ou
électroniques usages sont à votre disposition à proximité de chez vous. Les autorités de votre ville ou de votre commune peuvent vous en fournir les adresses. Notre site Internet www.trotec24.com vous informe également sur les autres possibiltés de retard que nous proposons.
La collecte séparée des apparils électriques et électroniques usages permet leur réutilisation évientuelle, le recyclage des matériaux constitutifs et les autres formes de recyclage tout en evitant les conséquences négatives pour l'environnement et la santé des produits dangereux qu'ils sont susceptibles dezersir.
Les piles usagées et les batteries ne doivent pas être jetées avec les ordures menagères, mais étant éliminées conformément à la directive européen 2006/66/CE DU PARLEMENT ET DU CONSEIL EUROPEEN du 6 septembre 2006 relative aux piles, aux piles rechargeables, aux accumulateurs et aux batteries. Veuiliez éliminer les piles et les batteries conformément aux dispositions légales en vigueur.
Notice Facile