TAAN 25 V - Réfrigérateur INDESIT - Notice d'utilisation et mode d'emploi gratuit
Retrouvez gratuitement la notice de l'appareil TAAN 25 V INDESIT au format PDF.
| Type de produit | Réfrigérateur combiné |
|---|---|
| Caractéristiques techniques principales | Réfrigérateur avec congélateur en bas, capacité totale de 250 litres |
| Alimentation électrique | 220-240 V, 50 Hz |
| Dimensions approximatives | Hauteur : 175 cm, Largeur : 60 cm, Profondeur : 65 cm |
| Poids | 65 kg |
| Compatibilités | Compatible avec les accessoires de réfrigération standard |
| Type de batterie | Non applicable |
| Tension | 220-240 V |
| Puissance | 150 W |
| Fonctions principales | Réfrigération, congélation, contrôle de température |
| Entretien et nettoyage | Nettoyage régulier des surfaces, dégivrage du congélateur |
| Pièces détachées et réparabilité | Disponibilité de pièces détachées via le service après-vente |
| Sécurité | Classe énergétique A+, protection contre les surcharges électriques |
| Informations générales utiles | Garantie de 2 ans, consommation annuelle d'énergie de 300 kWh |
FOIRE AUX QUESTIONS - TAAN 25 V INDESIT
Téléchargez la notice de votre Réfrigérateur au format PDF gratuitement ! Retrouvez votre notice TAAN 25 V - INDESIT et reprennez votre appareil électronique en main. Sur cette page sont publiés tous les documents nécessaires à l'utilisation de votre appareil TAAN 25 V de la marque INDESIT.
MODE D'EMPLOI TAAN 25 V INDESIT
Mise en place et raccordement
Réversibilité des portes
Description de l'appareil, 23
Vue d'ensemble
Mise en marche et utilisation, 24-25
Mise en service de l'appareil
Réglage de la température
Pour profiter à plein de votre réfrigerateur
Pour profiter à plein de votre congélateur
Entretien et soins, 26
Mise hors tension
Nettoyage de l'appareil
Contre la formation de moisissures et de mauvaises odeurs
Dégivrage de l'appareil
Remplacement de l'ampoule d'éclairage
Précautions et conseils, 27
Sécurité générale
Mise au rebut
Economies et respect de l'environnement
Anomalies et remèdes, 28
Assistance, 29
! Conservez ce mode d'emploi pour pouvoir le consulter à tout moment. En cas de vente, de cession ou de déménagement, veillez à ce qu'il suive l'appareil pour informer le nouveau propriétaire sur son fonctionnement et lui fournir les consels correspondants.
! Lisez attentivement les instructions : elles contiennent des conseils importants sur l'installation, l'utilisation et la sécurité de votre(APpeuil.
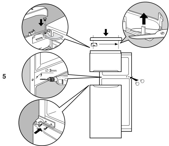
Mise en place et raccordement
Mise en place
- Placez l'appareil dans une piece bien aérée et non humide.
- Ne bouchez pas les grilles d'airation arrêté : le compresseur et le condensateur produit de la chaleur et exigent une bonne aération pour bien fonctionner et réduire la consommation d'électricité.
- Prévoir au moins 10 cm entre le haut de l'appareil et les meubles installés au-dessus et au moins 5 cm entre les côtés et les meubles/parois laterales.
- Installez l'appareil loin de sources de chaleur (rayons directs du soleil, cusinière électrique).
- Pourmaintenir une distance optimale entre le produit et la paroi arriere, montez les cales d'espacement comprises dans le kit d'installation et suivez les instructions de la notice spécialement prévue.
Mise à niveau
- Installez l'appareil sur un sol plat et rigide.
- Si le sol n'est pas parfaitement horizontal, vissez ou dévissez les petits pieds avant pour bien niveler l'appareil.
Raccordement électrique
Après le transport, placez l'appareil à la verticale et attendez au moins 3 heures avant de le raccorder à l'installation électrique. Avant de brancher la fiche dans la prise de courant, assurez-vous que :
- la prise est bien munie d'une terre conforme à la loi;
- la prise est bien apte à supporter la puissance maximale de l'appareil, indiquée sur la plaquette signalétique place à l'intérieur du compartment réfrigérateur en bas à gauche (ex. 150 W);
- la tension d'alimentation est bien comprise entre les valeurs indiquées sur la plaquette signalétique, placée en bas à gauche (ex.220-240 V);
- la prise est bien compatible avec la fiche de l'appareil. En cas d'incompatibilité, faites replacer la fiche par un technicien agréé (voir Assistance); n'utilisez ni rallonges ni prises multiples.
!Après installation de l'appareil,le cable electrique et la prise de courant doivent etre facilement accessibles.
! Le cable ne doit être ni plié ni excessivement écrasé.
! Il doit être contrôle prériodiquement et ne peut être remplaceé que par un technicien agrée (voir Assistance).
! Nous déclinons toute responsabilité en cas de non respect des normes enumeratedes ci-dessus.

Réversibilité des portes


Vue d'ensemble
Ces instructions d'utilisation s'appliquent à plusieurs modèles, il se peut donc que les composants illustrés doivent des différences par rapport à ceux de l'appareil que vous avez acheté. Vous trouvez dans les pages suivantes la description des objets plus complexes.

Leur nombre et/ou leur emplacement peut varier.
Mise en service de l'appareil
! Avant demettre I'appareil en service, suivez bien les instructions sur I'installation (voir Installation).
! Avant de brancher votre apparéil, nettoyez bien les compartments et les accessoires à l'eau tiède additionné de bicarbonate.
- Branchez la fiche dans la prise de courant et assurez-vous que l'éclairage interieur s'allume.
- Amenez le bouton de REGLAGE DE LA TEMPERATURE sur une valeur intermédiaire. Au bout de quelques heures, vous pourrez commencer à stocker des alimentés dans le réfrigérateur.
Réglage de la température
Le réglage de la température à l'intérieur du compartment réfrigerateur est automatique en fonction de la position du bouton du thermostat.
1 = moins froid 5 = plus froid
Nous conseillons toutefois une position intermédiaire
Pour augmenter la place disponible, simplifier le rangement et améliorer l'aspect esthétique, cet apparéil loge sa "partie refroidissante" à l'intérieur de la paroi arrêté du compartment réfrigérateur. Pendant le fonctionnement de l'appareil, cette paroi est tour à tour couverte de givre ou de gouttelettes d'eau selon que le compresseur est en marche ou à l'arrêt. Ne vous inquiètez pas! Notre réfrigérateur fonctionne normalement.
PURE WIND System
On le reconnait à la présence d'un dispositif appliqué à la paroi dans le haut du compartment réfrigérateur (voir figure).

PURE WIND System permet une conservation optimale des alimentes en rétablissant très rapidement la température après chaque ouverture de porte et en la distribuant parfaitement à l'intérieur du compartment : l'air soufflé (A) refroidit au contact de la paroi froide, tandis que l'air plus chaud (B) est aspiré (voir figure).
Si vous amenez le bouton de REGLAGE DE LA TEMPERATURE sur des valeurs plus élevées, que vous stockez de grandes quantités d'aliments et que la
température ambiente est élevée, votre apparéil peut fonctionner de façon continue, ce qui entraîne une formation abondante de givre et une consommation d'électricité excessive : amenez alors le bouton sur des valeurs plus basses (un dégivrage automatique sera lâncé).
Pour profiter à plein de votre réfrigérateur
- N'introduisez que des alimentents froids ou à peine tièdes, jamais chauds (voir Précautions et conseils).
- Les aliments cuits contrairement à ce que l'on croit ne se conservent pas plus longuement que les aliments crus.
- N'introduisez pas de recipients non fermés contenant des liquides : ces derniers entraineraient une augmentation de l'humidité et la formation d'eau condensée.

CLAYETTES: pleines ou grillagées.
Elles sont amovibles et régables en hauteur grâce à des glissières spéciales (voir figure), pour le rangement de recipients ou d'aliments de grande dimension. Pour régler la hauteur, pas besoin
de sortir la clayette complètement.
Compartment réfrigérateur
Indicateur de TEMPERATURE*: pour repérer la zone la plus froide à l'intérieur du réfrigérateur.
- Contrôler que l'indicateur affiche bien OK (voir figure).

- Si le message OK n'est pas affiché, c'est que la température est trop élevé : régler le bouton FONCTIONNEMENT REFRIGERATEUR sur un numéro plus élevé (plus froid) et attendre environ 10 h jusqu'à ce que la température se stabilise.
- Contrôler l'indicateur une nouvelle fois : si nécessaire, procédé à un nouveau réglage. Si de grossse quantités d'aliments ont été stockées ou si la porte du réfrigerateur est ouverte très souvent, il est normal que l'indicateur n'indique pas OK. Attendre au moins 10 h avant de régler le bouton FONCTIONNEMENT REFRIGERATEUR sur un chiffre plus élevé.
L'hygiène alimentaire
- Àpres achat, les alimentés doivent être débarrassés de leur emballage extérieur en papier/carton ou autre qui pourrait vehiculer des bacteriés ou des saletés à l'intérieur du réfrigérateur.
- Protégez les alimentés (notamment ceux qui se détiennent rapidement et ceux qui dégagent une forte odeur) pour éviter tout contact entre eux et éliminer ainsi toute possibilité de contamination de germes/ bacteriées et la diffusion d'odeurs particulières à l'intérieur du réfrigérateur.
- Rangez les alimentés de manière à ce que l'air puisse circuler librement entre eux.
- Veillez à ce que l'intérieur du réfrigérateur soit toujours propre. Attention : ne pas utiliser de produits oxydants ou abrasifs pour son nettoyage.
- Sortez les alimentés du réfrigérateur lors qu'ils dépassent leur durée limite de conservation.
- Pour une bonne conservation, les alimentés facilement périssables (fromages à pâte molle, poisson cru, viande, etc.) doivent être placés dans la zone plus froide où est situé l'indicateur de température.
Pour profiter à plein de votre congélateur
- Ne recongelez pas des alimentés décongelés ou en cours de déconnéglation; il faut les faire cuire et les consommer (dans les 24 heures).
- Les alimentés frais à congeler ne doivent pas être placés au contact d'aliments déjà congélés; il faut les stocker sur la clayette du compartment freezer et, de préférence, tout contre ses parois (létères et arrêté) où la température qui descend au-dessous de -18°C garantit une vitesse de congélation ajustée.
- Ne stockez pas dans votre congélateur des bouteilles en verre contenant des liquides, bouchées ou fermées hermétiquement, elles pourraient se briser.
- La quantité journalière maximale d'aliments pouvant être congelée est indiquée sur l'étiquette des caractéristiques, placée dans le compartment réfrigérateur en bas à gauche (exemple : 4 Kg/24h).
! Evitez d'ouvrir la portependant la phase de congélation.
! En cas de coupure de courant ou de panne, n'ouvre pas la porte du congelateur : les produits surgelés et congelés se conservont ainsi sans problème pendant 9 - 14 heures environ.
! Si la température ambiente se maintain longuement audessous de 14^ , le compartment freezer n'arrive pas à atteindre les Températures indispensablees à une longue conservation et la période de conservation sera par conséquent réduite.
Mise hors tension
Pendant les opérations de nettoyage et d'entretien, mettez l'appareil hors tension en débranchant la fiche de l'appareil de la prise de courant :
Il ne suffit pas de placer le bouton de réglage de la température sur ● (appareil éteint) pour éliminer tout contact électrique.
Nettoyage de l'appareil
- Nettoyez l'extérieur, l'intérieur et les joints en caoutchouc à l'aide d'une éponge imbibée d'eau tiède additionné de bicarbonate de soude ou de savon neutre. N'utilise pas de solvants, de produits abrasifs, d'eau de Javel ou d'ammoniaque.
- mettez tremper les accessoires amovibles dans de l'eau chaude additionnelle de savon ou de liquide vaisselle. Rincez-les et essuyez-les soigneusement.
- Le dos de l'appareil a tendance à s'empoussiérer, pour éliminer la poussière avec délicatesse, après avoir étéint l'appareil et débranché la fiche, servez-vous d'un aspirateur montant un accessoire ajustat et régle sur une puissance intermédiaire.
Contre la formation de moissures et de mauvaises odeurs
- Cet apparéil est fabriqué dans des matériaux hygiéniques qui ne transmettent pas d'odeur. Pour sauvégarder cette caractéristique, voirlez à bien emballer et couvir vos alimentents. Vous évitez par la même occasion la formation de taches.
- Si vous doivent laisseriez votre apparéil êtreient pendant une période de temps prolongée, nettoyez-le bien l'intérieur et laisssez les portes ouvertes.
Dégivrage de l'appareil
! Conformez-vous aux instructions suivantes.
Ne pas utiliser d'objets pointus et coupants pour dégivrer l'appareil, ils risqueraient d'endommager irréparablement le circuit réfrigérant.
Dégivrage du compartmenté réfrigérateur
Le réfrigerateur est muni d'un système de dégivrage

automatique : l'eau est
acheminée vers la paroi
arrière par un trou
d'évacuation (voir figure) où
la chaleur produit par le
compresseur la fait
évaporer. Il vous suffit de
nettoyer périodiquement le
trou d'évacuation pour
permentre à l'eau de
s'écouler normalement.
Dégivrage du compartmentingéglateur
Si la couche de givre dépasse 5 mm, procédez à un dégivrage manuel :
- Amenez le bouton de REGLAGE DE LA TEMPERATURE sur ● .
- Enveloppez vos produits surgelés ou congelés dans du papier et placez-les dans un endroit frais.
- Laissez la porte ouverte jusqu'à ce que le givre fonde complètement; pour accélérer cette opération placez dans le compartment congélateur des recipients d'eau tiège.
- Nettoyez et séchez soigneusement le compartment congélateur avant de rallumer l'appareil.
- Avant da ranger vos alimentés dans le compartment congélateur, attendez environ 2 heures pour le rétablissement des conditions ideales de conservation des alimentés.
Remplacement de l'ampoule déclairage
Pour remplacer l'ampoule d'éclairage du compartment réfrigérateur, débranchez la fiche de la prise de courant. Suívez les indications fournies ci-dessous.

Pour pouvoir remplacer l'ampoule, demontez le couvercle de protection comme illustré (voir figure). Remplacez-la par une ampoule semblable dont la puissance doit correspond à celle indiquée sur le couvercle de protection (15 W ou 25 W).
! L'appareil a ete concu et fabriqu conformement aux normes internationales de securite. Ces conseils sont fournis pour des raisons de securite et doivent etre lus attentivement.

Cet apparéil est conforme aux Directives
Communautaires suivantes :
- 73/23/CEE du 19/02/73 (Basse Tensione) et modifications suivantes;
-89/336/CEE du 03/05/89 (Compatibilité
Electromagnétique) et modifications suivantes; - 2002/96/CE.
Sécurité générale
- Cet apparéil a été consçu pour un usage familial, de type non professionnel.
- Cet apparéil qui sert à conserver et à conçeler des alimentés ne doit être utilisé que par desadultes conformément aux instructions du mode d'emploi.
- Cet apparéil ne doit pas être installé en extérieur, même dans un endroit à l'abri, il est en effet très dangereux de le laisser exposé à la pluie et aux orages.
- Ne touchez pas à l'appareil pieds nus ou si vos mains ou pieds sont mouillés ou humides.
- Ne touchez pas aux parties refroidissantes : vous pourriez vous brûler ou vous blesser.
- Pour débrancher la fiche de la prise de courant, sortez la fiche, ne tirez sur tout pas sur le cable.
- Avant d'effectuer toute opération de nettoyage ou d'entretien, débranchez la fiche de la prise de courant. Il ne suffit pas de placer le bouton de REGLAGE DE LA TEMPERATURE sur ● (appareil éteint) pour éliminer tout contact électrique.
- En cas de panne, n'essayez enaucun cas d'acceder aux mécanismes internes pour tenter de réparer l'appareil.
- Ne pas utiliser, à l'intérieur des compartments de conservation pour alimentés congelés, d'ustensiles pointus et coupants ou d'appareils électriques d'un type autre que celui recommendé par le fabricant.
- Ne pas porter à la bouche des glaçons à peine sortis du congélateur.
- Ne permette pas aux enfants de jouer avec l'appareil. Il ne faut enaucun cas quils s'asseyent sur les tiroirs ou qu'ils s'accrochent à la porte.
- Les emballages ne sont pas des jouets pour enfants.
Mise au rebut
- Mise au rebut du matériel d'emballage : conformez-vous aux réglementations locales, les emballages pourront ainsi être recyclés.
- La Directive Européenne 2002/96/EC sur les Déchets des Equipements Electriques et Electroniques (DEEE), exige que les-appareils ménagers usages ne soient pas jetés dans le flux normal des déchets municipaux. Les appareils usages doivent être collectés séparément afin d'optimiser le taux de récapération et le recyclage des matériaux qui les composent et réduire l'impact sur la santé humaine et l'environnement. Le symbole de la "poubelle barrée" est apposée sur tous les produits pour rappeler les obligations de collecte séparée. Les consommateurs devront contacter les autorités locales ou leur revendeur concernant la démarche à suivre pour l'enlèvement de leur viel apparéil.
Economies et respect de l'environnement
- Installez votre apparéil dans un endroit frais et bien aéré, protégez-le contre l'exposition directe aux rayons du soleil et ne le placez pas pres de sources de chaleur.
- Pour introduire ou sortir les aliments, n'ouvrez les portes de l'appareil que le temps strictement nécessaire. Chaque ouverture de porte cause une considérable dépense d'énergie.
- Ne chargez pas trop votre apparéil : pour une bonne conservation des alimentés, le froid doit pouvoir circuler librement. Si la circulation est entravée, le compresseur travaillera en permanence.
- N'introduisez pas d'aliments chauds : ces derniers font monter la température interieure ce qui oblige le compresseur à travailler beaucoup plus en gaspillant un tas d'électricité.
- Dégivrez l'appareil dés que de la glace se dépose (voir Entretien); une couche de glace trop épaissse gène considérablement la cession de froid aux alimentés et augmente la consommation d'électricité.
- Gardez toujours les joints propres et en bon état pour qu'ils adhérent bien aux portes et ne laissent pas le froid s'échapper (voir Entretien).
Il peut arriver que l'appareil ne fonctionne pas. Avant de téléphoner au service de dépannage (voir Assistance), contrôlez s'il ne s'agit pas d'un problème facile à résoudre à l'aide de la liste suivante.
Anomalies :
L'éclairage interieur ne s'allume pas.
Le réfrigérateur et le congélateur refroidissant peu.
Les alimentés gèlent à l'intérieur du réfrigérateur.
Le ventilateur PURE WIND ne tourne pas.
Le moteur est branché en permanence.
L'appareil est très bruyant.
La température est élevé à certains endroits de l'extérieur du réfrigérateur.
Formation de givre ou de gouttelettes d'eau sur la paroi arrêté du compartment réfrigérateur.
Il y a de l'eau dans le fond du réfrigérateur.
Causes / Solution possibles :
- La fiche n'est pas branchée dans la prise de courant ou pas assez enforcée pour qu'il y ait contact ou bien il y a une coupure de courant.
- Les portes ne ferment pas bien ou les joints sont abimés.
- Ouverture trop fréquence des portes.
- La position du bouton de REGLAGE DE LA TEMPERATURE n'est pas correcte
- Le réfrigerateur et le congélateur sont excessivement replis.
-
La température ambiente de travail du produit est inférieure à 14^ .
-
La position du bouton de REGLAGE DE LA TEMPERATURE n'est pas correcte
- Les alimentés touchent à la paroi arrêté.
- Le système PURE WIND ne se met en marche automatiquement que quand il est nécessaire afin de rétablier les conditions optimes dans le compartment réfrigérateur.
- La porte n'est pas bien fermée ou trop souvent ouverte.
- La température à l'extérieur est très élevé.
L'épaissur du givre dépasse 2-3 mm (voir Entretien). - L'appareil n'a pas etéinstallé bien à plat (voir Installation).
- L'appareil est installé entre des meubles ou des objets qui vibrent et font du bruit.
- Le gaz réfrigerant interne produit un léger bruit même quand le compresseur est à l'arrêt : il ne s'agit pas d'un défaut, c'est tout à fait normal.
- Les températures élevées sont nécessaires pour éviter la formation d'eau condensée dans des zones particulières du produit
- Il s'agit du fonctionnement normal du produit.
- Le trou d'évacuation de l'eau est bouché (voir Entretien).
Avant de contacter le centre d'Assistance :
- Vérifiez si vous pouvez résoudre l'anomalie vous-même (voir Anomalies et Remèdes).
Si, malgre tous ces contrôles, l'appareil ne fonctionne toujours pas et l'inconvénient persiste, faites appel au service après-vente le plus proche de chez vous.
Signalez :
- le type d'anomalie
- le modele de l'appareil (Mod.)
- le nombre de série (S/N)
Vous trouvrez tous ces renseignements sur l'étiquette signalétique placée dans le compartment réfrigérateur en bas à gauche.

Ne faites jamais appel à des techniciens non agrêés et refusez toujours des pieces détachées non originales.

Italiano, 1

English, 11

Français, 21

Espanol, 31
TAAN 25 V (FR)
Sumario
Instalación, 32
Notice Facile