L7FBR842E - Lave-linge AEG-ELECTROLUX - Notice d'utilisation et mode d'emploi gratuit
Retrouvez gratuitement la notice de l'appareil L7FBR842E AEG-ELECTROLUX au format PDF.
| Type de produit | Lave-linge frontal |
| Capacité de lavage | 8 kg |
| Vitesse d'essorage | 1400 tours/minute |
| Classe énergétique | A+++ |
| Consommation d'eau annuelle | 9900 litres |
| Dimensions approximatives | 85 x 60 x 55 cm |
| Poids | 70 kg |
| Alimentation électrique | 220-240 V |
| Puissance | 2000 W |
| Fonctions principales | Programmes de lavage variés, départ différé, contrôle de la mousse |
| Entretien et nettoyage | Filtres à nettoyer régulièrement, tambour à aérer |
| Pièces détachées et réparabilité | Disponibilité de pièces détachées, réparabilité facilitée |
| Sécurité | Verrouillage de porte, protection contre les débordements |
| Informations générales | Garantie de 2 ans, service après-vente disponible |
FOIRE AUX QUESTIONS - L7FBR842E AEG-ELECTROLUX
Questions des utilisateurs sur L7FBR842E AEG-ELECTROLUX
0 question sur cet appareil. Repondez a celles que vous connaissez ou posez la votre.
Poser une nouvelle question sur cet appareil
Téléchargez la notice de votre Lave-linge au format PDF gratuitement ! Retrouvez votre notice L7FBR842E - AEG-ELECTROLUX et reprennez votre appareil électronique en main. Sur cette page sont publiés tous les documents nécessaires à l'utilisation de votre appareil L7FBR842E de la marque AEG-ELECTROLUX.
MODE D'EMPLOI L7FBR842E AEG-ELECTROLUX
Merci d'avoircisionce produit AEG.Nous l'avons conqu pour qu'il vous offreet des performances irreprochables pour longtemps, en intégrant des technologies innovantes qui vous simplifient la vie grâce à des caractéristiques que vous ne trouvrez pasforcément sur des appareils ordinaires.Veuillez prendre quelques instantspour direcette noticeafin d'utiliser au moins votre apparieil.
Visitez notre site Internet pour :

Obtenir des conseils d'utilisation, des brochures, de l'aide, des informations : www.aeg.com/webselfservice

Enregistrez votre produit pour obtenir un meilleur service : www.registeraeg.com

Acheter des accessoires, consommables et pieces de rechange d'origine pour votre apparéil : www.aeg.com/shop
SERVICE APRÉS-VENTE
Utilisez toujours des pieces d'origine.
Avant de contacter le service après-vente, assurez-vous de dispose des informations suivantes : Modèle, PNC, numéro de série.
Youtrouvrezcesinformationsurla plaque signaletique.
Avertissement/Consignes de sécurité
Informations generales et conseils
Informations en matière de protection de l'environnement
Sous réserve de modifications.
1. INFORMATIONS DE SECURITÉ
Avant d'installer et d'utiliser cet apparéil, lisez soigneusement les instructions fournies. Le fabricant ne pourra être tenu pour responsable des blessures et dégâtés resultant d'une mauvaise installation ouutilisation. Conservez toujours les instructions dans un lieu sur et accessible pour vous y référer ultérieurement.
1.1 Sécurité des enfants et des personnes vulnérables
- Cet apparéil peut être utilisé par des enfants âgés d'au moins 8 ans et par des personnes ayant des capacités physiques, sensorielles ou mentales réduites ou dénuées d'expérience ou de connaissance, s'ils (si elles) sont correctement surveillé(e)s ou si des instructions relatives à l'utilisation de l' apparéil en toute sécurité leur ont été données et si les risques encourus ont été appréhendés.
- Ne laïsez pas les enfants jouer avec l'appareil.
- Les enfants de moins de 3 ans doivent être tenus éloignés de l'appareil en permanence lorsqu'il est en fonctionnement.
- Ne laissez pas les emballages à la portée des enfants et jetez-les convenablement.
- Ne laïsez pas les déterments à la portée des enfants.
- Tenez les enfants et les animaux éloignés de l'appareil lorsque la porte est ouverte.
- Si l'appareil est équipé d'un dispositif de sécurité enfants, nous vous recommendons de l'activer.
- Le nettoyage et l'entretien par l'usage ne doivent pas etre effectués par des enfants sans surveillance.
1.2 Sécurité générale
- Ne modifiez pas les caractéristiques de cet apparéil.
-
Respectez la charge maximale de 9kg (reportez-vous au chapitre « Tableau des programmes »).
-
La pression de l'eau en service au niveau du point d'entrée en provenance de l'arrivée d'eau doit être comprise entre 0,5 bar (0,05 MPa) et 8 bar (0,8 MPa).
- Les orifices d'aération situés à la base (si prênts) ne doivent pas être obstrués par de la moquette, un tapis, ou tout type de revêtement de sol.
- L'appareil doit être raccordé à l'arrivée d'eau à l'aide des tuyaux neufs fournis, ou d'autres tuyaux neufs fournis par le service après-vente agrée.
- N'utilisez pas de tuyaux provenant d'anciens apparéils.
- Si le cable d'alimentation est endommagé, il doit être remplace par le fabricant, un service de maintenance agrée ou un technicien qualifié afin d'eviter tout danger lié à l'électricité.
- Avant toute opération d'entretien, éteignez l'appareil et débranchez la fiche de la prise secteur.
- Ne pulverisez pas d'eau ni de vapeur à haute pression pour nettoyer l'appareil.
- Nettoyez l'appareil avec un chiffon humide. Utilisez uniquement des produits de lavage neutres. N'utilise pas de produits abrasifs, de tampons à récurer, de solvants ni d'objects métalliques.
2. CONSIGNES DE SECURITÉ
2.1 Installation
- Retirez l'intégralité de l'emballage et les boulons de transport.
- Conservez les boulons de transport en lieu sûr. Si l'appareil doit être de nouveau déplaced, les boulons doivent être réutilisés pour maintainir le tambour en place et éviter tout dégât interne.
- Soyez toujours vigilants lorsque vous déplacez l'appareil car il est lourd. Utilisez toujours des gants de sécurité et des chaussures fermées.
- N'installez pas et ne branchez pas un apparéil endommagé.
-
Suivez scrupuleusement les instructions d'installation fournies avec l'appareil.
-
N'installez pas l'appareil ou ne l'utilise pas dans un endroit où la température ambiente est inférieure à 0^ ou dans un endroit exposé aux intempérières.
- L'appareil doit être installé sur un sol plat, stable, résistant à la chaleur et propre.
Assurez-vous que de l'air circule entre l'appareil et le sol. - N'installez pas l'appareil directement au-dessus d'une évacuation dans le sol.
- Reglez les pieds pour laisser un espace suffisant entre l'appareil et le sol.
-
N'installez pas l'appareil dans un endroit où il ne pourrait pas'être complètement ouvert.
-
Ne placez aucun récipient sous l'appareil pour récapuerer tout évientuel écoulement. Contactez le service après-vente agréé pour connaître les accessoires disponibles.
2.2 Branchement électrique
L'appareil doit etre relié à la terre.
Utilisez toujours une prise de courant de sécurité correctement installée.
- Vérifiez que les paramètres figurant sur la plaque signalétique correspondent aux données électriques de votre réseau.
- N'utilisez pas d'adaptateurs multiprises ni de rallonges.
- Veillez à ne pas endommager la fiche secteur ni le cable d'alimentation. Le remplacement du cordon d'alimentation de l'appareil doit être effectué par notre service après-vente agrée.
- Ne branche la fiche d'alimentation à la prise de courant qu'à la fin de l'installation. Assurez-vous que la prise de courant est accessible une fois l'appareil installé.
- Ne touchez jamais le cable d'alimentation ni la fiche avec des mains mouillées.
- Ne tirez jamais sur le cable d'alimentation pour débrancher l'appareil. Tirez toujours sur la fiche.
- Cet apparéil est conforme aux directives CEE.
2.3 Raccordement à l'arrivée d'eau
Veillez a ne pas endommager les tuyaux de circulation d'eau.
- Avant d'installer des tuyaux neufs, des tuyaux n' ayant pas servi depuis longtemps, lorsqu'une réparation a été effectue ou qu'un nouveau dispositif a été installé (compteurs d'eau, etc.), laissez l'eau s'écouler jusqu'à ce qu'elle soit parfaitement propre et claire.
- Pendant et après la première utilisation de l'appareil, vérifie qu'aucune fuite n'est visible.
2.4 Utilisation

AVERTISSEMENT!
Risque de blessure, de chocolélectrique, d'incendie, debrûlures ou de dommagematériel à l'appareil.
- Cet apparéil est exclusivement destiné à une utilisation domestique.
- Suivez les consignes de sécurité figurant sur l'emballage du produit de lavage.
- Ne placez pas de produits inflammables ou d' éléments imbibés de produits inflammables à l'intérieur ou à proximé de l'appareil, ni sur celui-ci.
Veillez à retirer tout objet métallique du linge. - Ne lavez pas les textiles très tachés par de l'huile, de la graisse ou une autre substance grasse. Cela pourrait endommager les pieces en caoutchouc du lave-linge. Prélavez de tels articles à la main avant de les introduire dans le lave-linge.
- Ne touchez pas la vitre du hublot pendant le déroulement d'un programme. La vitre peut être chaude.
2.5 Maintenance
- Pour réparer l'appareil, contactez un service après-venture agreé.
Utilisez exclusivement des pieces d'origine.
2.6 Mise au rebut

AVERTISSEMENT!
Risque de blessure ou d'asphyxie.
- Débranche l'appareil de l'alimentation électrique et de l'arrivée d'eau.
- Coupe le cable d'alimentation au ras de l'appareil et metteze-le au rebut.
- Retirez le dispositif de verrouillage du hublot pour empêcher les enfants et les animaux de s'enfermer dans le tambour.
- Jetez l'appareil en vous conformant aux exigences locales relatives à la mise au rebut des Déchets
d'équipements électriques et électroniques (DEEE).
3. INSTALLATION

AVERTISSEMENT!
Reportez-vous aux chapitres concernant la sécurité.
3.1 Déballage

AVERTISSEMENT!
Retirez l'intégrité de l'emballage et les boulons de transport avant d'installer l'appareil.

AVERTISSEMENT!
Servez-vous de gants.
- Retirez le film externe. Si nécessaire, utilisez un cutter.

- Retirez la partie supérieure en carton et tous les matériaux d'emballage en polystyrene.

- Retirez le film interne.

- Ouvrez le hublot et retirez la cale en polystyrene du joint du hublot, ainsi que tous les articles présents dans le tambour.

- Couchez avec soin l'appareil sur le dos.
- Placez le bloc en polystyrene de l'avant au sol, sous l'appareil.

Assurez-vous de ne pas endommager les tuyaux.

- Retirez la protection en polystyrene en bas de l'appareil.

8. Remettez l'appareil en position verticale.

9. Retirez le cable d'alimentation électrique et le tuyau de vidange de leurs supports.
Il est possible de voir de l'eau s'écouler du tuyau d'évacuation. Cette eau provient des tests effectuels sur l'appareil en usine.

10. Dévissez les trois boulons à l'aide de la clé fournie avec l'appareil.

11. Retirez les entreprises en plastique.

12. Placez les caches en plastique, fournis dans le sachet du manuel d'utilisation, dans les trous.

Nous vous recommendons de conserveir l'emballage et les boulons de transport en vue d'un évientuel déplacement de l'appareil.
3.2 Positionnement et mise de niveau
- Placez l'appareil sur un sol plat et dur.

Assurez-vous que la circulation de l'air sous l'appareil ne soit pas entravée par des tapis. Veillez à ce que l'appareil ne touche pas le mur ni d'autres éléments.
- Desserrez ou serrez les pieds jusqu'à ce que l'appareil soit de niveau.

AVERTISSEMENT!
Ne placez ni carton, ni bois, ni autre matériel sous les pieds de l'appareil pour lemettre de niveau.

L'appareil doit être de niveau et stable.

Une mise de niveau correcte évite les vibrations, le bruit ou des déplacements de l'appareil au cours de son fonctionnement.

3.3 Tuyau d'arrivée d'eau
- Raccordez le tuyau d'arrivée d'eau à l'arrière de l'appareil.
- Placez-le vers la droite ou la gauche, en fonction de la position de votre robinet d'eau.


Assurez-vous que le tuyau d'arrivée d'eau n'est pas en position verticale.
- Si nécessaire, desserrez la bague de serrage pour bien le positionner.
- Raccordez le tuyau d'arrivée d'eau à un robinet d'eau froide fileté (3/4 pouce).


ATTENTION!
Assurez-vous que les raccords ne fuient pas.

N'utilisez pas de rallonge si le tuyau d'alimentation est trop court. Contactez le service après-vente pour replacer le tuyau d'alimentation.
3.4 Dispositif d'arrêt de l'eau
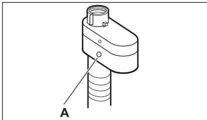
Le tuyau d'arrivée d'eau est équipé d'un dispositif de protection contre les dégats des eaux. Si le tuyau devait se déterminer à cause d'une usure naturelle, ce dispositif bloquerait l'arrivée d'eau à l'appareil.
La partie rouge dans la fenêtre « A » témoine de ce dysfonctionnement.

Dans ce cas, fermez le robinet d'arrivée d'eau et contactez le service après-vente agréé pour faire remplacer le tuyau.
3.5 Vidange de l'eau
Le tuyau de vidange doit être installé à une hauteur du sol comprise entre 60 et 100 cm.
Il est possible de raccorder le tuyau de vidange de différentes façons :
- Formez un U avec le tuyau de vidange et placez-le autour du guide de tuyau en plastique.

- Sur le bord d'un évier: attachez le guide au robinet d'eau ou au mur.

Veiliez à ce que le guide de tuyau en plastique ne puisse pas se déplacer lors de la vidange de l'appareil.


Vérifiez que l'extrémité du tuyau de vidange n'est pas plongée dans l'eau. Il pourrait y avoir un reflux d'eau sale dans l'appareil.
- À une conduite fixe dotée d'une ventilation spéciale : insérez directement le tuyau dans la conduite d'évacuation. Reportez-vous à l'illustration.


L'extrémité du tuyau de vidange doit être ventilée en permanence, c'est-à-dire que le diamètre interne du conduit d'évacuation (minimum 38 mm - min. 1,5 po) doit être supérieur au diamètre externe du tuyau de vidange.
- Si l'extrémité du tuyau de vidange ressemble à l'image, vous pouvez l'insérer directement dans la conduite fixe.

- Sans le guide de tuyau en plastique : Placez le tuyau de vidange dans le siphon et serrez-le avec une attache. Reportez-vous à l'illustration.


Veiliez à ce que le tuyau de vidange fasse une boucle afin d'éviter que des particules passent de l'évier à l'appareil.
- Placez le tuyau directement dans une conduite de vidange murale intégrée et serrez-le avec une attache.
4. DESCRIPTION DE L'APPAREIL
4.1 Caracteristiques speciales
Votre nouveau lave-linge répond à toutes les exigences modernes pour un traitement du linge efficace et respectieux, en réduisant la consommation d'eau, d'énergie et de produit de lavage.
La technologie Oko-Mix a etecoune pour proteger les fibres des tissus grace aux differentes phases de pre-melange qui dissolvent d'abord le produit de lavage puis l'assouplissant dans I'eau avant de les libérer dans le linge. Ainsi, chaque fibre est traitée et lavée.
- La technologie ProSense détecte la quantité de linge et calcule la durée du programme en 30 secondes. Le programme de lavage est défini sur mesure pour la charge et le type de linge, sans consommer davantage de

La longueur maximale du tuyau de vidange est de 400 cm. Contactez le service après-vente agree pour obtenir d'autres longueurs de tuyaux de vidange et des rallonges.
temps, d'énergie ou d'eau que nécessaire.
- La vapeur est un moyen rapide et simple de rafraîchir les vêtements. Les programmes à la vapeur éliminent les odeurs et les pris en douceur sur les textiles secs, facilitant ainsi le repassage.
L'option Vapeur Plus termine chaque cycle par une phase de vapeur douce qui détend les fibres et réduit le froissage. Le repassage est alors plus simple!
L'option Taches pré-traite les taches tenaces pour optimiser l'efficacité du detachant. - Grâce à l'option Douceur Plus, l'assouplissant est réparti de façon uniforme sur le linge et pénétre en profondeur dans les fibres pour une douceur parfaite.
4.2 Vue d'ensemble de l'appareil

1 Plan de travail
2 Distributeur de produit de lavage
3 Bandeau de commande
4 Poignée d'ouverture du hublot
5 Plaque signalétique
6 Filtre de la pompe de vidange
7 Pieds pour la mise de niveau de l'appareil
8 Tuyau de vidange
9 Raccord du tuyau d'arrivée d'eau
10 Câble d'alimentation électrique
11 Boulons de transport
12 Support du tuyau
5. BANDEAU DE COMMANDE
5.1 Description du bandeau de commande

1 Selecteur de programme
2 Affichage
3 Appuyez sur la touche Eco (Eco)

4 Touche Gain de temps (Gain de Temps)
5 Touche Rincage plus (Rincage)
- Option Rinçage plus (Rinçage Plus)
- Annuler la phase de lavage - option Rincage uniquement (Rincage)
6 Touche Départ/Pause (Départ/Pause)
7 Touche Taches/Prélavage (Taches/ Prélavage)
Option Taches (Taches)
- Option Préavage (Préavage)
8 Touche Départ différé (Départ Différé)
9 Touche Vapeur Plus (Vapeur Plus)
10 Touche Réduction d'essorage (Essorage)
Option Arrêt cupe pleine
- Option Silence
- Annulation des phases de lavage et d'essorage - Option Essorage uniquement (Options)
Annulation des phases de lavage, de rincage et d'essorage - Option Vidange uniquement (Vidange)
11 Touche Température (Temp.)
12 Touche Marche/Arrêt (Marche/Arrêt)
5.2 Affichage

| 90kg | Voyant de charge maximale. Levoyant kg clignote lors de l'estimation de la charge de linge (consultez le paragraph « Détention de la charge ProSense »). |
| MAX | Voyant de charge maximale. Il clignote si la charge de linge dépasse la charge déclarée. |
| -0 | Voyant Hublot verrouillé. |
| ® | Indicateur Départ différé. |
| 000 | L'indicateur numérique peut afficher : • La durée du programme (par ex. 240) • Le département différé (par ex. 30 ou 2h) • La fin du cycle (1) • Un code d'alarme (par ex. 620). |
| III | Voyant de phase de lavage. Il clignote au cours des phases de prélavage et de lavage. |
| Voyant de phase de rinçage. Il clignote durant la phase de rinçage. | |
| + | Lorsque l'options Soft Plus est activée, l'indicateur + apparait. |
| Voyant des phases d'essorage et de vidange. il clignote au cours des phases d'essorage et de vidange. | |
| MIX | Voyant OKO-Mix. |
| Voyant de phase Vapeur. | |
| Voyant de phase anti-froissage. | |
| Voyant Sécurité enfants. | |
| ECO | Voyants d'économies d'énergie. Levoyant ∟ apparait en sélectionnant un programme pour le coton à 40 °C ou 60 °C. |
| Voyant Gain de temps. | |
| 400 | Indicateur de vitesse d'essorage. |
| Voyant Arrêt cuve pleine. | |
| dB | Voyant Silence. |
| 88 | Indicateur de température. Le voyageant × apparait lorsque vous selectionnez un lavage à froid. |
6. MANETTES ET TOUCHES
6.1 Marche/Arrêt
Appuyez sur cette touche pendant quelques secondes pour allumer et eteindre l'appareil. Deux differents signaux sonores retentissent lorsque vous allumez ou eteignez l'appareil.
La fonction Veille eteint automatiquement l'appareil pour réduire la consommation d'énergie. Par
consequent, dans certains cas, il se peut que vous deviez le rallumer.
Pour plus de détails, reportez-vous au paragraphe « Veille » du chapitre « Utilisation quotidienne »
6.2 Introduction

Les options / fonctions ne sont pas compatibles avec tous les programmes de lavage. Vérifie la compatibilité entre les options / fonctions et les programmes de lavage dans le « Tableau des programmes ». Une option / fonction peut exclure l'autre; dans ce cas, l'appareil ne permet pas de programmer ensemble des options / fonctions incompatibles.
6.3 Temp.
Lorsque vous sélectionnez un programme de lavage, l'appareil propose automatiquement une température par défaut.
Appuyez à plusieurs reprises sur cette touche jusqu'à ce que la température souhaitation s'affiche.
Lorsque et - s'affichent, l'appareil ne chauffe pas l'eau.
6.4 Essorage
Lorsque you selectionnez un programme, l'appareil règle automatiquement la vitesse d'essorage maximale permise.
Appuyez à plusieurs reprises sur cette touche pour :
- Diminuer la vitesse d'essorage.

Seules les vitesses disponibles pour le programme sélectionné s'affichent.
- Activer l'option Arrêt cuve pleine. L'essorage final est annulé. L'eau du dernier rincege n'est pas evacuée afin d'éviter le froissage du linge. Le programme de lavage se termine avec de l'eau dans le tambour. L'indicateur s'allume. Le hublot reste fermé et le tambour tourne régulièrement pour éviter que le linge
ne se froisse. Vous devez vidanger
l'eau pour pouvoir ouvrir le hublot.
Si vous appuyez sur la touche Départ/
Pause, l'appareil effectue une phase
d'essorage et vidange l'eau.

L'appareil vidange l'eau automatiquement au bout d'environ 18 heures.
Activez l'option Silence.
Les phases d'essorage intermédiaire et final sont supprimées et le programme se termine avec de l'eau dans le tambour. Cela réduit le froissage du linge.
L'indicateur dB s'allume. Le hublot reste verrouillé. Le tambour tourne régulierement pour éviter que le linge ne se froisse. Vous doivent vidanger l'eau pour pouvoir ouvrir le hublot. Ce programme étant très silencieux, il peut être utilisé de façon optimale la nuit, aux heures creuses, lorsque les tarifs de l'électricité sont plus bas.
Certsains programmes utilisent plus d'eau lors du rinçage.
Si vous appuyez sur la touche Départ/ Pause, l'appareil n'effectue que la phase de vidange.

L'appareil vidange l'eau automatiquement au bout d'environ 18 heures.
- Option Vidange (annulation des phases de lavage, de rinçage et d'essorage).
L'appareil effectue uniquement la phase de vidange du programme de lavage sélectionné.
L'indicateur - (froid), l'indicateur - (sans essorage) et l'indicateu ⑥ apparaisent.
- Option Options (annulation des phases de lavage et de rincavage).
L'appareil effectue uniquement la phase d'essorage du programme de lavage sélectionné.
L'indicateur - (froid), l'indicateur de phase et la vitesse d'essorage s'affichent.
Si vous devez réduire la vitesse d'essorage, sélectionnez un programme ayant par défaut une vitesse d'essorage basse.
6.5 Taches/Prélavage
Appuyez à plusieurs reprises sur la touche pour activer une des deux options, ou les deux.
L'indicateur correspondant s'affiche.
Taches
Selectionnez cette option pour prétraiter les vêtements très sales ou tachés avec un détachant.
Versez le détachant dans le compartmenté. Le détachant est préalablement mélangé et chauffé avec le détergent afin d'améliorer son efficacité.
i Cette option n'est pas disponible avec des températures de lavage inférieures à 40^
- Préavage
Utilisez cette option pour ajouter une phase de prélavage à 30^ avant la phase de lavage.
Cette option est recommendée pour le linge très sale, tout particulièrement s'il contient du sable de la poussière, de la boue ou d'autres particules solides.
i ⑤ ⑥ ⑦ ⑧ ⑨ ⑩ ⑪ ⑫ ⑬ ⑭ ⑮
6.6 Vapeur Plus
Cette option ajoute une phase vapeur, suivie par une courte phase anti-froissage à la fin du programme de lavage.
La phase vapeur réduit les pris sur le linge et facilitite son repassage.
L'indicateur clignote sur l'affichage durant la phase vapeur.
i ⑤ ⑥ ⑦ ⑧ ⑨
Lorsque le programme s'arrête, un zéro s'affiche ①, le voyant ② est fixe et le voyant ③ commence à clignoter. Le tambour effectue des mouvements deux pendant environ 30 minutes pour conserver les bénéfices de la vapeur. En appuyant sur une touche, les mouvements anti-froissage s'arrêtent et le hublot se déverrouille.
i Une petite quantité de linge aide à atteir de mêleurs résultats.
6.7 Départ Différé
Cette option vous permet de différer le départ du programme à un moment qui vous convient比较好.
Appuyez à plusieurs reprises sur la touche pour sélectionner le délambda souhaité. Le temps augmente par paliers de 30 minutes jusqu'à 90 minutes, puis de 2 heures à 20 heures.
Après avoir appuyé sur la touche Départ/ Pause, l'indicateur et le délambda seLECTIONné s'affichent, et l'appareil commence son décompte.
6.8 Rinçage
Avec cette touche, vous pouvez sélectionner l'une des options suivantes :
- Rincage Plus option
- Cette option permet d'ajouter quelques rincages en fonction du programme de lavage sélectionné. Utilisez cette option pour les personnes allergiques aux résidues de produits de lavage et dans les régions où l'eau est douce.
i ⑤ ⑥ ⑦ ⑧ ⑨ ⑩ ⑪ ⑫ ⑬ ⑭ ⑮ ⑯ ⑰ ⑱
- Annuler la phase de lavage - option Rincage L'appareil effectue uniquement les phases de rincage, d'essorage et de vidange du programme selectionné. Levoyant correspondant s'allume audressus de la touche.
6.9 Gain de Temps
Cette option vous permet de diminuer la durée d'un programme.
- Si votre linge est normalement ou légèrement sale, il est préféable de réduire la durée du programme de lavage. Appuyez une fois sur cette touche pour diminuer la durée.
- Si la charge est petite, appuyez deux fois sur cette touche pour sélectionner un programme extra court.
L'indicateur allume.

Cette option peut également être utilisée pour diminuer la durée du programme Vapeur.
6.10 Éco
Selectionnez cette option pour le lingel légèrement ou normalement sale, lavé à 30^ ou plus.
L'appareil diminue la température et rallonge la durée du lavage pour obtenir un lavage efficace tout en économisant de l'énergie. L'indicateur ECO s'allume.

Si vous seLECTIONnez le programme Coton à 40 °C ou 60 °C et qu'une autre option n'est seLECTIONnée, l'indicateur ÉCO s'affiche ; il s'agit des programmes standard pour le coton, les plus efficaces en termes de consommations d'eau et d'énergie combinées.
6.11 Départ/Pause
Appuyez sur la touche Départ/Pause pour démarrer l'appareil, leMETTE en pause ou interrompre un programme en cours.
7. PROGRAMMES
7.1 Tableau des programmes
Programmes de lavage
| Programme | Description du programme | ||
| Programmes de lavage | |||
| Blanc/Couleurs | Coton blanc et couleurs. Normalement sale ou légèrement sale. Programmes standard pour les valeurs de consommation de l'étiquette énergétique. Conformément à la nor-me 1061/2010, le programme « Blanc/Couleurs à 60 °C et leprogramme « Blanc/Couleurs à 40 °C avec l'options sontrespectivement le « programme standard à 60 °C pour le co-ton » et le « programme standard à 40 °C pour le coton ». Cesont les programmes les plus économomes en termes de consommation d'eau et d'électricité pour laver du linge en cotonnormalement sale. La température de l'eau de la phase de lavage peut différer de la température indiquée pourle programme sélectionné. | ||
| Synthétiques | Articles en textiles synthétiques ou mixtes. Normalementsale. | ||
| Programme | Description du programme | ||
| Délicats | Textiles délicats comme l'acrylique, la viscose et les tissus mélangés nécessitant un lavage en douceur. Normalement sale. | ||
| Laine/Soie | Lainages lavables en machine, laine livable à la main et autres textiles portant le symbole « livable à la main » 1) | ||
| Programme vapeur | |||
| Vapeur | Programme vapeur pour les articles en cotton et textiles synthétiques. La vapeur peut être utilisée pour le linge sec2) Linge propre ou porté une seule fois. Ce programme réduit les pris et les odeurs3) et détend les fibres. Lorsque le programme est terminé, retirez rapidement le linge du tambour. ÀpRES un programme Vapeur, le repassage est facilitÉ. N'utiliseaucuin produit de lavage. En cas de besoin, nettoyez les taches en effetuant un cycle de lavage ou à l'aide d'un produit détant à application locale. Les programmes Vapeur n'effectuent pas de cycle de lavage hygiénique. Ne sélectionné pas le programme Vapeur pour ces types d'articles :• Linge non adapté au sèche-linge.• Tous les articles contenant des pieces en plastique, métal, bois ou équivalent. | ||
| Programmes de lavage | |||
| ÖKOPower | Articles en cotton et synthétiques couleur grand teint. Un programme de lavage complet qui lave intensément, en seulement 59 minutes, le linge sale quotidien et qui garantit de bonnes performances de lavage en peu de temps. | ||
| Anti-Allergie | Articles en cotton blanc. Ce programme élimine les micro-organismes grâce à une phase de lavage à une température maintainue à plus de 60 °Cpendant quelques minutes. Cela permet d'éliminer les germes, bacteriés, micro-organismes et particules. Pour garantir une parfaite élimination des résidues de détergent et des particules de pollen ou autres allergènes sur les textiles, effectuez une phase de rinçage supplémentaire. Le lavage est ainsi plus efficace. | ||
| Vêtements en coton et synthétiques légèrement sales ou portés une seule fois. | |||
| Programme | Description du programme | ||
| Outdoor | iN'utilisez pas d'adoucissant et assurez-vous que le distributeur de produit de lavage ne contient pas de résidus d'adoucissant. | Vêtements d'extérieur, de travail, de sport, imperméables et tissus perméables à l'air, vestes à molleton ou doublure isolante amovibles. La charge de linge recommandée est de 2.5 kg.Ce programme peut également être utilisé comme cycle de restauration de l'imperméabilité. Il est spécialement liéqu pourtraits les vêtements dotés d'un revêtement hydrophobi-que. Pour effectuer un cycle de restauration de l'imperméabili-té, procédez comme suit :· Versez le produit de lavage dans le compartment [II].· Versez un produit de restauration spécial pour vêtements imperméables dans le compartment pour l'adoucissant [3].· Réduisez la charge de linge à 1 kg. | |
| Jeans | Des articles en jean ou en jersey. Normalement sale. Ce programme effectue une phase de rinçage en douceur idéale pour les articles en jean, qui réduit le délavage et empêche les résidus de lessive en poudre de s'accrocher aux fibres. | ||
| 1)Durant ce cycle, le tambour tourne lentement pour garantir un lavage en douceur. Le tambour peut donner l'impression de ne pas tourner, ou de ne pas tourner correctement, mais son fonctionnement est normal pour ce programme. | |||
| 2)Si vous sélectionnez un programme Vapeur avec du linge sec, il sera humide à la fin du cycle. Étendez le linge pour le faire sécher pendant environ 10 minutes. | |||
| 3)Le programme Vapeur n'élimine pas particulièrement les odeurs intensés. | |||
| Température du programme, vitesse d'essorage maximale et charge maximale | |||
| Programme | Température par défautPlage de tempé-ratures | Vitesse d'essorage maxi-malePlage de vitesses d'esso-rage | Charge maxi-male |
| Programmes de lavage | |||
| Blanc/Couleurs | 40 °C95 °C - Froid | 1400 tr/min1400 tr/min - 400 tr/min | 9 kg |
| Programme | Température par défaut Plage de tempé-ratures | Vitesse d'essorage maxi-male Plage de vitesse d'esso-rage | Charge maxi-male |
| Synthétiques | 40 °C | 1200 tr/min | 4 kg |
| 60 °C - Froid | 1200 tr/min - 400 tr/min | ||
| Délicats | 40 °C | 1200 tr/min | 4 kg |
| 40 °C - Froid | 1200 tr/min - 400 tr/min | ||
| Laine/Soie | 40 °C | 1200 tr/min | 2 kg |
| 40 °C - Froid | 1200 tr/min - 400 tr/min | ||
| Programme vapeur | |||
| Vapeur | - | - | 1.5 kg |
| Programmes de lavage | |||
| ÖKOPower | 30 °C | 1400 tr/min | 5 kg |
| 60 °C - 30 °C | 1400 tr/min - 400 tr/min | ||
| Anti-Allergie | 60 °C | 1400 tr/min | 9 kg |
| 1400 tr/min - 400 tr/min | |||
| 30 °C | 1200 tr/min | 3 kg | |
| 40 °C - 30 °C | 1200 tr/min - 400 tr/min | ||
| Outdoor | 30 °C | 1200 tr/min | 2.5 kg1) |
| 40 °C - Froid | 1200 tr/min - 400 tr/min | 1 kg2) | |
| Jeans | 40 °C | 1200 tr/min | 9 kg |
| 60 °C - Froid | 1200 tr/min - 400 tr/min | ||
1)Programme de lavage.
2) Programme de lavage et phase d'imperméabilisation.
Compatibilité des options avec les programmes
| Programme | Blanc/Couleurs | Synthétiques | Délçats | Laine/Soi | Vapeur (1) | ÖKOPower | Anti-Allergie | Outdoor (2) | Jeans |
| Options | |||||||||
| Essorage | ■ | ■ | ■ | ■ | ■ | ■ | ■ | ■ | ■ |
| Programme | Blanc/Coulours | Synthétiques | Délicats | Laine/Soi | Vapeur (1) | ÖKOPower | Anti-Allergie | Outdoor | Jeans |
| Options | |||||||||
| □ | ■ | ■ | ■ | ■ | ■ | ■ | ■ | ||
| dB | ■ | ■ | ■ | ||||||
| Vidange | ■ | ■ | ■ | ■ | ■ | ■ | ■ | ||
| Options | ■ | ■ | ■ | ■ | ■ | ■ | ■ | ||
| Taches 1) | ■ | ■ | ■ | ■ | ■ | ||||
| Prélavage | ■ | ■ | ■ | ■ | ■ | ||||
| Rinçage Plus | ■ | ■ | ■ | ■ | ■ | ■ | |||
| Rinçage | ■ | ■ | ■ | ■ | ■ | ■ | ■ | ■ | |
| ECO2) | ■ | ■ | ■ | ■ | |||||
| Gain de Temps 3) | ■ | ■ | ■ | ■ | ■ | ||||
| Départ Différé | ■ | ■ | ■ | ■ | ■ | ■ | ■ | ■ | ■ |
| Vapeur Plus1) | ■ | ■ | ■ | ■ | |||||
| Douceur Plus | ■ | ■ | ■ | ■ | ■ | ■ |
1) Cette option n'est pas disponible avec des températures de lavage inférieures à 40^ .
2) Cette option n'est pas disponible avec des températures de lavage inférieures à 30^ .
3) Si vous Sélectionné la durée la plus courte, nous vous recommendons de réduire la charge de linge. Il est possible de charger entière le lave-linge, mais les résultats du lavage seront alors moins bons.
7.2 Woolmark Apparel Care - Vert

Le cycle Laine de cet appeareil a ete approuve par la société Woolmark pour
le lavage des vêtements en laine portant une étiquette « lavage à la main», sous réserve que les vêtements soient lavés conformément aux instructions du fabricant de ce lave-linge. Consultez l'étiquette d'entretien du vêtement pour plus d'instructions sur le séchage et le lavage. M1361
Au Royaume-Uni, en Irlande, à Hong Kong ainsi qu'en Inde, le symbole Woolmark est une marque de certification.
8. RÉGLAGES
8.1 Sécurité enfants
Avec cette option, vous pouvez empêcher les enfants de jouer avec le bandeau de commande.
Pour activer/désactiver cette option, appuyez simultanément sur les touches Taches/Prélavage et Options jusqu'à ce que levoyant s'allume/s'éteigne sur l'affichage.
Vous pouvez activer cette option :
- Àprous avoir appuyé sur la touche Départ/Pause : toutes les touches et le sélecteur de programme sont désactivés (à l'exception de la touche Marche/Arrêt).
- Avant d'appuyer sur la touche Départ/Pause : l'appareil ne peut pas démarrer.
Après avoir étéint l'appareil, cette option reste sélectionnée.
8.2 Signaux sonores
Cet apparéil est doté de signaux sonores différences qui se déclenchent lorsque :
- Vous allumez l'appareil (signal court spécial).
- Vous éteignez l'appareil (signal court spécial).
- Vous appuyez sur une touche (click).
- Vous avez effectué une mauvaise sélection (3 signaux courts).
- Le programme est terminé (suite de signaux pendant environ 2 minutes).
L'appareil présente une anomalie de fonctionnement (suite de signaux courts pendant environ 5 minutes).
Pour désactiver/activer les signaux sonores lorsqu'le programme est
terminé, appuyez simultanément sur les touches Taches/Prélavage et Départ Différé pendant environ 6 secondes.
i
Si vous désactivez les signaux sonores,ils continueront a retentir si l'appareil presente une anomalie.
8.3 Rinçage plus permanent
Cette fonction vous permet de maintainir la fonction Rinçage Plus en permanence lorsque vous sélectionnez un nouveau programme.
Pour activer/desactiver cette option, appuyez simultanément sur les touches Rinçage et Taches/Prélavage jusqu'à ce que levoyant Rinçage Plus s'allume/s'éteigne.
8.4 Douceur Plus
Selectionnez l'option Douceur Plus pour optimiser la distribution d'assouplissant et rendre le linge plus doux.
Il est recommendé lorsque vous utilisez de l'assouplissant.
i
Cette option augmente légèrement la durée du programme.
Pour activer/désactiver cette option, appuyez simultanément sur les touches Temp. et Options jusqu'à ce que le voyant + s'allume/s'éteigne au-dessus de l'indicateur
9. AVANT LA PREMIÈRE UTILISATION
- Assurez-vous d'avoir retiret tous les boulons de transport de l'appareil.
- Assurez-vous que l'alimentation électrique fonctionne et que le robinet d'eau est ouvert.
- Versez 2 litres d'eau dans le compartment à lessive indiqué par [III].
Cela active le système de vidange.
- Versez une petite quantité de produit de lavage dans le département indiqué par [I].
- Sélectionnez et faites démarrer, à vide, un programme pour le coton à la température la plus élevé possible.
Cela élimine toute salissure évientuelle du tambour et de la cuve.
10. UTILISATION QUOTIDIENNE

AVERTISSEMENT!
Reportez-vous aux chapitres concernant la sécurité.
10.1 Activation de l'appareil
- Branchez l'appareil sur le secteur.
- Ouvrez le robinet d'eau.
- Appuyez sur la touche Marche/Arrêt pendant quelques secondes pour allumer l'appareil.
Un signal court retentit (si activé). Le sélecteur de programme est automatiquement régé sur le programme Coton.
La charge maximale pour le programme, la température par défaut, la vitesse d'essorage maximale, les voyants des phases composant le programme et la durée du cycle s'affichent.
10.2 Chargement du linge
- Ouvrez le hublot de l'appareil.
- Dépliez-les le plus possible avant de les placer dans l'appareil.
- Mettez le linge dans le tambour, un article à la fois.
Assurez-vous de ne pas surcharger le tambour.
4. Fermez bien le hublot.


ATTENTION!
Veillez à ce qu'il n'y ait pas de linge coince entre le joint et le hublot. Cela pourrait provoquer une fuite d'eau ou endommager le linge.
10.3 Ajout du produit de lavage et des additifs


Compartment pour la phase de prélavage et le programme de trempage.

Compartment pour la phase de lavage.

Compartment réservé aux additifs liquides (assouplissant, amidon).

Niveau maximal pour la quantité d'additifs liquides.

Compartment réservé au detachant.

Volet pour produit de lavage en poudre ou liquide.

Suivez toujours les instructions imprimées sur l'emballage des produits de lavage, mais nous vous recommendons de ne pas dépasser le niveau maximal indiqué (MAX). Cette quantité vous garantira les meilleurs résultats de lavage.

Après un cycle de lavage, si nécessaire, éliminez les résidus de lessive du distributeur de produit de lavage.
10.4 Vérifiez la position du volet
- Tirez le distributeur de produit de lavage jusqu'à la butée.
- Appuyez sur le levier pour faire sortir le distributeur.

- Pour utiliser de la lessive en poudre, tournez le volet vers le haut.

- Pour utiliser de la lessive liquide, tournez le volet vers le bas.


Avec le volet en position BASSE:
N'tutilisez pas de lessives liquides gelatineuses ou epaisses.
- Ne verse pas de dessive liquide au-delà du niveau maximal indiqué sur le volet.
- Ne sélectionnez pas de phase de prélavage.
- Ne sélectionnez pas la fonction Départ différé.
- Dosez le produit de lavage et l'assouplissant.
- Fermez soigneusement le distributeur de produit de lavage.

Assurez-vous que le volet ne bloque pas la fermeture du tiroir.
10.5 Réglage d'un programme
- Tournez le sélecteur pour désiré le programme de lavage souhaïte. Le
voyant correspondant au programme s'allume.
Levoyant de la touche Départ/Pause clignote.
La charge maximale pour le programme, la température par défaut, la vitesse d'essorage maximale, les voyants de la phase de lavage (si disponibles) et une durée indicative du programme s'afficht.
- Pour modifier la température et/ou la vitesse d'essorage, appuyez sur les touches correspondantes.
- Si nécessaire, Sélectionnez une ou plusieurs options en appuyant sur les touches correspondantes. Les indicateurs correspondants s'affichent et les informations données changent en conséquence.

Si vous seLECTION n'est pas possible, aucun indicateur ne s'affiche et un signal sonore retentit.
10.6 Départ d'un programme
Appuyez sur la touche Départ/Pause pour lancer le programme.
Levoyant correspondant cesse de clignoter et reste fixe.
Sur l'affichage, levoyant de la phase en cours commence à clignoter et levoyant de la charge maximale s'éteint.
Le programme démarre et le hublot est verrouillé. L'indicateur s'allume.

La pompe de vidange peut momentarilyanément semettre en route lorsquel'appareil se remplit d'eau.
10.7 Départ d'un programme avec départ différé
- Appuyez à plusieurs reprises sur la touche Départ Différé jusqu'à ce que le département différé souhaite s'affiche.
Levoyant apparait.
- Appuyez sur la touche Départ/Pause. L'appareil démarre le décompte du département différé.
Lorsque le décompte est terminé, le programme démarre.

L'estimation de la fonction PROSENSE démarre à la fin du décompte.
Annulation du départ différé au cours du décompte
Pour annuler le départ différé :
- Appuyez sur la touche Départ/Pause pourmettre l'appareil en pause.Levoyant correspondant clignote.
- Appuyez à plusieurs reprises sur la touche Départ Différé jusqu'à ce que s'affiche.
- Appuyez de nouveau sur la touche Départ/Pause pour lancer le programme immédiatement.
Modification du départ différé au cours du décompte
Pour modifier le départ différé :
- Appuyez sur la touche Départ/Pause pourmettre l'appareil en pause.Levoyant correspondant clignote.
- Appuyez à plusieurs reprises sur la touche Départ Différé jusqu'à ce que le département différé souhaite s'affiche.
- Appuyez de nouveau sur la touche Départ/Pause pour lancer le nouveau décompte.
10.8 Détction de la charge ProSense

La durée du programme affichée se rapporte à une charge moyenne/élevée.
Après avoir appuyé sur la touche Départ/ Pause, l'indicateur de la charge maximale recommandée s'éteint, le voyant clignote, la fonction ProSense commence la détction de la charge de linge :
- L'appareil détecte la charge dans les 30 premières secondes : levoyant kg et les points indiquant la durée clignotent, le tambour tourne pendant un court moment.
- À la fin de la détction de la charge, le voyant kg s'éteint et les points indiquant la durée : cèssent de
clignoter. La durée du programme sera alors ajustée en conséquence et pourra être augmentée ou diminuée. Au bout de 30 secondes, le replissage d'eau commence.
À la fin de la détéction de la charge, en cas de surcharge du tambour, le voyant MAX clignote sur l'affichage :
Dans ce cas, pendant 30 secondes, il est possible demettre l'appareil en pause et de-retirer I'excedent de vetements.
Dès que vous avez retire l'excedent de vêtements, appuyez sur la touche Départ/Pause pour relancer le programme. La phase ProSense peut être repétée jusqu'à trois fois (voir point 1).
Important! Si vous ne réduisez pas la quantité de linge, le programme de lavage redémarre tout de même, malgré la surcharge. Dans ce cas, les résultats de lavage ne seront pas optimaux.

Environ 20 minutes après le départ du programme, la durée du programme peut de nouveau être ajustée en fonction de la capacité d'absorption de l'eau par les tissus.

La détction ProSense est uniquement effectuee pour les programmes de lavage complets (sans aucune phase supprimee).
10.9 Voyants de phase du programme
Lorsque le programme démarre, le voyant de la phase en cours clignote et les autres voyants de phase sont fixes.
Par ex., la phase de lavage ou de
prélabage est en cours:
Lorsque la phase se termine, levoyant correspondant cesse de clignoter et reste fixe. Le voyant de la phase suivante commence à clignoter.
Par ex., la phase de rincege est en cours :

Durant le cycle de lavage, l'appareil mélange le détergent, le détachant pour le traitement des tissus et/ou l'assouplissant avec de l'eau avant de les libérer dans le tambour. L'indicateur apparait et disparait sur l'affichage en fonction des différentes phases du programme (les flèches clignotent en alternance).
Si vous seLECTIONnez Vapeur Plus, les voyants de la phase à la vapeur s'allument.
La phase à la vapeur est en cours :

La phase anti-froissage est en cours :

10.10 Interruption d'un programme et modification des options
Lorsque le programme est en cours, vous ne pouvez changer que quelques options :
- Appuyez sur la touche Départ/Pause.
Levoyant correspondant clignote. - Modifiez les options. Les informations données sur l'affichage changent en conséquence.
- Appuyez à nouveau sur la touche Départ/Pause.
Le programme de lavage se poursuit.
10.11 Annulation d'un programme en cours
- Appuyez sur la touche Marche/Arrêt pour annuler le programme et éteindre l'appareil.
- Appuyez sur la touche Marche/Arrêt pour rallumer l'appareil.
Maintenant, you pouvez selectionner un nouveau programme de lavage.
Si la phase ProSense a déjà esté effectuée et que le remplissage d'eau a déjà commence, le nouveau programme démarre et la phase ProSense n'est pas répetée. L'eau et le produit de lavage ne sont pas vidangés afin d'éviter tout gaspillage. La durée maximaledu programme s'affiche et se met à jour environ 20 minutes après le départ du nouveau programme.
10.12 Ouverture du hublot

Si la température et le niveau de l'eau dans le tambour sont trop élevés et que le tambour continue de tourner, vous ne pouvez pas ouvrir le hublot.
Pendant le déroulement d'un programme ou du départ différé, le hublot de l'appareil est verrouillé.
- Appuyez sur la touche Départ/Pause. Sur l'affichage, le voyant Hublot verrouillé s'eteint.
- Ouvrez le hublot de l'appareil. Si nécessaire, ajoutez ou retirez du linge.
- Fermez le hublot et appuyez à nouveau sur la touche Départ/Pause. Le programme ou le départ différé se poursuit.
10.13 Fin du programme
Lorsque le programme est terminé,
I'appareil s'éteint automatiquement. Les
signaux sonores retentissent (s'ils sont
activés).
Sur l'affichage, tous les voyants de la phase de lavage sont fixes et l'affichage du temps indique 0.
Levoyant de la toucheDépart/Pause s'étéint.
Le hublot se déverrouille et levoyant s'étéint.
- Appuyez sur la touche Marche/Arrêt pour éteindre l'appareil.
Cinq minutes après la fin du programme, la fonction d'économie d'énergie éteint automatiquement l'appareil.

Lorsque your rallumez l'appareil,le dernier programme selectionné s'affiche.Tournez le selector pourCHOISIR un nouveau cycle.
- Sortez le linge de l'appareil.
- Vérifiez que le tambour est vide.
- Laissez le hublot et la boîte à produits entrouverts pour éviter la formation de moisissures et l' apparition de mauvaises odeurs.
- Fermez le robinet d'eau.
10.14 Vidange de l'eau après la fin du cycle
Si vous avez selectionné un programme ou une option qui ne vidange pas l'eau du dernier rinçage, le programme se termine, mais :
L'indicateur, levoyant d'options oudB et levoyant Hublot fermé s'affichent. Levoyant de la phase en cours clignote.
Le tambour tourne toujours a intervals réguliers pour éviter que le linge ne se froisse.
Le hublot reste verrouillé.
- Vous doivent regardier l'eau pour pouvoir ouvrir le hublot :
- Si nécessaire, appuyez sur la touche Essorage pour diminuer la vitesse d'essorage proposée par l'appareil.
- Appuyez sur la touche Départ/ Pause :
Si vous avez selectionné l'appareil effectue la vidange et l'essorage.
Si vous avez selectionné dB, l'appareil effectue uniquement une vidange.
Levoyant de l'option ou s'esteint, tandis que levoyant clignote, puis s'esteint.
- Une fois le programme terminé et le voyant de verrouillage du hublot éteint, vous pouvez ouvrir le hublot.
- Appuyez sur la touche Marche/Arrêt pendant quelques secondes pour éteindre l'appareil.
i Dans tous les cas, l'appareil vidange I'eau automatiquement au bout d'environ 18 heures.
10.15 Option de mise en veille
La fonction Veille estint automatiquement l'appareil pour réduire la consommation d'énergie lorsque :
- Vous n'utilisez pas l'appareil pendant 5 minutes avant d'appuyer sur la touche Départ/Pause.
11. CONSEILS

AVERTISSEMENT!
Reportez-vous aux chapitres concernant la sécurité.
11.1 Chargement du linge
- Séparez le linge en fonction des articles : blancs, de couleurs, synthétiques, délicats et en laine.
- Respectez les instructions de lavage qui figurent sur les étiquettes des vêtements.
- Ne lavez pas les articles blancs et de couleur ensemble.
- Certains articles de couleurs peuvent déteindre lors des premiers lavages. Il est recommendé de les laver séparément les premières fois.
- Boutonnez les taires d'oreiller, fermez les fermétures à glissière et à pression et les crochets. Attachez les ceintures.
- Videz les poches et returnez-les.
- Retournez les tissus multi-couches, en laine et les articles portant des illustrations imprimées vers l'intérieur.
- Traitez au préalable les taches tenaces.
- Lavez les taches incrustées avec un produit spécifique.
- Traitez les rideaux avec précautions. Retirez les crochets et placez les
Appuyez sur la touche Marche/Arrêt pour rallumer l'appareil.
- Au bout de 5 minutes après la fin du programme de lavage.
Appuyez sur la touche Marche/Arrêt pour remettre l'appareil en marche. L'affichage indique la fin du dernier programme sélectionné.
Tournez le sélecteur pourCHOISIR un nouveau cycle.
i
Si vous seLECTIONnez un programme ou une option se terminant avec de l'eau dans le tambour, la fonction Veille n'eteint pas l'appareil pour vous rappeler qu'il faut vidanger I'eau.
rideaux dans un sac de lavage ou une taie d'oreiller.
- Ne lavez pas d'articles sans ourlet ou déchirés. Utilisez un sac de lavage pour les articles très petits et/ou délicats (par exemple les soutiens-gorge à armatures, les ceintures, les bas, etc.).
- Une très petite charge peut provoquer des problèmes d'équilibre et donc une vibration excessive pendant la phase d'essorage. Si cela se produit :
a. interrompez le programme et ouvre le hublot (reportez-vous au chapitre « Ouverture du hublot lorsqu'un programme ou le départ différé est en cours »);
b. répartisse la charge à la main pour que les articles soient disposés de façon homogène dans le tambour;
c. appuyez sur la touche Départ/ Pause. La phase d'essorage se poursuit.
11.2 Taches tenaces
Pour certaines taches, l'eau et les produits de lavage ne suffisent pas.
Il est recommandé de pré-traiter ces taches avant demettre les articles dans l'appareil.
Des détachants spéciaux sont disponibles. Utilisez le détachant spécial adapté au type de tache et de textile.
11.3 Produits de lavage et autrestraitements
Utilisez uniquement des produits de lavage et des autrestraitements spécialement concus pour les lavelinge:
- lessives en poudre pour tous les types de textiles,
- lessives en poudre pour les textiles délicats (40 °C max.) et les lainages,
-
lessives liquides, de préférence pour les programmes de lavage à basse température (60 °C max.) pour tous les types de textiles, ou lessives spéciales pour les lainages uniquement.
-
Ne mélangez pas différents types de produits de lavage.
- Afin de préserver l'environnement, n'utilise que la quantité de produit de lavage recommandaee.
- Respectez les instructions figurant sur l'emballage des déterments ou autres produits utilisés, sans dépasser le niveau maximal indiqué (MAX).
Utilisez les produits de lavage recommendés pour le type et la
couleur du textile, pour la
température du programme et pour
le niveau de salissure.
11.4 Conseils ecologiques
- Réglez un programme sans prélavage pour laver du linge normalement sale.
- Commencez toujours un programme de lavage avec une charge de linge maximale.
Pour prétraiter les taches, vous pouvez utiliser un détachant si vous sélectionnez un programme à bassetemperature.
Pour utiliser la bonne quantité de produit de lavage, vérifie la durée de l'eau de votre système domestique. Reportez-vous au chapitre « Durete de l'eau »
11.5 Durete de I'eau
Si, dans votre région, la durée de l'eau est élevée ou modérée, il est recommendé d'utiliser un adoucisseur d'eau pour lave-linge. Dans les régions où l'eau est douce, il n'est pas nécessaire d'utiliser un adoucisseur d'eau.
Pour connaître la durée de l'eau dans voiture region,contactez notre compagnie des eaux.
Utilisez la bonne quantité d'adoucisseur d'eau. Respectez les instructions qui se trouvent sur les emballages du produit.
12. ENTRETIEN ET NETTOYAGE

AVERTISSEMENT!
Reportez-vous aux chapitres concernant la sécurité.
12.1 Nettoyage extérieur
Nettoyez uniquement l'appareil à l'eau chaude avec un savon doux. Séchez complètement toutes les surfaces.

ATTENTION!
N'utilisez pas d'alcool, de solvants ni de produits chimiques.

ATTENTION!
Ne nettoyez pas les surfaces métalliques avec un déterment à base de chlore.
12.2 Détartrage

Si, dans votre région, la durée de l'eau est élevée ou modérée, il est recommendé d'utiliser un produit de détartrage de l'eau pour lave-linge.
Examinez régulierement le tambour à la recherche de tartre.
Les produits de lavage habituels contiennent déjà des agents adoucisseurs d'eau, mais nous vous recommendons d'effectuer occasionnellement un cycle de lavage, tambour vide, avec un produit de détartrage.

Respectez toujours les instructions figurant sur l'emballage du produit.
12.3 Lavage d'entretien
L'utilisation repétée et prolongée des programmes basse température peut entrainer des dépôts de produit de lavage, des résidus pelucheurs et une augmentation des bacteriés à l'intérieur du tambour et de la cuve. Ceci peut entrainer la formation de mauvaises odeurs et de moisissures.
Pour éliminer ces dépôts et assainir l'intérieur de l'appareil, effectuez régulierement un lavage d'entretien (au moins une fois par mois):
- Retirez le linge du tambour.
- Lancez le programme pour le coton à température maximale avec une petite quantité de lessive en poudre.
12.4 Joint du hublot

Examinez régulierement le joint et enlevez tous les objets situés à l'intérieur.
12.5 Nettoyage du tambour
Examinez régulierement le tambour pour éviter le dépôt de particules de rouille.
Pour un nettoyage complet :
- Nettoyez le tambour à l'aide d'un produit spécial pour l'acid inoxydable.

Respectez toujours les instructions figurant sur l'emballage du produit.
- Lancez un programme court pour le coton à température élevée, tambour vide, avec une petite quantité de dessive en poudre afin de rincer tous les résidus restants.
12.6 Nettoyage du distributeur de produit de lavage
Pour éviter les dépôts de lessive séchéée, d'assouplissant coagulé et/ou la formation de moisissures dans le distributeur de produit de lavage, veillez à effectuer régulierément la procédure de nettoyage suivante:
- Ouvrez le distributeur. Appuyez sur le loquet vers le bas comme indiqué sur l'illustration, puis retirez le distributeur.

- Retirez la partie supérieure du compartmentement réservé à l'additif pour facilitier le lavage, et passez-le sous l'eau courante chaude pour éliminer toute trace d'accumulation de dessive. Àpès le nettoyage, remettez la partie supérieure en place.

- Assurez-vous d'éliminer tous les résidus de dessive dans les parties supérieure et inférieure du logement. Utilisez une petite brosse pour nettoyer les recoins.

- Réinstallé le distributeur de lavage dans ses rails et fermez-le. Lancez un programme de rincege sans vêtement dans le tambour.

12.7 Nettoyage de la pompe de vidange

AVERTISSEMENT!
Débranchez la fiche d'alimentation de la prise secteur.

Vérifiez régulierement le filtrte de la pompe de vidange et assurez-vous qu'il est propre.
Nettoye la pompe de vidange si :
L'appareil ne vidange pas l'eau.
- Le tambour ne tourne pas.
L'appareil fait un bruit inhabituel car la pompe de vidange est bloquée.
Le code d'alarme E20 s'affiche.

AVERTISSEMENT!
- Ne retirez pas le contrôle pendant que l'appareil fonctionne.
- Ne nettoyez pas la pompe si l'eau de l'appareil est chaude. Attende que l'eau refroidisse.
Pour nettoyer la pompe,procédez comme suit :
- Ouvrez le couvercle de la pompe.

- Placez un écipient sous le logement de la pompe de vidange pour recueillir l'eau qui s'écoule.
- Ouvrez la goulotte vers le bas.
Gardez toujours un chiffon à portée de main pour essuyer l'eau qui peut s'écouler lorsque vous retirez le filtré.

- Tournez le filtré à 180 degrés vers la gauche pour l'ouvrir, sans le retarder. Laissez l'eau s'écouler.

- Lorsque le écipient est plein d'eau, remettez le filtré en position et videz le écipient.
- Répétez les étapes 4 et 5 jusqu'à ce que l'eau cesse de s'écouler.
- Tournez le filtrer vers la fauche pour le retarder.

- Si nécessaire, retirez les peluches et objets du logement du contrôle.
- Assurez-vous que la pale de la pompe peut tourner. Si ce n'est pas
le cas, contactez votre service après-venture.

- Nettoyez le filtré sous l'eau courante.

- Replacez le filtré dans les guides spéciaux en le tournant vers la droite. Assurez-vous de serrer correctement le filtré afin d'empêcher toute fuite.

- Fermez le couvercle de la pompe.

Lorsque vous vidangez l'eau avec la vidange d'urgence, vous devez réactiver le système de vidange :
a. Versez 2 litres d'eau dans le distributeur de produit de lavage pour le lavage principal.
b. Démarrez le programme pour vidanger l'eau.
12.8 Nettoyage du tuyau d'arrivée d'eau et du filtr de la vanne
Il est recommendé de nettoyer occasionnellement les deux filtres du tuyau d'arrivée d'eau et la valve pour éliminer les dépôts accumulés avec le temps :
- Retirez le tuyau d'arrivée d'eau du robinet et nettoyez le filtré.

- Retirez le tuyau d'arrivée de l'appareil en desserrant la bague des serrage.

- Utilisez une Brosse à dents pour nettoyer le filtré de la valve situé à l'arrière de l'appareil.

- Lorsque vous rebranchez le tuyau à l'arrière de l'appareil, tournez-le vers la gauche ou la droite (et non en position verticale) en fonction de la position du robinet.

12.9 Vidange d'urgence
Si l'appareil ne peut pas vidanger l'eau, effectuez la même procédure décrite dans le paragraphe « Nettoyage du filtré de vidange ». Si nécessaire, nettoyez la pompe.
Lorsque vous vidangez l'eau avec la vidange d'urgence, vous devez reactiver le système de vidange :
- Versez 2 litres d'eau dans le distributeur de produit de lavage pour le lavage principal.
- Demarrez le programme pour vidanger l'eau.
12.10 Précautions contre le gel
Si l'appareil est installé dans un local où la température peut être négative, évacuez toute l'eau restant dans le tuyau d'alimentation et la pompe de vidange.
- Débranche la fiche d'alimentation de la prise secteur.
-
Fermez le robinet d'eau.
-
Placez les deux extrémites du tuyau d'alimentation dans un réseau et laissez l'eau s'écouler du tuyau.
- Videz la pompe de vidange. Reportez-vous à la procédure de vidange d'urgence.
- Une fois que la pompe de vidange est vide, réinstallé le tuyau d'alimentation.

AVERTISSEMENT!
Assurez-vous que la
température est supérieure
a 0^ avant d'utiliser a
nouveau l'appareil.
Le fabricant ne pourra etre tenu pour responsable en
cas de dommages dus aux basses températures.
13. EN CAS D'ANOMALIE DE FONCTIONNEMENT

AVERTISSEMENT!
Reportez-vous aux chapitres concernant la sécurité.
13.1 Introduction
L'appareil ne démarre pas ou s'arrête en cours de programme.
Dans un premier temps, essayez de couver une solution au problème (reportez-vous au tableau). Si le problème persististe, contactez le service après-vente/agree.
En cas de problèmes majorés, les signaux sonores se déclenchent, un code d'alarme s'affiche et la touche Départ/Pause peut clignoter en continu :
- E10 - L'appareil ne se remplit pas d'eau correctement.
- E20 - L'appareil ne se vidange pas.
- E40 - Le hublot de l'appareil n'est pas fermé. Vérifiez le hublot!

Si I'appareil est trop
charge, retirez des
vetements du tambour
et/ou poussez sur le
hublot tout en appuyant
sur la touche Depart/
Pause jusqu'à ce que le
voyant s'arrête de
clignoter (reportez-vous a
I'illustration ci-dessous).

- EHO - L'alimentation électrice est instable. Attende que l'alimentation électrice se stabilise.
-
E9I - Il n'y a aucune communication entre les composants électroniques de l'appareil. Éteignez puis rallumez l'appareil.
-
EFO - Le système de sécurité anti-debordement s'est déclenché. Débranchez l'appareil et fermez le robinet d'arrivée d'eau. Contactez le service après-vente/agréé.

AVERTISSEMENT!
Éteignez l'appareil avant de procéder à la verification.
13.2 Pannes possibles
| Problème | Solution possible |
| Le programme ne dé-marre pas. | • Assurez-vous que la fiche du cable d'alimentation est bien insérée dans la prise de courant. • Vérifiez que le hublot de l'appareil est fermé. • Assurez-vous qu'aucun fusible n'est grillé dans la boîte à fus-sibles. • Vérifiez que vous avez bien appuyé sur la touche Départ/Pause. • Si vous avez sélectionné un départ différé, annulez-le ou at- tendez la fin du décompte. • Désactiver la sécurité enfants si elle a été préalablement activée. |
| L'appareil ne se remplit pas d'eau correctement. | • Assurez-vous que le robinet d'eau est ouvert. • Assurez-vous que la pression de l'arrivée d'eau n'est pas trop BASse. Pour obtenir cette information, contactez votre compagnie des eaux. • Assurez-vous que le robinet d'eau n'est pas obstrué. • Assurez-vous que le tuyau d'arrivée d'eau n'est pas tordu, endommagé, ni pié. • Vérifiez que le raccordement du tuyau d'arrivée d'eau est correct. • Assurez-vous que le filtre du tuyau d'arrivée d'eau et le filtre de la vanne ne sont pas obstrués. Reportez-vous au chapitre « Entretien et nettoyage » |
| L'appareil se remplit d'eau et se vidange im-médiatement. | • Vérifiez que la position du tuyau de vidange est correcte. Le tuyau est peut-être positionné trop bas. Reportez-vous au chapitre « Instructions d'installation ». |
| L'appareil ne vidange pas l'eau. | • Assurez-vous que le siphon de l'évier n'est pas obstrué. • Assurez-vous que le tuyau de vidange n'est pas tordu ni pié. • Assurez-vous que le filtre de vidange n'est pas obstrué. Nettoyez le filtre si nécessaire. Reportez-vous au chapitre « Entretien et nettoyage ». • Vérifiez que le raccordement du tuyau de vidange est cor-rect. • SéLECTIONNZ le programme de vidange si vous avez choisi un programme sans phase de vidange. • SéLECTIONNZ le programme de vidange si vous avez choisi une option se terminant avec de l'eau dans la cuve. |
| La phase d'essorage n'a pas lieu ou le cycle de la vage dure plus long-temps que d'habitude. | • Sélectionnez le programme d'essorage. • Assurez-vous que le filtré de vidange n'est pas obstrué. Nettoyez le filtré si nécessaire. Reportez-vous au chapitre « Entretien et nettoyage ». • Répartissez manuellement les vêtements dans la cuve et lancez à nouveau la phase d'essorage. Ce problème peut résulter de problèmes d'équilibrage. |
| Il y a de l'eau sur le sol. | • Assurez-vous que les raccords des tuyaux d'eau sont bien serrrés et qu'il n'y a aucune fuite d'eau. • Assurez-vous que le tuyau d'arrivée d'eau et le tuyau de vi-dange ne sont pas endommagés. • Assurez-vous d'utiliser une lessive adaptée en quantité cor-recte. |
| Impossible d'ouvrir le hublot de l'appareil. | • Vérifiez si vous avez sélectionné un programme de lavage se terminant avec de l'eau dans la cuve. • Assurez-vous que le programme de lavage est terminé. • Sélectionnez le programme de vidange ou d'essorage s'il y a de l'eau dans le tambour. • Vérifiez que l'appareil est alimenté en électricité. • Ce problème peut résulter d'une anomalie de l'appareil. Contactez le service après-vente agrée. Si vous nevez ouvrir le hublot, lisez attentivement le chapitre « Ouverture d'ur-gence du hublot ». |
| L'appareil vibre et fait un bruit inhabituel. | • Vérifiez que l'appareil est de niveau. Reportez-vous au chapitre « Instructions d'installation ». • Vérifiez que l'emballage et/ou les boulons de transport ont été retirés. Reportez-vous au chapitre « Instructions d'installation ». • Ajoutez plus de linge dans le tambour. La charge est peut-etre trop légère. |
| La durée du programme augmente ou diminue durant l'exécution du programme. | • La fonction ProSense est capable d'ajuster la durée du programme en fonction du type et de la quantité de linge. Reportez-vous au paragraph « Fonction ProSense » dans le chapitre « Utilisation quotidienne ». |
| Les résultats de lavage ne sont pas satisfaisants. | • Augmentez la quantité de produit de lavage ou utilisez-en un autre. • Utilisiez des produits spéciaux pour enlever les taches tena-ces avant de laver le linge. • Veillez à selectionner la bonne température. •Réduisez la charge de linge. |
| Il y a trop de mousse dans le tambour au cours du cycle de lavage. | • Réduisez la quantité de produit de lavage. |
| À la fin du cycle de lavage, il y a des résidues de produit de lavage dans le distributeur de produit de lavage. | Assurez-vous que le volet est dans la bonne position (vers le HAUT pour la lessive en poudre, vers le BAS pour la lessive liquide).Veillez à utiliser le distributeur de produit de lavage en suivant les indications données dans ce manuel d'utilisation. |
Après avoir effectué ces contrôle, mettez l'appareil en marche. Le programme reprend la où il s'était interrompu.
Si le problème persiste, contactez le service après-vente agréé.
Si l'écran affiche d'autres codes d'alarme. Éteignez puis rallumez l'appareil. Si le problème persististe, contactez le service après-vente/agréé.
13.3 Ouverture d'urgence du hublot
En cas de panne d'alimentation ou d'anomalie de l'appareil, le hublot reste verrouillé. Le programme de lavage continue dés que l'alimentation est rétable. Si le hublot reste verrouillé en cas d'anomalie, il est possible de l'ouvrir à l'aide du dispositif de déverrouillage d'urgence.
Avant d'ouvrir le hublot :

ATTENTION!
Risque de brûlures!
Assurez-vous que la température de l'eau et le linge ne sont pas brûlants. Si nécessaire, attendez qu'ils refroidissent.

ATTENTION!
Risque de blessure!
Assurez-vous que le tambour ne tourne pas. Si nécessaire, attendez que le tambour cette de tourner.

Assurez-vous que le niveau de l'eau à l'intérieur du tambour n'est pas trop élevé. Effectuez une vidange d'urgence si nécessaire (reportez-vous à la section « Vidange d'urgence » au chapitre « Entretien et nettoyage »).
Pour ouvrir le hublot, procédez comme suit :
- Appuyez sur la touche Marche/Arrêt pour éteindre l'appareil.
- Débranche la fiche d'alimentation de la prise secteur.
- Ouvrez le volet du contrôle.
- Maintenez le dispositif de déverrouillage d'urgence en le tirant vers le bas et ouvre le hublot simultanément.

- Sortez le linge et refermez le hublot.
- Fermez le volet du filtre.
14. VALEURS DE CONSOMMATION

Les valeurs indiquées sont obtenues après des essais en laboratoire, avec les normes correspondantes. Les données peuvent différer pour différentes raisons : la quantité et le type de linge, ou la température ambiente. La pression de l'eau, la tension de l'alimentation et la température de l'arrivée d'eau peuvent également affecter la durée du programme de lavage.

Les caractéristiques techniques peuvent être modifiées sans avis préalable pour améliorer la qualité du produit.

Au cours du programme de lavage, la technologie Prosense peut faire varier la durée du lavage et les valeurs de consommation. Pour plus de détails, consultez le paragraphe « La détction de charge Prosense » du chapitre « Utilisation quotidienne »
| Programmes | Charge (kg) | Consom-mation énergéti-que (kWh) | Consom-mation d'eau (li-tres) | Durée ap-proximati-ve du pro-gramme (minutes) | Humidité résiduelle (%)1) |
| Blanc/Couleurs 60 °C | 9 | 1.55 | 87 | 220 | 52 |
| Blanc/Couleurs 40 °C | 9 | 0.97 | 87 | 205 | 52 |
| Synthétiques 40 °C | 4 | 0.72 | 55 | 155 | 35 |
| Délicats 40 °C | 4 | 0.60 | 59 | 89 | 35 |
| Laine/Soie 30 °C | 2 | 0.35 | 58 | 60 | 30 |
| Programmes standard pour le coton | |||||
| Coton 60 °C standard | 9 | 0.53 | 56 | 224 | 52 |
| Coton 60 °C standard | 4.5 | 0.31 | 41 | 186 | 52 |
| Coton 40 °C standard | 4.5 | 0.32 | 40 | 183 | 52 |
1) Au terme de la phase d'essorage.
| Mode « Éteint » (W) | Mode « Veille » (W) |
| 0.30 | 0.30 |
| Les informations fournies dans le tableau ci-dessus sont conformes à la directive d'application 1015/2010 de la réglementation 2009/125/CE de la commission Européenne. | |
15. CARACTERISTIQUES TECHNIQUES
| Dimensions | Largeur / Hauteur / Pro-fondeur / Profondeur to-tale | 600 mm/ 850 mm/ 630 mm/ 660 mm |
| Branchement électricité | Tension | 230 V |
| Puisance totale | 2 200 W | |
| Fusible | 10 A | |
| Fréquence | 50 Hz | |
| Niveau de protection contre l'infiltration de particu-les solides et d'humidité assure par le couvercle deprotection, excepté là où l'équipementasse tenu-sion ne dispose d'aucune protection contre l'humi-dité | IPX4 | |
| Pression de l'arrivée | Minimale | 0,5 bar (0,05 MPa) |
| d'eau | Maximale | 8 bar (0,8 MPa) |
| Arrivée d'eau 1) | Eau froide | |
| Charge maximale | Coton | 9 kg |
| Classe d'efficacité énergétique | A+++ | |
| Vitesse d'essorage | Maximale | 1400 tr/min |
1) Raccordez le tuyau d'arrivee d'eau a un robinet filete 3/4".
16. ACCESSORIES
16.1 Disponible sur www.aeg.com/shop ou chez un revendeur agreé

Seuls les accessoires appropriés et agrêés par AEG peuvent répondre aux normes de sécurité de l'appareil. Si les pieces ne sont pas agrées, toute réclamation sera refusée.
16.2 Kit de plaques de fixation
Si vous installez l'appareil sur un socle, stabilisez l'appareil à l'aide des plaques de fixation.
Lisez attentivement la notice fournie avec l'accessoire.
16.3 Kit de superposition

Le sèche-linge ne peut-être superposé au-dessus du lave-linge qu'en utilisant le kit de superposition adapté, fabriqué et/agréé par AEG.
Assurez-vous de la compatibilité du kit de superposition en vérifiant la profondeur de vos appareils.
Le kit de superposition peut uniquement etre utilisé avec les appeareils indiqués dans la brochure fournie avec I'accessoire.
Lisez attentivement les notices fournies avec l'appareil et avec l'accessoire.
AVERTISSEMENT! N'installez pas le sèche-linge sous le lave-linge.
16.4 Socle à tiroir

Pour surélever vous appeareil et facilitier le chargement et le déchargement du linge.
Le tiroir peut servir au stockage du linge comme par ex.: les serviettes ainsi que des produits de nettoyage et autres.
Lisez attentivement la notice fournie avec l'accessoire.
17. EN MATIÈRE DE PROTECTION DE L'ENVIRONNEMENT
Recyclez les matériaux portant le symbole . Déposez les emballages dans les conteneurs prévus à cet effet. Contribuez à la protection de l'environnement et à votre sécurité, recyclez vos produits électriques et
électroniques. Ne jetez pas les apparèils portant le symbole avec les ordures menagères. Emmenez un tel produit dans votre centre local de recyclage ou contactez vos services municipaux.
C E
Notice Facile