LL69X - Téléviseur HOTPOINT - Notice d'utilisation et mode d'emploi gratuit
Retrouvez gratuitement la notice de l'appareil LL69X HOTPOINT au format PDF.
| Caractéristiques | Détails |
|---|---|
| Type de produit | Lave-linge frontal |
| Capacité de chargement | 9 kg |
| Vitesse d'essorage | 1400 tours/minute |
| Classe énergétique | A+++ |
| Dimensions approximatives | 85 x 60 x 55 cm |
| Poids | 70 kg |
| Alimentation électrique | 230 V, 50 Hz |
| Consommation d'eau | 45 L par cycle |
| Fonctions principales | Programmes de lavage variés, départ différé, option de prélavage |
| Entretien et nettoyage | Nettoyage du filtre, nettoyage du tambour, entretien du joint de porte |
| Pièces détachées et réparabilité | Disponibilité de pièces détachées, réparabilité facilitée |
| Sécurité | Protection anti-débordement, verrouillage enfant |
| Compatibilités | Compatible avec les détergents liquides et en poudre |
FOIRE AUX QUESTIONS - LL69X HOTPOINT
Questions des utilisateurs sur LL69X HOTPOINT
0 question sur cet appareil. Repondez a celles que vous connaissez ou posez la votre.
Poser une nouvelle question sur cet appareil
Téléchargez la notice de votre Téléviseur au format PDF gratuitement ! Retrouvez votre notice LL69X - HOTPOINT et reprennez votre appareil électronique en main. Sur cette page sont publiés tous les documents nécessaires à l'utilisation de votre appareil LL69X de la marque HOTPOINT.
MODE D'EMPLOI LL69X HOTPOINT
HOTPOINT-ARISTON. Afin de recevoir une assistance plus complète, merci d'enregistrer votre appareil sur : www.hotpoint.eu/register

WWW
Vous pouvez télécharger les Consignes d'utilisation en visitant notre site Web docs.hotpoint.eu et en suivant les consignes au dos de ce livret.
Avant d'utiliser l'appareil, lisez attentivement les Consignes de santé et sécurité.
Description du produit
APPAREIL
- Panier supérieur
- Volets pliables
- Bouton de réglage de la hauteur du panier supérieur
- Bras d'aspersion supérieur
- Panier inférieur
- Panier à couverts
- Bras d'aspersion inférieur
- Ensemble filtre
- Réservoir à sel
- Distributeurs de détergent et liquide de rinçage
- Plaque signalétique
- Panneau de commande
Panneau de commande
- Touche Marche-Arrêt/Réinitialisation avec le voyant
- Touche Sélecteur de programme avec le voyant
- Touche Zone Wash 3D avec le voyant de verrouillage.
- Voyant programme Éco
- Voyant de Verrouillage
- Affichage
- Voyant pour le numéro du programme et le temps restant
- Voyant Pastille
- Voyant Robinet d'eau fermé
- Voyant de niveau de liquide de rinçage
- Voyant de niveau de sel
- Touche Turbo avec le voyant / Pastille
- Touche Différé avec le voyant
- Touche Départ/Pause avec le voyant / Drainer
Conseils au sujet de la première utilisation
Après l'installation, enlevez les boulons d'arrêt sur les paniers et les éléments élastiques qui retiennent le panier supérieur.
Réemplir le réservoir de sel
L'utilisation de sel empêche la formation de calcaire sur la vaisselle et sur les composantes fonctionnelles de l'appareil.
Il est important de s'assurer que le réservoir de sel ne soit jamais vide. Il est important de régler la dureté de l'eau.
Le réservoir de sel est situé dans la partie inférieure du lave-vaisselle (voir DESCRIPTION DES PROGRAMMES) et doit être rempli quand le voyant NIVEAU DE SEL est allumé sur le panneau de commande.

1. Enlevez le panier inférieur et dévissez le bouchon du réservoir (sens antihoraire). 2. La première fois uniquement, vous devez effectuer l'opération suivante : remplissez d'eau le réservoir à sel.
3. Placez l'entonnoir (voir figure) et remplissez le réservoir de sel jusqu'au bord (environ 1 kg) ; il est normal qu'un peu d'eau déborde.
- Enlevez l'entonnoir et essuyez les résidus de sel autour de l'ouverture. Assurez-vous que le bouchon est bien serré pour éviter que du détergent pénètre dans le réservoir durant le cycle de lavage (le réservoir pourrait s'endommager au point de ne plus être réparable). Lorsque vous devez ajouter du sel, nous vous recommandons d'effectuer l'opération avant de lancer le cycle de lavage.
Régler la dureté de l'eau
Pour que l'adoucisseur d'eau fonctionne à la perfection, il est important de régler la dureté de l'eau aux conditions existantes dans votre résidence. Cette information peut être obtenue de votre fournisseur d'eau local. Le réglage par défaut est pour une dureté d'eau normale (3).
- Allumez l'appareil en appuyant sur la touche MARCHE/ARRÉT.
- Éteindre l'appareil en appuyant sur la touche MARCHE/ARRÉT.
- Appuyez sur la touche DÉPART/PAUSE pendant 5 secondes ; un bip se fait entendre.
- Éteignez l'appareil en appuyant sur la touche MARCHE/ARRÊT.
- Le numéro de la sélection actuelle et le voyant de niveau de sel clignotent.
- Appuyez sur la touche P pour sélectionner le niveau de dureté désiré (voir TABLEAU DE DURETÉ DE L'EAU).
| Tableau de durété de l'eau | |||
| Niveau | °dH Degrés allemand | °fH Degrés français | |
| 1 | Très douce | 0 - 6 | 0 - 10 |
| 2 | Moyenne | 7 - 11 | 11 - 20 |
| 3 | Douce | 12 - 17 | 21 - 30 |
| 4 | Dure | 17 - 34 | 31 - 60 |
| 5 | Très dure | 35 - 50 | 61 - 90 |
- Éteignez l'appareil en appuyant sur la touche MARCHE/ARRÊT. Le réglage est terminé.
Une fois cette opération complétée, lancez un programme sans charger le lave-vaisselle.
Utilisez seulement le sel spécialement conçu pour les lave-vaisselles.
Lorsque le sel est versé dans l'appareil, le voyant AJOUTER DU SEL s'éteint.
Si le réservoir de sel n'est pas rempli, l'adoucisseur d'eau et l'élément chauffant pourraient s'endommager.
Remplir le distributeur de liquide de rinçage
Le liquide de rinçage permet à la vaisselle de SÉCHER plus facilement. Le distributeur de liquide de rinçage A doit être rempli lorsque le voyant NIVEAU DE LIQUIDE DE RINÇAGE est allumé à l'écran.


- Ouvrez le distributeur en appuyant et en tirant sur l'onglet du couvercle.
- Versez doucement du liquide de rinçage jusqu'à la marque de référence (110 ml) du réservoir de remplissage - évitez les débordements. Si cela se produit, nettoyez les dégâts immédiatement avec un linge sec.
- Appuyez sur le bouchon pour le fermer ; un clic se fait entendre. Ne JAMAIS verser le liquide de rinçage directement dans la cuve.
Ajuster le dosage du liquide de rinçage
Si vous n'êtes pas complètement satisfait du séchage, vous pouvez ajuster la quantité de liquide de rinçage utilisée.
- Allumez le lave-vaissel ÊT.
- Éteignez-le en utilisant la touche MARCHE/ARRÉT.
- Appuyez sur la touche DÉPART/PAUSE à trois reprises – vous entendrez un bip.
- Allumez-le en utilisant la touche MARCHE/ARRÊT.
- Le numéro du niveau de sélection actuel et le voyant du niveau de liquide de rinçage clignotent.
- Appuyez sur la touche P pour sélectionner la quantité de liquide de rincege qui doit être utilisé.
- . Le réglage est terminé !
Si le niveau de liquide de rinçage est réglé sur 1 (ECO), il n'y aura pas de liquide de rinçage distribué. Le voyant LIQUIDE DE RINÇAGE BAS ne s'allumera pas s'il ne reste plus de liquide de rinçage.
Un maximum de 4 niveaux peuvent être réglés selon le modèle du lave-vaisselle. Le réglage par défaut est sur le niveau moyen.
- Si vous observez des traces bleuâtres sur la vaissell bas (2-3).
- Si vous observez des gouttelettes d'eau ou des traces de calcaire sur la vais haut (4-5).
Réemplir le distributeur de détergent

Pour ouvrir le distributeur de détergent, utilisez le dispositif d'ouverture A. Insérez le détergent dans le distributeur sec B seulement. Placez la quantité de détergent pour le prélavage directement dans la cuve.
1. Lorsque vous mesurez la lessive, consultez les informations mentionnées précédemment pour ajouter la quantité correcte. À l'intérieur
Du distributeur B se trouvent des indications pour aider au dosage de la lessive.
- Enlevez les résidus de détergent sur le bord des récipients avant de fermer le couvercle ; un clic se fait entendre.
- Fermez le couvercle du en le tirant vers le haut jusqu'à ce qu'il soit fermement en place.
Le s'ouvre automatiquement au moment déterminé par le programme.
Si vous utilisez un détergent « tout-en-un », nous vous conseillons d'utiliser la touche PASTILLE. Elle ajuste le programme de façon à toujours obtenir les meilleurs résultats de lavage et de séchage.
Tableau des programmes
| Programme | Durées de la phase | Options disponibles*) | Récipient pour détergent | Durée du programme de lavage (h:min)** | Consommation d'eau (litres/cycle) | Consommation d'énergie (kWh/cycle) | |||
| Cuve | B | ||||||||
| 1. Éco | ECO | 50° | ✓ | □ h. | ✓ | ✓ | 3:10 | 9 | 0,93 |
| 2. Auto Intensif | A | 65° | ✓ | 3D > □ h. | - | ✓ | 2:00 - 3:10 | 14 - 17 | 1,50 - 1,85 |
| 3. Auto Normal | A | 55° | ✓ | 3D > □ h. | ✓ | ✓ | 1:30 - 2:30 | 14,5 - 16 | 1,15 - 1,30 |
| 4. Fast | 50° | - | □ h. | - | ✓ | 1:00 | 12 | 1,15 | |
| 5. Express 30' | 50° | - | □ h. | - | ✓ | 0:30 | 9 | 0,50 - 0,55 | |
| 6. Good Night | 50° | ✓ | □ h. | - | ✓ | 3:30 | 15 | 1,15 | |
| 7. Antibactérien | 65° | ✓ | □ h. | - | ✓ | 1:40 | 10 | 1,30 | |
| 8. Trempage | - | - | 3D h. | - | - | 0:12 | 4,5 | 0,01 | |
| 9. Autonettoyage | 65° | - | □ h. | - | ✓ | 0:50 | 8 | 0,80 - 0,85 | |
Les données du programme Éco sont mesurées sous des conditions en laboratoire conformément à la norme européenne EN 50242. Les options ne peuvent pas toutes être utilisées en même temps. La durée du programme affichée à l'écran ou dans le livre est une approximation calculée dans des conditions normales. Le temps réel peut varier selon des facteurs comme la température et la pression de l'eau, la température de la pièce, la quantité de détergent, la quantité et le type de vaisselle, l'équilibre de la charge, les options supplémentaires sélectionnées, et la calibration du capteur. La calibration du capteur peut augmenter la durée du programme jusqu'à 20 minutes.
Consommation en veille : Consommation allumé : 5 W - Consommation éteint : 0,5 W
Description des programmes
Consignes pour la sélection du cycle de lavage.
ÉCO
Vaisselle sale. Programme standard, le plus efficace en termes de consommation d'énergie et d'eau.
Auto intensif
Vaisselle, casseroles et plats sales (déconseillé pour la vaisselle fragile).
Auto normal
Vaisselle et casseroles normalement sales.
FAST
Adequat lorsque l'appareil fonctionne la nuit. Assure un rendement optimal.
Express 30
Utilisez ce programme pour la vaisselle légèrement sale et sans résidus de nourriture secs. (Idéal pour deux couverts).
Silencieux
Adequat lorsque l'appareil fonctionne la nuit. Assure un rendement optimal.
Antibactérien
Vaisselle sale ou très sale, avec lavage antibactérien supplémentaire.
Trempage
Vaisselle qui sera lavée plus tard. N'utilisez pas de détergent avec ce programme.
Autonettoyage
Utilisez ce cycle pour effectuer l'entretien du lave-vaisselle. Il nettoie l'intérieur de l'appareil avec de l'eau chaude.
Remarques :
Lorsque vous utilisez les programmes « Fast » et « Express », vous obtiendrez des niveaux de rendement optimaux en respectant le nombre de couverts indiqués. Pour réduire encore plus la consommation, attendez que le lave-vaisselle soit plein avant de le faire fonctionner.
Les OPTIONS peuvent être sélectionnées directement en appuyant sur la touche correspondante (voir PANNEAU DE COMMANDE).
Si une option n'est pas compatible avec le programme sélectionné (voir TABLEAU DES PROGRAMMES), le voyant correspondant clignote 3 fois et un bip se fait entendre. La fonction n'est pas activée.

Zone Wash 3D
Grâce aux jets d'eau supplémentaires 3D placés sur le fond de la cavité, l'option 3D ZONE WASH permet d'économiser de l'énergie ou d'augmenter les performances de lavage du lave-vaisselle. Elle est compatible avec les cycles Normal et Intensif et elle fonctionne avec un rack à la fois.
- 3D ZONE WASH + CYCLE NORMAL : Il permet de réduire la consommation d'énergie jusqu'à 40%.
- 3D ZONE WASH + CYCLE INTENSIF : Il augmente les performances de lavage jusqu'à 40%. Idéal pour les charges mélangées très sales, par exemple les casseroles et les poêles, la vaisselle avec des saletés incrustées ou difficiles à nettoyer (fromage ou légumes brûlés, coutellerie sale).
Comment activer l'option :
- Sélectionner un cycle compatible.
- Par défaut, l'appareil lave la vaisselle sur tous les paniers. Pour laver la vaisselle uniquement sur un panier particulier, appuyez plusieurs fois sur cette touche :
inférieur seulement)

supérieur seulement)
s'affiche à l'écran (l'option est ÉTEINTE et l'appareil lave la vaisselle sur tous les paniers).
Chargez la vaisselle sur le plateau sélectionné seulement.

Verrouillage des commandes
En appuyant pendant au moins 3 secondes sur la touche ZONE WASH, la fonction VERROUILLAGE s'active. La fonction VERROUILLAGE désactive le panneau de commande à l'exception de la touche MARCHE/ARRÊT. Appuyez à nouveau sur la touche pour désactiver le VERROUILLAGE.

Turbo
Cette option permet de réduire la durée des programmes principaux tout en conservant les niveaux de rendement du lavage et du séchage.
Après avoir sélectionné le programme, appuyez sur la touche TURBO et le voyant s'illumine. Appuyez de nouveau sur la touche pour annuler l'option.

Pastille
Ce réglage vous permet d'optimiser le rendement du programme selon le type de détergent utilisé. Appuyez sur la touche TURBO pendant 3 secondes (le symbole correspondant s'illumine) s sous la forme d'une pastille (liquide de rinçage, sel, et détergent en une seule dose).
Si vous utilisez un détergent en poudre ou liquide, cette option doit être désactivée.

Différé
Le début du programme peut être retardé pour une période comprise entre 30 minutes et 24 heures.
1. Sélectionnez un programme et les options souhaitées. Appuyez sur la touche DIFFÉRÉ (plusieurs fois) pour retarder le début du programme. Réglable de 0:30 à 24 heures. Chaque fois que vous appuyez sur la touche, le départ différé est retardé de : 0:30 si la sélection est inférieure à 4 heures, 1:00 si la sélection est inférieure à 12 heures, 4 heures si la sélection est supérieure à 12 heures. Si après avoir atteint 24 heures, le départ différé est désactivé. 2. Appuyez sur la touche Départ/Pause : la minuterie commence le compte à rebours. 3. Une fois le temps écoulé, le voyant s'éteint et le programme démarre automatiquement.
Si, pendant le compte à rebours, vous appuyez de nouveau sur la touche DÉPART/PAUSE, l'option DIFFÉRÉ est annulée et le programme sélectionné
La fonction DIFFÉRÉ ne peut pas être réglée une fois le programme en cours.

Robinet d'eau fermé - Alarme
Clignote lorsqu'il n'y a pas d'arrivée d'eau ou que le robinet d'eau est fermé.

Drainage
Pour arrêter ou annuler le cycle en cours, vous pouvez utiliser la fonction DRAINDER.
Si vous appuyez un long moment sur la touche DÉPART/PAUSE, la fonction DRAINER s'active.
Le programme en cours s'arrête et l'eau dans le lave-vaisselle est vidangée.
1. Vérifier le branchement de l'eau
Assurez-vous que l'appareil est raccordé à un réseau d'alimentation en eau et que le robinet d'eau est ouvert.
2. Allumer le lave-vaisselle
Appuyez sur la touche MARCHE/ARRÊT.
3. Charger les paniers
Voir CHARGEMENT DES PANIERS
4. Remplir le distributeur de détergent
(voir TABLEAU DES PROGRAMMES).
5. Choisir le programme et personnaliser le cycle
Sélectionnez le meilleur programme selon le type de vaisselle et le niveau de saleté (voir DESCRIPTION DES PROGRAMMES) en appuyant sur la touche P.
Sélectionnez les options désirées (voir OPTIONS ET FONCTIONS).
6. Démarrer
Démarrez le cycle de lavage en appuyant sur la touche DÉMARRER/PAUSE.
DÉMARRER/PAUSE. Vous entendez un bip lorsque le programme démarre.
7. Fin du cycle de lavage
À la fin du cycle de lavage, des bips se font entendre et le mot END apparaît sur l'écran.
s'affiche sur l'écran, et le voyant du programme sélectionné clignote. Ouvrez la porte et éteignez l'appareil en appuyant sur la touche
Marche/arrêt.
Pour éviter de vous brûler, attendez quelques minutes avant de retirer la vaisselle.
Déchargez les paniers en commençant par le premier niveau.
L'appareil s'éteint automatiquement durant des périodes
d'inactivité prolongées pour réduire la consommation d'énergie.
Si la vaisselle est légèrement sale ou si elle a été rincée à l'eau avant d'être placée dans le lave-vaisselle, réduisez la quantité de détergent utilisée en conséquence.
Modifier un programme en cours
Si vous avez sélectionné le mauvais programme, vous pouvez le changer si c'est fait au début du cycle : appuyez sur la touche
MARCHE/ARRÊT pour éteindre l'appareil.
Rallumez l'appareil en appuyant sur la touche MARCHE/ARRÊT et
sélectionnez le nouveau cycle de lavage et les options désirées.
Démarrez le cycle en appuyant sur la touche DÉMARRER/PAUSE.
Ajouter de la vaisselle
Sans éteindre l'appareil, ouvrez la porte (attention à la vapeur
CHAUD !) et placez la vaisselle à l'intérieur du lave-vaisselle. Fermez la porte et ; le cycle démarre au point où il a été interrompu.
Si la porte est ouverte durant le cycle de lavage, ou s'il y a une panne de courant, le cycle s'interrompt. Une fois la porte refermée ou le courant électrique restauré, pour redémarrer le cycle à partir du point où il a été interrompu, .
Pour plus d'informations sur les fonctions, vous pouvez demander ou télécharger sur le Web le Guide d'utilisation et d'entretien en suivant les
consignes à la dernière page. www
Conseils
Avant de charger les paniers, enlevez tous les résidus de nourriture sur la vaisselle et videz les verres. Vous n'avez pas besoin de rincer la vaisselle avant de la placer dans le lave-vaisselle.
Placez la vaisselle pour qu'elle tienne bien en place et ne risque pas de tomber ; placez les récipients avec les ouvertures vers le bas et les parties concaves/convexes de côté pour permettre à l'eau d'atteindre toutes les surfaces et couler librement.
AVERTISSEMENT : les couvercles, poignées, plaques et poêles à frire ne doivent pas empêcher les bras d'aspersion de tourner.
Placez les petits articles dans le panier à couverts.
Les vaiselles et les casseroles très sales doivent être placées sur le panier inférieur car les jets d'eau sont plus forts dans cette section et permettent un meilleur rendement lors du lavage.
Après avoir chargé l'appareil, assurez-vous que les bras d'aspersion peuvent bouger librement.
Hygiene
Pour éviter les odeurs et les dépôts qui pourraient s'accumuler dans le lave-vaisselle, lancez un programme à haute température au moins une fois par mois. Utilisez une cuillère à thé de détergent et lancez le programme sans vaisselle pour nettoyer l'appareil.
Vaiselle qui ne convient pas
Vaisselle et couverts en bois. - Verres décoratifs délicats, produits artisanaux et vaisselle antique. Les garnitures ne sont pas résistantes. - Les pièces en matériau synthétique qui ne supportent pas les hautes températures. La vaisselle en cuivre ou en étain. La vaisselle tachée de cendre, de cire, de graisse lubrifiante ou d'encre.
Les couleurs des garnitures de verre et des pièces en aluminium ou argent peuvent changer et ternir durant le cycle de lavage. Certains types de verre (par exemple, les objets en cristal) peuvent aussi s'opacifier après plusieurs cycles de lavage.
Verres et vaisselle endommagés
- Utilisez uniquement des verres ou de la porcelaine qui sont lavables au lave-vaisselle conformément aux recommandations du fabricant. Utilisez un détergent doux, adapté pour la vaisselle.
- Retirez les verres et les couverts du lave-vaisselle aussitôt que le cycle de lavage est terminé.
Panier supérieur

Chargez la vaisselle délicate et légère : verres, tasses, soucoupes, saladiers bas.
(exemple de chargement du panier supérieur)
Ajuster la hauteur du panier supérieur
Vous pouvez ajuster la hauteur du panier supérieur : position élevée pour placer la vaisselle encombrante sur le panier inférieur, et la position basse pour profiter au maximum des supports rabattables et créer plus d'espace vers le haut, afin d'éviter les chocs avec les articles sur le panier inférieur.
Le panier supérieur comprend un
dispositif de réglage de la hauteur du panier supérieur (voir figure). Sans appuyer sur les leviers, soulevez-le simplement en tenant le panier sur les côtés jusqu'à ce qu'il soit stable en position élevée.
Pour abaisser le panier, appuyez sur les leviers A sur les côtés du panier et déplacez-le vers le bas.
Nous vous conseillons fortement de ne pas ajuster la hauteur du panier lorsqu'il est chargé. Ne JAMAIS soulever ou abaisser un seul côté du panier.

Volet pliables avec positions ajustables
Les volets pliables latéraux peuvent être placés à trois hauteurs différentes pour optimiser le rangement de la vaisselle sur le panier.
Les verres de vin peuvent être placés de façon sécuritaire dans les volets pliables en insérant le pied de chaque verre dans la fente correspondante.
Pour de meilleurs résultats lors du séchage, inclinez encore plus les volets pliables. Pour changer l'inclinaison, tirez le volet pliable, glissez-le légèrement, et placez-le à la position souhaitée.

Panier inférieur
Pour les poêles, les couvercles, les plats, les saladiers, les couverts, etc. Les grands plats et les grands couvercles doivent être placés sur le côté pour éviter qu'ils n'entravent le fonctionnement des bras d'aspersion. Le panier inférieur comprend des supports rabattables qui peuvent être placés en position verticale pour charger des plaques, ou en position horizontale (bas) pour faciliter le chargement des casseroles et des bols de salade.


(exemple de chargement du panier supérieur)
Panier à couvert
Le panier comprend des grilles supérieures pour placer les couverts plus facilement. Le panier à couvert doit uniquement être placé à l'avant du panier inférieur.
Les couteaux et autres ustensiles avec des bords tranchants doivent être placés dans le panier à couvert avec la pointe vers le bas, ou placés à l'horizontale dans le compartiment rabattable du panier supérieur.

Zone Wash 3D
Zone Wash 3D utilise des jets d'eau supplémentaires situés à la fois dans la partie supérieure et inférieure du lave-vaisselle (marqués de couleur orange) pour laver plus intensivement des éléments très sales en augmentant la couverture d'eau sur les assiettes. Exemple : charger les pots et casseroles orientés vers la partie inférieure des composants de Zone Wash 3D et activer l'option 3D Zone Wash sur le panneau.

Nettoyer l'ensemble filtre.
Nettoyez régulièrement l'ensemble filtre pour éviter qu'il ne se bouche et pour permettre aux eaux usées de bien s'éliminer. L'ensemble filtre comprend trois filtres qui séparent les résidus de nourriture de l'eau de lavage. Vous devez les garder propres pour obtenir les meilleurs résultats lors du lavage.
N'utilisez pas le lave-vaisselle sans les filtres ou si un filtre est mal ajusté.
Après plusieurs lavages, vérifiez l'ensemble filtrant et, au besoin, nettoyez-le soigneusement avec de l'eau courante, en utilisant une brosse non métallique, et en suivant les consignes suivantes :
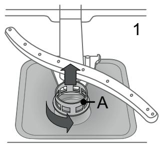
- Tournez le filtre cylindrique A dans le sens antihoraire et retirez-le (Fig. 1).
- Retirez le panier du filtre **B** en appliquant une légère pression sur les volets latéraux (Fig. 2).
- Retirez la plaque du filtre en acier inoxydable C (Fig. 3).
- Inspecter la cavité et enlever les résidus de nourriture.
NE JAMAIS ENLEVER la protection de la pompe du cycle de lavage (détails en couleur noire) (Fig. 4).




Après avoir nettoyé les filtres, assemblez de nouveau l'ensemble filtre et remettez-le en place correctement ; c'est très important pour que le lave-vaisselle garde son efficacité.
Nettoyer les bras d'aspersion
À l'occasion, des résidus de nourriture s'incrustent dans les bras d'aspersion et bloquent les trous utilisés pour asperger de l'eau. Il est donc conseillé de vérifier les bras de temps en temps et de les nettoyer avec une petite brosse non métallique.

Pour enlever le bras d'aspersion supérieur, tournez l'anneau de verrouillage en plastique dans le sens antihoraire. Le bras d'aspersion supérieur doit être replacé de façon que le côté avec le plus grand nombre de trous soit placé vers le haut.

Le bras d'aspersion inférieur peut être enlevé en le tirant vers le haut.
Nettoyer le tuyau d'arrivée d'eau
Si les tuyaux d'eau sont neufs ou s'ils n'ont pas été utilisés depuis longtemps, laissez l'eau couler pour vous assurer qu'il n'y a pas d'impuretés ou de saleté avant de les brancher. Si vous n'effectuez pas cette opération, l'arrivée d'eau pourrait se boucher et endommager le lave-vaisselle.
Dépannage
Il est possible que votre lave-vaisselle ne fonctionne pas correctement. Avant de contacter le Service Après-vente, vérifiez si vous ne pouvez pas régler le problème vous-même avec l'aide de la liste suivante.
| PROBÉMES | CAUSES POSSIBLES | SOLUTIONS |
| Le lave-vaisse ou les commandes ne fonctionnent pas. | L'appareil n'est pas bien branché. | Insérez la fiche dans la prise de courant. |
| Panne de courant. | Le lave-vaisse démarre automatiquement lorsque le courant revient. | |
| La porte du lave-vaisse n'est pas fermée. | Poussez vigoureusement la porte pour entendre le « cliç ». | |
| Les commandes ne fonctionnent pas. | Éteindre l'appareil en appuyant sur la touche MARCHÉ/ARRÊT, rallumez-le environ une minute après, et réinitialisez le programme. | |
| Le lave-vaisse ne se vidange pas. | Le cycle de lavage n'est pas encore terminé. | Attendre que le cycle se termine. |
| Le tuyau de vidange est pié. | Assurez-vous que le tuyau de vidange n'est pas pié (voir CONSIGNES D'INS-TALLATION). | |
| Le conduit de vidange de l'évier est bouché. | Nettoyez le conduit de vidange de l'évier. | |
| Le filtre est bouché par des résidus de nourriture | Nettoyez le filtre (voir NETTOYAGE DE L'ENSEMBLE FILTRE). | |
| Le lave-vaisse fait beaucoup de bruit. | La vaisse s'entrechoque. | Replacez la vaisse (voir CHARGEMENT DES PANIERS). |
| Il y a une trop grande quantité de mousse. | Le détergent a été mal mesuré ou il n'est pas ajustat pour les lave-vais-selles (voir REMPLIR LE DISTRIBUTEUR DE DÉTERGENT). Réinitialisez le lave-vaisse en appuyant sur la touche DRAINDER (voir OPTIONS ET FONCTIONS) et lancez un nouveau programme sans détergent. | |
| La vaisse n'est pas propre. | La vaisse n'est pas bien placée. | Replacez la vaisse (voir CHARGEMENT DES PANIERS). |
| Les bras d'aspersion ne bougent pas libre-ment, ils sont génés par la vaisse. | Replacez la vaisse (voir CHARGEMENT DES PANIERS). | |
| Le cycle de lavage est trop délicat. | Sélectionnez le cycle de lavage approprié (voir TABLEAU DES PROGRAMMES). | |
| Il y a une trop grande quantité de mousse. | Le détergent a été mal mesuré ou il n'est pas ajustat pour les lave-vais-selles (voir REMPLIR LE DISTRIBUTEUR DE DÉTERGENT). | |
| Le bouchon du comportement de liquide de rincage n'est pas bien fermé. | Assurez-vous que le bouchon du distributeur de liquide de rincage est fermé. | |
| Le filtre est sale ou bouché. | Nettoyez l'ensemble de filtre (voir NETTOYAGE ET ENTRETIEN). | |
| Il n'y a pas de sel. | Remplir le réservoir de sel (voir REMPLIR LE RÉSERVOIR DE SEL). |
Guide d'entretien et de dépannage
Pour plus d'informations sur les procédures d'entretien et de dépannage, voir l .
L peuvent être obtenues de la façon suivante : - Service après-vente : numéro de téléphone, voir le livre de garantie. - Téléchargement du site Web : docs.hotpoint.eu - Utilisez le code QR :

Contacter le service après-vente
Lorsque vous communiquez avec le Service Après-vente, vous devez donner les codes affichés sur la plaque signalétique qui se trouve du côté intérieur gauche ou droit de la porte du lave-vaisselle. Le numéro de téléphone est disponible dans le livre de garantie ou sur le site Web.
www.hotpoint.eu

Fiche technique
La fiche technique, qui contient les données de consommation d'énergie, peut être téléchargée sur le site Web : docs.hotpoint.eu
195156443.00 04/2017


Guide de santé et sécurité 6
Consignes d'installation 12
Lisez attentivement les directives avant d'utiliser l'appareil. Conservez ces directives à portée de main pour toute consultation ultérieure. Le présent manuel et l'appareil en question contiennent des consignes de sécurité importantes qui doivent être lues et observées en tout temps. Le fabricant décline toute responsabilité si vous ne respectez pas ces consignes de sécurité, et en cas de mauvaise utilisation ou d'un mauvais réglage des commandes.
Avertissements de sécurité
Les enfants en bas âge (0-3 ans) et les jeunes enfants (3-8 ans) doivent être tenus à l'écart de l'appareil sauf s'ils sont constamment sous supervision. Les enfants âgés de 8 ans et plus, ainsi que les personnes présentant des capacités physiques, sensorielles ou mentales réduites, ou ne possédant ni l'expérience ni les connaissances requises, peuvent utiliser cet appareil sous la surveillance ou les instructions d'une personne responsable leur ayant expliqué l'utilisation de l'appareil en toute sécurité, ainsi que les dangers potentiels. Les enfants ne doivent pas jouer avec l'appareil. Les enfants ne doivent pas nettoyer, ni procéder à l'entretien de l'appareil sans surveillance.
Utilisation autorisée
ATTENTION : Cet appareil n'est pas conçu pour fonctionner à
l'aide d'une minuterie ou d'un système de télécommande. Cet appareil est conçu uniquement pour une utilisation à des fins domestiques. Ne pas utiliser l'appareil à l'extérieur. N'entreposez pas les substances explosives comme les aérosols et ne placez pas ou n'utilisez pas d'essence ou d'autres matériaux inflammables dans ou à proximité de l'appareil : ces produits risqueraient en effet de s'enflammer si le four était mis sous tension par inadvertance. L'appareil a été conçu pour un usage domestique et peut aussi être utilisé :
- dans les cuisines pour le personnel dans les magasins, bureaux et autres environnements de travail;
- dans les fermes ;
- par les clients dans les hôtels, motels et autres résidences similaires ; chambres d'hôtes B & B. L'appareil doit uniquement être utilisé pour laver la vaisselle domestique en suivant les consignes de ce manuel. Le robinet d'eau doit être fermé et la prise de courant débranchée à la fin de chaque programme, ou avant de nettoyer ou d'effectuer des réparations sur le lave-vaisselle. Débranchez également en cas de défaillance.
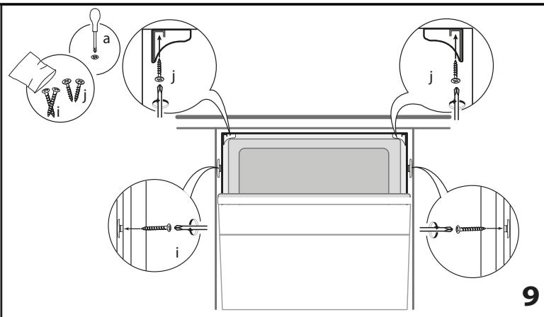
Installation
L'appareil doit être manipulé et installé par au moins deux personnes. Utilisez des gants de protection pour le déballage et l'installation de l'appareil. L'installation et les réparations doivent être réalisées par des techniciens spécialisés, en
conformité avec les instructions du fabricant et les normes locales en vigueur en matière de sécurité. Ne procédez à aucune réparation ni à aucun remplacement de pièce sur l'appareil autres que ceux spécifiquement indiqués dans le guide d'utilisation. Les enfants ne devraient pas effectuer l'installation.
Maintenez les enfants à distance lors de l'installation. Ne laissez pas les matériaux d'emballage (sacs en plastique, pièces en polystyrène, etc.) à la portée des enfants pendant et après l'installation.
Après avoir déballé l'appareil, assurez-vous qu'il n'a pas été endommagé pendant le transport. En cas de problème, contactez votre revendeur ou le Service Après-Vente le plus proche.
L'appareil ne doit pas être branché à l'alimentation électrique lors de l'installation. Pendant l'installation, assurez-vous que l'appareil n'endommage pas le cordon d'alimentation.
Allumez l'appareil uniquement lorsque l'installation est terminée.
Le branchement au réseau de distribution d'eau doit être effectué par un technicien qualifié suivant les consignes du fabricant et conformément aux réglementations locales en vigueur en matière de sécurité. L'appareil doit être branché à la conduite principale en utilisant de nouveaux tuyaux. Évitez de réutiliser des tuyaux usagés.
Un collier doit être fermement fixé sur tous les tuyaux afin que ces derniers ne se desserrent pas lors du fonctionnement de l'appareil.
Respectez les normes en vigueur de la société locale de distribution d'eau. Pression d'alimentation en eau : 0,05 - 1,0 MPa.
La température d'entrée d'eau dépend du modèle du lave-vaisselle. Si le tuyau d'alimentation indique « max 25°C », la température maximum de l'eau ne doit pas dépasser 25°C. Pour tous les autres modèles, la température de l'eau permise est de 60°C. Ne coupez pas les flexibles et, en présence d'un appareil avec système de coupure de l'arrivée d'eau, ne plongez pas dans l'eau le boîtier en plastique de raccordement au réseau hydrique.
Si les tuyaux sont trop courts, adressez-vous à votre revendeur.
Assurez-vous que les tuyaux d'alimentation et de vidange ne sont ni pliés ni tordus. Avant toute utilisation, vérifiez l'étanchéité des tuyaux d'alimentation et de vidange de l'eau.
Pendant l'utilisation, l'accès à l'arrière de l'appareil doit être limité, notamment en l'approchant le plus possible du mur ou du meuble.
Lors de l'installation de l'appareil, assurez-vous que les quatre supports sont stables et reposent sur le sol, en les ajustant au besoin, et assurez-vous que l'appareil est parfaitement de niveau en utilisant un niveau à bulle. Si l'appareil est installé à l'extrémité d'une rangée d'unités et que sa paroi latérale est exposée, protégez les charnières pour éviter qu'elles ne soient endommagées.
Pour les lave-vaisselle avec des ouvertures à la base pour la ventilation, les ouvertures ne doivent pas être bloquées par un tapis.
Avertissements électriques
Pour que l'installation soit conforme à la réglementation en vigueur en matière de sécurité, un interrupteur omnipolaire avec un intervalle de contact minimum de 3 mm est requis, et la mise à la terre de l'appareil est obligatoire. Si le câble d'alimentation est endommagé, remplacez-le avec un câble identique. Le câble électrique ne doit être remplacé que par un technicien qualifié conformément aux directives du fabricant et aux normes de sécurité en vigueur. Adressez-vous à un Service Après-vente agréé. Si la fiche installée n'est pas adaptée à votre prise, contactez un technicien qualifié.
Une fois l'appareil installé dans son meuble, le câble d'alimentation doit être suffisamment long pour le brancher à l'alimentation électrique principale. Ne tirez pas sur le câble d'alimentation. N'utilisez pas de rallonge, de multiprise ou d'adaptateurs. N'utilisez en aucun cas cet appareil si le cordon d'alimentation ou la prise de courant est endommagé, si l'appareil ne fonctionne pas correctement ou s'il a été endommagé ou est tombé. Éloignez le cordon des surfaces chaudes. Une fois l'installation terminée, l'utilisateur ne doit plus pouvoir accéder aux composantes électriques. Évitez de toucher l'appareil si vous êtes mouillé, et ne l'utilisez pas si vous êtes pieds nus.
Utilisation correcte
L'eau du lave-vaisselle n'est pas potable.
Le nombre maximum de couverts est indiqué sur la fiche produit.
La porte ne devrait pas être laissée ouverte ; vous pourriez trébucher dessus.
La porte ouverte ne peut porter que le panier à vaisselle (charge de vaisselle).
N'appuyez pas d'objet sur la porte, ne vous asseyez pas et ne montez pas dessus.
Utilisez uniquement des détergents et des produits de rinçage conçus pour un lave-vaisselle automatique.
Avertissement : les
Les détergents pour lave-vaisselle sont très alcalins. Ils peuvent être très dangereux en cas d'absorption. Évitez tout contact avec la peau et les yeux, et éloignez les enfants du lave-vaisselle lorsque la porte est ouverte.
Assurez-vous que le distributeur de détergent est vide à la fin de chaque cycle de lavage.
Conservez le détergent, le liquide de rinçage et le sel hors de portée des enfants.
Avertissement : les
Les couteaux et autres ustensiles avec des extrémités pointues doivent être placés dans le panier avec la pointe vers le bas ou être placés à l'horizontale. Le robinet d'eau doit être fermé et la prise de courant débranchée à la fin de chaque programme, ou avant de nettoyer ou d'effectuer des réparations sur le lave-vaisselle. Débranchez également en cas de défaillance.
Nettoyage et entretien
N'utilisez jamais un appareil de nettoyage à la vapeur.
Utilisez des gants de protection pour le nettoyage et l'entretien.
L'appareil ne doit pas être branché à l'alimentation électrique lors de l'entretien.
Mise au rebut des matériaux d'emballage
Les matériaux d'emballage sont entièrement recyclables comme l'indique le symbole de recyclage.

Les différentes parties de l'emballage doivent donc être jetées de manière responsable et en totale conformité avec la réglementation des autorités locales régissant la mise au rebut de déchets.
Mise au rebut des appareils électroménagers
Lors de la mise au rebut de l'appareil, rendez-le inutilisable en coupant le câble électrique et en enlevant les portes et les tablettes (si disponibles) de sorte que les enfants ne
puissent pas facilement monter à l'intérieur et s'y retrouver prisonniers.
Cet appareil est fabriqué à partir de matériaux recyclables ou réutilisables. Mettez-le au rebut en vous conformant à la réglementation locale en matière d'élimination des déchets.
Pour toute information supplémentaire sur le traitement, la récupération et le recyclage des appareils électroménagers, contactez le service municipal compétent, le service de collecte des déchets ménagers ou le revendeur de l'appareil.
Cet appareil est certifié conforme à la Directive européenne 2012/19/UE relative aux déchets d'équipements électriques et électroniques (DEEE).
En s'assurant que l'appareil est mis au rebut correctement, vous pouvez aider à éviter d'éventuelles conséquences négatives sur l'environnement et la santé humaine, qui pourraient autrement être provoquées par une mise au rebut inappropriée du présent appareil.
Le symbole figurant sur le produit et sur la documentation qui l'accompagne indique que cet appareil ne doit pas être traité comme un déchet ménager mais doit être remis à un centre de collecte spécialisé dans le recyclage des appareils électriques et électroniques.
Déclaration de conformité
Cet appareil a été conç normes des directives européennes suivantes : LVD 2014/35/UE, CEM 2014/30/UE et RoHS 2011/65/UE.
Cet appareil a été conçu exigences d'étiquettes énergétiques et d'écoconception des directives de la CE : 2009/125/CE et 2010/30/UE.

















CARACTÉRISTIQUES PRINCIPALES
| Type de construction | Encastrable |
| Type de montage | Demi-intégration |
| Type de commande | Electronique |
| Types de disposits de réglage et d'alarme | Digit |
| Top amovible | N/A |
| Porte habillable | Impossible |
| Couleur principale du produit | Blanc |
| Puisance de raccordement (W) | 1900 |
| Intensité (A) | 10 |
| Tension (V) | 220-240 |
| Fréquence (Hz) | 50 |
| Longueur du cordon électrique (cm) | 128 |
| Type de prise | Schuko |
| Longueur du tuyau d'alimentation | 0 |
| Longueur du tuyau d'évacuation | 0 |
| Plinthe régable | Non |
| Hauteur avec top amovible | 0 |
| Pieds régibles | Non |
| Hauteur du produit | 820 |
| Largeur du produit | 595 |
| Profondeur du produit | 570 |
| Profondeurporte ouverte à 90° | 1165 |
| Hauteur minimale de la niche d'encastrement | 820 |
| Hauteur maximale de la niche d'encastrement | 820 |
| Largeur minimale de la niche d'encastrement | 600 |
| Largeur maximale de la niche d'encastrement | 600 |
| Profondeur de la niche d'encastrement | 570 |
| Poids net (kg) | 35.50 |
| Poids brut (kg) | 37.50 |
CARACTÉRISTIQUES TECHNIQUES
| Programmes automatiques | Oui |
| Température maximale d'admission d'eau | 60 |
| Options de départ différé | Continu |
| Délambda maximum de départ différé (h) | 24 |
| Indicateur de déroulement | Oui |
| Afficheur digital de temps restant | Oui |
| Témoin de sel | Oui |
| Témoin de rinçage | Oui |
| Dispositif de sécurité | N/A |
| Panier supérieur régliable | Oui |
| Diamètre maximum pour une assiette panier supérieur | 0 |
| Diamètre maximum pour une assiette panier inférieur | 0 |
PERFORMANCES
| Classe énergétique - NOUVEAU (2010/30/CE) | A++ |
| Consommation énergétique annuelle - NOUVEAU (2010/30/CE) | 265 |
| Durée du mode "laisse sur marche" - NOUVEAU (2010/30/CE) | 12 |
| Consommation énergétique en mode "laisse sur marche" - NOUVEAU (2010/30/CE) | 5 |
| Consommation énergétique en mode "arrêt" - NOUVEAU (2010/30/CE) | 0.50 |
| Consommation d'eau annuelle - NOUVEAU (2010/30/CE) | 2520 |
| Niveau sonore (dB(A) re 1 pW) | 41 |
Notice Facile