7DVD-739 - Lecteur dvd LISTO - Notice d'utilisation et mode d'emploi gratuit
Retrouvez gratuitement la notice de l'appareil 7DVD-739 LISTO au format PDF.
| Intitulé | Valeur / Description |
|---|---|
| Type de produit | Lecteur DVD |
| Caractéristiques techniques principales | Lecture de DVD, CD, et fichiers multimédias |
| Alimentation électrique | Adaptateur secteur inclus |
| Dimensions approximatives | Dimensions compactes pour un rangement facile |
| Poids | Léger, facilitant le transport |
| Compatibilités | Compatible avec les formats DVD, CD, et certains formats de fichiers numériques |
| Fonctions principales | Lecture, pause, avance rapide, retour arrière |
| Entretien et nettoyage | Nettoyer avec un chiffon doux, éviter les produits abrasifs |
| Pièces détachées et réparabilité | Réparabilité limitée, pièces disponibles sur demande |
| Sécurité | Utiliser uniquement avec l'adaptateur fourni, ne pas exposer à l'humidité |
| Informations générales | Vérifier la compatibilité des formats avant l'achat |
FOIRE AUX QUESTIONS - 7DVD-739 LISTO
Questions des utilisateurs sur 7DVD-739 LISTO
0 question sur cet appareil. Repondez a celles que vous connaissez ou posez la votre.
Poser une nouvelle question sur cet appareil
Téléchargez la notice de votre Lecteur dvd au format PDF gratuitement ! Retrouvez votre notice 7DVD-739 - LISTO et reprennez votre appareil électronique en main. Sur cette page sont publiés tous les documents nécessaires à l'utilisation de votre appareil 7DVD-739 de la marque LISTO.
MODE D'EMPLOI 7DVD-739 LISTO
Notice d'utilisation
Lecteur DVD portable
7DVD-739
Sommaire
CONTENU DE L'EMBALLAGE 4
DESCRIPTION DU LECTEUR DVD 4
PANNEAU DE COMMANDES 5
LA TÉLÉCOMMANDE 6
CHARACTERISTIQUES TECHNIQUES 8
Utilisation de la fonction DVD 14
ALLUMER/ETEINDRE L'APPAREIL 14
Lire un DVD original 14
LIRE UN CD OU UN DVD CONTENANT DES FICHIERS MPEG-4 / JPEG 14
ARRÊTER LA LECTURE 15
EFFECTUER UN ZOOM SUR L'IMAGE 15
EFFECTUER UNE RECHERCHE PAR HEURE OU PAR NUMERO DE CHAPITRE/TITRE 15
SELECTIONNER LA LANGUE AUDIO 15
Définir un ordre de répétition 16
AFFICHER DES INFORMATIONS DE LECTURE 16
CRER UNE LISTE DE LECTURE 16
Lire un CD audio 17
MENUS de configuration 18
Réglages Généraux 18
Réglages audio 19
RÉGLAGES VIDEO 20
RÉGLAGES PRÉFÉRENCES 21
RÉGLAGES MOT DE PASSE 22
Contenu de l'emballage
1 lecteur DVD 1 télécommande (1 pile CR2025 fournie) 1 adaptateur secteur 1 chargeur allume-cigare 1 notice d'utilisation
DESCRIPTION DU LECTEUR DVD
PANNEAU DE COMMANDES

| 1 | Panneau de commandes |
| 2 | Débuter oumettre en pause la lecture |
| 3 | Accéderaux menus de configuration |
| 4 | Sélectionner une source de lecture (DVD ou USB) |
| 5 | Port USB |
| 6 | Prise casque |
| 7 | Prise de sortie AV |
| 8 | Interrupteur ON (marche) / OFF (arrêt) |
| 9 | Connecteur d'alimentation 9-12V — — |
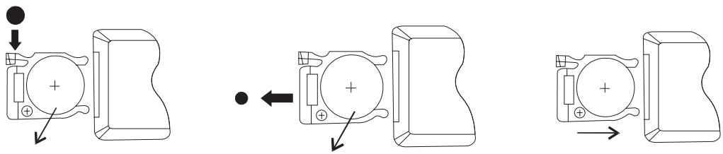
Insertion des piles dans la télécommande
Pour insérer la pile dans la télécommande ou effectuer son remplacement, veuillez procéder comme suit :

- Appuyez sur la touche d’éjection du compartiment à pile, et ouvrez complètement le tiroir.
- Insérez la pile de type CR 2025 en respectant les polarités (+/-). Refermez le capot. Utilisez uniquement le type de pile spécifique mentionné dans cette notice.
- La performance de la télécommande est optimale dans un angle de par rapport au capteur de la télécommande. Si la plage de fonctionnement se réduit, il est peut-être nécessaire de remplacer les piles.
Description des touches

| 1 | Lire image par image. | 15 | Touches numériques (0 à 9). |
| 2 | Accéder à un passage précis du support en cours de lecture. | 16 | Afficher les informations sur la piste en cours de lecture. |
| 3 | Activer/Désactiver et sélectionner la langue du sous-titrage. Cette fonction n'est pas disponible sur l'ensemble des disques. | 17 | Avancer de 10 pistes / 10 chapitres. |
| 4 | Afficher différents angles de vue en cours de lecture. Cette fonction n'est pas disponible sur sur l'ensemble des disques. | 18 | Accéder au menu racine du disque. |
| 5 | Accéder au menu des titres du disque | 19 | Sélectionner les options audio disponibles sur le disque. |
| 6 | Verifier une sélection / Débuter la lecture. | 20 | Débuter oumettre en pause la lecture. |
| 7 | Accéder aux menus de configuration. | 21 | Suspendre (1 appui) ou arrêté (2 appuis) la lecture. |
| 8 | Diminuer le volume. | 22 | Régler les paramètres d'affichage de l'écran. |
| 9 | Définir un ordre de répétition. | 23 | Augmenter le volume. |
| 10 | Lire au ralenti. | 24 | Accéder à la piste ou au chapitre suivant. |
| 11 | Accéder au menu de programmation. | 25 | Accéder à la piste ou au chapitre précédent. |
| 12 | Effectuer un zoom avant de l'image. En mode Zoom, utilisez les touches▲/▼/▲/▲ pour vous déplacer dans l'image. | 26 | Lire en vitesse accélérée. |
| 13 | Sélectionner une source de lecture (DVD ou USB). | 27 | Lire à rebours en vitesse accélérée. |
| 14 | Désactiver le volume. | ||
| Marque | Listo |
| Modèle | 7DVD-739 |
| Type de supports | CD, CD-R/RW, DVD,DVD-R/RW, DVD+R, DVD+R/RW |
| Format Video | Xvid |
| Formats Audio | MP3 |
| Format Photo | JPEG |
| Port USB | Lit les fichiers MP3, AVI, JPEG |
| Écran | TFT LCD 7 pouces (17,78cm) couleurs Rotatif à 180° Résolution : 800 x 480 Format : 16/9 |
| Enceintes stéréo | 2 x1W |
| Batterie | Lithium Polymer rechargeable intégrée 7,4V --- 1000 mAHh Autonomie : jusqu'à 2 heures |
| Alimentation | • Par adaptateur secteur : Modèle : PEF_0900100VE Entrée : 100-240V~, 0,3A Sortie : 9V --- 1,0A • Par chargeur allume-cigare : Modèle : W001D1 Entrée / Sortie : 12V / 12V |
| Consommation maximum | 10 W |
| Spécifications Générales | DVD Zone 2 Système de couleur : PAL / NTSC. Contrôle parental Fonction anti-choc |
| Conditions d'utilisation | Température : 0°~+45° C |
| Dimensions (L x H x P) | 220 x 45 x 175 mm |
| Poids | 0,7 Kg |
Consignes de sécurité
LISEZ ATTENTIVEMENT CES INSTRUCTIONS AVANT D'UTILISER L'APPAREIL ET CONSERVEZ LES POURPOUVOIR VOUS Y REPORTER ULTRÉIREULEMENT.

Attention
RISQUE DE CHOC ELECTRIQUE
NE PAS OUVRIR

ATTENTION : POUR RÉDUIRE LES RISQUES D'INCENDIE OU DE CHOC ÉLECTRIQUE, N'OUVREZ PAS LE COUVERCLE OU LE PANNEAU ARRIÈRE.
Aucune pièce de cet appareil ne peut être réparée ou remplacée par l'utilisateur. Confiez les réparations et l'entretien exclusivement à un personnel qualifié. Tout démontage de l'appareil entraînera l'annulation de la garantie.

Le symbole de l'éclair dans un triangle équilatéral attire l'attention de l'utilisateur sur la présence, dans le boîtier de l'appareil, d'une tension élevée,
non isolée, dont l'amplitude pourrait être suffisante pour constituer un risque de décharge électrique sur les personnes.

Le point d'exclamation inscrit dans un triangle équilatéral attire l'attention de l'utilisateur sur la présence de consignes
de sécurité importantes de fonctionnement ou de maintenance (entretien courant) dans la notice accompagnant l'appareil.
ATTENTION: NE DEMONTEZ PAS ET N'ESSAYEZ PAS D'OUVRIR VOTRE APPAREIL CAR L'OUVERTURE ET LE RETRAIT DU BOITIER POURRAIENT VOUS EXPOSER A DES TENSIONS DANGEREUSES ET A D'AUTRES DANGERS. CONSULTEZ VOTRE CENTRE DE SERVICES APRES-VENTE POUR TOUTE DEMANDE DE RÉPARATION OU DE REMPLACEMENT DE PIECE.
ATTENTION : AFIN D'ÉVITER TOUT RISQUE D'ÉLECTROCUTION, VEUILLEZ INSÉRER CORRECTEMENT LA FICHE DANS LA PRISE MURALE.
- Cet appareil est destiné à un usage domestique uniquement. N'utilisez l'appareil que comme indiqué dans ce mode d'emploi.
- Avant de brancher votre appareil, assurez-vous que la tension électrique de votre domicile correspond à celle indiquée sur la plaque signalétique de l'appareil.
- Branchez votre appareil sur une prise secteur facilement accessible.
- Lorsque vous débranchez le câble d'alimentation, tirez-le toujours au niveau de l'adaptateur, ne tirez pas sur le câble lui-même.
- Veillez à ce que le cordon d'alimentation ne puisse être écrasé ou coincé, en particulier au niveau des fiches, des prises de courant et au point de raccordement de l'appareil. Veillez à positionner le cordon d'alimentation de telle sorte qu'il soit impossible de marcher ou de trébucher dessus. Veillez à débrancher l'appareil de la prise de courant en cas d'orage ou de non utilisation prolongée.
- Si votre appareil fonctionne de manière inhabituelle,

Format de lecture des DVD cet appareil ne prend en charge que les disques DVD de zone 2
APPEARIL A LASER DE CLASSE 1
MISE EN GARDE: DES RADIATIONS DE LASER INVISIBLES PEUVENT S'ECHAPPER QUAND L'APPEARIL EST DEMONTE ET QUE LES DISPOSITIFS DE SECURITE SONT NEUTRALISSES. EVITEZ DE VOUS EXPOSER AUX FAISCEAUX.

Ce produit contient un dispositif émettant un laser de faible puissance.
et particulièrement s'il émet des sons ou des odeurs qui vous paraissent anormaux, débranchez-le immédiatement et faites-le examiner par un réparateur qualifié.
Si le câble d'alimentation est endommagé, il doit être remplacé par votre revendeur, son service après-vente ou une personne de qualification similaire afin d'éviter un danger. Une maintenance est nécessaire dans les cas suivants:
- lorsque l'adaptateur ou le cable d'alimentation sont endommagés, lorsque du liquide a été renversé ou des objets ont
Installation
N'exposez pas l'appareil à la lumière directe du soleil et tenez-le éloigné des sources de chaleur, telles que des radiateurs, des appareils de chauffage, des fours ou autres appareils (incluant les amplificateurs) produisant de la chaleur.
Ne placez pas sur l'appareil des sources de flammes nues, telles que des bougies allumées, et ne placez pas d'objet contenant un liquide (un vase, par exemple) sur l'unité ou les haut-parleurs.
L'appareil ne doit pas être exposé à des éclaboussures.
Ne placez pas d'objets remplis d'eau, tels que des vases, sur l'appareil. N'utilisez jamais cet appareil près de l'eau, par exemple près d'une baignoire, d'un
été insérés dans l'appareil,
- si l'appareil a été exposé à la pluie ou à l'humidité,
- si l'appareil ne fonctionne pas normalement,
- si l'appareil est tombé ou qu'il a été endommagé de quelque façon que ce soit.
Cet appareil ne doit pas être utilisé par des enfants sans surveillance. Veillez à ce que les enfants ne jouent pas avec l'appareil.
N'utilise jamais d'objets pointus pour accéder à l'intérieur de l'appareil ou des haut-parleurs.
éviter, dans un sous-sol humide, près d'une piscine ou de toute autre source d'humidité.
Veillez à ce qu'aucun objet ne tombe et qu'aucun liquide ne coule à l'intérieur de l'appareil par les ouvertures de ventilation.
Ne posez pas l'appareil sur un chariot, un support, un trépied, une console ou une table instable. L'appareil pourrait tomber et risquer de blesser un enfant ou un adulte, et le lecteur pourrait être sérieusement endommagé. Utilisez seulement les chariots, supports, trépieds, consoles et tables spécifiques par votre magasin revendeur.
N'exposez pas cet appareil à des températures élevées (par exemple, ne le laissez pas à l'intérieur d'un véhicule lorsqu'il fait chaud). Cela pourrait provoquer des dysfonctionnements ou abîmer le produit. Veillez à maintenir l'appareil et l'adaptateur secteur éloignés des surfaces chaudes.
Espace de ventilation
Utilisez cet appareil uniquement dans des climats modérés. Évitez les climats tropicaux et particulièrement humides.
Laissez toujours un espace de ventilation suffisant autour de l'appareil. Ne placez aucun objet à moins de 5 cm autour de l'appareil.
Condensation
La condensation peut se former à l'intérieur du lecteur s'il est transporté d'un endroit chaud vers l'extérieur, ou si la température de la pièce augmente rapidement. Bien que la condensation ne puisse endommager le lecteur, elle peut entraver ses performances.
Recyclage de la pile et de la batterie




Cet appareil contient une batterie lithium interne susceptible d'exploser ou de libérer des produits chimiques dangereux. Pour réduire le risque d'incendie ou de brûlure, ne jamais démonter, écraser, percer la batterie.
Ne jetez pas la pile ou la batterie avec les ordures ménagères. Afin de préserver l'environnement,
Veuillez ne pas exposer l'appareil ou son adaptateur secteur à la lumière directe du soleil et à la poussière ou à des vibrations.
Cet appareil doit être placé dans un endroit et dans une position qui ne nuit pas à sa bonne ventilation.
Par exemple, ne placez pas l'appareil sur un lit, un canapé ou tout autre objet qui pourrait obstruer les orifices d'aération. Ne le placez pas dans un meuble fermé (tel qu'une bibliothèque ou un placard) qui empêcherait l'air de circuler par les orifices prévus à cet effet.
temporairement. Laissez le lecteur s'adapter à la température ambiantependant environ une heure avant de le mettre en marche.
débarrasssez-vous de la pile ou de la batterie conformément aux réglementations en vigueur.
Déposez-les dans votre conteneur à piles le plus proche ou rapportez-les dans votre magasin. - Ne rechargez jamais la pile non-rechargeable, ne démontez pas la pile, ne la jetez pas dans un feu. - Ne l'exposez pas à des températures élevées ou à la lumière directe du soleil. - Ne l'incinérez pas.
Alimentation du lecteur DVD

Le lecteur DVD peut être alimenté par secteur, grâce à l'adaptateur secteur fourni.
Avant de brancher votre appareil, assurez-vous que la tension électrique de votre domicile correspond à celle indiquée sur la plaque signalétique et que la fiche du câble est adaptée à la prise de courant.
Branchez une extrémité du câble d'alimentation sur le connecteur d'alimentation situé sur le lecteur DVD. Puis branchez l'autre extrémité sur une prise murale, comme indiqué sur l'illustration ci-contre.
Réglez l'interrupteur ON / OFF de l'appareil en position ON (marche).
Si vous utilisez un adaptateur pour allume-cigare pour alimenter l'appareil, branchez la fiche de l'adaptateur sur la prise d'entrée DC IN 9-12V de l'appareil, puis branchez l'autre extrémité sur la prise d'allume-cigare de la voiture.
L'adaptateur pour allume-cigare ne peut pas être utilisé pour recharger la batterie. L'adaptateur pour allume-cigare est disponible uniquement si l'alimentation de la voiture est sur 12 V. - Ne branchez l'adaptateur allume-cigare que lorsque le véhicule est déjà démarré.
Charge
Votre appareil est équipé d'une batterie rechargeable Lithium intégrée. Veillez à charger la batterie intégrée pendant deux à trois heures minimum avant la première utilisation.
- Connectez le lecteur DVD à une prise d'alimentation secteur. L'indicateur de charge s'allume en orange, et devient vert lorsque la charge est complète.
Autonomie
- Deux heures environ sont nécessaires pour charger la batterie complètement.
- La batterie entièrement chargée peut fonctionner au maximum de sa puissance pendant 2 heures. Vérifiez que la batterie est entièrement chargée et déchargée pendant les trois premières utilisations.
Branchement sur un téléviseur
Pour regarder un film directement sur votre téléviseur, vous devez raccorder votre lecteur DVD à un téléviseur à l'aide d'un cable audio/video (non fourni), en prenant garde de bien respecter les couleurs des prises.
Branchement d'un CASQUE AUDIO
Pour une écoute discrète, utilisez des écouteurs munis d'un cordon jack stéréo de 3,5 mm en branchant la fiche des écouteurs (non fournis) dans la prise casque située sur la droite de l'appareil.
Quand les écouteurs sont connectés, les enceintes ne produisent aucun son. Avant de brancher ou débrancher les écouteurs, veillez à diminuer le volume.
Pour votre sécurité, n'utilisez pas les écouteurs lorsque vous conduisez.
Il est recommandé d'utiliser des écouteurs avec votre lecteur portable représentant les caractéristiques suivantes :
Impédance d'entrée: 8 Ohms, 2x2W - Bande passante: 20 Hz - 20 KHz

Afin d’éviter les dommages auditifs éventuels, ne pas écouter à un niveau sonore élevé pendant une longue durée.
Utilisation de la fonction DVD
- Allumez le lecteur à l'aide de l'interrupteur ON (MARCHE) / OFF (ARRÉT) situé à la droite de l'appareil.
- Pour éteindre le lecteur, placez l'interrupteur ON (MARCHE) / OFF (ARRÉT) en position OFF.
LIRE un DVD original
- Appuyez sur le bouton pour ouvrir le compartiment à disques.
- Introduisez un DVD, face imprimée vers le haut, puis refermez couvercle du compartiment à disque.
- Un menu de sélection apparait sur l'écran du téléviseur. Il est possible, avec certains disques, que la lecture démarre directement.
- Sélectionnez dans le menu proposé l'option de votre choix (langue, chapitre...), puis confirmez en appuyant sur la touche ENTER. La lecture démarre.
- Appuyez sur les touches « et » pour atteindre la piste précédente ou suivante.
- Appuyez sur les touches « et » pour augmenter la vitesse de lecture.
LIRE un CD ou un DVD contenant des fichiers MPEG4 / JPEG
Votre lecteur DVD peut lire les fichiers audio au format MP3 ou AC3, les fichiers vidéo aux formats Xvid et les fichiers images au format JPEG.
- Appuyez sur le bouton △ pour ouvrir le compartiment et disques.
- Introduisez un DVD, face imprimée vers le haut, puis refermez le couvercle du compartiment à disques.
- L'appareil lit automatiquement les informations enregistrées sur le support et vous affiche le répertoire du contenu sur l'écran du téléviseur.
- Appuyez sur les touches de navigation ou ▽ pour sélectionner le dossier que vous souhaitez écouter ou visionner.
- Appuyez sur le bouton ▶(Lecture/Pause) ou sur la touche ENTER pour confirmer votre sélection.
- À présent, sélectionnez la piste ou le dossier de votre choix à l'aide des touches de navigation ▲ ou ▼ puis appuyez sur le bouton ▶ (Lecture/Pause) ou sur la touche ENTER pour débuter la lecture.
- Au terme de la lecture, la piste ou la photo suivante s'affiche automatiquement.
- À tout moment, vous pouvez appuyer sur les touches ▲ et ▼ pour atteindre la piste précédente ou la piste suivante. Appuyez sur les touches ▲ et ▼ pour augmenter la vitesse de lecture (x2, x4, x8, x16, x32).
| 00:14 03:31 001/018 |
| \ |
| MP3 01 - Piste 1 MP3 02 - Piste 2 MP3 03 - Piste 3 MP3 04 - Piste 4 MP3 05 - Piste 5 MP3 06 - Piste 6 |
- Lorsque vous visionnez une photo au format JPEG, appuyez sur la touche (Arrêt) pour afficher toutes les vignettes photos. Sélectionnez une vignette à l’aide des touches de navigation ▼▲, puis appuyez sur le bouton (Lecture/Pause) ou sur la touche ENTER pour afficher la photo en plein écran.
- Vous pouvez également sélectionner SLIDE SHOW pour débuter un diaporama, ou MENU pour consulter les fonctions disponibles dans ce mode.
- Appuyez sur la touche MENU pour revenir à la racine du disque.
Arrêter la lecture
La touche (Arrêt) permet d'arrêter la lecture de deux manières :
- Appuyez une fois sur la touche (Arrêt). Le lecteur conserve en mémoire la position de l'arrêt et l'affichage sur écran indique que la lecture est suspendue. Appuyez sur le bouton (Lecture/Pause) pour reprendre la lecture.
- Appuyez deux fois sur la touche (Arrêt) pour un arrêt complet de la lecture du disque. L'affichage sur écran indique que l'appareil est à l'arrêt.
Effectuer un ZOOM sur l'image
En mode JPEG, lorsque l'image est en taille réelle, vous pouvez changer l'orientation de l'image en utilisant les touches fléchées / / /.
Effectuer une recherche par TITRE ou par numéro de chapitre
- Appuyez sur la touche SEARCH de votre télécommande.
- Utilisez les touches numériques, pour saisir le numéro de chapitre ou le moment à partir duquel vous souhaitez débuter la lecture.
- Appuyez ensuite sur la touche ENTER de la télécommande, ou sur la touche de l'appareil. La lecture commence automatiquement à partir du point que vous avez sélectionné.
Vous pouvez sélectionner la langue audio lors de la lecture d'un DVD.
Appuyez sur la touche AUDIO de la télécommande pour afficher les options de langue. Si le canal audio est indisponible, le canal par défaut est utilisé.
Certains DVD ne permettent pas de modifier la langue audio. Appuyez sur la touche « MENU » de votre télécommande pour accéder au menu du disque.
Définir un ORDRE de répétition
Appuyez sur la touche REPEAT de la télécommande pour définir un ordre de répétition
Afficher les informations de lecture
Des informations supplémentaires au sujet de la piste en cours de visualisation peuvent être consultées (numéro de la piste, durée écoulée, ordre de répétition). Appuyez sur la touche DISPLAY pour y accéder.
Créer une LISTE de lecture
Cette fonction permet de programmer l'ordre de lecture des titres et chapitres des DVD et CD audio.
Avec un DVD
- Lorsque le disque est à l'arrêt, appuyez sur la touche PROGRAM. La fenêtre suivante s'affiche à l'écran :
| 1 | TI: | CH: | 6 | TI: | CH: |
| 2 | TI: | CH: | 7 | TI: | CH: |
| 3 | TI: | CH: | 8 | TI: | CH: |
| 4 | TI: | CH: | 9 | TI: | CH: |
| 5 | TI: | CH: | 10 | TI: | CH: |
| SORTIR | >> |
- Appuyez une fois sur ENTER, puis saisissez le numéro du titre de votre choix puis le numéro du chapitre.
- Répétez cette opération autant de fois que nécessaire.
- Pour annuler la programmation, positionnez le curseur sur SORTIR, puis appuyez sur la touche ENTER de la télécommande.
- Pour débuter la lecture, positionnez le curseur sur LECTURE, puis appuyez sur la touche ENTER de la télécommande.
- Pour naviguer dans votre liste de lecture, utilisez les touches et pour atteindre la piste précédente ou la piste suivante.
- Appuyez deux fois sur la touche (Arrêt) pour un arrêt complet de la lecture de la programmation.
Avec un CD AUDIO ou un DVD contenant des fichiers mpeg-4 / JPEG
- Appuyez sur la touche PROGRAM.
- À l'aide des touches fléchées ∇/Δ et des touches numériques, sélectionnez la première piste de votre liste de lecture.
- Répétez cette opération autant de fois que nécessaire.
- Pour annuler la programmation, positionnez le curseur sur SORTIR, puis appuyez sur la touche ENTER de la télécommande.
- Pour débuter la lecture, positionnez le curseur sur LECTURE, puis appuyez sur la touche ENTER de la télécommande.
- Pour naviguer dans votre liste de lecture, utilisez les touches et pour atteindre la piste précédente ou la piste suivante.
- Appuyez deux fois sur la touche (Arrêt) pour un arrêt complet de la lecture de la programmation.
LIRE un CD AUDIO
Si rarement disque n'est chargé dans le compartiment ou si le disque est placé à l'envers, l'écran affichera la mention PAS DE DISQUE.
- Appuyez sur le bouton pour ouvrir le compartiment à disques.
- Introduisez un disque audio, face imprimée vers le haut, puis refermez le couvercle du compartiment à disque.
- La lecture du disque débute automatiquement par la piste 1.
- Appuyez sur les touches et pour atteindre la piste précédente ou la piste suivante.
- Appuyez sur les touches « et » pour augmenter la vitesse de lecture (x2, x4, x8, x16, x32).
- Appuyez deux fois sur la touche (Arrêt) pour un arrêt complet de la lecture du disque.
MENUS de configuration
- Appuyez sur la touche SETUP (Réglages) pour entrer dans le menu de configuration.
- Utilisez les touches fléchées ↓/▶ pour sélectionner un sous-menu, puis appuyez sur la touche ▼ pour confirmer. Utilisez les touches fléchées / pour sélectionner les paramètres que vous souhaitez modifier, puis appuyez sur la touche pour confirmer. Effectuez les réglages de votre choix, et appuyez sur la touche ENTER après chaque réglage pour le memoriser.
- Appuyez sur ↓ pour revenir au menu précédent.
- Appuyez à nouveau sur la touche SETUP (Réglages) pour sortir du menu de configuration.
Réglages généraux
Affichage TV
Cette option vous permet de sélectionner le format d'image désiré : Vue panoramique 4:3, Lettre 4:3, 16:9 ou Compress large.
Marqueur d'angle
Lorsque cette option est activée (et que le DVD le permet), une icône s'affiche dans le coin supérieur droit pour vous signaler que la scène a été filmée sous plusieurs angles de vue.
Cette option vous permet de sélectionner la langue d'affichage du menu.
Cette option vous permet d'activer ou de désactiver les sous-titres.
ECONOM. Ecran
Cette option vous permet d'activer ou de désactiver la mise en veille de votre écran lorsque le lecteur n'est pas utilisé pendant un certain laps de temps.
Lorsque cette fonction est activée, un logo DVD se déplace à l’écran lorsque la lecture est à l’arrêt ou lors de l’affichage d’une image statique pendant quelques instants. L’économiseur d’écran permet d’éviter l’affichage prolongé d’une image statique sur l’écran LCD, ce qui risquerait de l’abîmer.
AUTO Standby
Cette option vous permet de définir un début d'extinction automatique de votre appareil (3 heures ou 4 heures), lorsque celui-ci n'est pas sollicité. Vous avez également la capacité de désactiver cette mise en veille automatique.
Réglages Audio
Cette option vous permet de paramétrer la sortie stéréo analogue du lecteur.
G/D : Sélectionnez ce réglage si votre lecteur est connecté à un amplificateur compatible avec Dolby Pro Logic. - STEREO : Sélectionnez ce réglage pour obtenir un signal stéréo sur votre lecteur DVD.
Réglage numérique DOLBY
Mono double
Stéréo: Diffuse le son en stéréo
G - Mono : Diffuse le canal gauche uniquement D - Mono : Diffuse le canal droit uniquement
Mixage Mono : Diffuse un son mono sur les canaux gauche et droit.
Dynamique
Cette option vous permet de compresser la dynamique d'un signal audio et de minimiser ainsi les variations de volume trop importantes.
Réglages vidéo

Ce menu vous permet d'accéder aux 6 sous-menus suivants :
Luminosite
Cette option règle la luminosité de l'image. Si vous augmentez la luminosité, les parties foncées de l'image sont éclaircies. Si vous diminuez la luminosité, vous ajoutez plus d'obscurité aux zones pâles de l'image.
Contraste
Cette option règle le niveau de blanc de l'image. Augmentez le contraste pour ajuster les secteurs blancs de l'image ou diminuez le contraste pour ajuster les secteurs noirs de l'image.
Cette option règle la balance des couleurs entre le rouge et le vert.
Saturation
Cette option vous permet d'ajuster l'intensité des couleurs. Plus vous augmentez la saturation, plus les couleurs de l'image sont intenses. Au contraire, si vous diminuez la saturation, les couleurs seront moins intenses.

Type TV
Cette option vous permet de sélectionner le système couleur correspondant à votre téléviseur lorsque le lecteur DVD est relié à celui-ci : Pal ou NTSC. Sélectionnez Auto pour que le lecteur détecte automatiquement le système couleur.
Cette option vous permet de choisir la langue audio par défaut pour les disques DVD.
Les langues audio disponibles dépendent de chaque disque.
Vous pouvez également changer la langue audio pendant la lecture à l'aide de la touche AUDIO.
Cette option vous permet de choisir la langue de sous-titrage par défaut souhaitée. Les langues de sous-titrage disponibles dépendent de chaque disque DVD. Vous pouvez également changer la langue de sous-titrage lors de la lecture en appuyant sur la touche SUBTITLE.
Cette option vous permet de régler la langue du menu des disques DVD.
Controle parental
Certains DVD sont codés en fonction de leur contenu. Cette option vous permet de régler l'âge minimum requis pour visionner ce type de DVD. Ainsi, en fonction du niveau de verrouillage parental sélectionné, la lecture du disque ou de certaines scènes violentes pourrait être interdite aux enfants et accessible uniquement avec le mot de passe. Saisissez donc le mot de passe à l'aide du pavé numérique de la télécommande et appuyez sur la touche ENTER. Le mot de passe par défaut est 1369.
Reportez-vous ensuite à la section « 5. Régler mot de passe » en page suivante pour activer la saisie du mot de passe.
Réglage par défaut
Cette option vous permet de rétablir tous les réglages d'usine par défaut.

Mode MOT de PASSE
Cette option vous permet d'activer ou de désactiver la saisie du mot de passe pour la lecture de certains disques.
MOT de PASSE
Toutes les options du contrôle parental sont protégées par un mot de passe. Cette option vous permet de changer le mot de passe.

- Ancien mot de passe
Entrez l'ancien mot de passe à l'aide du pavé numérique. Le mot de passe par défaut est le 1369. Après saisie de l'ancien mot de passe, le curseur passe automatiquement à la case suivante.
- Nouveau mot de passe
Entrez un nouveau mot de passe à 4 chiffres à l'aide du pavé numérique. Le curseur passe automatiquement à la case suivante.
- Confirmer mot de passe
Entrez une seconde fois le nouveau mot de passe à 4 chiffres à l'aide du pavé numérique. Le curseur passe automatiquement à la case suivante OK. Appuyez sur la touche ENTER de la télécommande
Note: Si le mot de passe est modifié, le code parental sera également modifié.
Le mot de passe par défaut 1369 sera toujours actif même après changement du mot de passe.
Utilisation de la fonction USB
Les supports amovibles USB contenant des fichiers vidéo, audio ou image peuvent être lus sur ce lecteur de DVD. Les paramètres de lecture des fichiers sauvegardés sur la clé USB sont les mêmes que pour les autres disques.
- Allumez le lecteur à l'aide de l'interrupteur ON (MARCHE) / OFF (ARRÊT) situé à la droite de l'appareil.
- Insérez un support amovible USB dans l'emplacement prévu à cet effet.
- Appuyez sur la touche SOURCE de la télécommande pour sélectionner la source USB.
- L'appareil lit automatiquement les informations enregistrées sur le support et vous affiche le répertoire du contenu sur l'écran du téléviseur.

- Appuyez sur les touches de navigation ou ▽ pour sélectionner le dossier que vous souhaitez écouter ou visionner.
- Appuyez sur le bouton ▶(Lecture/Pause) ou sur la touche ENTER pour confirmer votre sélection.
- Sélectionnez la piste ou le dossier de votre choix à l'aide des touches de navigation ▲ ou ▼ puis appuyez sur le bouton ▶ (Lecture/Pause) ou sur la touche ENTER pour débuter la lecture.
- Au terme de la lecture, la piste suivante s'affiche automatiquement.
- À tout moment, vous pouvez appuyer sur les touches et pour atteindre la piste précé
- L'appareil est compatible uniquement avec les périhériques USB formatés avec le système de fichiers FAT16 et FAT32. Le système de fichiers NTFS n'est pas pris en charge.
- Nous ne pouvons pas garantir la compatibilité (fonctionnement et/ou alimentation de l'interface) avec tous les périphériques de stockage USB. Si votre périphérique USB n'est pas reconnu, nous vous recommandons de connecter un périphérique de stockage USB d'une autre marque.
- Nous ne pouvons être tenus responsables de toute perte de données pouvant survenir lorsqu'un périphérique est connecté à cet appareil. Lorsque les fichiers sont volumineux, leur lecture par le système peut prendre un certain temps.
- Certains périphériques USB peuvent ne pas être correctement reconnus.
- Suivant le contenu, la lecture ou l'affichage de certains fichiers peut être impossible, même s'ils sont dans un format compatible.
Retrait du périphérique USB
Avant de procéder au retrait du périphérique USB, sélectionnez une autre source ou éteignez le lecteur DVD portable à l'aide de l'interrupteur ON (MARCHE) / OFF (ARRÊT).
Orientation de l'écran

L'écran peut pivoter jusqu'à vers la droite.
Orientez l'écran avec une main, en maintenant la base du lecteur avec l'autre main.
Ne tentez pas d'aller au-delà du point maximum de rotation. Ceci risque d'endommager l'appareil.
Nettoyage du lecteur
- Débranche l'appareil de la prise de courant avant tout nettoyage.
- Nettoyez l'appareil uniquement à l'aide d'un chiffon doux et sec.
- N'utilisez aucun nettoyant liquide ou aérosol.
Manipulation des disques

Tenez le disque par les extrémités et veillez à ce que vos doigts ne touchent pas la surface de lecture. Ne collez pas de papier et ne mettez pas d'autocollant sur les disques.
Nettoyage des disques

Les empreintes de doigts et la poussière sur un disque peuvent entraîner une qualité médiocre de l'image et une distorsion du son. Avant la lecture, nettoyez le disque avec un chiffon propre et sec en partant du centre vers les extrémités.
N'utilise jamais d'alcool, de benzène, de diluant, de liquide nettoyant ou autres produits chimiques.
N'utilise pas d'air comprimé pour nettoyer les poussières.
Rangement des disques
Rangez le disque dans son boîtier après utilisation.
N'exposez pas les disques à des environnements très froids, humides ou chauds.
Ne le laissez jamais dans un véhicule en stationnement exposé aux rayons du soleil.
Disques endommagés ou d'une autre forme

N'utilise pas de disques fendus, ébréchés, déformés, ou ayant d'autres dommages car ils pourraient endommager le lecteur.
Ce lecteur est conçu pour être utilisé uniquement avec des disques traditionnels, totalement circulaires. N'utilise pas de disques ayant une autre forme.
Ne soulevez et ne déplacez jamais l'appareil durant la lecture : les disques tournent à grande vitesse et pourraient être endommagés.
GUIDE de dépannage
Si vous ne pouvez pas résoudre le problème en suivant les instructions ci-dessous, contactez le service après-vente de votre magasin.
| Absence d'alimentation | • Branchede le cordon d'alimentation. • Vérifiez la position du bouton marche/arrêt. • Rechargez la batterie. |
| Absence de son | • Vérifiez le niveau du volume à l'aide des touches VOL+ et VOL-. • Reprenez la lecture du film en vitesse normale. • Débranchez le casque pour retrouver le son des haut-parleurs. |
| Pas de lecture du support amovible USB | • Vérifiez les formats de lecture compatibles avec cet appariel. • Débranchez le support amovible puis branchez-le à nouveau. |
| La télécommande ne fonctionne pas ou la sensibilité est mauvaise | • Vérifiez la pile de la télécommande: assurez-vous qu'elle est bien adaptée à la télécommande (cf. paragraphe « Insertion de la pile dans la télécommande ») et qu'elle n'est pas usée. • Dirigez la télécommande vers le capteur infrarouge du lecteur. • Vérifiez qu'il n'y a pas d'obstacles entre la télécommande et le capteur infrarouge. |
| L'écran affiche : Pas de Disque | • Assurez-vous d'avoir bien mis le disque dans le compartment. |
| • Vérifiez que le disque n'est pas positionné à l'envers. | |
| • Vérifiez que le disque n'est pas déformé. | |
| • Vérifiez que le disque n'est pas rayé. | |
| L'écran affiche : Erreur Disque | • Vérifiez que le disque n'est pas de mauvaise qualité. • Assurez-vous que le disque n'est pas rayé ou endommagé. • Assurez-vous que le format du disque est compatible avec le lecteur. • Assurez-vous que le disque n'est pas déformé. |
| Fonctionnement anormal | • Éteignez puis rackumez votre lecteur. |
Toutes les informations, dessins, croquis et images dans ce document relèvent de la propriété exclusive de SOURCING & CREATION. SOURCING & CREATION se réserve tous les droits relatifs à ses marques, créations et informations. Toute copie ou reproduction, par quel que moyen que ce soit, sera jugée et considérée comme une contrefaçon.
Ce symbole apposé sur le produit signifie qu'il s'agit d'un appareil dont le traitement en tant que déchet est soumis à la réglementation relative aux déchets d'équipements électriques et électroniques (DEEE). Cet appareil ne peut donc en aucun cas être traité comme un déchet ménager, et doit faire l'objet d'une collecte spécifique à ce type de déchets. Des systèmes de reprise et de collecte sont mis à votre disposition par les collectivités locales (déchèterie) et les distributeurs. En orientant votre appareil en fin de vie vers sa filière de recyclage, vous contribuerez à protéger l'environnement et empêcherez toute conséquence nuisible pour votre santé.
Conditions de garantie :
Ce produit est garanti contre toute défaillance résultant d’un vice de fabrication ou de matériel. Cette garantie ne couvre pas les vices ou les dommages résultant d’une mauvaise installation, d’une utilisation incorrecte, ou de l’usure normale du produit. La durée de garantie est spécifiée sur la facture d’achat.

Faites un geste eco-citoyen. Recyclez ce produit en fin de vie.



Sourcing & Creation 21 avenue de l'Harmonie,
Fabriqué en RPC.
F-59650 Villeneuve d'Ascq Cedex
Notice Facile