AC/DC 225/125 - Soudage LINCOLN ELECTRIC - Notice d'utilisation et mode d'emploi gratuit
Retrouvez gratuitement la notice de l'appareil AC/DC 225/125 LINCOLN ELECTRIC au format PDF.
| Type de produit | Poste à souder AC/DC |
| Caractéristiques techniques principales | Soude à l'arc, TIG et MIG |
| Alimentation électrique | 230V/400V |
| Dimensions approximatives | Largeur : 51 cm, Hauteur : 38 cm, Profondeur : 23 cm |
| Poids | 45 kg |
| Compatibilités | Électrodes enrobées, fils MIG, gaz pour soudage TIG |
| Tension | 20-30V (soudage) |
| Puissance | 225A (AC), 125A (DC) |
| Fonctions principales | Soudage à l'arc, soudage TIG, soudage MIG, réglage de la puissance |
| Entretien et nettoyage | Vérifier régulièrement les connexions, nettoyer les buses et les électrodes |
| Pièces détachées et réparabilité | Disponibilité des pièces de rechange via le fabricant |
| Sécurité | Utiliser des équipements de protection individuelle (EPI), respecter les normes de sécurité électrique |
| Informations générales utiles | Idéal pour les professionnels et les amateurs expérimentés, garantie limitée |
FOIRE AUX QUESTIONS - AC/DC 225/125 LINCOLN ELECTRIC
Questions des utilisateurs sur AC/DC 225/125 LINCOLN ELECTRIC
0 question sur cet appareil. Repondez a celles que vous connaissez ou posez la votre.
Poser une nouvelle question sur cet appareil
Téléchargez la notice de votre Soudage au format PDF gratuitement ! Retrouvez votre notice AC/DC 225/125 - LINCOLN ELECTRIC et reprennez votre appareil électronique en main. Sur cette page sont publiés tous les documents nécessaires à l'utilisation de votre appareil AC/DC 225/125 de la marque LINCOLN ELECTRIC.
MODE D'EMPLOI AC/DC 225/125 LINCOLN ELECTRIC
Pour l'usage avec le nombre de code machine :
10420, 10421.
10422, 10423,
10424, 11074
IM237-K
October, 2008
Welder's Guide
Guía del Soldador
Guide du soudeur
ISO 9001

Mesures de sécurité 2
Consignes d'utilisation des sources de
courant AC-225-S et AC/DC-225/125 .7
Compend les consignes de sécurité, d'installation
et d'utilisation ainsi que la nomenclature.
L'apprentissage du soudage 14
Utilisation de la torche à arc au carbon
Directives pour le chauffage du métal, le soudage
de l'aluminium ou le brasage fort à la torche à arc.
Choix des electrodes 36
Brèves descriptions des types et des
données d'utilisation
pour toutes les electrodes Lincoln.
WARNING
ARC WELDING CAN BE HAZARDOUS. PROTECT YOURSELF AND OTHERS FROM POSSIBLE SERIOUS INJURY OR DEATH. KEEP CHILDREN AWAY. PACEMAKER WEARERS SHOULD CONSULT WITH THEIR DOCTOR BEFORE OPERATING.
Prendre connaissance des caractéristiques de sécurité suivantes. Pour obtenir des renseignements supplémentaires sur la sécurité, on recommende vivement d'acheter un exemplaire de la norme Z49.1 de l'ANSI auprès de l'American Welding Society, P.O. Box 351040, Miami, Florida 33135 ou la norme CSA W117.2-1974. On peut se procurer un exemplaire gratuite du livre « Arc Welding Safety» E205 auprès de la société Lincoln Electric, 22801 St. Clair Avenue, Cleveland, Ohio 44117-1199.
S'ASSURER QUE LES ETAPES D'INSTALLATION, D'UTILISATION, D'ENTRETIEN ET DE RÉPARATION NE SONT CONFIÉES QU'À DES PERSONNES QUALIFIÉES.

Matériel ÉLECTRIQUE.
1.a. Couper l'alimentation d'entrée en utilisant le disjoncteur à la boîte de fusibles avant de travailler sur le matériel.
1.b. Installer le matériel conformément au Code canadien de l'électricité, à tous les codes locaux et aux recommendations du fabricant.
1.c. Mettre à la terre le matériel conformément au Code canadien de l'électricité et aux recommendations du fabricant.

LE RAYONNEMENT DE L'ARC peut brûler.
2.a. Utiliser un masque à serre-tête avec oculaire filtrant adéquat et protège-oculaire pour se protégérer les yeux contre les étincelles et le rayonnement de
l'arc quand on soude ou quand on observe l'arc de soudage. Le masque à serre-tête et les oculaires filtrants doivent être conformes aux normes ANSI Z87.1.
2.b. Utiliser des vêtements adéquats en tissu ignifugé pour se protégérer ainsi que les aides contre le rayonnement de l'arc.
2.c. Protégé les autres employés à proximé en utilisant des par-avents ininflammables convenables ou les avertir de ne pas regarder l'arc ou de s'exposer au rayonnement de l'arc ou aux projections ou au métal chaud.

ELECTRIC AND MAGNETIC FIELDS may be dangerous
LES CHAMPS ÉLECTROMAGNÉTIQUES peuvent être dangereux
3.a. Le courant électric qu qui circule dans les conducteurs cree des champs electromagnétiques locaux. Le courant de soudage cree des champs electromagnétiques autour des cables et des machines de soudage.
3.b. Les champs électromagnétiques peuvent creer des interférences pour les stimulateurs cardiaques, et les soudeurs qui portent un stimulator cardiaque devraient consulter leur médecin avant d'entrepreneire le soudage.
3.c. L'exposition aux champs electromagnétiques lors du soudage peut avoir d'autres effets sur la santé que l'on ne connait pas encore.
3.d. Les soudeurs devraient suivir les consignes suivantes afin de réduire au minimum l'exposition aux champs electromagnétiques du circuit de soudage :
3.d.1. Regrouper les cables d'electrode et de retour. Les fixer si possible avec du ruban adhesif.
3.d.2. Ne jamais entourer le cable électrode autour du corps.
3.d.3. Ne pas se tenir entre les cables d'électrode et de return. Si le cable d'électrode se trouve à droite, le cable de return doit également se couver à droite.
3.d.4. Connecter le cable de return à la pierce le plus après possible de la zone de soudage.
3.d.5. Ne pas travailler juste à côté de la source de courant de soudage.

LES ÉTINCELLES DE SOUDAGE peuvent provoquer un incendie ou une explosion.
4.a. Enlever les matieres inflammables de la zone de soudage. Si ce n'est pas possible, les recouvrir pour empêcher que les étincelles de soudage ne les attrient. Les étincelles et projections de soudage peuvent facilement s'infiltrer dans les petites fissures ou ouvertures des zones environnantes. Éviter de souder prés des conduites hydrauliques. On doit toujours avoir un extincteur à portée de la main.
4.b. Quand on doit utiliser des gaz comprimés sur les lieux de travail, on doit prendre des précautions spéciales pour éviter les dangers. Voir la norme ANSI Z49.1 et les consignes d'utilisation relatives au matériel.
4.c. Quand on ne soude pas, s'assurer qu'aucune partie du circuit de I'electrode ne touche la piece ou la terre. Un contact accidentel peut produit une surchauffe et creer un risque d'incendie.
4.d. Ne pas chauffer, couper ou souder des réservoirs, des futs ou des contenants sans avoir pris les mesures qui s'imposent pour s'assurer que ces opérations neroduiront pas des vapeurs inflammables ou toxiques provenant des substances à l'intérieur. Elles peuvent provoquer une explosion même si elles ont été "nettoyées". Pour plus d'informations, se procurer le document AWS F4.1 de l'Amerikan Welding Society.
4.e. Mettre à l'air libre les pieces moulées creuses ou les contenants avant de souder, de couper ou de chauffer. Elles peuvent exploser.
4.f. Les étincelles et les projections sont expulsées de l'arc de soudage. Porter des vêtements de protection exempts d'huile comme des gants en cuir, une chemise épaissé, un pantalon sans revers, des chaussures montantes et un casque ou autre pour se protégé les cheveux. Utiliser des bouche-oreilles quand on soude hors position ou dans des espaces clos. Tous jours porter des lunettes de sécurité avec écrons latéraux quand on se trouve dans la zone de soudage.
4.g. Connecter le cable de return à la pierce le plus pres possible de la zone de soudage. Si les cables de return sont connectés à la charpente du batiment ou à d'autres endroits élognés de la zone de soudage cela augmente le risque que le courant de soudage passée dans les chaînes de levage, les cables de grue ou autres circuits auxiliaires. Cela peut creer un risque d'incendie ou surchauffer les chaînes de levage ou les cables et entrainer leur défaillance.
4.h. Lire et appliquer la Norme NFPA 51B "pour la Prévention des Incendies Pendant le Soudage, le Coupage et d'Autres Travaux Impliquant de la Chaleur", disponible auprès de NFPA, 1 Batterymarch Park,PO Box 9101, Quincy, Ma 022690-9101.
4.i. Ne pas utiliser de source de puissance de soudage pour le dégel des tuyauteries.

LES CHOCS ÉLECTRIQUES peuvent être mortels.
5.a. Les circuits de l'électrode et de retard (ou masse) sont sous tension quand la source de courant est en marche. Ne pas toucher ces pieces
sous tension les mains nues ou si I'on porte des vêtements mouillés. Porter des gants isolants secs et ne compteant pas de troux.
5.b. S'isoler de la pierce et de la terre en utilisant un moyen d'iso1ation sec. S'assurer que l'iso1ation est de dimensions suffisantes pour couvir entierement la zone de contact physique avec la pierce et la terre.
En plus des consignes de sécurité normales, si l'on doit effectuer le soudage dans des conditions dangereuses au point de vue électrique (dans les endroits humides ou si l'onporte des vêtements mouillés; sur les constructions metalliques comme les sols, les grilles ou les échafaudages; dans une mauvaise position par exemple assis, à genoux ou couche, il y a un risque élevé de contact inévitable ou accidentel avec la pierce ou la terre) utiliser le matériel suivant:
- Source de courant (fil) à tension constante c.c. semi-automatique.
- Source de courant (electrode enrobée) manuelle c.c.
- Source de courant c.a. à tension réduite.
5.c. En soudage semi-automatique ou automatique, le fil, le dévidoir, la tête de soudage, la buse ou le pistolet de soudage semi-automatique sont également sous tension.
5.d. Toutjours s'assurer que le cable de回头 est bien connecté au métal soudé. Le point de connexion devrait être le plus pres possible de la zone soudée.
5.e. Raccorder la pierce ou le métal à souder à une bonne prise de terre.
5.f. Tenir le porte-électrode, le connecteur de piece, le cable de soudage et l'appareil de soudage dans un bon état de fonctionnement. Remplacer l'isolation endommagée.
5.g. Ne jamais tremper l'électrode dans l'eau pour la refroidir.
5.h. Ne jamais toucher simultanément les pieces sous tension des porte-électrodes connectés à deux sources de courant de soudage parce que la tension entre les deux peut correspondre à la tension à vide totale des deux apparheils.
5.i. Quand on travaillie au-dessus du niveau du sol, utiliser une ceinture de sécurité pour se proteter contre les chutes en cas de chocol.
5.j. Voir également les points 4.c. et 1.

LES FUMÉES ET LES GAZ peuvent être dangereux.
6.a Le soudage peut produit des fumées et des gaz dangereux pour la santé. Éviter d'inhaler ces fumées et ces gaz. Quand on soude, tenir la tête à l'extérieur des fumées. Utiliser un système de ventilation ou d'évacuation suffisant au niveau de l'arc pour evacuer les fumées et les gaz de la zone de travail. Quand on soude avec des electrodes qui nécessit une ventilation spéciale comme les electrodes en acier inoxydable ou pour revétement dur (voir les directives sur le contenant ou la fiche signalétique) ou quand on soude de l'acier au plomb ou cadmium ainsi que d'autres métaux ou revêtements qui produits des fumées très toxiques, limiter le plus possible l'exposition et au-dessous des valeurs limites d'exposition (TLV) en utilisant une ventilation mécanique ou par aspiration à la source. Dans les espaces clos ou dans certains cas à l'extérieur, un appeareil respiratoire peut être nécessaire. Des précautions supplémentaires sont également nécessaires quand on soude sur l'acier galvanisé.
6.b. Le fonctionnement de l'appareil de contrôle des vapeurs de soudage est affecté par plusieurs facteurs y compris l'utilisation et le positionnement corrects de l'appareil, son entretien ainsi que la procédure de soudage et l'application concernées. Le niveau d'exposition aux limites décrites par OSHA PEL et ACGIH TLV pour les ouvriers doit être vérifié au moment de l'installation et de façon périodique par la suite afin d'avoir la certitude qu'il se trouve dans l'intervalle en vigueur.
6.c. Ne pas souder dans les endroits à proximé des vapeurs d'hydrocarbures chlorés provenant des opérations de dégraisage, de nettoyage ou de pulverisation. La chaleur et le rayonnement de l'arc peuvent réagir avec les vapeurs de solvant pour former du phosgène, gaz très toxique, et d'autres produits irritants.
6.d. Les gaz de protection utilisés pour le soudage à l'arc peuvent chasser l'air et provoquer des blessures graves voire mortelles. Toutjours utiliser une ventilation suffisante, spécialement dans les espaces clos pour s'assurer que l'air inhale ne présente pas de danger.
6.e. Lire et comprendre les instructions du fabricant pour cet apparéil et le matériel de réserves à utiliser, y compris la fiche de données de sécurité des matériaux (MSDS) et suivre les pratiques de sécurité de l'employeur. Les fiches MSDS sont disponibles auprès du distributeur de matériel de soudage ou auprès du fabricant.
OPERATING INSTRUCTIONS

WARNING
- Demander à un électricien d'installer et d'entrenir ce matériel.
- Couper l'alimentation à la boîte à fusibles avant de travailler sur ce matériel.
- Ne pas toucher les pieces sous tension.
Connexions de puissance d'entrée et de mise à la terre
Avant demettre la machine en marche,verifier aprousde la compagnie d'electricite que l'alimentation convient pour la tension, l'intensite,la phase et la fréquence indiquées sur la plaque signalétique de la source de courant de soudage. De plus, s assurer que l'installation prévue répond aux exigences du code de l'electricité local. Cette source de courant peut fonctionner sur un circuit monophasé ou sur une seule phase d'un circuit diphase ou triphase.
Tous les modèles concus pour fonctionner sur un courant d'entrée inférieur à 250 V sont expédiés avec le cable d'entrée connecté à la source de courant. Une prise correspondante est livrée avec la source AC/DC 225/125. Une exception : les apparèils 50Hz ne comprendn pas la fiche d'entrée et la prise.

AVERTISSEMENT
Ces directives d'installation s'appliquent au câblage d'entrée et au dispositif de protection contre les surcharges, installés pour une seule source AC-225C-S ou une seule source AC/DC 225/125 conformément au code de l'électricité local relativement aux sources de courant de soudage à l'arc. On ne doit pas connecter d'autre équipement à cette source de courant sans consulter les exigences relatives à lauisance d'entrée de ce matériel, le code de l'électricité du pays et tous les codes locaux.
Placer la source de courant de sorte qu'il y ait une libre circulation d'air par les persiennes à l'arriere et sur les cotes de la carroserie ainsi que sur le fond. Monter une prise NEMA type 6-50R à un endroit convenable. S'assurer qu'elle puisse etre atteinte par la fiche du cable d'entree fixe à la source de courant.
En utilisant les consignes suivantes, demander à un électricien qualifié de connecter cette prise (NEMA 6-50R) au circuit électrique au niveau de la boîte à fusibles. Trois fils en cuivre n° 10 ou plus sont nécessaires si l'on utilise un conduit. Dans le cas des longs cables de plus de 31m(100pi), un fil n° 8 ou supérieur dans un conduit est nécessaire pour empêcher les chutes de tension excessives. Monter un fusible temporisé de 50 A sur les deux lignes de tension comme on le voit sur le schéma ci-après. Le contact du milieu dans la prise est destiné à la prise de terre. Un fil vert dans le cable d'entrée raccorde ce contact au bâti de la source de courant de soudage. Cela peut de bien être à la terre le bâti de la source de courant quand on branche la fiche sur la prise. Si l'on utilise un disjoncteur distinct, il doit avoir deux pôles pour les deux circuits sous tension et tous les deux doivent être munis d'un fusible de 50 A.

Connexion du cable d'électrode au porte-électrode
A VERTISSEMENT
Avant de fixer le cable d'électrode au porte-électrode ou le cable de return au connecteur de piece, s'assurer que la source de courant est arrêtée ou que l'alimentation est coupée.
Déterminer quel est le type de porté-electrode avant d'installer.
Type A - Porte-electrode à poignée octogonale et mors de serrage
- Desserrer la vis de blocage et écarter la poignée du porte-electrode en la faisant glisser sur le cable.
- Denuder l'extrémité du cable d'électrode sur 1 po ± 1/16 po (25,4 mm ± 1,6 mm).
- Desserrer la vis de connexion du cable jusqu'à ce que l'extrémité du cable viennent toucher la surface interieure du corps de la pince.
- Enlever la piece de connexion du cable des mors du porte-électrode. Placer la piece de connexion sur l'extrémite dénudée du cable d'électrode et l'enforcer dans le porte-électrode de façon qu'elle soit centrée sur la vis de connexion.

- Faire coulisser la poignée pour la remetre en position et la fixer avec la vis de blocage. L'extrémité filetée de la vis doit alors être serrée fermement contre l'intérieur de la poignée, la tête complètement enforcée dans la poignée.

Note de sécurité importante : S'assurer que l'iso1ation est bien fixe et que les vis sont serrées et que l'on ne peut pas les toucher. Si I'on peut toucher les vis, NE PAS UTILISER LE PORTE-ÉLECTRODE, appeler le distributeur.
Type B - Porte-électrode à poignée ronde nervurée
- Desserrer la vis de fixation et Épcarter la poignée du porte-électrode en la faisant glisser sur le cable.

- Denuder l'extrémité du cable d'électrode sur 1 po ± 1/16 po (25,4 mm ± 1,6 mm).
- Desserrer la vis de connexion de la pièce pour que l'on puisse enlever la pièce de connexion du cable.
- Enlever la piece de connexion du cable et placer l'extrémité dénudée du cable d'électrode dans le porte-électrode, les brins du cable étant répartis de façon égale de part et d'autre de la vis de la piece de connexion.
- Serrer fermement la vis dans la piece de connexion pour que cette-ci retienne le cable.
- Faire coulisser la poignée pour la remettre en position et la fixer avec la vis de fixation.
Connexion du cable de回头 au connecteur de piece
Faire passer le cable de return dans le trou de serrage de la pince et fixer le cable avec le boulon et l'écrou fournis.
Remplacement du cable d'électrode et du cable de retour
Il n'est pas recommandé de replacer les cables par des cables plus gros nécessitant des connexions internes. Les connexions des rallonges ou des cables de grosseur supérieure doivent être effectuées correctement à l'extérieur. Utiliser pour ce faire les connecteurs rapides Lincoln Electric QD.
Si pour d'autres raisons, on doit remplaner les câbles, n'utiliser que les pièces Lincoln appropriées et seule une personne qualifiée doit effectuer le remplacement.
Choix du courant de soudage
L'intensité de sortie est marquée pour chaque position du sélecteur de courant. Tourner le sélecteur sur le courant nécessaire pour chaque application.
Le.selecteur a un léger jeu dans chaque position. Il est bon de faire jouer le.selecteur une fois vers l'avant et vers l'arrière après avoir choisi une nouvelle position. Ce frottement permet de s'assurer que les contacts sont dépourvus de saletés et d'oxydes.

ATTENTION
Ne pas tournier le sélecteur pendant le soudage : cette endommagerait les contacts.
Choix de la polarité de soudage
Pour obtenir les membres résultats avec les électrodes de soudage à l'arc d'aujourd'hui, il est important d'utiliser laonne polarite. La source de courant de soudage à l'arc AC/DC permet le choix de c.a., c.c. (+) ou c.c. (-) ce qui lui conferte une polyvalence supplémentaire.
La liste des electrodes Lincoln est donnée dans le tableau à la fin du manuel.
Chaque electrode est conçue pour fonctionner更好地 en c.c. (+), c.c. (-) ou c.a. Dans ce tableau d'électrodes la polarité à utiliser de préférence est donnée en premier. C'est la polarité que l'on devrait utiliser, dans la mesure du possible, pour obtenir les excellenturs résultats.
Facteur de marche
Les sources de courant 60Hz ont un facteur de marche nominal de 20% et les sources de 50Hz de 15% sur toutes les positions du sélecteur. Le facteur de marche est fondé sur une période de dix minutes. Cela signifie que l'on peut utiliser l'arc pendant deux minutes sur chaque période de dix minutes (pour un appareil à facteur de marche de 20% ) sans risque de surchauffe. Si l'on utilise l'appareil plus de deux minutes pendant plusieurs périodes successives de dix minutes, la source peut surchauffer. S'assurer de laisser l'appareil en marche pendant chaque période de dix minutes pour que le moteur du ventilateur continue à fonctionner afin d'assurer un bon refroidissement. La surchauffe réduit la durée de vie de l'appareil.
Circuit Breakers
Les modèles AC/DC au-dessus du code 8800 sont munis d'un disjoncteur interne pour empêcher la surchauffe quand on soude en c.c. Le disjoncteur se déclenché et arrête la sortie de soudage c.c. si le facteur de marche est dépasse ou si l'écoulement d'air de refroidissement est obstrué. Le ventilateur de refroidissement continue à tourner et la sortie de soudage c.c. est automatiquement présente quand le disjoncteur s'est refroidi et se réenclenché.
Guide deCHOIX des electrodes
Voir le guide deCHOIS des electrodes et les informations supplémentaires a ce sujet a la fin du manuel. Voir egalement le Lincoln Welddirectory (C2.10) qui donne les reglages et diametes d'electrode courants.
Torche à arc (en option)
La torche à arc (voir la page 28) est spécialement adaptée à ces sources de courant de soudage pour le brasage, le soudage des métaux non ferreux et le préchauffage avant le piage et le formage.
ENTRETIEN
L'entretien préventif périodique n'est pas nécessaire. Voir l'atelier d'après-venture agree de Lincoln Electric pour les réparations nécessaires.
Comment utiliser la nomenclature
- Voir le schéma ci-dessous.
- Chercher la piece sur le schéma.
- Chécher maintainant le nom et la désignation de la piece dans le tableau correspondant au numéro d'article du schéma.
- Relever le numero de code de la source de courant de soudage sur la plaque signalétique.
- Commander la pièce auprès de Lincoln Electric ou d'un atelier du service après-vente de Lincoln. Bien s'assurer de donner le numéro de référence, le numéro d'article, le nom et la désignation de la pièce, la quantité commandeé et le nom et le numéro de modele et de code de la source de courant de soudage.
| ArticleDésignation (pièces d'entretien d'Available) | |
| 1 | Redresseur |
| 2 | Moteur et hélice du ventilateur |
| 3 | Bobine |
| 4 | Support du moteur du ventilateur |
| 5 | Capot |
| 6 | Panneau arrêté inférieur |
| 7 | Sélecteur de plage |
| 7A | Poignée |
| 8 | Câble d'électrode |
| 9A | Serre-câble de sortie |
| 10 | Câble de retour |
| 11 | Interrupteur d'alimentation |
| 13 | Suppresseur |
| 14 | Sélecteur de polarité |
| 14A | Poignée |
| 15 | Plaque signalétique |
| 15A | Plaque d'advertissement |
| 15B | Plaque du choix d'électrode |
| 16 | Attache Botton (Pas Shown) Nommé De Plat |
| 17 | Porte-électrode |
| 20 | Connecteur de pièce |
| 28 | Prise (entrée inférieure à 250 V)* |
| 29 | Câble d'entrée (entrée inférieure à 250 V) |
| ENSEMBLE CHARIOT EN OPTION | |
| 21 | Roues |
| 22 | Rondelle |
| 23 | Essieu |
| 25 | Pied avant |
| 26 | Bouchon à compression |
*Réceptacle non inclus avec le code 11074.

| ArticleDésignation (pièces d'entretien d'Available) | |
| 1 | Couvercle arrêté supérieur |
| 2 | Moteur de ventilateur et hélice |
| 2A | Hélice |
| 3 | Support de montage du ventilateur |
| 5 | Capot |
| 6 | Plaque signalétique |
| 6A | Plaque d'avertissement (Non montré) |
| 6B | Attache Botton (Pas Shown) Nommé De Plat |
| 7 | Sélecteur |
| 8 | Poinnée du sélecteur |
| 9 | Passé-fil du cable de sortie (au-dessous du code 5340) |
| 9A | Serre-câble de sortie (au-dessus du code 5340) |
| 10 | Plaque signalétique de l'interrupteur d'alimentation (au-dessous du code 4760) |
| 11 | Interrupteur d'alimentation |
| 13 | Couvre-panneau (au-dessous du code 5340) |
| 14A | Bomier d'entrée (au-dessous du code 4760) |
| 14B | Panneau d'entrée (code 4760 à 5340) |
| 15 | Couvercle arrêté |
| 15A | Panneau arrêté inférieur |
| 15B | Panneau Arrire Supieur |
| 16 | Câble d'électrode |
| 16A | Panneau De Couverture |
| 17 | Porte-électrode |
| 18 | Câble de retour |
| 19 | Masque de soudeur |
| 20 | Connecteur de piece |
| 21 | Roue (option) |
| 22 | Rondelle (option) |
| 23 | Essieu (option) |
| 25 | Pied avant (option) |
| 26 | Bouchon à compression (option) |
| 29 | Câble d'entrée |
LEARNING TO WELD
L'aptitude au service d'un produit ou d'une construction utilisant ce type d'informations est et doit être la seule responsabilité du constructeur ou de l'utilisateur. De nombreuses variables indépendantes de la volonté de la société Lincoln Electric influent sur les résultats obtenus en appliquant ce type d'informations. Ces variables comprehennent, entre autres, le mode opératoire de soudage, la composition chimique et la température de la tôle, la conception de la construction soudée, les méthodes de fabrication et les exigences de service.
Personne ne peut apprendre à souder seulement en lisant des livres sur le soudage. On acquiert la compétence technique avec la pratique. Les pages suivantes aideront le soudeur inexpérimenté à comprendre le soudage et à accuperir de l'expérience. Pour de plus amples renseignements, commander un exemplaire du manuel <
Le circuit de soudage à l'arc
Les connaissances de l'opérateur en matière de soudage à l'arc ne doivent pas se borner à l'arc lui même. Vous doivent savoir commander l'arc, et ceci exige une connaissance du circuit de soudure et de l'?ipement qui fournit le courant ?ctrique utilis?ans l'arc. La figure 1 est un schéma du circuit de soudage. Le circuit de soudage débute au point de connexion du cable d'électrode à la machine de soudage et se termine au point de connexion du cable de retour à la machine. Le courant circule dans le cable d'électrode jusqu'àu porté-electrode, du porte-électrode à l'électrode et dans l'arc. Du côté piece de l'arc, le courant circule dans le métal de base, dans le cable de retour jusqu'à la machine. Le circuit doit être complèt pour que le courant puisse s'écouler. Pour pouvoir souder, le connecteur de piece doit être fermement connecté au métal de base propre. Enlever s'il y a lieu la peinture, la rouille, etc. afin d'obtenir un bon contact. Raccarder le connecteur de piece le plus pres possible de la zone à souder. Éviter que le circuit de soudage passée dans les charnières, les roulements, les composants électroniques ou les dispositifssemblables susceptibles d'être endommagés.
Le circuit de soudage à l'arc a une tension de sortie allant jusqu'à 79 V qui peut donner un choc.

AVERTISSEMENT

LES CHOCS ÉLECTRIQUES peuvent être mortels.
Étudier attentivement les MESURES DE SÉCURITÉ POUR LE SOUDAGE À L'ARC au début de ce manuel.
L'arc électrique est établi entre la pierce et l'extrémité d'un petit fil métallique, l'électrode, que l'on fixe dans un porte-électrode et celui-ci est tenu par le soudeur. On obtient un écarticement dans le circuit de soudage (voir la figure 1) en tenant l'extrémité de l'électrode entre 1/16 et 1/8 po (1,6-3,2 mm) de la pierce ou du métal de base soudé. L'arc électrique est établi dans cet écarticement et on l'y maintain et on le déplace le long du joint à souder, en faisant fondre le métal au fur et à mesure qu'on le déplace.
Le soudage à l'arc est un travail manuel qui nécessite une main stable, une bonne condition physique et une bonne vue. L'opérateur commande l'arc de soudage et par conséquent la qualité de la soudure obtenue.

FIGURE 1 - Circuit de soudage pour le procédé SMAW
Que se passé-t-il dans l'arc?
La figure 2 illustre ce qui se passée dans l'arc électrique. C'est plus ou moins ce que l'on soit justependant le soudage.
On vait la colonne d'arc au milieu du schéma. C'est l'arc électricque créé par le courant électricque qui s'écoule dans l'espace entre l'extrémité de l'électrode et la pièce. La température de cet arc est d'environ 6000 °F (3315 °C) et elle est donc plus que suffisante pour faire fondre le métal. L'arc est très brillant et très chaud et on ne peut pas le regarder à l'oeil nu sans risquer de subir des léasons douloureusees. On doit utiliser un oculaire très nombre spécialement concu pour le soudage à l'arc avec le masque à serre-tête ou le masque à main chaque fois que l'on regarde l'arc.
L'arc fait fondre le métal de base et en fait le creuse, tout comme le jet d'eau d'un tuyau d'arrosage creuse la terre. Le métal fondu forme un bain de fusion ou un cratère et tend à s'éloigner de l'arc. En s'éloignant de l'arc, il se refroidit et se solidifie. Le laitier se forme sur la soudure pour la protéger lors du refroidissement.

FIGURE 2 - L'arc de soudage
La fonction de l'électrode enrobée n'est pas uniquement de transporter le courant vers l'arc. Elle est composée d'une âme metallique autour de laquelle un enrobage chimique a été extrudé et cuit. L'âme fond dans l'arc et de minuscules gouttelettes de métal fondu tombent, en traversant l'arc, dans le bain de fusion. L'électrode fournit du métal d'apport supplémentaire pour replir la préparation ou l'écartement entre les deux pieces du métal de base. L'enrobage fond également ou brûle dans l'arc. Il a plusieurs fonctions : il rend l'arc plus stable, il forme un écran de gazsemblable à de la fumée autour de l'arc pour éviter que l'oxygène et l'azote de l'air n'atteignent le métal fondu, et il fournit du flux au bain de fusion. Le flux absorbe les impuretés et forme un laitier protecteur. Les principales différences entre les divers types d'électrodes resident dans leur enrobage. En faisant varier l'enrobage, il est possible de modifier considérablement les caractéristiques d'utilisation des electrodes. En complenant les différences qu'il y a entre les divers enrobages, on apprend à désirir laffective electrolyte pour le travail particulier à effectuer. Au moment de désirir l'électrode on doit prendre en compte :
- Le type de dépôt désiré, p. ex. acier doux, acier inoxydable, acier faiblement allié, rechargement dur.
- L'épaissur de la tôle que l'on peut souder.
- La position dans laquelle on doit exécuter le soudage (à plat, hors position).
- L'etat de la surface du métal à souder.
- La capacité de manipuler et d'obtenir l'électrode recherche.
Quatre critères sont essentiels pour pouvoir réaliser de bonnes soudures.
1. La bonne position de soudage
Les débutants trouveront qu'il est plus facile d'apprendre à contrôler l'arc de soudage en utilisant la technique à deux mains illustrée ci-après. Cela nécessite l'utilisation d'un masque à serre-tête.
a. Tenir le porte-électrode dans la main droite.
b. Placer la main gauche sous la main droite.
c. Reposer le coude gauche sur le cotoe gauche.
(Pour les gauchers, c'est l'inverse.)
Si l'on utilise un masque à main, tener le porte-électrode dans la main droite et le masque dans la main gauche. (Pour les gauchers, c'est l'inverse.)
Dans la mesure du possible, toujours souder de gauche à droite (dans le cas d'un croitier). Cela permet de bien voir ce que l'on fait.
Tenir l'électrode légèrement inclinée, comme on le montre sur la figure.


Vuelaterale

Vue d'extrémité
Bonne position de soudage
2. La bonne façon d'amorcer l'arc
S'assurer que le connecteur de piece (ou prise de masse) est bien connecté à la piece.
Abaisser le masque à serre-tête ou tener le masque à main sur le visage. Gratter lentement l'électrode sur le métal, cela crée des étincelles. Tout en grattant, soulever l'électrode de 1/8 po (3,2 mm). L'arc est alors amorté.
NOTA : Lors de l'amorçage, bouger sans arrêt l'électrode pour ne pas qu'elle colle à la pierce.
NOTA : La plupart des débutants essaient d'amorcer l'arc en faisant tapoter rapidement l'électrode sur la tôle. Il en résultat que l'électrode colle ou que, le mouvement étant trop rapide, l'arc s'éteint immidiement.
3. Laonne longueur d'arc
La longueur d'arc est la distance entre l'extrémité de l'électrode et le métal de base.
Une fois que l'arc a eté amorté, il est très important que l'on maintiennent la bonne longueur d'arc. L'arc doit être court, et faire environ 1/16 à 1/8 po (1,6-3,2 mm) de longueur. Au fur et à mesure que l'électrode se consume, on doit l'avancer vers la piece pour maintainir la bonne longueur d'arc.
La(Meilleurefaconde savoirsiI'arcalaponbonne longueur est d'écouterlesonqu'il émet.Un arc court et acceptable émet un «crépitement」distinctif,tout comme les oeufs que I'on fait frire dans une poèle.L'arc long et inacceptable émet un son creux,un souffle ouun sifflement.
4. La bonne vitesse de soudage
Quand on soude, il est important d'observer le bain de fusion juste en arriere de l'arc. NE PAS REGARDER L'ARC LUI-MÈME. C'est l'aspect du bain et la vague de solidification qui indiquent la bonne vitesse de soudage. La vague doit se situer à environ 3/8 po (9,5 mm) en arrêté de l'électrode.

La plupart des débutants ont tendance à souder trop rapidement, et il en résultat un cordon mince et irrégulier ressemblant à un ver. Ils ne regardent pas le métal fondu.
IMPORTANT: Il n'est généralement pas nécessaire de faire oscillator l'arc, ni d'avant en arrêté ni sur le côte. Souder à un rythme régulier. C'est plus facile.
NOTA : Quand on soude des toles minces, on s'apercoit que l'on doit augmenter la vitesse de soudage, mais quand on soude des toles épaisces, il est nécessaire d'aller plus lentement afin d'obtenir une bonne pénetration.
Practice
Realice lo suiviente:
La meilleure façon de s'entraîner pour obtenir :
- La bonne position de soudage
- La bonne façon d'amorcer l'arc
- Laonne longueur d'arc
- La bonne vitesse de soudage
est de consacrer un peu plus de temps à l'exercice suivant.
Matériel et réglage du courant :
Tôle en acier doux ...3/16 po (4,8 mm) ou plus d'épaissur Électrode ......... Fleetweld 180 de 1/8 po (3,2 mm)
Réglage du courant ... 105 A c.a. ou 95 A c.c. (+)
Règles à suivre :
- Apprendre à amocrer l'arc en grattant l'électrode sur la tôle. S'assurer que l'angle de l'électrode est correct. Si l'on ne dispose pas d'un masque à serre-tête, utiliser les deux mains.
- Une fois que l'on parvient à amorcer l'arc sans collage, s'entraîner à obtaining la bonne longueur d'arc. Apprendre à reconnaître l'arc au son.
- Quand on est sur de pouvoir maintainir un arc court et crépitant, commencer à avancer. Observer constamment le bain de fusion, et observer la vague de solidification.
- Déposer des cordons sur une tôle plate, parallèlement au bord supérieur (le bord le plus éloigné de soi-même). On s'entraîne ainsi à effectuer des soudures droites et cela permet également de vérifier facilement ses progrès. Ainsi, la dixieme soudure aura un bien meilleur aspect que la première. En vérifiable constamment ses erreurs et ses progrès, le soudage devientrapidement un travail de routine.
Métaux communs
L'acier à bas carbone, que l'on appelle parfois acier doux est l'acier que l'on trouve le plus fréquement dans les fermes ou dans les petits ateliers. Les principaux articles faits dans ce type d'acier complennten la plupart des tôles, des plaques, des tuyaux et des profilés laminés comme les profilés en U, les cornières et les poutres en I. Généralement, on peut souder facilement ce type d'acier sans prendre des précautions spéciales. Toutefois, certains aciers contiennent une forte teneur en carbone. Les applications courantes complennten les plaques d'usure, les essieux, les bielles, les arbres, les socs de charrue et les lames de niveleuses. Dans la plupart des cas on peut réussir à bien souder ces aciers à haut carbone. Toutefois, on doit veiller à suffire les modes opérateires appropriés comme le préchauffage du métal à souder et, dans certains cas on doit régler minutieusement la température pendant et après l'opération de soudage. Pour de plus amples informations sur la façon de déterminer quels sont les divers types d'aciers et les autres métaux, et pour obtenir les bons modes opérateires de soudage, nous vous recommendons d'acheter un exemplaire de
Quel que soit le type de métal soudé, il est important qu'il soit dépourvu d'huile, de peinture, de rouille ou d'autres contaminants si l'on peut obtenir une soudure de qualité.
Types of Welds
Les cinq types de joints soudés sont les suivants : soudures bout à bout, soudures d'angle, soudures à clin, soudures sur chant et soudures en L.
Parmi celles-ci, la soudure bout à bout et la soudure d'angle sont les deux plus courantes.

Souduresboutàbout
Les souduresboutàbout sont les souduresles plus courantes. Placer deux toles cote à cote, en laissant un écartement de 1/16 po (1,6 mm) pour le métal mince à 1/8 po (3,2mm) pour le métal écais entre les deux pour obtenir une fortepénetration.
Immobiliser les toles par des soudures de pointage aux deux extrémités, pour ne pas que la chaleur separe les deux toles. (Voir le schéma.)

Souder maintainant les deux tôles. Souder de gauche à droite (pour un croitier). Pointer l'électrode dans l'écartement entre les deux pieces, en l'inclinant légèrement dans le sens du déplacement.

Observer le métal fondu pour s'assurer qu'il se repartit de façon régulière sur les deux bords et entre les toles.
Penetration
Si la pénetration n'est pas de 100% ou presque, une soudure bout à bout est plus faible que les pièces souduées.

Dans cet exemple, la soudure totale ne fait que la moitié de l'épaisseur du métal. Par conséquent la soudure est environ deux fois moins résistante que le métal.

Dans cet exemple, l'assemblage a ete chanfrein e au chalume ou meul e avant le soudage de facon a pouvoir obtenir une peneration de 100% . La soudure, si elle est bien realisee, est aussi resistante sinon plus que le metal de base. On doit effectuer des passes successives dans le cas des soudures bout a bout sur du metal epais.

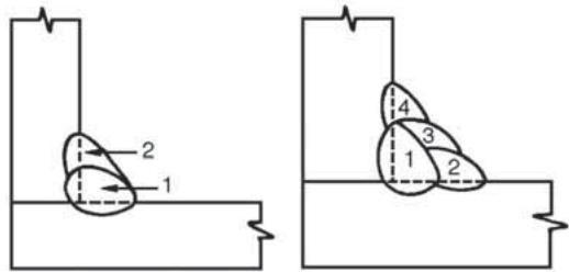
Soudures d'angle
Quand on effectue des soudures d'angle, il est très important de tener l'électrode à 45^ entre les deux côtes, sinon le métal ne se repartit pas de façon régulière.
Pour obtenir facilement l'angle à 45^ , placer l'électrode à 45^ dans le porte-électrode comme on l'illustré ci-après :

Multiple Pass Welds
Faire des soudures d'angle multipasses à l'horizontale comme l'illustré le schéma. Déposer le premier cordon dans l'angle avec un courant suffisamment élevé. Maintenir l'angle de l'électrode nécessaire pour déposer les cordons de remplissage comme l'indique l'illustration en déposant le cordon final contre la plaque verticale.

Soudage en position verticale
Dans cette position, on peut souder soit en montant soit en descendant. On soude à la verticale en montant quand on veut obtenir une soudure large et résistante. On soude principalement à la verticale en descendant sur les tôles pour obtenir des soudures rapides et à faible penetration.
Soudage à la verticale en montant
Quand on soude à la verticale en montant, le problème est de placer le métal fondu à l'endetroit désire et de l'y faire rester. Si l'on dépose trop de métal fondu, celui-ci est attiré vers le bas par gravité et il «ségoutte». Par conséquent, il faut suivre une certaine technique :

- Utiliser l'électrode Fleetweld® 180 de 1/8 po (3,2 mm) à 90-105 A ou de 3/32 po (2,4 mm) à 60 A.
- Quand on soude, l'électrode doit être à l'horizontal ou pointer légrement vers le haut. (Voir le schéma.)
- L'arc est amoré et le métal est déposé au fond des deux pieces à souder.
-
Avant que trop de métal fondu ne soit déposé, on déplace LENTEMENT l'arc de 1/2 à 3/4 po (12-20 mm) vers le haut. On éloigne ainsi la chaleur du bain de fusion et celui-ci se solidifie. (Si l'on ne déplace pas l'arc suffisamment tôt, trop de métal se dépose et «S'égoutte»).
-
The upward motion of the arc is caused by a very slight wrist motion. Most definitely, the arm must not move in and out, as this makes the entire process very complicated and difficult to learn.
- If the upward motion of the arc is done correctly with a wrist motion, the arc will automatically become a long arc that deposits little or no metal. (See drawing.)
- During this entire process the ONLY thing to watch is the molten metal. As soon as it has solidified, the arc is SLOWLY brought back, and another few drops of metal are deposited. DO NOT FOLLOW THE UP AND DOWN MOVEMENT OF THE ARC WITH THE EYES. KEEP THEM ON THE MOLTEN METAL.
- When the arc is brought back to the now solidified puddle, IT MUST BE SHORT, otherwise no metal will be deposited, the puddle will melt again, and it will "drip."
- It is important to realize that the entire process consists of SLOW, DELIBERATE movements. There are no fast motions.
Vertical-Down Welding
- On déplace l'arc vers le haut par un très léger mouvement du poignet. On ne doit enaucun cas faire un mouvement de va-et-vient avec le bras, car le processus serait très compliqué et difficile à apprendre.
- Si l'on effectue correctement le mouvement ascendant de l'arc avec le poignet, l'arc devient automatiquement long et dépose peu ou pas de métal. (Voir le schéma.)
- Pendant toute l'opération de soudage la SEULE chose à observer est le métal fondu. Dès que le métal est solidifié, on ramène LENTEMENT l'arc en arrêté, et on dépose quelques gouttes supplémentaires de métal. NE PAS SUIVRE DES YEUX LE MOUVEMENT ASCENDANT ET DESCENDANT DE L'ARC. GARDER LES YEUX SUR LE METAL FONDU.
- Quand on ramène l'arc sur le bain de fusion maintainant solidifié, IL DOIT ÉTRE COURT, sinon aucun métal n'est déposé, le bain fond à nouveau et «s'égoutte».
- Il est important de se rendre compte que tout le processus consiste à effectuer des mouvements LENTS et DELIBERÉS. Il ne faut pas effectuer des mouvements rapides.
Soudage à la verticale en descendant
On effectue les soudures à la verticale en descendant à un rythme rapide. Par conséquent ces soudures sont peu profondes et étroites et donc excellentes pour les tôles. Ne pas utiliser la technique à la verticale en descendant sur du métal écais. Les soudures ne seraient pas suffisamment résistantes.
- Utiliser l'electrode Fleetweld 180 de 1/8 po (3,2 mm) ou de 3/32 po (2,4 mm).
- Sur le métal mince, utiliser 60-75 A (14 épaiss. 75 A - 16 épaiss. 60 A).
- Tenir l'électrode inclinée de 30 à 45^ , l'extrémité pointant vers le haut.
- Maintenir un arc TRÉS COURT, mais ne pas laisser l'électrode toucher le métal.
- Un mouvement de fouvettement de haut en bas empêchera de tracer la tôle très mince.
- Observer attentivement le métal fondu.

Il est important de continuer à baisser le bras lors de la réalisation de la soudure de sorte que l'angle de l'électrode ne change pas. Déplacer l'électrode suffisamment vite pour que le laitier ne rattrape pas l'arc. Le soudage à la verticale en descendant donne des soudures minces et peu profondes. On ne doit pas l'effectuer sur du métal épais qui nécessite des soudures larges.
Overhead Welding
On utilise diverses techniques pour le soudage au plafond. Toutefois, pour simplifier la tâche du soudeur inépérience, la technique suivante est probablement celle qui convient le moins :
- Utiliser une electrode Fleetweld 180 de 1/8 po (3,2 mm) à 90-105 A ou de 3/32 po (2,4 mm) à 60 A.
- Placer l'électrode dans le prolongement du porte-électrode.
- Tenir l'électrode inclinée approximativement à 30^ par rapport à la verticale, quand on regarde depuis le côte et depuis l'extrémité.


Il est important de maintainir un arc TRÉS COURT. (Avec un arc long, le métal fondu tombe, avec un arc court le métal fondu reste en place.)
Si cela est nécessaire (selon l'aspect du bain de fusion), imprimer à l'électrode un léger fouettement le long du joint à souder pour empêcher le métal fondu de s'égoutter.
Soudage de tôles
Le soudage de tôles présente un problème supplémentaire. La faible épaisseur du métal fait qu'il est très facile de tracer la tôle. Suivre ces règles simples :
- Tenir l'arc très court. Ceci empêche de faire des troués étant donné que les débutants semble maintainir un arc trop long.)
- Utiliser une electrode Fleetweld de 1/8 po (3,2 mm) ou de 3/32 po (2,4 mm).
- Utiliser une faible intensité : 75 A pour l'électrode de 1/8 po (3,2 mm) et 40-60 A pour l'électrode de 3/32 po (2,4 mm).
- Avancer rapidement. Ne pas laisser la chaleur trop longtemps au même point. Faire oscillator rapidement l'electrode.
- Dans la mesure du possible, effectuer des soudures à clin. Cela double l'épaissur du métal.
Rechargement dur
Il y a plusieurs types d'usure. Les deux types d'usure les plus courants sont :
- Usure métal-terre
(Socs de charrue, lames de boutoir, godets, socs de cultivateur et autres pieces métalliques entrant dans le sol.)
- Usure métal-métal
(Tourillons, arbres, rouleaux et galets, roues de grue et de wagonnets, etc.)
Chacun de ces types d'usure exige un type différent d'électrode de rechargement dur.
Quand on utilise la bonne electrode, la durée de vie de la pièce est dans la plupart des cas au moins deux fois plus longue. Le rechargement dur des socs de charrue permet par exemple de labourer trois à cinq fois plus de surface.
Comment recharger le tranchant (usure métal-terre)
- Meuler le soc sur environ 1 po (25 mm) de largeur le long du tranchant, de façon que le métal soit poli.
- Placer le soc sur un plan incliné d'environ 20 à 30^ . Le meilleur moyen est de placer une extrémité du soc sur une brique. (Voir le schéma).
La plupart des utilisateurs désirent recharger la partie inférieure du soc, mais certains peuvent juger que l'usure se fait sur le dessus. Ce qui est important c'est de recharger le côte qui s'use.
- Utiliser l'electrode Wearshield™ ABR de 1/8 po (3,2 mm) à 90-105 A. Amorcer l'arc à environ 1 po (2,5 mm) du tranchant.
- Déposer le cordon avec un mouvement de balancement. Le cordon doit faire 1/2 à 3/4 po (12,5-19 mm) de largeur. Ne pas laisser l'arc souffler sur le tranchant pour ne pas l'émousser. (Voir le schéma.)

- Adopter la méthode à pas de pelerin. Commencer à souder à 3 po (75 mm) du talon du soc et souder jusqu'à talon. La deuxième soudure doit commencer à 6 po (150 mm) du talon, la troisisième à 9 po (225 mm), etc.

La méthode de soudage à pas de pêlerin diminue considérablement les risques de fissuration du soc et réduit également de façon importante le gauchissement évientuel.
NOTA : Toute l'opération est plutôt rapide. De nombreux débutants précédent bien trop lentement quand ils rechargent les socs de charrue, et risquent de tracer le métal mince.
RechargeMENT dur des galets et rouleaux (usure métal-métal)
On a très souvent recours au rechargement dur pour combattre l'usure métal-métal des galets et rouleaux et des rails qui se déplacent sur ceux-ci.
Le rechargement est effectué sur ces pieces principalement pour une raison monétaire. En effet, quelques dollars dépenses en electrode permetront de recharger complètement un galet ou un rouleau et la durée de vie de la surface rechargée sera plusieurs fois supérieure à la durée de vie normale de ces rouleaux et galets.
Si l'on suit la méthode suivante, il n'est même pas nécessaire d'enlever le palier graisseur pendant le soudage. Ceci permettra de gagner beaucoup de temps :
- On fait glisser le rouleau (ou le galet) sur une longueur de tuyau appuyée sur deux chevalets. Cela permet à l'opérateur de le tourner pendant le soudage.
- Utiliser les electrodes Wearshield™ BU de 5/32 po (4 mm) à 175 A ou de 3/16 po (4,8 mm) à 200 A.
- Déposer le cordon sur la surface d'usure parallelement et pas perdiculairement au tranchant.
- Refroidir le rouleau (ou le galet) en le trempant dans l'eau et en arrêtant l'opération de soudage de temps en temps. Cela empêchera le galet (ou le rouleau) de se contracter sur le palier graisseur.
- Recharger aux dimensions. Le métal de soudure déposé par l'électrode BU est souvent si lisse qu'un usinage ou un meulage ne sont pas nécessaires.
NOTA: La trempe du rouleau (ou du galet) a un autre objectif : elle augmente la durée et par conséquent la durée de vie du dépôt.
Le rechargement dur des rails est bien plus facile :
- Placer les rails de sorte que le côté qui se déplace sur les rouleaux et galets soit vers le haut.
- Utiliser les electrodes Wearthield™ BU. Adopter le même réglage d'intensité que pour les galets et rouleaux.
- Recharger aux dimensions.
- Ne pas tremper. Le dépôt sera ainsi légrement plus doux que celui des galets et rouaux. Cela signifie que l'usure se fera principalement sur les rails, qui sont bien plus facies, moins longs et moins onéreux à recharger.
NOTA : La même electrode, Wearthield™ BU, donnae deux durétés recherchées que l'on obtendra en modifiant légèrement la vitesse de refroidissement. Il sera ainsi possible de placer le dépôt le plus dur sur les pieces les plus onéuses.
NOTA : L'extérieur des rails (le côte qui entre en contact avec la terre) doit être rechargé avec le produit Wearthield™ ABR, étant donné que ce côte a une usure métal-terre.
Welding Cast Iron
Quand on soude sur une piece de fonte froide, la chaleur intense de l'arc est absorbée et répartie rapidement dans la masse froide. Ce chauffage suivi du refroidissement subit créé une fonte BLANCHE et FRAGILE dans la zone de fusion.

C'est la raison pour laquelle les soudures dans la fonte cassent. En fait, la soudure compte resté sur une des deux pieces de la fonte rompue et par conséquant il n'y a pas de soudure sur l'une des deux pieces. (Voir le schéma ci-après.)

Lors de la rupture, la soudure reste sur une seule piece.
Pour y pallier, l'opérateur de soudage a deux choix :
- Préchauffer la pierce au complet entre 500 et 1 200 °F (260-649 °C). Si la fonte est chaude avant le soudage, il n'y aura pas de refroidissement subit qui donne une fonte blanche fragile. Touta la pierce moulée refroidira lentement.
- Souder 1/2 po (12,5 mm) à la fois et ne revenir à cet endroit que quand la soudure est refroidie (au toucher).
De cette façon la masse ne recoit pas une grande quantité de chaleur.
La plupart des soudeurs inexpérimentés utiliseront probablement la deuxième méthode, étant donné qu'ils n'ont pas de moyen de préchauffer les grosses pieces moulées. On peut (et on doit) préchauffer facilement les petites pieces moulées avant le soudage. Une forge, un four, un feu ou la torche à arc sont d'excellents moyens de préchauffage.
Quand on utilise la méthode 1/2 po (12,5 mm) à la fois, on recommende de commencer à 1/2 po (12,5 mm) du cordon précédent et de souder vers celui-ci. C'est ce que l'on appelle la méthode à pas de pelerin.
Après avoir soude la fonte, protéger la piece moulée contre un refroidissement rapide. La placer dans un contenant de sable ou de chaux.
Si l'on ne dispose pas de sable ou de chaux, couvrir la piece à l'aide de tôles ou de tout autre matériel ininflammable qui la protégeront contre les courants d'air et conserveront la chaleur.
Preparation de la plaque en fonte
Quand cela est possible, on doit effectuer une préparation en V en meulant ou en limant les pieces pour obtenir une pénetration complète. Ceci est particulièrement important sur les pieces moulées épaisses nécessitant une résistance maximale. Dans certains cas, on peut utiliser un support à l'envers et on peut écarter les pieces de 1/8 po (3,2 mm) ou plus.
Dans le cas des sections ne nécessitant qu'un joint étanche et pour lesquelles la résistance n'est pas importante, on peut souder l'assemblage après avoir légèrement chanfreiné les bords. (Voir le schéma e) ci-après.)



- Morceau de ferraille utilisé comme support à l'envers
Trois façons de préparer les bords quand une déténration complète est nécessaire.


Cordons simples et doubles avec et sans chanfreinage pour obtenir des joints soudés étanches et à résistance moyenne.
Coupage (Ne pas dépasser le facteur de marche - Voir la page 10.)
On peut utiliser la source de courant de soudage et l'électrode pour couper l'acier et la fonte. Suivre ce mode opération :
- Utiliser une electrode Fleetweld 180 de 1/8 po (3,2 mm) ou de 5/32 po (4 mm.)
- Régler la source de courant au maximum (225 A).
- Maintenir un arc long sur le bord du métal, et faire fondre celui ci.
- Pousser l'arc dans le métal fondu, pour faire tomber celui-ci.
- Relever l'électrode et recommencer.
Il est important de continuer ce mouvement de sciage, de haut en bas, pour faire fondre le métal et le chasser.

Coupage d'une plaque avec une électrode.
Perçage de trous
- Réglage de la source de courant: maximum (225 A).
- Diametre de l'electrode Fleetweld 180:1/8 (3,2 mm) ou 5/32 po (4 mm).
- Tenir l'electrode avec un arc long perpendicular à la plaque dans laquelle on doit percer le trou.
- Une fois que le métal est fondu, pousser l'électrode dans le bain de fusion.
- Laisser le métal fondu s'égoutter du trou.
- Faire des cercles avec un arc long tout autour du bord du trou pour obtenir un trou du diamètre voulu.
Électrode 5/32 ou 1/8 po
Utiliser 180 A
Perçage de trough avec une étode.

Si l'on enforce I'electrode trop tout elle se colle dans le bain de fusion. S'assurer que le métal est fondu avant de la pousser.
NOTA: Sur les pieces épaisses (5/16 po (7,9 mm) ou plus), placer la plaque à percher à la verticale, et l'électrode à l'horizontale. Cela permet au métal fondu de s'égoutter librement pendant qu'onerce.
Using The Carbon Arc Torch
Utilisation de la torche à arc au carbone
...soudage de l'aluminium et des alliages de cuivre
...brasage fort et brasage tendre
...chauffage, piage et redressage

Matériel nécessaire
- Torche à arc au carbone Lincoln L-2645. Son intensité nominale est de 100 A.
- Électrodes de carbone de 1/4 po, 5/16 po ou 3/8 po (6,5,7,9 ou 9,5 mm). N'utiliser que des electrodes à revêtement cuvrie et pleines pour évitier que le porte-électrode ne surchauffe et pour permettre que les electrodes se consument de façon réquérique.
- Source de courant c.a. ou c.c. Les électrodes de carbone se consument bien plus rapidement en c.c. qu'en c.a. De plus, l'électrode raccordée à la sortie c.c. positive doit être plus grossse que l'électrode connectée à la sortie c.c. négative pour que les deux électrodes se consument à peu près à la même vitesse.
Raccordements de la torche
Enconcer l'embout droit à l'extrémité d'un cable de la torche à arc dans le porte-électrode standard. Fixer la pince à ressort à l'extrémité de l'autre cable au connecteur de piece ou à la table de soudage où le cable de retour est fixé. Si le cable est connecté à la table, isoler la piece de la table. Voir le schéma ci-après.


ARC RAYS can burn.
LE RAYONNEMENT de l'arc peut brûler
Le RAYONNEMENT de la torche à arc au carbone provoque des brûlures d'arc graves sur la peau non protégée. par conséquent, on recommende de porter une paire de gants de travail, une chemise à manches longues ou des manchettes ainsi qu'un tablier.
Utiliser un masque à serre-tête avec oculaire n° 11 ou 12. Les lunettes-masques utilisées pour le soudage oxyacetylenique n'assuret pas une protection suffisante des yeux et du visage.
Quand on règle la longueur des électrodes de carbone s'assurer que la source de courant de soudage est arrêtée. Pendant que l'on effectue ce réglage, un coup d'arc peut brûler les mains ou les yeux.
Quand on pose la torche, éviter que les electrodes de carbone touchent l'établi ou la pierce à la masse. Par mesure de précaution, il vaut moins arrêter la source de courant de soudage. On peut encore soit poser la torche sur une surface isolée ou la poser sur le côté, les cables pendant par-dessus l'établi, la poignée reposant sur l'établi.
NE PAS DÉPASSER LE FACTEUR DE MARCHE NOMINAL DE LA SOURCE DE COURANT. Si l'on dépasse le facteur de marche sur des périodes successives de 10 minutes, la source de courant peut surchauffer, ce qui peut endommager les enroulements. (Voir la page 10.)
Réglages de chaleur
Les réglages de courant recommendés pour les différentes épaiss-seurs de matériel ainsi que le diamètre des electrodes de carbone sont disponibles dans le tableau ci-après. En général, il faut utiliser juste le courant nécessaire pour que le métal d'apport s'écoule librement sur la piece. Ne pas utiliser des courants trop élevés pour ne pas que l'enrobage en cuivre se consume à plus de 1/2 po (12,5 mm) au-dessus de l'arc.
Placer les electrodes de carbone pour qu'elles dépassent d'environ 2 po (50 mm) des machoires en cuivre.

AVERTISSEMENT
S'assurer que la source de courant est arrêtée quand on fait ce réglage.
| Épaissur du métal de base po (mm) | Réglage de courant (A) approximatif (c.a.) | Ø electrode de carbone po (mm) |
| 1/32 (0,8) | 30-50 | 1/4 (6,4) |
| 1/16 (1,6) | 50-60 | 1/4 (6,4) |
| 1/8 (3,2) | 70-80 | 5/16 (7,9) |
| 1/4 (6,4) | 90-100 | 3/8 (9,5) |
Après avoir réglé le courant de la source et réglé la portée terminale de l'électrode de carbone,mettre la source de courant en marche et commencer à souder.

Utiliser les vis à ailettes sur la torche à arc pour faire tournier les électrodes de carbone jusqu'à ce qu'elles se touchent. Amorcer l'arc en inversant le réglage des vis à ailettes pour que les électrodes de carbone s'écartent de 1/16 à 3/16 po (1,6 à 4,8 mm). Au fur et à mesure que les électrodes de carbone se consument, se servir des vis à ailettes pour maintainir l'arc désire. Quand on ne peut plus maintainir le bon arc, arrêté la source de courant et régler la portée terminale des électrodes de carbone.
Une flamme large, douce et calme donne les meilleurs résultats pour la plupart des travaux. Quand les extrémites des electrodes de carbone sont trop pres l'une de l'autre cela produit une petite flamme accompagnée d'un crépitement ou d'un sifflement.
Les schémas ci-après donnent un exemple d'une bonne forme de flamme. La flamme se déploie pour former une «quelle de poisson» avec dard et panache. Utiliser la flamme illustrée pour chauffer dans une fissure ou un angle.

On augmente ou on diminue la chaleur en modifiant le réglage du courant, en éloignant ou en rapprochant les electrodes de carbone, ou en modifiant la distance entre la flamme et la pierce. Quand la pièce est placée sur une table métallique, la table absorbe une partie de la chaleur. Pour éviter de grandes déperditions de chaleur, on peut placer la pièce sur de fines bandes métalliques ou sur de l'isolant.
Desserrage des écrous et boulons
Applique la chaleur avec la torche à arc pendant quelques secondes pour pouvoir desserrer facilement les écrous.
Heating Heavy Parts
Chauffage des pièces épaisses
On peutchauffer plusrapidementlespiècesmetalliquesépaisses en lesmettantàlasasse de sortequelarcjaillisseentreleselectrodesde carboneetla pièceaisqu'entreles deuxelectrodes. Pour ce faire,conneter l'électrode de tete(electrode qui dirigelesens du déplacement)au porté-electrode.Connector l'électrodearrrière etle cablede masse (oucablederetour)àla pièceoua tablede soudage.Ainsi,enrelevant latorchondiminue la quantité d'arcqui vavsera la pièceand on réduit par la même chaleur.L'arcentreleselectrodesdecarboneetla pièca tendencya piquer la surface de la pièce.

Chaleur intense

Chaleur moyenne

Chaleur faible
Soudage des alliages d'aluminium
Il y a de plus en plus de pieces en aluminium à réparer. On peut effectuer ces réparations en utilisant simplement une source de courant c.a. avec des electrodes Aluminweld 43 et une torché à arc. La torché à arc permet de préchauffer la tôle en aluminium, ce qui assure une bonne fusion.
Preparation des pieces
Nous recommendons ci-après des modes de préparation des bords et des types d'assemblage pour différentes épaissesurs de métal de base. On doit effectuer toutes les soudures dans la position à plat. Faire tourner les pieces circulaires.

Écartement nul
Soudure
Épaisseur < 1 / 16 po (1,6 mm)
SOUDURE BOUT À BOUT AVEC SUPPORT À L'ENVERS EN FER OU EN ACIER

SOLDADURA A TOPE
1.6-4.8 mm (1/16-3/16")

SOLDADURA DE FILETE

SOUDURE BOUT A BOUT
Soudure
1/16-3/16 po (1,6 - 4,8 mm)

(On doit chanfreiner les bords pour obtenir la bonne résistance.)
Soudure d'angle
Mode opératione de soudage
- Utiliser les courants alternatifs et les diamètres d'électrode de carb- bone recommends disponibles dans le tableau de la page 29.
- Utiliser une electrode Aluminweld® 43 de 1/8 po (3,2 mm) comme baguette d'apport. La tener dans la main gauche (pour les droitiers).
- Tenir la torche à arc dans la main droite et amorcer l'arc en court-circuitant les electrodes de carbone et en les écartant de 1/16 po (1,6 mm).
- Tenir la torche à arc comme on l'indique ici. Fixer les yeux juste audressus de la torche à arc entre les deux electrodes de carbone.
- Au départ, faire monter et descendre l'arc de 3 à 4 po au-dessus de l'assemblage. Ce préchauffage permet d'obtenir un cordon plus lisse et un amortcé plus facile quand on applique la baguette d'apport.
- Déplacer la torche vers le début de l'assemblage (les droitiers doivent commencer à droite et se déplacer vers la gauche).
- Placer l'extrémité de l'électrode dans l'arc. Si l'enrobage fond et s'écoule facilement dans l'assemblage, c'est que le métal est suffisamment chaud pour commencer à souder.
- Laisser une gouttelette de la baguette fondre et fusionner dans l'assemblage.
- Observer le bain de fusion. Rajouter du métal d'apport en faisant entre l'extrémité de la baguette dans l'arc et en la faisant sortir au fur et à mesure que la main droite déplace la torche à arc lentement le long de l'assemblage.
Pratique
Quand onessaie de souder en suivant ces modes opérateires, on peut avoir tendance à percer la pièce. Par conséquent, on recommende de s'entrainer pendant quelques minutes avant de travailler sur les pièces à souder. Utiliser des morceaux de ferraille ayant à peu pris la même épaissir que la pièce que l'on va souder. S'entrainer pour bien maitriser l'arc.
Brasage fort
Les techniques utilisées pour le brasage fort à la torché à arc sont trèssemblables à celles utilisées pour le brasage fort aux gaz. On ne doit utiliser que la chaleur nécessaire pour faire fondre le métal d'apport et pour porter les pieces à braser à la température de fusion du métal d'apport, généralement juste au-dessus de 1 000 °F (538 °C). On obtient un bon joint brasé quand le métal d'apport s'écoule dans l'assemblage et adhére de façon régulière aux surfaces. N'utiliser que la quantité nécessaire de métal d'apport pour obtenir un joint lisse. Utiliser la baguette et le flux de brasage fort aux gaz standard.
Chauffer l'extrémité de la baguette de brasage fort et la tremper dans le flux. Le flux collera à la baguette chaude. Faire aller etencer l'arc sur une courte distance le long de l'assemblage jusqu'à ce que la piece atteigne la température de fusion de la baguette de brasage fort. Une goutte de la baguette s'écoulera dans l'assemblage quand on obtendra la bonne température. Appliquer la quantité de flux nécessaire et faire fondre la baguette de brasage pour replir l'assemblage. Avancer le long de l'assemblage jusqu'à ce que le joint brasé soit terminé.
Si la pièce brasée n'est pas suffisamment chaude, augmenter le courant ou tener la torche plus pres de la pièce. Dans la mesure du possible,mettre l'assemblage à l'horizontal pour assurer le meilleur écoulement du métal en fusion de la baguette.
Soldering
On peut utiliser la torche à arc pour effectuer des brasures tendres sur la tuyauterie en cuivre ou autres pieces en cuivre, étamées et galvanisées. On obtient les meilleurs résultats avec les pieces à recouvrement. Nettoyer les surfaces à braser et les recouvrir de flux de brasage tendre pour empêcher l'oxydation et activer le brasage tendre. Un fil d'apport de brasage tendre à âme acide produit également debons résultats.
On peut obltenir les mêleurs résultats de brasage tendre en utilisant la prise de courant la plus BASSE de l'appareil. Utiliser une electrode en carbone de 1/4 po (6,4 mm) de diamètre et s'assurer de bien lui faire toucher la piece à braser pour éviter un jaillissement d'arc. Il suffit de faire jouer l'arc sur la zone à braser et à répartir du produit d'apport dans l'assemblage quand celui-ci atteint la bonne température. Une fois le brasage tendre terminé, retirerrapidement le carbone pour empêcher la formation d'un arc. Ne jamais trop chauffer pour ne pas que le produit d'apport bouille.
Chauffage, piage et redressage
Choisir le diamètre de l'electrode de carbone et le réglage du courant selon l'épaissier du métal à chauffer. Faire jouer l'arc sur la section à chauffer jusqu'à ce que l'on obtienne la bonne température. Pour effectuer le piage on obtient cette température quand les aciers doux ordinaires prènnant la couleur rouge terme.
Ne pas tenir les electrodes de carbone trop pres de la pierce. Si l'arc jaillit sur la surfaceILA cesta augmente la tendance a la fissuration du metal de base quand on effectue le piage.
Entretien de la torche à arc au carbone
La poignée est retenue par une vis et une rondelle à ressort pour assurer juste le bon frottement sur l'électrode. Si l'on enève la poignée pour une raison ou une autre, on doit serrer légèrement la vis à l'avant de la poignée et la desserrer d'un demi-tour pour obtenir le bon frottement.
Il peut arriver que la vis des machoires en cuivre se bloque, aussi il est bon de lubrifier le filetage avec de la graisse graphitee et de bien repartir la graisse dans la machoire filtée.
Choix des electrodes
Quelle electrode convient moins pour un travail particulier? Comment doit-on l'utiliser? Ce sont la des questions importantes parcque que le coût, la qualité et l'aspect du travail effectué sont liés au besoin et à l'utilisation de la bonne electrode. On peut classer les ÉLECTRODES POUR ACIERS DOUX dans les deux groupes suivants :
Groupe hors position (E6011)
Ce groupe comprend les electrodes qui ont un arc vigoureux et pénétrant et qui donnent des dépôts à solidification rapide.
On utilise ces electrodes pour le soudage de réparation et de fabrication générale en toutes positions. On les recommende également pour le soudage des tuyaux et pour les soudures bout à bout, en L et sur chant des toles. On peut également les utiliser pour les travaux de réparation quand on ne peut pas enlever complètement la saleté, laGRAISSSE, le placage ou la peinture de l'acier. Généralement utilisées eneffectuant les mouvements «A» et «B» (voir ci-après) pour la première passée des soudures verticales en montant.
Groupe à replissage rapide (E6027, E7024)
Ce groupe comprend les electrodes à enrobage écais, à poudre de fer qui se caractérisent par leur arc doux et leur coefficient de dépôt élevé. Ces electrodes produisent un laitier lourd et des cordons exceptionnellement lisses. On les utilise généralement pour le soudage de production quand toutes les pieces peuvent être positionnées pour le soudage à plat. Avec ces electrodes on préférite utiliser des cordons étroits en trainant只不过 que des cordons larges.
Groupe à grande vitesse (E6012, E6013, E7014)
Ce groupe comprend les electrodes qui ont un arc moyennement piousant et des coefficients de dépôt qui se situent entre ceux des electrodes hors position et à coefficient de dépôt élevé. Ce sont principalement des electrodes de production polyvalentes spécialément utilisées pour les soudures d'angle en descendant et les soudures à clin ou encore pour les soudures courtes et irrégulières qui changent de sens ou de position. On les utilise également beaucoup pour l'entretien et elles sont recommandées pour les soudures d'angle et à clin des toles. On utilise généralement le mouvement «D» (ci-après) pour le soudage vertical en montant, et les mouvements «A» et «B» conviennent également.
Ces electrodes sont généralement dites « à bas hydrogène». Ce nom vient du fait que leur enrobage content peu d'hydrogène soit au point de vue humidité ou chimique. Les electrodes à bas hydrogène représentent les avantages suivants: résistance exceptionnelle à la fissuration, très faible porosité sur les aciers au sousfre et dépôts représentant une bonne qualité radiologique. Par consécut, on les utilise en priorite pour souder les aciers « à problèmes». On peut utiliser la E7018 en toutes positions, en effectuant le mouvement « C» recommendé pour la première passée dans le cas des soudatures verticales en montant. NE JAMAIS utiliser une technique de foufettement ni un arc long avec ces electrodes. TOUJOURS replir les cratères en tirant lentement l'électrode pour l'écarter. TOUJOURS tenir ces electrodes au sec. On doit ranger dans des armoires chauffées les electrodes que l'on n'utilise pas dans les quelques heures qui suivent l'ouverture du contenant. On recommende d'utiliser la LH-73 avec la source AC-255. On préférate normalement utiliser le c.c. (+) pour ces electrodes.
Mouvements
La manipulation dépend de l'assemblage. Certains des mouvements courants sont illustrés ci-après.




Utiliser la méthode de soudage « à pas de pelerin » quand la déformation pose un problème.
Faire en sorte que les forces de retrait réduisent au minimum la déformation.
Le mouvement «A» est un mouvement de foufettement droit utilisé avec les electrodes à solidification rapide pour effectuer des cordons étroits en toutes positions et sur tout type d'assemblage. Il permet d'obtenir un bain de fusion de faibles dimensions et à solidification rapide de sorte que le métal fondu ne s'écoule pas ni ne traverse pas l'assemblage. Maintenir l'arc court dans le créature et plus long en sortant par passages balancées rapides du créature.
Le mouvement «B» est un mouvement de foufettement avec passée légèrement balancée dans le créature. On l'utilise avec les electrodes à solidification rapide pour la première passée des soudures d'angle et en V verticales.
Le mouvement «C» est un simple mouvement de balancerment d'un côté à l'autre utilisé avec tous les types d'électrodes pour effectuer des passes de remplissage sur les soudures d'angles et en V verticales. Ce mouvement est également utilisé quelques fois avec les electrodes de remplissage-solidification et avec les electrodes à bas hydrogène pour effectuer la première passée sur ces assemblages.
Le mouvement «D» est un mouvement de balancement triangulaire utilisé avec les types d'électrodes à replissage-solidification et à bas hydrogène pour effectuer les soudures d'angle et en V verticales en une seuleonne. Il donne une soudure plus large que le mouvement «C».
Le mouvement «E» est un mouvement de balancement rectangulaire utilisé avec tous les types d'électrodes pour effectuer des passes de remplissage sur les soudures d'angle et les soudures en V verticales. Il estsemblable au mouvement «C», mais avec une pause nette et un léger mouvement ascendant à chaque bord de la soudure pour assurer le remplissage complet du cratère et l'élimination du caniveau.
Le mouvement «F» est un mouvement circulaire utilisé avec tous les types d'électrodes pour effectuer des soudures au plafond. Il est parfois accomplé d'un léger foufettement après chaque oscillation dans le cratère. Toutjours effectuer une série de cordons étroits dans le cas du soudage au plafond, et ne pas effectuer des cordons larges.
Le mouvement «G» est un simple mouvement de balancement d'un côté à l'autre utilisé avec toutes les électrodes pour les soudures d'angle ouboutabout largesa plat.
| ELECTRODE SELECTION GUIDE | ||||||
| ELECTRODE TYPE & POLARITY TIPO Y POLARIDAD DEL ELECTRODO TYPE D'ÉLECTRODE ET POLARITÉ | · 5/64 | · 3/32 | · 1/8 | · 5/32 | · 3/16 | |
| FLEETWELD® 5P | DC(+) | — | 55 | 105 | — | — |
| FLEETWELD® 180 | DC(±) AC | — — | 55 60 | 85 90 | 125 135 | — — |
| FLEETWELD® 37 & 57 | DC(±) AC | 55 75 | 85 90 | 115 135 | — 175 | — 225 |
| STAINWELD® 309-16 & 308-16 | DC(+) AC | 30 40 | 45 60 | 75 90 | 105 135 | 175 |
| JET-LH® 78 | DC(+) | — | 85 | 115 | — | — |
En plus des électrodes données ci'avant on peut également utiliser celles enumeratedes ci-après. Pour déterminer le diamètre d'électrode à utiliser et le réglage de courant à effectuer prière de consulter le «Welddirectory» de Lincoln (Bulletin n° C2.10)
| ·Fleetweld® 37 ·Fleetweld® 47 ·Fleetweld® 57 ·Fleetweld® 180 ·Fleetweld® 35 | ·Lincoln® 7018-AC ·Jetweld® LH-110M ·Jetweld® 1 ·Blue Max® 2100 | ·Red Baron® 309/309L MR ·Red Baron® 308L MR ·Red Barron® 347-16 MR ·Wearshield® ME ·Wearshield® MI | ·Wearshield® BU ·Wearshield® Mangjet® ·Wearshield® ABR ·Ferroweld® ·Softweld® 99 Ni |
NOTES
|  |  |  |  |  | |
| WARNING | - Do not touch electrically live parts or electrode with skin or wet clothing. - Insulate yourself from work and ground. | - Keep flammable materials away. | - Wear eye, ear and body protection. | - Keep your head out of fumes. - Use ventilation or exhaust to remove fumes from breathing zone. | |
| Spanish AVISO DE PRECAUCION | - No toque las partes o los electrodos bajo energia con la piel o ropa moja- da. - Aislese del trabajo y de la tierra. | - Mantenga el material combustible fauna del area de trabajo. | - Protégase los ojos, los oídos y el cuerpo. | - Los humos fuera de la zona de res- piración. - Mantenga la casa因为她 de los humos. Utilice ventilación o aspiración para gases. | |
| French ATTENTION | - Ne laissez ni la puau ni des vete- ments mouillés entre en contact avec des pièces sous tension. - Isolez-vous de la piece et de la terre. | - Gardez à l'écart de tout matériel inflamnable. | - Protégéz vos yeux, vos oreilles et votre corps. | - Gardez la tête à l'écart des fumées. - Utilise un ventilateur ou un aspira- teur pour éfter les fumées des zones de travail. | |
| German WARNING | - Berühren Sie keine stromfuhrenden Teile oder Elektroden mit ihrem Körper oder feuchter Kleidung! - Isolieren Sie sich von den Elektroden und dem Erdboden! | - Entfernen Sie brennbarres Material! | - Tragen Sie Augen-, Ohren- und Kör- perschutz! | - Vermeiden Sie das Einmalmen von Schweibrauch! - Sorgen Sie für gute Be- und Entlüfung des Arbeitsplatzes! | |
| Portuguese ATENÇÂO | - Não toque partes electrolyicas e elec- trodos com a pele ou roupa molha- da. - Isole-se da peça e terra. | - Mantenha inflamáveis hem guarda- dos. | - Use proteção para a vista, ouvido e corpo. | - Mantenha seu rosto da fumaça. - Use ventilação e exhaustão para remover fumo da zona respiratória. | |
| Japanese 注意事項 | - 通電中的電気部品、又は溶材にビ フやねけた布で触れないご。 - 施工物或アスから身体が絕緣さ 裁いる様にして下載。 | - 燃をやすいの側の溶接作業 是絶対にはなりまん。 | - 目、耳及び身体に保護具をじて下 き。 | - ヒューマから頸を離すようにじて 下き。 - 换気或排煙に十分留意に下き。 | |
| Chinese 警告 | - 皮肤或濕衣物切勿接觸帶電部件及 鲫鰓。 - 使你自己與地面和工件絕緣。 | - 把一切易燃物品移離工作場所。 | - 佩戴眼、耳及身體勞動保護用具。 | - 頂部遠離煙霧。 - 在呼吸區使用通風或排風器除煙。 | |
| Korean  | - 선드래내 채류상품을 썼은 죹들고는 푡부로 죹개에 죹목지 사원지. - 쯇재와 죹자을 죹목지 사원지. | - 在화beh em 죹개에 죹목지 사원지. | - 盎, 기재에 고등장구름 chock용하심지. | - 問過로부터 쿬目的在于 쿬目的在于 쿬目的在于 쿬目的在于 쿬目的在于 쿬目的在于 쿬目的在于 쿬目的在于 쿬目的在于 쿬目的在于 쿬目的在于 쿬目的在于 쿬目的在于 쿬目的在于 쿬目的在于 쿬目的在于 쿬目的在于 쿬目的在于 쿬目的在于 쿬目的在于 쿬目的在于 쿬目的在于 쿬目的在于 쿬目的在于 쿬目的在于 쿬在于 쿬目的在于 쿬目的在于 쿬目的在于 쿬目的在于 쿬目的在于 쿬目的在于 쿬目的在于 쿬目的在于 쿬目的在于 쿬目的在于 쿬目的在于 쿬目的在于 쿬目的在于 쿬目的在于 쿬目的在于 쿬目的在于 쿬目的在于 쿬目的在于 쿬目的在于 쿬目的在于 쿬目的在于 쿬目的在于 쿬目的在于 쿬目的在于 쿬并于 쿬目的在于 쿬并于 쿬并于 쿬并于 쿬并于 쿬并于 쿬并于 쿬并于 쿬并于 쿬并于 쿬并于 쿬并于 쿬并于 쿬并于 쿬并于 쿬并于 쿬并于 쿬并于 쿬并于 쿬并于 쿬并于 쿬并于 쿬并于 쿬并于 쿬并于 쿬并于 쿬于 쿬并于 쿬并于 쿬并于 쿬并于 쿬并于 쿬并于 쿬并于 쿬并于 쿬并于 쿬并于 쿬并于 쿬并于 쿬并于 쿬并于 쿬并于 쿬并于 쿬并于 쿬并于 쿬并于 쿬并于 쿬并于 쿬并于 쿬并于 쿬并于 쿬于是 100% | - 代言通販売売売売売売売売売売売売売売売売売売売売売売売売売売売売売売売売売売売売売売売売売売売売売売売売売売売売売売売売売売売売売売売売売売売売売売売売売売売売売売売売売売売売売売売売売売売売売売売売売売売売壳壳壳壳壳壳壳壳壳壳壳壳壳壳壳壳壳壳壳壳壳壳壳壳壳壳壳壳壳壳壳壳壳壳壳壳壳壳壳壳壳壳壳壳壳壳壳壳壳壳壳壳壳壳壳壳壳壳壳壳壳壳壳壳壳壳壳壳壳壳壳壳壳壳壳壳壳壳壳壳壳壳壳壳壳壳壳壳壳壳壳壳壳壳壳壳壳壳壳壳売売売売売売売売売売売売売売売売売売売売売売売売売売売売売売売売売売売売売売売売売売売売売売売売売売売売売売売売売売売売売売売売売売売売売売売売売売売売売売売売売売売売売売売売売売売売売売売売売売売 |
| Arabic  | - مسالم نهور رزامير بعس پور پور پور پور پور پور پور پور پور پور پور پور پور پور پور پور پور پور پور پور پور پور پور پور پور پور پور پور پور پور پور پور پور پور پور پور پور پور پور پور پور پور پور پور پور پور پور پور پور پور پors | - مسالم نهور رزامير بعس پور پور پور پور پور پور پور پور پور پور پور پور پور پور پور پور پور پور پور پور پور پور پور پور پور پور پور پور پور پور پور پور پور پور پور پور پور پور پور پور پور پور pb- | - مسالم نهور رزامير بعس پور پور پور پور پور پور پور پور پور پور pb- |
| ·Turn power off before servicing. | ·Do not operate with panel open or guards off. | WARNING |
| ·Desconectar el cable de alimentación de poder de laquina antes de iniciar cualquier servicios. | ·No operar con panel abierto o guardas quitadas. | Spanish AVISO DE PRECAUTION |
| ·Débranchez le courant avant l'entretien. | ·N'opérez pas avec les panneaux ouverts ou avec les dispositifs de protection enlevés. | French ATTENTION |
| ·Strom vor Wartungsarbeiten abschalten! (Netzstrom vollig öff-nen; Maschine anhalten!) | ·Anlage nie ohne Schutzgehäuse oder Innenschutzverkleidung in Betrieb setzen! | German WARNING |
| ·Não opere com as tampas removidas. ·Desligue a corrente antes de fazer serviços. ·Não toque as partes elétricasnas. | ·Mantenha-se afastado das partes moventes. ·Não opere com os paineis abertos ou guardas removidas. | Portuguese ATENÇÂO |
| ·Mentonelanos·saucevusに取かかの際には、永遠電源スイチを必務切て下いたします。 | ·バネルやカローを取り外たまむで機械操作をしおて下いたします。 | Japanese 注意事項 |
| ·维修前切断電源。 | ·儀表板打開或沒有安全罩時不準作業。 | Chinese 警告 |
| ·複数現場が通過の結果を確認しbih訪問。 | ·拷nareload이 옆리상품로 썸동지마semblsystem. | Korean隨著 |
| ·류류류류류류류류류류류류류류류류류류류류류류류류류류류류류류류류류류류류류류류류류류류류류류류류류류류류류류류류류류류류류류류류류류류류류류류류류류류류류류류류류류류류류류류류류류류류류류류류류류류류不良信息 | Arabic |
READ AND UNDERSTAND THE MANUFACTURER'S INSTRUCTION FOR THIS EQUIPMENT AND THE CONSUMABLES TO BE USED AND FOLLOW YOUR EMPLOYER'S SAFETY PRACTICES.
Notice Facile