ASYG 12 LLCC.UI UNITE MURAL INVERTER 3400W - Inverter ATLANTIC - Notice d'utilisation et mode d'emploi gratuit
Retrouvez gratuitement la notice de l'appareil ASYG 12 LLCC.UI UNITE MURAL INVERTER 3400W ATLANTIC au format PDF.
| Type de produit | Unité murale inverter |
| Puissance | 3400W |
| Type de réfrigérant | R32 |
| Dimensions approximatives | 800 x 300 x 200 mm |
| Poids | 10 kg |
| Alimentation électrique | 230V / 50Hz |
| Fonctions principales | Chauffage, climatisation, déshumidification |
| Utilisation | Idéale pour les espaces résidentiels et professionnels |
| Entretien et nettoyage | Filtres à nettoyer régulièrement, vérification annuelle par un professionnel |
| Pièces détachées et réparabilité | Disponibilité de pièces détachées auprès du fabricant |
| Sécurité | Conforme aux normes de sécurité en vigueur, protection contre les surcharges |
| Compatibilités | Compatible avec les systèmes de domotique |
| Informations générales | Garantie de 2 ans, service après-vente disponible |
FOIRE AUX QUESTIONS - ASYG 12 LLCC.UI UNITE MURAL INVERTER 3400W ATLANTIC
Questions des utilisateurs sur ASYG 12 LLCC.UI UNITE MURAL INVERTER 3400W ATLANTIC
Si vous n'avez plus la notice de la télécommande de votre climatiseur ATLANTIC ASYG 12 LLCC.UI, voici les fonctions principales généralement disponibles et comment les utiliser :
Fonctions principales de la télécommande
- Allumer/Éteindre : Appuyez sur le bouton marche/arrêt (souvent symbolisé par un cercle avec une barre verticale) pour allumer ou éteindre l'appareil.
- Régler la température : Utilisez les boutons + et - pour augmenter ou diminuer la température souhaitée.
- Changer le mode de fonctionnement : Appuyez sur le bouton « Mode » pour basculer entre les modes disponibles : refroidissement, chauffage, déshumidification, ventilation.
- Réglage de la vitesse du ventilateur : Sélectionnez la vitesse du ventilateur (faible, moyenne, élevée) via le bouton dédié, souvent marqué par une icône de ventilateur.
- Programmation horaire : Si votre télécommande dispose de cette fonction, vous pouvez programmer des horaires d'allumage ou d'arrêt via les boutons "Timer" ou similaires.
Conseils d'utilisation
- Dirigez toujours la télécommande vers l'unité intérieure pour assurer une bonne réception du signal.
- Remplacez régulièrement les piles pour éviter des dysfonctionnements.
- Si un bouton ne répond pas, vérifiez que rien n'obstrue le capteur infrarouge de l'appareil.
Si vous avez besoin d'aide pour une fonction spécifique de la télécommande, n'hésitez pas à poser une question plus précise.
Téléchargez la notice de votre Inverter au format PDF gratuitement ! Retrouvez votre notice ASYG 12 LLCC.UI UNITE MURAL INVERTER 3400W - ATLANTIC et reprennez votre appareil électronique en main. Sur cette page sont publiés tous les documents nécessaires à l'utilisation de votre appareil ASYG 12 LLCC.UI UNITE MURAL INVERTER 3400W de la marque ATLANTIC.
MODE D'EMPLOI ASYG 12 LLCC.UI UNITE MURAL INVERTER 3400W ATLANTIC
Notice d'installation
A l'usage du personnel autorisé seulement.
- Compatiblebes seulement avec le modele AOYG 18 LAC2.
Découpez soigneusement votre notice simplifiée de télécommande, puis pliez-la en 2 comme indiqué ci-dessous.







Conservez votre notice simplifiée de télécommande à proximé de votre installation.
| MODE |
| Choix des différents types de fonctionnement:AUTO : Choix automatique du mode CHAUD/FROID.FROID : Climatisation (+18°C à +30°C).DESHU : Déshumidification en mode FROID.VENTIL : Ventilateur.CHAUD : Chauffage (+16°C à +30°C). |
| VENTIL |
| Choix de la vitesse du ventilateur :AUTO : Automatique.GRANDE : Grande vitesse.MOYEN : Moyenne vitesse.PETITE : Petite vitesse.SILENCE : Vitesse silencieuse. |
| 10°C CHAUD |
| Mode hors gel à 10°C |
| PUISS. MAX |
| Puisance max, augmente les performances de la machine. |
| ECONOMIE |
| Mode économique d'énergie, changement de la consigne de T°C. |
| GROUPE EXT. SILENCIEUX |
| Réduction de la vitesse du ventilateur du groupe extérieur. |
| PRESENCE |
| Activation du détecteur de présence (LT). |
| BALAYAGE |
| Oscillation des volets. |
| POSITION |
| Réglage de la position deSoufflage des volets. |
| REG. HORLOGE |
| Réglage de l'heure. |
| REINIT |
| Réinitialisation de la télécommande. |

| MODE |
| Choix des différents types de fonctionnement: AUTO: Choix automatique du mode CHAUD/FROID. FROID: Climatisation (+18°C à +30°C). DESHU: Déshumidification en mode FROID. VENTIL: Ventilateur. CHAUD: Chauffage (+16°C à +30°C). |
| VENTIL |
| Choix de la vitesse du ventilateur: AUTO: Automatique. GRANDE: Grande vitesse. MOYEN: Moyenne vitesse. PETITE: Petite vitesse. SILENCE: Vitesse silencieuse. |
| 10°C CHAUD |
| Mode hors gel à 10°C |
| ECONOMIE |
| Mode économique d'énergie |
| POSITION |
| Réglage de la position vertical. |
| POSITION (*salon modulo) |
| Réglage de la positionizontale. |
| BALAYAGE |
| Oscillation des volets. |
| ENVoyer | |
| Envoie les informations des programmes horaires de la télécommunicatione vers le climatiseur. | |
| SUIVANT | |
| PROGAMMATION MINUTERIE | |
| JOURNALIERE | |
| Mettre en Marche l'apparil: | |
| Appuyez sur ① | |
| un bip retent et le可观er vert OPÉRATION S'allume. | |
| Si l'apparil est déjà allumé, passsez à l'épape suivante : appuyez sur RECHAGE, ilicone [②][③] clignot. | |
| Choisissez le mode de muniterie avec jusqu'à ce que les icones ©ONOFF | |
| Réglez l'heure de mise en marche de l'application sur SUIVANT. | |
| Nota : le réglage est de 5 minutes en 5 minutes. | |
| Appuyez sur ENVOYER, pour terminer en-choy les données. Idem pour paraméter Change de programme dans le paramétrage. | |
| Changer de programme dans le Change de programme dans le Change de programme dans le Change de programme dans le Change de programme dans le Change de programme dans le Change de programme dans le Change de programme dans le Change de programme dans le Change de programme dans le Change de programme dans le Change de programme dans le Change de programme dans le Change de programme dans le Change de programme dans le Change de programme dans le Change de programme dans le Change de programme dans le Change de programme dans le Change de programme dans le Change de programme dans le CHRONOFF | |
| Activer la programmation du Journaière. |

oit's opere dans la parte de noix des jours.
pamraree.
eae eae
réglez l'heure de mise en
puyez sur
ON cignointent.
SSE
Choisissez mode de muniterie avec
eone @nreeo cllignote:
suvane:appuyez sur
appuyez sur Appuyez sur
metre en Marche rapp
JOURNALIERE
PROGRAMMATION MINUTERIE
Prrnnnne nnnnne
enoe les informations des
programmations horaires de la
telecommunicatione vers le climatseur.
ENVOYER
atntic
metre en Marche l'appareil ...
JOURNALIRE
PRAAANNNNNEE
Game FUTSU
un biot retentit et le voyant
P 1
un bip retentit et voyant vert OPERATION sallume.
OPERATIONS
suvante:
Appuyez sur 100%NET INCOME
eone OFF appaeraiit.
Reiee eure darrte
'appeare/ avec « + et - »
P aee eae eae eae eae eae eae eae eae eae eae eae eae eae eae eae eae eae eae eae eae eae eae eae eae eae eae eae eae eae eae eae eae eae eae eae eae eae eae eae eae eae eae eae eae eae eae eae eae eae eae eee
Poue eeeeee eae
e enore sur
marche la minut
Prrnne aenrnnnne ennnnne nnnnne ennnnne ennnnne ennnnne ennnnne ennnnne ennnnne ennnnne ennnnne ennnnne ennnnne ennnnne ennnnne ennnnne ennnnne ennnnne ennnnne ennnnne ennnnne ennnnne ennnnne ennnnne ennnnne ennnnne ennnnne ennnnne
Appuyez sur
PVEVIL
eaeene eaeene aee
Choisiez la durée avec 其 -
Vorre minuterie est activée
Rénéinitialisation de la télécommande.
Coordenées de l'installateur
Game

CLIMATISATION ET VENTILATION
Notice d'utilisation simplifiée
des télécommandes
AR-REB1E
Cette notice résume les actions principales de votre télécommande, et vous donne une traduction française des différentes touches. Elle ne se substitue enaucun cas à la notice d'utilisation de toute climatiseur que vous devez conserver.
PROGRAMMATION MINUTERIE VEILLE
12x - 1 > 0
Appuyez sur
REGLAGE MINUTERIE
I'icône
VEILLE
clignote.
Choisissez la durée avec
Nota: Les possibilités de veilles s 30 min - 1h - 2h - 3h - 5h - 7h - 9h.
Votre minuterie est activée.
ANNULER
Annule toute programmation.
Validate et changez de jour avec
Oraires dans la meme journee:
Note : vous pouvez regier 2 plageshereignée dans le même jouré.
Note: www.novacorner.fr/olparoc
vandez avec REGLER MINUTERIE et raites de même pour reglez l'heure d'arrêt.
avec<>,
Réglez l'heure d'enclenchement
Validez le choix avec REGLER MINUTERIE
Utilisez le bouton JOUR pourCHOISIR de jour ou la semaine aprogrammer.
Utilisez le bouton JOUR pourCHOsi
durant 2 sec., l'icône clignote
Pressez le bouton REGLER MINUTERIE
Appuyez ensuite sur MODE MINUTERIE jusqu'à l'affichage 7.
Metre en marche l'appareil :
PROGRAMMATION HEBDOMADAIRE
ANNULER MINUTERIE
Pour annuler tout type de programmation pressez le bouton :
de la machine avec < >
Réglez le déliai avant l'arrêt
MANUAL DIFFER
PROGRAMMATION
Réglez le décai avant l'arrêt de la
Appuyez sur MODE MINUTERIE, l'affichage apparait.
Taeenee eaeenee eaeenee eaeenee eaeenee eaeenee eaeenee eaeenee eaeenee eaeenee eaeenee eaeenee eaeenee eaeenee eaeenee eaeenee eaeenee eaeenee eaeenee eaeenee eaeenee eaeenee eaeenee eaeenee eaeenee eaeenee
aee aee eae ee eae eae eae eae eae eae eae eae eae eae eae eae eae eae eae eae eae eae eae eae eae eae eae eae eae eae eae eae eae eae eae eae eae eae eae eae eae eae eae eae eae eae eae eae eae eae eae eae eae eae e ae
Notice d'utilisation simplifiée de télécommande UTY-RLRY
Cette notice résumé les actions principales de votre télécommande, et donne une traduction française des différentes touches. Elle ne se sub enaucun cas à la notice d'utilisation de cette climatisation que vous dev conservever.
MARCHE / ARRET DE L'APPAREIL
MODE DE FONCTIONNEMENT (MODE
Choix des différents types de fonctionnement :
AUTO: Choix automatique du mode CHAUD/FROID.
FROID: Climatisation (+18^ à +30^) .
DESHU: Deshumidification en mode FR
VENTIL : Ventilateur.
CHAUD: Chauffage (+16^à +30^)
MENUC
(un appui sur le bouton menu)
Réglage de la direction du flux d'air ou
Réglage du minuteur «ON» (1) ou «OFF» (2)
Réglage de l'heure actuelle
Réinitialisation de l'indication de filtré
Réglage du mode économique
Boutons de navigation dans les menus et réglage de la température

Programmation hebdomàtaire 7
Sélectionne la fonction 7. Appuyez sur ENTER
Pour activer la fonction, appuyez sur les boutons
Etapes de programmation :
Sélectionnez un jour de la semaine (ou tous les jours)
Sélectionnez le mode de fonctionnement
Réglez la températe
Réglez l'heure d'Arrêt
MENU
(un appui sur le bouton menu)
u flux d'air ou
Réglage du minuteur «ON» ou «OFF»
Réglage de l'heure actuelle
Réinitialisation de l'indication de filt
MENUC
(accès administrateur: appui simulanté sur et < )
Réglagedu minuteurauto OFF
Réglage de la programmation hebdomadaire 7
Réglage de la plage de la température de consigne - 1
Réglage automatique de la température
(accès administrateur : appui simultané sur et < )
Réglagedu minuteurauto OFF
Réglage de la programmation hebdomadaire 7
Réglage de la plage de la température de consigne - 1
Réglage automatique de la température
MENU (accès utiliser : un appui sur le bouton menu)
Réglage de la direction du flux d'air ou
Réglage du minuteur «ON» (1) ou «OFF» (2)
Réglage de l'heure actuelle
Réinitialisation de l'indication de filt
MENUC


Eurovent Certification est un organisme independant qui test les climatiseurs et valide les performancesANNOCES par les fabricants. Notre partenaire Fujitsu participe au programme de certification EUROVENT des climatiseurs (Programme AC).
Cet apparéil utilise le réfrigérant R410A
Faire attention sur les points suivants :
- Il faut utiliser des liaisons frigorifiques et des outils spéciaux pour des machines fonctionnant au R410A.
- Les modèles utilisant du R410A ont un Schrader (pour charger et réaliser le tirage au vide) de diamètre différent. Pensez à vérifier vos flexibles avant de commencer l'installation.
- Étre plus attentif qu'avc les autres modèles lors de l'installation, ne pas faire entrer dans les liaisons frigorifiques de l'eau, de l'huile et de la poussière. Pour le stockage des liaisons, vérifier que les extrémités soient bien bouchées.
- Lors de la phase de charge en réfrigérant, toujours le faire en phase liquide.
- La mise en service de ce climatiseur nécessite l'applé d'un installateur qualifié, possédant une attestation de capacité conformément aux articles R 543-75 à 123 du code de l'environnement et de ses arrêtés d'application. Ainsi que tout autre opération réalisée sur des équipements nécessitant la manipulation de fluides frigorifiques.
OUTILS SPECIAUX POUR R410A
| Outil | Détails |
| Manifolds | La pression est forte et ne peut être mesurée à l'aide de manomètres standards. Pour éviter de mélanger les différents fluides, les diamètres des différents ports ont changé. Il est recommendé d'utiliser un manifold avec des manomètres ayant une plage de mesure de -0.1 à 5.3 MPa (-1 à 53 bars) (HP) et de -0.1 à 3.8 MPa (-1 à 38 bars) (BP). |
| Schrader | Pour augmenter la résistance à la pression, la taille et le matériel ont été changés. |
| Pompe à vide | Il faut utiliser une pompe à vide adaptée (contenant de l'huile de synthèse POE). |
| Detecteur de fuites | Il faut utiliser un détecteur de fuites dédié aux HFC. |
AVERTISSEMENT
- Quand un apparéil est installé ou déplace, ne pas mélanger de gaz autre que le R410A.
ATTENTION
- Quand les liaisons frigorifiques installées sont inférieures à 3 m, le bruit de l'unité extérieure est transféré sur l'unité interieure ce qui causera un bruit anormal.
| ATTENTION | ||
| 1 | Cet apparéil fait partie d'un ensemble constituent un climatiseur. Il ne peut être installé seul ou avec des éléments non autorisés par le constructeur. | 10 Cet apparéil ne renferme aucune piece réparable par l'utilisateur. Confiez votre apparéil à un centre de réparation/agréé pour toute réparation. |
| 2 | Lisez complètement les informations de sécurité ci-dessous avant d'installer ou d'utiliser le climatiseur. | 11 Ne mettez pas l'installation sous tension tant que les travaux de raccordement ne sont pas total-ment terminés. |
| 3 | N'essayez pas d'instructor le climatiseur ou un des éléments de celui-ci par vous-même. | 12 Les apparéils ne sont pas anti-deflagrants et ne doivent donc pas être installés en atmophère explosible. |
| 4 | Cet apparéil doit obligatoirement être installé par du personnel qualifié possédant une attestation de capacité pour la manipulation des fluides frigorigènes. Rétérrez-vous aux lois et règlements en vigueur sur le lieu d'installation. | 13 Ne jamais toucher les composants électriques immédiatement après que l'alimentation ait est cou-pée. Un chic électrique peut se produit. ÀpRES la mise hors tension, toujours attendre 10 minutes avant de toucher aux composants électriques. |
| 5 | L'installation doit être réalisée en respectant im-pérativement les normes en vigueur sur le lieu d'installation et les instructions d'installation du constructeur. | 14 En cas de déménagement, faites appel à votre centre de réparation agrée pour le débranchement et l'installation de l'appareil. |
| 6 | Utilisé toutes une ligne d'alimentation indépendante protégée par un disjoncteur omnipolaire avec ouverture des contacts supérieures à 3 mm pour alimenter l'appareil. | 15 Si du fluide frigorigène fuit lors de l'installation, ventlez lapiece. Si du fluide qui a fuit est directement exposé à des flammes, des gaz toxiques pourrait être produits. |
| 7 | L'installation doit toujours être reliée à la terre et équipé d'un disjoncteur de protection des personnes contre les risques d'électrocution. | 16 Cet apparéil n'est pas prévu pour être utilisé par des personnes (y compris les enfants) dont les capita-tés physiques, sensorielles ou mentales sont réduites, ou des personnes dénuées d'expérience ou de connaissance, sauf si elles ont pu bénéficiair par l'intémidaire d'une personne responsable de leur sécurité, d'une surveillance ou d'instructions préalables concernant l'utilisation de l'appareil. |
| 8 | Régime de neutre et câblage d'alimentation: Les apparéils de climatisation Atlantic / Fujitsu sont prévus pour fonctionner avec les régimes de neutre suivants : TT et TN. Le régime de neutre IT ne convient pas pour ces apparéils (utiliser un transformateur de séparation). Les alimentations monophasées sans neutre (entre phases) sont strictement à proscire. En ce qui concerne les apparéils triphasés, le neutre doit également toujours être distribué (TT ou TN). | 17 Ces climatiseurs sont destinés à un usage résidentiel et tertiaire, pour assurer le comfort thermique des utilisateurs. Ils ne sont pas destinés à être utilisés dans des lieux où l'humidité est excessive (fleuriste, serre d'intérieur, cave à vin ...), où l'air ambient est poussièux et où les interférences electromagnétiques sont importantes (salle informatique, proximité d'antenne de télévision ou relais). |
| 9 | Il convient de surveiller les enfants pour s'assurer qu'ils ne jouent pas avec l'appareil. | |
NOTICE SIMPLIFIÉE 2
GENERALITIES 15
UNITÉS EXTERIEURES 15
UNITÉS INTÉRIEURES 15
TOUTES LES UNITS 18
CHOIX DE L'EMPLACEMENT DES UNITÉS 19
UNITS EXTERIEURES AOYG 14 ET 18 LAC2
- ACCESSORIES STANDARDS LIVRÉS AVEC L'APPAREIL 20
- CHOIX DE L'EMPLACEMENT DE L'UNITÉ EXTÉRIEURE 20
- INSTALLATION DE L'UNITÉ EXTÉRIEURE 22
3.1.Procedure d'installation 22
3.2. Installation de I'evacuation des condensats 22 - CONFIGURATION DU SYSTÉME 23
4.1. Modèle AOYG 14 LAC2 23
4.2. Modèle AOYG 18 LAC2 23
4.3. Limitation des longueurs des liaisons frigorifiques 24
4.4. Comment utiliser l'adaptateur (sur le port de connexion de l'unité extérieure) 24 - RACCORDEMENT DES LIAISONS FRIGORIFIQUES 24
5.1. RÉalisation des évasements 24
5.2.Mise en forme des liaisons frigorifiques 25
5.3.Raccordement des liaisons frigorifiques 25 - MISE EN SERVICE DE L'INSTALLATION 26
6.1. Test d'étanchéité (mise en pression des liaisons frigorifiques et de l'unité interieure) 26
6.2. Tirage au vide des liaisons frigorifiques et de l'unité interieure 27
6.3. Charge complémentaire (si nécessaire) 27
6.4.Mise en gaz de l'installation 27
6.5. Verifications de l'absence de fuites sur le circuit 28
6.6. Essais de l'appareil 28
6.7. Fin de la mise en service 28
7.CABLAGE ELECTRIQUE 28
7.1. Caracteristiques de l'alimentation 28
7.2.Raccordements electriques 28
7.3. Connexion des cables et fils electriques sur les borniers 29
7.4. Préparation des connexions électriques 30
7.5. Câblage de l'interconnexion et de l'alimentation sur l'unité extérieure 30 - TEST DE FONCTIONNEMENT 31
8.1. Unité intérieure 31
8.2. Unité extérieure 31 - RÉCUPÉRATION DU FLUIDE (PUMP DOWN) 31
MURAUX DESIGN ASYG 7 9 12 LU ET ASYG 14 LU (COMPATIBLE UNIQUEMENT AVEC AOYG 18 LAC2)
1. ACCESSORIES 32
1.1. Accessories pour la pose de l'unité interieure livrés avec l'appareil 32
1.2. Autres accessoires 33
2. CHOIX DE L'EMPLACEMENT DES UNITS 33
3. INSTALLATION 34
3.1. Choix de la sortie pour le raccordement 34
3.2.Demontage du couvercle inférieur 34
3.3.Découpage des passages desliaisons 34
3.4.Installation du couvercle inférieur 34
3.5.Mise en place du support mural 35
4. MISE EN PLACE DES LIAISONS FRIGORIFIQUES ET DU TUYAU D'ÉVACUATION 35
4.1. Percements en vue de la mise en place des liaisons frigorifiques 35
4.2. Mise en place du tuyau d'évacuation des condensats et des liaisons frigorifiques 36
4.3. Mise en place du bouchon et du tuyau d'évacuation des condensats 36
4.4.Mise en forme des liaisons frigorifiques 37
5.CABLAGE ELECTRIQUE 38
5.1. Schéma de câblage 38
5.2. Câblage de l'interconnexion sur l'unité interieure 38
6. FINITIONS 38
7. DEMONTAGE ET REMONTAGE DE LA FAÇADE ET DE LA GRILLE D'ENTREE D'AIR DE L'UNITE INTÉRIEURE 39
7.1.Demontage et remontage de la grille d'entrée d'air 39
7.2.Demontage et remontage du panneau de facone 40
8. INSTALLATION DES KITS OPTIONNEL 40
MURAUX COMPACTS ASYG 7 9 12 14 LMCE
1. ACCESSORIES STANDARDS LIVRÉS AVEC L'APPAREIL 41
1.1. Accessoires pour la pose de l'unité interieure 41
1.2. Option 42
2. CHOIX DE L'EMPLACEMENT DES UNITS 43
3. INSTALLATION 43
3.1. Choix de la sortie pour le raccordement 43
3.2. Comment préparer le passage de la tuyauterie ? 43
3.3.Mise en place du support mural 44
4. MISE EN PLACE DES LIAISONS FRIGORIFIQUES ET DU TUYAU D'ÉVACUATION 44
4.1. Mise en place du tuyau d'évacuation des condensats et des liaisons frigorifiques 45
4.2. Mise en place du bouchon et du tuyau d'évacuation des condensats 45
4.3.Mise en place de I'unité interieure 46
5.CABLAGE ELECTRIQUE 47
5.1. Schéma de câblage 47
5.2. Câblage de l'interconnexion sur l'unité interieure 47
6. FINITIONS 48
7. DEMONTAGE ET REMONTAGE DE LA FAÇADE ET DE LA GRILLE D'ENTREE D'AIR DE L'UNITE INTÉRIEURE 49
7.1.Demontage et remontage de la grille d'entrée d'air 49
7.2.Demontage et remontage du panneau de facone 49
SOMMAIRE
8. INSTALLATION DES KITS OPTIONNEL 50
1.2. Accessoires pour le montage de la façade 51
1.3. Autres accessoires 51
9. CHOIX DE L'EMPLACEMENT DES UNITS 52
10. INSTALLATION DE L'UNITE INTÉRIEURE 53
10.1. Positionnement pour l'ancrage des boulons 53
10.2. Fixation du corps de l'unité interieure 53
11. INSTALLATION DU TUYAU D'ÉVACUATION DES CONDENSATS 54
11.1. Généralités 54
11.2.Installation 54
11.3. Isolation calorifique des raccords frigorifiques 56
12. CÁBLAGE DE L'INTERCONNEXION SUR L'UNITE INTÉRIEURE 56
12.1. Schema de câblage 56
12.2. Câblage de l'interconnexion sur l'unité interieure 56
13. MONTAGE DE LA FAÇADE (UTG-UFYD-W) 57
13.1. Sélection des voies de soufflage (facultatif) 57
13.2. Retirez la grille de reprise 57
13.3.Mise en place de la faucade sur le corps de l'appareil 58
13.4. Montage de la grille de reprise d'air 59
CASSETTES AUYG 7 9 12 LVL ET AUYG 12 LVLBB (COMPATIBLE UNIQUEMENT AVEC AOYG 18 LAC2)
1. ACCESSORIES 60
1.1. Accessoires pour la pose de l'unité interieure livrés avec l'appareil 60
1.2.Procedure de demontage de la grille de reprise d'air 61
2. INSTALLATION DES KITS OPTIONNELS 61
CONSOLES AGYG 9 ET 12 LVC (COMPATIBLE UNIQUEMENT AVEC AOYG 18 LAC2)
1. ACCESSORIES 62
1.1. Accessoires pour la pose de l'unité interieure livrés avec l'appareil 62
1.2. Autres accessoires 63
2. CHOIX DE L'EMPLACEMENT DES UNITS 64
3. INSTALLATION DE L'UNITÉ INTÉRIEURE 65
3.1. Installation du support mural 65
3.2. Comment préparez le passage des liaisons 65
3.3.Passage du tuyau d'évacuation des condensats 66
3.4.Installation de I'unité interieure 67
3.5.Encasrer l'unité intérieure 67
3.6.Retrait et installation des panneaux droit et gauche 68
3.7. Câblage de l'interconnexion sur l'unité interieure 69
4. FINITIONS 70
4.1. Isolation des liaisons frigorifiques 70
4.2.Evacuation des condensats 70
5. INSTALLATION DES KITS OPTIONNELS 70
5.1.Avant l'installation de la telecommande filaire 70
5.2.Modification du cable de la telecommande filaire 71
5.3.Modification du contact entree/sortie externe 71
5.4.Demontage du couvercle du boitier electrique 71
5.5. Connexion des cables sur la carte électronique 71
1.1. Accessoires pour la pose de l'unité interieure 73
1.2. Autres accessoires 74
-
CHOIX DE L'EMPLACEMENT DES UNITS 75
-
INSTALLATION DE L'UNITÉ AU PLAFOND 75
3.1. Dimensions de l'installation 75
3.2.Installation de I'unité interieure 76
4. INSTALLATION DE L'UNITÉ AU SOL 79
4.1. Dimensions de l'installation 79
4.2.Installation de I'unité interieure 80
4.3.Installation de l'iso1ation calorifique 82
5. MISE EN PLACE DU TUYAU D'ÉVACUATION DES CONDENSATS 82
6.CABLAGE ELECTRIQUE 86
6.1. Schéma de câblage 86
6.2. Câblage de l'interconnexion sur l'unité interieure 86
7. PARAMÉTRAGE DES PONTS 87
7.1. Paramétrage de la fonction d'évacuation des condensats (JM1) 87
7.2. Paramétrage de la fonction temporisation du ventilateur (JM3) 87
8. ACCESSORIES EN OPTION 87
8.1. Contacts entrée/sortie externe 87
8.2.Sonde déportée 88
8.3. Telecommande et recepteur infrarouge UTY-LRHYM 88
8.4. Grille intelligente (UTD-GSXA-W en option) 89
8.5. Fixation de tous les cables 89
1.1. Accessoires pour la pose de l'unité interieure 90
1.2.Accessoires en option 91
2. CHOIX DE L'EMPLACEMENT DE L'UNITÉ 92
3. INSTALLATION DE L'UNITÉ AU PLAFOND 93
3.1. Dimensions de l'installation 93
3.2.Installation de I'unité interieure 93
4. INSTALLATION DES LIAISONS FRIGORIFIQUES 97
4.1. Choix des liaisons 97
4.2. Exigences pour les liaisons 97
4.3.Raccordement des liaisons 97
4.4.Installation de l'iso1ation calorifique 99
5. INSTALLATION DU TUYAU D'ÉVACUATION DES CONDENSATS 99
5.1. Methode d'installation 99
5.2. Finition 101
6. CÂBLAGE ÉLECTRIQUE 102
6.1. Schéma de câblage 102
6.2. Préparation des connexions électriques 102
6.3.Procedure de cablage 103
SOMMAIRE
7. ACCESSORIES EN OPTION 104
7.1. Contacts entrée/sortie externe 105
7.2.Sonde déportée 107
7.3. Récepteur infrarouge 107
7.4.Grille intelligente 108
7.5. Fixation des cables des options 108
7.6. Micro-interrupteur DIP 101 109
8. TEST DE FONCTIONNEMENT (TEST RUN) 109
8.1. Vérification avant l'essay de fonctionnement 109
TELECOMMANDES
1. TELÉCOMMANDE INFRAROUGE 110
1.1. Accessories 110
1.2. Telecommande infrarouge optionnelle 110
1.3.Mise en place des piles 111
1.4.Installation 111
1.5. Paramétrage de la télécommande 112
1.6.Codage de la telecommande 115
2. TELÉCOMMANDES FILAIRES 117
2.1. Accessories 117
2.2. Telecommandes filaires optionnelles 118
2.3.Installation de la telecommande AR-WAE1E 118
2.4.Installation de la telecommande UTY-RLRY 122
3. FONCTIONS ET PARAMÉTRES À RÉGLER 136
4. ESSAIS DE FONCTIONNEMENT 141
5.CODES ERREURS 142
GÉNÉRALITÉS
Alimentation :
- Sur cette famille d'appareils, l'alimentation se fait sur l'unité extérieur pour les unités interieures.
- Bien vérifier la référence de l'appareil avant de commencer les travaux de connexion électrique.
- Calibre des protections à utiliser en tête de ligne d'alimentation et sections de cables conseillées (Tableau 1).
Le climatiseur sera toujours alimenté par une ligne spéciale protégée en tête par un disjoncteur omnipolaire avec ouverture des contacts supérieures à 3 mm dont le calibre est indiqué ci-dessous.
Le respect des normes en vigueur et en particulier de la NF C 15-100 est impératif.
Nota : Les sections ci-dessous sont données à titre indicatif. Dans tous les cas, il apparient à «l'homme de l'art» de vérifier la conformité de son installation.
UNITÉS EXTÉRIÉURES
Tableau 1
| Appareils | Câble d'alimentation | Câble d'interconnexion | Calibre disjoncteur | Puisance nominale | |
| Frigorifique (mini / maxi) | Calorifique (mini / maxi) | ||||
| AOYG 14 LAC2 | 3G 1,5 mm² | 4G 1,5 mm² | 16 A | 4 000 W (1 400 W / 4 400 W) | 4 400 W (1 100 W / 5 400 W) |
| AOYG 18 LAC2 | 3G 2,5 mm² | 20 A | 5 000 W (1 700 W / 5 600 W) | 5 600 W (1 800 W / 6 100 W) | |
Tableau 2
| Appareils | Puisance absorbée (Mode froid) | Diametre des liaisons | |
| Liquide | Gaz | ||
| AOYG 14 LAC2 | 1 090 W | 6,35 mm - 1/4 '' x2 | 9,52 mm - 3/8 '' x2 |
| AOYG 18 LAC2 | 1 560 W | ||
UNITÉS INTÉRIEURES
Muraux design
Tableau 3
| Appareils | Câble d'alimentation | Câble d'interconnexion | Puisance nominale | Diamètre des liaisons | ||
| Frigorifique | Calorifique | Liquide | Gaz | |||
| ASYG 7 LU | Sur l'unité extérieure | 4G 1,5 mm² | 2 000 W | 3 000 W | 6,35 mm - 1/4" | 9,52 mm - 3/8" |
| ASYG 9 LU | 2 500 W | 3 200 W | ||||
| ASYG 12 LU | 3 500 W | 4 000 W | ||||
| ASYG 14 LU* | 4 200 W | 5 400 W | 12,70 mm - 1/2" | |||
- compatible uniquely avec l'AOYG 18 LAC2.
Muraux compact
Tableau 4
| Appareils | Câble d'alimentation | Câble d'interconnexion | Puisance nominale | Diametre des liaisons | ||
| Frigorifique | Calorifique | Liquide | Gaz | |||
| ASYG 07 LMCE | Sur l'unité extérieure | 4G 1,5 mm² | 2 000 W | 3 000 W | 6,35 mm - 1/4" | 9,52 mm - 3/8" |
| ASYG 09 LMCE | 2 500 W | 3 200 W | ||||
| ASYG 12 LMCE | 3 400 W | 4 000 W | ||||
| ASYG 14 LMCE * | 4 000 W | 5 000 W | 12,70 mm - 1/2" | |||
- compatible uniquely avec l'AOYG 18 LAC2.
Cassettes 600 X 600
Tableau 5
| Appareils | Câble d'alimentation | Câble d'interconnexion | Puisance nominale | Diamètre des liaisons | ||
| Frigorifique | Calorifique | Liquide | Gaz | |||
| AUYG 7 LVL* | Sur l'unité extérieure | 4G 1,5 mm² | 2 050 W | 2 370 W | 6,35 mm - 1/4" | 9,52 mm - 3/8" |
| AUYG 9 LVL* | 2 640 W | 2 990 W | ||||
| AUYG 12 LVL*/ AUYG 12 LVLBB* | 3 520 W | 3 960 W | ||||
- compatible uniquely avec l'AOYG 18 LAC2.
Consoles
Tableau 6
| Appareils | Câble d'alimentation | Câble d'interconnexion | Puisance nominale | Diamètre des liaisons | ||
| Frigorifique | Calorifique | Liquide | Gaz | |||
| AGYG 9 LVC* | Sur l'unité extérieure | 4G 1,5 mm² | 2 640 W | 2 990 W | 6,35 mm - 1/4" | 9,52 mm - 3/8" |
| AGYG 12 LVC* | 3 520 W | 3 960 W | ||||
- compatible uniquely avec l'AOYG 18 LAC2.
Gainables
Tableau 7
| Appareils | Câble d'alimentation | Câble d'interconnexion | Puisance nominale | Diamètre des liaisons | ||
| Frigorifique | Calorifique | Liquide | Gaz | |||
| ARYG 7 LLT* | Sur l'unité extérieure | 4G 1,5 mm² | 2 100 W | 2 400 W | 6,35 mm - 1/4 '' | 9,52 mm - 3/8 '' |
| ARYG 9 LLT* | 2 600 W | 3 000 W | ||||
| ARYG 12 LLT*/ARYG 12 LLTB* | 3 500 W | 4 000 W | ||||
- compatible uniquely avec l'AOYG 18 LAC2.
Micro Gainables
Tableau 8
| Appareils | Câble d'alimentation | Câble d'interconnexion | Puisance nominale | Diamètre des liaisons | ||
| Frigorifique | Calorifique | Liquide | Gaz | |||
| ARYG 07 LSL | Sur l'unité extérieure | 4G 1,5 mm² | 2 100 W | 2 400 | 6,35 mm - 1/4" | 9,52 mm - 3/8" |
| ARYG 09 LSL | 2 600 W | 3 000 | ||||
| ARYG 12 LSL | 3 500 W | 4 000 | ||||
- compatible uniquely avec l'AOYG 18 LAC2.
TOUTES LES UNITS
Liaisons frigorifiques :
- Utilisez exclusivement du tube spécifique pour utilisation frigorifique :
-CUIVRE RECUIT A FORTE TENEUR EN CUIVRE (99% MINIMUM), - poli interieurement,
-déshydraté, - bouchonne.
Epaisseur
- minimum 0,8 mm
maximum 1,0 mm
Résistance à la pression : 50 bars minimum
- Des liaisons frigorifiques de ce type sont disponibles en tant qu'accessoires ATLANTIC Climatisation et Ventilation.
- N'utilise pas de pâté bleue ou d'étanchéité pour les liaisons frigorifiques car elle les obtrue. Son'utilisation entraînera la mise hors garantie de l'appareil.
Nota :
L'unité extérieur peut être installée au-dessus ou audessous de l'unité interieure.
Ne dépassez pas les longueurs de tuyaux indiquées dans le tableau ci-dessous.
Tableau 9
| Unités extérieures | Longueur standard | Longueur par unité intérieure | Longueur totale maxi. | Dénivelé maximum | |
| Maxi. | Mini. | ||||
| AOYG 14 LAC2 | 20 m | 20 m | 5 m | 30 m | 15 m |
| AOYG 18 LAC2 | |||||
Nota: De longueur mini. à longueur standard : Pas de charge complémentaire requise. De longueur standard à longueur maxi. : Charge complémentaire requise.
Plage de fonctionnement :
| Mode de fonctionnement | Température air ambient (unité intérieure)* | Température air extérieur (unité extérieure)* |
| Froid (maxi/mini) | 32°C/18°C | 46°C/-5°C |
| Chaud (maxi/mini) | 30°C/16°C | 24°C/-15°C |
- Bulbe sec
CHOIX DE L'EMPLACEMENT DES UNITS
Le choix de l'emplacement est une chose particulièrement importante, car un déplacement ultérieur est une opération spécifique, à mener par du personnel qualifié.
Décide de l'emplacement de l'installation après discussion avec le client.
AVERAGEMENT
- Assurez-vous que les murs pourront supporter le poids tant de l'unité interieure que de l'unité extérieure, pour éviter leurs chutes et des blessures eventuelles.
Assurez-vous d'avoir correctement fixez l'unité extérieure pour qu'elle résiste aux tremblements de terre, typhons ou autres vents violents. - Ne pas installer l'unité extérieure prés de la rambarde d'un balcon, afin qu'un enfant ne puisse grimper dessus et basculer dans le vide.
ATTENTION
Ne pas installer l'unité interieure ou extérieure dans les lieux suivants :
- Les bords de mers, où la force concentration de Sel peut déterminer les parties métalliques provoquant des chutes de pieces ou des fuites d'eau provenant des unités.
- Une pièce contenant de l'huile minérale et sujette aux projections d'huile ou de vapeur (une cuisine par exemple). Cela pourrait déterminer les parties plastiques et provoquerait la chute de pieces ou des fuites d'eau provenant des unités.
- Lieu de production de substances qui promètten l'équipement, tel que le gaz sulfurique, le gaz de chlore, l'acide, ou l'alcali. Il fera corroder les tuyaux de cuivre et les joints causant la fuite de liquide réfrigérant.
- Une zone où on produit de l'ammoniaque et où des animaux peuvent uriner sur l'unité extérieure.
- Un endroit avec des fuites de gaz combustible, contenant les fibres de carbone ou des poussières inflammables en suspension, ou des particules volatiles inflammables tels que du diluant pour peinture ou de l'essence. Si le gaz fuit et se repand autour de l'unité, il peut s'enflammer.
- Installez l'unité interieure, l'unité extérieure, les cables d'alimentation, les cables d'interconnexion et les cables de la télécommande au minimum à 1 m d'une télévision ou d'un récepteur radio. Cette précaution est destinée à éviter les interférences sur le signal de réception de la télévision ou du bruit sur le signal radio (Cependant, même à plus d'1 m les signaux peuvent être encore perturbé).
ATTENTION

Fig. 1*
- Exemple donné pour une installation avec un apparéil de type cassette.
- Si des enfants de moins de 10 ans peuventapprocher des unités, prenez toutes les mesures nécessaires pour qu'ils ne puissant toucher à celles-ci.
- L'unité extérieur ne doit pas être installée penchéée de plus de 3^ .
- Ne pas installer l'unité extérieure à proximé d'équipement générant des interférences electromagnétiques. Cela provoquera des dysfonctionnements du système de commande et de maintenance.
- Ne pas installer dans une zone habitation par de petits animaux susceptibles d'être à l'origine de pannes ou d'incendie, s'ils sont en contact avec des parties électriques dans l'appareil.
- L'emplacement doit être bien ventilé, à l'abri de la pluie et des rayons du soleil.
- Si l'unité extérieure est installée à proximité du public, installez une barrière protectrice ou un équivalent pour empêcher l'accès.
- Choisissez un emplacement loin des échépements de gaz de refoulement, de suie, de poussière, ou de débris.
- Soyez attentif à ne pas générer votre voisinage avec le souffle de la sortie d'air, le bruit ou les vibrations de l'unité. Si l'unité doit être installé à proximité de vos voisins voirlez à obtenir leurs accords.
- Prenez les mesures appropriées dans les régions froides pour protéger l'unité de l'accumulation de neige, des chutes de neige, ou du gèle. Pour assurer un fonctionnement normal, installez des gains d'entrée et de sortie.
- Prévoyez suffisamment d'espace autour des tuyaux (gaz et liquide) lors du transport, de l'installation, de la maintenance et pour l'accès.
- Prévoyez le même espace pour la reprise d'air à l'arrière de l'unité extérieur que ceux indiqués dans les Fig. 2 à Fig. 5.
1. ACCESSORIES STANDARDS LIVRÉS AVEC L'APPAREIL
| Désignation | Forme | Qté | Usage |
| Sortie de condensats | 1 | Pour l'installation de l'évacuation des condensats de l'unité extérieure | |
| Adaptateur 9,52 mm → 12,7 mm | 1 | Pour la connexion des unités intérieures de taille 14 sur les ports de connexion de l'unité extérieure A ou B. (Modèle AOYG 18 LAC2 uniquement) |
2. CHOIX DE L'EMPLACEMENT DE L'UNITE EXTÉRIÈURE
| ATTENTION • Assurez-vous que les murs ou plafonds pourront sup- porter le poids tant de l'unité interieure que de l'unité extérieure. |
| △ AVERTISSEMENT |
| ·N'installez jamais ces apparêils à un endroit où des fuites de gaz ou de combustibles gazeux pourraient ad- venir (ces apparêils ne sont pas antidéflagrants). |
| ·N'installez pas ces apparêils après de sources de cha- leur. |
| ·Si des enfants de moins de 10 ans peuventapprocher des unités, prenez toutes les mesures nécessaires pour qu'ils n'y touchent pas. |
| ATTENTION |
| • L'unité extérieur ne doit pas être installée penchéée de plus de 3°. |
| • Fixez solidement l'unité extérieur, si elle est exposée à des vents forts. |
| • Veillez à bien installer les manchons isolants sur les liaisons liquide et gaz afin d'éviter les fuites des condensats. |
| • Pour les modèles réversibles, utilisez des manchons résistant à une température de + de 120°C. |
| • En complément, si le passage des liaisons frigorifiques se trouve dans un endroit où l'humidité excède 70 %, protégEZ-les avec un manchon isolant. Si l'humidité atteint 80 %, utilisez des manchons d'une épaisseur d'au moins 15 mm et des manchons d'une épaisseur de 20 mm au moins si l'humidité dépasse 80%. |
| • Si l'isolement est imparfaite, de la condensation se formera à la surface des manchons. |
| • Les manchons seront d'une résistance calorifique correspondant à une conductibilité de 0,045 W (m.K), ou moins (à 20°C). |
- Installee l'unité extérieure à un endroit capable de supporter son poids et qui ne propage pas les vibrations, et où elle pourrait être installée horizontally.
- Assurez-vous d'avoir l'espace indiqué afin d'assurer une bonne circulation de l'air.
- Si possible, n'installez pas l'unité face aux rayons directs du soleil.
- N'installez pas l'unité à proximé d'une source de chaleur, de vapeur ou de gaz inflammables.
- Durant le fonctionnement en mode chaud, de l'eau de condensation s'écoule de l'unité extérieure. Veillez à prendre toutes les mesures nécessaires pour que cette eau s'écoule sans encombre et sans provoquer de dommages aux batiments. En particulier, si l'appareil est simplement posé au sol, le simple fait de le surélever légèrement (8 cm minimum) permet un bon écoulement.
- N'installez pas l'unité à un endroit exposé à des vents, forts ou à de la poussière.
- N'installez pas l'unité dans un endroit de passage.
- Evitez d'installer l'unité extérieure à un emplacement où elle risque d'être soumise à des salissures ou à des écoulements importants d'eau (par exemple sous un chéneau défectueux).
- Pensez à vérifier si le passage des liaisons vers les unités interieures est possible et aisé.

Fig. 2 - Obstacle derrière l'unité

Fig. 3 - Obstacles derrière et en face de l'unité
Fig. 4 - Obstacles derrière, sur un des côtés et au-dessus de l'unité

Si les obstacles sont plus éloignés, considérrez qu'il n'y en a pas.

Fig. 5 - Obstacle derrière, sur une installation de plusieurs unités
Déplacement de l'unité extérieure
AVERTISSEMENT
- Ne pas toucher les ailettes, vous pourriez vous blesser.
ATTENTION
-
Portez l'unité extérieure avec précaution, en la tenants par les poignées droite et gauche. Si vous portez l'unité par le couvercle, vous pouvez vous pincer les mains et les doigts.
-
Assurez-vous de prendre les poignées sur les côts de l'unité pour ne pas déformer la grille d'aspiration.

Fig. 6
3. INSTALLATION DE L'UNITÉ EXTERIEURE
3.1. Procedure d'installation

Fig. 7
Fixez les 4 boulons d'ancrages à l'emplacement indiqué par les flèches (Fig. 7).
- Ne pas installer l'unité directement sur le sol. Vérifie que l'emplacementChoisi pour l'installation est à même de supporter son poids.
- Les fondations devront supporter les berceaux de l'unité extérieure et avoir une épaissieur totale de 50 mm ou plus.
- Selon les conditions d'installation l'unité extérieure, des vibrations peuvent se propagner pendant le fonctionnement provoquant par exemple du bruit. Aussi, vous pouvez fixer au moment de l'installation des produits pour amortir le bruit (exemple : supports antivibratiles - accessoires climatisation).
- Assurez-vous lors de la pose des fondations d'avoir suffisamment d'espace pour installer les raccordements frigorifiques.
- Fixez solidement l'unité extérieure aux fondations (utilissez un jeu (non fourni) complenant des boulons M10, des écrous et des rondelles).
- Les boulons devront dépasser de 20~mm .

Fig. 8
Fixez fermement avec des boulons sur un bloc solide. (Utilisez 4 ensembles boulon, écrou et rondelle M10 non fournis.)
3.2. Installation de l'évacuation des condensats

ATTENTION
-
Effectuez l'installation d'évacuation des condensats selon la notice, et assurez-vous qu'ils s'écoulient correctement. Si l'installation n'est pas menée à bien, l'eau peut s'égoutter vers le bas depuis l'unité.
-
Dans les régions froides, n'utilise pas la sortie de condensats : l'eau qui s'écoule peut prendre en glace dans le tube par temps très froid. De plus, les orifices de l'embase de l'unité extérieure ne devront jamais être bouchés. Dans certains cas, il peut être nécessaire de prévoir une résistance antigel pour l'écoulement.
-
Sur les apparèils réversibles, de l'eau de condensation s'écoule pendant l'utilisation en mode chauffage. Dans ce cas, raccordez l'écoulement des condensats à un tuyau PVC de 16 mm de diamètre, en prénant toutes les précautions pour éviter la prise en glace de l'évacuation.
- Lorsque la sortie des condensats est raccordée, bouchez les orifices inutilisés à la base de l'unité extérieure avec les bouchons en caoutchouc et finissez avec du mastic afin d'éviter tout risque de fuite.

Fig. 9

Fig. 10
4.1. Modèle AOYG 14 LAC2

Fig. 11
ATTENTION
- La puissance totale des unités intérieures raccordées doit être comprise entre 14 000 et 21 000 BTU.
- Veillez à bien vérifier la disposition des raccordements dans le Dossier technique car la disposition des raccordements y est spécifiée. Le fonctionnement ne peut pas être garanti si l'appareil est raccordé suivant une méthode qui n'y est pas spécifiée. Ceci peut provoquer la défaillance du produit.
- Veillez à effectuer le raccordement à la fois sur l'unité interieure et sur l'unité extérieure.
Pour installer une unité interieure, reportez-vous aux explications du paragraph de l'unité interieurecision.
| Port de connexion de l'unité extérieure | Modèles d'unités intérieures connectables |
| A | 7 -12 |
| B | 7 -12 |

Fig. 12
4.2. Modèle AOYG 18 LAC2

Fig. 13

ATTENTION
- La puissance totale des unités intérieures raccordées doit être comprise entre 14 000 et 24 000 BTU.
- Veillez à bien vérifier la disposition des raccordements dans le Dossier technique car la disposition des raccordements y est spécifiée. Le fonctionnement ne peut pas être garanti si l'appareil est raccordé suivant une méthode qui n'y est pas spécifiée. Ceci peut provoquer la défaillance du produit.
- Veillez à effectuer le raccordement à la fois sur l'unité interieure et sur l'unité extérieure.
Pour installer une unité interieure, reportez-vous aux explications du paragraph de l'unité interieure chosesie.
| Port de connexion de l'unité extérieure | Modèles d'unités intérieures connectables |
| A | 7 -12/14* |
| B | 7 -12/14* |
- Quand vous raccordez les unités interieures de taille 14 à l'unité extérieure, l'adaptateur fourni est nécessaire. (Pour de plus amples informations, reportez-vous au § 4.4. Comment utiliser l'adaptateur.)

Fig. 14
4.3. Limitation des longueurs des liaisons frigorifiques
| ATTENTION |
| • La longueur maximale des connexions est donné dans le Tableau 10. |
| • Si l'éloignement des unités intérieures et extérieure est plus important que celui mentionné ci-dessous, l'inhalation ne peut être garantie. |
Tableau 10
| Total de la longueur maximum (a+b) | 30 m |
| Longueur maximum pour chaque unité interieure (A ou B) | 20 m |
| Longueur minimum pour chaque unité interieure (A ou B) | 5 m |
| Hauteur de dénivélé maximum entre unité extérieure et unité interieure (H1) | 15 m |
| Hauteur de dénivélé maximum entre unités interieures (H2) | 10 m |
| Longueur total minimum (a+b) | 10 m |
ATTENTION
Si la longueur totale des liaisons dépasse 20m , il est nécessaire d'ajouter une charge de complémentaire de fluide frigorifique. (voir paragraphe 6.3 Charge complémentaire)
Tableau 11
| Puisance des unités int. | ø des liaisons gaz* | ø des liaisons liquide* |
| 7 - 12 | 9,52 mm - 3/8" | 6,35 mm - 1/4" |
| 14** | 12,70 mm - 1/2" |
- épaissur de 0,8 mm.
** Utilisé l'adaptateur fourni.
ATTENTION
Le fonctionnement de l'installation ne peut être garantie si les combinaisons de taille, longueur, epaisseur des liaisons et connexions aux vannes mentionnées ci-dessus ne sont pas respectees.
4.4. Comment utiliser l'adaptateur (sur le port de connexion de l'unité extérieure)
-
Lors de l'utilisation de l'adaptateur, faites attention à ne pas trop serrez les écrous, ou la plus petite liaison peut être endommagée.
-
Appliquez de l'huile frigorifique sur le filetage du port de connexion de l'unité extérieure qui recoit l'écrou flare.
- Utilisez des clés appropriées pour éviter d'abîmer les filetages des connexions en serrant trop fortement l'écrou flare.
- Utilisez des clés en même temps sur l'écrou flare (non fourni) et l'adaptateur pour les serrez.
Tableau 12
| Adaptateur | Couple de serrage |
| 9,52 mm (3/8")→12,70 mm (1/2") | 32 à 42 N·m |
5. RACCORDEMENT DES LIAISONS FRIGORIFIQUES
ATTENTION
- N'utilisez pas de pâte bleu ou détanchéité pour les liaisons frigorifiques car elle les obtrue. Son utilisation entraînera la mise hors garantie de l'appareil.
- N'utilisez pas d'huile minérale ordinaire sur les raccords "Flare".
- Utilisez de l'huile frigorifique POE en évitant au maximum qu'elle ne penètre dans le circuit, au risque de réduire la longévité du matériel.
- N'utilisez pas une liaison usagée, mais un tube neuf de qualité frigorifique (voir page 18).
- Utilisez de l'azote sec pour chasser la limaille dans les tuyaux et pour éviter l'introduction d'humidité nuisible au fonctionnement de l'appareil.
5.1. RÉalisation des évasements
- Coupez les liaisons avec un coupe-tube sans les déformer à la longueur ajusté.
- Ebavurez soigneusement en tenant la liaison vers le bas pour éviter l'introduction de limaille dans cette dernière.
- Récupérez les écrous "Flare" sur l'unité intérieure et l'unité extérieure.
- Enfilez les écrous sur les tubes avant évasement.
- Procedez à l'évasement en laissant dépasser la liaison de la côte "A" de la matrice de la dudgeonnière (Fig. 15 et Tableau 13).
- Àpres évasement, vérifiez l'etat de la portée. Celle-ci ne doitprésenter aucune rayure ou amorce de rupture. Vérifiez également la côte “L”. (Fig. 17)


Tableau 13
| Diamètre des liaisons | Dimension A (mm) | Dimension B0.0.4 (mm) |
| 6,35 mm (1/4") | 0 à 0,5 | 9,1 |
| 9,52 mm (3/8") | 13,2 | |
| 12,70 mm (1/2") | 16,6 | |
| 15,88 mm (5/8") | 19,7 | |
| 19,05 mm (3/4") | 24,0 |
Tableau 14
| Diamètre des liaisons | Largeur de l'écrou flare | Largeur aux méplats |
| 6,35 mm (1/4") | 17 mm | |
| 9,52 mm (3/8") | 22 mm | |
| 12,70 mm (1/2") | 26 mm | |
| 15,88 mm (5/8") | 29 mm | |
| 19,05 mm (3/4") | 36 mm |
5.2. Mise en forme des liaisons frigorifiques
ATTENTION
- Ne cintrez pas les liaisons avec un rayon de courbure de moins de 100~mm .
- Ne cintrez jamais plus de trois fois la liaison au même endroit sous peine de voir apparaitre des amorces de rupture (écrouissage du métal).
Les liaisons seront mises en forme exclusivement à la cintreuse ou au ressort de cintrage afin d'eviter tout risque d'écrasement ou de rupture.
- Ne cintrez pas le cuivre à un angle de plus de 90^ .
- Pour pouvoir cinter correctement les liaisons à la cintreuse, n'hésitez pas à les dégager de leur isolant dans le cas contraire il y a risque d'écrasement.
- Àpres cintrage, refermez l'isolant avec de la collé Néoprène et assemblez avec du ruban adhésif.
5.3. Raccordement des liaisons frigorifiques
| ATTENTION |
| • Soignez particulièrement le positionnement du tube face à son raccord. Si la liaison est mal alignée, le serrage à la main est impossible et le filetage risque d'être endommagé. |
| • Ne retirez les bouchons des liaisons et des robinets que lorsque vous étés sur le point d'effectuer le branchement! |
| • Utilisez toujours 2 clés pour le serrage afin de bien visser les écrous Flare dans l'axe du tuyau. |
| • La petite liaison doit toujours être raccordée avant la grosse. |
| • Utilisez une clé dynamométrique comme spécifiée. Si non les écrous flare pourrait se briser après un certain temps, provoquant des fuites de fluide et générant des gaz dangereux au contact d'une flamme. |
| • ÀpRES raccordement, assurez-vous que les tuyaux ne touchent pas le compresseur ou le panneau externe. Sinon elles vibreront et produit un bruit. |
| • Pour une meilleure étanchéité effectuer un double serrage (serrez une fois au couple puis déserrez puis resserez de nouveau au couple). |
Retirez les bouchons des liaisons frigorifiques.
Après avoir correctement positionné les raccords face à face, serrez les écrous à la main jusqu'àu contact et finissez à la clé dynamométrique (Fig. 18) selon les couples indiqués dans le Tableau 15.

Fig. 18

Fig. 19
6. MISE EN SERVICE DE L'INSTALLATION
ATTENTION
- Cette opération est effectué par un professionnel qualifié possessant une attestation de capacité conformément au code de l'environnement.
L'utilisation d'une pompe à vide est impératif. - Utilisez une pompé à vide, des manometres et des flexibles n'ayant servi exclusivement qu'avec du réfrigérant R410A afin de ne pas endommager l'installation.
- L'unité extérieure ne contient pas de réfrigérant supplémentaire pouvant servir à purger l'installation ou à contrôler les fuites.
- Une charge complémentaire est eventuellement nécessaire (voir conditions).
ATTENTION
- Afin de ne pas déformer le panneau externe, positionnez les éléments principaux avec une clé et serrez avec une clé dynamométrique.
- Ne pas prendre appuie sur le bouchon aveugle au risque de causeur uneuite.

Fig. 20 - Serrage
NB : L'utilisation de flexibles avec vannes 1/4 de tour facile les manipulations lors de la mise en service (pas de purge des flexibles car possibilité de les tirer au vide et de les isoler).
Les vannes sont à positionner à l'opposé du jeu de manometres.
6.1. Test d'étanchéité (mise en pression des liaisons frigorifiques et de l'unité interieure)
- Retirez le capuchon de protection de l'orifice de charge (Schrader)itué sur la vanne «gaz» (grosse) et raccordez dessus le flexible bleu (coté muni d'un pouvoir de valve en bon état), l'autre coté du flexible bleu étant relié au robinet bleu du manomètre BP.
- Raccordez le flexible jaune sur une bouteille d'azote munie de son détendeur, l'autre coté du flexible jaune étant relié à la voie centrale du jeu de manometres. S'assurer que les robinets rouge du manomètre HP et bleu du BP sont fermés.
- Ouvrez le robinet de la bouteille d'azote, régler son détendeur à une pression de sortie d'environ 10 à 15 bars puis ouvrez le robinet bleu du manomètre BP pour obtenir la pression désirée dans les liaisons frigorifiques et dans l'unité interieure. Fermez le robinet de la bouteille d'azote.
- Contrôlez l'étanchéité du circuit en appliquant une solution savonneuse sur les raccords coté unité interieure et coté unité extérieure (plus sur les éventuelles brasures réalisées sur les liaisons frigorifiques). Vérifier que la pression indiquée par le manomètre BP ne baisse pas.
Tableau 15
| Diamètre des écrous flare | Couple de serrage |
| 6,35 mm (1/4") | 16 à 18 N⋅m |
| 9,52 mm (3/8") | 32 à 42 N⋅m |
| 12,70 mm (1/2") | 49 à 61 N⋅m |
| 15,88 mm (5/8") | 63 à 75 N⋅m |
| 19,05 mm (3/4") | 90 à 110 N⋅m |
6.2. Tirage au vide des liaisons frigorifiques et de l'unité interieure
- Purgez l'azote du circuit en ouvrant le robinet rouge du manomètre HP (revenir à la pression atmosphérique), débrancher la bouteille d'azote et refermer les robinets des manomètres BP et HP.
- Remplacez la bouteille d'azote par la pompe à vide.
Fig. 21

N.B.: Possibilité d'intercaler un vacuomètre entre la pompe à vide et le jeu de manometres pour plus de précision (necessite un 2^ème flexible).
- Mettez la pompe à vide en fonctionnement, ouvrir le robinet bleu du manomètre BP et attendre que le vide dans le circuit descendé en dessous de 0,01 bar (10 mbar). Laisser la pompe à vide fonctionner encore 15 minutes minimum.
- Vérifiez la tenue du vide en fermant le robinet bleu du manomètre BP, en arrêtant la pompe à vide et en ne débranchant aucun flexible.
Au bout d'une dizaine de minutes, la pression ne doit pas avoir remonté sinon rechercher la fuite et recommencer le tirage au vide au début.
- Reprenez le tirage au vide pendant le temps nécessaire. Fermer le robinet bleu du manomètre BP puis arrêté et débrancher la pompe à vide.
6.3. Charge complémentaire (si nécessaire)
L'unité extérieure est préalablement chargée avec 1.200 kg de R410A pour le modele 14 et 1.300 kg de R410A pour le modele 18.
Le Tableau 16 permet de déterminer rapidement la charge complémentaire de R410A à introduire, en fonction de la longueur de la liaison frigorifique.
La première chose à faire est de déterminer la quantité de R410A à charger. Cette opération est à effectuer par un spécialiste agréé uniquement.
Tableau 16
| Longueur des liaisons frigorifiques | 20 m | 30 m |
| AOYG14LAC2Charge complémentaire (10g/m) | Aucune | 100g |
| AOYG18LAC2Charge complémentaire (20g/m) | Aucune | 200g |
La charge doit être executée comme suit :
- Remplacez la pompe à vide par une bouteille de R410A (charge en phase liquide).
- Ouvrez le robinet de la bouteille.
- Ouvrez prudemment et légèrement le robinet bleu du manomètre BP et surveiller la valeur affichée par la balance.
- Dès que la valeur affichée correspond à la valeur calculée, fermez le robinet bleu du manomètre BP puis celui de la bouteille de fluide sans débrancher notamment flexible.

N.B.: Si la charge complémentaire n'a pas pu être atteinte (pression trop BASSE dans la bouteille), il sera nécessaire de poursuivre l'opération, installation en fonctionnement, (en FROID et en mode TEST) et en ouvrant doucement le robinet du manomètre BP pour éviter un afflux soudain de fluide à l'état liquide à l'aspiration du compresseur.
6.4. Mise en gaz de l'installation
Retirez les capuchons d'accès aux commandes des vannes de l'unité extérieure et les ouvrir à fond (sens anti-horaire) avec une clé Allen de 4 mm sans forcer sur la butée et en commençant par la vanne «liquide» (petite).

Fig. 22
6.5. Verifications de l'absence de fujites sur le circuit
Une fois l'installation mise en gaz comme décrit précédement, vérifier avec un détecteur de gaz halogéné électronique, les raccords et les éventuelles brasures sur les liaisons frigorifiques (si les dudgeons ainsi que les étapes 6.1 et 6.2 ont été correctement réalisés, il ne doit pas y avoir de fuite à cette étape).
6.6. Essais de l'appareil
Mettez l'appareil en FROID et en mode TEST puis procédér aux essais et mesures nécessaires.
Mettez ensuite l'appareil en CHAUD et en mode TEST puis proceder aux essais et mesures nécessaires.
6.7. Fin de la mise en service
Remettez l'appareil en FROID et en mode TEST.
Procede au rapatriement du fluide frigorifique dans l'unité extérieure (PUMP DOWN) pour pouvoir débrancher le flexible bleu et eventuellesment la bouteille de fluide sans fuite de fluide frigorifique (dans ce cas, laisser ouvert le robinet du manomètre BP).
Arrêtez l'installation en prénant soin que la pression ne descendé pas en dessous de 0bar, puis débrancher le flexible bleu.
Réouvre les vannes de l'unité extérieure en commençant par la vanne "liquide" (petite).
Remettez en place les capuchons des vannes et de la prise de pression (Schrader) et les resserrer à la clé selon les couples de serrage indiqués.
Remettez l'installation en fonctionnement.
Donner les explications et laisser les documents nécessaires au client.
Tableau 17
| Diamètre des bouchons aveugles | Couple de serrage |
| 6,35 mm (1/4") | 20 à 25 N•m |
| 9,52 mm (3/8") | |
| 12,70 mm (1/2") | 28 à 32 N•m |
| 15,88 mm (5/8") | 30 à 35 N•m |
| 19,05 mm (3/4") | 35 à 40 N•m |
| Bouchon du port de charge | 10 à 12 N•m |
7. CÂBLAGE ÉLECTRIQUE
7.1. Caracteristiques de l'alimentation
L'alimentation sera prévue dans le respect des normes en vigueur et en particulier de la NF C 15-100. L'appareil doit être alimenté par une ligne spéciale protégée en tête par un disjoncteur omnipolaire d'ouverture minimale entre contacts de 3mm .
Le cable utilisé sera de type H07RNF. Une protection différentielle de 30mA sera par ailleurs prévue.
- Dans tous les cas, le respect de la norme française NF C 15-100 est impératif.
- N'utilisez jamais de prise de courant pour l'alimentation.
- Cet apparéil est prévu pour fonctionner sous une tension nominale de 230 Volts 50Hz .
- A dernier moment (y compris lors des phases de démarriage), la tension ne doit passer en dessous de 198 V ou au-dessus de 264 V aux bornes de l'appareil.
VOIR EN PAGE 11 LES SECTIONS DE CABLE.
Les sections de cable sont données à titre indicatif. Il y a lieu pour l'installateur, qui est dans tous les cas "l'homme de l'art", de vérifier qu'elles correspondent aux besoin et aux normes en vigueur.
Schemas de liaison à la Terre et câblage d'alimentation :
Les apparèils de climatisation Atlantic / Fujitsu sont prévus pour fonctionner avec les schémas de liaison à la Terre (régimes de neutre) suivants : TT et TN.
Le schéma de liaison IT ne convient pas pour ces apparèils (utiliser un transformateur de séparation). Les alimentations monophasées sans neutre (entre phases) sont strictement à proscrire. En ce qui concerne les apparèils tri-phasés, le neutre doit également toujours être distribué (TT ou TN).
7.2. Raccordements electriques
| ÀVARTISSEMENT |
| • Le contrat souscrit pour l'alimentation doit pouvoir cou- vrir non seulement la puissance de l'appareil mais éga- lement la somme de tous les appareils susceptibles de fonctionner en même temps. |
| • Lorsque le voltage est trop bas ou s'effondre lors du démarrage de l'appareil, celui-ci peut avoir du mal à dé- marrer. Dans ce cas, consultez votre agence EDF. |
| • Les raccordements de câblage doivent être réalisés par une personne qualifiée et conformément aux spé- cifications. |
| • Avant de raccorder les cables, vérifie que l'alimenta- tion électrique est coupée (OFF). |
AVERAGE
- Un disjoncteur différentiel doit être installé sur l'alimentation électrique de l'unité extérieure. Unchioix et une installation inappropriée du disjoncteur provoqueront un choc électrique ou un incendie.
- Ne raccordez pas l'alimentation électrique au bornier d'interconnexion.
- Un câblage incorrect peut endommager l'ensemble du système.
- Connectez correctement le cable d'interconnexion au bornier. Une installation incorrecte peut provoquer un incendie.
- Veillez à protéger l'isolant du cable de raccordement à l'aide du collier. Une isolation endommagée peut provoquer un court-circuit.
- N'installez jamais de condensateur d'amélioration du facteur de puissance. Le condensateur peut surchauffer sans améliorer le facteur de puissance.
- Avant toute opération d'entretien sur l'unité, mettez l'interrupteur d'alimentation sur OFF. Ensuite, ne touche pas les composants électriques pendant 10 minutes en raison du risque de chocoléctrique.
- Raccordez l'unité à la terre. Une mise à la terre incorrecte peut provoquer des chocs électriques.
ATTENTION
- La puissance primaire de l'alimentation ne concerne que l'utilisation de cet apparéil.
- Utilisez un disjoncteur capable de:gérer les haute fréquences. L'unité extérieure étant contrôle par un onduleur, un disjoncteur à haute fréquence est nécessaire pour empêcher un dysfonctionnement du disjoncteur.
- Lorsque le tableau électrique se trouve en extérieur, refermez et verrouillez-le afin qu'il ne puisse pas être facilement accessible.
- Ne fixez pas Ensemble le cable d'alimentation électric et le cable de raccordement.
- Commencez le câblage après la fermeture des interrupteurs et des disjoncteurs.
- Utilisez un disjoncteur différentiel, pour éviter des dysfonctionnements sur l'unité extérieure Inverter.
- En employant un disjoncteur différentiel spécialisé pour la protection de la terre, assurez-vous également d'installer un interrupteur différentiel.
- Veillez à toujours préserver la longueur maximale du cable de d'interconnexion.
- Ne croisez pas les câbles d'alimentation de l'unité extérieure.
- Une longueur supérieure à la longueur maximale peut provoquer un dysfonctionnement.
ATTENTION
- L'électricité statique présente dans le corps humain peut endommager la carte de circuit imprimé lorsque vous la manipulez pour configurer l'adresse, etc.
Tenez compte des points suivants : - Mettez l'unité interieure, l'unité extérieure et l'équipment en option à la terre.
- Coupe l'alimentation électrique (disjoncteur).
- Touchez la partie métallique (la boîte de commande non peinte par exemple) de l'unité interieure ou extérieure pendant 10 secondes minimum. Évacuez l'électricité statique de votre corps.
- Ne touchez jamais le bornier ou le motif de la carte électronique.
7.3. Connexion des cables et fils électriques sur les borniers
Avec du filouple
Le fil couple type HO7RNF est utilisable moyonnant quelques précautions :
- Dénudez l'extrémité des conducteurs sur environ 10 mm.
- Avec une pince à serrir, posez en bout de fil une cosse ronde à serrir du diamètre correspondant aux vis du bornier.
- Serrez fermement la cosse sur le bornier à l'aide d'un tournevis approprié afin de ne pas endommager ou casser la vis.
- L'utilisation de fils couples sans cosses rondes serties est formellement déconseillée.

Fig. 23
Tableau 18
| Vis | Couple de serrage |
| M4 | 1,2 à 1,8 N•m |
7.4. Préparation des connexions électriques

Fig. 24
Scheme des cablages à réaliser des unités interieures sur l'unité extérieure

Fig. 25
7.5. Câblage de l'interconnexion et de l'alimentation sur l'unité extérieure
- Retirez les 6 vis. Soulevez le couvercle du bornier, puis tirez-le vers l'extérieur pour le retirer. Tirez ensuite le couvercle du cache vanne vers l'extérieur pour le retirer.

Fig. 26
- Raccordez le cable d'alimentation et le cable d'interconnexion au bornier. Attachez les cables un serre-cable.
Protégéz toujours les cables au passage du serre-cable avec de la gaine de protection PVC d'épaisseur 1 mm.

Fig. 27
- Comme illustré ci-dessous, tirez le cable d'alimentation et le cable d'interconnexion.

Fig. 28
- Replacez les couvercles.

Fig. 29
8. TEST DE FONCTIONNEMENT
La méthode de test de fonctionnement peut être différente selon l'unité interieure raccordée. Consultez la notice d'installation fourni avec chaque unité interieure.
ATTENTION
- Branchez toujours le courant 12 heures avant la mise en marche afin de protéger le compresseur.
8.1. Unité intérieure
- Le fonctionnement normal de toutes les touches de la télécommande.
- Le fonctionnement normal des voyants «OPERATION», «FILTER» et «TIMER».
- Le fonctionnement normal des volets de déflexion d'air.
- L'écoulement normal de l'eau de condensation (si besoin est, versez un peu d'eau doucement dans l'échangeur de l'appareil avec une pissette pour vérifier le bon écoulement).
- Vérifiez qu'il n'y aeldom bruit ni vibrations anormaux en fonctionnement.
8.2. Unité extérieure
- Vérifiez qu'il n'y aillacun bruit ni vibrations anormaux en fonctionnement.
- Vérifiez que ni le bruit, ni le courant d'air, ni l'eau ou la glace sortant de l'unité extérieure ne génent le voisinage.
- Vérifiez encore qu'il n'y a aucune fuite de gaz.
Ne laisses pas le climatisationur fonctionner en mode « test » trop longtemps.
Pour la méthode de fonctionnement, reportez-vous au notice d'utilisation et effectuez le contrôle de fonctionnement.
9. RÉCUPÉRATION DU FLUIDE (PUMP DOWN)
Pour éviter de décharger le fluide frigorégène dans l'atmosphère au moment de changer l'unité d'emplacement ou de la mesure au rebut, récapuérez celui-ci en effectuant un fonctionnement en Froid ou un fonctionnement en Froid force en suivant la procédure suivante.
(Quand le fonctionnement en Froid ne peut pas démarrer en hiver par exemple, démarrez un fonctionnement en Froid force.)
- Effectuez la purge de l'air du flexible de service en raccordant le flexible de service d'un jeu de manomètre à l'orifice de charge de la vanne à 3 voies (UNITE A et UNITÉ B) et en ouvrant légèrement la vanne de Basse Pression.
- Fermez complètement la tige de manoeuvre de la vanne à 2 voies (UNITE A et UNITÉ B).
- Démarrez le fonctionnement en Froid ou suivez le fonctionnement en Froid force. (UNITE A et UNITE B). Si vous utilisez la télécommande, appuyez sur le bouton TEST DE FONCTIONNEMENT (TEST RUN) après avoir démarré le fonctionnement en Froid avec la télécommande. Le voyant OPERATION et le voyant TIMER commence à clignoter simultanément pendant le test de fonctionnement. Si vous utilisez le bouton « MANUEL AUTO (MANUAL AUTO) » de l'unité interieure (si vous avez perdu la télécommande ou autre.), continue à appuyer sur le bouton « MANUEL AUTO (MANUAL AUTO) » de l'unité interieure pendant plus de 10 secondes. (Le fonctionnement en Froid force ne peut pas démarrer si le bouton « MANUEL AUTO (MANUAL AUTO) » n'est pas maintainue enfoncéependant plus de 10 secondes.)
- Fermez la tige de manoeuvre de la vanne à 3 voies (UNITE A et UNITÉ B) quand le relevé du manomètre indique 0,05 0 Mpa.
- Arrêtez le fonctionnement. (UNITE A et UNITÉ B). Appuyez sur le bouton « MARCHE/ARRÊT (START/ STOP) » de la télécommande pour arrêter le fonctionnement. Appuyez sur le bouton « MANUEL AUTO (MANUAL AUTO) » si vous arrêtez le fonctionnement depuis l'unité interieure. (Il n'est pas nécessaire deMAINUALLYADOTENNEAIRE)
ATTENTION
- Pendant la récapération de fluide, veillez à ce que le compresseur soit hors tension avant d'enlever les liaisons frigorifiques. Ne retirez pas la liaison frigorifique lorsque le compresseur fonctionne avec une vanne 2 ou 3 voies ouverte. Ceci peut générer une pression anormale dans le cycle frigorifique pouvant provoquer une dépréciation de l'appareil, voir des blessures.
ASYG 7 LU
ASYG 9 LU
ASYG 12 LU
ASYG 14 LU*
- n'est pas compatible avec l'AOYG 14 LAC2.
1. ACCESSORIES
1.1. Accessoires pour la pose de l'unité interieure livrés avec l'appareil
Les accessoires d'installation suivants sont livrés avec les apparciels (sauf mention contraire). Utilisez-les conformément aux instructions.
| ATTENTION |
| • Les accessoires standards sont systématiquement présents dans les emballages. • Veillez à bien récapuérez accessoires et notices avant de vous débarrasser des emballages. |
| Désignation | Forme | Qté | Usage |
| Support mural | 1 | Installation de l'unité intérieure | |
| Télécommande infrarouge | 1 | Commande de l'appareil | |
| Support de la télécommande infrarouge | 1 | Fixation de la télécommande | |
| Piles | 2 | Alimentation de la télécommande | |
| Bande de finition | 1 | Finition de l'st installation de l'unité intérieure | |
| Vis (M4 x 25 mm) | 5 | Installation de l'unité intérieure | |
| Vis (M3 x 12 mm) | 2 | Fixation du support de la télécommande | |
| Filtre à air | 2 | Filtrage de l'air | |
| Isolant A | 1 | Pour isoler la liaison gaz, uniquement sur le modele ASYG 14 LU*. |
1.2. Autres accessoires
| Désignation | Forme | Usage | ||
| Télécommande filaire UTY-RVNYM Code 875 019 | Cette télécommande vous permet d'effectuer une programmation heb- domadaire et d'afficher les fonctions dans la langue de votrechioix parmi 9 langues différentes (reportez-vous à la notice d'installation NI 923 095). Prévoir une télécommande par unité intérieure. | |||
| # | * | # | ||
| # | * | # | ||
| # | * | # | ||
| Télécommande filaire simplifiée UTY-RSNYM Code 809 459 | La télécommande filaire simplifiée est d'une grande facilité d'utilisation et permiet d'accéder aux fonctions basiques du climatisationur (mode de fonction- nement, température de consign...)(Reportez-vous à la notice d'installa- tion NI 923 083). Prévoir une télécommande par unité intérieure. | |||
| Platine interface UTY-TWBXF-2 Code 875 004 | Pour la connexion d'une télécommande filaire ou d'une télécommande filaire simplifiée ou d'une commande externe. Ce kit est composé de : - Une platine interface - Un contact entrée (CNA01) - Un contact sortie (CNB01 et CNB02) - Un contact télécommande filaire (CNC01) (Reportez-vous à la notice d'installation NI 923 090) | |||
| Contact entrée (CNA01) Code 809 623 | Pour commande externe sur la platine électronique de UTY-TWBXF-2 * A commander au SAV - TCL. : 04 72 10 27 50. | |||
| Contacts sortie (CNB01 et CNB02) Code 894 053* | ||||
2. CHOIX DE L'EMPLACEMENT DES UNITS
Le choix de l'emplacement est une chose particulièrement importante, car un déplacement ultérieur est une opération spécifique, à mener par du personnel qualifié.
Décide de l'emplacement de l'installation après discussion avec le client.
| △ AVERTISSEMENT |
| · Assurez-vous que les murs ou plafonds pourront sup- porter le poids tant de l'unité intérieure que de l'unité extérieure. |
| · Installez l'unité intérieure sur le mur à une hauteur de plus de 180 cm. |
| ATTENTION |
| • N'installez jamais ces apparueils à un endroit où des fuites de gaz ou de combustibles gazeux pourraient ad- venir (ces apparueils ne sont pas antidéflagrants). |
| • N'installez pas ces apparueils après de sources de cha- leur. |
| • Si des enfants de moins de 10 ans peuventapprocher des unités, prenez toutes les mesures nécessaires pour qu'ils ne puissant toucher à celles-ci. |
Accessoires non fournis
- Câble pour l'interconnexion électrique (4 conducteurs).
- Liaison cuivre recuit de type frigorifique dans les longueurs et diamètres ajustats.
Ruban adhésif pour le maintain des liaisons. - Bande toilée pour l'assemblage des tuyauteries.
- Bouchon pour obturator le passage mural du tuyau d'évacuation.
Colliers rilsan et serre-cables. - Tuyau d'évacuation des condensats.
- Vis autotaraudeuses et vis à bois.
-
Mastic pour obturer l'espace entre les liaisons et les gains d'iso1ation.
-
Afin d'éviter tout risque de vibration ou de bruit par-site, utilisez pour votre installation un mur de construction solide.
- L'entrée et la sortie d'air ne doivent enaucun cas estre obstruées.L'emplacement doit permettre une belle répartition de l'air climatisé dans le local.
-
Evitez d'instructor l'appareil dans un endroit exposé aux rayons directs du soleil.
-
L'emplacement sera prévu de façon à permettre une maintenance aisée de l'appareil ainsi qu'une connexion facile avec l'unité extérieure.
Les figures ci-dessous donnent quelques cotes importantes à respecter qui permettront une installation FACILE et des interventions de dépannage sans problème. - De même, vérifie que l'écoulement gravitaire des eaux de condensation sera aisé à réaliser.
- Installez l'appareil dans un emplacement où il sera aisé dinstaller un tuyau d'évacuation. Si c'est impossible, votre distributeur peut vous fournir une pompe de releavage adaptée.

Fig. 30
3. INSTALLATION
3.1. Choix de la sortie pour le raccordement
Le raccordement des liaisons frigorifiques peut s'effectuer dans les six directions indiquées par les chiffres ①, ②, ③, ④, ⑤ et ⑥ (Fig. 31).

Fig. 31
3.2. Demontage du couvercle inférieur
-
Retirez les caches vis et les vis du couvercle inférieur (3 emplacement pour chaque).
-
Levez la partie centrale du couvercle.
- Enlevez les attaches en appuyant sur les côts du couvercle (deux emplacements).
- Retirez le couvercle en le tirant vers vous.

Fig. 32

Fig. 33
3.3. Découpage des passages des liaisons
Lorsque les liaisons sont raccordées dans les directions ② , ③ , ④ et ⑤ , coupez sur le côté du panneau avant, le sillon prévu pour les liaisons, à l'aide d'un outil ajustat.

Fig. 34
3.4. Installation du couvercle inférieur
-
Poussez les attaches des cotés du couvercle inférieur dans les encoches (deux emplacements).
-
Appuyez sur le haut du couvercle et sur les repères en forme de triangle situé sur le couvercle inférieur (deux emplacements).
- Fixez les vis (3 emplacements), puis les caches vis (3 emplacements).

Fig. 35
3.5. Mise en place du support mural
Fixation directe sur le mur :
Avant de fixer le support mural sur le mur, mettez-le de niveau en,enfantant le crochet au centre du support mural dans le mur avec le manche d'un tournevis en assurant sa mise a niveau avec un niveau a bulle ou un fil a plomb.
- Pour fixer le support mural, utilisez au moins 5 vis et chevilles à travers les trouss en périhérie du support mural.
- Sur un mur en béton, placez dans le mur des boulons d'ancrage correspondants aux trouss du support mural.

Fig. 36
Vis autotaraudeuse
ATTENTION
- Attention, si le support mural est mal positionné, de l'eau risque de s'écouler le long du mur et sur le sol.
4. MISE EN PLACE DES LIAISONS FRIGORIFIQUES ET DU TUYAU D'ÉVACUATION

AVERTISSEMENT
- Veillez à mettre en place l'écoulement des condensats selon les instructions décrites ci-après.
- Procedez à cette installation dans un environnement le moins humide possible afin d'éviter la formation de condensation nuisible au bon fonctionnement des liaisons frigorifiques.

ATTENTION
- N'enlevez l'écrou "Flare" sur l'unité interieure qu'immediatement avant le raccordement.
-
Les liaisons seront mises en forme exclusivement à la cintreuse ou au ressort de cintrage afin d'eviter tout risque d'écrasement ou de rupture.
-
Ne cintrez jamais plus de 3 fois les liaisons au même endroit sous peine de voir apparaitre des amorces de rupture (écroussage du métal).
-
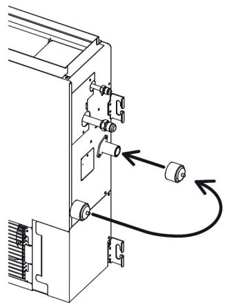
Insérez le tuyau d'évacuation et le bouchon des condensats fermement. Le tuyau d'évacuation doit être dirigé vers le bas pour éviter les fuites d'eau.
- Lors de l'insertion, assurez-vous de ne pas introduire de la matière en plus de l'eau. Si n'importe quel autre matière est jointe, elle pourrait cause des déterriorations et une fuite d'eau.
- Àprous avoir enlevé le tuyau d'évacuation, assurez-vous de ne pas oublier de remonter le bouchon d'évacuation.
- Assurez-vous de fixer le tuyau d'évacuation des condensats en dessous des liaisons frigorifiques avec un adhésif.
- Lors de l'installation, assurez-vous de prendre les précautions nécessaire afin d'empêcher l'eau des condensats de geler à de bassé température. Un tuyau d'évacuation bloqué par de l'eau gelée peut entrainer une fuite d'eau pour l'unité interieure.
4.1. Percements en vue de la mise en place des liaisons frigorifiques
- Percez un trou de 65 mm de diamètre dans le mur comme indiqué dans la Fig. 37.
- Percez avec une légère pente vers l'extérieur (5 à 10 mm).
- Toujours bien aligner le centre du trou sinon des fuites d'eau pourraient survenir.
- Coupez le fourreau d'une longueur correspondant à l'épaissieur du mur, obturez-le à l'aide du bouchon, fixez-le avec du ruban adhésisif et insérez le fourreau dans le trou (Fig. 38).
- Lorsque les directions ② (à droite) ou ⑤ (sortie à gauche) sont utilisées, percez avec une pente légèrement plus importante (10 mm au moins) pour laisser libre l'écoulement d'eau.

Fig. 37
Fig. 38


ATTENTION
Veillez à toujours bien centrer le trou. Un alignement incorrect peut entraîner des fuites.
- En l'absence de gaine, le cable qui relié l'unité extérieure aux unités interieures risque d'être endommagé au contact d'une pièce métallique.
4.2. Mise en place du tuyau d'évacuation des condensats et des liaisons frigorifiques
Pour visualiser les différentes sorties, veuillez-vous reporter au paragraphe 3.1 Choix de la sortie pour le raccordement (Fig. 31).
Pour sortie arrêté droite ①, sortie droite ② et sortie inférieure ③.

Fig. 39

Fig. 40
ATTENTION
Ne serrez pas trop l'isolant avec le ruban adhésif. Cela empêcherait son efficacité et risque de produit de la condensation sur le manchon.
- Avant de passer la liaison frigorifique et le tuyau d'évacuation des condensats à travers le mur, entourez les liaisons visibles avec du ruban adhésif. Suspendez ensuite l'unité interieure sur les crochets du haut du support mural (Fig. 41).

Fig. 41
Après avoir suspendu l'unité interieure par les crochets du haut, clipsez les 2 encoches basses dans les crochets de l'unité interieure en la rabattant et en la poussant contre le mur.
4.3. Mise en place du bouchon et du tuyau d'évacuation des condensats
Pour visualiser les différentes sorties, veuillez-vous reporter au paragraphe 3.1 Choix de la sortie pour le raccordement (Fig. 31).
Pour sortie arrêté droite ①, sortie droite ② et sorties inférieures ③ et ⑥.
Laissez le tuyau de sortie des condensats et le bouchon en place telquel.
Pour sortie arrêté gauche ④ ,sortie gauche ⑤
Après les avoir enlevés, inversez le tuyau d'évacuation des condensats et le bouchon en les,enfantant à fond jusqu'à ce qu'ils butent contre l'orifice du bac (Fig. 42).

Fig. 42
Pour une sortie à gauche découpez une ouverture avec un outil ajust.
Tuyau d'évacuation
Retirez le bouchon en tirant sur l'extrémité avec des pince. Puis retirez l'isolant.
Méthode d'installation du bouchon du tuyau d'évacuation des condensats
- Utilisez une clé Allen hexagonale (coté de 4 mm) pour insérer le bouchon jusqu'à ce qu'il soit en contact avec le robinet de purgege (Fig. 43).

Fig. 43
Pour-retirer le tuyau d'évacuation des condensats, enlevez la vis de maintien (Fig. 44).
Pour réintroduire le tuyau d'évacuation des condensats, insérez le tuyau sur la sortie et revissez le support (Fig. 45).
Après avoir déposé le tuyau d'évacuation des condensats, n'oubliez pas de le remplacer par le bouchon correspondant sur la sortie droite.

Fig. 44
Fixation (bleu)

Fig. 45
4.4. Mise en forme des liaisons frigorifiques
Pour visualiser les différentes sorties, veuillez-vous reporter au paragraphe 3.1 Choix de la sortie pour le raccordement (Fig. 31).
Pour sortie gauche ⑤ , sortie arrière gauche ⑥
- Coudez (rayon d'environ 70 mm minimum) la partie de la liaison frigorifique raccordée au climatiseur au moyen d'une cintreuse et cintrez-la comme illustré dans la Fig. 46, de manière à ce qu'il n'y ait pas plus de 35 mm d'espace entre la liaison et le mur.

Fig. 46
Suspendez l'unité interieure par les crochets hauts du support mural de fixation.
Insérez une cale entre l'unité interieure et le support mural de fixation pour isoler le bas de l'unité interieure du mur.

Fig. 47
Unité intérieure
5. CÁBLAGE ÉLECTRIQUE
5.1. Schéma de câblage
| A VERTISSEMENT |
| • Chaque cable doit être connecté fermement. |
| • Les câbles ne devront pas toucher les liaisons frigori-fiques. |
| • Des câbles mal connectés au bornier peuvent être à l'origine d'une surtension ou de dysfonctionnements. |
| • Les câbles connectés doivent correspondre aux numé-ros des borniers. |

Fig. 48
5.2. Câblage de l'interconnexion sur l'unité intérieure
- Retirez le cache bornier (enlevez une vis).
- Retirez le serre cable (enlevez une vis).

Fig. 49
- Préparez les cables comme indiqué (Fig. 50)
- Connectez complètement le cable dans le bornier.

Fig. 50
- Fixez le cable avec le serre-cable et remettre le cache bornier en place.

Fig. 51
6. FINITIONS
Après avoir fini la vérification des fuites sur le circuit frigorifique, installez l'isolant. Isolez le tuyau d'évacuation des condensats pour éviter qu'il ne gèle.
1. Isolez entre les liaisons
Isolez les liaisons d'aspiration et de refoulement séparément.
Sorties arriré droite ①, droite ② et inférieure ③.
- Pour les sorties arrirée droite ①, droite ② et inférieure ③, enveloppez les liaisons avec de l'isolant. Fixez le tout avec du ruban adhésif.
Sorties arrirè gauche ④ , gauche ⑤
- Enveloppez les liaisons frigorifiques et les liaisons côté unité interieure avec de la bande de finition.
- Attachez le cable d'alimentation, le cable d'interconnexion et le cable de la télécommande aux liaisons avec du ruban adhésif.
- Enveloppez les câbles, les liaisons et le tuyau d'évacuation des condensats avec de la bande de finition.

Fig. 52

Fig. 53
Fig. 54
L'isolant A est utilisé quand le diamètre de la liaison gaz est de 012.70 mm.

Accolez les isolants l'un contre l'autre et enveloppez leurs-ci avec I'isolant A afin qu'il n'y ait aucun espace.

Fig. 55 - Sortie gauche ⑤ et arrêté gauche ④
- Attachez le cable d'interconnexion le long des liaisons avec du ruban adhésif.
- Attachez les liaisons sur le mur extérieur avec des colliers (non fournis, Fig. 56).
- Remplissez le fourreau (non fourni dans le mur) avec du mastic (non fourni) pour éviter que l'eau et le vent n'y pénétre (Fig. 56).
- Attachez le tuyau d'évacuation des condensats au mur extérieur etc..

Fig. 56
Fig. 57
0ui
Tuyau
d'évacuation des condenstas
Collier

NON
Remonté

NON
En vague

NON
Arrivée dans l'eau
7. DEMONTAGE ET REMONTAGE DE LA FAÇADE ET DE LA GRILLE D'ENTREE D'AIR DE L'UNITE INTÉRIEURE
7.1. Démontage et remontage de la grille d'entrée d'air
Demontage :
- Ouvrez la grille d'entrée d'air.
- Maintenez la grille d'entrée d'air, soulevez la grille de support et sécurisez la grille d'entrée d'air.
- Retirez les vis du loquet d'ouverture sur la partie supérieure de la façon (2 emplacements à gauche et à droite).
- Appuyez sur le loquet vers le bas pour ouvrir.
- Ouvrir la grille à horizontal, et tirez-la vers vous pour la prisoner.

Fig. 58
Remontage :
- Mettez la grille d'entrée d'air à l'horizontal et poussez les axes de rotation dans les encoches de fixation sur la partie supérieure de la façade (2 emplacements à gauche et à droite).
- Maintenez la grille d'entrée d'air, soulevez le support de grille et sécurisez la grille d'entrée d'air.
- Appuyez sur le loquet d'ouverture, et verrouiller la prise d'axe de fixation de la grille.
-
Fixez le loquet d'ouverture sur la partie supérieure de la façade avec les vis (2 emplacements à gauche et à droite).
-
Soulevez un peu le support de grille d'entrée d'air et le remettre le support de grille à sa position initiale.
- Fermez la grille d'entrée d'air.

Fig. 59
7.2. Démontage et remontage du panneau de façade
Démontage :
- Demontez la grille d'entrée d'air comme indiqué précédement.
- Retirez le cache bornier (retirez 1 vis).
- Retirez les 4 vis.
- Demontez complètement le panneau en tirant vers l'avant la partie supérieure.

Fig. 60

Fig. 61
Remontage :
- Tout d'abord, présente la partie inférieure du panneau de façade en positionnant les crochets de maintain en face de leurs encoches. Fixez ensuite le panneau en poussant celui-ci afin d'enclencher les crochets supérieur.
- Serrez les 4 vis.
- Utilisez la vis de fixation pourmaintenir le cache bornier.
- Fixez la grille d'entrée d'air.

Fig. 62

ATTENTION
- Installez fermement la grille d'entrée d'air et le panneau de façon afin d'éviter qu'ils ne se détachent et risquent de provoquer des incidents et blessures.
- Pour cela, vérifie soigneusement que les crochets de fixation soient bien enclenchés.
8. INSTALLATION DES KITS OPTIONNELS
Ce climatiseur peut être connecté soit à une télécommande filaire (UTY-RVNYM), soit à une télécommande filaire simplifiée (UTY-RSNYM), soit à un apparéil externe à l'aide du kit platine interface (UTY-TWBXF-2), et des contacts entree et sortie (voir les accessoires en «1.2. Autres accessoires», page 33).
ASYG 7 LMCE
ASYG 9 LMCE
ASYG 12 LMCE
ASYG 14 LMCE*
- n'est pas compatible avec l'AOYG 14 LAC2.
1. ACCESSOIRES STANDARDS LIVRÉS AVEC L'APPAREIL
1.1. Accessoires pour la pose de l'unité interieure
Les accessoires d'installation suivants sont livrés avec les apparciels (sauf mention contraire). Utilisez-les conformément aux instructions.
ATTENTION
- Les accessoires standards sont systématiquement présents dans les emballages.
Veillez à bien récapérer accessoires et notices avant de vous débarrasser des emballages.
| Désignation | Forme | Qté | Usage |
| Support mural | 1 | Installation de l'unité intérieure | |
| Télécommande infrarouge | 1 | Commande de l'appareil | |
| Support de la télécom-mande infrarouge | 1 | Fixation de la télécommande | |
| Piles | 2 | Alimentation de la télécommande | |
| Bande de finition | 1 | Finition de l'st installation de l'unité intérieure | |
| Vis (M4 x 25 mm) | 5 | Installation de l'unité intérieure | |
| Vis (M3 x 12 mm) | 2 | Fixation du support de la télé-commande | |
| Filtre à air | 2 | Filtrage de l'air | |
| Support filtre | 2 | ||
| Isolant A | 1 | Pour isoler la liaison gaz, unique-ment sur le modèle ASYG 14. |
1.2. Option
| Désignation | Forme | Usage | |
| Télécommande filaire UTY-RVNYM Code 875 019 | Cette télécommande vous permet d'effectuer une programmation hebdomadaire et d'afficher les fonctions dans la langue de votrechioix parmi 9 langues différentes (reportez-vous à la notice d'installation NI 923 095). Prévoir une télécommande par unité interieure. | ||
| Télécommande filaire simplifiée UTY-RSNYM Code 809 459 | La télécommande filaire simplifiée est d'une grande facilité d'utilisation et permet d'accéder aux fonctions basiques du climatisationur (mode de fonctionnement, température de consign...) (Reportez-vous à la notice d'installation NI 923 083). Prévoir une télécommande par unité interieure. | ||
| Kit platine interface UTY-XCBXZ2-2 Code 875 022 | Pour la connexion d'une télécommande filaire ou d'une télécommande filaire simplifiée ou d'une commande externe. Ce kit est composé de: - Une platine interface - Un contact entrée (CNA01) - Un contact sortie (CNB01 et CNB02) - Un contact télécommande filaire (CNC01) (Reportez-vous à la notice d'installation NI 923 096) | ||
| Contact entrée - Marche, Arrêt ou Arrêt forcé (CNA01) Code 809 623 (1) | Pour commande externe. | ||
| Contact sortie - Etat de fonctionnement (CNB01) Code 894 053 (2) | |||
| Contact sortie - Etat des erreurs (CNB02) Code 894 053 (2) | |||
(1) A commander au 04 72 10 27 50
(2) A commander au 04 72 10 27 50
Accessoires non fournis
- Câble pour l'interconnexion électrique (4 conducteurs).
Liaison cuivre recuit de type frigorifique dans les longueurs et diamètres adéquats. - Ruban adhésif pour le maintien des liaisons.
- Bande toilée pour l'assemblage des tuyauteries.
- Bouchon pour obturer le passage mural du tuyau d'évacuation.
- Colliers Rilsan et serre-câbles.
Tuyau d'évacuation des condensats. - Vis autotaraudeuses et vis à bois.
- Mastic pour obturer l'espace entre les liaisons et les gains d'isolation.
2. CHOIX DE L'EMPLACEMENT DES UNITS
Le choix de l'emplacement est une chose particulièrement importante, car un déplacement ultérieur est une opération delicate, à mener par du personnel qualifié.
Décide de l'emplacement de l'installation après discussion avec le client.
A VERTISSEMENT
- Assurez-vous que les murs ou plafonds pourront supporter le poids tant de l'unité intérieure que de l'unité extérieure.
- Installez l'unité interieure sur le mur à une hauteur de plus de 180 cm.
ATTENTION
- N'installez jamais ces appareils à un endroit où des fuites de gaz ou de combustibles gâzeux pouraient advenir (ces appareils ne sont pas antidéflagrant).
- N'installez pas ces appareils après de sources de chaleur.
-
Si des enfants de moins de 10 ans peuventapprocher des unités, prenez toutes les mesures nécessaires pour qu'ils ne puissant toucher a celles-ci.
-
Afin d'éviter tout risque de vibration ou de bruit parasite, utilisez pour votre installation un mur de construction solide.
- L'entrée et la sortie d'air ne doivent enaucun cas etre obstruées.L'emplacement doit permettre une bonne répartition de l'air climatisé dans le local.
- Evitez d'instructor l'appareil dans un endroit exposé aux rayons directs du soleil.
- L'emplacement sera prevu de façon à permettre une maintenance aisée de l'appareil ainsi qu'une connexion facile avec l'unité extérieure.
Les figures ci-dessous donnent quelques cotes importantes à respecter qui permettront une installation facile et des interventions de dépannage sans problème.
- De même, vérifie que l'écoulement gravitaire des eaux de condensation sera aisé à réaliser.
- Installé l'appareil dans un emplacement où il sera aisé d'installer un tuyau d'évacuation. Si c'est impossible, votre distributeur peut vous fournir une pompe de relevage adaptée.

Fig. 63
3. INSTALLATION
3.1. Choix de la sortie pour le raccordement
Le raccordement des liaisons frigorifiques peut s'effectuer dans les six directions indiquées par les chiffres ①, ②, ③, ④, ⑤ et ⑥ (Fig. 64).

Fig. 64
Lorsque les liaisons sont raccordées dans les directions ②, ③, ④ et ⑤, coupez sur le côté du panneau avant, le sillon prévu pour les liaisons, à l'aide d'un outil ajustat.
3.2. Comment préparer le passage de la tuyauterie ?
- Percez un trou de 65 mm de diamètre dans le mur, à l'emplacement précisé (Fig. 65).
- Percez le trou de manière à ce que son orifice extérieur soit de 5 à 10 mm plus bas que l'orifice interieur (Fig. 66).
- Toujours bien aligner le centre du trou sinon des fuites d'eau pourraient survenir.
-
Coupez le fourreau d'une longueur correspondant à l'épaisseur du mur, obturez-le à l'aide du bouchon, fixez-le avec du ruban adhésisif et insérez le fourreau dans le trou (Fig. 66).
-
Lorsque les directions ② (à droite) ou ⑤ (sortie à gauche) sont utilisées, percez avec une pente légèrement plus importante (10 mm au moins) pour laisser libre l'écoulement d'eau.

Fig. 65

Fig. 66
ATTENTION
Veillez à toutjours bien center le trou. Un alignment incorrect peut entrainer des fuites.
- En l'absence de gaine, le cable qui relié l'unité extérieure à l'unité interieure risque d'être endommagé au contact d'une piece métallique.
3.3. Mise en place du support mural
- Enlevez le support mural de l'unité interieure en dévissant les vis comme indiqué sur la figure suivante.

Fig. 67
-
Avant de fixer le support mural sur le mur, mettez-le de niveau en,enfonçant le crochet au centre du support mural dans le mur avec le manche d'un tournevis en assurant sa mise a niveau avec un niveau à bulle ou un fil à plomb.
-
Pour fixer le support mural, utilisez au moins 5 vis et chevilles à travers les trous en périphérique du support mural.
- Sur un mur en béton, placez dans le mur des boulons d'ancrage correspondants aux trous du support mural.

Fig. 68
ATTENTION
- Attention, si le support mural est mal positionné, de l'eau risque de s'écouler le long du mur et sur le sol.
4. MISE EN PLACE DES LIAISONS FRIGORI-FIQUES ET DU TUYAU D'ÉVACUATION
Pour visualiser les différentes sorties, veuillez-vous reporter au paragraphe 3.1 Choix de la sortie pour le raccordement (Fig. 64).
AVERAGEMENT
- Veillez àmettre en place l'écoulement des condensats selon les instructions décrites ci-après.
- Procedez à cette installation dans un environnement le moins humide possible afin d'éviter la formation de condensation nuisible au bon fonctionnement des liaisons frigorifiques.
ATTENTION
- N'enlevez l'écrou "Flare" sur l'unité interieure qu'immediatement avant le raccordement.
- Les liaisons seront mises en forme exclusivement à la cintreuse ou au ressort de cintrage afin d'éviter tout risque d'écrasement ou de rupture.
- Ne cintrez jamais plus de 3 fois les liaisons au même endroit sous peine de voir apparaitre des amorces de rupture (écrouissage du métal).
- Insérez le tuyau d'évacuation et le bouchon des condensats fermement. Le tuyau d'évacuation doit être dirigé vers le bas pour éviter les fuites d'eau.
Lors de l'insertion, assurez-vous de ne pas introduire de la matière. Si des particules ou résidus sont introduits, cela pourrait cause des déteriorations et une fuite d'eau. - Àprous avoir enlevé le tuyau d'évacuation, n'oubliez pas de remonter le bouchon d'évacuation.
- Assurez-vous de fixer le tuyau d'évacuation des condensats en dessous des liaisons frigorifiques avec un adhésif.
- Lors de l'installation du tuyau d'évacuation à l'extérieur, protégez-le contre le gel. Un tuyau d'évacuation bloqué par de l'eau gelée peut entrainer une fuite d'eau pour l'unité interieure.
4.1. Mise en place du tuyau d'évacuation des condensats et des liaisons frigorifiques
Pour les sorties : arrête ① et ⑥ , à droite ② , inférieure ③ et ④ .
- Installez la tuyauterie de l'unité interieure dans la direction du trou réalisé dans le mur et assemblez le tuyau d'évacuation et les liaisons au moyen de ruban adhésif vinyle. (Fig. 69).
- Le tuyau d'évacuation doit être monté en dessous des liaisons frigorifiques.
- Enveloppez les tuyaux de l'unité interieure visibles de l'extérieur de ruban adhésif ou faitesles cheminer dans une goulotte.

Fig. 69

Fig. 70
Pour les sorties : arrêté gauche ⑥ , à gauche ⑤
- Permutez le bouchon et le tuyau d'évacuation des condensats: enlevez le bouchon en tirant sur son téton à l'aide de pinces et montez le tuyau d'évacuation sur la sortie gauche. (Fig. 71).
4.2. Mise en place du bouchon et du tuyau d'évacuation des condensats
Pour sortie arrêté droite ①, sortie droite ② et sorties inférieures ③ et ④.
Laissez le tuyau de sortie des condensats et le bouchon en place telquel.
Pour sortie arrière gauche ⑥ , sortie gauche ⑤
Après les avoir enlevés, inversez le tuyau d'évacuation des condensats et le bouchon en les,enfantant à fond jusqu'à ce qu'ils butent contre l'orifice du bac (Fig. 71).

Fig. 71
Méthode d'installation du bouchon du tuyau d'évacuation des condensats
- Utilisez une clé Allen hexagonale (côté de 4 mm) pour insérer le bouchon jusqu'à ce qu'il soit en contact avec le robinet de purgege (Fig. 72).

Fig. 72
Pour-retirer le tuyau d'évacuation des condensats, enlevez la vis de maintainen (Fig. 73).
Pour réintroduire le tuyau d'évacuation des condensats, insérez le tuyau sur la sortie et revissez le support (Fig. 74).
Après avoir déposé le tuyau d'évacuation des condensats, n'oubliez pas de le remplacer par le bouchon correspondant sur la sortie droite.

Fig. 73

Fig. 74
4.3. Mise en place de l'unité intérieure
Les travaux de plomberie peuvent être facillités enTRAÇANT, cintrant, et en fixant temporairement la conduite de raccordement, le tuyau d'évacuation et le cable de connexion comme illustré sur la Fig. 75, à l'avance. (Sortie par la gauche).

Fig. 75
- Àprous avoir fait passer les liaisons de l'unité interieure et le tuyau d'évacuation dans l'orifice pratique dans le mur, accrochez l'unité interieure sur les crochets situés en haut du support mural.
- Insérez une piece d'écartement en carton entre l'unité interieure et le support mural, et éloignez ainsi le bas du climatiseur du mur pour la suite des travaux si nécessaire. (Fig. 76).

Fig. 76
- Insérez les deux crochets du bas dans les trous de fixation correspondants et abaissez celui-ci en le repoussant contre le mur. (Fig. 77).

Fig. 77
Vérifiez que :
- Les crochets du haut et du bas sont fermement engagés et que l'unité ne rouge ni d'avant en arrêtre, ni de gauche à droite.
- L'unité interieure est positionnée avec précision dans le sens horizontal et vertical.
- Le tuyau d'évacuation se trouve en dessous des liaisons frigorifiques dans la gaine qui traverse le mur.
5. CÂBLAGE ÉLECTRIQUE
5.1. Schéma de câblage
| △ AVERTISSEMENT |
| • Chaque cable doit être connecté fermement. |
| • Les cables ne devront pas toucher les liaisons frigorifiques. |
| • Des cables mal connectés au bornier peuvent être à l'origine d'une surtension ou de dysfon-tionnements. |
| • Les cables connectés doivent correspondre aux numéroros des borniers. |

Fig. 78
5.2. Câblage de l'interconnexion sur l'unité interieure
- Retirez le cache bornier (enlevez une vis).
- Retirez le serre cable (enlevez une vis).

Fig. 79
- Préparez les câbles comme indiqué (Fig. 80).
- Connectez fermement les câbles dans le bornier.

Fig. 80
- Fixez le cable avec le serre-cable et remetre le cache bornier en place.

Fig. 81
6. FINITIONS
Après avoir fini la vérification des fuites sur le circuit frigorifique, installez l'isolant. Isolez le tuyau d'évacuation des condensats pour éviter qu'il ne gèle.
- Isolez entre les liaisons.
Isolez les liaisons d'aspiration et de refoulement séparément.
Sorties arrêtè droite ①, droite ② et inférieure ③ et ④.
- Pour les sorties arrirée droite ①, droite ② et inférieure ③ et ④, enveloppez les liaisons avec de l'isolant. Fixez le tout avec du ruban adhésif.
Sorties arrière gauche ⑥ , gauche ⑤ .
- Enveloppez les liaisons frigorifiques et les liaisons côté unité interieure avec de la bande de finition.
- Attachez le cable d'alimentation, le cable d'interconnexion et le cable de la télécommande aux liaisons avec du ruban adhésif.
- Enveloppez les câbles, les liaisons et le tuyau d'évacuation des condensats avec de la bande de finition.

Fig. 82

Fig. 83
Fig. 84
L'isolant A est utilisé quand le diamètre de la liaison gaz est de 012.70 mm.

Accolez les isolants l'un contre l'autre et enveloppez leurs-ci avec I'isolant A afin qu'il n'y ait aucun espace.
Fig. 85 - Sortie gauche ⑤ et arrêté gauche ④
Sortie gauche
Câble d'interconnexion

Pour une sortie à l'arrière gauche
Passage Cable d'interconnexion dans le mur Liaisons Tuyau d'évacuation
- Attachez le cable d'interconnexion le long des liaisons avec du ruban adhésif.
- Attachez les liaisons sur le mur extérieur avec des colliers (non fournis, Fig. 86).
- Remplissez le fourreau (non fourni dans le mur) avec du mastic (non fourni) pour éviter que l'eau et le vent n'y pénétrent (Fig. 86).
- Attachez le tuyau d'évacuation des condensats au mur extérieur etc..
- Effectuez les vérifications suivantes (Fig. 87).

Fig. 86


Fig. 87
0ui
Remonté

NON
En vague

NON
Arrivée dans l'eau
7. DEMONTAGE ET REMONTAGE DE LA FAÇADE ET DE LA GRILLE D'ENTRÉE D'AIR DE L'UNITE INTÉRIEURE
7.1. Démontage et remontage de la grille d'entrée d'air
Démontage :
- Ouvrez la grille d'entrée d'air.
- Appuyez doucement sur les supports de montage gauche et droite de la grille d'entrée vers l'extérieur (a) (Fig. 88).
- Enlever la grille d'entrée en tirant en direction de la flèche (b).

Fig. 88
Remontage :
-
Maintenez la grille d'entrée d'air à l'horizontal et puisze les supports de la grille dans les encoches de fixation (c) sur la partie supérieure de la façade (2 emplacements à gauche et à droite) (Fig. 89).
-
Verrouillez chaque support de grille en les enclenchant dans les encoches prévues.

Fig. 89
- Appuyez sur les 4 emplacements pour fer-mer complètement le grille de d'entrée d'air (Fig. 90).

Fig. 90
7.2. Démontage et remontage du panneau de façade
Démontage :
- Demontez la grille d'entrée d'air comme indiqué précédement.
- Retirez le cache bornier (retirez 1 vis) (Fig. 91).
- Retirez les caches vis.
- Retirez les 6 vis.
- Demontez complètement le panneau en tirant vers l'avant la partie supérieure (Fig. 92).

Fig. 91


Fig. 92
Remontage :
- Tout d'abord, présente la partie inférieure du panneau de façade en positionnant les crochets de maintien en face de leurs encoches (Fig. 93).
- Fixez ensuite le panneau en poussant celui-ci afin d'enclencher les 3 crochets supérieurs.
- Serrez les 6 vis.
- Utilisez la vis de fixation pourmaintenir le cache bornier.
- Remontez les 3 caches vis.
- Remontez la grille d'entrée d'air.

Fig. 93
ATTENTION
- Installez fermement la grille d'entrée d'air et le panneau de façon afin d'éviter qu'ils ne se détachent et risquent de provoquer des incidents et blessures.
- Pour cela, vérifie soigneusement que les crochets de fixation doivent bien enchenchés.
8. INSTALLATION DES KITS OPTIONNELS
Ce climatiseur peut être connecté soit à une télécommande filaire (UTY-RVNYM), soit à une télécommande filaire simplifiée (UTY-RSNYM), soit à un apparéil externe à l'aide du kit platine interface (UTY-XCBXZ2-2), et du contact entree et sortie (voir les accessoires en 1.2. Option, page 42).
1.2. Accessoires pour le montage de la façade
| Désignation | Forme | Qté | Usage |
| Capot du connecteur | 1 | Pour:cacher le connecteur. | |
| Equerres en L | 2 | Pour monter les câbles de suspension sur la grille de reprise. | |
| Câble de suspension | 2 | Pour suspendre la grille de reprise. | |
| Vis avec petit pas de vis (M4 x 10 mm) | 2 | Pour accrocher les câbles de suspension. | |
| Vis avec grand pas de vis (M4 x 10 mm) | 4 | Pour fixer les équerres en L et les câbles de suspension. | |
| Vis avec petit pas de vis (M5 x 12 mm) | 4 | Pour fixer la façade. | |
| Vis avec grand pas de vis (M4 x 12 mm) | 1 | Pour monter le capot du connecteur. |
1.3. Autres accessoires
| Désignation | Forme | Usage |
| Télécommande filaireUTY-RVNYMCode 875 019 | Cette télécommande vous permet d'effectuer une pro-grammation hebdomadaire et d'afficher les fonctions dans la langue de votrechioix parmi 9 langues différentes (reportez-vous à la notice d'installation NI 923 095). Prévoir une télécommande par unité interieure. | |
| Télécommande filaire simplifiéeUTY-RSNYMCode 809 459 | La télécommande filaire simplifiée est d'une grande facilité d'utilisation et permet d'acceder aux fonctions basiques du clima-tiseur (mode de fonctionnement, température de consign...)(Reportez-vous à la notice d'installation NI 923 083). Prévoir une télécommande par unité interieure. | |
| Obturator avec isolant UTR-YDZBCode 898 264 | Pour condamner une voie de souffrage | |
| Kit air neufUTZ-VXAACode 809 372 | Plenum qui permet d'insuffler à travers la façon de la cas-sette des débits d'air neuf. | |
| Contact entrée(CN 102)Code 809 623 | Pour commande externe sur la carte électronique de l'unité interieure (* A commander au SAV : 04 72 10 27 50). | |
| Contact sortie(CN 103)Code 894 053* |
9. CHOIX DE L'EMPLACEMENT DES UNITS
Le choix de l'emplacement est une chose particulièrement importante, car un déplacement ultérieur est une opération spécifique, à mener par du personnel qualifié.
Décide de l'emplacement de l'installation après discussion avec le client.
ATTENTION
- N'installez jamais ces apparèils à un endroit où des fuites de gaz ou de combustibles gazeux pourraient advenir (ces apparèils ne sont pas antidéflagrants).
- N'installez pas ces appareils après de sources de chaleur.
- Si des enfants de moins de 10 ans peuventapprocher des unités, prenez toutes les mesures nécessaires pour qu'ils ne puissant toucher a celles-ci.
- N'installez pas ces apparèils près de bords de mers, où la forte concentration de Sel peut déterminer les parties metalliques provoquant des chutes de pièces ou des fuites d'eau provenant des unités.
- N'installez pas ces apparèils près d'une pierce contenant de l'huile minérale et sujette aux projections d'huile ou de vapeur (une cuisine par exemple). Cela pourrait déteriorer les parties plastiques et provoquérer la chute de pieces ou des fuites d'eau provenant des unités.
- N'installez pas ces apparèils dans un lieu de production de substances qui prompressent l'équipement, tel que le gaz sulfurique, le gaz de chlore, l'acide, ou l'alcali. Il fera corroder les tuyaux de cuivre et les joints causant la fuite de liquide réfrigerant.
- N'installez pas ces apparèils dans une zone où on produit de l'ammoniaque et où des animaux peuvent uriner sur l'unité extérieure.
- Installez l'unité interieure, l'unité extérieure, les cables d'alimentation, les cables d'interconnexion et les cables de la télécommande au minimum à 1 m d'une télévision ou d'un récepteur radio. Cette précaution est destinée à éviter les interférences sur le signal de réception de la télévision ou du bruit sur le signal radio (Cependant, même à plus d'1 m les signaux peuvent être encore perturbé).
- Prenez toutes les précautions nécessaires pour que l'unité ne tombe pas.
A VERTISSEMENT
- Assurez-vous que les murs ou plafonds pourront supporter le poids tant de l'unité interieure que de l'unité extérieure.
- L'unité extérieur ne doit pas être installée penchéée de plus de 5^ .
Choix des directions de soufflage
Les directions de soufflage pourront être choisies parmi celles proposées ci-dessous.
Fig. 94

*Veillez laissez un espace suffisant pour l'accès lors de la maintenance.
Pour une installation avec 3 directions de souffrage, penséz à effectuer le paramétrage nécessaire sur la télécommande (voir le «5. Fonctions et paramètres à régler», page 101) et assurez-vous de bien utiliser un obturator (vendu en accessoire).
Le paramétrage de la hauteur sous plafond « Haut » ne peut être utilisé avec une installation avec 3 directions de souffrage. Par conséquent, il ne sert à rien de modifier le paramétrage.
Installation de I'unité interieure
- Afin d'éviter tout risque de vibration ou de bruit parasite, utilisez pour votre installation un plafond ou une dalle de plancher de construction solide.
- L'entrée et la sortie d'air ne doivent enaucun cas estre obstruées.L'emplacement doit permettre une bonnerépartition de l'air climatisé dans le local.
- L'emplacement sera prévu de façon à permettre une maintenance aisée de l'appareil. Les figures ci-après donnent quelques cotes importantes à respecter qui permettront une installation facile et des interventions de dépannage sans problème.
- Une pompé de releavage est intégrée dans la cassette. Si votre installation nécessite une hauteur de releavage trop importante (supérieure à 40 cm au niveau de la cassette), ATLANTIC Climatisation & Ventilation peut fournir une pompé de releavage adaptée.
- L'espace disponible en faux plafond doit être suffisant : 262 mm au moins.

Fig. 95
- Ne pas installer l'appareil dans un lieu où les vibrations et le bruit seront amplifiés.
Il est possible d'installer les modèles AUYG 12, 14, et 18 à une hauteur de 3 m maximum. Pensez à effectuer le paramétrage nécessaire sur la télécommande (voir le «12. Câblage de l'interconnexion sur l'unité interieure», page 56), en fonction de la hauteur d'installation.
10. INSTALLATION DE L'UNITE INTÉRIEURE
10.1. Positionnement pour l'ancrage des boulons

Fig. 96

Fig. 97
10.2. Fixation du corps de I'unité intérieure
- Vissez l'écrou à épaulement large (écrou spécial A), puis l'écrou à épaulement étroit (écrou spécial B) sur les tiges filetées (Fig. 98).
- Présentez le corps de l'unité interieure de façon à ce que les tiges filetées passent dans les boutonnières de suspension, entre les écrous spéciaux (Fig. 98).
- Ajustez les hauteurs au moyen des boulons B pour une parfaite mise à niveau du climatiseur.
- Pour ce faire, utilisez un niveau à bulle ou un tuyau transparent rempli d'eau (Fig. 99).

Fig. 98

Fig. 99

ATTENTION
Veillez à ce que l'unité interieure soit bien horizontally par rapport au plafond sur lequel elle est fixée.
11. INSTALLATION DU TUYAU D'ÉVACUATION DES CONDENSATS
11.1. Généralités
- Pour le collecteur prévoyez un écoulement avec une pente de 1/50 à 1/100 minimum, sans remontée, ni siphon.
- Utilisez un tube en PVC (VP25) de 32 mm de diamètre extérieure et raccordez-le avec du ruban adhésif pour assurer l'étanchéité.
- Si le tube est long, prévoyez des suspentes (Fig. 101).
- Pas de prise d'air!
- Isolez le tube dans la partie située à l'intérieur des locaux en l'entourant d'un manchon isolant pour éviter tout risque de condensation.
- Si une remontée du tuyau d'évacuation est nécessaire, faites-la à moins de 150 mm du départ de l'appareil et sans excéder 700 mm ou moins depuis le plafond avec une marge de 300 mm depuis le corps de l'appareil par rapport au faux plafond. Ne dépassez pas ces cotes, cela pourrait entraîner des fuites.
- Si la totalité de la tuyauterie est installée 100mm plus bas que la sortie d'évacuation des condensats, utilisez du tube de 33mm de diamètre extérieure ou plus avec une pente de 1/100 minimum.

Fig. 100

Fig. 101

Fig. 102
Fig. 103 - Les interdictions


AVERTISSEMENT
- Ne pas brancher le tuyau d'évacuation des condensats sur le réseau des égouts, car il peut s'échapper du dioxyde de souffre d'à l'usure de l'échangeur.
- Isolez correctement les raccords pour éviter les fuites d'eau.
- Pour vérifier le bon fonctionnement de l'évacuation des condensats, après l'installation, utilisez des morceaux de tuyaux transparents aux sorties et à la l'extrémité du tuyau-sortant du corps de l'unité interieure.

ATTENTION
- Ne pas appliquer d'adhésif sur la sortie des condensats de l'unité interieure. (utilisez le tuyau joint et le branchez au tuyau d'évacuation).
11.2. Installation
- Fixez l'adaptateur (fourni dans les accessoires) à la sortie d'évacuation de l'unité (Fig. 104) et fixez le collier de serrage comme indiqué Fig. 105.
- Utilisez de l'adhésif pour coller le tuyau rigide PVC ou un tuyau coude. (Posez une bande adhésive de couleur à partir de la limite de la jauge pour assurer l'étanchéité) Fig. 106.
- Vérifiez l'évacuation des condensats.
- Posez l'isolant (fourni dans les accessoires) pour couvrir l'évacuation et les parties du corps de l'unité interieure.

Fig. 104
Entourez l'isolant autour du collier de serrage. Assurez-vous de bien aligner sur le haut.

Fig. 107 - Vue de dessus (c)

Fig. 105 - Vue de dessus (a)

Fig. 108 - Vue en coupe (c)
Note: Vérifiez l'évacuation des condensats
Versez environ 1 litre d'eau comme indiqué Fig. 109 ou depuis la sortie d'air au bac de condensation. Vérifiez d'eventuelles anomalies telles que des bruits anormaux et si la pompe de vidange fonctionne normalement.

Fig. 106 - Vue de coté (b)

Fig. 109
11.3. Isolation calorifique des raccords frigorifiques
Vérification de l'absence de fuite sur le circuit.
Une fois le circuit mis en pression comme décrit précédemment, vérifiez avec un détecteur de gaz halogéné agréé, les raccords de l'installation.
Installez le manchon isolant sur les raccords frigorifiques cotoé unité interieure (gros et petit tubes).

Fig. 110
12. CÁBLAGE DE L'INTERCONNEXION SUR L'UNITÉ INTÉRIEURE
12.1. Schéma de câblage
| A AVERTISSEMENT |
| • Chaque cable doit être connecté fermement. |
| • Les câbles ne devront pas toucher les liaisons frigori-fiques |
| • Des câbles mal connectés au bornier peuvent être à l'origine d'une surtension ou de dysfonctionnements. |
| • Les câbles connectés doivent correspondre aux numé-ros des borniers. |

Fig.111

Fig. 112

Fig. 113
12.2. Câblage de l'interconnexion sur l'unité interieure
- Retirez le couvercle du boîtier électrique et installez les câbles d'interconnexion.

Fig. 114
- ÀpRES avoir installé les câbles, fixez-les avec des serre-câbles.

Fig. 115
Détail (a)

Serre-cables (accessoire)
Serrez bien.

13. MONTAGE DE LA FAÇADE (UTG-UFYD-W)
13.1. Sélection des voies de soufflage (facultatif)
Il est possible d'obturer une seule voie de souffrage avec les obturateurs.
Pour éliminer la voie de soufflage inutilisée, prendre comme illustré dans la Fig. 116 le départ des tuyaux frigorifiques comme repère.
Voir Fig. 116 pour les configurations possibles.

Fig. 116
Exemple : 3 directions de soufflage
Emboitez I'obturateur


13.2. Retirez la grille de reprise
- Retirer la grille de reprise d'air, en faisant couilisser les 2 loquets vers l'intérieur, comme indiqué dans la Fig. 117.

Fig. 117
- Ouvrir ensuite la grille de reprise d'air et retirez-la.

Fig. 118
13.3. Mise en place de la façade sur le corps de l'apparreil
- Fixez la façade sur l'unité interieure.

Fig. 119
- Alignez les repères sur la façade avec le tube d'écoulement et le tube de l'unité interieure.

Fig. 120

ATTENTION
Utilisez exclusivement les vis fournies pour la mise en place de la façon sur le corps de l'appareil.

Fig. 121
- Résiliez le raccordement électrique comme indiquédans la Fig. 122.

Fig. 122
Rangez les cables comme indiqués ci-dessous.

Fig. 123
Remettez en place le couvercle du boitier électrique.

Fig. 124
Pour remettre la grille d'entrée d'air, suivez la procEDURE dans l'ordre inverse. Il est possible d'inverter la grille dans les 4 sens, selon le choix de l'utilisateur.
ATTENTION
- Ne modifiez pas la position des volets à la main. Mettez l'appareil sous tension pour manoeuvrer les volets.
- Respectez le sens de montage de la façade.
- Ne laissez pas d'espace entre la grille de façon et le corps du climatiseur.
- La façade est pourvue d'un accessoire pour éviter d'ouvrir totalement la grille.
- Lisez la notice d'installation jointe à la façon, avant de l'installer.
13.4. Montage de la grille de reprise d'air
1. Montez des équres en L
Montez les 2 équres en L aux 2 positions indiquées à l'aide des vis à grand pas.

Fig. 125 - Grille de reprise

Fig. 126
- Mettez en position les 2 vis à petit pas sur les 2 équérres en L.

Fig. 127
Fig. 128
- Attachez les câbles de suspension sur la façade.
Attachez les câbles de suspension aux 2 positions indiquées sur la façade du côte de l'ouverture de la grille de reprise.

Fig. 129
N.B.: Le grille de reprise peut être tournée et être installée dans les 4 sens pour s'adapter au préférence de l'utilisateur.

Fig. 130
- Remontez la grille de reprise.

Fig. 131
AUYG 7 LVL*
AUYG 9 LVL*
AUYG 12 LVL*/ AUYG 12 LVLBB*
AUYG 14 LVL** / AUYG 14 LVLBB**
AUYG 18 LVL** / AUYG 18 LVLBB**
- n'est pas compatible avec l'AOYG 14 LAC2.
** ne sont pas compatibles avec l'AOYG 14 et 18 LAC2.
1. ACCESSORIES
1.1. Accessoires pour la pose de l'unité interieure livrés avec l'appareil
Les accessoires d'installation suivants sont livrés avec les apparciels (sauf mention contraire). Utilisez-les conformément aux instructions.
ATTENTION
- Les accessoires standards sont systématiquement prênts dans les emballages.
Veillez a bien recupérer accessoires et notices avant de vous debarrasser des emballages.
| Désignation | Forme | Qté | Usage |
| Manchon isolant (grand) | 1 | Isolation de la liaison frigorifique gaz | |
| Manchon isolant (petit) | 1 | Isolation de la liaison frigorifique liquide | |
| Ecrou à épaulement A (large) | 4 | Fixation de l'unité intérieure | |
| Ecrou à épaulement B (petit) | 4 | ||
| Gabarit d'installation | 1 | Pour repérer la découverte au plafond de l'unité intérieure | |
| Télécommande infrarouge | 1 | Commande de l'appareil | |
| Pile | 2 | Pour l'alimentation de la télécommande infrarouge | |
| Support de télécommande | 1 | Fixation de la télécommande | |
| Vis autotaraudeuses (Ø 3 X 12) | 2 | Montage du support de la télécommande infrarouge |
- Fermez la grille de reprise.
Fermez la grille de reprise et faire passer la boucle des câbles de suspension autour des têtes de vis placés au point 2. comme indiqué sur la Fig. 132.

Fig. 132
- Finissez de visser les vis à petit pas pour maintainir les câbles de suspension.

Fig. 133
- Refermez complètement la grille de reprise.

Fig. 134
1.2. Procedure de démontage de la grille de reprise d'air
Suivez le point 4 à 7 du paragraphe 6.4 en sens inverse.
Note :
- Pour changer l'orientation de la grille de reprise, vous doivent suivir les indications du point 3 au point 4 du paragraph 6.4, puis changer la position des cables de suspension.
- Pour nettoyer le filtré, vous doivent suivre les indications du point 4 du paragraphe 6.4.
2. INSTALLATION DES KITS OPTIONNELS
Ce climatiseur peut être connecté soit à une télécommande filaire (UTY-RVNYM), soit à une télécommande filaire simplifiée (UTY-RSNYM), à l'aide d'un connecteur fourni avec la télécommande, soit un kit air neuf ou encore à un apparil exter à l'aide de contact entree et sortie (voir les accessoires en «1.3. Autres accessoires», page 51.
| Type | N° du connecteur |
| Kit air neuf | CN6 |
| Entrée externe (809 623) | CN102 |
| Sortie externe (809 053) | CN103 |
| Télécommande filaire ou filaire simplifiée | - |
AGYG 9 LVC*
AGYG 12 LVC*
AGYG 14 LVC**
- n'est pas compatible avec l'AOYG 14 LAC2.
** ne sont pas compatibles avec l'AOYG 14 et 18 LAC2.
1. ACCESSORIES
1.1. Accessoires pour la pose de l'unité interieure livrés avec l'appareil
Les accessoires d'installation suivants sont livrés avec les apparciels (sauf mention contraire). Utilisez-les conformément aux instructions.
ATTENTION
- Les accessoires standards sont systématiquement présents dans les emballages.
Veillez a bien recupérer accessoires et notices avant de vous debarrasser des emballages.
| Désignation | Forme | Qté | Usage |
| Support métallique | 1 | Fixation de l'unité intérieure | |
| Télécommande infrarouge | 1 | Commande de l'appareil | |
| Pile | 2 | Pour l'alimentation de la télécommande infrarouge | |
| Support de télécommande | 1 | Fixation du support de la télécommande | |
| Isolant | 1 | Finition de l'st installation de l'unité intérieure | |
| Vis autotaraudeuse (petite) | 2 | Montage du support de la télécommande infrarouge | |
| Vis autotaraudeuse (grande) | 9 | Installation du support métallique | |
| Filtre à air | 2 | Filtrage de l'air |
1.2. Autres accessoires
| Désignation | Forme | Usage | ||
| Télécommande filaire UTY-RVNYM Code 875 019 | Cette télécommande vous permet d'effectuer une pro-grammation hebdomadaire et d'afficher les fon-cions dans la langue de votrechoix parmi 9 langues différentes (reportez-vous à la notice d'installation NI 923 095). Prévoir une télécommande par unité interieure. | |||
| Télécommande filaire simplifiée UTY-RSNYM Code 809 459 | La télécommande filaire simplifiée est d'une grande facilité d'utilisation et permet d'accéder aux fonctions basiques du clima-tiseur (mode de fonctionnement, température de consign...)(Reportez-vous à la notice d'installation NI 923 083). Prévoir une télécommande par unité interieure. | |||
| Contact entrée (CN 14) Code 809 623 | Pour commande externe sur la carte électronique de l'unité interieure* A commander au SAV - tél : 04 72 10 27 50. | |||
| Contact sortie (CN 20) Code 894 053* | ||||
2. CHOIX DE L'EMPLACEMENT DES UNITS
Le choix de l'emplacement est une chose particulièrement importante, car un déplacement ultérieur est une opération spécifique, à mener par du personnel qualifié.
Décide de l'emplacement de l'installation après discussion avec le client.
ATTENTION
- N'installez jamais ces apparèils à un endroit où des fuites de gaz ou de combustibles gazeux pourraient advenir (ces apparèils ne sont pas antidéflagrants).
- N'installez pas ces appareils après de sources de chaleur.
- Si des enfants de moins de 10 ans peuventapprocher des unités, prenez toutes les mesures nécessaires pour qu'ils ne puissant toucher à celles-ci.
- N'installez pas ces apparèils près de bords de mers, où la force concentration de Sel peut déterminer les parties metalliques provoquant des chutes de pieces ou des fuites d'eau provenant des unités.
- N'installez pas ces apparèils près d'une pièce contenant de l'huile minérale et sujette aux projections d'huile ou de vapeur (une cuisine par exemple). Cela pourrait déteriorer les parties plastiques et provoquérer la chute de pieces ou des fuites d'eau provenant des unités.
- N'installez pas ces apparèils dans un lieu de production de substances qui promontrent l'équipement, tel que le gaz sulfurique, le gaz de chlore, l'acide, ou l'alcali. Il fera corroder les tuyaux de cuivre et les joints causant la fuite de liquide réfrigerant.
- N'installez pas ces apparèils dans une zone où on produit de l'ammoniaque et où des animaux peuvent uriner sur l'unité extérieure.
- Installez l'unité interieure, l'unité extérieure, les cables d'alimentation, les cables d'interconnexion et les cables de la télécommande au minimum à 1 m d'une télévision ou d'un récepteur radio. Cette précaution est destinée à éviter les interférences sur le signal de réception de la télévision ou du bruit sur le signal radio (Cependant, même à plus d'1 m les signaux peuvent être encore perturbé).
- Prennez toutes les précautions nécessaires pour que l'unité ne tombe pas.
A VERTISSEMENT
- Assurez-vous que les murs ou plafonds pourront supporter le poids tant de l'unité interieure que de l'unité extérieure.
- L'unité extérieur ne doit pas être installée penchéée de plus de 5^ .
Accessoires non fournis
- Câble pour l'interconnexion électrique (4 conducteurs).
- Liaison cuivre recuit de type frigorifique dans les longueurs et diamètres ajustats.
Ruban adhésif pour le maintien des liaisons. - Bande toilée pour l'assemblage des tuyauteries.
- Bouchon pour obturer le passage mural du tuyau d'évacuation.
Colliers Rilsan et serre-cables. - Tuyau d'évacuation des condensats.
- Vis autotaraudeuses et vis à bois.
-
Mastic pour obturer l'espace entre les liaisons et les gains d'iso1ation.
-
Afin d'éviter tout risque de vibration ou de bruit parasite, utilisez pour une installation un mur de construction solide.
- L'entrée et la sortie d'air ne doivent enaucun cas etre obstruées.L'emplacement doit permettre une bonnerépartition de l'air climatisé dans le local.
- L'emplacement sera prévu de façon à permettre une maintenance aisée de l'appareil. Les figures ci-après donnent quelques cotes importantes à respecter qui permettront une installation facile et des interventions de dépannage sans problème.
- De même, vérifie qu'il sera aisé de changer le contrôle de l'unité.
- Evitez d'instructor l'appareil dans un endroit exposé aux rayons directs du soleil.
- Installez l'appareil dans un emplacement où il sera aisé d'installer un tuyau d'évacuation des condensats.

Fig. 135
3. INSTALLATION DE L'UNITÉ INTÉRIEURE
Le raccordement des liaisons frigorifiques peut s'effectuer dans les 6 directions indiquées dans la Fig. 136.
Quand le raccordement des lignes frigorifiques est connecté dans les directions ② et ⑤ , coupez sur le côté du panneau avant, le sillon prévu pour les conduites, à l'aide d'une scie à métaux.
Quand le raccordement des liaisons frigorifiques est connecté dans la direction ③ et ⑥, pratiquez une encoche dans la partie mince du panneau avant, à l'avant et vers le bas.

Fig. 136
- Installez le support mural de sorte qu'il soit correctement positionné horizontally et verticalément afin d'éviter l'écoulement des condensats au sol.
- Installez le support mural de sorte qu'il soit assez solide pour résister au poids d'un adulte.
- Accrochez le support mural à l'aide de 5 vis ou plus par les trous indiqués dans la figure suivante.
Assurez-vous qu'une fois fixé le support ne rouge pas.

Fig. 137

ATTENTION
- Installez le support mural horizontalement et perpendiculairement.
3.2. Comment préparez le passage des liaisons
- Percez un trou de 65 mm de diamètre dans le mur, à l'emplacement précisé sur la figure suivante.
- Veillez à toujours bien center le trou. Un alignment incorrect peut entraîner des fuites.
- Coupez une section de gaine à sceller correspondant à l'épaissur du mur, obturez-la avec un bouchon, fixez le bouchon à l'aide de ruban adhésif et insérez le tuyau dans le trou.
- Pour un raccordement à gauche et à droite, percez le trou un peu plus bas, de manière à ce que les condensats puissant s'écouler librement.

Fig. 138 - Raccordement à droite ou arrêté gauche

Fig. 139 - Raccordement à droit ou inférieure gauche


Fig. 140
AVERAGE
- En l'absence de gaine, le cable qui relié l'unité extérieure aux unités interieures risque d'être endommagé au contact d'une pièce métallique.
3.3.Passage du tuyau d'évacuation des condensats
L'unité interieure est fabriquée avec le tuyau d'évacuation des condensats connecté à gauche et le bouchon appliqué à droite.
- Enlevez les deux panneaux lateraux.
- Enlevez la vis et le collier de l'embout.
- Retirez le bouchon.
- Connectez le tuyau d'évacuation des condensats à droite, replacez les vis et permutez le bouchon à gauche.

Fig. 141

Fig. 142
Méthode d'installation du bouchon :
Utilisez une clé Allen (4 mm) pour insérer le bouchon comme indiqué sur la figure suivante.

Fig. 143
ATTENTION
- Pour aligner le tuyau d'évacuation des condensats et le bouchon, s'assurer de bien les insérer verticallement. Une inclinaison pourrait provoquer des fuites.
- Lors de l'insertion, s'assurer de n'attacher aucun autre matériel. Cela pourrait provoquer des dépréciations ou des fuites.
- Àprous avoir enlevé le tuyau d'évacuation des condensats, s'assurer de ne pas oublier de remettre en place le bouchon.
- S'assurer de bien fixer le tuyau d'évacuation des condensats avec l'isolant sur la partie basse du raccordement.
- Lors de l'installation, assurez-vous de prendre les précautions nécessaires afin d'empêcher l'eau des condensats de geler à de basse température. Un tuyau d'évacuation bloqué par de l'eau gelée peut entraîner une fuite d'eau pour l'unité interieure.
3.4. Installation de l'unité interieure
La fixation sur le mur, se fait à l'aide des crochets de l'unité interieure sur ceux du support mural.
A VERTISSEMENT
Fixez l'unité interieure à l'aide de 4 vis.
- Installez l'unité interieure à un endroit solide pouvant résister au poids d'un adulte.
- Dans les deux cas, une mauvaise installation, pourrait engendrer le basculement ou la chute de l'appareil.

Fig. 144
Fig. 145

Crochets de l'unité interieure (2 emplacements)
3.5. Encastrer l'unité interieure
- Lors de l'installation, utilisez un support avec des barres supérieures et inférieures horizontales étroites de sorte que le flux d'air des sorties d'air supérieure et inférieure n'entre pas en contact avec les barres.
-
Si les barres horizontallyBloquent la sortie d'air inférieure,utilisez une cale,pour ajuster la taille de l'unité interieure.
-
Si la sortie d'air supérieure ou inférieure est bloquée, le climatiseur ne pourrait pas refroidir ouCHAuffer la pièce correctement.
- Ne bloquez pas le récepteur infrarouge avec le support. Sinon, celui-ci interférera avec le signal de la télécommande et réduira de manière significative la distance des signaux pouvant être reçus.
Utilisez un support avec des barres verticales, que si l'espace ouvert représenté au moins 75% . Si le support a des barresizontales ou un espace ouvert inférieur à 75% , la performance peut être réduite. - Quand l'unité interieure est encastrée dans un mur, le temps pour que la température ambiente attigne la température de consigne est plus long que pour une installation normale.

Fig. 146

Fig. 147

ATTENTION
- Il est absolument nécessaire de régler la fonction n^ 23 sur la valeur 2 pour les installations encastrées (voir § «5. Fonctions et paramètres à régler», page 101).
3.6. Retrait et installation des panneaux droit et gauche
-
Retrait de la grille d'entrée d'air :
-
Ouvrez la grille d'entrée d'air.
- Retirez les attaches.
- Decrochez la grille d'entrée d'air.

Fig. 148

Fig. 149
-
Installation de la grille d'entrée d'air :
-
Mettez en place les crochets de la grille d'entrée d'air sur le panneau avant.
- Soulevez la grille de prise vers le haut.
-
Raccrochez les attaches.
-Fermezla grille. -
Retrait des panneaux droit et gauche :
-
Retirez la grille d'entrée d'air (se reporter au 1.).
- Retirez les 4 vis.
- Placez les doigs sur l'indication [<] signalée sur la figure suivante, tirez à l'avant, et décrochez le panneau.

Fig. 150

Fig. 151

Fig. 152
-
Installation des panneaux droit et gauche :
-
Replacez les crochets et repositionnez les panneaux.
- Replacez les 4 vis.
- Replacez la grille d'entrée d'air.
3.7. Câblage de l'interconnexion sur l'unité interieure
3.7.1. Schéma de câblage
| △ AVERTISSEMENT |
| • Chaque cable doit être connecté fermement. |
| • Les câbles ne devront pas toucher les liaisons frigori-fiques. |
| • Des câbles mal connectés au bornier peuvent être à l'origine d'une surtension ou de dysfonctionnements. |
| • Les câbles connectés doivent correspondre aux numé-ros des borniers. |

Fig. 153
3.7.2. Câblage de l'interconnexion sur l'unité intéérieure
- Dévissez la vis et retirez le couvercle du boitier électric.
- Retirez le serre-cable.

Fig. 154
- Dénudez les câbles et recoubez-les comme indiqué sur la figure suivante.

Fig. 155
- Insérez les cables d'interconnexion dans les borniers et serrez fermement les vis.

Fig. 156
- Attachez le cable d'interconnexion avec le serre-cable.

Fig. 157
4. FINITIONS
4.1. Isolation des liaisons frigorifiques
- Entourez les liaisons frigorifiques avec de l'isolant.
- Positionnez et vissez un collier pour maintainir ces dernières en place.

Fig. 158


Fig. 159 - Raccordement gauche

Fig. 160 - Raccordement à l'arrière gauche
4.2. Evacuation des condensats
- Remplissez l'espace entre l'orifice externe du trou qui traverse le mur et le tube avec du mastic d'étanchéité afin d'éviter l'entrée d'eau de pluie et du vent.
- Attachez le tuyau d'évacuation des condensats au mur extérieur.

Fig. 161




5. INSTALLATION DES KITS OPTIONNELS
Ce climatisation peut être connecté soit à une télécommande filaire UTY-RVNYM ou une télécommande filaire simplifiée UTY-RSNYM à l'aide d'un connecteur fourni avec la télécommande soit à un apparil externe à l'aide de contact entree et sortie (voir «1.2. Autres accessoires», page 63).
5.1. Avant l'installation de la télécommande filaire
- Lorsque vous utilisez la télécommande filaire, plusieurs fonctions ne pourront etre utilisées sur ce climatiseur.
ATTENTION
- Avant l'installation, assurez-vous d'avoir coupé l'alimentation.
- Ne pas toucher l'échangeur.
- Pendant l'installation et le démontage, assurez-vous de ne pas accrocher les fils ou de les tirer trop fort ou il peut en résultat des dommages au climatiseur.
ATTENTION
- Évitez les rayons directs du soleil.
- Choisissez un endroit qui ne sera pas soumis à la chaleur d'un four, etc.
- Àprous avoir installé la télécommande, vérifie que le climatiseur recoit bien le signal.
- Ne reliez pas la télécommande filaire au bornier d'alimentation.
- Lorsque vous reliez la télécommande filaire à l'unité interieure, utilisez le connecteur prévu à cet effet fourni avec la télécommande filaire.
- La longueur maximum de cable pour la télécommande filaire est de 10m . Assurez-vous d'isoler la connexion lorsque vous allongez le cable.
5.2. Modification du cable de la télécommande filaire
- Utilisez un outil adéquat pour couper l'extrémité du cable de la télécommande filaire et enlevez l'isolement.
- Connectez le cable et le connecteur fourni.

Fig. 162
Important : Assurez-vous d'isoler la connexion entre les deux.
5.3. Modification du contact entrée/sortie externe
- Dénudez les fils reliés au connecteur du contact externe et le cable non fourni. Utilisez un raccord isolé serti pour relier le cable et les fils du contact.
- Branchez les fils du contact et le cable.

Fig. 163 - Exemple contact sortie (CN20)
Important : Veillez à souder les cables et à isoler la connexion entre les fils.
5.4. Démontage du couvercle du boîtier électrique
- Référez-vous au §3.6 Retrait et installation des pan-neaux droit et gauche pour retirez le panneau gauche.
- Enlevez la couvercle du boîtier électrique puis la protection interieure.

Fig. 164
5.5. Connexion des cables sur la carte électronique
- Connectez le cable sur la carte électronique et placez le cable dans les crochets.

Fig. 165
| Type | N° du connecteur |
| Télécommande filaire ou filaire simplifiée | CN6 |
| Entrée externe (809 623) | CN14 |
| Sortie externe (894 053) | CN20 |
- Replacez le couvercle du boitier electrique.
- Fixez le cable de la télécommande filaire à l'aide d'un serre-cable et d'une vis. (Fourni avec la télécommande filaire)
- Fixez les cables des contacts entrée/sortie externes.

Fig. 166
- Installez le couvercle. Pour cela reportez-vous au § 5.5 Démontage du couvercle du boîtier électrique et faire la manipulation en sens inverse.
- Puis installez le panneau gauche. Pour cela, reportez-vous au § 3.6 Retrait et installation des panneaux droit et gauche et faire la manipulation en sens inverse.

Fig. 167
ARYG 7 LLT*
ARYG 9 LLT*
- n'est pas compatible avec l'AOYG 14 LAC2.
** ne sont pas compatibles avec l'AOYG 14 et 18 LAC2.
1. ACCESSORIES STANDARDS LIVRÉS AVEC L'APPAREIL
1.1. Accessoires pour la pose de l'unité interieure
Les accessoires d'installation suivants sont livrés avec les apparciels (sauf mention contraire). Utilisez-les conformément aux instructions.
ATTENTION
- Les accessoires standards sont systématiquement prênts dans les emballages.
Veillez a bien recupérer accessoires et notices avant de vous debarrasser des emballages.
| Désignation | Forme | Qté | Usage |
| Gabarit | 1 | Pour le positionnement de l'unité intérieure. | |
| Rondelle | 8 | Pour suspendre l'unité intérieure. | |
| Manchon isolant | 1 (grand) | Isolation du raccord frigorifique de l'unité intérieur (gaz). | |
| 1 (petit) | Isolation du raccord frigorifique de l'unité intérieur (liquide). | ||
| Collier Rilsan | 3 (moyen) | Pour attacher le cable d'alimentation, de la télé-commande et d'intéconnexion. | |
| 4 (grand) | Pour fixer les manchons. | ||
| Filtre | 2 (petit) | Modèle ARYG 7 / 9 / 12 / 14 | |
| 2 (grand) | Modèle ARYG 18 | ||
| Adaptateur | 1 | Pour connecter le tuyau d'évacuation des condensats. | |
| Collier de serrage | 1 | Pour fixer l'adaptateur. | |
| Isolant B | 1 | Pour isoler l'adaptateur. | |
| Télécommande filaire | 1 | Pour commander l'appareil. | |
| Câble de la télécommande | 1 | Pour la connexion de la télécommande. | |
| Vis autotaraudeuse (M4 x 16 mm) | 2 | Pour l'installation de la télécommande. |
1.2. Autres accessoires
| Désignation | Forme | Usage |
| Télécommande filaire UTY-RVNYM Code 875 019 | Cette télécommande vous permet d'effectuer une programmation hebdomadaire et d'afficher les fonctions dans la langue de votrechoix parmi 9 langues différentes (reportez-vous à la notice d'installation NI 923 095). Prévoir une télécommande par unité interieure. | |
| Télécommande filaire simplifiée UTY-RSNYM Code 809 459 | La télécommande filaire simplifiée est d'une grande facilité d'utilisation et permet d'accéder aux fonctions basiques du climatiseur (mode de fonctionnement, température de consign...)(Reportez-vous à la notice d'installation NI 923 083). Prévoir une télécommande par unité interieure. | |
| Télécommande et récepteur infrarouge UTY-LRHYM Code 809 457 | Commande de l'appareil (reportez-vous à la NI 923 082) | |
| Sonde déportée UTY-XSZX Code 809 742 | Pour mesure la température d'ambiance. | |
| Contact entrée (CN 102) Code 809 623 | Pour commande externe sur la carte électronique de l'unité interieure. (*A commander au SAV - n° 04 72 10 27 50). | |
| Contact sortie (CN 103) Code 894 053* | ||
| Grille intelligente UTD-GXSA Code 809526 | - |
2. CHOIX DE L'EMPLACEMENT DES UNITS
Le choix de l'emplacement est une chose particulièrement importante, car un déplacement ultérieur est une opération spécifique, à mener par du personnel qualifié.
Décide de l'emplacement de l'installation après discussion avec le client.
ATTENTION
- N'installez jamais ces apparèils à un endroit où des fuites de gaz ou de combustibles gazeux pourraient advenir (ces apparèils ne sont pas antidéflagrants).
- N'installez pas ces appareils après de sources de chaleur.
- Si des enfants de moins de 10 ans peuventapprocher des unités, prenez toutes les mesures nécessaires pour qu'ils ne puissant toucher à celles-ci.
- N'installez pas ces apparèils près de bords de mers, où la force concentration de Sel peut déterminer les parties metalliques provoquant des chutes de pieces ou des fuites d'eau provenant des unités.
- N'installez pas ces apparèils près d'une pièce contenant de l'huile minérale et sujette aux projections d'huile ou de vapeur (une cuisine par exemple). Cela pourrait déteriorer les parties plastiques et provoquérer la chute de pieces ou des fuites d'eau provenant des unités.
- N'installez pas ces apparèils dans un lieu de production de substances qui prompressent l'équipement, tel que le gaz sulfurique, le gaz de chlore, l'acide, ou l'alcali. Il fera corroder les tuyaux de cuivre et les joints causant la fuite de liquide réfrigerant.
- N'installez pas ces apparèils dans une zone où on produit de l'ammoniaque et où des animaux peuvent uriner sur l'unité extérieure.
- Installez l'unité interieure, l'unité extérieure, les cables d'alimentation, les cables d'interconnexion et les cables de la télécommande au minimum à 1 m d'une télévision ou d'un récepteur radio. Cette précaution est destinée à éviter les interférences sur le signal de réception de la télévision ou du bruit sur le signal radio (Cependant, même à plus d'1 m les signaux peuvent être encore perturbé).
- Prendre toutes les précautions nécessaires pour que l'unité ne tombe pas.
A VERTISSEMENT
- Assurez-vous que les murs ou plafonds pourront supporter le poids tant de l'unité interieure que de l'unité extérieure.
- L'unité extérieur ne doit pas être installée penchéée de plus de 5^ .
Installation de I'unité interieure
- Choisissez un support épais et insensible aux vibrations, à un emplacement susceptible de supporter le poids de l'installation.
- L'entrée et la sortie d'air ne doivent enaucun cas etre obstruées.
- Installez l'unité interieure de façon à permettre une connexion aisée vers l'unité extérieure.
- Installez l'unité interieure de façon à permettre une connexion aisée vers l'unité extérieure.
- Installez l'appareil dans un emplacement où il sera aisé dinstaller les tuyaux gaz, liquide et d'évacuation des condensats.
- Ne pas installez l'appareil dans un lieu où les vibrations et le bruit seront amplifiés.
- Prévoyez un accès facile aux filtres et au boîtier de commande pour la maintenance.
- Tenez compte de l'entretien et de la maintenance dans le choix de l'emplacement. Laissez suffisamment d'espace pour que l'accès au climatiseur soit aisé, notamment pour retarder les filtres.
3. INSTALLATION DE L'UNITÉ AU PLAFOND
3.1. Dimensions de l'installation
Prendre en compte la maintenance et laisser suffisamment d'espace autour de l'unité interieure (Fig. 168 et Fig. 169). Vérifier également qu'il est possible de changer les filtres.

Fig. 168

Fig. 169

Fig. 170
3.2. Installation de l'unité intérieure
Installez le climatiseur comme indiqué ci-après.
Le suivi de cette procédure vous garantit une bonne installation.
ATTENTION
- Choisissez un emplacement pour l'installation de l'unité interieure suffisamment solide pour supporter au moins 5 fois son poids.
- Vérifiez que ce support ne risque pas de propagated les vibrations de l'appareil.
3.2.1. Exemple d'installation au plafond
Connexion des gains (non fournis)
-
Entrée sur le côté
-
Installez la gaine (non fourni) sur la bride d'entrée.
Fixez la bride sur le chassis à l'aide de vis (non fournis). - Attachez la bride et la gaine à l'aide d'adhésif aluminium pour éviter toute fuite d'air.
ATTENTION
- Lorsque la gaine est installée sur l'entrée, ne pasmettre les filtres livrés en accessoire mais acheter d'autres filtres pourmettre à l'extrémité de la gaine.
2.Sortie sur le cote
- Installez la gaine en l'ajustant sur la bride de sortie.
- Attachez la bride et la gaine à l'aide d'adhésif aluminium pour éviter toute fuite d'air.
- Isolez les gains afin d'éviter la condensation.
| ATTENTION |
| • Vérifiez que les gains supportent la pression statique externe de l'appareil. |
| • Assurez-vous d'isoler les gains afin d'éviter la condensation. |
| • Assurez-vous d'isoler entre les gains et les murs si vous utilisez des gains métalliques. |
| • Veuillez expliquer les méthodes de manipulation et de lavage du matériel acheté au client. |
| • Pour empêcher les utilisateurs de toucher les parties intérieures de l'unité intérieure, il faut installer des grilles sur l'entrée et la sortie de l'appareil. Ces grilles ne dévront s'enlever qu'à l'aide d'outils. |
| • Lorsqu'on branche la gaine sur la sortie de l'unité intérieure, il faut éviter toutes possibilités de fuites d'eau (condensation). |
| • La pression statique à l'extérieur doit être inférieure à 90 Pa (la plage disponible est comprise entre 0 et 90 Pa). |
Replacez le couvercle comme suit :
- Enlevez les vis, et ensuite enlevez le couvercle et la grille de protection du ventilateur.
- Puis installez le couvercle comme indiqué sur la Fig. 171.

Fig. 171
| Modèle | Vis M5 |
| ARYG 7 / 9 / 12 / 14 | 9 |
| ARYG 18 | 11 |

Fig. 174 - Reprise directe - Soufflage à l'avant

Fig. 175 - Dimensions bride soufflage

Fig. 172 - Reprise à l'arrière - Soufflage à l'avant

Fig. 173 - Reprise direct avec gaine - Soufflage à l'avant

Fig. 176 - Dimensions bride de reprise
- Installez les filtres sur l'unité interieure comme indiqué sur les Fig. 177 et Fig. 178.

Fig. 177

Fig. 178
3.2.3. Positionnement des trous et installation des boulons d'ancrage
- Utilisez le gabarit pour pouvoir positionner les 4 trous à percer.

Fig. 179

Fig. 180 - ARYG 7 9 12 14 et 18
| ARYG 7 / 9 / 12 / 14 | ARYG 18 | |
| A | 734 mm | 934 mm |
3.2.4. Installation de l'unité interieure
- Fixation de l'unité interieure

Fig. 181

Fig. 182
2. Mise à niveau de l'unité interieure
Déterminez l'horizontal en positionnant le niveau sur le dessus de l'appareil.

Fig. 183




ATTENTION
- Laissez un espace de 100 mm ou plus entre l'orifice d'entrée et le plafond.
- Attachez l'unité solidement avec les écrous spéciaux A et B.
4. INSTALLATION DE L'UNITÉ AU SOL
4.1. Dimensions de l'installation
La position au sol nécessite une compensation de température. Se reporter au § «5. Fonctions et paramètres à régler», page 101.

Fig. 184


Fig. 185

4.2. Installation de l'unité interieure
Installez le climatiseur comme indiqué ci-après.
Le suivi de cette procédure vous garantit une bonne installation.
ATTENTION
- Choisissez un emplacement pour l'installation de l'unité interieure suffisamment solide pour supporter au moins 5 fois son poids.
- Vérifiez que ce support ne risque pas de propagated les vibrations de l'appareil.
4.2.1. Exemple d'installation au plafond
Connexion des gains (non fournis)
1. Entrée sur le côté
- Installez la gaine (non fourni) sur la bride d'entrée.
Fixez la bride sur le chassis à l'aide de vis (non fournis). - Attachez la bride et la gaine à l'aide d'adhésif alumi-nium pour éviter toute fuite d'air.
ATTENTION
- Lorsque la gaine est installée sur l'entrée, ne pasmettre les filtres livrés en accessoire mais acheter d'autres filtres pourmettre à l'extrémité de la gaine.
2.Sortie sur le cotoé
- Installez la gaine en l'ajustant sur la bride de sortie.
- Attachez la bride et la gaine à l'aide d'adhésif aluminium pour éviter toute fuite d'air.
- Isolez les gains afin d'éviter la condensation.
ATTENTION
- Vérifiez que les gains supporte la pression statique externe de l'appareil.
Assurez-vous d'isoler les gains afin d'éviter la condensation. - Assurez-vous d'isoler entre les gains et les murs si vous utilisez des gains métalliques.
- Veuillez expliquer les méthodes de manipulation et de lavage du matériel acheté au client.
- Pour empêcher les utilisateurs de toucher les parties interieures de l'unité interieure, il faut installer des grilles sur l'entrée et la sortie de l'appareil. Ces grilles ne devront s'enlever qu'à l'aide d'outils.
- Lorsqu'on branche la gaine sur la sortie de l'unité interieure, il faut éviter toutes possibilités de fuites d'eau (condensation).
- La pression statique à l'extérieur doit être inférieure à 90 Pa (la plage disponible est comprise entre 0 et 90 Pa).
Replacez le couvercle comme suit :
- Enlevez les vis, et ensuite enlevez le couvercle et la grille de protection du ventilateur.
- Puis installez le couvercle comme indiqué sur la figure suivante.

Fig. 186
| Modèle | Vis M5 |
| ARYG 7 / 9 / 12 / 14 | 9 |
| ARYG 18 | 11 |
4.2.2. Installation desfiltres
- Installez les filtres sur l'unité interieure comme indiqué sur les Fig. 187 et Fig. 188.

Fig. 187

Fig. 188
- Déplacez le bouchon comme indiqué sur la figure suivante.

Fig. 189

ATTENTION
- Paramétrrez le § «7. Paramétrage des points», page 87.
- La pompe de relevage ne peut etre utiliser lors d'une installation au sol.
4.2.3. Installation de l'unité interieure
1. Fixation de l'unité interieure
Pour prévenir tout risque de chute, fixez bien l'unité interieure au sol ou au mur.
Pour éviter toute vibration sur l'unité interieure, insérrez une entreose entre l'unité interieure et le sol ou le mur et fixez-la.
2. Mise à niveau de l'unité interieure
Déterminez l'horizontal en positionnant le niveau sur le dessus de l'appareil.

Fig. 190

Fig. 191




ATTENTION
- Attachez l'unité solidement avec les écrous spéciaux A et B.
4.3. Installation de l'iso1ation calorifique
- Àprous avoir vérifié qu'aucune fuite de gaz ne se produit, isolez les 2 parties des raccords frigorifiques sur les petits et gros tuyaux avec un manchon isolant.
- Terminatez l'isolation en fixant le manchon aux deux extrémités au moyen de colliers rilsan comme indiqué la Fig. 192.
- Enveloppez les deux extrémités des manchons avec du ruban adhésif vinyle de manière à ce qu'il n'y ait pas d'espace.

Fig. 192

ATTENTION
- L'isolant doit s'adapter étroitement sans espace.
5. MISE EN PLACE DU TUYAU D'EVACUATION DES CONDENSATS

ATTENTION
- Effectuez l'installation du tuyau d'évacuation des condensats conformément aux indications fournies. En particulier, veillez à intervenir dans un environnement suffisamment tempéré pendant l'installation du tuyau d'évacuation des condensats afin d'eviter que des problèmes de condensation entraînant des fuites d'eau.
Utilisez de la collie pour tube PVC pour connecter le tuyau d'évacuation des condensats afin qu'il n'y ait pas de fuites. Utilisez un tuyau d'évacuation des condensats avec le diamètre indiqué dans le tableau 19.
- Ne pas creer de remontee, de piège ou de prise d'air.
- Prévoyez une légère pente (1/100 ou plus).
- Prévoyez des supports tout le long du tube.
- Utilisez un isolant pour éviter la condensation ou le gel.
- Toujours isoler le tube d'évacuation des condensats côte interieur (épaisseur 8 mm ou plus).
Tableau 19
| Ø extérieur | |
| Tuyau d'évacuation des condensats | 32 mm |

Fig. 193 - Installation au plafond
OK

MAUVAIS

Fig. 194

MAUVAIS

Fig. 195 - Installation au sol
OK

MAUVAIS

MAUVAIS
ATTENTION
- La pompe de releavage ne peut etre utiliser lors d'une installation au sol.
- Paramétrrez le § «7. Paramétrage des Ponts», page 87.
- Assurez-vous de connecter les tuyaux pour l'évacuation des condensats sans possibilité de fuites.
- Pour éviter la condensation et le ruisselement, il faut toujours isoler l'évacuation des condensats de l'unité interieure.
Prévoyez un écoulement avec une pente de 1/50 à 1/100 minimum, sans remontée ni siphon.
- Utilisez du tube PVC rigide pour évacuation et connectez-le avec de la bande adhéasive afin d'eviter les risques de fuite.
Si le tube est long, prévoyez des suspentes.
- Pas de prise d'air!
- Isolez le tube dans sa partie à l'intérieur des locaux pour éviter la condensation.

Fig. 196

Observe la méthode suivante pourmettre en commun les tuyaux dévaccuations de plusieurs unités interieures.

Fig. 197
A VERTISSEMENT
- Ne pas relier le tuyau d'évacuation des condensats à un égout, là où du gaz sulfureux se forme. (Une érosion de l'échangeur pourrait se produit.)
- Isolez les pièces correctement afin que de l'eau ne puisse s'écouler au niveau des raccordement de cellesci.
- Vérifiez l'évacuation après la réalisation par l'utilisation de la portion transparente de la sortie de l'évacuation et la sortie du tuyau d'évacuation.
ATTENTION
- Ne pas appliquer d'adhésif sur la sortie d'évacuation de l'unité. (Utilisez l'adaptateur fourni et reliez la tuyau d'évacuation des condensats.)
Méthode d'installation du tuyau d'évacuation des condensats
- Assurez-vous d'utiliser l'adaptateur ① et le collier de serrage ② fournis.
(l'installation est la même quel que soit le côtéChoisi pour l'évacuation des condensats).

Fig. 198
- Lorsque une pompé de releavage est utilisée (Installation au plafond).

Fig. 199
- Lorsque une pompé de releavage n'est pas utilisée (Evacuation naturelle).

Fig. 200
ATTENTION
-
Lorsque une pompe de releavage n'est pas utilisée, ne pas connecter l'adaptateur livre en accessoire et le tuyau PVC dure directement.
-
Insérez l'adaptateur ① jusqu'à ce qu'il但她ne contre le bac d'évacuation des condensats.

Fig. 201

Fig. 202
Serrez le collier de serrage ② en positionnant la vis à la verticale. La vis doit être positionnée du côte droit de l'adaptateur ① comme indiqué ici.
ATTENTION
-
Ne pas connecter à l'orifice d'évacuation avec du ruban adhésif, cela peut cause des dégats et des fuites d'eau.
-
ÀpRES avoir installé l'adaptateur ①, vérifie si l'évacuation est régulière.
-
Lorsque une pompé de releavage n'est pas utilisée (Evacuation naturelle).

Fig. 203

Fig. 204
ATTENTION
-
Pour empêcher qu'il y ait trop de tension sur l'adaptateur, évitez de le plier ou de le vriller, cela peut cause des fuites.
-
ÀpRES avoir vérifié l'évacuation des condensats, attachez l'isolant B ③ comme indiqué Fig. 205 à Fig. 209. Pour éviter qu'il y ait de l'espace entre l'adaptateur ① et le collier de serrage ②, appuyez fermement sur l'isolant B ③.
-
Lorsque une pompé de releavage est utilisée (Installation au plafond).

Fig. 205
- Lorsque une pompé de releavage n'est pas utilisée (Evacuation naturelle).

Fig. 206
- Etape 1 à 3

Fig. 207

Fig. 208
Fig. 209

- Finition
Vérifiez qu'il n'y ait aucun espace entre l'unité interieure et l'isolant du tuyau d'évacuation des condensats.
- Lorsque une pompé de releavage est utilisé (Installation au plafond).

Fig. 210
- Lorsque une pompé de releavage n'est pas utilisée (Evacuation naturelle).

Fig. 211
Vérification de l'écoulement normal de l'eau de condensation :
Versez un peu d'eau doucement dans l'appareil avec une pissette pour vérifier le bon fonctionnement de la pompe de relevage et s'il n'y a pas de bruit anormal (Fig. 212).

Fig. 212

ATTENTION
- S'assurer que l'évacuation des condensats se fasse convenablement.
6. CÁBLAGE ÉLECTRIQUE
6.1. Schéma de câblage
| △ AVERTISSEMENT |
| • Chaque cable doit être connecté fermement. |
| • Les cables ne devront pas toucher les liaisons frigori-fiques |
| • Des cables mal connectés au bornier peuvent être à l'origine d'une surtension ou de dysfonctionnements. |
| • Les cables connectés doivent correspondre aux numé-ros des borniers. |

Fig. 213

Fig. 214

Fig. 215
6.2. Câblage de l'interconnexion sur l'unité intérieure
- Retirez le couvercle du boitier électrique et installez les câbles d'interconnexion.

Fig. 216
- Connectez le cable d'interconnexion et le cable d'alimentation sur le bornier spécifique et fixez les cables à l'aide d'un collier rilsan.

Fig. 217

Fig. 218
7. PARAMÉTRAGE DES PONTS
7.1. Paramétrage de la fonction d'évacuation des condensats (JM1)
En cas de non-utilisation de la pompe d'évacuation des condensats fournie, paramétrrez le switch sur «Invalide».
| JM1 | Fonction évacuation des condensats |
| Connecté* | Valide |
| Déconnecté | Invalide |
*paramétrage en usine
7.2. Paramétrage de la fonction temporisation du ventilateur (JM3)
Cette fonction permet de retarder l'arrêt du ventilateur en mode froid quand le climatiseur est arrêté.
| JM3 | Fonction temporisation du ventilateur |
| Connecté* | Invalide |
| Déconnecté | Valide |
*paramétrage en usine
Fig. 219 - Position des Ponts

Le paramétrage du JM 2 est interdit.
8. ACCESSORIES EN OPTION
Ce climatisation peut être connecté soit à une télécommande filaire UTY-RVNYM, une télécommande filaire simplifiée UTY-RSNYM, Telecommande et réceptein infrarouge UTY-LRHYM, une sonde déportée UTY-XSZX ou à l'aide d'un connecteur fourni avec la télécommande soit à un apparéil externe à l'aide de contact entree et sortie (voir «1.2. Autres accessoires», page 74).
8.1. Contacts entrée/sortie externe
- Dénudez les fils reliés au connecteur du contact externe et le cable non fourni. Utilisez un raccord isolé serti pour relier le cable et les fils du contact.
- Branchez les fils du contact et le cable.

Fig. 220 - CN 103 contact sortie
Important : Veillez à souder les cables et à isoler la connexion entre les fils.

Fig. 221 - Connecteurs

Fig. 222 - Câblage
8.2. Sonde déportée
- Retirez le contact existant et remplacez-le par le contact de la sonde déportede (assurez-vous d'utiliser le contact approprié).
- Le contact d'origine doit être isolé pour qu'il ne touche pas les circuits électriques.
Paramétrage de la correction de la température de la pièce
Lorsque la sonde déportée est connectée, configrez le paramétrage des fonctions de l'unité interieure comme indiqué ci-dessous.
- Réglez le numéro de fonction «30» (déclencheur de tempérapure mode froid) sur «01».
- Réglez le numéro de fonction «31» (déclencheur de température mode chaud) sur «01».

Fig. 223

8.3. Télécommande et récepteur infrarouge UTY-LRHYM
- Connectez le cable du récepteur à la borne du récepteur (CN13).

Fig. 224

Fig. 225
8.4. Grille intelligente (UTD-GSXA-W en option)
- Coupez le pont JM2 et connectez le cable de la grille intelligente sur le connecteur (CN11).

Fig. 226
8.5. Fixation de tous les câbles
- N'attachez pas le cable d'alimentation avec d'autres cables.

Fig. 227
- Utilisez un collier fourni dans l'unité interieure ou dans l'accessoire.
** Passe cable fourni dans la grille d'intelligente.

ATTENTION
- Pour protégger les câbles après ouverture d'un trou, enlevez toutes les Bavures qui ont pu se former.
ARYG 07 LSL
ARYG 09 LSL
ARYG 12 LSL
1. ACCESSORIES
1.1. Accessoires pour la pose de l'unité interieure
Les accessoires d'installation suivants sont livrés avec les apparciels (sauf mention contraire). Utilisez-les conformément aux instructions.
ATTENTION
- Les accessoires standards sont systématiquement présents dans les emballages.
Veillez a bien recupérer accessoires et notices avant de vous débarrasser des emballages.
| Désignation | Forme | Qté | Usage |
| Gabarit | 1 | Pour le positionnement de l'unité intérieure. | |
| Rondelle | 8 | Pour suspendre l'unité intérieure. | |
| Manchon isolant | 1 (grand) | Isolation des raccords frigorifiques de l'unité intérieure (gaz). | |
| 1 (petit) | Isolation des raccords frigorifiques de l'unité intérieure (liquide). | ||
| Collier rilsan | 2 (moyen) | Pour attacher le cable de la télécommande et d'interconnexion. | |
| 4 (grand) | Pour fixer les manchons. | ||
| Filtre | 2 (petit) | - | |
| Adaptateur | 1 | Pour connecter le tuyau d'évacuation des condensats. | |
| Collier de serrage | 1 | Pour fixer l'adaptateur. | |
| Isolant B | 1 | Pour isoler l'adaptateur. | |
| Télécommande avec accessoires | 1 | Pour commander l'appareil. |
1.2. Accessoires en option
| Désignation | Référence | Code | Usage |
| Télécommande filaire | UTY-RVNYM | 875 019 | Cette télécommande vous permet d'effectuer une programmation hebdomadaire et d'afficher les fonctions dans la langue de votrechioix parmi 9 langues différentes (reportez-vous à la notice d'installation NI 923 095). Prévoir une télécommande par unité interieure. |
| Télécommande filaire simplifiée | UTY-RSNYM | 809 459 | La télécommande filaire simplifiée est d'une grande facilité d'utilisation et permet d'acceder aux fonctions basiques du climatisationur (mode de fonctionnement, température de consign...) (Reportez-vous à la notice d'installation NI 923 083). Prévoir une télécommande par unité interieure. |
| Unité de réception infra- rouge | UTY-LBTYM | 875 047 | Kit constitué d'un récepteur infra-rouge et de sa télécommande infra-rouge (reportez-vous à la notice NI 923 105). |
| Sonde déportée | UTY-XSZX | 809 742 | Pour mesurer la température ambiente. |
| Interfaces Wi-Fi W-LAN | UTY-TFSXZ1 | 875 100 | Pour une application via le Wi-Fi. |
| Kit de connexion externe | UTY-XWZXZG | 875 059 | Pour la commande sortie. |
| Grille intelligente | UTD-GXSA-W | 809 526 | - |
2. CHOIX DE L'EMPLACEMENT DE L'UNITÉ
Le choix de l'emplacement est une chose particulièrement importante, car un déplacement ultérieur est une opération delicate, à mener par du personnel qualifié.
Décide de l'emplacement de l'installation après discussion avec le client.
ATTENTION
- Assurez-vous que les murs pourront supporter le poids des unités interieures, pour éviter leurs chutes et des blessures eventuelles.
AVERTISSEMENT
Ne pas installer l'unité interieure dans les lieux suivants :
- Les bords de mer, où la force concentration de Sel peut déterminer les parties métalliques provoquant des chutes de pieces ou des fuites d'eau provenant des unités.
- Une pièce contenant de l'huile minérale et sujette aux projections d'huile ou de vapeur (une cuisine par exemple). Cela pourrait déteriorer les parties plastiques et provoquerait la chute de pieces ou des fuites d'eau provenant des unités.
- Lieu de production de substances qui promottent l'équipement, tel que le gaz sulfurique, le gaz de chlore, l'acide, ou l'alcali. Il fera corroder les tuyaux de cuivre et les joints causant la fuite de liquide réfrigérant.
- Une zone où on produit de l'ammoniaque et où des animaux peuvent uriner sur l'unité extérieure.
- Un endroit avec des fuites de gaz combustible, contenant les fibres de carbone ou des poussières inflammables en suspension, ou des particules volatiles inflammables tels que du diluant pour peinture ou de l'essence. Si le gaz fuit et se repand autour de l'unité, il peut s'enflammer.
- Ne pas utiliser l'unité pour des cas spéciaux, comme le stockage de nourriture, les plantes etc... Cela peut dégrader la qualité des objets stockés.
- Ne pas installer l'unité pres d'une source de chaleur, vapeur ou de gaz inflammable.
-
Ne pas installer l'unité interieure dans un endroit où il y a un risque de fuite de gaz dangereux.
-
Installez l'unité interieure, l'unité extérieure, les cables d'alimentation, les cables d'interconnexion et les cables de la télécommande au minimum à 1 m d'une télévision ou d'un récepteur radio. Cette précaution est destinée à éviter les interférences sur le signal de réception de la télévision ou du bruit sur le signal radio (cependant, même à plus d'1 m les signaux peuvent être encore perturbés).
- Si des enfants de moins de 10 ans peuvent approcher des unités, prenez toutes les mesures nécessaires pour qu'ils ne puissant toucher à celles-ci.
-
Preindre des précautions pour éviter la chute de l'unité interieure.
-
Choisissez un support épais et insensible aux vibrations, à un emplacement susceptible de supporter le poids de l'installation.
- L'entrée et la sortie d'air ne doivent enaucun cas être obstruées.
- Installez l'unité interieure de façon à permettre une connexion aisée vers l'unité extérieure.
- Installez l'unité interieure de façon à permettre une connexion aisée vers l'unité extérieure.
- Installez l'appareil dans un emplacement où il sera aisé d'installer les tuyaux gaz, liquide et d'évacuation des condensats.
- Ne pas installer l'appareil dans un lieu où les vibrations et le bruit seront amplifiés.
- Prévoyez un accès facile aux filtres et au boîtier de commande pour la maintenance.
- Tenez compte de l'entretien et de la maintenance dans le choix de l'emplacement. Laissez suffisamment d'espace pour que l'accès au climatiseur soit aïse, notamment pour retarder les filtres.
3. INSTALLATION DE L'UNITÉ AU PLAFOND
3.1. Dimensions de l'installation
Prendre en compte l'espace de maintenance et laisser suffisamment d'espace autour de l'unité interieure.

Fig. 228
Fig. 229 Prise d'air latérale


Fig. 230 Prise d'air par dessous
Ajustez la direction de souffrage en fonction de la forme de la pierce et de l'emplacement.

Fig. 231
3.2. Installation de l'unité interieure
Installez le climatiseur comme indiqué ci-après.
Le suivi de cette procédure vous garantit une bonne installation.
| ATTENTION |
| L'installation de l'unité doit être effectuée par un nombre de personnes suffisant et avec un équipement ajustat pour le poids de l'unité. Un nombre insuffisant de personnes ou avec des outils inadéquats risque de cause la chute de l'unité ou des dommages corporels. |
| Si l'unité est fixée uniquement à l'aide de la façade, il existe un risque que l'unité se détache. |
| Confirmez les directions de reprise d'air et de sortie d'air avant l'installation de l'unité. |
3.2.1. Exemple d'installation au plafond
Connexion des gains (non fourni)
-
Entrée sur le côté
-
Installez la gaine (non fourni) sur la bride d'entrée.
Fixez la bride sur le chassis à l'aide de vis (non fourni). - Attachez la bride et la gaine à l'aide d'adhésif alu-minium pour éviter toute fuite d'air.
ATTENTION
- Lorsque la gaine est installée sur l'entrée, ne pasmettre les filtres livrés en accessoire mais acheterd'autres filtres pourmettre à l'extrémité de la gaine.
2.Sortie sur le cotoé
- Installez la gaine en l'ajustant sur la bride de sortie.
- Attachez la bride et la gaine à l'aide d'adhésif aluminium pour éviter toute fuite d'air.
- Isolez les gains afin d'éviter la condensation.
ATTENTION
Vérifiez que les gains supportent la pression statique externe de l'appareil.
Assurez-vous d'isoler les gains afin d'éviter la condensation.
Assurez-vous d'isoler entre les gains et les murs si vous utilisez des gains métalliques.
Veuillez expliquer les méthodes de manipulation et de lavage du matériel acheté au client.
Pour empêcher les utilisateurs de toucher les parties interieures de l'unité interieure, il faut installer des grilles sur l'entrée et la sortie de l'appareil. Ces grilles ne devront s'enlever qu'à l'aide d'outils.
Lorsqu'on branche la gaine sur la sortie de l'unité interieure, il faut éviter toutes possibilités de fuites d'eau (condensation).
- Modèles ARYG 07 09 12 : La pression statique doit être comprise entre 0 et 30 Pa.
- Modèles ARYG 14 18 : La pression statique doit être comprise entre 0 et 50 Pa
Replacez le couvercle comme suit :
-
Enlevez les vis (6 vis pour les tailles 07, 09, 12, 14 et 7 vis pour le modele 18)
-
Enlevez le couvercle et la grille de protection du ventilateur.
- Puis installez le couvercle comme indiqué sur la figure suivante.

Fig. 232


Fig. 233 - Entrée sur le côte - Sortie sur le côte

Fig. 234 - Entrée sur le côte - Sortie sur le côte avec gaine

Fig. 235 - Entrée par le dessous - Sortie sur le côté

Fig. 236 - Sortie sur le côté

Fig. 237 - Entrees sur le cote
| ARYG 7 9 12 14 | |
| A | 650 mm |
| B | P200x2=400mm |
3.2.2. Installation des filtres
- Installez les filtres sur l'unité interieure comme indiqué sur les Fig. 238 et Fig. 239.

Fig. 238

Fig. 239
3.2.3. Positionnement des trous et installation des boulons d'ancrage
- Utiliser le gabarit pour pouvoir positionner les 4 trough a percer.

Fig. 240

Fig. 241 -
| ARYG 07 09 12 14 | |
| A | 752 mm |
3.2.4. Installation de I'unité interieure
- Fixation de l'unité interieure

Fig. 242
Fig. 243

Si le boulon d'ancrage dépasse de 20 mm, l'ouverture et la fermeture du coffret électrique du gainable sera difficile. De même pour l'accès à la pompe de releavage (maintenance, remplacement...).
- Mise à niveau de l'unité interieure
Déterminez l'horizontal en positionnant le niveau sur le dessus de l'appareil.

Fig. 244



ATTENTION
- Attachez l'unité solidement avec les écrous spéciaux A et B.
4. INSTALLATION DES LIAISONS FRIGORI-FIQUES
ATTENTION
- Faites attention qu'il n'y ait pas de poussières qui penènt ren dans les liaisons.
- Quand vous stockez les liaisons, voirlez à les protégger (bouchon ou adhésif).
- Soudez en utilisant de l'azote à travers les liaisons.
4.1. Choix des liaisons
ATTENTION
N'utilisez pas des liaisons usagées.
Utilisez des liaisons propres à l'intérieur et à l'extérieur (Poli intérieurment, déshydratée et bouchonnée), sans substances susceptibles de générer des problèmes lors de l'utilisation (sulfure, oxyde, poussière, chutes de découverte, huile ou eau).
-
Utilisez exclusivement du tube spécifique pour utilisation frigorifique :
-
Cuivre recuit à forte teneur en cuivre (99% minimum).
Il est souhaitable que la quantité d'huile résiduelle soit inférieure à 40 mg/10 m.
N'utilise pas de liaisons écrasées, déformées ou décolorées (en particulier à l'intérieur). Sinon, la vanne de détente ou le tube capillaire pourrait être obstrués.
Un mauvais choix de liaisons provoquera de faibles performances. Il est nécessaire de désirir des matériaux adaptations au fluide frigorigène R410A (pression plus élevé).
- Les épaiseurs des liaisons sont indiquées dans le tableau 1.
- N'utilisez pas de liaisons plus fines.
Tableau 20
| Diamètre des liaisons | Epaisseur |
| 6,35 mm (1/4") | 0.80 mm |
| 9,52 mm (3/8") | 0.80 mm |
| 12,70 mm (1/2") | 0.80 mm |
| 15,88 mm (5/8") | 1.00 mm |
4.2. Exigences pour les liaisons
ATTENTION
- Référez-vous à la notice d'installation de l'unité extérieure pour connaître la longueur de raccordement de la liaison ou le dénivèle.
AVERAGEMENT
- Procedez à l'isolement thermique des liaisons gaz et liquide afin d'éviter toute condensation.
- Utilisez des manchons isolants d'une résistance à la chaleur supérieure à 120^ .
- En complément, si le niveau d'humidité aux endroits ou le passage des tuyaux frigorifiques risque d'exéder 70%, protégez ces derniers avec des manchons isolants. Utilisez un manchon plus épais de 15 mm si l'humidité atteint 80%, et un manchon plus épais de 20 mm si l'humidité dépasse 80%.
AVERAGEMENT
- Si les écâpaisseurs recommendées ne sont pas respectées dans les conditions décrites précédemment, de la condensation se formera à la surface des isolants.
- Enfin, veillez à utiliser des manchons isolants dont les caractéristiques de conductivité calorifique seront égale à 0,045 W/(m.K) ou inférieure si la température égale 20^ .
4.3. Raccordement des liaisons
4.3.1. RÉalisation des évasements
- Coupez les liaisons avec un coupe-tube sans les déformer à la longueur ajusté.
- Ebavurez soigneusement en tenant la liaison vers le bas pour éviter l'introduction de limaille dans cette dernière.
- Récupérez les écrous "Flare" sur l'unité interieure et l'unité extérieure.
- Enfilez les écrous sur les tubes avant évasement.
- Procedez à l'évasement en laissant dépasser la liaison de la cote "A" de la matrice de la dudgeonnière (Fig. 245 et Tableau 21).
- Àpres évasement, vérifiez l'etat de la portée. Celle-ci ne doit partager aucune rayure ou amorce de rupture. (Fig. 247).

Fig. 245
Fig. 246

Fig. 247
Vérifiez si (L) est évasé correctement et s'il n'est ni craquelé, ni rayé.

Tableau 21
| Diamètre des liaisons | Dimension A (mm) | Dimension B0.4 (mm) |
| 6,35 mm (1/4") | 0 à 0,5 | 9,1 |
| 9,52 mm (3/8") | 13,2 | |
| 12,70 mm (1/2") | 16,6 | |
| 15,88 mm (5/8") | 19,7 |
Tableau 22
| Diamètre desliaisons | Largeur del'écrou flare |
| 6,35 mm (1/4") | 17 mm |
| 9,52 mm (3/8") | 22 mm |
| 12,70 mm (1/2") | 26 mm |
| 15,88 mm (5/8") | 29 mm |

Largeur aux méplats
4.3.2. Mise en forme des liaisons frigorifiques
ATTENTION
- Ne cintrez jamais plus de trois fois la liaison au même endroit sous peine de voir apparaitre des amorces de rupture (écrouissance du métal).
Les liaisons seront mises en forme exclusivement à la cintreuse ou au ressort de cintrage afin d'éviter tout risque d'écrasement ou de rupture.
- Ne cintrez pas le cuivre à un angle de plus de 90^ .
- Pour pouvoir cinter correctement les liaisons à la cintreuse, n'hésitez pas à les dégager de leur isolant dans le cas contraire il y a risque d'écrasement.
- Àpres cintrage, refermez l'isolant avec de la colle Néoprène et assemblez avec du ruban adhésif.
4.3.3. Raccordement des liaisons frigorifiques
ATTENTION
Soignez particulièrement le positionnement du tube face à son raccord. Si la liaison est mal alignée, le serrage à la main est impossible et le filetage risque d'être endommagé.
Retirez les bouchons des liaisons et des robinets que lorsque vous estes sur le point d'effectuer le branchement!
Utilisez toujours 2 clés pour le serrage afin de bien visser les écrous Flare dans l'axe du tuyau.
Le petite liaison doit toujours être raccordée avant la grossse.
Utilisez une clé dynamométrique comme spécifiée. Sinon les écrous flare pourraient se briser après un certain temps, provoquant des fuites de fluide et générant des gaz dangereux au contact d'une flamme.
Retirez les bouchons des liaisons frigorifiques.
Après avoir correctement positionné les raccords face à face, serrez les écrous à la main jusqu'àu contact et finissez à la clé dynamométrique (Fig. 248) selon les couples indiqués dans le tableau 23.

Fig. 248

Fig. 249
Tableau 23
| Diamètre des écrous flare | Couple de serrage |
| 6,35 mm (1/4") | 16 à 18 N.m |
| 9,52 mm (3/8") | 32 à 42 N.m |
| 12,70 mm (1/2") | 49 à 61 N.m |
| 15,88 mm (5/8") | 63 à 75 N.m |
ATTENTION
L'isolant doit s'adapter etroitement sans espace.
5. INSTALLATION DU TUYAU D'ÉVACUATION DES CONDENSATS
L'unité interieure est équipée d'une pompe de releavage intégrée.
ATTENTION
- Raccordez les liaisons de sorte que le couvercle du boitier de commande puisse s'enlever facilement.
- Bien isoler les liaisons pour être sur qu'il n'y ait pas de fuites dans le boîtier de commande.
4.4. Installation de l'isolation calorifique
Isolation calorifique des raccords frigorifiques
- Àprous avoir vérifié qu'aucune fuite de gaz ne se produit, isolez les 2 parties des raccords frigorifiques sur les petits et gros tuyaux avec un manchon isolant.
- Terminate l'isolation en fixant le manchon aux deux extrémités au moyen de colliers Rilsan comme indiqué la Fig. 249.
- Enveloppez les deux extrémités des manchons avec du ruban adhésif vinyle de manière à ce qu'il n'y ait pas d'espace.
ATTENTION
Installes le tuyau d'évacuation des condensats conformément aux instructions suivantes. Procedez à cette intervention dans une atmosphère ambiente tempérée afin d'éviter tout risque de condensation qui pourrait entraîner des fuites.
Assurez-vous d'isoler correctement le tuyau d'évocation des condensats de façon à ce que l'eau ne s'écoule pas des pièces raccordées.
Le tuyau d'évacuation des condensats installé doitprésenter une pente descendante d'au moins 1/100.
Veillez également à ce que les tuyaux d'évacuation soient correctement isolés.
5.1. Méthode d'installation
- Installez l'adaptateur dans l'orifice de l'unité interieure. Fixez le collier de serrage autour de l'adaptateur dans les dimensions indiquées. Attaches-le fermement à l'aide du collier de serrage.
-
Fixez le tuyau d'évacuation (non fourni). Utilisez un tuyau PVC rigide (VP25), diamètre extérieur 38 mm, et raccordez-le à l'adaptateur à l'aide de ruban adhésif vinyle de manière à éviter toute fuite.
-
Contrôlez l'étanchéité de l'évacuation
- Entourez l'adaptateur avec l'isolant.

Fig. 250

Fig. 251
- ÀpRES avoir vérifié l'évacuation des condensats, attachez l'isolant B ③ comme indiqué Fig. 252.
Pour éviter qu'il y ait de l'espace entre l'adaptateur ① et le collier de serrage ②, appuyez fermement sur l'isolant B ③.

Fig. 252

- Etape 1 à 3
Fig. 253
Fig. 254


Fig. 255
5.2. Finition
Vérifiez qu'il n'y ait aucun espace entre l'unité interieure et l'isolant du tuyau d'évacuation des condensats.
- Lorsqu'une pompé de relevage est utilisé:

Fig. 256
- Lorsque une pompé de releavage n'est pas utilisée (evacuation naturelle):

Fig. 257

Fig. 258
5.2.1. Installation d'unités groupées
Observe la méthode suivante pour l'installation des tuyaux dévaquences de plusieurs unités interieures.

Fig. 259

ATTENTION
S'assurer que l'évacuation des condensats se fasse convenablement.
Vérification de l'écoulement normal de l'eau de condensation :
Versez environ un litre d'eau doucement dans l'appareil avec une pissette pour vérifier le bon fonctionnement de la pompe de releavage et s'il n'y a pas de bruit anomal.

Fig. 260
6. CÂBLAGE ÉLECTRIQUE
6.1. Schéma de câblage

Fig. 261: Câblage de l'interconnexion (vers l'unité extérieur)

Fig. 262: Câblage de la télécommande
ou

* Branchez la télécommande à la terre si elle dispose d'un cable terre
6.2. Préparation des connexions électriques
Câble d'alimentation
Réglez la longueur du cable d'alimentation pour évier une tension excessive sur le cable, en vous reférant à la figure ci-dessous.

Fig. 263
Le fil sople type HO7RNF est utilisable moyenneut lesques precautions
- Dénudez l'extrémité des conducteurs sur environ 10 mm.
-
Avec une pince à sertir, posez en bout de fil une cosse ronde à sertir du diamètre correspondant aux vis du bornier.
-
Ne serrez pas trop fermement la cosse sur le bornier à l'aide d'un tournevis approprié afin de ne pas endommager ou casser la vis.
- L'utilisation de fils souples sans cosses rondes serties est formellement déconseillée.
- Respecter les couples de serrage indiqué tableau 5.
- Ne pas fixer deux câbles avec une vis sur la mêmeborne.

ATTENTION
Utilisez une cosse ronde servie et serrez selon les couples de serrage, sinon un échauffement peut se produit et cause de lourd dégats.

Fig. 264



Tableau 24
| Vis | Couple de serrage |
| M4 | 1,2 à 1,8 N.m |
| M5 | 2,0 à 3,0 N.m |
6.3. Procedure de câblage

ATTENTION
Veuillez respecter le schéma précédent pour effectuer un câblage correct. Un mauvais câblage peut provoquer un dysfonctionnement des unités.
Installez les câbles de telle sorte qu'il ne puisent pas se toucher par la suite.
Pour acceder au câblage électrique, veuilles suivre les instructions de démontage.
- Retirez le couvercle du boitier de commande.
- Connectez les cables d'alimentation, de la télécommande et l'interconnexion.

Fig. 265
Fig. 266

Sélectionnez suivant le type de télécommande utilisé (2 films ou 3 films):
2 fils: 2 wire
3 fils: 3 wire

* Branchez la télécommande à la terre si elle dispose d'un cable terre
- ÀpRES avoir branché les câbles sans trop les tendre, sécurisez le cable de la télécommande, le cable d'interconnexion et le cable d'alimentation avec des serre-câbles sous le bornier et au niveau de la base des vannes.

Fig. 267

4. Remontez le couvercle du coffret électrique.

ATTENTION
Remplissez de mastic les espaces entre les passages de cables afin d'empêcher la condensation et le passage d'insectes dans le coffret électrique.
Veillez à ne pas réaliser le câblage de la télécommande en parallèle avec le cable de l'interconnexion unité interieure/unité extérieure, ou avec celui de l'alimentation de l'installation. Cela pourrait entraîner une mauvaise transmission des opérations.
7. ACCESSORIES EN OPTION
Le climatiseur peut être connecté avec les accessoires optionnels suivants :
Tableau 25
| Nom de l'accesoire | N° connecteur |
| UTY-XWZXZGKit de connexion externe | CN47 *1 |
| UTY-XSZXSonde déportée | CN8 |
| UTY-XCSXCarte d'entrée et de sortie externe | CN65 |
| UTY-LBTYMUnité de réception infrarouge | CN48 |
| Grille intelligente UTD-GXSA-W ou UTD-GXSB-W | CN11 |
*1: Se référer à la fonction n^60 pour le paramétrage d'une sortie externe.

Fig. 268
7.3.1. Méthodes de branchement
- Modification des fils
Dénudez le cable relié au connecteur du kit de câblage. Dénudez le cable (non fourni) et utilisez un manchon connecteur serié isolé pour raccorder ce cable et le cable du kit de câblage, puis soudez le fil.

ATTENTION
- Assurez-vous d'avoir isoler la connexion entre les câbles.

Fig. 269
- Emplacement des connexions et des câblages.
Dans la figure suivante, tous les connecteurs sont connectés pour les besoin de la presentation. Lors d'une installation, les connexions diffèrent selon l'équipement.

Fig. 270

ATTENTION
- Isolez les câbles. ÀpRES avoir ouvert le passage des câbles, retirez les Bavures au bord du trou.
7.1. Contacts entrée/sortie externe
7.1.1. Entreee externe
- Le mode « Opération/Arrêt » ou le mode « Arrêt forcing » peuvent être selectionnés dans les paramétrages des fonctions de l'unité interieure.
- Un cable pair torsadé (22AWG) doit être utilisé. La longueur maximum du cable ne doit pas dépasser 150 m.
- Utilisez un cable d'entrée et de sortie externe approprié à l'installation.
- Le branchement des fils doit être distinct de la ligne d'alimentation.

Fig. 271
7.1.2. Contact sans tension
Lorsqu'une alimentation n'est pas nécessaire au dispositif d'entrée que vous souhaitez connecter, utilisez un contact sans tension.
Fig. 272

* 1: Utilisation de l'interrupteur DC 12 V à 24 V, 1 mA à 15 mA.
- Signal d'entrée

Fig. 273
- Lorsque la fonction est paramétrée sur «Opération/Arrêt » mode 1.
| Signal d'entrée | Commande |
| OFF(Arrêt) → ON (Marche) | Opération |
| ON (Marche) → OFF (Arrêt) | Arrêt |
Lorsque la fonction est paramétrée sur «Arrêtforcé »
| Signal d'entrée | Commande |
| OFF(Arrêt)→ON (Marche) | Opération |
| ON (Marche) → OFF (Arrêt) | Arrêt |
- Lorsque l'arrêt force est activé, l'unité interieure s'arrête et l'utilisation de la fonction Opération/Arrêt par la télécommande est restreinte.
- Lorsque la fonction est paramétrée sur «Opération/Arrêt » mode 2.
| Signal d'entrée | Commande |
| OFF→ON | Opération |
| ON→OFF | Arrêt (telécom-mande désactivée) |
7.1.3.Sortie externe
Un cable pair torsadé (22AWG) doit être utilisé. La longueur maximum du cable ne doit pas dépasser 25 m.
Utilisez un cable de sortie externe approprié à l'installation.
Tension de sortie : Haute 12 V DC ± 2 V, basse 0 V.
Intensité admissible : 50mA
Lors de l'interverrouillage avec un périphérique externe

Fig. 274
Lors de l'affichage de « Opération/Arrêt »

Si la fonction 60 est paramétrée sur «00».
| Réglage des fonctions | État | Tension de sortie | |
| 60 | 00 | Arrêt | 0V |
| Opération | 12 V DC | ||
| 09 | Normal | 0V | |
| Erreur | 12 V DC | ||
| 10 | Arrêt du ventilateur de l'unité intérieure | 0V | |
| Fonctionnement du ventilateur de l'unité intérieure | 12 V DC | ||
| 11 | Arrêt chauffage externe | 0V | |
| Marche chauffage externe | 12 V DC | ||
7.2. Sonde déportée

Fig. 276
- Retirez le contact existant et remplacez-le par le contact de la sonde déportede (assurez-vous d'utiliser le contact approprié).
- Le contact d'origine doit être isolé pour qu'il ne touche pas les circuits électriques.
Paramétrage de la correction de la température de la piece
Lorsque la sonde déportée est connectée, configurez le paramétrage des fonctions de l'unité interieure comme indiqué ci-dessous.
- Réglez le numéro de fonction «30» (déclencheur de température mode froid) sur «00».
- Réglez le numéro de fonction «31» (déclenchéur de température mode chaud) sur «02».
7.3. Récepteur infrarouge
- Connectez le cable du récepteur à la borne du récepteur (CN18).

Fig. 277
- Utilisez 7 broches pour le cable du récepteur.
- En premier lieu, raccordez le cable du récepteur à la carte de circuit imprimé de télécommande.
- Attachez le noyau qui est fourni entre la carte de circuit imprimé de télécommande et le lien.
- Utilisez l'orifice du conduit si un cable extérieur est utilisé.
7.4. Grille intelligente
- Connectez le cable du récepteur à la borne du récepteur (CN12).

Fig. 278


ATTENTION
- *Isolez les câbles. ÀpRES avoir ouvert le passage des câbles, retirez les Bavures au bord du trou.

Fig. 279
7.5. Fixation des câbles des options

Fig. 280
-
Accessoire founi avec l'unité interieure
** Accessaire fourni avec l'option -
Ne pas attacher le cable d'alimentation avec les autres cables.
7.6. Micro-interrupteur DIP 101

ATTENTION
Après avoir ouvert le passage des câbles, retirez les Bavures au bord du trou.
Le micro-interrupteur DIP 101 permet de définir l'utilisation ou non de la pompe de releavage intégrée et de la grille intelligente.
Le micro-interrupteur peut être utilisé aussi lorsqu'un chauffage additionnel est installé. Lorsque le fonctionnement est arrêté alors que l'unité interieure fonctionne avec le chauffage auxiliaire, le fonctionnement continue 1 minute. Modifiez les paramétrages avec le micro-interrupteur DIP SW101.

Fig. 281
| Interrupeur DIP SW101 | Etat interrupteur DIP SW101 | Détails | |
| ON | OFF | ||
| 1 | Désactivé | Activé * | Pompe de releavage |
| 2 | Activé | Désactivé * | Grille intelli-gente |
| 3 | Activé | Désactivé * | Délai ventila-teur |
- Réglage usine
8. TEST DE FONCTIONNEMENT (TEST RUN)
8.1. Vérification avant l'essay de fonctionnement
Avant le test de fonctionnement, vérifier les points de la liste ci-dessous :
| □ | L'unité extérieur est-elle installée de façon sûre ? |
| □ | Avez-vous effectuer une recherche de fuite de gaz ? |
| □ | L'isolement thermique est-elle complète (liaisons frigorifiques gaz et liquide, tuyau d'évacuation des condensats, etc...) ? |
| □ | L'écoulement des condensats s'effectue-t-il sans problème ? |
| □ | Les câbles sont-ils correctement connectés ? |
| □ | Les câbles sont-ils leurs spécifiés ? |
| □ | La terre est-elle solidement connectée ? |
| □ | Aucun obstacle n'obstrue l'aspiration et le souf-flage des unités interieures ou extérieures ? |
| □ | Avez-vous effectuer la charge en fluide comme indiqué ? |
| □ | Les vannes 3 voies (gaz et liquide) sont-elles ouvertes ? |
| □ | Avez-vous mis sous-tension l'unité pendant plus de 6 heures ? |
Après avoir vérifié tous ces points, vous pouvez débuter la procédure d'essay de fonctionnement. Reportez-vous à l'unité extérieure.
1. TÉLÉCOMMANDE INFRAROUGE
1.1. Accessoires
Les accessoires d'installation suivants sont livrés avec les apparciels (sauf mention contraire). Utilisez-les conformément aux instructions.
| ATTENTION |
| • Les accessoires standards sont systématiquement présents dans les emballages. • Veillez à bien récapuérez accessoires et notices avant de vous débarrasser des emballages. |
Références : - AR-RAH1E pour AUYG 7 9 12 14 18 LVL et AGYG 9 12 et 14 LVC
- AR-REA2E pour ASYG 7 9 12 et 14 LU
- AR-REB1E pour ASYG 7 9 12 et 14 LMCE
| Désignation | Forme | Qté | Usage |
| Télécommande infrarouge | 1 | Commande de l'appareil | |
| Piles | 2 | Alimentation de la télécommande | |
| Support de la télécom-mande infrarouge | 1 | Fixation de la télécommande | |
| Vis | 2 | Fixation du support de la télécom-mande |
1.2. Télecommande infrarouge optionnelle
1.2.1. Télecommande infrarouge UTY-LBTYM
Récepteur et télécommande infrarouge en option pour les modèles ARYG 07, 09, 12 LSL.
Reportez-vous à la notice d'installation NI 923 105.
1.2.2. Télecommande infrarouge UTY-LRHYM
Récepteur et télécommande infrarouge en option pour les modèles ARYG 07, 09, 12 LTT. Reportez-vous à la notice d'installation NI 923 082.
1.3. Mise en place des piles
ATTENTION
- Ne laïsez pas les piles à la portée d'enfants.
- Si vous n'utilise pas la télécommande pendant une longue période, enlevez les piles pour éciter d'eventuelles fuites qui poursuient endommager l'appareil.
- Si du liquide s'écoulant des piles entre en contact avec la peau, les yeux ou la bouche, rincez immédiatement avec beaucoup d'eau et consultez votre médecin.
- Les piles usées doivent être enlevées immédiatement et recyclées de manière appropriée.
- Ne tentez jamais de recharger des piles.
A VERTISSEMENT
- Ne mélangez jamais des piles neuves et des piles usées, ni différents types de piles.
- Les piles durent environ un an dans des conditions d'utilisation normales. Si la portée de fonctionnement de la télécommande diminue, remplacez les piles et appuyez sur le bouton RESET avec la pointe d'un stylo ou un autre object pointu.
1.3.1. Télecommande AR-RAH1E
Mise en place des piles (R03/LR03 x 2).
- Appuyez sur le couvercle au dos de la télécommande et tirez dans le sens de la flèche
- Insérez les piles. Veillez à ne pas inverser les polarités (+/ -).
- Fermez le couvercle.

Fig. 282
1.3.2. Télecommande AR-REA2E / AR-REB1E
Mise en place des piles (R03/LR03 x 2).
- Faites glisser le couvercle avant et retirez-le.
Faites-le glisser dans la direction de la flèche.

Fig. 283
- Insérez les piles. Veillez à ne pas inverser les polarités (+/ -).

Fig. 284
- Fermez le couvercle avant.
1.4. Installation
ATTENTION
- Vérifiez que l'emplacementChoisi permet la transmission du signal vers l'unité interieure.
- Evitez les emplacements soumis directement au rayonnement solaire ou à proximé d'une source de chaleur.
Installes la télécommande de façon à ce que la cellule photo-électrique du climatiseur permette la réception du signal de la télécommande.
Le signal est transmis jusqu'à 7 m pour la télécommande AR-RAH1E et 6 m pour la télécommande AR-REA2E.
Lors de l'installation vérifie que la télécommande fonctionne correctement.
1.4.1. Télecommande AR-RAH1E
- Vissez le support de la télécommande sur un mur ou un pilier à l'aide des 2 vis fournies. (Fig. 285).

Fig. 285
- Installez la télécommande sur son support.

Fig. 286
- Pour utiliser la télécommande, enlevez-la de son support comme indiqué sur la Fig. 287.

Fig. 287
1.4.2. Télecommande AR-REA2E / AR-REB1E
- Vissez le support de la télécommande sur un mur ou un pilier à l'aide des 2 vis fournies. (Fig. 288).

Fig. 288
- Installez la télécommande sur son support.

Fig. 289
1.5. Paramétrage de la télécommande
1.5.1. Télecommande AR-RAH1E
Avant de paramétrer les unités, il faut vérifier le codage de la télécommande. Pour plus de détails concernant l'intérêt du codage, voir le § 2.4 Codage de la télécommande, page 115.
ETAPE1
Sélection du codage de la télécommande
Procedez comme suit pour selectionner le codage de la télécommande. (N.B. Le climatiseur ne pourra pas recevoir le signal s'il n'a pas eté correctement paramétré).
Appuyez simultanément sur les boutons FAN et SET TEMP (▲), et sur le bouton RESET pour acceder au paramétrage des fonctions. Puis, relâché ZESET en premier.
- Appuyez sur le bouton SET TEMP (▲) ou (▼) pour changer le code A -> b -> c -> d. Le code sur l'affichage doit correspondre au code du climatiseur (réglé en usine sur A).
S'il n'est pas nécessaire de modifier le code, appuyez sur le bouton MODE et allez directement à l'ETAPE 2.
- Appuyez sur le bouton TIMER MODE et vérifie que l'unité interieure recoit bien le signal.
- Appuyez sur le bouton MODE de nouveau pour valider le code, puis continuez avec l'ETAPE 2.

Fig. 290

AVERTISSEMENT
- Le code du climatiseur est régé sur A en usine. Pour modifier ce code reportez-vous à la page 115, § 2.4 Codage de la télécommande.
- La télécommande remet le code à A lors du remplacement des piles de la télécommande. Si vous utilisez un code autre que A, vous doivent alors régler le code de nouveau après le remplacement des piles. Si vous ne connaissiez pas le code du climatiseur, essayez chaque code (A -> b -> c -> d) jusqu'à couver celui qui fait fonctionner le climatiseur.
ETAPE 2 Sélection du nombre de fonction et paramétrage de la valeur
Ce paragraphe présente la méthode de paramétrage des différentes fonctions, à l'aide de la télécommande infrarouge. Chaque installation nécessite un réglage particulier. Tous les paramètres sont représentés au § «3. Fonctions et paramètres à régler», page 136.
Effectuez les réglages apparéil étèint.
- Appuyez sur le bouton SET TEMP (▲) ou (▼) pour sélectionner le numéro de fonction. (Appuyez sur le bouton MODE pour basculer entre les chiffres gauche et droite.)
-
Appuyez sur le bouton FAN pour paramétrer la valeur. (Appuyez de nouveau sur le bouton FAN pour revenir à la sélection du nombre de fonction).
-
Appuyez sur le bouton SET TEMP (▲) ou (▼) pour sélectionner le paramétrage de la valeur. (Appuyez sur le bouton MODE pour basculer entre les chiffres gauche et droite.) Pour paramétrer d'autres fonctions, appuyez sur la touche FAN.
- Appuyez sur le bouton TIMER MODE, puis sur le bouton START/STOP pour valider les réglages.
- Appuyez sur le bouton RESET pour quitter le mode de réglage des fonctions.
- ÀpRES avoir régèle les fonctions, mettez l'appareil hors tension, puis remettez-le sous tension.

Fig. 291

ATTENTION
- Àprous avoir étéint l'appareil, attendre au moins 10 secondes avant de l'allumer à nouveau. Sinon le paramétrage des fonctions ne sera pas effectif.
1.5.2. Télecommande AR-REA2E
Effectuer les paramétrages des fonctions, selon les conditions d'installation et usage de la télécommande.
| ATTENTION |
| • Vérifier que le travail de câblage pour l'unité extérieur est terminé. |
| • Vérifier si le couvercle du boîtier électrique sur l'unité extérieur est en place. |
Ce paragraphe présente la méthode de paramétrage des différentes fonctions, à l'aide de la télécommande infrarouge. Chaque installation nécessite un réglage particulier. Des paramètres incorrectly peuvent provoquer le dysfonctionnement de l'unité interieure. Tous les paramètres sont représentés au «3. Fonctions et paramètres à régler», page 136.
- Régler le code du signal de l'unité interieure et de la télécommande.
- Il faut paramétre les valeurs pour chaque de fonction.
- Le nouveau paramétrage ne sera pas pris en compte si des numéroes ou des valeurs non valides sont sélectionnés.
Effectuez les réglages apparéil étèint.
Pour entrer dans le mode paramétrage appuyez simultanément sur les boutons POWERFUL et SET TEMP (Λ/ν)
puis appuyez sur reset avec la pointe d'un stylo.
- Appuyez sur le bouton SET TEMP (A/V) pour selectionner le numéro de fonction. (Appuyez sur le bouton 10^ HEAT pour basculer entre les chiffres gauche et droite.)
- Appuyez sur le bouton POWERFUL pour paramétrer la valeur. (Appuyez de nouveau sur le bouton POWERFUL pour revenir à la sélection du numéro de fonction).
- Appuyez sur le bouton SET TEMP (A/V) pour sélectionner le paramétrage de la valeur. (Appuyez sur le bouton 10^ HEAT pour basculer entre les chiffres gauche et droite.)
- Appuyez sur le bouton MODE, validez les réglages dans l'ordre indiqué, en vous assurant que le bip retentisse.
- Ensuite, appuyez sur le bouton START/STOP (S)/I, en vous assurant que le bip retentisse.
- Appuyez sur RESET pour quitter le mode paramétrage.
- ÀpRES avoir régèle les fonctions, mettez l'appareil hors tension, puis remettez-le sous tension.

Fig. 292
ATTENTION
- Àprous avoir étéint l'appareil, attendre au moins 10 secondes avant de l'allumer à nouveau.
Sinon le paramétrage des fonctions ne sera pas effectif.
1.5.3. Télecommande AR-REB1E
Avant de paramétrer les unités, il faut vérifier le codage de la télécommande.
ETAPE 1 Sélection du codage de la télécommande
Procedez comme suit pour selectionner le codage de la télécommande. (N.B. Le climatiseur ne pourra pas receivevoir le signal s'il n'a pas ete correctement parametre).
Pour entrer dans le mode paramétrage appuyez simultanément sur les boutons POWERFUL et SET TEMP (Λ/ν)
puis appuyez sur reset avec la pointe d'un stylo.
- Appuyez sur le bouton SET TEMP (A/V) pour changer le code A -> b -> c -> d. Le code sur l'affichage doit correspondre au code du climatiseur (réglé en usine sur A). S'il n'est pas nécessaire de modifier le code, appuyez sur le bouton 10^ HEAT et allez directement à l'ETAPE 2.
- Appuyez sur le bouton MODE et vérifie que l'unité interieure recoit bien le signal.
- Appuyez sur le bouton 10^ HEAT de nouveau pour valider le code, puis continuez avec l'ETAPE 2.
A VERTISSEMENT
- La télécommande remet le code à A lors du remplacement des piles de la télécommande. Si vous utilisez un code autre que A, vous doivent alors régler le code de nouveau après le remplacement des piles. Si vous ne connaissiez pas le code du climatiseur, essayez chaque code (A -> b -> c -> d) jusqu'à couver celui qui fait fonctionner le climatiseur.
ETAPE 2 SLECTION du numero de fonction et paramétrage de la valeur
Ce paragraphe présente la méthode de paramétrage des différentes fonctions, à l'aide de la télécommande infrarouge. Chaque installation nécessite un réglage particulier. Tous les paramètres sont représentés au § «3. Fonctions et paramètres à régler», page 136.
Effectuez les réglages apparéil étèint.
Pour entrer dans le mode paramétrage appuyez simultanément sur les boutons POWERFUL et SET TEMP (Λ/ν)
puis appuyez sur reset avec la pointe d'un stylo.
- Appuyez sur le bouton SET TEMP (A/V) pour sélectionner le numéro de fonction. (Appuyez sur le bouton 10^ HEAT pour basculer entre les chiffres gauche et droite.)
- Appuyez sur le bouton POWERFUL pour paramétrer la valeur. (Appuyez de nouveau sur le bouton POWERFUL pour revenir à la sélection du numéro de fonction).
- Appuyez sur le bouton SET TEMP (Λ/V) pour sélectionner le paramétrage de la valeur. (Appuyez sur le bouton 10^ HEAT pour basculer entre les chiffres gauche et droite.)
- Appuyez sur le bouton MODE, validez les réglages dans l'ordre indiqué, en vous assurant que le bip retentisse.
- Ensuite, appuyez sur le bouton START/STOP (B/H), en vous assurant que le bip retentisse.
- Appuyez sur RESET pour quitter le mode paramétrage.
- ÀpRES avoir régle les fonctions, mettez l'appareil hors tension, puis remettez-le sous tension.

Fig. 293
ATTENTION
- Àprous avoir étéint l'appareil, attendre au moins 10 secondes avant de l'allumer à nouveau.
Sinon le paramétrage des fonctions ne sera pas effectif.
1.6. Codage de la télécommande
ATTENTION
- Si vous n'appuyez suraucun bouton dans les 30 secondes suivant l'affichage du code,le systeme returnne à l'affichage de l'horloge.Dans ce cas, recommencez à l'etape 1.
- Le code du climatiseur est régé sur A en usine. La télécommande remet le code à A lors du remplacement des piles de la télécommande. Si vous utilisez un code autre que A, vous doivent alors régler le code de nouveau après le remplacement des piles.
- Si vous ne connaissiez pas le code du climatiseur, essayez chaque code (A -> b -> c -> d) jusqu'à couver celui qui fait fonctionner le climatiseur.
1.6.1. Télecommande AR-RAH1E
Lorsque plusieurs climatiseurs sont installés dans la mêmepiece, il peut etre utile d'associer une télécommande donnée a un climatiseur donné. Ceci est possible en codant la telecommande et le climatiseur (4 codes possibles). Ce codage a pour but d'eviter les interférences de communication entre plusieurs climatiseurs installés dans une meme piece.
Procedez comme suit pour selectionner le codage de la télécommande.
- Appuyez sur le bouton START/STOP jusqu'à l'affichage de l'horloge sur la télécommande.
- Appuyez sur le bouton MODE pendant au moins 5 secondes pour faire afficher le code actuel (réglé sur A en Usine).
- Appuyez sur les boutons +/- pour changer le code A -> b -> c -> d. Le code sur l'affichage doit correspondre au code du climatiseur.
- Appuyez de nouveau sur le bouton MODE pour returner à l'affichage de l'horloge. Le code a été modifié.

Fig. 294
1.6.2. Télecommande AR-REA2E
Lorsque plusieurs climatiseurs sont installés dans la même piece, il peut être utile d'associer une télécommande donnée à un climatiseur donné. Ceci est possible en codant la télécommande et le climatiseur (4 codes possibles).
Ce codage a pour but d'éviter les interférences de communication entre plusieurs climatiseurs installés dans une même piece.
Procedez comme suit pour selectionner le codage de la télécommande (N.B. Le climatiseur ne pourra pas receivevoir le signal s'il n'a pas eté correctement paramétré).
- Appuyez sur le bouton START/STOP (S)/I) jusqu'à l'affichage de l'horloge sur la télécommande.
- Appuyez sur le bouton MODE pendant au moins 5 secondes pour faire afficher le code actuel (réglé sur en Usine).
- Appuyez sur les boutons ( / ) pour changer le code R b c d . Le code sur l'affichage doit correspondre au code du climatiseur.
- Appuyez de nouveau sur le bouton MODE pour returner à l'affichage de l'horloge. Le code a été modifié.

Fig. 295
2. TÉLECOMMANDES FILAIRES
2.1. Accessoires
Références : - AR-WAE1E pour modèles ARYG 7, 9, 12 LLT et LLTB
- UTY-RLRY pour modèles ARYG 7, 9, 12 LSL
| Désignation | Forme | Qté | Usage |
| AR-WAE1E | |||
| Télécommande filaire | 1 | Pour commander l'appareil. | |
| Câble de la télécommande | 1 | Pour la connexion de la télécom-mande. | |
| Contact externe* | 1 | Pour la connexion de la télécom-mande filaire sur la platine électrique de l'unité interieure ou la platine interface suivant les modèles d'unités interieures utilisées. | |
| Vis autotaraudeuse (M4 x 16 mm) | 2 | Pour l'installation de la télécommande. | |
| Collier rilsan* | 1 | Pour la fixation de la télécommande et du cable de la télécommande. | |
| Vis autotaraudeuse* (M4 x 14 mm) | 1 | Pour l'installation du cable de la télé-commande sur l'unité interieure. | |
| Serre-câble* | 1 | ||
| UTY-RLRY | |||
| Télécommande filaire | 1 | Pour commander l'appareil. | |
| CD-ROM | 1 | Inclus la notice d'utilisation. | |
| Vis (M4 x 16mm) | 2 | Installer la télécommande. | |
| Collier | 1 | Fixer le cable de la télécommande à la télécommande. | |
- Non fourni avec les modèles ARYG 7, 9, 12
2.2. Telecommandes filaires optionnelles
2.2.1. Télécommande filaire UTY-RVNYM
Reportez-vous à la notice d'installation NI 923 095.
2.2.2. Télecommande filaire simplifiée UTY-RS-NYM
Reportez-vous à la notice d'installation NI 923 083.
2.3. Installation de la télécommande AR-WAE1E

ATTENTION
- Afin de ne pas généré le fonctionnement de la cellule thermique de la télékommande, installez celle-ci à l'abri des rayons solaires et à l'écart du souffrage direct de l'air sous l'unité interieure.

Cellule thermique
- S'il s'avéré impossible de ne pas faire cheminer le cable de la télécommande le long d'un cable de puissance ou d'une source electromagnetique, utilisez un cable blinde.
-
Evitez de toucher la carte électronique, les composants et les câbles avec les doigts.
-
Ouvrez la face avant de la télécommande après avoir retire le deux vis comme indiqué sur la Fig. 296, et déposez le couvercle de la télécommande.

Fig. 296
Vis

Façade du boîtier Support (vue arrêté) du boîtier
Connecteur
Débranche ensuite le connecteur afin de ne pas endommager les fils de raccordement en laissant le couvercle suspendu au boîtier.
N'oubliez pas de remettre le connecteur en place lors du remontage du couvercle.
-
Ne touche pas les fils de la télécommande directement avec les doigts.
-
Passez le cordon de raccordement dans le trou à l'arrière du boitier.
- Fixez les fils dans le bornier situé au fond à droite du boîtier (Fig. 297).

Fig. 297
- Attachez le cable dans le boitier avec un collier.
- Si le cable doit rester en apparent, découvert une encoche dans le haut du boîtier pour y passer le cable.
- Installez le boîtier de la télécommande dans le mur et fixez-le avec des vis.

Fig. 298
Fig. 299

Mettre à la terre si la télécommande a un fil de terre
2.3.1. Méthode de câblage
ATTENTION
- Lorsque vous connectez le cable de la télécommande à l'unité interieure, ne le connectez pas au bornier d'alimentation de l'unité extérieure ni au bornier d'interconnexion de l'unité interieure. Vous risquez de provoquer un dysfonctionnement.
Yououpouvezconnectercablede latelecommandesur l'unitéinterieurede deux manieres.
La première méthode consiste à utiliser le contact externe fourni avec la télécommande filaire et la deuxième méthode permet de connecter le cable de la télécommande sur le bornier spécifique situé sur l'unité interieure.
Ce bornier spécifique diffère en fonction du modele. Modifiez le cable de la télécommande comme indiqué comme suit, puis connectez-le.
Reliez le cable de la télécommande filaire directement sur le bornier spécifique de l'unité interieure.

Fig. 300

* Reliez la télécommande à la terre si elle possède un fil de terre.
Fig. 301

Note : Cela ne fonctionnera pas si vous connectez le cable sur le bornier alimentation ou unité extérieure.
2.3.2. Paramétrage des micro-interrupteurs
Paramétrez les micro-interrupteurs de la télécommande:
Fig. 302 - Exemple

N.B.: Le micro-interrupteur 2 ne doit pas être utilisé.
Tableau 26
| Micro-interrupteur 1 | N° | Etat | Détail | |
| OFF | ON | |||
| 1 | ♦ | Ne pas modifier | ||
| 2 | ♦ | Paramétrage avec 2 télé-commandes.(reportez-vous au paragraphe 3.8.2 Contrôle à l'aide de deux télécommandes). | ||
| 3 | ♦ | Ne pas modifier | ||
| 4 | ♦ | Ne pas modifier | ||
| 5 | ♦ | Ne pas modifier | ||
| 6 | ♦ Invalidate | Valide | Paramétrage de la sau-vegarde des données.(Mettez le curseur sur ON pour utiliser les piles dans la télécommande.Si ce réglage n'est pas sur ON, toutes lesdonnées paramétrées seront supprimées lors d'une coupure d'alimentation. | |
Paramétrage d'usine
2.3.3. Mise sous tension et opération de test
Mise sous tension
- Vérifiez le branchement de la télécommande et le paramétrage des micro-interrupteurs.
-
Remettez en place l'avant du boitier.
-
N'oubliez pas de remettre le connecteur en placeurs du remontage du couvercle.
-
Vérifiez le branchement des unités interieures et extérieure et le paramétrage des micro-interrupteurs, ensuite allumez les unités interieure et extérieure. Àprous le clignotement pendant quelques secondes de "9C", l'heure apparaît au centre de l'affichage de l'écran de la télécommande (Fig. 303).

Fig. 303
Opération de test
- Arrêtez le climatiseur.
-
Appuyez simultanément sur les touches de contrôle principal et de ventilation pendant au moins 2 secondes afin de démarrer le test (Fig. 304).
-
Exécutez le test pendant 60 minutes.
- Pour arrêté le test, appuyez sur la touche "START / STOP".

Fig. 304
Auto-diagnostic de l'installation
Si une erreur se produit, l'écran suivant apparait (Fig. 305). Le symbole "EE" qui indique un début est affché.

Fig. 305
2.3.4. Paramétrage de la mesure de température d'ambiance dans une piece
Selon la configuration de votre installation, il est possible de paramétre la mesure de la température dans une piece. Deux possibilités s'offrent à vous :
2.3.4.1. Sélection à partir de l'unité interieure
La température de la pièce est détectée par la sonde de température ambiente de l'appareil. Cette fonction est configurée en usine (la fonction n^42 sur 00). En appuyant sur la touche "ECONOMY/THERMO SENSOR", le symbole affché clignote, indiquant le blocage de la fonction.

Fig. 306
2.3.4.2. Sélection couplée unité interieure / télécommande (Choix de la thermistance de température libre)
- Réglez tout d'abord la fonction n^ 42 sur 01 (reportez-vous au § «3. Fonctions et paramètres à régler», page 136)
-
Appuyez sur la touche "ECONOMY/THERMO SENSOR" au moins 5 secondes afin de débloquer la fonction. Le symbole Thermo sensor s'affiche lorsque la fonction est débloquée.
-
Appuyez une nouvelle sur fois la touche "ECONOMY/THERMO SENSOR" afin de pouvoir sélectionner la sonde de température adaptée : celle de l'unité interieure ou celle de la télécommande.

Fig. 307
AVERTISSEMENT
- Les méthodes 1 (seLECTION à partir de l'unité interieure) et 2 (selection couplée unité interieure/telecommande) utilisées pour selectionner la température d'ambiance d'une piece, nécessitant le verrouillage de la fonction choisisie.
- Prenez soit de vérifier que cette fonction est bien bloquée et qu'elle est validée lorsque, en appuyant sur la touche "ECONOMY/THERMO SENSOR", le symbole clignote.

-
Lors du paramétrage de la télécommande, si la valeur de la température entre la sonde de l'unité interieure et celle de la télécommande varie considérablement, la sonde de l'unité interieure pourrait returner temporairement à l'état de contrôle.
-
Si la sonde de la télécommande detecte la températe après du mur et si la températe ambiente est différente alors, la sonde pourrait ne pas détecer la températe ambiente correctement.
- Quand la sonde positionnée sur le côte extérieur du mur est exposé à l'air, il est recommandé d'utiliser la sonde de température de l'unité interieure pour détecter la température ambiente, quand la différence de température entre l'intérieur et l'estrieure est trop élevé.
- Le capteur de température de la télécommande n'est pas seulement utilisé en cas de problème lors de la mesure du capteur de température de l'unité interieure.
2.3.5. Paramétrage des fonctions
Ce paragraphe présente la méthode de paramétrage des différentes fonctions, à l'aide des télécommandes. Chaque installation nécessite un réglage particulier. Effectuez les réglages appeareil étèint.
Un paramétrage incorrect peut provoquer un dysfonctionnement de l'unité interieure. Cette procédure doit être utilisée par l'installateur ou tout autre personnel qualifié seulement.
2.3.5.1. Méthode de paramétrage
Paramétrez les différentes fonctions selon les conditions d'installations en utilisant la télécommande. (Reportez-vous au § 3, page 136.)
- Appuyez simultanément sur les touches de besoin de température () (V) et de contrôle du ventilateur pendant au moins 5 secondes pour entrer dans le mode paramétrage des fonctions (Fig. 308).

Fig. 308

- Appuyez sur la touche " SET BACK " (Abaisser) pour sélectionner le numéro de l'unité interieure (Fig. 309).

Fig. 309
N° de l'unité intérieure
- Appuyez sur la touche de réglage de l'heure pour sélectionner le nombre de la fonction (Fig. 310).

Fig. 310
Numero de la fonction
- Appuyez sur les touches de besoin de températe (Λ) (∨) pour sélectionner la valeur de paramétrage. L'écran clignote comme indiqué sur la droite durant le besoin de la valeur (Fig. 311).

Fig. 311
- Appuyez sur la touche "TIMER SET" pour confirmer le paramétrage.
*Appuyez sur cette touche pendant quelques secondes jusqu'à ce que la valeur arrêté de clignoter. Si l'affichage de la valeur change ou si "--" apparait quand le clignotement s'arrêté, la valeur paramétrée n'a pas été prise correctement.

Fig. 312
Paramétrage
-
Répétez les opérations 2 et 5 pour exécuter des paramétrages supplémentaires.
-
Appuyez de nouveau simultanément sur les touches de besoin de température (Â) (V) et de contrôle du ventilateur plus de 5 secondes pour annuler le mode de paramétrage des fonctions.
De plus, le mode de paramétrage des fonctions sera automatiquement annulé après 1 minute si aucune opération n'est executée.
- ÀpRES avoir exécuté le paramétrage des fonctions, coupez le courant et puis remettez l'installation sous tension pour valider les réglages.
2.4. Installation de la télécommande UTY-RLRY
2.4.1. Choix de l'emplacement du capteur d'am-biance
ATTENTION
Quand le capteur de température de la télécommande détecte la température à proximé d'un mur et si la température est différente entre la température ambiante et celle du mur, il se peut que le capteur ne détecte pas correctement la température ambiante.
Aussi, si l'autre côté du mur donne sur l'extérieur, il est recommandé d'utiliser le capteur de température de l'unité interieure pour détecter la température ambiente,URTout si la différence entre la température interieure et extérieure est significative.
L'emplacement du capteur de température ambiente peut être sélectionné de 2 façon (fig. 4). Choisissez l'emplacement le plus ajusté pour que le capteur déteche la température ambiente (le capteur de l'unité interieure ou de la télécommande).

Fig. 313
Si vous utilisez le capteur de la télécommande, un paramétrage sera nécessaire «8.7. Réglage du capteur de la télécommande», page 19.
2.4.2. Retirez la façade
Quand vous ouvrez la télécommande, débranchez le connecteur de la façon pour ne pas faire pendre la façon par les cables et endommager ces derniers. Lors de l'installation de la façon, veillez à connecter le connecteur. Lors de la connexion/déconnexion du connecteur, veillez à ne pas endommager les cables.
Ouvrez les fermétures (2 emplacements) avec un tournevis plat, et séparez la façade et la plaque arrière.

Fig. 314
Déconnectez le connecteur situé sur la carte électronique de la façon.

2.4.3. Paramétrage du micro-interrupteur
ATTENTION
- Utilisez un tournevis isolé pour régler les micro-interrupteurs DIP.

Fig. 315
Avant d'utiliser cette télécommande, réglez toujours le micro interrupteur DIP sur ON (marche). Sinon, lors de la mise sous tension, les données régliées avec le menu seront effacées et causeont des erreurs de fonctionnement.
Micro-interrupteur
- Active/désactive la fonction de sauvegarde de la batterie interne (en cas de maintenance ou de coupure/panne de courant).
- Il est désactivé en réglage usine pour éviter d'utilier la batterie.
2.4.4. Installation de la plaque arrière

Fig. 316 - Montage avec un boftier encastré

Fig. 317 - Montage direct sur un mur
2.4.5. Câbles de la télécommande

Fig. 318 - Diamètre extérieur de la gaine du cable inférieur à 5 mm

Fig. 319 - Diamètre extérieur de la gaine du cable supérieur à 5 mm - montage avec un boîtier («5.3. Installation», page 12)
Câble blindé

Fig. 320 - Diamètre extérieur de la gaine du cable supérieur à 5 mm - montage direct sur un mur («5.3. Installation», page 12)
Câble blindé
2.4.6. Connexion du cable de la télécommande filaire

ATTENTION
- Pour la connexion du cable de la télécommande au bornier de la télécommande, veuillez utiliser le couple de serrage indiqué. Si vous serrez trop fort les vis, elles risquent de briser le bornier. Veillez à ne pas endommager le cable en serrant trop les serre-câbles.
Couple de serrage
0.8 à 1.2 N.m
Fixez la gaine du cable de connexion à l'aide du serre-cable. Serrez fermement le cable de façon à ce que la force de traction ne se propage pas à la borne de connexion même si une force de 30N est appliquée au cable.
Choisissez un cable flexible qui peut être attaché avec des serre-câbles sur la gaine du cable dans la télécommande.

Fig. 321 - Diamètre extérieur de la gaine du cable inférieur à 5 mm
Mise à la terre fonctionnelle (si nécessaire)


Fig. 322 - Diamètre extérieur de la gaine du cable supérieur à 5 mm

INCORRECT
2.4.7. Installez la façade
Connectez le cable de connexion au connecteur de la carte électronique de la façade. Insérez la partie supérieure de la façade. Sinon, cela risque d'endommager l'intérieur de la télécommande. Lorsque vous fixez la façade, assurez-vous que les cables ne sont pas coincés par cette dernière.

Fig. 323
2.4.8. Connexion sur l'unité intérieure

ATTENTION
- Connectez le cable de la télécommande sur l'unité interieure, ne pas le connecter sur l'unité extérieur ou au bornier d'alimentation. Cela pourrait provoquer un dysfonctionnement.
- Lors du paramétrage du micro-interrupteur DIP (SW1) sur la carte électronique de l'unité interieure, assurez-vous de couper l'alimentation. Sinon, la carte électronique de l'unité interieure pourrait être endommagée.
La connexion du cable de la télécommande à l'unité interieure peut se faire de deux manières. La première consiste à utiliser le cable de connexion de l'unité interieure et la deuxieme, à connecter le cable de télécommande au bornier situé sur l'unité interieure.
2.4.8.1. Méthode 1 : connexion au connecteur
- Utilisez un outil pour dénuder l'extrémité du cable de la télécommande, la Fig. 14. Connectez-le au contact avec le connecteur fémelle Fig. 15. Assurez-vous d'isoler la connexion entre les cables.

Fig. 324

Fig. 325
- Raccorder le cable de la télécommande au cable du contact avec le connecteur femelle et l'insérez dans le connecteur CNC01.
Réglez sur « 2WIRE » le micro-interrupteur DIP (SW1) sur la carte électronique de l'unité interieure.

Fig. 326
L'emplacement du connecteur et de la carte électronique varie selon le type d'unité interieure.

2.4.8.2. Méthode 2 : connexion au bornier
Insérez l'extrémité du cable de télécommande directement au bornier. Réglez sur « 2WIRE » le microinterrupteur DIP (SW1) sur la carte électronique de l'unité interieure.

Fig. 327
Fig. 328 - Connexion des câbles

CORRECT

INTERDIT
Tableau 27
| Vis | Couple de serrage |
| M3 (câble de télécommande Y1 et Y2) | 0,5 à 0,6 N•m |
2.4.9. Réglage lors du premier démarrage

ATTENTION
Vérifier à nouveau le câblage. Un mauvais câblage pourrait endommager l'appareil.
Pendant le démarrage initial, certains segments s'affichent en alternance, comme indiqué.

Lorsque le démarrage initial est effectué normalement, l'« Écran du mode visualisation » s'affiche.

Le réglage d'usine pour le réglage Maître/Esclave de la télécommande de cette unité est en « Maître ».
Lorsque l'écran « Réglage Maitre/Esclave de la télécommande » apparait si plusieurs télécommandes filaires sont démarrées pour la première fois, effectuez-le réglage de la télécommande que vous souhaitez utiliser comme « Maitre», puis réglez toutes les autres télécommandes sur « Esclave »
Pour des détails sur les réglages, veuilles consulter «8.6. Réglages Maitre/Esclave de la télécommande», page 18.

Si un écran d'erreur apparaît, vérifie le code de l'erreur. Si « 26.4 » ou « 26.5 » s'affiche, c'est une erreur d'adresse de la télécommande. Appuyez sur le bouton [ENTER] pour afficher l'écran de réglage, et effectuez le réglage. Pour des détails sur les réglages, veuillez consulter « 8.15. Réglage manuel de l'adresse de la télécommande», page 23. Pour les autres erreurs, consultez « 5. Codes erreurs», page 142.

2.4.10. Réglages du menu 2
- Lorsque l' « Écran du mode visualisation » est affché, maintenez enforcé le bouton[ Menu], le bouton [< ] et le bouton [ENTER] simultanément pendant au moins 2 secondes. L'écran de seLECTION d'élement de réglage s'affiche.

- Sélectionnez le nombre d'objet à régler avec le bouton [<] ou le bouton [>] ; appuyez sur le bouton [ENTER] pour passer à l'écran de réglage. Veuillez consulter le tableau ci-dessous pour les réglages de chaque numéro des éléments. Pour des détails sur les réglages, voir la description des réglages concernés.

Numérodes élémentsdereglage du Menu 2
Le bouton [<]: pour monter dans le menu
Le bouton [>] : pour descendre dans le menu
| N° | Réglage |
| 01 | 8.1 Historique des erreurs |
| 02 | 8.2 Détails des erreurs |
| 03 | 8.3 Version |
| 04 | 8.4 Affichage de la température de la piece |
| 05 | 8.5 Réglage de l'unité de température |
| 06 | 8.6 Réglage maître/esclave de la télécommande |
| 07 | 8.7 Réglage de la capteur de la télécommande |
| 08 | 8.8 Réglage activation de l'horloge |
| 09 | 8.9 Lancement du test |
| 10 | 8.10 Vérification de l'adresse de l'unité intérieure |
| 11 | 8.11 Vérifiez l'adressage de l'unité intérieure |
| 12 | 8.12 Réglage de l'unité intérieure maître |
| 13 | 8.13 Réglage des fonctions de l'unité intérieure |
| 14 | 8.14 Réinitialisation de l'adresse de la télécommande |
| 15 | 8.15 Réglage manuel de l'adresse de la télécommande |
| 16 | 8.16 Initialisation |
Retournez à cet écran une fois les différents éléments régels.
Retournez à l'« Écran du mode visualisation » en maintainant le bouton [Menu], le bouton [<] et le bouton [ENTER] enforcés simultanément pendant au moins 2 secondes.
Le réglage est interrompu (pour tous les écrans de réglages) et l'affichage revient à l'« Écran du mode visualisation », si le bouton [Menu], le bouton [<] et le bouton [ENTER] sont maintainus enforcés simultanément pendant au moins 2 secondes.
Remarques
Les éléments pouvant être sélectionnés varient selon les réglages de l'équipement configuré. Vous ne pouvez pas agir sur les éléments ne pouvant pas être sélectionnés.
2.4.11. Affichage de la température de la pièce
- Sélectionnez « 04 » dans les réglages du menu 2. Puis appuyez sur le bouton [ENTER].

- La température détectée par le capteur de température de l'unité s'affiche.

indique une erreur du capteur.

- Appuyez sur le bouton [Menu] pour revenir à l'écran de selection d'élement du Menu 2.
Remarques
- La plage de détention du capteur de température est de 0,0^ à 46,0^ .
2.4.12. Réglage de l'unité de température
- Sélectionnez « 05 » dans les réglages du menu 2. Puis appuyez sur le bouton [ENTER].

- Sélectionnez le « 0 : °C » ou le « 1 : °F » avec les boutons [+] ou [-].

- Appuyez sur le bouton [ENTER] pour revenir à l'écran de selection d'élement du Menu 2.
2.4.13. Réglages Maître/Esclave de la télécommande
| Remarques |
| • Configurez seulement une télécommande du groupe en « Maître ». |
| • Lorsque des télémandes sont configurées comme « Esclaves», les éléments de réglage se- ront restreints. |
- Sélectionnez « 06 » dans les réglages du menu 2. Puis appuyez sur le bouton [ENTER].

- Sélectionnez le « 0 : Maître » ou le « 1 : Esclave » avec les boutons [+] ou [-].

- Appuyez sur le bouton [ENTER]. S'il n'y a pas de problème, returnez à l'écran de selection d'élement du Menu 2.
Dans le cas d'un réglage lors du démarrage initial, l'Écran du mode visualisation » s'affiche.
S'il y a 0, 2 ou plus d'unités « Maitre », le nombre s'affichera. Si « Maitre » est 0, appuyez sur le bouton [ENTER] pour revenir à l'écran de selection d'élement du Menu 2.

Si « Maître » est supérieur à 2, appuyez sur le bouton [ENTER] pour revenir à l'écran de 2..
Si « Maître » est 0 ou supérieure à 2, appuyez sur le bouton [■ Menu] pour revenir à l'écran de sélection d'objet du Menu 2.
2.4.14. Réglage du capteur de la télécommande
Remarques
Dans le cas de plusieurs télécommandes filaires, il ne peut y avoir qu'une seule télécommande du groupe pour laquelle le capteur peut être réglé sur « Activer ». Quand 2 télécommandes ou plus dans le groupe de télécommandes sont régées sur « Activer», la télécommande régée précédemment est changée sur « 0 : Désactiver »
- Sélectionnez « 07 » dans les réglages du menu 2. Puis appuyez sur le bouton [ENTER].

- Sélectionnez le « 0 : Désactiver (Pas utilisé) » ou le « 1 : Activer (Utilisé) » avec les boutons [+] ou [-].

- Appuyez sur le bouton [ENTER] pour revenir à l'écran de selection d'objet du Menu 2.
2.4.15. Réglage d'activation de l'horloge
Remarques
Si « 0 : Pas utilisé » est sélectionné par le réglage, 9.1. Réglage de l'horloge et Réglage programmation hebdomadaire ^1 ne peut être régle. Le réglage d'usine est « 0 : Pas utilisé ». (1: Consultez la notice d'utilisation sur le CD-ROM)
- Sélectionnez « 08 » dans les réglages du menu 2. Puis appuyez sur le bouton [ENTER].

- Sélectionnez le « 0 : Désactiver (Pas utilisé) » ou le « 1 : Activer (Utilisé) » avec les boutons [+] ou [-].

- Appuyez sur le bouton [ENTER] pour revenir à l'écran de selection d'élement du Menu 2.
2.4.16. Vérification de l'adresse de l'unité inter-rieure
- Sélectionnez « 10 » dans les réglages du menu 2. Puis appuyez sur le bouton [ENTER].

- Affiché depuis la télécommande avec la plus petite adresse du groupe de télécommandes. Les unités interieures affichées peuvent être commutées avec les boutons [+] ou [-].
(a) Adresse du circuit frigorifique (00 à 99)
(b) Adresse de l'unité interieure (00 à 63)
(c) Adresse de la télécommande
(d) Numéro du système (002: Unité interieure)
(e) Numéro de l'unité (01 à 32)

- Appuyez sur le bouton [Menu] pour revenir à l'écran de selection d'élement du Menu 2.
2.4.17. Vérification de l'adressage de l'unité interieure
| Remarques |
| Cet élément ne peut pas être régle à partir des télé-commandes esclaves. |
- Sélectionnez « 11 » dans les réglages du menu 2. Puis appuyez sur le bouton [ENTER].

- Sélectionnez l'adresse de la télécommande de l'unité interieure pour notification l'adressage. Les unités interieures notifiedes peuvent être commutes par les boutons [+] ou [-].

- Lorsque you appuyez sur le bouton [ENTER], l'unité interieure concernée ventile et les LED cli-gnotent. ( Uniquement si l'unité interieure possède des LED).

2.4.18. Réglage de l'unité interieure maître
| Remarques |
| • L'unité interieure maître ne peut être régée lorsque l'unité interieure fonctionne. |
| • Pour l'unité interieure maître, spécifique uniquement un groupe de télécommande (ou une seule unité interieure) au sein du système frigorifique. |
- Sélectionnez «12 » dans les réglages du menu 2. Puis appuyez sur le bouton [ENTER].

- L'etat du réglage actuel s'affiche.

Si « 2 » s'affiche, appuyez sur le bouton [Menu] pour revenir à l'écran de seLECTION d'élement du Menu 2.
- Si « 0 » s'affiche, appuyez sur le bouton [ENTER] pour régler l'unité interieure maître et revenir à l'écran de selection d'élement du Menu 2.
Si « 1 » s'affiche, appuyez sur le bouton [ENTER] pour annuler les réglages de l'unité interieure maître et revenir à l'écran de seLECTION d'élement du Menu 2.
2.4.19. Réglage des fonctions de l'unité inter-rieure
Remarques
Cet élément ne peut être régle à partir des télécommandes esclaves.
Cette procédure modifie les réglages des fonctions utilisées pour l'unité interieure selon les installations. Des réglages incorrents peuvent provoquer un dysfonctionnement du système. Effectuez le « réglage des fonctions de l'unité interieure » conformément à l'installation à l'aide de la télécommande.
- Préparez le réglage de l'unité interieure en consultant la notice d'installation de l'unité interieure avant de commencer le réglage des fonctions et pour plus d'informations sur les numérodes fonctions et des réglages.
- Sélectionnez «13 » dans les réglages du menu 2. Puis appuyez sur le bouton [ENTER].

2
- Sélectionnez l'adresse de la télécommande à avec les boutons [+] ou [-]. Puis appuyez sur le bouton [ENTER].


Sélectionnez tout
Sélectionnez l'adresse de la télécommande (Ex. Sélectionnez la 002-01)

- Définissez le numéro de fonction avec les boutons [+] ou [-]. Puis appuyez sur le bouton [ENTER].

Numéro de fonction
- Définissez le numéro de réglage avec les boutons [+] ou [-]. Puis appuyez sur le bouton [ENTER].

Numéro de réglage
- Les résultats des réglages s'affichent après la transmission des données.

- Appuyez sur le bouton [ENTER] pour revenir à l'écran de sélection de l'adresse de la télécommande de 2.. Si le réglage terminé s'affiche, appuyez sur le bouton [Menu] pour revenir à l'écran de sélection d'élement du Menu 2.
2.4.20. Réinitialisation de l'adresse de la télé-commande
Remarques
- Si vous passez d'un adressage manuel à un adressage automatique de la télécommande, effectuez-le après avoir modifié l'adresse de la télécommande de l'unité interieure sur « 0 »
-
Le réglage est visible après avoir remis l'appareil en marche.
-
Sélectionnez «14 » dans les réglages du menu 2. Puis appuyez sur le bouton [ENTER].

- Vous pouvez vérifier l'adressage de la télémande. Pour réinitialiser l'adresse de la télémande, sélectionnez « 1 : Réinitialiser » en utilisant les boutons[+] ou [-]. Si vous ne réinitialisez pas, appuyez sur le bouton [ Menu] pour revenir à l'écran de sélection d'élement du Menu 2.

- Appuyez sur le bouton [ENTER]. pour revenir à l'écran de selection d' éléments du Menu 2.
2.4.21. Réglage manuel de l'adresse de la télécommande
Remarques
- Les adresses seront automatiquement régées au démarrage initial de la télécommande. Dans un tel cas, ne changez pas l'adresse de la télécommande pour l'unité interieure, et conservez-la sur le paramètre initial de 0.
- Configurez des adresses manuellement seulement lors de l'utilisation de différents numérods d'adresse. Une adresse de télécommande pour une unité interieure doit être paramétrée. Configurez les adresses de télécommande des unités interieures qui sont connectées au même réseau de cable de télécommande, dans une limite de 1 à 9 et de A (10) à F(15) et sans doublon. (N'utilise pas « 0 » pour la configuration). Pour la configuration des adresses de télécommande pour l'unité interieure, reportez-vous à la notice d'utilisation.
- L'adresse pour cette télécommande peut être configurée de 1 à 32. Toutefois, ne paramétrz avec le même numéro l'adresse d'une télécommande et d'une unité interieure connectée qui sont dans le même réseau de cable de télécommande.
-
Le réglage est visible après avoir remis l'appareil en marche.
-
Sélectionnez « 15 » dans les réglages du menu 2. Puis appuyez sur le bouton [ENTER].

- Vous pouvez vérifier l'adressage actuelle de la télécommande. Définissez le numéro de l'unité avec les boutons [+] ou [-]. Il n'est pas possible de modifier le numéro du système.

- Appuyez sur le bouton [ENTER] pour revenir à l'écran de selection d'élement du Menu 2.
2.4.22. Initialisation
- Sélectionnez «16 » dans les réglages du menu 2. Puis appuyez sur le bouton [ENTER].

- Pour initialiser, sélection « 1 : Initialiser » avec les boutons [ ] ou [ ]. Si vous n'initialisez pas, appuyez sur le bouton [ENTER] pour revenir à l'écran de selection d'élement du Menu 2.

- Appuyez sur le bouton [ENTER] pour redémarrer l'ordinateil automatiquement. Réglage des différents éléments.
| Remarques |
| Lorsque vous déplacez la télécommande, initiali-sez-la. |
2.4.23. Autres réglages
2.4.23.1. Réglage de l'horloge
Remarques
-
Il n'est pas possible d'utiliser cette fonction si « 8.8. Le réglage d'activation de l'horloge » est régé sur « Pas utilisé »
-
Appuyez sur le bouton [ENTER] sur l'« Écran du mode visualisation ». L'écran de sélection d'élement de réglage s'affiche. Concernant les autres éléments en dehors de « Réglage de l'horloge », veillez consulter la notice d'utilisation sur le CD-ROM.
| Éléments de réglage du menu | <:↑>:↓ |
| Réglage de la direction des flux d'air | (♂) 极 |
| Réglage du minuteur Marche | (♀) |
| Réglage minuteur Arrêt | (♂) |
| Réglage de l'horloge | (◎) |
| Réinitialisation de l'indication de filtré | (◎) |
| Réglage économique | (◎) |
- Sélectionnez l'icone du réglage de l'horloge dans les Réglages du Menu avec les boutons [+] ou [-]. Puis appuyez sur le bouton [ENTER].

- Sélectionnez le format d'heure avec les boutons [+] ou [-]. Puis appuyez sur le bouton [ENTER].

- Choisissez le jour de la période avec les boutons [+] ou [-]. Un « ∏ » s'affiche au niveau du jour sélectionné. Puis appuyez sur le bouton [ENTER].

SU : Dimanche MO : Lundi TU : Mardi WE : Mercredi
TH: Jeudi FR: Vendredi SA:Samedi
- Sélectionnez les heures ou les minutes avec les boutons [<] ou [>] , et réglez la valeur avec les boutons [+] ou [-] .

- Lorsque vous touche le bouton [ENTER], l'affchage revient à l'« Écran du mode visualisation »
2.4.24. Contrôle de groupe
| ATTENTION |
| Assurez-vous de couper le disjoncteur avant d'effectuer des régles |
| Lors du réglage des micro-interrupteurs DIP, ne touche aucune autre partie de la carte du circuit imprimé directement avec vos mains{nues. |
Une seule télécommande peut commander plusieurs apparèils. Dans ce cas, toutes les unités interieures connectées fonctionnent suivant le même réglage (celui de la télécommande). Ces apparèils doivent utiliser le même type de télécommande.
Connectez jusqu'à 16 unités interieures:

Fig. 329
Exemple de câblage pour une télécommande à 2 fils:

Fig. 330
2.4.25. Paramétrage de l'adressage de la télécommande
Réglez chaque adresse des unités interieures en utilisant les micro-interrupteurs. Ces micro-interrupteurs se situent sur la carte électronique de l'unité interieure.

Fig. 331
Télécommande à 2 fils
(Paramétrage usine «00») Micro-interrupteur DIP (RC AD SW)
Les paramètres d'adressage de la télécommande sont automatiquement configurés. Si vous souhaitez faire une configuration manuelle il est nécessaire de configurer à la fois l'unité interieure et la télécommande.
Télécommande à 3 fils
(Paramétrage usine «00») Micro-interrupteur DIP (RC AD SW)
Si vous connectez plusieurs unités interieures à une télécommande filaire simplifiée, réglez l'adresse sur «00» et incrémentedez de 1 à chaque ajusté d'une unité interieure, se réferer au Tableau 28.
| Paramétrage | N° de la fonction | Micro-in-terrupteur SW100 |
| Adresse unité interieure dans le groupement télé-commande | 00 à 15 | ON 1 2 3 4 RC AD Exemple de réglage 00 |
Exemple: 4 unités intérieures connectées.

Fig. 332
Reportez vous au tableau ci-dessous pour adresser une télécommande à plusieurs unités interieures:
Tableau 28
| N° de l'unité intérieure | Adresse de la télécom-mande | N° de l'interrupteur DIP | |||
| 1 | 2 | 3 | 4 | ||
| 1 | 00 | OFF | OFF | OFF | OFF |
| 2 | 01 | ON | OFF | OFF | OFF |
| 3 | 02 | OFF | ON | OFF | OFF |
| 4 | 03 | ON | ON | OFF | OFF |
| 5 | 04 | OFF | OFF | ON | OFF |
| 6 | 05 | ON | OFF | ON | OFF |
| 7 | 06 | OFF | ON | ON | OFF |
| 8 | 07 | ON | ON | ON | OFF |
| 9 | 08 | OFF | OFF | OFF | ON |
| 10 | 09 | ON | OFF | OFF | ON |
| 11 | 10 | OFF | ON | OFF | ON |
| 12 | 11 | ON | ON | OFF | ON |
| 13 | 12 | OFF | OFF | ON | ON |
| 14 | 13 | ON | OFF | ON | ON |
| 15 | 14 | OFF | ON | ON | ON |
| 16 | 15 | ON | ON | ON | ON |
ATTENTION
Les adresses doivent toujours se suivent. Il est interdirit de sauter un numéro.
2.4.26. Contrôle à l'aide de 2 télécommandes
Deux télécommandes peuvent être utilisées pour commander une unité interieure.

ATTENTION
Ne pas combiner une télécommande à deux fils et une télécommande à trois fils.

Fig. 333
Primaire
Primaire
Secondaire

* Unité interieure
Cable telecommande: A ≤ 500 m et A + B ≤ 500 m
3. FONCTIONS ET PARAMÉTRES À RÉGLER
Suivez les instructions données dans les paragraphs precedents pour paramétre les fonctions.
Effectuez les réglages apparéil étèint.
- Il faut paramétre les différentes valeurs pour chaque numéro de fonction.
- Le nouveau paramétrage ne sera pas pris en compte si des numéroes ou des valeurs non valides sont sélectionnés.
Nettoyage du filtré
- Un signal apparait sur l'unité interieure pour avertir l'utilisateur lorsqu'il faut nettoyer le contrôle.
- Paramétrrez la périodicité de l'affichage de l'advertisement comme indiqué dans les tableaux suivants, en fonction de la poussière ou des saletés dans la piece (paramétrage usine "00").
| Paramétrage | N° de la fonction | Valeur |
| Standard (2500 heures) | 11 | 00 |
| Longue (4400 heures) | 01 | |
| Courte (1250 heures) | 02 | |
| Pas d'advertissement | 03 |
(paramétrage usine "00")
Toutes les autres unités interieures
| Paramétrage | N° de la fonction | Valeur |
| Standard (400 heures) | 11 | 00 |
| Longue (1000 heures) | 01 | |
| Courte (200 heures) | 02 | |
| Pas d'advertissement | 03 |
(paramétrage usine "00")
Hauteur sous plafond
AUYG 7, 9, 12, 14, 18 et
ABYG 14, 18
- Paramétrrez les valeurs comme indiqué dans les tableaux suivants, en fonction de la hauteur sous pla-fond (paramétrage usine "00").
| Paramétrage | N° de la fonction | Valeur |
| Standard (2,7 m) | 20 | 00 |
| Haut (3,0 m) | 01 |
N.B.: Ne pas paramétrer cette fonction si vous utilisez le modèle ABYG en configuration console murale.
- Le paramétrage "Haut - 01" ne s'applique que lorsque les 4 voies de souffrage du climatiseur sont utilisées. Ne modifies pas le paramétrage si vous n'utilisez que 3 voies de souffrage.
| Nombre de voies de soufflage AUYG 7, 9, 12, 14, 18 |
- Paramétrrez les valeurs comme indiqué dans le tableau suivant, en fonction du nombre de voies de soufflage utilisées (3 ou 4) (paramétrage usine "00").
| Paramétrage | N° de la fonction | Valeur |
| 4 voies | 22 | 00 |
| 3 voies | 01 |
| Sortie d'air horizontal pour installation encastrée AGYG 9, 12 et 14 LVC |
- Lorsque l'on encastre l'unité interieure dans un mur, il faut pour la sortie d'air supérieure qu'elle ne fonctionne qu'en position horizontale.
Si ce paramétrage n'est pas fait, l'air est orienté contre le mur et la piece ne sera pas correctement climatisée (paramétrage usine "00").
| Paramétrage | N° de la fonction | Valeur |
| Standard | 23 | 00 |
| - | 01 | |
| Encastrée | 02 |
Pression statique
- En fonction des conditions d'installation, il est parfais nécessaire de corriger la pression. Paramétrz comme indiqué dans le tableau suivant (paramétrage usine "31").
ARYG 7, 9, 12 LLT
| Paramétrage | N° de la fonction | Valeur |
| 0 Pa | 26 | 00 |
| 10 Pa | 01 | |
| 20 Pa | 02 | |
| 30 Pa | 03 | |
| 40 Pa | 04 | |
| 50 Pa | 05 | |
| 60 Pa | 06 | |
| 70 Pa | 07 | |
| 80 Pa | 08 | |
| 90 Pa | 09 | |
| 25 Pa (stard) | 31 |
ARYG 7, 9, 12 LSL
| Paramétrage | N° de la fonction | Valeur |
| 0 Pa | 26 | 00 |
| 10 Pa | 01 | |
| 20 Pa | 02 | |
| 30 Pa | 03 | |
| 40 Pa | 04 | |
| 50 Pa | 05 | |
| Standard (10 Pa:aille 07, 09, 12) (15 Pa:aille 14, 18) | 31 |
| Modèles | Plage pression sta-tique |
| 07/09/12 | 0 à 30 Pa |
| 14/18 | 0 à 50 Pa |
| Compensation de température de l'unité intéèreure |
| ARYG 7, 9, 12 LSL |
En fonction de l'environnement, il est parfois nécessaire de corriger la thermistance de température interieure.
Paramétrz comme indiquédans le tableau ci-après. (Paramétrage usine «00»).
| Paramétrage | N° de la fonction | Valeur | ||
| Standard | 30 (pour le refroidissement) | 31 (pour le chauf-fage) | 00 | |
| Aucune correction de 0,0 °C | 01 | |||
| -0,5 °C | Plus de refroidissement Moins de chauf-fage | 02 | ||
| -1,0 °C | 03 | |||
| -1,5 °C | 04 | |||
| -2,0 °C | 05 | |||
| -2,5 °C | 06 | |||
| -3,0 °C | 07 | |||
| -3,5 °C | 08 | |||
| -4,0 °C | 09 | |||
| +0,5 °C | Moins de refroidissement Plus de chauf-fage | 10 | ||
| +1,0 °C | 11 | |||
| +1,5 °C | 12 | |||
| +2,0 °C | 13 | |||
| +2,5 °C | 14 | |||
| +3,0 °C | 15 | |||
| +3,5 °C | 16 | |||
| +4,0 °C | 17 | |||
| Toutes les autres unités interieures |
| Paramétrage de la compensation de température (Mode froid) |
| Paramétrage | N° de la fonction | Valeur |
| Standard | 30(pour le refroidissement) | 00 |
| Légère baisse | 01 | |
| Baisse | 02 | |
| Hausse | 03 |
| Standard | 31 (pour le chauffage) | 00 |
| Baisse | 01 | |
| Légère hausse | 02 | |
| Hausse | 03 |
Lorsque vous utilisez les gainables et les consoles compactes en installation allège utilisez la valeur "01".
| Compensation de température télécommande filaire ARYG 7, 9, 12 LSL |
En fonction de l'environnement, il est parfois nécessaire de corriger la thermistance de température interieure de la télécommande filaire.
Pour modifier ce réglage, paramétrez avant la fonction 42 sur la valeur de réglage 01.
Paramétrz comme indiquédans le tableau suivant. (Paramétrage usine «00»).
| Paramétrage | N° de la fonction | Valeur | ||
| Standard | 35 (pour le refroidissement) | 36 (pour le chauf-fage) | 00 | |
| Aucune correction de 0,0 °C | 01 | |||
| -0,5 °C | Plus de refroidissement Moins de chauf-fage | 02 | ||
| -1,0 °C | 03 | |||
| -1,5 °C | 04 | |||
| -2,0 °C | 05 | |||
| -2,5 °C | 06 | |||
| -3,0 °C | 07 | |||
| -3,5 °C | 08 | |||
| -4,0 °C | 09 | |||
| +0,5 °C | Moins de refroidissement Plus de chauf-fage | 10 | ||
| +1,0 °C | 11 | |||
| +1,5 °C | 12 | |||
| +2,0 °C | 13 | |||
| +2,5 °C | 14 | |||
| +3,0 °C | 15 | |||
| +3,5 °C | 16 | |||
| +4,0 °C | 17 | |||
Redémarrage automatique
Ce paramétrage permet d'activer ou de désactiver le redémarrage automatique du système après une coupure de courant.
| Paramétrage | N° de la fonction | Valeur |
| Oui | 40 | 00 |
| Non | 01 |
(paramétrage usine "00")
Activation de la sonde de température interieure sur la télécommande filaire (mesure de la température ambiente)
| Paramétrage | N° de la fonction | Valeur |
| Non | 42 | 00 |
| Oui | 01 |
(paramétrage usine "00")
- Si la valeur est 00, la température de la piece est mesurée par la thermistance de l'unité interieure.
- Si la valeur est 01, la température de la piece est mesurée par la thermistance de l'unité interieure ou par la thermistance de la télécommande.
Codage de la télécommande
Lorsque plusieurs climatiseurs sont installés dans la même piece, il peut être utile d'associer une télécommande donnée à un climatiseur donné.
Ceci est possible en codant la télécommande et le climatiseur (4 codes possibles). Ce codage a pour but d'eviter les interférences de communication entre plusieurs climatiseurs installés dans une même piece.
| Paramétrage | N° de la fonction | Valeur |
| A | 44 | 00 |
| B | 01 | |
| C | 02 | |
| D | 03 |
(paramétrage usine "00")
Contrôle entrée externe
- Le mode Fonctionnement / Mode Arrêt ou le mode Arrêt Forcé peuvent être sélectionnés.
| Paramétrage | N° de la fonction | Valeur |
| Fonctionnement / Mode Arrêt | 46 | 00 |
| (Paramétrage inter-dit) | 01 | |
| Mode Arrêt Forcé | 02 | |
| Mode fonctionne-ment / Arrêt 2 | 03* |
(paramétrage usine "00")
Contrôle du basculement de la température de la pièce ARYG 7, 9, 12 LSL
Pour utiliser le capteur de température sur la télécommande filaire uniquement, sélectionnez le réglage « télécommande filaire » valeur de réglage «01». Cette fonction fonctionne uniquement si le réglage de la fonction 42 est régèle sur les « deux » valeurs de réglage «01».
| Paramétrage | N° de la fonction | Valeur |
| Les deux | 48 | 00 |
| Télécommande filaire | 01 |
(Paramétrage usine «00»).
Commande du ventilateur de l'unité interieure pour des économies d'énergie en mode froid
- Cette fonction permet l'arrêt de la rotation du ventilateur de l'unité interieure lorsque l'unité extérieure est arrêtée et d'effectuer des économies d'énergie. (Paramétrage usine «02»).
| Paramétrage | N° de la fonction | Valeur |
| Désactiver | 49 | 00 |
| Activer | 01 | |
| Télécommande | 02 |
00 : Lorsque l'unité extérieure est arrêtée, le ventilateur de l'unité interieure fonctionne en permanence.
01 : Lorsque l'unité extérieure est arrêtée, le ventilateur de l'unité interieure fonctionne par intermittence à une vitesse très lente.
02: Active ou désactive cette fonction par réglage de la télécommande.
Régler sur « 00 » ou « 01 » lors de la connexion d'une télécommande qui ne peut pas paramétrer cette fonction ni se connecter à un convertisseur réseau.
Reporter vous à la notice d'utilisation de votre télécommande pour connaître ses fonctionnalités.
| Borne de sortie externe ARYG 7, 9, 12 LSL |
Les fonctions de la sortie externe peuvent etre commutes.
| Paramétrage | N° de la fonction | Valeur |
| État de fonctionnement | 60 | 00 |
| État d'erreur | 09 | |
| Contrôle de l'air extérieure | 10 | |
| Chauffage additionnel | 11 |
(Paramétrage usine «00»).
Une fois tous les réglages effectués, assurez-vous de couper puis de remettre le courant pour valider les changements.
Enregistrez les modifications de réglages dans le tableau suivant:
Tableau 29
| N° fonction | Réglage | Valeur de réglage |
| 11 | Nettoyage du filtré | |
| 20 | Hauteur sous plafond | |
| 22 | Nombre de voies de souf-flage | |
| 23 | Sortie d'air horizontal pour installation encastrée | |
| 26 | Pression statique | |
| 30 (1) | Compensation de tempora-ture de l'unité intérieure | |
| 31 (2) | ||
| 35 (1) | Compensation de tempora-ture télécommande filaire | |
| 36 (2) | ||
| 40 | Redémarrage automatique | |
| 42 | Activation de la sonde de tempora-tature intérieure sur les télécommandes filaires | |
| 44 | Codage de la télé-com-mande | |
| 46 | Contrôle entrée externe | |
| 48 | Contrôle du basculement de la tempora-tature de la piece | |
| 49 | Commande du ventilateur de l'unité intérieure pour des économies d'énergie en mode froid | |
| 60 | Borne de sortie externe |
(1) Refroidissement (2) Chauffage
4. ESSAIS DE FONCTIONNEMENT
ATTENTION
- Veillez à toujoursmettre l'installation sous tension 12 heures avant deprocéderaux testsafin depermettre la mise enchauffedu compresseur.
Selon la température ambiente, il est possible que l'unité extérieure ne fonctionne pas. Dans ce cas, la fonction Test est là pour vous permettre de «forcer» le fonctionnement du compresseur en inhibant l'action du thermostat.
Avec la télécommande filaire AR-WAE1E
- Pour démarrer le mode TEST, appuyez sur les boutons "MASTER CONTROL" et "FAN CONTROL" pendant au moins 2 secondes.

Fig. 334
Affichage du test
- Pour terminer l'essay, appuyez sur le bouton "START - STOP". (Lorsque le climatiseur est mis en marche avec la touche d'essay, les témoins "OPERATION" et "TIMER" clignotent simultanément lentement. Lors du démarrage les clignotements s'arrêtent).
Avec la télécommande filaire UTY-RLRY
Remarques
Consultez le notice d'installation de l'unité interieure pour obtenir la liste des éléments à vérifier.
- Sélectionnez « 09 » dans les réglages du menu 2. Puis appuyez sur le bouton [ENTER].

- L'écran de lancement du test s'affiche. Appuyez sur le bouton [ENTER] pour revenir à l'écran de seLECTION d' éléments du Menu 2 et commencer le test.

Le test se termine au bout d'une heures environ. Pour quitter le lancement du test avant la fin, revenez à l'« Écran du mode visualisation », et touchez le Bouton On/Off (marche/arrêt).
Avec la télécommande IR AR-RAH1E
Appuyez sur la touche TEST de la télécommande alors que le climatiseur fonctionne. (La partie émettrice de la télécommande dirigée vers l'unité interieure, appuyez sur la touche d'essay en vous servant de la pointe d'un stylo bille) Fig. 335.

Fig. 335
Partie émettrice de la télékomande
Touche d'essai
- Pour terminer l'essay, appuyez sur le bouton "START/STOP". (Lorsque le climatiseur est mis en marche avec la touche "TEST", les témoins "OPERATION" et "TIMER" clignotent simultanément lentement. Lors du démarrage les clignotements s'arretent.)
Pour les modèles ASYG 7 9 12 14 LU / LMCE
Appuyez sur la touche le bouton MANUAL AUTO de l'unité interieure pendant plus de 10 secondes. Levoyant OPERATION et TIMER clignotent en même temps pendant la durée du test en mode froid, ensuite au bout de 3 minutes le test passé en mode chaud si le mode chaud est sélectionné sur la télécommande (référez-vous à la notice d'utilisation).
- Pour terminer l'essay, appuyez sur le bouton MANUAL AUTO de l'unité interieure pour le LU et le bouton Marche /Arrêt pour le LMCE pendant plus de 3 secondes.
Décodage des erreurs sur l'unité interieure
- Avec les voyants sur l'unité interieure
Les erreurs pouvant survenir sur le climatiseur peuvent être détectées grâce à l'état (eteint, allumé, clignotant) des voyants "TIMER", "OPERATION" et "ECONOMY" sur l'unité interieure (voir code erreur Tableau 31).

Fig. 336 - AUYG 7 9 12 14 18
Fig. 337 - ASYG 18 24 LFC

OPERATION OPERTION (vert)
TIMER TIMER (orange)
ECONOMY ECONOMY (vert)
Fig. 338 - ASYG 7 9 12 14 LU

OPERATION(vert)TIMER(orange)ECONOMY(vert)

Fig. 339 - ASYG 7 9 12 14 LMCE

Fig. 340 - AGYG 9 12 14 LVC
OPERATION
TIMED
(orange)
TIMER
OPERATION
OPERATION (vert)
ECONOMY
ECONOMICS
(vert)

Fig. 341 - ABYG 14 18
5.CODES ERREURS
Décodage des erreurs affichées sur les télécommandes filaires
- Avec l'affichage de la télécommande filaire ARWAE1E
Une fois "Er" affiché, arrêtez le climatiseur et appuyez sur < et > simultanément pendant 5 secondes, le code s'affiche (voir code erreur Tableau 31).
Auto-diagnostic de l'installation
Si une erreur se produit, l'écran suivant apparait. Le symbole "Er" indique un défaut est affché.

Fig. 342
Si "C0" s'affiche à la place du numéro de l'unité interieure, il s'agit d'une erreur de la télécommande.
Tableau 30
| N° de l'unité | Code erreur | Signification |
| C0 | 15 | Unité interieure incompatible est connectée. |
| C0 | 12 | Erreur de communication entre l'unité interieure et la télécom-mande. |
- Avec l'affichage de la télécommande filaire UTY-RLRY
Le code erreur s'affiche automatiquement à l'écran en cas d'erreur.
- En cas d'erreur, l'affichage suivant apparait. (« 》) apparait dans l'Écran du mode visualisation >>)

Pour plus de détails sur l'erreur de l'unité interieure ou extérieure lors de l'examen du contenu de l'erreur, référez-vous aux codes d'erreur de chaque unité.
| Code d'erreur | Contenu |
| CC.1 | Erreur de capteur |
| C2.1 | Erreur de carte de circuit imprimé de transmission |
| 12.1 | Erreur de communication de télécommande filaire |
| 12.3 | Nombre de péripériques excessif dans le système de télécommande filaire |
| 12.4 | Erreur de démarrage du système de la télécommande filaire |
| 15.4 | Erreur d'acquisition de données |
| 26.4 | Duplication d'adresse dans le système de télécommande filaire |
| 26.5 | Erreur de réglage d'adresse dans le système de télécommande filaire |
| 27.1 | Erreur de réglage de l'unité Maître/Esclave |
| 29.2 | Erreur de numéro d'unité de connexion (télécommande) |
Tableau 31 - Code erreur
| Affichage avec les LED | Erreur* | Description | ||
| Operation(vert) | Timer(orange) | Eco-nomy(vert) | ||
| • (1) | • (1) | ◇ | 11 | Erreur de communication série |
| • (1) | • (2) | ◇ | 12 | Erreur de communication télécommande filaire |
| • (1) | • (5) | ◇ | 15 | Vérification du fonctionnement incomplet |
| • (1) | • (6) | ◇ | 16 | Erreur de connexion du PCB de transmission de l'unité (modèles ASYG 7 9 12 LSL uniquement) |
| • (1) | • (8) | ◇ | 18 | Erreur de communication externe (modèles ASYG 7 9 12 LSL uniquement) |
| • (2) | • (1) | ◇ | 21 | Erreur de paramétrage de l'adresse du circuit frigorifique ou du numéro d'unité |
| • (2) | • (2) | ◇ | 22 | Erreur de puissance de l'unité intéérieure |
| • (2) | • (3) | ◇ | 23 | Erreur combinaison |
| • (2) | • (4) | ◇ | 24 | Erreur numéro unité connectée unité intéérieure secondaire (multi-split)Erreur numéro unité connectée unité intéérieure ou boîtier de répartition |
| • (2) | • (6) | ◇ | 26 | Erreur de réglage d'adresse de l'unité intéérieure (modèles ASYG 7 9 12 LSL uniquement) |
| • (2) | • (7) | ◇ | 27 | Erreur paramétrage unité première, unité secondaire (multi-split) |
| • (2) | • (9) | ◇ | 29 | Erreur numéro unité connectée dans la configuration de la télécommande filaire (modèles ASYG 7 9 12 LSL uniquement) |
| • (3) | • (1) | ◇ | 31 | Erreur d'interruption de l'alimentation (modèles ASYG 7 9 12 LSL uniquement) |
| • (3) | • (2) | ◇ | 32 | Erreur information de la platine de l'unité intéérieure |
| • (3) | • (3) | ◇ | 33 | Erreur de détention de la consommation électrique du moteur de l'unité intéérieure (modèles ASYG 7 9 12 LSL uniquement) |
| • (3) | • (5) | ◇ | 35 | Erreur switch manual auto |
| • (3) | • (9) | ◇ | 39 | Erreur d'alimentation du moteur ventilateur de l'unité intéérieure (modèles ASYG 7 9 12 LSL uniquement) |
| • (3) | • (10) | ◇ | 3A | Erreur du circuit de communication de l'unité intéérieure / télécommande filaire (modèles ASYG 7 9 12 LSL uniquement) |
| • (4) | • (1) | ◇ | 41 | Erreur sonde de température de la pièce |
| • (4) | • (2) | ◇ | 42 | Erreur sonde de température de l'échangeur de l'unité intéérieure (milieu) |
| • (4) | • (4) | ◇ | 44 | Erreur du détecteur de présence (modèles ASYG 7 9 12 LSL uniquement) |
| • (5) | • (1) | ◇ | 51 | Erreur moteur du ventilateur de l'unité intéérieure |
| • (5) | • (3) | ◇ | 53 | Erreur pomp de relevage |
| • (5) | • (7) | ◇ | 57 | Erreur des volets (registres) |
| • (5) | • (15) | ◇ | 5U | Erreur unité intéérieure (modèles ASYG 7 9 12 LSL uniquement) |
| • (5) | • (8) | ◇ | 58 | Erreur grille de reprise (modèles ASYG 7 9 12 14 LU uniquement) |
| • (5) | • (15) | ◇ | 5U | Erreur unité intéérieure (modèles ASYG 7 9 12 LSL uniquement) |
| • (6) | • (1) | ◇ | 61 | Erreur de câblage, phases inversés ou absentes de l'unité intéérieure (modèles ASYG 7 9 12 LSL uniquement) |
| • (6) | • (2) | ◇ | 62 | Erreur connexion ou information de la platine de l'unité extérieure |
| • (6) | • (3) | ◇ | 63 | Erreur Inverter |
| • (6) | • (4) | ◇ | 64 | Erreur filtrtre actif et erreur PFC |
| • (6) | • (5) | ◇ | 65 | Erreur de phase |
| • (6) | • (8) | ◇ | 68 | Erreur de hausse de la température de l'unité extérieure |
| • (6) | • (10) | ◇ | 6A | Erreur communication platine affchage |
| • (7) | • (1) | ◇ | 71 | Erreur sonde de température refoulement |
INSTALLATION DES TÉLECOMMANDES
| Affichage avec les LED | Erreur* | Description | ||
| Operation(vert) | Timer(orange) | Eco-nomy(vert) | ||
| • (7) | • (2) | ◇ | 72 | Erreur sonde de température compresseur |
| • (7) | • (3) | ◇ | 73 | Erreur sonde de température de l'échangeur de l'unité extérieure (liquide) |
| • (7) | • (4) | ◇ | 74 | Erreur sonde de température extérieure |
| • (7) | • (5) | ◇ | 75 | Erreur sonde de température à l'aspiration (gaz) |
| • (7) | • (6) | ◇ | 76 | Erreur sonde de température vanne 2 voies ou vanne 3 voies |
| • (7) | • (7) | ◇ | 77 | Erreur sonde de température radiateur |
| • (8) | • (2) | ◇ | 82 | Erreur sonde température échangeur sous refroidissement entrée/sorting (gaz) |
| • (8) | • (3) | ◇ | 83 | Erreur sonde température liaison liquide |
| • (8) | • (4) | ◇ | 84 | Erreur capteur courant |
| • (8) | • (6) | ◇ | 86 | Erreur pressostat au refoulement / à l'aspiration ou switch Haute Pression |
| • (9) | • (4) | ◇ | 94 | Détection du courant |
| • (9) | • (5) | ◇ | 95 | Erreur de la position de détention du compresseur (interruption permanente) |
| • (9) | • (7) | ◇ | 97 | Erreur moteur du ventilateur de l'unité extérieure |
| • (9) | • (8) | ◇ | 98 | Erreur moteur du ventilateur 2 de l'unité extérieure |
| • (9) | • (9) | ◇ | 99 | Erreur vanne 4 voies |
| • (9) | • (10) | ◇ | 9A | Erreur détendeur (modèles ASYG 7 9 12 uniquement) |
| • (10) | • (1) | ◇ | A1 | Erreur température du refoulement |
| • (10) | • (3) | ◇ | A3 | Erreur température compresseur |
| • (10) | • (4) | ◇ | A4 | Erreur Haute Pression |
| • (10) | • (5) | ◇ | A5 | Erreur Basse pression |
| • (13) | • (2) | ◇ | J2 | Erreur de boîtier de répartition |
Legende:0.5s ON/0.5s OFF-0.1s ON/0.1s OFF():nobre de clignotement-*Code affiché sur la telecommande filaire.
EXPLICATIONS POUR L'UTILISATEUR
En utilisant le mode d'emploi fourni, expliquez à l'utilisateur final :
La mise en route et l'arrêt de l'appareil, le réglage de la température ainsi que les autres fonctions de la télécommande.
Les notions d'entretien courant tel que le nettoyage des filtres à air.
N'oubliez pas de laisser la presente notice à l'utilisateur.
Opérations d'entretien courant
Ces opérations, à la portée de tout un chacun (voir notice d'utilisation), sont à effectuer aux fréquences conseillées ci-dessous.
Nettoyage
Tous les mois
(plus souvent en atmophère poussièreuse) :
- Nettoyage du filtré à air de l'unité interieure (Le filtré à air est facilement accessible sur l'unité interieure et se nettoie soit avec un aspirateur, soit avec de l'eau à moins de 40^ ).
Tous les 3 mois :
- Nettoyage de la carrosserie de l'unité interieure, particulièrement de la grille d'entrée d'air, avec un chiffon doux humidifié (éviter les détergents agressifs).
Opérations de maintenance
Ces opérations sont à effectuer exclusivement par du personnel compétent. Notre installerateur agréé est bien évidemment à votre service pour ces interventions. Il peut vous proposer un contrat de maintenance prévoyant des visites périodiques (voir ci-après).
Entretien saissonnier
Notre conseil :
tous les ans en résidentiel, deux fois par an entertiaire.
- Vérification et nettoyage des filtres à air.
- Vérification de l'étanchéité parfaite du circuit frigorifique (obligatoire pour certains apparèils*).
- Nettoyage du bac à condensats de l'unité interieure : nettoyage et désinfection de l'échangeur de l'unité interieure avec un produit ajust.
- Vérification et nettoyage évventuel du dispositif d'écolement des condensats (surtout si une pompe de relevage est utilisée).
- Vérification de l'objet général de l'appareil.
- Les articles R 543-75 à 123 du code de l'environnement et de ses arrêtés d'application imposent à tous les possesseurs d'appareil contenant plus de 2 kg de fluide réfrigérant (plaque signalétique) de faire vérifier l'étanchéité de leur installation tous les ans par une société régulière inscrite en préfecture et habilité pour ce type d'intervention.
Entretien complet
Notre conseil :
tous les 2 ans en résidentiel, tous les ans en tertiaire.
Opérations décrites pour un entretien saissonnier, complétées par :
- Dépoussierage eventuel de l'échangeur de l'unité extérieur.
- Mesure des performances de l'appareil (écart de température entrée/sortie, température d'évaporation et de condensation, intensité absorbée).
- Vérification du serrage des connexions électriques.
- Mesure de l'isollement électrique.
- Vérification de l'etat des carrosseries extérieures et des isolants des lignes frigorifiques.
- Vérification des fixations diverses.
Avec le carnet d'entretien climatisation Atlantic you effectuerez aisément le suivi des opérations de maintenance.
POINTSÀ VÉRIFIER
Unité intérieure
L'installation de l'unité interieure a ete faite suivant les prescriptions de la notice
- Vérification d'absence de fuite sur le circuit frigorifique
- Isolation des liaisons frigorifiques
- Le fonctionnement normal de toutes les touches de la télécommande
- Le fonctionnement normal des volets de déflexion d'air
L'écoulement normal de l'eau de condensation
- Vérifiez qu'il n'y aeldom bruit ni vibrations anormaux en fonctionnement
Unité extérieur
- L'installation de l'unité extérieure à été faite suivant les prescriptions de la notice
- Vérification d'absence de fuite sur le circuit frigorifique
- Isolation des liaisons frigorifiques
L'écoulement normal de l'eau de condensation - Vérifiez que ni le bruit, ni le courant d'air, ni l'eau ou la glace sortant de l'unité extérieure ne gènent le voisinage.
- Vérifiez qu'il n'y aeldom bruit ni vibrations anormaux en fonctionnement
Ne laissez pas le climatiseur fonctionner en mode «Test» trop longtemps

Modèle : N° de série Unité ext. : Unité int.:
Définition des garanties au dos
Cachet de l'installateur
Si mise en service par station/agreee
Cachet de la station service

Garantie pièces défectueuses : Conditions applicables à partir du 1er avril 2011 L'appareil que vous venez d'acquérir est garantie contre tout défaut de fabrication. Cette garantie est valable pour les durées suivantes à partir
de la date de mise en service (1) (2):
Compresseur :
Climatiseurs à éléments séparés de tous types (split-system) :
2 ans
Accessoires (pompes de relevages non intégrées, supports etc...) :
1 an
atlantic Climatisation & Ventilation assure dans ce cadre, l'échange ou la fourniture des pieces reconnues défectueuses après expertise par son ServiceAprès Vente,à l'exclusion de tous frais annexes qu'il s'agisse de main d'oeuvre,déplacement,dommage ou indemnités pour perte de jouissance ou perte d'exploitation.
La garantie ne couvre pas les domm
- Degradation des carrosseries,
- Raccordement électrique incorrect,
- Tension d'alimentation non conforme,
- Obstruction des filtres ou grilles d'entrée d'air.
Extensions de garantie « stations services » et « installateurs agreés » :
Ces extensions de garantie sont consenties par atlantic Climatisation & Ventilation et ses professionnels agreés (stations services et
installateurs agreés). Elles ne couvrent que les installations « split-system » mises en œuvre par lesdits professionnels agreés.
Extension de 1 an :
La garantie est prolonge de 1 an pour les pieces de climatiseurs (la garantie Compresseur reste à 5 ans et cette pour les accessoires reste à 1
an).
Garantie main d'oeuvre (1 an):
Durant la première année à partir de la date de mise en service ^(1)(2) :
- en cas de défaillance reconnaue d'une piece constitutive de l'appareil, atlantic Climatisation & Ventilation
de remplacement, assure la couverture de la main d'oeuvre nécessaire à la remise en fonctionnement de l'appareil.
- en cas de défaillance due à un défaut de l'installation elle-même (pose ou mise en service non-conforme...) contrôle par ses propres :
professionnel agre assure la remise en etat et la remise en fonctionnement gratuite de l'appareil (sauf reserves lors de la mise en service).
Cette extension de garantie outre les limitations indiquees plus haut ne saurait couvir les dommages dus a l'intervention de personnel non agreé.
(1)
: La date de mise en service rait for pour le debut de la période de garantite, dans la limite des 6 mois apres la date de facturation GRIOTIC Chimatisation & Ventilation. (2) Cette genoient ne sauvit d'applieur en cas de nonne due a un manque d'venturation
(5): La garantie Compresseur 5 ans n'est accordée que si un contrat d'entretien est con
années. Si ce n'est pas le cas, la garantie est de 2 ans, avec les mêmes restrictions qu'indiquées plus haut.
LES CLIMATISEURS atlontic Climatisation & Ventilation DOIVENT ETRE EXCLUSIVEMENT REMIS EN ETAT PAR DES PROFESSIONNELS.
Sauf cas exceptionnel, aucun climatiseur ou element de climatiseur (unité interieure ou extérieure) ayant ete installé ne sera accepté en retour usine pour reprise, depannage ou echange sous garantie.
L'application de la garantie ne peut se faire qu'aupres expertise et vis du Service Aprees Vente atlantic Climatisation & Ventilation.
En conséquence :
Les pieces détaches jugées défectueuses seront systématiquement returnées pour expertise en port payé au SAV atlantic Climatisation & Ventilation (adresse ci-dessous).
Un avoir ou un échange sera effectué suivant le cas, si l'expertise révèle une défaillance effective.
atlantic Climatisation & Ventilation
SAV
B.P. 71
69882 MEYZIEU CEDEX
B.P. 71
69882 MEYZIEU CEDEX
Fiche de mise en service
Modèle : . . . . . . . . . . . . . . . . . . . . . . . . . . . . . . . . . . . . . . . . . . . . . . . . . . . . . . . . . . . . . . . . . . . . . . . . . . . . . . . . N° de série Unité ext.
Unité int.:
Nom et adresse du client utiliser :
…
Vérifications et prestations effectuees :
Conformité des liaisons frigorifiques (nature, état, trace, rayons de courbure, longueur et dénivèle, isolation).
Raccordements des liaisons (évasements, branchements frigo., purge ou tirage au vide, contrôle d'étanchéité)
Vérification de l'écoulement des condensats
Vérification des raccordements électriques
Mise en service, teststicsels
- Explication du fonctionnement à l'utilisateur
Cachet de l'installateur
Différence de température sur l'air, unité interieure, mode froid
Basse pression en mode froid
Sous-refroidissement en mode froid
Température ambiente int.
Intensité absorbée mode froid
Mise en service effectuee par :
Le:
Signature :
Date d'installation :
Volet à conserver par la station service
Visa
NOTES
NOTES
NOTES

atlantic
CLIMATISATION ET VENTILATION
Votrespecialiste
Siège social : ATLANTIC Climatisation & Ventilation
S.A.S. au capital de 2916 400 euros
13, Boulevard Monge - Z.I - BP 71 - 69882 MEYZIEU Cedex
RCS Lyon n° B 421 370 289
www.atlantic.fr Tél. 04 72 10 27 50
Notice Facile